Movatterモバイル変換


[0]ホーム

URL:


RU14620U1 - ASSEMBLY ASSEMBLY ASSEMBLY - Google Patents

ASSEMBLY ASSEMBLY ASSEMBLY
Download PDF

Info

Publication number
RU14620U1
RU14620U1RU2000105165/20URU2000105165URU14620U1RU 14620 U1RU14620 U1RU 14620U1RU 2000105165/20 URU2000105165/20 URU 2000105165/20URU 2000105165 URU2000105165 URU 2000105165URU 14620 U1RU14620 U1RU 14620U1
Authority
RU
Russia
Prior art keywords
support elements
elements according
bracket
node connecting
rack
Prior art date
Application number
RU2000105165/20U
Other languages
Russian (ru)
Inventor
М.Т. Мироненко
Original Assignee
Мироненко Михаил Тихонович
Priority date (The priority date is an assumption and is not a legal conclusion. Google has not performed a legal analysis and makes no representation as to the accuracy of the date listed.)
Filing date
Publication date
Application filed by Мироненко Михаил ТихоновичfiledCriticalМироненко Михаил Тихонович
Priority to RU2000105165/20UpriorityCriticalpatent/RU14620U1/en
Application grantedgrantedCritical
Publication of RU14620U1publicationCriticalpatent/RU14620U1/en

Links

Landscapes

Abstract

Translated fromRussian

1. Узел соединения элементов опоры, содержащий по меньшей мере одну стойку с отверстием для прохода крепежного элемента, две царги, скобу, отличающийся тем, что скоба выполнена в виде кронштейна с выступами, входящими в прорези, выполненные в царгах, и отверстием, для фиксации крепежного элемента.2. Узел соединения элементов опоры по п.1, отличающийся тем, что царги и стойка выполнены полыми.3. Узел соединения элементов опоры по п.1, отличающийся тем, что выступы скобы имеют прямоугольную форму.4. Узел соединения элементов опоры по п.1, отличающийся тем, что крепежный элемент выполнен в виде болта с внутренним и наружным шестигранником.5. Узел соединения элементов опоры по п.1, отличающийся тем, что крепежный элемент фиксируется со стороны стойки гайкой.6. Узел соединения элементов опоры по п.1, отличающийся тем, что гайка имеет прямоугольную форму и изготовлена из листовой стали.1. The node connecting the support elements, containing at least one rack with a hole for the passage of the fastener, two drawers, a bracket, characterized in that the bracket is made in the form of a bracket with protrusions included in the slots made in the drawer, and a hole for fixing fastener. 2. The junction of the support elements according to claim 1, characterized in that the planks and the rack are made hollow. The connection node of the support elements according to claim 1, characterized in that the protrusions of the bracket have a rectangular shape. The connection node of the support elements according to claim 1, characterized in that the fastening element is made in the form of a bolt with an internal and external hexagon. The node connecting the support elements according to claim 1, characterized in that the fastening element is fixed on the rack side by a nut. The node connecting the support elements according to claim 1, characterized in that the nut has a rectangular shape and is made of sheet steel.

Description

Translated fromRussian

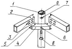
Стойка 1 и скоба 4 соединяются крепежным элементом 8 в виде болта, гайкой .The rack 1 and the bracket 4 are connected by a fastening element 8 in the form of a bolt, nut.

Работа по монтажу опоры производится следующим образом: концы каждой пары царг 2 устанавливаются под углом так, чтобы выступы 5 скобы 4 вошли в прорези 3, выполненные в царгах 2.The mounting work of the support is as follows: the ends of each pair of planks 2 are installed at an angle so that the protrusions 5 of the bracket 4 fit into the slots 3 made in the planks 2.

Усилие затяжки крепежного элемента & передается через скобу 4 на стыкуемые поверхности стойки 1 и царг 2, удерживаемых от сдвига выступами 5 скобы4.The tightening force of the fastening element & is transmitted through the bracket 4 to the abutting surfaces of the rack 1 and the drawer 2, which are held in place by the protrusions 5 of the bracket 4.

Конструкция позволяет обеспечить более надежное и устойчивое крепление элементов опоры.The design allows for more reliable and stable mounting of the support elements.

Источники информации:Sources of information:

/ патент России №2016274, МКИ F16 В12/44/ patent of Russia No. 2016274, MKI F16 B12 / 44

Ш)М..( fW) M .. (f

Автор: / - V М.Т.МироненкоPosted by: / - V M.T.Mironenko

Claims (6)

Translated fromRussian
1. Узел соединения элементов опоры, содержащий по меньшей мере одну стойку с отверстием для прохода крепежного элемента, две царги, скобу, отличающийся тем, что скоба выполнена в виде кронштейна с выступами, входящими в прорези, выполненные в царгах, и отверстием, для фиксации крепежного элемента.1. The node connecting the support elements, containing at least one rack with a hole for the passage of the fastener, two drawers, a bracket, characterized in that the bracket is made in the form of a bracket with protrusions included in the slots made in the drawer, and a hole for fixing fastener element. 2. Узел соединения элементов опоры по п.1, отличающийся тем, что царги и стойка выполнены полыми. 2. The connection node of the support elements according to claim 1, characterized in that the planks and the rack are made hollow. 3. Узел соединения элементов опоры по п.1, отличающийся тем, что выступы скобы имеют прямоугольную форму. 3. The node connecting the support elements according to claim 1, characterized in that the protrusions of the bracket are rectangular. 4. Узел соединения элементов опоры по п.1, отличающийся тем, что крепежный элемент выполнен в виде болта с внутренним и наружным шестигранником. 4. The node connecting the support elements according to claim 1, characterized in that the fastening element is made in the form of a bolt with an internal and external hexagon. 5. Узел соединения элементов опоры по п.1, отличающийся тем, что крепежный элемент фиксируется со стороны стойки гайкой. 5. The node connecting the support elements according to claim 1, characterized in that the fastening element is fixed on the rack side by a nut. 6. Узел соединения элементов опоры по п.1, отличающийся тем, что гайка имеет прямоугольную форму и изготовлена из листовой стали.
Figure 00000001
6. The node connecting the support elements according to claim 1, characterized in that the nut has a rectangular shape and is made of sheet steel.
Figure 00000001
RU2000105165/20U2000-03-062000-03-06 ASSEMBLY ASSEMBLY ASSEMBLYRU14620U1 (en)

Priority Applications (1)

Application NumberPriority DateFiling DateTitle
RU2000105165/20URU14620U1 (en)2000-03-062000-03-06 ASSEMBLY ASSEMBLY ASSEMBLY

Applications Claiming Priority (1)

Application NumberPriority DateFiling DateTitle
RU2000105165/20URU14620U1 (en)2000-03-062000-03-06 ASSEMBLY ASSEMBLY ASSEMBLY

Publications (1)

Publication NumberPublication Date
RU14620U1true RU14620U1 (en)2000-08-10

Family

ID=48275584

Family Applications (1)

Application NumberTitlePriority DateFiling Date
RU2000105165/20URU14620U1 (en)2000-03-062000-03-06 ASSEMBLY ASSEMBLY ASSEMBLY

Country Status (1)

CountryLink
RU (1)RU14620U1 (en)

Cited By (6)

* Cited by examiner, † Cited by third party
Publication numberPriority datePublication dateAssigneeTitle
WO2003038290A1 (en)*2001-11-012003-05-08Andrey Leonidovich RadchukTube fitting
RU2210012C2 (en)*2001-11-012003-08-10Радчук Андрей ЛеонидовичTube fastening unit (versions)
RU2307265C1 (en)*2006-01-172007-09-27Общество с ограниченной ответственностью "МИНИФОРМ Технологии"Universal table skeleton
RU2416349C2 (en)*2006-03-032011-04-20Элемент-Систем Рудольф Бонакер ГмбхSystem of wall braces
RU2438547C1 (en)*2010-09-022012-01-10Общество с ограниченной ответственностью "МИНИФОРМ Технологии"Corner connection unit of furniture frame
RU235263U1 (en)*2025-04-102025-06-26Общество с ограниченной ответственностью "Металл-Завод" Support for metal collapsible table frame

Cited By (6)

* Cited by examiner, † Cited by third party
Publication numberPriority datePublication dateAssigneeTitle
WO2003038290A1 (en)*2001-11-012003-05-08Andrey Leonidovich RadchukTube fitting
RU2210012C2 (en)*2001-11-012003-08-10Радчук Андрей ЛеонидовичTube fastening unit (versions)
RU2307265C1 (en)*2006-01-172007-09-27Общество с ограниченной ответственностью "МИНИФОРМ Технологии"Universal table skeleton
RU2416349C2 (en)*2006-03-032011-04-20Элемент-Систем Рудольф Бонакер ГмбхSystem of wall braces
RU2438547C1 (en)*2010-09-022012-01-10Общество с ограниченной ответственностью "МИНИФОРМ Технологии"Corner connection unit of furniture frame
RU235263U1 (en)*2025-04-102025-06-26Общество с ограниченной ответственностью "Металл-Завод" Support for metal collapsible table frame

Similar Documents

PublicationPublication DateTitle
DE602006010279D1 (en) Device for fastening pipes to supporting structures
PT1261262E (en) BUILDING OF FURNISHED MODULAR FURNITURE
RU14620U1 (en) ASSEMBLY ASSEMBLY ASSEMBLY
DE69812087D1 (en) ELONGATED FASTENING ELEMENT FOR PANELS
ATE169099T1 (en) PIPE FIXING DEVICE
SG110893G (en)Fixing element
DK35486A (en) BRACKET
KR200197016Y1 (en)Cable tray fixing apparatus
FI108570B (en) Fitting Clip
TR199800247T1 (en) Construction system consisting of cold-formed profiles with a fixed pitch corrugated edges and fastening and fastening devices that engage with them.
KR0134595Y1 (en) Prefab shelves
KR960000124A (en) Fastening device of prefabricated desk
KR200210942Y1 (en)Lightweight steel frame clip for ceiling construction
KR910004294A (en) C-type welding gun
CN210578342U (en)Photovoltaic module installs external member
KR0133395Y1 (en)A shelf
JP3222254U (en) Beam fixtures for lightweight steel frame houses
KR970010409A (en) Battery fixing structure
RU95101905A (en)Beam-to-column joining unit
KR200174505Y1 (en) Duct support fixture
RU93013508A (en) BOILER
DE50000789D1 (en) DEVICE FOR CONNECTING TWO COMPONENTS, THEIR USE AND THE CORRESPONDING CONSTRUCTIONS
KR0138255Y1 (en) Prefab Lathe for Porch Railing
KR200178355Y1 (en) Mounting Nut Fixture
ATE150842T1 (en) BRACKETS FOR FASTENING RAIL-LIKE COMPONENTS TO ANGLE PROFILES USING EXISTING STOCK BOLT

[8]ページ先頭

©2009-2025 Movatter.jp