Movatterモバイル変換


[0]ホーム

URL:


NL2021244B1 - Ceiling vent - Google Patents

Ceiling vent
Download PDF

Info

Publication number
NL2021244B1
NL2021244B1NL2021244ANL2021244ANL2021244B1NL 2021244 B1NL2021244 B1NL 2021244B1NL 2021244 ANL2021244 ANL 2021244ANL 2021244 ANL2021244 ANL 2021244ANL 2021244 B1NL2021244 B1NL 2021244B1
Authority
NL
Netherlands
Prior art keywords
ceiling
disk
annular
ventilation cap
wall
Prior art date
Application number
NL2021244A
Other languages
Dutch (nl)
Inventor
Jocobus Hendricus Fecken Petrus
Original Assignee
Tafkah B V
Priority date (The priority date is an assumption and is not a legal conclusion. Google has not performed a legal analysis and makes no representation as to the accuracy of the date listed.)
Filing date
Publication date
Application filed by Tafkah B VfiledCriticalTafkah B V
Priority to NL2021244ApriorityCriticalpatent/NL2021244B1/en
Application grantedgrantedCritical
Publication of NL2021244B1publicationCriticalpatent/NL2021244B1/en

Links

Classifications

Landscapes

Abstract

Ceiling vent (1) comprising a disk (3) with a ceiling side and with an opposite side provided with one or more 5 mounting elements (11) for mounting the disk in a duct end (7). In the mounted position the disk is sunk within the ceiling, e.g., substantially flush with the ceiling, leaving an air passage between the disk and the duct end.

Description

Figure NL2021244B1_D0001
Θ 2021244 ©B1 OCTROOI (2?) Aanvraagnummer: 2021244 (22) Aanvraag ingediend: 4 juli 2018 (51) Int. Cl.:
F24F 13/08 (2018.01) F24F 13/06 (2019.01) F24F
13/10 (2019.01) (30) Voorrang:
(73) Octrooihouder(s):
TAFKAH B.V. te Huizen (Q Aanvraag ingeschreven:
januari 2020 (43) Aanvraag gepubliceerd:
(72) Uitvinder(s):
Petrus Jocobus Hendricus Fecken te Huizen (74) Gemachtigde:
ir. A.R. Aalbers te Amsterdam
Octrooi verleend:
januari 2020 (45) Octrooischrift uitgegeven:
januari 2020 (54) Ceiling vent (57) Ceiling vent (1) comprising a disk (3) with a ceiling side and with an opposite side provided with one or more mounting elements (11) for mounting the disk in a duct end (7). In the mounted position the disk is sunk within the ceiling, e.g., substantially flush with the ceiling, leaving an air passage between the disk and the duct end.
B1 2021244
Dit octrooi is verleend ongeacht het bijgevoegde resultaat van het onderzoek naar de stand van de techniek en schriftelijke opinie. Het octrooischrift komt overeen met de oorspronkelijk ingediende stukken.
27533-Zo/AV
Ceiling vent
The present disclosure relates to a ceiling vent for ventilation and air circulation systems in buildings. Such air circulation systems serve to vent air from a room via an opening in the room's ceiling. The openings in the ceiling are typically provided with a duct and a vent placed within the duct end. Such a ceiling vent is usually provided with a diffuser for diffusing air through the vent, and a regulating disk valve to adjust the air flow. An example of such a ceiling vent is disclosed in GB 2488796 A.
Ceiling vents visually stand out. The vent is usually attached to the ceiling by means of an outer ring or flange bordering the duct opening. People usually see such ceiling vents as ugly and disturbing. Therefore, it is an object of the invention to provide a ceiling vent which is visually integrated with the surrounding ceiling surface.
The object of the invention is achieved with a ceiling vent comprising a disk with a substantially flat ceiling side and with an opposite side provided with one or more mounting elements configured for mounting the disk in a duct in a position where the disk is sunk within the ceiling surface, for instance substantially flush with the surrounding ceiling surface. For instance, the disk is considered to be substantially flush if the disk is optically flush for an average non-critical passer-by. For example, the disk does not protrude from the ceiling for more than about 2 mm, e.g., not more than about 1 mm. The edge of the disk and the edge of the duct end define an air passage, e.g., an annular gap of even width. The disk does not project from the ceiling surface and is visually integrated with the ceiling. Since the mounting elements of the disk engage the inner wall of the duct, there is no need to use a visible flange surrounding the duct opening. Plaster layers of the ceiling can extend to the edge of the duct and cover it in an uninterrupted manner. If the disk is flush with the ceiling the plaster layer can also be applied over the disk and the disk can be painted in the same colour as the rest of the ceiling. This allows a maximal visual integration of the ceiling vent.
The mounting elements for affixing the disk to the duct may for example comprise three or more resilient fingers, e.g., radially extending with free ends clamping against the inner wall of the duct, e.g., in matching grooves or recesses in the duct wall. The resilient fingers may be hooks with a first part extending from the disk into the duct end in axial direction, and a second part extending radially and outwardly from the first part to engage the duct wall when the disk is mounted.
Optionally, the ceiling vent may further comprise a regulating valve to be placed within the duct at a distance from the disk, hidden from view by the disk. The regulating valve serves to regulate the desired air flow passing the ceiling vent. Such a regulating valve may for example comprise an annular diffusor fitting within the duct end and having an annular inclined inner wall, and a valve disk having a bevelled peripheral disk edge facing the inclined inner wall of the diffusor. This bevelled peripheral valve disk edge and the inclined inner diffusor wall define a second annular air passage. This second annular air passage has a width which is adjustable, e.g., by adjusting the distance in axial direction between the valve disk and the inclined inner wall. To this end, the valve disk may for example comprise a threaded axle cooperating with a threaded bushing suspended coaxially within the annular diffusor, e.g., by a number of spokes, e.g., radial spokes. This way the width of the second annular air passage can be adjusted by screwing the valve disk in or out.
The width of this second annular air gap should preferably not exceed the width of the first annular gap bordering the ceiling disk.
The annular diffusor can for example be provided with snap fit elements for cooperating with matching snap fit elements in the inner wall of the duct. Usually, standardized duct ends are used having notches at standard positions, which are particularly suitable for use with flexible snap fit latches .
The ceiling vent may for example be made of sheet metal, or a plastic material. Other materials can also be used, if so desired.
Optionally, the ceiling vent may comprise a filter, such as a Hepa filter for cleaning passing air, and/or for spreading a scent.
Optionally, the ceiling vent may include intumescent material blocking the air passage in case of fire.
Optionally, the ceiling vent may have further functionalities, such as a light, e.g., a LED light, a temperature sensor, domotica facilities, a sensor for carbon monoxide or other toxic gases, and/or a smoke sensor.
The ceiling vent will usually be placed in an opening in the ceiling, but may also be placed in a similar opening in a wall, if so desired. To this end, the invention also relates to a kit of parts for building a ceiling vent as disclosed above within a matching opening in a ceiling or wall.
The ceiling vent will hereafter be further explained with further details and benefits with reference to the drawings showing an exemplary embodiment.
Figure 1: shows a ceiling vent in exploded view from a first viewing angle;
Figure 2: shows the ceiling vent of Figure 1 in exploded view from a second viewing angle;
Figure3: showstheceilingventofFigure 1 in top
view;
Figure4: showstheceilingventincross section
alongline a-a in Figure3;
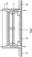
Figure5: showsthecross section of Figure 4 with an
alternative arrangement of the ceiling vent.
Figure 1 shows an exemplary embodiment of a ceiling vent 1 according to the present invention. The ceiling vent 1 comprises a flat disk 3 and a regulator valve 5 to be placed in a duct end 7 in a ventilation opening in a ceiling.
A cassette 8 is located at the end of the duct end 7, opposite to the disk 3. This cassette 8 serves to hold one or more auxiliary facilities, such as a temperature sensor, domotica facilities, a sensor for carbon monoxide or other toxic gases, and/or a smoke sensor.
The disk 3 has a flat front face 9 and a back face 10 provided with three radially extending hook-shaped fingers 11. Alternative embodiments may use more fingers and/or different types of mounting elements, if so desired. The fingers 11 have such a length that the three fingers 11 can be slid into matching axial recesses 13 in the duct end 7 in a clamping manner. The axial length of the recesses 13 is such that the disk 3 is flush with the surrounding ceiling surface when the fingers 11 are at the top end of the recesses 13, as shown in Figures 4 and 5. The fingers 11 space the disk 3 from the inner surface of the duct end 7. The diameter of the disk 3 is smaller than the inner diameter of the duct end 7, so an annular air gap 15 remains between the disk 3 and the edge 17 of the duct end 7 (see Figures 4 and 5). In the shown configuration, the disk 3 is suspended coaxially in the duct end 7, resulting in an annular gap 15 of substantially even width.
The regulator valve 5 comprises an annular diffusor 19 fitting within the duct end 7. The annular diffusor 19 has an inner wall 21 which is inclined so as to narrow down in a direction away from the disk 3. The annular diffusor 19 has three radial spokes 23 (see Figure 3) suspending a bushing 25 with internal threading. Other embodiments may have more than three spokes or a different type of suspension holding the bushing 25. The bushing 25 receives a threaded axle 27 carrying a valve disk 29 having a diameter corresponding to the diameter of the disk 3. The valve disk 29 has a bevelled edge 31 facing the inclined inner surface 21 of the annular diffusor 19. The bevelled edge 31 of the valve disk 29 and the inclined inner surface 21 of the diffusor 19 define an air gap 33 of adjustable width. The width of the air gap 33 is adjustable by screwing the valve disk axle 27 in or out of the bushing 25. The maximum width of the adjustable air gap 33 will not exceed the width of the air gap 15 between the fixed disk 3 and the edge of the duct end 7.
The inner wall of the duct end 7 has circular recesses 35 at three different levels. The annular diffusor 19 has three resilient snap fit latches 37 extending in axial direction. The latches 37 have free ends with cams 39 pointing outwardly and dimensioned to cooperate with the circular recesses 35 in the inner duct end wall.
Figures 4 and 5 show how the ceiling vent can be placed into a ventilation hole in a ceiling 40. In Figure 4, the latches 37 point upwardly and engage the upper circular recess 35. The valve disk 29 is between the annular diffusor 11 and the fixed disk 3. This arrangement is particularly suitable if air flows in via the annular air gap 15 between the fixed disk 3 and the edge of the duct end 7, so the annular air gap 15 between the fixed disk and the duct end serves as an air flow inlet. Figure 5 shows an alternative arrangement, particularly suitable if the air flows in a reverse direction, so the annular air gap 15 between the fixed disk 3 and the duct end 7 is a flow exit. In this arrangement, the fingers 37 point downwardly towards the fixed disk 3.
The fixed disk 3 is flush with the surface of the ceiling 40. A plaster layer 41 covers the ceiling surface, including the outer edge of the duct end 7. The fixed disk 3 can have any suitable colour to be selected by the user. The disk 3 can be replaceable, for instance if the user wants to change the paint colour of the ceiling.
In the shown embodiment, the configuration of the vent is cylindrical and the disk is circular. However, other outlines - such as square, polygonal, oval or rectangular configurations - can also be used, if so desired.

Claims (8)

Translated fromEnglish
CONCLUSIESCONCLUSIONS1. Ventilatiedop of -rooster (1) voor het in- of uitblazen van lucht, voor een plafond, voorzien van een plaat of schijf (3) met een plafondzijde en een zich daartegenover bevindende zijde voorzien van een of meer bevestigingselementen (11) voor bevestiging van de plaat of schijf in een uiteinde van een ventilatieleiding (7) in een positie waarin de schijf of plaat verzonken ligt in het plafond, bijvoorbeeld in hoofdzaak in het vlak van het plafond ligt, onder vrijlating van een luchtdoorlaat.Ventilation cap or grille (1) for blowing in or out air, for a ceiling, provided with a plate or disk (3) with a ceiling side and an opposite side provided with one or more fixing elements (11) for fixing the plate or disc in one end of a ventilation duct (7) in a position in which the disc or plate lies recessed in the ceiling, for example lies substantially in the plane of the ceiling, while leaving an air passage.2. Ventilatiedop volgens conclusie 1, met het kenmerk, dat de plafondzijde (9) van de plaat of schijf in hoofdzaak vlak is.Ventilation cap according to claim 1, characterized in that the ceiling side (9) of the plate or disc is substantially flat.3. Ventilatiedop volgens conclusie 1 of 2, met het kenmerk, dat de bevestigingselementen (11) drie of meer verende radiale vingers omvatten die zijn gedimensioneerd om vast te klemmen tegen de binnenwand van de leiding (7).Ventilation cap according to claim 1 or 2, characterized in that the fixing elements (11) comprise three or more resilient radial fingers which are dimensioned to clamp against the inner wall of the conduit (7).4. Ventilatiedop volgens één van de voorgaande conclusies, verder voorzien van een regelklep (5) op afstand van de schijf.Ventilation cap according to one of the preceding claims, further provided with a control valve (5) remote from the disc.5. Ventilatiedop volgens conclusie 4, waarbij de regelklep (5) een ringvormige diffusor (19) omvat met een ringvormige schuine wand (21), en een klep (29) met een afgeschuinde rand (31) die samen met de ringvormige schuine wand een ringvormige luchtdoorlaat (33) vormt.Ventilation cap according to claim 4, wherein the control valve (5) comprises an annular diffuser (19) with an annular sloping wall (21), and a valve (29) with a beveled edge (31) which together with the annular sloping wall forming an annular air passage (33).6. Ventilatiedop volgens conclusie 5, waarbij de ringvormige luchtdoorlaat (33) een breedte heeft die instelbaar is door het instellen van de afstand in axiale richting tussen de klep (29) en de ringvormige schuine binnenwand van de diffusor (19).A ventilation cap according to claim 5, wherein the annular air passage (33) has a width that is adjustable by adjusting the axial distance between the valve (29) and the annular sloping inner wall of the diffuser (19).7. Ventilatiedop volgens conclusie 4 of 5, waarbijA ventilation cap according to claim 4 or 5, wherein5 de ringvormige diffusor is voorzien van klikverbindingelementen (37), zoals een of meer klikvingers, voor samenwerking met een bijbehorend klikverbindingselement, zoals een richel of gleuf, aan de binnenzijde van de ventilatieleiding (7).The annular diffuser is provided with snap connection elements (37), such as one or more snap fingers, for cooperation with an associated snap connection element, such as a ledge or slot, on the inside of the ventilation duct (7).8. Set van onderdelen voor het samenstellen van een ventilatiedop of -rooster volgens één van de voorgaande conclusies in een daartoe bestemde opening in ene plafond of wand.A set of parts for assembling a ventilation cap or grille according to any one of the preceding claims in an opening intended for this purpose in a ceiling or wall.1/41/4
Figure NL2021244B1_C0001
Figure NL2021244B1_C0001
2/42/4
Figure NL2021244B1_C0002
Figure NL2021244B1_C0002
3/43/4
Figure NL2021244B1_C0003
Figure NL2021244B1_C0003
4/44/4
Figure NL2021244B1_C0004
Figure NL2021244B1_C0004
NL2021244A2018-07-042018-07-04Ceiling ventNL2021244B1 (en)

Priority Applications (1)

Application NumberPriority DateFiling DateTitle
NL2021244ANL2021244B1 (en)2018-07-042018-07-04Ceiling vent

Applications Claiming Priority (1)

Application NumberPriority DateFiling DateTitle
NL2021244ANL2021244B1 (en)2018-07-042018-07-04Ceiling vent

Publications (1)

Publication NumberPublication Date
NL2021244B1true NL2021244B1 (en)2020-01-15

Family

ID=63080444

Family Applications (1)

Application NumberTitlePriority DateFiling Date
NL2021244ANL2021244B1 (en)2018-07-042018-07-04Ceiling vent

Country Status (1)

CountryLink
NL (1)NL2021244B1 (en)

Citations (6)

* Cited by examiner, † Cited by third party
Publication numberPriority datePublication dateAssigneeTitle
DE3600821A1 (en)*1985-01-151986-07-17Tiepoldt, Dieter R., 4190 KleveApparatus for blowing out fresh air for the ventilation of industrial halls or the like
DE8810620U1 (en)*1988-08-221988-12-01H. Krantz Gmbh & Co, 5100 Aachen Air outlet
EP0435000A2 (en)*1989-12-191991-07-03Kesslertech GmbhAir outlet with filter
EP0679844A2 (en)*1994-04-281995-11-02H KRANTZ-TKT GmbHFloor air outlet with cylindrical housing
WO2014036598A1 (en)*2012-09-062014-03-13The Vent Men Pty LtdA vent cover assembly
US20150226450A1 (en)*2013-12-062015-08-13Shenzhen China Star Optoelectronics Technology Co., Ltd.Vent and cover plate assembly for dust-free workshop floor

Patent Citations (6)

* Cited by examiner, † Cited by third party
Publication numberPriority datePublication dateAssigneeTitle
DE3600821A1 (en)*1985-01-151986-07-17Tiepoldt, Dieter R., 4190 KleveApparatus for blowing out fresh air for the ventilation of industrial halls or the like
DE8810620U1 (en)*1988-08-221988-12-01H. Krantz Gmbh & Co, 5100 Aachen Air outlet
EP0435000A2 (en)*1989-12-191991-07-03Kesslertech GmbhAir outlet with filter
EP0679844A2 (en)*1994-04-281995-11-02H KRANTZ-TKT GmbHFloor air outlet with cylindrical housing
WO2014036598A1 (en)*2012-09-062014-03-13The Vent Men Pty LtdA vent cover assembly
US20150226450A1 (en)*2013-12-062015-08-13Shenzhen China Star Optoelectronics Technology Co., Ltd.Vent and cover plate assembly for dust-free workshop floor

Similar Documents

PublicationPublication DateTitle
US7651390B1 (en)Ceiling vent air diverter
US5820247A (en)Modular cover
US6149516A (en)Soffit vent apparatus
US6991534B2 (en)Adjustable vent
US11686483B2 (en)Ventilation fan mounting assembly
KR100957122B1 (en) Ventilation duct diffuser
CA2720297C (en)Insertable air flow blocking device for ceiling vent diffuser
US20120156982A1 (en)Floor Register With Rotatable Air Deflector
US20200063946A1 (en)Mounting System For Magnetic Installation Of A Rimless Finishing Section
NL2021244B1 (en)Ceiling vent
US20210140674A1 (en)Floor vent
US9249982B2 (en)Ceiling vent diffuser
US11054169B2 (en)Laminar flow diffuser with integrated lighting
US5564975A (en)Air flow controller for heating and air conditioning vents
US20080227382A1 (en)Ceiling Vent Air Diverter
US4512241A (en)Plenum/vacuum chamber with duct connection for installation in cabinet of fixture to control air supply or return
KR200414327Y1 (en) defuser
NL2027339A (en) Electrical device foreseen in or on a ventilation duct
US20240255164A1 (en)An air valve with improved ventilation
NL2021027B1 (en)Cover and base for an air diffuser, air diffuser, air diffusing system and method for controlling the air flow of an air diffusing system.
KR101507367B1 (en) Equipped with a plurality of damper adjustable airflow diffuser for air conditioning unit
US5046405A (en)Air diffuser
US20070184776A1 (en)Air diffuser
EP0872694A2 (en)Heating, ventilating and air conditioning systems
NL2013030B1 (en)Building with ventilation system and terminal.

[8]ページ先頭

©2009-2025 Movatter.jp