










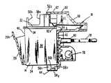
제1도는 전기적 상호 연결부와 함께 조립된 캐리지/카트리지 조립체의 사시도.1 is a perspective view of a carriage / cartridge assembly assembled with electrical interconnects.
제2도는 전기적 상호 연결 조립체 및 카트리지내의 탄성체 지지부의 확대 측면도.2 is an enlarged side view of an elastomeric support in an electrical interconnect assembly and a cartridge.
제3도는 탄성체 지지부의 부분 절췌 사시도.3 is a partial cutaway perspective view of the elastic support.
제4도는 캐리지의 정면도.4 is a front view of the carriage.
제5도는 카트리지가 없는 캐리지의 측면도.5 is a side view of a carriage without a cartridge.
제6a도는 캐리지 내로 삽입되었으나 제위치에 쇄정되지는 않은 카트리지를 도시하는, 제5도의 조립체의 횡단면도.FIG. 6A is a cross-sectional view of the assembly of FIG. 5 showing the cartridge inserted into the carriage but not locked in place.
제6b도는 제 위치에 쇄정된 카트리지를 도시하는, 제6a도와 유사한 횡단면도.FIG. 6B is a cross sectional view similar to FIG. 6A, showing the cartridge locked in place.
제7도는 카트리지 내에 조립된 전기적 상호 연결부 및 탄성체 지지부를 도시하는 확대 단면도.7 is an enlarged cross sectional view showing an electrical interconnect and an elastic support assembled within a cartridge;
제8도는 캐리지 내에서의 전기적 상호 연결부의 위치를 도시하기 위해 카트리지 슈트를 제거한 측면도.8 is a side view with the cartridge chute removed to show the location of the electrical interconnects within the carriage.
제9도는 프린트헤드 내에서 저항기들과의 전기적 연결을 제공하는 프린트헤드 전기적 접촉부, 및 기준 패드들을 도시하는, 카트리지의 사시도.9 is a perspective view of a cartridge showing printhead electrical contacts and reference pads providing electrical connection with resistors within the printhead.
* 도면의 주요부분에 대한 부호의 설명* Explanation of symbols for main parts of the drawings
10 : 프린트 카트리지/캐리지 조립체12 : 캐리지10: print cartridge / carriage assembly 12: carriage
14 : 카트리지16 : 상호 연결 스트립14 cartridge 16: interconnect strip
18 : 기부 지지부20 : 슈트18: base support 20: chute
20b, 50b, 50a, 68 : 파지부22 : 결속장치20b, 50b, 50a, 68: holding part 22: binding device
24 : 스프링 패드26 : 탄성 돌기24: spring pad 26: elastic projection
27 : 성형부28 : 전도선27: molded part 28: conductive wire
30 : 접촉 요구부44 : 프린트헤드30: contact request 44: printhead
46 : 접촉 스트립48 : 접촉 패드46: contact strip 48: contact pad
56 : 기준 패드58 : 측면 스프링56: reference pad 58: side spring
60 : L-형 부재62 : 스냅-스프링60: L-shaped member 62: snap-spring
64 : 레지 부재66, 67 : 하우징64:
70 : 베어링72 : 벨트 부착부70: bearing 72: belt attachment portion
74 : 슬라이더 범프76 : 캐리지 안내부74: slider bump 76: carriage guide
78 : 삽입기 아암80 : 축78: inserter arm 80: axis
본 발명은 잉크-제트 프린터(ink-jet printer)들에 관한 것이며, 특히, 프린트헤드(printhead)와 캐리지(carriage)의 정렬(alignment) 및 프린트헤드를 제어하기 위한 전기적 상호연결부 쇄정 기구(eletrical interconnect lock-in mechanism)에 관한 것이다.TECHNICAL FIELD The present invention relates to ink-jet printers, and in particular, an electrical interconnect correction mechanism for controlling the printhead and alignment of the printhead and carriage. lock-in mechanism).
잉크-제트 프린팅 기술에 있어서, 노즐판 내의 복수개의 노즐들로 구성된, 프린트헤드는 잉크의 저장부와 유동적으로 연관되어 있다. 프린트헤드는 프린트카트리지(print cartridge)의 한쪽 단부상에 장착되어 있다.In ink-jet printing techniques, a printhead, consisting of a plurality of nozzles in a nozzle plate, is fluidly associated with a reservoir of ink. The printhead is mounted on one end of a print cartridge.
프린터 내의 마이크로프로세서로부터 프린트헤드로 전기적 신호를 전달하는 상호 연결 장치가 마련된다. 열 잉크-제트 프린터들에 대해서, 이와 같은 신호들은 노즐들과 연관된 저항기(registor)들에 전류를 공급하고 또한 그러므로 특정한 저항기들의 가열을 제어하며, 이는 차례로 잉크의 소적(droplet)들을 형성한다. 잉크의 소적들은 노즐들을 통해 종이와 같은, 프린트 매체를 향해 발사된다. 저항기 가열의 특수한 패턴(pattern)은 프린트매체 상에 형성된 문자들의 패턴을 제어한다.An interconnect device is provided for transferring electrical signals from the microprocessor in the printer to the printhead. For thermal ink-jet printers, such signals supply current to the resistors associated with the nozzles and therefore control the heating of certain resistors, which in turn form droplets of ink. Droplets of ink are fired through the nozzles toward the print media, such as paper. A special pattern of resistor heating controls the pattern of characters formed on the print media.
프린트 카트리지는 캐리지내에 지지되며, 상기 캐리지는, 프린터를 통한 프린트 매체의 이동에 수직한, 2방향으로 이동하도록 되어 있다. 캐리지 이동은 모우터 및 관련 벨트 구동에 의해 제어되며, 모우터는 마이크로프로세서에 의해 제어된다.The print cartridge is supported in the carriage, and the carriage is adapted to move in two directions perpendicular to the movement of the print medium through the printer. Carriage movement is controlled by the motor and associated belt drive, which is controlled by the microprocessor.
잉크-제트 카트리지의 캐리지내로의 삽입은 종종 양손의 사용 또는 2개의 동작들을 필요로한다. 또한, 많은 카트리지/캐리지 형상들은 노즐판의 X, Y 및 Z방향들 내에서의 동시적인 정렬을 제공하지 않는다. 마지막으로, 프린트헤드와 상호 연결 장치 사이의 접촉은, 마지막으로, 프린트헤드와 상호 연결 장치 사이의 접촉은, 알맞은 노즐 화이어링(firing)을 보장하기 위해, 신뢰성있게 이루어져야만 한다.Insertion of the ink-jet cartridge into the carriage often requires the use of both hands or two operations. In addition, many cartridge / carriage shapes do not provide simultaneous alignment in the X, Y and Z directions of the nozzle plate. Finally, the contact between the printhead and the interconnect device, and finally, the contact between the printhead and the interconnect device must be made reliably to ensure proper nozzle firing.
따라서, 선행 기술의 단점들이 없이 전술한 장점들은 포함하는 카트리지/캐리지 조립체를 마련하는 것이 바람직하다.Thus, it would be desirable to have a cartridge / carriage assembly that includes the above advantages without the disadvantages of the prior art.
본 발명에 따라서, 프린트헤드 카트리지 및 캐리지 조립체는, (a) 캐리지, (b) 프린팅 카트리지를 캐리지내의 제 위치에 고정시키기 위한 장치, 및 (c) 카트리지에 대해 압압되도록 강제 부하장치(force loading means)를 포함하며, 카트리지에 전기적 신호들을 공급하기 위한 상호연결 장치로 구성되도록 마련된다.According to the invention, the printhead cartridge and carriage assembly comprise (a) a carriage, (b) a device for holding the printing cartridge in place within the carriage, and (c) a force loading means to be pressed against the cartridge. And an interconnect device for supplying electrical signals to the cartridge.
카트리지는 정부면, 저면, 측면들, 정면 및 배변들을 가지고 있으며 또한 저부면 상의 프린트헤드, 프린트헤드에 연결된 배면상의 접촉부, 측면들상의 기준 패드(referencing pad)들, 및 카트리지를 캐리지 내의 제위치에 쇄정하기 위한 스냅-스프링(snap-spring)을 수납하기 위한 배면상의 순부(lip)를 포함한다. 강제 부하장치는 상호연결 장치를 카트리지의 접촉부에 대해 압압한다.The cartridge has a front, bottom, sides, front, and bowel movements, and also has a printhead on the bottom surface, back contacts connected to the printhead, referencing pads on the sides, and the cartridge in place within the carriage. And a back lip for receiving a snap-spring for locking. The forced load device presses the interconnect device against the contacts of the cartridge.
본 발명의 프린트헤드 카트리지/캐리지 조립체는 카트리지를 제 위치에 삽입 및 쇄정하는데 오직 작업자의 한쪽 손만을 필요로 한다. 또한, 카트리지/캐리지 조립체는 노즐판의 X, Y 및 Z방향들내에서의 동시적인 정렬을 마련한다. 마지막으로, 프린트헤드와 상호 연결 장치 사이의 접촉은 카트리지가 제 위치에 삽입 및 쇄정될때 마다 매번 확실하여, 매번 알맞은 노즐 화이어링을 보장한다.The printhead cartridge / carriage assembly of the present invention requires only one hand of the operator to insert and lock the cartridge in place. The cartridge / carriage assembly also provides for simultaneous alignment in the X, Y and Z directions of the nozzle plate. Finally, the contact between the printhead and the interconnect device is secured each time the cartridge is inserted and locked in place, ensuring proper nozzle firing each time.
이제 도면들에 대해 설면하면, 전체에 걸쳐서 동일한, 참조 번호들은 동일한 요소들을 지칭하며, 제1도에는 프린트 카트리지/캐리지 조립체를 도시한다. 조립체(10)은 캐리지(12)로 구성되며 상기 캐리지(12)내에는 프린트 카트리지(14)가 적덜한 위치에 쇄정되어 잇다. 상호 연결 스트립(16)은, 보다 상세히 후술하는 바와 같이, 전기적 신호들을 마이크로프로세서(도시 생략)로부터 카트리지(14)로 공급한다.Referring now to the drawings, like reference numerals refer to like elements throughout, and FIG. 1 shows a print cartridge / carriage assembly. The
제2도에 도시한 바와 같이, 캐리지(12)는 기부 지지부(18) 및 상기 기부 지지부에 결속장치(22)에 의해 결합된 슈트(chute)(20)로 구성된다. 캐리지(12)는 유리충전, 탄소충전, 폴리테트라플루오로에틸렌 충전, 규소 충전 폴리카보네이트(glass-filled, carbon-filled, polytetrafluoroethylene-filled, silicon-filled polycarbonate)로 유리하게 구성된다.As shown in FIG. 2, the
상호연결 스트립(16) 및 스프링 패드(24)는 지지부(18)과 슈트(20) 사이에 삽입되어 있다. 스프링 패드(24)는 탄성적인 탄성체 재료로 구성되며, 또한, 제3도에 도시한 바와 같이, 복수개의 탄성돌기(resilient bump)(26)들로 구성된다. 스프링 패드(24)는, 보다 상세히 후술하는 바와 같이, 상호 연결 스트립(16)의 일부분 뒤에서, 캐리지 기부 지지부(18)내의 (제4도에 도시한)압하부(25)내에 착좌된다.The
기부 지지부(18) 및 슈트(20)은 점(pip)들과 같은 성형부(molded-in feature)(27)들에 의해 적절한 관계로 정렬되며, 상기 성형부(27)들은 상호연결 스트립(16)내의 대응하는 개구부들을 관통하여 다른쪽 부재내의 대향된 개구부들 내에 계합된다.
제8도에 더 명확하게 도시한 바와 같이, 상호 연결 스트립(16)은 복수개의 전기전도선(28)들을 수반하는 가요성 유전 재료(dielectric material)의 스트립으로 구성된다. 전도선(28)들은 특수한 모양으로 되어 있는 볼록한 접촉 돌기들 또는 요구부(dimple)(30)들 내에서 종료된다.As shown more clearly in FIG. 8, the
스프링 패드(24)상의 돌기(26)들은 상호 연결 스트립(16)상의 접촉 요구부(30)들과 유사한 모양으로 되어있다. 제7도에 도시한 바와 같이, 스프링 패드 돌기(26)들은 접촉 요구부(30)들을 카트리지에 대해 압압하는 접촉 요구부(30)들에 대한 강제 부하 장치를 마련한다.The
카트리지(14)는 정부면(32), 저면(34), 측면(36), (38), 정면(40) 및 배변(42)로 구성된다. 카트리지(14)는 개량된 폴리페닐렌 산화물로 유리하게 구성된다.The
프린트헤드(44)는 저면(34)상에 마련된다. 프린트헤드(44)는 노즐판(도시 생략)내에 성형된 복수개의 노즐들(도시 생략)과 연관된 복수개의 저항기들로 구성된다. 잉크(도시 생략)는 카트리지(14)내부의 저장기내에 저장된다.The
또한, 커트리지(14)는 배면(42)상에 접촉 스트립(46)을 포함하며, 상기 접촉 스트립(46)은, 저항기들과의 복수개의 전도 통로들 또는 트레이스(trace)들을 마련하도록 저면(34)둘레까지 포위한다. 특히 각각의 저항기는 독특한 전도 통로를 따라 전기 신호가 공급된다. 접촉 스트립(46)은, 상호 연결 스트립(16)상의 볼록한 접촉 요구부(30)들과 동일한 모양으로 배설되어 있는, 복수개의 볼록한 접촉 패드(48)을 포함한다. 보다 상세히 후술하는 바와 같이, 캐리지(12) 내에서의 카트리지(14)의 쇄정은, 마이크로프로세서로부터 프린트 헤드(44)내의 각각의 저항기들로의 전기 통로를 마련하도록, 접촉 요구부(30)들을 접촉 패드(48)들과 결합시킨다.The
접촉 스트립(46)은 복수개의 전기 트레이스를 가지고 있는 가요성 재료로 구성된다. 적합하게는, 미합중국 미네소타주 미니애폴리스에 소재하는 3M Company사에 의해 제조 및 판매되는 형태의 테이프 자동 접합(tape automated bond : TAB)회로가 사용된다.
카트리지(14)의 정부면(32)에는 한 쌍의 파지부들(finger grips)(50a), (50b)가 갖추어져 있다. 더 긴 파지부(50a)는 V-형 부재(52a)에서 종료되며, 상기 V-형 부재(52a)에는 카트리지의 올바른 방향을 표시하는 화살표시가 갖추어질 수 있다. 카트리지(14)가 캐리지(12)내에 쇄정되어 있을 때, 카트리지는 올바른 위치에 대한 가시적인 기준을 제공하는 캐리지 사의 유사한 모양으로된 면까지 수납된다. 또한 폐쇄 이부(lock-out ear)(54)들도 캐리지(12)내에서 카트리지(14)가 잘못 위치되는 것을 방지하도록 작용한다.The
제9도에 보다 명확히 도시한, 기준 패드(reference pad)(56)들을 카트리지(14)의 기부 근처에서 카트리지(14)상에 마련 된다. 특히, 기준 패드(56)들의 2개의 세트(set)들이 마련되는데, 이들은 노즐판을 X, Y 및 Z방향으로 정렬시키는 조각면(sculpted surface)들로 구성된다. X기준 패드(56x)는 측면(38)과 평행한 면이다. 캐리지(12)에는 카트리지를 슈트(20)의 한쪽 측면에 대해 밀도록 대향된 측면(36)에 대해 압압하는 측면 스프링(58)이 갖추어져 있으므로, 오직 하나의 X기준 패드(56x)만이 있다. Y기준 패드는 조각면의 상부 수직면(56y)로 구성된다. Z기준 패드는 조각면의 내측 수평면(56z)로 구성된다. 56y와 56z의 교차점은 선회점 또는 회전점(56r)로 구성되며, 쇄정 작업 동안에 카트리지(14)는 상기 회전점(56r)을 중심으로 회전한다.
지지 기부(18)상의 하향 종속 L-형 부재들(60a, b)는 각각 기준 패드(56)들 중 하나와 결합 관계로 협력적으로 계합된다. 슈트(20)의 상부 부분내의 레지부재(ledge member)(64)와 계합된다. 슈트(20)의 상부부분내의 스냅-스프링(62)는 카트리지(14)의 배면상의 레지 부재(ledge member)(64)와 계합된다.Downwardly dependent L-shaped members 60a, b on
L-형 부재들(60a, b)는 기준면을 제공하며 상기 기준면에 대하여 카트리지의 기준 패드(56)들이 지지된다. 특히, 기준 패드(56x)는 측면 스프링(58)의 대향된 측면상의 부재(60a)상의 기준면(60x)에 대해 지지된다. 기준 패드(56y)들은 (제2도에 도시한)기준면 (60y)들에 대해 뒤로 민다. 기준 패드(56z)들은 기준면(60z)상에서 하향 지지된다.The L-shaped members 60a, b provide a reference plane with which the
스냅-스프링(62)는 캐리지 지지 기부(18)의 성형부(66)내에 들어있다. 기부(18) 및 슈트(20)이 조립되어 있을때 스냅-스프링(62)위에 착좌되는, 상대 하우징(67)은 내부 V-형 면(67a)를 포함하며, 상기 내부 V-형 면(67a)는 카트리지(14)의 유사한 모양으로된 면(52a)를 수납한다. 하우징(66)의 배면은 파지부(68)로 구성된다. 또한 카트리지 슈트(20)의 정면에도 파지부(20b)가 갖추어져 있다.The snap-
카트리지(12)의 지지부(18)은, 캐리지 로드(도시생략)와 연관된, 베어링(70)을 포함한다. 캐리지 로드는 용지 구동 축(도시 생략)과 대체로 평행하게 위치되어 있으며, 또한 상기 용지구동축을 따르는 캐리지(12)의 2방향 이동을 가능케 한다. 캐리지(12)는 벨트 부착부(72)에 의해 캐리지에 부착된 벨트(도시 생략)에 의해 이동된다. 벨트는 캐리지 구동 모우터(도시 생략)에 부착되며, 상기 캐리지 구동 모우터는 마이크로프로세서에 의해 제어된다.The
기준 장치, 또는 슬라이더 범프(slider bump), (74)는 캐리지 안내부(76)의 면 상에 얹혀 있다. 캐리지(12)의 중량은 슬라이더 범프(74)를 캐리지 안내부(76)에 대해 예부하하여, 항상 계속해서 접촉하게 한다. 슬라이더 범프(74)는 저마찰, 내마모성 재료로 구성되며 또한 분체(separat piece)이거나 또는 캐리지(12)의 성형부일 수 있다. 슬라이더 범프(74)는 프린트헤드(44)를 프린트 매체로부터 일정하고, 고정된 거리로 유지하는 역할을 한다.A reference device, or
또한, 캐리지 기부(18)은 축(80)내에 고정된 삽입기 아암(78)을 포함한다. 삽입기 아암의 기능은 조립체(10)이 프린팅 작업들 사이에 존재하는 서어비스 스테이션 내에서 기계적으로 트리거링하는 특정한 특징들에 관계되며, 또한 본 발명과 무관한다.The
프린트헤드 쇄정 기구는, 동시적으로 노즐판을 X, Y 및 Z 방향들로 정렬시키고 또한 전기적 상호 연결 스트립(16)의 접촉 패드들을 정렬, 와이핑(wiping), 및 부하(loading)시키므로, 독특하다. 이는, 다른 잉크-제트 프린터들에서 볼 수 있는 것과 같은 베일(bail), 래치(latch) 또는 레버 아암을 전혀 추가 함이 없어도 성취될 수 있다. 노즐판의 정렬 및 상호 연결 스트립(16)의 부하는 사용자가 카트리지(14)를 선회점(56r)을 중심으로, 화살표(제6a도) 방향으로 회전 시킬때 일어난다. 사용자는 엄지와 집게 손가락 사이에 카트리지 엄지 손가락 자리(thumbhold)(50a) 및 캐리지 집게 손가락 자리(68)을 파지함으로써 이를 행한다.The printhead locking mechanism is unique because it simultaneously aligns the nozzle plate in the X, Y, and Z directions and also aligns, wipes, and loads the contact pads of the
사용자는 카트리지(14)를 쇄저 위치로 파지하기 전에, 카트리지를 캐리지 슈트(20)내로 쉽게 집어 넣을 수 있어야 한다. 카트리지(14)를 정렬시키는 스프링들(58), (62)는 카트리지가(제6b도에 도시한)쇄정 위치로 회전하기 시작할때 까지는 카트리지에 어떤 힘도 가하지 않는다. 이는 사용자가 카트리지를 제6a도에 도시한, 예회전 위치로 쉽게 집어넣을 수 있도록 방해 받지 않는 통로를 통과한다. 그러나, 사이드-킥커 스프링(side-kicker spring)(20)은 카트리지(14)를 삽입할때 약한 힘을 가한다.The user should be able to easily insert the cartridge into the
카트리지(14)는 기준 패드(56)들을 중심으로, 특히, 점(56r)을 중심으로 회전한다. 사용자가 카트리지(14)를 회전시킬때, 정렬 기능들은 전기적 상호연결 스트립(16)이 부하되기 전에 이행된다. 첫째로, 카트리지(14)의 한쪽 측면(36)은 성형된 캐리지 측면 스프링(molded-in carriage side spring)(58)가 계합된다. 상기 스프링(58)은 카트리지 사이드웨이(sideway)들은 X기준 패드(56x)가 카트리지 상의 X기준 패드(60x)와 접촉할때까지 미는 것에 의해 X방향내에서 카트리지(14)를 레퍼런싱(referencing)시킨다. 그 결과 노즐판은 X방향내에서 정확하고, 경사없이 정렬된다.The
그 다음에 일어나는 작용은 Z방향 내에서의 정렬이다. 카트리지(14)의 배면 레지(64)가 배면 금속 스냅-스프링(62)와 충돌할때, 스프링은 Z기준패드(56z)들이 카트리지(12)상의 Z기준 패드(60z)들과 접촉할때까지 카트리지를 Z방향으로 민다. 그 결과 전기적 상호 연결부(16) 및 노즐판은 Z방향내에서 정확하고, 경사없이 정합(registration)된다.The next action that takes place is alignment in the Z direction. When the
카트리지(14)가 회전점(56r)을 중심으로 제위치로 계속 회전할 때, 카트리지 접촉부(46)상의 전기적 상호 연결 오목 접촉 패드(48)들은 캐리지 상호 연결 스트립(16)상의 볼록 접촉 요구부(30)들에 의해 약간 와이핑된다. 이는, 상호 연결부(16)이 부하되기 전에 접촉부들(30) 및 (48)에서 산화물들 및 오염물이 와이핑되므로, 선행 기술의 프린터들 상의 요구부로된 상호 연결부 보다 개선된 신뢰도를 제공한다.As the
와이핑 작용은 카트리지 전기적 접촉 패드(48)들의 X방향으로의 정렬에 의해 수반된다. 이는 카트리지의 외측 배면 힐 록크 태브(rear heel lock tab)들이 캐리지(12)상의 힐 록크 슬롯(heel lock slot)(86)의 측면들(86a, c)과 계합될때 일어난다. 캐리지(12)상의 상호 연결 스트립(16)은 핀(27)들에 의해 힐 록크 슬롯(86)에 정확히 레퍼런싱 되어, 카트리지의 전기적 접촉 패드(48)들과 상호 연결 스트립의 요구된 정렬을 마련한다. 접촉 스트립(46)은, 아교 또는 접착제등에 의해서, 카트리지(14)에 결속되며 또한 조립기에 의해 레퍼런싱 된다.The wiping action is accompanied by the alignment of the cartridge
마지막으로, 카트리지(14)는 Y방향으로 정확히 정렬된다. 카트리지(12)상의 전기적 연결부의 고무 스프링 패드(24)는 필요한 접촉력을 유지하기 위하여 Y방향으로 적당한 거리를 변형되어야 한다. 카트리지(14)의 배면(42)내에서, 고무 스프링(24)는 카트리지 상의 Y기준 패드(56y)가 캐리지상의 Y기준 패드(60y)들과 접촉하도록 전기적 접촉부들(30) 및 (48)에 대해 뒤로 민다. 이는, 카트리지(14)의 배면(42)상에서, 접촉 스트립(46) 상에 위치된 접촉 패드(48)들 상에 필요한 힘을 유지한다. 또한, 이는 노즐들의 회전 정렬을 제어함은 물론 노즐판의 정확한 Y정합을 마련한다.Finally, the
카트리지(14)의 정부(32)에서, Y 및 Z방향으로의 필요한 접촉력은 후방 스냅-스프링(62)에 의해 유지된다. 카트리지(14)가 쇠정 위치로 회전할때, 카트리지(14)의 후방 순부(64)는 후방 스냅-스프링(62)를 변형시키고 또한 스냅-스프링 상의 중심 이탈 지점(over-center point)(62a)(제6a도)을 통과한다. 스냅-스프링(62)는 Y방향으로 약 70%의 힘을 가하도록 설계된다. 이는 카트리지(14)의 배면(42)내에 전기적 상호 연결부(16)을 유지하는데 필요한 힘이다.In the
카트리지(14)가 후방 스냅-스프링(62)상의 중심이탈 지점(62a)를 통과할 때, 카트리지는 사용자에게 카트리지가 알맞은 쇄정 위치에 있다는 것을 알리도록 들을 수 있는 찰깍 하는 소리(snap)가 나게 한다. 고무 상호 연결 스프링 패드(24)의 힘은 카트리지가 정상적인 프린팅 작업중에 겪는 카트리지를 정확하게 정렬된 위치로 고정하기에 충분하다.As the
카트리지(14)를 캐리지(12)로부터 제거하기 위해서, 사용자는 엄지와 집게 손가락 사이에 카트리지 집게 손가락 자리(50b) 및 캐리지 엄지손가각 자리(20b)를 파지 함으로써 카트리지를 단순히 회전시킨다. 카트리지(14)상의 후방 레지(64)는 카트리지가 해정된 위치로 중심이탈할 때까지 후방 스냅-스프링(62)를 변형시킨다. 이때 사용자에게 이제 카트리지(14)가 캐리지의 밖으로 들어올려 질 수 있다는 것을 알려주는 들을 수 있는 찰깍 하는 소리가 난다.To remove the
본 명세서에 기재한 프린트 카트리지/캐리지 조립체는 잉크-제트 프린터들, 특히 열 잉크-제트 프린터들에 유용하다.The print cartridge / carriage assembly described herein is useful for ink-jet printers, in particular thermal ink-jet printers.
이상, 카트리지의 캐리지내에서의 재현가능하고 정확한 정합과 함께, 용이하고 조립 및 분해되는 잉크-제트 프린트 카트리지/캐리지 조립체에 대해 기술하였다. 다양하고 명백한 변경들 및 변화들은 본 기술에 보통으로 숙련된 자들에 의해 쉽게 분명해질 것이며, 또한 모든 이와 같은 변경들 및 변화들은, 첨부된 특허 청구의 범위에 의해 정해지는, 본 발명의 범위 내에 포함되는 것으로 간주한다.The foregoing has described an ink-jet print cartridge / carriage assembly that is easy, assembled and disassembled, with reproducible and accurate registration in the carriage of the cartridge. Various obvious changes and changes will be readily apparent to those skilled in the art, and all such changes and changes are intended to be included within the scope of the invention as defined by the appended claims. To be considered.
| Application Number | Priority Date | Filing Date | Title | 
|---|---|---|---|
| US11310187A | 1987-10-23 | 1987-10-23 | |
| US113,101 | 1987-10-23 | 
| Publication Number | Publication Date | 
|---|---|
| KR890006390A KR890006390A (en) | 1989-06-13 | 
| KR960012777B1true KR960012777B1 (en) | 1996-09-24 | 
| Application Number | Title | Priority Date | Filing Date | 
|---|---|---|---|
| KR1019880013841AExpired - Fee RelatedKR960012777B1 (en) | 1987-10-23 | 1988-10-22 | Printhead-carriage alignment and electrical interconnect clamping mechanism | 
| Country | Link | 
|---|---|
| EP (1) | EP0313205B1 (en) | 
| JP (1) | JP3069105B2 (en) | 
| KR (1) | KR960012777B1 (en) | 
| CA (1) | CA1304983C (en) | 
| DE (1) | DE3852126T2 (en) | 
| SG (1) | SG2795G (en) | 
| Publication number | Priority date | Publication date | Assignee | Title | 
|---|---|---|---|---|
| JP2763310B2 (en)* | 1988-12-29 | 1998-06-11 | キヤノン株式会社 | Inkjet cartridge | 
| JP2728912B2 (en)* | 1988-12-29 | 1998-03-18 | キヤノン株式会社 | Ink jet cartridge and ink jet recording apparatus | 
| ATE161484T1 (en)* | 1989-09-18 | 1998-01-15 | Canon Kk | INK JET HEAD CARRIAGE AND APPARATUS HAVING THE SAME | 
| US5216448A (en)* | 1989-09-18 | 1993-06-01 | Canon Kabushiki Kaisha | Ink jet recording head carriage and an apparatus with same | 
| WO1991006432A1 (en)* | 1989-10-30 | 1991-05-16 | Siemens Aktiengesellschaft | Ink-printing mechanism with replaceable printing heads | 
| JP2761065B2 (en)* | 1989-12-25 | 1998-06-04 | キヤノン株式会社 | Ink jet recording device | 
| JPH0433550U (en)* | 1990-07-17 | 1992-03-18 | ||
| US5208610A (en)* | 1991-07-31 | 1993-05-04 | Hewlett-Packard Company | Pen carriage for an ink-jet printer | 
| US5212502A (en)* | 1992-03-04 | 1993-05-18 | Eastman Kodak Company | Ink jet print head mounting mechanism | 
| US5359357A (en)* | 1992-03-19 | 1994-10-25 | Fuji Xerox Co., Ltd. | Ink-jet recording apparatus | 
| EP0581297B1 (en)* | 1992-07-30 | 1999-03-17 | Canon Kabushiki Kaisha | Recording head unit and recording apparatus using same | 
| US5561450A (en)* | 1992-09-30 | 1996-10-01 | Pitney Bowes Inc. | Apparatus for mounting an ink jet cartridge on a support therefor | 
| EP0603902B1 (en)* | 1992-12-25 | 2000-05-24 | Canon Kabushiki Kaisha | Liquid jet-head and liquid jet apparatus having said liquid jet-head used therefor | 
| US5461482A (en)* | 1993-04-30 | 1995-10-24 | Hewlett-Packard Company | Electrical interconnect system for a printer | 
| US5408746A (en)* | 1993-04-30 | 1995-04-25 | Hewlett-Packard Company | Datum formation for improved alignment of multiple nozzle members in a printer | 
| US5598194A (en)* | 1993-04-30 | 1997-01-28 | Hewlett-Packard Company | Wiping structure for cleaning electrical contacts for a printer and ink cartridge | 
| EP0622207B1 (en)* | 1993-04-30 | 1999-06-02 | Hewlett-Packard Company | Common ink jet cartridge platform for different print heads | 
| EP0622240B1 (en)* | 1993-04-30 | 1998-06-10 | Hewlett-Packard Company | Modular carriage assembly for an ink jet printer | 
| US5646665A (en)* | 1993-04-30 | 1997-07-08 | Hewlett-Packard Company | Side biased datum scheme for inkjet cartridge and carriage | 
| JP3217610B2 (en)* | 1993-09-03 | 2001-10-09 | キヤノン株式会社 | Ink jet recording device and information processing system | 
| US5589861A (en)* | 1994-05-31 | 1996-12-31 | Hewlett-Packard Company | Cleaner cartridge for an inkjet printing mechanism | 
| JP3352291B2 (en) | 1994-08-04 | 2002-12-03 | キヤノン株式会社 | Information processing device | 
| US6260950B1 (en)* | 1995-04-21 | 2001-07-17 | Canon Kabushiki Kaisha | Ink jet printing system using printers with interchangeable printing units | 
| US6193350B1 (en) | 1995-09-29 | 2001-02-27 | Hewlett-Packard Company | Method and apparatus for dynamically aligning a printer printhead | 
| US5751305A (en)* | 1995-09-29 | 1998-05-12 | Hewlett-Packard Company | Method and apparatus for dynamically aligning a printer printhead | 
| US5847722A (en)* | 1995-11-21 | 1998-12-08 | Hewlett-Packard Company | Inkjet printhead alignment via measurement and entry | 
| CN1191938C (en) | 1997-08-22 | 2005-03-09 | 萨尔技术有限公司 | Method of manufacture of printing apparatus | 
| EP1466741B1 (en) | 1998-05-13 | 2007-08-22 | Seiko Epson Corporation | Ink cartridge for ink-jet printing apparatus | 
| JP3495926B2 (en) | 1998-10-27 | 2004-02-09 | キヤノン株式会社 | Recording device | 
| US6227663B1 (en)* | 2000-01-05 | 2001-05-08 | Hewlett-Packard Company | Ink-jet print cartridge having a low profile | 
| US7367650B2 (en) | 2004-01-21 | 2008-05-06 | Silverbrook Research Pty Ltd | Printhead chip having low aspect ratio ink supply channels | 
| US7467863B2 (en) | 2005-12-05 | 2008-12-23 | Silverbrook Research Pty Ltd | Inkjet printer with disengageable maintenance station drive coupling | 
| US7513603B2 (en) | 2005-12-05 | 2009-04-07 | Silverbrook Research Pty Ltd | Printhead assembly with ink inlet valve | 
| US7357496B2 (en) | 2005-12-05 | 2008-04-15 | Silverbrook Research Pty Ltd | Inkjet printhead assembly with resilient ink connectors | 
| US7469990B2 (en) | 2005-12-05 | 2008-12-30 | Silverbrook Research Pty Ltd | Inkjet printer with printhead cartridge and cradle that interengage via an overcentre mechanism | 
| US7431440B2 (en) | 2005-12-05 | 2008-10-07 | Silverbrook Research Pty Ltd | Ink reservoir with air bag | 
| US7524023B2 (en) | 2005-12-05 | 2009-04-28 | Silverbrook Research Pty Ltd | Ink reservoir with constant hydrostatic pressure outlet | 
| US7467852B2 (en) | 2005-12-05 | 2008-12-23 | Silverbrook Research Pty Ltd | Inkjet printer with printhead cartridge and ink cartridge | 
| WO2007065189A1 (en)* | 2005-12-05 | 2007-06-14 | Silverbrook Research Pty Ltd | Inkjet printer with printhead cartridge and cradle that interengage via an overcentre mechanism | 
| US7465045B2 (en) | 2005-12-05 | 2008-12-16 | Silverbrook Research Pty Ltd | Printer with ink cartridge for engaging printhead cartridge and printer body | 
| US7527353B2 (en) | 2005-12-05 | 2009-05-05 | Silverbrook Research Pty Ltd | Ink cartridge with sealed air inlet | 
| US7441882B2 (en) | 2005-12-05 | 2008-10-28 | Silverbrook Research Pty Ltd | Inkjet printer with printhead cartridge levered into operative position | 
| US7431443B2 (en) | 2005-12-05 | 2008-10-07 | Silverbrook Research Pty Ltd | Ink reservoir with pressure regulating valve | 
| US7556364B2 (en) | 2005-12-05 | 2009-07-07 | Silverbrook Research Pty Ltd | Ink cartridge with self sealing outlet valve | 
| JP5190768B2 (en)* | 2008-03-12 | 2013-04-24 | 富士ゼロックス株式会社 | Mounting member and electrical equipment | 
| GB2499105B (en)* | 2012-01-12 | 2014-09-17 | Seiko Epson Corp | Cartridge and printing material supply system | 
| RU2016139114A (en)* | 2012-01-12 | 2018-12-13 | Сейко Эпсон Корпорейшн | CARTRIDGE AND PRINTING SYSTEM | 
| JP6221566B2 (en)* | 2013-09-26 | 2017-11-01 | セイコーエプソン株式会社 | Method for regenerating liquid container and liquid container | 
| JP6930165B2 (en)* | 2017-03-24 | 2021-09-01 | セイコーエプソン株式会社 | Cartridge and liquid supply unit | 
| DE202021104870U1 (en)* | 2021-09-09 | 2021-09-17 | NSTI - Northern Scientific Tech and Integration UG (haftungsbeschränkt) | Label system | 
| Publication number | Priority date | Publication date | Assignee | Title | 
|---|---|---|---|---|
| DE3313205C1 (en)* | 1983-04-12 | 1984-10-04 | Siemens AG, 1000 Berlin und 8000 München | Device for guiding a printing unit | 
| JPS6020434A (en)* | 1983-07-13 | 1985-02-01 | Hitachi Ltd | Rotary anode composite target for x-ray tube | 
| JPS60161160A (en)* | 1984-01-31 | 1985-08-22 | Nec Home Electronics Ltd | Dot line printer | 
| JPH0712659B2 (en)* | 1984-03-30 | 1995-02-15 | キヤノン株式会社 | Inkjet recording device | 
| JPS60204343A (en)* | 1984-03-30 | 1985-10-15 | Canon Inc | Ink jet recording apparatus | 
| JPS61125849A (en)* | 1984-11-22 | 1986-06-13 | Canon Inc | Liquid jet recorder | 
| US4570313A (en)* | 1984-12-31 | 1986-02-18 | G. A. Gray Division, The Warner & Swasey Company | Spindle lock-up device | 
| DE3712891A1 (en)* | 1987-04-15 | 1988-11-03 | Siemens Ag | PLANART INK PRINT HEAD IN DUAL-INLINE HOUSING | 
| Publication number | Publication date | 
|---|---|
| JP3069105B2 (en) | 2000-07-24 | 
| EP0313205B1 (en) | 1994-11-17 | 
| EP0313205A2 (en) | 1989-04-26 | 
| SG2795G (en) | 1995-06-16 | 
| DE3852126D1 (en) | 1994-12-22 | 
| CA1304983C (en) | 1992-07-14 | 
| KR890006390A (en) | 1989-06-13 | 
| DE3852126T2 (en) | 1995-03-23 | 
| EP0313205A3 (en) | 1990-02-28 | 
| JPH01125238A (en) | 1989-05-17 | 
| Publication | Publication Date | Title | 
|---|---|---|
| KR960012777B1 (en) | Printhead-carriage alignment and electrical interconnect clamping mechanism | |
| US4907018A (en) | Printhead-carriage alignment and electrical interconnect lock-in mechanism | |
| EP1000751B1 (en) | Recording apparatus | |
| US4872026A (en) | Ink-jet printer with printhead carriage alignment mechanism | |
| JP3491960B2 (en) | Electrical interconnection device for printer | |
| US5748210A (en) | Ink jet type recording unit with an improved carriage structure | |
| US4635080A (en) | Liquid injection recording apparatus | |
| US7669969B2 (en) | Ink-jet printing apparatus and ink cartridge therefor | |
| US5706040A (en) | Reliable contact pad arrangement on plastic print cartridge | |
| US5992975A (en) | Electrical interconnect for an ink container | |
| EP0094220B1 (en) | Capping mechanism for preventing nozzle blocking in an ink jet system printer | |
| US6386681B1 (en) | Carrier assembly and ink jet printhead assembly associated therewith | |
| US6644780B2 (en) | Carriage with clamping device for reliable mounting of printheads | |
| EP0622232B1 (en) | Wiping structure for cleaning electrical contacts for a printer and ink cartridge | |
| WO1996014213A1 (en) | Printer | |
| USRE37671E1 (en) | Printhead-carriage alignment and electrical interconnect lock-in mechanism | |
| JP3617213B2 (en) | Ink tank, ink jet recording unit, and ink jet recording apparatus | |
| US5548311A (en) | Mount for replaceable ink jet head | |
| JP2002337358A (en) | ink cartridge | |
| JPH0986012A (en) | Ink jet recording apparatus | |
| JP3667107B2 (en) | Recording device | |
| JPH06338233A (en) | Contact electrode connection device | |
| JPH06155875A (en) | Printer | |
| JPH07125382A (en) | Printer with reader | |
| HK1012499B (en) | Ink supply tank for an ink jet type recording unit | 
| Date | Code | Title | Description | 
|---|---|---|---|
| PA0109 | Patent application | St.27 status event code:A-0-1-A10-A12-nap-PA0109 | |
| R17-X000 | Change to representative recorded | St.27 status event code:A-3-3-R10-R17-oth-X000 | |
| PG1501 | Laying open of application | St.27 status event code:A-1-1-Q10-Q12-nap-PG1501 | |
| A201 | Request for examination | ||
| PA0201 | Request for examination | St.27 status event code:A-1-2-D10-D11-exm-PA0201 | |
| R17-X000 | Change to representative recorded | St.27 status event code:A-3-3-R10-R17-oth-X000 | |
| G160 | Decision to publish patent application | ||
| PG1605 | Publication of application before grant of patent | St.27 status event code:A-2-2-Q10-Q13-nap-PG1605 | |
| E701 | Decision to grant or registration of patent right | ||
| PE0701 | Decision of registration | St.27 status event code:A-1-2-D10-D22-exm-PE0701 | |
| GRNT | Written decision to grant | ||
| PR0701 | Registration of establishment | St.27 status event code:A-2-4-F10-F11-exm-PR0701 | |
| PR1002 | Payment of registration fee | St.27 status event code:A-2-2-U10-U11-oth-PR1002 Fee payment year number:1 | |
| PR1001 | Payment of annual fee | St.27 status event code:A-4-4-U10-U11-oth-PR1001 Fee payment year number:4 | |
| PR1001 | Payment of annual fee | St.27 status event code:A-4-4-U10-U11-oth-PR1001 Fee payment year number:5 | |
| PR1001 | Payment of annual fee | St.27 status event code:A-4-4-U10-U11-oth-PR1001 Fee payment year number:6 | |
| PR1001 | Payment of annual fee | St.27 status event code:A-4-4-U10-U11-oth-PR1001 Fee payment year number:7 | |
| PR1001 | Payment of annual fee | St.27 status event code:A-4-4-U10-U11-oth-PR1001 Fee payment year number:8 | |
| PR1001 | Payment of annual fee | St.27 status event code:A-4-4-U10-U11-oth-PR1001 Fee payment year number:9 | |
| PR1001 | Payment of annual fee | St.27 status event code:A-4-4-U10-U11-oth-PR1001 Fee payment year number:10 | |
| PR1001 | Payment of annual fee | St.27 status event code:A-4-4-U10-U11-oth-PR1001 Fee payment year number:11 | |
| FPAY | Annual fee payment | Payment date:20070920 Year of fee payment:12 | |
| PR1001 | Payment of annual fee | St.27 status event code:A-4-4-U10-U11-oth-PR1001 Fee payment year number:12 | |
| LAPS | Lapse due to unpaid annual fee | ||
| PC1903 | Unpaid annual fee | St.27 status event code:A-4-4-U10-U13-oth-PC1903 Not in force date:20080925 Payment event data comment text:Termination Category : DEFAULT_OF_REGISTRATION_FEE | |
| PC1903 | Unpaid annual fee | St.27 status event code:N-4-6-H10-H13-oth-PC1903 Ip right cessation event data comment text:Termination Category : DEFAULT_OF_REGISTRATION_FEE Not in force date:20080925 | |
| R18-X000 | Changes to party contact information recorded | St.27 status event code:A-5-5-R10-R18-oth-X000 | |
| P22-X000 | Classification modified | St.27 status event code:A-4-4-P10-P22-nap-X000 |