


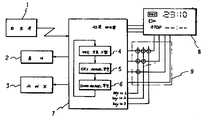
제1도는 본 발명의 블록 구성도.1 is a block diagram of the present invention.
제2도는 본 발명의 플로우차트.2 is a flowchart of the present invention.
* 도면의 주요부분에 대한 부호의 설명* Explanation of symbols for the main parts of the drawings
1 : 리모콘 2 : 튜너1: remote control 2: tuner
4 : 메인 프로그램 5 : ERS 서어비스 루틴4: Main program 5: ERS service routine
6 : 타이머 서어비스 루틴 7 : 시스콘 마이콤6: timer service routine 7: ciscon micom
8 : 디지트론 9 : 키 매트릭스8: Digitron 9: Key Matrix
본 발명은 VTR의 녹화 기능을 행함에 있어서, 현재 시간을 기준으로 녹화 정지 시간을 어느 때라도 입력 및 변경시켜 줌으로써 녹화되는 기간을 사용자의 임의대로 설정할 수 있도록 하는 녹화 정지 시간 설정 방법에 관한 것이다.The present invention relates to a recording stop time setting method that allows a user to set a recording period by arbitrarily inputting and changing a recording stop time at any time based on a current time in performing a recording function of a VTR.
먼저 본 발명에서와 같이 현재 시간을 기준으로 하여 녹화 정지 시간을 마음대로 녹화 도중에라도 아무 때나 입력 및 변경할 수 있는 시스템을 ERS(Easy Recording System)라 하며 본 발명은 이러한 ERS의 정지 시간 설정 방법에 관한 것이다.First, as described in the present invention, a system capable of freely inputting and changing a recording stop time at any time during recording based on the current time is called an ERS (Easy Recording System), and the present invention relates to a method of setting a stop time of such an ERS. .
즉 종래에는 VTR의 녹화 정지 시간을 선택함에 있어서, 사용자가 녹화 정지키를 눌러 주어야만 녹화 동작이 정지되는 방식과 또는 일정 단위의 녹화 시간을 설정하는 키를 누른 횟수에 따라 녹화 정지 시간이 설정되는 방식이 있었다.That is, conventionally, in selecting a recording stop time of the VTR, the recording stop time is set according to a method in which the recording operation is stopped only when the user presses the recording stop key or according to the number of times of pressing a key that sets a predetermined recording time. There was this.
이때 녹화 시간을 설정하는 키를 누른 횟수에 따라 설정하는 방식은 OTR(One Touch Recording)이라 하며 이러한 OTR에서는 기준 녹화 시간을 30분으로 설정하면 녹화되는 프로그램의 길이가 30분 단위로 맞아야지만 무리 없이 사용할 수 있으나 프로그램의 길이가 30분 단위가 아닐 경우에는 부족하게 녹화되거나 또는 과다하게 필요 없는 부분까지 녹화되는 것이었다.In this case, the method of setting the recording time according to the number of times of pressing the key is called OTR (One Touch Recording). In this OTR, if the reference recording time is set to 30 minutes, the length of the recorded program must be in 30 minute increments. If you can use the program, but the length of the program is not 30 minutes, it was recorded insufficiently or to the part that is not necessary excessively.
따라서 녹화 정지 시간을 선택함에 있어서 OTR방식에는 상기와 같은 문제점이 노출되며 수동으로 정지키를 눌러 선택하는 방식에서는 녹화되는 상태를 보아가며 정지키를 눌러야 하므로 사용상 불편함이 있는 것이었다.Therefore, in selecting the recording stop time, the above problems are exposed in the OTR method, and in the method of manually selecting the pressing stop key, it is inconvenient to use because it is necessary to press the stop key while watching the recording state.
본 발명은 상기와 같은 점을 감안하여 녹화 정지 시간을 사용자의 의도대로 자유롭게 변경시킬 수 있도록 함으로써 사용자가 원하는 시간에 녹화 동작이 정지되도록 한 것이다.In view of the above, the present invention allows the recording stop time to be freely changed according to the user's intention, so that the recording operation is stopped at a time desired by the user.
즉 본 발명은 VTR의 녹화 정지 시간을 선택함에 있어서 현재 시간을 기준으로 하여 녹화 정지 시간을 녹화 중 또는 아무 때나 설정해 줌으로써 녹화 동작이 설정된 녹화 정지 시간에 정지되도록 한 것이다.That is, in the present invention, in selecting the recording stop time of the VTR, the recording stop time is set during the recording or at any time on the basis of the current time so that the recording operation is stopped at the set recording stop time.
따라서 현재 시간을 기준으로 한 녹화 정지 시간을 설정해 주어 녹화 시간을 선택하는 ERS기능을 이용함으로써 보다 편리하고 정확하게 녹화 시간을 선택할 수 있으며 또한 녹화 정지 시간을 녹화 중 또는 아무 때나 설정, 변경시킬 수 있는 것이다.Therefore, by using the ERS function to select the recording time by setting the recording stop time based on the current time, it is possible to select the recording time more conveniently and accurately, and to set or change the recording stop time during recording or at any time. .
이와 같은 본 발명을 첨부 도면에 상세히 설명하면 다음과 같다.The present invention will be described in detail with reference to the accompanying drawings.
제1도는 본 발명의 구성도로써 리모콘(1)이나 키매트릭스(9)의 기능키 입력을 인식하여 튜너(2) 및 서어보(3)의 동작을 제어하는 한편 디지트론(8)의 표시상태를 변화시키는 시스콘 마이콤(7)에 있어서, 상기 시스콘 마이콤(7)은 VTR의 메인 프로그램(4)을 수행하여 가며 녹화 정지 시간을 설정하는 ERS서어비스 루틴(5)을 수행하고 상기 ERS서어비스 루틴(5)에서 설정된 녹화 정지 시간은 타이머 서어비스 루틴(6)의 수행으로 체크하여 녹화 동작을 정지 시키도록 한 것이다.FIG. 1 is a block diagram of the present invention, which recognizes the function key input of the
즉 본 발명의 시스콘 마이콤(7)은 메인 프로그램(4)을 수행하여 가며 리모콘(1)이나 키매트릭스(9)의 녹화키 입력이 있을 경우 디지트론(8)으로 현재 시간과 녹화중인 채널 번호 및 녹화 정지 시간을 디스플레이시키게 된다.That is, the ciscon micom 7 of the present invention performs the main program 4, and when there is a recording key input of the
이때 녹화 정지 시간 설정이 되어 있지 않으면 도면 도시와 같이 정지 시간이 표시되지 않게 된다.At this time, if the recording stop time is not set, the stop time is not displayed as shown in the drawing.
이 같은 시스콘 마이콤(7)은 메인프로그램(4)을 수행하다가 녹화키 누름을 인식하면 ERS서어비스 루틴(5)에서 녹화 정지 시간의 설정 및 변경 동작을 행하게 하여 내부 램에 녹화 정지 시간 데이터를 저장시킴과 동시에 디지트론(8)에 표시되게 한 후 타이머 서어비스 루틴(6)에서 타이머의 출력을 받아 지정된 녹화 정지 시간에 튜너(2)와 서어보(3)에 데이터를 보내 녹화 동작을 정지 시키도록 하는 것이다.The SysCon micom 7 executes the main program 4 and recognizes that the recording key is pressed. Then, the
그리고 제2도는 본 발명의 플로우차트로써 녹화키 입력이 있는가를 확인하여 녹화키 입력이 있게 되면 디지트론(8)에 ERS모우드를 디스플레이시킴과 동시에 9초 타이머를 동작시켜 9초 이내에 키입력이 있는가를 체크하고 9초 이내에 키메트릭스(9)나 리모콘(1)의 녹화 정지 시간 설정 데이터의 입력이 있으면 녹화 정지 시간 설정 데이터를 디지트론(8)에 디스플레이시키게 된다.FIG. 2 is a flowchart of the present invention to check whether there is a recording key input, and when there is a recording key input, the ERS mode is displayed on the digitron 8 and a 9 second timer is operated to check whether there is a key input within 9 seconds. If there is an input of the recording stop time setting data of the key metrics 9 or the
즉 녹화키가 입력되고 9초의 시간 내에 녹화 정지 시간 설정 데이터가 입력되면 이때의 입력 데이터를 디지트론(8)에 디스플레이시키고 녹화키 입력 후 9초가 지나도 녹화 정지 시간 데이터가 입력되지 않으면 통상의 녹화모우드를 수행하게 된다.That is, if the recording stop time setting data is input within 9 seconds after the recording key is input, the input data at this time is displayed on the digitron 8, and if the recording stop time data is not input even after 9 seconds after the recording key is input, the normal recording mode is entered. Will be performed.
이와 같이 녹화키 입력 후 89초 이내에 녹화 정지 시간 데이터가 입력되면 입력된 데이터는 내부 램에 메모리시킨 후 타이머 서어비스 루틴(6)의 타이머 출력과 비교하여 내부 램에 메모리된 녹화 정지 시간 데이터와 현재 시간 데이터가 일치될 때 녹화 동작을 정지 시키도록 한 것이다.In this way, if the recording stop time data is input within 89 seconds after the recording key is input, the input data is stored in the internal RAM and compared with the timer output of the timer service routine 6, and the recording stop time data and the current time stored in the internal RAM. It stops recording when data is matched.
이와 같이 본 발명은 리모콘(1)이나 키메트릭스(9)에서의 기능키가 눌려지면 VTR의 시스콘 마이콤(7)은 메인 프로그램(4)의 수행으로 튜너(2) 및 서어보(3)의 동작을 제어하는 한편 디지트론(8)의 표시 상태를 제어하게 되며 이 같은 메인 프로그램(4)의 수행 중에 녹화키가 눌리게 되면 ERS서어비스 루틴(5)을 동작시켜 녹화 정지 시간을 설정하도록 한 것이다.As described above, in the present invention, when the function key on the
즉 VTR의 시스콘 마이콤(7)은 메인 프로그램(4)을 수행하다가 리모콘(1)이나 키매트릭스(9)의 녹화키가 눌리게 되면 시스콘 마이콤(7)에서는 이를 인식하여 디지트론(8)으로 녹화 상태 표시와, 현재시간, 녹화 선택 채널, 녹화 정지 시간을 디스플레이시키게 되나 녹화 정지 기간을 설정하기 이전에는 도면 도시와 같이 녹화 정지 시간이 표시되지 않게 되고 녹화 정지 시간이 설정되면 설정된 녹화 정지 시간을 디스플레이시키는 한편 설정된 녹화 정지 시간 데이터를 내부 램에 기억시킨다.That is, when the recording key of the
이같이 시스콘 마이콤(7)은 메인 프로그램(4)을 수행하다가 녹화키 입력이 있게 되면 ERS서어비스 루틴(5)을 수행하여 녹화 정지 시간 입력을 체크하게 되고 ERS서어비스 루틴(5)에서 시간 설정키에 의한 녹화 정지 시간 데이터를 인식하면 이를 시스콘 마이콤(7)의 내부 램에 기억시킨 후 타이머 서어비스 루틴(6)의 동작에 의하여 공급되는 현재 시간 데이터와 비교시키게 된다.In this way, the scissor micom 7 executes the
즉 ERS서어비스 루틴(5)에서 설정된 녹화 정지 시간 데이터와 타이머 서어비스 루틴(6)에서 공급되는 현재 시간 데이터를 비교하여 비교된 데이터가 일정하게 되면(현재 시간이 설정된 녹화 정지 시간이 될 때) 시스콘 마이콤(7)에서는 튜너(2)와 서어보(3)에 데이터를 보내 녹화 동작을 정지 시키도록 하는 것이다.That is, the recording stop time data set by the
이와 같은 동작의 ERS서어비스 루틴(5)을 제2도의 플로우차트에 의거 좀 더 상세히 살펴보면 다음과 같다.Looking at the ERS service routine (5) of this operation in more detail based on the flowchart of FIG.
즉 녹화키 입력여부를 판단하여 녹화키 입력이 되지 않으며 본래의 메인 프로그램(4)을 수행하게 되고 녹화키가 입력되면 타이머에서 인가되는 시간 데이터를 9초 동안 카운트하기 위한 카운터를 초기 상태로 클리어시켜 줌과 동시에 디지트론(8)에서 ERS모우드(현재시간, 채널번호, 녹화상태 표시)가 디스플레이 되게된다.In other words, it is determined that the recording key is input and the recording key is not input. The main program 4 is executed. When the recording key is input, the counter for counting the time data applied from the timer for 9 seconds is cleared to the initial state. At the same time as the zoom, the ERS mode (current time, channel number, and recording status indication) is displayed on the digitron 8.
이때 녹화키 입력 시 9초를 카운트하는 카운터를 클리어시켜 카운트 동작하게 하는 이유는 녹화키 입력 후 9초 동안 녹화 정지 시간 데이터가 입력되지 않을 경우 일반 녹화 모우드를 수행하도록 하기 위함이다.At this time, the reason for clearing the counter that counts 9 seconds when the recording key is input is to perform the normal recording mode when the recording stop time data is not input for 9 seconds after the recording key is input.
즉 녹화키 입력 후 9초 동안 녹화 정지 시간 데이터가 입력되지 않으면 메인프로그램(4)의 일반 녹화 모우드를 수행하는 것이다.That is, if no recording stop time data is input for 9 seconds after the recording key is input, the normal recording mode of the main program 4 is performed.
그리고 녹화키가 입력되어 제1도에 도시된 바와 같이 디지트론(8)에 ERS모우드가 디스플레이된 후에는 리모콘(1)이나 키매트릭스(9)에서의 녹화 정지 시간 데이터의 입력이 있는가를 판단하게 되며 사용자가 녹화 정지 시간을 설정하기 위하여 녹화 정지 시간 데이터를 입력시키게 되면 이때의 설정된 녹화 정지 시간을 디지트론(8)에 표시해 주게 된다.After the recording key is input and the ERS mode is displayed on the digitron 8 as shown in FIG. 1, it is determined whether the recording stop time data is input from the
즉 녹화키 입력 후 9초 이내에 녹화 정지 시간 데이터가 입력되면 디지트론(8)에는 ERS모우드의 녹화 정지 시간을 표시해주게 되며 이때의 녹화 정지 시간은 리모콘(1)이나 키매트릭스(9)의 시간 설정키를 이용하여 설정하게 된다.That is, if the recording stop time data is input within 9 seconds after the recording key is input, the digit mode (8) displays the recording stop time of the ERS mode, and the recording stop time at this time is the time setting of the remote controller (1) or the key matrix (9). It is set using the key.
이와 같이 녹화 정지 시간을 설정하게 되면 이를 디지트론(8)에 표시해 주게 되고 이때의 녹화 정지 시간 데이터는 시스콘 마이콤(7)의 내부 램에 기억시킨 후 타이머 서어비스 루틴(6)으로부터 인가되는 현재 시간 데이터와 비교하게 된다.When the recording stop time is set in this manner, the recording stop time is displayed on the digitron 8, and the recording stop time data at this time is stored in the internal RAM of the scissor microcomputer 7, and the current time applied from the timer service routine 6 The data will be compared.
따라서 녹화 정지 시간 설정 후 녹화 동작이 진행되어 현재 시간이 설정된 녹화 정지 시간이 되면 내부 램에 기억시킨 녹화 정지 시간 데이터와 현재 시간 데이터가 일치하게 됨을 인식하여 시스콘 마이콤(7)에서 녹화 동작을 정지 시키게 된다.Therefore, when the recording stop time is set after the recording stop time is set, when the current time reaches the set stop time, the system stops the recording operation by recognizing that the recording stop time data stored in the internal RAM matches the current time data. Let's go.
즉 녹화 정지 시간과 현재 시간이 일치할 때 튜너(2)와 서어보(3)에 데이터를 출력시켜 녹화 동작을 정지 시키게 되는 것이다.That is, when the recording stop time and the current time coincide, data is output to the
이와 같이 본 발명은 녹화 동작시 정지 시간을 현재 시간과 비교하여 입력시킬 수 있으므로 원하는 시간에 정확하게 녹화 동작을 정지 시키게 되며 또한 녹화 동작이 진행 중일 때라도 이미 설정된 녹화 정지 시간을 변경시킬 수 있어 녹화 시간을 자유롭게 변경시킬 수 있게 된다.As described above, the present invention can input the stop time compared to the current time during the recording operation so that the recording operation can be stopped exactly at a desired time and the recording stop time can be changed even when the recording operation is in progress. You can change it freely.
따라서 본 발명은 녹화를 시작할 때 및 녹화 중 또는 아무 때라도 녹화 정지 시간을 현재의 시간과 비교하여 설정 및 변경시킬 수 있으므로 사용자의 의도대로 편리하게 녹화 시간을 콘트롤할 수 있어 사용상 편리함을 제공하는 것이다.Therefore, the present invention can set and change the recording stop time in comparison with the current time at the start of the recording, during the recording or at any time, so that the recording time can be conveniently controlled according to the user's intention, thereby providing convenience for use.
| Application Number | Priority Date | Filing Date | Title | 
|---|---|---|---|
| KR1019880017164AKR910010183B1 (en) | 1988-12-22 | 1988-12-22 | How to set the recording stop time | 
| DE3929474ADE3929474C2 (en) | 1988-12-22 | 1989-09-05 | METHOD FOR PRESETING A VIDEO RECORDING SWITCH-OFF TIME USING A MICROPROCESSOR AS A SYSTEM CONTROLLER | 
| US07/405,191US5237462A (en) | 1988-12-22 | 1989-09-11 | Video record stop time setting method | 
| FR8912641AFR2641151B1 (en) | 1988-12-22 | 1989-09-27 | |
| JP1257614AJP2516261B2 (en) | 1988-12-22 | 1989-10-02 | Recording stop time setting method | 
| NL8903058ANL8903058A (en) | 1988-12-22 | 1989-12-13 | METHOD FOR SETTING THE STOP TIME FOR VIDEO RECORDINGS. | 
| GB8928809AGB2227876B (en) | 1988-12-22 | 1989-12-21 | Video record stopping time setting method | 
| Application Number | Priority Date | Filing Date | Title | 
|---|---|---|---|
| KR1019880017164AKR910010183B1 (en) | 1988-12-22 | 1988-12-22 | How to set the recording stop time | 
| Publication Number | Publication Date | 
|---|---|
| KR900010702A KR900010702A (en) | 1990-07-09 | 
| KR910010183B1true KR910010183B1 (en) | 1991-12-20 | 
| Application Number | Title | Priority Date | Filing Date | 
|---|---|---|---|
| KR1019880017164AExpiredKR910010183B1 (en) | 1988-12-22 | 1988-12-22 | How to set the recording stop time | 
| Country | Link | 
|---|---|
| US (1) | US5237462A (en) | 
| JP (1) | JP2516261B2 (en) | 
| KR (1) | KR910010183B1 (en) | 
| DE (1) | DE3929474C2 (en) | 
| FR (1) | FR2641151B1 (en) | 
| GB (1) | GB2227876B (en) | 
| NL (1) | NL8903058A (en) | 
| Publication number | Priority date | Publication date | Assignee | Title | 
|---|---|---|---|---|
| DE4325218C2 (en)* | 1993-07-28 | 1998-10-22 | Diehl Stiftung & Co | Artillery missile and method for increasing the performance of an artillery missile | 
| DE4410546C1 (en)* | 1994-03-26 | 1995-09-14 | Rundfunkschutzrechte Ev | Setting and/or changing recording duration of video or audio tape recorder | 
| JP2000309288A (en)* | 1999-02-26 | 2000-11-07 | Tuner Kk | Stored picture operating device of on-board picture image recording system | 
| US20020007342A1 (en)* | 2000-03-31 | 2002-01-17 | Sheila Sellers | Systems and methods for automatically obtaining loss mitigation loan workout decisions | 
| US6807568B1 (en)* | 2000-07-27 | 2004-10-19 | Union Beach, L.P. | Recipient selection of information to be subsequently delivered | 
| US6985669B1 (en)* | 2000-11-13 | 2006-01-10 | Sony Corporation | Method and system for electronic capture of user-selected segments of a broadcast data signal | 
| JP2010000632A (en)* | 2008-06-18 | 2010-01-07 | Canon Inc | Substrate for inkjet head, and inkjet head equipped with substrate | 
| US12167168B2 (en)* | 2022-08-31 | 2024-12-10 | Snap Inc. | Presenting time-limited video feed within virtual working environment | 
| Publication number | Priority date | Publication date | Assignee | Title | 
|---|---|---|---|---|
| AT356916B (en)* | 1978-09-01 | 1980-06-10 | Philips Nv | RECORDING SYSTEM AND CASSETTE FOR SUCH A RECORDING SYSTEM | 
| US4193120A (en)* | 1978-09-13 | 1980-03-11 | Zenith Radio Corporation | Addressable event display and control system | 
| JPS5626286A (en)* | 1979-08-10 | 1981-03-13 | Hitachi Ltd | Program timer | 
| JPS59124050A (en)* | 1982-12-28 | 1984-07-18 | Sony Corp | Recording and/or reproducing device | 
| JPS60237657A (en)* | 1984-05-10 | 1985-11-26 | Mitsubishi Electric Corp | signal regenerator | 
| US4717970A (en)* | 1984-06-21 | 1988-01-05 | Zenith Electronics Corporation | Video system with programmable VCR | 
| AU585562B2 (en)* | 1984-12-28 | 1989-06-22 | Sony Corporation | Multi-function rotary dial assembly for a video recorder | 
| JPH0510252Y2 (en)* | 1985-12-28 | 1993-03-12 | ||
| JP2633532B2 (en)* | 1986-06-19 | 1997-07-23 | ソニー株式会社 | Timer reservation device | 
| DE8816402U1 (en)* | 1988-04-25 | 1989-07-27 | Siemens AG, 1000 Berlin und 8000 München | Electronic digital clock | 
| Publication number | Publication date | 
|---|---|
| NL8903058A (en) | 1990-07-16 | 
| DE3929474C2 (en) | 1993-11-04 | 
| GB2227876B (en) | 1993-03-24 | 
| GB8928809D0 (en) | 1990-02-28 | 
| KR900010702A (en) | 1990-07-09 | 
| JPH02177150A (en) | 1990-07-10 | 
| GB2227876A (en) | 1990-08-08 | 
| US5237462A (en) | 1993-08-17 | 
| FR2641151A1 (en) | 1990-06-29 | 
| JP2516261B2 (en) | 1996-07-24 | 
| FR2641151B1 (en) | 1994-06-03 | 
| DE3929474A1 (en) | 1990-07-05 | 
| Publication | Publication Date | Title | 
|---|---|---|
| US4628176A (en) | Apparatus for setting schedules of a resistance welding machine | |
| KR910010183B1 (en) | How to set the recording stop time | |
| JP2796160B2 (en) | Industrial robot teaching device | |
| DE3737263A1 (en) | MICROWAVE OVEN | |
| US5621484A (en) | User-programmable control device for a television apparatus | |
| DE4135293A1 (en) | OPERATING MODE CONVERSION METHOD FOR A MULTIFUNCTIONAL PROGRAMMABLE REMOTE CONTROL | |
| WO1999049371A1 (en) | Operator buttons as active buttons | |
| JPH05205345A (en) | Method of automatically setting timer reservation mode in vcr | |
| JPS63265320A (en) | Electronic equipment | |
| KR100189925B1 (en) | How to display mode conversion selection error in composite | |
| JPH0437872A (en) | display control device | |
| JP2602214B2 (en) | Electronics | |
| KR100197588B1 (en) | Method for setting time function of tv | |
| KR0126253B1 (en) | Home Automation Method Using Videotex | |
| KR920010858B1 (en) | Data change method for microwave oven | |
| KR940003411A (en) | Device control method by time reservation of remote controller | |
| KR0129702B1 (en) | Compact disc player having top function | |
| KR950005945B1 (en) | On time power-off method | |
| KR0135167B1 (en) | Recording reservation method for video cassette recorder | |
| JPS6143023A (en) | remote control device | |
| KR0180088B1 (en) | Timer operation control device for electrical equipment | |
| JP2705749B2 (en) | Timer device | |
| KR20060116885A (en) | Channel switching device and method | |
| KR19980029494U (en) | TV's automatic power control | |
| JPH01299594A (en) | washing machine control device | 
| Date | Code | Title | Description | 
|---|---|---|---|
| A201 | Request for examination | ||
| PA0109 | Patent application | St.27 status event code:A-0-1-A10-A12-nap-PA0109 | |
| PA0201 | Request for examination | St.27 status event code:A-1-2-D10-D11-exm-PA0201 | |
| R17-X000 | Change to representative recorded | St.27 status event code:A-3-3-R10-R17-oth-X000 | |
| PG1501 | Laying open of application | St.27 status event code:A-1-1-Q10-Q12-nap-PG1501 | |
| E902 | Notification of reason for refusal | ||
| PE0902 | Notice of grounds for rejection | St.27 status event code:A-1-2-D10-D21-exm-PE0902 | |
| P11-X000 | Amendment of application requested | St.27 status event code:A-2-2-P10-P11-nap-X000 | |
| P13-X000 | Application amended | St.27 status event code:A-2-2-P10-P13-nap-X000 | |
| G160 | Decision to publish patent application | ||
| PG1605 | Publication of application before grant of patent | St.27 status event code:A-2-2-Q10-Q13-nap-PG1605 | |
| E701 | Decision to grant or registration of patent right | ||
| PE0701 | Decision of registration | St.27 status event code:A-1-2-D10-D22-exm-PE0701 | |
| GRNT | Written decision to grant | ||
| PR0701 | Registration of establishment | St.27 status event code:A-2-4-F10-F11-exm-PR0701 | |
| PR1002 | Payment of registration fee | St.27 status event code:A-2-2-U10-U11-oth-PR1002 Fee payment year number:1 | |
| PR1001 | Payment of annual fee | St.27 status event code:A-4-4-U10-U11-oth-PR1001 Fee payment year number:4 | |
| PR1001 | Payment of annual fee | St.27 status event code:A-4-4-U10-U11-oth-PR1001 Fee payment year number:5 | |
| PR1001 | Payment of annual fee | St.27 status event code:A-4-4-U10-U11-oth-PR1001 Fee payment year number:6 | |
| PR1001 | Payment of annual fee | St.27 status event code:A-4-4-U10-U11-oth-PR1001 Fee payment year number:7 | |
| PR1001 | Payment of annual fee | St.27 status event code:A-4-4-U10-U11-oth-PR1001 Fee payment year number:8 | |
| R18-X000 | Changes to party contact information recorded | St.27 status event code:A-5-5-R10-R18-oth-X000 | |
| PN2301 | Change of applicant | St.27 status event code:A-5-5-R10-R13-asn-PN2301 St.27 status event code:A-5-5-R10-R11-asn-PN2301 | |
| PN2301 | Change of applicant | St.27 status event code:A-5-5-R10-R13-asn-PN2301 St.27 status event code:A-5-5-R10-R11-asn-PN2301 | |
| PR1001 | Payment of annual fee | St.27 status event code:A-4-4-U10-U11-oth-PR1001 Fee payment year number:9 | |
| R18-X000 | Changes to party contact information recorded | St.27 status event code:A-5-5-R10-R18-oth-X000 | |
| PR1001 | Payment of annual fee | St.27 status event code:A-4-4-U10-U11-oth-PR1001 Fee payment year number:10 | |
| PR1001 | Payment of annual fee | St.27 status event code:A-4-4-U10-U11-oth-PR1001 Fee payment year number:11 | |
| PN2301 | Change of applicant | St.27 status event code:A-5-5-R10-R13-asn-PN2301 St.27 status event code:A-5-5-R10-R11-asn-PN2301 | |
| R18-X000 | Changes to party contact information recorded | St.27 status event code:A-5-5-R10-R18-oth-X000 | |
| FPAY | Annual fee payment | Payment date:20021129 Year of fee payment:12 | |
| PR1001 | Payment of annual fee | St.27 status event code:A-4-4-U10-U11-oth-PR1001 Fee payment year number:12 | |
| R18-X000 | Changes to party contact information recorded | St.27 status event code:A-5-5-R10-R18-oth-X000 | |
| R18-X000 | Changes to party contact information recorded | St.27 status event code:A-5-5-R10-R18-oth-X000 | |
| LAPS | Lapse due to unpaid annual fee | ||
| PC1903 | Unpaid annual fee | St.27 status event code:A-4-4-U10-U13-oth-PC1903 Not in force date:20031221 Payment event data comment text:Termination Category : DEFAULT_OF_REGISTRATION_FEE | |
| PC1903 | Unpaid annual fee | St.27 status event code:N-4-6-H10-H13-oth-PC1903 Ip right cessation event data comment text:Termination Category : DEFAULT_OF_REGISTRATION_FEE Not in force date:20031221 | |
| PN2301 | Change of applicant | St.27 status event code:A-5-5-R10-R13-asn-PN2301 St.27 status event code:A-5-5-R10-R11-asn-PN2301 | |
| PN2301 | Change of applicant | St.27 status event code:A-5-5-R10-R13-asn-PN2301 St.27 status event code:A-5-5-R10-R11-asn-PN2301 | |
| R18-X000 | Changes to party contact information recorded | St.27 status event code:A-5-5-R10-R18-oth-X000 | |
| P22-X000 | Classification modified | St.27 status event code:A-4-4-P10-P22-nap-X000 |