




본 발명은 친환경 수직정원 관리 시스템에 관한 것으로, 보다 상세하게는 수직정원을 관리함에 있어서 건물에서 배출되는 오폐수로 일정 온도를 유지시켜 사계절 온도 변화에도 식물의 생육상태를 일정하게 유지시킬 수 있는 친환경적인 수직정원 관리 시스템에 관한 발명이다.The present invention relates to an eco-friendly vertical garden management system, and more specifically, in managing a vertical garden, an eco-friendly system that maintains a constant temperature with wastewater discharged from buildings to maintain a constant growth state of plants despite temperature changes throughout the four seasons. This is an invention about a vertical garden management system.
식물은 광합성 과정에서 엽 기공을 통해, 온실가스인 이산화탄소를 비롯한 이산화황, 이산화질소 등 가스상 물질을 흡수하여 대기농도를 낮추고, 인간의 호흡에 필요한 산호를 방출하면서 신선한 공기를 제공한다.During the photosynthesis process, plants absorb gaseous substances such as carbon dioxide, sulfur dioxide, and nitrogen dioxide, which are greenhouse gases, through leaf stomata, lowering atmospheric concentration, and providing fresh air by releasing corals necessary for human respiration.
또한, 식물은 뿌리로 물을 흡수한 뒤 잎을 통해 물을 증발시키는데, 이 때 주변의 열을 함께 제거하므로 건물에서 식물을 재배할 경우 건물 주의의 온도를 최대 10도 정도까지 낮출 수 있는 효과가 있다.In addition, plants absorb water through their roots and then evaporate it through their leaves. At this time, they also remove surrounding heat, so when plants are grown in a building, the temperature around the building can be lowered by up to 10 degrees. there is.
이러한 식물의 효과를 건물에 적용하기 위한 수직정원이 최근 많이 활성화되고 있다. 수직정원은 건물의 외벽이나 또는 내벽에 식물이 수직으로 성장할 수 있도록 조성된 정원으로 건물 주위의 미세 먼지 제거, 온실 가스 제거 및 신선한 공기 제공의 기능과 여름철에는 건물의 온도를 낮추고 겨울철에는 건물의 온도를 높이는 장점이 있다.Vertical gardens to apply the effects of plants to buildings have recently become very popular. A vertical garden is a garden created to allow plants to grow vertically on the exterior or interior walls of a building. It has the function of removing fine dust around the building, removing greenhouse gases, providing fresh air, lowering the temperature of the building in the summer, and lowering the temperature of the building in the winter. There is an advantage in increasing .
종래에는 이러한 수직정원을 잘 관리하기 위하여 자동관수 시스템과 카메라 등을 통한 생육상태를 관찰하여 식물을 관리할 수 있는 시스템이 제공되고 있으나, 식물의 관리하는데 관리비용이 많이 소요되는 것에 대한 근본적인 문제점을 해결할 수 있는 방안은 아직 없는 상태이다.Conventionally, in order to manage such vertical gardens well, systems have been provided to manage plants by observing their growth status through automatic irrigation systems and cameras. However, the fundamental problem of high management costs for plant management is that There is no solution yet.
즉, 주기적으로 급수해야 되며, 식물을 교체하거나, 비료를 주는 등 관리에 많은 비용과 노력이 들어가게 된다. 특히, 겨울철에 온도 관리가 어려워 경관을 유지하기 어렵다는 문제점이 가장 크다.In other words, it needs to be watered periodically, and a lot of cost and effort goes into management, such as replacing plants or applying fertilizer. In particular, the biggest problem is that it is difficult to maintain the landscape because temperature management is difficult in winter.
이에 본 발명은 상기와 같은 종래기술의 문제점을 해결하기 위한 것으로, 건물에서 발생되는 오폐수를 히터 없이 일정 온도를 유지하도록 하여 수직정원의 식물의 온도를 일정하게 만들어 친환경으로 사계절 모두 식물의 생육을 원활하게는 하는 친환경적 수직정원 관리 시스템을 제공하는데 그 목적이 있다.Accordingly, the present invention is intended to solve the problems of the prior art as described above. By maintaining the temperature of the plants in the vertical garden at a constant temperature by maintaining the wastewater generated from the building at a constant temperature without a heater, it is eco-friendly and facilitates the growth of plants in all four seasons. The purpose is to provide an eco-friendly vertical garden management system.
본 발명의 과제들은 이상에서 언급한 과제들로 제한되지 않으며, 언급되지 않은 또 다른 과제들은 아래의 기재로부터 통상의 기술자에게 명확하게 이해될 수 있을 것이다.The problems of the present invention are not limited to the problems mentioned above, and other problems not mentioned will be clearly understood by those skilled in the art from the description below.
상술한 과제를 해결하기 위하여, 본 발명은 건물의 지지벽, 상기 지지벽에 연결되어 식물을 수용하는 거치대, 상기 지지벽에 설치되어 오폐수가 유동하는 오폐수관 및 상기 오폐수의 온도를 일정 온도 범위 내로 유지시키는 오폐수 온도 유지모듈을 포함하는 것을 특징으로 하는 친환경적 수직정원 관리 시스템을 제공한다.In order to solve the above-described problem, the present invention provides a support wall of a building, a stand connected to the support wall to accommodate plants, a wastewater pipe installed on the support wall through which wastewater flows, and a temperature of the wastewater within a certain temperature range. An eco-friendly vertical garden management system is provided, which includes a wastewater temperature maintenance module that maintains the temperature of wastewater.
여기서, 상기 오폐수관은, 상기 지지벽 중 상기 거치대가 배치된 부분에 매립되어 설치될 수 있다.Here, the wastewater pipe may be buried and installed in a portion of the support wall where the holder is placed.
또한, 상기 오폐수관은, 상기 지지벽 중 상기 거치대가 배치된 부분에 돌출되어 설치되되, 상기 거치대의 하부에 위치될 수 있다.Additionally, the wastewater pipe may be installed to protrude from a portion of the support wall where the holder is placed, and may be located below the holder.
또한, 상기 오폐수를 상기 오폐수관으로 공급하는 오폐수 유입관을 더 포함하고, 상기 오폐수 온도 유지모듈은, 상기 오폐수 유입관에 설치되어 상기 오폐수의 온도를 측정하는 온도센서 및 상기 오폐수 유입관에 설치되어 상기 측정된 오폐수의 온도에 따라서 제어되는 오폐수 밸브를 포함하며, 상기 오폐수의 온도가 일정 온도 범위에 속하는 경우 상기 오폐수 밸브가 개방되어 상기 오폐수가 상기 오폐수관으로 유입될 수 있다.In addition, it further includes a wastewater inlet pipe that supplies the wastewater to the wastewater pipe, and the wastewater temperature maintenance module includes a temperature sensor installed in the wastewater inlet pipe to measure the temperature of the wastewater and a temperature sensor installed in the wastewater inlet pipe. It includes a wastewater valve controlled according to the measured temperature of the wastewater, and when the temperature of the wastewater falls within a certain temperature range, the wastewater valve is opened so that the wastewater can flow into the wastewater pipe.
본 발명에 따른 친환경 수직정원 관리 시스템에 따르면 다음과 같은 효과가 있다.According to the eco-friendly vertical garden management system according to the present invention, the following effects are achieved.
첫째, 본 발명에 따른 친환경 수직정원 관리 시스템은 별도의 히터없이 건물에서 발생되는 오폐수를 밸브로 제어하여 수직정원의 온도를 일정하게 유지함으로써 친환경적으로 수직정원을 유지할 수 있는 장점이 있다.First, the eco-friendly vertical garden management system according to the present invention has the advantage of maintaining the vertical garden in an environmentally friendly manner by controlling the wastewater generated from the building with a valve and maintaining the temperature of the vertical garden at a constant level without a separate heater.
둘째, 별도의 히터를 사용하지 않음으로써 에너지를 절감할 수 있어 온실가스를 감소시킬 수 있으며, 수직정원의 식물이 온실가스를 추가로 감소시킬 수 있어 환경보호가 두 배로 되는 이점이 있다.Second, by not using a separate heater, energy can be saved and greenhouse gases can be reduced, and plants in a vertical garden can further reduce greenhouse gases, which has the advantage of doubling environmental protection.
셋째, 건물에서 발생되는 여러 온도의 오폐수를 식물의 생육관리를 위한 시스템에 사용함으로써 자원재순환을 할 수 있으며, 이에 따라 비용이 절감되는 효과가 있다.Third, wastewater of various temperatures generated from buildings can be recycled by using it in a system for plant growth management, which has the effect of reducing costs.
넷째, 부가적으로 식물에서 발생되는 신선한 공기를 계절에 상관없이 실내로 유입시킴으로써 건물 내의 공기를 정화할 수 있는 효과가 있다.Fourth, there is an additional effect of purifying the air in the building by allowing fresh air generated from plants to enter the room regardless of the season.
본 발명의 효과들은 이상에서 언급한 효과들로 제한되지 않으며, 언급되지 않은 또 다른 효과들은 청구범위의 기재로부터 통상의 기술자에게 명확하게 이해될 수 있을 것이다.The effects of the present invention are not limited to the effects mentioned above, and other effects not mentioned may be clearly understood by those skilled in the art from the description of the claims.
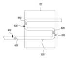
도 1은 본 발명의 일 실시예 따른 친환경 수직 정원 관리시스템의 전체 개요도를 나타낸 도면이다.
도 2는 본 발명의 일 실시예에 따른 친환경 수직 정원 관리시스템의 오폐수 온도유지 모듈의 제1 실시예를 나타낸 도면이다.
도 3은 본 발명의 일 실시예에 따른 친환경 수직 정원 관리시스템의 오폐수 온도유지 모듈의 제2 실시예를 나타낸 도면이다.
도 4는 본 발명의 일 실시예에 따른 친환경 수직 정원 관리시스템의 오폐수 온도유지 모듈의 제3 실시예를 나타낸 도면이다.
도 5는 본 발명의 일 실시예에 따른 친환경 수직 정원 관리시스템의 오폐수 온도유지 모듈의 제4 실시예를 나타낸 도면이다.
도 6은 본 발명의 일 실시예에 따른 친환경 수직 정원 관리시스템의 오폐수 온도유지 모듈의 제5 실시예를 나타낸 도면이다.
도 7은 본 발명의 일 실시예에 따른 친환경 수직 정원 관리시스템의 오폐수관의 다른 실시예를 나타낸 도면이다.Figure 1 is a diagram showing the overall outline of an eco-friendly vertical garden management system according to an embodiment of the present invention.
Figure 2 is a diagram showing a first embodiment of a wastewater temperature maintenance module of an eco-friendly vertical garden management system according to an embodiment of the present invention.
Figure 3 is a diagram showing a second embodiment of the wastewater temperature maintenance module of the eco-friendly vertical garden management system according to an embodiment of the present invention.
Figure 4 is a diagram showing a third embodiment of the wastewater temperature maintenance module of the eco-friendly vertical garden management system according to an embodiment of the present invention.
Figure 5 is a diagram showing a fourth embodiment of the wastewater temperature maintenance module of the eco-friendly vertical garden management system according to an embodiment of the present invention.
Figure 6 is a diagram showing a fifth embodiment of the wastewater temperature maintenance module of the eco-friendly vertical garden management system according to an embodiment of the present invention.
Figure 7 is a diagram showing another embodiment of a wastewater pipe of an eco-friendly vertical garden management system according to an embodiment of the present invention.
본 발명의 이점 및 특징, 그리고 그것들을 달성하는 방법은 첨부되는 도면과 함께 상세하게 후술되어 있는 실시예들을 참조하면 명확해질 것이다. 그러나 본 발명은 이하에서 개시되는 실시예들에 한정되는 것이 아니라 서로 다른 다양한 형태로 구현될 수 있으며, 단지 본 실시예들은 본 발명의 개시가 완전하도록 하고, 본 발명이 속하는 기술분야에서 통상의 지식을 가진 자에게 발명의 범주를 완전하게 알려주기 위해 제공되는 것이며, 본 발명은 청구항의 범주에 의해 정의될 뿐이다. 명세서 전체에 걸쳐 동일 참조 부호는 동일 구성 요소를 지칭한다.The advantages and features of the present invention and methods for achieving them will become clear by referring to the embodiments described in detail below along with the accompanying drawings. However, the present invention is not limited to the embodiments disclosed below and may be implemented in various different forms. The present embodiments are merely provided to ensure that the disclosure of the present invention is complete and to be understood by those skilled in the art. It is provided to fully inform those who have the scope of the invention, and the present invention is only defined by the scope of the claims. Like reference numerals refer to like elements throughout the specification.
본 명세서에 첨부된 도면에 도시된 구성요소의 크기나 형상 등은 설명의 명료성과 편의성을 위하여 과장되게 도시될 수 있다. 각 도면에서 동일한 구성은 동일한 참조부호로 도시한 경우가 있음을 유의하여야 한다. 또한, 본 발명의 요지를 불필요하게 흐릴 수 있다고 판단되는 공지 기술의 기능 및 구성에 관한 상세한 설명은 생략될 수 있다.The sizes and shapes of components shown in the drawings attached to this specification may be exaggerated for clarity and convenience of explanation. It should be noted that the same configuration may be indicated by the same reference numeral in each drawing. Additionally, detailed descriptions of the functions and configurations of known technologies that are judged to unnecessarily obscure the gist of the present invention may be omitted.
본 명세서에서 사용된 용어는 특정 실시예를 설명하기 위하여 사용되며, 본 발명을 제한하기 위한 것이 아니다. 본 명세서에서 사용된 바와 같이 단수 형태는 문맥상 다른 경우를 분명히 지적하는 것이 아니라면, 복수의 형태를 포함할 수 있다. 또한, 본 명세서 전체에서 어떤 부분이 어떤 구성요소를 "포함"한다고 할 때 이는 특별히 반대되는 기재가 없는 한 다른 구성요소를 더 포함할 수 있는 것을 의미한다.Terms used herein are used to describe specific embodiments and are not intended to limit the invention. As used herein, the singular forms include the plural forms unless the context clearly indicates otherwise. In addition, throughout this specification, when a part “includes” a certain element, this means that it may further include other elements unless specifically stated to the contrary.
어떠한 구성 요소가 다른 구성 요소에 "연결되어" 있다거나 "접속되어" 있다고 언급된 때에는, 그 다른 구성 요소에 직접적으로 연결되어 있거나 또는 접속되어 있을 수도 있지만, 중간에 다른 구성 요소가 존재할 수도 있다고 이해되어야 할 것이다. 반면에, 어떠한 구성 요소가 다른 구성요소에 "직접 연결되어" 있다거나 또는 "직접 접속되어" 있다고 언급된 때에는, 중간에 다른 구성 요소가 존재하지 않는 것으로 이해되어야 할 것이다. 구성 요소들 간의 관계를 설명하기 위한 다른 표현들도 마찬가지로 해석되어야 한다.When a component is said to be “connected” or “connected” to another component, it is understood that it may be directly connected to or connected to that other component, but that other components may also exist in between. It should be. On the other hand, when it is mentioned that a component is “directly connected” or “directly connected” to another component, it should be understood that there are no other components in between. Other expressions to describe relationships between components should be interpreted similarly.
본 명세서에서 사용되는 상단, 하단, 상면, 하면 또는 상부, 하부 등의 용어는 구성 요소들에 있어서 상대적인 위치를 구별하기 위해 사용되는 것이다. 예를 들어, 편의 상 도면상의 위쪽을 상부, 도면상의 아래쪽을 하부로 명명하는 경우 실제에 있어서는 본 발명의 권리 범위를 벗어나지 않으면서 상부는 하부로 명명될 수 있고, 하부는 상부로 명명될 수 있다.Terms such as top, bottom, upper surface, lower surface, top, bottom, etc. used in this specification are used to distinguish the relative positions of components. For example, for convenience, if the upper part of the drawing is called upper and the lower part of the drawing is called lower, in reality, the upper part can be named lower and the lower part can be called upper without departing from the scope of the present invention. .
본 명세서에서 기재한 ~제1~, ~제2~ 등과 같이 서수를 포함하는 용어는 다양한 구성 요소들을 설명하는데 사용될 수 있지만, 상기 구성 요소들은 상기 용어들에 의해 한정되지 않는다. 상기 용어들은 각 구성요소가 서로 다른 구성 요소들임을 구분하기 위해서 지칭한 것일 뿐, 제조된 순서에 구애받지 않는 것이며, 발명의 상세한 설명과 청구범위에서 그 명칭이 일치하지 않을 수 있다.Terms containing ordinal numbers, such as ~first~, ~second~, etc. described in this specification may be used to describe various components, but the components are not limited by the terms. The above terms are only used to distinguish each component from another, and are not limited by the manufacturing order, and the names may not match in the detailed description and claims of the invention.
본 명세서에서 사용되는 기술적이거나 과학적인 용어를 포함한 모든 용어들은, 다르게 정의되지 않는 한 본 발명이 속하는 기술 분야에서 통상의 지식을 가진 자에 의해 일반적으로 이해되는 것과 동일한 의미를 가지고 있다. 일반적으로 사용되는 사전에 정의되어 있는 것과 같은 용어들은 관련 기술의 문맥 상 가지는 의미와 일치하는 의미를 갖는 것으로 해석되어야 하며, 본 명세서에서 명백하게 정의하지 않는 한, 이상적이거나 과도하게 형식적인 의미로 해석되지 않는다.All terms, including technical or scientific terms, used in this specification, unless otherwise defined, have the same meaning as generally understood by those skilled in the art to which the present invention pertains. Terms defined in commonly used dictionaries should be interpreted as having a meaning consistent with the meaning in the context of the related technology, and unless clearly defined in this specification, should not be interpreted in an idealized or overly formal sense. No.
이하, 본 발명의 일 실시예에 의한 수목의 생물학적 데이터 예측시스템을 설명하기 위하여 도면들을 참고하여 본 발명에 대해 설명하도록 한다.Hereinafter, the present invention will be described with reference to the drawings to explain the tree biological data prediction system according to an embodiment of the present invention.
도 1은 본 발명의 일 실시예에 따른 친환경 수직 정원 관리시스템의 전체 개요도를 나타낸 도면이다.Figure 1 is a diagram showing the overall outline of an eco-friendly vertical garden management system according to an embodiment of the present invention.
도 1을 참조하면, 본 발명에 따른 친환경 수직 정원 관리시스템은 건물의 지지벽(100)과, 상기 지지벽에 연결되어 식물을 수용하는 거치대(200)와, 상기 지지벽에 설치되어 오폐수가 유동하는 오폐수관(300) 및 상기 오폐수의 온도를 일정 온도 범위 내로 유지시키는 오폐수 온도 유지모듈(400)을 포함한다.Referring to Figure 1, the eco-friendly vertical garden management system according to the present invention includes a
상기 지지벽(100)은 건물의 외벽으로 이루어지거나, 또는 벽일 수 있다.The
상기 거치대(200)는 식물을 수용할 수 있도록 형성된 선반 형태의 거치대이다.The
상기 오폐수관(300)은 건물에서 나오는 오폐수가 흐르는 관으로써 상기 지지벽(100)에 매립될 수도 있고, 상기 지지벽(100)의 외부에 구비될 수도 있다. 또한, 상기 지지벽(100) 중 상기 거치대(200)가 배치된 부분에 돌출되어 설치되되, 상기 거치대(200)의 하부에 위치될 수도 있고, 상기 거치대(200)의 형상에 따라서 배치될 수 있다.The
상기 오폐수 온도 유지모듈(400)은 상기 오폐수관(300)에 흐르는 오폐수의 온도에 따라서 상기 오폐수관(300)으로 오폐수의 흐름을 제어한다. 구체적으로 상기 오폐수의 온도가 일정 온도 범위 내로 유지되면 오폐수를 흐르게 하여 상기 거치대(200)의 온도를 일정하게 유지시킬 수 있다.The wastewater
이때, 일정 온도 범위는 거치대(200)에 수용되는 식물의 종류에 따라서 결정될 수 있다. 즉, 식물의 종류에 따라 일정 온도 범위를 결정하여 다양한 종류의 식물이 수용될 수 있다.At this time, a certain temperature range may be determined depending on the type of plant accommodated in the
이처럼, 본 발명에 따른 친환경적 수직정원 관리 시스템은 오폐수 온도 유지모듈(400)을 통해 별도의 히터없이 건물에서 발생되는 오폐수의 온도를 이용하여 수직정원의 온도를 일정하게 유지함으로써 친환경적으로 수직정원을 유지할 수 있다.In this way, the eco-friendly vertical garden management system according to the present invention maintains the vertical garden in an environmentally friendly manner by maintaining the temperature of the vertical garden constant by using the temperature of the wastewater generated from the building without a separate heater through the wastewater
도 2는 본 발명의 일 실시예에 따른 친환경 수직 정원 관리시스템의 오폐수 온도유지 모듈의 제1 실시예를 나타낸 도면이다.Figure 2 is a diagram showing a first embodiment of a wastewater temperature maintenance module of an eco-friendly vertical garden management system according to an embodiment of the present invention.
도 2를 참조하면, 본 발명에 따른 친환경 수직 정원 관리시스템은 오폐수를 상기 오폐수관(300)으로 공급하는 오폐수 유입관(500)을 더 포함하고, 상기 오폐수 온도 유지모듈(400)은, 상기 오폐수 유입관(500)에 설치되어 상기 오폐수의 온도를 측정하는 온도센서(410) 및 상기 오폐수 유입관(500)에 설치되어 측정된 오폐수의 온도에 따라서 제어되는 오폐수 밸브(420)를 포함하여 이루어진다.Referring to FIG. 2, the eco-friendly vertical garden management system according to the present invention further includes a
상기 오폐수 유입관(500)은 건물에서 나오는 오폐수가 상기 오폐수관(300)으로 유입되는 관으로써 상기 오폐수관(300)과 연통되어 설치될 수 있다. 즉, 건물에서 나오는 오폐수는 오폐수 유입관(500)에서 오폐수 온도 유지모듈(400)을 지나 오폐수관(300)으로 유입될 수 있다.The
상기 온도센서(410)는 오폐수 유입관(500)에 설치되어 오폐수 온도 유지모듈(400)에 유입된 오폐수의 온도를 측정할 수 있다.The
상기 오폐수 밸브(420)는 오폐수 유입관(500)의 출구부에 설치되어 상기 온도센서(410)에서 측정된 온도에 따라 제어되어 개방되거나 폐쇄될 수 있다.The
구체적으로 오폐수 유입관(500)을 통해 오폐수가 오폐수 온도 유지모듈(400)로 유입되면 온도센서(410)는 오폐수의 온도를 측정할 수 있다. 이후, 측정된 온도가 거치대(200)에 수용된 식물의 생장에 적합한 온도 범위 내에 있으면, 오폐수 온도 유지모듈(400)은 오폐수 밸브(420)를 개방하여 오폐수가 오폐수관(300)으로 유입될 수 있게 한다.Specifically, when wastewater flows into the wastewater
따라서, 오폐수 온도 유지모듈(400)은 온도센서(410)와 오폐수 밸브(420)를 포함함으로써, 식물의 생장에 적합한 온도의 오폐수를 오폐수관(300)으로 유입시킬 수 있다.Accordingly, the wastewater
도 3은 본 발명의 일 실시예에 따른 친환경 수직 정원 관리시스템의 오폐수 온도유지 모듈의 제2 실시예를 나타낸 도면이며, 본 실시예에서는 제1 실시예와 반복되는 내용은 가급적 생략한다.Figure 3 is a diagram showing a second embodiment of the wastewater temperature maintenance module of an eco-friendly vertical garden management system according to an embodiment of the present invention. In this embodiment, content repeated with the first embodiment is omitted as much as possible.
도 3을 참조하면, 상기 거치대(200)는, 상기 지지벽(100)의 하부에 위치한 제1 거치대(210), 상기 지지벽(100)의 중부에 위치한 제2 거치대(220) 및 상기 지지벽(100)의 상부에 위치한 제3 거치대(230)를 포함하여 이루어진다.Referring to FIG. 3, the
그리고 상기 오폐수관(300)은, 상기 제1 거치대(210)가 배치된 부분에 배치되는 제1 오폐수관(310), 상기 제2 거치대(220)가 배치된 부분에 배치되는 제2 오폐수관(320) 및 상기 제3 거치대(230)가 배치된 부분에 배치되는 제3 오폐수관(330)을 포함하여 이루어진다.And the
여기서, 거치대(200)와 오폐수관(300)은 도 3에서와 같이 각각 세 개씩 설치될 수 있지만, 반드시 이에 한정되지 않고 지지벽(100)의 높이방향을 따라 복수개가 설치될 수 있다.Here, three
상기 제1 거치대(210), 제2 거치대(220), 제3 거치대(230)는 각각의 서로 다른 종류의 식물이 수용될 수 있다.The first holder 210, the second holder 220, and the third holder 230 can accommodate different types of plants.
상기 제1 오폐수관(310), 제2 오폐수관(320), 제3 오폐수관(330)은 제1 거치대(210), 제2 거치대(220), 제3 거치대(230)가 서로 다른 종류의 식물이 수용될 수 있기 때문에, 서로 다른 온도 범위의 오폐수가 유입될 수 있다.The
이때, 상기 제1 오폐수관(310)을 유동하는 오폐수는 상기 제2 오폐수관(320)을 유동하는 오폐수보다 온도가 높고, 상기 제2 오폐수관(320)을 유동하는 오폐수는 상기 제3 오폐수관(330)을 유동하는 오폐수보다 온도가 높을 수 있다.At this time, the wastewater flowing through the
즉, 지지벽(100)의 높이방향을 따라 오폐수관(300)이 낮게 설치될수록 높은 온도의 오폐수가 오폐수관(300)을 유동할 수 있다. 이로 인해, 수직정원 주변의 공기는 수직정원의 높이가 낮을수록 높은 온도 범위를 가질 수 있고, 상대적으로 높은 온도의 공기가 상승함에 따라 수직정원의 온도를 더 효과적으로 유지시킬 수 있다.That is, the lower the
계속 도 3을 참조하면, 오폐수 온도 유지모듈은, 상기 제1 오폐수관(310)의 입구부에 설치된 제1 밸브(430), 상기 제2 오폐수관(320)의 입구부에 설치된 제2 밸브(440) 및 상기 제3 오폐수관(330)의 입구부에 설치된 제3 밸브(450)를 포함하여 이루어진다.Continuing to refer to FIG. 3, the wastewater temperature maintenance module includes a first valve 430 installed at the inlet of the
상기 제1 밸브(430), 제2 밸브(440) 및 제3 밸브(450)는 상기 온도센서(410)에서 측정된 온도에 따라 각각 제어되어 개방되거나 폐쇄될 수 있다.The first valve 430, second valve 440, and third valve 450 may be controlled to open or close, respectively, according to the temperature measured by the
예를 들어, 온도센서(410)에서 측정된 오폐수의 온도가 제1 거치대(210)에 수용된 식물의 생장에 적합한 온도 범위 내에 있으면, 오폐수 온도 유지모듈(400)은 제1 밸브(430)는 개방하고, 제2 밸브(440) 및 제3 밸브(450)는 폐쇄하여 오폐수가 제1 오폐수관(310)으로만 유입될 수 있게 한다.For example, if the temperature of the wastewater measured by the
또는, 온도센서(410)에서 측정된 오폐수의 온도가 제2 거치대(220)에 수용된 식물의 생장에 적합한 온도 범위 내에 있으면, 오폐수 온도 유지모듈(400)은 제2 밸브(440)는 개방하고, 제1 밸브(430) 및 제3 밸브(450)는 폐쇄하여 오폐수가 제2 오폐수관(320)으로만 유입될 수 있게 한다.Alternatively, if the temperature of the wastewater measured by the
이처럼, 제1 밸브(430), 제2 밸브(440) 및 제3 밸브(450)는 서로 다른 온도 범위에서 개방되도록 제어될 수 있어, 제1 거치대(210), 제2 거치대(220), 제3 거치대(230)에 각각 서로 다른 종류의 식물이 수용되어 있어도, 식물별 맞춤형 성장이 가능한 효과가 있다.In this way, the first valve 430, the second valve 440, and the third valve 450 can be controlled to open in different temperature ranges, so that the first holder 210, the second holder 220, and the third valve 450 can be controlled to open in different temperature ranges. 3 Even if different types of plants are accommodated in the holder 230, customized growth for each plant is possible.
또한, 건물에서 발생되는 여러 온도의 오폐수를 식물의 생육관리를 위한 시스템에 사용함으로써 자원재순환을 할 수 있으며, 이에 따라 비용이 절감되는 효과가 있다.In addition, wastewater of various temperatures generated from buildings can be recycled by using it in a system for plant growth management, thereby reducing costs.
도 4는 본 발명의 일 실시예에 따른 친환경 수직 정원 관리시스템의 오폐수 온도유지 모듈의 제3실시예를 나타낸 도면이며, 본 실시예에서는 제1 실시예와 반복되는 내용은 가급적 생략한다.Figure 4 is a diagram showing a third embodiment of a wastewater temperature maintenance module of an eco-friendly vertical garden management system according to an embodiment of the present invention. In this embodiment, content repeated with the first embodiment is omitted as much as possible.
도 4를 참조하면, 오폐수 온도 유지모듈은, 상기 오폐수관(300)에 설치되는 오페수 온도센서(460)를 포함하여 이루어진다.Referring to FIG. 4, the wastewater temperature maintenance module includes a
상기 오폐수 온도센서(460)는 오폐수관(300)에 유입된 오폐수의 온도를 측정할 수 있다.The
이때, 상기 온도센서(410)에서 측정된 오폐수 유입관(500)의 오폐수 온도와 상기 오폐수 온도센서(460)에서 측정된 오폐수관(500)의 오폐수 온도에 따라서 오폐수 온도 유지모듈(400)은 상기 오폐수 밸브(420)의 유량을 제어할 수 있다.At this time, the wastewater
구체적으로, 온도센서(410)에서 측정된 온도가 거치대(200)에 수용된 식물의 생장에 적합한 온도 범위 내에 있으면, 오폐수 온도 유지모듈은 오폐수 밸브(420)를 개방하여 오폐수가 오폐수관(300)으로 유입될 수 있게 한다.Specifically, if the temperature measured by the
이때, 오폐수 온도센서(460)는 오폐수관(500)의 오폐수 온도를 측정할 수 있고, 온도센서(410)에서 측정된 온도와 오폐수 온도센서(460)에서 측정된 온도가 동일해지면 오폐수 온도 유지모듈(400)은 오폐수 밸브(420)를 폐쇄할 수 있다.At this time, the
즉, 오폐수 온도센서(460)는 오폐수관(500)의 온도를 거치대(200)에 수용된 식물의 생장에 적합한 온도로 유지할 수 있다.That is, the
도 5는 본 발명의 일 실시예에 따른 친환경 수직 정원 관리시스템의 오폐수 온도유지 모듈의 제4실시예를 나타낸 도면이다.Figure 5 is a diagram showing a fourth embodiment of a wastewater temperature maintenance module of an eco-friendly vertical garden management system according to an embodiment of the present invention.
도 5를 참조하면, 오폐수 온도유지 모듈은, 상기 건물에서 배출되는 오폐수를 저장하는 오폐수 저장고(470), 상기 오폐수 저장고(470)에 상기 오폐수를 유입시키는 저장고 유입관(480), 상기 저장고 유입관(480)에 설치되는 저장고 유입관 온도센서(481) 및 상기 저장고 유입관(480)에 설치되는 저장고 유입관 밸브(482)를 포함하여 이루어진다.Referring to FIG. 5, the wastewater temperature maintenance module includes a wastewater reservoir 470 that stores wastewater discharged from the building, a
상기 오폐수 저장고(470)는 건물에서 배출되는 오폐수를 저장하는 물탱크로써 거치대(200)에 수용된 식물의 생장에 적합한 온도 범위의 오폐수를 저장할 수 있다.The wastewater storage 470 is a water tank that stores wastewater discharged from a building, and can store wastewater in a temperature range suitable for the growth of plants accommodated in the
상기 저장고 유입관(480)은 건물에서 배출되는 오폐수가 상기 오폐수 저장고(470)로 유입되는 관으로써 오폐수 저장고(470)와 연통되어 설치될 수 있다.The
상기 저장고 유입관 온도센서(481)은 상기 저장고 유입관(480)에 설치되어 건물에서 배출된 오폐수의 온도를 측정할 수 있다.The storage inlet
상기 저장고 유입관 밸브(482)는 상기 오폐수 저장고(470)의 입구부에 설치되어 상기 저장고 유입관 온도센서(481)에서 측정된 온도에 따라 제어되어 개방되거나 폐쇄될 수 있다.The reservoir inlet pipe valve 482 is installed at the entrance of the wastewater reservoir 470 and can be controlled to open or close according to the temperature measured by the reservoir inlet
구체적으로 저장고 유입관 온도센서(481)는 저장고 유입관(480)을 유동하는 오폐수의 온도를 측정할 수 있다. 이후, 측정된 온도가 거치대(200)에 수용된 식물의 생장에 적합한 온도 범위 내에 있으면, 오폐수 온도 유지모듈은 저장고 유입관 밸브(482)를 개방하여 오폐수가 오폐수 저장고(470)로 유입될 수 있게 한다.Specifically, the storage inlet
즉, 저장고 유입관 밸브(482)가 개방되면 필요한 온도 범위 내의 오폐수는 오폐수 저장고(470)에 유입될 수 있고, 저장고 유입관 밸브(482)가 폐쇄되면 불필요한 온도 범위 내의 오폐수는 오폐수 배출관(미도시)을 통해 배출될 수 있다.That is, when the storage inlet pipe valve 482 is opened, wastewater within the required temperature range can flow into the wastewater storage 470, and when the storage inlet pipe valve 482 is closed, wastewater within the unnecessary temperature range can flow into the wastewater discharge pipe (not shown). ) can be discharged through.
따라서, 저장고 유입관 밸브(482)를 제어하여 필요한 온도 범위 내의 오폐수를 오폐수 저장고(470)에 저장할 수 있어, 별도의 히터를 사용하지 않고도 에너지를 더 효과적으로 절감할 수 있어 온실가스를 감소시킬 수 있다.Therefore, by controlling the storage inlet pipe valve 482, wastewater within the required temperature range can be stored in the wastewater storage storage 470, thereby reducing greenhouse gases by more effectively saving energy without using a separate heater. .
도 6은 본 발명의 일 실시예에 따른 친환경 수직 정원 관리시스템의 오폐수 온도유지 모듈의 제5실시예를 나타낸 도면으로, 본 실시예에서는 제5 실시예와 반복되는 내용은 가급적 생략한다.Figure 6 is a diagram showing a fifth embodiment of the wastewater temperature maintenance module of an eco-friendly vertical garden management system according to an embodiment of the present invention. In this embodiment, content repeated with the fifth embodiment is omitted as much as possible.
도 6을 참조하면, 오폐수 온도유지 모듈은 제1 저장고(471), 제2 저장고(472), 제3 저장고(473)를 포함할 수 있다.Referring to FIG. 6, the wastewater temperature maintenance module may include a
각각의 저장고의 입구부에는 제1 저장고 유입관 밸브(483), 제2 저장고 유입관 밸브(484), 제3 저장고 유입관 밸브(485)가 설치될 수 있고, 제1 저장고 유입관 밸브(483), 제2 저장고 유입관 밸브(484), 제3 저장고 유입관 밸브(485)는 저장고 유입관 온도센서(481)에서 측정된 온도에 따라 각각 제어되어 개방되거나 폐쇄될 수 있다.A first storage
구체적으로, 저장고 유입관 온도센서(481)에서 측정된 온도에 따라 제1 저장고 유입관 밸브(483), 제2 저장고 유입관 밸브(484), 제3 저장고 유입관 밸브(485)가 개방되거나 폐쇄되어 제1 저장고(471), 제2 저장고(472), 제3 저장고(473)는 각각 다른 온도 범위의 오폐수를 저장할 수 있다.Specifically, the first storage
그리고 각각의 저장고의 출구부에는 제1 유입관(510), 제2 유입관(520), 제3 유입관(530)이 설치될 수 있고, 각각의 저장고에 저장된 오폐수는 제1 유입관(510), 제2 유입관(520), 제3 유입관(530)을 지나 제1 오폐수관(310), 제2 오폐수관(320), 제3 오폐수관(330)으로 유입될 수 있다.In addition, a
그리고 각각의 유입관의 출구부에는 제1 유입관 밸브(511), 제2 유입관 밸브(521), 제3 유입관 밸브(531)가 설치될 수 있고, 각각의 오폐수관의 입구부에는 제1 오폐수 온도센서(461), 제2 오폐수 온도센서(462), 제3 오폐수 온도센서(463)가 설치될 수 있다.In addition, a first
제1 유입관 밸브(511), 제2 유입관 밸브(521), 제3 유입관 밸브(531) 각각은 제1 오폐수 온도센서(461), 제2 오폐수 온도센서(462), 제3 오폐수 온도센서(463)에서 측정된 온도에 따라 제어되어 개방되거나 폐쇄될 수 있다.The first
구체적으로 각각의 오폐수 온도센서에서 측정된 온도가 식물의 생장에 적합한 온도 범위에서 벗어나면 유입관 밸브는 개방되어 필요한 온도 범위의 오폐수가 오폐수관으로 유입될 수 있다.Specifically, if the temperature measured by each wastewater temperature sensor deviates from the temperature range suitable for plant growth, the inlet pipe valve is opened to allow wastewater in the required temperature range to flow into the wastewater pipe.
예를 들어, 제1 오폐수 온도센서(461)에서 측정된 제1 오폐수관(310)의 온도가 식물의 생장에 적합한 온도 범위에서 벗어나면 제1 유입관 밸브(511)는 개방될 수 있다. 이때, 제1 저장고(471)에 저장된 오폐수는 제1 오폐수관(310)으로 유입될 수 있고, 제1 오폐수 온도센서(461)에서 측정된 온도가 식물의 생장에 적합한 온도 범위가 되면 제1 유입관 밸브(511)는 폐쇄될 수 있다.For example, when the temperature of the
즉, 제1 저장고(471), 제2 저장고(472), 제3 저장고(473)는 각각 다른 온도 범위의 오폐수를 저장하고, 제1 유입관 밸브(511), 제2 유입관 밸브(521), 제3 유입관 밸브(531)는 필요에 따라 개방되어 식물별로 적합한 온도 범위의 오폐수를 효과적으로 제1 오폐수관(310), 제2 오폐수관(320), 제3 오폐수관(330)으로 유입시킬 수 있다.That is, the
도 7은 본 발명의 일 실시예에 따른 친환경 수직 정원 관리시스템의 오폐수관의 다른 실시예를 나타낸 도면이다.Figure 7 is a diagram showing another embodiment of a wastewater pipe of an eco-friendly vertical garden management system according to an embodiment of the present invention.
도 7을 참조하면, 오폐수관은 'S'자 형상으로 형성될 수 있고, 오폐수관의 하부와 중부 사이에 제1 오폐수관 내부 온도센서(610) 및 제1 오폐수관 내부 밸브(620)가 설치될 수 있고, 오폐수관의 중부와 상부 사이에 제2 오폐수관 내부 온도센서(630) 및 제2 오폐수관 내부 밸브(640)가 설치될 수 있다.Referring to Figure 7, the wastewater pipe may be formed in an 'S' shape, and a first wastewater pipe
상기 제1 오폐수관 내부 밸브(620)는 상기 제1 오폐수관 내부 온도센서(610)에서 측정된 온도에 따라 개방되거나 폐쇄될 수 있고, 상기 제2 오폐수관 내부 밸브(640)는 상기 제2 오폐수관 내부 온도센서(630)에서 측정된 온도에 따라 개방되거나 폐쇄될 수 있다.The first wastewater pipe
구체적으로, 온도센서(410)에서 측정된 온도가 지지벽(100)의 하부에 위치한 거치대에 수용된 식물의 생장에 적합한 온도 범위 내에 있으면, 오폐수 밸브(420)는 개방되어 오폐수가 오폐수관의 하부로 유입될 수 있다.Specifically, if the temperature measured by the
이후, 제1 오폐수관 내부 온도센서(610)에서 측정된 온도가 지지벽(100)의 중부에 위치한 거치대에 수용된 식물의 생장에 적합한 온도 범위 내에 있으면, 제1 오폐수관 내부 밸브(620)는 개방되어 오폐수가 오폐수관의 중부로 유입될 수 있다.Thereafter, if the temperature measured by the
그리고, 제2 오폐수관 내부 온도센서(630)에서 측정된 온도가 지지벽(100)의 상부에 위치한 거치대에 수용된 식물의 생장에 적합한 온도 범위 내에 있으면, 제2 오폐수관 내부 밸브(640)는 개방되어 오폐수가 오폐수관의 상부로 유입될 수 있다.And, if the temperature measured by the
따라서, 오폐수관이 'S'자 형상으로 형성됨으로써, 건물에서 발생되는 여러 온도의 오폐수를 더 적은 부품을 사용하여 식물의 생육관리를 위한 시스템에 사용할 수 있어, 이에 따라 비용이 절감되는 효과가 있다.Therefore, by forming the wastewater pipe in an 'S' shape, wastewater of various temperatures generated in the building can be used in a system for plant growth management using fewer parts, thereby reducing costs. .
상술한 바와 같이 도면을 참조하여 본 발명의 바람직한 실시예에 대하여 도시하고 설명하였지만, 본 발명은 상술한 특정의 실시예에 한정되지 아니하며, 특허청구범위에서 청구하는 본 발명의 요지를 벗어남이 없이 당해 발명이 속하는 기술분야에서 통상의 지식을 가진 자에 의해 다양한 변형실시가 가능한 것은 물론이고, 이러한 변형실시들은 본 발명의 기술적 사상이나 전망으로부터 개별적으로 이해되어서는 안 될 것이다.As described above, preferred embodiments of the present invention have been shown and described with reference to the drawings, but the present invention is not limited to the specific embodiments described above, and the present invention is not limited to the gist of the present invention as claimed in the patent claims. Of course, various modifications can be made by those skilled in the art in the technical field to which the invention belongs, and these modifications should not be understood individually from the technical idea or perspective of the present invention.
100 : 지지벽
200 : 거치대
210 : 제1 거치대
220 : 제2 거치대
230 : 제3 거치대
300, 300' : 오폐수관
310 : 제1 오폐수관
320 : 제2 오폐수관
330 : 제3 오폐수관
400, 400', 400'', 400''' : 오폐수 온도유지 모듈
410 : 온도센서
420 : 오폐수 밸브
430 : 제1 밸브
440 : 제2 밸브
450 : 제3 밸브
460 : 오폐수 온도센서
461 : 제1 오폐수 온도센서
463 : 제2 오폐수 온도센서
463 : 제3 오폐수 온도센서
470 : 오폐수 저장고
471 : 제1 오폐수 저장고
472 : 제2 오폐수 저장고
473 : 제3 오폐수 저장고
480 : 저장고 유입관
481 : 유입관 온도센서
482 : 저장고 유입관 밸브
483 : 제1 저장고 유입관 밸브
484 : 제2 저장고 유입관 밸브
485 : 제3 저장고 유입관 밸브
500 : 오폐수 유입관
510 : 제1 유입관
511 : 제1 유입관 밸브
520 : 제2 유입관
521 : 제2 유입관 밸브
530 : 제3 유입관
531 : 제3 유입관 밸브
610 : 제1 오폐수관 내부 온도센서
620 : 제1 오폐수관 내부 밸브
630 : 제2 오폐수관 내부 온도센서
640 : 제2 오폐수관 내부 밸브100: support wall
200: Holder
210: 1st holder
220: 2nd holder
230: Third holder
300, 300': Sewage pipe
310: 1st wastewater pipe
320: 2nd wastewater pipe
330: 3rd wastewater pipe
400, 400', 400'', 400''': Wastewater temperature maintenance module
410: Temperature sensor
420: Wastewater valve
430: first valve
440: second valve
450: third valve
460: Wastewater temperature sensor
461: 1st wastewater temperature sensor
463: Second wastewater temperature sensor
463: Third wastewater temperature sensor
470: Wastewater storage tank
471: 1st wastewater storage facility
472: Second wastewater storage facility
473: Third wastewater storage facility
480: Storage inlet pipe
481: Inlet pipe temperature sensor
482: Reservoir inlet pipe valve
483: First reservoir inlet pipe valve
484: Second reservoir inlet pipe valve
485: Third reservoir inlet pipe valve
500: Wastewater inlet pipe
510: first inlet pipe
511: first inlet pipe valve
520: second inlet pipe
521: second inlet pipe valve
530: Third inlet pipe
531: Third inlet pipe valve
610: Temperature sensor inside the first wastewater pipe
620: First wastewater pipe internal valve
630: Temperature sensor inside the second wastewater pipe
640: Second wastewater pipe internal valve
| Application Number | Priority Date | Filing Date | Title |
|---|---|---|---|
| KR1020220127638AKR20240048171A (en) | 2022-10-06 | 2022-10-06 | Eco-friendly vertical garden management system |
| Application Number | Priority Date | Filing Date | Title |
|---|---|---|---|
| KR1020220127638AKR20240048171A (en) | 2022-10-06 | 2022-10-06 | Eco-friendly vertical garden management system |
| Publication Number | Publication Date |
|---|---|
| KR20240048171Atrue KR20240048171A (en) | 2024-04-15 |
| Application Number | Title | Priority Date | Filing Date |
|---|---|---|---|
| KR1020220127638APendingKR20240048171A (en) | 2022-10-06 | 2022-10-06 | Eco-friendly vertical garden management system |
| Country | Link |
|---|---|
| KR (1) | KR20240048171A (en) |
| Publication number | Priority date | Publication date | Assignee | Title |
|---|---|---|---|---|
| KR102275544B1 (en) | 2019-08-30 | 2021-07-09 | 주식회사 장 자동화 | Wall landscaping system for easy growth management with automatic watering and plant growth analysis |
| Publication number | Priority date | Publication date | Assignee | Title |
|---|---|---|---|---|
| KR102275544B1 (en) | 2019-08-30 | 2021-07-09 | 주식회사 장 자동화 | Wall landscaping system for easy growth management with automatic watering and plant growth analysis |
| Publication | Publication Date | Title |
|---|---|---|
| US5010686A (en) | Hydroponic system | |
| JP5133661B2 (en) | Wall planting planting equipment | |
| CA1138204A (en) | Hydroponic growing apparatus | |
| US6247269B1 (en) | System for plant growing | |
| US20120066973A1 (en) | Method for hydroponically growing plants that are root-nurtured | |
| US20160120139A1 (en) | Cultivation apparatus having automatic rainwater supply function | |
| CN103929945A (en) | Equipment and growing devices for growing plants | |
| KR101314657B1 (en) | Bed for nutrient culture | |
| US20140033609A1 (en) | Expandable plant growth system | |
| KR101425187B1 (en) | Green wall system | |
| KR102079443B1 (en) | Irrigation management appratus using pressure difference | |
| RU2419282C1 (en) | Device to clean air of livestock house | |
| CN207383047U (en) | A kind of integral type afforestation environmental protection device for raising seedlings | |
| KR20240048171A (en) | Eco-friendly vertical garden management system | |
| KR20220162481A (en) | Container Type Cultivation System for Plant | |
| KR20180115133A (en) | Deep flow technique system for controlling dissolved oxygen | |
| TWM607846U (en) | Planting environment adjusting system | |
| KR100504938B1 (en) | Recycling system for nutriculture and structure of a container for nutriculture | |
| US20240188518A1 (en) | Vertical hydroponic system | |
| CN218388940U (en) | Environment-friendly greenhouse capable of controlling carbon dioxide | |
| AU2011239250B1 (en) | Planter | |
| CN217284374U (en) | Intelligent integrated plant wall | |
| CN1372050A (en) | Ecologicla environment protection system for urban community | |
| KR20120023950A (en) | Plant cultivation apparatus for shady place | |
| CN203136721U (en) | Groove-stacking type vertical soilless culture facility |
| Date | Code | Title | Description |
|---|---|---|---|
| PA0109 | Patent application | St.27 status event code:A-0-1-A10-A12-nap-PA0109 | |
| PA0201 | Request for examination | St.27 status event code:A-1-2-D10-D11-exm-PA0201 | |
| P11-X000 | Amendment of application requested | St.27 status event code:A-2-2-P10-P11-nap-X000 | |
| P13-X000 | Application amended | St.27 status event code:A-2-2-P10-P13-nap-X000 | |
| R18-X000 | Changes to party contact information recorded | St.27 status event code:A-3-3-R10-R18-oth-X000 | |
| PG1501 | Laying open of application | St.27 status event code:A-1-1-Q10-Q12-nap-PG1501 | |
| E902 | Notification of reason for refusal | ||
| PE0902 | Notice of grounds for rejection | St.27 status event code:A-1-2-D10-D21-exm-PE0902 | |
| T11-X000 | Administrative time limit extension requested | St.27 status event code:U-3-3-T10-T11-oth-X000 | |
| T11-X000 | Administrative time limit extension requested | St.27 status event code:U-3-3-T10-T11-oth-X000 | |
| T11-X000 | Administrative time limit extension requested | St.27 status event code:U-3-3-T10-T11-oth-X000 | |
| T11-X000 | Administrative time limit extension requested | St.27 status event code:U-3-3-T10-T11-oth-X000 | |
| E13-X000 | Pre-grant limitation requested | St.27 status event code:A-2-3-E10-E13-lim-X000 | |
| P11-X000 | Amendment of application requested | St.27 status event code:A-2-2-P10-P11-nap-X000 |