













본 개시물은 에어로졸 발생 기재(substrate)가 가열되어 에어로졸을 형성하는 에어로졸 발생 장치에 관한 것이다. 본 개시물은 특히 독립식(self-contained)이고 저온일 수 있는 휴대용 에어로졸 발생 장치에 적용 가능하다. 이러한 장치는, 흡입을 위한 에어로졸을 발생시키기 위해, 전도, 대류, 및/또는 복사에 의해, 담배 또는 다른 적합한 에어로졸 기재 재료를 연소시키지 않고 가열할 수 있다.The present disclosure relates to an aerosol-generating device in which an aerosol-generating substrate is heated to form an aerosol. The present disclosure is particularly applicable to portable aerosol-generating devices that may be self-contained and cold. Such devices can heat tobacco or other suitable aerosol-based materials by conduction, convection, and/or radiation without burning them to generate an aerosol for inhalation.
위험 감소 또는 위험 변형 장치(기화기로도 알려짐)의 사용 및 대중성으로 인해, 담배, 시가, 소형 엽궐련(cigarillo), 및 압연 담배와 같은, 전통적인 담배 제품을 금연하길 원하는 습관성 흡연자를 보조하기 위한 보조 기구가 지난 몇 년간 급속히 성장하였다. 통상적인 담배 제품에서 담배를 연소시키는 것과 대조적으로, 에어로졸화 가능 물질을 가열하거나 데우는 다양한 장치 및 시스템이 이용 가능하다.An assistive device to assist habitual smokers who wish to quit smoking traditional tobacco products, such as cigarettes, cigars, cigarillos, and rolled tobacco, due to the use and popularity of risk reduction or risk modification devices (also known as vaporizers) has grown rapidly over the past few years. In contrast to burning tobacco in conventional tobacco products, a variety of devices and systems are available for heating or warming an aerosolizable substance.
통상적으로 이용 가능한 위험 감소 또는 위험 변형 장치는, 가열식 기재 에어로졸 발생 장치 또는 비연소 가열식(heat-not-burn) 장치이다. 이러한 유형의 장치는, 전형적으로 습윤 잎담배 또는 다른 적합한 에어로졸화 가능 재료를 포함하는 에어로졸 기재를 전형적으로 150℃ 내지 350℃ 범위의 온도로 가열함으로써, 에어로졸 또는 증기를 발생시킨다. 에어로졸 기재를 발화 또는 연소시키지 않고 이를 가열함으로써, 사용자가 원하는 성분을 포함하지만 독성 및 발암성 발화 및 연소 부산물을 포함하지 않는 에어로졸을 방출시킨다. 또한, 담배 또는 다른 에어로졸화 가능 재료를 가열함으로써 생성되는 에어로졸은, 전형적으로 사용자에게 불쾌할 수 있는 발화 및 연소로 인한 탄 맛 또는 쓴 맛을 포함하지 않으므로, 기재는 연기 및/또는 증기를 더욱 사용자의 입맛에 맞게 하기 위해 그러한 재료에 전형적으로 첨가되는 당분 및 다른 첨가제를 필요로 하지 않는다.Commonly available hazard reduction or hazard modification devices are heated substrate aerosol generating devices or heat-not-burn devices. Devices of this type typically generate an aerosol or vapor by heating an aerosol substrate comprising wet tobacco or other suitable aerosolizable material to a temperature typically in the range of 150°C to 350°C. By heating the aerosol substrate without igniting or burning it, it releases an aerosol that contains the components desired by the user but does not contain toxic and carcinogenic ignition and combustion by-products. In addition, the substrate can further reduce smoke and/or vapors to the user, as the aerosol produced by heating a cigarette or other aerosolizable material typically does not contain a burnt or bitter taste due to ignition and combustion that can be objectionable to the user. It does not require sugar and other additives typically added to such ingredients to make it palatable.
이러한 장치에서, 에어로졸 기재는, 예를 들어 가열 챔버 내에서, 발열체에 의해 가열된다. 에어로졸 기재는 에어로졸의 발생을 통해 소모되며, 정기적으로 교체되어야 한다. 따라서, 가열 챔버 내의 에어로졸 기재를 교체하는 편리한 방식을 제공하는 것이 바람직하다.In these devices, the aerosol substrate is heated by means of a heating element, for example in a heating chamber. Aerosol substrates are consumed through generation of aerosols and must be replaced regularly. Accordingly, it is desirable to provide a convenient way to replace the aerosol substrate within the heating chamber.
제1 양태에 따라, 본 개시물은 에어로졸 발생 시스템을 제공하고, 에어로졸 발생 시스템은, 에어로졸 발생 장치로서, 에어로졸 발생 기재의 일부분을 포함하는 소모품을 수용하도록 구성된 에어로졸 발생 챔버, 및 일 단부에 로딩 포트(loading port)를 포함하고, 에어로졸 발생 챔버와 교차하는, 로딩 채널을 포함하는, 에어로졸 발생 장치; 로딩 채널 내의 복수의 소모품으로서, 각각의 소모품은, 연속적인 소모품이 로딩 포트 내로 압입됨에 따라, 로딩 채널을 따라 인접한 소모품을 압입하도록 구성되는, 복수의 소모품; 및 에어로졸 발생 챔버 내의 에어로졸 발생 기재의 일부분을 가열하도록 구성된 발열체를 포함한다.According to a first aspect, the present disclosure provides an aerosol-generating system, the aerosol-generating device comprising: an aerosol-generating chamber configured to receive a consumable comprising a portion of an aerosol-generating substrate, and a loading port at one end. an aerosol-generating device comprising a loading channel, including a loading port, and intersecting the aerosol-generating chamber; a plurality of consumables in the loading channel, each consumable being configured to press adjacent consumables along the loading channel as successive consumables are pushed into the loading port; and a heating element configured to heat a portion of the aerosol-generating substrate within the aerosol-generating chamber.
소모품을 추가하기 위한 압입-로딩(push-loading) 기구, 및 복수의 소모품을 저장할 수 있는 로딩 채널을 제공함으로써, 에어로졸 발생 장치는 감소된 빈도로 로딩될 수 있다. 추가적으로, 에어로졸 발생 장치의 로딩 기구는 요구되는 가동부(moving part)가 없이 견고하므로, 에어로졸 발생 장치의 수명이 증가된다.By providing a push-loading mechanism for adding consumables, and a loading channel capable of storing a plurality of consumables, the aerosol-generating device can be loaded with reduced frequency. Additionally, the loading mechanism of the aerosol-generating device is robust with no moving parts required, thus increasing the lifetime of the aerosol-generating device.
선택적으로, 로딩 채널의 길이는 복수의 소모품의 길이와 동일하다. 결과적으로, 로딩 채널이 최대 수의 소모품을 수용한 경우, 로딩 채널이 가득 차고, 소모품은 에어로졸 발생 챔버 내에 정확히 정렬된다.Optionally, the length of the loading channel is equal to the length of the plurality of consumables. As a result, when the loading channel has received the maximum number of consumables, the loading channel is full and the consumables are correctly aligned within the aerosol-generating chamber.
제2 양태에 따라, 본 개시물은 에어로졸 발생 장치에 사용하기 위한 소모품을 제공하고, 소모품은, 에어로졸 발생 기재의 일부분을 수용하도록 구성된 지지 프레임을 포함하며, 지지 프레임은 로딩 축을 따라 실질적으로 강성 또는 탄성이고, 소모품은, 로딩 축을 따라 에어로졸 발생 장치의 로딩 채널을 통과하도록 구성된다.According to a second aspect, the present disclosure provides a consumable for use in an aerosol-generating device, the consumable comprising a support frame configured to receive a portion of an aerosol-generating substrate, the support frame being substantially rigid or substantially rigid along a loading axis. It is elastic, and the consumable is configured to pass through the loading channel of the aerosol-generating device along a loading axis.
연속적인 소모품을 압입하기 위한 지지 구조물을 제공함으로써, 소모품은 압입-로딩 기구를 통해 압입될 때 보다 신뢰 가능하게 작용하며, 압입-로딩 기구를 청소(unblocking) 및 세척할 필요성이 감소된다.By providing a support structure for press-fitting continuous consumables, consumables function more reliably when pushed through the press-loading mechanism, and the need for unblocking and cleaning the press-loading mechanism is reduced.
선택적으로, 소모품은, 로딩 채널을 따라 공기 흐름을 억제하기 위한 밀봉 부재를 더 포함한다.Optionally, the consumable further includes a sealing member for restraining air flow along the loading channel.
로딩 채널을 따라 공기 흐름을 억제함으로써, 기재를 통하여 또는 지나서 공기를 주입시킴으로써 에어로졸 추출이 보다 효율적으로 수행될 수 있다.By suppressing air flow along the loading channels, aerosol extraction can be performed more efficiently by injecting air through or past the substrate.
선택적으로, 소모품은, 공기가 에어로졸 발생 기재의 일부분을 통과할 수 있도록 하기 위해, 공기 흡입구 및 공기 배출구를 더 포함한다.Optionally, the consumable further includes an air inlet and an air outlet to allow air to pass through a portion of the aerosol-generating substrate.
공기 흡입구 및 공기 배출구를 제공함으로써, 공기가 기재를 통하여 유동할 수 있으며, 기재로부터의 에어로졸 추출이 증가된다.By providing an air inlet and an air outlet, air can flow through the substrate and aerosol extraction from the substrate is increased.
선택적으로, 소모품은, 로딩 채널의 내부 표면을 닦기 위한 세척 부재를 더 포함한다.Optionally, the consumable further comprises a cleaning member for wiping the inner surface of the loading channel.
소모품 상에 세척 부재를 제공함으로써, 에어로졸 발생으로 인한 잔류물의 축적이 감소되며, 에어로졸 발생 장치의 수명이 개선된다. 잔류물은, 예를 들어, 에어로졸 기재의 가열 동안 방출되는 점착성, 유성, 또는 연소 물질의 형태를 취할 수 있다.By providing a cleaning member on the consumable, the accumulation of residue due to aerosol generation is reduced, and the life of the aerosol-generating device is improved. Residues can take the form of, for example, a sticky, oily, or burning material released during heating of the aerosol substrate.
선택적으로, 소모품은, 에어로졸 발생 기재의 일부분에 액세스하고 에어로졸 발생 기재의 일부분을 커버하기 위한 덮개를 포함한다.Optionally, the consumable includes a cover for accessing and covering a portion of the aerosol-generating substrate.
덮개를 제공함으로써, 에어로졸 발생으로 인한 잔류물의 축적이 감소되며, 에어로졸 발생 장치의 수명이 개선된다.By providing a cover, accumulation of residue from aerosol generation is reduced and the life of the aerosol-generating device is improved.
선택적으로, 소모품은 발열체를 더 포함한다.Optionally, the consumable further includes a heating element.
소모품에 발열체를 제공함으로써, 발열체가 용이하게 교체될 수 있으며, 에어로졸 발생 장치의 수명이 개선된다.By providing the heating element in the consumable, the heating element can be easily replaced, and the life of the aerosol-generating device is improved.
선택적으로, 지지 프레임은, 에어로졸 발생 장치의 발열체로부터 에어로졸 발생 기재로 열을 전도하도록 구성된 열전도성 플레이트를 포함한다.Optionally, the support frame includes a thermally conductive plate configured to conduct heat from the heating element of the aerosol-generating device to the aerosol-generating substrate.
열전도성 플레이트를 제공함으로써, 열이 보다 효율적으로 기재에 전달될 수 있다.By providing a thermally conductive plate, heat can be more efficiently transferred to the substrate.
제3 양태에 따라, 본 개시물은 에어로졸 발생 장치를 제공하고, 에어로졸 발생 장치는, 에어로졸 발생 기재의 일부분을 포함하는 소모품을 수용하도록 구성된 에어로졸 발생 챔버; 및 에어로졸 발생 장치를 통하여 연장되고, 에어로졸 발생 챔버와 교차하는, 로딩 채널을 포함하며, 로딩 채널은, 소모품이 로딩 채널 내로 압입될 수 있는 일 단부의 로딩 포트를 포함하고, 로딩 채널은, 추가적인 소모품을 로딩 포트에 추가함으로써 로딩 채널을 따라 압입된 복수의 소모품을 수용하도록 구성된다.According to a third aspect, the present disclosure provides an aerosol-generating device comprising: an aerosol-generating chamber configured to receive a consumable comprising a portion of an aerosol-generating substrate; and a loading channel extending through the aerosol-generating device and intersecting the aerosol-generating chamber, the loading channel including a loading port at one end through which consumables can be pushed into the loading channel, wherein the loading channel comprises additional consumables. It is configured to receive a plurality of consumables pushed along the loading channel by adding to the loading port.
선택적으로, 에어로졸 발생 장치는, 소모품이 에어로졸 발생 챔버 내에 수용된 경우, 로딩 채널을 따라 공기 흐름을 억제하도록 배치된 밀봉 부재를 더 포함한다.Optionally, the aerosol-generating device further comprises a sealing member arranged to inhibit air flow along the loading channel when the consumable is received within the aerosol-generating chamber.
로딩 채널을 따라 공기 흐름을 억제함으로써, 소모품을 통하여 또는 지나서 공기를 주입시킴으로써 에어로졸 추출이 보다 효율적으로 수행될 수 있다.By suppressing air flow along the loading channels, aerosol extraction can be performed more efficiently by injecting air through or past the consumable.
선택적으로, 로딩 채널은, 로딩 포트에 대향하는 로딩 채널의 단부에 언로딩 포트(unloading port)를 포함하며, 추가적인 소모품을 로딩 포트 내로 압입함으로써, 이전의 소모품을 언로딩 포트의 밖으로 압입시킨다.Optionally, the loading channel includes an unloading port at an end of the loading channel opposite the loading port, and a further consumable is pushed into the loading port, thereby pushing a previous consumable out of the unloading port.
압입-언로딩 기구를 제공함으로써, 장치를 작동시키는 것이 추가로 더 용이해진다.By providing a press-in-unloading mechanism, operating the device is further made easier.
선택적으로, 소모품이 로딩 포트 또는 언로딩 포트를 통해 로딩 채널 내로 압입될 수 있도록, 로딩 포트 및 언로딩 포트는 유사하다.Optionally, the loading port and the unloading port are similar so that consumables can be pushed into the loading channel through either the loading port or the unloading port.
가역적 로딩/언로딩 시스템을 제공함으로써, 장치를 작동시키는 것이 추가로 더 용이해진다.By providing a reversible loading/unloading system, operating the device is further made easier.
선택적으로, 에어로졸 발생 장치는, 신장형 본체, 및 신장형 본체의 일 단부에 배치된 마우스피스를 더 포함하며, 로딩 채널은 신장형 본체를 따라 배치된다.Optionally, the aerosol-generating device further comprises an elongate body and a mouthpiece disposed at one end of the elongate body, wherein the loading channel is disposed along the elongate body.
에어로졸 발생 장치는, 이들을 용이하게 휴대할 수 있도록 신장형 형상을 갖는 것으로 알려져 있다. 신장 방향을 따라 로딩 채널을 지향시킴으로써, 로딩 채널에 저장될 수 있는 소모품의 수가 증가된다.Aerosol-generating devices are known to have an elongated shape so that they can be easily carried. By directing the loading channel along the stretch direction, the number of consumables that can be stored in the loading channel is increased.
선택적으로, 에어로졸 발생 장치는, 로딩 채널 내에 복수의 소모품을 압입하기 위한 구동기를 더 포함한다. 예를 들어, 구동기는, 에어로졸 발생 챔버 내에 수용된 현재 소모품에 대해 에어로졸 발생 세션이 완료된 후에, 에어로졸 발생 챔버 내로 다음 소모품을 이동시키도록 구성될 수 있다.Optionally, the aerosol-generating device further comprises an actuator for pushing the plurality of consumables into the loading channel. For example, the actuator may be configured to move the next consumable into the aerosol-generating chamber after an aerosol-generating session is completed for a current consumable contained within the aerosol-generating chamber.
작동기를 제공함으로써, 사용자가 로딩 또는 언로딩 작업을 수행하는 중간에 다수의 소모품을 사용할 수 있다. 또한, 작동기는, 로딩 채널을 비우기 위한 기구를 제공할 수 있다.By providing an actuator, a user can use multiple consumables while performing a loading or unloading operation. Additionally, the actuator may provide a mechanism for emptying the loading channel.
도 1a 및 도 1b는 복수의 소모품을 수용하기 위한 로딩 채널을 갖는 에어로졸 발생 장치를 개략적으로 도시한다;
도 2a 및 도 2b는 에어로졸 발생 장치를 위한 소모품을 개략적으로 도시한다;
도 3a 및 도 3b는 지지 프레임을 갖는 소모품의 제1 실시예를 개략적으로 도시한다;
도 4a 및 도 4b는 지지 프레임을 갖는 소모품의 선택적인 특징부를 개략적으로 도시한다;
도 5a 내지 도 5c는 지지 프레임을 갖는 소모품의 추가적인 선택적인 특징부를 개략적으로 도시한다;
도 6a 및 도 6b는 지지 프레임을 갖는 소모품의 추가적인 선택적인 특징부를 개략적으로 도시한다;
도 7은 복수의 소모품을 수용하기 위한 로딩 채널을 갖는 에어로졸 발생 장치의 대안적인 구성을 도시한다;
도 8은 단지 하나의 로딩/언로딩 포트만이 있는 로딩 채널을 갖는 에어로졸 발생 장치의 추가적인 대안적인 구성을 도시한다.1A and 1B schematically depict an aerosol-generating device having a loading channel for accommodating a plurality of consumables;
2a and 2b schematically depict consumables for an aerosol-generating device;
3a and 3b schematically show a first embodiment of a consumable with a support frame;
4a and 4b schematically depict optional features of a consumable having a support frame;
5A-5C schematically depict additional optional features of a consumable having a support frame;
6A and 6B schematically depict additional optional features of a consumable having a support frame;
7 shows an alternative configuration of an aerosol-generating device having a loading channel for accommodating a plurality of consumables;
8 shows a further alternative configuration of an aerosol-generating device having a loading channel with only one loading/unloading port.
도 1a 및 도 1b는 에어로졸 발생 장치(1)의 제1 실시예를 상이한 단면도로 개략적으로 도시한다. 도 1a는 "상부" 관점으로부터의 단면도를 도시하며, 도 1b는 "측면" 관점으로부터의 단면도를 도시하고, 점선 X1은 도 1b의 평면을 나타내며, 점선 X2는 도 1a의 평면을 나타낸다.1a and 1b schematically show a first embodiment of an aerosol-generating
도 1a를 참조하면, 에어로졸 발생 장치(1)는, 에어로졸 발생 챔버(12)를 둘러싸는 하우징(11)을 포함한다. 에어로졸 발생 챔버(12)는, 소모품(2)을 수용하여 소모품(2)을 가열함으로써 에어로졸을 발생시키도록 구성된다.Referring to FIG. 1A , the aerosol-generating
로딩 채널(13)은, 로딩 포트(131)를 통하여 복수의 소모품(2)을 수용하고, 에어로졸 발생 챔버(12)에 소모품(2)을 이송하도록 구성된다. 로딩 채널(13)은 하우징(11)의 내부에서 에어로졸 발생 장치(1)를 통하여 연장되며, 에어로졸 발생 챔버(12)와 교차한다.The
이러한 실시예에서, 로딩 채널(13)은, 로딩 포트(131)에 대향하는 로딩 채널의 단부의 언로딩 포트(132) 상에 소모품(2)을 이송하도록 추가로 구성된다. 그러나, 다른 실시예에서, 에어로졸 발생 장치(1)는, 로딩 포트(131)를 통하여 소모품(2)을 다시 언로딩하도록 구성될 수 있다.In this embodiment, the
바람직하게는, 로딩 채널(13)의 길이는 미리 결정된 복수의 소모품(2)의 길이와 동일하며, 이 경우 도 1a에 도시된 바와 같은 3개의 소모품의 길이와 동일하다. 그러나, 이는 일부 실시형태에서는 그럴 필요가 없다.Preferably, the length of the
공기 흐름 채널(14)이 에어로졸 발생 챔버(12)를 통하여 연결된다. 공기 흐름 채널(14)을 따라 공기를 펌핑함으로써, 에어로졸 발생 챔버(12) 내에 발생된 에어로졸이 에어로졸 발생 장치(1)로부터 추출된다. 예를 들어, 에어로졸 발생 장치(1)의 일 단부는, 공기 흐름 채널(14)의 단부를 포함하는 마우스피스(15)로서 구성될 수 있다.An
도 1b를 참조하면, 로딩 채널(13)은 에어로졸 발생 챔버(12)와 교차한다. 결과적으로, 소모품(2)이 로딩 채널(13)을 따라 이송됨에 따라, 소모품(2)은 가열 챔버(12) 내에 가열을 위해 위치된다. 구체적으로, 도 1b에서, 소모품(2-C)이 가열을 위해 위치된다.Referring to FIG. 1B , the
이러한 실시형태에서, 로딩 채널(13) 및 공기 흐름 채널(14)은 공통 평면에서 에어로졸 발생 챔버(12)와 각각 교차하며, 공기 흐름 채널(14)은 도 1b의 평면을 통하여 연장된다. 결과적으로, 공기는 에어로졸 발생 챔버(12) 내에 있는 소모품(2)을 통하여 공기 흐름 채널(14)을 따라 유동한다. 그러나, 이는 모든 실시형태에서 요구되는 것은 아니며, 로딩 채널(13) 및 공기 흐름 채널(14)은 서로 교차하지 않으면서 에어로졸 발생 챔버(12)와 각각 교차할 수 있으므로, 공기가 소모품(2)만을 지나서 유동한다. 가열 챔버(12)는, 에어로졸을 발생시키기 위해 소모품(2)에 열을 공급하는 발열체(121)를 갖는다. 구체적으로는, 발열체(121)는, 에어로졸 발생 챔버(12) 내에서, 소모품에 포함된 에어로졸 발생 기재의 일부분을 가열하도록 구성된다. 에어로졸은 공기 흐름 채널(14)을 따라 마우스피스(15)로 유동하는 공기에 의해 전달된다. 발열체(121)는 바람직하게는 저항성 발열체와 같은 전기 발열체이지만, 가열 챔버(12)에 열을 공급하기 위해 적합한 임의의 유형의 발열체가 사용될 수 있다.In this embodiment, the
도 1b는 로딩 포트(131) 내에 각각 삽입되어 로딩 채널(13) 내에서 서로 접촉되는 4개의 소모품(2-A 내지 2-D)을 도시하는 것으로서, 이에 따라 마지막 소모품(2-D)이 로딩 채널(13)의 로딩 포트(131) 단부로부터 압입되는 경우, 로딩 채널(13) 내에서 전방에 있는 각각의 소모품(2-A, 2-B 및 2-C)은 에어로졸 발생 챔버(12)를 향해, 에어로졸 발생 챔버(12)를 통하여, 그리고 그 다음 에어로졸 발생 챔버(12)의 밖으로 로딩 채널(13)을 따라 압입된다. 구체적으로, 추가적인 소모품이 로딩 포트(131)에 추가되는 경우, 마지막 소모품(2-D)은 로딩 포트(131)로부터 압입될 수 있다. 따라서, 에어로졸 발생 장치(1)는 소모품(2)을 로딩하기 위한 압입-로딩 작업을 갖는다.1B shows four consumables 2-A to 2-D each inserted into loading
또한, 마지막 소모품(2-D)이 로딩 포트(131)로부터 압입되는 경우, 제1 소모품(2-A)은 언로딩 포트(132)의 밖으로 압입된다(언로딩 포트(132)가 존재하는 실시형태에서).In addition, when the last consumable 2-D is pushed in from the
소모품(2)이 로딩 포트(131) 또는 언로딩 포트(132)를 통해 로딩 채널(13) 내로 압입될 수 있도록, 로딩 포트(131) 및 언로딩 포트(132)는 유사하다. 예를 들어, 이에 따라, 에어로졸 발생 장치(1)의 왼손잡이용 및 오른손잡이용 작업을 모두 지원하도록 도울 수 있다. 그러나, 로딩 채널(13)의 어느 단부가 로딩 포트(131)인지에 관한 혼동을 방지하기 위해, 언로딩 포트(132)는, 소모품(2)을 언로딩 포트(132) 내로 압입하는 것이 가능하지 않도록 대안적으로 구성될 수 있다.The
하우징(11), 에어로졸 발생 챔버(12), 로딩 채널(13), 및 공기 흐름 채널(14)은, 전반적으로 열가소성 수지 또는 금속(예를 들어, 알루미늄)과 같은 임의의 강성 재료로 제조될 수 있다. 장치(1)는, 예를 들어, 열 변형 또는 용융을 방지하기 위해, 폴리에틸렌 테레프탈레이트(PET), 폴리부틸렌 테레프탈레이트(PBT), 또는 폴리아미드(PA)와 같은, 내열성 재료로 실질적으로 제조될 수 있다. 내열성 재료는, 폴리이미드(PI), 폴리페닐렌설파이드(PPS), 또는 폴리에테르 에테르 케톤(PEEK)과 같은, 슈퍼 엔지니어링 플라스틱일 수 있다.
도 1b의 실시형태에서, 에어로졸 발생 장치(1)는, 에어로졸 발생 챔버(12) 내에 소모품(2)이 수용된 경우, 로딩 채널(13)을 따라 공기 흐름을 억제하도록 배치된 밀봉 부재(133)를 더 포함한다. 구체적으로, 도 1b에 도시된 바와 같이, 밀봉 부재(133)는 로딩 채널(13)의 표면으로부터의 돌출부의 형태를 취한다. 소모품(2)이 가열 챔버(12) 내에 배치된 경우(도 1b에서, 소모품(2-C)이 가열 챔버(12) 내에 배치됨), 밀봉 부재(133)는, 로딩 채널(13)의 벽과 소모품(2)의 표면 사이의 갭에 걸쳐서 연장된다. 로딩 포트(131) 및 언로딩 포트(132) 중 어느 하나와 에어로졸 발생 챔버(12) 사이의 공기 흐름을 억제하기 위해, 에어로졸 발생 챔버(12)의 양측에서 로딩 채널(13) 내에 하나의 밀봉 부재(133)가 배치된다. 다른 실시형태에서, 2개의 밀봉 부재(133) 중 어느 하나는 생략될 수 있다.In the embodiment of FIG. 1B , the aerosol-generating
밀봉 부재(133)는, 로딩 채널의 나머지 부분과 상이한 재료로 제조될 수 있다. 예를 들어, 소모품(2)이 로딩 채널(13)을 따라 압입되면서 그리고 밀봉 부재(133)에 대한 마모가 감소되면서, 밀봉 부재(133)가 만곡될 수 있도록, 밀봉 부재(133)는 엘라스토머(예를 들어, 고무)와 같은 유연한 재료로 제조될 수 있다. 대안적으로, 밀봉 부재(133)는, 로딩 채널(13) 내의 소모품(2)을 위한 억지 끼워맞춤을 제공하도록 배치된 강성 돌출부일 수 있다.The sealing
도 2a 및 도 2b는 전술한 바와 같은 에어로졸 발생 장치(1)에 사용될 수 있는 기본 유형의 소모품(2)의 개략적인 사시도이다.2a and 2b are schematic perspective views of
도 2a 및 도 2b의 실시예에서, 소모품(2)은, 가열 시에 에어로졸을 방출하는, 단순히 에어로졸 발생 기재의 일부분(21)을 포함한다.In the embodiment of FIGS. 2A and 2B , the consumable 2 simply comprises a
도 2a에서, 일부분(21)은, 길이(L), 폭(W), 및 깊이(D)를 갖는 단순한 입방형이다. 예를 들어, 기재는 약 18 x 12 x 1.2 mm일 수 있다.In FIG. 2A ,
기재는, 예를 들어, 니코틴 또는 담배 및 에어로졸 형성제를 포함할 수 있다. 담배는, 썰은 담배, 과립형 담배, 담배 잎, 및/또는 재생 담배와 같은, 다양한 재료의 형태를 취할 수 있다. 적합한 에어로졸 형성제는, 폴리올, 예를 들어 소르비톨, 글리세롤, 및 프로필렌 글리콜 또는 트리에틸렌 글리콜과 같은 글리콜; 비-폴리올, 예를 들어 일가 알코올, 산, 예를 들어 젖산, 글리세롤 유도체, 에스테르, 예를 들어 트리아세틴, 트리에틸렌 글리콜 디아세테이트, 트리에틸 시트레이트, 글리세린 또는 식물성 글리세린을 포함한다. 일부 실시형태에서, 에어로졸 발생 작용제는, 글리세롤, 프로필렌 글리콜, 또는 글리세롤 및 프로필렌 글리콜의 혼합물일 수 있다. 기재는, 겔화제, 결합제, 안정화제, 및 습윤제 중 적어도 하나를 더 포함할 수 있다.The substrate may include, for example, nicotine or tobacco and an aerosol former. Tobacco can take the form of a variety of materials, such as shredded tobacco, granulated tobacco, tobacco leaves, and/or reconstituted tobacco. Suitable aerosol formers include polyols such as sorbitol, glycerol, and glycols such as propylene glycol or triethylene glycol; non-polyols such as monohydric alcohols, acids such as lactic acid, glycerol derivatives, esters such as triacetin, triethylene glycol diacetate, triethyl citrate, glycerin or vegetable glycerin. In some embodiments, the aerosol-generating agent may be glycerol, propylene glycol, or a mixture of glycerol and propylene glycol. The substrate may further include at least one of a gelling agent, a binder, a stabilizer, and a wetting agent.
공기가 기재를 통하여 유동할 수 있고, 그렇게 함에 따라 에어로졸을 수집할 수 있도록, 기재는 다공성이다. 기재는, 예를 들어 폼(foam), 또는 압축된 가닥 또는 섬유일 수 있다. 기재는 압출 및/또는 압연 공정을 통해 안정된 형상으로 형성될 수 있다.The substrate is porous so that air can flow through the substrate and in doing so collect the aerosol. The substrate may be, for example, foam, or compressed strands or fibers. The substrate may be formed into a stable shape through an extrusion and/or rolling process.
도 2b에 도시된 바와 같이, 에어로졸 발생 기재의 일부분(21)은, 다공성인 것과 더불어, 하나 이상의 돌출부 및 리세스(recess)를 갖도록 성형될 수 있다. 로딩 채널(13) 내의 소모품(2)의 접지력을 증가시키고, 소모품이 로딩 채널(13)을 따라 압입됨에 따라 오정렬되거나 고착될 가능성을 감소시키기 위해, 로딩 채널(13)은 유사하게 돌출부 및 리세스를 갖도록 적응될 수 있다.As shown in FIG. 2B ,
각각의 도 2a 및 도 2b에서, 일부분(21)은 에어로졸 발생 기재가 노출되는 노출된 외부 표면을 갖는다. 대안적으로, 일부분(21)은, 에어로졸 발생 기재의 표면의 적어도 일부를 커버하는 통기성 포장지를 포함할 수 있다. 포장지는, 예를 들어, 종이 및/또는 부직포를 포함할 수 있다.In each of FIGS. 2A and 2B ,
도 2a 및 도 2b의 예시적인 소모품(2)은 제조하기에 간단하지만, 소모품이 로딩 채널(13) 내에 고착될 가능성을 감소시키기 위해 그리고 장치(1)를 세척하는 것이 더 용이하도록 하기 위해, 보강된 소모품을 사용하는 것이 바람직하다. 도 3a 내지 도 6b는 에어로졸 발생 기재의 일부분(21)을 수용하도록 구성된 지지 프레임(22)을 갖는 소모품(2)의 상이한 실시예를 도시한다. 일부분(21)이 로딩/언로딩 작업 동안 스스로를 지탱하기에 충분히 강성인 경우, 지지 프레임은 (도 2a 및 도 2b에서와 같이) 생략될 수 있다.The
도 3a 및 도 3b의 예시적인 소모품(2)을 먼저 참조하면, 도 3a는 개략적인 사시도이고, 도 3b는 도 3a에 도시된 상부 표면(222)의 도면이다. 도 3a 및 도 3b에 도시된 바와 같이, 지지 프레임(22)은, 에어로졸 발생 기재의 일부분(21)을 수용하기 위한 리세스를 포함하는 입방형 구조물일 수 있다.Referring first to the
지지 프레임(22)은, 로딩 축을 따라, 즉 소모품(2)이 로딩 채널(13)을 따라 이동하도록 구성되는 방향을 따라, 실질적으로 강성 또는 탄성이다. 도 3a 및 도 3b에 도시된 바와 같이, 지지 프레임(22)은, 로딩 채널(13)을 따라 인접한 소모품(2)을 압입하도록 구성된 단부(23)를 포함한다. 이러한 지지 프레임(22)을 제공함으로써, 에어로졸 기재(변형되거나 구겨지는 경향이 있는 보다 연성 재료일 수 있음)는, 로딩 채널(13)을 따라 소모품(2)을 압입하기 위한 압입력을 직접 받지 않는다.The
지지 프레임(22)은, 열가소성 수지 또는 금속과 같이, 에어로졸 발생 장치(1)의 구조적 특징부(하우징(11), 에어로졸 발생 챔버(12) 등)를 위해 사용된 것과 유사한 재료로 제조될 수 있다. 예를 들어, 지지 프레임(22)은 실질적으로 중공일 수 있으며, 시트 재료를 만곡함으로써 형성될 수 있다.
도 3a에 추가적으로 나타낸 바와 같이, 지지 프레임(22)의 표면(221)은, 에어로졸 기재의 일부분(21)을 가열하기 위해, 에어로졸 발생 장치(1)의 발열체(121)가 에어로졸 기재의 일부분(21)과 직접 접촉될 수 있도록 하기 위한 갭을 포함할 수 있다. 도 3a에 도시된 실시예에서, 표면(221)은, 상부 표면(222)에 대향하는 지지 프레임(22)의 하부 표면이다.As further shown in FIG. 3A , the
도 3a 및 도 3b에 추가로 도시된 바와 같이, 지지 프레임(22)은, 발생된 에어로졸을 추출하기 위해, 공기가 에어로졸 기재의 일부분(21)을 통하여 유동할 수 있게 하도록 구성되는, 공기 흡입구(24) 및 공기 배출구(25)를 포함할 수 있다. 도 3a 및 도 3b에 도시된 실시예에서, 공기 흡입구(24) 및 공기 배출구(25)는, 지지 프레임(22)의 대향 측벽에 위치된다. 공기 흡입구(24) 및 공기 배출구(25)의 크기는, 바람직하게는 에어로졸 기재의 일부분(21)의 크기까지 가능한 한 크지만, 일부분(21)이 지지 프레임(22)의 밖으로 이동할 수 없도록, 흡입구 및 배출구가 약간 더 작을 수 있다. 일부 실시형태에서, 공기 흡입구(24)는 생략될 수 있으며, 공기는 소모품(2)을 통하는 것이 아니라 소모품을 지나서 유동하도록 지향될 수 있고, 소모품(2)은 에어로졸 기재의 일부분(21)으로부터 에어로졸을 추출하기 위해 확산에 의존할 수 있다.As further shown in FIGS. 3A and 3B , the
도 4a 및 도 4b는 지지 프레임(22)을 포함하는 소모품(2)의 제2 실시예를 개략적으로 도시한다. 제2 실시예는, 아래에 달리 설명되는 것을 제외하고는, 제1 실시예와 동일할 수 있다.4a and 4b schematically show a second embodiment of a consumable 2 comprising a
제1 실시예와의 주요한 차이점은, 소모품에 하나 이상의 밀봉 요소(26)를 포함한다는 점이다. 이들은 에어로졸 발생 장치(1)의 밀봉 요소(133)에 추가적으로 또는 대안적으로 제공될 수 있으며, 소모품(2)이 에어로졸 발생 챔버(12) 내에 배치된 경우, 로딩 채널(13)을 밀봉하도록 밀봉 요소(26)가 소모품(2)의 표면으로부터 돌출된다는 점을 제외하고는, 전술한 밀봉 요소(133)와 유사한 구조를 갖는다. 도 4b에 도시된 바와 같이, (밀봉 요소(133)와 마찬가지로) 에어로졸 발생 챔버(12)의 양측에서 로딩 채널(13)을 밀봉하기 위한 다수의 밀봉 요소(26)를 선택적으로 제공하는 것과 더불어, 지지 프레임(22)의 다수의 표면 상에도 밀봉 요소(26)가 제공될 수 있다. 도 4b에 도시된 실시예에서, 소모품(2)의 각각의 상부면 및 하부면 상에서, 에어로졸 기재의 일부분(21)의 양측에 2개의 밀봉 요소(26)가 배치된다.The main difference from the first embodiment is the inclusion of one or
추가적으로, 그리고 밀봉 요소(26)와는 별도로, 도 4a는 에어로졸 기재의 일부분(21)과 지지 프레임(22)의 단부(23) 사이에, 지지 프레임(22) 내의 중공 버퍼 영역의 선택적인 특징부를 도시한다. 도 4a의 도시된 실시형태에서는, 상부 표면(222)은 생략된다. 이러한 공간은, 소모품(2)의 압입-로딩으로 인한 임의의 구김으로부터 일부분(21)을 추가로 보호한다.Additionally, and apart from the sealing
도 5a 내지 도 5c는 소모품(2)의 추가적인 선택적인 구조적 특징부의 개략적인 사시도 및 단면도이다.5A-5C are schematic perspective and cross-sectional views of additional optional structural features of
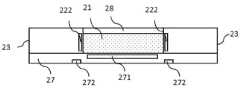
각각의 도 5a 내지 도 5c에서, 소모품(2)은 베이스(27)를 포함한다. 베이스(27)는 지지 프레임(22)의 더 두꺼운 부분일 수 있으며, 지지 프레임(22)의 강도를 증가시키거나, 사용자가 에어로졸 발생 장치(1) 내에 삽입하기 위해 소모품(2)을 지향시키는 것을 단순히 보조하도록 구성될 수 있다.In each of FIGS. 5A to 5C , the
추가적으로, 각각의 도 5a 내지 도 5c에서, 소모품(2)은, 에어로졸 발생 기재의 일부분에 액세스하고 에어로졸 발생 기재의 일부분을 커버하기 위한 덮개(28)를 포함한다. 덮개(28)는 지지 프레임(22)과 완전히 분리 가능할 수 있거나, 예를 들어 힌지를 통해, 이동 가능하게 부착될 수 있다.Additionally, in each of FIGS. 5A-5C , consumable 2 includes a
도 3a 내지 도 6b의 각각의 실시예에서, 에어로졸 기재의 일부분(21)은 소모품(2)이 사용된 후에 교체될 수 있는 반면에, 지지 프레임(22)은 재사용될 수 있다. 덮개(28)는, 에어로졸 기재가 소모품(2)의 밖으로 이동하지 않고 로딩 채널(13) 또는 에어로졸 발생 챔버(12) 내에 남아 있으면서, 에어로졸 기재의 일부분(21)의 그러한 교체를 여전히 가능하게 하도록 보장하는 이점이 있다.In each embodiment of FIGS. 3A-6B , the
구체적으로 도 5b를 참조하면, 본 실시예의 소모품(2)은 발열체의 대안적인 구성을 갖는다. 구체적으로, 베이스(27)는 발열체(271)를 포함하며, 지지 프레임(22)의 버퍼 영역도 발열체(222)를 각각 포함한다. 소모품(2) 상에 장착된 이러한 발열체의 임의의 조합은, 에어로졸 발생 장치(1)의 발열체(121)에 추가적으로 또는 대안적으로 사용될 수 있다.Specifically, referring to FIG. 5B , the
또한, 소모품(2) 상에 장착된 발열체에 전력을 공급하기 위해, 소모품(2)은 전기 접점(272)을 포함할 수 있다. 유사하게, 로딩 채널(13)은, 전기 접점(272)에 전력을 공급하기 위해, 구체적으로 에어로졸 발생 챔버(12) 내에 위치된 전기 접점 또는 전기 레일을 포함할 수 있다.In addition, in order to supply power to a heating element mounted on the consumable 2 , the consumable 2 may include an
또한, 추가적으로 또는 대안적으로, 도 5c를 참조하면, 베이스(27)는, 에어로졸 발생 장치(1)의 발열체(121)로부터 에어로졸 발생 기재로 열을 전도하도록 구성된 열전도성 플레이트(273)를 포함할 수 있다. 열전도성 플레이트(273)는, 예를 들어, 지지 프레임(22)의 얇은 부분일 수 있거나, 지지 프레임(22)의 나머지 부분과 상이한 재료를 포함하는 부분일 수 있다. 대안적으로, 전체 베이스(27) 또는 전체 지지 프레임(22)이 열전도성일 수 있다. 도 5c의 이러한 실시예는, 소모품(2)이 외부 발열체(121)와 직접 접촉될 필요 없이, 또는 소모품(2) 내에 발열체(271 또는 222)를 필요로 함이 없이, 외부 발열체(121)로부터 소모품(2) 내의 에어로졸 기재의 일부분(21)으로의 열전도가 개선됨을 의미한다. 일부분(21)과 외부 발열체(121) 간의 직접 접촉을 방지함으로써, 에어로졸 기재가 에어로졸 발생으로 인한 잔류물을 남길 가능성이 적다.Also, additionally or alternatively, referring to FIG. 5C , the
도 6a 및 도 6b는 로딩 채널(13)의 내부 표면을 닦기 위한 세척 부재(29)를 갖는 소모품(2)의 개략도 및 단면도이다. 세척 부재(29)는, 소모품(2)이 로딩 채널(13)을 따라 이동함에 따라, 에어로졸 기재에 의해 남겨지는 임의의 잔류물을 제거할 수 있다. 세척 부재(29)는, 밀봉 요소(26)와 유사하게, 소모품(2)의 외부 표면 상에 배치되며, 에어로졸 기재로부터 생성되어 로딩 채널(13)의 표면 상에 증착되는 임의의 잔류물을 벗겨내거나 흡수하기 위해, 소모품(2)이 로딩 채널을 따라 이동함에 따라, 로딩 채널(13)의 표면을 따라 슬라이딩되도록 구성된다. 세척 부재(29)는, 예를 들어, 에어로졸을 발생시키기 위해 에어로졸 발생 챔버(12) 내에서 사용되는 온도를 견딜 수 있는 내열성 직물을 포함할 수 있다.6a and 6b are schematic and sectional views of the consumable 2 having a cleaning
소모품(2)은 다수의 세척 부재(29)를 가질 수 있다. 도 6a에 도시된 바와 같이, 예를 들어, 소모품(2)이 로딩 채널(13) 내에 있는 경우, 하나의 세척 부재(29)가 로딩 방향을 따라 에어로졸 기재의 일부분(21)의 전방에 있도록, 그리고 하나의 세척 부재(29)가 로딩 방향을 따라 에어로졸 기재의 일부분(21)의 후방에 있도록, 이들이 배치될 수 있다. 추가적으로 또는 대안적으로, 도 6b에 도시된 바와 같이, 다수의 세척 부재(29)는, 로딩 채널(13)의 상이한 표면을 세척하도록 배치될 수 있다.The consumable 2 may have a plurality of cleaning
도 3a 내지 도 6b를 참조하여 전술한 특징 중 어느 하나는, 전술한 바와 같은 이들의 상이한 기능을 제공하기 위해 함께 조합될 수 있다.Any of the features described above with reference to FIGS. 3A-6B can be combined together to provide their different functions as described above.
도 7은 전술한 소모품 중 어느 하나와 함께 사용될 수 있는 에어로졸 발생 장치(1)의 제2 실시예를 개략적으로 도시한다. 에어로졸 발생 장치(1)의 제2 실시예는, 도 1a 및 도 1b의 제1 실시예와 공통적인 다수의 특징부를 가지며, 유사한 도면 참조 번호는 유사한 특징부를 나타낸다.Figure 7 schematically shows a second embodiment of an aerosol-generating
에어로졸 발생 장치(1)의 제2 실시예는, 로딩 채널(13)이 하우징(11)의 신장 축을 따라 배치되며, 하우징(11)이 일 단부에 마우스피스(15)를 갖는 신장형 본체를 형성한다는 점에서, 주로 제1 실시예와 상이하다.A second embodiment of the aerosol-generating
신장형 본체는, 에어로졸 발생 장치(1)에 사용되어 손으로 이들을 파지하는 것을 더 용이하게 하는 것으로 알려져 있다. 에어로졸 발생 장치(1)의 신장 방향에 평행하게 로딩 채널(13)을 정렬함으로써, 이러한 구성은 소모품(2)을 수용하기 위해 이용 가능한 로딩 채널(13)의 길이가 증가됨을 의미한다.Elongated bodies are known to be used in aerosol-generating
추가적으로, 로딩 채널(13)이 하우징(11)의 신장 축을 따라 연장됨으로써, 사용자는 마우스피스(15)에 대향하는 하우징(11)의 단부에 있거나 마우스피스(15)에 인접하는 로딩 채널(13) 내로 소모품(2)을 압입할 수 있다. 이러한 로딩 포트 구성 중 어느 하나는, 사용자가 에어로졸 발생 장치(1)를 편리하게 직관적으로 파지하도록 신장 축을 중심으로 한 손을 뻗으면서 작동될 수 있다.Additionally, the
도 7의 제2 실시예에 도시된 추가적인 선택적인 특징은, 에어로졸 발생 챔버(12)의 밖으로 압입된 소모품(2)이 에어로졸 발생 장치(1)의 밖으로 즉시 압입되지 않도록, 에어로졸 발생 챔버(12) 및 로딩 채널(13)이 배치된다는 점이다. 이에 따라, 소모품(2)은, 사용자가 잠재적으로 이를 만지기 전에, 에어로졸 발생 챔버(12) 내에서 사용된 후에 냉각될 시간을 갖는다는 이점이 있다.A further optional feature shown in the second embodiment of FIG. 7 is that the consumable 2 pushed out of the aerosol-generating
추가적으로, 도 7의 제2 실시예에서, 로딩 채널(13)과 부분적으로 평행하지만, 로딩 채널(13)을 통하여 공기 흐름을 지향시키기 위한 만곡부를 또한 가짐으로써, 도 3b에 도시된 화살표와 유사한 방식으로 공기가 소모품(2)을 통하여 유동할 수 있도록 하는, 예시적인 공기 흐름 채널(14)이 도시된다.Additionally, in the second embodiment of FIG. 7 , partially parallel to the
도 8은 전술한 소모품 중 어느 하나와 함께 사용될 수 있는 에어로졸 발생 장치(1)의 제3 실시예를 개략적으로 도시한다. 에어로졸 발생 장치(1)의 제3 실시예는, 도 1a 및 도 1b의 제1 실시예와 공통적인 다수의 특징부를 가지며, 유사한 도면 참조 번호는 유사한 특징부를 나타낸다.8 schematically shows a third embodiment of an aerosol-generating
에어로졸 발생 장치(1)의 제3 실시예는, 로딩 포트(131)가 언로딩 포트로도 사용된다는 점에서 주로 제1 실시예와 상이하다. 이러한 구성을 통해, 사용자는 복수의 소모품(2)을 한 번에 하나씩 압입-로딩할 수 있으며, 각각의 에어로졸 발생 세션 동안 각각의 소모품(2)을 사용할 수 있다. 그러나, 에어로졸 발생 장치(1)는 매번 에어로졸 발생 세션 후에 비워질 필요가 없으며, 그 대신에, 로딩 채널(13)이 가득 찰 때까지, 추가적인 소모품(2)이 추가될 수 있다.The third embodiment of the aerosol-generating
에어로졸 발생 장치(1)는, 로딩 채널(13) 내에 복수의 소모품을 압입하기 위한 구동기(134)를 더 포함할 수 있다.The
제3 실시예에서, 구동기(134)는, 로딩 채널을 비우기 위해, 소모품(2-A, 2-B, 2-C)을 로딩 채널(13)의 밖으로 다시 압입하도록 구성된다. 구동기(134)는, 사용자가 버튼을 사용함으로써 제어되거나, 제어 회로에 의해 자동으로 제어되는, 전자 작동기일 수 있다. 대안적으로, 구동기(134)는, 로딩 채널(13)이 가득 찰 때까지 압입되는 경우 수축되고, 로딩 채널이 가득 차 있는 동안 압입되는 경우 완전히 연장되도록 구성된 텔레스코픽 요소(telescopic element)와 같은, 전적으로 기계식 시스템일 수 있다.In the third embodiment, the
구동기(134)는, 에어로졸 발생 챔버 내에 수용된 현재 소모품(2)에 대해 에어로졸 발생 세션이 완료된 후에, 에어로졸 발생 챔버(12) 내로 다음 소모품을 이동시키도록 추가적으로 또는 대안적으로 구성될 수 있다.The
제1 실시예 또는 제2 실시예에 따른 에어로졸 발생 장치(1)는, 로딩 포트(131) 또는 언로딩 포트(132)를 통하여 로딩 채널을 비우기 위해, 또는 다음 소모품(2)을 에어로졸 발생 챔버(12) 내로 이동시키기 위해, 구동기(134)를 유사하게 포함할 수 있다.The
| Application Number | Priority Date | Filing Date | Title |
|---|---|---|---|
| EP20177439.5 | 2020-05-29 | ||
| EP20177439 | 2020-05-29 | ||
| PCT/EP2021/064366WO2021239957A1 (en) | 2020-05-29 | 2021-05-28 | Aerosol generation system, device |
| Publication Number | Publication Date |
|---|---|
| KR20230018405Atrue KR20230018405A (en) | 2023-02-07 |
| Application Number | Title | Priority Date | Filing Date |
|---|---|---|---|
| KR1020227044768APendingKR20230018405A (en) | 2020-05-29 | 2021-05-28 | Aerosol Generating Systems, Devices |
| Country | Link |
|---|---|
| US (1) | US20230240361A1 (en) |
| EP (1) | EP4156989A1 (en) |
| JP (1) | JP7675746B2 (en) |
| KR (1) | KR20230018405A (en) |
| WO (1) | WO2021239957A1 (en) |
| Publication number | Priority date | Publication date | Assignee | Title |
|---|---|---|---|---|
| WO2024246058A1 (en)* | 2023-06-01 | 2024-12-05 | Jt International Sa | An aerosol generation device |
| Publication number | Priority date | Publication date | Assignee | Title |
|---|---|---|---|---|
| DE19854012C2 (en)* | 1998-11-12 | 2001-05-10 | Reemtsma H F & Ph | Inhalable aerosol delivery system |
| US20100181387A1 (en)* | 2009-12-01 | 2010-07-22 | Zaffaroni Alejandro C | Aerosol delivery system and uses thereof |
| US8910630B2 (en)* | 2010-06-28 | 2014-12-16 | Palliatech, Inc. | Cannabis drug delivery and monitoring system |
| CN106659858B (en)* | 2014-06-30 | 2020-11-24 | Syqe医药有限公司 | Medication dose box for inhaler device |
| US10179215B2 (en)* | 2015-03-19 | 2019-01-15 | Altria Client Services Llc | Vaporizer for vaporizing a constituent of a plant material |
| US9498002B1 (en)* | 2015-09-18 | 2016-11-22 | Revolver Pen, Llc | Multi-chamber vaporizer |
| US10368581B2 (en)* | 2016-03-11 | 2019-08-06 | Altria Client Services Llc | Multiple dispersion generator e-vaping device |
| CN106108112B (en)* | 2016-06-15 | 2019-02-19 | 湖南中烟工业有限责任公司 | A cigarette magazine, a low-temperature smoking device atomizer and a low-temperature smoking device |
| EP3512369B1 (en)* | 2016-09-14 | 2024-03-27 | Altria Client Services LLC | Smoking device |
| KR102692378B1 (en)* | 2017-12-22 | 2024-08-07 | 필립모리스 프로덕츠 에스.에이. | Aerosol-generating device with removably insertable residue collector |
| CN109497621B (en)* | 2018-12-10 | 2023-07-18 | 云南中烟工业有限责任公司 | A smoking appliance capable of automatically ejecting cigarettes and heating automatically and its use method |
| Publication number | Publication date |
|---|---|
| US20230240361A1 (en) | 2023-08-03 |
| WO2021239957A1 (en) | 2021-12-02 |
| EP4156989A1 (en) | 2023-04-05 |
| JP2023527203A (en) | 2023-06-27 |
| JP7675746B2 (en) | 2025-05-13 |
| Publication | Publication Date | Title |
|---|---|---|
| KR102827642B1 (en) | Cartridge for aerosol generating device | |
| US20230240362A1 (en) | Aerosol Generation Device | |
| KR102255263B1 (en) | Devices for heating smokeable substances | |
| EP2921066A1 (en) | Heating element module for an aerosol-generating device | |
| US20240016208A1 (en) | Aerosol Generation Device | |
| KR20230018405A (en) | Aerosol Generating Systems, Devices | |
| EP4225081B1 (en) | Aerosol generation device | |
| EP4152981B1 (en) | Aerosol generating device | |
| JP2023525229A (en) | aerosol generator | |
| US20230363447A1 (en) | Aerosol generation device with ejection mechanism | |
| KR20240006540A (en) | Aerosol generating device comprising a pushing bar | |
| KR20230080420A (en) | Aerosol generating device with leveraged ejection mechanism | |
| EP3981268B1 (en) | Aerosol generation device | |
| KR20230079391A (en) | Aerosol generating device with sleeve cover | |
| EP3711512A1 (en) | Smoking substitute device with shroud | |
| WO2025109105A1 (en) | Heating assembly for an aerosol generating device and corresponding aerosol generating device | |
| WO2025003301A1 (en) | Aerosol generating device comprising a heating cup | |
| KR20250016207A (en) | Tobacco articles comprising a viscous vaporizable material, and related aerosol-generating devices and methods of assembly | |
| WO2024235856A1 (en) | A cleaning tool for cleaning an aerosol generating device and an aerosol generating system comprising a cleaning tool | |
| WO2025073847A1 (en) | Heating oven for an aerosol generating device configured for operating a consumable article |
| Date | Code | Title | Description |
|---|---|---|---|
| PA0105 | International application | St.27 status event code:A-0-1-A10-A15-nap-PA0105 | |
| PG1501 | Laying open of application | St.27 status event code:A-1-1-Q10-Q12-nap-PG1501 | |
| PA0201 | Request for examination | St.27 status event code:A-1-2-D10-D11-exm-PA0201 | |
| D13-X000 | Search requested | St.27 status event code:A-1-2-D10-D13-srh-X000 | |
| PE0902 | Notice of grounds for rejection | St.27 status event code:A-1-2-D10-D21-exm-PE0902 |