















본 발명은 탈부착 가능한 플로팅 시스템을 구비한 드론과 드론의 플로팅 시스템을 이용하여 해양 영역에서 드론의 유실을 방지하는 방법에 관한 것이다.The present invention relates to a drone having a detachable floating system and a method for preventing loss of a drone in a marine area using the floating system of the drone.
드론은 군사용으로 주로 활용되어 왔다. 근래 들어, 드론은, 간편성, 신속성, 경제성 등 여러 이점 때문에, 군사용 외에도, 물류 배송, 재난 구조, 방송 레저 등과 같은 다양한 분야에서 활용되고 있다. 드론은, 여러 많은 장점들을 가지고 있지만, 바람 등 외부 환경의 변화와 운전 조작의 미숙으로 인해 추락의 우려가 높은 것 또한 현실이다. 드론 및 그에 속한 여러 부품들이 워낙 고가이므로, 드론에 따른 파손으로 인한 경제적 피해는 심각할 수밖에 없다. 게다가, 드론이 추락하는 경우, 드론 자체의 파손으로 인한 엄청난 경제적 피해뿐만 아니라, 대인 및 대물에 대한 2차 피해의 위험성 또한 심각하다. 특히 기체 중량이 12㎏ 이상의 드론이 군중 속으로 추락한다면 큰 인명사고로 이어질 수가 있다. 또 위험시설이나 고속도로 등에서 추락 사고가 발생하면 대형사고까지 일어날 가능성도 높아 사용상 주의가 반드시 요망된다. 이러한 문제의 발생 원인으로는 드론의 자체적인 기능상의 문제점뿐만 아니라 드론 사용에 대한 안전 수칙 준수, 안전관리나 안전의식이 제대로 안 되고 있다는 점도 한 몫 한다. 최근에는 이러한 문제점을 해결하기 위하여 드론에 다양한 기술이 적용되고 있다. 대표적으로, 드론이 추락 시 안전 착륙을 위하여 드론에 낙하산 장치를 마련하는 기술에 관한 것이고, 대한민국등록특허공보 제10-1496892호, 대한민국공개특허 제10-2014-0038495호, 대한민국등록특허공보 제10-2003727호에서 소개되고 있다.Drones have been mainly used for military purposes. In recent years, drones have been used in various fields such as logistics delivery, disaster relief, broadcasting leisure, and the like, in addition to military use, due to various advantages such as simplicity, speed, and economy. Although drones have many advantages, it is also a reality that there is a high risk of falling due to changes in the external environment such as wind and inexperience in driving operation. Since drones and various parts belonging to them are very expensive, economic damage due to damage caused by drones is inevitably serious. In addition, when a drone crashes, the risk of secondary damage to persons and objects as well as enormous economic damage due to damage to the drone itself is serious. In particular, if a drone weighing more than 12 kg crashes into a crowd, it can lead to a serious human accident. In addition, if a fall accident occurs at a dangerous facility or highway, there is a high possibility of a major accident, so care must be taken when using it. The cause of these problems is not only functional problems of drones themselves, but also the lack of compliance with safety rules, safety management, and safety awareness for drone use. Recently, various technologies have been applied to drones to solve these problems. Representatively, it relates to a technology for providing a parachute device to a drone for safe landing in case of a drone crash, Korean Registered Patent Publication No. 10-1496892, Korean Patent Publication No. 10-2014-0038495, Korean Registered Patent Publication No. 10 It is introduced in issue -2003727.
아울러, 전술한 문제점과 더불어 최근 크게 대두되고 있는 것은 드론의 유실이다. 드론 기술의 고도화에 따른 가격 상승과 드론에 탑재되는 각종 부가 장비들의 고비용을 고려했을 때, 드론이 유실되는 경우 큰 경제적 손실을 초래한다. 특히, 재난 구조와 같은 환경에서는 악천후, 악조건 하에서 드론이 비행을 하는 경우가 많고, 상대적으로 드론의 추락 발생 가능성이 높다. 육지 상에서 드론이 추락하는 경우 파손된 드론을 수리하는 등의 사후적인 조치를 취할 수 있으나 해양 영역에서의 드론이 추락하는 경우 드론이 수중으로 완전히 유실되므로 사후적인 조치가 불가능하다. 전술한 바와 같이 드론에 낙하산 장치를 마련하여 드론의 유실을 방지하는 것을 고려할 수 있으나, 해수면 상에서의 낙하산에 덮혀 있는 드론과 일반 부유물 간의 차이를 분간하기 어렵고, 수중에 잠긴 드론의 통신 장애로 인하여 드론이 유실된 영역으로 추정된 전체 영역을 모두 수색해야 하는 점, 드론의 무게로 인하여 시간이 흐름에 따라 낙하산과 함께 수중으로 가라 앉게 되는 점 그리고 장시간의 침수로 인하여 수리 등으로 손상된 드론의 기능을 복구하는 것이 어려운 점 등을 고려하여 종래의 기술은 여전히 많은 한계점을 보이고 있어 새로운 기술이 요구되고 있다.In addition, along with the above-mentioned problems, a loss of drones has recently emerged significantly. Considering the price increase due to the advancement of drone technology and the high cost of various additional equipment mounted on drones, loss of drones causes great economic losses. In particular, in an environment such as disaster relief, there are many cases where drones fly under bad weather and bad conditions, and the possibility of a drone crash is relatively high. In the case of a drone crash on land, follow-up measures such as repairing the damaged drone can be taken, but in the case of a drone crash in the sea, the drone is completely lost underwater, so follow-up measures are impossible. As described above, it is possible to consider preventing the loss of the drone by providing a parachute device on the drone, but it is difficult to distinguish the difference between the drone covered by the parachute on the sea level and a general floating object, and due to communication failure of the drone submerged in the water, the drone The fact that the entire area estimated as this lost area must be searched, the fact that the drone sinks into the water with the parachute over time due to the weight of the drone, and the function of the drone damaged by repair due to prolonged submersion is restored. Considering the difficulty of doing this, the conventional technology still has many limitations, so a new technology is required.
실시에는, 드론에 설치되어 상기 드론의 추락이 감지되면 구동하여 부유력을 제공함으로써 상기 드론이 수면 상에서 부유하도록 하는 플로팅 시스템을 제공할 수 있다.In practice, it is possible to provide a floating system that is installed on a drone and operates when a fall of the drone is detected to provide floating force so that the drone floats on the surface of the water.
다른 측면에서, 튜브와 상기 튜브에 가스를 주입하는 가스제공부를 포함하고, 상기 튜브는 주입된 상기 가스에 의해 팽창하여 상기 드론이 수면 상에서 부유하도록 하는 플로팅 시스템을 제공할 수 있다.In another aspect, a floating system including a tube and a gas supply unit injecting gas into the tube, and the tube expands by the injected gas so that the drone floats on the water surface may be provided.
다른 측면에서, 상기 플로팅 시스템은 추락하는 드론의 고도가 기 설정 고도가 되어 부유력을 제공하는 자동 제어 모드 또는 외부의 단말기의 제어 명령 신호에 기초하여 부유력을 제공하는 수동 제어 모드 중 어느 하나에 따라 상기 드론을 수면상에서 부유시키는 플로팅 시스템을 제공할 수 있다.In another aspect, the floating system is in either an automatic control mode in which the altitude of the falling drone becomes a preset altitude to provide buoyancy or a manual control mode in which buoyancy is provided based on a control command signal from an external terminal. Accordingly, a floating system for floating the drone on the surface of the water may be provided.
다른 측면에서, 상기 드론과 탈부착 가능하게 구성되고, 상기 드론의 하측에 탈부착되는 플로팅 시스템을 제공할 수 있다.In another aspect, a floating system configured to be detachable from the drone and detachably attached to the lower side of the drone may be provided.
또 다른 측면에서, 드론의 하측에 탈부착 가능한 형태로 설치된 플로팅 시스템; 및 상기 드론에 설치되어 상기 드론의 비행의 추진력을 제공하는 프로펠러;를 포함하고, 상기 플로팅 시스템은, 상기 드론의 추락이 감지되면 구동하여 상기 드론이 수면 상에서 부유하도록 부유력을 제공하고, 상기 드론이 상기 수면 상에서 부유하면서 상기 드론을 이동시키기 위하여 상기 프로펠러가 회전하는 드론을 제공할 수 있다.In another aspect, a floating system installed in a detachable form on the lower side of the drone; and a propeller installed on the drone to provide propulsion for flight of the drone, wherein the floating system is driven when a fall of the drone is detected to provide floating force so that the drone floats on the surface of the water, and the drone A drone in which the propeller rotates to move the drone while floating on the surface of the water may be provided.
다른 측면에서, 상기 드론의 기울기가 미리 설정된 범위에 해당하는지 판단하고, 상기 드론의 기울기가 미리 설정된 범위에 해당하여 상기 드론이 균형을 이루는 경우에 상기 프로펠러를 회전시켜 상기 드론을 부유하면서 이동시키는 드론을 제공할 수 있다.In another aspect, a drone that determines whether the inclination of the drone corresponds to a preset range, and moves the drone while floating by rotating the propeller when the inclination of the drone corresponds to the preset range and the drone is balanced. can provide.
다른 측면에서, 상기 드론의 추락이 감지되면 상기 드론의 수면 착지전까지 상기 드론의 기울기 정보를 모니터링 하고, 상기 드론의 기울기 각도가 미리 설정된 기준치 이상이 되면 낙하산을 구동하는 드론을 제공할 수 있다.In another aspect, when the fall of the drone is detected, tilt information of the drone is monitored until the drone lands on the surface of the water, and when the tilt angle of the drone exceeds a predetermined reference value, a drone that drives a parachute may be provided.
다른 측면에서, 드론 상태 정보를 단말기로 송신하는 단계; 상기 드론의 추락이 감지되는지 여부를 모니터링 하는 단계; 상기 드론의 추락이 감지되면 자동 모드를 실행하여 상기 드론에 설치된 튜브를 팽창시키는 단계; 상기 튜브의 팽창 여부를 판단하는 단계; 및 상기 튜브가 팽창되지 않으면, 이에 대한 정보를 상기 단말기로 전송하고, 상기 단말기로부터의 제어 명령 신호에 응답하여 수동 제어 모드를 실행함으로써 상기 튜브를 팽창시켜 상기 드론이 수면 상에서 플로팅되도록 하는 단계;를 포함하는 드론의 플로팅 시스템을 이용하여 해양 영역에서 드론의 유실을 방지하는 방법을 제공할 수 있다.In another aspect, transmitting drone status information to a terminal; monitoring whether a fall of the drone is detected; Inflating a tube installed in the drone by executing an automatic mode when the fall of the drone is detected; determining whether the tube is inflated; and if the tube is not inflated, transmitting information about this to the terminal and inflating the tube by executing a manual control mode in response to a control command signal from the terminal so that the drone floats on the surface of the water. It is possible to provide a method for preventing the loss of a drone in a marine area by using a floating system of a drone.
다른 측면에서, 부유하는 드론의 균형이 유지되는지 여부를 판단하는 단계; 및 상기 부유하는 드론의 균형이 유지되면 자동 회수 모드를 실행하여 상기 드론이 부유하면서 이동하도록 하는 단계;를 더 포함하는 드론의 플로팅 시스템을 이용하여 해양 영역에서 드론의 유실을 방지하는 방법을 제공할 수 있다.In another aspect, determining whether the balance of the floating drone is maintained; and when the balance of the floating drone is maintained, executing an automatic recovery mode so that the drone moves while floating. can
실시예는, 드론이 정상 비행 모드에서는 튜브가 수축된 상태를 유지하면서 비행의 저항력 발생을 최소화하고, 드론이 해양 영역에 추락하는 경우 튜브를 팽창시켜 드론을 부유시킴으로써 해양 영역에서 드론이 유실되는 것을 방지할 수 있다.In the embodiment, the drone maintains a contracted state in the normal flight mode while minimizing the occurrence of flight resistance, and when the drone crashes in the marine area, the tube expands to float the drone, thereby preventing loss of the drone in the marine area. It can be prevented.
또한, 실시예는 튜브의 공기 저항력에 튜브가 일종의 낙하산과 같은 역할을 하게되어 결과적으로 드론이 뒤집혀서 드론이 역방향으로 추락하는 문제를 방지할 수 있다.In addition, in the embodiment, the tube serves as a kind of parachute to the air resistance of the tube, and as a result, it is possible to prevent the drone from falling in the reverse direction due to the drone being overturned.
또한, 실시예는 가스제공부의 오동작 등 다양한 원인에 따라서 튜브가 팽창하지 못하는 문제를 해결할 수 있다.In addition, the embodiment can solve the problem that the tube does not expand according to various causes such as malfunction of the gas supply unit.
또한, 실시예는 추락한 드론이 수면 상에서 부유하면서 이동할 수 있도록 하여 수거를 용이하게 할 수 있다.In addition, the embodiment can facilitate collection by allowing the fallen drone to move while floating on the water surface.
또한, 실시예는 추락한 드론이 부유하면서 이동 시 프로펠러와 물과의 반복된 마찰로 인하여 프로펠러가 손상되는 문제, 물과의 마찰 저항력에 따라서 드론이 순간적으로 뒤집히는 문제를 방지할 수 있다.In addition, the embodiment can prevent the problem of the propeller being damaged due to repeated friction between the propeller and the water when the crashed drone is moving while floating, and the problem of the drone being instantly overturned according to the frictional resistance with the water.
또한, 실시예는 추락한 드론의 프로펠러를 드론이 부유하면서 이동하기 위한 추진력 발생 장치로 활용함으로써 드론이 원하는 목표지점까지 빠르게 이동할 수 있도록 하여 수거를 용이하게 할 수 있다.In addition, the embodiment can facilitate collection by enabling the drone to quickly move to a desired target point by using the propeller of the crashed drone as a propulsion generating device for moving the drone while floating.
또한, 실시예는 드론의 통신 장치의 비정상 작동 등의 원인으로 드론과 컨트롤러의 통신 두절시에도 드론에 탑재된 플로팅 시스템이 정상 구동하여 드론이 수중으로 유실되지 않고 부유할 수 있도록 한다.In addition, in the embodiment, even when communication between the drone and the controller is interrupted due to abnormal operation of the communication device of the drone, the floating system mounted on the drone operates normally so that the drone can float without being lost underwater.
또한, 실시예는 추락하는 드론의 기울기 정보를 모니터링하여 필요에 따라 낙하산 시스템을 동작시킴으로써 드론의 정상적인 위치를 유지시켜 드론의 뒤집히는 등의 비정상적인 위치 상태로 수면에 추락하는 것을 방지하고 튜브의 팽창에 따라 수면 상에 안정적으로 부유할 수 있도록 한다.In addition, the embodiment maintains the normal position of the drone by monitoring the tilt information of the falling drone and operating the parachute system as necessary to prevent the drone from falling to the water surface in an abnormal position such as overturning, and according to the expansion of the tube. It allows it to float stably on the surface of the water.
도 1은 본 발명의 실시예에 따른 드론의 사시도를 나타낸다.
도 2는 도 1의 드론의 주요 구성들 간의 제어관계를 도시한 블록도이다.
도 3은 본 발명의 일 실시예에 따른 드론과 단말기 및 서버간의 제어 관계를 도시한 블록도이다.
도 4 내지 도 7은 다양한 실시예에 따른 플로팅 시스템의 블록도이다. 그리고, 도 8은 가스제공부를 설명하기 위한 가스제공부의 개략도이다. 그리고, 도 9는 예시적인 튜브의 형상을 설명하기 위한 개략도이다.
도 10은 강이 있는 해양 영역에서 드론이 비행하는 것을 나타내는 것이다.
도 11은 드론의 추락(a)과 플로팅 시스템의 구동(b) 및 드론이 부유하면서 이동하는 것(c)을 개략적으로 묘사한 것이다.
도 12는 본 발명의 실시예에 따른 드론의 플로팅 시스템을 이용하여 해양 영역에서 드론의 유실을 방지하는 방법에 대한 흐름도이다.
도 13은 본 발명의 다른 실시예에 따른 드론의 플로팅 시스템을 이용하여 해양 영역에서 드론의 유실을 방지하는 방법에 대한 흐름도이다.
도 14는 드론의 튜브의 일부 영역의 팽창 및 드론이 부유하면서 이동하는 것을 설명하기 위한 개략도이다.
도 15는 단말기와 통신하는 본 발명의 다양한 실시예에 따른 플로팅 시스템을 개략적으로 나타낸 것이다.
도 16은 본 발명의 다른 실시예에 따른 낙하산 시스템을 구비한 드론의 낙하산 구동 프로세스를 설명하기 위한 개략도이다.1 shows a perspective view of a drone according to an embodiment of the present invention.
FIG. 2 is a block diagram illustrating a control relationship between main components of the drone of FIG. 1 .
3 is a block diagram illustrating a control relationship between a drone, a terminal, and a server according to an embodiment of the present invention.
4 to 7 are block diagrams of floating systems according to various embodiments. And, Figure 8 is a schematic diagram of the gas supply unit for explaining the gas supply unit. And, Figure 9 is a schematic diagram for explaining the shape of an exemplary tube.
10 shows a drone flying in an ocean area with a river.
11 schematically depicts a drone falling (a), a floating system driving (b), and a drone moving while floating (c).
12 is a flowchart of a method for preventing loss of a drone in a marine area using a drone floating system according to an embodiment of the present invention.
13 is a flowchart of a method for preventing loss of a drone in a marine area using a drone floating system according to another embodiment of the present invention.
14 is a schematic diagram illustrating expansion of a partial region of a drone tube and movement of a drone while floating.
15 schematically illustrates a floating system communicating with a terminal according to various embodiments of the present invention.
16 is a schematic diagram for explaining a parachute driving process of a drone equipped with a parachute system according to another embodiment of the present invention.
본 발명은 다양한 변환을 가할 수 있고 여러 가지 실시예를 가질 수 있는 바, 특정 실시예들을 도면에 예시하고 상세한 설명에 상세하게 설명하고자 한다. 본 발명의 효과 및 특징, 그리고 그것들을 달성하는 방법은 도면과 함께 상세하게 후술되어 있는 실시예들을 참조하면 명확해질 것이다. 그러나 본 발명은 이하에서 개시되는 실시예들에 한정되는 것이 아니라 다양한 형태로 구현될 수 있다. 이하의 실시예에서, 제1, 제2 등의 용어는 한정적인 의미가 아니라 하나의 구성 요소를 다른 구성 요소와 구별하는 목적으로 사용되었다. 또한, 단수의 표현은 문맥상 명백하게 다르게 뜻하지 않는 한, 복수의 표현을 포함한다. 또한, 포함하다 또는 가지다 등의 용어는 명세서상에 기재된 특징, 또는 구성요소가 존재함을 의미하는 것이고, 하나 이상의 다른 특징들 또는 구성요소가 부가될 가능성을 미리 배제하는 것은 아니다. 또한, 도면에서는 설명의 편의를 위하여 구성 요소들이 그 크기가 과장 또는 축소될 수 있다. 예컨대, 도면에서 나타난 각 구성의 크기 및 두께는 설명의 편의를 위해 임의로 나타내었으므로, 본 발명이 반드시 도시된 바에 한정되지 않는다.Since the present invention can apply various transformations and have various embodiments, specific embodiments will be illustrated in the drawings and described in detail in the detailed description. Effects and features of the present invention, and methods for achieving them will become clear with reference to the embodiments described later in detail together with the drawings. However, the present invention is not limited to the embodiments disclosed below and may be implemented in various forms. In the following embodiments, terms such as first and second are used for the purpose of distinguishing one component from another component without limiting meaning. Also, expressions in the singular number include plural expressions unless the context clearly dictates otherwise. In addition, terms such as include or have mean that features or elements described in the specification exist, and do not preclude the possibility that one or more other features or elements may be added. In addition, in the drawings, the size of components may be exaggerated or reduced for convenience of explanation. For example, since the size and thickness of each component shown in the drawings are arbitrarily shown for convenience of description, the present invention is not necessarily limited to the illustrated bar.
이하, 첨부된 도면을 참조하여 본 발명의 실시예들을 상세히 설명하기로 하며, 도면을 참조하여 설명할 때 동일하거나 대응하는 구성 요소는 동일한 도면부호를 부여하고 이에 대한 중복되는 설명은 생략하기로 한다.Hereinafter, embodiments of the present invention will be described in detail with reference to the accompanying drawings, and when describing with reference to the drawings, the same or corresponding components are assigned the same reference numerals, and overlapping descriptions thereof will be omitted. .
-드론-drone
도 1은 본 발명의 실시예에 따른 드론의 사시도를 나타낸다.1 shows a perspective view of a drone according to an embodiment of the present invention.
드론(100)은 관리자에 의해 수동 조작되거나, 설정된 비행 프로그램에 의해 자동 조종되면서 무인 비행하게 된다. 이와 같은 드론(100)은 도 1에서와 같이 본체(20), 수평 및 수직이동 추진장치(10) 및 착륙용 레그(30)를 포함한다. 특히, 본 발명의 실시예에 따른 드론(100)은 드론(100)이 수면 상에서 플로팅(Floating) 되도록 하기 위한 부유력을 제공하는 플로팅 시스템(200)은 더 포함할 수 있다.The
수평 및 수직이동 추진장치(10)는 본체(20)에 수직으로 설치되는 하나 이상의 프로펠러(11)로 이루어지는 것으로, 본 발명의 실시예에 따른 수평 및 수직이동 추진장치(10)는 서로 이격 배치된 복수개의 프로펠러(11)와 모터(12)로 이루어진다. 여기서 수평 및 수직이동 추진장치(10)는 프로펠러(11)가 아닌 에어 분사형 추진기 구조로 이루어질 수도 있다.The horizontal and vertical
다양한 실시예에 따라 복수개의 프로펠러(11)와 모터(12)는 갑작스러운 우천시나 수면상에 부유시의 액체에 의한 손상을 방지하기 위하여 방수 기능을 가질 수 있으나 본 발명이 이에 제한되는 것은 아니다.According to various embodiments, the plurality of
복수 개의 프로펠러 지지부는 본체(20)에서 방사상으로 형성될 수 있다. 각각의 프로펠러 지지부에는 모터(12)가 장착될 수 있고, 각각의 모터(12)에는 프로펠러(11)가 장착될 수 있다.A plurality of propeller supports may be radially formed in the
복수 개의 프로펠러(11)는 본체(20)를 중심을 기준하여 대칭되게 배치될 수 있으나 이에 제한되는 것은 아니다. 그리고 복수 개의 프로펠러(11)의 회전 방향은 시계 방향과 반 시계 방향이 조합되도록 모터(12)의 회전 방향이 결정될 수 있다. 본체(20)를 중심을 기준하여 대칭되는 한 쌍의 프로펠러(11)의 회전 방향은 동일(예를 들어, 시계 방향)하게 설정될 수 있다. 그리고 다른 한 쌍의 프로펠러(11)는 이와 달리 회전 방향이 반대일 수 있다(예를 들어, 시계 반대 방향).The plurality of
착륙용 레그(30)는 본체(20)의 저면에 서로 이격 배치된다. 또한, 착륙용 레그(30)의 하부에는 드론(100)이 착륙할 때 지면과의 충돌에 의한 충격을 최소화하는 완충 지지부재(미도시)가 장착될 수 있으나 이에 제한되는 것은 아니다. 물론 드론(100)은 상술한 바와 다른 드론 구성의 다양한 구조로 이루어질 수 있다.The landing
-드론의 구성요소의 제어 관계-Control relationship of drone components
도 2는 도 1의 드론의 주요 구성들 간의 제어관계를 도시한 블록도이다.FIG. 2 is a block diagram illustrating a control relationship between main components of the drone of FIG. 1 .
도 2를 참조하면, 드론(100)은 안정적으로 비행하기 위해서 각종 센서들을 이용해 자신의 비행상태를 측정한다. 드론(100)은 적어도 하나의 센서를 포함하는 센싱부(130)를 포함할 수 있다. 드론(100)의 비행상태는 회전운동상태(Rotational States)와 병진운동상태(Translational States)로 정의된다. 회전운동상태는 '요(Yaw)', '피치 (Pitch)', 및 '롤 (Roll)'을 의미하며, 병진운동상태는 경도, 위도, 고도, 및 속도를 의미한다. 여기서, '롤', '피치', 및 '요'는 오일러 (Euler) 각도라 부르며, 드론 기체좌표 x, y, z 세 축이 어떤 특정 좌표, 예를 들어, NED 좌표 N, E, D 세 축에 대하여 회전된 각도를 나타낸다. 드론(100) 전면이 기체좌표의 z축을 기준으로 좌우로 회전할 경우, 기체좌표의 x축은 NED 좌표의 N축에 대하여 각도 차이가 생기게 되며, 이각도를 "요"(Ψ)라고 한다. 드론(100)의 전면이 오른쪽으로 향한 y축을 기준으로 상하로 회전을 할 경우, 기체좌표의 z축은 NED 좌표의 D축에 대하여 각도 차이가 생기게 되며, 이 각도를 "피치"(θ)라고 한다. 드론(100)이 전면을 향한 x축을 기준으로 좌우로 기울게 될 경우, 기체좌표의 y축은 NED 좌표의 E축에 대하여 각도가 생기게 되며, 이 각도를 "롤"(Φ)이라 한다.Referring to FIG. 2 , the
드론(100)은 회전운동상태를 측정하기 위해 3축 자이로 센서(Gyroscopes), 3축 가속도 센서(Accelerometers), 및 3축 지자기 센서(Magnetometers)를 이용하고, 병진운동상태를 측정하기 위해 GPS 센서와 기압 센서(Barometric Pressure Sensor)를 이용할 수 있다.The
본 발명의 센싱부(130)는 자이로 센서, 가속도 센서, GPS 센서, 영상 센서 및 기압 센서 중 적어도 하나를 포함할 수 있다. 여기서, 자이로 센서와 가속도 센서는 드론(100)의 기체좌표(Body Frame Coordinate)가 지구관성 좌표(Earth Centered Inertial Coordinate)에 대해 회전한 상태와 가속된 상태를 측정해주는데, MEMS(MicroElectro-Mechanical Systems) 반도체 공정기술을 이용해 관성측정기(IMU: Inertial Measurement Unit)라 부르는 단일 칩(Single Chip)으로 제작될 수도 있다. 또한, IMU 칩 내부에는 자이로 센서와 가속도 센서가 측정한 지구관성좌표 기준의 측정치들을 지역좌표 (Local Coordinate), 예를 들어 GPS가 사용하는 NED(North-East-Down) 좌표로 변환해주는 마이크로 컨트롤러가 포함될 수 있다. 자이로 센서는 드론(100)의 기체좌표 x, y, z 세 축이 지구관성 좌표에 대하여 회전하는 각속도를 측정한 후 고정좌표로 변환된 값(Wx.gyro, Wy.gyro, Wz.gyro)을 계산하고, 이 값을 선형 미분방정식을 이용해 오일러 각도(Φgyro, θgyro, ψgyro)로 변환한다.The
가속도 센서는 드론(100)의 기체좌표 x, y, z 세 축의 지구관성좌표에 대한 가속도를 측정한 후 고정좌표로 변환된 값(fx,acc, fy,acc, fz,acc)을 계산하고, 이 값을 '롤(Φacc)'과 '피치(θacc)'로 변환하며, 이 값 들은 자이로 센서의 측정치를 이용해 계산한 '롤(Φgyro)'과 '피치(θgyro)'에 포함된 바이어스 오차를 제거하는 데 이용된다.The acceleration sensor measures the acceleration with respect to the earth inertial coordinates of the three axes of x, y, and z of the
지자기 센서는 드론(100)의 기체좌표 x, y, z 세 축의 자북점에 대한 방향을 측정하고, 이 값을 이용해 기체좌표의 NED 좌표에 대한 '요' 값을 계산한다.The geomagnetic sensor measures the direction of the
GPS 센서는 GPS 위성들로부터 수신한 신호를 이용해 NED 좌표 상에서 드론(100)의 병진운동상태, 즉, 위도(Pn.GPS), 경도(Pe.GPS), 고도(hMSL.GPS), 위도 상의 속도(Vn.GPS), 경도 상의 속도(Ve.GPS), 및 고도 상의 속도(Vd.GPS)를 계산한다. 여기서, 첨자 MSL은 해수면(MSL: Mean Sea Level)을 의미한다. 기압 센서는 드론(100)의 고도(hALP.baro)를 측정할 수 있다. 여기서, 첨자 ALP는 기압(Air-Level Pressor)을 의미하며, 기압 센서는 드론(100)의 이륙시 기압과 현재 비행고도에서의 기압을 비교해 이륙 지점으로부터의 현재 고도를 계산한다.The GPS sensor uses signals received from GPS satellites to determine the translational motion state of the
카메라 센서는 적어도 하나의 광학렌즈와, 광학렌즈를 통과한 광에 의해 상이 맺히는 다수 개의 광다이오드(photodiode, 예를 들어, pixel)를 포함하여 구성된 이미지센서(예를 들어, CMOS image sensor)와, 광다이오드들로부터 출력된 신호를 바탕으로 영상을 구성하는 디지털 신호 처리기(DSP: Digital Signal Processor)를 포함할 수 있다. 디지털 신호 처리기는 정지영상은 물론이고, 정지영상으로 구성된 프레임들로 이루어진 동영상을 생성하는 것도 가능하다.The camera sensor includes an image sensor (eg, CMOS image sensor) including at least one optical lens and a plurality of photodiodes (eg, pixels) forming an image by light passing through the optical lens; A digital signal processor (DSP) for composing an image based on signals output from the photodiodes may be included. The digital signal processor can create not only still images, but also moving images composed of frames composed of still images.
드론(100)은 정보를 입력받거나 수신하고 정보를 출력하거나 송신하는 커뮤니케이션 모듈(170)을 포함할 수 있다. 커뮤니케이션 모듈(170)은 외부의 다른 기기와 정보를 송수신하는 드론 통신부(175)를 포함할 수 있다. 커뮤니케이션 모듈(170)은 정보를 입력하는 입력부(171)를 포함할 수 있다. 커뮤니케이션 모듈(170)은 정보를 출력하는 출력부(173)를 포함할 수 있다. 물론, 출력부(173)는 드론(100)에 생략되고 단말기(300)에 형성될 수 있다.The
일 예로, 드론(100)은 입력부(171)로부터 직접 정보를 입력받을 수 있다. 다른 예로, 드론(100)은 별도의 단말기(300) 또는 서버(400)에 입력된 정보를 드론 통신부(175)를 통해 수신받을 수 있다. 일 예로, 드론(100)은 출력부(173)로 직접 정보를 출력시킬 수 있다. 다른 예로, 드론(100)은 드론 통신부(175)를 통해 별도의 단말기(300)로 정보를 송신하여, 단말기(300)가 정보를 출력하게 할 수 있다.For example, the
드론 통신부(175)는, 외부의 서버(400), 단말기(300) 등과 통신하게 구비될 수 있다. 드론 통신부(175)는, 스마트폰이나 컴퓨터, 원격제어장치, 컨트롤러 등의 단말기(300)로부터 입력된 정보를 수신할 수 있다. 드론 통신부(175)는 단말기(300)로 출력될 정보를 송신할 수 있다. 단말기(300)는 드론 통신부(175)로부터 받은 정보를 출력할 수 있다. 드론 통신부(175)는 단말기(300) 또는/및 서버(400)로부터 각종 명령 신호를 수신할 수 있다. 드론 통신부(175)는 단말기(300) 또는/및 서버(400)로부터 주행을 위한 구역 정보, 주행 경로, 주행 명령, 플로팅 시스템(200)의 구동을 위한 제어 명령 신호를 수신받을 수 있다. 여기서, 구역 정보는 비행 제한 구역 정보, 접근 제한 거리 정보를 포함할 수 있다.The
입력부(171)는 On/Off 또는 각종 명령을 입력받을 수 있다. 입력부(171)는 구역 정보를 입력받을 수 있다. 그 밖에 입력부(171)는 각종 정보를 입력받을 수 있다. 입력부(171)는, 각종 버튼이나 터치패드, 또는 마이크 등을 포함할 수 있다.The
출력부(173)는 각종 정보를 사용자에게 알릴 수 있다. 출력부(173)는 스피커 및/또는 디스플레이를 포함할 수 있다. 출력부(173)는 주행 중 감지한 발견물의 정보를 출력할 수 있다. 출력부(173)는 발견물의 식별 정보를 출력할 수 있다. 출력부(173)는 발견물의 위치 정보를 출력할 수 있다. 또한, 출력부(173)는 드론(100)이 추락한 경우 사용자가 드론(100)의 식별을 용이하게 하기 위한 색상으로 발광을 할 수도 있다.The
드론(100)은 맵핑 및/또는 현재 위치를 인식하는 등 각종 정보를 처리하고 판단하는 제어부(140)를 포함한다. 제어부(140)는 드론(100)을 구성하는 각종 구성들의 제어를 통해, 드론(100)의 동작 전반을 제어할 수 있다.The
제어부(140)는 커뮤니케이션 모듈(170)로부터 정보를 받아 처리할 수 있다. 제어부(140)는 입력부(171)로부터 정보를 입력 받아 처리할 수 있다. 제어부(140)는 드론 통신부(175)로부터 정보를 받아 처리할 수 있다.The
제어부(140)는 센싱부(130)로부터 감지 정보를 입력 받아 처리할 수 있다.The
제어부(140)는 모터(12)의 구동을 제어할 수 있다. 제어부(140)는 작업부(40)의 동작을 제어할 수 있다. 일부 실시예에서, 제어부(140)는 모터(12)들을 서로 독립적으로 제어할 수도 있고, 모터(12)의 회전 속도를 제어할 수 있다.The
드론(100)은 각종 데이터를 저장하는 저장부(150)를 포함한다. 저장부(150)는 드론(100)의 제어에 필요한 각종 정보들을 기록하는 것으로, 휘발성 또는 비휘발성 기록 매체를 포함할 수 있다.The
저장부(150)에는 주행구역에 대한 맵 정보가 저장될 수 있다. 맵 정보는 드론(100)과 드론 통신부(175)를 통해 정보를 교환할 수 있는 외부 단말기(300)에 의해 입력된 것일 수도 있고, 드론(100)이 스스로 학습을 하여 생성한 것일 수도 있다. 전자의 경우, 외부 단말기(300)로는 맵 설정을 위한 어플리케이션(application)이 탑재된 리모콘, PDA, 랩탑(laptop), 스마트 폰, 태블릿, 드론 컨트롤러 등을 예로 들 수 있다. Map information on a driving area may be stored in the
-기기들 간의 제어 관계-Control relationship between devices
도 3은 본 발명의 일 실시예에 따른 드론과 단말기 및 서버간의 제어 관계를 도시한 블록도이다.3 is a block diagram illustrating a control relationship between a drone, a terminal, and a server according to an embodiment of the present invention.
도 3을 참조하면, 드론(100)과 단말기(300) 및 서버(400)는 서로 무선 통신 방법으로 연결될 수 있다. 무선 통신 방법은 GSM(Global System for Mobile communication), CDMA(Code Division Multi Access), CDMA2000(Code Division Multi Access 2000), EV-DO(Enhanced Voice-Data Optimized or Enhanced Voice-Data Only), WCDMA(Wideband CDMA), HSDPA(High Speed Downlink Packet Access), HSUPA(High Speed Uplink Packet Access), LTE(Long Term Evolution), LTE-A(Long Term Evolution-Advanced) 등이 사용될 수 있으나, 이에 제한되는 것은 아니다.Referring to FIG. 3 , the
무선 통신 방법은 무선 인터넷 기술이 사용될 수 있다. 무선 인터넷 기술로는, 예를 들어 WLAN(Wireless LAN), Wi-Fi(Wireless-Fidelity), Wi-Fi(Wireless Fidelity) Direct, DLNA(Digital Living Network Alliance), WiBro(Wireless Broadband), WiMAX(World Interoperability for Microwave Access), HSDPA(High Speed Downlink Packet Access), HSUPA(High Speed Uplink Packet Access), LTE(Long Term Evolution), LTE-A(Long Term Evolution-Advanced), 5G 등이 있다. 특히 5G 통신망을 이용하여 데이터를 송수신함으로써 보다 빠른 응답이 가능하다.As a wireless communication method, wireless Internet technology may be used. Wireless Internet technologies include, for example, WLAN (Wireless LAN), Wi-Fi (Wireless-Fidelity), Wi-Fi (Wireless Fidelity) Direct, DLNA (Digital Living Network Alliance), WiBro (Wireless Broadband), WiMAX (World Interoperability for Microwave Access), High Speed Downlink Packet Access (HSDPA), High Speed Uplink Packet Access (HSUPA), Long Term Evolution (LTE), Long Term Evolution-Advanced (LTE-A), and 5G. In particular, faster response is possible by transmitting and receiving data using the 5G communication network.
-플로팅 시스템-Floating system
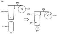
도 4 내지 도 7은 다양한 실시예에 따른 플로팅 시스템의 블록도이다. 그리고, 도 8은 가스제공부를 설명하기 위한 가스제공부의 개략도이다. 그리고, 도 9는 예시적인 튜브의 형상을 설명하기 위한 개략도이다.4 to 7 are block diagrams of floating systems according to various embodiments. And, Figure 8 is a schematic diagram of the gas supply unit for explaining the gas supply unit. And, Figure 9 is a schematic diagram for explaining the shape of an exemplary tube.
도 4를 참조하면, 본 발명의 실시예에 따른 드론(100)의 플로팅 시스템(200)은 드론(100)의 본체(20)의 하측에 설치될 수 있다. 일부 실시예에서 추락하는 드론(100)이 심하게 기울어지는 것을 현상을 최소화하기 위하여 플로팅 시스템(200)은 드론(100)에 탑재될 때 드론(100)의 무게 중심이 하측 중심 방향이 되도록 드론(100)에 탑재될 수 있다. 플로팅 시스템(200)은 본체(20)와 탈부착 형태로 구성될 수 있다. 드론(100)의 비행 영역 내에 해양 영역이 포함된 경우, 드론(100)이 비행 중에 해양 영역에서 유실되는 것을 방지하기 위하여 드론(100)의 비행 전에 드론(100)에 플로팅 시스템(200)을 장착할 수 있다. 다른 측면에서, 드론(100)의 비행 영역 내에 해양 영역이 포함되지 않은 경우에는 플로팅 시스템(200)이 장착되지 않은 상태로 드론(100)이 비행할 수 있다.Referring to FIG. 4 , the floating
다양한 실시예에서, 사용자가 수동으로 드론(100)에 플로팅 시스템(200)을 탈부착할 수 있으나, 이에 제한되는 것은 아니고 실시예는 별도로 마련된 도킹 시스템 상의 플로팅 시스템(200)과 드론(100)의 자동 탈부착 기능을 수행할 수 있도록 구성될 수 있다. 따라서, 드론(100)은 비행 중에 컨트롤러로부터의 명령 신호에 기초하여 및/또는 미리 설정된 비행 알고리즘에 따라 비행 경로 상에서의 해양 영역으로의 진입 전에 인근 지역에 마련된 도킹 시스템에 착륙하여 플로팅 시스템(200)과 결합하고, 드론(100)은 플로팅 시스템(200)을 탑재한 상태로 해양 영역을 비행할 수도 있다.In various embodiments, a user may manually attach and detach the floating
플로팅 시스템(200)은 본체(20)와 연결되면 드론(100)의 제어부(140)와 페어링될 수 있다. 다양한 실시예에서, 제어부(140)는 플로팅 시스템(200)과 본체(20)의 탈부착 여부를 감지할 수 있다.When the floating
플로팅 시스템(200)은 플로팅 제어부(210), 튜브(220) 및 가스제공부(230)를 포함할 수 있다. 다양한 실시예에서, 플로팅 제어부(210)는 전술한 제어부(140)에 포함되는 것으로 정의될 수 있다. 즉, 이하에서 설명되는 플로팅 제어부(210)의 기능은 제어부(140)가 수행할 수도 있으나 이에 제한되는 것은 아니다.The floating
튜브(220)는 가스제공부(230)로부터 제공되는 가스에 의해서 소정의 크기만큼 팽창할 수 있다. 튜브(220)의 팽창 정도는 드론(100)이 수중에 가라않지 않고 부유할 수 있을 정도가 될 수 있다. 또한 튜브(220)는 드론(100)이 수면 상에서 크게 기울어지거나 뒤집히지 않도록 전방, 후방, 좌우측 방향 중 적어도 어느 하나의 방향으로 팽창할 수 있다. 일부 실시예에서, 튜브(220)는 복수의 영역으로 구분되고 이들 복수의 영역은 서로 독립적으로 팽창할 수도 있다.The
가스제공부(230)는 플로팅 제어부(210)의 제어 명령 신호에 기초하여 튜브에 순간적으로 가스를 제공할 수 있다.The
도 8을 더 참조하면, 다양한 실시예에 따라 가스제공부(230)는 카트리지(231), 실린더(232) 및 모터부(233)를 포함할 수 있다.Referring further to FIG. 8 , according to various embodiments, the
실린더(232)는 가스를 압축하여 저장할 수 있고, 카트리지(231)에 삽입될 수 있다. 실린더(232)는 카트리지(231)에 교체 타입으로 구성될 수 있다. 예시적으로 실린더(232)는 CO2 가스를 저장할 수 있으나 이에 제한되는 것은 아니다.The
카트리지(231)는 실린더(232)를 수납하고 모터부(233)의 동작에 의해 내부의 격발침이 실린더(232)를 격발시킬 수 있다. 그리고, 실린더(232)는 격발에 의해 저장된 압축 가스를 분출할 수 있다. 모터부(233)는 카트리지(231)와 연결되고 내장된 모터의 구동에 따라 카트리지(231)와 모터부(233)를 연결하는 끈을 당겨 카트리지(231) 내의 격발 시스템이 동작하도록 할 수 있다.The
일부 실시예에서, 가스제공부(230)는 복수개로 구비될 수 있고, 독립적으로 팽창하는 복수의 튜뷰들 각각에 가스를 주입할 수도 있다.In some embodiments, a plurality of
도 5를 참조하면, 다양한 실시예에 따른 플로팅 시스템(200)에서 플로팅 제어부(210)는 제어부(140)의 제어 명령 신호에 기초하여 가스제공부(230)를 제어할 수도 있다. 예시적으로, 제어부(140)는 센싱부(130)의 센싱 정보에 기초하여 드론(100)의 추락 여부를 판단하고, 현재 드론(100)의 위치가 강이나 바다, 호수와 같은 해양 영역인지 여부를 판단할 수 있다. 제어부(140)는 현재 드론(100)이 해양 영역 내에서 추락하는 것으로 판단하고, 드론(100)의 고도가 기 설정 고도가 되면 튜브의 팽창의 실행을 명령하는 제어 신호를 플로팅 제어부(210)로 전송할 수 있다. 다양한 실시예에서, 전술한 기 설정 고도는 추락하는 드론(100)의 튜브가 팽창하여 튜브의 공기 저항으로 인한 드론(100)이 뒤집히는데 걸리는 시간에 기초하여 미리 설정될 수 있다. 다양한 실시예에서, 추락하는 드론(100)이 수면과 수직 거리가 수미터 이내의 인접한 위치일 때 비로서 튜브가 팽창할 수도 있다.Referring to FIG. 5 , in the floating
도 6을 참조하면, 다양한 실시예에 따라 단말기(300)는 드론 통신부(175)와 통신하여 튜브의 팽창의 실행을 명령하는 제어 신호를 드론(100)으로 전송할 수 있다. 그리고, 제어부(140)는 이에 응답하여 플로팅 제어부(210)로 튜브의 팽창의 실행을 명령하는 제어 신호를 제공함으로써 플로팅 제어부(210)가 가스제공부(230)가 동작할 수 있도록 한다.Referring to FIG. 6 , according to various embodiments, the terminal 300 may communicate with the
일부 실시예에서, 플로팅 제어부(210)는 튜브(220)의 팽창 여부를 감지할 수 있다. 플로팅 제어부(210)는 튜브(220)의 팽창이 감지되면 튜브 팽창 완료 신호를 제어부(140)로 전송할 수 있다. 다양한 실시예에서, 제어부(140)는 튜브 팽창 완료 신호의 수신에 응답하여 단말기(300)로 튜브 팽창 완료 신호를 전송할 수 있다.In some embodiments, the floating
도 7을 참조하면, 다양한 실시예에 따른 플로팅 시스템(200)은 수면 착지 감지 센서부(240)를 더 포함할 수 있다. 플로팅 제어부(210)는 수면 착지 감지 센서부(240)로부터의 센싱 정보에 기초하여 드론(100)의 수면 착지 여부를 판단하고, 드론(100)이 수면에 착지한 것으로 판단하면 가스제공부(230)를 동작시켜 튜브(220)가 팽창하도록 할 수 있다. 다양한 실시예에 따른 수면 착지 감지 센서부(240)는 전술한 센싱부(130)와 하나의 센서 장치로 구성될 수 있다.Referring to FIG. 7 , the floating
도 9를 참조하면, (a)에서 도시된 바와 같이 튜브(220)는 본체 대응 영역(229), 전방 팽창 영역(221) 및 후방 팽창 영역(222)으로 구분될 수 있다. 전방 팽창 영역(221) 및 후방 팽창 영역(222) 각각은 본체 대응 영역(229)을 향해 말려들어가는 형태로 접힌 상태가 될 수 있다. 주입되는 가스에 의해 전방 팽창 영역(221) 및 후방 팽창 영역(222) 각각은 말림이 펴지면서 팽창할 수 있다.Referring to FIG. 9 , as shown in (a), the
다양한 실시예에 따른 전방 팽창 영역(221) 및 후방 팽창 영역(222) 각각은 서로 독립적으로 팽창될 수 있고, 플로팅 제어부(210)의 제어에 의해 전방 팽창 영역(221) 및 후방 팽창 영역(222) 중 어느 하나만 팽창할 수도 있다.Each of the
다양한 실시예에 따르면 (b)에서 도시된 바와 같이 튜브(220)는 본체 대응 영역(229), 전방 팽창 영역(221) 및 후방 팽창 영역(222)뿐만 아니라 우측 팽창 영역(223) 및 좌측 팽창 영역(224)을 더 포함할 수 있다. 팽창 영역들(221, 222, 223, 224) 각각은 본체 대응 영역(229)을 향해 말려들어가는 형태로 접힌 상태가 될 수 있다. 그리고, 주입되는 가스에 의해 전방 팽창 영역(221)은 전방으로, 후방 팽창 영역(222)은 후방으로, 우측 팽창 영역(223)은 우측으로 그리고 좌측 팽창 영역(224)은 좌측으로 팽창할 수 있다.According to various embodiments, as shown in (b),
다양한 실시예에 따른 팽창 영역들(221, 222, 223, 224) 각각은 서로 독립적으로 팽창될 수 있고, 플로팅 제어부(210)의 제어에 의해 적어도 하나 이상만이 팽창할 수도 있다.Each of the
드론(100)이 정상 비행 모드에서는 튜브(220)가 수축된 상태를 유지하면서 비행의 저항력 발생을 최소화하고, 드론(100)이 해양 영역에 추락하는 경우 튜브(220)를 팽창시켜 드론(100)을 부유시킴으로써 해양 영역에서 유실되는 것을 방지한다.In the normal flight mode of the
-드론의 플로팅 시스템을 이용하여 해양 영역에서 드론의 유실을 방지하는 방법-How to prevent the loss of drones in the marine area using the drone's floating system
도 10은 강이 있는 해양 영역에서 드론이 비행하는 것을 나타내는 것이고, 도 11은 드론의 추락(a)과 플로팅 시스템의 구동(b) 및 드론이 부유하면서 이동하는 것(c)을 개략적으로 묘사한 것이다. 그리고, 도 12는 본 발명의 실시예에 따른 드론의 플로팅 시스템을 이용하여 해양 영역에서 드론의 유실을 방지하는 방법에 대한 흐름도이고, 도 13은 본 발명의 다른 실시예에 따른 드론의 플로팅 시스템을 이용하여 해양 영역에서 드론의 유실을 방지하는 방법에 대한 흐름도이다.10 shows a drone flying in an ocean area with a river, and FIG. 11 schematically depicts a drone's fall (a), a floating system's operation (b), and a drone's movement while floating (c). will be. 12 is a flowchart of a method for preventing loss of a drone in a marine area using a drone floating system according to an embodiment of the present invention, and FIG. 13 is a flowchart illustrating a drone floating system according to another embodiment of the present invention. It is a flow chart of a method for preventing the loss of drones in the marine area using
도 2, 도 6 및 도 10 내지 도 12를 참조하면, 본 발명의 실시예에 따른 드론의 플로팅 시스템을 이용하여 해양 영역에서 드론의 유실을 방지하는 방법(S100)은 드론 상태 정보를 송신하는 단계(S101), 추락이 감지되는지 여부를 모니터링 하는 단계(S102), 자동 모드 실행 단계(S103), 튜브의 팽창 여부를 판단하는 단계(S104), 수동 제어 모드를 실행(S105)하거나 드론 상태 정보를 송신하는 단계(S106)를 포함할 수 있다.Referring to FIGS. 2, 6, and 10 to 12, a method for preventing loss of a drone in a marine area using a drone floating system according to an embodiment of the present invention (S100) includes transmitting drone state information. (S101), monitoring whether a fall is detected (S102), executing an automatic mode (S103), determining whether or not the tube is inflated (S104), executing a manual control mode (S105) or receiving drone status information. It may include transmitting (S106).
1)One)드론 상태 정보를 송신하는 단계(S101)Transmitting drone status information (S101)
드론(100)은 단말기(300)로 자신의 비행 상태 정보를 주기적으로 송신하거나 단말기(300)의 요청에 응답하여 자신의 비행 상태 정보를 송신할 수 있다.The
단말기(300) 상에서는 드론(100)의 고도 정보, 드론(100)의 이동 속도 정보, 드론(100)의 위치 정보 등의 드론(100)의 비행 상태에 대한 정보가 표시될 수 있다.Information about the flight state of the
2)2)추락이 감지되는지 여부를 모니터링 하는 단계(S102)A step of monitoring whether a fall is detected (S102)
드론(100)은 바람 등 외부 환경의 변화와 운전 조작의 미숙 등 다양한 원인으로 인하여 추락할 수 있다. 따라서, 드론(100)의 제어부(140)는 센싱부(130)의 센싱 정보에 기초하여 추락 여부를 지속적으로 모니터링할 수 있다.The
제어부(140)는 드론(100)의 추락이 감지되면 드론(100)이 현재 추락 상태임을 단말기(300)로 알릴 수 있다.When the fall of the
3)3)자동 제어 모드 실행 단계(S103)Automatic control mode execution step (S103)
제어부(140)는 센싱부(130)의 센싱 정보에 기초하여 드론(100)이 추락하는 것으로 판단하면 자동 제어 모드 실행 단계로 진입할 수 있다.When determining that the
자동 제어 모드 실행 단계는 플로팅 시스템(200)의 구동 단계로, 제어부(140)는 플로팅 제어부(210)로 플로팅 동작 실행을 명령하는 제어 신호를 전송할 수 있고, 플로팅 제어부(210)는 이에 응답하여 튜브(220)를 팽창시키기 위하여 가스제공부(230)를 동작시킬 수 있다.The automatic control mode execution step is a driving step of the floating
다양한 실시예에 따라, 플로팅 시스템(200)은 스스로 드론(100)의 추락 여부를 판단하고 튜브(220)를 팽창시키기 위한 동작을 수행할 수도 있다.According to various embodiments, the floating
다양한 실시예에 따라, 제어부(140)는 드론(100)이 추락하는 것으로 판단하면 드론(100)의 고도가 지면으로부터 소정의 높이에 도달하면 자동 모드 실행 단계로 진입할 수 있다. 즉, 자동 모드가 드론(100)이 적정 높이일 때(예를 들어 드론(100)이 수면과 가까워졌을 때) 실행되도록 함으로써 높은 고도에서 튜브(220)가 팽창함에 따라 튜브(220)의 공기 저항력에 튜브(220)가 일종의 낙하산과 같은 역할을 하게되어 결과적으로 드론(100)이 뒤집혀서 드론(100)이 역방향으로 추락하는 문제를 방지한다.According to various embodiments, the
4)4)튜브의 팽창 여부를 판단하는 단계(S104)Step of determining whether the tube is inflated (S104)
플로팅 제어부(210)는 자동 모드 실행 후, 튜브(220)의 팽창 여부를 확인할 수 있다. 가스제공부(230)의 오동작 등 다양한 원인에 따라서 튜브(220)가 팽창하지 못할 수 있다. 이 경우, 플로팅 제어부(210)는 튜브(220)의 미팽창 정보를 단말기(300)로 전송할 수 있다.After executing the automatic mode, the floating
5)5)수동 제어 모드를 실행(S105)Run manual control mode (S105)
단말기(300) 상에서 튜브(220)의 미팽창 정보가 표시되면, 사용자의 단말기(300)는 드론(100)으로 튜브 팽창 명령 신호를 전송할 수 있다. 다만, 이에 제한되는 것은 아니고 단말기(300)는 튜브 팽창 명령 신호를 플로팅 시스템(200)으로 다이렉트 전송할 수도 있다.When information about the unexpansion of the
플로팅 제어부(210)는 단말기(300)로부터 수신된 튜브 팽창 명령 신호에 응답하여 가스제공부(230)를 동작시켜 튜브(220)를 팽창시킬 수 있다.The floating
다양한 실시예에서, 가스제공부(230)의 오동작에 따른 튜브(220)가 팽창하지 못하는 문제를 방지하기 위하여, 가스제공부(230)는 메인 가스제공부와 보조 가스제공부를 포함할 수 있다. 메인 가스제공부는 자동 모드 실행에 따라 동작하여 튜브(220)에 가스를 주입하는 장치이고, 보조 가스제공부는 수동 실행 모드에 따라 튜브(220)에 가스를 주입하는 보조장치가 될 수 있다.In various embodiments, in order to prevent a problem in that the
6)6)드론 상태 정보를 송신하는 단계(S106)Transmitting drone status information (S106)
드론(100)은 자동 제어 모드 실행 또는 수동 제어 모드 실행에 의해 튜브(220)의 팽창이 완료되면 드론(100)의 현재 상태 정보를 단말기(300)로 전송할 수 있다.The
단말기(300) 상에는 드론(100)으로부터 수신된 상태 정보에 기초하여 해양 영역에서 부유하고 있는 드론(100)을 수거할 수 있다.On the terminal 300, the
다양한 실시예에 따르면, 단말기(300)는 수면에서 부유하는 드론(100)에 수거 제어 명령 신호를 전송할 수 있다. 드론(100)은 수거 제어 명령 신호의 수신에 기초하여 미리 프로그램밍된 순서대로 동작하여 이동할 수 있다. 예시적으로, 부유하고 있는 드론(100)의 프로펠러(11)가 구동하면 드론(100)은 수면과 프로펠러(11)의 구동에 따른 하측 방향의 공기 저항이 지면보다 약하여 공중으로 부양하지 못하는 반면에 전방으로는 이동할 수 있게 된다. 다양한 실시예에 따란, 드론(100)에 마련된 복수의 프로렐러(11)들 중 적어도 일부와 나머지 일부를 구분하여 서로 독립적으로 동작 시킴으로써 드론(100)이 다양한 방향들 중 어느 하나의 방향으로 이동하도록 할 수 있다. 일부 실시예에서, 드론(100)은 미리 기록된 이동 방향에 대한 정보에 기초하여 역 방향으로 이동함으로써 최초 비행 지점 인근으로 이동할 수 있고, 그에 따라 사용자가 드론(100)을 수거할 수 있도록 한다.According to various embodiments, the terminal 300 may transmit a collection control command signal to the
일부 실시예에 따르면, 단말기(300) 상에는 드론(100)의 위치 정보가 표시되고, 단말기(300)를 통해 드론(100)을 원격 조정하여 사용자가 수거하기 용이한 위치로 드론(100)을 특정 방향으로 이동시킬 수 있다.According to some embodiments, location information of the
도 2, 도 6 및 도 10 내지 도 13을 참조하면, 본 발명의 다른 실시예에 따른 드론의 플로팅 시스템을 이용하여 해양 영역에서 드론의 유실을 방지하는 방법(S200)은 드론 상태 정보를 송신하는 단계(S201), 추락이 감지되는지 여부를 모니터링 하는 단계(S202), 자동 모드 실행 단계(S203), 튜브의 팽창 여부를 판단하는 단계(S204), 수동 제어 모드를 실행(S205)하거나 드론 상태 정보를 송신하는 단계(S206), 부유하는 드론의 균형이 유지되는지 여부를 판단하는 단계(S207), 드론의 균형이 유지되면 자동 회수 모드를 실행하는 단계(S208) 및 드론의 균형이 유지되지 않으면 대기 모드를 실행하는 단계(S209)를 포함할 수 있다. 이하 전술한 실시예와 차이나는 단계를 구체적으로 설명한다.Referring to FIGS. 2, 6, and 10 to 13, a method (S200) of preventing loss of a drone in a marine area using a drone floating system according to another embodiment of the present invention includes transmitting drone status information. Step (S201), monitoring whether a fall is detected (S202), executing automatic mode (S203), determining whether or not the tube is inflated (S204), executing manual control mode (S205) or drone status information transmitting (S206), determining whether or not the balance of the floating drone is maintained (S207), executing an automatic recovery mode if the balance of the drone is maintained (S208), and standby if the balance of the drone is not maintained A step of executing the mode (S209) may be included. Hereinafter, steps different from those of the above-described embodiment will be described in detail.
1)One)드론 상태 정보를 송신하는 단계(S206)Transmitting drone status information (S206)
드론(100)은 자동 제어 모드 실행 또는 수동 제어 모드 실행에 의해 튜브(220)의 팽창이 완료되면 드론(100)의 현재 상태 정보를 단말기(300)로 전송할 수 있다.The
2)2)부유하는 드론의 균형이 유지되는지 여부를 판단하는 단계(S207)Determining whether the balance of the floating drone is maintained (S207)
드론(100)의 제어부(140)는 드론(100)의 기울어진 각도 정보에 기초하여 소정의 범위 내에서 드론(100)이 균형을 유지하는지 여부를 판단할 수 있다.The
이러한 판단은 주기적이고 반복적으로 이루어질 수 있다.Such determination may be made periodically and repeatedly.
드론(100)의 추락 지점인 해양 영역의 수면의 상태(예를 들어, 파도나 유속 등)에 따라서 드론(100)은 기울어진 각도는 매순간 달라질 수 있다.The inclination angle of the
제어부(140)는 기 설정된 시간 동안 드론(100)의 기울어진 각도의 변화 정보가 기 설정 범위 이내인 경우 드론(100)이 균형을 유지하는 것으로 판단할 수 있고, 기 설정된 시간 동안 드론(100)의 기울어진 각도의 변화 정보가 기 설정 범위를 벗어나는 경우가 발생하는 경우 드론(100)이 균형을 유지하지 못하고 잇는 것으로 판단할 수 있다.The
3)3)드론의 균형이 유지되면 자동 회수 모드를 실행하는 단계(S208)When the balance of the drone is maintained, the step of executing the automatic recovery mode (S208)
제어부(140)는 드론(100)이 균형을 유지하고 있다고 판단하면 자동 회수 모드를 실행할 수 있다.When determining that the
자동 회수 모드에 따라서, 드론(100)의 프로펠러(11)가 구동하여 단말기(300)로부터 수신된 위치로 수면을 부유하면서 이동할 수 있다. 다양한 실시예에 따라 자동 회수 모드에 따라서, 드론(100)의 프로펠러(11)가 구동하여 미리 설정된 위치로 이동할 수 있다.According to the automatic recovery mode, the
일부 실시예에서, 제어부(140)는 자동 회수 모드 단계의 실행 후 주기적으로 센싱부(130)의 센싱 정보에 기초하여 부유하며 이동하는 드론의 균형이 유지되는지 여부를 판단할 수 있다.In some embodiments, the
4)4)드론의 균형이 유지되지 않으면 대기 모드를 실행하는 단계(S209)Executing a standby mode if the balance of the drone is not maintained (S209)
제어부(140)는 드론(100)이 균형을 유지하고 있지 않다고 판단하면 대기 모드를 실행할 수 있다. 그리고, 제어부(140)는 주기적으로 센싱부(130)의 센싱 정보에 기초하여 부유하는 드론의 균형이 유지되는지 여부를 판단할 수 있고, 드론(100)의 균형이 유지되면 드론(100)은 즉시 자동 회수 모드 실행 단계(S208)로 전환될 수 있다.The
실시예는, 드론(100)의 균형 상태에 따라서 드론(100)이 수면 상에서 부유하면서 이동하는 동작의 수행 여부를 결정할 수 있다. 상세하게, 파도, 유속, 조류의 상태 등에 따라서 드론(100)의 기울기가 불균형한 경우나 파도가 드론(100)을 반복적으로 덮치는 경우, 빠르게 회전하는 프로펠러(11)와 물과의 반복된 마찰로 인하여 프로펠러(11)가 손상되는 문제, 물과의 마찰 저항력에 따라서 드론(100)이 순간적으로 뒤집히는 문제를 방지할 수 있다.In the embodiment, it is possible to determine whether to perform an operation in which the
도 14는 드론의 튜브의 일부 영역의 팽창 및 드론이 부유하면서 이동하는 것을 설명하기 위한 개략도이다.14 is a schematic diagram illustrating expansion of a partial region of a drone tube and movement of a drone while floating.
도 9의 (a) 및 도 14를 참조하면, 드론(100)의 튜브(220)는 전방 팽창 영역(221) 만이 팽창할 수 있다. 일부 실시예에서, 드론(100)이 추락하면 자동 제어 모드 실행에 따라 튜브(220) 전체가 팽창하고, 드론(100)이 수면 상에서 안정적으로 부유하게 되면, 후방 팽창 영역(222)에 주입된 가스가 배출될 수 있다. 따라서, 전방 팽창 영역(221)만이 팽창한 상태를 유지할 수 있다.Referring to FIG. 9(a) and FIG. 14 , only the
전방 팽창 영역(221)만이 팽창함에 따라 드론(100)은 후방으로 기울어지게 되고, 결과적으로 프로펠러(11)의 적어도 일부 프로펠러, 예시적으로 전방 프로펠러(11a) 및 후방 프로펠러(11b) 중 후방 프로펠러(11b)의 적어도 일부 영역은 수중에 잠기된다. 제어부(140)는 드론(100)의 기울기 정보에 기초하여 후방 프로펠러(11b)의 적어도 일부 영역이 수중에 잠긴으로 것으로 판단되면 후방 프로펠러(11b)를 회전시켜 이동의 추진력을 발생시킬 수 있다. 일부 실시예에서, 후방 프로펠러(11b)의 회전속도는 저속 비행 시의 회전속보다 낮은 속도가 될 수 있다. 일부 실시예에서, 후방 프로펠러(11b)가 서로 이격된 복수의 프로펠러로 구성된 경우, 복수의 프로펠러들 각각의 회전속도를 조절하거나 어느 하나의 프로펠러만이 회전하도록 함으로써 드론(100)이 부유하면서 이동하는 방향을 제어할 수도 있다.As only the
실시예는, 프로펠러(11)를 드론(100)이 부유하면서 이동하기 위한 추진력 발생 장치로 활용함으로써 드론(100)이 원하는 목표지점까지 빠르게 이동할 수 있도록 하여 수거를 용이하게 할 수 있다.In the embodiment, by using the
도 15는 단말기와 통신하는 본 발명의 다양한 실시예에 따른 플로팅 시스템을 개략적으로 나타낸 것이다.15 schematically illustrates a floating system communicating with a terminal according to various embodiments of the present invention.
도 15를 참조하면, 플로팅 시스템(200)은 플로팅 제어부(210), 튜브(220), 가스제공부(230), 수면 착지 감지 센서부(240), 플로팅 통신부(250) 및 전원부(260)를 포함할 수 있다. 가스제공부(230)는 카트리지(231), 가스가 주입된 실린더(232), 모터(233) 및 격발장치(235)를 포함할 수 있다. 카트리지(231)는 실린더(232)와 연결되고, 카트리지(231) 내의 격발장치(235)에 의해 실린더(232) 내의 가스가 카트리지(231) 내로 방출되며, 카트리지(231)와 연결된 튜브(220)로 분출된 가스가 주입된다. 격발장치(235)는 가압부(235a), 격발침(235b) 및 회수부(235c) 및 입수부(235d)를 포함할 수 있다. 가압부(235a)는 모터(233)와 연결되어 모터(233)의 구동에 따라 실린더(232)와 가까워지는 방향으로 이동할 수 있다. 그리고, 모터(233)와 가까워지는 방향으로 이동하는 가압부(235a)가 탄성력에 의해 원위치로 복귀하도록 가압부(235a)의 이동에 비례하는 탄성력을 생성하는 회수부(235c)가 가압부(235a)의 일측에 설치될 수 있다. 격발침(235b)은 실린더(232)의 가스 출력 영역과 마주하는 가압부(235a)의 타측에 설치되고, 가압부(235a)가 실린더(232)와 가까워지는 방향으로 이동함에 따라 격발침(235b)은 실린더(232)의 가스 출력 영역을 물리적으로 뚫고 실린더(232) 내부로 삽입될 수 있다. 그리고, 가압부(235a)에 가해지는 탄성력에 의해 가압부(235a)는 원위로 복귀하면서 격발침(235b)은 실린더(232)로부터 인출됨과 동시에 물리적으로 뚫여진 가스 출력 영역을 통해 가스가 배출될 수 있다.Referring to FIG. 15 , the floating
또한, 수면 착지 감지 센서부(240)는 드론(100)이 수면에 추락함에 따라 입수구(235d)를 통해 유입된 수분을 감지할 수 있다.In addition, the water landing
앞서 실시예에서 설명한 바와 같이 플로팅 시스템(200)의 플로팅 제어부(210)는 드론의 제어부(140)에 의해 동작할 수 있으나 이에 제한되는 것은 아니고 플로팅 제어부(210)는 수면 착지 감지 센서부(240)의 센싱 정보 및/또는 단말기(300)로부터 수신된 명령 신호에 기초하여 미리 설정된 프로세스를 진행할 수 있다. 따라서, 플로팅 시스템(200)은 수면 착지 감지 센서부(240)가 수분을 감지하면 드론(100)이 해양 영역으로 추락한 것으로 판단하고 튜브(220)를 팽창시키기 위한 동작을 수행할 수 있다. 또한, 플로팅 시스템(200)은 드론(100)이 통신 불능 상태인 경우라 하여도, 플로팅 통신부(250)를 통해 수신한 단말기(300)로부터의 명령 신호에 기초하여 튜브(220)를 팽창시키기 위한 동작을 수행할 수도 있다.As described in the previous embodiment, the floating
도 16은 본 발명의 다른 실시예에 따른 낙하산 시스템을 구비한 드론의 낙하산 구동 프로세스를 설명하기 위한 개략도이다.16 is a schematic diagram for explaining a parachute driving process of a drone equipped with a parachute system according to another embodiment of the present invention.
도 7 및 도 16을 참조하면, 본 발명의 다른 실시예에 따른 드론(100)은 낙하산 시스템(500)을 더 포함할 수 있다. 낙하산 시스템(500)은 플로팅 시스템(200)과는 독립적으로 구성될 수 있으나 이에 제한되는 것은 아니고 플로팅 시스템(200)에 포함된 구성이 될 수도 있다. 낙하산 시스템(500)은 낙하산 구동 프로세스에 따라 드론(100)의 제어부(140)의 제어 명령 신호, 플로팅 제어부(210)의 제어 명령 신호 및/또는 단말기(300)로부터의 제어 명령 신호에 기초하여 내장된 낙하산을 펼칠 수 있다. 예를 들어, 드론(100)의 제어부(140)는 드론(100)의 추락이 감지되면 드론(100)의 수면에 착지 전까지 드론(100)의 기울기 정보(angle)를 모니터링 하고 드론(100)의 기울기 각도가 미리 설정된 기준치 이상이 되면 낙하산 시스템(500)으로 하여금 낙하산을 펼치도록 하는 동작을 지시할 수 있다. 일부 실시예에서, 플로팅 제어부(210)는 제어부(140)로부터 수신한 드론(100)의 위치 정보에 기초하여 드론(100)의 기울기 각도가 미리 설정된 기준치 이상이 되면 낙하산 시스템(500)으로 하여금 낙하산을 펼치도록 하는 동작을 지시할 수 있다. 일부 실시예에서, 낙하산 시스템(500)은 자체적으로 낙하산 펼침 구동의 기준이되는 드론(100)의 기울기 정도를 센싱할 수도 있다. 일부 실시예에서, 단말기(300)로부터의 제어 명령 신호에 기초하여 낙하산 펼침 구동이 개시될 수도 있다. 전술한 기울기 각도의 미리 설정된 기준치는 60도가 될 수 있으나 이에 제한되는 것은 아니다. 추락하는 드론(100)이 기준치 이상으로 기울어진 상태가 되는 경우 낙하산의 펼침을 통해 드론(100)의 기울기를 정상화하고 드론(100)이 안정적으로 수면에 착지하도록 유도한다. 그리고, 튜브(220)의 팽창에 따라 드론(100)이 수중에 잠기지 않고 안정적으로 수면 상에 부유할 수 있도록 한다.이상 설명된 본 발명에 따른 실시예는 다양한 컴퓨터 구성요소를 통하여 실행될 수 있는 프로그램 명령어의 형태로 구현되어 컴퓨터 판독 가능한 기록 매체에 기록될 수 있다. 상기 컴퓨터 판독 가능한 기록 매체는 프로그램 명령어, 데이터 파일, 데이터 구조 등을 단독으로 또는 조합하여 포함할 수 있다. 상기 컴퓨터 판독 가능한 기록 매체에 기록되는 프로그램 명령어는 본 발명을 위하여 특별히 설계되고 구성된 것이거나 컴퓨터 소프트웨어 분야의 당업자에게 공지되어 사용 가능한 것일 수 있다. 컴퓨터 판독 가능한 기록 매체의 예에는, 하드 디스크, 플로피 디스크 및 자기 테이프와 같은 자기 매체, CD-ROM 및 DVD와 같은 광기록 매체, 플롭티컬 디스크(floptical disk)와 같은 자기-광 매체(magneto-optical medium), 및 ROM, RAM, 플래시 메모리 등과 같은, 프로그램 명령어를 저장하고 실행하도록 특별히 구성된 하드웨어 장치가 포함된다. 프로그램 명령어의 예에는, 컴파일러에 의하여 만들어지는 것과 같은 기계어 코드뿐만 아니라 인터프리터 등을 사용하여 컴퓨터에 의해서 실행될 수 있는 고급 언어 코드도 포함된다. 하드웨어 장치는 본 발명에 따른 처리를 수행하기 위하여 하나 이상의 소프트웨어 모듈로 변경될 수 있으며, 그 역도 마찬가지이다.7 and 16 , the
본 발명에서 설명하는 특정 실행들은 일 실시 예들로서, 어떠한 방법으로도 본 발명의 범위를 한정하는 것은 아니다. 명세서의 간결함을 위하여, 종래 전자적인 구성들, 제어 시스템들, 소프트웨어, 상기 시스템들의 다른 기능적인 측면들의 기재는 생략될 수 있다. 또한, 도면에 도시된 구성 요소들 간의 선들의 연결 또는 연결 부재들은 기능적인 연결 및/또는 물리적 또는 회로적 연결들을 예시적으로 나타낸 것으로서, 실제 장치에서는 대체 가능하거나 추가의 다양한 기능적인 연결, 물리적인 연결, 또는 회로 연결들로서 나타내어질 수 있다. 또한, “필수적인”, “중요하게” 등과 같이 구체적인 언급이 없다면 본 발명의 적용을 위하여 반드시 필요한 구성 요소가 아닐 수 있다.Specific implementations described in the present invention are examples and do not limit the scope of the present invention in any way. For brevity of the specification, description of conventional electronic components, control systems, software, and other functional aspects of the systems may be omitted. In addition, the connection of lines or connecting members between the components shown in the drawings are examples of functional connections and / or physical or circuit connections, which can be replaced in actual devices or additional various functional connections, physical connection, or circuit connections. In addition, if there is no specific reference such as “essential” or “important”, it may not be a component necessarily required for the application of the present invention.
또한 설명한 본 발명의 상세한 설명에서는 본 발명의 바람직한 실시 예를 참조하여 설명하였지만, 해당 기술 분야의 숙련된 당업자 또는 해당 기술분야에 통상의 지식을 갖는 자라면 후술할 특허청구범위에 기재된 본 발명의 사상 및 기술 영역으로부터 벗어나지 않는 범위 내에서 본 발명을 다양하게 수정 및 변경시킬 수 있음을 이해할 수 있을 것이다. 따라서, 본 발명의 기술적 범위는 명세서의 상세한 설명에 기재된 내용으로 한정되는 것이 아니라 특허청구범위에 의해 정하여져야만 할 것이다.In addition, the detailed description of the present invention described has been described with reference to preferred embodiments of the present invention, but those skilled in the art or those having ordinary knowledge in the art will find the spirit of the present invention described in the claims to be described later. And it will be understood that the present invention can be variously modified and changed without departing from the technical scope. Therefore, the technical scope of the present invention is not limited to the contents described in the detailed description of the specification, but should be defined by the claims.
| Application Number | Priority Date | Filing Date | Title |
|---|---|---|---|
| KR1020210058290AKR102511138B1 (en) | 2021-05-06 | 2021-05-06 | A method to prevent the loss of drones in the marine area using a floating system that can be attached to a drone, and the drone |
| Application Number | Priority Date | Filing Date | Title |
|---|---|---|---|
| KR1020210058290AKR102511138B1 (en) | 2021-05-06 | 2021-05-06 | A method to prevent the loss of drones in the marine area using a floating system that can be attached to a drone, and the drone |
| Publication Number | Publication Date |
|---|---|
| KR20220151271Atrue KR20220151271A (en) | 2022-11-15 |
| KR102511138B1 KR102511138B1 (en) | 2023-03-17 |
| Application Number | Title | Priority Date | Filing Date |
|---|---|---|---|
| KR1020210058290AActiveKR102511138B1 (en) | 2021-05-06 | 2021-05-06 | A method to prevent the loss of drones in the marine area using a floating system that can be attached to a drone, and the drone |
| Country | Link |
|---|---|
| KR (1) | KR102511138B1 (en) |
| Publication number | Priority date | Publication date | Assignee | Title |
|---|---|---|---|---|
| CN118992158A (en)* | 2024-10-22 | 2024-11-22 | 国家海洋环境监测中心 | Ocean quality of water multispectral remote sensing device |
| Publication number | Priority date | Publication date | Assignee | Title |
|---|---|---|---|---|
| KR20030000727A (en) | 2001-06-26 | 2003-01-06 | 주식회사 하이닉스반도체 | Method for forming the ferroelectric memory device |
| KR20140038495A (en) | 2014-03-05 | 2014-03-28 | 진정회 | The rotor blade drone safety landing pack |
| KR101496892B1 (en) | 2014-06-19 | 2015-03-03 | 충남대학교산학협력단 | Multicopter dron |
| US20160167470A1 (en)* | 2014-12-11 | 2016-06-16 | Parrot | Gliding mobile, in particular hydrofoil, propelled by a rotary-wing drone |
| KR20170017365A (en)* | 2015-08-06 | 2017-02-15 | 장성훈 | Air Bag of Drone or Quad Cop for safe Landing |
| US20170197714A1 (en)* | 2016-01-13 | 2017-07-13 | Wolf-Tek, Llc | Drone capable of operating in an aqueous environment |
| KR20180064155A (en)* | 2016-12-05 | 2018-06-14 | 주식회사 헥사팩토리 | Apparatus for Preventing Drop Accident of Drone, and Method for Controlling the Same |
| JP2018095051A (en)* | 2016-12-12 | 2018-06-21 | 株式会社自律制御システム研究所 | Unmanned aircraft |
| KR20190106493A (en)* | 2018-03-09 | 2019-09-18 | 경상대학교산학협력단 | Apparatus for recording accident information of a vessel |
| KR102032051B1 (en)* | 2018-04-10 | 2019-10-14 | 건국대학교 산학협력단 | Drone including structures for floating on the surface |
| US20200010193A1 (en)* | 2018-07-04 | 2020-01-09 | Dwight Darwin Alexander | Method and Apparatus for Unmanned Aerial Maritime Float Vehicle That Sense and Report Relevant Data from Physical and Operational Environment |
| JP2021062652A (en)* | 2019-10-10 | 2021-04-22 | 株式会社フジタ | Submersible measuring device |
| Publication number | Priority date | Publication date | Assignee | Title |
|---|---|---|---|---|
| KR20030000727A (en) | 2001-06-26 | 2003-01-06 | 주식회사 하이닉스반도체 | Method for forming the ferroelectric memory device |
| KR20140038495A (en) | 2014-03-05 | 2014-03-28 | 진정회 | The rotor blade drone safety landing pack |
| KR101496892B1 (en) | 2014-06-19 | 2015-03-03 | 충남대학교산학협력단 | Multicopter dron |
| US20160167470A1 (en)* | 2014-12-11 | 2016-06-16 | Parrot | Gliding mobile, in particular hydrofoil, propelled by a rotary-wing drone |
| KR20170017365A (en)* | 2015-08-06 | 2017-02-15 | 장성훈 | Air Bag of Drone or Quad Cop for safe Landing |
| US20170197714A1 (en)* | 2016-01-13 | 2017-07-13 | Wolf-Tek, Llc | Drone capable of operating in an aqueous environment |
| KR20180064155A (en)* | 2016-12-05 | 2018-06-14 | 주식회사 헥사팩토리 | Apparatus for Preventing Drop Accident of Drone, and Method for Controlling the Same |
| JP2018095051A (en)* | 2016-12-12 | 2018-06-21 | 株式会社自律制御システム研究所 | Unmanned aircraft |
| JP6866143B2 (en)* | 2016-12-12 | 2021-04-28 | 株式会社自律制御システム研究所 | Unmanned aerial vehicle |
| KR20190106493A (en)* | 2018-03-09 | 2019-09-18 | 경상대학교산학협력단 | Apparatus for recording accident information of a vessel |
| KR102032051B1 (en)* | 2018-04-10 | 2019-10-14 | 건국대학교 산학협력단 | Drone including structures for floating on the surface |
| US20200010193A1 (en)* | 2018-07-04 | 2020-01-09 | Dwight Darwin Alexander | Method and Apparatus for Unmanned Aerial Maritime Float Vehicle That Sense and Report Relevant Data from Physical and Operational Environment |
| JP2021062652A (en)* | 2019-10-10 | 2021-04-22 | 株式会社フジタ | Submersible measuring device |
| Publication number | Priority date | Publication date | Assignee | Title |
|---|---|---|---|---|
| CN118992158A (en)* | 2024-10-22 | 2024-11-22 | 国家海洋环境监测中心 | Ocean quality of water multispectral remote sensing device |
| Publication number | Publication date |
|---|---|
| KR102511138B1 (en) | 2023-03-17 |
| Publication | Publication Date | Title |
|---|---|---|
| US11042074B2 (en) | Flying camera with string assembly for localization and interaction | |
| EP2969770B1 (en) | Impact protection apparatus | |
| KR101990981B1 (en) | Method for dropping rescue equipment and drone for rescue using the same | |
| KR102280688B1 (en) | Controller for Unmanned Aerial Vehicle | |
| KR20180064155A (en) | Apparatus for Preventing Drop Accident of Drone, and Method for Controlling the Same | |
| JP6864485B2 (en) | Unmanned aerial vehicle, control method and control program | |
| JP7095046B2 (en) | Information processing system, information processing device, and information processing method | |
| KR20200120221A (en) | Crash preventing drone | |
| KR102511138B1 (en) | A method to prevent the loss of drones in the marine area using a floating system that can be attached to a drone, and the drone | |
| JP6866143B2 (en) | Unmanned aerial vehicle | |
| CN109343556B (en) | Unmanned plane water surface turning device, system and control method | |
| KR102866893B1 (en) | A Wind Field Estimation System for Wildfire Disaster Areas Using Drones | |
| KR20250126892A (en) | Drone with airback | |
| HK40010657A (en) | Equipment for controlling flight and operation method thereof | |
| HK40010657B (en) | Equipment for controlling flight and operation method thereof | |
| KR20210122458A (en) | Unmanned aerial vehicle and control method thereof |
| Date | Code | Title | Description |
|---|---|---|---|
| PA0109 | Patent application | Patent event code:PA01091R01D Comment text:Patent Application Patent event date:20210506 | |
| PA0201 | Request for examination | ||
| PE0902 | Notice of grounds for rejection | Comment text:Notification of reason for refusal Patent event date:20220819 Patent event code:PE09021S01D | |
| PG1501 | Laying open of application | ||
| PN2301 | Change of applicant | Patent event date:20221118 Comment text:Notification of Change of Applicant Patent event code:PN23011R01D | |
| E701 | Decision to grant or registration of patent right | ||
| PE0701 | Decision of registration | Patent event code:PE07011S01D Comment text:Decision to Grant Registration Patent event date:20230222 | |
| GRNT | Written decision to grant | ||
| PR0702 | Registration of establishment of national patent | Patent event code:PR07021E01D Comment text:Registration of Establishment of National Patent Patent event date:20230314 | |
| PR1002 | Payment of registration fee | Payment date:20230314 End annual number:20 Start annual number:1 | |
| PG1601 | Publication of registration |