






본 발명은 라이다 광원용 발광장치에 관한 것으로서, 상세하게는 엘이디를 라이다 광원으로 사용하여 원가를 낮출 수 있으며, 서로 다른 지향각을 갖는 복수의 채널을 구비하여 라이다의 스캐닝 범위를 조절할 수 있는 라이다 광원용 발광장치에 관한 것이다.The present invention relates to a light emitting device for a lidar light source, and more particularly, it is possible to reduce the cost by using an LED as a lidar light source, and to have a plurality of channels having different orientation angles to adjust the scanning range of the lidar It relates to a light emitting device for a lidar light source.
자율주행화를 위한 안전감지센서는 Radar, Camera 및 NIR(near-infrared) 기반 Time-of-Flight(TOF) 안전감지 센서기술로 분류할 수 있는데, 이 중 Camera는 Radar에 비해 각도 정확도는 높으나 거리 정확도 성능이 떨어지며, Radar는 Camera에 비해 거리 정확도는 높으나 각도 정확도가 떨어지는 단점이 있는 반면, NIR기반 ToF 안전감지센서는 Camera와 Radar의 문제점인 각도 정확도와 거리 정확도의 문제점을 해결한 센서 기술로서, 850nm에서 950nm 사이의 NIR 대역에서 거리 검출이 가능한 TOF 기술에 기반을 두고 있어 라이다(LiDAR)라고 표현하기도 한다.Safety sensors for autonomous driving can be classified into Radar, Camera, and NIR (near-infrared) based Time-of-Flight (TOF) safety sensor technology. The accuracy performance is poor, and the radar has higher distance accuracy than the camera but has the disadvantage of lower angle accuracy, while the NIR-based ToF safety sensor is a sensor technology that solves the problems of angle accuracy and distance accuracy, which are the problems of cameras and radars, It is also referred to as LiDAR because it is based on TOF technology that enables distance detection in the NIR band between 850 nm and 950 nm.
일반적으로 라이다 시스템은 레이저 펄스를 짧은 시간 순차적으로 조사하고, 그 조사된 레이저펄스가 피사체에서 반사되어 기기로 되돌아 오는 시간을 측정하여 피사체와 라이다 본체와의 거리를 검출하는 검출기기이다.In general, the lidar system is a detection device that sequentially irradiates laser pulses for a short time, and detects the distance between the subject and the lidar body by measuring the time the irradiated laser pulse is reflected from the subject and returned to the device.
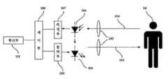
도 1은 일반적인 라이다 시스템의 원리도를 나타내는 도면이다.1 is a diagram showing the principle diagram of a general lidar system.
도 1을 참조하면, 라이다 시스템은 광 발생장치(101), 렌즈(102), 광 수신장치(106), 출력부(105), 측정부(107), 제어부(108) 및 통신부(111)를 포함할 수 있다.Referring to FIG. 1 , the lidar system includes a
광 발생장치(101)는 출력부(105)에서 출력되는 구동 전류에 따라 피사체 검출용 레이저 펄스 광을 발생하는 역할을 하는 것으로서, 상기 출력부(105)와 연동하여 레이저 펄스 광을 발사하는 레이저 다이오드와 레이저 다이오드로부터 발사된 레이저 광을 평행 광으로 변환하는 시준기(collimator) 등으로 구성될 수 있다.The
렌즈(102)는 상기 광 발생장치(101)를 통해 송출된 레이저 펄스 광을 집속하여 피사체(10)에 조사하고, 피사체(10)로부터 반사된 수신 광(104)은 집속하여 광 수신장치(106)에 전달하는 역할을 한다.The
광 수신장치(106)는 상기 렌즈(102)를 통해 집속된 수신 광을 전기적인 신호로 변환하여 검출 신호를 생성하며, 측정부(107)는 상기 생성한 검출 신호를 증폭 및 디지털 신호로 변환하여 측정 신호로 상기 제어부(108)에 전달하는 역할을 한다. 이러한 광 수신장치(106)는 수신된 광신호를 전기적인 신호로 변환하는 수신 다이오드를 포함할 수 있다.The
제어부(108)는 상기 측정부(107)에서 전달되는 측정 신호를 스캔 데이터로 저장하고, 스캔 데이터를 기초로 물체의 유무와 물리량을 검출하며, 스캔 데이터를 상위 제어단에 전송하도록 제어하는 역할을 한다. 이를 위해 제어부(108)는 내부에 스캔 데이터를 저장하는 메모리, 검출 데이터로부터 물체 유무와 물리량 검출을 위한 데이터 분석기, 스캔 데이터 저장 제어와 검출한 스캔 데이터의 통신 제어를 위한 제어모듈 등을 포함할 수 있다.The
통신부(111)는 상기 제어부(108)와 연동하여 스캔 데이터를 상위 제어단에 전송하며, 상기 상위 제어단으로부터 전송된 명령을 상기 제어부(108)에 인터페이스 하는 역할을 한다.The communication unit 111 interworks with the
이러한 라이다 시스템은 빛을 조사하고 수신하는 모듈을 기계적 회전 장치를 이용하여 360도 측정하는 형태, 고정된 광 수신장치로 전방만 바라보는 형태, 여러 개의 광센서를 횡과 종으로 연결한 3D 이미지 센서(3D Image Sensor) 형태 등 다양한 형태가 개발되어 있다.This lidar system measures 360 degrees of the module that irradiates and receives light using a mechanical rotation device, a type that looks only forward with a fixed light receiving device, and a 3D image that connects several optical sensors horizontally and vertically Various types, such as a 3D image sensor type, have been developed.
그러나 NIR기반 ToF 안전감지센서 즉, LiDAR는 높은 각도 정확도와 거리 정확도 성능을 기반으로 차세대 자율주행자동차를 위한 센서 기술로 인식되고 있지만, 높은 가격이 시장 확대의 주요 방해요소로 작용하고 있다.However, NIR-based ToF safety sensor, that is, LiDAR, is recognized as a sensor technology for next-generation autonomous vehicles based on high angular accuracy and distance accuracy performance, but its high price is acting as a major obstacle to market expansion.
특히, 자동차 이외의 소형 모빌리티기기인 자율주행 휠체어, 자율주행 로봇, 자율주행 드론 및 NIR기반 ToF 안전감지센서 영역(지하철 안전문 감지센서)에서도 전방 물체 감지를 위한 안전감지센서 기술이 적용되어 수요가 매우 높지만 높은 가격, 좁은 검출 영역, 낮은 검출 정확도 및 높은 소비전력이 실제 적용에 있어 장애물로 대두되고 있는 실정이다.In particular, safety sensor technology for detecting objects in front is applied in the area of small mobility devices other than automobiles, such as autonomous wheelchairs, autonomous robots, autonomous drones, and NIR-based ToF safety sensors (subway safety door detection sensors). Although very high, the high price, narrow detection area, low detection accuracy and high power consumption are emerging as obstacles in practical application.
일반적으로 자동차를 포함한 소형 모빌리티기기의 전방 물체 감지를 위한 NIR기반 ToF 안전감지센서의 발광부 광원으로 사용되는 Laser Diode 또는 VCSEL의 가격 비중은 전체 라이다 시스템에서 대략 30% 이상을 차지하고 있으며, 따라서 라이다 시스템의 저가격화를 위해서는 낮은 가격의 광원 개발이 필요하다.In general, the price ratio of Laser Diode or VCSEL, which is used as the light source of the light emitting part of the NIR-based ToF safety detection sensor for detecting front objects of small mobility devices including automobiles, accounts for about 30% or more of the total lidar system. In order to reduce the cost of the Ida system, it is necessary to develop a low-cost light source.
본 발명은 상기와 같은 문제점을 해결하기 위한 것으로서, 종래 라이다 광원으로 사용되는 LD(Laser Diode) 또는 VCSEL 보다 가격이 낮은 엘이디를 라이다 광원으로 사용하여 저가격화를 실현할 수 있는 라이다 광원용 발광장치를 제공함을 목적으로 한다.The present invention is to solve the above problems, and it is possible to realize low price by using an LED, which is cheaper than LD (Laser Diode) or VCSEL, which is conventionally used as a lidar light source, as a lidar light source. The purpose is to provide a device.
또한, 본 발명은 서로 다른 지향각을 갖는 복수의 채널을 구비하여 라이다의 스캐닝 범위를 조절할 수 있는 라이다 광원용 발광장치를 제공함을 목적으로 한다.Another object of the present invention is to provide a light emitting device for a lidar light source capable of adjusting a scanning range of a lidar by having a plurality of channels having different directivity angles.
본 발명의 일실시 예에 따른 라이다 광원용 발광장치는, 라이다 광원용 발광장치에 있어서, 엘이디를 광원으로 하며, 상기 엘이디에서 출력되는 광의 지향각이 서로 다른 복수의 채널을 포함하고, 상기 채널은, 상기 엘이디가 적어도 하나 이상 구비되는 기판; 상기 기판 상부에 구비되어 상기 엘이디에서 나오는 광을 소정범위의 협각으로 출사시키는 협각렌즈부; 및 상기 협각렌즈부 상부에 구비되어 상기 엘이디에서 나와 상기 협각렌즈부를 통과한 광을 소정의 지향각으로 출사시키는 프리즘렌즈부;를 포함하고, 상기 각각의 채널에 구비되는 프리즘렌즈부는 상기 각각의 채널에서 출사하는 광이 서로 다른 지향각을 가지도록 구비될 수 있다.A light emitting device for a lidar light source according to an embodiment of the present invention includes, in the light emitting device for a lidar light source, an LED as a light source and a plurality of channels having different beam angles of light output from the LED, The channel may include: a substrate provided with at least one LED; a narrow-angle lens unit provided on the substrate to emit the light emitted from the LED at a narrow angle within a predetermined range; and a prism lens unit provided on the narrow-angle lens unit to emit light coming out of the LED and passing through the narrow-angle lens unit at a predetermined directivity angle; and a prism lens unit provided in each channel. It may be provided so that the light emitted from the beam has different orientation angles.
또한, 본 발명의 일실시 예에 따른 라이다 광원용 발광장치는, 상기 각각의 채널에 구비되는 프리즘렌즈부는 상기 발광장치의 중심축를 기준으로 외측으로 갈수록 상방으로 더 경사진 형상을 가질 수 있다.In addition, in the light emitting device for a lidar light source according to an embodiment of the present invention, the prism lens unit provided in each channel may have a shape more inclined upward toward the outside with respect to the central axis of the light emitting device.
또한, 본 발명의 일실시 예에 따른 라이다 광원용 발광장치는, 상기 각각의 채널에 구비되는 프리즘렌즈부는 상기 발광장치의 중심축을 기준으로 서로 대칭되도록 구비될 수 있다.In addition, in the light emitting device for a lidar light source according to an embodiment of the present invention, the prism lens unit provided in each channel may be provided to be symmetrical to each other with respect to the central axis of the light emitting device.
또한, 본 발명의 일실시 예에 따른 라이다 광원용 발광장치는, 라이다 광원용 발광장치에 있어서, 엘이디를 광원으로 하며, 상기 엘이디에서 출력되는 광의 지향각이 서로 다른 복수의 채널; 상기 엘이디가 구비되는 기판; 및 상기 기판 상부에 구비되는 렌즈 어레이;를 포함하고, 상기 렌즈 어레이는 몸체와, 상기 몸체의 일면에 상기 각각의 채널에 구비되는 엘이디에 대응하도록 배열되는 렌즈부를 포함하고, 상기 각각의 채널에 구비되는 렌즈부는 상기 엘이디에서 나오는 광을 소정범위의 협각으로 출사시킴과 동시에 상기 각각의 채널에서 출사하는 광을 서로 다른 지향각으로 출사시키도록 구비될 수 있다.In addition, a light emitting device for a lidar light source according to an embodiment of the present invention, in the light emitting device for a lidar light source, includes an LED as a light source, a plurality of channels having different directivity angles of light output from the LED; a substrate on which the LED is provided; and a lens array provided on the substrate, wherein the lens array includes a body and a lens unit arranged to correspond to an LED provided in each channel on one surface of the body, provided in each channel The lens unit may be provided to emit the light emitted from the LED at a narrow angle of a predetermined range and simultaneously emit the light emitted from the respective channels at different directivity angles.
또한, 본 발명의 일실시 예에 따른 라이다 광원용 발광장치는, 상기 렌즈부는 상방으로 볼록한 형상을 가지며, 상기 각각의 채널에 구비되는 렌즈부의 볼록한 형상은 상기 볼록한 형상의 중심축이 상기 발광장치의 중심축를 기준으로 외측으로 갈수록 외측으로 더 기울어진 형상을 가질 수 있다.In addition, in the light emitting device for a lidar light source according to an embodiment of the present invention, the lens unit has an upwardly convex shape, and the convex shape of the lens unit provided in each channel is the central axis of the convex shape. It may have a shape that is more inclined outward toward the outside with respect to the central axis of the .
또한, 본 발명의 일실시 예에 따른 라이다 광원용 발광장치는, 상기 각각의 채널에 구비되는 렌즈부의 배열과 형상은 상기 발광장치의 중심축을 기준으로 서로 대칭되도록 구비될 수 있다.In addition, in the light emitting device for a lidar light source according to an embodiment of the present invention, the arrangement and shape of the lens unit provided in each channel may be provided to be symmetrical with respect to the central axis of the light emitting device.
또한, 본 발명의 일실시 예에 따른 라이다 광원용 발광장치는, 라이다 광원용 발광장치에 있어서, 서로 다른 경사각을 가지는 복수의 경사면을 구비하는 베이스프레임과, 상기 베이스프레임 상부에 구비되는 엘이디를 광원으로 하며, 상기 엘이디에서 출력되는 광의 지향각이 서로 다른 복수의 채널을 포함하고, 상기 채널은, 상기 엘이디가 적어도 하나 이상 구비되며, 상기 베이스프레임의 복수의 경사면 중 어느 하나의 경사면에 구비되는 기판; 및 상기 기판 상부에 구비되어 상기 엘이디에서 나오는 광을 소정범위의 협각으로 출사시키는 협각렌즈부;를 포함할 수 있다.In addition, the light emitting device for a lidar light source according to an embodiment of the present invention, in the light emitting device for a lidar light source, a base frame having a plurality of inclined surfaces having different inclination angles, and an LED provided on the base frame is a light source, and includes a plurality of channels having different directional angles of light output from the LED, wherein the channel includes at least one LED and is provided on any one inclined surface of the plurality of inclined surfaces of the base frame. substrate to be; and a narrow-angle lens unit provided on the substrate to emit the light emitted from the LED at a narrow angle within a predetermined range.
또한, 본 발명의 일실시 예에 따른 라이다 광원용 발광장치는, 상기 베이스프레임의 복수의 경사면은 상기 발광장치의 중심축를 기준으로 외측으로 갈수록 하방으로 더 경사진 형상을 가질 수 있다.In addition, in the light emitting device for a lidar light source according to an embodiment of the present invention, the plurality of inclined surfaces of the base frame may have a shape more inclined downward toward the outside with respect to the central axis of the light emitting device.
또한, 본 발명의 일실시 예에 따른 라이다 광원용 발광장치는, 상기 베이스프레임의 복수의 경사면은 상기 발광장치의 중심축을 기준으로 서로 대칭되도록 구비될 수 있다.In addition, in the light emitting device for a lidar light source according to an embodiment of the present invention, a plurality of inclined surfaces of the base frame may be provided to be symmetrical to each other with respect to a central axis of the light emitting device.
또한, 본 발명의 일실시 예에 따른 라이다 광원용 발광장치는, 상기 채널은 상기 협각렌즈부 상부에 구비되어 상기 엘이디에서 나와 상기 협각렌즈부를 통과한 광을 소정의 지향각으로 출사시키는 프리즘렌즈부;를 더 포함할 수 있다.In addition, in the light emitting device for a lidar light source according to an embodiment of the present invention, the channel is a prism lens provided on the narrow-angle lens unit to emit light coming out of the LED and passing through the narrow-angle lens unit at a predetermined directivity angle. It may further include;
또한, 본 발명의 일실시 예에 따른 라이다 광원용 발광장치는, 상기 각각의 채널에 구비되는 엘이디는 상기 베이스프레임의 복수의 경사면에 하나 구비되는 플렉서블 기판 상은 구비될 수 있다.In addition, in the light emitting device for a lidar light source according to an embodiment of the present invention, the LED provided in each channel may be provided on a flexible substrate provided on a plurality of inclined surfaces of the base frame.
상기와 같은 구성을 가지는 본 발명의 일실시 예에 따른 라이다 광원용 발광장치에 의하면, 종래 라이다 광원으로 사용되는 LD(Laser Diode) 또는 VCSEL 보다 가격이 낮은 근적외선 마이크로 엘이디를 라이다 광원으로 사용하여 저가격화를 실현할 수 있다.According to the light emitting device for a lidar light source according to an embodiment of the present invention having the above configuration, a near-infrared micro LED having a lower price than LD (Laser Diode) or VCSEL used as a conventional lidar light source is used as the lidar light source In this way, a lower price can be realized.
또한, 본 발명의 일실시 예에 따른 라이다 광원용 발광장치에 의하면, 서로 다른 지향각을 갖는 복수의 채널을 구비하여 라이다의 스캐닝 범위를 조절할 수 있다.In addition, according to the light emitting device for a lidar light source according to an embodiment of the present invention, it is possible to adjust the scanning range of the lidar by providing a plurality of channels having different directivity angles.
본 발명에 따른 효과들은 이상에서 언급된 효과들로 제한되지 않으며, 언급되지 않은 또 다른 효과들은 청구범위와 상세한 설명의 기재로부터 본 발명이 속하는 기술분야에서 통상의 지식을 가진자에게 명확하게 이해될 수 있을 것이다.Effects according to the present invention are not limited to the effects mentioned above, and other effects not mentioned will be clearly understood by those of ordinary skill in the art to which the present invention belongs from the description of the claims and detailed description. will be able
도 1은 일반적인 라이다 시스템의 원리도를 나타내는 도면이고,
도 2 및 도 3은 본 발명의 일실시 예에 따른 라이다 광원용 발광장치를 개략적으로 나타내는 도면이고,
도 4는 본 발명의 일실시 예에 따른 채널의 광학모듈을 개략적으로 나타내는 도면이고,
도 5는 본 발명의 다른 실시 예에 따른 채널의 광학모듈을 개략적으로 나타내는 도면이고,
도 6은 본 발명의 다른 실시 에에 따른 라이다 광원용 발광장치를 개략적으로 나타내는 도면이고,
도 7은 본 발명의 또 다른 실시 에에 따른 라이다 광원용 발광장치를 개략적으로 나타내는 도면이다.1 is a diagram showing the principle diagram of a general lidar system,
2 and 3 are views schematically showing a light emitting device for a lidar light source according to an embodiment of the present invention,
4 is a diagram schematically showing an optical module of a channel according to an embodiment of the present invention;
5 is a diagram schematically showing an optical module of a channel according to another embodiment of the present invention;
6 is a view schematically showing a light emitting device for a lidar light source according to another embodiment of the present invention,
7 is a view schematically showing a light emitting device for a lidar light source according to another embodiment of the present invention.
이하에서는 첨부한 도면을 참조하여 실시예를 구체적으로 설명한다. 첨부 도면을 참조하여 설명함에 있어, 동일한 구성요소는 동일한 도면 부호를 부여하고, 이에 대한 중복설명은 생략한다.Hereinafter, an embodiment will be described in detail with reference to the accompanying drawings. In the description with reference to the accompanying drawings, the same components are given the same reference numerals, and redundant description thereof will be omitted.
제1, 제2 등의 용어는 구성요소를 설명하는데 사용될 수 있으나, 상기 구성요소들은 상기 용어들에 한정되지 않고, 하나의 구성요소를 다른 구성요소와 구별하는 목적으로만 사용된다.Terms such as first and second may be used to describe the components, but the components are not limited to the above terms and are used only for the purpose of distinguishing one component from other components.
어떤 부분이 어떤 구성요소를 "포함"한다고 할 때, 이는 특별히 반대되는 기재가 없는 한 다른 구성요소를 제외하는 것이 아니라 다른 구성요소를 더 구비할 수 있다는 것을 의미한다.When a part "includes" a certain component, it means that other components may be further included, rather than excluding other components, unless otherwise stated.
도면에서 각 층(막), 영역, 패턴 또는 구조물들의 두께나 크기는 설명의 명확성 및 편의를 위하여 변형될 수 있으므로, 실제 크기를 전적으로 반영하는 것은 아니다. 실시 예들의 설명에 있어서, 각 층(막), 영역, 패턴 또는 구조물들이 기판, 각 층(막), 영역, 패드 또는 패턴들의 "위(over)", "상(on)"에 또는 "아래(under)"에 형성되는 것으로 기재되는 경우에 있어, "위(over)", "상(on)" 및 "아래(under)"는 "직접(directly)" 또는 "다른 층을 개재하여 (indirectly)" 형성되는 것을 모두 포함한다.In the drawings, the thickness or size of each layer (film), region, pattern, or structure may be changed for clarity and convenience of description, and thus does not fully reflect the actual size. In the description of the embodiments, each layer (film), region, pattern or structure is “over”, “on” or “below” the substrate, each layer (film), region, pad or pattern. In the case of being described as being formed on "under," "over," "on," and "under" refer to "directly" or "indirectly through another layer." )" includes all that are formed.
또한, "~상에"라 함은 대상 부재의 위 또는 아래에 위치함을 의미하는 것이며, 반드시 중력방향을 기준으로 상부에 위치하는 것을 의미하는 것은 아니다.In addition, "on" means to be positioned above or below the target member, and does not necessarily mean to be positioned above the target member based on the direction of gravity.
본 명세서에서 '상부', '하부', '상면', '밑면', '상방', '하방' 등과 같은 상대적인 용어는 도면에 도시된 방향을 기준으로 구성들간의 관계를 설명하기 위하여 사용될 수 있으며, 본 발명은 그러한 용어에 의해 한정되지 않는다.In this specification, relative terms such as 'upper', 'lower', 'top', 'bottom', 'up', 'down', etc. may be used to describe the relationship between components based on the direction shown in the drawings, and , the present invention is not limited by such terms.
각 실시예는 독립적으로 실시되거나 함께 실시될 수 있으며, 발명의 목적에 부합하게 일부 구성요소는 제외될 수 있다.Each embodiment may be implemented independently or together, and some components may be excluded in accordance with the purpose of the invention.
도 2 및 도 3은 본 발명의 일실시 예에 따른 라이다 광원용 발광장치를 개략적으로 나타내는 도면이다.2 and 3 are diagrams schematically showing a light emitting device for a lidar light source according to an embodiment of the present invention.
도 2 및 도 3을 참조하면, 본 발명의 일실시 예에 따른 라이다 광원용 발광장치(10)는 엘이디(15)를 광원으로 하며, 서로 다른 지향각을 가지는 복수의 채널(40,41,42,43)을 포함할 수 있다.2 and 3, the
예를 들어, 도 2에서 보이는 바와 같이, 상기 복수의 채널은 4개의 채널 즉, 상기 발광장치(10)의 중심축(11)을 기준으로 제1지향각(θ1)을 가지는 제1채널(40), 제2지향각(θ2)을 가지는 제2채널(41), 제3지향각(θ3)을 가지는 제3채널(42), 제4지향각(θ4)을 가지는 제4채널(43)을 포함할 수 있다.For example, as shown in FIG. 2 , the plurality of channels includes four channels, that is, a first channel ( θ1 ) having a first orientation angle θ 1 with respect to the
또한, 상기 복수의 채널은 상기 발광장치(10)의 중심축(11)을 기준으로 서로 대칭적인 지향각을 가지도록 형성될 수 있다.Also, the plurality of channels may be formed to have symmetrical beam angles with respect to the
예를 들어, 상기 제1지향각(θ1)은 대략 -5도, 제2지향각(θ2)은 5도, 제3지향각(θ3)은 -15도, 제4지향각(θ4)은 15도로 형성될 수 있다.For example, the first facing angle θ1 is approximately -5 degrees, the second facing angle θ2 is 5 degrees, the third facing angle θ3 is -15 degrees, and the fourth facing angle θ is −5 degrees.4 ) can be formed at 15 degrees.
또 다른 실시 예로, 도 3에서 보이는 바와 같이, 상기 복수의 채널은 6개의 채널 즉, 상기 발광장치(10)의 중심축(11)을 기준으로 제1지향각(θ1)을 가지는 제1채널(40), 제2지향각(θ2)을 가지는 제2채널(41), 제3지향각(θ3)을 가지는 제3채널(42), 제4지향각(θ4)을 가지는 제4채널(43), 제5지향각(θ5)을 가지는 제5채널(44), 제6지향각(θ6)을 가지는 제6채널(45)을 포함할 수 있다.In another embodiment, as shown in FIG. 3 , the plurality of channels includes six channels, that is, a first channel having a first orientation angle θ1 with respect to the
또한, 상기 복수의 채널은 상기 발광장치(10)의 중심축(11)을 기준으로 서로 대칭적인 지향각을 가지도록 형성될 수 있다.Also, the plurality of channels may be formed to have symmetrical beam angles with respect to the
예를 들어, 상기 제1지향각(θ1)은 대략 -5도, 제2지향각(θ2)은 5도, 제3지향각(θ3)은 -15도, 제4지향각(θ4)은 15도, 제5지향각(θ5)은 -30도, 제6지향각(θ6)은 30도로 형성될 수 있다.For example, the first facing angle θ1 is approximately -5 degrees, the second facing angle θ2 is 5 degrees, the third facing angle θ3 is -15 degrees, and the fourth facing angle θ is −5 degrees.4 ) may be 15 degrees, the fifth heading angle θ5 may be -30 degrees, and the sixth heading angle θ6 may be formed at 30 degrees.
위와 같이, 본 발명의 일실시 예에 따른 발광장치(10)가 서로 다른 지향각을 갖는 복수의 채널을 구비하면, 라이다(LiDAR)의 스캐닝 범위를 조절할 수 있다.As described above, when the
도 4는 본 발명의 일실시 예에 따른 채널의 광학모듈을 개략적으로 나타내는 도면이다.4 is a diagram schematically showing an optical module of a channel according to an embodiment of the present invention.
도 4를 참조하면, 본 발명의 일실시 예에 따른 채널(40,41,42,43) 각각의 광학모듈은 기판(12), 엘이디(15), 협각렌즈부(17), 프리즘렌즈부(19)를 포함할 수 있다.4, the optical module of each of the
상기 엘이디(15)는 대략 5 ~ 100㎛의 크기를 갖는 초소형의 마이크로 엘이디가 사용될 수 있으며, 복수개가 상기 기판(12) 상에 소정간격으로 배열되어 구비될 수 있다.As the
예를 들어, 도면에서 보이는 바와 같이, 상기 복수의 채널(40,41,42,43) 중 어느 하나의 채널을 이루는 엘이디(401,411,421,431)는 상기 기판(12) 상에 하나 구비될 수 있다.For example, as shown in the drawing, one
다만, 본 발명은 이에 한정하는 것은 아니며, 상기 어느 하나의 채널을 이루는 엘이디(401,411,421,431)는 상기 기판(12) 상에 복수개가 소정간격으로 배열되어 구비될 수 있다.However, the present invention is not limited thereto, and a plurality of
예를 들어, 상기 제1채널(40)에 구비되는 엘이디(401), 상기 제2채널(41)에 구비되는 엘이디(411), 상기 제3채널(42)에 구비되는 엘이디(421) 및 상기 제4채널(43)에 구비되는 엘이디(431)는 각각 상기 기판(12) 상에 가로 방향 또는/및 세로방향으로 소정간격으로 복수개가 구비될 수 있다.For example, the
또한, 도면에서 보이는 바와 같이, 상기 복수의 채널(40,41,42,43)을 이루는 모든 엘이디(15)는 하나의 기판(12) 상에 구비될 수 있다. 다만, 본 발명은 이에 한정하는 것은 아니며, 상기 각각의 채널을 이루는 엘이디는 각각 개별적인 기판 상에 구비될 수도 있다. 즉, 상기 기판(12)은 상기 복수의 채널 개수만큼 구비될 수 있다.In addition, as shown in the drawing, all the
상기 협각렌즈부(17)는 상기 기판(12) 상부에 구비되어 상기 어느 하나의 채널을 이루는 엘이디(15)에서 나오는 광을 소정범위의 협각으로 출사시키도록 구비될 수 있다.The narrow-
상기 프리즘렌즈부(19)는 상기 협각렌즈부(17) 상부에 구비되어 상기 어느 하나의 채널을 이루는 엘이디(15)에서 나와 상기 협각렌즈부(17)를 통과한 광을 소정의 지향각으로 출사시키도록 구비될 수 있다.The
이때, 상기 각각의 채널(40,41,42,43)에 구비되는 프리즘렌즈부(19)는 상기 각각의 채널(40,41,42,43)에서 출사하는 광이 서로 다른 지향각을 가지도록 구비될 수 있다.At this time, the
본 발명에 따른 라이다 광원용 발광장치(10)는 종래 라이다 광원으로 사용되는 LD(Laser Diode) 또는 VCSEL 보다 가격이 낮은 엘이디(15)를 라이다 광원으로 대체하기 위한 것으로서, 라이다 광원으로 상기 엘이디(15)를 사용하기 위해서는 종래 Laser Diode 또는 VCSEL과 같은 광파워를 가지도록 복수의 마이크로 엘이디(15)를 배열하여 구성할 필요가 있다.The
또한, 라이다 시스템은 광원에서 피사체로 광을 조사한 후 상기 피사체에서 반사되어 되돌아오는 시간을 계산함으로써 물체의 위치와 거리 정보를 확인하기 때문에, 라이다 광원으로 상기 소정간격으로 배열된 복수의 엘이디(15)를 사용하는 경우에는 상기 각각의 엘이디(15)에서 나오는 광의 각도가 서로다른 지향각을 가지도록 구성할 필요가 있다.In addition, since the lidar system checks the position and distance information of an object by calculating the time to reflect and return from the subject after irradiating light from the light source to the subject, a plurality of LEDs arranged at predetermined intervals as a LiDAR light source ( 15), it is necessary to configure the angles of the light emitted from the
그러나, 일반적으로 상기 엘이디(15) 각각에서 나오는 광분포는 대략 120도 범위의 광분포를 가지기 때문에, 상기 각각의 엘이디(15)에서 나오는 광의 각도가 서로 다른 지향각을 가지도록 구성하기 어렵다.However, in general, since the light distribution from each of the
이를 위해, 본 발명의 일실시 예에 따른 라이다 광원용 발광장치(10)는 상기 어느 하나의 채널(40,41,42,43)을 이루는 엘이디(15)의 상부에 상기 협각렌즈부(17)를 구비하여 상기 어느 하나의 채널(40,41,42,43)을 이루는 엘이디(15)에서 나오는 광을 소정범위의 협각으로 출사되도록 한 후, 상기 협각렌즈부(17) 상부에 상기 프리즘렌즈부(19)를 구비하여 상기 협각렌즈부(17)를 통과하여 소정범위의 협각으로 출사하는 광을 상기 프리즘렌즈부(19)를 통해 서로 다른 지향각을 출사되도록 한 것이다.To this end, the
상기 협각렌즈부(17)는 3개의 렌즈군 예를 들어, 볼록렌즈, 오목렌즈, 볼록렌즈 등이 순차적으로 배열되어 상기 엘이디(15)에서 나오는 광을 대략 10°의 협각으로 출사하도록 구성될 수 있다.The narrow-
다만, 본 발명은 상기 협각렌즈부(17)의 구체적인 구성에 의해 한정하는 것은 아니며, 상기 협각렌즈부(17)의 구체적인 구성은 본 발명이 속하는 기술분야에서 통상의 지식을 가진자가 쉽게 구성할 수 있는 다양한 형태로 변형될 수 있다.However, the present invention is not limited by the specific configuration of the narrow-
또한, 상기 각각의 채널(40,41,42,43)에 구비되는 프리즘렌즈부(19)는 상기 발광장치(10)의 중심축(11)를 기준으로 외측으로 갈수록 상방으로 더 경사진 형상을 가질 수 있다.In addition, the
예를 들어, 도면에서 보이는 바와 같이, 상기 발광장치(10)의 중심축(11)을 기준으로 상기 제1채널(40)보다 더 외측에 위치하는 상기 제3채널(42)에 구비되는 프리즘렌즈부(422)는, 상기 제1채널(40)에 구비되는 프리즘렌즈부(402)와 비교하여 상방으로 더 경사진 형상을 가질 수 있다.For example, as shown in the drawing, a prism lens provided in the
마찬가지로, 상기 발광장치(10)의 중심축(11)을 기준으로 상기 제2채널(41)보다 더 외측에 위치하는 상기 제4채널(43)에 구비되는 프리즘렌즈부(432)는, 상기 제2채널(41)에 구비되는 프리즘렌즈부(412)와 비교하여 상방으로 더 경사진 형상을 가질 수 있다.Similarly, the
또한, 상기 각각의 채널(40,41,42,43)에 구비되는 프리즘렌즈부(19)는 상기 발광장치(10)의 중심축(11)을 기준으로 서로 대칭되도록 구비될 수 있다.In addition, the
즉, 상기 제1채널(40)에 구비되는 프리즘렌즈부(402)와 상기 제2채널(41)에 구비되는 프리즘렌즈부(412)는 상기 중심축(11)을 기준으로 서로 대칭되도록 형성되고, 상기 제3채널(42)에 구비되는 프리즘렌즈부(422)와 상기 제4채널(43)에 구비되는 프리즘렌즈부(432)는 상기 중심축(11)을 기준으로 서로 대칭되도록 형성될 수 있다.That is, the
도 5는 본 발명의 다른 실시 예에 따른 채널의 광학모듈을 개략적으로 나타내는 도면이다.5 is a diagram schematically showing an optical module of a channel according to another embodiment of the present invention.
도 5를 참조하면, 본 실시 예에 따른 채널(40,41,42,43) 각각의 광학모듈은 상기 협각렌즈부(17)와 상기 프리즘렌즈부(19)를 일체화하여(one-body) 마이크로 렌즈 어레이(Micro Lens Array)(20) 형태로 구성할 수 있다.5, the optical module of each of the
즉, 본 실시 예에 따른 채널(40,41,42,43) 각각의 광학모듈은 상기 엘이디(15)에서 나오는 광을 소정범위의 협각으로 출사시키는 협각렌즈부(17)와, 상기 협각렌즈부(17)를 통과한 광을 서로 다른 지향각으로 출사시키는 프리즘렌즈부(19)를 하나의 시트에 일체로 형성하여 원가 절감과 공정 단순화가 가능하도록 한 것이다.That is, the optical module of each of the
상기 마이크로 렌즈 어레이(20)는 몸체(23)와, 사기 몸체(23)의 일면(25)에 상기 각각의 채널(40,41,42,43)에 구비되는 엘이디(15)에 대응하도록 배열되는 렌즈부(30)를 포함할 수 있다.The
또한, 상기 각각의 채널(40,41,42,43)에 구비되는 렌즈부(30)는 상기 엘이디(15)에서 나오는 광을 소정범위의 협각으로 출사시킴과 동시에 상기 마이크로 엘이디(15) 각각에서 나오는 광을 서로 다른 지향각으로 출사시키도록 구비될 수 있다.In addition, the
이를 위해, 상기 렌즈부(30)는 상방으로 볼록한 형상을 가지며, 상기 각각의 채널(40,41,42,43)에 구비되는 렌즈부(30)의 볼록한 형상은 상기 볼록한 형상의 중심축이 상기 발광장치(10)의 중심축(14)를 기준으로 외측으로 갈수록 외측으로 더 기울어진 형상을 가질 수 있다.To this end, the
예를 들어, 상기 제1채널(40) 렌즈부(403)의 중심축(404)의 기울어진 각도와 상기 제2채널(41) 렌즈부(413)의 중심축(414)의 기울어진 각도는 상기 발광장치(10)의 중심축(11)에서 외측방향으로 소정각도 기울어질 수 있으며(따라서, 상기 제1채널(40) 렌즈부(403)의 중심축(404)과 상기 제2채널(41) 렌즈부(413)의 중심축(414)은 서로 반대방향으로 기울어질 수 있다), 상기 제3채널(42) 렌즈부(423)의 중심축(424)의 기울어진 각도는 상기 제1채널(40) 렌즈부(403)의 중심축(404)의 기울어진 각도보다 더 외측으로 기울어질 수 있으며, 마찬가지로 상기 제4채널(43) 렌즈부(433)의 제4 중심축(434)의 기울어진 각도는 상기 제2채널(41) 렌즈부(413)의 중심축(414)의 기울어진 각도보다 더 외측으로 기울어질 수 있다.For example, the inclination angle of the
그러면, 상기 각각의 채널(40,41,42,43)에 구비되는 엘이디(15)에서 나와 상기 렌즈부(30)를 통해 출사하는 광은 소정범위의 협각으로 서로 다른 지향각으로 출사될 수 있다.Then, the light emitted from the
또한, 상기 각각의 채널(40,41,42,43)에 구비되는 렌즈부(403,413,423,433)의 배열과 형상은 상기 발광장치(10)의 중심축(11)을 기준으로 서로 대칭되도록 구비될 수 있다.In addition, the arrangement and shape of the lens units 403,413 , 423,433 provided in each of the
예를 들어, 상기 제1채널(40)의 렌즈부(403)와 상기 제2채널(41)의 렌즈부(413)는 상기 중심축(11)을 기준으로 서로 대칭되도록 구비될 수 있으며, 마찬가지로 상기 제3채널(42)의 렌즈부(423)와 상기 제4채널(43)의 렌즈부(433)는 상기 중심축(11)을 기준으로 서로 대칭되도록 구비될 수 있다.For example, the
도 6은 본 발명의 다른 실시 에에 따른 라이다 광원용 발광장치를 개략적으로 나타내는 도면이다.6 is a view schematically showing a light emitting device for a lidar light source according to another embodiment of the present invention.
도 6을 참조하면, 본 실시 예에 따른 발광장치(10)는 상기 실시 예들과 비교하여 서로 다른 경사각(θ1,θ2,θ3,θ4)을 가지는 복수의 경사면(51,52,53,54)을 구비하는 베이스프레임(50)을 더 포함할 수 있다.Referring to FIG. 6 , the
그리고, 상기 각각의 채널(40,41,42,43)의 기판(405,415,425,435)은 상기 베이스프레임(50)의 복수의 경사면(51,52,53,54) 중 어느 하나의 경사면에 구비될 수 있다.In addition, the
예를 들어, 상기 제1채널(40)의 기판(405)은 제1경사각(θ1)을 가지는 제1경사면(51)에 구비될 수 있으며, 상기 제2채널(41)의 기판(415)은 제2경사각(θ2)을 가지는 제2경사면(52)에 구비될 수 있으며, 상기 제3채널(42)의 기판(425)은 제3경사각(θ3)을 가지는 제3경사면(53)에 구비될 수 있으며, 상기 제4채널(43)의 기판(435)은 제4경사각(θ4)을 가지는 제4경사면(54)에 구비될 수 있다.For example, the
그러면, 상기 복수의 채널(40,41,42,43) 각각에서 출사하는 광이 서로 다른 지향각으로 출사하도록 구성하기가 용이해질 수 있다.Then, it may be easy to configure the light emitted from each of the plurality of
이때, 상기 각각의 채널(40,41,42,43)에는 상기 협각렌즈부(17)와 상기 프리즘렌즈부(19)가 구비될 수도 있으며, 이에 대한 상세한 설명은 상기 실시예에서의 상세한 설명을 원용한다.At this time, the narrow-
또한, 상기 베이스프레임(50)의 복수의 경사면(51,52,53,54)은 상기 발광장치(10)의 중심축(11)를 기준으로 외측으로 갈수록 하방으로 더 경사진 형상을 가질 수 있다.In addition, the plurality of
예를 들어, 상기 제1경사면(51)의 기울어진 각도(θ1)와 상기 제2경사면(52)의 기울어진 각도(θ2)는 상기 발광장치(10)의 중심축(11)에서 외측방향으로 소정각도 기울어질 수 있으며(따라서, 상기 제1경사면(51)과 상기 제2경사면(52)은 서로 반대방향으로 기울어질 수 있다), 상기 제3경사면(53)의 기울어진 각도(θ3)는 상기 제1경사면(51)의 기울어진 각도(θ1)보다 더 외측으로 기울어질 수 있으며, 마찬가지로 상기 제4경사면(54)의 기울어진 각도(θ4)는 상기 제2경사면(52)의 기울어진 각도(θ2)보다 더 외측으로 기울어질 수 있다.For example, the inclined angle θ1 of the first
그러면, 상기 각각의 채널(40,41,42,43)에서 구비되는 엘이디(15)에서 나와 상기 협각렌즈부(17)를 통해 출사하는 광은 소정범위의 협각으로 서로 다른 지향각으로 출사될 수 있다.Then, the light emitted from the
또한, 상기 베이스프레임(50)의 복수의 경사면(51,52,53,54)은 상기 발광장치(10)의 중심축(11)을 기준으로 서로 대칭되도록 구비될 수 있다.Also, the plurality of
예를 들어, 상기 제1경사면(51)과 상기 제2경사면(52)은 상기 중심축(11)을 기준으로 서로 대칭되도록 구비될 수 있으며, 마찬가지로 상기 제3경사면(53)과 상기 제4경사면(54)은 상기 중심축(11)을 기준으로 서로 대칭되도록 구비될 수 있다.For example, the first
도 7은 본 발명의 또 다른 실시 에에 따른 라이다 광원용 발광장치를 개략적으로 나타내는 도면이다.7 is a view schematically showing a light emitting device for a lidar light source according to another embodiment of the present invention.
도 7을 참조하면, 본 실시 예에 따른 발광장치(10)는 상기 베이스프레임(50)의 복수의 경사면(51,52,53,54) 상에 하나의 플렉서블 기판(13)이 구비된다는 점에서, 상기 도 6에 따른 발광장치(10)가 상기 각각의 채널(40,41,42,43)별로 별도의 기판(405,415,425,435)이 구비되는 것과 차이가 있다.Referring to FIG. 7 , in the
즉, 본 실시 예에 따른 발광장치(10)는 상기 각각의 채널(40,41,42,43)에 구비되는 엘이디(401,411,421,431)는 상기 베이스프레임(50)의 복수의 경사면(51,52,53,54)에 하나 구비되는 플렉서블 기판(13) 상에 구비될 수 있다.That is, in the
이상에서 살펴본 바와 같이, 본 발명은 엘이디를 라이다 광원으로 사용하여 원가를 낮출 수 있으며, 서로 다른 지향각을 갖는 복수의 채널을 구비하여 라이다의 스캐닝 범위를 조절할 수 있는 라이다 광원용 발광장치에 관한 것으로서, 그 실시 형태는 다양한 형태로 변경가능하다 할 것이다. 따라서 본 발명은 본 명세서에서 개시된 실시 예에 의해 한정되지 않으며, 본 발명이 속하는 기술분야에서 통상의 지식을 가진 자가 변경 가능한 모든 형태도 본 발명의 권리범위에 속한다 할 것이다.As described above, the present invention can reduce the cost by using an LED as a lidar light source, and includes a plurality of channels having different directivity angles to control the scanning range of the lidar light source. As to, the embodiment will be said to be changeable in various forms. Therefore, the present invention is not limited by the embodiments disclosed herein, and all forms that can be changed by a person of ordinary skill in the art to which the present invention pertains will also fall within the scope of the present invention.
10 : 라이다 광원용 발광장치
11 : 중심축12 : 기판
13 : 플렉서블 기판15 : 엘이디
17 : 협각렌즈부19 : 프리즘렌즈부
20 : 마이크로 렌즈 어레이
30 : 렌즈부
40. 41. 42. 43 : 채널10: light emitting device for lidar light source
11: central axis 12: substrate
13: flexible substrate 15: LED
17: narrow-angle lens unit 19: prism lens unit
20: micro lens array
30: lens unit
40. 41. 42. 43: Channel
| Application Number | Priority Date | Filing Date | Title |
|---|---|---|---|
| KR20200187220 | 2020-12-30 | ||
| KR1020200187220 | 2020-12-30 |
| Publication Number | Publication Date |
|---|---|
| KR20220097220Atrue KR20220097220A (en) | 2022-07-07 |
| Application Number | Title | Priority Date | Filing Date |
|---|---|---|---|
| KR1020210162998APendingKR20220097220A (en) | 2020-12-30 | 2021-11-24 | Light emitting device for LiDAR light source including plural channels having different beam angle |
| Country | Link |
|---|---|
| KR (1) | KR20220097220A (en) |
| Publication number | Priority date | Publication date | Assignee | Title |
|---|---|---|---|---|
| KR102585697B1 (en)* | 2022-11-24 | 2023-10-06 | 주식회사 마이크로시스템즈 | LED Light Source Device with Reflector |
| WO2024063203A1 (en)* | 2022-09-19 | 2024-03-28 | 주식회사 위멤스 | Device for sensing position of structure and mems scanner package comprising same |
| WO2024076194A1 (en)* | 2022-10-06 | 2024-04-11 | 엘지이노텍 주식회사 | Light output device and three-dimensional sensing device including same |
| Publication number | Priority date | Publication date | Assignee | Title |
|---|---|---|---|---|
| WO2024063203A1 (en)* | 2022-09-19 | 2024-03-28 | 주식회사 위멤스 | Device for sensing position of structure and mems scanner package comprising same |
| WO2024076194A1 (en)* | 2022-10-06 | 2024-04-11 | 엘지이노텍 주식회사 | Light output device and three-dimensional sensing device including same |
| KR102585697B1 (en)* | 2022-11-24 | 2023-10-06 | 주식회사 마이크로시스템즈 | LED Light Source Device with Reflector |
| Publication | Publication Date | Title |
|---|---|---|
| US12379469B2 (en) | Multi-channel LiDAR sensor module | |
| US11435446B2 (en) | LIDAR signal acquisition | |
| KR20220097220A (en) | Light emitting device for LiDAR light source including plural channels having different beam angle | |
| US11808887B2 (en) | Methods and systems for mapping retroreflectors | |
| US20200225327A1 (en) | Variable Beam Spacing, Timing, and Power for Vehicle Sensors | |
| CN113433564B (en) | Laser radar and method for ranging using laser radar | |
| US11644543B2 (en) | LiDAR systems and methods that use a multi-facet mirror | |
| KR102816316B1 (en) | A laser emitting array and a lidar device employing thereof | |
| KR102505575B1 (en) | Optic module for reducing noise and lidar device using the same | |
| KR102633680B1 (en) | Lidar device | |
| US20230393245A1 (en) | Integrated long-range narrow-fov and short-range wide-fov solid-state flash lidar system | |
| WO2021175227A1 (en) | Laser radar, and method for ranging using laser radar | |
| CN110658527A (en) | LiDAR, Autonomous Mobile Robots and Smart Vehicles | |
| JP2024515659A (en) | Optical detection device and vehicle, laser radar, and detection method | |
| CN113030911A (en) | Laser radar system | |
| WO2023092859A1 (en) | Laser radar transmitting apparatus, laser radar apparatus, and electronic device | |
| EP4321903A1 (en) | Solid-state laser radar and method for detecting by using same | |
| US20230145710A1 (en) | Laser receiving device, lidar, and intelligent induction apparatus | |
| CN114690155A (en) | A photoelectric detection device and electronic equipment | |
| CN114415189B (en) | A laser radar system and calibration method thereof | |
| KR20230155523A (en) | laser radar | |
| US20230042957A1 (en) | Lidar device | |
| US20210302543A1 (en) | Scanning lidar systems with flood illumination for near-field detection | |
| WO2023050398A1 (en) | Lidar transmitting apparatus, lidar apparatus and an electronic device | |
| KR102761657B1 (en) | A lidar device comprising a laser emitting assembly and a laser detecting assembly |
| Date | Code | Title | Description |
|---|---|---|---|
| PA0109 | Patent application | Patent event code:PA01091R01D Comment text:Patent Application Patent event date:20211124 | |
| PG1501 | Laying open of application |