















본 개시는 증기화기 및 이를 포함하는 에어로졸 발생 장치에 관한 것이다. 보다 상세하게는, 기류관 막힘 현상 및 액적 토출 현상에 대한 방지 설계가 적용된 증기화기 및 이를 포함하는 에어로졸 발생 장치에 관한 것이다.The present disclosure relates to a vaporizer and an aerosol-generating device comprising the same. More specifically, it relates to a vaporizer to which a design to prevent clogging of an airflow pipe and a droplet discharge phenomenon is applied, and an aerosol-generating device including the same.
근래에 일반적인 궐련의 단점들을 극복하는 대체 방법에 관한 수요가 증가하고 있다. 예를 들어, 액상의 에어로졸 형성 기재를 가열하여 에어로졸을 발생시키는 장치(e.g. 액상형 전자 담배)에 관한 수요가 증가하고 있다. 이에 따라, 액상형 에어로졸 발생 장치에 관한 연구가 활발하게 이루어지고 있다.In recent years, there has been an increasing demand for alternative methods that overcome the disadvantages of conventional cigarettes. For example, there is an increasing demand for devices (e.g. liquid electronic cigarettes) that generate an aerosol by heating a liquid aerosol-forming substrate. Accordingly, research on a liquid aerosol generating device has been actively conducted.
일반적으로, 액상형 에어로졸 발생 장치는 윅을 통해 흡수된 액상을 가열요소로 가열함으로써 에어로졸을 발생시키고, 발생된 에어로졸은 기류관을 통해 마우스피스 방향으로 전달된다.In general, a liquid aerosol generating device generates an aerosol by heating a liquid absorbed through a wick with a heating element, and the generated aerosol is delivered to the mouthpiece through an airflow pipe.
그런데, 액상 기화 시 윅에서 발생된 액적이 기류관 내부로 유입되거나, 기류관 내부에서 에어로졸이 응축되는 현상이 빈번하게 발생될 수 있다. 유입된 액적과 에어로졸의 응축물은 기류관의 내벽에 점착되어 액막을 형성할 수 있다. 이렇게 형성된 액막은 기류 패스를 막거나(blocking), 퍼프에 의해 순간적으로 형성되는 음압에 의해 기류관 외부로 토출되어 상당한 불쾌감을 유발할 수 있다.However, during liquid vaporization, droplets generated from the wick may flow into the airflow pipe, or a phenomenon in which the aerosol is condensed inside the airflow pipe may occur frequently. The introduced droplets and the condensate of the aerosol may adhere to the inner wall of the airflow tube to form a liquid film. The liquid film thus formed may block the airflow path or may be discharged to the outside of the airflow tube by the negative pressure instantaneously formed by the puff, causing considerable discomfort.
본 개시의 몇몇 실시예들을 통해 해결하고자 하는 기술적 과제는, 기류관 막힘 현상 및 액적 토출 현상에 대한 방지 설계가 적용된 증기화기 및 이를 포함하는 에어로졸 발생 장치를 제공하는 것이다.A technical problem to be solved through some embodiments of the present disclosure is to provide an aerosol-generating device including a vaporizer to which a design to prevent clogging of an airflow pipe and a droplet discharge phenomenon is applied.
본 개시의 몇몇 실시예들을 통해 해결하고자 하는 다른 기술적 과제는, 액적 발생 현상과 무화량을 고려한 전력 제어 기능을 구비한 에어로졸 발생 장치 및 그의 전력 제어 방법을 제공하는 것이다.Another technical problem to be solved through some embodiments of the present disclosure is to provide an aerosol generating device and a power control method thereof having a power control function in consideration of the droplet generation phenomenon and the atomization amount.
본 개시의 기술적 과제들은 이상에서 언급한 기술적 과제들로 제한되지 않으며, 언급되지 않은 또 다른 기술적 과제들은 아래의 기재로부터 본 개시의 기술분야에서의 통상의 기술자에게 명확하게 이해될 수 있을 것이다.The technical problems of the present disclosure are not limited to the above-mentioned technical problems, and other technical problems not mentioned will be clearly understood by those skilled in the art from the following description.
상기 기술적 과제를 해결하기 위한, 본 개시의 몇몇 실시예들에 따른 증기화기는, 액상의 에어로졸 형성 기재를 저장하는 액상 저장조, 상기 저장된 에어로졸 형성 기재를 흡수하는 윅(wick), 상기 흡수된 에어로졸 형성 기재를 가열하여 에어로졸을 발생시키는 가열요소 및 내벽의 적어도 일부 영역에 젖음성(wettability)을 증가시키는 표면처리가 수행되고, 상기 발생된 에어로졸을 마우스피스 방향으로 전달하는 기류관을 포함할 수 있다.Vaporizer according to some embodiments of the present disclosure for solving the technical problem, a liquid storage tank for storing a liquid aerosol-forming substrate, a wick for absorbing the stored aerosol-forming substrate, the absorbed aerosol formation It may include a heating element for generating an aerosol by heating the substrate, and a surface treatment for increasing wettability on at least a partial region of the inner wall, and an airflow tube for delivering the generated aerosol in the direction of the mouthpiece.
몇몇 실시예들에서, 상기 표면처리는 상기 적어도 일부 영역의 접촉각이 15° 이하가 되도록 수행될 수 있다.In some embodiments, the surface treatment may be performed so that the contact angle of the at least partial region is 15° or less.
몇몇 실시예들에서, 상기 표면처리는 도금처리를 포함할 수 있다.In some embodiments, the surface treatment may include plating.
몇몇 실시예들에서, 상기 표면처리는 친수코팅을 포함할 수 있다.In some embodiments, the surface treatment may include a hydrophilic coating.
몇몇 실시예들에서, 상기 윅은 상기 기류관의 하부 방향에 위치하고, 상기 기류관 내벽의 하부 영역에 상기 표면처리가 수행될 수 있다.In some embodiments, the wick may be positioned in a lower direction of the airflow tube, and the surface treatment may be performed on a lower region of an inner wall of the airflow tube.
몇몇 실시예들에서, 상기 윅은 상기 기류관의 하부 방향에 위치하고, 상기 적어도 일부 영역은 제1 영역과 상기 제1 영역의 상부 방향에 위치한 제2 영역을 포함하며, 상기 제1 영역의 젖음성이 상기 제2 영역보다 높아지도록 상기 표면처리가 수행될 수 있다.In some embodiments, the wick is located in a downward direction of the airflow conduit, and the at least partial region includes a first region and a second region located in an upper direction of the first region, wherein the wettability of the first region is The surface treatment may be performed so as to be higher than the second area.
몇몇 실시예들에서, 상기 윅은 상기 기류관의 하부 방향에 위치하고, 상기 적어도 일부 영역은 복수의 제1 영역과 상기 제1 영역 사이에 위치한 제2 영역을 포함하며, 상기 복수의 제1 영역은 상기 하부 방향을 따라 형성되고, 상기 제1 영역에 상기 표면처리가 수행될 수 있다.In some embodiments, the wick is located in a downward direction of the airflow conduit, the at least some region includes a plurality of first regions and a second region located between the first regions, the plurality of first regions comprising: It is formed along the downward direction, and the surface treatment may be performed on the first region.
상술한 본 개시의 다양한 실시예들에 따르면, 기류관의 내벽에 젖음성(wettability)을 증가시키는 표면처리가 수행될 수 있다. 이러한 표면처리는 기류관 내벽에 액상이 점착되는 것을 억제하고, 액상이 중력 방향으로 빠르게 배출되도록 함으로써, 기류관 막힘 현상 및 액적 토출 현상을 미연에 방지할 수 있다. 이에 따라, 사용자의 흡연 만족도는 향상될 수 있다.According to various embodiments of the present disclosure described above, a surface treatment for increasing wettability may be performed on the inner wall of the airflow tube. This surface treatment suppresses the adhesion of the liquid to the inner wall of the airflow tube and allows the liquid to be discharged rapidly in the direction of gravity, thereby preventing clogging of the airflow tube and the discharge of droplets in advance. Accordingly, the user's smoking satisfaction may be improved.
또한, 윅에서의 액적 발생 정도를 기초로 공급 전력이 조절될 수 있는데, 이로 인해 기류관 막힘 현상과 액적 토출 현상이 더욱 방지될 수 있다.In addition, the supply power may be adjusted based on the degree of droplet generation in the wick, which may further prevent clogging of the airflow tube and droplet discharge.
본 개시의 기술적 사상에 따른 효과들은 이상에서 언급한 효과들로 제한되지 않으며, 언급되지 않은 또 다른 효과들은 아래의 기재로부터 통상의 기술자에게 명확하게 이해될 수 있을 것이다.Effects according to the technical spirit of the present disclosure are not limited to the above-mentioned effects, and other effects not mentioned will be clearly understood by those skilled in the art from the following description.
도 1은 본 개시의 몇몇 실시예들에 따른 에어로졸 발생 장치를 개략적으로 나타내는 예시적인 구성도이다.
도 2는 본 개시의 몇몇 실시예들에 따른 증기화기를 개략적으로 나타내는 예시적인 구성도이다.
도 3은 액적 발생 현상, 기류관 막힘 현상 및 액적 토출 현상을 설명하기 위한 예시도이다.
도 4 및 도 5는 공급 전력과 액적 발생 현상 및 무화량 간의 관계를 설명하기 위한 실험 결과이다.
도 6 내지 도 8은 본 개시의 몇몇 실시예들에 따라 기류관 막힘 현상 및 액적 토출 현상에 대한 방지 설계가 적용된 기류관을 설명하기 위한 도면이다.
도 9는 본 개시의 다른 몇몇 실시예들에 따라 기류관 막힘 현상 및 액적 토출 현상에 대한 방지 설계가 적용된 기류관을 설명하기 위한 도면이다.
도 10은 본 개시의 또 다른 몇몇 실시예들에 따라 기류관 막힘 현상 및 액적 토출 현상에 대한 방지 설계가 적용된 기류관을 설명하기 위한 도면이다.
도 11 및 도 12는 본 개시의 몇몇 실시예들에 따라 액적 발생 현상에 대한 방지 설계가 적용된 윅을 설명하기 위한 도면이다.
도 13 및 도 14는 본 개시의 몇몇 실시예들에 따른 에어로졸 발생 장치의 전력 제어 방법을 나타내는 예시적인 흐름도이다.
도 15 및 도 16은 본 개시의 몇몇 실시예들에 따른 증기화기가 적용될 수 있는 다른 유형의 에어로졸 발생 장치를 예시한다.1 is an exemplary configuration diagram schematically showing an aerosol-generating device according to some embodiments of the present disclosure.
2 is an exemplary configuration diagram schematically illustrating a vaporizer according to some embodiments of the present disclosure.
3 is an exemplary view for explaining a droplet generation phenomenon, an airflow pipe clogging phenomenon, and a droplet discharge phenomenon.
4 and 5 are experimental results for explaining the relationship between the supply power, the droplet generation phenomenon, and the atomization amount.
6 to 8 are diagrams for explaining an airflow pipe to which a design to prevent clogging of an airflow pipe and a droplet discharge phenomenon is applied according to some embodiments of the present disclosure;
9 is a view for explaining an airflow pipe to which a design to prevent clogging of an airflow pipe and a droplet discharge phenomenon is applied according to some other embodiments of the present disclosure;
FIG. 10 is a view for explaining an airflow pipe to which a design for preventing airflow pipe clogging and droplet discharge is applied, according to some other embodiments of the present disclosure;
11 and 12 are diagrams for explaining a wick to which a design preventing a droplet generation phenomenon is applied according to some embodiments of the present disclosure.
13 and 14 are exemplary flowcharts illustrating a power control method of an aerosol-generating device according to some embodiments of the present disclosure.
15 and 16 illustrate another type of aerosol-generating device to which a vaporizer according to some embodiments of the present disclosure may be applied.
이하, 첨부된 도면을 참조하여 본 개시의 바람직한 실시예들을 상세히 설명한다. 본 개시의 이점 및 특징, 그리고 그것들을 달성하는 방법은 첨부되는 도면과 함께 상세하게 후술되어 있는 실시예들을 참조하면 명확해질 것이다. 그러나 본 개시의 기술적 사상은 이하의 실시예들에 한정되는 것이 아니라 서로 다른 다양한 형태로 구현될 수 있으며, 단지 이하의 실시예들은 본 개시의 기술적 사상을 완전하도록 하고, 본 개시가 속하는 기술분야에서 통상의 지식을 가진 자에게 본 개시의 범주를 완전하게 알려주기 위해 제공되는 것이며, 본 개시의 기술적 사상은 청구항의 범주에 의해 정의될 뿐이다.Hereinafter, preferred embodiments of the present disclosure will be described in detail with reference to the accompanying drawings. Advantages and features of the present disclosure, and methods of achieving them will become apparent with reference to the embodiments described below in detail in conjunction with the accompanying drawings. However, the technical spirit of the present disclosure is not limited to the following embodiments, but may be implemented in various different forms, and only the following embodiments complete the technical spirit of the present disclosure, and in the technical field to which the present disclosure belongs It is provided to fully inform those of ordinary skill in the scope of the present disclosure, and the technical spirit of the present disclosure is only defined by the scope of the claims.
각 도면의 구성요소들에 참조부호를 부가함에 있어서, 동일한 구성요소들에 대해서는 비록 다른 도면상에 표시되더라도 가능한 한 동일한 부호를 가지도록 하고 있음에 유의해야 한다. 또한, 본 개시를 설명함에 있어, 관련된 공지 구성 또는 기능에 대한 구체적인 설명이 본 개시의 요지를 흐릴 수 있다고 판단되는 경우에는 그 상세한 설명은 생략한다.In adding reference numerals to the components of each drawing, it should be noted that the same components are given the same reference numerals as much as possible even though they are indicated on different drawings. In addition, in describing the present disclosure, if it is determined that a detailed description of a related known configuration or function may obscure the gist of the present disclosure, the detailed description thereof will be omitted.
다른 정의가 없다면, 본 명세서에서 사용되는 모든 용어(기술 및 과학적 용어를 포함)는 본 개시가 속하는 기술분야에서 통상의 지식을 가진 자에게 공통적으로 이해될 수 있는 의미로 사용될 수 있다. 또 일반적으로 사용되는 사전에 정의되어 있는 용어들은 명백하게 특별히 정의되어 있지 않는 한 이상적으로 또는 과도하게 해석되지 않는다. 본 명세서에서 사용된 용어는 실시예들을 설명하기 위한 것이며 본 개시를 제한하고자 하는 것은 아니다. 본 명세서에서, 단수형은 문구에서 특별히 언급하지 않는 한 복수형도 포함한다.Unless otherwise defined, all terms (including technical and scientific terms) used herein may be used with the meaning commonly understood by those of ordinary skill in the art to which this disclosure belongs. In addition, terms defined in a commonly used dictionary are not to be interpreted ideally or excessively unless clearly defined in particular. The terminology used herein is for the purpose of describing the embodiments and is not intended to limit the present disclosure. In this specification, the singular also includes the plural unless specifically stated otherwise in the phrase.
또한, 본 개시의 구성 요소를 설명하는 데 있어서, 제1, 제2, A, B, (a), (b) 등의 용어를 사용할 수 있다. 이러한 용어는 그 구성 요소를 다른 구성 요소와 구별하기 위한 것일 뿐, 그 용어에 의해 해당 구성 요소의 본질이나 차례 또는 순서 등이 한정되지 않는다. 어떤 구성 요소가 다른 구성요소에 "연결", "결합" 또는 "접속"된다고 기재된 경우, 그 구성 요소는 그 다른 구성요소에 직접적으로 연결되거나 또는 접속될 수 있지만, 각 구성 요소 사이에 또 다른 구성 요소가 "연결", "결합" 또는 "접속"될 수도 있다고 이해되어야 할 것이다.In addition, in describing the components of the present disclosure, terms such as first, second, A, B, (a), (b), etc. may be used. These terms are only for distinguishing the elements from other elements, and the essence, order, or order of the elements are not limited by the terms. When it is described that a component is “connected”, “coupled” or “connected” to another component, the component may be directly connected or connected to the other component, but another component is formed between each component. It should be understood that elements may also be “connected,” “coupled,” or “connected.”
본 개시에서 사용되는 "포함한다(comprises)" 및/또는 "포함하는(comprising)"은 언급된 구성 요소, 단계, 동작 및/또는 소자는 하나 이상의 다른 구성 요소, 단계, 동작 및/또는 소자의 존재 또는 추가를 배제하지 않는다.As used herein, “comprises” and/or “comprising” refers to a referenced component, step, operation and/or element of one or more other components, steps, operations and/or elements. The presence or addition is not excluded.
먼저, 본 개시의 다양한 실시예들에서 사용되는 몇몇 용어들에 대하여 명확하게 하기로 한다.First, some terms used in various embodiments of the present disclosure will be clarified.
이하의 실시예들에서, "에어로졸 형성 기재"는 에어로졸(aerosol)을 형성할 수 있는 물질을 의미할 수 있다. 에어로졸은 휘발성 화합물을 포함할 수 있다. 에어로졸 형성 기재는 고체 또는 액상일 수 있다. 예를 들면, 고체의 에어로졸 형성 기재는 판상엽 담배, 각초(e.g. 잎담배 각초, 판상엽 각초 등), 재구성 담배 등 담배 원료를 기초로 하는 담배 물질을 포함할 수 있으며, 액상의 에어로졸 형성 기재는 니코틴, 담배 추출물, 프로필렌 글리콜(propylene glycol), 식물성 글리세린(vegetable glycerin) 및/또는 다양한 향미제 등의 다양한 조합에 기초한 액상 조성물을 포함할 수 있다. 그러나, 본 개시의 범위가 상기 열거된 예시에 한정되는 것은 아니다. 몇몇 실시예들에서, 다른 언급이 없는 한 액상은 액상의 에어로졸 형성 기재를 지칭하는 것일 수 있다.In the following examples, "aerosol-forming substrate" may mean a material capable of forming an aerosol. Aerosols may contain volatile compounds. The aerosol-forming substrate may be solid or liquid. For example, the solid aerosol-forming substrate may comprise tobacco material based on tobacco raw materials, such as leaf tobacco, cut filler (eg leaf tobacco cut filler, leaf cut filler, etc.), reconstituted tobacco, wherein the liquid aerosol-forming substrate is nicotine. , tobacco extract, propylene glycol, vegetable glycerin, and/or various flavoring agents. However, the scope of the present disclosure is not limited to the examples listed above. In some embodiments, unless otherwise noted, liquid may refer to a liquid aerosol-forming substrate.
이하의 실시예들에서, "에어로졸 발생 물품"은 에어로졸을 발생시킬 수 있는 물품(article)을 의미할 수 있다. 에어로졸 발생 물품은 에어로졸 형성 기재를 포함할 수 있다. 에어로졸 발생 물품의 대표적인 예로는 궐련을 들 수 있을 것이나, 본 개시의 범위가 이러한 예시에 한정되는 것은 아니다.In the following examples, "aerosol-generating article" may mean an article capable of generating an aerosol. The aerosol-generating article may comprise an aerosol-forming substrate. A representative example of an aerosol-generating article would be a cigarette, but the scope of the present disclosure is not limited to these examples.
이하의 실시예들에서, "에어로졸 발생 장치"는 사용자의 입을 통해 사용자의 폐로 직접적으로 흡입 가능한 에어로졸을 발생시키기 위해 에어로졸 형성 기재를 이용하여 에어로졸을 발생시키는 장치를 의미할 수 있다. 에어로졸 발생 장치의 예시에 대해서는 도 1, 도 15 또는 도 16을 참조하도록 한다.In the following embodiments, "aerosol-generating device" may refer to a device that generates an aerosol using an aerosol-forming substrate to generate an inhalable aerosol directly into the user's lungs through the user's mouth. For an example of an aerosol-generating device, reference is made to FIG. 1 , FIG. 15 or FIG. 16 .
이하의 실시예들에서, "퍼프(puff)"는 사용자의 흡입(inhalation)을 의미하며, 흡입이란 사용자의 입이나 코를 통해 사용자의 구강 내, 비강 내 또는 폐로 끌어 당기는 상황을 의미할 수 있다.In the following embodiments, "puff" refers to inhalation of the user, and inhalation may refer to a situation in which the user's mouth or nose is drawn into the user's mouth, nasal cavity, or lungs. .
이하에서는, 본 개시의 다양한 실시예들에 대하여 첨부된 도면에 따라 상세하게 설명한다.Hereinafter, various embodiments of the present disclosure will be described in detail with reference to the accompanying drawings.
도 1은 본 개시의 몇몇 실시예들에 따른 에어로졸 발생 장치(100-1)를 개략적으로 나타내는 예시적인 구성도이다.1 is an exemplary configuration diagram schematically showing an aerosol-generating device 100-1 according to some embodiments of the present disclosure.
도 1에 도시된 바와 같이, 에어로졸 발생 장치(100-1)는 마우스피스(110), 증기화기(1), 배터리(130) 및 제어부(120)를 포함할 수 있다. 단, 이는 본 개시의 목적을 달성하기 위한 바람직한 실시예일뿐이며, 필요에 따라 일부 구성 요소가 추가되거나 생략될 수 있음은 물론이다. 또한, 도 1에 도시된 에어로졸 발생 장치(100-1)의 각각의 구성 요소들은 기능적으로 구분되는 기능 요소들을 나타낸 것으로서, 복수의 구성 요소가 실제 물리적 환경에서는 서로 통합되는 형태로 구현되거나, 단일 구성 요소가 복수의 세부 기능 요소로 분리되는 형태로 구현될 수도 있다. 이하, 에어로졸 발생 장치(100-1)의 각 구성 요소에 대하여 설명하도록 한다.As shown in FIG. 1 , the aerosol generating device 100 - 1 may include a
마우스피스(110)는 에어로졸 발생 장치(100-1)의 일단에 위치하여 사용자의 구부와 접촉되는 마우스피스로 기능할 수 있다. 사용자는 마우스피스(110)를 통해 증기화기(1)로부터 발생된 에어로졸을 흡입할 수 있다.The
몇몇 실시예들에서, 마우스피스(110)는 증기화기(1)와 일체화된 구성으로 이루어지거나, 증기화기(1)에 부착되는 구성요소일 수 있다.In some embodiments, the
다음으로, 증기화기(1)는 액상의 에어로졸 형성 기재를 기화시켜 에어로졸을 발생시킬 수 있다. 몇몇 실시예들에 따른 증기화기(1)의 구조는 도 2에 도시되어 있다.Next, the
도 2에 도시된 바와 같이, 증기화기(1)는 액상 저장조(11), 윅(wick; 12), 윅하우징(13), 가열요소(14) 및 기류관(15)을 포함할 수 있다. 단, 이는 본 개시의 목적을 달성하기 위한 바람직한 실시예일뿐이며, 필요에 따라 일부 구성 요소가 추가되거나 생략될 수 있음은 물론이다. 이하, 증기화기(1)의 각 구성요소에 대하여 설명하도록 한다.As shown in FIG. 2 , the
액상 저장조(11)는 내부에 소정의 공간을 구비하고, 해당 공간에 액상의 에어로졸 형성 기재(111)를 저장할 수 있다. 또한, 액상 저장조(11)는 저장된 에어로졸 형성 기재(111)를 윅(12)을 통해 가열요소(14)로 공급할 수 있다.The
에어로졸 형성 기재(111)는 하나 이상의 에어로졸 형성 물질을 포함하는 액상 조성물을 의미할 수 있다. 예를 들어, 에어로졸 형성 기재(111)는 프로필렌글리콜(PG) 및 글리세린(GLY) 중 적어도 하나를 포함할 수 있고, 에틸렌 글리콜, 디프로필렌글리콜, 디에틸렌 글리콜, 트리에틸렌 글리콜, 테트라에틸렌 글리콜 및 올레일 알코올 중 적어도 하나를 더 포함할 수도 있다. 다른 예로서, 에어로졸 형성 기재(111)는 니코틴, 수분 및 가향 물질 중 적어도 하나를 더 포함할 수 있다. 또 다른 예로서, 에어로졸 형성 기재(111)는 계피, 캡사이신 등의 다양한 첨가 물질을 더 포함할 수도 있다. 에어로졸 형성 기재(111)는 유동성이 큰 액체 물질뿐만 아니라 젤 또는 고형분 형태의 물질을 포함할 수도 있다. 이와 같이, 에어로졸 형성 기재(111)의 조성 물질은 다양하게 선택될 수 있으며, 그 배합 비율도 다양하게 선택될 수 있다.The aerosol-forming
다음으로, 윅(12)은 액상 저장조(11)에 저장된 에어로졸 형성 기재(111)를 흡수하여 가열요소(14)로 전달할 수 있다. 윅(12)의 소재 및 구조 등은 액적 발생 정도, 무화량 및/또는 장치(100-1) 전력 조건 등을 고려하여 다양하게 설계될 수 있다.Next, the
몇몇 실시예들에서, 윅(12)은 다중(층) 구조로 이루어질 수 있다. 다중(층) 구조의 윅(12)은 액적 발생을 효과적으로 억제할 수 있는데, 윅(12)의 세부 구조와 액적 발생을 억제하는 원리에 대해서는 추후 도 11 및 도 12를 참조하여 상세하게 설명하도록 한다.In some embodiments, wick 12 may be of a multiple (layer) structure. The
다음으로, 윅하우징(13)은 윅(12)의 적어도 일부를 감싸고 있는 하우징을 의미할 수 있다. 윅하우징(13)의 소재 및/또는 특성은 다양하게 설계되고 선택될 수 있다.Next, the
다음으로, 가열요소(14)는 윅(12)에 흡수된 에어로졸 형성 기재(111)를 가열하여 에어로졸을 발생시킬 수 있다. 보다 구체적으로, 제어부(120)에 의해 배터리(130)의 전력이 가열요소(14)로 공급되면, 가열요소(14)는 흡수된 에어로졸 형성 기재(111)를 가열하도록 동작할 수 있다.Next, the
가열요소(14)는 다양한 형태로 구현될 수 있다. 도 2 등의 도면은 가열요소(14)가 윅(12)의 적어도 일부에 감겨 있는 코일(coil)의 형태로 구현된 것을 예로써 도시하고 있다. 그러나, 본 개시의 범위가 이러한 예시에 한정되는 것은 아니다.The
다음으로, 기류관(15)은 에어로졸과 공기 등의 기체가 전달되는 기류 패스로 기능할 수 있다. 예를 들어, 가열요소(14)에 의해 발생된 에어로졸이 기류관(15)을 통해 마우스피스(110) 방향으로 전달될 수 있다. 다만, 도 2는 사용자의 흡인이 증기화기(1)의 상단 방향으로 이루어지는 것을 가정하고 있을 뿐이며, 에어로졸 발생 장치(100-1) 및/또는 기류 패스의 설계 방식에 따라 기류관(15)의 형태와 전달 경로는 변형될 수 있다. 몇몇 실시예들에서, 증기화기(1)의 하단부에는 외기가 유입될 수 있도록 하나 이상의 공기홀 또는 기류관이 구비될 수 있다. 이러한 경우, 증기화기(1)의 하단부에서 유입되는 외기는 에어로졸과 혼합되어 기류관(15)을 통해 마우스피스(110) 방향으로 전달될 수 있다.Next, the
몇몇 실시예들에서, 기류관 막힘(blocking) 현상과 기류관 외부(즉, 마우스피스 110 방향)로의 액적 토출 현상을 방지하기 위해, 기류관 내부(15)에는 젖음성(wettability)을 증가시키는 표면 처리가 수행되거나 액상 흡수체가 배치될 수 있다. 이러한 실시예에 관하여서는 추후 도 6 내지 도 10을 참조하여 상세하게 설명하도록 한다.In some embodiments, in order to prevent airflow tube blocking and droplet ejection out of the airflow tube (ie, in the direction of the mouthpiece 110 ), the
참고로, 당해 기술 분야에서, 증기화기(1)는 카토마이저(catomizer), 아토마이저(atomizer) 또는 카트리지(cartridge) 등의 용어와 혼용되어 사용될 수 있다.For reference, in the art, the
다시 도 1을 참조하여 에어로졸 발생 장치(100-1)의 구성요소에 대한 설명을 이어가도록 한다.With reference to FIG. 1 again, the description of the components of the aerosol generating device 100-1 will be continued.
배터리(130)는 에어로졸 발생 장치(100-1)가 동작하는데 이용되는 전력을 공급할 수 있다. 예를 들어, 배터리(130)는 가열요소(14)가 에어로졸 형성 기재(111)를 가열할 수 있도록 전력을 공급할 수 있고, 제어부(120)가 동작하는데 필요한 전력도 공급할 수 있다.The
또한, 배터리(130)는 에어로졸 발생 장치(100-1)에 설치된 디스플레이(미도시), 센서(미도시), 모터(미도시), 입력장치(미도시) 등의 전기적 구성요소가 동작하는데 필요한 전력을 공급할 수 있다.In addition, the
다음으로, 제어부(120)는 에어로졸 발생 장치(100-1)의 동작을 전반적으로 제어할 수 있다. 예를 들어, 제어부(120)는 증기화기(1) 및 배터리(130)의 동작을 제어할 수 있고, 에어로졸 발생 장치(100-1)에 포함된 다른 구성요소들의 동작도 제어할 수 있다. 제어부(120)는 배터리(130)가 공급하는 전력, 가열요소(14)의 가열 온도 등을 제어할 수 있다. 또한, 제어부(120)는 에어로졸 발생 장치(100-1)의 구성들 각각의 상태를 확인하여, 에어로졸 발생 장치(100-1)가 동작 가능한 상태인지 여부를 판단할 수도 있다.Next, the
몇몇 실시예들에서, 제어부(120)는 윅(12)에서의 액적 발생 정도를 기초로 가열요소(14)에 공급되는 전력을 조절할 수 있다. 그렇게 함으로써, 기류관 막힘 현상과 기류관 외부(즉, 마우스피스 110 방향)로의 액적 토출 현상이 최소화될 수 있다. 본 실시예에 관하여서는 추후 도 13 및 도 14를 참조하여 상세하게 설명하도록 한다.In some embodiments, the
제어부(120)는 적어도 하나의 프로세서(processor)에 의해 구현될 수 있다. 상기 프로세서는 다수의 논리 게이트들의 어레이로 구현될 수도 있고, 범용적인 마이크로 프로세서와 이 마이크로 프로세서에서 실행될 수 있는 프로그램이 저장된 메모리의 조합으로 구현될 수도 있다. 또한, 본 개시가 속하는 기술분야에서 통상의 지식을 가진 자라면, 제어부(120)가 다른 형태의 하드웨어로 구현될 수도 있음을 이해할 수 있다.The
한편, 몇몇 실시예들에서, 에어로졸 발생 장치(100-1)는 사용자 입력을 수신하기 위한 입력장치(미도시)를 더 포함할 수 있다. 입력장치는 스위치 또는 버튼으로 구현될 수 있으나, 본 개시의 범위가 이에 한정되는 것은 아니다. 본 실시예에서, 제어부(120)는 입력장치를 통해 수신된 사용자 입력에 응답하여 에어로졸 발생 장치(100-1)를 제어할 수 있다. 예를 들어, 제어부(120)는 사용자가 스위치 또는 버튼을 작동시킴에 따라 에어로졸이 발생되도록 에어로졸 발생 장치(100-1)를 제어할 수 있다.Meanwhile, in some embodiments, the aerosol-generating device 100 - 1 may further include an input device (not shown) for receiving a user input. The input device may be implemented as a switch or a button, but the scope of the present disclosure is not limited thereto. In this embodiment, the
지금까지 도 1 및 도 2를 참조하여 본 개시의 몇몇 실시예들에 따른 에어로졸 발생 장치(100-1)에 대하여 전반적으로 설명하였다. 이하에서는, 기류관 막힘 현상과 액적 토출 현상에 대한 방지 설계가 적용된 증기화기(1)의 구성요소들에 대하여 설명하도록 한다.So far, the aerosol-generating device 100-1 according to some embodiments of the present disclosure has been described in general with reference to FIGS. 1 and 2 . Hereinafter, the components of the
본격적인 설명에 앞서, 이해의 편의를 제공하기 위해, 액적 발생 현상, 기류관 막힘 현상(이하, "관막힘 현상"으로 약칭함) 및 기류관(15) 외부로의 액적 토출 현상과, 공급 전력과 액적 발생 정도 및 무화량과의 관계에 대하여 도 3 내지 도 5를 참조하여 설명하도록 한다.Prior to the full description, in order to provide convenience of understanding, the droplet generation phenomenon, the airflow pipe blockage phenomenon (hereinafter abbreviated as "pipe blockage phenomenon"), and the droplet discharge phenomenon to the outside of the
먼저, 액적 발생 현상은 기화 시 윅(12)에서 액적이 발생되는 현상을 의미하는데, 발생된 액적은 기류관(15) 내부로 유입되어 다양한 문제를 야기할 수 있다. 액적은 윅(12) 내부에서 기포가 급격하게 성장하거나, 윅(12) 표면에서 기포가 터지는 경우에 발생될 수 있다. 보다 구체적으로, 윅(12) 내부에서 기포가 급격하게 성장하는 경우, 흡수된 액상(111)이 윅(12) 외부로 폭발적으로 밀려나올 수 있는데, 밀려나온 액상(111)이 액적의 형태로 튀어 오를 수 있다. 또는, 윅(12) 표면에서 발생된 기포가 터지면서 액상(111)이 액적의 형태로 튀어 오를 수 있다.First, the droplet generation phenomenon refers to a phenomenon in which droplets are generated in the
이 같은 액적 발생 현상은 기류관(15) 내부의 액막 성장을 촉진함으로써 관막힘 현상을 야기할 수 있는데, 이에 대해서는 도 3을 참조하여 설명하도록 한다.This droplet generation phenomenon may cause tube clogging by promoting liquid film growth inside the
도 3에 도시된 바와 같이, 윅(12)에서 발생된 액적(112)은 기류관(15) 내부로 유입될 수 있고, 유입된 액적(112)은 기류관(15)의 내벽에 점착되어 액막(114)을 형성할 수 있다. 또한, 기류관(15) 내부에서 에어로졸이 응축되면서 생긴 응축물(113)도 액막(114)의 형성과 성장을 가속화할 수 있다. 즉, 액적(112)과 응축물(113)에 의해 액막(114)이 형성될 수 있고, 형성된 액막(114)이 성장함에 따라 기류관(15) 내부를 막는 관막힘 현상(도 3의 오른쪽 참조)이 발생될 수 있다. 이러한 관막힘 현상은 기류 패스를 막음으로써 빨림성과 무화량을 크게 떨어뜨릴 수 있다.As shown in FIG. 3 , the
다음으로, 액적 토출 현상은 액적이 기류관(15)을 통해 마우스피스(110) 방향으로 토출되는 현상을 의미한다. 토출된 액적이 사용자의 구부로 유입되면 사용자에게 상당한 불쾌감을 줄 수 있기 때문에, 액적 토출 현상은 누액 문제와 함께 흡연 만족도를 떨어뜨리는 주된 원인 중 하나로 알려져 있다.Next, the droplet discharge phenomenon refers to a phenomenon in which droplets are discharged in the direction of the
액적 토출 현상은 다음과 같은 경우에 발생될 수 있다. 가령, 기류관(15)으로 유입된 액적(112)이 퍼프에 의해 그대로 외부로 토출될 수 있다. 또는, 기류관(15) 내부의 액막(114)이 퍼프에 의해 순간적으로 형성된 음압에 의해 외부로 토출될 수도 있다. 이 경우에는, 액적의 크기가 상당히 클 수 있기 때문에, 사용자가 느끼는 불쾌감이 배가될 수 있다.The droplet ejection phenomenon may occur in the following cases. For example, the
한편, 액적 발생 현상은 액상(111)의 기화 과정 중에 발생되는 것이고 발생 메커니즘이 액상(111)의 기화와 매우 유사하기 때문에, 기화 속도가 빨라질수록(즉, 무화량이 증가할수록) 액적 발생 현상도 가속화될 수 밖에 없다. 또한, 액상(111)의 기화 속도는 가열요소(14)에 공급되는 전력(또는 가열 온도)에 의해 좌우되는 것이 보통이다. 따라서, 액적 발생 현상 및 무화량은 가열요소(14)에 공급되는 전력과 매우 밀접한 관련성을 갖게 된다.On the other hand, since the droplet generation phenomenon occurs during the vaporization process of the
도 4 및 도 5는 가열요소(14)의 공급 전력과 액적 발생 현상 및 무화량 간의 관계에 대한 실험 결과를 도시하고 있다. 또한, 하기의 표 1은 실험에 사용된 윅의 특성을 나타내고 있다.4 and 5 show experimental results on the relationship between the supply power of the
도 4 및 도 5를 참조하면, 공급 전력이 증가함에 따라 액적 발생 횟수는 지수적으로 증가하고, 무화량은 선형적으로 증가하는 것을 확인할 수 있다. 또한, 공급 전력이 임계치를 초과하면, 기화 속도가 윅(12)의 흡수(이송) 속도를 추월하여 윅(12)이 비포화 상태(즉, 액상 흡수가 충분히 되지 않은 상태)로 진입하는 것을 확인할 수 있다. 참고로, 비포화 상태의 윅(12)은 가열요소(14)에 의해 쉽게 탄화되어 흡연 시 탄맛을 유발할 수 있다.4 and 5 , it can be seen that the number of droplet generation increases exponentially and the atomization amount linearly increases as the supply power increases. In addition, when the supply power exceeds the threshold, it is confirmed that the vaporization rate overtakes the absorption (transfer) rate of the
이상의 내용을 종합해보면, 가열요소(14)의 공급 전력은 액적 발생 현상과 무화량과 밀접한 관련성이 있는데, 공급 전력이 증가하면 액적 발생 현상이 심각한 문제가 될 수 있고, 반대의 경우에는 액적 발생 현상은 큰 문제가 되지 않으나 무화량 감소가 문제될 수 있음을 알 수 있다. 따라서, 고전력으로 동작하는 에어로졸 발생 장치일수록 액적 발생에 대한 방지 설계가 필요하다는 것을 알 수 있다. 또한, 상술한 액적 발생 현상, 관막힘 현상 및 액적 토출 현상은 액상형 에어로졸 발생 장치의 흡연 만족도를 저하시키는 주요 원인들에 해당하므로, 이러한 현상들을 방지할 수 있는 설계가 필요하다는 것을 알 수 있다.Summarizing the above, the supply power of the
본 개시의 몇몇 실시예들에서는, 기류관(15) 또는 증기화기(1)의 구조적 설계를 통해 관막힘 현상 및 액적 토출 현상을 방지할 수 있는데, 이하 본 실시예에 관하여 도 6 내지 도 10을 참조하여 상세하게 설명하도록 한다.In some embodiments of the present disclosure, it is possible to prevent pipe clogging and droplet discharge through the structural design of the
도 6은 본 개시의 몇몇 실시예들에 따른 기류관(15)의 내부를 나타내는 예시적인 단면도이다. 도 6에서 점선 화살표는 에어로졸의 전달 방향을 의미한다. 본 개시의 명료함을 위해, 앞서 설명한 바와 중복되는 내용에 대한 설명은 생략하도록 한다.6 is an exemplary cross-sectional view showing the interior of the
도 6을 참조하면, 기류관 내벽(152)의 적어도 일부 영역(153)에 젖음성을 증가시키는 표면처리가 수행될 수 있다. 이러한 표면처리는 도시된 바와 같이 액막(114)이 기류관(15)의 내부 중심을 향해 성장하는 것을 방지할 수 있고, 윅(12)에서 유입된 액적(112)과 에어로졸의 응축물(113)이 내벽(152)에 점착되지 않고 빠르게 하부 방향(e.g. 중력 방향)으로 배출되도록 할 수 있다.Referring to FIG. 6 , a surface treatment for increasing wettability may be performed on at least a
표면처리의 예로는 도금처리(e.g. 전기 도금), 친수 코팅 등을 포함할 수 있으나, 본 개시의 범위가 이에 한정되는 것은 아니다. 또한, 도금처리는 예를 들어 금, 은, 니켈, 구리 등과 같은 금속으로 수행될 수 있으나, 본 개시의 범위가 이에 한정되는 것은 아니다.Examples of the surface treatment may include plating treatment (e.g. electroplating), hydrophilic coating, and the like, but the scope of the present disclosure is not limited thereto. In addition, the plating process may be performed with, for example, a metal such as gold, silver, nickel, copper, or the like, but the scope of the present disclosure is not limited thereto.
또한, 몇몇 실시예들에서, 표면처리는 접촉각이 약 30° 이하가 되도록 수행될 수 있고, 바람직하게는 약 20° 또는 10°이하, 더욱 바람직하게는 접촉각이 0°에 가까워지도록 수행될 수 있다. 젖음성이 커질수록, 기류관 내벽(152)에서 액막(114)의 형성 및 성장이 더욱 억제될 수 있기 때문이다.Also, in some embodiments, the surface treatment may be performed so that the contact angle is about 30° or less, preferably about 20° or 10° or less, more preferably the contact angle is close to 0°. . This is because, as the wettability increases, the formation and growth of the
또한, 몇몇 실시예들에서, 표면처리된 영역(153)과 다른 영역 간의 접촉각 차이는 약 5° 이상일 수 있다. 바람직하게는, 상기 차이는 약 10°, 15° 또는 20°이상일 수 있다. 이러한 수치범위 내에서 기류관 내벽(152)의 배수 기능이 향상될 수 있다.Further, in some embodiments, the difference in contact angle between the surface-treated
한편, 표면처리는 기류관 내벽(152)의 일부 또는 전체 영역에 대해서 수행될 수 있고, 그 영역은 다양하게 설계될 수 있다.Meanwhile, the surface treatment may be performed on a part or the entire area of the
몇몇 실시예들에서, 표면처리 영역은 기류관 내벽(152)의 하부 영역의 일부 또는 전부를 포함할 수 있다. 예를 들어, 도 7은 기류관 내벽(152)이 평면 형태로 펼쳐져 있는 것을 예시하고 있는데, 기류관 내벽(152)의 하부 영역(154-2)에만 표면처리가 수행될 수 있다. 이는 액막(114)이 내벽(152)의 하부 위치에 주로 형성되는 점을 반영한 것으로 이해될 수 있다. 다른 예로서, 기류관 내벽(152)의 하부 영역(154-2)과 상부 영역(154-1)에 모두 표면처리가 수행되되, 하부 영역(154-2)의 젖음성이 상부 영역(154-1)보다 더 높아지도록 표면처리가 수행될 수 있다. 이러한 경우, 내벽(152) 하부 방향으로의 배수가 보다 원활하게 수행될 수 있다. 일반적으로 액체 물질은 젖음성이 낮은 영역에서 높은 영역으로 쉽게 이동될 수 있기 때문이다.In some embodiments, the surfacing region may include some or all of the lower region of the airflow conduit
참고로, 도 7은 기류관 내벽(152)을 2개의 영역(154-1, 154-2)으로 나눈 것을 예로써 도시하고 있으나, 이는 이해의 편의를 제공하기 위한 것일 뿐이며, 기류관 내벽(152)을 셋 이상의 영역으로 나누어 표면처리가 수행될 수도 있다. 이를테면, 기류관 내벽(152)의 상부 영역, 중부 영역 및 하부 영역(또는 제1 영역, 제2 영역 및 제3 영역)에 표면처리가 수행되되, 중부 영역의 젖음성이 상부 영역보다 높아지도록, 하부 영역의 젖음성이 중부 영역보다 높아지도록 표면처리가 수행될 수도 있다.For reference, FIG. 7 illustrates an example in which the airflow tube
몇몇 실시예들에서는, 도 8에 도시된 바와 같이, 소정의 간격을 두고 형성된 복수의 제1 영역(e.g. 155-1, 155-2)에 표면처리가 수행될 수 있다. 이때, 영역(e.g. 155-1, 155-2) 간 간격은 동일할 수도 있고 상이할 수도 있다. 또는, 복수의 제1 영역(e.g. 155-1, 155-2)과 그 사이에 형성된 제2 영역(e.g. 156-1, 156-2)에 표면처리가 수행되되, 제1 영역(e.g. 155-1, 155-2)의 젖음성이 제2 영역(e.g. 156-1, 156-2)보다 높아지도록 표면처리가 수행될 수 있다. 이와 같은 경우, 도 8에 도시된 바와 같이 배수 경로가 분산됨에 따라 관막힘 현상과 액적 토출 현상이 더욱 효과적으로 방지될 수 있다(도 8의 화살표 참조).In some embodiments, as shown in FIG. 8 , a surface treatment may be performed on the plurality of first regions (e.g. 155-1 and 155-2) formed at predetermined intervals. In this case, the spacing between the regions (e.g. 155-1 and 155-2) may be the same or different. Alternatively, surface treatment is performed on the plurality of first regions eg 155-1 and 155-2 and the second regions eg 156-1 and 156-2 formed therebetween, and the first region eg 155-1 , 155-2), surface treatment may be performed so that the wettability of the second regions (eg 156-1, 156-2) is higher. In this case, as shown in FIG. 8 , as the drainage path is dispersed, the pipe clogging phenomenon and the droplet discharge phenomenon can be more effectively prevented (refer to the arrow in FIG. 8 ).
몇몇 실시예들에서는, 상술한 실시예들의 조합에 기초하여 표면처리가 수행될 수도 있다. 예를 들어, 기류관 내벽(152)의 상부 영역에는 도 8과 유사한 방식으로 표면 처리가 수행되고, 기류관 내벽(152)의 하부 영역은 상부 영역보다 젖음성이 더 높아지도록 표면처리가 수행될 수도 있다.In some embodiments, surface treatment may be performed based on a combination of the above-described embodiments. For example, the surface treatment may be performed on the upper region of the airflow pipe
한편, 몇몇 실시예들에서는, 상술한 표면처리와 유사한 목적(즉, 관막힘 및 액적 토출 현상 방지)을 위해, 기류관 내벽(152)에 액상 흡수체(151)가 배치될 수 있다. 이하, 본 실시예에 관하여 도 9 및 도 10을 참조하여 설명하도록 한다.Meanwhile, in some embodiments, the liquid
도 9는 본 개시의 몇몇 실시예들에 따른 증기화기(1)를 나타내는 예시적인 구성도이다.9 is an exemplary configuration diagram showing the
도 9에 도시된 바와 같이, 증기화기(1)는 기류관(15) 내벽에 배치된 액상 흡수체(151)를 더 포함할 수 있다. 도 9는 1개의 액상 흡수체(151)가 배치된 것을 예로써 도시하고 있으나, 액상 흡수체(151)의 개수는 2개 이상이 될 수도 있다.As shown in FIG. 9 , the
액상 흡수체(151)는 기류관(15) 내벽에 점착된 액상(111)을 흡수하여 하부 방향(e.g. 가열요소 14 방향 또는 중력 방향)으로 배출되도록 함으로써 기류관(15) 내벽에 액막(도 3 또는 도 7의 114)이 형성되거나 성장하는 것을 방지할 수 있다. 이를테면, 액상 흡수체(151)는 기류관(15) 내에서 일종의 배수로로 기능할 수 있다. 액상 흡수체(151)로 인해 액막 형성 및 성장이 억제됨에 따라 관막힘 현상과 액적 토출 현상이 방지될 수 있다.The
액상 흡수체(151)는 액상 흡수가 용이한 소재로 이루어지는 것이 바람직할 수 있다. 예를 들어, 액상 흡수체(151)는 친수성 소재로 이루어지거나, 다공성 소재로 이루어질 수 있다. 이러한 소재의 예로는 필터 페이퍼(filter paper), 섬유 등을 들 수 있으나, 본 개시의 범위가 이에 한정되는 것은 아니다.The liquid
한편, 액상 흡수체(151)의 배치 위치, 배치 영역 및/또는 배치 형태 등은 다양하게 설계될 수 있다.Meanwhile, the arrangement position, arrangement area, and/or arrangement shape of the liquid
몇몇 실시예들에서는, 도 9에 도시된 바와 같이, 액상 흡수체(151)는 기류관(15) 내벽의 특정 위치에서 하부 방향(e.g. 가열요소 14 방향, 중력 방향)으로 연장되도록 배치될 수 있다. 이러한 경우, 중력에 의해 액상 흡수체(151)에 흡수된 액상(111)이 액상 흡수체(151)를 따라 하부 방향으로 배출되기 때문에, 배수 기능이 원활하게 수행될 수 있다.In some embodiments, as shown in FIG. 9 , the liquid
상술한 실시예에서, 액상 흡수체(151)는 가열요소(14) 근처까지 연장되도록 배치될 수도 있다. 이러한 경우, 가열요소(14)의 고온으로 인해 가열요소(14)와 근접한 액상 흡수체(151) 말단에서 기화가 일어날 수 있는데, 이는 액상 흡수체(151)의 상부에서 흡수된 액상(111)이 하부 방향으로 신속하게 이동되도록 함으로써 배수 기능을 보다 강화할 수 있다. 이때, 액상 흡수체(151)는 가열요소(14)과 접촉되지 않는 지점까지 연장될 수 있다. 액상 흡수체(151)가 가열요소(14)와 접촉되는 경우, 가열요소(14)의 고온으로 인해 접촉 부위가 파손될 가능성이 있기 때문이다. 다만, 다른 몇몇 실시예들에서는, 액상 흡수체(151)가 가열요소(14)와 접촉되도록 배치될 수도 있다.In the above-described embodiment, the liquid
또한, 몇몇 실시예들에서, 액상 흡수체(151)가 기류관(15)의 내벽 하부의 일부 또는 전부를 커버하도록 배치될 수 있다. 예를 들어, 액상 흡수체(151)의 기류관(15) 내벽 하부(e.g. 중간 보다 아래 부위)의 특정 위치에서 하부 방향으로 연장되도록 배치될 수 있다. 다른 예로서, 액상 흡수체(151)는 기류관(15)의 내벽 하부를 전반적으로 커버하는 형태로 배치될 수도 있다. 본 실시예에 따르면, 액막이 주로 형성되는 하부 위치에 액상 흡수체(151)를 집중 배치함으로써, 보다 효율적으로 관막힘 현상이 방지될 수 있다.Also, in some embodiments, the liquid
또한, 몇몇 실시예들에서는, 젖음성을 증가시키는 표면처리가 수행된 영역에 액상 흡수체(151)가 배치될 수 있다. 예를 들어, 도 10에 도시된 바와 같이, 일정 간격으로 형성된 복수의 제1 영역(e.g. 157-1, 157-2)에 상기 표면처리가 수행된 경우(또는 제1 영역(e.g. 157-1, 157-2)의 젖음성이 그 사이에 위치한 제2 영역(e.g. 158-1, 158-2)보다 높아지도록 표면처리가 수행된 경우), 복수의 제1 영역(e.g. 157-1, 157-2)에 액상 흡수체(e.g. 151-1, 151-2)가 배치될 수 있다. 이러한 경우, 배수 경로 상에 액상 흡수체(e.g. 151-1, 151-2)가 배치되는 효과가 달성되기 때문에, 기류관 내벽(152)의 배수 기능이 더욱 강화될 수 있다. 또한, 이에 따라 관막힘 현상과 액적 토출 현상이 미연에 방지될 수 있다.In addition, in some embodiments, the liquid
지금까지 도 6 내지 도 10을 참조하여 관막힘 현상과 액적 토출 현상에 대한 방지 설계가 적용된 기류관(15)에 대하여 설명하였다. 이하에서는, 도 11 및 도 12를 참조하여 액적 발생 현상에 대한 방지 설계가 적용된 윅(12)에 대하여 설명하도록 한다.Up to now, the
도 11은 본 개시의 몇몇 실시예들에 따른 다중(층) 구조의 윅(12)을 나타내는 예시도이다. 도 11은 이해의 편의를 위해 윅(12)이 이중(층) 구조로 이루어진 것을 예로써 도시하고 있으나, 윅(12)은 삼중(층) 이상의 구조로 이루어질 수도 있다.11 is an exemplary diagram illustrating a
도 11에 도시된 바와 같이, 윅(12)은 코어부(121)와 외피부(122)를 포함할 수 있다. 코어부(121)와 외피부(122) 각각은 단일(층) 구조 또는 다중(층) 구조로 이루어질 수 있다.11 , the
코어부(121)는 주로 액상(111)을 흡수하는 역할을 수행할 수 있다. 다시 말해, 코어부(121)는 윅(12) 내부의 기공으로 액상(111)이 원활하게 공급되는데 주도적인 역할을 할 수 있다.The
위와 같은 역할을 위해, 몇몇 실시예들에 따른 코어부(121)는 외피부(122)보다 높은 이송 능력을 갖도록 구현될 수 있다. 예를 들어, 코어부(121)는 외피부(122)보다 낮은 밀도 또는 높은 다공도(porosity)를 가질 수 있다. 다른 예로서, 코어부(121)는 외피부(122)보다 젖음성(wettability)이 높은 소재로 이루어질 수 있다.For the above role, the
코어부(121)는 예를 들어 코튼(cotton), 실리카(silica), 섬유, 비드집합체 등의 소재로 이루어질 수 있다. 그러나, 이에 한정되는 것은 아니다.The
다음으로, 외피부(122)는 액적의 발생을 방지하고 가열요소(14)의 열을 코어부(121)까지 전달하여 원활한 기화를 보장하는 역할을 수행할 수 있다. 이를테면, 외피부(122)는 코어부(121) 내부에서 기포가 급격하게 성장함에 따라 흡수된 액상(111)이 윅(12) 외부로 급격하게 밀려나는 것을 억제함으로써, 액적의 발생을 방지할 수 있다. 또한, 외피부(122)는 가열요소(14)의 고온으로부터 코어부(121)를 보호할 수도 있다.Next, the
위와 같은 역할을 위해, 몇몇 실시예들에 따른 외피부(122)는 코어부(121)보다 낮은 이송 능력을 갖도록 구현될 수 있다. 예를 들어, 외피부(122)는 코어부(121)보다 높은 밀도 또는 낮은 다공도를 가질 수 있다. 이러한 경우, 기포의 급격한 성장에 따라 흡수된 액상(111)이 윅(12) 외부로 밀려나는 것이 효과적으로 억제될 수 있으며, 가열요소(14)의 열도 코어부(121)까지 잘 전달될 수 있다. 다른 예로서, 외피부(122)는 코어부(121)보다 젖음성이 낮은 소재로 이루어질 수 있다. 이러한 경우, 코어부(121)에서 기화된 액상(111)이 외피부(122)에서 다시 응결되어 무화량이 감소되는 문제가 완화될 수 있다. 뿐만 아니라, 기포 생성의 원인이 되는 얇은 액막이 외피부(122)에서 형성되는 것이 방지되어, 기화 시 액적이 발생하는 것 또한 최소화될 수 있다.For the above role, the
외피부(122)는 예를 들어 코튼, 실리카, 섬유, 비드집합체, 멤브레인(membrane), 부직포 등의 소재로 이루어질 수 있다. 그러나, 이에 한정되는 것은 아니다.The
한편, 코어부(121)와 외피부(122)의 물리적 규격(e.g. 두께) 및/또는 소재 등은 다양할 수 있으며, 이는 무화량과 액적 발생 정도를 종합적으로 고려하게 적절하게 선택될 수 있다.On the other hand, the physical specifications (e.g. thickness) and/or material of the
몇몇 실시예들에서, 외피부(122)의 두께는 약 5mm 이하일 수 있다. 바람직하게는, 약 4mm 또는 3mm 이하이고, 더욱 바람직하게는 약 2mm 또는 1mm 이하일 수 있다. 이러한 수치범위에서, 외피부(122)로 인해 무화량이 감소되는 문제가 경감될 수 있다.In some embodiments, the thickness of the
또한, 몇몇 실시예들에서, 코어부(121)는 외피부(122)와 상이한 소재로 이루어질 수 있다. 예를 들어, 코어부(121)는 외피부(122)보다 젖음성이 높은 소재로 이루어질 수 있다. 이러한 경우, 기화된 액상(111)의 응결로 인해 무화량이 감소되거나 기포(또는 액적) 생성의 원인이 되는 얇은 액막이 외피부(122)에 형성되는 것이 억제될 수 있다. 다만, 다른 몇몇 실시예들에서는, 코어부(121)는 외피부(122)와 동일한 소재로 이루어질 수도 있다. 예를 들어, 코어부(121)는 외피부(122)와 동일한 섬유 소재로 이루어질 수도 있다.Also, in some embodiments, the
코어부(121)와 외피부(122)의 배치 형태도 다양할 수 있으며, 이 또한 무화량과 액적 발생을 종합적으로 고려하게 적절하게 선택될 수 있다.The arrangement of the
몇몇 실시예들에서는, 외피부(122)는 코어부(121)를 전체적으로 커버하는 형태(e.g. 감싸는 형태)로 배치될 수 있다. 이러한 경우, 기류관(15)를 향해 액적이 튀어 오르는 현상이 크게 완화될 수 있다.In some embodiments, the
다른 몇몇 실시예들에서는, 외피부(122)는 코어부(121)의 일부 영역을 커버하는 형태로 배치될 수 있다. 예를 들어, 외피부(122)는 코어부(121)의 전체 영역 중에서 가열요소(14)의 배치 영역을 커버하도록 배치될 수 있다. 이러한 경우, 무화량 감소 문제가 다소 완화될 수 있으며, 재료비가 절감되는 효과 또한 달성될 수 있다. 다른 예로서, 외피부(122)는 코어부(121)의 표면영역 중에서 기류관(15) 방향의 영역(e.g. 도 2 또는 도 9의 경우 상부 방향의 표면영역의 전부 또는 일부)을 커버하도록 배치될 수 있다. 이러한 경우, 기류관(15) 내부로의 액적 유입이 효과적으로 억제될 수 있고, 외피부(122)가 배치되지 않은 다른 영역에서는 기화가 촉진되어 무화량 감소 문제가 완화될 수 있다. 다른 예로서, 도 12에 도시된 바와 같이, 외피부(122)는 코어부(121)의 전체 영역 중에서 가열요소(14)의 접촉 영역에 대응되는 영역을 커버하도록 배치될 수 있다. 다시 말해, 윅(12)과 가열요소(14)가 접촉하는 영역만을 커버하도록 외피부(122)가 배치될 수 있다. 이러한 경우, 가열요소(14)와의 미접촉 영역(e.g. 권취된 코일의 틈새)에서 기화가 촉진되어 무화량 감소 문제가 크게 완화될 수 있다.In some other embodiments, the
지금까지 도 11 및 도 12를 참조하여 본 개시의 몇몇 실시예들에 따른 윅(12)의 구조에 대하여 설명하였다. 이하에서는, 액적 발생 현상과 무화량을 고려한 전력 제어 방법에 대하여 도 13 및 도 14를 참조하여 설명하도록 한다.So far, the structure of the
이하에서 후술될 전력 제어 방법의 각 단계는 제어부(120)에 의해 수행될 수 있고, 제어부(120)가 프로세서로 구현되는 경우, 상기 전력 제어 방법의 각 단계는 프로세서에 의해 실행 가능한 하나 이상의 인스트럭션들(instructions)로 구현될 수 있다. 따라서, 이하의 설명에서, 특정 단계 또는 동작의 주체가 생략된 경우, 제어부(120)에 의해 수행되는 것으로 이해될 수 있다.Each step of the power control method to be described below may be performed by the
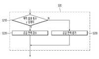
도 13은 본 개시의 몇몇 실시예들에 따른 전력 제어 방법을 나타내는 예시적인 흐름도이다. 단, 이는 본 개시의 목적을 달성하기 위한 바람직한 실시예일뿐이며, 필요에 따라 일부 단계가 추가되거나 삭제될 수 있음은 물론이다.13 is an exemplary flowchart illustrating a power control method according to some embodiments of the present disclosure. However, this is only a preferred embodiment for achieving the purpose of the present disclosure, and it goes without saying that some steps may be added or deleted as needed.
도 13에 도시된 바와 같이, 상기 전력 제어 방법은 윅(12)에서의 액적 발생 정도를 결정하는 단계 S10에서 시작될 수 있다. 여기서, 액적 발생 정도는 예를 들어 퍼프 당 액적 발생 횟수(개수), 일정 시간 동안의 액적 발생 횟수, 액적 발생 횟수의 증감 정도(e.g. 기울기, 증감폭 등) 및 이들의 통계치(e.g. 누적값, 평균값, 중간값, 분산 등)를 포함할 수 있으나, 이에 한정되는 것은 아니고 액적 발생 정도와 연관된 모든 종류의 값을 포함할 수 있다. 본 단계에서, 액적 유입 정도를 감지하는 구체적인 방식은 다양할 수 있으며, 이는 실시예에 따라 달라질 수 있다.As shown in FIG. 13 , the power control method may start in step S10 of determining the degree of droplet generation in the
몇몇 실시예들에서, 제어부(120)는 윅(12) 근처에 부착된 센서를 통해 액적의 발생 정도를 감지할 수 있다. 예를 들어, 제어부(120)는 기류관(15) 내부에 부착된 센서를 통해 기류관(15) 내부로 액적이 유입되는 정도를 감지할 수 있다. 기류관(15) 내부로 유입되는 액적은 관막힘 현상 또는 액적 토출 현상의 주요 원인이므로, 이러한 경우 관막힘 현상과 액적 토출 현상이 보다 효과적으로 방지될 수 있다. 이를테면, 액적 발생 횟수는 많으나 기류관(15) 내부로 유입되는 액적 개수는 상대적으로 적은 경우, 불필요하게 공급 전력을 감소시킴으로써 무화량이 떨어지는 문제가 방지될 수 있다. 상기 센서는 윅(12)에서 발생하는 액적을 센싱하거나, 기류관(15) 내부의 액막 형성 또는 성장을 센싱할 수 있는 임의의 장치를 의미할 수 있으며, 센싱 방식이나 센서의 구현 형태는 어떠한 방식이 되더라도 무방하다.In some embodiments, the
몇몇 실시예들에서, 제어부(120)는 가열요소(14)의 온도, 전류, 저항 또는 전압 등의 변화에 기초하여 액적의 발생 정도를 추정할 수 있다. 구체적으로, 윅(12)에서 액적이 튀어 오르는 경우(e.g. 내부에서 기포가 급격하게 성장하는 경우), 윅(12)은 순간적으로 비포화 상태에 도달하게 되는데, 이로 인해 윅(12) 주변 가열요소(14)의 온도가 급격하게 상승되거나, 가열요소(14)의 전류, 저항 또는 가열요소(14)에 걸리는 전압 등이 급격하게 변동될 수 있다. 따라서, 제어부(120)는 온도, 전류, 저항 또는 전압 등의 변화에 기초하여 액적 발생 정도를 추정할 수 있다. 이를테면, 제어부(120)는 온도, 전류, 저항 또는 전압 등의 변동치 또는 기울기가 임계치 이상인 경우, 액적 발생 개수가 증가한 것으로 판단할 수 있다.In some embodiments, the
몇몇 실시예들에서, 제어부(120)는 기류관(15) 내의 기류 변화를 기초로 액적의 발생 정도를 추정할 수 있다. 기류 변화는 기류 센서에 의해 감지될 수 있을 것이나, 본 개시의 범위가 이에 제한되는 것은 아니다. 앞서 언급한 바와 같이, 기화 속도가 빨라질수록 액적의 발생도 가속화될 것이기 때문에, 기류의 급격한 증가는 액적의 증가를 나타내는 지표가 될 수 있다. 따라서, 제어부(120)는 기류 변화를 기초로 액적의 발생 정도를 추정할 수 있다.In some embodiments, the
단계 S20에서, 제어부(120)는 결정된 액적 발생 정도를 기초로 가열요소(14)로 공급되는 전력을 조절할 수 있다. 단계 S20의 세부 과정은 도 14에 도시되어 있다. 도 13은 액적 발생 정도를 나타내는 다양한 지표 중 액적 발생 횟수(e.g. 퍼프당 액적 발생 횟수)를 이용하여 전력을 조절하는 것을 예로써 도시하고 있으나, 본 개시의 범위가 이에 한정되는 것은 아니고, 제어부(120)는 액적의 증감 정도(e.g. 기울기)와 같은 다른 지표를 이용하거나 보조적으로 더 이용하여 전력을 조절할 수도 있다.In step S20 , the
도 14에 도시된 바와 같이, 단계 S210에서, 제어부(120)는 액적 발생 횟수가 임계치 이상인지 여부를 판단할 수 있다. 여기서, 임계치는 단일 값 또는 값의 범위로 설정될 수 있다. 임계치가 값의 범위로 설정되는 경우, 제어부(120)는 액적 발생 횟수가 상기 설정된 범위 외의 값인 경우에 한하여 전력 조절을 수행할 수도 있다.14 , in step S210 , the
단계 S220에서, 액적 발생 횟수가 임계치 이상(초과)이라는 판단에 응답하여, 제어부(120)는 가열요소(14)로 공급되는 전력을 감소시킬 수 있다. 여기서, 공급 전력의 감소폭은 작은 값으로 설정되더라도 무방한 데, 이는 전력과 액적 발생 횟수가 지수적 관계를 갖기 때문에 공급 전력을 조금만 줄이더라도 액적 발생 횟수가 크게 감소될 수 있기 때문이다. 반면에, 전력과 무화량은 선형적 관계를 갖기 때문에, 공급 전력이 감소되더라도 사용자는 무화량 감소를 인지하지 못할 수 있다.In step S220 , in response to the determination that the number of droplet generation is equal to or greater than the threshold value (exceeds), the
단계 S230에서, 액적 발생 횟수가 임계치 미만(이하)이라는 판단에 응답하여, 제어부(120)는 가열요소(14)로 공급되는 전력을 증가시킬 수 있다. 이러한 경우, 무화량이 증대되어 흡연 시에 충분한 무화량이 보장될 수 있다.In step S230 , in response to determining that the number of droplet generation is less than (or less than) the threshold, the
상술한 단계 S220 및 S230에서, 공급 전력의 조절폭(즉, 증가폭과 감소폭)은 기 설정된 고정값 또는 상황에 따라 변동되는 변동값일 수 있으며, 다양한 방식으로 설정될 수 있다.In the above-described steps S220 and S230, the control width (ie, increase and decrease width) of the supply power may be a preset fixed value or a variable value that varies according to circumstances, and may be set in various ways.
몇몇 실시예들에서, 공급 전력의 증가폭과 감소폭은 동일한 값으로 설정될 수 있다. 이러한 경우, 액적 발생 현상과 무화량을 균형 있게 고려하여 전력 제어가 수행될 수 있다.In some embodiments, the increase and decrease of the supply power may be set to the same value. In this case, power control may be performed by considering the droplet generation phenomenon and the atomization amount in a balanced way.
다른 몇몇 실시예들에서, 공급 전력의 증가폭은 감소폭보다 큰 값으로 설정될 수 있다. 이러한 경우, 공급 전력을 크게 증가시킨 뒤 서서히 감소시키는 방식으로 전력이 조절되므로, 무화량에 보다 중점을 둔 전력 제어가 수행될 수 있다.In some other embodiments, the increase amount of the supply power may be set to a value greater than the decrease amount. In this case, since the power is regulated in such a way that the supply power is greatly increased and then gradually decreased, power control with more emphasis on the atomization amount can be performed.
또 다른 몇몇 실시예들에서, 공급 전력의 감소폭은 증가폭보다 큰 값으로 설정될 수 있다. 이러한 경우, 공급 전력을 크게 감소시킨 뒤 서서히 증가시키는 방식으로 전력이 조절되므로, 액적 발생 현상에 보다 중점을 둔 전력 제어가 수행될 수 있다.In some other embodiments, the decrease in the supply power may be set to a value greater than the increase. In this case, since the power is regulated in such a way that the supply power is greatly reduced and then gradually increased, power control with more emphasis on the droplet generation phenomenon can be performed.
또한, 몇몇 실시예들에서, 공급 전력의 조절폭(증가폭 또는 감소폭)은 전력 조절의 결과(즉, 피드백)에 기초하여 변경될 수 있다. 예를 들어, 공급 전력을 감소시켰음에도 액적의 발생 횟수가 별로 감소되지 않은 경우, 감소폭은 더 큰 값으로 설정될 수 있다. 반대의 경우라면, 감소폭은 더 작은 값으로 설정될 수 있다. 본 실시예에 따르면, 에어로졸 발생 장치(100-1)의 특성에 따른 유연한 전력 제어가 수행될 수 있다. 가령, 액적 발생 횟수와 무화량 등은 윅(12)의 이송 특성이나 전력 조건 등에 따라 달라질 수 있는데, 본 실시예에 따른 전력 조절 방식은 이러한 요인들을 적절하게 반영하여 유연한 전력 제어를 수행할 수 있다.Further, in some embodiments, the adjustment amount (increase or decrease) of the supply power may be changed based on the result (ie, feedback) of the power adjustment. For example, when the number of occurrences of the droplet is not significantly reduced even though the supply power is reduced, the reduction width may be set to a larger value. In the opposite case, the reduction width may be set to a smaller value. According to the present embodiment, flexible power control according to the characteristics of the aerosol generating device 100 - 1 may be performed. For example, the number of drops and the amount of atomization may vary depending on the transport characteristics or power conditions of the
한편, 단계 S10 및 단계 S20은 피드백 방식으로 흡연 동안 반복 수행될 수 있다. 그렇게 함으로써, 흡연 내내 액적 발생 현상은 억제되고, 충분한 무화량이 보장될 수 있다.Meanwhile, steps S10 and S20 may be repeatedly performed during smoking in a feedback manner. By doing so, the droplet generation phenomenon throughout smoking can be suppressed, and a sufficient atomization amount can be ensured.
지금까지 도 13 및 도 14를 참조하여 본 개시의 몇몇 실시예들에 따른 전력 제어 방법에 대하여 설명하였다. 상술한 방법에 따르면, 흡연 중 액적 발생 정도에 따른 동적인 전력 조절을 통해 관막힘 현상과 액적 토출 현상이 최소화될 수 있으며, 이에 따라 사용자의 흡연 만족도가 크게 향상될 수 있다. 뿐만 아니라, 전력이 조절되더라도 사용자는 무화량 변동을 거의 인지하지 못할 수 있는데, 이는 전력이 감소되더라도 무화량의 감소가 크지 않으며, 피드백 방식으로 전력 제어가 수행되는 바 감소된 무화량이 추후 전력 증가를 통해 보완될 수 있기 때문이다.So far, a power control method according to some embodiments of the present disclosure has been described with reference to FIGS. 13 and 14 . According to the above-described method, pipe clogging and droplet discharge can be minimized through dynamic power control according to the degree of droplet generation during smoking, and thus the user's smoking satisfaction can be greatly improved. In addition, even if the power is adjusted, the user may hardly be aware of the change in the amount of atomization, which means that even if the power is reduced, the reduction of the amount of atomization is not large. Because it can be supplemented through
지금까지 도 13 및 도 14를 참조하여 설명된 본 개시의 기술적 사상 또는 제어부(120)의 동작과 관련된 내용들은 컴퓨터가 읽을 수 있는 매체 상에 컴퓨터가 읽을 수 있는 코드로 구현될 수 있다. 상기 컴퓨터로 읽을 수 있는 기록 매체는, 예를 들어 이동형 기록 매체(CD, DVD, 블루레이 디스크, USB 저장 장치, 이동식 하드 디스크)이거나, 고정식 기록 매체(ROM, RAM, 컴퓨터 구비 형 하드 디스크)일 수 있다. 상기 컴퓨터로 읽을 수 있는 기록 매체에 기록된 상기 컴퓨터 프로그램은 인터넷 등의 네트워크를 통하여 다른 컴퓨팅 장치에 전송되어 상기 다른 컴퓨팅 장치에 설치될 수 있고, 이로써 상기 다른 컴퓨팅 장치에서 사용될 수 있다.The technical spirit of the present disclosure described with reference to FIGS. 13 and 14 or contents related to the operation of the
이하에서는, 도 15 및 도 16을 참조하여 본 개시의 몇몇 실시예들에 따른 증기화기(1)가 적용될 수 있는 다른 유형의 에어로졸 발생 장치(100-2, 100-3)에 대하여 설명하도록 한다.Hereinafter, other types of aerosol-generating devices 100-2 and 100-3 to which the
도 15 및 도 16은 액상과 고체 형태의 에어로졸 발생 물품(150)이 함께 이용되는 하이브리드형 에어로졸 발생 장치(100-2, 100-3)를 나타내는 예시적인 구성도이다. 이하, 에어로졸 발생 장치(100-2, 100-3)에 대하여 간략하게 설명하도록 한다.15 and 16 are exemplary configuration diagrams illustrating the hybrid aerosol-generating devices 100-2 and 100-3 in which the aerosol-generating
도 15 및 도 16에 도시된 바와 같이, 에어로졸 발생 장치(100-2, 100-3)는 내부 공간에 삽입된 에어로졸 발생 물품(150)을 더 이용하여 에어로졸을 발생시키는 장치일 수 있다. 보다 자세하게는, 에어로졸 발생 물품(150)이 에어로졸 발생 장치(100-2, 100-3)에 삽입되면, 제어부(120)가 히터(140)와 증기화기(1)를 작동시키고, 증기화기(1)에서 발생된 에어로졸은 에어로졸 발생 물품(150)를 통해 사용자에게 전달될 수 있다.15 and 16 , the aerosol-generating devices 100-2 and 100-3 may be devices that generate an aerosol by further using the aerosol-generating
도시된 바와 같이, 에어로졸 발생 장치(100-2, 100-3)는 도 1에 예시된 에어로졸 발생 장치(100-1)와는 달리 에어로졸 발생 물품(150)을 가열하기 위한 히터(140)를 더 포함하고 있다. 다만, 도 15 또는 도 16에는 본 개시의 실시예와 관련 있는 구성요소들만이 도시되어 있다. 따라서, 본 개시가 속한 기술분야의 통상의 기술자라면 도 15 또는 도 16에 도시된 구성요소들 외에 다른 범용적인 구성 요소들이 더 포함될 수 있음을 알 수 있다. 예를 들어, 에어로졸 발생 장치(100-2, 100-3)는 시각 정보의 출력이 가능한 디스플레이 및/또는 촉각 정보의 출력을 위한 모터, 적어도 하나의 센서(퍼프 감지 센서, 온도 감지 센서, 궐련 삽입 감지 센서 등) 등을 더 포함할 수도 있다.As shown, the aerosol-generating device 100-2, 100-3 further comprises a
히터(140)는 배터리(130)로부터 공급된 전력에 의하여 에어로졸 발생 물품(150)을 가열할 수 있다. 예를 들어, 에어로졸 발생 물품(150)이 에어로졸 발생 장치(100-2, 100-3)에 삽입되면, 히터(140)는 에어로졸 발생 물품(150) 내의 에어로졸 형성 기재의 온도를 상승시킬 수 있다.The
히터(140)는 어떠한 형태로 구현되더라도 무방하다. 예를 들어, 히터(140)는 외부 가열식 또는 내부 가열식일 수 있으며, 복수의 가열요소를 포함할 수도 있다. 또한, 히터(140)는 전기 저항성 히터일 수도 있고, 유도 가열 방식으로 동작할 수도 있다.The
다음으로, 배터리(130)는 히터(140)에 전력을 공급할 수 있다. 그 외의 동작은 상술한 바와 유사하므로, 도 1의 설명 부분을 더 참조하도록 한다.Next, the
다음으로, 제어부(120)는 히터(140)의 공급 전력(또는 가열 온도)를 제어할 수 있다. 그 외의 동작은 상술한 바와 유사하므로, 도 1의 설명 부분을 더 참조하도록 한다.Next, the
도 15 또는 도 16에 도시된 바와 같이, 증기화기(1)와 히터(140)는 병렬 또는 직렬로 배치될 수 있다. 그러나, 본 개시의 범위가 이러한 배치 형태에 한정되는 것은 아니다.15 or 16 , the
지금까지 도 15 및 도 16을 참조하여 본 개시의 기술적 사상이 적용될 수 있는 다른 유형의 에어로졸 발생 장치(100-2, 100-3)에 대하여 설명하였다. 이하에서는, 실시예 및 비교예를 통하여 본 개시의 몇몇 실시예들에 따른 증기화기(1)의 구성 및 효과를 더욱 명확하게 하도록 한다. 다만, 이하의 실시예들은 증기화기(1)의 일부 예시에 불과할 뿐이므로, 본 개시의 범위가 이하의 실시예들에 의해 한정되는 것은 아니다.So far, other types of aerosol-generating devices 100-2 and 100-3 to which the technical spirit of the present disclosure can be applied have been described with reference to FIGS. 15 and 16 . Hereinafter, the configuration and effect of the
실시예 1Example 1
도 2에 예시된 증기화기(1)와 동일한 구성을 갖고, 도 6에 예시된 기류관(15)과 유사하게 내벽에 전기도금 처리를 수행하여 증기화기를 제조하였다. 기류관의 내벽은 SUS304 소재(접촉각 약 30도)로 이루어졌고, 전기도금 시 니켈(접촉각 약 0도)이 사용되었다.It has the same configuration as the
비교예 1Comparative Example 1
전기도금 처리를 수행하지 않은 점을 제외하고, 실시예 1과 동일한 증기화기를 제조하였다.The same vaporizer as in Example 1 was prepared except that electroplating treatment was not performed.
실험예 1: 기류관 막힘 현상 및 무화량 측정Experimental Example 1: Airflow pipe clogging and atomization measurement
실시예 1 및 비교예 1에 따른 증기화기에 대해 기류관 막힘 현상과 무화량을 측정하는 실험을 진행하였다. 구체적으로, 초고속 카메라를 이용하여 기류관의 기류관 내부에서의 액막 성장 및 형성 과정을 촬영하여 액막에 의해 기류관이 막히는지 여부를 관찰하였다. 회당 80퍼프, 총 100회의 반복 실험을 수행하여, 기류관 막힌 현상이 발생하는 확률을 산출하였다.For the vaporizers according to Example 1 and Comparative Example 1, an experiment was conducted to measure the clogging of the airflow pipe and the amount of atomization. Specifically, the liquid film growth and formation process inside the airflow tube was photographed using a high-speed camera to observe whether the airflow tube was blocked by the liquid film. 80 puffs per time, a total of 100 repeated experiments were performed, and the probability of occurrence of airflow tube clogging was calculated.
또한, 전기도금 처리가 무화량에 미치는 영향을 함께 알아보기 위해, 무화량을 측정하였는데, 무화량은 액상의 소진 정도에 의거하여 100회 실험의 평균값으로 산출되었다. 실험 결과는 하기의 표 2에 기재되어 있다.In addition, in order to investigate the effect of electroplating treatment on the amount of atomization together, the amount of atomization was measured, and the amount of atomization was calculated as the average value of 100 experiments based on the degree of exhaustion of the liquid. The experimental results are shown in Table 2 below.
표 2를 참조하면, 비교예 1에 따른 증기화기의 경우 약 5%의 확률로 관막힘 현상이 발생하였는데, 실시예 1의 경우에는 관막힘 현상이 발생하지 않은 것으로 나타났다. 무화량의 경우에는 유의미한 차이가 나타나지 않았다.Referring to Table 2, in the case of the vaporizer according to Comparative Example 1, the tube clogging phenomenon occurred with a probability of about 5%, and in the case of Example 1, it was found that the tube blockage phenomenon did not occur. In the case of the atomization amount, there was no significant difference.
위와 같은 실험 결과에 따르면, 젖음성을 증가시키는 표면처리가 효과적으로 관막힘 현상을 방지할 수 있음을 알 수 있다. 또한, 표면처리가 수행되더라도 무화량에 미치는 영향은 거의 없다는 것을 알 수 있다.According to the above experimental results, it can be seen that the surface treatment to increase the wettability can effectively prevent the clogging of the tube. In addition, it can be seen that even if the surface treatment is performed, there is little effect on the atomization amount.
지금까지, 실시예 및 비교예를 통하여 상술한 증기화기(1)의 구성 및 효과에 대하여 설명하였다.Up to now, the configuration and effects of the
이상 첨부된 도면을 참조하여 본 개시의 실시예들을 설명하였지만, 본 개시가 속하는 기술분야에서 통상의 지식을 가진 자는 그 기술적 사상이나 필수적인 특징을 변경하지 않고서 본 개시가 다른 구체적인 형태로도 실시될 수 있다는 것을 이해할 수 있다. 그러므로 이상에서 기술한 실시예들은 모든 면에서 예시적인 것이며 한정적인 것이 아닌 것으로 이해해야만 한다. 본 개시의 보호 범위는 아래의 청구범위에 의하여 해석되어야 하며, 그와 동등한 범위 내에 있는 모든 기술 사상은 본 개시에 의해 정의되는 기술적 사상의 권리범위에 포함되는 것으로 해석되어야 할 것이다.Although embodiments of the present disclosure have been described with reference to the accompanying drawings, those of ordinary skill in the art to which the present disclosure pertains may practice the present disclosure in other specific forms without changing the technical spirit or essential features. can understand that there is Therefore, it should be understood that the embodiments described above are illustrative in all respects and not restrictive. The protection scope of the present disclosure should be interpreted by the following claims, and all technical ideas within the equivalent range should be interpreted as being included in the scope of the technical ideas defined by the present disclosure.
100-1, 100-2, 100-3: 에어로졸 발생 장치
1: 증기화기11: 액상 저장조
12: 윅121: 코어부
122: 외피부13: 윅하우징
14: 가열요소15: 기류관
151: 액상 흡수체110: 마우스피스
120: 제어부130: 배터리
140: 히터150: 에어로졸 발생 물품100-1, 100-2, 100-3: aerosol generating device
1: Vaporizer 11: Liquid Reservoir
12: wick 121: core part
122: outer skin 13: wick housing
14: heating element 15: airflow tube
151: liquid absorbent 110: mouthpiece
120: control unit 130: battery
140: heater 150: aerosol-generating article
| Application Number | Priority Date | Filing Date | Title |
|---|---|---|---|
| KR1020200071898AKR102472655B1 (en) | 2020-06-12 | 2020-06-12 | Vaporizer and aerosol-generating apparatus including the same |
| Application Number | Priority Date | Filing Date | Title |
|---|---|---|---|
| KR1020200071898AKR102472655B1 (en) | 2020-06-12 | 2020-06-12 | Vaporizer and aerosol-generating apparatus including the same |
| Publication Number | Publication Date |
|---|---|
| KR20210154656Atrue KR20210154656A (en) | 2021-12-21 |
| KR102472655B1 KR102472655B1 (en) | 2022-11-30 |
| Application Number | Title | Priority Date | Filing Date |
|---|---|---|---|
| KR1020200071898AActiveKR102472655B1 (en) | 2020-06-12 | 2020-06-12 | Vaporizer and aerosol-generating apparatus including the same |
| Country | Link |
|---|---|
| KR (1) | KR102472655B1 (en) |
| Publication number | Priority date | Publication date | Assignee | Title |
|---|---|---|---|---|
| KR20230131560A (en)* | 2022-03-07 | 2023-09-14 | 주식회사 이엠텍 | Aerosol generator |
| Publication number | Priority date | Publication date | Assignee | Title |
|---|---|---|---|---|
| US20110226236A1 (en) | 2008-10-23 | 2011-09-22 | Helmut Buchberger | Inhaler |
| US20140109905A1 (en) | 2011-08-19 | 2014-04-24 | Japan Tobacco Inc. | Aerosol inhalator |
| KR20190046804A (en) | 2016-09-15 | 2019-05-07 | 필립모리스 프로덕츠 에스.에이. | Electronic aerosol generation smoking device |
| Publication number | Priority date | Publication date | Assignee | Title |
|---|---|---|---|---|
| US20110226236A1 (en) | 2008-10-23 | 2011-09-22 | Helmut Buchberger | Inhaler |
| US20140109905A1 (en) | 2011-08-19 | 2014-04-24 | Japan Tobacco Inc. | Aerosol inhalator |
| KR20190046804A (en) | 2016-09-15 | 2019-05-07 | 필립모리스 프로덕츠 에스.에이. | Electronic aerosol generation smoking device |
| Publication number | Priority date | Publication date | Assignee | Title |
|---|---|---|---|---|
| KR20230131560A (en)* | 2022-03-07 | 2023-09-14 | 주식회사 이엠텍 | Aerosol generator |
| Publication number | Publication date |
|---|---|
| KR102472655B1 (en) | 2022-11-30 |
| Publication | Publication Date | Title |
|---|---|---|
| KR102574019B1 (en) | Aerosol-generating system having a cartridge with a side aperture | |
| JP6937758B2 (en) | An electrically operated aerosol generation system with a liquid pump | |
| KR102762136B1 (en) | Aerosol generating system providing preferential vaporization of nicotine | |
| US11930845B2 (en) | Liquid supply system for use in aerosol-generating devices | |
| KR102325183B1 (en) | Liquid cartridge and aerosol generating apparatus including the same | |
| KR20250048375A (en) | Heater management | |
| JP7288502B2 (en) | Liquid delivery system for use in aerosol generators | |
| JP7485614B2 (en) | Aerosol generating device having a movable component for moving an aerosol-forming substrate - Patent Application 20070123633 | |
| KR102472655B1 (en) | Vaporizer and aerosol-generating apparatus including the same | |
| KR102450716B1 (en) | Wick and vaporizer including the same | |
| KR102450717B1 (en) | Aerosol-generating apparatus and power control method thereof | |
| KR102450718B1 (en) | Aerosol-generating apparatus and power control method thereof | |
| KR102525021B1 (en) | Vaporizer and aerosol-generating apparatus including the same | |
| KR102513604B1 (en) | Aerosol-generating apparatus and power control method thereof | |
| KR20210155090A (en) | Aerosol-generating article with enhanced flavor expression | |
| KR20220041909A (en) | Aerosol-generating device with offset airflow channel | |
| RU2789880C2 (en) | Aerosol generation device and method for generation of nicotine-containing aerosol |
| Date | Code | Title | Description |
|---|---|---|---|
| PA0109 | Patent application | Patent event code:PA01091R01D Comment text:Patent Application Patent event date:20200612 | |
| PA0201 | Request for examination | ||
| PG1501 | Laying open of application | ||
| E902 | Notification of reason for refusal | ||
| PE0902 | Notice of grounds for rejection | Comment text:Notification of reason for refusal Patent event date:20220504 Patent event code:PE09021S01D | |
| E701 | Decision to grant or registration of patent right | ||
| PE0701 | Decision of registration | Patent event code:PE07011S01D Comment text:Decision to Grant Registration Patent event date:20221117 | |
| PR0701 | Registration of establishment | Comment text:Registration of Establishment Patent event date:20221125 Patent event code:PR07011E01D | |
| PR1002 | Payment of registration fee | Payment date:20221125 End annual number:3 Start annual number:1 | |
| PG1601 | Publication of registration |