







본 발명은 에어로졸 발생 물품, 에어로졸 발생 장치 및 에어로졸 발생 물품 및 에어로졸 발생 장치를 포함하는 에어로졸 발생 시스템에 관한 것이다.The present invention relates to an aerosol-generating article, an aerosol-generating device and an aerosol-generating system comprising the aerosol-generating article and the aerosol-generating device.
담배 같은 에어로졸 형성 기재가 연소되기보다는 가열되는 에어로졸 발생 물품이 당업계에 공지되어 있다. 이러한 가열식 에어로졸 발생 물품의 하나의 목표는 종래의 궐련에서 담배의 연소와 열분해 열화(degradation)로 인해 생성된 유해하거나 또는 잠재적으로 유해할 부산물을 감소시키는 것이다.Aerosol-generating articles, such as cigarettes, in which an aerosol-forming substrate is heated rather than combusted are known in the art. One goal of such heated aerosol-generating articles is to reduce harmful or potentially harmful by-products produced by the combustion and pyrolytic degradation of tobacco in conventional cigarettes.
에어로졸 발생 물품에서, 흡입 가능한 에어로졸은 통상적으로 가열 요소로부터 에어로졸 형성 기재로의 열의 전달에 의해 발생된다. 가열 동안, 휘발성 화합물은 에어로졸 형성 기재로부터 방출되고 공기에 비말동반된다. 예를 들어, 휘발성 화합물은 에어로졸 발생 물품을 통해, 에어로졸 발생 물품 위로, 에어로졸 발생 물품 주위로 또는 그렇지 않으면 에어로졸 발생 물품의 부근 내에 흡인된 공기에 비말동반될 수 있다. 방출된 휘발성 화합물이 냉각됨에 따라, 화합물은 응축되어 에어로졸을 형성한다. 에어로졸은 사용자에 의해 흡입될 수 있다. 에어로졸은 아로마, 향미제, 니코틴 및 다른 원하는 요소를 함유할 수 있다.In aerosol-generating articles, an inhalable aerosol is typically generated by the transfer of heat from a heating element to the aerosol-forming substrate. During heating, volatile compounds are released from the aerosol-forming substrate and are entrained in the air. For example, volatile compounds may be entrained in air drawn through the aerosol-generating article, onto the aerosol-generating article, around the aerosol-generating article, or otherwise within the vicinity of the aerosol-generating article. As the released volatile compound cools, the compound condenses to form an aerosol. The aerosol may be inhaled by the user. Aerosols may contain aromas, flavoring agents, nicotine and other desired elements.
가열 요소는 에어로졸 발생 장치 내에 포함될 수 있다. 에어로졸 발생 물품과 에어로졸 발생 장치의 조합은 에어로졸 발생 시스템을 형성할 수 있다.A heating element may be included within the aerosol-generating device. The combination of an aerosol-generating article and an aerosol-generating device may form an aerosol-generating system.
본 발명의 일 양태에서, 에어로졸 발생 시스템이 제공되며, 에어로졸 발생 시스템은,In one aspect of the present invention, an aerosol-generating system is provided, the aerosol-generating system comprising:
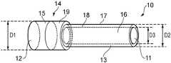
상류 단부 및 하류 단부를 갖는 에어로졸 발생 물품 - 에어로졸 발생 물품은 상류 단부와 하류 단부 사이에 길이방향을 정의하고, 에어로졸 발생 물품은,an aerosol-generating article having an upstream end and a downstream end, the aerosol-generating article defining a longitudinal direction between the upstream end and the downstream end, the aerosol-generating article comprising:
에어로졸 발생 물품의 상류 단부에 배치되고, 에어로졸 형성 기재를 포함하는 상류 세그먼트로서, 에어로졸 형성 기재는 기재 외경을 갖는 기재 외부 표면을 포함하는 상류 세그먼트; 및an upstream segment disposed at the upstream end of the aerosol-generating article, the upstream segment comprising an aerosol-forming substrate, the aerosol-forming substrate comprising an upstream segment comprising an exterior surface of the substrate having an outer diameter of the substrate; and
에어로졸 발생 물품의 하류 단부에 배치되고, 하류 세그먼트 외경을 갖는 하류 세그먼트로서, 하류 세그먼트 외경은 기재 외경보다 더 큰 하류 세그먼트를 포함함 - ; 및a downstream segment disposed at the downstream end of the aerosol-generating article, the downstream segment having a downstream segment outer diameter, the downstream segment outer diameter being greater than the substrate outer diameter; and
에어로졸 발생 장치를 포함하며, 에어로졸 발생 장치는,an aerosol-generating device, the aerosol-generating device comprising:
장치 공동 내경을 갖는 장치 공동 내부 표면을 포함하는 장치 공동으로서, 적어도 에어로졸 발생 물품의 에어로졸 형성 기재를 수용하도록 구성되는 장치 공동; 및A device cavity comprising a device cavity interior surface having a device cavity inner diameter, the device cavity configured to receive at least an aerosol-forming substrate of an aerosol-generating article; and
에어로졸 형성 기재가 장치 공동 내에 수용될 때 에어로졸 형성 기재를 가열하도록 구성된 적어도 하나의 가열 요소를 포함하고,at least one heating element configured to heat the aerosol-forming substrate when the aerosol-forming substrate is received within the device cavity;
에어로졸 발생 물품의 에어로졸 형성 기재가 장치 공동 내에 수용될 때, 기류 통로는 기재 외부 표면과 장치 공동 내부 표면 사이에 정의되고, 기류 통로는 에어로졸 형성 기재의 길이를 따라 길이방향으로 연장된다.When the aerosol-forming substrate of the aerosol-generating article is received within the device cavity, an airflow passageway is defined between the substrate exterior surface and the device cavity interior surface, the airflow passageway extending longitudinally along the length of the aerosol-forming substrate.
에어로졸 발생 장치는 장치 공동을 포함한다. 사용 시, 에어로졸 발생 물품의 에어로졸 형성 기재는 에어로졸 발생 장치의 장치 공동 내에 수용된다. 그 다음, 에어로졸 발생 물품은 가열 요소에 의해 가열되어 에어로졸 형성 기재로부터 휘발성 화합물을 방출할 수 있으며, 이는 응축되어 에어로졸을 형성할 수 있다.The aerosol-generating device includes a device cavity. In use, the aerosol-forming substrate of the aerosol-generating article is received within the device cavity of the aerosol-generating device. The aerosol-generating article may then be heated by the heating element to release the volatile compound from the aerosol-forming substrate, which may condense to form an aerosol.
장치 공동이 에어로졸 형성 기재를 수용할 때, 기류 통로는 기재 외부 표면 및 장치 공동 내부 표면에 의해 정의된다. 장치 공동의 내부 표면과 기재의 외부 표면 사이의 갭은 기류 통로를 적어도 부분적으로 한정한다. 기류 통로는 에어로졸 형성 기재의 외부에 있고 에어로졸 발생 장치의 장치 공동 내에 포함된다.When the device cavity receives the aerosol-forming substrate, the airflow passageway is defined by the substrate exterior surface and the device cavity interior surface. A gap between the inner surface of the device cavity and the outer surface of the substrate at least partially defines an airflow passageway. The airflow passage is external to the aerosol-forming substrate and contained within the device cavity of the aerosol-generating device.
기류 통로는 사용자가 흡인한 공기가 에어로졸 형성 기재를 통해서가 아니라 에어로졸 형성 기재의 외부 표면을 따라 흐를 수 있게 하여, 에어로졸 형성 기재를 통해 이동하는 공기의 양을 감소시키거나 최소화할 수 있다. 그 결과, 장치 내의 기류는 그 두께 전체에 걸쳐 기재를 냉각하기 보다는, 기류 통로를 따라 흐를 때 주로 기재의 외부 표면을 냉각시킨다. 유리하게는, 이는 사용자가 에어로졸 발생 물품을 흡인하는 것으로 인해 기재의 온도 변동을 감소시킬 수 있다.The airflow path may allow air drawn by the user to flow along the outer surface of the aerosol-forming substrate rather than through the aerosol-forming substrate, thereby reducing or minimizing the amount of air that travels through the aerosol-forming substrate. As a result, the airflow within the device primarily cools the outer surface of the substrate as it flows along the airflow path, rather than cooling the substrate throughout its thickness. Advantageously, this can reduce temperature fluctuations of the substrate due to the user inhaling the aerosol-generating article.
유리하게는, 기재 외경과 장치 공동 내경 사이에 기류 통로를 제공하는 것은 가열식 에어로졸 형성 기재로부터 전개된 휘발성 화합물이 이동할 수 있는 공간을 제공한다. 사용자가 물품을 통해 흡인한 공기가 기재의 외부 표면 위로 흡인됨에 따라, 이러한 기류 통로는 가열된 기재로부터 휘발성 화합물의 전개를 촉진할 수 있다.Advantageously, providing an airflow passageway between the outer diameter of the substrate and the inner diameter of the device cavity provides space for volatile compounds deployed from the heated aerosol-forming substrate to migrate. As air drawn by the user through the article is drawn over the outer surface of the substrate, these airflow passages can promote the evolution of volatile compounds from the heated substrate.
본원에서 사용되는 바와 같이, 용어 "에어로졸 발생 장치"는 에어로졸 발생 물품의 에어로졸 형성 기재와 상호작용하여 에어로졸을 발생시키는 가열 요소를 포함하는 장치를 지칭한다.As used herein, the term “aerosol-generating device” refers to a device comprising a heating element that interacts with the aerosol-forming substrate of an aerosol-generating article to generate an aerosol.
본 발명의 다른 양태에 따르면, 상기 에어로졸 발생 시스템에 적합한 에어로졸 발생 물품이 제공되며, 에어로졸 발생 물품은,According to another aspect of the present invention, there is provided an aerosol-generating article suitable for the aerosol-generating system, the aerosol-generating article comprising:
상류 단부 및 하류 단부를 포함하며, 에어로졸 발생 물품은 상류 단부와 하류 단부 사이에 길이방향을 정의하고, 에어로졸 발생 물품은,an upstream end and a downstream end, wherein the aerosol-generating article defines a longitudinal direction between the upstream end and the downstream end, the aerosol-generating article comprising:
에어로졸 발생 물품의 상류 단부에 배치되고, 에어로졸 형성 기재를 포함하는 상류 세그먼트로서, 기재는 기재 외경을 갖는 기재 외부 표면을 포함하는 상류 세그먼트; 및an upstream segment disposed at the upstream end of the aerosol-generating article, the upstream segment comprising an aerosol-forming substrate, the substrate comprising an upstream segment comprising an exterior surface of the substrate having an outer diameter of the substrate; and
에어로졸 발생 물품의 하류 단부에 배치되고, 하류 세그먼트 외경을 갖는 하류 세그먼트로서, 하류 세그먼트 외경은 기재 외경보다 더 큰 하류 세그먼트를 포함한다.a downstream segment disposed at the downstream end of the aerosol-generating article and having a downstream segment outer diameter, wherein the downstream segment outer diameter is greater than the substrate outer diameter.
하류 세그먼트는 에어로졸 형성 기재의 외경보다 더 큰 외경을 갖는다. 물품의 길이를 따라 일관된 외경을 갖는 에어로졸 발생 물품과 비교하여, 상이한 외경을 갖는 세그먼트를 에어로졸 발생 물품에 제공하는 것은 에어로졸 형성 기재를 포함하는 물품의 세그먼트가 필터 또는 냉각 요소와 같은, 물품의 다른 구성요소보다 더 얇을 수 있게 할 수 있다. 유리하게는, 에어로졸 형성 기재의 두께를 감소시키는 것은 가열 요소로부터 기재에 인가된 열이 기재의 두께를 통해 신속하게 전파될 수 있게 하여, 가열 요소로부터 가장 먼 기재의 영역에서 가열 요소가 기재의 온도를 상승시키는 데 필요한 시간을 감소시킬 수 있다. 이는 에어로졸 형성 기재의 두께에 걸쳐 온도 변화를 감소시키고, 가열 요소에 의해 가열된 영역으로부터 가장 먼 기재의 영역에 남아있는 에어로졸 형성 기재의 미가열 및 미사용 부분의 가능성을 감소시킬 수 있다. 에어로졸 형성 기재의 두께에 걸친 온도의 변화가 감소될 수 있기 때문에, 기재로부터 발생된 에어로졸의 조성 및 다른 특성은 사용자 경험 전반에 걸쳐 더 균일할 수 있고, 상이한 기재에 대한 사용자 경험 사이에서 제어하기가 더 용이할 수 있다. 유리하게는, 이는 사용자에게 보다 일관된 경험을 생성할 수 있다.The downstream segment has an outer diameter greater than the outer diameter of the aerosol-forming substrate. As compared to an aerosol-generating article having a consistent outer diameter along the length of the article, providing an aerosol-generating article with segments having a different outer diameter means that the segment of the article comprising the aerosol-forming substrate is another component of the article, such as a filter or cooling element. It can be made thinner than the element. Advantageously, reducing the thickness of the aerosol-forming substrate allows heat applied to the substrate from the heating element to propagate rapidly through the thickness of the substrate, such that the heating element in the region of the substrate furthest from the heating element achieves the temperature of the substrate. It can reduce the time required to raise the This may reduce the change in temperature across the thickness of the aerosol-forming substrate and reduce the likelihood of an unheated and unused portion of the aerosol-forming substrate remaining in the region of the substrate furthest from the region heated by the heating element. Because the change in temperature across the thickness of the aerosol-forming substrate can be reduced, the composition and other properties of the aerosol generated from the substrate can be more uniform throughout the user experience and more difficult to control between user experiences for different substrates. It could be easier. Advantageously, this may create a more consistent experience for the user.
본 발명의 이러한 양태의 에어로졸 발생 물품이 본 발명의 이전 양태의 에어로졸 발생 시스템에 적합하기 때문에, 시스템에 대해 위에서 명시된 장점은 또한 물품 자체에 적용된다.Since the aerosol-generating article of this aspect of the invention is suitable for the aerosol-generating system of the previous aspect of the invention, the advantages specified above for the system also apply to the article itself.
용어 "에어로졸 발생 물품"은 에어로졸 형성 기재를 포함하는 물품을 나타내기 위해 본원에서 사용되며, 여기서 에어로졸 형성 기재는 에어로졸을 생성하고 사용자에게 전달하기 위해 가열될 수 있다. 본원에서 사용되는 바와 같이, 용어 "에어로졸 발생 기재"는 가열 시, 에어로졸을 발생시키기 위해 휘발성 화합물을 방출할 수 있는 기재를 나타낸다.The term “aerosol-generating article” is used herein to refer to an article comprising an aerosol-forming substrate, wherein the aerosol-forming substrate can be heated to generate and deliver an aerosol to a user. As used herein, the term “aerosol-generating substrate” refers to a substrate capable of releasing volatile compounds to generate an aerosol upon heating.
에어로졸 발생 물품은 일반적으로 로드의 형태를 취할 수 있다. 물품은 상류 단부로부터 하류 단부로, 길이방향으로 로드를 통해 중앙으로 연장되는 중앙 길이방향 축을 포함할 수 있다. 에어로졸 발생 물품의 상류 세그먼트 및 하류 세그먼트는 에어로졸 형성 물품의 중앙 길이방향 축과 동축으로 정렬되어 배열될 수 있다. 에어로졸 발생 물품의 상류 세그먼트 및 하류 세그먼트는 에어로졸 형성 물품의 중앙 길이방향 축과 동축으로 정렬되도록 단부-대-단부에 배열될 수 있다.The aerosol-generating article may generally take the form of a rod. The article may include a central longitudinal axis extending centrally through the rod in a longitudinal direction from an upstream end to a downstream end. The upstream segment and the downstream segment of the aerosol-generating article may be arranged coaxially aligned with a central longitudinal axis of the aerosol-forming article. The upstream segment and the downstream segment of the aerosol-generating article may be arranged end-to-end to be coaxially aligned with a central longitudinal axis of the aerosol-forming article.
에어로졸 발생 물품은, 약 30 mm 내지 약 100 mm의 총 길이를 가질 수 있다.The aerosol-generating article may have a total length of from about 30 mm to about 100 mm.
바람직한 구현예에서, 에어로졸 발생 물품은 약 40 mm 내지 약 50 mm의 총 길이를 갖는다. 바람직하게는, 에어로졸 발생 물품은 약 45 mm의 총 길이를 갖는다.In a preferred embodiment, the aerosol-generating article has a total length of from about 40 mm to about 50 mm. Preferably, the aerosol-generating article has a total length of about 45 mm.
에어로졸 발생 물품은 복수의 구성요소를 포함할 수 있다. 예를 들어, 에어로졸 발생 물품은 에어로졸 형성 기재 및 열 전도성 층, 마우스피스, 필터, 냉각 요소, 간격 요소 및 향미 요소 중 임의의 하나 또는 임의의 하나 이상의 조합을 포함할 수 있다.The aerosol-generating article may comprise a plurality of components. For example, an aerosol-generating article may comprise an aerosol-forming substrate and any one or combination of any one or more of a thermally conductive layer, a mouthpiece, a filter, a cooling element, a spacing element, and a flavor element.
하류 세그먼트는 기재 외경보다 더 큰 하류 세그먼트 외경을 갖는다. 하류 세그먼트 외경은 적어도 하류 세그먼트의 상류 단부에서 기재 외경보다 더 크다. 본원에서 사용되는 바와 같이, 용어 "상류 단부"는 물품의 상류 단부에 가장 가까운 물품의 특징 또는 양태의 단부를 지칭하고, 용어 "하류 단부"는 물품의 하류 단부에 가장 가까운 물품의 특징 또는 양태의 단부를 지칭한다.The downstream segment has a downstream segment outer diameter that is greater than the substrate outer diameter. The downstream segment outer diameter is greater than the substrate outer diameter at least at the upstream end of the downstream segment. As used herein, the term “upstream end” refers to the end of the feature or aspect of the article closest to the upstream end of the article, and the term “downstream end” refers to the end of the feature or aspect of the article closest to the downstream end of the article. refers to the end.
일부 바람직한 구현예에서, 하류 세그먼트는 하류 세그먼트의 길이를 따라 일정한 하류 세그먼트 외경을 갖는다. 그러나, 일부 구현예에서 하류 세그먼트 외경은 물품의 상류 단부로부터 하류 단부로 하류 세그먼트의 길이를 따라 변화된다. 하류 세그먼트 외경은 하류 세그먼트의 상류 단부로부터 물품의 하류 단부로 증가할 수 있다. 하류 세그먼트 외경은 하류 세그먼트의 상류 단부로부터 물품의 하류 단부로 감소할 수 있다.In some preferred embodiments, the downstream segment has a constant downstream segment outer diameter along the length of the downstream segment. However, in some embodiments the downstream segment outer diameter varies along the length of the downstream segment from the upstream end to the downstream end of the article. The downstream segment outer diameter may increase from an upstream end of the downstream segment to a downstream end of the article. The downstream segment outer diameter may decrease from an upstream end of the downstream segment to a downstream end of the article.
하류 세그먼트는 약 5 mm 내지 약 13 mm의 하류 세그먼트 외경을 가질 수 있다. 바람직하게는, 하류 세그먼트는 세그먼트의 길이를 따라 실질적으로 일정한 외경을 갖는다.The downstream segment may have a downstream segment outer diameter of from about 5 mm to about 13 mm. Preferably, the downstream segment has an outer diameter that is substantially constant along the length of the segment.
하류 세그먼트는 약 7 mm 내지 약 25 mm의 길이를 가질 수 있다.The downstream segment may have a length of from about 7 mm to about 25 mm.
하류 세그먼트는 하나 이상의 구성요소를 포함할 수 있다. 예를 들어, 하류 세그먼트는 마우스피스, 필터, 간격 요소, 냉각 요소 및 향미 요소 중 임의의 하나 또는 임의의 하나 이상의 임의의 조합을 포함할 수 있다.The downstream segment may include one or more components. For example, the downstream segment may include any one or any combination of any one or more of a mouthpiece, a filter, a spacing element, a cooling element, and a flavor element.
상류 세그먼트는 마우스피스를 포함할 수 있다. 마우스피스는 에어로졸 발생 물품이 가열될 때 에어로졸 발생 물품으로부터 에어로졸을 수용하도록 사용자에 의해 흡인되도록 구성된 구성요소다.The upstream segment may include a mouthpiece. The mouthpiece is a component configured to be drawn by a user to receive an aerosol from the aerosol-generating article when the aerosol-generating article is heated.
상류 세그먼트는 필터를 포함할 수 있다. 용어 "필터"는 필터를 통해 흡인된 주류 에어로졸로부터 적어도 부분적으로 기체상 또는 미립자 상 성분 또는 기체상 및 미립자상 성분 둘 모두를 제거하도록 구성된 에어로졸 발생 물품의 섹션을 나타내는 데 사용된다. 따라서, 필터는 형성된 에어로졸에서 바람직하지 않은 성분의 존재를 최소화하는 데 유리할 수 있다. 바람직하게는, 필터는 셀룰로스 아세테이트 필터 플러그이다. 바람직하게는, 하류 세그먼트는 필터 형태의 마우스피스를 포함한다. 바람직하게는, 하류 세그먼트는 길이가 약 7 mm인 필터 형태의 마우스피스를 포함하지만, 약 5 mm 내지 약 10 mm의 길이를 가질 수 있다.The upstream segment may include a filter. The term “filter” is used to denote a section of an aerosol-generating article configured to at least partially remove a gaseous or particulate phase component or both a gaseous and particulate component from a mainstream aerosol drawn through the filter. Thus, filters can be advantageous in minimizing the presence of undesirable components in the formed aerosol. Preferably, the filter is a cellulose acetate filter plug. Preferably, the downstream segment comprises a mouthpiece in the form of a filter. Preferably, the downstream segment comprises a mouthpiece in the form of a filter having a length of about 7 mm, but may have a length of from about 5 mm to about 10 mm.
일부 구현예에서, 하류 세그먼트는 필터로 구성된다. 이는 부품의 수가 최소로 감소되는 소형 에어로졸 발생 물품을 제공할 수 있다.In some embodiments, the downstream segment consists of a filter. This can provide a compact aerosol-generating article in which the number of parts is reduced to a minimum.
일부 구현예에서, 냉각 요소 및 간격 요소 중 적어도 하나는 에어로졸 형성 기재와 필터 사이에 배치될 수 있다. 이러한 추가 구성요소는 에어로졸 발생 물품의 열적 또는 기계적 특성을 개선하는 데 사용될 수 있다.In some embodiments, at least one of the cooling element and the spacing element may be disposed between the aerosol-forming substrate and the filter. These additional components can be used to improve the thermal or mechanical properties of the aerosol-generating article.
본원에서 사용되는 바와 같이, "냉각 요소"는 사용 시, 에어로졸 형성 기재로부터 방출된 휘발성 화합물에 의해 형성된 에어로졸이 사용자에 의해 흡입되기 전에 냉각 요소를 통과하여 그에 의해 냉각되도록 에어로졸 형성 기재의 하류에 위치된 에어로졸 발생 물품의 구성요소를 지칭한다. 냉각 요소는 큰 표면적을 갖지만, 낮은 압력 강하를 야기한다. 높은 압력 강하를 생성하는 필터 및 기타 마우스피스, 예를 들어 섬유 다발로 형성된 필터는, 에어로졸 냉각 요소인 것으로 간주되지 않는다. 에어로졸 발생 물품 내부의 챔버 및 공동은 에어로졸 냉각 요소인 것으로 간주되지 않는다.As used herein, a “cooling element” is positioned downstream of the aerosol-forming substrate such that, in use, the aerosol formed by the volatile compound released from the aerosol-forming substrate passes through and is cooled by the cooling element before being inhaled by the user. Refers to a component of an aerosol-generating article. The cooling element has a large surface area, but causes a low pressure drop. Filters and other mouthpieces that produce a high pressure drop, for example filters formed from fiber bundles, are not considered to be aerosol cooling elements. Chambers and cavities inside an aerosol-generating article are not considered to be aerosol cooling elements.
간격 요소는 에어로졸 형성 기재 내로 가열 요소의 삽입 동안 에어로졸 형성 기재의 하류 이동에 저항하도록 구성된 지지 요소일 수 있다. 간격 요소는 중공형 튜브를 포함할 수 있다. 간격 요소는 셀룰로스 아세테이트의 중공형 튜브를 포함할 수 있다.The spacing element may be a support element configured to resist downstream movement of the aerosol-forming substrate during insertion of the heating element into the aerosol-forming substrate. The spacing element may comprise a hollow tube. The spacing element may comprise a hollow tube of cellulose acetate.
일부 구현예에서, 하류 세그먼트는 향미 요소를 포함한다. 향미 요소는 하나 이상의 향미제를 포함할 수 있다. 본원에서 사용되는 바와 같이, 용어 '향미제'는 사용 시, 에어로졸 형성 기재를 가열함으로써 발생된 에어로졸에 맛(taste) 또는 향(aroma) 중 하나 또는 둘 모두를 부여하는 제제를 나타낸다. 적합한 향미제의 일 예는 멘톨이다. 향미 요소는 하류 세그먼트 내의 임의의 적합한 위치에 배열될 수 있다.In some embodiments, the downstream segment comprises a flavor component. The flavor component may include one or more flavoring agents. As used herein, the term 'flavourant' refers to an agent that, in use, imparts one or both of a taste or aroma to an aerosol generated by heating the aerosol-forming substrate. One example of a suitable flavoring agent is menthol. The flavor elements may be arranged at any suitable location within the downstream segment.
상류 세그먼트는 에어로졸 형성 기재를 포함한다. 상류 세그먼트는 또한 열 전도성 재료의 층, 냉각 요소 및 간격 요소와 같은, 하나 이상의 추가 구성요소를 포함할 수 있다. 바람직하게는, 상류 세그먼트는 에어로졸 형성 기재 및 선택적으로 열 전도성 재료의 층으로 구성된다.The upstream segment includes an aerosol-forming substrate. The upstream segment may also include one or more additional components, such as a layer of thermally conductive material, a cooling element, and a spacing element. Preferably, the upstream segment consists of an aerosol-forming substrate and optionally a layer of thermally conductive material.
상류 세그먼트는 약 3 mm 내지 약 12 mm의 외경을 가질 수 있다. 상류 세그먼트는 세그먼트의 길이를 따라 실질적으로 일정한 외경을 가질 수 있다.The upstream segment may have an outer diameter of about 3 mm to about 12 mm. The upstream segment may have a substantially constant outer diameter along the length of the segment.
상류 세그먼트는 약 8 mm 내지 약 25 mm의 길이를 가질 수 있다.The upstream segment may have a length of from about 8 mm to about 25 mm.
에어로졸 형성 기재는 기재 외경을 갖는 에어로졸 형성 기재 외부 표면을 갖는다. 에어로졸 형성 기재는 약 3 mm 내지 약 12 mm의 외경을 가질 수 있다. 바람직하게는, 기재 외경은 에어로졸 형성 기재의 길이를 따라 실질적으로 일정하다.The aerosol-forming substrate has an outer surface of the aerosol-forming substrate having an outer diameter of the substrate. The aerosol-forming substrate may have an outer diameter of about 3 mm to about 12 mm. Preferably, the outer diameter of the substrate is substantially constant along the length of the aerosol-forming substrate.
기재 외경은 하류 세그먼트 외경의 약 50% 내지 약 98%, 또는 하류 세그먼트 외경의 약 60% 내지 약 95%, 또는 하류 세그먼트 외경의 약 70% 내지 약 90%일 수 있다.The outer diameter of the substrate may be from about 50% to about 98% of the outer diameter of the downstream segment, or from about 60% to about 95% of the outer diameter of the downstream segment, or from about 70% to about 90% of the outer diameter of the downstream segment.
에어로졸 형성 기재는 약 8 mm 내지 약 12 mm의 길이를 가질 수 있다.The aerosol-forming substrate may have a length of from about 8 mm to about 12 mm.
에어로졸 형성 기재는 임의의 적합한 가로방향 단면을 가질 수 있다. 본원에서 사용되는 바와 같이, "가로방향 단면"은 길이방향에 수직인 단면이다. 예를 들어, 기재는 원형, 난형(oval), 스타디움형, 직사각형 또는 삼각형 가로방향 단면 형상을 가질 수 있다. 바람직하게는, 기재는 원형 가로방향 단면 형상을 갖는다.The aerosol-forming substrate may have any suitable transverse cross-section. As used herein, a “transverse cross-section” is a cross-section perpendicular to the longitudinal direction. For example, the substrate may have a circular, oval, stadium-shaped, rectangular or triangular cross-sectional shape. Preferably, the substrate has a circular transverse cross-sectional shape.
바람직하게는, 에어로졸 형성 기재는 고체 에어로졸 형성 기재이다. 바람직하게는, 에어로졸 형성 기재는 담배를 포함한다. 바람직하게는, 에어로졸 형성 기재는 담배를 포함하는 고체 에어로졸 형성 기재이다. 에어로졸 형성 기재는 가열 시에 기재로부터 방출되는 휘발성 담배 향미 화합물을 함유하는 담배 함유 재료를 포함할 수 있다.Preferably, the aerosol-forming substrate is a solid aerosol-forming substrate. Preferably, the aerosol-forming substrate comprises tobacco. Preferably, the aerosol-forming substrate is a solid aerosol-forming substrate comprising tobacco. The aerosol-forming substrate may comprise a tobacco-containing material containing a volatile tobacco flavor compound that is released from the substrate upon heating.
고체 에어로졸 형성 기재는 담배 플러그를 포함할 수 있다. 담배의 플러그는 예를 들어, 허브 잎, 담뱃잎, 담배 리브, 팽화 담배(expanded tobacco) 및 균질화된 담배 중 하나 이상을 함유하는 분말, 과립, 펠릿(pellet), 슈레드(shred), 스트랜드, 스트립 또는 시트 중 하나 이상을 포함할 수 있다. 본원에서 사용되는 바와 같이, 용어 '균질화된 담배 재료'는 미립자 담배를 응집시켜서 형성된 재료를 나타낸다. 균질화된 담배 재료를 제공하는 것은 에어로졸 발생, 니코틴 함량 및 에어로졸 발생 물품의 가열 동안 발생되는 에어로졸의 향미 프로파일을 개선할 수 있다. 구체적으로, 균질화된 담배를 제조하는 공정은 담뱃잎을 분쇄하는 단계를 수반하며, 이는 가열시 니코틴 및 향미를 보다 효과적으로 방출할 수 있게 한다. 담배 플러그가 균질화된 담배 재료를 포함하는 경우, 균질화 담배 재료는 시트의 형태일 수 있다. 본원에서 사용되는 바와 같이, 용어 '시트'는 그것의 두께보다 실질적으로 큰 폭과 길이를 갖는 적층 요소를 나타낸다.The solid aerosol-forming substrate may comprise a tobacco plug. Plugs of tobacco may be, for example, powders, granules, pellets, shreds, strands, strips containing one or more of herbal leaves, tobacco leaves, tobacco ribs, expanded tobacco and homogenized tobacco. or one or more of the sheets. As used herein, the term 'homogenized tobacco material' refers to a material formed by agglomerating particulate tobacco. Providing a homogenized tobacco material can improve the aerosol generation, nicotine content and flavor profile of the aerosol generated during heating of the aerosol-generating article. Specifically, the process for producing homogenized tobacco involves grinding tobacco leaves, which allows for more effective release of nicotine and flavor upon heating. Where the tobacco plug comprises homogenized tobacco material, the homogenized tobacco material may be in the form of a sheet. As used herein, the term 'sheet' refers to a laminate element having a width and length substantially greater than its thickness.
고체 에어로졸 형성 기재는 균질화된 담배 재료를 포함할 수 있다. 고체 에어로졸 형성 재료는 균질화된 담배 재료의 슈레드, 스트랜드 또는 스트립을 포함할 수 있다. 고체 에어로졸 형성 기재는 균질화된 담배 재료의 시트를 포함할 수 있다.The solid aerosol-forming substrate may comprise homogenized tobacco material. The solid aerosol-forming material may comprise shreds, strands or strips of homogenized tobacco material. The solid aerosol-forming substrate may comprise a sheet of homogenized tobacco material.
에어로졸 형성 기재는 실질적으로 균질한 조성을 가질 수 있다. 일 구현예에서, 에어로졸 형성 기재는 적어도 길이방향으로 실질적으로 균일한 조성을 가질 수 있다.The aerosol-forming substrate may have a substantially homogeneous composition. In one embodiment, the aerosol-forming substrate may have a composition that is substantially uniform at least in the longitudinal direction.
균질화된 담배 재료의 시트는 담배 잎몸(leaf lamina) 및 담배 잎자루(leaf stem) 중 하나 또는 둘 모두를 연마하거나 달리 세분하여 얻어진 미립자 담배를 응집시킴으로써 형성될 수 있다. 균질화된 담배 재료의 시트는 예를 들어 담배의 처리, 취급 및 배송 동안 형성된 담배 가루, 담배 미분 및 다른 미립자 담배 부산물 중 하나 이상을 포함할 수 있다. 균질화된 담배 재료의 시트는 미립자 담배 및 하나 이상의 결합제를 포함하는 슬러리를 컨베이어 벨트 또는 다른 지지 표면 상에 캐스팅하는 단계, 캐스팅된 슬러리를 건조시켜 균질화 담배 재료의 시트를 형성하는 단계 및 지지 표면으로부터 균질화 담배 재료의 시트를 제거하는 단계를 일반적으로 포함하는 유형의 캐스팅 공정에 의해 형성되는 것이 바람직하다.The homogenized sheet of tobacco material may be formed by agglomerating particulate tobacco obtained by grinding or otherwise subdividing one or both of a tobacco leaf lamina and a tobacco leaf stem. The sheet of homogenized tobacco material may include, for example, one or more of tobacco powder, tobacco fines, and other particulate tobacco by-products formed during the processing, handling and shipping of tobacco. A sheet of homogenized tobacco material is prepared by casting a slurry comprising particulate tobacco and one or more binders onto a conveyor belt or other support surface, drying the cast slurry to form a sheet of homogenized tobacco material, and homogenizing from the support surface. It is preferably formed by a casting process of the type that generally includes the step of removing the sheet of tobacco material.
고체 에어로졸 형성 기재는 균질화된 담배 재료의 주름진 시트를 포함할 수 있다. 본원에서 사용되는 바와 같이, 용어 '주름진(gathered)'은 에어로졸 발생 물품의 길이방향 축에 실질적으로 가로방향으로 뒤얽히거나, 접히거나, 그렇지 않으면 압축 또는 수축된 시트를 설명하는 데 사용된다.The solid aerosol-forming substrate may comprise a corrugated sheet of homogenized tobacco material. As used herein, the term 'gathered' is used to describe a sheet that is entangled, folded, or otherwise compressed or retracted substantially transverse to the longitudinal axis of the aerosol-generating article.
일부 바람직한 구현예에서, 에어로졸 형성 기재는 균질화된 담배 재료의 주름진 텍스쳐 가공 시트를 포함한다. 본원에서 사용되는 바와 같이, 용어 '텍스쳐 가공 시트(textured sheet)'는 크림핑되었거나, 양각되었거나, 음각되었거나, 천공되었거나 달리 변형된 시트를 나타낸다. 균질화된 담배 재료의 텍스쳐 가공 시트를 사용하는 것은, 유리하게는 균질화 담배 재료 시트의 주름 형성(gathering)을 용이하게 하여 에어로졸 형성 기재를 형성할 수 있다. 에어로졸 형성 기재는 복수의 이격된 압입부, 돌출부, 천공 또는 이들의 조합을 포함하는 균질화된 담배 재료의 주름진 텍스쳐 가공 시트를 포함할 수 있다.In some preferred embodiments, the aerosol-forming substrate comprises a corrugated texturized sheet of homogenized tobacco material. As used herein, the term 'textured sheet' refers to a sheet that has been crimped, embossed, engraved, perforated or otherwise deformed. Using a texturized sheet of homogenized tobacco material may advantageously facilitate gathering of the homogenized tobacco material sheet to form an aerosol-forming substrate. The aerosol-forming substrate may comprise a gathered texturized sheet of homogenized tobacco material comprising a plurality of spaced apart indentations, projections, perforations, or combinations thereof.
특히 바람직한 구현예에서, 에어로졸 형성 기재는 균질화된 담배 재료의 주름진 크림핑된 시트(crimped sheet)를 포함한다. 본원에서 사용되는 바와 같이, 용어 '크림핑된 시트'는 복수의 실질적으로 평행한 리지(ridge) 또는 물결주름을 갖는 시트를 가리킨다. 바람직하게, 실질적으로 평행한 리지 또는 물결주름은 에어로졸 발생 물품의 길이방향 축을 따라 또는 그에 평행하게 연장된다. 이는, 유리하게는 에어로졸 발생 물품을 형성하기 위해 균질화된 담배 재료의 크림핑된 시트의 주름 형성을 촉진시킨다. 그러나, 에어로졸 발생 물품에 포함시키기 위한 균질화된 담배 재료의 크림핑된 시트는 대안적으로 또는 부가적으로, 에어로졸 발생 물품의 길이방향 축에 대해 예각 또는 둔각으로 배치되는 복수의 실질적으로 평행한 리지 또는 물결주름을 가질 수 있음을 이해할 것이다.In a particularly preferred embodiment, the aerosol-forming substrate comprises a crimped crimped sheet of homogenized tobacco material. As used herein, the term 'crimped sheet' refers to a sheet having a plurality of substantially parallel ridges or corrugations. Preferably, the substantially parallel ridges or corrugations extend along or parallel to the longitudinal axis of the aerosol-generating article. This advantageously promotes pleating of the crimped sheet of homogenized tobacco material to form an aerosol-generating article. However, the crimped sheet of homogenized tobacco material for inclusion in an aerosol-generating article may alternatively or additionally include a plurality of substantially parallel ridges disposed at an acute or obtuse angle with respect to the longitudinal axis of the aerosol-generating article or It will be appreciated that you may have wavy lines.
에어로졸 형성 기재는, 담배 함유 재료 및 비-담배 함유 재료를 포함할 수 있다.The aerosol-forming substrate may include tobacco-containing materials and non-tobacco-containing materials.
에어로졸 형성 기재는 에어로졸 형성제를 포함할 수 있다. 에어로졸 형성 기재는 단일 에어로졸 형성제 또는 2개 이상의 에어로졸 형성제의 조합을 포함할 수 있다. 본원에서 사용되는 바와 같이, 용어 '에어로졸 형성제'는, 사용 시, 에어로졸의 형성을 촉진시키고 에어로졸 발생 물품의 작동 온도에서 열적 열화에 실질적으로 내성이 있는, 임의의 적합한 공지된 화합물 또는 화합물들의 혼합물을 설명하는 데 사용된다. 적합한 에어로졸 형성제는 프로필렌 글리콜, 트리에틸렌 글리콜, 1,3-부탄디올 및 글리세린과 같은 다가 알코올; 글리세롤 모노-, 디- 또는 트리아세테이트와 같은 다가 알코올의 에스테르; 및 디메틸 도데칸디오에이트 및 디메틸 테트라데칸디오에이트와 같은 모노-, 디- 또는 폴리카르복실산의 지방족 에스테르를 포함하지만, 이에 한정되지 않는다. 바람직한 에어로졸 형성제는 프로필렌 글리콜, 트리에틸렌 글리콜, 1,3-부탄디올 같은 다가 알코올 또는 그들의 혼합물이며, 가장 바람직하게는 글리세린이다. 에어로졸 형성 기재는 건조 중량 기준으로 5%보다 큰 에어로졸 형성제 함량을 가질 수 있다. 에어로졸 에어로졸 형성 기재는 건조 중량 기준으로 약 5% 내지 약 30%의 에어로졸 형성제 함량을 가질 수 있다. 에어로졸 형성 기재는 건조 중량 기준으로 약 20%의 에어로졸 형성제 함량을 가질 수 있다.The aerosol-forming substrate may comprise an aerosol former. The aerosol-forming substrate may comprise a single aerosol former or a combination of two or more aerosol formers. As used herein, the term 'aerosol former' refers to any suitable known compound or mixture of compounds that, in use, promotes the formation of an aerosol and is substantially resistant to thermal degradation at the operating temperature of the aerosol-generating article. used to describe Suitable aerosol formers include polyhydric alcohols such as propylene glycol, triethylene glycol, 1,3-butanediol and glycerin; esters of polyhydric alcohols such as glycerol mono-, di- or triacetate; and aliphatic esters of mono-, di-, or polycarboxylic acids such as dimethyl dodecanedioate and dimethyl tetradecanedioate. Preferred aerosol formers are polyhydric alcohols such as propylene glycol, triethylene glycol, 1,3-butanediol or mixtures thereof, most preferably glycerin. The aerosol-forming substrate may have an aerosol former content of greater than 5% by dry weight. The aerosol aerosol-forming substrate may have an aerosol former content of from about 5% to about 30% by dry weight. The aerosol-forming substrate may have an aerosol former content of about 20% on a dry weight basis.
에어로졸 형성 기재는 균질화된 담배 재료, 에어로졸 형성제 및 물을 포함하는 것이 바람직하다.The aerosol-forming substrate preferably comprises homogenized tobacco material, an aerosol former and water.
균질화된 담배 재료는 접히거나, 크림핑되거나 스트립으로 절단되는 것 중 하나인 시트에 제공될 수 있다. 특히 바람직한 구현예에서, 시트는 약 0.2 mm 내지 약 2 mm, 더 바람직하게는 약 0.4 mm 내지 약 1.2 mm의 폭을 갖는 스트립으로 절단된다. 일 구현예에서, 스트립의 폭은 약 0.9 mm이다.The homogenized tobacco material may be provided in sheets that are either folded, crimped or cut into strips. In a particularly preferred embodiment, the sheet is cut into strips having a width of from about 0.2 mm to about 2 mm, more preferably from about 0.4 mm to about 1.2 mm. In one embodiment, the width of the strip is about 0.9 mm.
일부 구현예에서, 에어로졸 형성 기재는 내부 공동을 포함할 수 있다. 즉, 에어로졸 형성 기재는 중공 관형 기재일 수 있다. 에어로졸 형성 기재는 기재 내경을 갖는 기재 내부 표면을 포함할 수 있으며, 기재 내부 표면은 에어로졸 형성 기재 내에서 길이방향으로 연장되는 내부 공동을 한정한다. 내부 공동을 에어로졸 형성 기재 내로 제공하는 것은 기재를 천공하고 기재의 구조를 변경하지 않고, 가열 요소가 공동 내의 에어로졸 형성 기재 내로 삽입될 수 있게 한다. 내부 공동의 제공은 또한 에어로졸 형성 기재의 두께를 더 감소시켜, 전술한 열 전달 장점을 향상시키는 데 유익할 수 있다.In some embodiments, the aerosol-forming substrate may comprise an interior cavity. That is, the aerosol-forming substrate may be a hollow tubular substrate. The aerosol-forming substrate may include a substrate interior surface having a substrate inner diameter, the substrate interior surface defining an interior cavity extending longitudinally within the aerosol-forming substrate. Providing an interior cavity into the aerosol-forming substrate allows the heating element to be inserted into the aerosol-forming substrate within the cavity without puncturing the substrate and altering the structure of the substrate. The provision of an interior cavity may also be beneficial to further reduce the thickness of the aerosol-forming substrate, enhancing the heat transfer advantages described above.
기재 내경은 기재 외경의 약 60% 내지 약 90%일 수 있거나, 약 70% 내지 약 90% 또는 약 80% 내지 약 90%일 수 있다. 이러한 범위는 필요한 기계적 특성을 기재에 부여하면서 에어로졸 형성 기재 내에서 요구된 열의 전파를 제공할 수 있다.The inner diameter of the substrate may be from about 60% to about 90% of the outer diameter of the substrate, or from about 70% to about 90% or from about 80% to about 90% of the outer diameter of the substrate. This range can provide the required propagation of heat within the aerosol-forming substrate while imparting the necessary mechanical properties to the substrate.
에어로졸 형성 기재가 내부 공동을 한정하는 기재 내부 표면을 포함하는 경우, 기재 내부 표면은 기재 외부 표면과 동일한 가로방향 단면 형상을 가질 수 있다. 특히, 기재 내부 표면은 실질적으로 원형, 난형 또는 스타디움 형상 가로방향 단면을 가질 수 있다.Where the aerosol-forming substrate comprises a substrate interior surface defining an interior cavity, the substrate interior surface may have the same transverse cross-sectional shape as the substrate exterior surface. In particular, the inner surface of the substrate may have a substantially circular, oval or stadium-shaped transverse cross-section.
일부 구현예에서, 에어로졸 발생 물품은 열 전도성 재료의 층을 포함한다. 일부 구현예에서, 열 전도성 재료의 층은 적어도 달리 노출된 에어로졸 형성 기재의 적어도 일부를 덮을 수 있다. 일부 구현예에서, 열 전도성 재료의 층은 적어도 기재 외부 표면 상에 배치될 수 있다. 일부 구현예에서, 열 전도성 재료의 층은 적어도 기재 내부 표면 상에 배치될 수 있다. 일부 구현예에서, 열 전도성 재료의 층은 적어도 기재 내부 표면 상에 그리고 기재 외부 표면 상에 배치될 수 있다. 달리 노출된 기재 표면 상에 열 전도성 재료의 층을 제공하는 것은 기재에 의해 수용되거나 이와 체결되는 가열 요소로부터의 열이 에어로졸 형성 기재의 더 넓은 영역에 걸쳐 분포될 수 있게 하여, 가열 요소와 에어로졸 형성 기재 사이의 열 전달 효율을 개선한다. 열 전도성 재료의 층은 또한 내부 공동 내에 수용된 가열 요소와 에어로졸 형성 기재 사이에 물리적 분리를 생성할 수 있으며, 이는 가열 요소에 가까운 기재의 영역에서 에어로졸 형성 기재를 과열시킬 위험을 감소시킬 수 있다. 열 전도성 재료의 층은 또한 관형 에어로졸 형성 기재의 견고성을 증가시킬 수 있으며, 이는 내부 공동의 제공에 의해 기재의 두께의 감소에 의해 감소될 수 있다.In some embodiments, the aerosol-generating article comprises a layer of thermally conductive material. In some embodiments, the layer of thermally conductive material can cover at least a portion of at least an otherwise exposed aerosol-forming substrate. In some embodiments, a layer of thermally conductive material may be disposed on at least the outer surface of the substrate. In some embodiments, a layer of thermally conductive material may be disposed on at least an interior surface of the substrate. In some embodiments, the layer of thermally conductive material can be disposed on at least the inner surface of the substrate and on the outer surface of the substrate. Providing a layer of thermally conductive material on the otherwise exposed substrate surface allows heat from the heating element received by or engaged with the substrate to be distributed over a larger area of the aerosol-forming substrate, thereby forming an aerosol with the heating element. Improves heat transfer efficiency between substrates. The layer of thermally conductive material may also create a physical separation between the aerosol-forming substrate and the heating element received within the interior cavity, which may reduce the risk of overheating the aerosol-forming substrate in areas of the substrate proximate to the heating element. The layer of thermally conductive material may also increase the rigidity of the tubular aerosol-forming substrate, which may be reduced by reducing the thickness of the substrate by providing an interior cavity.
본원에서 사용되는 바와 같이, 용어 "열 전도성"은 23℃에서 적어도 10 W/m.K, 바람직하게는 적어도 40 W/m.K, 더 바람직하게 적어도 100 W/m.K의 열 전도율 및 50%의 상대 습도를 갖는 재료를 지칭한다. 바람직한 구현예에서, 열 전도성 재료의 층은 23℃에서 적어도 40 W/m.K, 바람직하게는 적어도 100 W/m.K, 더 바람직하게는 적어도 150 W/m.K, 훨씬 더 바람직하게는 적어도 200 W/m.K의 열 전도율 및 50%의 상대 습도를 재료를 포함한다.As used herein, the term “thermal conductivity” means having a thermal conductivity of at least 10 W/mK, preferably at least 40 W/mK, more preferably at least 100 W/mK and a relative humidity of 50% at 23°C. refers to the material. In a preferred embodiment, the layer of thermally conductive material has at least 40 W/mK, preferably at least 100 W/mK, more preferably at least 150 W/mK, even more preferably at least 200 W/mK at 23°C. The material contains a thermal conductivity and a relative humidity of 50%.
적합한 전도성 재료의 예는 알루미늄, 구리, 아연, 니켈, 은 및 이들의 조합을 포함하지만, 이에 한정되지 않는다.Examples of suitable conductive materials include, but are not limited to, aluminum, copper, zinc, nickel, silver, and combinations thereof.
에어로졸 형성 기재는 복수의 개별 세그먼트 내에 제공될 수 있다. 일부 구현예에서, 각각의 세그먼트는 동일한 에어로졸 형성 기재 조성을 포함할 수 있다. 일부 구현예에서, 하나 이상의 세그먼트는 상이한 조성을 갖는 에어로졸 형성 기재를 포함할 수 있다. 에어로졸 형성 기재는 제1 조성을 갖는 제1 에어로졸 형성 기재 세그먼트, 및 제2 조성을 갖는 제2 에어로졸 형성 기재 세그먼트를 포함할 수 있다.The aerosol-forming substrate may be provided within a plurality of discrete segments. In some embodiments, each segment may comprise the same aerosol-forming substrate composition. In some embodiments, one or more segments may comprise an aerosol-forming substrate having a different composition. The aerosol-forming substrate may comprise a first aerosol-forming substrate segment having a first composition, and a second aerosol-forming substrate segment having a second composition.
제1 및 제2 에어로졸 형성 기재 세그먼트의 상이한 조성은 상이한 조성을 갖는 에어로졸이 단일 에어로졸 발생 물품으로부터 발생될 수 있게 한다. 이는 또한 사용자가 가열될 특정 에어로졸 형성 기재를 선택하여 경험 동안 특정 에어로졸을 발생시킬 수 있게 한다.The different compositions of the first and second aerosol-forming substrate segments allow aerosols with different compositions to be generated from a single aerosol-generating article. It also allows the user to select a specific aerosol-forming substrate to be heated to generate a specific aerosol during the experience.
제1 및 제2 에어로졸 형성 기재 세그먼트는 순차적으로 가열되도록 구성될 수 있다. 이는 적어도 2개의 유형의 에어로졸이 미리 설정된 시간에 순차적으로 발생되는 미리 결정된 사용자 경험을 확립하는 데 유익할 수 있다.The first and second aerosol-forming substrate segments may be configured to be heated sequentially. This may be beneficial for establishing a predetermined user experience in which at least two types of aerosols are generated sequentially at a predetermined time.
일부 바람직한 구현예에서, 개별 세그먼트는 물품의 길이방향으로 단부-대-단부에 배열될 수 있다.In some preferred embodiments, the individual segments may be arranged end-to-end in the longitudinal direction of the article.
일부 구현예에서, 에어로졸 발생 물품은 상류 세그먼트를 둘러싸는 래퍼를 포함할 수 있다. 유리하게는, 이러한 래퍼는 사용자가 에어로졸 형성 기재를 취급하는 것을 방지할 수 있으며, 이는 높은 수준의 위생을 유지하는 것을 돕는다. 래퍼는 임의의 적합한 재료로 제조될 수 있다. 특히, 래퍼는 다공성 재료로 형성될 수 있다. 래퍼는 래퍼가 하류 세그먼트 주위에 배치될 때 휘발성 화합물이 에어로졸 형성 기재로부터 방출될 수 있게 하는 재료로 제조될 수 있다.In some embodiments, the aerosol-generating article may comprise a wrapper surrounding the upstream segment. Advantageously, such a wrapper can prevent the user from handling the aerosol-forming substrate, which helps maintain a high level of hygiene. The wrapper may be made of any suitable material. In particular, the wrapper may be formed of a porous material. The wrapper may be made of a material that allows the volatile compound to be released from the aerosol-forming substrate when the wrapper is disposed around the downstream segment.
일부 구현예에서, 에어로졸 발생 물품은 하류 세그먼트를 둘러싸는 래퍼를 포함할 수 있다. 유리하게는, 하류 세그먼트가 복수의 구성요소를 포함하는 경우, 래퍼는 복수의 구성요소를 함께 유지할 수 있다.In some embodiments, the aerosol-generating article may comprise a wrapper surrounding the downstream segment. Advantageously, if the downstream segment comprises a plurality of components, the wrapper may hold the plurality of components together.
일부 구현예에서, 에어로졸 발생 물품은 상류 세그먼트 및 하류 세그먼트를 둘러싸는 래퍼를 포함할 수 있다. 유리하게는, 래퍼는 상류 세그먼트 및 하류 세그먼트를 함께 유지할 수 있다.In some embodiments, the aerosol-generating article may comprise a wrapper surrounding the upstream segment and the downstream segment. Advantageously, the wrapper can hold the upstream segment and the downstream segment together.
유리하게는, 하나 이상의 래퍼의 제공은 에어로졸 발생 물품의 구조적 무결성을 개선할 수 있다.Advantageously, the provision of one or more wrappers may improve the structural integrity of the aerosol-generating article.
상류 세그먼트 및 하류 세그먼트는 함께 고정될 수 있다. 상류 세그먼트 및 하류 세그먼트는 임의의 적합한 수단에 의해 함께 고정될 수 있다. 예를 들어, 에어로졸 발생 물품은 연결 메커니즘을 포함할 수 있다. 연결 메커니즘은 상류 세그먼트 및 하류 세그먼트를 함께 유지하는 데 기여할 수 있다. 일 구현예에서, 연결 메커니즘은 상류 세그먼트의 하류 단부가 삽입되는 하류 세그먼트의 상류 단부 내에 제공된 공동을 포함할 수 있다. 상류 세그먼트의 하류 단부는 공동 내에 삽입된 돌출부를 포함할 수 있다.The upstream segment and the downstream segment may be fixed together. The upstream segment and downstream segment may be secured together by any suitable means. For example, the aerosol-generating article may include a connection mechanism. The connecting mechanism may serve to hold the upstream segment and the downstream segment together. In one embodiment, the connection mechanism may include a cavity provided within the upstream end of the downstream segment into which the downstream end of the upstream segment is inserted. The downstream end of the upstream segment may include a projection inserted into the cavity.
하류 세그먼트를 둘러싸는 래퍼가 제공되고 에어로졸 발생 물품이 연결 메커니즘을 포함할 때, 래퍼는 연결 메커니즘 상에 압력을 가하도록 구성될 수 있다. 일 구현예에서, 래퍼는 하류 세그먼트의 하류 단부를 수용하는 공동 주위에 압력을 가할 수 있다. 이는 상류 세그먼트 및 하류 세그먼트를 함께 유지하는 데 추가로 기여할 수 있다.When a wrapper surrounding the downstream segment is provided and the aerosol-generating article comprises a connection mechanism, the wrapper may be configured to apply pressure on the connection mechanism. In one embodiment, the wrapper can apply pressure around the cavity that receives the downstream end of the downstream segment. This may further contribute to holding the upstream segment and downstream segment together.
에어로졸 발생 물품의 하류 세그먼트 외경은 장치 공동 내경과 실질적으로 동일하거나 이보다 더 클 수 있다. 이는 기류 통로의 하류 에지를 통해 기류 통로를 빠져나오는 에어로졸이 에어로졸 발생 시스템의 외부를 향해 직접 방출되는 대신에 하류 세그먼트를 통해 흡인될 수 있다는 것을 보장하는 데 유익할 수 있다.The downstream segment outer diameter of the aerosol-generating article may be substantially equal to or greater than the device cavity inner diameter. This may be beneficial to ensure that the aerosol exiting the airflow passageway through the downstream edge of the airflow passageway may be drawn in through the downstream segment instead of being emitted directly towards the exterior of the aerosol-generating system.
적어도 하나의 가열 요소는 공동 내에 위치된다. 적어도 하나의 가열 요소는 임의의 적합한 유형의 가열 요소일 수 있다. 일부 구현예에서, 장치는 하나의 가열 요소만을 포함한다. 일부 구현예에서, 가열 요소는 복수의 가열 요소를 포함한다. 예를 들어, 일부 구현예에서, 장치는 2개 이상의 가열 요소를 포함한다. 일부 구현예에서, 적어도 하나의 가열 요소는 에어로졸 형성 기재의 외부 표면을 가열하도록 배열된다. 일부 바람직한 구현예에서, 적어도 하나의 가열 요소는 에어로졸 형성 기재가 장치 공동 내에 수용될 때 에어로졸 형성 기재 내로 적어도 부분적으로 삽입되도록 배열된다. 에어로졸 형성 기재가 내부 공동을 포함하는 경우, 일부 구현예에서, 적어도 하나의 가열 요소는 에어로졸 형성 기재가 장치 공동 내에 수용될 때 기재의 내부 공동 내로 삽입되도록 배열될 수 있다. 적어도 하나의 가열 요소는 세장형 가열 요소일 수 있다. 적어도 하나의 세장형 가열 요소는 블레이드 형상일 수 있다. 적어도 하나의 세장형 가열 요소는 핀 형상일 수 있다. 적어도 하나의 세장형 가열 요소는 테이퍼진 형상, 또는 적어도 테이퍼진 단부를 가질 수 있다. 적어도 하나의 세장형 가열 요소는 뾰족한 단부를 가질 수 있다. 적어도 하나의 세장형 가열 요소는 원뿔 형상일 수 있다. 적어도 하나의 세장형 가열 요소는 에어로졸 형성 기재 내로 가열 요소의 삽입을 용이하게 하도록 배열된 임의의 적합한 형상을 가질 수 있다. 유리하게는, 세장형 가열 요소는 장치의 가열 요소와의 에어로졸 형성 기재의 더 용이한 체결 또는 더 용이한 체결 해제 또는 더 용이한 체결 및 더 용이한 체결 해제 둘 모두를 제공할 수 있다.At least one heating element is positioned within the cavity. The at least one heating element may be any suitable type of heating element. In some embodiments, the device includes only one heating element. In some embodiments, the heating element comprises a plurality of heating elements. For example, in some embodiments, the device includes two or more heating elements. In some embodiments, the at least one heating element is arranged to heat the outer surface of the aerosol-forming substrate. In some preferred embodiments, the at least one heating element is arranged to be inserted at least partially into the aerosol-forming substrate when the aerosol-forming substrate is received within the device cavity. Where the aerosol-forming substrate comprises an interior cavity, in some embodiments, the at least one heating element may be arranged to insert into the interior cavity of the substrate when the aerosol-forming substrate is received within the device cavity. The at least one heating element may be an elongate heating element. The at least one elongate heating element may be blade-shaped. The at least one elongate heating element may be fin-shaped. The at least one elongate heating element may have a tapered shape, or at least a tapered end. The at least one elongate heating element may have a pointed end. The at least one elongate heating element may be conical in shape. The at least one elongate heating element may have any suitable shape arranged to facilitate insertion of the heating element into the aerosol-forming substrate. Advantageously, the elongate heating element may provide for easier engagement or easier disengagement or both easier engagement and easier disengagement of the aerosol-forming substrate with the heating element of the device.
적어도 하나의 가열 요소는 적어도 하나의 저항 가열 요소를 포함할 수 있다. 바람직하게는, 적어도 하나의 가열 요소는 복수의 저항 가열 요소를 포함한다. 바람직하게는, 저항 가열 요소는 평행 배열로 전기적으로 연결된다. 유리하게는, 평행 배열로 전기적으로 연결된 복수의 저항 가열 요소를 제공하는 것은 원하는 전력을 제공하는 데 필요한 전압을 감소시키거나 최소화하면서 적어도 하나의 가열 요소에 원하는 전력의 전달을 용이하게 할 수 있다. 유리하게는, 적어도 하나의 가열 요소를 작동시키는 데 필요한 전압을 감소시키거나 최소화하는 것은 전력 공급부의 물리적 크기를 감소시키거나 최소화하는 것을 용이하게 할 수 있다.The at least one heating element may comprise at least one resistive heating element. Preferably, the at least one heating element comprises a plurality of resistive heating elements. Preferably, the resistive heating elements are electrically connected in a parallel arrangement. Advantageously, providing a plurality of resistive heating elements electrically connected in a parallel arrangement may facilitate delivery of desired power to the at least one heating element while reducing or minimizing the voltage required to provide the desired power. Advantageously, reducing or minimizing the voltage required to operate the at least one heating element may facilitate reducing or minimizing the physical size of the power supply.
일부 구현예에서, 적어도 하나의 가열 요소는 전기 절연 기재, 및 전기 절연 기재 상의 하나 이상의 전기 전도성 트랙을 포함할 수 있다.In some embodiments, the at least one heating element can include an electrically insulating substrate and one or more electrically conductive tracks on the electrically insulating substrate.
바람직하게는, 전기 절연 기재는 적어도 하나의 가열 요소의 작동 온도에서 안정적이다. 바람직하게는, 전기 절연 기재는 약 400℃, 더 바람직하게는 약 500℃, 더 바람직하게는 약 600℃, 더 바람직하게는 약 700℃, 더 바람직하게는 약 800℃까지의 온도에서 안정적이다. 사용 동안 적어도 하나의 가열 요소의 작동 온도는 적어도 약 200℃일 수 있다. 사용 동안 적어도 하나의 가열 요소의 작동 온도는 약 700℃ 미만일 수 있다. 사용 동안 적어도 하나의 가열 요소의 작동 온도는 약 600℃ 미만일 수 있다. 사용 동안 적어도 하나의 가열 요소의 작동 온도는 약 500℃ 미만일 수 있다. 사용 동안 적어도 하나의 가열 요소의 작동 온도는 약 400℃ 미만일 수 있다.Preferably, the electrically insulating substrate is stable at the operating temperature of the at least one heating element. Preferably, the electrically insulating substrate is stable at temperatures up to about 400° C., more preferably about 500° C., more preferably about 600° C., more preferably about 700° C., even more preferably about 800° C. The operating temperature of the at least one heating element during use may be at least about 200°C. The operating temperature of the at least one heating element during use may be less than about 700°C. The operating temperature of the at least one heating element during use may be less than about 600°C. The operating temperature of the at least one heating element during use may be less than about 500°C. The operating temperature of the at least one heating element during use may be less than about 400°C.
전기 절연 기재는 임의의 적합한 재료를 포함할 수 있다. 예를 들어, 전기 절연 기재는 종이, 유리, 세라믹, 양극 처리된 금속, 코팅된 금속, 및 폴리이미드 중 하나 이상을 포함할 수 있다. 세라믹은 운모, 알루미나(Al2O3) 또는 지르코나(ZrO2)를 포함할 수 있다. 바람직하게는, 전기 절연 기재는 약 40 W/m.K 이하, 바람직하게는 약 20 W/m.K 이하, 및 이상적으로 약 2 W/m.K 이하의 열 전도율을 갖는다.The electrically insulating substrate may comprise any suitable material. For example, the electrically insulating substrate may include one or more of paper, glass, ceramic, anodized metal, coated metal, and polyimide. The ceramic may include mica, alumina (Al2 O3 ) or zircona (ZrO2 ). Preferably, the electrically insulating substrate has a thermal conductivity of about 40 W/mK or less, preferably about 20 W/mK or less, and ideally about 2 W/mK or less.
적어도 하나의 저항 가열 요소, 및 특히 하나 이상의 전기 전도성 트랙을 형성하기 위한 적합한 재료는 반도체 예컨대 도핑된 세라믹, 전기 "전도성" 세라믹(예를 들어, 이규화 몰리브덴과 같음), 탄소, 그래파이트, 금속, 금속 합금 및 세라믹 재료와 금속 재료로 제조된 복합 재료를 포함하지만 이에 한정되지 않는다. 이러한 복합 재료는 도핑된 세라믹 또는 도핑되지 않은 세라믹을 포함할 수 있다. 적합한 도핑된 세라믹의 예는 도핑된 탄화규소를 포함한다. 적합한 금속의 예는 티타늄, 지르코늄, 탄탈륨 및 백금족의 금속을 포함한다. 적합한 금속 합금의 예는 스테인리스 스틸, 니켈-, 코발트-, 크롬-, 알루미늄-, 티타늄-, 지르코늄-, 하프늄-, 니오븀-, 몰리브덴-, 탄탈륨-, 텅스텐-, 주석-, 갈륨-, 망간-, 및 철-함유 합금, 및 니켈, 철, 코발트, 스테인리스 스틸, Timetal® 기반 초합금 및 철-망간-알루미늄계 합금을 포함한다.Suitable materials for forming the at least one resistive heating element, and in particular the one or more electrically conductive tracks, include semiconductors such as doped ceramics, electrically “conductive” ceramics (such as, for example, molybdenum disilicide), carbon, graphite, metals, metals. alloys and composite materials made of ceramic and metallic materials. Such composite materials may include doped or undoped ceramics. Examples of suitable doped ceramics include doped silicon carbide. Examples of suitable metals include titanium, zirconium, tantalum and metals of the platinum group. Examples of suitable metal alloys include stainless steel, nickel-, cobalt-, chromium-, aluminum-, titanium-, zirconium-, hafnium-, niobium-, molybdenum-, tantalum-, tungsten-, tin-, gallium-, manganese- , and iron-containing alloys, and nickel, iron, cobalt, stainless steel, Timetal® based superalloys and iron-manganese-aluminum based alloys.
일부 구현예에서, 적어도 하나의 저항 가열 요소는 스테인리스 스틸과 같은 전기 저항성 재료의 하나 이상의 스탬핑 부분을 포함한다. 대안적으로, 적어도 하나의 저항 가열 요소는 가열 와이어 또는 필라멘트, 예를 들어 Ni-Cr(니켈-크롬), 백금, 텅스텐 또는 합금 와이어를 포함할 수 있다.In some embodiments, the at least one resistive heating element comprises one or more stamped portions of an electrically resistive material, such as stainless steel. Alternatively, the at least one resistive heating element may comprise a heating wire or filament, for example a Ni-Cr (nickel-chromium), platinum, tungsten or alloy wire.
일부 구현예에서, 적어도 하나의 가열 요소는 유도 가열 요소를 포함할 수 있다. 유도 가열 요소는 인덕터 코일 및 인덕터 코일에 고주파 발진 전류를 공급하도록 구성된 전력 공급부를 포함할 수 있다. 본원에서 사용되는 바와 같이, 고주파 발진 전류는 500 kHz 내지 30 MHz의 주파수를 갖는 발진 전류를 의미한다. 적어도 하나의 가열 요소는, 유리하게는 DC 전력 공급부에 의해 공급된 DC 전류를 교류로 변환하기 위한 DC/AC 인버터를 포함할 수 있다. 인덕터 코일은 전력 공급부로부터 고주파 발진 전류를 수신할 때 고주파 발진 전자기장을 발생시키도록 배열될 수 있다. 인덕터 코일은 장치 공동 내에 고주파 발진 전자기장을 발생시키도록 배열될 수 있다. 일부 바람직한 구현예에서, 인덕터 코일은 장치 공동을 실질적으로 둘러쌀 수 있다. 인덕터 코일은 장치 공동의 길이를 따라 적어도 부분적으로 연장될 수 있다.In some embodiments, the at least one heating element may comprise an induction heating element. The induction heating element may include an inductor coil and a power supply configured to supply a high frequency oscillating current to the inductor coil. As used herein, high frequency oscillation current means an oscillation current having a frequency of 500 kHz to 30 MHz. The at least one heating element may advantageously comprise a DC/AC inverter for converting the DC current supplied by the DC power supply into alternating current. The inductor coil may be arranged to generate a high frequency oscillating electromagnetic field upon receiving a high frequency oscillating current from the power supply. The inductor coil may be arranged to generate a high frequency oscillating electromagnetic field within the device cavity. In some preferred embodiments, the inductor coil may substantially surround the device cavity. The inductor coil may extend at least partially along the length of the device cavity.
유도 가열 요소는 서셉터 요소를 포함할 수 있다. 본원에서 사용되는 바와 같이, 용어 "서셉터 요소"는 전자기 에너지를 열로 변환할 수 있는 재료를 포함하는 요소를 지칭한다. 따라서, 서셉터 요소가 교번 전자기장 내에 위치될 때, 서셉터가 가열된다. 서셉터 요소의 가열은 서셉터 재료의 전기 및 자기 특성에 따라, 서셉터에 유도된 히스테리시스 손실 및/또는 와전류의 결과일 수 있다. 히스테리시스 손실은 교번 전자기장의 영향 하에 스위칭되는 재료 내의 자기 도메인으로 인해 강자성 또는 페리자성 서셉터 재료에서 발생한다. 와전류는 서셉터 재료가 전기 전도성인 경우에 유도될 수 있다. 전기 전도성 강자성 또는 페리자성 서셉터 재료의 경우, 열은 와전류 및 히스테리시스 손실 둘 모두로 인해 발생될 수 있다. 따라서, 서셉터 요소는 서셉터 재료의 전기 및 자기 특성에 따라, 히스테리시스 손실 또는 와전류 중 적어도 하나로 인해 가열 가능할 수 있다.The induction heating element may include a susceptor element. As used herein, the term “susceptor element” refers to an element comprising a material capable of converting electromagnetic energy into heat. Thus, when the susceptor element is placed in the alternating electromagnetic field, the susceptor heats up. Heating of the susceptor element may be the result of hysteresis losses and/or eddy currents induced in the susceptor, depending on the electrical and magnetic properties of the susceptor material. Hysteresis losses occur in ferromagnetic or ferrimagnetic susceptor materials due to the magnetic domains in the material being switched under the influence of alternating electromagnetic fields. Eddy currents can be induced when the susceptor material is electrically conductive. For electrically conductive ferromagnetic or ferrimagnetic susceptor materials, heat can be generated due to both eddy currents and hysteresis losses. Thus, the susceptor element may be heatable due to at least one of hysteresis losses or eddy currents, depending on the electrical and magnetic properties of the susceptor material.
서셉터 요소는 에어로졸 발생 물품이 장치 공동 내에 수용될 때, 인덕터 코일에 의해 발생된 발진 전자기장이 서셉터 요소 내에 전류를 유도하여 서셉터 요소가 가열될 수 있도록 배열된다. 에어로졸 발생 장치는 1 내지 5 kA/m(kilo ampere per metre), 바람직하게는 2 내지 3 kA/m, 예를 들어 약 2.5 kA/m의 자계 강도(H-자계 강도)를 갖는 변동 전자기장을 발생시킬 수 있는 것이 바람직하다. 전기 작동식 에어로졸 발생 장치는 1 내지 30 MHz, 예를 들어 1 내지 10 MHz, 예를 들어 5 내지 7 MHz의 주파수를 갖는 변동 전자기장을 발생시킬 수 있는 것이 바람직하다.The susceptor element is arranged such that, when the aerosol-generating article is received within the device cavity, an oscillating electromagnetic field generated by the inductor coil induces an electric current in the susceptor element such that the susceptor element is heated. The aerosol-generating device generates a fluctuating electromagnetic field having a magnetic field strength (H-field strength) of 1 to 5 kA/m (kilo ampere per metre), preferably 2 to 3 kA/m, for example about 2.5 kA/m. It is desirable to be able to The electrically operated aerosol-generating device is preferably capable of generating a fluctuating electromagnetic field with a frequency of 1 to 30 MHz, for example 1 to 10 MHz, for example 5 to 7 MHz.
일부 구현예에서, 서셉터 요소는 에어로졸 발생 물품 내에 위치된다. 이러한 구현예에서, 서셉터 요소는 바람직하게는 에어로졸 형성 기재와 접촉하여 위치된다. 서셉터 요소는 에어로졸 형성 기재 내에 위치될 수 있다. 바람직하게는, 서셉터 요소는 물품의 길이방향으로, 기재의 길이를 따라 연장되는 세장형 서셉터이다. 에어로졸 형성 기재가 내부 공동을 포함하는 경우, 서셉터 요소는 내부 공동 내에 배열될 수 있다. 에어로졸 형성 기재가 내부 공동을 포함하는 경우, 서셉터 요소는 기재 내부 표면 상에 배열될 수 있다. 에어로졸 발생 물품은 하나 이상의 서셉터 요소를 포함할 수 있다. 에어로졸 발생 물품은 복수의 서셉터 요소를 포함할 수 있다.In some embodiments, the susceptor element is positioned within the aerosol-generating article. In this embodiment, the susceptor element is preferably positioned in contact with the aerosol-forming substrate. The susceptor element may be positioned within the aerosol-forming substrate. Preferably, the susceptor element is an elongate susceptor extending along the length of the substrate, in the longitudinal direction of the article. Where the aerosol-forming substrate comprises an interior cavity, the susceptor element may be arranged within the interior cavity. Where the aerosol-forming substrate comprises an interior cavity, the susceptor element may be arranged on the interior surface of the substrate. The aerosol-generating article may include one or more susceptor elements. The aerosol-generating article may include a plurality of susceptor elements.
일부 구현예에서, 서셉터 요소는 에어로졸 발생 장치 내에 위치된다. 이러한 구현예에서, 서셉터 요소는 장치 공동 내에 위치될 수 있다. 서셉터 요소는 에어로졸 발생 물품이 장치 공동 내에 수용될 때 에어로졸 발생 물품의 에어로졸 형성 기재 내로 적어도 부분적으로 삽입되도록 구성될 수 있다. 에어로졸 형성 기재가 내부 공동을 포함하는 경우, 서셉터 요소는 에어로졸 발생 물품이 장치 공동 내에 수용될 때 에어로졸 형성 기재의 내부 공동 내로 적어도 부분적으로 삽입되도록 구성될 수 있다. 서셉터 요소는 장치 공동의 길이방향으로 장치 공동 내로 연장될 수 있다. 서셉터 요소는 세장형일 수 있다. 세장형 서셉터 요소는 블레이드 형상일 수 있다. 세장형 서셉터 요소는 핀 형상일 수 있다. 세장형 서셉터 요소는 테이퍼진 형상, 또는 적어도 테이퍼진 단부를 가질 수 있다. 세장형 서셉터 요소는 뾰족한 단부를 가질 수 있다. 세장형 서셉터 요소는 원뿔 형상일 수 있다. 에어로졸 발생 장치는 하나 이상의 서셉터 요소를 포함할 수 있다. 에어로졸 발생 장치는 복수의 서셉터 요소를 포함할 수 있다.In some embodiments, the susceptor element is located within the aerosol-generating device. In this embodiment, the susceptor element may be positioned within the device cavity. The susceptor element may be configured to be at least partially inserted into the aerosol-forming substrate of the aerosol-generating article when the aerosol-generating article is received within the device cavity. Where the aerosol-forming substrate comprises an interior cavity, the susceptor element may be configured to be at least partially inserted into the interior cavity of the aerosol-forming substrate when the aerosol-generating article is received within the device cavity. The susceptor element may extend into the device cavity in a longitudinal direction of the device cavity. The susceptor element may be elongated. The elongate susceptor element may be blade-shaped. The elongate susceptor element may be pin-shaped. The elongate susceptor element may have a tapered shape, or at least a tapered end. The elongate susceptor element may have a pointed end. The elongate susceptor element may be conical in shape. The aerosol-generating device may comprise one or more susceptor elements. The aerosol-generating device may comprise a plurality of susceptor elements.
서셉터 요소는 임의의 적합한 재료를 포함할 수 있다. 서셉터 요소는 에어로졸 형성 기재로부터 휘발성 화합물을 방출하기에 충분한 온도로 유도 가열될 수 있는 임의의 재료로 형성될 수 있다. 세장형 서셉터 요소에 적합한 재료는 그래파이트, 몰리브덴, 탄화규소, 스테인리스 스틸, 니오븀, 알루미늄, 니켈, 니켈 함유 화합물, 티타늄, 및 금속 재료의 복합물을 포함한다. 바람직한 서셉터 요소는 금속 또는 탄소를 포함한다. 유리하게는, 서셉터 요소는 강자성 재료, 예를 들어 페라이트 철, 강자성 합금, 예컨대 강자성 강 또는 스테인리스 스틸, 강자성 입자, 및 페라이트를 포함하거나 이로 구성될 수 있다. 적합한 서셉터 요소는 알루미늄이거나 이를 포함할 수 있다. 서셉터 요소는 바람직하게는 5% 초과, 바람직하게는 20% 초과, 더 바람직하게는 50% 또는 90% 초과의 강자성 또는 상자성 재료를 포함한다. 바람직한 세장형 서셉터 요소는 250℃를 초과하는 온도로 가열될 수 있다.The susceptor element may comprise any suitable material. The susceptor element may be formed of any material capable of induction heating to a temperature sufficient to release the volatile compound from the aerosol-forming substrate. Suitable materials for the elongate susceptor element include graphite, molybdenum, silicon carbide, stainless steel, niobium, aluminum, nickel, nickel-containing compounds, titanium, and composites of metallic materials. Preferred susceptor elements include metal or carbon. Advantageously, the susceptor element may comprise or consist of a ferromagnetic material such as ferritic iron, a ferromagnetic alloy such as ferromagnetic steel or stainless steel, ferromagnetic particles, and ferrite. A suitable susceptor element may be or include aluminum. The susceptor element preferably comprises more than 5%, preferably more than 20%, more preferably more than 50% or more than 90% of ferromagnetic or paramagnetic material. Preferred elongate susceptor elements can be heated to temperatures in excess of 250°C.
서셉터 요소는 금속층이 비금속 코어 상에 배치되어 있는 비금속 코어를 포함할 수 있다. 예를 들어, 서셉터 요소는 세라믹 코어 또는 기재의 외부 표면 상에 형성된 금속 트랙을 포함할 수 있다.The susceptor element may comprise a non-metallic core having a metal layer disposed on the non-metallic core. For example, the susceptor element may include a metal track formed on an outer surface of a ceramic core or substrate.
일부 구현예에서, 에어로졸 발생 시스템은 적어도 하나의 저항 가열 요소 및 적어도 하나의 유도 가열 요소를 포함한다. 일부 구현예에서, 에어로졸 발생 시스템은 저항 가열 요소 및 유도 가열 요소의 조합을 포함한다.In some embodiments, the aerosol-generating system comprises at least one resistive heating element and at least one induction heating element. In some embodiments, the aerosol-generating system comprises a combination of a resistive heating element and an induction heating element.
에어로졸 발생 장치는 복수의 가열 요소를 포함할 수 있다. 에어로졸 발생 장치는 제1 가열 요소 및 제2 가열 요소를 포함할 수 있다. 일부 구현예에서, 제2 가열 요소는 제1 가열 요소로부터 이격될 수 있다. 제2 가열 요소는 장치 공동의 길이방향으로 제1 가열 요소로부터 이격될 수 있다. 서로 이격된 가열 요소의 제공은 에어로졸 형성 기재가 장치 공동 내에 수용될 때 에어로졸 발생 장치가 에어로졸 형성 기재의 상이한 섹션을 개별적으로 가열할 수 있게 한다.The aerosol-generating device may comprise a plurality of heating elements. The aerosol-generating device may comprise a first heating element and a second heating element. In some embodiments, the second heating element can be spaced apart from the first heating element. The second heating element may be spaced apart from the first heating element in a longitudinal direction of the device cavity. The provision of spaced apart heating elements from each other allows the aerosol-generating device to individually heat different sections of the aerosol-forming substrate when the aerosol-forming substrate is received within the device cavity.
에어로졸 형성 기재는 제1 에어로졸 형성 기재 세그먼트 및 제2 에어로졸 형성 기재 세그먼트를 포함할 수 있다. 제1 에어로졸 형성 기재 세그먼트는 길이방향으로 제2 에어로졸 형성 기재 세그먼트에 인접할 수 있다. 에어로졸 형성 기재가 장치 공동 내에 수용될 때 제1 가열 요소는 제1 길이방향 기재 세그먼트를 가열하도록 배열될 수 있고 제2 가열 요소는 제2 길이방향 기재 세그먼트를 가열하도록 배열될 수 있다.The aerosol-forming substrate may comprise a first aerosol-forming substrate segment and a second aerosol-forming substrate segment. The first aerosol-forming substrate segment may be longitudinally adjacent the second aerosol-forming substrate segment. The first heating element may be arranged to heat the first longitudinal substrate segment and the second heating element may be arranged to heat the second longitudinal substrate segment when the aerosol-forming substrate is received within the device cavity.
제2 에어로졸 형성 기재 세그먼트는 제1 에어로졸 형성 기재 세그먼트와 상이한 조성을 가질 수 있다. 제1 및 제2 에어로졸 형성 기재 세그먼트의 상이한 조성은 상이한 조성을 갖는 에어로졸이 단일 에어로졸 발생 물품으로부터 발생될 수 있게 한다. 이는 사용자가 가열될 특정 에어로졸 형성 기재를 선택하여 경험 동안 특정 에어로졸을 발생시킬 수 있게 한다.The second aerosol-forming substrate segment may have a different composition than the first aerosol-forming substrate segment. The different compositions of the first and second aerosol-forming substrate segments allow aerosols with different compositions to be generated from a single aerosol-generating article. This allows the user to select a specific aerosol-forming substrate to be heated to generate a specific aerosol during the experience.
제1 및 제2 가열 요소는 사용자 경험 동안 제1 및 제2 에어로졸 형성 기재 세그먼트를 순차적으로 가열하도록 구성될 수 있다. 이는 적어도 2개의 유형의 에어로졸이 미리 설정된 시간에 순차적으로 발생되는 미리 결정된 사용자 경험을 확립하는 데 유익할 수 있다.The first and second heating elements may be configured to sequentially heat the first and second aerosol-forming substrate segments during a user experience. This may be beneficial for establishing a predetermined user experience in which at least two types of aerosols are generated sequentially at a predetermined time.
제1 가열 요소는 휘발성 화합물이 제2 에어로졸 형성 기재 세그먼트로부터 방출되는 온도로 제2 에어로졸 형성 기재 세그먼트를 가열하지 않고 휘발성 화합물이 제1 에어로졸 형성 기재 세그먼트로부터 방출되는 온도로 제1 에어로졸 형성 기재 세그먼트를 가열하도록 배열될 수 있다. 제2 가열 요소는 휘발성 화합물이 제1 에어로졸 형성 기재 세그먼트로부터 방출되는 온도로 제1 에어로졸 형성 기재 세그먼트를 가열하지 않고 휘발성 화합물이 제2 에어로졸 형성 기재 세그먼트로부터 방출되는 온도로 제2 에어로졸 형성 기재 세그먼트를 가열하도록 배열될 수 있다. 즉, 각각의 가열 요소는 개별 에어로졸 형성 기재 세그먼트를 가열하도록 배열될 수 있다. 이는 이러한 에어로졸 형성 기재 세그먼트의 순차적인 가열을 용이하게 할 수 있다.The first heating element heats the first aerosol-forming substrate segment to a temperature at which the volatile compound is released from the first aerosol-forming substrate segment without heating the second aerosol-forming substrate segment to a temperature at which the volatile compound is released from the second aerosol-forming substrate segment. may be arranged to heat. The second heating element heats the second aerosol-forming substrate segment to a temperature at which the volatile compound is released from the second aerosol-forming substrate segment without heating the first aerosol-forming substrate segment to a temperature at which the volatile compound is released from the first aerosol-forming substrate segment. may be arranged to heat. That is, each heating element may be arranged to heat an individual aerosol-forming substrate segment. This may facilitate sequential heating of such aerosol-forming substrate segments.
바람직하게는, 에어로졸 발생 장치는 전력 공급부를 포함한다. 전력 공급부는 DC 전압원일 수 있다. 바람직한 구현예에서, 전력 공급부는 배터리이다. 예를 들어, 전력 공급부는 니켈-수소 합금 배터리, 니켈 카드뮴 배터리, 또는 리튬계 배터리, 예를 들어 리튬-코발트, 리튬-철-인산염 또는 리튬-폴리머 배터리일 수 있다. 전력 공급부는 대안적으로 커패시터와 같은 다른 형태의 전하 저장 장치일 수 있다. 전력 공급부는 재충전을 필요로 할 수 있고, 하나 이상의 에어로졸 형성 기재를 갖는 에어로졸 발생 장치의 사용에 충분한 에너지를 저장할 수 있는 용량을 가질 수 있다.Preferably, the aerosol-generating device comprises a power supply. The power supply may be a DC voltage source. In a preferred embodiment, the power supply is a battery. For example, the power supply may be a nickel-hydrogen alloy battery, a nickel cadmium battery, or a lithium-based battery, such as a lithium-cobalt, lithium-iron-phosphate or lithium-polymer battery. The power supply may alternatively be another type of electrical charge storage device such as a capacitor. The power supply may require recharging and may have a capacity to store sufficient energy for use of an aerosol-generating device having one or more aerosol-forming substrates.
전력 공급부는 적어도 하나의 가열 요소에 전력을 공급하기 위해 적어도 하나의 가열 요소에 전기적으로 연결될 수 있다. 가열 요소가 전력 공급부로부터 전력을 수용할 때, 가열 요소는 열을 발생시킬 수 있다. 전력 공급부는 휘발성 화합물이 기재로부터 방출되는 온도로 에어로졸 형성 기재를 가열하기 위해 적어도 하나의 가열 요소에 충분한 전력을 공급하도록 구성될 수 있다.The power supply may be electrically connected to the at least one heating element to power the at least one heating element. When the heating element receives power from the power supply, the heating element may generate heat. The power supply may be configured to supply sufficient power to the at least one heating element to heat the aerosol-forming substrate to a temperature at which the volatile compound is emitted from the substrate.
바람직하게는, 에어로졸 발생 장치는 하우징을 포함한다. 바람직하게는, 하우징은 에어로졸 형성 기재를 수용하기 위한 공동을 적어도 부분적으로 정의한다.Preferably, the aerosol-generating device comprises a housing. Preferably, the housing at least partially defines a cavity for receiving the aerosol-forming substrate.
바람직하게는, 에어로졸 발생 장치는 공동과 유체 연통하는 적어도 하나의 공기 유입구를 포함한다. 에어로졸 발생 장치가 하우징을 포함하는 구현예에서, 바람직하게는 하우징은 적어도 하나의 공기 유입구를 적어도 부분적으로 정의한다. 바람직하게는, 적어도 하나의 공기 유입구는 공동의 상류 단부와 유체 연통한다. 적어도 하나의 가열 요소가 공동 내에 위치된 적어도 하나의 세장형 가열 요소인 구현예에서, 바람직하게는 적어도 하나의 세장형 가열 요소는 공동의 상류 단부로부터 공동 내로 연장된다.Preferably, the aerosol-generating device comprises at least one air inlet in fluid communication with the cavity. In embodiments wherein the aerosol-generating device comprises a housing, preferably the housing at least partially defines at least one air inlet. Preferably, the at least one air inlet is in fluid communication with the upstream end of the cavity. In embodiments wherein the at least one heating element is at least one elongate heating element positioned within the cavity, preferably the at least one elongate heating element extends into the cavity from the upstream end of the cavity.
에어로졸 발생 장치는 컨트롤러를 포함할 수 있다. 컨트롤러는 전력 공급부로부터 적어도 하나의 가열 요소로 전력의 공급을 제어하도록 구성될 수 있다. 컨트롤러는 임의의 적합한 컨트롤러일 수 있다. 컨트롤러는 임의의 적합한 전기 회로 및 전기 구성요소를 포함할 수 있다. 바람직하게는, 컨트롤러는 프로세서 및 메모리를 포함한다. 컨트롤러는 프로그래밍 가능 마이크로프로세서일 수 있는, 마이크로프로세서를 포함할 수 있다.The aerosol-generating device may include a controller. The controller may be configured to control the supply of power from the power supply to the at least one heating element. The controller may be any suitable controller. The controller may include any suitable electrical circuitry and electrical components. Preferably, the controller includes a processor and a memory. The controller may include a microprocessor, which may be a programmable microprocessor.
에어로졸 발생 장치는 사용자가 퍼프를 행하고 있음을 나타내는 기류를 검출하기 위한 센서를 포함할 수 있다. 공기 유량 센서는 전자 기계 장치일 수 있다. 공기 유량 센서는 기계 장치, 광학 장치, 광학-기계 장치 및 미소 전자기계 시스템(MEMS) 기반 센서 중 임의의 것일 수 있다. 에어로졸 발생 장치는 사용자가 퍼프를 개시하도록 수동으로 작동 가능한 스위치를 포함할 수 있다.The aerosol-generating device may include a sensor for detecting an airflow indicating that the user is performing a puff. The air flow sensor may be an electromechanical device. The air flow sensor may be any of a mechanical device, an optical device, an opto-mechanical device, and a microelectromechanical system (MEMS) based sensor. The aerosol-generating device may include a manually actuable switch for the user to initiate the puff.
바람직하게는, 에어로졸 발생 장치는 적어도 하나의 가열 요소가 활성화될 때를 표시하기 위한 표시자를 포함한다. 표시자는 적어도 하나의 가열 요소가 활성화될 때 활성화되는 광을 포함할 수 있다.Preferably, the aerosol-generating device comprises an indicator for indicating when the at least one heating element is activated. The indicator may include a light that is activated when the at least one heating element is activated.
에어로졸 발생 장치는 외부 플러그 또는 소켓 및 적어도 하나의 외부 전기 접점 중 적어도 하나를 포함할 수 있어 에어로졸 발생 장치가 다른 전기 장치에 연결되는 것을 가능하게 한다. 예를 들어, 에어로졸 발생 장치는 USB 플러그 또는 USB 소켓을 포함하여 에어로졸 발생 장치를 다른 USB 지원 장치에 연결시킬 수 있다. 예를 들어, USB 플러그 또는 소켓은 에어로졸 발생 장치를 USB 충전 장치에 연결시켜 에어로졸 발생 장치 내에 재충전 가능한 전력 공급부를 재충전할 수 있다. 추가적으로, 또는 대안적으로, USB 플러그 또는 소켓은 에어로졸 발생 장치로의 또는 에어로졸 발생 장치로부터의, 또는 양방향으로의 데이터의 전송을 지원할 수 있다. 추가적으로 또는 대안적으로, 에어로졸 발생 장치는 새로운 에어로졸 발생 물품에 대한 새로운 가열 프로파일과 같은 데이터를 장치에 전송하도록 컴퓨터에 연결될 수 있다.The aerosol-generating device may comprise at least one of an external plug or socket and at least one external electrical contact to enable the aerosol-generating device to be connected to another electrical device. For example, the aerosol-generating device may include a USB plug or USB socket to connect the aerosol-generating device to other USB-enabled devices. For example, a USB plug or socket may connect the aerosol-generating device to a USB charging device to recharge the rechargeable power supply within the aerosol-generating device. Additionally, or alternatively, the USB plug or socket may support the transfer of data to or from an aerosol-generating device, or in both directions. Additionally or alternatively, the aerosol-generating device may be connected to a computer to transmit data to the device, such as a new heating profile for a new aerosol-generating article.
에어로졸 발생 장치가 USB 플러그 또는 소켓을 포함하는 이들 구현예에서, 에어로졸 발생 장치는, 사용하지 않을 때 USB 플러그 또는 소켓을 덮는 제거 가능한 커버를 추가로 포함할 수 있다. USB 플러그 또는 소켓이 USB 플러그인 구현예에서, USB 플러그는 추가적으로 또는 대안적으로 장치 내에서 선택적으로 회수될 수 있다.In those embodiments where the aerosol-generating device comprises a USB plug or socket, the aerosol-generating device may further comprise a removable cover that covers the USB plug or socket when not in use. In USB plug-in implementations where the USB plug or socket is a USB plug-in, the USB plug may additionally or alternatively be selectively retrieved within the device.
본 발명의 추가 양태에 따르면, 에어로졸 형성 기재를 수용하기 위한 에어로졸 발생 장치가 제공되며, 에어로졸 발생 장치는,According to a further aspect of the present invention, there is provided an aerosol-generating device for receiving an aerosol-forming substrate, the aerosol-generating device comprising:
적어도 하나의 가열 요소;at least one heating element;
제1 하우징 부분 및 제2 하우징 부분을 포함하는 하우징으로서, 제1 하우징 부분은 제1 공동을 갖는 하우징을 포함하고,A housing comprising a first housing portion and a second housing portion, the first housing portion comprising a housing having a first cavity;
제2 하우징 부분은 개방 위치와 폐쇄 위치 사이에서 제1 하우징 부분에 대해 이동 가능하고;the second housing portion is movable relative to the first housing portion between an open position and a closed position;
폐쇄 위치에서, 제1 공동 및 제2 하우징 부분은 장치 공동을 정의하며, 장치 공동은 상류 단부 및 하류 단부를 갖고 상류 단부와 하류 단부 사이에 길이방향을 정의하고,in the closed position, the first cavity and the second housing portion define a device cavity, the device cavity having an upstream end and a downstream end and defining a longitudinal direction between the upstream end and the downstream end;
적어도 하나의 가열 요소는 에어로졸 형성 기재가 장치 공동 내에 수용될 때 에어로졸 형성 기재를 가열하도록 배열되고;the at least one heating element is arranged to heat the aerosol-forming substrate when the aerosol-forming substrate is received within the device cavity;
개방 위치에서, 개구는 제1 하우징 부분과 제2 하우징 부분 사이에 형성되어 에어로졸 형성 기재가 제1 공동 내로 삽입되거나 길이방향과 상이한 방향으로 제1 공동으로부터 제거될 수 있게 한다.In the open position, an opening is formed between the first and second housing portions to allow the aerosol-forming substrate to be inserted into or removed from the first cavity in a direction different from the longitudinal direction.
유리하게는, 이러한 양태의 에어로졸 발생 장치는 에어로졸 형성 기재가 장치의 공동 내로 삽입되고 공동의 길이방향과 다른 방향으로 장치의 공동으로부터 제거될 수 있게 한다. 이는 기재가 장치 공동 내로 삽입되고 장치 공동으로부터 특히 쉽게 제거될 수 있게 하여, 에어로졸 형성 기재를 삽입하고 제거할 때 기재 또는 장치를 손상시킬 위험을 감소시킬 수 있다.Advantageously, the aerosol-generating device of this embodiment allows the aerosol-forming substrate to be inserted into the cavity of the device and removed from the cavity of the device in a direction different from the length of the cavity. This may allow the substrate to be inserted into and particularly easily removed from the device cavity, thereby reducing the risk of damaging the substrate or device when inserting and removing the aerosol-forming substrate.
특히, 제1 하우징 부분과 제2 하우징 부분 사이의 개구는 에어로졸 형성 기재가 제1 공동 내로 삽입되거나 길이방향과 상이한 방향으로 제1 공동으로부터 제거될 수 있게 한다. 길이방향과 상이한 방향은 길이방향과 상이한 임의의 적합한 방향일 수 있다. 바람직하게는, 방향은 길이방향에 실질적으로 수직이다.In particular, the opening between the first housing portion and the second housing portion allows the aerosol-forming substrate to be inserted into the first cavity or removed from the first cavity in a direction different from the longitudinal direction. The direction different from the longitudinal direction may be any suitable direction different from the longitudinal direction. Preferably, the direction is substantially perpendicular to the longitudinal direction.
장치 공동은 세장형 공동일 수 있다. 즉, 장치 공동은 직경과 같은, 공동의 다른 치수보다 더 큰 길이를 가질 수 있다. 세장형 장치 공동의 길이는 길이방향으로 연장될 수 있다. 통상적으로, 장치 공동은 원형 원통형 공동이다. 그러나, 장치 공동은 임의의 적합한 형상 및 크기를 가질 수 있다. 예를 들어, 장치 공동은 임의의 적합한 가로방향 단면을 가질 수 있다. 특히, 장치 공동은 원형, 난형, 스타디움형, 정사각형 또는 삼각형 가로방향 단면을 가질 수 있다.The device cavity may be an elongate cavity. That is, the device cavity may have a length greater than other dimensions of the cavity, such as a diameter. The length of the elongate device cavity may extend longitudinally. Typically, the device cavity is a circular cylindrical cavity. However, the device cavity may have any suitable shape and size. For example, the device cavity may have any suitable transverse cross-section. In particular, the device cavity may have a circular, ovoid, stadium-shaped, square or triangular transverse cross-section.
장치 공동은 길이방향 주위에서 에어로졸 형성 기재를 둘러싸도록 구성될 수 있다. 즉, 장치 공동은 에어로졸 형성 기재의 측면을 에워싸거나 둘러싸는 관을 형성하도록 구성될 수 있다. 공동은 개방 단부를 가질 수 있다. 장치 공동은 양 단부에서 개방될 수 있다. 장치 공동은 하나의 개방 단부 및 하나의 실질적으로 폐쇄 단부를 가질 수 있다. 개방 단부는 장치 공동의 하류 단부에 있을 수 있고, 실질적으로 폐쇄 단부는 장치 공동의 상류 단부에 있을 수 있다. 실질적으로 폐쇄 단부는 외기가 장치 공동 내로 흡인될 수 있도록 구성된 하나 이상의 공기 유입구를 포함할 수 있다.The device cavity may be configured to surround the aerosol-forming substrate about its longitudinal direction. That is, the device cavity may be configured to form a tube that surrounds or surrounds the side of the aerosol-forming substrate. The cavity may have an open end. The device cavity may be open at both ends. The device cavity may have one open end and one substantially closed end. The open end may be at a downstream end of the device cavity and the substantially closed end may be at an upstream end of the device cavity. The substantially closed end may include one or more air inlets configured to allow fresh air to be drawn into the device cavity.
장치 공동은 외기가 장치 공동 내로 흡인될 수 있도록 구성된 하나 이상의 공기 유입구를 가질 수 있다. 제1 하우징 부분은 외기가 장치 공동 내로 흡인될 수 있도록 구성된 하나 이상의 공기 유입구를 포함할 수 있다. 제2 하우징 부분은 외기가 장치 공동 내로 흡인될 수 있도록 구성된 하나 이상의 공기 유입구를 포함할 수 있다.The device cavity may have one or more air inlets configured to allow outside air to be drawn into the device cavity. The first housing portion may include one or more air inlets configured to allow fresh air to be drawn into the device cavity. The second housing portion may include one or more air inlets configured to allow outside air to be drawn into the device cavity.
이러한 양태의 에어로졸 발생 장치는 적어도 하나의 가열 요소를 포함한다. 바람직하게는, 이러한 양태의 장치는 복수의 가열 요소를 포함한다. 일부 구현예에서, 적어도 하나의 가열 요소는 제1 하우징 부분 내에 배열된다. 일부 구현예에서, 적어도 하나의 가열 요소는 제2 하우징 부분 내에 배열된다.The aerosol-generating device of this aspect comprises at least one heating element. Preferably, the device of this aspect comprises a plurality of heating elements. In some embodiments, the at least one heating element is arranged within the first housing portion. In some embodiments, the at least one heating element is arranged within the second housing portion.
적어도 하나의 가열 요소는 임의의 적합한 유형의 가열 요소일 수 있다. 일부 구현예에서, 적어도 하나의 가열 요소는 에어로졸 형성 기재의 외부 표면을 가열하도록 배열된다. 일부 바람직한 구현예에서, 적어도 하나의 가열 요소는 에어로졸 형성 기재가 장치 공동 내에 수용될 때 에어로졸 형성 기재 내로 적어도 부분적으로 삽입되도록 배열된다. 에어로졸 형성 기재가 내부 공동을 포함하는 경우, 일부 구현예에서, 적어도 하나의 가열 요소는 에어로졸 형성 기재가 장치 공동 내에 수용될 때 기재의 내부 공동 내로 삽입되도록 배열될 수 있다. 적어도 하나의 가열 요소는 세장형 가열 요소일 수 있다. 적어도 하나의 세장형 가열 요소는 블레이드 형상일 수 있다. 적어도 하나의 세장형 가열 요소는 핀 형상일 수 있다. 적어도 하나의 세장형 가열 요소는 테이퍼진 형상, 또는 적어도 테이퍼진 단부를 가질 수 있다. 적어도 하나의 세장형 가열 요소는 뾰족한 단부를 가질 수 있다. 적어도 하나의 세장형 가열 요소는 원뿔 형상일 수 있다. 적어도 하나의 세장형 가열 요소는 에어로졸 형성 기재 내로 가열 요소의 삽입을 용이하게 하도록 배열된 임의의 적합한 형상을 가질 수 있다. 유리하게는, 세장형 가열 요소는 장치의 가열 요소와의 에어로졸 형성 기재의 더 용이한 체결 또는 더 용이한 체결 해제 또는 더 용이한 체결 및 더 용이한 체결 해제 둘 모두를 제공할 수 있다.The at least one heating element may be any suitable type of heating element. In some embodiments, the at least one heating element is arranged to heat the outer surface of the aerosol-forming substrate. In some preferred embodiments, the at least one heating element is arranged to be inserted at least partially into the aerosol-forming substrate when the aerosol-forming substrate is received within the device cavity. Where the aerosol-forming substrate comprises an interior cavity, in some embodiments, the at least one heating element may be arranged to insert into the interior cavity of the substrate when the aerosol-forming substrate is received within the device cavity. The at least one heating element may be an elongate heating element. The at least one elongate heating element may be blade-shaped. The at least one elongate heating element may be fin-shaped. The at least one elongate heating element may have a tapered shape, or at least a tapered end. The at least one elongate heating element may have a pointed end. The at least one elongate heating element may be conical in shape. The at least one elongate heating element may have any suitable shape arranged to facilitate insertion of the heating element into the aerosol-forming substrate. Advantageously, the elongate heating element may provide for easier engagement or easier disengagement or both easier engagement and easier disengagement of the aerosol-forming substrate with the heating element of the device.
바람직하게는, 저항 가열 요소는 평행 배열로 전기적으로 연결된다. 유리하게는, 평행 배열로 전기적으로 연결된 복수의 저항 가열 요소를 제공하는 것은 원하는 전력을 제공하는 데 필요한 전압을 감소시키거나 최소화하면서 적어도 하나의 가열 요소에 원하는 전력의 전달을 용이하게 할 수 있다. 유리하게는, 적어도 하나의 가열 요소를 작동시키는 데 필요한 전압을 감소시키거나 최소화하는 것은 전력 공급부의 물리적 크기를 감소시키거나 최소화하는 것을 용이하게 할 수 있다.Preferably, the resistive heating elements are electrically connected in a parallel arrangement. Advantageously, providing a plurality of resistive heating elements electrically connected in a parallel arrangement may facilitate delivery of desired power to the at least one heating element while reducing or minimizing the voltage required to provide the desired power. Advantageously, reducing or minimizing the voltage required to operate the at least one heating element may facilitate reducing or minimizing the physical size of the power supply.
일부 구현예에서, 적어도 하나의 가열 요소는 전기 절연 기재, 및 전기 절연 기재 상의 하나 이상의 전기 전도성 트랙을 포함할 수 있다.In some embodiments, the at least one heating element can include an electrically insulating substrate and one or more electrically conductive tracks on the electrically insulating substrate.
바람직하게는, 전기 절연 기재는 적어도 하나의 가열 요소의 작동 온도에서 안정적이다. 바람직하게는, 전기 절연 기재는 약 400℃, 더 바람직하게는 약 500℃, 더 바람직하게는 약 600℃, 더 바람직하게는 약 700℃, 더 바람직하게는 약 800℃까지의 온도에서 안정적이다. 사용 동안 적어도 하나의 가열 요소의 작동 온도는 적어도 약 200℃일 수 있다. 사용 동안 적어도 하나의 가열 요소의 작동 온도는 약 700℃ 미만일 수 있다. 사용 동안 적어도 하나의 가열 요소의 작동 온도는 약 600℃ 미만일 수 있다. 사용 동안 적어도 하나의 가열 요소의 작동 온도는 약 500℃ 미만일 수 있다. 사용 동안 적어도 하나의 가열 요소의 작동 온도는 약 400℃ 미만일 수 있다.Preferably, the electrically insulating substrate is stable at the operating temperature of the at least one heating element. Preferably, the electrically insulating substrate is stable at temperatures up to about 400° C., more preferably about 500° C., more preferably about 600° C., more preferably about 700° C., even more preferably about 800° C. The operating temperature of the at least one heating element during use may be at least about 200°C. The operating temperature of the at least one heating element during use may be less than about 700°C. The operating temperature of the at least one heating element during use may be less than about 600°C. The operating temperature of the at least one heating element during use may be less than about 500°C. The operating temperature of the at least one heating element during use may be less than about 400°C.
전기 절연 기재는 임의의 적합한 재료를 포함할 수 있다. 예를 들어, 전기 절연 기재는 종이, 유리, 세라믹, 양극 처리된 금속, 코팅된 금속, 및 폴리이미드 중 하나 이상을 포함할 수 있다. 세라믹은 운모, 알루미나(Al2O3) 또는 지르코나(ZrO2)를 포함할 수 있다. 바람직하게는, 전기 절연 기재는 약 40 W/m.K 이하, 바람직하게는 약 20 W/m.K 이하, 및 이상적으로 약 2 W/m.K 이하의 열 전도율을 갖는다.The electrically insulating substrate may comprise any suitable material. For example, the electrically insulating substrate may include one or more of paper, glass, ceramic, anodized metal, coated metal, and polyimide. The ceramic may include mica, alumina (Al2 O3 ) or zircona (ZrO2 ). Preferably, the electrically insulating substrate has a thermal conductivity of about 40 W/mK or less, preferably about 20 W/mK or less, and ideally about 2 W/mK or less.
적어도 하나의 저항 가열 요소, 및 특히 하나 이상의 전기 전도성 트랙을 형성하기 위한 적합한 재료는 반도체 예컨대 도핑된 세라믹, 전기 "전도성" 세라믹(예를 들어, 이규화 몰리브덴과 같음), 탄소, 그래파이트, 금속, 금속 합금 및 세라믹 재료와 금속 재료로 제조된 복합 재료를 포함하지만 이에 한정되지 않는다. 이러한 복합 재료는 도핑된 세라믹 또는 도핑되지 않은 세라믹을 포함할 수 있다. 적합한 도핑된 세라믹의 예는 도핑된 탄화규소를 포함한다. 적합한 금속의 예는 티타늄, 지르코늄, 탄탈륨 및 백금족의 금속을 포함한다. 적합한 금속 합금의 예는 스테인리스 스틸, 니켈-, 코발트-, 크롬-, 알루미늄-, 티타늄-, 지르코늄-, 하프늄-, 니오븀-, 몰리브덴-, 탄탈륨-, 텅스텐-, 주석-, 갈륨-, 망간-, 및 철-함유 합금, 및 니켈, 철, 코발트, 스테인리스 스틸, Timetal® 기반 초합금 및 철-망간-알루미늄계 합금을 포함한다.Suitable materials for forming the at least one resistive heating element, and in particular the one or more electrically conductive tracks, include semiconductors such as doped ceramics, electrically “conductive” ceramics (such as, for example, molybdenum disilicide), carbon, graphite, metals, metals. alloys and composite materials made of ceramic and metallic materials. Such composite materials may include doped or undoped ceramics. Examples of suitable doped ceramics include doped silicon carbide. Examples of suitable metals include titanium, zirconium, tantalum and metals of the platinum group. Examples of suitable metal alloys include stainless steel, nickel-, cobalt-, chromium-, aluminum-, titanium-, zirconium-, hafnium-, niobium-, molybdenum-, tantalum-, tungsten-, tin-, gallium-, manganese- , and iron-containing alloys, and nickel, iron, cobalt, stainless steel, Timetal® based superalloys and iron-manganese-aluminum based alloys.
일부 구현예에서, 적어도 하나의 저항 가열 요소는 스테인리스 스틸과 같은 전기 저항성 재료의 하나 이상의 스탬핑 부분을 포함한다. 대안적으로, 적어도 하나의 저항 가열 요소는 가열 와이어 또는 필라멘트, 예를 들어 Ni-Cr(니켈-크롬), 백금, 텅스텐 또는 합금 와이어를 포함할 수 있다.In some embodiments, the at least one resistive heating element comprises one or more stamped portions of an electrically resistive material, such as stainless steel. Alternatively, the at least one resistive heating element may comprise a heating wire or filament, for example a Ni-Cr (nickel-chromium), platinum, tungsten or alloy wire.
일부 구현예에서, 적어도 하나의 가열 요소는 유도 가열 요소를 포함할 수 있다. 유도 가열 요소는 인덕터 코일 및 인덕터 코일에 고주파 발진 전류를 공급하도록 구성된 전력 공급부를 포함할 수 있다. 본원에서 사용되는 바와 같이, 고주파 발진 전류는 500 kHz 내지 30 MHz의 주파수를 갖는 발진 전류를 의미한다. 적어도 하나의 가열 요소는, 유리하게는 DC 전력 공급부에 의해 공급된 DC 전류를 교류로 변환하기 위한 DC/AC 인버터를 포함할 수 있다. 인덕터 코일은 전력 공급부로부터 고주파 발진 전류를 수신할 때 고주파 발진 전자기장을 발생시키도록 배열될 수 있다. 인덕터 코일은 장치 공동 내에 고주파 발진 전자기장을 발생시키도록 배열될 수 있다. 일부 바람직한 구현예에서, 인덕터 코일은 장치 공동을 실질적으로 둘러쌀 수 있다. 인덕터 코일은 장치 공동의 길이를 따라 적어도 부분적으로 연장될 수 있다.In some embodiments, the at least one heating element may comprise an induction heating element. The induction heating element may include an inductor coil and a power supply configured to supply a high frequency oscillating current to the inductor coil. As used herein, high frequency oscillation current means an oscillation current having a frequency of 500 kHz to 30 MHz. The at least one heating element may advantageously comprise a DC/AC inverter for converting the DC current supplied by the DC power supply into alternating current. The inductor coil may be arranged to generate a high frequency oscillating electromagnetic field upon receiving a high frequency oscillating current from the power supply. The inductor coil may be arranged to generate a high frequency oscillating electromagnetic field within the device cavity. In some preferred embodiments, the inductor coil may substantially surround the device cavity. The inductor coil may extend at least partially along the length of the device cavity.
유도 가열 요소는 서셉터 요소를 포함할 수 있다. 본원에서 사용되는 바와 같이, 용어 "서셉터 요소"는 전자기 에너지를 열로 변환할 수 있는 재료를 포함하는 요소를 지칭한다. 따라서, 서셉터 요소가 교번 전자기장 내에 위치될 때, 서셉터가 가열된다. 서셉터 요소의 가열은 서셉터 재료의 전기 및 자기 특성에 따라, 서셉터에 유도된 히스테리시스 손실 및/또는 와전류의 결과일 수 있다. 히스테리시스 손실은 교번 전자기장의 영향 하에 스위칭되는 재료 내의 자기 도메인으로 인해 강자성 또는 페리자성 서셉터 재료에서 발생한다. 와전류는 서셉터 재료가 전기 전도성인 경우에 유도될 수 있다. 전기 전도성 강자성 또는 페리자성 서셉터 재료의 경우, 열은 와전류 및 히스테리시스 손실 둘 모두로 인해 발생될 수 있다. 따라서, 서셉터 요소는 서셉터 재료의 전기 및 자기 특성에 따라, 히스테리시스 손실 또는 와전류 중 적어도 하나로 인해 가열 가능할 수 있다.The induction heating element may include a susceptor element. As used herein, the term “susceptor element” refers to an element comprising a material capable of converting electromagnetic energy into heat. Thus, when the susceptor element is placed in the alternating electromagnetic field, the susceptor heats up. Heating of the susceptor element may be the result of hysteresis losses and/or eddy currents induced in the susceptor, depending on the electrical and magnetic properties of the susceptor material. Hysteresis losses occur in ferromagnetic or ferrimagnetic susceptor materials due to the magnetic domains in the material being switched under the influence of alternating electromagnetic fields. Eddy currents can be induced when the susceptor material is electrically conductive. For electrically conductive ferromagnetic or ferrimagnetic susceptor materials, heat can be generated due to both eddy currents and hysteresis losses. Thus, the susceptor element may be heatable due to at least one of hysteresis losses or eddy currents, depending on the electrical and magnetic properties of the susceptor material.
서셉터 요소는 에어로졸 발생 물품이 장치 공동 내에 수용될 때, 인덕터 코일에 의해 발생된 발진 전자기장이 서셉터 요소 내에 전류를 유도하여 서셉터 요소가 가열될 수 있도록 배열된다. 에어로졸 발생 장치는 1 내지 5 kA/m(kilo ampere per metre), 바람직하게는 2 내지 3 kA/m, 예를 들어 약 2.5 kA/m의 자계 강도(H-자계 강도)를 갖는 변동 전자기장을 발생시킬 수 있는 것이 바람직하다. 전기 작동식 에어로졸 발생 장치는 1 내지 30 MHz, 예를 들어 1 내지 10 MHz, 예를 들어 5 내지 7 MHz의 주파수를 갖는 변동 전자기장을 발생시킬 수 있는 것이 바람직하다.The susceptor element is arranged such that, when the aerosol-generating article is received within the device cavity, an oscillating electromagnetic field generated by the inductor coil induces an electric current in the susceptor element such that the susceptor element is heated. The aerosol-generating device generates a fluctuating electromagnetic field having a magnetic field strength (H-field strength) of 1 to 5 kA/m (kilo ampere per metre), preferably 2 to 3 kA/m, for example about 2.5 kA/m. It is desirable to be able to The electrically operated aerosol-generating device is preferably capable of generating a fluctuating electromagnetic field with a frequency of 1 to 30 MHz, for example 1 to 10 MHz, for example 5 to 7 MHz.
일부 구현예에서, 서셉터 요소는 에어로졸 발생 물품 내에 위치된다. 이러한 구현예에서, 서셉터 요소는 바람직하게는 에어로졸 형성 기재와 접촉하여 위치된다. 서셉터 요소는 에어로졸 형성 기재 내에 위치될 수 있다. 바람직하게는, 서셉터 요소는 물품의 길이방향으로, 기재의 길이를 따라 연장되는 세장형 서셉터이다. 에어로졸 형성 기재가 내부 공동을 포함하는 경우, 서셉터 요소는 내부 공동 내에 배열될 수 있다. 에어로졸 형성 기재가 내부 공동을 포함하는 경우, 서셉터 요소는 기재 내부 표면 상에 배열될 수 있다. 에어로졸 발생 물품은 하나 이상의 서셉터 요소를 포함할 수 있다. 에어로졸 발생 물품은 복수의 서셉터 요소를 포함할 수 있다.In some embodiments, the susceptor element is positioned within the aerosol-generating article. In this embodiment, the susceptor element is preferably positioned in contact with the aerosol-forming substrate. The susceptor element may be positioned within the aerosol-forming substrate. Preferably, the susceptor element is an elongate susceptor extending along the length of the substrate, in the longitudinal direction of the article. Where the aerosol-forming substrate comprises an interior cavity, the susceptor element may be arranged within the interior cavity. Where the aerosol-forming substrate comprises an interior cavity, the susceptor element may be arranged on the interior surface of the substrate. The aerosol-generating article may include one or more susceptor elements. The aerosol-generating article may include a plurality of susceptor elements.
일부 구현예에서, 서셉터 요소는 에어로졸 발생 장치 내에 위치된다. 이러한 구현예에서, 서셉터 요소는 장치 공동 내에 위치될 수 있다. 서셉터 요소는 에어로졸 발생 물품이 장치 공동 내에 수용될 때 에어로졸 발생 물품의 에어로졸 형성 기재 내로 적어도 부분적으로 삽입되도록 구성될 수 있다. 에어로졸 형성 기재가 내부 공동을 포함하는 경우, 서셉터 요소는 에어로졸 발생 물품이 장치 공동 내에 수용될 때 에어로졸 형성 기재의 내부 공동 내로 적어도 부분적으로 삽입되도록 구성될 수 있다. 서셉터 요소는 장치 공동의 길이방향으로 장치 공동 내로 연장될 수 있다. 서셉터 요소는 세장형일 수 있다. 세장형 서셉터 요소는 블레이드 형상일 수 있다. 세장형 서셉터 요소는 핀 형상일 수 있다. 세장형 서셉터 요소는 테이퍼진 형상, 또는 적어도 테이퍼진 단부를 가질 수 있다. 세장형 서셉터 요소는 뾰족한 단부를 가질 수 있다. 세장형 서셉터 요소는 원뿔 형상일 수 있다. 에어로졸 발생 장치는 하나 이상의 서셉터 요소를 포함할 수 있다. 에어로졸 발생 장치는 복수의 서셉터 요소를 포함할 수 있다.In some embodiments, the susceptor element is located within the aerosol-generating device. In this embodiment, the susceptor element may be positioned within the device cavity. The susceptor element may be configured to be at least partially inserted into the aerosol-forming substrate of the aerosol-generating article when the aerosol-generating article is received within the device cavity. Where the aerosol-forming substrate comprises an interior cavity, the susceptor element may be configured to be at least partially inserted into the interior cavity of the aerosol-forming substrate when the aerosol-generating article is received within the device cavity. The susceptor element may extend into the device cavity in a longitudinal direction of the device cavity. The susceptor element may be elongated. The elongate susceptor element may be blade-shaped. The elongate susceptor element may be pin-shaped. The elongate susceptor element may have a tapered shape, or at least a tapered end. The elongate susceptor element may have a pointed end. The elongate susceptor element may be conical in shape. The aerosol-generating device may comprise one or more susceptor elements. The aerosol-generating device may comprise a plurality of susceptor elements.
서셉터 요소는 임의의 적합한 재료를 포함할 수 있다. 서셉터 요소는 에어로졸 형성 기재로부터 휘발성 화합물을 방출하기에 충분한 온도로 유도 가열될 수 있는 임의의 재료로 형성될 수 있다. 세장형 서셉터 요소에 적합한 재료는 그래파이트, 몰리브덴, 탄화규소, 스테인리스 스틸, 니오븀, 알루미늄, 니켈, 니켈 함유 화합물, 티타늄, 및 금속 재료의 복합물을 포함한다. 바람직한 서셉터 요소는 금속 또는 탄소를 포함한다. 유리하게는, 서셉터 요소는 강자성 재료, 예를 들어 페라이트 철, 강자성 합금, 예컨대 강자성 강 또는 스테인리스 스틸, 강자성 입자, 및 페라이트를 포함하거나 이로 구성될 수 있다. 적합한 서셉터 요소는 알루미늄이거나 이를 포함할 수 있다. 서셉터 요소는 바람직하게는 5% 초과, 바람직하게는 20% 초과, 더 바람직하게는 50% 또는 90% 초과의 강자성 또는 상자성 재료를 포함한다. 바람직한 세장형 서셉터 요소는 250℃를 초과하는 온도로 가열될 수 있다.The susceptor element may comprise any suitable material. The susceptor element may be formed of any material capable of induction heating to a temperature sufficient to release the volatile compound from the aerosol-forming substrate. Suitable materials for the elongate susceptor element include graphite, molybdenum, silicon carbide, stainless steel, niobium, aluminum, nickel, nickel-containing compounds, titanium, and composites of metallic materials. Preferred susceptor elements include metal or carbon. Advantageously, the susceptor element may comprise or consist of a ferromagnetic material such as ferritic iron, a ferromagnetic alloy such as ferromagnetic steel or stainless steel, ferromagnetic particles, and ferrite. A suitable susceptor element may be or include aluminum. The susceptor element preferably comprises more than 5%, preferably more than 20%, more preferably more than 50% or more than 90% of ferromagnetic or paramagnetic material. Preferred elongate susceptor elements can be heated to temperatures in excess of 250°C.
서셉터 요소는 금속층이 비금속 코어 상에 배치되어 있는 비금속 코어를 포함할 수 있다. 예를 들어, 서셉터 요소는 세라믹 코어 또는 기재의 외부 표면 상에 형성된 금속 트랙을 포함할 수 있다.The susceptor element may comprise a non-metallic core having a metal layer disposed on the non-metallic core. For example, the susceptor element may include a metal track formed on an outer surface of a ceramic core or substrate.
일부 구현예에서, 에어로졸 발생 시스템은 적어도 하나의 저항 가열 요소 및 적어도 하나의 유도 가열 요소를 포함한다. 일부 구현예에서, 에어로졸 발생 시스템은 저항 가열 요소 및 유도 가열 요소의 조합을 포함한다.In some embodiments, the aerosol-generating system comprises at least one resistive heating element and at least one induction heating element. In some embodiments, the aerosol-generating system comprises a combination of a resistive heating element and an induction heating element.
바람직하게는, 이러한 양태의 적어도 하나의 가열 요소는 제1 하우징 부분 및 제2 하우징 부분이 폐쇄 위치에 있고 에어로졸 형성 기재가 장치 공동 내에 수용될 때 에어로졸 형성 기재 내로 삽입되도록 구성된다. 따라서, 적어도 하나의 가열 요소는 제1 및 제2 하우징 부분이 폐쇄 위치에 있을 때 제1 하우징 부분으로부터 장치 공동 내로 돌출될 수 있다. 따라서, 적어도 하나의 가열 요소는 제1 및 제2 하우징 부분이 폐쇄 위치에 있을 때 제2 하우징 부분으로부터 장치 공동 내로 연장되거나 돌출될 수 있다.Preferably, the at least one heating element of this aspect is configured to be inserted into the aerosol-forming substrate when the first housing portion and the second housing portion are in the closed position and the aerosol-forming substrate is received within the device cavity. Accordingly, the at least one heating element may protrude from the first housing portion into the device cavity when the first and second housing portions are in the closed position. Accordingly, the at least one heating element may extend or project from the second housing portion into the device cavity when the first and second housing portions are in the closed position.
가열 요소가 제1 및 제2 하우징 부분 중 하나로부터 장치 공동 내로 연장되는 경우, 가열 요소는 임의의 적합한 방향으로 장치 공동 내로 연장될 수 있다. 일부 구현예에서, 가열 요소는 길이방향에 실질적으로 수직인 방향으로 장치 공동 내로 연장되는 것이 바람직하다. 장치가 장치 공동 내로 연장되는 복수의 가열 요소를 포함하는 경우, 모든 가열 요소가 서로 실질적으로 평행한 것이 바람직할 수 있다.When the heating element extends from one of the first and second housing portions into the device cavity, the heating element may extend into the device cavity in any suitable direction. In some embodiments, it is preferred that the heating element extend into the device cavity in a direction substantially perpendicular to the longitudinal direction. Where the device comprises a plurality of heating elements extending into the device cavity, it may be desirable for all of the heating elements to be substantially parallel to one another.
이러한 양태의 장치는 임의의 적합한 수의 가열 요소를 포함할 수 있다. 예를 들어, 장치는 1개, 2개, 3개, 4개, 5개, 6개, 7개, 8개, 9개, 10개, 11개 또는 12개 이상의 가열 요소를 포함할 수 있다. 장치가 복수의 가열 요소를 포함하는 경우, 가열 요소는 이격될 수 있다. 가열 요소는 장치 공동의 상류 단부와 하류 단부 사이에서 장치 공동의 길이방향으로 이격될 수 있다. 가열 요소는 길이방향에 평행한, 장치 공동의 가로방향으로 이격될 수 있다.The apparatus of this aspect may include any suitable number of heating elements. For example, the device may include 1, 2, 3, 4, 5, 6, 7, 8, 9, 10, 11, 12 or more heating elements. If the device comprises a plurality of heating elements, the heating elements may be spaced apart. The heating element may be spaced longitudinally of the device cavity between an upstream end and a downstream end of the device cavity. The heating elements may be spaced apart in a transverse direction of the device cavity, parallel to the longitudinal direction.
일부 구현예에서, 이러한 양태의 장치는 적어도 2개의 가열 요소, 즉 제1 가열 요소 및 제2 가열 요소를 포함하며, 제2 가열 요소는 장치 공동의 길이방향으로 제1 가열 요소로부터 이격된다. 이러한 구현예에서, 장치는 이전 양태와 관련하여 전술한 바와 같이, 길이방향으로 이격된, 에어로졸 형성 기재의 2개 이상의 세그먼트를 포함하는 에어로졸 발생 물품과 함께 사용하기에 적합할 수 있다. 이러한 구현예에서, 제1 가열 요소는 장치 공동 내에 수용된 에어로졸 형성 기재의 제1 세그먼트를 가열하도록 배열될 수 있고, 제2 가열 요소는 장치 공동 내에 수용된 에어로졸 형성 기재의 제2 세그먼트를 가열하도록 배열될 수 있다. 장치는 상이한 시간에 시스템에 의해 발생된 에어로졸 및 사용자의 경험을 변화시키기 위해 상이한 시간에, 또는 상이한 온도로 제1 및 제2 가열 요소를 가열하도록 구성될 수 있다.In some embodiments, the device of this aspect comprises at least two heating elements, a first heating element and a second heating element, the second heating element being spaced apart from the first heating element in the longitudinal direction of the device cavity. In such embodiments, the device may be suitable for use with an aerosol-generating article comprising two or more segments of an aerosol-forming substrate that are longitudinally spaced apart, as described above with respect to the previous aspect. In this embodiment, the first heating element may be arranged to heat a first segment of the aerosol-forming substrate received within the device cavity, and the second heating element may be arranged to heat a second segment of the aerosol-forming substrate received within the device cavity. can The device may be configured to heat the first and second heating elements at different times, or to different temperatures, to change the user's experience and the aerosol generated by the system at different times.
이러한 양태의 장치의 일부 구현예에서, 장치는 제1 하우징 부분으로부터 연장되는 적어도 하나의 가열 요소 및 제2 하우징 부분으로부터 연장되는 적어도 하나의 가열 요소를 포함한다. 유리하게는, 제1 및 제2 하우징 부분 둘 모두 상에 가열 요소를 제공하는 것은 가열 요소가 상이한 측면으로부터 에어로졸 형성 기재 내로 삽입될 수 있게 하며, 이는 에어로졸 형성 기재의 온도 변화를 감소시킬 수 있다. 또한, 개방 위치와 폐쇄 위치 사이에서 제1 및 제2 하우징 부분의 이동은 에어로졸 형성 기재가 이러한 장치 내로 삽입될 수 있게 하고, 이러한 장치로부터 쉽게 제거될 수 있게 한다.In some implementations of the device of this aspect, the device includes at least one heating element extending from the first housing portion and at least one heating element extending from the second housing portion. Advantageously, providing a heating element on both the first and second housing parts allows the heating element to be inserted into the aerosol-forming substrate from different sides, which can reduce temperature changes of the aerosol-forming substrate. Also, movement of the first and second housing portions between the open and closed positions allows the aerosol-forming substrate to be inserted into, and easily removed from, such devices.
제2 하우징 부분은 제1 하우징 부분에 대해 이동 가능하다. 제1 하우징 부분 및 제2 하우징 부분은 이동 가능하게 결합될 수 있다. 제1 및 제2 하우징 부분은 임의의 적합한 결합 수단에 의해 함께 이동 가능하게 결합될 수 있다.The second housing portion is movable relative to the first housing portion. The first housing portion and the second housing portion may be movably coupled. The first and second housing portions may be movably coupled together by any suitable coupling means.
일부 구현예에서, 제1 및 제2 하우징 부분은 함께 슬라이딩 가능하게 결합될 수 있다. 이러한 구현예에서, 제1 및 제2 하우징 부분에는 제2 하우징 부분이 개방 위치와 폐쇄 위치 사이에서 제1 하우징 부분에 대해 슬라이딩할 수 있게 하는 상보적 레일이 제공될 수 있다.In some embodiments, the first and second housing portions may be slidably coupled together. In this embodiment, the first and second housing portions may be provided with complementary rails that enable the second housing portion to slide relative to the first housing portion between an open position and a closed position.
일부 구현예에서, 제2 하우징 부분은 제1 하우징 부분에 제거 가능하게 결합될 수 있다. 이러한 구현예에서, 제1 및 제2 하우징 부분은 제2 하우징 부분이 제1 하우징 부분으로부터 제거될 때 개방 위치에 있을 수 있다. 이러한 구현예에서, 제1 및 제2 하우징 부분은 제2 하우징 부분이 제1 하우징 부분에 제거 가능하게 결합될 때 폐쇄 위치에 있을 수 있다.In some implementations, the second housing portion may be removably coupled to the first housing portion. In this embodiment, the first and second housing portions may be in an open position when the second housing portion is removed from the first housing portion. In this embodiment, the first and second housing portions may be in a closed position when the second housing portion is removably coupled to the first housing portion.
일부 바람직한 구현예에서, 제1 및 제2 하우징 부분은 함께 회전 가능하게 결합된다. 제2 하우징 부분은 제1 하우징 부분에 회전 가능하게 결합될 수 있고 개방 위치와 폐쇄 위치 사이에서 회전 가능할 수 있다. 제1 및 제2 하우징 부분은 임의의 적합한 수단에 의해 회전 가능하게 결합될 수 있다. 예를 들어, 제1 및 제2 하우징 부분은 피봇 또는 힌지에 의해 회전 가능하게 결합될 수 있다.In some preferred embodiments, the first and second housing parts are rotatably coupled together. The second housing portion may be rotatably coupled to the first housing portion and may be rotatable between an open position and a closed position. The first and second housing portions may be rotatably coupled by any suitable means. For example, the first and second housing portions may be rotatably coupled by a pivot or hinge.
제2 하우징 부분은 임의의 적합한 방향으로 제1 하우징 부분에 대해 회전 가능할 수 있다. 바람직하게는, 제2 하우징 부분은 길이방향에 수직인 방향으로 제1 하우징 부분에 대해 회전 가능하다. 이는 제1 및 제2 하우징 부분이 길이방향과 상이한 방향으로 개방 위치에 있을 때, 장치의 공동 내로의 에어로졸 형성 기재의 삽입 및 장치의 공동으로부터의 에어로졸 형성 기재의 제거를 용이하게 할 수 있다.The second housing portion may be rotatable relative to the first housing portion in any suitable direction. Preferably, the second housing part is rotatable relative to the first housing part in a direction perpendicular to the longitudinal direction. This may facilitate insertion of the aerosol-forming substrate into the cavity of the device and removal of the aerosol-forming substrate from the cavity of the device when the first and second housing portions are in an open position in a direction different from the longitudinal direction.
일부 바람직한 구현예에서, 제2 하우징 부분은 제2 공동을 포함한다. 제2 공동은 폐쇄 위치에서, 제1 공동 및 제2 공동이 장치 공동을 정의하도록 배열될 수 있다. 즉, 제1 공동 및 제2 공동은 제1 하우징 부분 및 제2 하우징 부분이 폐쇄 위치에 있을 때 더 큰 공동, 장치 공동을 형성하도록 정렬될 수 있다.In some preferred embodiments, the second housing portion comprises a second cavity. The second cavity may be arranged such that, in the closed position, the first cavity and the second cavity define a device cavity. That is, the first cavity and the second cavity may be aligned to form a larger cavity, a device cavity, when the first housing portion and the second housing portion are in the closed position.
일부 구현예에서, 제2 공동은 제1 공동과 상이하다. 이는 제1 및 제2 공동이 비대칭 형상을 갖는 장치 공동을 형성할 수 있게 한다.In some embodiments, the second cavity is different from the first cavity. This allows the first and second cavities to form a device cavity having an asymmetric shape.
바람직하게는, 제2 공동은 제1 공동과 실질적으로 동일하며, 동일한 형상 및 크기를 갖는다. 예를 들어, 제1 공동은 실질적으로 반구형 원통형일 수 있고, 제2 공동은 실질적으로 반구형 원통형일 수 있으며, 제1 및 제2 공동은 제1 및 제2 하우징 부분이 폐쇄 위치에 있을 때 실질적으로 원통형 장치 공동을 형성한다. 제1 및 제2 공동은 임의의 적합한 양의 에어로졸 형성 기재를 수용하기 위한 임의의 적합한 크기 및 형상을 가질 수 있다.Preferably, the second cavity is substantially the same as the first cavity and has the same shape and size. For example, the first cavity may be a substantially hemispherical cylinder, the second cavity may be a substantially hemispherical cylinder, and the first and second cavities may be substantially hemispherical when the first and second housing portions are in the closed position. to form a cylindrical device cavity. The first and second cavities may have any suitable size and shape to receive any suitable amount of an aerosol-forming substrate.
다른 모든 양태에서, 이러한 양태의 에어로졸 발생 장치는 이전 양태와 관련하여 전술한 에어로졸 발생 장치와 동일할 수 있다.In all other aspects, the aerosol-generating device of this aspect may be identical to the aerosol-generating device described above with respect to the previous aspect.
예를 들어, 장치는, 바람직하게는 외기가 장치 공동 내로 흡인될 수 있도록 구성된 하나 이상의 공기 유입구, 적어도 하나의 가열 요소에 전력을 공급하기 위한 전력 공급부, 및 전력 공급부로부터 적어도 하나의 가열 요소로 전력의 공급을 제어하기 위한 컨트롤러를 포함한다.For example, the device preferably includes one or more air inlets configured to allow outside air to be drawn into the device cavity, a power supply for supplying power to the at least one heating element, and a power supply from the power supply to the at least one heating element. a controller for controlling the supply of
본 발명의 추가 양태에 따르면, 에어로졸 발생 시스템이 제공되며, 에어로졸 발생 시스템은,According to a further aspect of the present invention, there is provided an aerosol-generating system, the aerosol-generating system comprising:
이전 양태에 따른 에어로졸 발생 장치; 및an aerosol-generating device according to the previous aspect; and
에어로졸 형성 기재를 포함하는 에어로졸 발생 물품을 포함한다.an aerosol-generating article comprising an aerosol-forming substrate.
이러한 양태의 에어로졸 발생 장치와 조합하여 사용되는 에어로졸 발생 물품은 본 발명의 이전 양태와 관련하여 전술한 에어로졸 발생 물품과 동일한 특징을 포함할 수 있다. 그러나, 다른 에어로졸 발생 물품이 또한 이전 양태의 장치와 함께 이러한 시스템에 사용하기에 적합할 수 있음을 이해할 것이다. 예를 들어, 길이를 따라 실질적으로 일정한 외경을 갖는 에어로졸 발생 물품은 이전 양태의 장치와 함께 사용하기에 적합할 수 있다.An aerosol-generating article used in combination with an aerosol-generating device of this aspect may comprise the same features as the aerosol-generating article described above with respect to the previous aspect of the present invention. However, it will be appreciated that other aerosol-generating articles may also be suitable for use in such systems with the devices of the previous aspects. For example, an aerosol-generating article having an outer diameter that is substantially constant along its length may be suitable for use with the device of the previous aspect.
본 발명의 이들 및 다른 특징 및 장점은 첨부된 도면을 참조하여 단지 예시적이고 비제한적인 예시로서 주어진 바람직한 구현예에 대한 다음의 상세한 설명에 비추어 더욱 명백해질 것이다:
도 1은 본 발명의 제1 구현예에 따른 에어로졸 발생 물품의 개략도를 도시한다.
도 2는 본 발명의 제2 구현예에 따른 에어로졸 발생 물품의 개략도를 도시한다.
도 3은 본 발명의 제3 구현예에 따른 에어로졸 발생 시스템의 개략도를 도시하며, 에어로졸 발생 시스템은 도 1의 에어로졸 발생 물품을 포함한다.
도 4는 본 발명의 제4 구현예에 따른 에어로졸 발생 시스템의 개략도를 도시한다.
도 5는 본 발명의 제5 구현예에 따른 에어로졸 발생 시스템의 개략도를 도시한다.
도 6은 본 발명의 제6 구현예에 따른 에어로졸 발생 시스템의 개략도를 도시한다.
도 7은 본 발명의 제7 구현예에 따른 에어로졸 발생 장치의 개략도를 도시한다.
도 8은 도 7의 에어로졸 발생 장치를 포함하는, 본 발명의 제8 구현예에 따른 에어로졸 발생 시스템의 개략도를 도시한다.These and other features and advantages of the present invention will become more apparent in view of the following detailed description of preferred embodiments, given by way of illustration and non-limiting example only, with reference to the accompanying drawings:
1 shows a schematic diagram of an aerosol-generating article according to a first embodiment of the invention;
2 shows a schematic diagram of an aerosol-generating article according to a second embodiment of the present invention;
3 shows a schematic diagram of an aerosol-generating system according to a third embodiment of the present invention, the aerosol-generating system comprising the aerosol-generating article of FIG. 1 .
4 shows a schematic diagram of an aerosol-generating system according to a fourth embodiment of the present invention;
5 shows a schematic diagram of an aerosol-generating system according to a fifth embodiment of the present invention;
6 shows a schematic diagram of an aerosol-generating system according to a sixth embodiment of the present invention;
7 shows a schematic diagram of an aerosol-generating device according to a seventh embodiment of the present invention;
8 shows a schematic diagram of an aerosol-generating system according to an eighth embodiment of the invention, comprising the aerosol-generating device of FIG. 7 ;
도 1은 상류 단부(11) 및 하류 단부(12)를 포함하는 에어로졸 발생 물품(10)을 도시한다. 물품(10)은 에어로졸 형성 기재(13)를 포함하는 상류 세그먼트, 및 이러한 구현예에서 필터(15)로 이루어진 하류 세그먼트(14)를 포함한다. 필터(15)는 일반적으로, 하류 세그먼트 외경(D1)을 갖는 외부 원통형 표면을 갖는, 셀룰로스 아세테이트의 원통형 부분을 형성한다. 이러한 구현예에서, 에어로졸 형성 기재(13)는 일반적으로 균질화된 캐스트 리프 담배의 중공 원통형 관을 형성한다. 관형 에어로졸 형성 기재(13)는 기재 외경(D2)을 갖는 기재 외부 표면(17) 및 기재 내경(D3)을 갖는 기재 내부 표면(18)을 갖는다. 기재 내부 표면(18)은 에어로졸 형성 기재(13) 내에서 길이방향으로 연장되는 내부 공동(16)을 한정한다.1 shows an aerosol-generating
필터의 외경(D1)은 기재의 외경(D2)보다 더 크다.The outer diameter D1 of the filter is larger than the outer diameter D2 of the substrate.
에어로졸 형성 기재(13)의 두께는 그 길이를 따라 일관된 외경을 갖는 물품 및 에어로졸 형성 기재가 관형이 아닌 물품 내의 에어로졸 형성 기재의 두께에 비해 상당히 감소된다. 에어로졸 형성 기재(13)의 감소된 두께는 기재(13)에 인가된 열이 기재의 두께를 통해 신속하게 전파될 수 있게 한다. 이는 기재(13)의 온도를 상승시키는 데 필요한 시간을 감소시킬 수 있다. 예를 들어, 이는 가열 요소(31)로부터 가장 멀리 있는 기재(13)의 영역에서 기재(13)의 온도를 상승시키는 데 필요한 시간을 감소시킬 수 있다. 에어로졸 발생 물품(10)의 에어로졸 형성 기재(13)의 감소된 두께는 에어로졸 발생 물품으로부터의 에어로졸 발생의 효율을 개선할 수 있다.The thickness of the aerosol-forming
도 2의 에어로졸 발생 물품(10)은 하류 세그먼트(14)가 간격 요소(19) 및 필터(15)를 포함한다는 것을 제외하고 도 1의 구현예의 물품과 유사하다. 이러한 구현예에서, 간격 요소(19)는 필터(15)와 에어로졸 형성 기재(13) 사이에 배치된다.The aerosol-generating
이러한 구현예에서, 간격 요소(19)는 지지 요소이다. 그러나, 다른 구현예에서, 물품에는 지지 요소에 더하여 또는 지지 요소 대신에 필터(15)와 기재(13) 사이에 배치된 냉각 요소가 제공될 수 있음을 이해할 것이다.In this embodiment, the
도 3은 도 1의 에어로졸 발생 물품(10) 및 에어로졸 발생 장치(30)를 포함하는 에어로졸 발생 시스템(40)을 도시한다. 에어로졸 발생 장치(30)는 에어로졸 발생 물품이 장치(30) 내에 수용될 때 에어로졸 형성 기재(13) 내로 삽입되도록 구성되는 가열 요소(31)를 포함한다. 도 3의 구현예에서, 가열 요소(31)는 기재 내부 표면(18)에 의해 정의된, 물품(10)의 내부 공동(16) 내에 수용된다.3 shows an aerosol-generating
에어로졸 발생 장치(30)는 장치 공동 내부 표면(33)을 갖는 장치 공동(32)을 포함한다. 장치 공동 내부 표면(33)은 장치 공동 내부 직경(D4)을 갖는다. 도 3에서, 장치 공동(32)은 물품(10)의 에어로졸 형성 기재(13)를 수용한다. 에어로졸 형성 기재(13)가 장치 공동(32) 내에 수용될 때, 환형 갭은 기재 외부 표면(17)과 장치 공동 내부 표면(33) 사이에 형성되며, 이는 기재(13)의 길이를 따라 길이방향으로 기류 통로(35)를 제공하고, 장치 공동은 기재를 둘러싼다. 기류 통로(35)의 폭은 챔버 내경(D4)과 기재 외경(D2) 사이의 차이이다. 기류 통로(35)는 에어로졸 형성 기재(13)의 외부에 있다.The aerosol-generating
도 3에 도시된 바와 같이, 에어로졸 발생 시스템(40)이 사용 중일 때, 휘발성 화합물이 기재(13)로부터 방출되는 온도로 에어로졸 형성 기재(13)를 가열하기 위해 전력이 가열 요소(31)에 제공된다. 물품(10)의 필터(15)와 같은 하류 세그먼트(14) 상에서 흡인하는 사용자는 공기가 장치 공동(32)의 원위 단부에서 공기 유입구(36)를 통해 기류 통로(35) 내로, 물품(10)의 길이방향으로 기류 통로(35)를 따라, 그리고 하류 세그먼트(14)를 통해, 예컨대 필터(15)를 통해 장치 공동(32) 밖으로 흡인되게 한다. 가열식 에어로졸 형성 기재(13)로부터 방출된 휘발성 화합물은 도 3에서 만곡된 화살표로 개략적으로 표현되는 바와 같이 기류 통로(35) 내로 전개되고, 냉각되어 사용자에 의해 흡입될 수 있는 에어로졸을 형성한다. 에어로졸은 기류 통로(35)를 통해 흡인되는 공기에 비말동반되고, 화살표(A1)로 표시된 바와 같이, 하류 단부(12)를 향해 물품(10)의 필터(15)를 통해 장치 공동(32) 밖으로 흐른다.As shown in FIG. 3 , when the aerosol-generating
도 3의 구현예에서, 하류 세그먼트 외경(D1)은 장치 공동 내경(D4)과 동일하다. 따라서, 기류 통로는 하류 세그먼트(14)에 의해 그의 하류 에지에서 한정되며, 이는 이러한 구현예에서 필터(15)에 대응한다. 따라서, 기류 통로(35)를 빠져나오는 에어로졸은 필터(15)를 통해 흐를 필요가 있다.In the embodiment of FIG. 3 , the downstream segment outer diameter D1 is equal to the device cavity inner diameter D4 . The airflow passage is thus defined at its downstream edge by a
도 4의 에어로졸 발생 시스템(40)에서, 에어로졸 발생 물품(10)은 에어로졸 형성 기재(13)가 내부 공동을 포함하지 않는다는 점에서 도 1 및 도 3의 것과 상이하며; 대신에, 에어로졸 형성 기재(13)는 균질화된 담배 캐스트 리프의 고체 원통형 플러그이다. 에어로졸 발생 장치(30)는 에어로졸 형성 기재(13)가 장치 공동(32) 내에 수용될 때 에어로졸 형성 기재(13)를 관통하는 가열 요소(31)를 포함한다는 점을 제외하고, 도 3의 것과 동일하다. 일부 구현예에서, 가열 요소는 에어로졸 형성 기재 내로의 가열 요소의 삽입을 용이하게 하도록 구성된 블레이드, 핀, 스파이크 또는 임의의 다른 형상 중 어느 하나이다. 예를 들어, 가열 요소는 테이퍼진 단부 또는 뾰족한 단부를 가질 수 있다. 도 4의 구현예에서, 가열 요소는 블레이드 형상 가열 요소이다.In the aerosol-generating
도 5의 에어로졸 발생 시스템(40)에서, 에어로졸 발생 물품(10)은 에어로졸 발생 물품(10)이 장치 공동 내부 직경(D4)보다 더 큰 하류 세그먼트(D1)를 갖는, 이러한 구현예에서 필터(15)인 하류 세그먼트(14)를 포함한다는 점에서 도 1 및 도 3의 것과 상이하다. 이러한 하류 세그먼트 구성은 필터(15)의 상류 에지가 기류 통로(35)의 하류 에지를 한정하는 것을 더 보장할 수 있다. 또한, 열 전도성 재료의 층(23)은 기재 내부 표면(18) 상에 배치된다. 열 전도성 재료 층(23)은 내부 공동(16)을 둘러싸고 내부 공동(16)의 전체 길이를 연장시키는, 기재 내부 표면(18)을 실질적으로 덮는다. 이는 가열 요소(31)로부터 기재(13)로의 열의 분포를 개선할 수 있다. 열 전도성 재료 층(23)은 또한 내부 공동(16) 내에 수용된 가열 요소(31)와 에어로졸 형성 기재(13) 사이에 물리적 분리를 생성할 수 있으며, 이는 가열 요소(31)에 가까운 기재(13)의 영역에서 에어로졸 형성 기재(13)를 과열시킬 위험을 감소시킬 수 있다. 열 전도성 재료 층(23)은 또한 내부 공동(16)의 제공에 의해 기재(13)의 두께의 감소에 의해 감소될 수 있는 관형 에어로졸 형성 기재(13)의 견고성을 증가시킬 수 있다.In the aerosol-generating
도 5의 시스템(40)의 다른 특징은 도 3의 시스템(40)의 특징에 대응한다.Other features of
도 6의 에어로졸 발생 시스템(40)에서, 에어로졸 발생 장치(30)는 장치 공동(32)의 길이방향으로 서로 이격된 제1 가열 요소(34) 및 제2 가열 요소(38)를 포함한다. 에어로졸 발생 물품(10)은 물품의 길이방향으로 단부-대-단부에 배열된, 2개의 에어로졸 형성 기재 세그먼트, 즉 제1 에어로졸 형성 기재 세그먼트(21) 및 제2 에어로졸 형성 세그먼트(22)를 갖는 에어로졸 형성 기재(13)를 포함한다. 제1 에어로졸 형성 기재 세그먼트(21)는 제1 에어로졸 형성 기재 조성을 포함하고, 제2 에어로졸 형성 기재 세그먼트(22)는 제1 길이방향 기재 세그먼트(21)의 조성과 상이한 제2 에어로졸 형성 기재 조성을 포함한다.In the aerosol-generating
에어로졸 형성 기재(13)가 장치 공동(32) 내에 수용될 때 제1 가열 요소(34)는 제1 에어로졸 형성 기재 세그먼트(21)를 가열하도록 배열되고, 제2 가열 요소(38)는 제2 에어로졸 형성 기재 세그먼트(22)를 가열하도록 배열된다. 따라서, 에어로졸 발생 장치(30)는 에어로졸 형성 기재(13)의 각각의 세그먼트를 개별적으로 가열하도록 구성될 수 있다. 열이 제1 기재 세그먼트(21) 및 제2 기재 세그먼트(22)에 선택적으로 인가될 수 있기 때문에, 세그먼트(21, 22)는 에어로졸 발생 장치(40)에 의해 순차적으로 가열될 수 있다. 각각의 세그먼트는 또한 사용자가 소비하고자 하는 에어로졸의 유형에 따라 가열될 수 있다.The
도 6의 에어로졸 발생 장치(30)는 에어로졸 형성 기재(13)가 장치 공동(32) 내에 수용될 때 장치 공동(32) 내에, 장치 공동 내부 표면(33) 상에, 그리고 기류 통로(35) 내에 배치된 센서(37)를 추가로 포함한다. 센서(37)는 퍼프의 시작, 퍼프의 지속, 에어로졸의 온도 또는 기류 통로(35) 내의 에어로졸의 특정 구성요소의 농도와 같은 관련 데이터를 장치 및/또는 사용자에게 제공할 수 있다.The aerosol-generating
도 7은 본 발명의 추가 구현예에 따른 에어로졸 발생 장치(300)를 도시한다. 장치(300)는 에어로졸 형성 기재를 수용하기 위한 장치 공동(305)을 형성할 수 있는 하우징을 포함한다. 하우징은 서로에 대해 이동 가능한, 제1 하우징 부분(301) 및 제2 하우징 부분(302)을 포함한다. 이러한 구현예에서, 제1 및 제2 하우징 부분(301, 302)은 서로에 대해 회전 가능하고, 상대 이동은 도 7에서 화살표(R1)로 표현된다. 힌지(307)는 제1 하우징 부분(301)을 제2 하우징 부분(302)에 회전 가능하게 부착한다.7 shows an aerosol-generating
제1 및 제2 하우징 부분(301, 302)은 개방 위치와 폐쇄 위치 사이에서 회전 가능하다. 폐쇄 위치에서, 제1 및 제2 하우징 부분(301, 302)은 에어로졸 형성 기재(130)를 수용하기 위한 장치 공동을 형성하도록 배열된다. 폐쇄 위치에서, 형성된 장치 공동은 에어로졸 형성 기재를 둘러쌀 수 있다. 개방 위치에서, 제1 및 제2 하우징 부분(301, 302)은 에어로졸 형성 기재(130)가 몸체(301, 302) 상에 수용되고 이로부터 제거될 수 있도록 배열된다.The first and
제1 하우징 부분(301)은 제1 공동(303)을 포함하고, 제2 하우징 부분(302)은 제2 공동(304)을 포함한다. 이러한 구현예에서, 제1 공동(303)은 실질적으로 반구형 원통형 공동이고, 제2 공동(304)은 실질적으로 반구형 원통형 공동이다. 폐쇄 위치에서, 제1 공동(303) 및 제2 공동(304)은 에어로졸 형성 기재(130)를 수용하기 위한 장치 공동(305)을 형성하도록 정렬된다. 이러한 구현예에서, 장치 공동(305)은 에어로졸 형성 기재(130)가 장치 공동(305) 내에 수용될 때 길이방향(X) 주위에서 에어로졸 형성 기재(130)를 둘러싼다. 즉, 장치 공동(305)은 에어로졸 형성 기재(130)를 에워싸거나 둘러싸는 관형 공동을 형성하며, 관형 공동은 길이방향(X)으로 연장되는 길이를 갖는다. 관형 공동은 단부에서 폐쇄될 수 있다. 개방 위치에서, 도 7에 도시된 바와 같이, 제1 공동(303) 및 제2 공동(304)은 회전되어 개구(306)를 형성하며, 이를 통해 에어로졸 형성 기재(130)가 길이방향(X)과 상이한 방향으로 제1 및 제2 공동(303, 304) 각각내로 삽입될 수 있다. 이러한 구현예에서, 에어로졸 형성 기재(130)는 길이방향(X)에 실질적으로 수직인 방향(P1)으로 제1 및 제2 공동(303, 304) 중 어느 하나 내로 삽입될 수 있다.The
에어로졸 발생 장치(300)는 복수의 내부 가열 요소(310)를 포함한다. 내부 가열 요소(310)는 에어로졸 형성 기재를 적어도 부분적으로 관통하도록 구성된다. 이러한 구현예에서, 내부 가열 요소(310)는 핀 형상 가열 요소(310)이다. 제1 하우징 부분(301)은 제1 공동(303) 내로 연장되는 복수의 핀 형상 가열 요소(310)를 포함하고, 제2 하우징 부분(302)은 제2 공동(304) 내로 연장되는 복수의 핀 형상 가열 요소(310)를 포함한다. 구체적으로, 예시된 구현예에서, 장치(300)는 12개의 가열 요소(310), 즉 제1 하우징 부분(301)으로부터 제1 공동(303) 내로 연장되는 6개의 가열 요소(310), 및 제2 하우징 부분(302)으로부터 제2 공동(304) 내로 연장되는 6개의 가열 요소(310)를 포함한다. 핀 형상 가열 요소(310)는 챔버(305) 내에서 실질적으로 가로방향으로 연장된다. 핀 형상 가열(310) 요소는 제1 및 제2 하우징 부분(301, 302)이 폐쇄 위치에 있을 때, 서로 실질적으로 평행하게 그리고 공동의 길이방향(X)에 수직으로 연장되도록 배열된다. 핀 형상 가열 요소가 본원에 설명되고 예시되지만, 다양한 형상 중 임의의 것이 사용될 수 있음을 이해할 것이다. 예를 들어, 가열 요소는 에어로졸 형성 기재 내로 가열 요소의 삽입을 용이하게 하도록 구성된 블레이드, 핀, 스파이크 또는 임의의 다른 형상 중 어느 하나 또는 조합의 형상을 가질 수 있다. 예를 들어, 가열 요소는 테이퍼진 단부 또는 뾰족한 단부를 가질 수 있다. 제1 공동(303) 내의 가열 요소는 서로 동일하거나 가변될 수 있다. 제2 공동(304) 내의 가열 요소는 서로 동일하거나 가변될 수 있다. 제1 공동(303) 내의 가열 요소는 제2 공동(304) 내의 가열 요소와 비교하여 동일한 형상을 가질 수 있거나 상이한 형상을 가질 수 있다. 예시된 구현예를 참조하여 12개의 가열 요소가 설명되지만, 다른 수의 가열 요소가 사용될 수 있음을 이해할 것이다. 예시된 발명은 양 공동(303, 304) 내의 가열 요소를 설명하지만, 일부 구현예에서, 하나의 공동으로부터 연장되는 가열 요소만이 있을 수 있다는 것을 이해할 것이다.The aerosol-generating
제1 및 제2 하우징 부분(301, 302) 각각은 공기 유입구(360)를 추가로 포함한다. 공기 유입구(360)는 장치 공동(305)의 일 단부에 배열되고, 외기가 장치 공동(305) 내로 흡인될 수 있도록 배열된다.Each of the first and
도 8은 에어로졸 발생 물품(100)과 함께 사용되는, 폐쇄 위치에서 도 7의 에어로졸 발생 장치(300)의 길이방향 단면을 도시한다. 도 8에 도시된 에어로졸 발생 물품(100)은 도 1의 것과 유사하다. 물품(100)은 상류 세그먼트 내의 에어로졸 형성 기재(130)를 포함한다. 물품(100)은 이러한 구현예에서, 에어로졸 형성 기재(130)의 바로 하류에 있는 필터(150)를 포함하는 하류 세그먼트(140)를 포함한다. 도 8에 도시된 구현예에서, 에어로졸 형성 기재(130)는 내부 공동(160)을 갖는 원통형 관형 형상을 갖는다. 그러나, 다른 에어로졸 발생 물품, 특히 비-관형 에어로졸 발생 물품이 도 7의 에어로졸 발생 장치와 함께 사용하기에 동등하게 적합할 수 있다는 것을 이해할 것이다.FIG. 8 shows a longitudinal section of the aerosol-generating
에어로졸 발생 장치(300)의 장치 공동(30)은 길이방향(X)으로, 장치 공동의 상류 단부(308)로부터 장치 공동의 하류 단부(309)로 연장된다. 폐쇄 위치에서, 제1 공동(303) 및 제2 공동(304)은 실질적으로 원통형인 장치 공동(305)을 형성하도록 정렬된다.The
에어로졸 형성 기재(130)가 제1 공동(303) 내에 배치되고 제1 및 제2 하우징 부분(301, 302)이 개방 위치에 있을 때, 제1 하우징 부분(301)의 핀 형상 가열 요소(310)는 에어로졸 형성 기재를 천공한다. 제1 하우징 부분(301) 및 제2 하우징 부분(302)이 폐쇄 위치로 이동될 때, 에어로졸 형성 기재는 원통형 장치 공동(305) 내에 유지되고, 제2 하우징 부분(302)의 핀 형상 가열 요소(310)는 또한 에어로졸 형성 기재(130)를 천공한다. 도 8에 도시된 바와 같이, 핀 형상 가열 요소(310)는 길이방향(X) 및 가로방향 둘 모두로 서로 이격되어 있다. 이러한 방식으로, 핀 형상 가열 요소(310)는 에어로졸 형성 기재(130)의 상이한 부분을 가열하도록 배열된다. 유리하게는, 이는 시스템(400)의 사용 동안 모든 에어로졸 형성 기재(130)가 원하는 온도로 가열되는 것을 보장해야 한다.When the aerosol-forming
사용 시, 사용자가 에어로졸 발생 물품(100)의 필터(150)를 흡인할 때, 공기는 장치 공동의 상류 단부(308)에서 공기 유입구(360)를 통해 장치 공동 내로 흡인된다. 이러한 구현예에서, 공기 유입구(360)는 장치 챔버의 중앙 길이방향 축을 향한다. 공기 유입구(360)로부터 장치 공동 내로 흡인된 공기는 에어로졸 형성 기재(130)의 내부 공동(160)에 진입하고, 화살표(A10)로 표시된 바와 같이 필터(150)를 향해 내부 공동(160)을 따라 흡인되고, 사용자에게 전달되는 에어로졸 발생 물품(100)의 하류 단부(120)에서 필터(150)로부터 방출된다.In use, when the user aspirates the filter 150 of the aerosol-generating
전력이 복수의 가열 요소(310)에 제공될 때, 복수의 가열 요소(310)는 휘발성 화합물이 기재(130)로부터 방출되는 온도로 에어로졸 형성 기재(130)를 가열하며, 이는 이러한 기재(130)로부터 기재(130)의 내부 공동(160) 내로 방출되고 냉각되어 사용자에 의해 흡입될 수 있는 에어로졸을 형성한다. 에어로졸은 내부 공동(160)을 통해 흡인된 공기에 비말동반되고 필터(150)를 통해 내부 공동(160) 밖으로 흡인되고 하류 단부(120)에서 사용자에게 전달된다.When power is provided to the plurality of
| Application Number | Priority Date | Filing Date | Title |
|---|---|---|---|
| EP19160139.2 | 2019-02-28 | ||
| EP19160139 | 2019-02-28 | ||
| PCT/EP2020/055206WO2020174073A1 (en) | 2019-02-28 | 2020-02-27 | Aerosol-generating system and aerosol-generating article comprising an aerosol-forming substrate |
| Publication Number | Publication Date |
|---|---|
| KR20210132048Atrue KR20210132048A (en) | 2021-11-03 |
| Application Number | Title | Priority Date | Filing Date |
|---|---|---|---|
| KR1020217026857APendingKR20210132048A (en) | 2019-02-28 | 2020-02-27 | An aerosol-generating article comprising an aerosol-generating system and an aerosol-forming substrate |
| Country | Link |
|---|---|
| US (1) | US20220192252A1 (en) |
| EP (1) | EP3930501B1 (en) |
| JP (1) | JP7550772B2 (en) |
| KR (1) | KR20210132048A (en) |
| CN (1) | CN113382644B (en) |
| WO (1) | WO2020174073A1 (en) |
| Publication number | Priority date | Publication date | Assignee | Title |
|---|---|---|---|---|
| GB202108822D0 (en)* | 2021-06-18 | 2021-08-04 | Nicoventures Trading Ltd | Article for use in a non-combustible aerosol provision system |
| CN114796736A (en)* | 2022-03-18 | 2022-07-29 | 杭州玉壶技术咨询有限公司 | Aerosol generator and system |
| WO2024086210A1 (en)* | 2022-10-18 | 2024-04-25 | Ip Concepts Llc | Aerosol former for biodegradable heat-not-burn and e-cigarettes with related system and method |
| Publication number | Priority date | Publication date | Assignee | Title |
|---|---|---|---|---|
| CN201067079Y (en)* | 2006-05-16 | 2008-06-04 | 韩力 | Simulated aerosol inhaler |
| US7726320B2 (en)* | 2006-10-18 | 2010-06-01 | R. J. Reynolds Tobacco Company | Tobacco-containing smoking article |
| CA2963423C (en) | 2007-03-30 | 2020-07-28 | Philip Morris Products S.A. | Device and method for delivery of a medicament |
| US9078473B2 (en)* | 2011-08-09 | 2015-07-14 | R.J. Reynolds Tobacco Company | Smoking articles and use thereof for yielding inhalation materials |
| AR091509A1 (en)* | 2012-06-21 | 2015-02-11 | Philip Morris Products Sa | ARTICLE TO SMOKE TO BE USED WITH AN INTERNAL HEATING ELEMENT |
| UA117370C2 (en)* | 2013-07-03 | 2018-07-25 | Філіп Морріс Продактс С.А. | AEROSOL GENERATING MULTIPLE APPLICATION |
| UA118857C2 (en)* | 2013-12-05 | 2019-03-25 | Філіп Морріс Продактс С.А. | Thermal laminate rods for use in aerosol-generating articles |
| DK3076813T3 (en) | 2013-12-05 | 2019-07-22 | Philip Morris Products Sa | NICOTIC NON-TOBACCO GOODS |
| ES2991810T3 (en)* | 2013-12-05 | 2024-12-05 | Philip Morris Products Sa | Aerosol generating article with low resistance airflow path |
| MX375053B (en) | 2013-12-19 | 2025-03-06 | Philip Morris Products Sa | Aerosol-generating system for generating and controlling the quantity of nicotine salt particles |
| MY184211A (en) | 2014-08-21 | 2021-03-26 | Philip Morris Products Sa | Aerosol-generating device and system |
| TW201703660A (en)* | 2015-06-23 | 2017-02-01 | 菲利浦莫里斯製品股份有限公司 | Aerosol-generating article and method of producing aerosol-generating article |
| TW201701781A (en)* | 2015-07-10 | 2017-01-16 | 菲利浦莫里斯製品股份有限公司 | Aerosol-generating article comprising a liquid delivery element |
| WO2017037209A1 (en)* | 2015-09-03 | 2017-03-09 | Philip Morris Products S.A. | Aerosol-generating article and low resistance support element for use as segment in an aerosol-generating article |
| JP6818765B2 (en)* | 2015-12-21 | 2021-01-20 | フィリップ・モーリス・プロダクツ・ソシエテ・アノニム | Aerosol generation system with variable air inlet |
| JP6949043B2 (en)* | 2016-03-09 | 2021-10-13 | フィリップ・モーリス・プロダクツ・ソシエテ・アノニム | Aerosol-generating articles |
| WO2017207674A1 (en)* | 2016-05-31 | 2017-12-07 | Philip Morris Products S.A. | Electrically operated aerosol-generating system with tubular aerosol-generating article having improved airflow |
| Publication number | Publication date |
|---|---|
| EP3930501B1 (en) | 2023-04-05 |
| US20220192252A1 (en) | 2022-06-23 |
| JP2022521676A (en) | 2022-04-12 |
| JP7550772B2 (en) | 2024-09-13 |
| CN113382644A (en) | 2021-09-10 |
| EP3930501A1 (en) | 2022-01-05 |
| WO2020174073A1 (en) | 2020-09-03 |
| CN113382644B (en) | 2024-08-09 |
| Publication | Publication Date | Title |
|---|---|---|
| JP7655973B2 (en) | Aerosol generating system with multiple susceptors | |
| EP3664632B1 (en) | Aerosol-generating device with susceptor layer | |
| US11363840B2 (en) | Aerosol-generating device with removable susceptor | |
| KR102546959B1 (en) | Aerosol-generating system with non-circular inductor coil | |
| KR102565586B1 (en) | Aerosol generating device with elastic susceptor | |
| US20220386698A1 (en) | Inductive heating arrangement with segmented inductive heating element | |
| KR102864018B1 (en) | Aerosol-generating article with internal susceptor | |
| JP7547370B2 (en) | Aerosol generator with heating zone insulation | |
| JP7593954B2 (en) | Induction heating device having gas permeable segmented induction heating element - Patents.com | |
| JP7601803B2 (en) | Induction heating arrangement having annular channel | |
| EP3930501B1 (en) | Aerosol-generating system and aerosol-generating article comprising an aerosol-forming substrate | |
| KR20220119105A (en) | Aerosol-generating device having a venting chamber | |
| KR20230170700A (en) | Aerosol-generating article comprising a wrapper having overlapping areas | |
| KR20220119441A (en) | Aerosol-generating system with ventilation chamber | |
| RU2808834C2 (en) | Aerosol generation system | |
| EP4322775B1 (en) | Aerosol-generating article comprising a dual-layer wrapping structure | |
| US12439969B2 (en) | Inductive heating arrangement with gas permeable segmented inductive heating element | |
| RU2825266C1 (en) | Aerosol generating device and system which have ventilation chamber |
| Date | Code | Title | Description |
|---|---|---|---|
| PA0105 | International application | Patent event date:20210824 Patent event code:PA01051R01D Comment text:International Patent Application | |
| PG1501 | Laying open of application | ||
| E902 | Notification of reason for refusal | ||
| PE0902 | Notice of grounds for rejection | Comment text:Notification of reason for refusal Patent event date:20250424 Patent event code:PE09021S01D |