








본 발명은 의자 시트 각도조절장치에 관한 것으로, 특히 이용자가 의자에 착석한 상태로 장시간의 이용시에 피로를 덜게 하고 척추건강을 저해할 위험이 발생되지 않도록 의자의 장시간 이용시 시트를 최적의 중립 자세로 간편하게 각도조정할 수 있으며 구성을 단순화하여 개선된 구조의 시트 각도조절장치에 관한 것이다.The present invention relates to a chair seat angle adjusting device, and in particular, to reduce fatigue when a user uses a chair for a long time while sitting in a chair, and to set the seat in an optimal neutral position when using the chair for a long time so that there is no risk of impairing spinal health. It relates to a seat angle adjustment device having an improved structure by simplifying the angle adjustment and simplifying the configuration.
일반적으로 의자는 이용자가 업무를 보다 편리하게 수행하기 위하여 다리부에 대하여 시트가 회전될 수 있도록 구성되고, 기본적으로 허벅지에서 몸통까지의 각도가 약 90-110도로 되게 지지하도록 시트에 대하여 등받이가 설치되고, 이용자의 안락함을 위하여 시트에 대하여 등받이가 뒤로 젖혀질 수 있도록 되어 있다.In general, the chair is configured so that the seat can be rotated with respect to the leg portion in order for the user to perform work more conveniently, and the backrest is installed with respect to the seat to support the angle from the thigh to the body so that the angle from the thigh to the body is basically 90-110 degrees and the backrest can be reclined with respect to the seat for user's comfort.
특히 업무용 의자는 이용자가 책상 앞에서 장시간 착석한 상태로 업무를 수행하게 되며, 이 경우에 기본적으로 허벅지에서 몸통까지의 각도가 약 90-110도로 되게 설치된 시트와 등받이 각도에서 장시간 동안 유지하게 되면 이용자 신체가 피로감을 갖게 하거나 또는 심지어 고통스럽게 하고, 고관절에도 과도한 하중이 작용하는 상태가 장시간 유지되어 척추 및 고관절의 건강에 해롭다.In particular, the work chair performs work while the user sits in front of the desk for a long time. In this case, if the user body is maintained for a long time at the seat and backrest angle installed so that the angle from the thigh to the torso is basically 90-110 degrees. It causes fatigue or even pain, and excessive load on the hip joint is maintained for a long time, which is detrimental to the health of the spine and hip joint.
이에 대하여 시트에 대하여 등받이를 뒤로 젖히는 구조에서는, 이용자가 책상 또는 작업대로부터 멀어지게 되므로 업무를 원활하게 수행하지 못하게 된다.On the other hand, in the structure in which the backrest is reclined with respect to the seat, the user is moved away from the desk or workbench, so that the work cannot be performed smoothly.
일반적으로, 의자에서의 착석 각도가 약 130도 정도인 것이 최적의 중립 자세로 알려져 있으며, 이를 위하여 장시간 의자에 착석한 이용자가 등받이를 뒤로 젖히게 되면 업무 수행에 방해가 되므로, 장시간 동안 착석한 이용자가 편안하게 작업할 수 있도록 척추가 정렬되는 자세로 사용자를 지지하면서 업무의 원활한 수행을 위하여 허리를 세운 상태에서 시트를 하방으로 경사지게 각도 조절하여 상기한 최적의 중립 자세를 취할 수 있도록 하는 것이 바람직하다.In general, it is known that the optimal neutral posture is a sitting angle of about 130 degrees in a chair. For this purpose, if a user who has been seated in a chair for a long time tilts the back back, it interferes with work performance, so a user who has been seated for a long time It is preferable to support the user in a posture in which the spine is aligned so that the user can work comfortably, and to take the optimal neutral posture by adjusting the angle of the seat downward with the waist erect for smooth performance of work. .
이를 위하여 시트의 각도를 조정하기 위한 구조의 예로서, 한국 등록실용신안공보 제20-0202223호(등록일자 2000년08월28일)에는 좌판의 하부에 고정된 상부, 하부, 중간프레임이 상호 조립되고 좌판과 등받이가 일체로 기울어진 상태에서 고정되도록 된 좌판의 기울기를 조정하는 조절장치가 개시되어 있다.For this purpose, as an example of a structure for adjusting the angle of the seat, in Korean Utility Model Publication No. 20-0202223 (registration date August 28, 2000), the upper, lower, and intermediate frames fixed to the lower part of the seat plate are mutually assembled. Disclosed is an adjustment device for adjusting the inclination of the seat plate to be fixed in a state where the seat plate and the backrest are integrally inclined.
그러나, 상기한 종래 기술에서와 같이 링크 구조를 채용하는 경우 구조가 복잡하게 하여 제조비용의 상승을 초래하는 문제가 있다.However, when the link structure is employed as in the prior art, the structure is complicated and the manufacturing cost is increased.
이에 대한 개선책으로, 한국 공개특허공보 제10-2014-0019295호(공개일자 2014년02월14일)에는, 프레임; 횡방향의 제1 피벗축을 따라 상기 프레임에 피벗가능하게 장착되는 허벅지 지지부로서, 상기 제 1 피벗축의 전방으로 연장하는 전방부 및 상기 제1 피벗축의 후방으로 연장하는 후방부를 가지는 허벅지 지지부; 및 횡방향의 제2 피벗축에서 상기 허벅지 지지부의 후방부에 피벗가능하게 장착되는 골반 크래들(pelvic cradle)을 포함하고, 상기 골반 크래들은 상기 허벅지 지지부에 대해서 회전하도록 적용되고, 상기 허벅지 지지부의 전방부의 기울기에 관계없이 수직한 정렬로 사용자의 골반 영역 및 몸통을 지지하기 위해서 인간의 상기 골반 영역에 대하여 수용적이며, 상기 제2 피벗축은 상기 허벅지 지지부의 전방부가 전방으로 기울어짐에 따라 상방 및 전방으로 이동가능하고, 상기 허벅지 지지부와 상기 제1 피벗축 및 제2 피벗축은, 상기 사용자가 허벅지 압력을 상기 허벅지 지지부의 전방부에 인가하는 것에 의하여 상기 사용자의 골반 및 몸통의 무게를 균형 잡으면서 상기 사용자의 착석 각도를 변화시키기 위해 상기 제1 피벗축에 대해서 상기 허벅지 지지부의 위치를 충분히 조절할 수 있는 기계적 장점을 제공하도록 위치되고 배치되는 착석 장치가 개시되어 있다.As an improvement measure for this, Korean Patent Application Laid-Open No. 10-2014-0019295 (published on February 14, 2014) has a frame; a thigh support pivotally mounted to the frame along a first transverse pivot axis, the thigh support having a front portion extending forward of the first pivot axis and a rear portion extending rearward of the first pivot axis; and a pelvic cradle pivotally mounted to the rear portion of the thigh support at a second lateral pivot axis, the pelvic cradle adapted to rotate relative to the thigh support, wherein the pelvic cradle is adapted to rotate relative to the thigh support. It is receptive to the pelvic region of a human being to support the pelvic region and the torso of the user in a vertical alignment regardless of the inclination of the part, and the second pivot axis moves upward and forward as the front part of the thigh support part inclines forward. The thigh support unit and the first pivot shaft and the second pivot shaft balance the weight of the user's pelvis and torso by applying a thigh pressure to the front part of the thigh support part by the user while balancing the weight of the thigh support part and the first pivot shaft and the second pivot shaft. A seating device is disclosed that is positioned and arranged to provide a mechanical advantage of sufficiently adjusting the position of the thigh support relative to the first pivot axis to change the seating angle of the user.
그러나, 상기한 종래 특허에서는 별도의 골반지지를 위한 골반 크래들을 포함하고 시트를 경사지게 배치되도록 하는 복잡한 링크 구조로 비용상승을 초래하는 문제가 있었다.However, in the above-mentioned prior patent, there was a problem of causing cost increase due to the complicated link structure including the pelvic cradle for separate pelvic support and the seat being inclinedly disposed.
본 발명의 목적은 상기한 종래 기술의 문제점을 해결하기 위하여, 단순화된 구조로 제조비용의 상승을 방지하도록, 이용자가 간편하게 조작하도록 레버를 회전시켜 다리부 상단에 고정된 베이스프레임에 대하여 피봇축을 중심으로 시트 프레임의 전측을 상승 또는 하강시키도록 개선된 의자 시트 각도조절장치를 제공하는 것이다.An object of the present invention is to solve the problems of the prior art described above, to prevent an increase in manufacturing cost with a simplified structure, and to rotate the lever so that the user can operate it conveniently, centering on the pivot axis with respect to the base frame fixed to the upper end of the leg. To provide an improved chair seat angle adjusting device to raise or lower the front side of the seat frame.
상기한 목적을 달성하기 위하여 본 발명에 의한 의자 시트 각도조절장치는, 다리부 지주 상단에 회전가능하게 장착되는 의자 시트용 베이스프레임에 힌지축으로 회전가능하게 시트를 지지하도록 시트 저면에 제공된 시트프레임의 선단부를 베이스프레임에 대하여 상하방향으로 회전시키도록 제공된 시트 각도조절장치에 있어서,In order to achieve the above object, the chair seat angle adjusting device according to the present invention provides a seat frame provided at the bottom of the seat to rotatably support the seat by a hinge axis on a base frame for a chair seat that is rotatably mounted on the upper end of a leg post. In the seat angle adjusting device provided to rotate the front end of the base frame in the vertical direction,
시트프레임을 베이스프레임에 대하여 경사진 상태로 고정유지시키고, 고정해제위치에서는 이용자가 시트를 경사지게 조정하도록, 상기 시트프레임의 선단부 저면에 제공되고 일측에 톱니가 형성된 기어바,A gear bar provided on the lower surface of the front end of the seat frame and provided with teeth on one side so that the seat frame is fixed and maintained in an inclined state with respect to the base frame, and the user adjusts the seat to be inclined in the release position;
베이스프레임에 대하여 시트프레임의 경사를 조정할 수 있도록 시트프레임에 제공되어 기어바에 대하여 기어물림해제된 해제위치와 시트의 경사가 조정된 상태에서 기어바와 맞물린 고정위치로 고정기어를 조작하도록 된 각도조절부를 포함하는 것을 특징으로 하여 구성된다.An angle adjusting part is provided on the seat frame to adjust the inclination of the seat frame with respect to the base frame to operate the fixed gear to the fixed position engaged with the gear bar in the state where the gear bar is disengaged and the seat inclination is adjusted. It is characterized by comprising.
상기 기어바는 시트프레임의 선단부 저면에 고정된 'ㄷ' 자 형태의 브라켓을 관통한 힌지축에 상단이 연결되고 길이방향으로 장공이 형성된다.The upper end of the gear bar is connected to a hinge shaft passing through a 'C'-shaped bracket fixed to the lower surface of the front end of the seat frame, and a long hole is formed in the longitudinal direction.
상기 각도조절부는 기어바의 톱니부에 대향되게 배치된 고정기어와, 상기 기어바에 대하여 기어물림된 고정위치와 기어물림해제된 해제위치로 고정기어를 이동시키도록 기어바에 길이방향으로 형성된 장공을 관통하여 횡으로 배치된 로드와, 상기 로드에 대하여 고정위치로의 편향력을 제공하는 탄성수단으로서의 스프링과, 상기 로드를 해제위치로 이동시키는 캠수단과 상기 캠수단을 조작하는 레버를 포함한다.The angle adjusting unit penetrates a fixed gear disposed opposite to the toothed portion of the gear bar, and a long hole formed in the longitudinal direction of the gear bar to move the fixed gear to the gear-engaged fixed position and the gear-disengaged release position with respect to the gear bar. and a rod arranged transversely to the rod, a spring as an elastic means for providing a biasing force to the fixed position with respect to the rod, a cam means for moving the rod to a release position, and a lever for operating the cam means.
상기 로드는 베이스프레임의 선단부에 하방으로 고정된 지지판을 관통하여 고정된 관형부재와, 상기 관형부재의 단부에 고정되어 상기 기어바의 상하 이동을 가이드하는 제 1 가이드부재 및 기어바의 장공, 및 상기 지지판과 이격되어 베이스프레임의 선단부에 하방으로 고정된 지지판에 고정된 관형지지부재를 관통하여 돌출된 단부에 형성된 나사부에 너트가 체결되며, 상기 로드의 일단부는 상기 관형지지부재에 대해 고정된다.The rod includes a tubular member fixed through a support plate fixed downwardly to the front end of the base frame, a first guide member fixed to the end of the tubular member to guide the vertical movement of the gear bar, and a long hole of the gear bar, and A nut is fastened to the threaded portion formed at the end protruding through the tubular support member fixed to the support plate that is spaced apart from the support plate and fixed downward to the front end of the base frame, and one end of the rod is fixed to the tubular support member.
상기 로드의 자유단부로서 반경방향으로 확장되어 형성되고 관형부재내에 배치된 헤드와 관형부재 사이에서 로드에서 동심원적 외측에 배치된 스프링이 배치되어 로드에 탄성력이 작용하도록 된다.A spring is disposed concentrically outside the rod between the head and the tubular member, which is formed to extend radially as the free end of the rod and is disposed in the tubular member so as to apply an elastic force to the rod.
상기 캠수단은 로드의 헤드 외측에 접촉되도록 상기 관형부재의 자유단부 내측에서 관형부재를 측방향으로 관통하여 설치된 힌지축에서 상하로 회전가능한 레버가 외측에 고정되고 내측 단부에는 롤러가 제공된 브라켓을 포함한다.The cam means includes a bracket having a lever rotatable up and down on a hinge shaft installed through the tubular member laterally inside the free end of the tubular member so as to be in contact with the outside of the head of the rod and provided with a roller at the inner end do.
상기 제 1 가이드부재의 반대쪽의 기어바의 표면에는 장공에 두께가 감소된 턱부분이 형성되고, 상기 턱부분에는 제 1 가이드부재와 함께 기어바의 상하 이동을 가이드하기 위한 제 2 가이드부재가 배치되며, 상기 고정기어의 내측면에 형성된 홈에 제공된 스프링이 상기 제 2 가이드부재와의 사이에 배치되어, 레버가 수평인 평상시에 스프링과 함께 고정기어를 기어바로 부터 이격된 물림해제 상태로 유지시키도록 된다.A chin having a reduced thickness is formed in a long hole on the surface of the gear bar opposite the first guide member, and a second guide member for guiding the vertical movement of the gear bar together with the first guide member is disposed on the chin. and a spring provided in the groove formed on the inner surface of the fixed gear is disposed between the second guide member and the fixed gear with the spring is maintained in a disengaged state spaced apart from the gear bar in normal times when the lever is horizontal. will be listed
상기 시트와 함께 시트프레임이 경사지게 배치된 상태에서, 레버가 하방으로 경사지게 배치될 때, 관형부재에서 브라켓과 함께 롤러가 상방향으로 회전됨에 따라 롤러에 의한 접촉력이 제거되면서 스프링의 탄성력으로 로드가 원위치로 복귀되고 고정기어가 기어바와 맞물린 고정위치로 되어 시트가 제공되는 시트프레임은 각도 조정된 경사진 위치에서 고정유지된다.When the lever is inclined downward in a state in which the seat frame with the seat is inclined downward, the contact force by the roller is removed as the roller rotates upward together with the bracket in the tubular member, and the elastic force of the spring returns the rod to its original position. The seat frame on which the seat is provided is fixed and maintained at the angle-adjusted inclined position by returning to the position and the fixed gear is in the fixed position meshed with the gear bar.
본 발명에 의한 의자 시트 각도 조절장치는 이용자가 시트가 설치되는 시트프레임을 임의의 편안한 각도로 경사지게 조정한 위치에서, 안정되게 유지될 수 있어서 사용편의성이 향상된다. 또한, 본 발명에 의한 시트 각도조절장치는 시트프레임의 저면에 제공된 기어바(4)를 레버(9)로 조작하여 이동하는 로드에 장착된 고정기어(5)를 해제위치에서 물림위치로 이동시켜 시트 프레임을 경사지게 한 상태에서 고정유지시키도록 되어 구조를 단순화할 수 있어 부품수를 감소하여 제조비용을 절감할 수 있는 효과가 있다.The chair seat angle adjusting device according to the present invention can be stably maintained at a position where the user tilts the seat frame on which the seat is installed to any comfortable angle, thereby improving ease of use. In addition, the seat angle adjusting device according to the present invention operates the
도 1은 본 발명에 의한 의자 시트 각도 조절장치를 채용한 의자의 개략적인 측면도.
도 2는 도 1에서 다리부 상단에 고정된 베이스프레임에 연결된 시트 프레임에 적용된 각도조정구조를 보여주는 사시도.
도 3은 도 2의 시트 프레임의 일측에서 본 사시도.
도 4는 도 3의 반대쪽에서 본 사시도.
도 5는 도 2의 반대쪽에서 본 측면도.
도 6은 도 2의 정면도.
도 7은 도 3의 시트프레임의 해제 위치에서의 종단면도.
도 8은 베이스프레임에 대하여 시트프레임의 각도를 조정하는 것을 보여주는 측면도.
도 9는 시트프레임의 각도 조정을 보여주는 종단면도.1 is a schematic side view of a chair employing a chair seat angle adjusting device according to the present invention.
Figure 2 is a perspective view showing the angle adjustment structure applied to the seat frame connected to the base frame fixed to the top of the leg in Figure 1;
Figure 3 is a perspective view seen from one side of the seat frame of Figure 2;
Fig. 4 is a perspective view seen from the opposite side of Fig. 3;
Fig. 5 is a side view viewed from the opposite side of Fig. 2;
Fig. 6 is a front view of Fig. 2;
Fig. 7 is a longitudinal sectional view of the seat frame of Fig. 3 in a released position;
Fig. 8 is a side view showing adjusting the angle of the seat frame with respect to the base frame;
9 is a longitudinal cross-sectional view showing the angle adjustment of the seat frame.
이하에서는 본 발명의 실시예를 도시한 첨부 도면을 참고하여 본 발명을 보다 상세히 설명하기로 한다.Hereinafter, the present invention will be described in more detail with reference to the accompanying drawings showing an embodiment of the present invention.
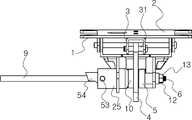
도 1 내지 6에 있어서, 본 발명에 의한 의자 시트 각도조절장치는 다리부 지주(100) 상단에 회전가능하게 장착되는 의자 시트용 베이스프레임(1)에 힌지축(11)으로 회전가능하게 시트를 지지하도록 시트 저면에 제공된 시트프레임(2)의 선단부를 베이스프레임(1)에 대하여 상하방향으로 회전시키도록 제공된다.1 to 6, the chair seat angle adjusting device according to the present invention rotatably attaches the seat to the base frame (1) for a chair seat which is rotatably mounted on the upper end of the leg part (100) with a hinge shaft (11). It is provided so as to rotate the front end of the seat frame (2) provided on the bottom surface of the seat to support it in the vertical direction with respect to the base frame (1).
본 발명에 의한 의자 시트 각도조절장치는 고정위치에서는 이용자가 시트를 경사지게 하도록 시트프레임을 베이스프레임에 대하여 경사진 상태로 고정유지시키고, 고정해제위치에서는 이용자가 시트를 경사지게 조정하는 것을 허용한다.The chair seat angle adjusting device according to the present invention allows the user to adjust the inclination of the seat in the fixed position by fixing and maintaining the seat frame in an inclined state with respect to the base frame so that the user can incline the seat in the fixed position.
이를 위하여, 본 발명에 의한 의자 시트 각도조절장치는 상기 시트프레임(2)의 선단부 저면에 고정된 'ㄷ' 자 형태의 브라켓(3)을 관통한 힌지축(31)에 상단이 연결되고 길이방향으로 장공(41)이 형성되고 일측에 톱니가 형성된 기어바(4), 상기 시트의 경사를 조정할 수 있도록 기어바(4)에 대향되어 배치되고 기어물림해제된 해제위치와 시트의 경사가 조정된 상태에서 기어바(4)와 맞물린 고정위치로 상기 고정기어(5)를 조작하도록 된 각도조절부를 포함한다.To this end, in the chair seat angle adjusting device according to the present invention, the upper end is connected to the
상기 각도조절부는 기어바(4)의 톱니부에 대향되게 배치된 고정기어(5)와, 상기 기어바(4)에 대하여 기어물림된 고정위치와 기어물림해제된 해제위치로 고정기어(5)를 이동시키도록 기어바(4)에 길이방향으로 형성된 장공(41)을 관통하여 횡으로 배치된 로드(6)와, 상기 로드(6)에 대하여 고정위치로의 편향력을 제공하는 탄성수단으로서의 스프링(7)과, 상기 로드를 해제위치로 이동시키는 캠수단(8)과 상기 캠수단을 조작하는 레버(9)를 포함한다.The angle adjusting unit includes a
상기 로드(6)는 상기 베이스프레임(1)의 선단부에서 하방으로 고정된 지지판(30)을 관통하여 고정된 관형부재(25)와, 상기 관형부재(25)의 단부에 고정되어 상기 기어바(4)의 상하 이동을 가이드하는 제 1 가이드부재(10) 및 기어바(4)의 장공(41), 및 상기 베이스프레임(1)의 선단부에서 하방으로 고정되고 지지판(30)과 이격된 지지판(30')에 고정된 관형지지부재(12)를 관통하여 돌출된 단부에 형성된 나사부에 너트(13)가 체결되고, 상기 로드의 일단부는 상기 관형지지부재(12)에 대해 고정된 한편, 자유단부로서 반경방향으로 확장되어 형성되고 관형부재(25)내에 배치된 헤드(61)와 관형부재(25) 사이에서 로드에서 동심원적 외측에 배치된 스프링(7)의 탄성력 작용하에 배치된다. 상기 로드(6)의 단부에 형성된 나사부의 외경은 관형지지부재(12)에 형성된 홀의 내경 보다 작게 형성되어서 로드는 후술하듯이 관형지지부재의 홀에서 측방향으로 이동가능하다.The
상기 캠수단(8)은 로드(6)의 헤드(61) 외측에 접촉되도록 상기 관형부재(25)의 자유단부 내측에서 관형부재(25)를 측방향으로 관통하여 설치된 힌지축(53)에서 회전가능하고 외측에 레버(9)가 고정되고 내측 단부에는 롤러(15)가 제공된 브라켓(54)을 포함하며, 상기 레버(9)가 힌지축(53)에서 회전가능하게 장착된다.The cam means 8 rotates on a
상기 레버(9)가 수평으로 배치된 상태에서는 브라켓(54)의 내측 단부에 제공된 롤러(15)가 로드(6)의 헤드(61)와 접촉되어 상기 스프링(7)의 탄성력에 대항하여 로드를 수평으로 이동시키게 되며, 이로써, 로드(6)에 제공된 고정기어(5)가 기어바(4)와 물림해제되게 한다.In a state in which the
이용자가 레버(9)를 예를들어 하방으로 경사지게 배치하면, 관형부재(25)에서 예를들어 브라켓(54)과 함께 롤러(15)가 상방향으로 회전됨에 따라 롤러(15)에 의한 접촉력이 제거되면서 스프링(7)의 탄성력으로 로드(6)가 원위치로 복귀되면서 고정기어(5)가 기어바(4)와 맞물린 고정위치로 된다. 상기 롤러(15)가 제공된 하측의 브라켓(54)의 단부는 수직면으로 되어서 레버를 이용자가 조작하지 않은 한, 로드(6)의 헤드(61)와 접촉된 브라켓의 수직의 단부면에 의해 고정위치에서 유지된다.When the user arranges the
상기 제 1 가이드부재(10)의 반대쪽의 기어바(4)의 표면에는 장공(41)에 두께가 감소된 턱부분(43)이 형성되고, 상기 턱부분(43)에는 제 1 가이드부재(10)와 함께 기어바(4)의 상하 이동을 가이드하기 위한 제 2 가이드부재(20)가 배치되며, 상기 고정기어(5)의 내측면에 형성된 홈(55)에 제공된 스프링(56)이 상기 제 2 가이드부재(20)와의 사이에 배치됨으로써, 평상시에는 스프링(7)과 함께 고정기어(5)를 기어바(4)로 부터 이격된 상태, 즉 물림해제 상태로 된다.On the surface of the
본 발명의 시트 각도조절장치에 의해 시트의 각도를 조절하는 것을 도 7 내지 9를 참고하여 설명한다.Adjusting the angle of the seat by the seat angle adjusting device of the present invention will be described with reference to FIGS. 7 to 9 .
도 7에 도시된 바와 같이, 레버(9)가 수평으로 배치된 상태에서는 브라켓(54)의 선단부에 제공된 롤러(15)에 의해 헤드(61)와 함께 로드(6)가 도면에서 우측으로 이동됨과 함께 고정기어(5)의 홈(55)에 제공된 스프링(56)의 탄성력으로 상기 로드(6)에 장착된 고정기어(5)가 기어바(4)에서 이격되어 물림해제된다. 이와 같이 물림해제된 상태에서는 기어바(4)가 상하 이동가능하게 되므로, 이용자는 도 8과 같이 시트의 선단부를 하방으로 경사지게 할 수 있게 된다.7, in the state in which the
이와 같이 하여 이용자가 편한 자세를 취할 수 있는 위치로 시트와 함께 시트프레임(2)을 경사지게 배치한 상태에서, 이용자가 레버(9)를 도 9에 도시된 바와 같이 하방으로 조작하면, 브라켓(54)의 선단부에 제공된 롤러(15)가 로드(6)의 헤드(61)에서 벗어나고, 상기 롤러의 위치보다 짧은 거리의 브라켓 하측의 수직면이 헤드에 배치되면서 로드(6)의 헤드 내측에 배치된 스프링(7)의 탄성력에 의해 로드는 도면에서 좌측으로 이동됨에 따라, 로드(6)에 고정된 고정기어(5)도 도면에서 좌측, 즉 기어바(4) 쪽으로 이동하여 기어바의 톱니와 물림으로써 기어바(4)가 고정되고, 따라서 시트가 제공되는 시트프레임(2)은 이용자가 조정한 경사진 위치에서 고정유지된다.In this way, when the user operates the
상술한 바와 같이, 본 발명에 의한 시트 각도조절장치는 이용자가 시트가 설치되는 시트프레임을 임의의 편안한 각도로 경사지게 조정한 위치로 간편하게 고정유지할 수 있으며, 시트프레임의 저면에 제공된 기어바(4)를 레버(9)로 조작하여 이동하는 로드에 장착된 고정기어(5)를 해제위치에서 물림위치로 이동시켜 시트 프레임을 경사지게 한 상태에서 고정유지시키도록 되어 구조를 단순화할 수 있다.As described above, the seat angle adjusting device according to the present invention allows the user to conveniently fix and maintain the seat frame in which the seat is installed in a position adjusted to be inclined at any comfortable angle, and the
본 발명은 의자의 이용자가 의자에 착석한 상태에서 피로도를 감소되게 하는 자세를 취하도록 간편하게 시트의 경사각을 조정할 수 있도록 이용될 수 있다.The present invention can be used to conveniently adjust the inclination angle of the seat so that the user of the chair takes a posture that reduces fatigue while seated on the chair.
1 : 베이스프레임 2 : 시트프레임
3 : 브라켓 4 : 기어바
5 : 고정기어 6 ; 로드
7 : 스프링 8 : 캠수단
9 : 레버 10 ; 제 1 가이드부재
12 : 관형지지부재 13 : 너트
15 ; 롤러 20 : 제 2 가이드부재
25 : 관형부재 30, 30' : 지지판
41 : 장공 54 : 브라켓
55 : 홈 56 : 스프링
61 : 헤드 100 : 다리부 지주1 : Base frame 2 : Seat frame
3: Bracket 4: Gear bar
5: fixed
7: spring 8: cam means
9:
12: tubular support member 13: nut
15 ; Roller 20: second guide member
25:
41: long hole 54: bracket
55: groove 56: spring
61: head 100: leg part support
| Application Number | Priority Date | Filing Date | Title |
|---|---|---|---|
| KR1020190171882AKR102349577B1 (en) | 2019-12-20 | 2019-12-20 | An angle adjusting device for seat of chairs |
| Application Number | Priority Date | Filing Date | Title |
|---|---|---|---|
| KR1020190171882AKR102349577B1 (en) | 2019-12-20 | 2019-12-20 | An angle adjusting device for seat of chairs |
| Publication Number | Publication Date |
|---|---|
| KR20210079761Atrue KR20210079761A (en) | 2021-06-30 |
| KR102349577B1 KR102349577B1 (en) | 2022-01-12 |
| Application Number | Title | Priority Date | Filing Date |
|---|---|---|---|
| KR1020190171882AActiveKR102349577B1 (en) | 2019-12-20 | 2019-12-20 | An angle adjusting device for seat of chairs |
| Country | Link |
|---|---|
| KR (1) | KR102349577B1 (en) |
| Publication number | Priority date | Publication date | Assignee | Title |
|---|---|---|---|---|
| CN117127858A (en)* | 2023-10-24 | 2023-11-28 | 奥斯福集团有限公司 | A connect formula rail for urban road maintenance |
| Publication number | Priority date | Publication date | Assignee | Title |
|---|---|---|---|---|
| US5863099A (en)* | 1995-02-15 | 1999-01-26 | Ashfield Engineering Company Wexford Limited | Actuator for a chair mechanism lock |
| KR200202223Y1 (en) | 2000-05-30 | 2000-11-15 | 김노수 | A adjuster to control the leaning of low beach of a chair |
| KR101071058B1 (en)* | 2010-04-01 | 2011-10-07 | 이상호 | Folding supporter device for chair |
| KR20140019295A (en) | 2010-10-12 | 2014-02-14 | 허만 밀러 인코포레이티드 | Ergonomic adjustable chair mechanisms |
| KR20160005501A (en)* | 2014-07-07 | 2016-01-15 | 정대훈 | Device for adjusting the angle of chair seat |
| Publication number | Priority date | Publication date | Assignee | Title |
|---|---|---|---|---|
| US5863099A (en)* | 1995-02-15 | 1999-01-26 | Ashfield Engineering Company Wexford Limited | Actuator for a chair mechanism lock |
| KR200202223Y1 (en) | 2000-05-30 | 2000-11-15 | 김노수 | A adjuster to control the leaning of low beach of a chair |
| KR101071058B1 (en)* | 2010-04-01 | 2011-10-07 | 이상호 | Folding supporter device for chair |
| KR20140019295A (en) | 2010-10-12 | 2014-02-14 | 허만 밀러 인코포레이티드 | Ergonomic adjustable chair mechanisms |
| KR20160005501A (en)* | 2014-07-07 | 2016-01-15 | 정대훈 | Device for adjusting the angle of chair seat |
| Publication number | Priority date | Publication date | Assignee | Title |
|---|---|---|---|---|
| CN117127858A (en)* | 2023-10-24 | 2023-11-28 | 奥斯福集团有限公司 | A connect formula rail for urban road maintenance |
| Publication number | Publication date |
|---|---|
| KR102349577B1 (en) | 2022-01-12 |
| Publication | Publication Date | Title |
|---|---|---|
| FI104615B (en) | An arrangement in an armchair with adjustable backrest | |
| US7568765B2 (en) | Chair | |
| US6709058B1 (en) | Ergonomic chair | |
| US8662586B2 (en) | Dynamically balanced seat assembly having independently and arcuately movable backrest and method | |
| US8177299B2 (en) | Chair more comfortable when seated in optimum posture while reclining | |
| CA2302063C (en) | Ergonomic chair | |
| JP4856911B2 (en) | Chair with backrest | |
| JPS5929244B2 (en) | adjustable back chair | |
| US9131775B1 (en) | Adjustable seating | |
| US7823976B2 (en) | Chair | |
| EP2100539A1 (en) | Back rest device | |
| WO2011052099A1 (en) | Rocking chair | |
| EP2292122A1 (en) | Seat with dynamic seat back | |
| JP2013248148A (en) | Nestable chair | |
| US10973326B2 (en) | Seating furniture | |
| US20060103221A1 (en) | Ergonomic chair | |
| KR102349577B1 (en) | An angle adjusting device for seat of chairs | |
| CN111513504A (en) | Multifunctional office chair | |
| JP2007152145A (en) | Chair | |
| JP2010051614A (en) | Armrest apparatus | |
| JP2014004322A (en) | Rocking chair | |
| CN212878495U (en) | Back seat linkage device for chair | |
| CN116548762A (en) | Chair and chair | |
| CN212088876U (en) | Office chair | |
| JP4318191B2 (en) | Multipurpose chair frame |
| Date | Code | Title | Description |
|---|---|---|---|
| PA0109 | Patent application | Patent event code:PA01091R01D Comment text:Patent Application Patent event date:20191220 | |
| PA0201 | Request for examination | ||
| PE0902 | Notice of grounds for rejection | Comment text:Notification of reason for refusal Patent event date:20210419 Patent event code:PE09021S01D | |
| PG1501 | Laying open of application | ||
| E701 | Decision to grant or registration of patent right | ||
| PE0701 | Decision of registration | Patent event code:PE07011S01D Comment text:Decision to Grant Registration Patent event date:20211005 | |
| PR0701 | Registration of establishment | Comment text:Registration of Establishment Patent event date:20220106 Patent event code:PR07011E01D | |
| PR1002 | Payment of registration fee | Payment date:20220107 End annual number:3 Start annual number:1 | |
| PG1601 | Publication of registration | ||
| PR1001 | Payment of annual fee | Payment date:20241223 Start annual number:4 End annual number:4 |