




본 발명은 독거노인을 위한 안전관리 시스템에 관한 것으로, 더욱 상세하게는 독거노인의 고독사를 예방할 수 있고, 종합적인 사회안전망의 구축 및 운영이 가능한 안전관리 시스템에 관한 것이다.The present invention relates to a safety management system for the elderly living alone, and more particularly, to a safety management system capable of preventing lone death of the elderly living alone, and building and operating a comprehensive social safety net.
현대 의학의 발전에 따라 인간의 생명이 연장되고 있으나, 고령층이 많아지면서 부양할 가족들이 없고 경제적 여유가 없는 독거노인 또한 늘어나고 있어, 홀로 지내는 독거노인을 보호 및 관리할 수 있는 다양한 서비스가 시행되고 있다.With the development of modern medicine, human life is prolonged, but as the number of elderly people increases, the number of elderly people living alone who do not have family to support and who cannot afford to afford is increasing, and various services are being implemented to protect and manage the elderly living alone. .
이러한 서비스로는 독거노인의 가정에 화재 가스 활동 감지센서 등을 설치하여 화재상황 발생 시 독거노인이 신속하게 대처할 수 있도록 하는 응급안전알림서비스, 독거노인의 휴대전화 수신 및 발신 이력데이터를 분석한 후, 지정된 기간 동안 통화가 이루어지지 않는 것으로 확인 시 이를 담당 공무원에게 알려 담당 공무원이 독거노인을 찾아가 정황을 알아보게 하는 똑독 문안 서비스, 독거노인과 이웃 주민을 연결하여 지역 주민이 독거노인의 생활을 살펴보게 하는 이웃 살피미 서비스, 고독사 위험 가능성이 높은 독거노인을 찾아낸 후 독거노인과 지역사회보장협의체, 복지통장, 부녀회, 봉사단체, 종교단체, 민간단체 등을 복지 1촌을 맺게 하여, 시민의 도움을 통해 독거노인의 고독사를 예방하는 1인 가구 복지 1촌 맺기 서비스, 편의점주와 근무자가 카카오톡 플러스 강남 좋은 이웃과 친구를 맺은 후, 위기가구 발견 시 카카오톡을 이용하여 신고하게 하는 서비스 등을 포함할 수 있다.These services include an emergency safety notification service that allows the elderly living alone to quickly respond in case of a fire by installing a fire gas activity detection sensor in the home of the elderly living alone, and analyzing the history data of receiving and sending mobile phones of the elderly living alone. , When it is confirmed that the phone call has not been made for a specified period, it is notified to the official in charge of the service, so that the official in charge visits the elderly living alone to find out the situation, and connects the elderly living alone with the neighbors to allow local residents to check the life of the elderly living alone. After finding the elderly living alone with a high risk of loneliness, the service helps people to see the neighbors, and after finding the elderly living alone, the community security council, welfare bankbook, women's association, volunteer organizations, religious groups, and private organizations are encouraged to form a welfare village. One-person household welfare service to prevent loneliness of elderly living alone through help, service that allows convenience store owners and workers to make friends with Kakao Talk Plus Gangnam good neighbors, and report using Kakao Talk when a household in crisis is found. And the like.
그러나 이러한 종래의 시스템은 독거노인이 스스로 거주지에서 발생하는 문제를 파악한 후 이를 대처 가능하게 하는 시스템이거나, 단순히 시민, 공무원과 독거노인을 연결하여 시민과 공무원이 독거노인을 도울 수 있게 하는 시스템으로, 신속한 대처가 어려워 독거노인의 고독사 예방에 현실적으로 도움이 되지 않는 문제점이 있었다.However, such a conventional system is a system that enables the elderly living alone to identify problems occurring in their own place of residence and cope with them, or a system that allows citizens and public officials to help the elderly living alone by simply connecting citizens, public officials and the elderly living alone. It was difficult to cope with, and there was a problem that it was not practically helpful in preventing lone death of the elderly living alone.
따라서 이러한 문제점을 해결할 수 있는 새로운 독거노인 안전관리 시스템의 필요성이 대두되고 있다.Therefore, there is a need for a new safety management system for the elderly living alone that can solve these problems.
본 발명은 위와 같은 과제를 해결하기 위하여 안출된 것으로, 본 발명에서 해결하고자 하는 과제는 독거노인의 효율적인 관리를 위한 안전관리 시스템을 제공하는 것이다.The present invention has been conceived to solve the above problems, and the problem to be solved in the present invention is to provide a safety management system for efficient management of the elderly living alone.
또한 독거노인이 위험한 상황에 처했을 경우 이를 신속히 대처하여 고독사를 예방할 수 있는 안전관리 시스템을 제공하는 것이다.In addition, it is to provide a safety management system that can prevent lone death by promptly responding to dangerous situations for the elderly living alone.
아울러 독거노인의 보호자가 독거노인의 정보를 확인 가능하게 하여 보호자가 편안한 마음으로 일상생활을 영위할 수 있게 하는 안전관리 시스템을 제공하는 것이다.In addition, it is to provide a safety management system that enables the guardian of the elderly living alone to check the information of the elderly living alone so that the guardian can lead daily life with a comfortable mind.
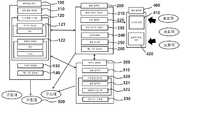
상기한 바와 같은 목적을 달성하기 위한 본 발명인 독거노인을 위한 안전관리 시스템은, 사용자의 생체 정보를 획득하는 생체 정보 획득부(110)와, 사용자의 위치 정보를 획득하는 위치 정보 수신부(120)를 포함하는 웨어러블 장치(100); 상기 웨어러블 장치(100)와 통신하며 상기 웨어러블 장치(100)에서 획득된 사용자의 생체 정보 및 위치 정보를 수신받아 저장하는 중앙 데이터 저장부(210)와, 상기 중앙 데이터 저장부(210)에 저장된 데이터를 기반으로 사용자의 상태를 파악하는 메인 제어부(220)와, 상기 메인 제어부(220)의 사용자 상태 파악에 사용되는 비교 데이터가 저장되는 비교 데이터 저장부(230)와, 관리자가 상기 중앙 데이터 저장부에 저장된 사용자의 정보 및 상기 메인 제어부에서 판단된 사용자의 상태 정보를 확인하는 모니터링부(240)를 포함하는 중앙 관리부(200); 및 상기 위치 정보 수신부(120)와 통신하여 사용자의 거주지 출입 정보를 획득하는 운동 감지부(310)와, 사용자 거주지의 상태 변화 정보를 확인하는 거주환경 관리부(320)를 포함하며, 상기 웨어러블 장치(100)와 통신하여 획득한 사용자의 거주지 출입 정보와, 사용자 거주지 상태 변화 정보를 상기 중앙 관리부(200)로 제공하는 거주지 관리부(300);를 포함하는 것을 특징으로 한다.The safety management system for the elderly living alone according to the present invention for achieving the above object includes a biometric
또한, 상기 생체 정보 획득부(110)는 사용자의 맥박 및 체온인 것을 특징으로 한다.In addition, the biometric
또한, 상기 위치 정보 수신부(120)는 사용자의 주거지 내부 위치 정보를 확인하는 주거지 관리부(121)와, 사용자의 주거지 외부 위치 정보를 확인하는 생활권 관리부(122)를 포함하는 것을 특징으로 한다.In addition, the location
또한, 상기 주거지 관리부(121)는 저전력 블루투스 통신장치(BLE)를 포함하고, 상기 운동 감지부(310)는 상기 BLE와 통신하며 거주지의 출입문에 설치되는 태그 장치를 포함하는 것을 특징으로 한다.In addition, the residential
또한, 상기 거주환경 관리부(320)는 사용자 거주지의 온도 변화를 측정하는 온도 관리부(321)와, 사용자 거주지의 유해가스 농도를 측정하는 유해가스 관리부(322)를 포함하는 것을 특징으로 한다.In addition, the residential
또한, 사용자의 정보를 보호자가 확인하는 정보 확인부(400)를 더 포함하고, 상기 중앙 관리부(200)는 상기 중앙 데이터 저장부(210)에 저장된 사용자의 정보와 상기 메인 제어부(220)에서 판단된 사용자의 상태 정보를 상기 정보 확인부(400)로 송신하는 정보 송신부(250)를 더 포함하는 것을 특징으로 한다.In addition, it further includes an
또한, 상기 정보 확인부(400)는 상기 중앙 관리부(200)로부터 수신된 데이터가 표시되는 스마트 장치(410)와, 보호자 확인 서버(420)를 포함하는 것을 특징으로 한다.In addition, the
또한, 상기 웨어러블 장치(100)는 사용자의 가속도 변화를 측정하는 가속도 측정부(130)를 더 포함하는 것을 특징으로 한다.In addition, the
또한, 상기 웨어러블 장치(100)는 사용자가 직접 버튼을 눌러 구조대(500)에 구조 요청 신호를 보낼 수 있는 제1 구조 요청부(140)를 더 포함하는 것을 특징으로 한다.In addition, the
또한, 상기 중앙 관리부(200)는 상기 메인 제어부(220)에서 판단된 사용자의 상태 정보가 이상 상태인 것으로 판단되거나, 상기 모니터링부(240)를 통해 관리자가 사용자의 상태가 이상한 것으로 판단 시 구조대(500)로 구조요청 신호를 보내는 제2 구조 요청부(260)를 더 포함하는 것을 특징으로 한다.In addition, the
또한, 상기 거주지 관리부(300)는 상기 온도 관리부(321)에서 측정되는 온도가 지정된 일정 수치 이상이거나, 상기 유해가스 관리부(322)에서 유해가스가 검출될 경우 구조대(500)로 구조요청 신호를 보내는 제3 구조 요청부(330)를 더 포함하는 것을 특징으로 한다.In addition, the
본 발명은 웨어러블 장치를 착용한 독거노인의 실시간 생체정보를 확인 가능하므로, 독거노인의 건강 상태를 보다 안정적으로 관리 가능한 장점이 있다.In the present invention, since it is possible to check real-time biometric information of the elderly living alone wearing a wearable device, there is an advantage in that the health status of the elderly living alone can be more stably managed.
또한 거주지 관리부를 통하여 독거노인 거주지의 화재 상황을 신속히 파악 가능하므로, 화재로 인하여 인명피해가 발생하는 것을 방지 가능한 장점이 있다.In addition, since it is possible to quickly grasp the fire situation in the residence of the elderly living alone through the residence management unit, there is an advantage of preventing human injury from occurring due to the fire.
아울러 독거노인의 생체정보 및 위치 정보를 보호자에게 제공 가능하므로 부모님과 떨어져 있는 보호자의 마음을 편안하게 해줄 수 있는 장점이 있다.In addition, since biometric information and location information of the elderly living alone can be provided to the guardian, there is an advantage in that the mind of the guardian who is separated from the parents can be relaxed.
또한 독거노인의 이상 상태를 기존의 데이터와 비교하여 신속하게 판단 후 관리자 측에서 문제가 생길 시 대처 가능하므로, 독거노인의 고독사를 방지 가능한 장점이 있다.In addition, since it is possible to quickly determine the abnormal state of the elderly living alone with existing data and respond when a problem occurs on the side of the manager, there is an advantage of preventing the lonely death of the elderly living alone.
도 1은 제1 실시예에 따른 독거노인을 위한 안전관리 시스템을 나타낸 개념도.
도 2는 모니터링부를 통해 나타나는 사용자 정보와, 위험 표시를 나타낸 개념도.
도 3은 사용자의 거주지 출입을 확인하는 방법을 설명하기 위한 개념도.
도 4는 제2 실시예에 따른 독거노인을 위한 안전관리 시스템을 나타낸 개념도.
도 5는 제3 실시예에 따른 독거노인을 위한 안전관리 시스템을 나타낸 개념도.1 is a conceptual diagram showing a safety management system for the elderly living alone according to the first embodiment.
2 is a conceptual diagram showing user information and a risk indication displayed through a monitoring unit.
3 is a conceptual diagram illustrating a method of confirming a user's access to a residence.
4 is a conceptual diagram showing a safety management system for the elderly living alone according to the second embodiment.
5 is a conceptual diagram showing a safety management system for the elderly living alone according to a third embodiment.
본 발명의 실시예들에 대한 이점 및 특징, 그리고 그것들을 달성하는 방법은 첨부되는 도면과 함께 상세하게 후술되어 있는 실시예들을 참조하면 명확해질 것이다. 그러나 본 발명은 이하에서 개시되는 실시예들에 한정되는 것이 아니라 서로 다른 다양한 형태로 구현될 수 있으며, 단지 본 실시예들은 본 발명의 개시가 완전하도록 하고, 본 발명이 속하는 기술분야에서 통상의 지식을 가진 자에게 발명의 범주를 완전하게 알려주기 위해 제공되는 것이며, 본 발명은 청구항의 범주에 의해 정의될 뿐이다. 명세서 전체에 걸쳐 동일 참조 부호는 동일 구성요소를 지칭한다.Advantages and features of the embodiments of the present invention, and a method of achieving them will be apparent with reference to the embodiments described later in detail together with the accompanying drawings. However, the present invention is not limited to the embodiments disclosed below, but may be implemented in a variety of different forms, and only these embodiments make the disclosure of the present invention complete, and are common knowledge in the technical field to which the present invention pertains. It is provided to completely inform the scope of the invention to those who have, and the invention is only defined by the scope of the claims. The same reference numerals refer to the same elements throughout the specification.
본 발명의 실시예들을 설명함에 있어서 공지 기능 또는 구성에 대한 구체적인 설명이 본 발명의 요지를 불필요하게 흐릴 수 있다고 판단되는 경우에는 그 상세한 설명을 생략할 것이다. 그리고 후술되는 용어들은 본 발명의 실시예에서의 기능을 고려하여 정의된 용어들로서 이는 사용자, 운용자의 의도 또는 관례 등에 따라 달라질 수 있다. 그러므로 그 정의는 본 명세서 전반에 걸친 내용을 토대로 내려져야 할 것이다.In describing the embodiments of the present invention, if it is determined that a detailed description of a known function or configuration may unnecessarily obscure the subject matter of the present invention, a detailed description thereof will be omitted. In addition, terms to be described later are terms defined in consideration of functions in an embodiment of the present invention, which may vary according to the intention or custom of users or operators. Therefore, the definition should be made based on the contents throughout the present specification.
이하, 첨부된 도면을 참조하여 본 발명에 따른 독거노인을 위한 안전관리 시스템에 관하여 설명하도록 한다.Hereinafter, a safety management system for the elderly living alone according to the present invention will be described with reference to the accompanying drawings.
도 1은 본 발명인 제1 실시예에 따른 독거노인을 위한 안전관리 시스템을 나타낸 개념도이다.1 is a conceptual diagram showing a safety management system for the elderly living alone according to a first embodiment of the present invention.
도 1을 참조하여 설명하면 본 발명인 환자 안전관리 시스템은, 사용자 정보를 획득하는 웨어러블 장치(100)와, 상기 웨어러블 장치(100)에서 획득한 정보를 수신받아 관리하는 중앙 관리부(200)와, 사용자의 거주지 출입 정보 및 사용자가 거주하는 거주지의 환경 정보를 획득하며, 상기 중앙 관리부(200)로 정보를 제공하는 거주지 관리부(300)를 포함하여 이루어질 수 있다.Referring to FIG. 1, the patient safety management system according to the present invention includes a
상세히 설명하면, 상기 웨어러블 장치(100)는 사용자에게 장착되는 장치로, 사용자에게 장착되어 사용자의 생체 정보와, 사용자의 실시간 이동 정보 및 위치 정보를 획득하여 중앙 관리부(200)로 송신하고, 상기 중앙 관리부(200)는 수신받은 사용자의 생체 정보를 기반으로 사용자의 건강 상태를 파악한 후, 사용자에게 위험이 발생한 것으로 판단되면 수신된 위치 정보를 이용하여 사용자를 긴급 구조할 수 있게 하고, 상기 거주지 관리부(300)는 사용자의 거주지 출입 정보를 파악하여 사용자의 위치 정보 파악을 보조함과 동시에, 사용자가 거주하는 거주지의 환경 변화를 기반으로 거주지에 위치하는 사용자의 위험을 파악하여 이를 중앙 관리부(200)로 송신함으로써, 중앙 관리부(200)에서 사용자의 건강상태 이외에도 환경 상태를 파악 후 관리할 수 있게 한 것이다.In detail, the
이때, 상기 웨어러블 장치(100)는 사용자의 맥박, 체온과 같은 생체 정보를 획득하는 생체 정보 획득부(110)와, 외부 서버와 통신하여 사용자의 위치 정보를 수신하는 위치 정보 수신부(120)를 포함할 수 있고, 상기 중앙 관리부(200)는 상기 웨어러블 장치(100)와 통신하며 상기 웨어러블 장치(100)에서 획득한 사용자의 생체 정보 및 위치 정보를 수신받아 저장하는 중앙 데이터 저장부(210)와, 상기 중앙 데이터 저장부(210)에 저장된 데이터를 기반으로 사용자의 상태를 파악하는 메인 제어부(220)와, 상기 메인 제어부(220)의 사용자 상태 파악에 사용되는 비교 데이터가 저장되는 비교 데이터 저장부(230)와, 관리자가 상기 중앙 데이터 저장부에 저장된 사용자의 정보(생체 정보, 이동 정보 및 위치 정보) 및 상기 메인 제어부에서 판단된 사용자의 상태 정보를 확인하는 모니터링부(240)를 포함할 수 있으며, 상기 거주지 관리부(300)는 상기 위치 정보 수신부(120)와 통신하여 사용자의 거주지 출입 정보를 획득하는 운동 감지부(310)와, 사용자 거주지의 상태 변화 정보를 확인하는 거주환경 관리부(320)를 포함하며, 획득한 사용자의 거주지 출입 정보와, 사용자 거주지 상태 변화 정보를 상기 중앙 관리부(200)에 제공할 수 있다.At this time, the
상세히 설명하면, 상기 생체 정보 획득부(110)에서 획득되는 사용자의 생체 정보와, 상기 위치 정보 수신부(120)에서 수신되는 사용자의 위치 정보는 상기 중앙 관리부(200)의 상기 중앙 데이터 저장부(210)에 저장되고, 상기 메인 제어부(220)는 상기 비교 데이터 저장부(230)에 저장된 사용자가 정상 상태일 때 나타나는 사용자의 생체 정보와, 상기 중앙 데이터 저장부(210)에 저장된 사용자의 실시간 생체 정보를 비교하여 사용자의 정상상태 유무를 판단하며, 관리자는 도 2의 (a)에 도시된 바와 같이 상기 모니터링부(240)를 통해 나타나는 사용자의 상태 정보를 확인할 수 있다. 또한 상기 메인 제어부(220)에서 사용자의 상태가 이상이 있는 것으로 판단 시에는 도 2의 (b)에 도시된 바와 같이 위험 알림이 상기 모니터링부(240)에 표시되어 관리자가 긴급 대처 가능함은 물론이다.In detail, the user's biometric information obtained by the biometric
또한, 도 1을 참조하면 본 발명에서 상기 위치 정보 수신부(120)는 사용자의 주거지 내부 위치 정보를 확인하는 주거지 관리부(121)와, 사용자의 주거지 외부 위치 정보를 확인하는 생활권 관리부(122)를 포함할 수 있으며, 상기 주거지 관리부(121)는 BLE(Bluetooth Low Energy)를 포함할 수 있고, 상기 생활권 관리부(122)는 GPS(Global Positioning System)과, LoRa를 포함할 수 있다.In addition, referring to Figure 1, in the present invention, the location
상세히 설명하면, 사용자가 주거지 내부에 위치할 경우에는 전력 소모가 적은 상기 BLE 태그 통신을 통하여 사용자의 위치를 파악하고, 사용자가 주거지 밖으로 나갈 경우에는 상기 GPS를 통하여 사용자의 위치 정보를 확인할 수 있게 한 것이다.In detail, when the user is located inside a residential area, the user's location is identified through the BLE tag communication, which consumes less power, and when the user goes out of the residential area, the user's location information can be checked through the GPS. will be.
이때, 상기 위치 정보 수신부(120)는 확인된 사용자의 위치정보를 중계기를 통하여 중앙 관리부(200)로 송신하거나 또는 중앙 관리부(200)로 직접 송신할 수 있다.In this case, the location
상기 위치 정보 수신부(120)가 중계기로 사용자의 위치정보를 송신하는 방법은 LoRa(Low Range)를 이용한 저전력 중장거리 통신 방법 또는 BLE(Bluetooth Low Energy)를 이용한 통신 방식일 수 있으며, 상기 중계기는 수신한 위치정보를 LTE(Long Term Evolution)를 이용하여 중앙 관리부(200)로 전송한다.The method for the location
또한 상기 위치 정보 수신부(120)는 확인된 사용자의 위치정보를 LTE(Long Term Evolution)를 이용하여 중앙 관리부(200)로 직접 전송할 수 있다.In addition, the location
한편 사용자의 출입은 상기 주거지 관리부(121)와 상기 운동 감지부(310)를 통하여 이루어질 수 있다. 상세히 설명하면, 상기 주거지 관리부(121)를 구성하는 상기 BLE(H)와 연동하는 운동 감지부(310)가 도 3에 도시된 바와 같이 주거지(1)의 출입문(2) 측에 위치되어, 사용자가 출입하는 것을 감지한 후 상기 중앙 관리부(200)로 사용자의 출입 정보를 제공하는 것이다. 이때, 상기 운동 감지부(310)는 다양한 장치일 수 있으며 일 실시예로는 상기 BLE(H)와 연동하는 BLE 태그일 수 있다.Meanwhile, the user's access may be made through the residential
아울러, 상기 거주환경 관리부(320)는 거주지의 온도 변화를 측정하는 온도 관리부(321)와, 거주지의 유해가스 누출 유무를 측정하는 유해가스 관리부(322)를 포함할 수 있으며, 상기 온도 관리부(321)는 온도 측정 센서를 포함하고, 상기 유해가스 관리부(322)는 인체에 유해한 가스를 감지하는 가스 감지 센서를 포함할 수 있다.In addition, the residential
상세히 설명하면, 거주지에서 화재 발생 시 거주지 내부의 온도가 상승하게 도고, 거주지 내부에 구비된 가구 또는 생활용품이 타오르며 유해가스가 발생하게 되며, 이러한 화재 상황은 거주지에서 생활하는 독거노인이 화재가 난 것을 확인하더라도 대처가 늦어 인명 사고로 이어질 수 있으므로, 본 발명에서는 거주지 상에 상기 중앙 관리부(200)로 거주지의 온도 및 가스 발생 정보를 제공하는 상기 온도 관리부(321)와 상기 가스 관리부(322)를 형성하여, 화재상황 발생 시 상기 중앙 관리부(200)에서 정보를 수신 후 이를 신속히 독거노인, 관리자 또는 구조대에게 전달하여 독거노인이 화재가 발생한 거주지에서 신속히 대피할 수 있게 한 것이다.In detail, when a fire occurs in the residence, the temperature inside the residence rises, and the furniture or household goods provided inside the residence are burned and harmful gases are generated. Even if it is confirmed, the response may be delayed and lead to an accident, so in the present invention, the
도 4에는 제2 실시예에 따른 독거노인을 위한 안전관리 시스템(1000)의 또 다른 실시예가 도시되어 있다.4 shows another embodiment of the safety management system 1000 for the elderly living alone according to the second embodiment.
도 4를 참조하면, 본 발명인 독거노인 안전관리 시스템(1000)은 사용자의 정보를 보호자가 확인하는 정보 확인부(400)를 더 포함하고, 상기 중앙 관리부(200)는 상기 중앙 데이터 저장부(210)에 저장된 사용자의 정보와 상기 메인 제어부(220)에서 판단된 사용자의 상태 정보를 상기 정보 확인부(400)로 송신하는 정보 송신부(250)를 더 포함할 수 있다.4, the present inventors safety management system for the elderly living alone 1000 further includes an
상세히 설명하면, 보호자가 없는 독거노인의 경우 상기 중앙 관리부(200)를 통하여 관리자가 독거노인을 관리하게 되지만, 보호자가 있는 독거노인의 경우 보호자 측에서 독거노인의 상태에 관한 궁금증을 가질 수 있으므로, 본 발명에서는 상기 정보 확인부(400)를 통해 보호자가 독거노인의 실시간 상황을 확인할 수 있게 한 것이다. 이때, 상기 정보 확인부(400)에서 확인할 수 있는 사항은 상기 웨어러블 장치(100)와 상기 거주지 관리부(300)에서 획득하는 정보와 상기 중앙 관리부(200)에서 판단되는 사용자의 상태일 수 있으며, 일 실시예로는 사용자의 생체정보, 위치정보, 거주환경 정보, 건강상태 유무 정보 등일 수 있다.In detail, in the case of an elderly living alone without a guardian, the administrator manages the elderly living alone through the
또한 상기 정보 확인부(400)는 보호자가 접속할 수 있는 다양한 장치일 수 있으며, 일 실시예로는 보호자의 스마트 장치(410)와, 보호자가 접속 가능한 보호자 확인 서버(420)를 포함할 수 있다.In addition, the
도 5에는 제3 실시예에 따른 독거노인을 위한 안전관리 시스템(1000)의 또 다른 실시예가 도시되어 있다.5 shows another embodiment of the safety management system 1000 for the elderly living alone according to the third embodiment.
도 5를 참조하면 상기 웨어러블 장치(100)는 사용자의 가속도 변화를 측정하는 가속도 측정부(130)와, 사용자가 직접 버튼을 눌러 구조대(500)에 구조 요청 신호를 보낼 수 있는 제1 구조 요청부(140)를 포함할 수 있다.Referring to FIG. 5, the
상세히 설명하면, 본 발명에서 사용자는 독거노인일 수 있으며 독거노인의 경우 체력적인 문제로 낙상 사고가 쉽게 발생할 수 있으므로, 본 발명에서는 상기 가속도 측정부(130)를 이용하여 사용자가 일정 이상의 가속도를 낸 후 움직임이 정지될 시 이를 상기 중앙 관리부(200)에서 낙상 사고로 판단하여 구조대에 연락할 수 있게 하고, 이 외에도 사용자가 위급한 상황에 처하거나 외부 도움이 필요한 긴급한 상황이 발생할 경우, 상기 제1 구조 요청부(140)를 눌러 구조대(500)에 직접 구조요청 신호를 보내거나, 상기 중앙 관리부(200)를 통해 구조대(500)에 구조를 요청하는 방식으로 긴급한 상황을 해결할 수 있게 한 것이다.In detail, in the present invention, the user may be an elderly person living alone, and in the case of an elderly person living alone, a fall accident may easily occur due to physical problems. When the movement is stopped, the
또한 상기 웨어러블 장치(100)는 구조요청수신부를 추가로 포함할 수 있다.In addition, the
사용자는 신체에 이상이 있거나 갑자기 몸에 불편함을 느끼는 경우, 상기 제1 구조 요청부(140)를 통해 구조를 직접 요청할 수 있다.When a user has an abnormality in the body or suddenly feels uncomfortable with the body, the user may directly request a rescue through the first
이때 중앙 관리부(200)는 상기 제1 구조 요청부(140)로부터 구조요청을 수신한 후, 사용자의 위치정보 및 생체정보를 확인하여 사용자의 생체정보에 이상이 있으면 신속하게 구조를 수행한다.At this time, after receiving the rescue request from the first
만일 사용자의 생체정보에 이상이 없으면, 중앙 관리부(200)는 사용자에게 구조요청에 대한 확인메시지를 송신하며, 이때 웨어러블 장치(100)의 구조요청수신부가 상기 확인메시지를 수신하여 이에 대해 제1 구조 요청부(140)를 통해 구조요청을 다시 요청하거나 또는 상기 확인메시지에 대한 구조요청이 미리 지정된 시간 내에 확인되지 않을 경우 신속하게 구조를 수행한다. 이러한 상기 제1 구조 요청부(140)의 작동 메커니즘을 통하여, 구조요청의 오발신으로 인하여 발생될 수 있는 낭비를 미연에 방지할 수 있으며, 긴급한 상황에서 직접 구조요청을 수행하여 사고 시 사용자의 생존확률을 향상시킬 수 있다.If there is no abnormality in the user's biometric information, the
또한 상기 웨어러블 장치(100)는 비상신호발신부 및 비상신호수신부를 추가로 포함할 수 있다.In addition, the
사용자의 생체정보에 이상이 있는 경우, 상기 중앙 관리부(200)는 상기 웨어러블 장치(100)에 비상신호를 송신하며, 이때 상기 웨어러블 장치(100)는 비상신호수신부를 통하여 상기 비상신호를 수신하게 된다.When there is an abnormality in the user's biometric information, the
상기 웨어러블 장치(100)가 비상신호를 수신하게 되면, 즉시 비상신호발신부를 통하여 일정한 신호를 주기적으로 발신할 수 있으며, 사용자의 위치를 정확하게 파악할 수 없는 경우에도 발신되는 신호를 감지하여 사용자를 쉽게 구조할 수 있다.When the
또한 상기 웨어러블 장치(100)는 수신되는 사용자의 생체 정보가 특정 수치에 도달하는 경우 상기 중앙 관리부(200)로 사용자가 위급 상황에 처했음을 알리는 제4 구조 요청부를 포함할 수 있다.In addition, the
상세히 설명하면, 본 발명은 생체 정보 수치 중 일정한 범위를 정상 상태로 설정하고, 이외의 상태를 이상 상태로 설정하며, 중앙 관리부(200)는 사용자의 생체 정보를 실시간으로 수신하여, 수신된 사용자의 생체 정보가 이상 상태에 도달하면, 사용자가 응급상황에 처했음을 판단하여 사용자를 구조할 수 있다.In detail, the present invention sets a certain range of biometric information values to a normal state, and sets other states to an abnormal state, and the
그러나 사용자마다 맥박, 체온과 같은 생체 정보가 다르고, 동일한 사용자도 시간, 환경 등에 따라 정상 상태의 생체 정보가 변하므로, 이를 실시간으로 반영한 생체 정보를 기반으로 사용자의 응급상황을 판단할 필요가 있다.However, since biometric information such as pulse and body temperature is different for each user, and the same user also changes biometric information in a normal state according to time, environment, etc., it is necessary to determine an emergency situation of the user based on the biometric information reflected in real time.
본 발명은 사용자가 제1 구조 요청부(140)를 사용한 경우가 있을 때, 제1 구조 요청부(140)를 누른 상황에서의 사용자 생체 정보를 이상 상태로 설정하고, 사용자의 생체 정보가 제1 구조 요청부(140)를 누를 당시의 생체 정보에 도달 시, 제4 구조 요청부는 중앙 관리부(200)로 사용자가 위급 상황에 처했음을 알릴 수 있는 구조신호를 송신할 수 있다.In the present invention, when the user uses the first
상기 중앙 관리부(200)는 제4 구조 요청부로부터 구조신호를 수신하는 경우, 사용자에게 구조요청에 대한 확인메시지를 송신하며, 이때 웨어러블 장치(100)의 구조요청수신부가 상기 확인메시지를 수신하여 이에 대해 제1 구조 요청부(140)를 통해 구조요청을 다시 요청하거나 또는 상기 확인메시지에 대한 구조요청이 미리 지정된 시간 내에 확인되지 않을 경우 신속하게 구조를 수행한다.When receiving a rescue signal from the fourth rescue requesting unit, the
또한 상기 중앙 관리부(200)는 제1 구조 요청부(140)를 누른 상황에서의 사용자 생체 정보를 저장하는 이상 데이터 저장부(250)를 더 포함할 수 있다.In addition, the
상세히 설명하면, 상기 생체 정보 획득부(110)에서 획득되는 사용자의 생체 정보와, 상기 위치 정보 수신부(120)에서 수신되는 사용자의 위치 정보는 상기 중앙 관리부(200)의 상기 중앙 데이터 저장부(210)에 저장되고, 상기 메인 제어부(220)는 상기 비교 데이터 저장부(230)에 저장된 사용자가 정상 상태일 때 나타나는 사용자의 생체 정보와, 상기 이상 데이터 저장부(250)에 저장된 사용자가 이상 상태일 때 나타나는 사용자의 생체 정보와, 상기 중앙 데이터 저장부(210)에 저장된 사용자의 실시간 생체 정보를 비교하여 사용자의 정상상태 유무를 판단한다.In detail, the user's biometric information obtained by the biometric
사용자마다 맥박, 체온과 같은 생체 정보가 다르고, 동일한 사용자도 시간, 환경 등에 따라 정상 상태의 생체 정보가 변하므로, 이를 실시간으로 반영한 생체 정보를 기반으로 사용자의 응급상황을 판단할 필요가 있다.Since biometric information such as pulse and body temperature is different for each user, and the same user also changes biometric information in a normal state according to time, environment, etc., it is necessary to determine an emergency situation of the user based on biometric information reflecting this in real time.
본 발명은 사용자가 제1 구조 요청부(140)를 사용한 경우가 있을 때, 제1 구조 요청부(140)를 누른 상황에서의 사용자 생체 정보를 이상 데이터 저장부(250)에 저장하여 이를 기반으로 응급상황을 판단함으로써, 사용자가 위급 상황에 효과적으로 대처할 수 있다.In the present invention, when the user uses the first
또한, 상기 중앙 관리부(200)는 상기 메인 제어부(220)에서 판단된 사용자의 정보가 이상 상태인 것으로 판단되거나, 상기 모니터링부(240)를 통해 관리자가 사용자의 상태가 이상한 것으로 판단 시 구조대(500)로 구조요청 신호를 보내는 제2 구조 요청부(260)를 포함할 수 있고, 상기 거주지 관리부(300) 또한 상기 온도 관리부(321)에서 측정되는 온도가 지정된 일정 수치 이상이거나, 상기 유해가스 관리부(322)에서 유해가스가 검출될 경우 구조대(500)로 구조요청 신호를 보내는 제3 구조 요청부(330)를 더 포함할 수 있다.In addition, the
이상의 설명에서는 본 발명의 다양한 실시예들을 제시하여 설명하였으나 본 발명이 반드시 이에 한정되는 것은 아니며, 본 발명이 속하는 기술 분야에서 통상의 지식을 가진 자라면 본 발명의 기술적 사상을 벗어나지 않는 범위 내에서 여러 가지 치환, 변형 및 변경이 가능함을 알 수 있다.In the above description, various embodiments of the present invention have been presented and described, but the present invention is not necessarily limited thereto, and those of ordinary skill in the technical field to which the present invention pertains, within the scope of the technical spirit of the present invention. It can be seen that branch substitution, modification, and change are possible.
100 : 웨어러블 장치110 : 생체 정보 획득부
120 : 위치 정보 수신부121 : 주거지 관리부
122 : 생활권 관리부
130 : 가속도 측정부140 : 제1 구조 요청부
200 : 중앙 관리부210 : 데이터 저장부
220 : 메인 제어부230 : 비교 데이터 저장부
240 : 모니터링부250 : 정보 송신부
260 : 제2 구조 요청부
300 : 거주지 관리부310 : 운동 감지부
320 : 거주환경 관리부321 : 온도 관리부
322 : 유해가스 관리부330 : 제3 구조 요청부
400 : 정보 확인부410 : 스마트 장치
420 : 보호자 확인 서버
500 : 구조대100: wearable device 110: biometric information acquisition unit
120: location information receiving unit 121: residential management unit
122: Living Area Management Department
130: acceleration measurement unit 140: first structure request unit
200: central management unit 210: data storage unit
220: main control unit 230: comparison data storage unit
240: monitoring unit 250: information transmission unit
260: second rescue request unit
300: residence management unit 310: motion detection unit
320: Residential Environment Management Department 321: Temperature Management Department
322: Hazardous Gas Management Department 330: Third Rescue Request Department
400: information check unit 410: smart device
420: Parental verification server
500: rescue team
| Application Number | Priority Date | Filing Date | Title |
|---|---|---|---|
| KR1020190103480AKR102368158B1 (en) | 2019-08-23 | 2019-08-23 | Safety management system for the elderly living alone |
| Application Number | Priority Date | Filing Date | Title |
|---|---|---|---|
| KR1020190103480AKR102368158B1 (en) | 2019-08-23 | 2019-08-23 | Safety management system for the elderly living alone |
| Publication Number | Publication Date |
|---|---|
| KR20210023374Atrue KR20210023374A (en) | 2021-03-04 |
| KR102368158B1 KR102368158B1 (en) | 2022-02-28 |
| Application Number | Title | Priority Date | Filing Date |
|---|---|---|---|
| KR1020190103480AActiveKR102368158B1 (en) | 2019-08-23 | 2019-08-23 | Safety management system for the elderly living alone |
| Country | Link |
|---|---|
| KR (1) | KR102368158B1 (en) |
| Publication number | Priority date | Publication date | Assignee | Title |
|---|---|---|---|---|
| KR102441662B1 (en)* | 2022-01-20 | 2022-09-13 | 주식회사 비투엔 | Care platform service system using metaverse and its control method |
| Publication number | Priority date | Publication date | Assignee | Title |
|---|---|---|---|---|
| KR20100005494A (en)* | 2008-07-07 | 2010-01-15 | 주식회사 엠유비정보통신 | Method and system for monitering silver care system(scs) |
| KR20160101508A (en)* | 2015-02-17 | 2016-08-25 | 김형욱 | Emergency monitoring system for senior citizens |
| KR20160112736A (en) | 2015-03-20 | 2016-09-28 | 부산대학교 산학협력단 | System and Method for Safety managing elderly by using social information and power consumption pattern of the individual appliance |
| Publication number | Priority date | Publication date | Assignee | Title |
|---|---|---|---|---|
| KR20100005494A (en)* | 2008-07-07 | 2010-01-15 | 주식회사 엠유비정보통신 | Method and system for monitering silver care system(scs) |
| KR20160101508A (en)* | 2015-02-17 | 2016-08-25 | 김형욱 | Emergency monitoring system for senior citizens |
| KR20160112736A (en) | 2015-03-20 | 2016-09-28 | 부산대학교 산학협력단 | System and Method for Safety managing elderly by using social information and power consumption pattern of the individual appliance |
| Publication number | Priority date | Publication date | Assignee | Title |
|---|---|---|---|---|
| KR102441662B1 (en)* | 2022-01-20 | 2022-09-13 | 주식회사 비투엔 | Care platform service system using metaverse and its control method |
| Publication number | Publication date |
|---|---|
| KR102368158B1 (en) | 2022-02-28 |
| Publication | Publication Date | Title |
|---|---|---|
| US20230360792A1 (en) | System and method for monitoring activities through portable devices | |
| US12131603B2 (en) | Scalable systems and methods for monitoring and concierge service | |
| RU2642044C2 (en) | Method of facilitating provision of assistance in adversities and relevant system | |
| US20190088097A1 (en) | Mental health, safety, and wellness support system | |
| US20140361874A1 (en) | Tracking and emergency alert device | |
| KR20210001170A (en) | Learning based life pattern recognition and monitoring of living alone method and system with IoT network | |
| KR102010022B1 (en) | Emergency Rescue System for the Elderly Living Alone using Wearable Device and Mobile Device | |
| KR102383384B1 (en) | IoT SMART SAFETY LIGHTING AND SELF-SECURITY SYSTEM | |
| KR20200116241A (en) | Smart care system | |
| KR101846845B1 (en) | Elderly people living alone monitoring system using IoT | |
| JP2016181224A (en) | Watch system | |
| KR20210023374A (en) | Safety management system for the elderly living alone | |
| KR101627188B1 (en) | Intelligent house supervision device for house installation | |
| KR20200059628A (en) | Skeleton image learning based old people behavior pattern monitoring method | |
| KR102407150B1 (en) | Emergency notification service system and method for Resident in House | |
| KR101473926B1 (en) | Household Management System and Method | |
| KR102362223B1 (en) | System for providing safe housihg service for vulnerable social group | |
| KR102307428B1 (en) | Node/Network Aggregation Gateway Device | |
| KR20140120468A (en) | System For Providing Remote Filial Duty Agency Service | |
| US9349268B2 (en) | TNT-medical alert system | |
| US10825329B2 (en) | Identifying data of a person using of a personal emergency device | |
| JP2017157030A (en) | Suspicious person detection system and suspicious person detection method | |
| KR102568803B1 (en) | Emergency notification call system for care for the elderly | |
| KR20150073247A (en) | Security apparatus providing home security service using SNS and method thereof | |
| CN117711142A (en) | First-aid method, processing device and community service system for community family |
| Date | Code | Title | Description |
|---|---|---|---|
| PA0109 | Patent application | Patent event code:PA01091R01D Comment text:Patent Application Patent event date:20190823 | |
| PA0201 | Request for examination | ||
| PE0902 | Notice of grounds for rejection | Comment text:Notification of reason for refusal Patent event date:20201220 Patent event code:PE09021S01D | |
| PG1501 | Laying open of application | ||
| E701 | Decision to grant or registration of patent right | ||
| PE0701 | Decision of registration | Patent event code:PE07011S01D Comment text:Decision to Grant Registration Patent event date:20210525 | |
| GRNT | Written decision to grant | ||
| PR0701 | Registration of establishment | Comment text:Registration of Establishment Patent event date:20220223 Patent event code:PR07011E01D | |
| PR1002 | Payment of registration fee | Payment date:20220223 End annual number:3 Start annual number:1 | |
| PG1601 | Publication of registration | ||
| PR1001 | Payment of annual fee | Payment date:20250224 Start annual number:4 End annual number:4 |