












본 개시의 다양한 실시예는 포스 센서를 포함하는 웨어러블 전자 장치에 관한 것이다.Various embodiments of the present disclosure relate to a wearable electronic device including a force sensor.
전자 장치는 저장된 정보를 음향이나 영상으로 출력할 수 있다. 전자 장치의 집적도가 높아지고, 초고속, 대용량 무선통신이 보편화되면서, 최근에는, 이동통신 단말기와 같은 하나의 전자 장치에 다양한 기능이 탑재될 수 있다. 예를 들면, 통신 기능뿐만 아니라, 게임과 같은 엔터테인먼트 기능, 음악/동영상 재생과 같은 멀티미디어 기능, 모바일 뱅킹 등을 위한 통신 및 보안 기능, 일정 관리나 전자 지갑 등의 기능이 하나의 전자 장치에 집약되고 있다.The electronic device may output stored information as sound or image. As the degree of integration of electronic devices increases, and ultra-high-speed, large-capacity wireless communication is common, in recent years, various functions may be installed in one electronic device such as a mobile communication terminal. For example, not only communication functions, but also entertainment functions such as games, multimedia functions such as music/video playback, communication and security functions for mobile banking, etc., functions such as schedule management and electronic wallet are integrated into one electronic device. have.
휴대 목적의 전자 장치는 일반적으로 평판형 디스플레이 장치와 배터리를 탑재하고 있으며, 바형, 폴더형, 슬라이딩형의 외관을 가지고 있었다. 최근에는 전자통신 기술이 발달함에 따라 전자 장치가 소형화되어, 손목(wrist)이나 두부(head)와 같은 신체의 일부에 착용할 수 있는 전자 장치가 상용화되기에 이르렀다. 전자 장치들은 이동 통신 단말기를 필두로 최근에는 인체에 착용하는 웨어러블(wearable) 전자 장치가 가세하여, 점차 경박 단소화됨과 동시에 다양한 기능을 구비하여 소비자의 욕구를 충족시키고 있다.In general, portable electronic devices are equipped with a flat panel display device and a battery, and have a bar-type, folding-type, and sliding-type appearance. Recently, with the development of electronic communication technology, electronic devices have been miniaturized, and electronic devices that can be worn on a part of a body such as a wrist or a head have been commercialized. In recent years, with the addition of a wearable electronic device worn on a human body, starting with a mobile communication terminal, electronic devices are gradually becoming lighter and shorter, while providing various functions to satisfy the needs of consumers.
전자 장치에서 제공하는 여러 가지 기능들 중에는 센서를 이용하는 기능들이 있다. 이러한 센서들은 전자 장치, 전자 장치의 외부, 또는 사용자와 관련된 정보들을 수집할 수 있다. 전자 장치에는 하나 이상의 센서가 포함될 수 있으며, 다양한 센서들을 통하여 수집된 정보들을 이용하여 여러 가지 서비스를 제공할 수 있다.Among the various functions provided by the electronic device, there are functions using a sensor. These sensors may collect information related to an electronic device, an external device, or a user. One or more sensors may be included in the electronic device, and various services may be provided using information collected through various sensors.
일반적으로, 웨어러블 전자 장치는 ECG 전극, 휠, HRM 센서, TSP, 물리키 등의 각각의 전자 부품들이 서로 다른 위치에 별도의 공간을 차지하며 배치될 수 있다. 이에 따라, 각각의 전자 부품들의 형상에 따라, 웨어러블 전자 장치의 전체적인 두께, 전폭의 길이가 증가할 수 있으며, 한정된 공간 내에 다양한 전자 부품들이 배치됨에 따라, 디자인 다양성 감소, 단가 상승, 및 제조의 복잡도가 증가할 수 있다.In general, in a wearable electronic device, electronic components such as an ECG electrode, a wheel, an HRM sensor, a TSP, and a physical key may be disposed at different locations and occupy a separate space. Accordingly, according to the shape of each electronic component, the overall thickness and length of the overall width of the wearable electronic device may increase, and as various electronic components are arranged in a limited space, design diversity decreases, unit cost increases, and manufacturing complexity Can increase.
본 개시에 따른 웨어러블 전자 장치는, 복수 개의 전자 부품들이 수행하는 기능을 하나의 어셈블리에 통합하여 부품들의 실장 공간을 축소하고, 이에 따라, 단가 절감, 및 제조의 단순화를 제공할 수 있다.The wearable electronic device according to the present disclosure can reduce a mounting space of components by integrating functions performed by a plurality of electronic components into one assembly, thereby reducing unit cost and simplifying manufacturing.
본 개시의 다양한 실시예에 따른 전자 장치는, 화면을 출력하기 위한 디스플레이 조립체, 상기 디스플레이 조립체의 가장자리를 따라 배치되고, 적어도 하나의 전극을 포함하는 베젤부, 상기 디스플레이 조립체 및 상기 베젤부의 저면에 배치되고, 내부 전자 부품들을 지지하는 브라켓, 및 상기 베젤부 및 상기 브라켓 사이에 배치되고, 상기 적어도 하나의 전극과 대면하는 포스 센서, 및 상기 적어도 하나의 전극과 전기적 접촉을 제공하는 도전성 부재를 포함하는 플렉서블 인쇄회로기판을 포함할 수 있다.An electronic device according to various embodiments of the present disclosure includes a display assembly for outputting a screen, a bezel part disposed along an edge of the display assembly and including at least one electrode, and disposed on a bottom surface of the display assembly and the bezel part. And a bracket for supporting internal electronic components, a force sensor disposed between the bezel part and the bracket and facing the at least one electrode, and a conductive member providing electrical contact with the at least one electrode. It may include a flexible printed circuit board.
본 개시의 다양한 실시예에 따른 전자 장치는, 투명 플레이트 및 상기 투명 플레이트의 가장자리를 따라 배치되고, 적어도 하나의 전극을 포함하는 베젤부를 포함하는 전면 플레이트, 상기 전면 플레이트가 향하는 방향과 반대 방향을 향하는 후면 플레이트, 상기 투명 플레이트를 통해 화면을 출력하기 위한 디스플레이, 상기 베젤부 및 상기 후면 플레이트 사이에 배치되고, 상기 적어도 하나의 전극과 대면하는 포스 센서, 및 상기 적어도 하나의 전극과 전기적 접촉을 제공하는 도전성 부재를 포함하는 플렉서블 인쇄회로기판, 및 상기 디스플레이가 안착되기 위한 제 1 영역, 및 상기 플렉서블 인쇄회로기판이 안착되기 위한 제 2 영역을 포함하는 브라켓을 포함할 수 있다.An electronic device according to various embodiments of the present disclosure includes a transparent plate and a front plate disposed along an edge of the transparent plate and including a bezel portion including at least one electrode, and facing a direction opposite to a direction facing the front plate. A rear plate, a display for outputting a screen through the transparent plate, a force sensor disposed between the bezel part and the rear plate and facing the at least one electrode, and providing electrical contact with the at least one electrode A bracket including a flexible printed circuit board including a conductive member, a first area for mounting the display, and a second area for mounting the flexible printed circuit board may be included.
본 개시에 따른 웨어러블 전자 장치는, 복수 개의 포스 센서를 포함한 한 개의 FPCB 어셈블리를 이용하여, 복수의 기능(예를 들어, 각종 생체정보 인식 및 전달, 디스플레이 방향성 인지, 터치 인식, 물리키 인식)을 제공할 수 있다.The wearable electronic device according to the present disclosure uses a single FPCB assembly including a plurality of force sensors to perform a plurality of functions (eg, various biometric information recognition and transmission, display direction recognition, touch recognition, physical key recognition). Can provide.
본 개시에 따른 웨어러블 장치는, 일반적인 장치와 대비하여 내부에 실장된 전자 부품들(휠, 전극, TSP, 물리키, 그립센서)이 제거됨에 따라 배터리 용량 증가 또는 추가적인 부품을 실장할 수 있는 공간을 확대할 수 있다.The wearable device according to the present disclosure increases the battery capacity or provides a space for mounting additional components as electronic components (wheel, electrode, TSP, physical key, grip sensor) mounted therein are removed compared to a general device. Can be enlarged.
도 1은 본 개시의 다양한 실시예들에 따른, 네트워크 환경 내의 전자 장치의 블럭도이다.
도 2a는 본 개시의 다양한 실시예 중 하나에 따른 전자 장치를 나타내는 정면도이다. 도 2b는 본 개시의 다양한 실시예 중 하나에 따른 전자 장치를 다른 방향에서 바라본 모습을 나타내는 배면도이다.
도 3은 본 개시의 다양한 실시 예 중 하나에 따른 전자 장치의 내부 구조를 나타낸 분해 사시도이다.
도 4는 본 개시의 다양한 실시예에 따른, 전자 장치의 일 영역의 적층 구조를 나타낸 분해 사시도이다.
도 5a 및 도 5b는 본 개시의 다양한 실시예에 따른, 전자 장치의 일 영역을 나타낸 사시도이다.
도 6a 및 도 6b는 본 개시의 다양한 실시예에 따른, 전자 장치 내에 안착된 플렉서블 인쇄회로기판을 나타낸 정면도이다.
도 7은 도 6b의 플렉서블 인쇄회로기판을 A-A'로 절단한 단면도이다.
도 8은 도 6b의 플렉서블 인쇄회로기판을 B-B'로 절단한 단면도이다.
도 9는 본 개시의 일 실시예에 따른, 포스 센서의 입력 정보에 대한 동작을 설명하기 위한 영역도이다.
도 10은 본 개시의 다른 실시예에 따른, 포스 센서의 입력 정보에 대한 동작을 설명하기 위한 영역도이다.1 is a block diagram of an electronic device in a network environment according to various embodiments of the present disclosure.
2A is a front view illustrating an electronic device according to one of various embodiments of the present disclosure. 2B is a rear view illustrating an electronic device according to one of various embodiments of the present disclosure as viewed from a different direction.
3 is an exploded perspective view illustrating an internal structure of an electronic device according to one of various embodiments of the present disclosure.
4 is an exploded perspective view illustrating a stacked structure of an area of an electronic device according to various embodiments of the present disclosure.
5A and 5B are perspective views illustrating an area of an electronic device according to various embodiments of the present disclosure.
6A and 6B are front views illustrating a flexible printed circuit board mounted in an electronic device according to various embodiments of the present disclosure.
7 is a cross-sectional view taken along line A-A' of the flexible printed circuit board of FIG. 6B.
FIG. 8 is a cross-sectional view of the flexible printed circuit board of FIG. 6B taken along line B-B'.
9 is an area diagram illustrating an operation of input information of a force sensor according to an embodiment of the present disclosure.
10 is an area diagram illustrating an operation of a force sensor on input information according to another embodiment of the present disclosure.
도 1의 다양한 실시예들에 따르면, 네트워크 환경(100) 내의 전자 장치(101)의 블럭도이다.According to various embodiments of FIG. 1, a block diagram of an
도 1을 참조하면, 네트워크 환경(100)에서 전자 장치(101)는 제 1 네트워크(198)(예: 근거리 무선 통신 네트워크)를 통하여 전자 장치(102)와 통신하거나, 또는 제 2 네트워크(199)(예: 원거리 무선 통신 네트워크)를 통하여 전자 장치(104) 또는 서버(108)와 통신할 수 있다. 일실시예에 따르면, 전자 장치(101)는 서버(108)를 통하여 전자 장치(104)와 통신할 수 있다. 일실시예에 따르면, 전자 장치(101)는 프로세서(120), 메모리(130), 입력 장치(150), 음향 출력 장치(155), 표시 장치(160), 오디오 모듈(170), 센서 모듈(176), 인터페이스(177), 햅틱 모듈(179), 카메라 모듈(180), 전력 관리 모듈(188), 배터리(189), 통신 모듈(190), 가입자 식별 모듈(196), 또는 안테나 모듈(197)을 포함할 수 있다. 어떤 실시예에서는, 전자 장치(101)에는, 이 구성요소들 중 적어도 하나(예: 표시 장치(160) 또는 카메라 모듈(180))가 생략되거나, 하나 이상의 다른 구성 요소가 추가될 수 있다. 어떤 실시예에서는, 이 구성요소들 중 일부들은 하나의 통합된 회로로 구현될 수 있다. 예를 들면, 센서 모듈(176)(예: 지문 센서, 홍채 센서, 또는 조도 센서)은 표시 장치(160)(예: 디스플레이)에 임베디드된 채 구현될 수 있다.Referring to FIG. 1, in a
프로세서(120)는, 예를 들면, 소프트웨어(예: 프로그램(140))를 실행하여 프로세서(120)에 연결된 전자 장치(101)의 적어도 하나의 다른 구성요소(예: 하드웨어 또는 소프트웨어 구성요소)을 제어할 수 있고, 다양한 데이터 처리 또는 연산을 수행할 수 있다. 일실시예에 따르면, 데이터 처리 또는 연산의 적어도 일부로서, 프로세서(120)는 다른 구성요소(예: 센서 모듈(176) 또는 통신 모듈(190))로부터 수신된 명령 또는 데이터를 휘발성 메모리(132)에 로드하고, 휘발성 메모리(132)에 저장된 명령 또는 데이터를 처리하고, 결과 데이터를 비휘발성 메모리(134)에 저장할 수 있다. 일실시예에 따르면, 프로세서(120)는 메인 프로세서(121)(예: 중앙 처리 장치 또는 어플리케이션 프로세서), 및 이와는 독립적으로 또는 함께 운영 가능한 보조 프로세서(123)(예: 그래픽 처리 장치, 이미지 시그널 프로세서, 센서 허브 프로세서, 또는 커뮤니케이션 프로세서)를 포함할 수 있다. 추가적으로 또는 대체적으로, 보조 프로세서(123)은 메인 프로세서(121)보다 저전력을 사용하거나, 또는 지정된 기능에 특화되도록 설정될 수 있다. 보조 프로세서(123)는 메인 프로세서(121)와 별개로, 또는 그 일부로서 구현될 수 있다.The
보조 프로세서(123)는, 예를 들면, 메인 프로세서(121)가 인액티브(예: 슬립) 상태에 있는 동안 메인 프로세서(121)를 대신하여, 또는 메인 프로세서(121)가 액티브(예: 어플리케이션 실행) 상태에 있는 동안 메인 프로세서(121)와 함께, 전자 장치(101)의 구성요소들 중 적어도 하나의 구성요소(예: 표시 장치(160), 센서 모듈(176), 또는 통신 모듈(190))와 관련된 기능 또는 상태들의 적어도 일부를 제어할 수 있다. 일실시예에 따르면, 보조 프로세서(123)(예: 이미지 시그널 프로세서 또는 커뮤니케이션 프로세서)는 기능적으로 관련 있는 다른 구성 요소(예: 카메라 모듈(180) 또는 통신 모듈(190))의 일부로서 구현될 수 있다.The
메모리(130)는, 전자 장치(101)의 적어도 하나의 구성요소(예: 프로세서(120) 또는 센서 모듈(176))에 의해 사용되는 다양한 데이터를 저장할 수 있다. 데이터는, 예를 들어, 소프트웨어(예: 프로그램(140)) 및, 이와 관련된 명령에 대한 입력 데이터 또는 출력 데이터를 포함할 수 있다. 메모리(130)는, 휘발성 메모리(132) 또는 비휘발성 메모리(134)를 포함할 수 있다.The
프로그램(140)은 메모리(130)에 소프트웨어로서 저장될 수 있으며, 예를 들면, 운영 체제(142), 미들 웨어(144) 또는 어플리케이션(146)을 포함할 수 있다.The
입력 장치(150)는, 전자 장치(101)의 구성요소(예: 프로세서(120))에 사용될 명령 또는 데이터를 전자 장치(101)의 외부(예: 사용자)로부터 수신할 수 있다. 입력 장치(150)은, 예를 들면, 마이크, 마우스, 또는 키보드를 포함할 수 있다.The
음향 출력 장치(155)는 음향 신호를 전자 장치(101)의 외부로 출력할 수 있다. 음향 출력 장치(155)는, 예를 들면, 스피커 또는 리시버를 포함할 수 있다. 스피커는 멀티미디어 재생 또는 녹음 재생과 같이 일반적인 용도로 사용될 수 있고, 리시버는 착신 전화를 수신하기 위해 사용될 수 있다. 일실시예에 따르면, 리시버는 스피커와 별개로, 또는 그 일부로서 구현될 수 있다.The
표시 장치(160)는 전자 장치(101)의 외부(예: 사용자)로 정보를 시각적으로 제공할 수 있다. 표시 장치(160)은, 예를 들면, 디스플레이, 홀로그램 장치, 또는 프로젝터 및 해당 장치를 제어하기 위한 제어 회로를 포함할 수 있다. 일실시예에 따르면, 표시 장치(160)는 터치를 감지하도록 설정된 터치 회로(touch circuitry), 또는 상기 터치에 의해 발생되는 힘의 세기를 측정하도록 설정된 센서 회로(예: 압력 센서)를 포함할 수 있다.The
오디오 모듈(170)은 소리를 전기 신호로 변환시키거나, 반대로 전기 신호를 소리로 변환시킬 수 있다. 일실시예에 따르면, 오디오 모듈(170)은, 입력 장치(150)를 통해 소리를 획득하거나, 음향 출력 장치(155), 또는 전자 장치(101)와 직접 또는 무선으로 연결된 외부 전자 장치(예: 전자 장치(102)) (예: 스피커 또는 헤드폰))를 통해 소리를 출력할 수 있다.The
센서 모듈(176)은 전자 장치(101)의 작동 상태(예: 전력 또는 온도), 또는 외부의 환경 상태(예: 사용자 상태)를 감지하고, 감지된 상태에 대응하는 전기 신호 또는 데이터 값을 생성할 수 있다. 일실시예에 따르면, 센서 모듈(176)은, 예를 들면, 제스처 센서, 자이로 센서, 기압 센서, 마그네틱 센서, 가속도 센서, 그립 센서, 근접 센서, 컬러 센서, IR(infrared) 센서, 생체 센서, 온도 센서, 습도 센서, 또는 조도 센서를 포함할 수 있다.The
인터페이스(177)는 전자 장치(101)이 외부 전자 장치(예: 전자 장치(102))와 직접 또는 무선으로 연결되기 위해 사용될 수 있는 하나 이상의 지정된 프로토콜들을 지원할 수 있다. 일실시예에 따르면, 인터페이스(177)는, 예를 들면, HDMI(high definition multimedia interface), USB(universal serial bus) 인터페이스, SD카드 인터페이스, 또는 오디오 인터페이스를 포함할 수 있다.The
연결 단자(178)는, 그를 통해서 전자 장치(101)가 외부 전자 장치(예: 전자 장치(102))와 물리적으로 연결될 수 있는 커넥터를 포함할 수 있다. 일실시예에 따르면, 연결 단자(178)은, 예를 들면, HDMI 커넥터, USB 커넥터, SD 카드 커넥터, 또는 오디오 커넥터(예: 헤드폰 커넥터)를 포함할 수 있다.The
햅틱 모듈(179)은 전기적 신호를 사용자가 촉각 또는 운동 감각을 통해서 인지할 수 있는 기계적인 자극(예: 진동 또는 움직임) 또는 전기적인 자극으로 변환할 수 있다. 일실시예에 따르면, 햅틱 모듈(179)은, 예를 들면, 모터, 압전 소자, 또는 전기 자극 장치를 포함할 수 있다.The
카메라 모듈(180)은 정지 영상 및 동영상을 촬영할 수 있다. 일실시예에 따르면, 카메라 모듈(180)은 하나 이상의 렌즈들, 이미지 센서들, 이미지 시그널 프로세서들, 또는 플래시들을 포함할 수 있다.The
전력 관리 모듈(188)은 전자 장치(101)에 공급되는 전력을 관리할 수 있다. 일실시예에 따르면, 전력 관리 모듈(388)은, 예를 들면, PMIC(power management integrated circuit)의 적어도 일부로서 구현될 수 있다.The
배터리(189)는 전자 장치(101)의 적어도 하나의 구성 요소에 전력을 공급할 수 있다. 일실시예에 따르면, 배터리(189)는, 예를 들면, 재충전 불가능한 1차 전지, 재충전 가능한 2차 전지 또는 연료 전지를 포함할 수 있다.The
통신 모듈(190)은 전자 장치(101)와 외부 전자 장치(예: 전자 장치(102), 전자 장치(104), 또는 서버(108))간의 직접(예: 유선) 통신 채널 또는 무선 통신 채널의 수립, 및 수립된 통신 채널을 통한 통신 수행을 지원할 수 있다. 통신 모듈(190)은 프로세서(120)(예: 어플리케이션 프로세서)와 독립적으로 운영되고, 직접(예: 유선) 통신 또는 무선 통신을 지원하는 하나 이상의 커뮤니케이션 프로세서를 포함할 수 있다. 일실시예에 따르면, 통신 모듈(190)은 무선 통신 모듈(192)(예: 셀룰러 통신 모듈, 근거리 무선 통신 모듈, 또는 GNSS(global navigation satellite system) 통신 모듈) 또는 유선 통신 모듈(194)(예: LAN(local area network) 통신 모듈, 또는 전력선 통신 모듈)을 포함할 수 있다. 이들 통신 모듈 중 해당하는 통신 모듈은 제 1 네트워크(198)(예: 블루투스, WiFi direct 또는 IrDA(infrared data association) 같은 근거리 통신 네트워크) 또는 제 2 네트워크(199)(예: 셀룰러 네트워크, 인터넷, 또는 컴퓨터 네트워크(예: LAN 또는 WAN)와 같은 원거리 통신 네트워크)를 통하여 외부 전자 장치와 통신할 수 있다. 이런 여러 종류의 통신 모듈들은 하나의 구성 요소(예: 단일 칩)으로 통합되거나, 또는 서로 별도의 복수의 구성 요소들(예: 복수 칩들)로 구현될 수 있다. 무선 통신 모듈(192)은 가입자 식별 모듈(196)에 저장된 가입자 정보(예: 국제 모바일 가입자 식별자(IMSI))를 이용하여 제 1 네트워크(198) 또는 제 2 네트워크(199)와 같은 통신 네트워크 내에서 전자 장치(101)를 확인 및 인증할 수 있다.The
안테나 모듈(197)은 신호 또는 전력을 외부(예: 외부 전자 장치)로 송신하거나 외부로부터 수신할 수 있다. 일실시예에 따르면, 안테나 모듈(197)은 하나 이상의 안테나들을 포함할 수 있고, 이로부터, 제 1 네트워크(198) 또는 제 2 네트워크(199)와 같은 통신 네트워크에서 사용되는 통신 방식에 적합한 적어도 하나의 안테나가, 예를 들면, 통신 모듈(190)에 의하여 선택될 수 있다. 신호 또는 전력은 상기 선택된 적어도 하나의 안테나를 통하여 통신 모듈(190)과 외부 전자 장치 간에 송신되거나 수신될 수 있다.The
상기 구성요소들 중 적어도 일부는 주변 기기들간 통신 방식(예: 버스, GPIO(general purpose input and output), SPI(serial peripheral interface), 또는 MIPI(mobile industry processor interface))를 통해 서로 연결되고 신호(예: 명령 또는 데이터)를 상호간에 교환할 수 있다.At least some of the components are connected to each other through a communication method (e.g., a bus, general purpose input and output (GPIO), serial peripheral interface (SPI), or mobile industry processor interface (MIPI))) between peripheral devices and signals ( E.g. commands or data) can be exchanged with each other.
일실시예에 따르면, 명령 또는 데이터는 제 2 네트워크(199)에 연결된 서버(108)를 통해서 전자 장치(101)와 외부의 전자 장치(104) 간에 송신 또는 수신될 수 있다. 전자 장치(102, 104) 각각은 전자 장치(101)와 동일한 또는 다른 종류의 장치일 수 있다. 일실시예에 따르면, 전자 장치(101)에서 실행되는 동작들의 전부 또는 일부는 외부 전자 장치들(102, 104, or 108) 중 하나 이상의 외부 장치들에서 실행될 수 있다. 예를 들면, 전자 장치(101)가 어떤 기능이나 서비스를 자동으로, 또는 사용자 또는 다른 장치로부터의 요청에 반응하여 수행해야 할 경우에, 전자 장치(101)는 기능 또는 서비스를 자체적으로 실행시키는 대신에 또는 추가적으로, 하나 이상의 외부 전자 장치들에게 그 기능 또는 그 서비스의 적어도 일부를 수행하라고 요청할 수 있다. 상기 요청을 수신한 하나 이상의 외부 전자 장치들은 요청된 기능 또는 서비스의 적어도 일부, 또는 상기 요청과 관련된 추가 기능 또는 서비스를 실행하고, 그 실행의 결과를 전자 장치(101)로 전달할 수 있다. 전자 장치(101)는 상기 결과를, 그대로 또는 추가적으로 처리하여, 상기 요청에 대한 응답의 적어도 일부로서 제공할 수 있다. 이를 위하여, 예를 들면, 클라우드 컴퓨팅, 분산 컴퓨팅, 또는 클라이언트-서버 컴퓨팅 기술이 이용될 수 있다. According to an embodiment, commands or data may be transmitted or received between the
본 문서에 발명된 다양한 실시예들에 따른 전자 장치는 다양한 형태의 장치가 될 수 있다. 전자 장치는, 예를 들면, 휴대용 통신 장치 (예: 스마트폰), 컴퓨터 장치, 휴대용 멀티미디어 장치, 휴대용 의료 기기, 카메라, 웨어러블 장치, 또는 가전 장치를 포함할 수 있다. 본 문서의 실시예에 따른 전자 장치는 전술한 기기들에 한정되지 않는다.Electronic devices according to various embodiments of the present disclosure may be devices of various types. The electronic device may include, for example, a portable communication device (eg, a smart phone), a computer device, a portable multimedia device, a portable medical device, a camera, a wearable device, or a home appliance. The electronic device according to the embodiment of the present document is not limited to the above-described devices.
본 문서의 다양한 실시예들 및 이에 사용된 용어들은 본 문서에 기재된 기술적 특징들을 특정한 실시예들로 한정하려는 것이 아니며, 해당 실시예의 다양한 변경, 균등물, 또는 대체물을 포함하는 것으로 이해되어야 한다. 도면의 설명과 관련하여, 유사한 또는 관련된 구성요소에 대해서는 유사한 참조 부호가 사용될 수 있다. 아이템에 대응하는 명사의 단수 형은 관련된 문맥상 명백하게 다르게 지시하지 않는 한, 상기 아이템 한 개 또는 복수 개를 포함할 수 있다. 본 문서에서, "A 또는 B", "A 및 B 중 적어도 하나", "A 또는 B 중 적어도 하나,""A, B 또는 C," "A, B 및 C 중 적어도 하나,"및 "A, B, 또는 C 중 적어도 하나"와 같은 문구들 각각은 그 문구들 중 해당하는 문구에 함께 나열된 항목들의 모든 가능한 조합을 포함할 수 있다. "제 1", "제 2", 또는 "첫째" 또는 "둘째"와 같은 용어들은 단순히 해당 구성요소를 다른 해당 구성요소와 구분하기 위해 사용될 수 있으며, 해당 구성요소들을 다른 측면(예: 중요성 또는 순서)에서 한정하지 않는다. 어떤(예: 제 1) 구성요소가 다른(예: 제 2) 구성요소에, "기능적으로" 또는 "통신적으로"라는 용어와 함께 또는 이런 용어 없이, "커플드" 또는 "커넥티드"라고 언급된 경우, 그것은 상기 어떤 구성요소가 상기 다른 구성요소에 직접적으로(예: 유선으로), 무선으로, 또는 제 3 구성요소를 통하여 연결될 수 있다는 것을 의미한다.Various embodiments of the present document and terms used therein are not intended to limit the technical features described in this document to specific embodiments, and should be understood to include various modifications, equivalents, or substitutes of the corresponding embodiments. In connection with the description of the drawings, similar reference numerals may be used for similar or related components. The singular form of a noun corresponding to an item may include one or a plurality of the items unless clearly indicated otherwise in a related context. In this document, “A or B”, “at least one of A and B”, “at least one of A or B,” “A, B or C,” “at least one of A, B and C,” and “A Each of the phrases such as "at least one of B, or C" may include all possible combinations of items listed together in the corresponding phrase among the phrases. Terms such as "first", "second", or "first" or "second" may be used simply to distinguish the component from other corresponding components, and the components may be referred to in other aspects (eg, importance or Order) is not limited. Some (eg, a first) component is referred to as “coupled” or “connected” with or without the terms “functionally” or “communicatively” to another (eg, second) component. When mentioned, it means that any of the above components can be connected to the other components directly (eg by wire), wirelessly, or via a third component.
본 문서에서 사용된 용어 "모듈"은 하드웨어, 소프트웨어 또는 펌웨어로 구현된 유닛을 포함할 수 있으며, 예를 들면, 로직, 논리 블록, 부품, 또는 회로 같은 용어와 상호 호환적으로 사용될 수 있다. 모듈은, 일체로 구성된 부품 또는 하나 또는 그 이상의 기능을 수행하는, 상기 부품의 최소 단위 또는 그 일부가 될 수 있다. 예를 들면, 일실시예에 따르면, 모듈은 ASIC(application-specific integrated circuit)의 형태로 구현될 수 있다.The term "module" used in this document may include a unit implemented by hardware, software, or firmware, and may be used interchangeably with terms such as logic, logic blocks, parts, or circuits. The module may be an integrally configured component or a minimum unit of the component or a part thereof that performs one or more functions. For example, according to an embodiment, the module may be implemented in the form of an application-specific integrated circuit (ASIC).
본 문서의 다양한 실시예들은 기기(machine)(예: 전자 장치(101)) 의해 읽을 수 있는 저장 매체(storage medium)(예: 내장 메모리(136) 또는 외장 메모리(138))에 저장된 하나 이상의 명령어들을 포함하는 소프트웨어(예: 프로그램(140))로서 구현될 수 있다. 예를 들면, 기기(예: 전자 장치(101))의 프로세서(예: 프로세서(120))는, 저장 매체로부터 저장된 하나 이상의 명령어들 중 적어도 하나의 명령을 호출하고, 그것을 실행할 수 있다. 이것은 기기가 상기 호출된 적어도 하나의 명령어에 따라 적어도 하나의 기능을 수행하도록 운영되는 것을 가능하게 한다. 상기 하나 이상의 명령어들은 컴파일러에 의해 생성된 코드 또는 인터프리터에 의해 실행될 수 있는 코드를 포함할 수 있다. 기기로 읽을 수 있는 저장매체 는, 비일시적(non-transitory) 저장매체의 형태로 제공될 수 있다. 여기서, '비일시적'은 저장매체가 실재(tangible)하는 장치이고, 신호(signal)(예: 전자기파)를 포함하지 않는다는 것을 의미할 뿐이며, 이 용어는 데이터가 저장매체에 반영구적으로 저장되는 경우와 임시적으로 저장되는 경우를 구분하지 않는다.Various embodiments of the present document include one or more instructions stored in a storage medium (eg,
일실시예에 따르면, 본 문서에 발명된 다양한 실시예들에 따른 방법은 컴퓨터 프로그램 제품(computer program product)에 포함되어 제공될 수 있다. 컴퓨터 프로그램 제품은 상품으로서 판매자 및 구매자 간에 거래될 수 있다. 컴퓨터 프로그램 제품은 기기로 읽을 수 있는 저장 매체(예: compact disc read only memory (CD-ROM))의 형태로 배포되거나, 또는 어플리케이션 스토어(예: 플레이 스토어TM)를 통해 또는 두개의 사용자 장치들(예: 스마트폰들) 간에 직접, 온라인으로 배포(예: 다운로드 또는 업로드)될 수 있다. 온라인 배포의 경우에, 컴퓨터 프로그램 제품의 적어도 일부는 제조사의 서버, 어플리케이션 스토어의 서버, 또는 중계 서버의 메모리와 같은 기기로 읽을 수 있는 저장 매체에 적어도 일시 저장되거나, 임시적으로 생성될 수 있다.According to an embodiment, the method according to various embodiments of the present disclosure may be provided by being included in a computer program product. Computer program products can be traded between sellers and buyers as commodities. Computer program products are distributed in the form of a device-readable storage medium (e.g., compact disc read only memory (CD-ROM)), or through an application store (e.g., Play StoreTM ) or two user devices ( It can be distributed (e.g., downloaded or uploaded) directly between, e.g. smartphones). In the case of online distribution, at least a portion of the computer program product may be temporarily stored or temporarily generated in a storage medium that can be read by a device such as a server of a manufacturer, a server of an application store, or a memory of a relay server.
다양한 실시예들에 따르면, 상기 기술한 구성요소들의 각각의 구성요소(예: 모듈 또는 프로그램)는 단수 또는 복수의 개체를 포함할 수 있다. 다양한 실시예들에 따르면, 전술한 해당 구성요소들 중 하나 이상의 구성요소들 또는 동작들이 생략되거나, 또는 하나 이상의 다른 구성요소들 또는 동작들이 추가될 수 있다. 대체적으로 또는 추가적으로, 복수의 구성요소들(예: 모듈 또는 프로그램)은 하나의 구성요소로 통합될 수 있다. 이런 경우, 통합된 구성요소는 상기 복수의 구성요소들 각각의 구성요소의 하나 이상의 기능들을 상기 통합 이전에 상기 복수의 구성요소들 중 해당 구성요소에 의해 수행되는 것과 동일 또는 유사하게 수행할 수 있다. 다양한 실시예들에 따르면, 모듈, 프로그램 또는 다른 구성요소에 의해 수행되는 동작들은 순차적으로, 병렬적으로, 반복적으로, 또는 휴리스틱하게 실행되거나, 상기 동작들 중 하나 이상이 다른 순서로 실행되거나, 생략되거나, 또는 하나 이상의 다른 동작들이 추가될 수 있다.According to various embodiments, each component (eg, module or program) of the above-described components may include a singular number or a plurality of entities. According to various embodiments, one or more components or operations among the above-described corresponding components may be omitted, or one or more other components or operations may be added. Alternatively or additionally, a plurality of components (eg, a module or a program) may be integrated into one component. In this case, the integrated component may perform one or more functions of each component of the plurality of components in the same or similar to that performed by the corresponding component among the plurality of components prior to the integration. . According to various embodiments, operations performed by a module, program, or other component are sequentially, parallel, repeatedly, or heuristically executed, or one or more of the above operations are executed in a different order or omitted. Or one or more other actions may be added.
도 2a는 본 개시의 다양한 실시예 중 하나에 따른 전자 장치를 나타내는 정면도이다. 도 2b는 본 개시의 다양한 실시예 중 하나에 따른 전자 장치를 다른 방향에서 바라본 모습을 나타내는 배면도이다.2A is a front view illustrating an electronic device according to one of various embodiments of the present disclosure. 2B is a rear view illustrating an electronic device according to one of various embodiments of the present disclosure as viewed from a different direction.
본 개시의 다양한 실시 예에 따른 전자 장치는, 이동통신 단말기와 같은 휴대용 전자 장치나 사용자의 신체에 착용 가능한 웨어러블 전자 장치일 수 있다. 본 개시의 다양한 실시 예에 따른 전자 장치를 스마트 시계(smart watch)로 예를 들어 설명하기로 한다.An electronic device according to various embodiments of the present disclosure may be a portable electronic device such as a mobile communication terminal or a wearable electronic device wearable on a user's body. An electronic device according to various embodiments of the present disclosure will be described as an example as a smart watch.
도 2a 및 도 2b를 참조하면, 본 개시의 다양한 실시 예에 따른 전자 장치(101)는 투명 플레이트(transparent plate)(311)을 포함하는 하우징(310), 베젤(320) 및 탈착부(330)를 포함할 수 있다. 본 발명의 다양한 실시 예를 설명하기 위해 기재된 "제 1 방향"은 투명 플레이트(311)의 일면으로부터 수직한 방향을 의미할 수 있고, "제 2 방향"은 상기 "제 1 방향"의 반대 방향을 의미할 수 있다.2A and 2B, an
다양한 실시예에 따르면, 상기 하우징(310)은 상기 제 1 방향으로 향하는 제 1 면(313)과 상기 제 1 방향의 반대인 제 2 방향으로 향하는 제 2 면(315)을 포함할 수 있다. 또 다른 예로, 상기 하우징(310)의 제 1 면(313)은 제 1 방향, 및 상기 제 1 방향과 상기 제 2 방향 사이의 방향을 향해 지정된 경사를 향하도록 배치될 수 있으며, 상기 하우징(310)의 제 2 면(315)은 제 2 방향, 및 상기 제 1 방향과 상기 제 2 방향 사이의 방향을 향해 지정된 경사를 향하도록 배치될 수 있다.상기 하우징(310)은 전면이 개방될 수 있으며, 상기 투명 플레이트(311)가 상기 하우징(310)의 전면에 해당하는 상기 제 1 면(313)의 적어도 일부를 형성하도록 장착되어, 상기 하우징(310)의 개방된 상기 제 1 면(313)을 폐쇄할 수 있다. 상기 제 1 면(313) 및 제 2 면(315)은 플레이트 형상으로 가장자리 부분에 굴곡면을 포함할 수 있다. 상기 하우징(310)의 제 2 면(315)은 하우징 내부에 배치된 광학 소자부(예: 발광부 및/또는 수광부)에서 발생하는 광이 외부로 방출되도록 적어도 하나의 투명 영역(315a)을 포함할 수 있다.According to various embodiments, the
다양한 실시예에 따르면, 상기 하우징(310)의 내부에는 각종 회로 장치들, 예컨대, 도 1에 전술한 바 있는 프로세서(120)(예: 어플리케이션 프로세서(application processor: AP)), 메모리(130), 인터페이스(150)(예: 입출력 인터페이스, 통신 인터페이스)가 수용될 수 있으며, 또한, 내부로 배터리(미도시)를 수용함으로써 전원을 확보할 수 있다.According to various embodiments, the
다양한 실시예에 따르면, 상기 하우징(310)의 적어도 일부는 금속 재질로 이루어질 수 있다. 예를 들어, 상기 하우징(310)의 테두리는 금속 재질로 이루어지고, 상기 하우징(310)의 테두리 이외의 다른 부분은 플라스틱 재질로 이루어질 수 있다.According to various embodiments, at least a part of the
다양한 실시예에 따르면, 상기 투명 플레이트(311)은 상기 하우징(310)의 상기 제 1 면(313)에 배치될 수 있다. 상기 투명 플레이트(311)은 투명한 소재, 예를 들면, 유리나 수지(예: 아크릴, 폴리카보네이트)로 제작되어 디스플레이 장치(도 1의 표시 장치(160))로부터 출력되는 화면을 구현할 수 있다. 예를 들면, 상기 투명 플레이트(311)에는 아날로그 시계 형태의 화면이 출력될 수 있다.According to various embodiments, the
다양한 실시예에 따르면, 상기 베젤(320)은 상기 투명 플레이트(311)의 테두리에 배치될 수 있다. 상기 베젤(320)은 상기 투명 플레이트(311)의 테두리를 따라 회전할 수 있다. 예를 들어, 상기 베젤(320)은 하우징(310)에 대한 상대적 회전이 가능하게 결합할 수 있다. 상기 베젤(320)은 금속 재질로 이루어져 상기 전자 장치(101)의 외관을 미려하게 할 수 있다. 본 발명의 일 실시 예에 따르면, 상기 베젤(320)이 금속 재질로 이루어진 경우, 안테나 방사체로 활용될 수 있다.According to various embodiments, the
다양한 실시예에 따르면, 상기 탈착부(330)는 상기 하우징(310)의 양 끝단로부터 각각 서로 멀어지는 방향으로 연장되어 돌출되도록 배치될 수 있다. 상기 탈착부(330)는 사용자의 손목에 착용하도록 배치된 착용부(미도시)(예를 들어, 손목 밴드(band))와 결합할 수 있다. 상기 탈착부(330)는 상기 착용부와 맞물리는 결속 홈이 형성되며, 상기 결속 홈은 상기 하우징(310)의 측면에 복수로 형성되거나, 상기 하우징(310)의 둘레를 따라 연장된 폐곡선 형상일 수 있다. 상기 착용부는 다양한 형태(예를 들어, 고무 재질, 플라스틱, 금속)으로 구성될 수 있으며, 상기 다양한 종류의 착용부를 사용자의 기호에 따라, 전자 장치(101)의 탈착부(330)에 탈착할 수 있어, 전자 장치의 외관을 미려하게 할 수 있다.According to various embodiments, the
도 3은 본 개시의 다양한 실시 예 중 하나에 따른 전자 장치의 내부 구조를 나타낸 분해 사시도이다.3 is an exploded perspective view illustrating an internal structure of an electronic device according to one of various embodiments of the present disclosure.
도 3에서, 3축 직교 좌표계의 'X'는 상기 전자 장치(101)의 폭 방향, 'Y'는 상기 전자 장치(101)의 길이 방향, 'Z'는 상기 전자 장치(101)의 두께 방향을 의미할 수 있다.In FIG. 3,'X' of the 3-axis Cartesian coordinate system is the width direction of the
도 3을 참조하면, 본 개시의 다양한 실시 예 중 하나에 따른 전자 장치(101)는 하우징(310), 베젤(320), 디스플레이(340), 전자 부품(350), 메인 회로 기판(360), 브라켓(380), 배터리 및 생체 센서(370)를 포함할 수 있다. 도 3에 개시된 상기 전자 장치(101)의 하우징(310) 및/또는 베젤(320)의 구조는, 도 2a 및 도 2b에 개시된 하우징(310), 및/또는 베젤(320)의 구조와 일부 또는 전부가 동일할 수 있다.Referring to FIG. 3, an
다양한 실시예에 따르면, 상기 하우징(310)은 상기 디스플레이(340), 상기 메인 회로 기판(360), 상기 전자 부품(350) 및/또는 생체 센서(370)와 같은 각종 전자 부품들을 수용할 수 있다. 상기 하우징(310)의 일부분, 예를 들면, 상기 하우징(310)의 측면은 적어도 부분적으로 무선 신호 또는 자기장을 투과하는 물질로 제작될 수 있다.According to various embodiments, the
다양한 실시예에 따르면, 상기 디스플레이(340)는 투명 플레이트(예: 도 3a의 투명 플레이트(311))의 제 2 방향(-Z축 방향) 상에 결합될 수 있다. 상기 디스플레이(340)는 상기 투명 플레이트(311)를 통하여 외부로 이미지 정보(예: 사진, 동영상)를 표시할 수 있고, 사용자의 조작에 따라 다양한 어플리케이션(예: 게임, 인터넷 뱅킹, 일정 관리)의 실행 화면을 출력할 수 있다.According to various embodiments, the
다양한 실시예에 따르면, 상기 디스플레이(340)는, 액정 디스플레이(LCD), 발광 다이오드(LED) 디스플레이, 유기 발광 다이오드(OLED) 디스플레이, 또는 마이크로 전자기계 시스템(microelectromechanical system: MEMS) 디스플레이, 또는 전자 종이(electronic paper) 디스플레이를 포함할 수 있다. 상기 디스플레이(340)는 터치 스크린 패널이 일체로 구비되어, 터치 스크린 기능을 수행할 수 있다. 본 발명의 다양한 실시 예에 따르면, 상기 디스플레이(340)는 내측 또는 외측면에는 안테나 방사체가 실장되어, 무선 통신 기능을 수행할 수 있다.According to various embodiments, the
다양한 실시예에 따르면, 상기 디스플레이(340)는 디스플레이 회로 기판(341)과 연결될 수 있으며, 상기 디스플레이 회로 기판(341)은 상기 하우징(310) 내측으로 벤딩되어 연장될 수 있다. 상기 디스플레이 회로 기판(341)은 상기 메인 회로 기판(360)과 전기적으로 연결되어 디스플레이(340)를 구동하기 위한 전기적인 신호를 전달할 수 있다.According to various embodiments, the
다양한 실시예에 따르면, 상기 메인 회로 기판(360)은 배터리(미도시)와 대면되도록 배치될 수 있다. 상기 메인 회로 기판(360)은 프로세서, 통신 모듈가 집적회로 칩 형태로 장착될 수 있다. 상기 메인 회로 기판(360)은 상기 배터리와 전기적으로 연결될 수 있다. 본 발명의 다양한 실시 예에 따르면, 상기 메인 회로 기판(360)은 커넥터를 통해 상기 안테나 방사체를 포함하는 전자 부품(350)과 전기적으로 연결될 수 있다.According to various embodiments, the
다양한 실시예에 따르면, 상기 전자 부품(350)은 메인 회로 기판(360) 상에 배치되며, 안테나 방사체 및/또는 무선 충전 안테나를 포함할 수 있다. 일 실시예에 따른, 상기 안테나 방사체는 마그네틱 보안 전송(Magnetic Secure Transmission; MST) 방식으로 무선 신호를 송수신할 수 있다. 예를 들면, 상기 안테나 방사체는 MST 안테나일 수 있다. 또 다른 예로, 상기 안테나 방사체는 근접 무선 통신(NFC; near field communication) 방식으로 무선 신호를 송수신하는 NFC 안테나일 수 있다. 상기 안테나 방사체 주위에는 차폐 구조를 배치하여, 센서 모듈과 같은, 다른 전자 부품간의 신호 간섭을 차단할 수 있다.According to various embodiments, the
다양한 실시예에 따르면, 상기 무선 충전 안테나는 상기 메인 회로 기판(360)의 일면에 부착될 수 있다. 상기 무선 충전 안테나는 평판형 코일 형태로 이루어질 수 있다. 상기 무선 충전 안테나는 도전성 재질로 이루어져, 상기 메인 회로 기판(360)과 전기적으로 연결될 수 있다. 상기 무선충전 안테나는 외부의 전자 장치로부터 발생된 전자기 유도에 의해 전류를 발생시킬 수 있다. 상기 무선 충전 안테나에서 발생된 전류는 상기 메인 회로 기판(360)을 통해 상기 배터리(미도시)를 충전시킬 수 있다.According to various embodiments, the wireless charging antenna may be attached to one surface of the
다양한 실시예에 따르면, 상기 메인 회로 기판(360)과 상기 배터리 사이에는 방열 구조(미도시)가 구비될 수 있다. 예를 들면, 상기 방열 구조는 상기 메인 회로 기판(360)에서 발생되는 열을 전달받아, 상기 메인 회로 기판(360)이 과열되는 것을 방지할 수 있다. 다양한 실시예에 따른, 상기 메인 회로 기판(360) 및 제 2 면(315) 사이에는 차폐 구조(390)가 배치될 수 있다. 상기 차폐 구조(390)는 상기 메인 회로 기판(360) 상의 전자 부품과 생체 센서(370) 사이를 차폐하여 상호간 간섭을 방지할 수 있다.According to various embodiments, a heat dissipation structure (not shown) may be provided between the
다양한 실시예에 따르면, 상기 하우징(310)의 제 2 방향(-Z축 방향) 상으로 형성된 제 2 면(315)은 상기 하우징(310)의 후면 커버를 형성할 수 있다. 상기 후면 커버는 유리 재질로 이루어질 수 있다. 상기 후면 커버는 신체의 일부(예: 손목)에 접촉할 수 있다. 본 발명의 다양한 실시 예에 따르면, 상기 후면 커버는 유리 재질로 이루어진 것에 한정되지 않고, 투명한 강화 플라스틱과 같은 투명한 소재로 이루어질 수 있다. 상기 후면 커버는 중심 영역에 생체 센서(370)의 센싱 동작을 위한 투명한 판으로 구성되고, 그 이외의 영역은 불투명한 판으로 구성될 수 있다. 상기 후면 커버는 내부 광학 소자부에서 발생하는 광이 외부로 방출되도록 적어도 하나의 투명 영역(315a)을 포함할 수 있다.According to various embodiments, the
다양한 실시예에 따르면, 상기 생체 센서(370)는 상기 메인 회로 기판(360) 및 상기 제 2 면(315) 사이에 배치되어 사용자의 생체 정보를 센싱할 수 있다. 예를 들면, 상기 생체 센서(370)는 심박 측정 장치(HRM; heart Rate monitoring)를 포함할 수 있다. 상기 생체 센서(370)는 신체의 피부 내의 혈관 내의 혈액량의 변화에 따른 빛의 반사에 의한 혈관 수축/팽창을 감지할 수 있다. 상기 프로세서(예: 도 1의 프로세서(120))는 상기 생체 센서(370)의 전기적인 신호를 전달받아 심장박동을 계산할 수 있다.According to various embodiments, the
도 4는 본 개시의 다양한 실시예에 따른, 전자 장치의 일 영역의 적층 구조를 나타낸 분해 사시도이다. 도 5a 및 도 5b는 본 개시의 다양한 실시예에 따른, 전자 장치의 일 영역을 나타낸 사시도이다.4 is an exploded perspective view illustrating a stacked structure of an area of an electronic device according to various embodiments of the present disclosure. 5A and 5B are perspective views illustrating an area of an electronic device according to various embodiments of the present disclosure.
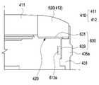
다양한 실시예에 따르면, 상기 전자 장치(101)(예: 도 1 내지 도 3의 전자 장치(101))의 일 영역은 상단 구조(410), 플렉서블 인쇄회로기판(420)(FPCB), 하단 구조(430)를 포함할 수 있다.According to various embodiments, one area of the electronic device 101 (for example, the
도 4의 상단 구조(410)는 도 2a 내지 3의 투명 플레이트(311), 베젤부(320), 하우징(310)의 제 1 면(313), 디스플레이(340)의 구조와 일부 또는 전부가 동일할 수 있다. 도 4의 하단 구조(430)는 도 2a 내지 3의 브라켓(380) 및 하우징(310)의 제 2 면(315)의 구조와 일부 또는 전부가 동일할 수 있다.The
다양한 실시예에 따르면, 상기 상단 구조(410)는 중심 영역에 배치된 디스플레이 조립체(411), 상기 디스플레이 조립체(411)의 가장자리를 따라 배치된 베젤부(412)를 포함할 수 있다. 상기 디스플레이 조립체(411)는 전자 장치(101)의 활성 영역이며, 상기 베젤부(412)는 전자 장치(101)의 비활성 영역일 수 있다. 상기 비활성 영역 하부에는 상기 디스플레이 조립체(411)로부터 연장된 일부 구성, 내부 전자 부품, 신호 라인 또는 회로 라인들이 배치될 수 있으며, 상기 베젤부(412)는 이들이 외부로 노출되지 않도록 불투명한 재질의 비도전성 물질로 도포될 수 있다.According to various embodiments, the
일 실시예에 따르면, 상기 디스플레이 조립체(411)는 이미지 및/또는 영상을 제공하는 디스플레이 및 이를 커버하는 투명 플레이트를 포함할 수 있다. 일 실시예에 따르면, 상기 베젤부(412)는 적어도 하나의 전극(510, 또는 520)을 포함하고, 상기 적어도 하나의 전극(510, 또는 520)은 사용자의 신체 접촉에 의한 정보를 플렉서블 인쇄회로기판(420)으로 전달할 수 있다.According to an embodiment, the
도 5a를 참조하면, 상기 베젤부(예: 도 4의 베젤부(412))는 하나의 전극(510)으로 구성될 수 있다. 상기 하나의 전극(510)은 상기 디스플레이 조립체(411)의 가장자리를 따라 지정된 두께를 형성하며 배치될 수 있다. 예를 들어, 상기 하나의 전극(510)은 원형의 디스플레이 조립체(411)의 가장자리와 접하면서 폐쇄된 루프(closed loop) 또는 휠(wheel) 형상으로 구현될 수 있다. 또 다른 예로, 상기 하나의 전극(510)은 디자인적 미려감과 사용자의 접촉을 용이하게 하기 위하여 상단부의 내측에서 외측으로 향할수록 하단으로 심리스한 굴곡면을 형성할 수 있다. 일 실시예에 따르면, 상기 하나의 전극(510)은 금속 전극 또는 투명 전극을 포함할 수 있다.Referring to FIG. 5A, the bezel part (for example, the
도 5b를 참조하면, 상기 베젤부(예: 도 4의 베젤부(412))는 복수 개의 전극들(520) 및 분절부(530)를 포함할 수 있다. 예를 들어, 상기 복수 개의 전극들(520)은 제 1 전극(521), 상기 제 1 전극(521)과 대응되는 형상을 가지는 제 2 전극(522)을 포함할 수 있다. 또 다른 예로, 상기 복수 개의 전극들(520) 사이에는 분절부(530)가 배치될 수 있다.Referring to FIG. 5B, the bezel part (for example, the
일 실시예에 따르면, 상기 제 1 전극(521) 및 상기 제 2 전극(522)은 상기 디스플레이 조립체(411)의 가장자리를 따라 지정된 두께를 형성하며 배치될 수 있다. 예를 들어, 상기 제 1 전극(521)은 원형의 디스플레이 조립체(411)의 일부(예: 반원 형상)의 가장자리에 접하도록 배치되고, 곡면을 포함하며 일측이 개방된 형상으로 구현될 수 있다. 상기 제 2 전극(522)은 원형의 디스플레이 조립체(411)의 다른 부분(예: 반원 형상)의 가장자리와 접하면서 곡면을 포함하고 일측이 개방된 형상으로 구현될 수 있다. 상기 제 1 전극(521)과 상기 제 2 전극(522)은 상기 분절부(530)를 기준으로 서로 대응되는 형상으로 구현될 수 있다. 또 다른 예로, 상기 제 1 전극(521), 제 2 전극(522) 및 분절부(530)는 하나의 폐쇄된 루프(closed loop) 또는 휠(wheel) 형상으로 구현될 수 있다.According to an embodiment, the
일 실시예에 따르면, 상기 제 1 전극(521) 및 제 2 전극(522)은 디자인적 미려감과 사용자의 접촉을 용이하게 하기 위하여 내측에서 외측으로 향할수록 하단으로 심리스한 굴곡면을 형성할 수 있다. 상기 제 1 전극(521) 및 제 2 전극(522)은 금속 전극 또는 투명 전극을 포함할 수 있다. 상기 제 1 전극(521) 및 제 2 전극(522)은 서로 같은 극성을 가지거나 서로 다른 극성을 가질 수 있다. 상기 복수 개의 전극을 형성하는 방법에 있어서, 폐쇄된 루프(closed loop) 또는 휠(wheel) 형상의 하나의 전극을 레이저를 통한 분리 또는 절개 방법을 사용할 수 있다.According to an embodiment, the
일 실시예에 따르면, 상기 분절부(530)는 상기 제 1 전극(521) 및 제 2 전극(522) 사이에 배치될 수 있다. 예를 들어, 상기 분절부(530)는 상기 제 1 전극(521) 및 상기 제 2 전극(522)은 각각 일단 및/또는 타단에서 서로 대면 배치될 수 있다. 일 실시예에 따르면, 상기 분절부(530)는 상기 제 1 전극(521)과 상기 제 2 전극(522)를 분리시키기 위해 적어도 두 개로 구성될 수 있다. 또 다른 예로, 상기 분절부(530)는 절연 또는 방수 물질을 포함하거나, 상기 제 1 전극(521) 및 제 2 전극(522)을 접착시키기 위한 테이프(tape) 또는 본딩(bonding)과 같은 접착 물질을 포함할 수 있다.According to an embodiment, the
일 실시예에 따르면, 상기 제 1 전극(521) 및 제 2 전극(522)은 ECG(electrocardiogram) 전극으로 구성할 수 있다. 예를 들어, 상기 제 1 전극(521)에 사용자의 제 1 피부 영역이 접촉시, 상기 접촉 정보를 상기 제 1 전극(512) 하부에 배치된 포스 센서들(예: 도 6b의 제 1-1 포스 센서(611a), 제 1-3 포스 센서(611c))에 전달하고, 상기 제 2 전극(522)에 사용자의 제 2 피부 영역이 접촉시, 상기 접촉 정보를 상기 제 2 전극(522) 하부에 배치된 포스 센서들(예: 도 6b의 제 1-2 포스 센서(611b), 제 1-4 포스 센서(611d))에 전달할 수 있다. 상기 사용자의 제 1 피부 영역 및 제 2 피부 영역이 동시에 접촉되었음이 감지되면, 프로세서는 상기 제 1 전극(521) 및 제 2 전극(522)으로 전류를 전달함으로써, 사용자의 ECG(electrocardiogram)를 측정할 수 있다.According to an embodiment, the
본 개시의 일 실시예에서, 하나 또는 두 개의 전극을 포함하는 베젤부를 나타내었으나, 이에 한정된 것은 아니며, 세 개 이상의 전극과 각각의 전극 사이를 분리하는 분절부를 포함하는 베젤부로 설계 변경할 수 있다.In an exemplary embodiment of the present disclosure, a bezel part including one or two electrodes is shown, but the design is not limited thereto, and the design may be changed to a bezel part including three or more electrodes and a segmented part separating each electrode.
도 4, 도 5a 및 도 5b 를 참조하면, 다양한 실시예에 따르면, 상기 플렉서블 인쇄회로기판(420)(FPCB)은 상기 상단 구조(410)의 베젤부(412)와 상기 브라켓(431) 사이에 배치될 수 있다. 상기 플렉서블 인쇄회로기판(420)은 상기 베젤부(412)의 형상에 대응하고, 상기 베젤부(412)의 적어도 하나의 전극(510, 또는 520)과 전기적으로 연결될 수 있다. 예를 들어, 상기 플렉서블 인쇄회로기판(420)은 실질적으로 하나의 폐쇄된 루프(closed loop) 또는 휠(wheel) 형상으로 마련될 수 있다. 또 다른 예로, 상기 플렉서블 인쇄회로기판(420)은 일측이 연장되어 전자 장치 내의 메인 회로기판(예: 도 3의 메인 회로기판(360))과 전기적으로 연결될 수 있다.4, 5A, and 5B, according to various embodiments, the flexible printed circuit board 420 (FPCB) is between the
일 실시예에 따르면, 상기 플렉서블 인쇄회로기판(420)은 적어도 하나의 포스 센서(610), 및 도전성 부재(620)를 포함할 수 있다. 상기 적어도 하나의 포스 센서(610)는 상기 적어도 하나의 전극(510, 또는 520) 하부에 배치되어, 상기 전극(510, 또는 520)으로부터 전달된 사용자의 생체 정보를 센싱할 수 있다. 상기 도전성 부재(620)는 상기 전극(510, 또는 520)을 상기 플렉서블 인쇄회로기판(420)에 고정시키고, 전기적 접촉을 제공할 수 있다.According to an embodiment, the flexible printed
다양한 실시예에 따르면, 상기 하단 구조(430)는 브라켓(431)이거나, 상기 브라켓(431)과 리어(예: 도 3의 하우징(310)의 제 2 면(315))가 결합된 구조일 수 있다. 이하, 브라켓(431)을 중심으로 설명한다.According to various embodiments, the
일 실시예에 따르면, 상기 브라켓(431)은 상기 상단 구조(410) 하부에 배치되고, 상기 플렉서블 인쇄회로기판(420)이 안착되는 공간을 제공할 수 있다. 상기 브라켓(431)은 전자 장치의 외측면을 구성하며, 상기 상단 구조(410)와 결합할 수 있다. 예를 들어, 상기 상단 구조(410)의 적어도 일부(예: 베젤부(412)의 일측)이 상기 브라켓(431) 내측으로 삽입되어, 상단 구조(410)를 고정시킬 수 있다.According to an embodiment, the
일 실시예에 따르면, 상기 브라켓(431)은 메인 회로기판(예: 도 3의 메인 회로기판(360)), 배터리(미도시)와 같은 부품이 실장되는 제 1 영역(433) 및 상기 플렉서블 인쇄회로기판(420)이 실장되는 제 2 영역(434)을 포함할 수 있다. 상기 제 1 영역(433)은 브라켓(431)의 중심부에 형성된 공간이며, 상기 제 2 영역(434)은 상기 플렉서블 인쇄회로기판(420)의 형상에 대응되도록, 하나의 폐쇄된 루프(closed loop) 또는 휠(wheel) 형상의 리세스일 수 있다.According to an embodiment, the
일 실시예에 따르면, 상기 브라켓(431)은 측면으로 적어도 하나의 입력 키 역할을 제공하는 돌출부(435)를 포함할 수 있다. 상기 돌출부(435)는 외측 방향으로 돌출되어, 사용자의 힘에 의해 가압 가능한 구조이거나, 내측에 배치된 포스 센서에 의해 사용자의 힘을 감지하는 구조일 수 있다.According to an embodiment, the
도 6a 및 도 6b는 본 개시의 다양한 실시예에 따른, 전자 장치 내에 안착된 플렉서블 인쇄회로기판을 나타낸 정면도이다. 도 7은 도 6b의 플렉서블 인쇄회로기판을 A-A'로 절단한 단면도이다. 도 8은 도 6b의 플렉서블 인쇄회로기판을 B-B'로 절단한 단면도이다.6A and 6B are front views illustrating a flexible printed circuit board mounted in an electronic device according to various embodiments of the present disclosure. 7 is a cross-sectional view taken along line A-A' of the flexible printed circuit board of FIG. 6B. FIG. 8 is a cross-sectional view of the flexible printed circuit board of FIG. 6B taken along line B-B'.
다양한 실시예에 따르면, 상기 전자 장치(101)(예: 도 1 내지 도 3의 전자 장치(101))의 일 영역은 상단 구조(410)(예: 도 4의 상단 구조(410)), 플렉서블 인쇄회로기판(420)(FPCB), 하단 구조의 브라켓(431)(예: 도 4의 브라켓(431))을 포함할 수 있다.According to various embodiments, one area of the electronic device 101 (eg, the
도 6a 내지 도 8의 상단 구조(예: 도 7,8의 상단 구조(410)), 플렉서블 인쇄회로기판(420), 포스 센서(예: 도 6a, 6b의 포스 센서(610)), 디스플레이 조립체(예: 도 7,8의 디스플레이 조립체(411)), 및 브라켓(예: 도 6a, 6b의 브라켓(431))의 구성은 도 4 내지 5b의 상단 구조(410), 플렉서블 인쇄회로기판(420), 포스 센서(610), 디스플레이 조립체(411), 및 브라켓(431)의 구조와 일부 또는 전부가 동일할 수 있다.The top structure of FIGS. 6A to 8 (eg, the
도 6a 내지 도 8을 참조하면, 다양한 실시예에 따르면, 상기 플렉서블 인쇄회로기판(420)은 상기 상단 구조의 베젤부(412)(예: 도 4의 베젤부(412))와 상기 브라켓(431) 사이에 배치될 수 있다. 상기 플렉서블 인쇄회로기판(420)은 상기 베젤부(412)의 형상에 대응하고, 상기 베젤부(412)의 전극(예: 도 5a, 5b의 전극(510, 또는 520)) 및 메인 회로기판(예: 도 3의 메인 회로기판(360))과 전기적으로 연결될 수 있다. 예를 들어, 상기 플렉서블 인쇄회로기판(420)은 실질적으로 하나의 폐쇄된 루프(closed loop) 또는 휠(wheel) 형상으로 마련되며, 일 영역에 실장된 도전성 부재(620)를 통해 적어도 하나의 전극과 전기적으로 연결될 수 있다. 또 다른 예로, 상기 플렉서블 인쇄회로기판(420)은 일측이 연장되어, 전자 장치 내의 메인 회로기판(360)과 전기적으로 연결될 수 있다.6A to 8, according to various embodiments, the flexible printed
일 실시예에 따르면, 상기 플렉서블 인쇄회로기판(420)은 전자 부품이 실장 가능한 기판(630)과 상기 기판(630) 상에 배치된 복수 개의 포스 센서들(610), 및 도전성 부재(620)를 포함할 수 있다.According to an embodiment, the flexible printed
일 실시예에 따르면, 상기 기판(630)은 폐쇄된 루프(closed loop) 또는 휠(wheel) 형상의 제 1 기판(631)과, 상기 제 1 기판(631)으로부터 전자 장치의 중심으로 연장 형성된 제 2 기판(632)을 포함할 수 있다. 상기 제 1 기판(631)은 전면을 향하는 제 1 면(631a)과 상기 제 1 면과 반대인 후면을 향하는 제 2 면(631b)을 포함할 수 있다. 상기 복수 개의 포스 센서(610)의 적어도 일부는 상기 제 2 면(631b) 상에 배치될 수 있다. 상기 제 2 기판(632)은 상기 제 1 기판(631)의 일측으로부터 상기 전자 장치(101) 내측을 향해 돌출 형성되고, 적어도 일부분이 벤딩되어, 브라켓(431) 내부에 배치된 메인 회로기판(예: 도 3의 메인 회로기판(360))과 전기적으로 연결될 수 있다. 이에 따라, 상기 제 2 기판(632)은 플렉서블 인쇄회로기판(420)의 포스 센서와 같은 전자 부품에서 생성된 신호를 상기 메인 회로기판(360)으로 전달할 수 있다. 상기 제 2 기판(632) 상에는 적어도 하나의 커넥터(connector)가 배치될 수 있으며, 예를 들어, 동축 케이블 커넥터 또는 BTB 커넥터(board to board connector)일 수 있다.According to an embodiment, the
일 실시예에 따르면, 상기 도전성 부재(620)는 상기 제 1 기판(631)의 제 1 면(631a) 상에 형성되고, 상기 도전성 부재(620)는 상기 전극(예: 도 5a, 5b의 전극(510, 또는 520))을 상기 플렉서블 인쇄회로기판(420)에 고정시키고, 전기적 접촉을 제공할 수 있다. 상기 도전성 부재(620)는 클립(clip), 패드(pad), 컨덕티브 페이스트(conductive paste), 또는 핀(pin)과 같은 구조를 가질 수 있으며, 복수 개로 구성될 수 있다. 예를 들어, 두 개로 구성된 도전성 부재(620)에서, 각각의 도전성 부재(620)는 플렉서블 인쇄회로기판(420)이 형성하는 폐쇄된 루프(closed loop) 구조의 중심을 기준으로 서로 대면하도록 배치될 수 있다.According to an embodiment, the
도 6a를 참조하면, 상기 플렉서블 인쇄회로기판(420)은 전극(예: 도 5a, 5b의 전극(510, 또는 520)) 및/또는 디스플레이 조립체(예: 도 7의 디스플레이 조립체(411))를 통해 정보를 감지하고, 감지된 정보를 프로세스로 전달하기 위한 두 개의 제 1 포스 센서들(611)을 포함할 수 있다. 상기 제 1 포스 센서들(611)은 제 1-1 포스 센서(611a) 및 제 1-2 포스 센서(611b)로 서로 동일한 기능을 수행하며, 제 1 기판(631)의 제 2 면(631b) 상에 서로 이격되어 배치될 수 있다.Referring to FIG. 6A, the flexible printed
일 실시예에 따르면, 상기 제 1-1 포스 센서(611a) 및 제 1-2 포스 센서(611b)는, 사용자가 전극(510, 또는 520) 및/또는 디스플레이 조립체(411)를 접촉시, 용이한 감지를 제공하기 위해 상기 플렉서블 인쇄회로기판(420)이 형성하는 폐쇄된 루프(closed loop) 구조의 중심을 기준으로 서로 대면하도록 배치될 수 있다.According to an embodiment, the 1-1
도 6b를 참조하면, 상기 플렉서블 인쇄회로기판(420)은 전극(예: 도 5a, 5b의 전극(510, 또는 520)) 및/또는 디스플레이 조립체(예: 도 7의 디스플레이 조립체(411))에 통해 정보를 감지하고, 감지된 정보를 프로세스로 전달하기 위한 4 개의 제 1 포스 센서들(611)을 포함할 수 있다. 상기 제 1 포스 센서들(611)은 제 1-1 포스 센서(611a), 제 1-2 포스 센서(611b), 제 1-3 포스 센서(611c), 및 제 1-4 포스 센서(611d)로 서로 동일한 기능을 수행하며, 제 1 기판(631)의 제 2 면(631b) 상에 서로 이격되어 배치될 수 있다.6B, the flexible printed
일 실시예에 따르면, 상기 제 1-1 포스 센서(611a), 제 1-2 포스 센서(611b), 제 1-3 포스 센서(611c), 및 제 1-4 포스 센서(611d)는 사용자가 전극(510, 또는 520) 및/또는 디스플레이 조립체(411)를 접촉시, 용이한 감지를 제공하기 위해 상기 플렉서블 인쇄회로기판(420)에서 서로 동일한 거리가 이격되어 위치할 수 있다. 예를 들어, 상기 제 1-1 포스 센서(611a) 및 제 1-4 포스 센서(611d)의 중심을 가로지르는 제 1 가상의 라인(L1)이, 상기 제 1-2 포스 센서(611b) 및 제 1-3 포스 센서(611c)의 중심을 가로지르는 제 2 가상의 라인(L2)과 교차하고, 교차점(O)은 상기 플렉서블 인쇄회로기판(420)이 형성하는 링 구조의 중심(O)일 수 있다. 다만, 상기 제 1 포스 센서들(611)의 각각의 위치는 고정된 것이 아니며, 전극(510, 또는 520) 및/또는 디스플레이 조립체(411)에 감지되는 정보를 용이하게 감지하기 위해 다양한 위치에 배치되도록 설계 변경할 수 있다. 또한, 상기 상기 제 1 포스 센서들(611)의 수는 2개 또는 4개에 한정된 것이 아니며, 전극(510, 또는 520) 및/또는 디스플레이 조립체(411)로부터 용이하게 정보를 감지하기 위해 다양한 수로 설계 변경할 수 있다.According to an embodiment, the 1-1
일 실시예에 따르면, 상기 플렉서블 인쇄회로기판(420)은 전극(예: 도 5a, 5b의 전극(510, 또는 520)) 및/또는 디스플레이 조립체(411)를 통해 정보를 감지하거나, 상기 전자 장치(101)의 측면에서 입력 장치 역할을 수행하기 위한 적어도 하나의 제 2 포스 센서(612)를 포함할 수 있다. 예를 들어, 상기 제 2 포스 센서(612)는 제 2-1 포스 센서(612a) 및 제 2-2 포스 센서(612b)를 포함하며, 상기 제 2-1 포스 센서(612a) 및 제 2-2 포스 센서(612b)는 서로 동일한 기능을 수행하며, 제 3 기판(예: 도 8의 제 3 기판(633)) 상에 이격 배치되고, 전자 장치(101)의 외측면을 향하도록 배치될 수 있다.According to an embodiment, the flexible printed
일 실시예에 따르면, 상기 제 2-1 포스 센서(612a) 및 제 2-2 포스 센서(612b)는 상기 제 1 포스 센서들(611)과 함께, 사용자의 접촉에 의한 감지를 용이하게 하기 위해 상기 플렉서블 인쇄회로기판(420)이 형성하는 폐쇄된 루프(closed loop) 구조의 중심을 기준으로 서로 대면하도록 배치될 수 있다.According to an embodiment, the 2-1
일 실시예에 따르면, 상기 제 2 포스 센서(612)와 대면하는 상기 브라켓(431)의 일 영역에는 외측으로 돌출 배치되어, 물리키 역할을 제공하는 돌출부(435)를 포함할 수 있다. 예를 들어, 상기 제 2-1 포스 센서(612a)와 대면하도록 제 1 돌출부(435a)가 배치되고, 상기 제 2-2 포스 센서(612b)와 대면하도록 제 2 돌출부(435b)가 배치될 수 있다. 상기 돌출부(435)는 사용자가 입력 장치가 제공된 영역을 손쉽게 감지할 수 있도록 가이드하며, 상기 제 2 포스 센서(612)의 동작 성능을 용이하게 할 수 있다.According to an embodiment, a protruding
도 7을 참조하면, 상기 전자 장치(101)의 가장자리 영역의 단면도에 따라, 외부로 노출된 전극(520)을 중심으로, 플렉서블 인쇄회로기판(420), 브라켓(431)의 일 영역이 적층 배치될 수 있다. 상기 제 1 포스 센서들(611) 중 적어도 하나(예: 제 1-1 포스 센서(611a))는 상기 플렉서블 인쇄회로기판(420)의 제 2 면(631b)에 배치되고, 상기 플렉서블 인쇄회로기판(420) 외측에는 방수 부재(670)가 배치될 수 있다.Referring to FIG. 7, according to a cross-sectional view of an edge region of the
일 실시예에 따르면, 상기 방수 부재(670)는 전극(520)과 브라켓(431) 사이에 배치되고, 링 형상으로 상기 플렉서블 인쇄회로기판(420)의 외측면을 따라 배치될 수 있다. 상기 방수 부재(670)는 테잎, 본드, 또는 사출 과 같은 형태로 제조되어, 외부에서 들어올 수 있는 이물질을 차단하여, 플렉서블 인쇄회로기판(420)을 보호할 수 있다.According to an embodiment, the
본 개시의 일 실시예에 따른, 상기 플렉서블 인쇄회로기판, 브라켓, 및 상단 구조의 적층 구성은, 일반적인 웨어러블 전자 장치의 구조와 비교하여, 두께를 감소시킬 수 있다. 예를 들어, 일반적인 웨어러블 전자 장치의 상단 및 중단부의 구조는 휠, 터치 패드, 물리키를 배치하기 위하여, 전극 포함 여부와 관계없이, 적어도 대략 3.5mm의 두께를 구성할 수 있다. 이에 반하여, 본 개시의 플렉서블 인쇄회로기판, 브라켓, 및 상단 구조의 적층 구성은, 휠, 터치 패드, 물리키를 위한 구조가 제외됨에 따라, 대략 2.5mm 이하의 두께로 구현될 수 있다. 이는 전자 장치 전체 두께를 감소시키거나, 다른 전자 부품을 추가할 수 있는 공간을 확보할 수 있다. 또한, 휠, 터치 패드, 물리키를 위한 구조가 제외됨에 따른 구성의 단순화 및 재료비 절감을 구현할 수 있다.According to an embodiment of the present disclosure, the stacked structure of the flexible printed circuit board, the bracket, and the upper structure may reduce the thickness as compared to the structure of a general wearable electronic device. For example, the structure of the upper and the middle part of a general wearable electronic device may have a thickness of at least about 3.5 mm, regardless of whether an electrode is included in order to arrange a wheel, a touch pad, and a physical key. On the other hand, the laminated configuration of the flexible printed circuit board, bracket, and upper structure of the present disclosure may be implemented with a thickness of about 2.5 mm or less as structures for wheels, touch pads, and physical keys are excluded. This can reduce the overall thickness of the electronic device or secure a space for adding other electronic components. In addition, since structures for the wheel, touch pad, and physical key are excluded, it is possible to simplify the configuration and reduce material cost.
도 8을 참조하면, 상기 전자 장치(101)의 가장자리 영역의 단면도에 따라, 외부로 노출된 전극(520)을 중심으로, 플렉서블 인쇄회로기판(420), 브라켓(431)의 일 영역이 적층 배치될 수 있다. 상기 제 2 포스 센서(612) 중 적어도 하나(예: 제 2-1 포스 센서(612a))는 상기 브라켓(431)의 측면을 향하도록 배치될 수 있다. 예를 들어, 상기 플렉서블 인쇄회로기판(420)는 링 구조의 제 1 기판(631)과, 상기 제 1 기판(631)의 일측으로부터 하부 방향으로 벤딩된 제 3 기판(633)을 포함할 수 있다. 상기 제 3 기판(633)은 상기 제 1 기판(631)과 실질적으로 수직 방향을 향하도록 형성되고, 상기 제 2-1 포스 센서(612a)는 상기 제 3 기판(633)의 내측에 배치될 수 있다. 또 다른 예로, 상기 제 2-1 포스 센서(612a)는 상기 브라켓(431)의 돌출부(예: 제 1 돌출부(435a))과 대면하도록 배치될 수 있다. 이에 따라, 상기 제 2-1 포스 센서(612a)는 전자 장치(101)의 전면(예: 전극(520) 및 디스플레이 조립체(411))에서 가하는 압력 정보 이외에 측면에서 가하는 압력 정보를 감지할 수 있다.Referring to FIG. 8, according to a cross-sectional view of an edge region of the
일 실시예에 따르면, 상기 제 2 포스 센서(612)가 배치된 영역의 제 3 기판(633)을 포함한 플렉서블 인쇄회로기판(420)은, 단면으로 바라볼 때, '┓', 또는 '┏' 형상으로 제조될 수 있다. 상기 플렉서블 인쇄회로기판(420) 외측에는 방수 부재(670)가 배치될 수 있다. 상기 방수 부재(670)는 전극(520)과 브라켓(431) 사이에 배치되고, 링 형상으로 상기 플렉서블 인쇄회로기판(420)의 외측면을 따라 배치될 수 있다. 상기 방수 부재(670)는 테잎, 본드, 또는 사출로 제조되어, 외부에서 들어올 수 있는 이물질을 차단하여, 플렉서블 인쇄회로기판(420)을 보호할 수 있다.According to an embodiment, the flexible printed
본 개시의 일 실시예에 따른, 상기 플렉서블 인쇄회로기판, 브라켓, 및 상단 구조의 적층 구성은 확장된 내부 공간을 제공할 수 있다. 예를 들어, 비교 예의 웨어러블 전자 장치에서, 측면은 물리키를 위한 구조(예: 물리 입력키 유동 공간, 돔 키, 돔 키 실장을 위한 브라켓)를 위한 브라켓 내측의 별도 공간이 적어도 대략 2.0mm의 두께를 구성할 수 있다. 이에 반하여, 본 개시 다양한 실시예에 따른 측면에 배치된 포스 센서를 포함한 플렉서블 인쇄회로기판이 실장된 공간은, 물리키를 위한 구조가 제외되고, 단지 플렉서블 회로기판만이 배치됨에 따라, 대략 1.0mm 이하의 두께로 구현될 수 있으며, 이는 전자 장치 내부 실장 공간을 추가적으로 확보할 수 있다. 또한, 물리키를 위한 구조가 제외됨에 따른 구성의 단순화 및 재료비 절감을 구현할 수 있다.According to an embodiment of the present disclosure, the stacked configuration of the flexible printed circuit board, the bracket, and the upper structure may provide an expanded internal space. For example, in the wearable electronic device of the comparative example, a separate space inside the bracket for a structure for a physical key (eg, a physical input key flow space, a dome key, a bracket for mounting a dome key) is at least approximately 2.0 mm. You can configure the thickness. On the other hand, the space in which the flexible printed circuit board including the force sensor disposed on the side according to various embodiments of the present disclosure is mounted is about 1.0 mm as the structure for the physical key is excluded and only the flexible circuit board is disposed. It may be implemented with the following thickness, which may additionally secure a mounting space inside the electronic device. In addition, since the structure for the physical key is excluded, the configuration can be simplified and material cost can be reduced.
도 9는 본 개시의 일 실시예에 따른, 포스 센서의 입력 정보에 대한 동작을 설명하기 위한 영역도이다. 도 10은 본 개시의 다른 실시예에 따른, 포스 센서의 입력 정보에 대한 동작을 설명하기 위한 영역도이다.9 is an area diagram illustrating an operation of input information of a force sensor according to an embodiment of the present disclosure. 10 is an area diagram illustrating an operation of a force sensor on input information according to another embodiment of the present disclosure.
다양한 실시예에 따르면, 상기 전자 장치(101)(예: 도 1 내지 도 3의 전자 장치(101))는 상단 구조(예: 도 4의 상단 구조(410)), 플렉서블 인쇄회로기판(420), 하단 구조(예: 도 4의 하단 구조(430))를 포함할 수 있다.According to various embodiments, the electronic device 101 (eg, the
도 9 및 도 10을 참조하면, 상기 플렉서블 인쇄회로기판(420)은 실질적으로 하나의 폐쇄된 루프(closed loop) 또는 휠(wheel) 형상으로 마련되며, 복수 개의 포스 센서들(611, 612, 또는 613)을 포함할 수 있다. 상기 플렉서블 인쇄회로기판(420)은 전면 방향을 향하는 복수 개의 제 1 포스 센서들(611, 또는 613)과 측면 방향을 향하는 적어도 하나의 제 2 포스 센서(612)를 포함할 수 있다. 예를 들어, 도 9의 제 1 포스 센서(611)와 도 10의 제 1 포스 센서(613)는 상기 플렉서블 인쇄회로기판(420)에 배치된 위치가 서로 상이할 수 있다. 상기 복수 개의 제 1 포스 센서들(611, 또는 613)과 적어도 하나의 제 2 포스 센서(612)는 전극(520) 및/또는 디스플레이 조립체(411) 통해 정보를 감지하고, 감지된 정보를 프로세스로 전달할 수 있다. 또 다른 예로, 상기 적어도 하나의 제 2 포스 센서(612)는 브라켓(431)의 일측면을 통해 정보를 감지하고, 감지된 정보를 프로세스로 전달할 수 있다.9 and 10, the flexible printed
도 9 및 도 10에서, 설명의 편의를 위해 전자 장치 내측에 배치된 상기 플렉서블 인쇄회로기판(420) 및 포스 센서들(611, 612, 또는 613)을 투영되도록 하였으며, 상기 포스 센서들(611, 612, 또는 613)의 구조는 도 6a 내지 도 8의 포스 센서들(611, 또는 612)의 구조를 준용할 수 있다.In FIGS. 9 and 10, for convenience of description, the flexible printed
도 9를 참조하면, 원형의 디스플레이 조립체(411)의 중심을 기준으로, 가로축을 X축, 세로축을 Y축으로 정의하고, 상기 가로축 및 세로축에 의해 구분되어진 전자 장치의 전면(예: 디스플레이 조립체(411) 및 전극(520))의 4 영역을 각각 제 1 사분면(S1), 제 2 사분면(S2), 제 3 사분면(S3), 제 4 사분면(S4)으로 나타낼 수 있다.Referring to FIG. 9, a horizontal axis is defined as an X axis and a vertical axis is defined as a Y axis with respect to the center of the
다양한 실시예에 따르면, 사용자는 상기 전자 장치(101)의 상기 전극(520) 및/또는 디스플레이 조립체(411)에 신체의 일부(예: 손가락)을 접촉하고, 상기 플렉서블 인쇄회로기판(420)의 포스 센서들(611, 또는 612)은 이를 감지할 수 있다. 예를 들어, 상기 포스 센서들(611, 또는 612)은 상기 상기 전극(520) 및/또는 디스플레이 조립체(411)를 따라 드래그 동작에 따른 감지할 수 있다. 또 다른 예로, 상기 디스플레이 조립체(411)의 중심 영역에 압력을 가해 지정된 기능을 활용하거나 팜터치로 활용할 수 있다.According to various embodiments, the user may contact a part of the body (eg, a finger) to the
일 실시예에 따르면, 사용자가 손가락을 사용하여, 상기 제 1 사분면(S1)에서 제 2 사분면(S2)을 따라 반시계 방향으로 휠 구조(wheel structure)를 돌리듯 드래그(drag) 동작을 수행하면, 상기 플렉서블 인쇄회로기판(420)의 포스 센서들(611, 또는 612)은 이를 감지하고, 감지된 정보를 프로세서로 전달하는 인터페이스 기능을 제공할 수 있다. 예를 들어, 상기 사용자의 동작에 대응하여 상기 플렉서블 인쇄회로기판(420)의 제 2-2 포스 센서(612b), 제 1-2 포스 센서(611b), 제 1-1 포스 센서(611a), 제 2-1 포스 센서(612a)가 상기 제 1 사분면(S1)에서 제 2 사분면(S2)으로 힘이 이동하는 것을 인지하고, 휠과 같이 좌측으로 돌아가는 인터페이스 기능을 할 수 있다.According to an embodiment, when a user uses a finger to perform a drag operation as if turning a wheel structure in a counterclockwise direction from the first quadrant S1 to the second quadrant S2, , The
일 실시예에 따르면, 사용자가 손가락을 사용하여, 상기 제 4 사분면(S4)에서 제 1 사분면(S1)을 따라 반시계 방향으로 휠 구조(wheel structure)를 돌리듯 드래그(drag) 동작을 수행하면, 상기 플렉서블 인쇄회로기판(420)의 포스 센서들(611, 또는 612)은 이를 감지하고, 감지된 정보를 프로세스로 전달하는 인터페이스 기능을 제공할 수 있다. 예를 들어, 상기 사용자의 동작에 대응하여 상기 플렉서블 인쇄회로기판(420)의 제 1-4 포스 센서(611d), 제 2-2 포스 센서(612b), 제 1-2 포스 센서(611b)가 상기 제 4 사분면(S4)에서 제 1 사분면(S1)으로 힘이 이동하는 것을 인지하고, 휠과 같이 좌측으로 돌아가는 인터페이스 기능을 할 수 있다.According to an embodiment, when a user uses a finger to perform a drag operation as if turning a wheel structure in a counterclockwise direction from the fourth quadrant S4 to the first quadrant S1 , The
일 실시예에 따르면, 사용자가 손가락을 사용하여, 상기 제 2 사분면(S2)에서 제 3 사분면(S3)을 따라 반시계 방향으로 휠 구조(wheel structure)를 돌리듯 드래그(drag) 동작을 수행하면, 상기 플렉서블 인쇄회로기판(420)의 포스 센서들(611, 또는 612)은 이를 감지하고, 감지된 정보를 프로세스로 전달하는 인터페이스 기능을 제공할 수 있다. 예를 들어, 상기 사용자의 동작에 대응하여 상기 플렉서블 인쇄회로기판(420)의 제 1-1 포스 센서(611a), 제 2-1 포스 센서(612a), 제 1-3 포스 센서(611c)가 상기 제 2 사분면(S2)에서 제 3 사분면(S3)으로 힘이 이동하는 것을 인지하고, 휠과 같이 좌측으로 돌아가는 인터페이스 기능을 할 수 있다.According to an embodiment, when a user uses a finger to perform a drag operation as if turning a wheel structure in a counterclockwise direction from the second quadrant S2 to the third quadrant S3, , The
일 실시예에 따르면, 사용자가 손가락을 사용하여, 상기 제 2 사분면(S2)에서 제 1 사분면(S1)을 따라 시계 방향으로 휠 구조(wheel structure)를 돌리듯 드래그(drag) 동작을 수행하면, 상기 플렉서블 인쇄회로기판(420)의 포스 센서들(611, 또는 612)은 이를 감지하고, 감지된 정보를 프로세스로 전달하는 인터페이스 기능을 제공할 수 있다. 예를 들어, 상기 사용자의 동작에 대응하여 상기 플렉서블 인쇄회로기판(420)의 제 2-1 포스 센서(612a), 제 1-1 포스 센서(611a), 제 1-2 포스 센서(611b), 제 2-3 포스 센서(610)가 상기 제 2 사분면(S2)에서 제 1 사분면(S1)으로 힘이 이동하는 것을 인지하고, 휠과 같이 좌측으로 돌아가는 인터페이스 기능을 할 수 있다.According to an embodiment, when a user uses a finger to perform a drag operation as if turning a wheel structure clockwise from the second quadrant S2 to the first quadrant S1, The
도 10을 참조하면, 원형의 디스플레이 조립체(411)의 중심을 기준으로, 좌측 상단부에서 우측 하단부를 향하는 라인을 P축, 우측 상단부에서 좌측 하단부를 향하는 라인을 Q축으로 정의하고, 전자 장치의 전면(예: 디스플레이 조립체(411) 및 전극(520))의 4 영역을 각각 상단 영역(S5), 하단 영역(S6), 좌측 영역(S7), 우측 영역(S8)으로 나타낼 수 있다.Referring to FIG. 10, based on the center of the
다양한 실시예에 따르면, 사용자는 상기 전자 장치(101)의 상기 전극(520) 및/또는 디스플레이 조립체(411)에 신체의 일부(예: 손가락)을 접촉하고, 상기 플렉서블 인쇄회로기판(420)의 제 1 포스 센서(613)는 이를 감지할 수 있다. 예를 들어, 상기 제 1 포스 센서(613)는 상기 상기 전극(520) 및/또는 디스플레이 조립체(411)를 따라 드래그 동작에 따른 감지를 하거나, 터치 패드와 같이, 상하, 좌우 구분이 가능한 터치 기능을 수행할 수 있다.According to various embodiments, the user may contact a part of the body (eg, a finger) to the
일 실시예에 따르면, 사용자가 손가락을 사용하여, 상기 상단 영역(S5), 하단 영역(S6), 좌측 영역(S7) 또는 우측 영역(S8)을 각각 터치하면, 상기 플렉서블 인쇄회로기판(420)의 제 1 포스 센서(613a, 613b, 613c, 또는 613d) 중 적어도 하나는 이를 감지하고, 감지된 정보를 프로세서로 전달하는 인터페이스 기능을 제공할 수 있다. 예를 들어, 상기 상단 영역(S5)에 접촉된 사용자의 손가락은 상측에 배치된 포스 센서(613a)가 감지할 수 있으며, 상기 하단 영역(S6)에 접촉된 사용자의 손가락은 하측에 배치된 포스 센서(613b)가 감지할 수 있다.According to an embodiment, when a user touches the upper area S5, the lower area S6, the left area S7, or the right area S8 using a finger, the flexible printed
일 실시예에 따르면, 사용자가 손가락을 사용하여, 상기 디스플레이 조립체(411) 중심에서 상측으로 드래그(drag) 동작을 수행하면, 상기 플렉서블 인쇄회로기판(420)의 포스 센서들(613) 중 적어도 하나(613a)는 이를 감지하고, 감지된 또 다른 정보를 프로세서로 전달하는 인터페이스 기능을 제공할 수 있다.According to an embodiment, when a user performs a drag operation from the center of the
본 개시의 다양한 실시예에 따른 전자 장치는, 화면을 출력하기 위한 디스플레이 조립체(예: 도 4의 411), 상기 디스플레이 조립체의 가장자리를 따라 배치되고, 적어도 하나의 전극(예: 도 5a의 510, 또는 5b의 520)을 포함하는 베젤부(예: 도 4의 412), 상기 디스플레이 조립체 및 상기 베젤부의 저면에 배치되고, 내부 전자 부품들을 지지하는 브라켓(예: 도 4의 430), 및 상기 베젤부 및 상기 브라켓 사이에 배치되고, 상기 적어도 하나의 전극과 대면하는 포스 센서(예: 도 4의 610), 및 상기 적어도 하나의 전극과 전기적 접촉을 제공하는 도전성 부재(예: 도 4의 620)를 포함하는 플렉서블 인쇄회로기판(예: 도 4의 420)을 포함할 수 있다.An electronic device according to various embodiments of the present disclosure includes a display assembly (eg, 411 in FIG. 4) for outputting a screen, disposed along an edge of the display assembly, and includes at least one electrode (eg, 510 in FIG. 5A ). Alternatively, a bezel part (eg, 412 in FIG. 4) including the 520 of 5b, a bracket disposed on the bottom surface of the display assembly and the bezel part, and supporting internal electronic components (eg, 430 in FIG. 4), and the bezel A force sensor disposed between the part and the bracket and facing the at least one electrode (eg, 610 in FIG. 4), and a conductive member (eg, 620 in FIG. 4) providing electrical contact with the at least one electrode It may include a flexible printed circuit board including (for example, 420 of FIG. 4).
다양한 실시예에 따르면, 상기 브라켓은, 메인 회로기판(예: 도 3의 360)이 배치되는 제 1 영역(예: 도 4의 433), 및 상기 제 1 영역의 가장자리를 따라 배치되고, 폐쇄된 루프(closed loop) 형상의 상기 플렉서블 인쇄회로기판이 배치된 제 2 영역(예: 도 4의 434)을 포함할 수 있다.According to various embodiments, the bracket is disposed along an edge of the first area (eg, 433 in FIG. 4) where the main circuit board (eg, 360 in FIG. 3) is disposed, and is closed. A second area (eg, 434 of FIG. 4) on which the flexible printed circuit board having a closed loop shape is disposed may be included.
다양한 실시예에 따르면, 상기 하나의 전극(예: 도 5a의 510)은 상기 플렉서블 인쇄회로기판의 일면과 대면하기 위한 폐쇄된 루프(closed loop) 형상이며, 사용자의 신체 접촉을 위하여 외부로 노출될 수 있다.According to various embodiments, the single electrode (for example, 510 in FIG. 5A) has a closed loop shape to face one surface of the flexible printed circuit board, and is exposed to the outside for physical contact of the user. I can.
다양한 실시예에 따르면, 상기 베젤부는, 제 1 전극(예: 도 5b의 521), 상기 제 1 전극과 대응되는 형상을 포함하는 제 2 전극(예: 도 5b의 522), 및 상기 제 1 전극 및 상기 제 2 전극 사이에 배치되고, 절연 물질을 포함하는 분절부(예: 도 5b의 530)를 포함할 수 있다.According to various embodiments, the bezel part includes a first electrode (eg, 521 in FIG. 5B), a second electrode having a shape corresponding to the first electrode (eg, 522 in FIG. 5B), and the first electrode. And a segmented portion (eg, 530 of FIG. 5B) disposed between the second electrodes and including an insulating material.
다양한 실시예에 따르면, 상기 제 1 전극, 상기 제 2 전극, 및 상기 분절부는 상기 플렉서블 인쇄회로기판의 일면과 대면하기 위한 폐쇄된 루프(closed loop) 형상이며, 사용자의 신체 접촉을 위하여 외부로 노출될 수 있다. 상기 제 1 전극 및 상기 제 2 전극은 금속 전극 또는 투명 전극일 수 있다.According to various embodiments, the first electrode, the second electrode, and the segment have a closed loop shape to face one surface of the flexible printed circuit board, and are exposed to the outside for physical contact of the user. Can be. The first electrode and the second electrode may be a metal electrode or a transparent electrode.
다양한 실시예에 따르면, 상기 플렉서블 인쇄회로기판은 상기 베젤부를 향해 배치된 제 1 면(예: 도 7의 631a), 및 상기 브라켓을 향해 배치된 제 2 면(예: 도 7의 631b)을 포함할 수 있다. 상기 플렉서블 인쇄회로기판은, 상기 제 2 면 상에 배치되고, 상기 적어도 하나의 전극 및/또는 상기 디스플레이 조립체를 통해 정보를 감지하고, 상기 감지된 정보를 프로세스로 전달하기 위한 복수 개의 포스 센서들(예: 도 6a의 611 또는 도 6b의 611,612)을 포함할 수 있다.According to various embodiments, the flexible printed circuit board includes a first surface disposed toward the bezel (eg, 631a in FIG. 7 ), and a second surface disposed toward the bracket (eg, 631b in FIG. 7 ). can do. The flexible printed circuit board is disposed on the second surface, a plurality of force sensors for sensing information through the at least one electrode and/or the display assembly, and transmitting the detected information to a process ( Example: 611 of FIG. 6A or 611 and 612 of FIG. 6B) may be included.
다양한 실시예에 따르면, 상기 복수 개의 포스 센서들을 제 1-1 포스 센서(예: 도 6a의 611a), 및 상기 제 1-1 포스 센서와 이격 배치된 제 1-2 포스 센서(예: 도 6a의 611b)를 포함할 수 있다.According to various embodiments, the plurality of force sensors may be configured to include a 1-1 force sensor (eg, 611a in FIG. 6A), and a 1-2 force sensor (eg, FIG. 6A) spaced apart from the 1-1 force sensor. May include 611b).
다양한 실시예에 따르면, 상기 복수 개의 포스 센서들을 제 1-1 포스 센서(예: 도 6b의 611a), 제 1-2 포스 센서(예: 도 6b의 611b), 제 1-3 포스 센서(예: 도 6b의 611c), 및 제 1-4 포스 센서(예: 도 6b의 611d)를 포함하고, 상기 제 1-1 포스 센서, 상기 제 1-2 포스 센서, 상기 제 1-3 포스 센서, 및 상기 제 1-4 포스 센서는 상기 제 2 면 상에서 서로 중첩되지 않도록 이격 배치될 수 있다.According to various embodiments, the plurality of force sensors may be used as a 1-1 force sensor (eg, 611a in FIG. 6B), a 1-2 force sensor (eg, 611b in FIG. 6B), and a 1-3 force sensor (eg : 611c of FIG. 6B), and a 1-4 force sensor (eg, 611d of FIG. 6B), wherein the 1-1 force sensor, the 1-2 force sensor, the 1-3 force sensor, And the 1-4 force sensors may be spaced apart so as not to overlap each other on the second surface.
다양한 실시예에 따르면, 상기 제 1-1 포스 센서, 상기 제 1-2 포스 센서, 상기 제 1-3 포스 센서, 및 상기 제 1-4 포스 센서는 상기 폐쇄된 루프(closed loop) 형상의 상기 플렉서블 인쇄회로기판을 따라 서로 동일 거리 간격으로 이격 배치될 수 있다.According to various embodiments, the 1-1 force sensor, the 1-2 force sensor, the 1-3 force sensor, and the 1-4 force sensor may have the closed loop shape. They may be spaced apart from each other at the same distance along the flexible printed circuit board.
다양한 실시예에 따르면, 상기 플렉서블 인쇄회로기판은, 상기 플렉서블 인쇄회로기판 일측으로부터 연장되어 상기 브라켓 방향으로 벤딩된 부분을 포함할 수 있다. 상기 복수 개의 포스 센서들 중 적어도 하나는, 상기 벤딩된 부분의 일 영역에서 전자 장치 외측면을 향하도록 배치된 적어도 하나의 제 2 포스 센서(예: 도 6b의 612)를 포함할 수 있다.According to various embodiments, the flexible printed circuit board may include a portion extending from one side of the flexible printed circuit board and bent in a direction of the bracket. At least one of the plurality of force sensors may include at least one second force sensor (eg, 612 of FIG. 6B) disposed to face an outer surface of the electronic device in a region of the bent portion.
다양한 실시예에 따르면, 상기 브라켓은, 상기 적어도 하나의 제 2 포스 센서와 대면 배치된 적어도 하나의 돌출부()를 포함하며, 상기 적어도 하나의 돌출부는 상기 전자 장치의 외부 방향으로 노출되어, 상기 사용자가 입력 장치가 제공된 영역을 감지하도록 가이드할 수 있다.According to various embodiments, the bracket includes at least one protrusion () disposed to face the at least one second force sensor, and the at least one protrusion is exposed to an external direction of the electronic device, and the user May guide the input device to detect the provided area.
다양한 실시예에 따르면, 상기 전자 장치는, 상기 베젤부 및 상기 브라켓 사이에 배치되고, 상기 플렉서블 인쇄회로기판의 가장자리를 따라 형성된 폐쇄된 루프(closed loop) 형상의 방수 부재를 더 포함할 수 있다.According to various embodiments, the electronic device may further include a waterproof member having a closed loop shape disposed between the bezel part and the bracket and formed along an edge of the flexible printed circuit board.
다양한 실시예에 따르면, 상기 플렉서블 인쇄회로기판은, 제 1 기판(예: 도 6b의 631), 상기 제 1 기판의 일측으로부터 연장되어, 상기 브라켓의 방향을 향해 벤딩된 제 2 기판(예: 도 6b의 632)를 포함하며,상기 제 2 기판의 단부는 메인 회로기판과 전기적으로 연결될 수 있다.According to various embodiments, the flexible printed circuit board includes a first substrate (eg, 631 of FIG. 6B), a second substrate extending from one side of the first substrate and bent toward the bracket (eg, FIG. 6B of 632, and the end of the second substrate may be electrically connected to the main circuit board.
다양한 실시예에 따르면, 상기 플렉서블 인쇄회로기판은, 상기 제 1 기판의 다른 측으로부터 연장되고, 상기 제 1 기판과 실질적으로 수직인 방향을 향해 배치된 제 3 기판(예: 도 8의 633)을 포함할 수 있다. 상기 제 1 기판의 일면에는 제 1 포스 센서들이 배치되고, 상기 제 3 기판의 일면에는 적어도 하나의 제 2 포스 센서가 배치될 수 있다.According to various embodiments, the flexible printed circuit board includes a third substrate (eg, 633 in FIG. 8) extending from the other side of the first substrate and disposed toward a direction substantially perpendicular to the first substrate. Can include. First force sensors may be disposed on one surface of the first substrate, and at least one second force sensor may be disposed on one surface of the third substrate.
다양한 실시예에 따르면, 상기 적어도 하나의 제 2 포스 센서는, 상기 플렉서블 인쇄회로기판 상에서 상기 복수 개의 제 1 포스 센서들 사이에 배치되고, 상기 전자 장치의 전면 또는 측면으로 제공되는 정보를 감지하고, 상기 감지된 정보를 프로세스로 전달할 수 있다.According to various embodiments, the at least one second force sensor is disposed between the plurality of first force sensors on the flexible printed circuit board and senses information provided to the front or side of the electronic device, The sensed information can be delivered to the process.
본 개시의 다양한 실시예에 따른 전자 장치는, 투명 플레이트 및 상기 투명 플레이트의 가장자리를 따라 배치되고, 적어도 하나의 전극을 포함하는 베젤부를 포함하는 전면 플레이트, 상기 전면 플레이트가 향하는 방향과 반대 방향을 향하는 후면 플레이트, 상기 투명 플레이트를 통해 화면을 출력하기 위한 디스플레이, 상기 베젤부 및 상기 후면 플레이트 사이에 배치되고, 상기 적어도 하나의 전극과 대면하는 포스 센서, 및 상기 적어도 하나의 전극과 전기적 접촉을 제공하는 도전성 부재를 포함하는 플렉서블 인쇄회로기판, 및 상기 디스플레이가 안착되기 위한 제 1 영역, 및 상기 플렉서블 인쇄회로기판이 안착되기 위한 제 2 영역을 포함하는 브라켓을 포함할 수 있다.An electronic device according to various embodiments of the present disclosure includes a transparent plate and a front plate disposed along an edge of the transparent plate and including a bezel portion including at least one electrode, and facing a direction opposite to a direction facing the front plate. A rear plate, a display for outputting a screen through the transparent plate, a force sensor disposed between the bezel part and the rear plate and facing the at least one electrode, and providing electrical contact with the at least one electrode A bracket including a flexible printed circuit board including a conductive member, a first area for mounting the display, and a second area for mounting the flexible printed circuit board may be included.
다양한 실시예에 따르면, 상기 플렉서블 인쇄회로기판은 상기 베젤부를 향해 배치된 제 1 면, 및 상기 브라켓을 향해 배치된 제 2 면을 포함하는 제 1 기판, 상기 제 1 기판의 일측으로부터 연장되어, 상기 브라켓의 방향을 향해 벤딩되어 메인 회로기판과 전기적으로 연결된 제 2 기판, 및 상기 제 1 기판의 다른 측으로부터 연장되고, 상기 제 1 기판과 실질적으로 수직인 방향을 향해 배치된 제 3 기판을 포함할 수 있다.According to various embodiments, the flexible printed circuit board includes a first substrate including a first surface disposed toward the bezel and a second surface disposed toward the bracket, and extending from one side of the first substrate, the A second substrate bent toward the direction of the bracket and electrically connected to the main circuit board, and a third substrate extending from the other side of the first substrate and disposed toward a direction substantially perpendicular to the first substrate. I can.
다양한 실시예에 따르면, 상기 베젤부는, 제 1 전극, 상기 제 1 전극과 대응되는 형상을 포함하는 제 2 전극, 및 상기 제 1 전극 및 상기 제 2 전극 사이에 배치되고, 절연 물질을 포함하는 분절부를 포함할 수 있다.According to various embodiments, the bezel part includes a first electrode, a second electrode having a shape corresponding to the first electrode, and a segment disposed between the first electrode and the second electrode and including an insulating material. May contain wealth.
다양한 실시예에 따르면, 상기 복수 개의 포스 센서들은, 상기 제 1 기판의 상기 제 2 면 상에 이격 배치된 제 1-1 포스 센서, 제 1-2 포스 센서, 제 1-3 포스 센서, 및 제 1-4 포스를 포함할 수 있다.According to various embodiments, the plurality of force sensors may include a 1-1 force sensor, a 1-2 force sensor, a 1-3 force sensor, and a first force sensor spaced apart on the second surface of the first substrate. May contain 1-4 force.
다양한 실시예에 따르면, 상기 복수 개의 포스 센서들은, 상기 제 3 기판의 일면에 배치된 제 2-1 포스 센서 및 제 2-2 포스 센서를 포함하고, 상기 제 2-1 포스 센서 및 상기 제 2-2 포스 센서는 상기 플렉서블 인쇄회로기판이 형성하는 폐쇄된 루프(closed loop) 형상의 중심을 기준으로 서로 대면 배치될 수 있다.According to various embodiments, the plurality of force sensors include a 2-1 force sensor and a 2-2 force sensor disposed on one surface of the third substrate, and the 2-1 force sensor and the second force sensor -2 The force sensors may be disposed to face each other based on a center of a closed loop formed by the flexible printed circuit board.
이상에서 설명한 본 개시의 다양한 실시예의 포스 센서를 포함한 전자 장치는 전술한 실시 예 및 도면에 의해 한정되는 것은 아니고, 본 개시의 기술적 범위 내에서 여러 가지 치환, 변형 및 변경이 가능함은 본 발명이 속하는 기술분야에서 통상의 지식을 가진 자에게 있어 명백할 것이다.The electronic device including the force sensor of the various embodiments of the present disclosure described above is not limited by the above-described embodiments and drawings, and various substitutions, modifications, and changes are possible within the technical scope of the present disclosure. It will be obvious to those of ordinary skill in the art.
전자 장치: 101
디스플레이 조립체: 411
베젤부: 412
적어도 하나의 전극: 510, 520
브라켓: 431
플렉서블 인쇄회로기판: 420
포스 센서: 610
제 1 포스 센서: 611
제 2 포스 센서: 612
도전성 부재: 620Electronic device: 101
Display assembly: 411
Bezel part: 412
At least one electrode: 510, 520
Bracket: 431
Flexible printed circuit board: 420
Force sensor: 610
1st force sensor: 611
2nd force sensor: 612
Conductive member: 620
| Application Number | Priority Date | Filing Date | Title |
|---|---|---|---|
| KR1020190058653AKR102782591B1 (en) | 2019-05-20 | 2019-05-20 | Wearable electronic device including force sensor |
| PCT/KR2020/004458WO2020235805A1 (en) | 2019-05-20 | 2020-04-01 | Wearable electronic device comprising force sensor |
| Application Number | Priority Date | Filing Date | Title |
|---|---|---|---|
| KR1020190058653AKR102782591B1 (en) | 2019-05-20 | 2019-05-20 | Wearable electronic device including force sensor |
| Publication Number | Publication Date |
|---|---|
| KR20200133456Atrue KR20200133456A (en) | 2020-11-30 |
| KR102782591B1 KR102782591B1 (en) | 2025-03-18 |
| Application Number | Title | Priority Date | Filing Date |
|---|---|---|---|
| KR1020190058653AActiveKR102782591B1 (en) | 2019-05-20 | 2019-05-20 | Wearable electronic device including force sensor |
| Country | Link |
|---|---|
| KR (1) | KR102782591B1 (en) |
| WO (1) | WO2020235805A1 (en) |
| Publication number | Priority date | Publication date | Assignee | Title |
|---|---|---|---|---|
| WO2023017982A1 (en)* | 2021-08-09 | 2023-02-16 | 삼성전자주식회사 | Wearable electronic device |
| US12422786B2 (en) | 2021-08-09 | 2025-09-23 | Samsung Electronics Co., Ltd. | Wearable electronic device |
| Publication number | Priority date | Publication date | Assignee | Title |
|---|---|---|---|---|
| EP4408133A4 (en)* | 2022-12-05 | 2025-01-08 | Samsung Electronics Co., Ltd. | PORTABLE ELECTRONIC DEVICE WITH SUBSTRATE ARRANGEMENT |
| WO2024162585A1 (en)* | 2023-02-03 | 2024-08-08 | 삼성전자주식회사 | Electronic device having structure for mounting component |
| Publication number | Priority date | Publication date | Assignee | Title |
|---|---|---|---|---|
| KR20170054437A (en)* | 2014-09-04 | 2017-05-17 | 레오모, 인코포레이티드 | Information terminal device, motion capture system and motion capture method |
| KR20170074002A (en)* | 2015-12-21 | 2017-06-29 | 엘지디스플레이 주식회사 | Electronic device |
| KR20180010952A (en)* | 2016-07-21 | 2018-01-31 | 삼성전자주식회사 | Electronic device with pressure sensor |
| KR20180136242A (en)* | 2017-06-14 | 2018-12-24 | 삼성전자주식회사 | Charging method using electrode of biometric sensor and electronic device adopting the same |
| Publication number | Priority date | Publication date | Assignee | Title |
|---|---|---|---|---|
| ES2262279T3 (en)* | 1999-08-25 | 2006-11-16 | Swatch Ag | WATCH UNDERSTANDING A CONTACT-FREE CONTROL DEVICE FROM A COMPUTER COURSE. |
| KR20170049280A (en)* | 2015-10-28 | 2017-05-10 | 엘지전자 주식회사 | Mobile terminal and a method of controlling the same |
| KR101885665B1 (en)* | 2015-11-06 | 2018-08-06 | 주식회사 모다이노칩 | Pressure sensor and complex device and electronic device having the same |
| KR102442098B1 (en)* | 2017-02-28 | 2022-09-13 | 삼성전자주식회사 | Electronic device including bent display and image display method through same |
| Publication number | Priority date | Publication date | Assignee | Title |
|---|---|---|---|---|
| KR20170054437A (en)* | 2014-09-04 | 2017-05-17 | 레오모, 인코포레이티드 | Information terminal device, motion capture system and motion capture method |
| KR20170074002A (en)* | 2015-12-21 | 2017-06-29 | 엘지디스플레이 주식회사 | Electronic device |
| KR20180010952A (en)* | 2016-07-21 | 2018-01-31 | 삼성전자주식회사 | Electronic device with pressure sensor |
| KR20180136242A (en)* | 2017-06-14 | 2018-12-24 | 삼성전자주식회사 | Charging method using electrode of biometric sensor and electronic device adopting the same |
| Publication number | Priority date | Publication date | Assignee | Title |
|---|---|---|---|---|
| WO2023017982A1 (en)* | 2021-08-09 | 2023-02-16 | 삼성전자주식회사 | Wearable electronic device |
| US12422786B2 (en) | 2021-08-09 | 2025-09-23 | Samsung Electronics Co., Ltd. | Wearable electronic device |
| Publication number | Publication date |
|---|---|
| WO2020235805A1 (en) | 2020-11-26 |
| KR102782591B1 (en) | 2025-03-18 |
| Publication | Publication Date | Title |
|---|---|---|
| KR102751068B1 (en) | Watch-type electronic device including antenna | |
| KR20200120407A (en) | wearable electronic device including a biometric sensor and a wireless charging module | |
| KR102782591B1 (en) | Wearable electronic device including force sensor | |
| US11392225B2 (en) | Electronic device and stylus pen charging method using same | |
| KR102748868B1 (en) | Electronic Device including a sensor which is disposed below a display | |
| US12228967B2 (en) | Electronic device including photosensor module | |
| KR20220039535A (en) | Contact structure of camera module and electronic device with the same | |
| KR20220099365A (en) | Wearable electronic device | |
| EP3819748A1 (en) | Method for processing input made with stylus pen and electronic device therefor | |
| KR20230039400A (en) | Electronic device including a waterproof structure | |
| US20240348093A1 (en) | Electronic device comprising coil assembly | |
| EP4557927A1 (en) | Display structure including metal layer and electronic device including same | |
| EP4395483A1 (en) | Housing assembly having waterproof function and electronic device including same | |
| KR102836340B1 (en) | Electronic device attachable outside storage media | |
| EP4351294A1 (en) | Electronic device including electrostatic discharge path | |
| KR102871261B1 (en) | Electronic device extending sensing region | |
| US11612348B2 (en) | Electronic device extending sensing area | |
| US12422891B2 (en) | Electronic device including connecting member of internal structure | |
| EP4203639B1 (en) | Contact structure of camera module and electronic device comprising same | |
| EP4362436A1 (en) | Electronic device comprising structure for insulating heat emitted from speaker | |
| EP4598293A1 (en) | Electronic device comprising shield can | |
| EP4492761A1 (en) | Electronic device comprising structure for reducing inflow of foreign substances | |
| US20250208655A1 (en) | Electronic apparatus comprising frame detachably coupled to housing | |
| US20240049387A1 (en) | Electronic device having pad structure | |
| EP4629038A1 (en) | Display module including structure for reducing damage and electronic device comprising same |
| Date | Code | Title | Description |
|---|---|---|---|
| PA0109 | Patent application | Patent event code:PA01091R01D Comment text:Patent Application Patent event date:20190520 | |
| PG1501 | Laying open of application | ||
| PA0201 | Request for examination | Patent event code:PA02012R01D Patent event date:20220502 Comment text:Request for Examination of Application Patent event code:PA02011R01I Patent event date:20190520 Comment text:Patent Application | |
| E902 | Notification of reason for refusal | ||
| PE0902 | Notice of grounds for rejection | Comment text:Notification of reason for refusal Patent event date:20240513 Patent event code:PE09021S01D | |
| E701 | Decision to grant or registration of patent right | ||
| PE0701 | Decision of registration | Patent event code:PE07011S01D Comment text:Decision to Grant Registration Patent event date:20250107 | |
| GRNT | Written decision to grant | ||
| PR0701 | Registration of establishment | Comment text:Registration of Establishment Patent event date:20250312 Patent event code:PR07011E01D | |
| PR1002 | Payment of registration fee | Payment date:20250313 End annual number:3 Start annual number:1 | |
| PG1601 | Publication of registration |