











본 발명은 신장 실질 결속 구조체, 신장 실질 결속 구조체를 포함하는 신장 실질 결속 기기, 신장 실질 결속 구조체를 제공하는 어플라이어 및 이들을 포함하는 신장 복원 키트에 관한 것이다. 보다 구체적으로는, 신장 실질 조직에의 침투와 이에 따른 신장의 손상을 방지하면서 신장의 지혈을 최대한도로 보장하며 신장 봉합과 복원을 원활하게 할 수 있는, 신장 실질 결속 구조체, 신장 실질 결속 구조체를 포함하는 신장 실질 결속 기기, 신장 실질 결속 구조체를 제공하는 어플라이어 및 이들을 포함하는 신장 복원 키트에 관한 것이다.The present invention relates to a renal parenchymal binding structure, a renal parenchymal binding device comprising a renal parenchymal binding structure, an applicator providing a renal parenchymal binding structure, and a renal restoration kit comprising the same. More specifically, the kidney parenchymal structure, kidney parenchyma cohesive structure, which prevents penetration into the renal parenchymal tissue and thus prevents renal hemorrhage while maximizing hemostasis of the kidney and facilitates renal suture and restoration. The present invention relates to a renal parenchyma binding device, an applicator providing a renal parenchymal binding structure, and a renal restoration kit comprising the same.
신장암은 국내 10대 암종 중 최근은 7번째로 많이 발생하는 악성 종양이며, 생활습관의 선진화 및 건강 검진의 도입 등으로 점차 그 발병률이 상승하고 있다. 이러한 신장암의 일차적 치료는 수술적 제거로서 특히 1기 신장암의 경우에는 신장 전체를 제거하지 않고 신장의 종양만 제거하는 부분신절제술 또는 신장 부분 절제술이 일차적 치료로 권고되고 있다. 부분신제술 시에는 종양을 제거하고 남은 신장을 원래 모양대로 복구를 해주는 것이 이상적이지만, 복구 과정에서 신장에 대한 압박 및 결속이 불완전하면 신장 절개 부위에서 다량의 출혈이 있을 수 있으며, 이러한 출혈은 실제 부분신절제술 시행한 환자에서 많게는 5%까지 보고되고 있으며, 이러한 출혈은 환자의 생명에 상당한 정도의 위해를 초래할 수 있다. 또한 출혈 뿐 아니라 신장 절개가 깊은 경우에는 요로가 개방되어 있는 부위에서 지속적으로 소변이 새어 나오는 등의 심각한 합병증이 발생할 수 있다. 이러한 신장 복원이 임상적으로 매우 중요한 반면, 이러한 과정에서 여러 애로 사항이 존재하는바, 신장은 그 조직 특성이 매우 부드러워 약한 힘에도 매우 쉽게 깨져버리거나 찢어져버리기 쉬우며, 특히 로봇 및 복강경을 통한 신장 부분 절제술은 개복 수술보다 더욱 신장의 복원이 상당히 어렵고 불편한 경우가 많다.Kidney cancer is the 7th most common malignant tumor among the top 10 carcinomas in Korea, and its incidence is gradually increasing due to the advancement of lifestyle and the introduction of health examinations. The primary treatment for kidney cancer is surgical removal. Particularly in the case of
도 1a 및 1b는 신장 복원 시 기존에 주로 사용하는 신장 봉합 방법 및 도구를 도시한다. 도면에 도시된 바와 같이, 수술 부위인 신장 실질(1)을 봉합하기 위하여, 봉합 후 일반적으로 봉합사(2)의 말단에 클립(3)(예컨대, Lapra-Ty® 클립)을 연결한다. 상기 클립(3)은 수술 부위(1)에 지지되어 봉합사(2)에 장력을 거는 지지대 역할을 한다.1A and 1B show a renal suture method and tool mainly used in renal restoration. In order as shown in the figure, to seal the surgical site of the renal parenchyma (1), usually connected to a clip (3) (e. G., Lapra-Ty® clip) at the ends of the suture (2) after sealing. The
그러나, 클립(3)은 그 구조 상 클립(3)이 지지되는 부위에 적은 면적에 국소적으로 힘이 집중된다. 앞서 언급한 바와 같이, 신장 실질은 예를 들자면 카스테라 표면이나 계란 말이 표면과 같이 질감이 매우 부드럽고 손상되기 쉬운 조직이기 때문에 클립(3)이 신장 실질을 파고 들면서 찢는 경우가 많아 오히려 신장 복원을 시도하다 더욱 신장의 손상이 커져 신장의 기능을 더 많이 상실하는 사고가 왕왕 발생하며, 압박 면적이 적기 때문에 신장 실질에 대한 압력이 적어 충분히 지혈 효과를 발휘하지 못하는 문제가 발생하기 쉽다. However, the structure of the
상술한 문제점을 해결하기 위한 것으로서, 본 발명은 부드럽고 가요성이 있어서 신장 실질 조직에의 침투나 손상 없이 실질 표면을 안전하게 압박하고, 균등하게 압력을 전달하여 지혈 및 이에 따른 신장 복원을 원활하게 수행할 수 있는, 신장 실질 결속 구조체, 신장 실질 결속 구조체를 포함하는 신장 실질 결속 기기 및 이들을 포함하는 신장 복원 키트를 제공하는 것을 목적으로 한다.In order to solve the above-mentioned problem, the present invention is soft and flexible, so that the parenchymal surface is safely pressed without penetration or damage to the renal parenchymal tissue, and the pressure is evenly transmitted to perform hemostasis and renal restoration smoothly. It is an object of the present invention to provide a renal parenchymal binding structure, a renal parenchymal binding device comprising a renal parenchymal binding structure, and a renal restoration kit comprising the same.
본 발명은, 다른 측면에서, 가요성 있는 신장 실질 접촉부를 포함하는 경우에도 어플라이어로 제공 시 휘거나 말리는 등의 문제 없이 신장 실질 결속 구조체 취급을 쉽게 할 수 있는, 신장 실질 결속 구조체 어플라이어를 제공하는 것을 목적으로 한다.The present invention provides, in another aspect, a renal parenchyma coarse structure applicator that can easily handle a renal parenchyma coarse structure without problems such as bending or curling when provided as an applicator even when including a flexible renal parenchymal contact. It aims to do.
이러한 목적을 달성하기 위한 본 발명의 구현예들에서는, 신장 실질 결속 구조체로서, 판상 형태를 가지고, 신장 실질 조직에 침투 없이 면 접촉하며, 가요성 재질의 신장 실질 접촉부; 및 상기 신장 실질 접촉부 상부에 위치하는 비 가요성 재질의 봉합사 고정부;를 포함하는 신장 실질 결속 구조체를 제공한다.In embodiments of the present invention for achieving this object, as a stretch parenchymal structure, it has a plate-like shape, face contact without penetrating the renal parenchymal tissue, a stretch parenchymal contact of a flexible material; And a suture fixing portion made of a non-flexible material positioned on the kidney parenchymal contact portion.
본 발명의 다른 구현예들에서는, 신장 실질 결속 기기로서, 봉합 바늘, 상기 봉합 바늘에 연결된 봉합사, 및 상기 봉합사의 단부에 연결된 신장 실질 결속 구조체를 포함하고, 상기 신장 실질 결속 구조체는, 판상 형태를 가지고, 신장 실질 조직에 침투 없이 면 접촉하며, 가요성 재질의 신장 실질 접촉부; 및 상기 신장 실질 접촉부 상부에 위치하는 비 가요성 재질의 봉합사 고정부;를 포함하는 것이며, 상기 봉합사는 상기 신장 실질 접촉부를 통하여 상기 봉합사 고정부에 고정되는 신장 실질 결속 기기를 제공한다.In another embodiment of the present invention, a renal parenchyma binding device, comprising: a suture needle, a suture connected to the suture needle, and a renal parenchymal structure connected to an end of the suture, wherein the renal parenchyma structure has a plate shape Having, in contact with the kidney parenchymal tissue, in face contact, the flexible parenchymal contact portion; And a non-flexible suture fixing portion located above the renal parenchymal contact portion, wherein the suture provides a renal parenchymal device fixed to the suture fixing portion through the renal parenchymal contact portion.
본 발명의 또 다른 구현예들에서는, 신장 복원 키트로서, 전술한 신장 실질 결속 기기; 및 신장 결속이 필요한 부위에서 상기 신장 실질 결속 기기의 신장 결속 구조체와 한 쌍으로 사용되어, 봉합사를 타단에서 고정하는 전술한 신장 실질 결속 구조체;를 포함하는 신장 복원 키트를 제공한다.In still other embodiments of the present invention, a kidney restoration kit comprising: the renal parenchyma binding device described above; And it is used as a pair of the kidney binding structure of the kidney parenchyma at the site where the kidney is bound, the kidney parenchymal binding structure described above to fix the suture at the other end.
본 발명의 또 다른 구현예들에서는, 전술한 신장 실질 결속 구조체를 제공하는 어플라이어를 제공한다.In still other embodiments of the present invention, there is provided an applicator that provides the above-described kidney parenchyma binding structure.
본 발명의 신장 실질 결속 구조체는 판상 형태이며 가요성 있는 신장 실질 접촉부가 신장 실질 면에 접촉하게 됨으로써, 봉합사의 장력을 신장 실질에 균등하게 분산시킬 수 있기 때문에, 신장 조직에 대한 침투 및 불필요한 추가적 손상을 방지하면서 신장의 지혈을 최대한으로 보장할 수 있다. 따라서, 신장의 봉합과 복원을 원활하게 할 수 있으며, 기존에 사용되는 도구에 비하여 합병증 발생 비율을 크게 낮출 수 있다.The renal parenchymal binding structure of the present invention is in the form of a plate, and since the flexible renal parenchymal contact portion comes into contact with the renal parenchymal surface, the tension of the suture can be evenly distributed in the renal parenchyma, so that penetration into the renal tissue and unnecessary additional damage It can prevent the hemostasis of the kidney as much as possible while preventing. Therefore, the suture and restoration of the kidney can be smoothly performed, and the incidence of complications can be significantly reduced compared to the conventional tools.
또한, 봉합 사에 신장 실질 접촉부를 결합시킨 신장 실질 결속기 및 이와 한쌍으로 사용되는 별도의 신장 실질 접촉부로 구성된 키트를 통하여, 신장 실질 봉합 및 복원 수술 수행을 더욱 원활하게 수행하도록 할 수 있다.In addition, through a kit composed of a renal parenchyma binding unit in which a renal parenchymal contact portion is coupled to a suture and a separate renal parenchymal contact portion used as a pair, renal parenchymal suture and restoration surgery can be performed more smoothly.
또한, 상기 신장 실질 접촉부를 어플라이어로 제공 시에도 가요성 부분으로 인하여 휘거나 말리는 등의 문제 없이 용이하게 제공할 수 있다.In addition, even when the renal parenchymal contact portion is provided as an applicator, it can be easily provided without problems such as bending or drying due to the flexible portion.
도 1a 및 1b는 기존의 신장 봉합 도구 및 방법을 도시하는 개략도이다.
도 2a 내지 2e는 본 발명의 실시예들에 따른 신장 실질 결속 구조체의 평면도를 도시한다.
도 3a 및 3b는 본 발명의 실시예들에 따른 신장 실질 결속 구조체를 포함하는 신장 실질 결속 기기의 사시도를 도시한다.
도 4a 및 4b는 본 발명의 실시예들에 따른 신장 실질 결속 구조체를 제공하는 어플라이어를 도시한다.
도 5는 본 발명의 실시예들에 따른 신장 복원 키트를 이용한 신장 봉합 방법을 보여주는 개략도이다.1A and 1B are schematic diagrams showing conventional kidney suture tools and methods.
2A to 2E show plan views of a stretch parenchyma structure according to embodiments of the present invention.
3A and 3B show perspective views of a renal parenchyma binding device comprising a renal parenchymal structure according to embodiments of the present invention.
4A and 4B show an applicator providing a stretch parenchyma structure according to embodiments of the present invention.
5 is a schematic view showing a kidney suture method using a kidney restoration kit according to embodiments of the present invention.
이하, 본 발명의 구현예들에 따른 신장 실질 결속 구조체, 신장 실질 결속 기기, 이들을 포함하는 신장 복원 키트 및 신장 실질 결속 구조체를 제공하는 어플라이어에 대한 실시 형태를 도면을 참조하여 설명한다. 이하에서는 도면에 도시된 실시예를 참고로 설명되지만 이는 예시적인 실시예들로서 설명되는 것이며, 이것에 의해 본 발명의 기술적 사상과 그 핵심 구성 및 작용이 제한되지 않는다.Hereinafter, embodiments of the renal parenchymal binding structure, the renal parenchymal binding device, the kidney restoration kit including them, and the applicator providing the renal parenchymal binding structure according to embodiments of the present invention will be described with reference to the drawings. Hereinafter, the embodiments illustrated in the drawings will be described with reference, but these are described as exemplary embodiments, whereby the technical spirit of the present invention and its core configuration and operation are not limited.
도 2a 내지 2e는 본 발명의 실시예들에 따른 신장 실질 결속 구조체의 평면도를 도시한다.2A to 2E show plan views of a stretch parenchyma structure according to embodiments of the present invention.
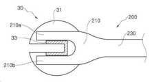
도 2a 내지 도 2c에 도시된 바와 같이, 본 발명의 일 실시예에 따른 신장 실질 결속 구조체(30)는 신장 실질 접촉부(31) 및 봉합사 고정부(33)를 포함하며, 신장 실질 접촉부(31) 상에 봉합사 고정부(33)가 결합된 형태이다.As shown in Figures 2a to 2c, the stretch
신장 실질 접촉부(31)는 신장 실질 조직에 직접적으로 맞닿는 부재로서, 신장 부분 절제술 과정에서 신장 실질 조직에 침투 없이 면 접촉한 상태로 유지된다. 신장 실질에 가해지는 압력을 적절하게 분산시켜 실질 조직에 침투하지 않고 신장 실질에 용이한 면 접촉을 제공하기 위하여, 신장 실질 접촉부(31)는 부드러운 가요성 있는 재료로 구성된다. 이와 같은 가요성 재료로 신장 실질 접촉부(31)를 구성하는 경우 봉합사가 해당 신장 실질 접촉부(31)를 통과하는 것도 용이하게 된다.The renal
일 실시예에서, 신장 실질 접촉부(31)는 예컨대 생체 흡수 가능한 콜라겐 또는 PLA[Poly(Latic Acid)]나 PGA [Poly(Glycolic Acid)] 등과 같이 생흡수성 폴리머(bioabsorbable polymer)로 구성될 수 있다.In one embodiment, the renal
또한, 신장 실질 접촉부(31)는 신장 조직에 침투하지 않도록 면적은 넓고 두께는 얇은 판상 형태를 가지도록 한다. 여기서, 판상의 구체적 형상으로는 여러 형상을 가질 수 있지만, 신장 실질 접촉부(31) 상에 각진 부분이 존재하면, 신장의 봉합과 복원 시에 봉합사의 장력에 의해 신장 실질 접촉부(31)에 형성된 각진 부위와 맞닿은 신장 실질 부위에 국소적인 힘의 집중이 발생하게 되는 문제가 발생할 수 있다. 이러한 측면에서, 신장 실질 접촉부(31)는 각진 부분이 없는 원, 타원 형상으 및 모서리가 둥글게 처리된 사각형 형태로 이루어지는 것이 바람직하다.In addition, the renal
신장 실질 접촉부(31)는 신장 실질에 직접적으로 접촉하기 때문에, 신장 실질 접촉부(31)의 크기가 너무 작을 경우에는 신장 실질에 과도하게 압력이 가해지는 문제가 발생할 수 있으며, 반대로 크기가 너무 클 경우에는 신장의 봉합 또는 복원 과정에서 다른 수술 도구의 침습을 방해할 수 있다. 하지만 신장의 손상 부위의 크기가 종양 크기에 따라서 매우 다양하기 때문에 신장 실질 접촉부(31)는 원형 판상인 경우 직경이 5mm 내지 15mm인 것이 바람직하다.Since the renal
아울러, 후술하는 바와 같이, 신장 실질 접촉부(31)의 상부면에는 비가요성의 딱딱한 강성(stiff) 재질의 봉합사 고정부(33)나 몸체(32)가 배치되기 때문에, 신장 실질 접촉부(31)가 너무 얇게 형성되면, 봉합사 고정부(33)나 몸체(32)에 의하여 신장 실질에 가해지는 압력이 적절하게 분산되지 못하는 문제가 발생할 수 있다. 반대로, 신장 실질 접촉부(31)가 너무 두껍게 형성되면, 판상 형태를 상실하게 되어 신장 실질 조직에 침투할 수 있고 신장 실질 결속 구조체(30)가 지나치게 돌출되어 봉합 수술에 장애가 되거나 인접한 장기에 접촉이 발생하는 등의 문제가 있을 수 있다. 따라서, 신장 실질 접촉부(31)의 두께는 1mm 내지 3mm인 것이 바람직하다.In addition, as will be described later, since the
한편, 봉합사 고정부(33)는 신장 실질 접촉부(31)의 상부에 적층되고 비가요성의 딱딱한 강성(stiff) 재질의 구조물로서, 봉합사를 고정시키기 위한 부재이다. 봉합사는 신장 실질 접촉부(31)를 관통하거나 후술하는 바와 같이 가이드 홈이 형성된 경우 해당 가이드 홈을 지나 봉합사 고정부(33)에 고정된다.On the other hand, the
여기서, 봉합사는 봉합사 고정부(33)에 예컨대 걸어서 고정될 수 있고, 또는 매듭을 지어서 고정될 수 있다. 일 실시예에서, 봉합사 고정부(33)는 예컨대 두 개의 팔을 가지는 클립 형태일 수 있다. 이러한 클립의 두 팔이 결찰되며 봉합사를 고정시킬 수 있다.Here, the suture may be fixed to the
도 2b는 특히 신장 실질 접촉부(31)에 봉합사가 끼워질 수 있도록 제1 가이드 홈(31a)(후술하는 몸체에 형성되는 가이드 홈과 구분하고자 신장 실질 접촉부에 형성되는 가이드 홈을 제1 가이드 홈으로 지칭한다)이 형성된 것을 예시적으로 보여준다.FIG. 2B is a
도 2b에 도시된 바와 같이, 봉합사 고정부(33)는 두 개의 팔을 가지는 클립 형태일 수 있으며, 이때 상기 두 개의 팔의 하부에서 두 개의 팔이 만드는 홈에 대응하도록 신장 실질 접촉부(31)의 제1 가이드 홈(31a)이 위치할 수 있다. 이와 같은 제1 가이드 홈을 따라서 봉합사가 용이하게 끼워져서 봉합사 고정부(33)에 고정될 수 있다.As shown in Figure 2b, the
도 2c에 도시된 바와 같이, 상기 신장 실질 접촉부(31)에는 제1 가이드 홈(31a)외에도 하나 이상의 공기 구멍(31b)이 형성될 수 있다. 제1 가이드 홈(31a)이 없는 실시예의 경우(도 2a 참조)에도 하나 이상의 공기 구멍이 형성될 수 있음은 물론이다.2C, one or
상기 공기 구멍은 신장 실질 접촉부(31)가 신장 실질에 접촉 시 공기 통과가 가능하도록 하기 위한 것으로서, 이러한 공기 구멍을 형성하면 신장 실질 접촉부(31)의 생체 흡수 속도를 더 높일 수 있다. 다만, 공기 구멍은 신장 실질 접촉부(31)의 본래의 역할을 수행할 수 있는 범위에서 그 개수나 크기 형성 위치를 적절히 정하여야 한다. 예컨대, 공기 구멍이 지나치게 큰 크기로 너무 많이 형성되면 충분한 장력을 인가하지 못할 수 있다.The air holes are intended to allow air to pass through when the renal
도 2d 및 2e는 본 발명의 다른 일 실시예에 따른 신장 실질 결속 구조체(30)를 보여준다. 해당 신장 실질 결속 구조체(30)는 신장 실질 접촉부(31), 몸체(32) 및 봉합사 고정부(33)를 포함한다. 신장 실질 접촉부(31) 및 봉합사 고정부(33)에 대하여는 앞서 설명하였으므로 중복을 피하기 위하여 이하에서는 몸체(32)를 위주로 설명한다.2D and 2E show a
몸체(32)는 신장 실질 접촉부(31)의 상부 및 봉합사 고정부(33) 하부에 결합되는 것이며, 신장 실질 접촉부(31)와 같은 중심을 가질 수 있다.The
신장 부분 절재 술 시행 시, 봉합사 고정부(33)에 큰 장력이 가해지는 경우 신장 실질 접촉부(31)를 파고 들어 결국 신장 실질까지 침투해 들어갈 수 있다. 몸체(32)는 이러한 경우를 방지하는 버퍼 역할을 할 수 있다. 따라서, 몸체(32)는 신장 실질 접촉부(31)와 마찬가지로 판 상 형태를 가지지만 면적은 신장 실질 접촉부(31)보다 같거나 작아야 하며, 비가요성의 강성(stiff) 재질로 구성되는 것이 바람직하다. 일 예에서, 몸체는 봉합사 고정부와 같은 재질의 것을 사용할 수 있으며, 생체 적합성 플라스틱이나 금속 재질을 사용할 수 있다.When the renal partial ablation technique is performed, when a large tension is applied to the
몸체(32)의 형상도 여러 가지 형상일 수 있지만, 신장 실질 접촉부(31)에 대응되도록 원형 판상의 형태를 가질 수 있다.The shape of the
이상과 같이 몸체(32)는 신장 실질 결속 구조체(30)가 신장 실질에 보다 안정적으로 위치할 수 있도록 도울 수 있다. 뿐만 아니라, 몸체(32)는 신장 실질 결속 구조체(30)를 어플라이어로 제공 시 취급이 쉽도록 할 수 있다. 즉, 신장 실질 결속 구조체(30)가 몸체(32) 없이 신장 실질 접촉부(31) 만으로 구성되는 경우 신장 실질 접촉부(31)가 부드러운 가요성 재질이기 때문에 이 부분을 어플라이어로 잡게 되면 휘거나 말리는 등 수술 시 취급이 곤란할 수 있다.As described above, the
물론 어플라이어가 봉합사 고정부(33)를 잡도록 할 수 있지만, 봉합사 고정부(33)는 신장 실질 접촉부(31) 대비 상대적으로 크기가 작기 때문에 보다 잡기 쉬운 중간 사이즈의 부재가 필요하다. 따라서, 신장 실질 접촉부를 부드럽고 가요성 있는 재질로 구성하되, 신장 실질 접촉부보다 작은 사이즈를 가지는 몸체를 비 가요성의 딱딱하고 강성 있는(stiff) 재질로 구성하여 해당 몸체를 어플라이어가 잡도록 함으로써, 어플라이어에 의한 취급성을 높일 수 있다.Of course, it is possible for the applier to hold the
몸체(32)는 신장 실질 접촉부(31) 상에 위치하여 봉합사의 장력에 의한 힘이 직접적으로 가해질 수 있으므로, 몸체(32)의 직경이 너무 작을 경우에는 신장 실질에 가해지는 힘이 집중되어, 신장 실질 접촉부(31)에 의해 적절하게 분산되지 않을 수 있다. 반대로, 몸체(32)의 직경이 너무 클 경우에는 수술 부위가 평평한 면이 아닌 곡면으로 이루어 질 수도 있기 때문에, 신장 실질 결속 구조체(30)가 수술면 상에 불안정하게 유지되는 문제가 일어날 수 있다. 따라서, 몸체(32)의 직경은 5mm 내지 15mm 이고 두께는 2mm 내지 5mm미만인 것이 바람직하다.Since the
몸체(32)는 비가요성의 강성 있는 재질이기 때문에 봉합사가 통과될 수 있도록 중심에 구멍이 형성되거나, 가이드 홈이 형성될 수 있다. 도 2e는 몸체(32)에 제2 가이드 홈이 형성된 것을 보여준다. 전술한 신장 실질 접촉부(31)의 제1 가이드 홈의 경우와 마찬가지로, 봉합사 고정부(33)가 두 개의 팔을 가지는 클립 형태이면, 상기 두 개의 팔의 하부에서 두 개의 팔에 의하여 만들어지는 홈 위치에 대응하도록 제2 가이드 홈이 위치할 수 있다.Since the
도 3a 및 3b는 본 발명의 실시예들에 따른 신장 실질 결속 구조체를 포함하는 신장 실질 결속 기기의 사시도를 도시한다.3A and 3B show perspective views of a renal parenchyma binding device comprising a renal parenchymal structure according to embodiments of the present invention.
도 3a에 도시된 바와 같이, 신장 실질 결속 기기(100)는 봉합 바늘(10)에 봉합사(20)가 연결되고, 그 봉합사(20)의 일측 단부에 신장 실질 결속 구조체(50)가 구비된다. 즉, 봉합 바늘에 연결된 봉합사와 신장 실질 결속 구조체가 일체형인 구조이다.As shown in Figure 3a, the renal
신장 실질 결속 구조체(50)는, 앞서 설명한 바와 같이 판상 형태를 가지고, 신장 실질 조직에 침투 없이 면 접촉하며, 가요성 재질의 신장 실질 접촉부(51); 및 상기 신장 실질 접촉부(51) 상부에 위치하는 비 가요성 재질의 봉합사 고정부(53);를 포함한다. 봉합사(20)는 상기 신장 실질 접촉부(51)를 관통하여 봉합사 고정부(53)에 고정된다. 봉합사 고정부(53)는 전술한 바와 같이 두개의 팔을 가지는 클립 형태일 수 있고, 이 클립의 두 팔이 결찰되며 봉합사를 고정할 수 있다.The
한편, 도 3b에 도시된 바와 같이, 상기 신장 실질 결속 구조체(50)는 신장 실질 접촉부(51) 및 봉합사 고정부(53) 사이에 몸체(52)를 더 포함할 수 있다. 상기 몸체(52)는 비 가요성 재질로 이루어지고, 신장 실질 접촉부보다 면적이 같거나 작은 판상 형태이다.On the other hand, as shown in Figure 3b, the
신장 실질 결속 구조체(50)의 신장 실질 접촉부(51), 선택적으로 추가되는 몸체(52) 및 봉합사 고정부(53)의 중심 상에는 봉합사(20)가 통과하도록 할 수 있다. 이와 같이 봉합사(20)의 단부에 신장 실질 결속 구조체(50)가 이미 일체형으로 결합되어 있는 경우 별도의 가이드 홈 까지는 불필요할 수 있다. 물론 특정한 필요에 따라 앞서 설명한 신장 실질 결속 구조체(30) 단독의 경우와 같이 가이드 홈을 구비하여도 무방하다. 또한, 신장 실질 결속 구조체(50)에도 하나 이상의 공기 구멍이 구비될 수 있다. 각 가이드 홈이나 공기 구멍의 기능은 앞서 설명하였으므로 중복을 피하기 위하여 따로 설명하지 않는다.The
도 4a 및 4b는 본 발명의 실시예들에 따른 신장 실질 결속 구조체(30)를 제공하는 어플라이어(200)를 도시한다.4A and 4B show an
어플라이어(200)는 손잡이부(230) 및 신장 실질 결속 구조체(30)를 잡을 수 있는 집게부(210)를 포함한다. 집게부(210)는 두 개의 집게 레그(210a, 210b)을 가진다. 또한, 도시하지는 않았지만, 집게부(210)는 집게 힌지에 두 개의 집게 레그가 연결되도록 할 수도 있다. 두 개의 집게 레그(210a, 210b)는 신장 실질 결속 구조체(30) 중 비 가요성 부분인 봉합사 고정부(33)를 수용하거나(도 4a) 또는 몸체(32)를 수용하도록 구성된다(도 4b). 이때, 집게부(210) 집게 레그(210a, 210b)는 신장 실질 결속 구조체(30)의 주변부를 고정하여 수용하거나, 신장 실질 결속 구조체(30)의 외주 부분을 수용할 수 있는 수용 홈이 집게 레그에 형성되어 신장 실질 결속 구조체(30)가 수용될 수 있다. 이와 같이 집게부(210)에 신장 실질 결속 구조체(30)의 비 가요성 부분이 수용된 상태로 봉합 부위에 제공된다. 상술한 어플라이어(200)의 집게부(210)에 대한 구성은 일 예시에 불과한 것이며, 통상의 기술자는 이에 대하여 수정 및 변경을 가할 수 있을 것이다.The
한편, 본 발명의 구현예들에서는 상술한 신장 실질 결속 기기(100) 및 신장 실질 결속이 필요한 부위에서 상기 신장 실질 결속 기기(100)의 신장 결속 구조체(50)와 한쌍(pair)으로 사용되어, 봉합사를 타단에서 고정하는 신장 실질 결속 구조체(30)를 포함하는 신장 복원 키트를 제공한다. 해당 신장 복원 키트 구성에는 전술한 어플라이어(200)가 추가로 포함될 수 있다.On the other hand, in embodiments of the present invention is used in a pair with the
신장 부분 절제술과 같이 신장 실질의 봉합, 결속, 복원이 필요한 경우에 상기 신장 복원 키트가 유용하게 이용될 수 있다.The renal restoration kit may be useful when the renal parenchyma is sutured, bound, or restored, such as partial resection.
도 5는 신장 실질(500) 봉합, 결속 및 복원 시에, 본 발명의 실시예들에 따른 신장 복원 키트를 이용하는 것을 보여주는 개략도이다.5 is a schematic diagram showing the use of a kidney restoration kit according to embodiments of the present invention, when the
도 5에 도시된 바와 같이, 신장 복원 키트 중 신장 실질 결속 기기(100)의 봉합사(20)가 달린 봉합 바늘(10)은 봉합이 필요한 신장 실질 부위의 일 측을 관통하게 되고, 봉합사(20)의 단부에 연결된 신장 실질 결속 구조체(50)의 신장 실질 접촉부(51)가 상기 관통 부위의 신장 실질 조직에 침투 없이 면 접촉하며 유지된다. 이때, 봉합사(20)의 단부는 신장 실질 결속 구조체(50)의 봉합사 고정부(53)에 의해 고정되어 있는 상태이다.As shown in FIG. 5, the
다음으로, 봉합 바늘(10)은 봉합할 신장 실질 부위의 타측을 관통하여 봉합사(20)는 봉합 부위를 가로지른다. 봉합사(20)에 힘을 가하여 당기면, 봉합사(20)에 장력이 가해지고, 신장 실질 결속 구조체(50)는 상기 신장 실질 부위의 일측에 압력을 가한다. 따라서, 신장 실질 부위의 일측이 타측으로 견인되어 봉합 부위가 오므려지게 되고, 이 상태에서 봉합을 유지시키기 위하여, 신장 실질 부위의 타측에는 전술한 신장 실질 결속기(100)의 신장 실질 결속 구조체(50)와 한 쌍(pair)으로 사용되는 신장 실질 결속 구조체(30)가 어플라이어(200)에 의하여 제공되어 봉합사(20)의 타측 단부에 연결되고 봉합사 고정부(33)에서 고정된다. 신장 실질 결속 구조체(30)에서 판상 형태이며 가요성 있는 신장 실질 접촉부(31)가 신장 실질 면에 접촉하게 됨으로써, 봉합사의 장력을 신장 실질에 균등하게 분산시킬 수 있기 때문에, 신장 조직에 대한 침투나 손상을 방지하면서 신장의 지혈을 최대한으로 보장할 수 있다.Next, the
이상의 신장 복원 키트는 신장의 봉합과 복원을 원활하게 할 수 있으며, 기존에 사용되는 도구에 비하여 합병증 발생 비율을 크게 낮출 수 있다.The above kidney restoration kit can smoothly seal and restore the kidney, and can significantly reduce the incidence of complications compared to conventional tools.
10: 봉합 바늘20: 봉합사
30, 50: 신장 실질 구조체 31, 51: 신장 실질 접촉부
31a: 가이드 홈 31b: 공기 구멍
32, 52: 몸체33, 53: 봉합사 고정부
100: 신장 실질 결속기 200: 어플라이어
210: 집게 부 230: 손잡이부
210a, 210b: 집게 레그 500: 신장 실질10: suture needle 20: suture
30, 50:
31a: guide
32, 52:
100: kidney parenchyma 200: applier
210: tongs 230: handle
210a, 210b: forceps leg 500: kidney parenchyma
| Application Number | Priority Date | Filing Date | Title |
|---|---|---|---|
| KR1020180148704AKR102383542B1 (en) | 2018-11-27 | 2018-11-27 | Kidney parenchyma binding structure, kidney parenchyma binding device, applier providing the kidney parenchyma binding structure and kidney renorrhaphy kit comprising the same |
| PCT/KR2019/015651WO2020111610A1 (en) | 2018-11-27 | 2019-11-15 | Kidney parenchyma binding structure, kidney parenchyma binding device comprising kidney parenchyma binding structure, applier for providing kidney parenchyma binding structure, and kidney restoration kit comprising same |
| Application Number | Priority Date | Filing Date | Title |
|---|---|---|---|
| KR1020180148704AKR102383542B1 (en) | 2018-11-27 | 2018-11-27 | Kidney parenchyma binding structure, kidney parenchyma binding device, applier providing the kidney parenchyma binding structure and kidney renorrhaphy kit comprising the same |
| Publication Number | Publication Date |
|---|---|
| KR20200062828Atrue KR20200062828A (en) | 2020-06-04 |
| KR102383542B1 KR102383542B1 (en) | 2022-04-06 |
| Application Number | Title | Priority Date | Filing Date |
|---|---|---|---|
| KR1020180148704AActiveKR102383542B1 (en) | 2018-11-27 | 2018-11-27 | Kidney parenchyma binding structure, kidney parenchyma binding device, applier providing the kidney parenchyma binding structure and kidney renorrhaphy kit comprising the same |
| Country | Link |
|---|---|
| KR (1) | KR102383542B1 (en) |
| WO (1) | WO2020111610A1 (en) |
| Publication number | Priority date | Publication date | Assignee | Title |
|---|---|---|---|---|
| US12029413B2 (en) | 2020-06-30 | 2024-07-09 | Neurotect LLC | Knotless sutures and anchoring clip for knotless sutures |
| Publication number | Priority date | Publication date | Assignee | Title |
|---|---|---|---|---|
| US20100256676A1 (en)* | 2009-04-06 | 2010-10-07 | Hay Alan R | Suture clips for securing sutures |
| US20140018829A1 (en)* | 2010-12-28 | 2014-01-16 | Castle Surgical, Inc. | Sliding overhead clip and associated methods |
| WO2014078237A1 (en)* | 2012-11-16 | 2014-05-22 | Eaves Felmont F | Fixation device for securing a linear element to a workpiece |
| US20160270776A1 (en)* | 2015-03-16 | 2016-09-22 | Edwards Lifesciences Corporation | Suture securement devices |
| Publication number | Priority date | Publication date | Assignee | Title |
|---|---|---|---|---|
| US20120158054A1 (en)* | 2007-12-03 | 2012-06-21 | Stupak Howard D | Suture-plate scar reduction surgical device and method |
| US8992571B2 (en)* | 2011-11-01 | 2015-03-31 | Abbott Cardiovascular Systems, Inc. | Suture clip |
| KR101611144B1 (en)* | 2012-10-31 | 2016-04-08 | 집라인 메디칼, 인크. | Surgical incision and closure apparatus |
| Publication number | Priority date | Publication date | Assignee | Title |
|---|---|---|---|---|
| US20100256676A1 (en)* | 2009-04-06 | 2010-10-07 | Hay Alan R | Suture clips for securing sutures |
| US20140018829A1 (en)* | 2010-12-28 | 2014-01-16 | Castle Surgical, Inc. | Sliding overhead clip and associated methods |
| WO2014078237A1 (en)* | 2012-11-16 | 2014-05-22 | Eaves Felmont F | Fixation device for securing a linear element to a workpiece |
| US20160270776A1 (en)* | 2015-03-16 | 2016-09-22 | Edwards Lifesciences Corporation | Suture securement devices |
| Publication number | Publication date |
|---|---|
| WO2020111610A1 (en) | 2020-06-04 |
| KR102383542B1 (en) | 2022-04-06 |
| Publication | Publication Date | Title |
|---|---|---|
| US10335158B2 (en) | Vascular and intestinal occlusion | |
| JP4124398B2 (en) | Treatment device for prolapse by vagina lifting | |
| AU734707B2 (en) | Apparatus and method for producing a reinforced surgical fastener suture line | |
| US4487205A (en) | Non-metallic, bio-compatible hemostatic clips | |
| JP4219453B2 (en) | Prosthetic brace with collagen for tissue repair | |
| JPH10509615A (en) | Surgical clip having a longitudinal opening through which the tissue to be clamped protrudes | |
| US20070118174A1 (en) | Laparoscopic surgical clamp and suturing methods | |
| US11744595B2 (en) | Ligating clip | |
| US20120053603A1 (en) | Wound closure clips, systems and methods | |
| KR101065142B1 (en) | Vascular anastomosis device | |
| KR20200062828A (en) | Kidney parenchyma binding structure, kidney parenchyma binding device, applier providing the kidney parenchyma binding structure and kidney renorrhaphy kit comprising the same | |
| US9943296B2 (en) | Surgical method and clamping apparatus for repair of a defect in a dural membrane or a vascular wall, and anastomic method and apparatus for a body lumen | |
| EP2462879B1 (en) | Medical reinforcement device | |
| US20070093860A1 (en) | Surgical method and clamping apparatus for repair of a defect in a dural membrane or a vascular wall, and anastomic method and apparatus for a body lumen | |
| KR20090007421A (en) | Surgical suture tools and application method | |
| JPH05176937A (en) | Suture clip in endoscope operation | |
| RU2240735C1 (en) | Clip for obturating hollow extended organs | |
| CN218832837U (en) | Muscle-strengthening tissue suture auxiliary forceps | |
| US20240335199A1 (en) | Vascular plug | |
| US20230065206A1 (en) | System and method for repairing a ligament | |
| SU1641295A1 (en) | Hemostatic forceps | |
| US20110264117A1 (en) | Tissue joining device and instrument for enabling use of a tissue joining device | |
| CN219461257U (en) | Wire holding clamp used in operation | |
| CN216724654U (en) | A non-slip tissue clip for minimally invasive liver surgery | |
| CN213787594U (en) | Operation suture needle applied to laparoscopic surgery |
| Date | Code | Title | Description |
|---|---|---|---|
| PA0109 | Patent application | Patent event code:PA01091R01D Comment text:Patent Application Patent event date:20181127 | |
| PA0201 | Request for examination | Patent event code:PA02012R01D Patent event date:20191105 Comment text:Request for Examination of Application Patent event code:PA02011R01I Patent event date:20181127 Comment text:Patent Application | |
| PG1501 | Laying open of application | ||
| E902 | Notification of reason for refusal | ||
| PE0902 | Notice of grounds for rejection | Comment text:Notification of reason for refusal Patent event date:20210624 Patent event code:PE09021S01D | |
| E701 | Decision to grant or registration of patent right | ||
| PE0701 | Decision of registration | Patent event code:PE07011S01D Comment text:Decision to Grant Registration Patent event date:20220328 | |
| PR0701 | Registration of establishment | Comment text:Registration of Establishment Patent event date:20220401 Patent event code:PR07011E01D | |
| PR1002 | Payment of registration fee | Payment date:20220404 End annual number:3 Start annual number:1 | |
| PG1601 | Publication of registration |