













본 발명은 레이더 장치에 관한 것으로, 좀 더 상세하게는 클럭 신호에 기초하여 펄스를 방사하고, 목표물로부터 반사된 펄스로부터 목표물에 대한 정보를 획득하는 펄스 레이더 장치에 관한 것이다.The present invention relates to a radar device, and more particularly to a pulse radar device for emitting a pulse based on a clock signal, and obtains information about the target from the pulse reflected from the target.
펄스 레이더 장치(pulse radar apparatus)는 송신 클럭(clock)에 기초하여 송신 펄스를 반복하여 방사하고, 수신 클럭에 기초하여 송신 펄스가 목표물(target)에 반사되어 돌아오는 에코 펄스를 복원할 수 있다. 펄스 레이더 장치는 복원된 에코 펄스를 분석하여 목표물에 대한 정보를 획득할 수 있다.The pulse radar apparatus repeatedly radiates a transmission pulse based on a transmission clock, and restores an echo pulse in which a transmission pulse is reflected back to a target based on the reception clock. The pulse radar device may obtain information about the target by analyzing the restored echo pulse.
펄스 레이더 장치는 에코 펄스를 분석하여 목표물의 거리 및 목표물의 방위각 정보를 획득할 수 있다. 목표물의 거리를 정밀하게 획득하기 위해서(즉, 높은 거리 해상도를 구현하기 위해서), 송신 클럭과 수신 클럭 사이의 지연이 미세하게 조절되어야 한다. 그러나, 송신 클럭과 수신 클럭 사이의 지연을 미세하게 조절하기는 쉽지 않다. 또한, 목표물의 방위각을 정밀하게 획득하기 위해서(즉, 높은 방위각 해상도를 구현하기 위해서), 펄스 레이더 장치는 다양한 위치에 배치되는 다수의 수신기를 포함할 수 있다. 그러나, 펄스 레이더 장치가 다수의 수신기를 포함하는 경우, 레이더 장치의 크기가 커질 수 있으며, 전력 소모가 많을 수 있다.The pulse radar apparatus may obtain the distance of the target and the azimuth information of the target by analyzing the echo pulse. In order to accurately obtain the distance of the target (i.e., to implement a high distance resolution), the delay between the transmit clock and the receive clock must be finely adjusted. However, it is not easy to finely adjust the delay between the transmit clock and the receive clock. In addition, in order to accurately obtain the azimuth of the target (ie, to implement high azimuth resolution), the pulse radar device may include a plurality of receivers arranged at various locations. However, when the pulse radar device includes a plurality of receivers, the size of the radar device may be large and power consumption may be high.
본 발명은 상술된 기술적 과제를 해결하기 위한 것이다. 본 발명의 목적은 펄스 레이더 장치의 송신 클럭 및 수신 클럭 사이의 지연을 미세하게 조절하여 높은 거리 해상도를 제공하는 것이다. 또한, 펄스 레이더 장치의 크기를 최소화하면서 높은 방위각 해상도를 제공하는 데 있다.The present invention is to solve the above technical problem. It is an object of the present invention to provide high distance resolution by finely adjusting the delay between the transmit and receive clocks of a pulse radar device. In addition, the present invention provides a high azimuth resolution while minimizing the size of the pulse radar device.
본 발명의 하나의 실시 예에 따른 레이더 장치는 시간에 따라 값이 가변되는 가변 지연 제어 신호를 생성하도록 구성된 제어기, 송신 클럭(clock) 및 상기 가변 지연 제어 신호에 따라 가변되는 지연 시간만큼 상기 송신 클럭보다 지연된 수신 클럭을 생성하도록 구성된 클럭 생성기, 상기 송신 클럭에 기초하여 송신 안테나를 통해 송신 펄스를 방사하도록 구성된 송신기, 제1 수신 안테나를 통해 상기 송신 펄스가 목표물로부터 반사된 제1 에코 펄스를 수신하고, 상기 수신 클럭에 기초하여 상기 제1 에코 펄스에 대응하는 제1 복원 신호를 생성하도록 구성된 제1 수신기 및 제2 수신 안테나를 통해 상기 송신 펄스가 상기 목표물로부터 반사된 제2 에코 펄스를 수신하고, 상기 수신 클럭에 기초하여 상기 제2 에코 펄스에 대응하는 제2 복원 신호를 생성하도록 구성된 제2 수신기를 포함하고, 상기 제어기는 상기 제1 복원 신호에 대응하는 상기 송신 클럭과 상기 수신 클럭 사이의 제1 지연 시간 및 상기 제2 복원 신호에 대응하는 상기 송신 클럭과 상기 수신 클럭 사이의 제2 지연 시간 중 적어도 하나에 기초하여 상기 목표물의 거리를 획득하도록 더 구성된다.A radar device according to an embodiment of the present invention includes a controller configured to generate a variable delay control signal whose value varies with time, a transmission clock, and the transmission clock by a delay time that varies according to the variable delay control signal. A clock generator configured to generate a delayed receive clock, a transmitter configured to emit a transmit pulse through a transmit antenna based on the transmit clock, receive a first echo pulse reflected from a target through a first receive antenna, and Receive a second echo pulse reflected by the transmission pulse from the target through a first receiver and a second receive antenna configured to generate a first recovery signal corresponding to the first echo pulse based on the received clock, Generate a second recovery signal corresponding to the second echo pulse based on the received clock; And a second receiver configured, wherein the controller comprises a first delay time between the transmit clock and the receive clock corresponding to the first recovery signal and between the transmit clock and the receive clock corresponding to the second recovery signal. And obtain a distance of the target based on at least one of the second delay times.
하나의 실시 예에 있어서, 상기 제어기는 상기 제1 수신 안테나와 상기 제2 수신 안테나 사이의 이격 거리, 상기 제1 지연 시간 및 상기 제2 지연 시간에 기초하여 상기 목표물의 방위각을 획득하도록 더 구성될 수 있다.In one embodiment, the controller may be further configured to obtain an azimuth angle of the target based on a separation distance between the first receiving antenna and the second receiving antenna, the first delay time and the second delay time. Can be.
하나의 실시 예에 있어서, 상기 이격 거리는 상기 송신 펄스의 중심 주파수의 파장의 절반 이상일 수 있다.In one embodiment, the separation distance may be at least half of the wavelength of the center frequency of the transmission pulse.
하나의 실시 예에 있어서, 상기 가변 지연 제어 신호는 미리 설정된 최소값 및 미리 설정된 최대값 사이에서 연속적으로 변할 수 있다.In one embodiment, the variable delay control signal may vary continuously between a preset minimum value and a preset maximum value.
하나의 실시 예에 있어서, 상기 클럭 생성기는 제1 지연 제어 신호에 기초하여 기준 클럭을 지연시켜 상기 송신 클럭을 생성하도록 구성된 제1 지연 소자, 제2 지연 제어 신호에 기초하여 상기 기준 클럭을 지연시켜 상기 수신 클럭을 생성하도록 구성된 제2 지연 소자, 상기 송신 클럭의 위상 및 상기 수신 클럭의 위상을 비교하여 위상 비교 출력 신호를 출력하도록 구성된 위상 비교기 및 상기 위상 비교 출력 신호와 상기 가변 지연 제어 신호의 차이를 증폭시켜 상기 제2 지연 제어 신호를 출력하도록 구성된 에러 증폭기를 포함할 수 있다.In one embodiment, the clock generator is configured to delay the reference clock based on a first delay control signal to generate the transmission clock, and delay the reference clock based on a second delay control signal. A second delay element configured to generate the receive clock, a phase comparator configured to compare a phase of the transmit clock and a phase of the receive clock to output a phase comparison output signal, and a difference between the phase comparison output signal and the variable delay control signal It may include an error amplifier configured to amplify the output delay signal.
하나의 실시 예에 있어서, 상기 제1 수신기 및 상기 제2 수신기 각각은 상기 제1 에코 펄스 및 상기 제2 에코 펄스 중 수신된 에코 펄스를 증폭시키도록 구성된 저잡음 증폭기, 상기 수신 클럭에 응답하여 상기 증폭된 에코 펄스를 샘플링(sampling)하여 샘플된 신호를 출력하도록 구성된 샘플러, 상기 샘플된 신호를 증폭시키도록 구성된 가변 증폭기 및 상기 증폭된 샘플된 신호를 디지털 신호로 변환하여 상기 제1 복원 신호 및 상기 제2 복원 신호 중 하나를 출력하도록 구성된 아날로그 디지털 변환기를 포함할 수 있다.In one embodiment, each of the first and second receivers is a low noise amplifier configured to amplify received echo pulses of the first and second echo pulses, the amplification in response to the received clock. A sampler configured to sample a sampled echo pulse to output a sampled signal, a variable amplifier configured to amplify the sampled signal, and convert the amplified sampled signal into a digital signal to convert the first reconstruction signal and the first signal. It may include an analog to digital converter configured to output one of the two recovery signals.
하나의 실시 예에 있어서, 송신기는 상기 송신 펄스의 중심 주파수 및 대역폭을 변경하도록 구성된 오실레이터를 포함할 수 있다.In one embodiment, the transmitter may include an oscillator configured to change the center frequency and bandwidth of the transmit pulse.
하나의 실시 예에 있어서, 상기 가변 지연 제어 신호는 미리 정해진 주기에 따라 생성되고, 상기 제어기는 상기 미리 정해진 주기에 동기된 제어 주기 신호를 출력하도록 더 구성될 수 있다.In one embodiment, the variable delay control signal is generated according to a predetermined period, and the controller may be further configured to output a control period signal synchronized with the predetermined period.
본 발명의 하나의 실시 예에 따른 레이더 장치는 시간에 따라 값이 가변되는 가변 지연 제어 신호를 생성하도록 구성된 제어기, 송신 클럭(clock) 및 상기 가변 지연 제어 신호에 따라 가변되는 지연 시간만큼 상기 송신 클럭보다 지연된 수신 클럭을 생성하도록 구성된 클럭 생성기, 상기 송신 클럭에 기초하여 제1 송신 안테나를 통해 제1 송신 펄스를 방사하도록 구성된 제1 송신기, 상기 송신 클럭에 기초하여 제2 송신 안테나를 통해 제2 송신 펄스를 방사하도록 구성된 제2 송신기 및 수신 안테나를 통해 상기 제1 송신 펄스 및 상기 제2 송신 펄스들이 목표물로부터 반사된 적어도 하나의 에코 펄스를 수신하고, 상기 수신 클럭에 기초하여 상기 적어도 하나의 에코 펄스에 대응하는 적어도 하나의 복원 신호를 생성하도록 구성된 수신기를 포함하고, 상기 제어기는 상기 적어도 하나의 복원 신호에 대응하는 상기 송신 클럭과 상기 수신 클럭 사이의 지연 시간에 기초하여 상기 목표물의 거리를 획득하도록 더 구성된다.A radar device according to an embodiment of the present invention includes a controller configured to generate a variable delay control signal whose value varies with time, a transmission clock, and the transmission clock by a delay time that varies according to the variable delay control signal. A clock generator configured to generate a delayed receive clock, a first transmitter configured to emit a first transmit pulse through a first transmit antenna based on the transmit clock, a second transmit via a second transmit antenna based on the transmit clock Receive at least one echo pulse reflected from a target by the first transmit pulse and the second transmit pulses through a second transmitter and receive antenna configured to emit a pulse, and based on the received clock, the at least one echo pulse A receiver configured to generate at least one recovery signal corresponding to The controller is further configured to obtain a distance of the target based on a delay time between the transmit clock and the receive clock corresponding to the at least one recovery signal.
하나의 실시 예에 있어서, 상기 제어기는 상기 적어도 하나의 복원 신호의 파형으로부터 분석된 정보 및 상기 제1 송신 안테나와 상기 제2 송신 안테나 사이의 이격 거리에 기초하여 상기 목표물의 방위각을 획득하도록 더 구성될 수 있다.In one embodiment, the controller is further configured to obtain an azimuth angle of the target based on information analyzed from the waveform of the at least one reconstruction signal and a separation distance between the first transmit antenna and the second transmit antenna. Can be.
하나의 실시 예에 있어서, 상기 가변 지연 제어 신호는 미리 설정된 최소값 및 미리 설정된 최대값 사이에서 연속적으로 변할 수 있다.In one embodiment, the variable delay control signal may vary continuously between a preset minimum value and a preset maximum value.
하나의 실시 예에 있어서, 상기 클럭 생성기는 제1 지연 제어 신호에 기초하여 기준 클럭을 지연시켜 상기 송신 클럭을 생성하도록 구성된 제1 지연 소자, 제2 지연 제어 신호에 기초하여 상기 기준 클럭을 지연시켜 상기 수신 클럭을 생성하도록 구성된 제2 지연 소자, 상기 송신 클럭의 위상 및 상기 수신 클럭의 위상을 비교하여 위상 비교 출력 신호를 출력하도록 구성된 위상 비교기 및 상기 위상 비교 출력 신호와 상기 가변 지연 제어 신호의 차이를 증폭시켜 상기 제2 지연 제어 신호를 출력하도록 구성된 에러 증폭기를 포함할 수 있다.In one embodiment, the clock generator is configured to delay the reference clock based on a first delay control signal to generate the transmission clock, and delay the reference clock based on a second delay control signal. A second delay element configured to generate the receive clock, a phase comparator configured to compare a phase of the transmit clock and a phase of the receive clock to output a phase comparison output signal, and a difference between the phase comparison output signal and the variable delay control signal It may include an error amplifier configured to amplify the output delay signal.
하나의 실시 예에 있어서, 상기 수신기는 상기 수신된 에코 펄스를 증폭시키도록 구성된 저잡음 증폭기, 상기 수신 클럭에 응답하여 상기 증폭된 에코 펄스를 샘플링(sampling)하여 샘플된 신호를 출력하도록 구성된 샘플러, 상기 샘플된 신호를 증폭시키도록 구성된 가변 증폭기 및 상기 증폭된 샘플된 신호를 디지털 신호로 변환하여 상기 복원 신호를 출력하도록 구성된 아날로그 디지털 변환기를 포함할 수 있다.In one embodiment, the receiver is a low noise amplifier configured to amplify the received echo pulses, a sampler configured to sample the amplified echo pulses in response to the received clock to output a sampled signal, the And a variable amplifier configured to amplify a sampled signal and an analog-to-digital converter configured to convert the amplified sampled signal into a digital signal to output the reconstructed signal.
본 발명의 하나의 실시 예에 따른 레이더 장치는 시간에 따라 값이 가변되는 가변 지연 제어 신호를 생성하도록 구성된 제어기, 송신 클럭(clock) 및 상기 가변 지연 제어 신호에 따라 가변되는 지연 시간만큼 상기 송신 클럭보다 지연된 수신 클럭을 생성하도록 구성된 클럭 생성기, 상기 송신 클럭에 기초하여 송신 안테나를 통해 송신 펄스를 방사하도록 구성된 송신기, 제1 수신 안테나를 통해 상기 송신 펄스가 목표물로부터 반사된 제1 에코 펄스를 수신하고, 상기 수신 클럭에 기초하여 상기 제1 에코 펄스에 대응하는 제1 복원 신호를 생성하도록 구성된 제1 수신기 및 제2 수신 안테나를 통해 상기 송신 펄스가 상기 목표물로부터 반사된 제2 에코 펄스를 수신하고, 상기 수신 클럭에 기초하여 상기 제2 에코 펄스에 대응하는 제2 복원 신호를 생성하도록 구성된 제2 수신기를 포함하고, 상기 제어기는 상기 가변 지연 제어 신호의 주기에 대한 최소 거리 탐지 시점에서 상기 제1 복원 신호의 복원 시점까지의 제1 시간 비율 및 상기 가변 지연 제어 신호의 상기 주기에 대한 상기 최소 거리 탐지 시점에서 상기 제2 복원 신호의 복원 시점까지의 제2 시간 비율 중 적어도 하나에 기초하여 상기 목표물의 거리를 획득하도록 더 구성된다.A radar device according to an embodiment of the present invention includes a controller configured to generate a variable delay control signal whose value varies with time, a transmission clock, and the transmission clock by a delay time that varies according to the variable delay control signal. A clock generator configured to generate a delayed receive clock, a transmitter configured to emit a transmit pulse through a transmit antenna based on the transmit clock, receive a first echo pulse reflected from a target through a first receive antenna, and Receive a second echo pulse reflected by the transmission pulse from the target through a first receiver and a second receive antenna configured to generate a first recovery signal corresponding to the first echo pulse based on the received clock, Generate a second recovery signal corresponding to the second echo pulse based on the received clock; And a second receiver configured, wherein the controller is configured to provide a first time ratio from the minimum distance detection time for the period of the variable delay control signal to the recovery time of the first recovery signal and the period for the period of the variable delay control signal. And obtain the distance of the target based on at least one of a second time ratio from the minimum distance detection time to the recovery time of the second recovery signal.
하나의 실시 예에 있어서, 상기 제어기는 상기 제1 시간 비율을 이용하여 획득된 제1 목표물의 거리와 상기 제2 시간 비율을 이용하여 획득된 제2 목표물의 거리의 차이에 기초하여 상기 목표물의 방위각을 획득하도록 더 구성될 수 있다.In one embodiment, the controller is azimuth angle of the target based on the difference between the distance of the first target obtained using the first time ratio and the distance of the second target obtained using the second time ratio. It may be further configured to obtain.
하나의 실시 예에 있어서, 상기 클럭 생성기는 제1 지연 제어 신호에 기초하여 기준 클럭을 지연시켜 상기 송신 클럭을 생성하도록 구성된 제1 지연 소자, 제2 지연 제어 신호에 기초하여 상기 기준 클럭을 지연시켜 상기 수신 클럭을 생성하도록 구성된 제2 지연 소자, 상기 송신 클럭의 위상 및 상기 수신 클럭의 위상을 비교하여 위상 비교 출력 신호를 출력하도록 구성된 위상 비교기 및 상기 위상 비교 출력 신호와 상기 가변 지연 제어 신호의 차이를 증폭시켜 상기 제2 지연 제어 신호를 출력하도록 구성된 에러 증폭기를 포함할 수 있다.In one embodiment, the clock generator is configured to delay the reference clock based on a first delay control signal to generate the transmission clock, and delay the reference clock based on a second delay control signal. A second delay element configured to generate the receive clock, a phase comparator configured to compare a phase of the transmit clock and a phase of the receive clock to output a phase comparison output signal, and a difference between the phase comparison output signal and the variable delay control signal It may include an error amplifier configured to amplify the output delay signal.
하나의 실시 예에 있어서, 상기 제1 수신기 및 상기 제2 수신기 각각은 상기 제1 에코 펄스 및 상기 제2 에코 펄스 중 수신된 에코 펄스를 증폭시키도록 구성된 저잡음 증폭기, 상기 수신 클럭에 응답하여 상기 증폭된 에코 펄스를 샘플링(sampling)하여 샘플된 신호를 출력하도록 구성된 샘플러, 상기 샘플된 신호를 증폭시키도록 구성된 가변 증폭기 및 상기 증폭된 샘플된 신호를 디지털 신호로 변환하여 상기 제1 복원 신호 및 상기 제2 복원 신호 중 대응하는 복원 신호를 출력하도록 구성된 아날로그 디지털 변환기를 포함할 수 있다.In one embodiment, each of the first and second receivers is a low noise amplifier configured to amplify received echo pulses of the first and second echo pulses, the amplification in response to the received clock. A sampler configured to sample a sampled echo pulse to output a sampled signal, a variable amplifier configured to amplify the sampled signal, and convert the amplified sampled signal into a digital signal to convert the first reconstruction signal and the first signal. And an analog-to-digital converter configured to output a corresponding recovery signal of the two recovery signals.
하나의 실시 예에 있어서, 상기 가변 지연 제어 신호는 상기 미리 설정된 최소값 및 상기 미리 설정된 최대값 사이에서 선형적으로 증가 또는 감소되는 톱니파 형태의 신호일 수 있다.According to an embodiment, the variable delay control signal may be a sawtooth wave type signal that is linearly increased or decreased between the preset minimum value and the preset maximum value.
하나의 실시 예에 있어서, 상기 가변 지연 제어 신호는 상기 미리 설정된 최소값 및 상기 미리 설정된 최대값 사이에서 비선형적으로 증가 또는 감소되는 신호일 수 있다.In one embodiment, the variable delay control signal may be a signal that increases or decreases nonlinearly between the preset minimum value and the preset maximum value.
본 발명의 실시 예에 따른 펄스 레이더 장치는 목표물의 거리 및 목표물의 방위각을 높은 해상도로 획득할 수 있다.The pulse radar device according to the embodiment of the present invention can obtain the distance of the target and the azimuth of the target with high resolution.
또한, 본 발명의 실시 예에 따르면, 소형화된 펄스 레이더 장치를 제공할 수 있고, 집적화된 펄스 레이더 장치를 저전력으로 구현할 수 있다.In addition, according to an embodiment of the present invention, it is possible to provide a miniaturized pulse radar device, it is possible to implement an integrated pulse radar device at a low power.
도 1은 본 발명의 하나의 실시 예에 따른 레이더 장치의 개략적인 동작을 나타내는 도면이다.
도 2는 도 1의 레이더 장치의 하나의 예시를 나타내는 블록도이다.
도 3a 및 도 3b는 도 2의 제어기로부터 생성되는 가변 지연 제어 신호의 예시들을 나타낸다.
도 4는 도 3a의 가변 지연 제어 신호에 따라 생성되는 클럭들 및 펄스들의 예시를 보여주는 도면이다.
도 5는 도 2의 제어기가 수신하는 복원 신호들 및 제어기가 출력하는 제어 주기 신호(CPS)의 예시를 보여주는 도면이다.
도 6은 도 2의 제어기가 목표물의 거리 및 목표물의 방위각을 획득하는 방법을 나타내는 도면이다.
도 7은 도 2의 클럭 생성기를 나타내는 블록도이다.
도 8은 도 2의 수신기를 나타내는 블록도이다.
도 9는 본 발명의 하나의 실시 예에 따른 레이더 장치의 동작을 나타내는 순서도이다.
도 10은 본 발명의 하나의 실시 예에 따른 레이더 장치가 송신 클럭 및 수신 클럭을 생성하는 동작을 나타내는 순서도이다.
도 11은 도 1의 레이더 장치의 다른 실시 예를 나타내는 블록도이다.
도 12는 도 11의 레이더 장치로부터 생성된 복원 신호의 예시를 나타내는 도면이다.
도 13은 도 11의 제어기가 목표물의 거리 및 목표물의 방위각을 획득하는 방법을 나타내는 도면이다.1 is a view showing a schematic operation of the radar apparatus according to an embodiment of the present invention.
FIG. 2 is a block diagram illustrating one example of the radar device of FIG. 1.
3A and 3B show examples of the variable delay control signal generated from the controller of FIG. 2.
4 is a diagram illustrating an example of clocks and pulses generated according to the variable delay control signal of FIG. 3A.
FIG. 5 is a diagram illustrating examples of restoration signals received by the controller of FIG. 2 and a control period signal CPS output by the controller.
6 is a diagram illustrating how the controller of FIG. 2 obtains a distance of a target and an azimuth of the target.
7 is a block diagram illustrating a clock generator of FIG. 2.
8 is a block diagram illustrating the receiver of FIG. 2.
9 is a flowchart illustrating an operation of a radar apparatus according to an exemplary embodiment.
10 is a flowchart illustrating an operation of generating a transmission clock and a reception clock by a radar apparatus according to an exemplary embodiment.
FIG. 11 is a block diagram illustrating another exemplary embodiment of the radar apparatus of FIG. 1.
FIG. 12 is a diagram illustrating an example of a reconstruction signal generated from the radar apparatus of FIG. 11.
FIG. 13 is a diagram illustrating a method of obtaining, by the controller of FIG. 11, a distance of a target and an azimuth of the target.
이하, 첨부된 도면들을 참조하여 본 발명의 실시 예들이 상세하게 설명된다. 이하의 설명에서, 상세한 구성들 및 구조들과 같은 세부적인 사항들은 단순히 본 발명의 실시 예들의 전반적인 이해를 돕기 위하여 제공된다. 그러므로 본 발명의 기술적 사상 및 범위로부터의 벗어남 없이 본문에 기재된 실시 예들의 변형들은 통상의 기술자 의해 수행될 수 있다. 더욱이, 명확성 및 간결성을 위하여 잘 알려진 기능들 및 구조들에 대한 설명들은 생략된다. 본 명세서에서 사용된 용어들은 본 발명의 기능들을 고려하여 정의된 용어들이며, 특정 기능에 한정되지 않는다. 용어들의 정의는 상세한 설명에 기재된 사항을 기반으로 결정될 수 있다.Hereinafter, exemplary embodiments of the present invention will be described in detail with reference to the accompanying drawings. In the following description, details such as detailed configurations and structures are provided merely to assist the overall understanding of the embodiments of the present invention. Therefore, modifications of the embodiments described in the present disclosure may be performed by those skilled in the art without departing from the spirit and scope of the present invention. Moreover, descriptions of well-known functions and structures are omitted for the sake of clarity and brevity. Terms used in the present specification are terms defined in consideration of the functions of the present invention, and are not limited to the specific functions. Definitions of terms may be determined based on matters described in the detailed description.
이하의 도면들 또는 상세한 설명에서의 모듈들은 도면에 도시되거나 또는 상세한 설명에 기재된 구성 요소 이외에 다른 것들과 연결될 수 있다. 모듈들 또는 구성 요소들 사이의 연결은 각각 직접적 또는 비직접적일 수 있다. 모듈들 또는 구성 요소들 사이의 연결은 각각 통신에 의한 연결이거나 또는 물리적인 접속일 수 있다.Modules in the following figures or detailed description can be connected to other than components shown in the drawings or described in the detailed description. Connections between modules or components can be direct or non-direct, respectively. The connections between the modules or components may each be a communication connection or a physical connection.
다르게 정의되지 않는 한, 본문에서 사용되는 기술적 또는 과학적인 의미를 포함하는 모든 용어들은 본 발명이 속하는 기술 분야에서 통상의 지식을 지닌 자에 의해 이해될 수 있는 의미를 갖는다. 일반적으로 사전에서 정의된 용어들은 관련된 기술 분야에서의 맥락적 의미와 동등한 의미를 갖도록 해석되며, 본문에서 명확하게 정의되지 않는 한, 이상적 또는 과도하게 형식적인 의미를 갖도록 해석되지 않는다.Unless defined otherwise, all terms including technical or scientific meanings used in the text have a meaning that can be understood by those skilled in the art. Generally, the terms defined in the dictionary are interpreted to have the same meaning as the contextual meaning in the related technical field, and are not interpreted to have the ideal or excessively formal meaning unless clearly defined in the text.
도 1은 본 발명의 하나의 실시 예에 따른 레이더 장치의 개략적인 동작을 나타내는 도면이다. 도 1을 참조하면, 레이더 장치(100)는 송신 펄스(TP)를 방사할 수 있다. 또는, 레이더 장치(100)는 목표물을 향해 송신 펄스(TP)를 송신할 수 있다. 예를 들어, 송신 펄스(TP)는 전파, 적외선, 가시광선, 자외선, X선, 감마선 등의 전자파를 포함할 수 있다.1 is a view showing a schematic operation of the radar apparatus according to an embodiment of the present invention. Referring to FIG. 1, the
레이더 장치(100)는 송신 펄스(TP)가 목표물에 반사되어 돌아오는 에코 펄스(EP)를 수신할 수 있다. 레이더 장치(100)는 에코 펄스(EP)를 분석하여 목표물에 대한 정보를 획득할 수 있다. 예시적으로, 레이더 장치(100)는 레이더 장치(100)로부터 목표물까지의 거리(R)(이하에서는, 목표물의 거리(R)라 칭함) 또는 레이더 장치(100)와 목표물이 이루는 방위각(θ)(이하에서는, 목표물의 방위각(θ)이라 칭함)을 획득할 수 있다.The
목표물은 고정된 객체 및 이동하는 객체를 포함할 수 있다. 레이더 장치(100)는 고정된 객체 및 이동하는 객체의 거리(R) 및 방위각(θ)을 획득함으로써 객체의 위치 정보 및 속도 정보를 획득할 수 있다.The target may include a fixed object and a moving object. The
예시적으로, 레이더 장치(100)는 송신 클럭에 기초하여 송신 펄스(TP)를 방사하고, 수신 클럭에 기초하여 수신된 에코 펄스(EP)를 복원할 수 있다. 레이더 장치(100)는 송신 클럭과 수신 클럭 사이의 지연 시간을 제어하여 목표물의 탐지 거리(target range)를 조절할 수 있다. 예를 들어, 송신 클럭과 수신 클럭 사이의 제1 지연 시간은 목표물까지의 제1 거리와 대응할 수 있고, 송신 클럭과 수신 클럭 사이의 제2 지연 시간은 목표물까지의 제2 거리와 대응할 수 있다. 이에 따라, 에코 펄스(EP)가 복원되는 경우, 레이더 장치(100)는 송신 클럭과 수신 클럭 사이의 지연 정보에 기초하여 목표물의 거리(R)를 획득할 수 있다.In exemplary embodiments, the
레이더 장치(100)는 송신 클럭과 수신 클럭 사이의 지연 시간을 미세하게 제어하여 높은 해상도로 목표물의 거리(R)를 획득할 수 있다. 레이더 장치(100)가 목표물의 거리(R)를 획득하는 동작에 대한 자세한 설명은 후술되는 도면들을 참조하여 설명될 것이다.The
예시적으로, 레이더 장치(100)는 송신기를 통해 송신 펄스(TP)를 송신할 수 있다. 송신 펄스(TP)는 목표물에 맞고 반사되어 에코 펄스(EP)가 될 수 있다. 레이더 장치(100)는 적어도 두 개의 수신기를 통해 서로 다른 위치에서 에코 펄스(EP)를 각각 수신할 수 있다. 레이더 장치(100)는 에코 펄스(EP)들이 수신된 시간 차이(time difference)에 기초하여 목표물의 방위각(θ)을 획득할 수 있다.In exemplary embodiments, the
다른 예시에 있어서, 레이더 장치(100)는 적어도 두 개의 송신기를 통해 송신 펄스(TP)들을 동일한 시간에 방사할 수 있다. 레이더 장치(100)는 수신기를 통해 송신 펄스(TP)들이 목표물에 반사되어 돌아오는 적어도 두 개의 에코 펄스(EP)들을 수신할 수 있다. 레이더 장치(100)는 에코 펄스(EP)들이 수신된 시간 차이에 기초하여 목표물의 방위각(θ)을 획득할 수 있다.In another example, the
레이더 장치(100)는 하나의 송신기와 적어도 두 개의 수신기 또는 적어도 두 개의 송신기와 하나의 수신기를 통해 높은 해상도로 목표물의 방위각(θ)을 획득할 수 있다. 레이더 장치(100)가 목표물의 방위각(θ)을 획득하는 동작에 대한 자세한 설명은 후술되는 도면들을 참조하여 설명될 것이다.The
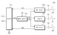
도 2는 도 1의 레이더 장치의 하나의 예시를 나타내는 블록도이다. 도 2를 참조하면, 레이더 장치(100)는 제어기(110), 클럭 생성기(120), 송신기(130), 제1 수신기(140a) 및 제2 수신기(140b)를 포함할 수 있다.FIG. 2 is a block diagram illustrating one example of the radar device of FIG. 1. Referring to FIG. 2, the
제어기(110)는 가변 지연 제어 신호(DCS)를 생성하고, 가변 지연 제어 신호(DCS)를 클럭 생성기(120)로 제공할 수 있다. 가변 지연 제어 신호(DCS)는 클럭 생성기(120)에서 생성되는 송신 클럭(tCK)과 수신 클럭(dCK) 사이의 지연 시간과 대응하는 신호일 수 있다. 즉, 제어기(110)는 가변 지연 제어 신호(DCS)를 이용하여 송신 클럭(tCK)과 수신 클럭(dCK) 사이의 지연 시간을 제어할 수 있다.The
클럭 생성기(120)는 기준 클럭(rCK)으로부터 송신 클럭(tCK) 및 수신 클럭(dCK)을 생성할 수 있다. 클럭 생성기(120)는 기준 클럭(rCK)을 일정 시간 지연시켜 송신 클럭(tCK)을 생성할 수 있다. 클럭 생성기(120)는 가변 지연 제어 신호(DCS)에 대응하는 지연 시간만큼 수신 클럭(dCK)이 송신 클럭(tCK)보다 지연되도록 기준 클럭(rCK)을 지연시켜 수신 클럭(dCK)을 생성할 수 있다. 클럭 생성기(120)는 송신 클럭(tCK)을 송신기(130)로 제공하고, 수신 클럭(dCK)을 제1 수신기(140a) 및 제2 수신기(140b)로 제공할 수 있다.The
송신기(130)는 송신 클럭(tCK)에 응답하여 송신 안테나(131)를 통해 송신 펄스(TP)를 방사할 수 있다. 예를 들어, 송신기(130)는 송신 클럭(tCK)의 상승 에지(edge)마다 송신 펄스(TP)를 방사할 수 있다.The
송신기(130)는 방사될 송신 펄스(TP)를 생성할 수 있다. 송신기(130)는 다양한 중심 주파수 및 대역폭을 가지는 송신 펄스(TP)를 생성할 수 있다. 송신 펄스(TP)의 중심 주파수 및 대역폭을 변경하기 위해, 송신기(130)는 오실레이터(oscillator)를 포함할 수 있다. 오실레이터는 제어기(110)로부터 제공된 제어 신호에 따라 특정 중심 주파수 및 특정 대역폭을 가지는 송신 펄스(TP)를 생성할 수 있다. 이에 따라, 탐지되는 목표물의 종류가 바뀌거나, 레이더 장치(100)가 응용되는 상황이 달라질 경우, 레이더 장치(100)는 중심 주파수 및 대역폭을 변경할 수 있다. 예를 들어, 벽을 투과하여 목표물을 탐지하는 경우, 송신 펄스(TP)의 중심 주파수를 낮게 설정할 수 있다.The
방사된 송신 펄스(TP)가 목표물에 반사되는 경우, 다양한 위치에서 에코 펄스(EP)가 수신될 수 있다. 도 2에 도시된 바와 같이, 제1 수신기(140a)의 위치에서 제1 에코 펄스(EP1)가 수신될 수 있고, 제2 수신기(140b)의 위치에서 제2 에코 펄스(EP2)가 수신될 수 있다. 제1 수신기(140a) 및 제2 수신기(140b)의 위치에 따라 제1 에코 펄스(EP1) 및 제2 에코 펄스(EP2) 각각이 수신되는 시간이 달라질 수 있다. 예를 들어, 제1 수신기(140a)가 제2 수신기(140b)보다 목표물에 더 가까운 경우, 제1 에코 펄스(EP1)가 제2 에코 펄스(EP2)보다 먼저 수신될 수 있다.When the emitted transmit pulse TP is reflected on the target, the echo pulse EP may be received at various locations. As shown in FIG. 2, the first echo pulse EP1 may be received at the position of the
이하에서는, 설명의 편의를 위해, 제1 수신기(140a)로 수신되는 에코 펄스(EP)를 제1 에코 펄스(EP1)라 가정하고, 제2 수신기(140b)로 수신되는 에코 펄스(EP)를 제2 에코 펄스(EP2)라 가정한다.Hereinafter, for convenience of explanation, it is assumed that the echo pulse EP received by the
제1 수신기(140a)는 제1 수신 안테나(141)를 통해 입력되는 신호를 수신할 수 있다. 제1 수신기(140a)는 수신 클럭(dCK)에 응답하여 수신된 신호 값에 대응하는 제1 복원 신호(RS1)를 생성할 수 있다. 예를 들어, 제1 수신기(140a)는 수신 클럭(dCK)의 상승 에지에서 제1 복원 신호(RS1)를 생성할 수 있다. 즉, 제1 수신기(140a)는 수신 클럭(dCK)에 응답하여 특정 시간에 수신된 신호 값에 대응하는 제1 복원 신호(RS1)를 생성할 수 있다.The
예를 들어, 수신 클럭(dCK)의 상승 에지에서 제1 에코 펄스(EP1)가 수신되지 않은 경우(예를 들어, 제1 에코 펄스(EP1)가 제1 수신 안테나(141)에 도달하 기 전인 경우 또는 제1 에코 펄스(EP1)가 수신 안테나(141)에 도달하고 제1 에코 펄스(EP1)의 폭에 해당되는 시간만큼 더 지난 경우), 제1 수신기(140a)는 제1 에코 펄스(EP1) 대신 노이즈 신호 값에 대응하는 제1 복원 신호(RS1)를 생성할 수 있다. 수신 클럭(dCK)의 상승 에지에서 제1 에코 펄스(EP1)가 수신되는 경우(예를 들어, 제1 에코 펄스(EP1)의 변화하는 값들 중 특정 값이 수신되는 경우), 제1 수신기(140a)는 제1 에코 펄스(EP1)의 특정 값에 대응하는 제1 복원 신호(RS1)를 생성할 수 있다.For example, when the first echo pulse EP1 is not received at the rising edge of the reception clock dCK (for example, before the first echo pulse EP1 reaches the first reception antenna 141). Or when the first echo pulse EP1 reaches the receiving
제2 수신기(140b)는 제2 수신 안테나(142)를 통해 입력되는 신호를 수신할 수 있다. 제2 수신기(140b)는 수신 클럭(dCK)에 응답하여 수신된 신호 값에 대응하는 제2 복원 신호(RS2)를 생성할 수 있다. 예를 들어, 제2 수신기(140b)는 수신 클럭(dCK)의 상승 에지에서 제2 복원 신호(RS2)를 생성할 수 있다. 즉, 제2 수신기(140b)는 수신 클럭(dCK)에 응답하여 특정 시간에 수신된 신호 값에 대응하는 제2 복원 신호(RS2)를 생성할 수 있다.The
예를 들어, 수신 클럭(dCK)의 상승 에지에서 제2 에코 펄스(EP2)가 수신되지 않은 경우(예를 들어, 제2 에코 펄스(EP2)가 제2 수신 안테나(142)에 도달하기 전인 경우 또는 제2 에코 펄스(EP2)가 수신 안테나(142)에 도달하고 제2 에코 펄스(EP2)의 폭에 해당되는 시간만큼 더 지난 경우), 제2 수신기(140b)는 제2 에코 펄스(EP2) 대신 노이즈 신호 값에 대응하는 제2 복원 신호(RS2)를 생성할 수 있다. 수신 클럭(dCK)의 상승 에지에서 제2 에코 펄스(EP2)가 수신되는 경우(예를 들어, 제2 에코 펄스(EP2)의 변화하는 값들 중 특정 값이 수신되는 경우), 제2 수신기(140b)는 제2 에코 펄스(EP2)의 특정 값에 대응하는 제2 복원 신호(RS2)를 생성할 수 있다.For example, when the second echo pulse EP2 is not received at the rising edge of the reception clock dCK (for example, before the second echo pulse EP2 reaches the second reception antenna 142). Alternatively, when the second echo pulse EP2 reaches the receiving
제1 수신기(140a) 및 제2 수신기(140b)의 위치가 다르므로, 제1 에코 펄스(EP1) 및 제2 에코 펄스(EP2)가 도달하는 시간은 다를 수 있다. 이에 따라, 같은 시각에 상승 에지를 가지는 동일한 수신 클럭(dCK)에 응답하여 제1 및 제2 수신기들(140a, 140b)로부터 생성되는 제1 및 제2 복원 신호들(RS1, RS2)은 서로 다를 수 있다. 예를 들어, 동일한 수신 클럭(dCK)에 응답하여 제1 수신기(140a)는 노이즈 신호 값에 대응하는 제1 복원 신호(RS1)를 생성하고, 제2 수신기(140b)는 제2 에코 펄스(EP2)의 특정 값에 대응하는 제2 복원 신호(RS2)를 생성할 수 있다. 또는, 동일한 수신 클럭(dCK)에 응답하여 제1 수신기(140a)는 제1 에코 펄스(EP1)의 제1 값에 대응하는 제1 복원 신호(RS1)를 생성하고, 제2 수신기(140b)는 제2 에코 펄스(EP2)의 제2 값에 대응하는 제2 복원 신호(RS2)를 생성할 수 있다.Since the positions of the
도 2에 도시된 바와 같이, 수신 안테나들(141, 142)은 송신 안테나(131)와 일직선 상에 위치할 수 있다. 송신 안테나(131)가 가운데 위치하고, 송신 안테나(131)를 기준으로 좌우로 수신 안테나들(141, 142)이 배치될 수 있다. 그러나, 본 발명이 이에 한정되는 것은 아니며, 수신 안테나들(141, 142) 및 송신 안테나(131)는 다양한 위치에 배치될 수 있다. 수신 안테나들(141, 142) 사이의 거리는 송신 펄스(TP)의 중심 주파수의 파장에 무관한 다양한 값이 될 수 있다.As shown in FIG. 2, the
본 발명의 실시 예에 따른 레이더 장치(100)는 송신 클럭을 이용하여 송신 펄스(TP)를 방사한 후 시간 지연 후 수신 클럭을 이용하여 수신기에서 하나의 복원 신호를 생성할 수 있다. 즉, 레이더 장치(100)는 송신 클럭과 수신 클럭의 한 쌍으로부터 하나의 복원 신호를 생성할 수 있다. 레이더 장치(100)는 목표물의 거리, 방위각 등의 정보를 획득하기 위하여 다수의 복원 신호를 이용할 수 있다.The
예를 들어, 목표물이 3m에 위치하고(펄스 왕복시간 20nsec), 레이더 장치(100)의 송신 펄스 폭이 1nsec라고 가정한다. 레이더 장치(100)가 송신 클럭에 의하여 1nsec의 펄스 폭을 가지는 송신 펄스(TP)를 방사한다. 목표물을 맞고 되돌아오는 시간 20nsec보다 작은 지연을 가지는 수신 클럭을 이용하는 경우, 레이더 장치(100)는 에코 펄스(EP)와 무관한 노이즈 신호를 수신할 것이다. 만약 송신 클럭보다 20nsec의 지연을 가지는 수신 클럭을 이용하는 경우, 레이더 장치(100)는 에코 펄스(EP)의 시작 부분을 복원할 수 있을 것이다(즉, 에코 펄스(EP)의 시작 부분에 대응되는 복원 신호가 생성될 수 있다). 다음의 송신 및 수신 클럭의 쌍이 생성될 때, 레이더 장치(100)가 20.01nsec의 시간 지연을 가지는 송신 및 수신 클럭을 생성한다고 가정한다. 이에 따라, 레이더 장치(100)는 에코 펄스(EP)의 시작 부분에서 0.01nsec만큼 지연된 부분을 복원할 것이다(즉, 에코 펄스(EP)의 시작 부분에서 0.01nsec만큼 지연된 부분에 대응되는 복원 신호가 생성될 수 있다). 이후, 레이더 장치(100)는 순차적으로 20.02nsec, 20.03nsec의 지연 시간을 가지는 송신 및 수신 클럭의 쌍을 생성할 수 있다. 1nsec의 폭을 가지는 송신 펄스(TP)에 기인한 에코 펄스(EP)의 폭이 1nsec라고 하면, 100쌍의 송신 클럭과 수신 클럭의 쌍으로부터 에코 펄스(EP) 전체가 복원이 될 것이다. 에코 펄스(EP) 전체가 복원된 후, 21nsec 이상의 지연을 가지는 수신 클럭이 이용되는 경우, 레이더 장치(100)는 에코 펄스(EP)와 무관한 노이즈 신호를 복원할 것이다For example, assume that the target is located at 3 m (pulse round trip time 20 nsec), and the transmission pulse width of the
상술한 바와 같이, 송신 클럭(tCK)에 따라 방사된 송신 펄스(TP)는 목표물로부터 반사되어 제1 수신기(140a) 및 제2 수신기(140b)로 수신될 수 있다. 이 경우, 송신 클럭(tCK)과 수신 클럭(dCK) 사이의 지연 시간에 따라 제1 에코 펄스(EP1) 또는 제2 에코 펄스(EP2)와 대응되는 제1 복원 신호(RS1) 또는 제2 복원 신호(RS2)가 생성될 수 있다. 즉, 송신 클럭(tCK)과 수신 클럭(dCK) 사이의 지연 시간이 송신 펄스(TP)가 목표물에 도달하고 목표물로부터 반사되어 수신 안테나에 도달하는 시간과 실질적으로 동일한 경우, 수신기는 에코 펄스(EP)에 대응하는 복원 신호를 생성하기 시작할 수 있다.As described above, the transmission pulse TP emitted according to the transmission clock tCK may be reflected from the target and received by the
제어기(110)는 제1 수신기(140a)로부터 제1 복원 신호(RS1)를 수신하고, 제2 수신기(140b)로부터 제2 복원 신호(RS2)를 수신할 수 있다. 제어기(110)는 제1 복원 신호(RS1) 또는 제2 복원 신호(RS2)가 에코 펄스(EP)에 대응하는 값인지 여부를 판별할 수 있다. 제1 복원 신호(RS1) 또는 제2 복원 신호(RS2)가 에코 펄스(EP)에 대응하는 값인 경우, 제어기(110)는 제1 복원 신호(RS1) 또는 제2 복원 신호(RS2)에 대응하는 송신 클럭(tCK)과 수신 클럭(dCK) 사이의 지연 시간에 기초하여 목표물의 거리(R)를 획득할 수 있다. 예를 들어, 제1 복원 신호(RS1)가 임계값 이상인 경우, 제어기(110)는 제1 복원 신호(RS1)가 에코 펄스(EP)에 대응하는 값인 것으로 판별할 수 있다. 이 경우, 제어기(110)는 제1 복원 신호(RS1)의 배경 잡음을 제거하는 방법을 이용할 수 있다. 제어기(110)는 제1 복원 신호(RS1)에 대응하는 송신 클럭(tCK)과 수신 클럭(dCK) 사이의 지연 시간에 기초하여 목표물의 거리(R)를 획득할 수 있다.The
제어기(110)는 제1 에코 펄스(EP1)에 대응하는 제1 복원 신호(RS1)와 제2 에코 펄스(EP2)에 대응하는 제2 복원 신호(RS2)의 수신 시간 차이에 기초하여 목표물의 방위각(θ)을 획득할 수 있다. 예를 들어, 제1 에코 펄스(EP1)에 대응하는 제1 복원 신호(RS1)가 수신되고, 제2 에코 펄스(EP2)에 대응하는 제2 복원 신호(RS2)가 수신될 수 있다. 이 경우, 제어기(110)는 제1 복원 신호(RS1)에 대응하는 송신 클럭(tCK)과 수신 클럭(dCK) 사이의 제1 지연 시간 및 제2 복원 신호(RS2)에 대응하는 송신 클럭(tCK)과 수신 클럭(dCK) 사이의 제2 지연 시간에 기초하여 목표물의 방위각(θ)을 획득할 수 있다.The
또는, 제어기(110)는 한 주기 동안에 복원된 제1 복원 신호(RS1) 및 제2 복원 신호(RS2) 각각으로부터 목표물의 거리(R)를 획득할 수 있다. 제어기(110)는 복원 신호들(RS1, RS2) 각각으로부터 획득된 목표물의 거리(R)의 차이에 기초하여 목표물의 방위각(θ)을 획득할 수 있다.Alternatively, the
또는, 제어기(110)는 한 주기 동안에 복원된 복원 신호들(RS1, RS2)의 합신호 및 차신호를 이용하여 제1 수신기(140a)에 대한 목표물의 거리(R)와 제2 수신기(140b)에 대한 목표물의 거리(R)의 차이를 획득할 수 있다. 제어기(110)는 거리의 차이에 기초하여 목표물의 방위각(θ)을 획득할 수 있다.Alternatively, the
가변 지연 제어 신호(DCS)는 시간에 따라 연속적으로 변할 수 있다. 가변 지연 제어 신호(DCS)는 미리 설정된 최소값 및 미리 설정된 최대값 사이에서 연속적으로 변할 수 있다. 미리 설정된 최소값은 송신 클럭(tCK)과 수신 클럭(dCK) 사이의 최소 지연 시간과 대응하고, 미리 설정된 최대값은 송신 클럭(tCK)과 수신 클럭(dCK) 사이의 최대 지연 시간과 대응할 수 있다. 송신 클럭(tCK)과 수신 클럭(dCK) 사이의 지연 시간은 목표물의 탐지 거리와 대응될 수 있다. 이에 따라, 미리 설정된 최소값 및 미리 설정된 최대값은 레이더 장치(100)의 탐지 거리 구간을 가리킬 수 있다. 즉, 제어기(110)는 가변 지연 제어 신호(DCS)를 이용하여 목표물의 탐지 거리를 연속적으로 변경시킬 수 있다. 이에 따라, 클럭 생성기(120)는 지연 시간이 연속적으로 변하는 수신 클럭(dCK)을 생성할 수 있다.The variable delay control signal DCS may change continuously over time. The variable delay control signal DCS may vary continuously between a preset minimum value and a preset maximum value. The preset minimum value may correspond to the minimum delay time between the transmission clock tCK and the reception clock dCK, and the preset maximum value may correspond to the maximum delay time between the transmission clock tCK and the reception clock dCK. The delay time between the transmission clock tCK and the reception clock dCK may correspond to the detection distance of the target. Accordingly, the preset minimum value and the preset maximum value may indicate a detection distance section of the
제어기(110)는 미리 정해진 주기에 따라 반복되는 가변 지연 제어 신호(DCS)를 생성할 수 있다. 제어기(110)는 가변 지연 제어 신호(DCS)의 주기 정보를 외부에 제공하기 위해, 미리 정해진 주기에 동기된 제어 주기 신호(CPS)를 출력할 수 있다.The
이하에서는, 도 3 내지 도 6을 참조하여 레이더 장치(100)의 동작에 대해 상세하게 설명할 것이다.Hereinafter, the operation of the
도 3a 및 도 3b는 도 2의 제어기로부터 생성되는 가변 지연 제어 신호의 예시들을 나타낸다. 도 3a 및 도 3b의 가로축은 시간을 나타내고 세로축은 가변 지연 제어 신호(DCS)의 값을 나타낸다. 예를 들어, 가변 지연 제어 신호(DCS)는 송신 클럭(tCK)과 수신 클럭(dCK) 사이의 지연 시간에 대응하는 전압 또는 전류 값일 수 있다.3A and 3B show examples of the variable delay control signal generated from the controller of FIG. 2. 3A and 3B, the horizontal axis represents time and the vertical axis represents the value of the variable delay control signal DCS. For example, the variable delay control signal DCS may be a voltage or current value corresponding to a delay time between the transmission clock tCK and the reception clock dCK.
도 3a를 참조하면, 가변 지연 제어 신호(DCS)는 최소값(min) 및 최대값(max) 사이에서 연속적으로 변할 수 있다. 시간(t0)에서 최소값(min)을 가지는 가변 지연 제어 신호(DCS)는 시간에 따라 선형적으로 증가하여 시간(t4)에서 최대값(max)을 가질 수 있다. 가변 지연 제어 신호(DCS)는 미리 정해진 주기(PE)에 따라 최소값(min) 및 최대값(max)을 반복하여 가질 수 있다. 즉, 도 3a에 도시된 바와 같이, 가변 지연 제어 신호(DCS)는 톱니파 형태의 신호일 수 있다.Referring to FIG. 3A, the variable delay control signal DCS may continuously vary between a minimum value min and a maximum value max. The variable delay control signal DCS having the minimum value min at time t0 may increase linearly with time to have a maximum value max at time t4. The variable delay control signal DCS may repeatedly have a minimum value min and a maximum value max in accordance with a predetermined period PE. That is, as shown in FIG. 3A, the variable delay control signal DCS may be a sawtooth wave signal.
가변 지연 제어 신호(DCS)가 최소값(min)에서 최대값(max)으로 증가함에 따라, 송신 클럭(tCK)과 수신 클럭(dCK) 사이의 지연 시간이 증가할 수 있다. 이에 따라, 송신 클럭(tCK)의 상승 에지를 기준으로 수신 클럭(dCK)의 상승 에지의 시간 간격이 증가할 수 있고, 레이더 장치(100)의 탐지 거리가 최소값에서 최대값으로 변할 수 있다. 목표물이 탐지 거리의 최소값 및 최대값 사이에 위치하는 경우, 레이더 장치(100)는 한 주기(PE)의 가변 지연 제어 신호(DCS)에 기초하여 목표물을 탐지할 수 있다.As the variable delay control signal DCS increases from the minimum value min to the maximum value max, a delay time between the transmission clock tCK and the reception clock dCK may increase. Accordingly, the time interval of the rising edge of the reception clock dCK may increase based on the rising edge of the transmission clock tCK, and the detection distance of the
도 3a에 도시된 바와 같이, 시간(t1)의 가변 지연 제어 신호 값(dcs1)은 클럭 지연(이하에서는, 송신 클럭(tCK)과 수신 클럭(dCK) 사이의 지연 시간과 동일한 의미로 사용됨)(cd1)에 대응하고, 시간(t2)의 가변 지연 제어 신호 값(dcs2)은 클럭 지연(cd2)에 대응하고, 시간(t3)의 가변 지연 제어 신호 값(dcs3)은 클럭 지연(cd3)에 대응할 수 있다.As shown in Fig. 3A, the variable delay control signal value dcs1 of time t1 is a clock delay (hereinafter, used in the same sense as the delay time between the transmission clock tCK and the reception clock dCK) ( The variable delay control signal value dcs2 of time t2 corresponds to the clock delay cd2, and the variable delay control signal value dcs3 of time t3 corresponds to the clock delay cd3. Can be.
예를 들어, 목표물이 클럭 지연(cd1)에 대응하는 탐지 거리보다 멀리 위치하는 경우, 시간(t1)에서 에코 펄스(EP)는 클럭 지연(cd1)을 가지는 수신 클럭(dCK)에 기초하여 감지되지 않을 수 있다. 즉, 도 2의 제1 수신기(140a)는 클럭 지연(cd1)을 가지는 수신 클럭(dCK)에 기초하여 제1 에코 펄스(EP1)에 대응하는 제1 복원 신호(RS1)를 생성하지 못할 수 있다.For example, if the target is located farther than the detection distance corresponding to the clock delay cd1, at time t1, the echo pulse EP is not detected based on the received clock dCK having the clock delay cd1. You may not. That is, the
예를 들어, 목표물이 클럭 지연(cd2)에 대응하는 탐지 거리에 위치하는 경우, 시간(t2)에서 에코 펄스(EP)는 클럭 지연(cd2)을 가지는 수신 클럭(dCK)에 기초하여 감지될 수 있다. 즉, 도 2의 제1 수신기(140a)는 클럭 지연(cd2)을 가지는 수신 클럭(dCK)에 기초하여 제1 에코 펄스(EP1)에 대응하는 제1 복원 신호(RS1)를 생성할 수 있다.For example, when the target is located at a detection distance corresponding to the clock delay cd2, at time t2, the echo pulse EP may be detected based on the received clock dCK having the clock delay cd2. have. That is, the
도 3a에는 최소값(min)에서 최대값(max)으로 선형적으로 증가되는 가변 지연 제어 신호(DCS)의 예시가 도시되었지만, 본 발명은 이에 한정되지 않는다. 예를 들어, 제어기(110)는 최대값(max)에서 최소값(min)으로 선형적으로 감소되는 가변 지연 제어 신호(DCS)를 생성할 수 있다. 이와 같이, 가변 지연 제어 신호(DCS)가 선형적으로 변하는 경우, 레이더 장치(100)는 최소 탐지 거리에서부터 최대 탐지 거리까지 동일한 해상도로 목표물을 탐지할 수 있다.3A illustrates an example of the variable delay control signal DCS that is linearly increased from the minimum value min to the maximum value max, but the present invention is not limited thereto. For example, the
도 3b를 참조하면, 가변 지연 제어 신호(DCS)는 최소값(min) 및 최대값(max) 사이에서 연속적으로 변할 수 있다. 한 주기(PE) 동안 최소값(min) 및 최대값(max) 사이에서 가변 지연 제어 신호(DCS)는 시간에 따라 비선형적으로 증가할 수 있다. 가변 지연 제어 신호(DCS)는 최소값(min) 주변의 영역(A1)에서 급격하게 증가하고, 최대값(max) 주변의 영역(A2)에서 완만하게 증가할 수 있다.Referring to FIG. 3B, the variable delay control signal DCS may vary continuously between a minimum value min and a maximum value max. The variable delay control signal DCS may increase nonlinearly with time between the minimum value min and the maximum value max during one period PE. The variable delay control signal DCS may increase rapidly in the area A1 around the minimum value min and slowly increase in the area A2 around the maximum value max.
제어기(110)는 도 3b에 도시된 가변 지연 제어 신호(DCS)뿐만 아니라, 다양한 형태의 비선형적으로 변하는 가변 지연 제어 신호(DCS)를 생성할 수 있다. 예를 들어, 제어기(110)는 영역(A1)에서 완만하게 증가하고, 영역(A2)에서 급격하게 증가하는 가변 지연 제어 신호(DCS)를 생성할 수 있다. 또는, 제어기(110)는 최대값(max)에서부터 최소값(min)으로 비선형적으로 감소되는 가변 지연 제어 신호(DCS)를 생성할 수 있다. 이와 같이, 가변 지연 제어 신호(DCS)가 비선형적으로 변하는 경우, 레이더 장치(100)는 가변 지연 제어 신호(DCS)의 기울기가 완만한 영역에 대응하는 탐지 거리에서 상대적으로 더 세밀하게(즉, 더 높은 해상도로) 목표물을 탐지할 수 있다.The
이하에서는, 설명의 편의를 위해, 도 3a의 가변 지연 제어 신호(DCS)를 기준으로 도 2의 클럭 생성기(120), 송신기(130) 및 제1 및 제2 수신기들(140a, 140b)의 동작들을 상세하게 설명한다.Hereinafter, for convenience of description, the operation of the
도 4는 도 3a의 가변 지연 제어 신호에 따라 생성되는 클럭들 및 펄스들의 예시를 보여주는 도면이다. 구체적으로, 도 4에 도시된 클럭들(tCK, dCK) 및 펄스들(TP, EP1, EP2)은, 도 3a에 도시된 바와 같이, 시간(t1, t2, t3)에서의 가변 지연 제어 신호(DCS)에 따라 생성될 수 있다. 도 4의 가로축은 시간을 나타낸다. 설명의 편의를 위해, 시간(t1, t2, t3)들 사이의 간격이 넓게 도시되었으나, 본 발명은 이에 한정되지 않는다. 예를 들어, 높은 해상도를 얻기 위해서, 시간(t1, t2, t3)들 사이의 간격은 매우 작을 수 있다.4 is a diagram illustrating an example of clocks and pulses generated according to the variable delay control signal of FIG. 3A. Specifically, the clocks tCK and dCK and the pulses TP, EP1 and EP2 illustrated in FIG. 4 may include the variable delay control signal at time t1, t2 and t3 as illustrated in FIG. 3A. Can be generated according to DCS). 4 represents the time. For convenience of explanation, the intervals between the times t1, t2, and t3 are shown to be wide, but the present invention is not limited thereto. For example, in order to obtain high resolution, the spacing between times t1, t2, t3 can be very small.
도 3a 및 도 4를 참조하면, 클럭 생성기(120)는 시간(t1, t2, t3)에서 상승 에지를 가지는 송신 클럭(tCK)을 생성할 수 있다. 클럭 생성기(120)는 시간(t1)에서 가변 지연 제어 신호 값(dcs1)을 가지는 가변 지연 제어 신호(DCS)를 인가 받을 수 있다. 클럭 생성기(120)는 가변 지연 제어 신호 값(dcs1)에 기초하여 클럭 지연(cd1)만큼 지연된 수신 클럭(dCK)을 생성할 수 있다. 클럭 생성기(120)는 시간(t2)에서 가변 지연 제어 신호 값(dcs2)을 가지는 가변 지연 제어 신호(DCS)를 수신할 수 있다. 클럭 생성기(120)는 가변 지연 제어 신호 값(dcs2)에 기초하여 클럭 지연(cd2)만큼 지연된 수신 클럭(dCK)을 생성할 수 있다. 클럭 생성기(120)는 시간(t3)에서 가변 지연 제어 신호 값(dcs3)을 가지는 가변 지연 제어 신호(DCS)를 인가 받을 수 있다. 클럭 생성기(120)는 가변 지연 제어 신호 값(dcs3)에 기초하여 클럭 지연(cd3)만큼 지연된 수신 클럭(dCK)을 생성할 수 있다. 이에 따라, 수신 클럭(dCK)은 시간(t1d, t2d, t3d)에서 상승 에지를 가질 수 있다.3A and 4, the
도 4에 도시된 바와 같이, 가변 지연 제어 신호 값들(dcs1, dcs2, dcs3)이 증가함에 따라 클럭 지연(cd1, cd2, cd3)이 증가될 수 있다. 따라서, 레이더 장치(100)의 탐지 거리가 증가될 수 있다.As shown in FIG. 4, as the variable delay control signal values dcs1, dcs2, and dcs3 increase, clock delays cd1, cd2, and cd3 may increase. Therefore, the detection distance of the
송신기(130)는 송신 클럭(tCK)에 응답하여 송신 펄스(TP)를 방사할 수 있다. 송신기(130)는 송신 클럭(tCK)의 상승 에지(t1, t2, t3)마다 송신 펄스(TP)를 방사할 수 있다. 송신 펄스(TP)가 목표물에 반사되는 경우, 제1 에코 펄스(EP1) 및 제2 에코 펄스(EP2)가 제1 수신기(140a) 및 제2 수신기(140b)로 각각 전달될 수 있다.The
제1 수신기(140a)는 수신 클럭(dCK)에 응답하여 수신된 신호로부터 제1 복원 신호(RS1)를 생성할 수 있다. 도 4에 도시된 바와 같이, 시간(t1d)에서 제1 에코 펄스(EP1)가 수신되지 않고, 시간(t2d, t3d)에서 제1 에코 펄스(EP1)가 수신될 수 있다. 이에 따라, 제1 수신기(140a)는 시간(t1d)에서 클럭 지연(cd1)을 가지는 수신 클럭(dCK)에 응답하여 노이즈 값(ns11)에 대응하는 값을 제1 복원 신호(RS1)로 생성할 수 있다. 제1 수신기(140a)는 시간(t2d)에서 클럭 지연(cd2)을 가지는 수신 클럭(dCK)에 응답하여 제1 에코 펄스 값(ep11)에 대응하는 값을 제1 복원 신호(RS1)로 생성할 수 있다. 제1 수신기(140a)는 시간(t3d)에서 클럭 지연(cd3)을 가지는 수신 클럭(dCK)에 응답하여 제1 에코 펄스 값(ep12)에 대응하는 값을 제1 복원 신호(RS1)로 생성할 수 있다.The
제2 수신기(140b)는 수신 클럭(dCK)에 응답하여 수신된 신호로부터 제2 복원 신호(RS2)를 생성할 수 있다. 도 4에 도시된 바와 같이, 시간(t1d, t2d)에서 제2 에코 펄스(EP2)가 수신되지 않고, 시간(t3d)에서 제2 에코 펄스(EP2)가 수신될 수 있다. 이에 따라, 제2 수신기(140b)는 시간(t1d)에서 클럭 지연(cd1)을 가지는 수신 클럭(dCK)에 응답하여 노이즈 값(ns21)에 대응하는 값을 제2 복원 신호(RS2)로 생성할 수 있다. 제2 수신기(140b)는 시간(t2d)에서 클럭 지연(cd2)을 가지는 수신 클럭(dCK)에 응답하여 노이즈 값(ns22)에 대응하는 값을 제2 복원 신호(RS2)로 생성할 수 있다. 제2 수신기(140b)는 시간(t3d)에서 클럭 지연(cd3)을 가지는 수신 클럭(dCK)에 응답하여 제2 에코 펄스 값(ep21)에 대응하는 값을 제2 복원 신호(RS2)로 생성할 수 있다.The
제1 수신기(140a) 및 제2 수신기(140b)는 목표물에 대한 상대적인 위치가 다르다. 이에 따른 경로차로 인하여, 제1 에코 펄스(EP1) 및 제2 에코 펄스(EP2)의 수신 시간이 달라질 수 있다. 이에 따라, 제1 수신기(140a)에서 생성되는 제1 복원 신호(RS1)와 제2 수신기(140b)에서 생성되는 제2 복원 신호(RS2) 사이에 시간 차이(예를 들어, 위상 차이(phase difference))가 발생될 수 있다.The
도 4에 도시된 바와 같이, 제1 수신기(140a)는 다양한 클럭 지연을 가지는 수신 클럭(dCK)에 응답하여 제1 에코 펄스(EP1)를 복원할 수 있다. 마찬가지로, 제2 수신기(140b)는 다양한 클럭 지연을 가지는 수신 클럭(dCK)에 응답하여 제2 에코 펄스(EP2)를 복원할 수 있다. 즉, 제1 수신기(140a) 및 제2 수신기(140b)는 수신 클럭(dCK)의 하나의 상승 에지마다 에코 펄스(EP)의 특정 시점에 대응하는 하나의 값을 복원할 수 있다.As shown in FIG. 4, the
도 5는 도 2의 제어기가 수신하는 복원 신호들 및 제어기가 출력하는 제어 주기 신호(CPS)의 예시를 보여주는 도면이다. 구체적으로, 도 5에서는 도 3a의 시간(t0)에서 시간(t5)까지의 제1 복원 신호(RS1), 제2 복원 신호(RS2) 및 제어 주기 신호(CPS)가 도시된다.FIG. 5 is a diagram illustrating examples of restoration signals received by the controller of FIG. 2 and a control period signal CPS output by the controller. Specifically, in FIG. 5, the first recovery signal RS1, the second recovery signal RS2, and the control period signal CPS from the time t0 to the time t5 of FIG. 3A are illustrated.
도 3a, 도 4 및 도 5를 참조하면, 시간(t0)부터 시간(t4)까지는 제1 수신기(140a)의 한 주기(PE)이다. 이 주기 동안 가변 지연 제어 신호(DCS)가 생성되며, 제1 수신기(140a)는 수신 클럭(dCK)을 이용하여 제1 에코 펄스(EP1)를 복원할 수 있다. 예를 들어, 제1 복원 신호(RS1) 중 시간(t2d)에서의 제1 복원 신호 값(rs11)은 제1 에코 펄스 값(ep11)과 대응된다. 마찬가지로, 시간(t3d)에서의 제1 복원 신호 값(rs12)은 제1 에코 펄스 값(ep12)과 대응될 수 있다.3A, 4, and 5, the period PE from the time t0 to the time t4 is one period PE of the
위와 같은 방법으로, 시간(t4)부터 시간(t5)까지의 한 주기(PE) 동안에 제1 수신기(140a)는 제1 에코 펄스(EP1)를 복원할 수 있다. 이에 따라, 시간(t0)부터 시간(t5)까지 한 주기 동안 제어기(110)는 제1 수신기(140a)로부터 도 5의 제1 복원 신호(RS1) 값들을 수신할 수 있다.In the above manner, the
제어기(110)는 제1 복원 신호(RS1) 중 제1 에코 펄스(EP1)에 대응하는 구간을 판별할 수 있다. 예를 들어, 일반적으로 노이즈 신호의 크기가 에코 펄스(EP)의 크기보다 작으므로, 제어기(110)는 특정 크기를 나타내는 임계값 이상인 제1 복원 신호(RS1)의 값들을 제1 에코 펄스(EP1)에 대응하는 것으로 판별할 수 있다. 예를 들어, 도 5에 도시된 바와 같이, 제어기(110)는 시간(t2d)에 수신된 제1 복원 신호 값(rs11) 및 시간(t4d)에 수신된 제1 복원 신호 값(rs13)을 제1 에코 펄스(EP1)에 대응하는 값으로 판별할 수 있다.The
제어기(110)는 시간(t0)부터 시간(t4)까지 한 주기(PE) 동안의 제1 복원 신호 값(rs11)에 기초하여 목표물의 거리(R)를 획득할 수 있다. 제어기(110)는 시간(t4)부터 시간(t5)까지 한 주기(PE) 동안의 제1 복원 신호 값(rs13)에 기초하여 목표물의 거리(R)를 획득할 수 있다. 예를 들어, 제어기(110)는 제1 복원 신호 값(rs11)에 대응하는 클럭 지연(cd2)을 이용하여 시간(t0)부터 시간(t4)에서의 목표물의 거리(R)를 획득할 수 있다. 예를 들어, 제어기(110)는 한 주기(PE)의 최소 탐지 거리에 대응하는 시점에서 제1 복원 신호 값(rs11)의 복원 시점까지의 시간을 획득할 수 있다. 제어기(110)는 한 주기(PE) 값에 대한 획득된 시간의 비율을 이용하여 목표물의 거리(R)를 획득할 수 있다.The
또는, 제어기(110)는 한 주기 동안에 복원된 제1 복원 신호(RS1) 및 제2 복원 신호(RS2) 각각의 수신 시각으로부터 목표물의 거리(R)를 획득할 수 있다. 이하에서는, 도 5를 참조하여 제어기(110)가 목표물의 거리(R)를 획득하는 동작에 대하여 상세하게 설명한다.Alternatively, the
도 5는 다수의 송신 클럭 및 수신 클럭의 쌍으로부터 복원된 값으로 이루어진 복원 신호들(RS1, RS2)을 보여준다. 따라서, 송신 펄스(TP) 및 에코 펄스(EP)의 주기보다 매우 긴 가변 지연 제어 신호의 주기(PE)로 이들 펄스들이 도시된다. 가변 지연 제어 신호(DCS)는 지연의 최소값과 최대값 사이에서 선형적으로 증가된다. 즉, 레이더 장치(100)는 가변 지연 제어 신호의 주기(PE) 동안에 지연의 최소값에 대응하는 탐지 거리와 지연의 최대값에 대응하는 탐지 거리를 선형적으로 탐지한다. 가변 지연 제어 신호의 주기(PE)의 특정 시간은 최소 탐지 거리와 최대 탐지 거리 사이의 특정 탐지 거리에 대응될 수 있다. 복원된 신호로부터 레이더 장치(100)는 에코 펄스(EP)의 위치를 특정할 수 있다. 에코 펄스(EP)의 위치를 특정하는 방법의 하나의 예시로서, 제어기(110)는 임계값 이상인 복원 신호 값 구간의 시작점을 에코 펄스(EP)의 위치로 특정할 수 있다. 특정된 에코 펄스(EP)의 위치는 가변 지연 제어 신호의 주기(PE) 구간의 특정 위치에 해당된다. 따라서, 에코 펄스(EP)는 최소 및 최대 탐지 거리 사이의 특정 탐지 거리에 해당될 수 있고, 레이더 장치(100)는 목표물의 위치(탐지 거리)를 알아낼 수 있다.5 shows reconstruction signals RS1 and RS2 composed of values reconstructed from a plurality of pairs of transmit and receive clocks. Therefore, these pulses are shown in the period PE of the variable delay control signal which is much longer than the period of the transmit pulse TP and the echo pulse EP. The variable delay control signal DCS increases linearly between the minimum and maximum values of the delay. That is, the
에코 펄스(EP)의 위치를 특정하는 방법의 다른 예시로서, 제어기(110)는 에코 펄스(EP)의 포락선을 검출하여 포락선이 임계값을 초과하는 범위를 구하고, 범위의 중심을 에코 펄스(EP)의 위치로 특정할 수 있다. 위에서 설명한 것과 마찬가지로, 에코 펄스(EP)의 위치로부터 목표물의 위치가 획득될 수 있다.As another example of a method of specifying the position of the echo pulse EP, the
에코 펄스(EP)의 위치를 특정하는 방법의 다른 예시로서, 제어기(110)는 복원 신호를 제곱하여 에너지 신호로 변환한 후, 변환된 신호에 대하여 임계값을 적용할 수 있다. 또는, 제어기(110)는 변환된 신호의 포락선을 검출하여 포락선이 임계값을 초과하는 범위를 구하고 범위의 중심을 에코 펄스(EP)의 위치로 특정할 수 있다.As another example of a method of specifying the position of the echo pulse EP, the
시간(t0)부터 시간(t4)까지 제2 수신기(140b)는 한 주기(PE) 동안의 가변 지연 제어 신호(DCS)에 따라 생성된 수신 클럭(dCK)에 기초하여 제2 에코 펄스(EP2)를 복원할 수 있다. 예를 들어, 제2 복원 신호(RS2) 중 시간(t3d)에서의 제2 복원 신호 값(rs21)은 제2 에코 펄스 값(ep21)과 대응될 수 있다.From time t0 to time t4, the
마찬가지로, 시간(t4)부터 시간(t5)까지 제2 수신기(140b)는 한 주기(PE) 동안에 제2 에코 펄스(EP2)를 복원할 수 있다. 이에 따라, 시간(t0)부터 시간(t5)까지 제어기(110)는 제2 수신기(140b)로부터 도 5의 제2 복원 신호(RS2)를 수신할 수 있다.Similarly, from time t4 to time t5, the
제어기(110)는 제2 복원 신호(RS2) 중 제2 에코 펄스(EP2)에 대응하는 값을 판별할 수 있다. 예를 들어, 도 5에 도시된 바와 같이, 제어기(110)는 시간(t3d)에 수신된 제2 복원 신호 값(rs21) 및 시간(t5d)에 수신된 제2 복원 신호 값(rs22)을 제2 에코 펄스(EP2)에 대응하는 것으로 판별할 수 있다.The
제어기(110)는 시간(t0)부터 시간(t4)까지 한 주기(PE) 동안의 제2 복원 신호 값(rs21)에 기초하여 목표물의 거리(R)를 획득할 수 있다. 제어기(110)는 시간(t4)부터 시간(t5)까지 한 주기(PE) 동안의 제2 복원 신호 값(rs22)에 기초하여 표물의 거리(R)를 획득할 수 있다. 예를 들어, 제어기(110)는 제2 복원 신호 값(rs21)에 대응하는 클럭 지연(cd3)을 이용하여 목표물의 거리(R)를 획득할 수 있다. 또는, 제어기(110)는 한 주기(PE) 동안에 복원된 복원 신호들(RS1, RS2) 각각의 수신 시각으로부터 목표물의 거리(R)를 획득할 수 있다.The
상술한 바와 같이, 시간(t0)부터 시간(t4)까지 한 주기(PE) 동안의 목표물의 거리(R)를 획득하기 위해, 제어기(110)는 제1 복원 신호 값(rs11) 및 제2 복원 신호 값(rs21) 중 적어도 하나를 이용할 수 있다. 제1 복원 신호 값(rs11)에 대응하는 클럭 지연(cd2)이 제2 복원 신호 값(rs21)에 대응하는 클럭 지연(cd3)보다 작으므로, 제1 복원 신호 값(rs11)에 기초하여 획득되는 거리(R)와 제2 복원 신호 값(rs21)에 기초하여 획득되는 거리(R)는 미세하게 다를 수 있다.. 목표물의 위치가 가깝고 수신기 사이의 거리가 먼 경우에 획득되는 거리(R)는 더 크게 다를 수 있다. 따라서, 목표물의 거리(R)는 다수의 수신기들에 의해 복원된 신호들로부터 추정된 목표물의 거리 값들을 비교하여 결정될 수 있다.As described above, in order to obtain the distance R of the target for one period PE from time t0 to time t4, the
예시적으로, 제1 복원 신호 값(rs11) 및 제2 복원 신호 값(rs21)을 모두 이용하여 목표물의 거리(R)를 획득하는 경우, 제어기(110)는 클럭 지연(cd2)과 클럭 지연(cd3)의 평균 값에 기초하여 목표물의 거리(R)를 획득할 수 있다. 또는, 제어기(110)는 한 주기(PE)의 최소 탐지 거리에 대응하는 시점에서 제1 복원 신호 값(rs11)의 복원 시점까지의 제1 시간 및 제2 복원 신호 값(rs21)의 복원 시점까지의 제2 시간을 획득할 수 있다. 제어기(110)는 한 주기(PE) 값에 대한 획득된 제1 시간 및 제2 시간의 평균 값의 비율을 이용하여 목표물의 거리(R)를 획득할 수 있다.For example, when the distance R of the target is obtained by using both the first recovery signal value rs11 and the second recovery signal value rs21, the
제어기(110)는 제1 에코 펄스(EP1)와 제2 에코 펄스(EP2)가 수신된 시간 차이에 기초하여 목표물의 방위각(θ)을 획득할 수 있다. 예를 들어, 도 5에 도시된 바와 같이, 제어기(110)는 시간(t0)부터 시간(t4)까지 한 주기(PE) 동안의 제1 에코 펄스(EP1)와 대응하는 제1 복원 신호 값(rs11)이 수신된 시간(t2d)과 제2 에코 펄스(EP2)와 대응하는 제2 복원 신호 값(rs21)이 수신된 시간(t3d)의 수신 시간 차이(sd1)에 기초하여 목표물의 방위각(θ)을 획득할 수 있다. 수신 시간 차이(sd1)는 클럭 지연(cd2) 및 클럭 지연(cd3)으로부터 산출될 수 있다. 이 경우, 제1 복원 신호(RS1)에서 제1 복원 신호 값(rs11)이 가리키는 위치와 제2 복원 신호(RS2)에서 제2 복원 신호 값(rs21)이 가리키는 위치는 대응할 수 있다. 즉, 제1 복원 신호 값(rs11)과 제2 복원 신호 값(rs21)은 동일할 수 있다.The
위에서 설명한 바와 같이, 제어기(110)는 다양한 방법을 이용하여 복원 신호들(RS1, RS2)로부터 에코 펄스(EP)의 위치를 특정할 수 있다. 예를 들어, 도 5에 도시된 바와 같이, 제어기(110)는 특정 시점에서의 복원 신호 값이 특정 임계값 이상인지 여부를 판별하여 에코 펄스(EP)의 위치를 특정할 수 있다. 목표물에 대하여 수신기들의 상대적인 위치가 다르게 배치된다면, 각각의 수신기에서 복원된 에코 펄스(EP)들 사이에 시간 차이가 발생할 수 있다. 이러한 시간 차이는 목표물에 대한 상대적인 경로차에 의하여 발생될 수 있다. 이 경로차를 이용하여 방위각이 산출될 수 있다. 시간(t0)부터 시간(t4)까지 한 주기(PE) 동안의 복원 신호들(RS1, RS2) 사이의 경로차에 의한 시간 차이의 값은 "sd1" 일 수 있다. 경로차에 의한 수신 시간 차이(sd1)는 거리로 환산될 수 있다. 환산된 거리는 경로차에 해당될 수 있다. 제어기(110)는 경로차로부터 방위각(θ)을 산출할 수 있다.또는, 제어기(110)는 한 주기(PE)의 최소 탐지 거리에 대응하는 시점에서 제1 복원 신호(RS1)의 복원 시점까지의 제1 시간을 획득하고, 한 주기(PE) 값에 대한 획득된 제1 시간의 비율을 이용하여 제1 목표물의 거리(R)를 획득할 수 있다. 제어기(110)는 한 주기(PE)의 최소 탐지 거리에 대응하는 시점에서 제2 복원 신호(RS2)의 복원 시점까지의 제2 시간을 획득하고, 한 주기(PE) 값에 대한 획득된 제2 시간의 비율을 이용하여 제2 목표물의 거리(R)를 획득할 수 있다. 제어기(110)는 제1 목표물의 거리(R)와 제2 목표물의 거리(R)의 차이로부터 수신 시간 차이(sd2)에 대응하는 거리를 획득할 수 있다. 제어기(110)는 수신 시간 차이(sd1)에 대응하는 거리로부터 방위각(θ)을 산출할 수 있다.As described above, the
제어기(110)는 시간(t4)부터 시간(t5)까지 한 주기(PE) 동안의 제1 에코 펄스(EP1)와 대응하는 제1 복원 신호 값(rs13)이 수신된 시간(t4d)과 제2 에코 펄스(EP2)와 대응하는 제2 복원 신호 값(rs22)이 수신된 시간(t5d)의 수신 시간 차이(sd2)에 기초하여 목표물의 방위각(θ)을 획득할 수 있다. 수신 시간 차이(sd2)는 클럭 지연(cd4) 및 클럭 지연(cd5)으로부터 산출될 수 있다.The
제어기(110)는 수신 시간 차이(sd2)를 거리로 환산할 수 있다. 환산된 거리는 경로차에 해당될 수 있다. 제어기(110)는 경로차로부터 방위각(θ)을 산출할 수 있다.The
또는, 제어기(110)는 한 주기(PE)의 최소 탐지 거리에 대응하는 시점에서 제1 복원 신호(RS1)의 복원 시점까지의 제1 시간을 획득하고, 한 주기(PE) 값에 대한 획득된 제1 시간의 비율을 이용하여 제1 목표물의 거리(R)를 획득할 수 있다. 제어기(110)는 한 주기(PE)의 최소 탐지 거리에 대응하는 시점에서 제2 복원 신호(RS2)의 복원 시점까지의 제2 시간을 획득하고, 한 주기(PE) 값에 대한 획득된 제2 시간의 비율을 이용하여 제2 목표물의 거리(R)를 획득할 수 있다. 제어기(110)는 제1 목표물의 거리(R)와 제2 목표물의 거리(R)의 차이로부터 수신 시간 차이(sd2)에 대응하는 거리를 획득할 수 있다. 제어기(110)는 수신 시간 차이(sd2)에 대응하는 거리로부터 방위각(θ)을 산출할 수 있다.Alternatively, the
제1 에코 펄스(EP1)와 제2 에코 펄스(EP2)가 수신된 시간 차이가 작을수록 목표물의 방위각(θ)이 작을 수 있다. 도 5에 도시된 바와 같이, 수신 시간 차이(sd1)가 수신 시간 차이(sd2)보다 작은 경우, 시간(t0)부터 시간(t4)까지 한 주기(PE) 동안의 목표물의 방위각(θ)이 시간(t4)부터 시간(t5)까지 한 주기(PE) 동안의 목표물의 방위각(θ)보다 작을 수 있다.As the time difference between the first echo pulse EP1 and the second echo pulse EP2 is smaller, the azimuth angle θ of the target may be smaller. As shown in FIG. 5, when the reception time difference sd1 is smaller than the reception time difference sd2, the azimuth angle θ of the target for one period PE from time t0 to time t4 is time. It may be smaller than the azimuth angle θ of the target for one period PE from t4 to time t5.
제어기(110)는 미리 정해진 주기(PE)에 동기된 제어 주기 신호(CPS)를 외부로 출력할 수 있다. 예를 들어, 도 5에 도시된 바와 같이, 가변 지연 제어 신호(DCS)가 최소값(min)일 때(즉, 시간(t0)), 제어기(110)는 구형파의 제어 주기 신호(CPS)를 출력할 수 있다. 마찬가지로, 다음 주기(PE)가 시작되는 시간(t4)(즉, 가변 지연 제어 신호(DCS)가 최소값(min)일 때)에 제어기(110)는 구형파의 제어 주기 신호(CPS)를 출력할 수 있다. 제어 주기 신호(CPS)가 제어기(110) 외부로 출력되는 경우, 제어기(110) 외부의 다양한 신호 처리기는 제어 주기 신호(CPS)를 이용하여 다양한 정보를 분석할 수 있다. 예를 들어, 외부의 신호 처리기는 복원 신호(RS)로부터 목표물의 거리(R)를 산출하기 위해, 제어 주기 신호(CPS)를 이용할 수 있다.The
이하에서는, 도 6을 참조하여 목표물의 거리(R) 및 목표물의 방위각(θ)을 획득하는 방법에 대해 상세하게 설명한다.Hereinafter, a method of obtaining the distance R of the target and the azimuth angle θ of the target will be described in detail with reference to FIG. 6.
도 6은 도 2의 제어기가 목표물의 거리 및 목표물의 방위각을 획득하는 방법을 나타내는 도면이다. 일반적으로, 송신 안테나(131)와 수신 안테나들(141, 142) 사이의 거리는 안테나들(131, 141, 142)과 목표물 사이의 거리보다 훨씬 작으므로, 도 6은 실제 거리와 다르게 도시된 도면일 수 있다. 이하에서는, 송신 안테나(131)와 수신 안테나들(141, 142) 사이의 거리가 안테나들(131, 141, 142)과 목표물 사이의 거리보다 훨씬 작은 것으로 가정한다.6 is a diagram illustrating how the controller of FIG. 2 obtains a distance of a target and an azimuth of the target. In general, the distance between the transmit
도 6을 참조하면, 레이더 장치(100)로부터 목표물까지의 거리(R)는 송신 안테나(131)로부터 목표물까지의 거리(R)로 가정할 수 있다. 도 5에서 설명한 바와 같이, 제어기(110)는 제1 수신 안테나(141)를 통해 수신되는 제1 에코 펄스(EP1)에 기초하여 제1 수신 안테나(141)로부터 목표물까지의 거리(R1)를 획득할 수 있다. 제어기(110)는 제2 수신 안테나(142)를 통해 수신되는 제2 에코 펄스(EP2)에 기초하여 제2 수신 안테나(142)로부터 목표물까지의 거리(R2)를 획득할 수 있다. 안테나들(131, 141, 142)과 목표물 사이의 거리가 송신 안테나(131)와 수신 안테나들(141, 142) 사이의 거리보다 훨씬 큰 경우, 제1 수신 안테나(141)로부터 목표물까지의 거리(R1) 및 제2 수신 안테나(142)로부터 목표물까지의 거리(R2)의 차이는 목표물의 거리(R)에 비하여 매우 작으므로, 목표물의 거리(R)를 거리(R1), 거리(R2) 또는 거리(R1)과 거리(R2)의 평균값으로 근사할 수 있다.Referring to FIG. 6, it may be assumed that the distance R from the
제1 수신 안테나(141)는 제1 경로(P1)를 통해 제1 에코 펄스(EP1)를 수신할 수 있다. 제2 수신 안테나(142)는 제2 경로(P2)를 통해 제2 에코 펄스(EP2)를 수신할 수 있다. 도 6에 도시된 바와 같이, 목표물의 방위각(θ)이 '0' 이 아닌 경우, 제1 경로(P1) 및 제2 경로(P2)에는 경로차(pad)가 존재할 수 있다. 경로차(pad)로 인하여, 제1 에코 펄스(EP1)와 제2 에코 펄스(EP2)가 수신되는 시간이 다를 수 있다.The
경로차(pad)는 목표물의 방위각(θ)과 제1 수신 안테나(141) 및 제2 수신 안테나(142) 사이의 이격 거리(rad)에 대한 함수일 수 있다. 예를 들어, 안테나들(131, 141, 142)과 목표물 사이의 거리가 송신 안테나(131)와 수신 안테나들(141, 142) 사이의 거리가 보다 훨씬 큰 경우, 경로차(pad)는 아래의 수학식 1과 같이 나타낼 수 있다.The path difference pad may be a function of the azimuth angle θ of the target and the separation distance rad between the
도 5에서 설명한 바와 같이, 제어기(110)는 제1 에코 펄스(EP1)와 제2 에코 펄스(EP2)가 수신된 시간 차이를 산출할 수 있고, 수신 시간 차이로부터 경로차(pad)를 산출할 수 있다. 제어기(110)는 위의 수학식 1을 기반으로 이격 거리(rad) 및 경로차(pad)를 이용하여 방위각(θ)을 획득할 수 있다.As described with reference to FIG. 5, the
상술한 바와 같이, 레이더 장치(100)는 연속적으로 변하는 가변 지연 제어 신호(DCS)에 기초하여 수신 클럭(dCK)을 생성할 수 있다. 이에 따라, 레이더 장치(100)는 송신 클럭(tCK)과 수신 클럭(dCK) 사이의 지연 시간을 정밀하게 조절할 수 있다. 레이더 장치(100)는 수신 클럭(dCK)으로부터 복원된 에코 펄스들(EP1, EP2)의 지연 관계를 정밀하게 분석할 수 있고, 목표물의 방위각(θ) 정보를 높은 해상도로 획득할 수 있다. 또한, 레이더 장치(100)는 한 주기(PE) 동안에 복원된 에코 펄스들(EP1, EP2)의 수신 시각으로부터 목표물의 거리(R)와 에코 펄스들(EP1, EP2) 사이의 지연 관계를 획득할 수 있다.As described above, the
레이더 장치(100)는 펄스를 통해 목표물을 감지하고, 두 개의 수신 안테나들(141, 142)을 이용하기 때문에, 두 개의 수신 안테나들(141, 142) 사이의 이격 거리(rad)가 자유롭게 결정될 수 있다. 예를 들어, 이격 거리(rad)는 송신 펄스(TP)의 중심 주파수의 파장의 절반 이상으로 결정될 수 있다. 이격 거리(rad)가 증가되는 경우, 동일한 방위각(θ)에 위치한 목표물에 대한 경로차가 증가할 수 있다. 따라서, 레이더 장치(100)는 동일한 방위각(θ)에 대하여 증가된 경로차를 분석할 수 있다. 즉, 방위각(θ)의 해상도가 증가될 수 있다. 수학식 1과 같이, 이격 거리(rad)가 증가되면, 동일한 방위각(θ)에 대하여 경로차(pad)가 증가될 수 있다..Since the
도 7은 도 2의 클럭 생성기를 나타내는 블록도이다. 도 7을 참조하면, 클럭 생성기(120)는 제1 지연 소자(121), 제2 지연 소자(122), 위상 비교기(123), 필터(124) 및 에러 증폭기(125)를 포함할 수 있다.7 is a block diagram illustrating a clock generator of FIG. 2. Referring to FIG. 7, the
제1 지연 소자(121)는 제1 지연 제어 신호(DS1)에 기초하여 기준 클럭(rCK)을 지연시켜 송신 클럭(tCK)을 생성할 수 있다. 제1 지연 제어 신호(DS1)는 기준 클럭(rCK)과 송신 클럭(tCK) 사이의 지연 시간에 대응하는 신호일 수 있다. 제1 지연 제어 신호(DS1)는 미리 설정된 특정 값일 수 있다. 예시적으로, 제1 지연 제어 신호(DS1)는 제어기(110)로부터 제공될 수 있다. 제1 지연 소자(121)로부터 출력된 송신 클럭(tCK)은 송신기(130) 및 위상 비교기(123)로 제공될 수 있다.The
제2 지연 소자(122)는 제2 지연 제어 신호(DS2)에 기초하여 기준 클럭(rCK)을 지연시켜 수신 클럭(dCK)을 생성할 수 있다. 제2 지연 제어 신호(DS2)는 기준 클럭(rCK)과 수신 클럭(dCK) 사이의 지연 시간에 대응하는 신호일 수 있다. 제2 지연 제어 신호(DS2)는 가변 지연 제어 신호(DCS)에 따라 값이 변할 수 있다. 제2 지연 제어 신호(DS2)는 에러 증폭기(125)로부터 제공될 수 있다. 제2 지연 소자(122)로부터 출력된 수신 클럭(dCK)은 제1 및 제2 수신기들(140a, 140b)과 위상 비교기(123)로 제공될 수 있다.The
위상 비교기(123)는 송신 클럭(tCK)과 수신 클럭(dCK)의 위상을 비교하여 위상 비교 출력 신호(CR)를 출력할 수 있다. 예시적으로, 위상 비교기(123)는 송신 클럭(tCK)과 수신 클럭(dCK)의 위상 차이(즉, 클럭 지연)에 대응하는 구형파를 위상 비교 출력 신호(CR)로서 출력할 수 있다. 이 경우, 구형파의 듀티 싸이클(duty cycle)은 위상 차이에 비례할 수 있다.The
필터(124)는 위상 비교 출력 신호(CR)에 포함된 높은 주파수 성분을 제거할 수 있다. 예를 들어, 필터(124)는 저역 필터(low pass filter)일 수 있다. 필터(124)를 통해 출력된 필터링된 위상 비교 출력 신호(FCR)는 에러 증폭기(125)로 제공될 수 있다.The
에러 증폭기(125)는 필터링된 위상 비교 출력 신호(FCR)와 가변 지연 제어 신호(DCS)를 수신하고, 필터링된 위상 비교 출력 신호(FCR)와 가변 지연 제어 신호(DCS)의 차이를 증폭할 수 있다. 예를 들어, 가변 지연 제어 신호(DCS)가 필터링된 위상 비교 출력 신호(FCR)보다 크면(즉, 송신 클럭(tCK)과 수신 클럭(dCK) 사이의 지연 시간이 원하는 지연 시간보다 작으면), 에러 증폭기(125)는 증가된 제2 지연 제어 신호(DS2)를 출력할 수 있다. 이에 따라, 제2 지연 제어 신호(DS2)를 수신한 제2 지연 소자(122)는 기준 클럭(rCK)의 지연을 더욱 증가시켜 수신 클럭(dCK)을 생성할 수 있다. 가변 지연 제어 신호(DCS)가 필터링된 위상 비교 출력 신호(FCR)보다 작으면(즉, 송신 클럭(tCK)과 수신 클럭(dCK) 사이의 지연 시간이 원하는 지연 시간보다 크면), 에러 증폭기(125)는 감소된 제2 지연 제어 신호(DS2)를 출력할 수 있다. 이에 따라, 제2 지연 제어 신호(DS2)를 수신한 제2 지연 소자(122)는 기준 클럭(rCK)의 지연을 더욱 감소시켜 수신 클럭(dCK)을 생성할 수 있다.The
상술한 바와 같이, 클럭 생성기(120)는 에러 증폭기(125)의 출력 신호(DS2)가 제2 지연 소자(122)로 입력되는 피드백(feedback) 경로를 형성할 수 있다. 이에 따라, 송신 클럭(tCK)과 수신 클럭(dCK) 사이의 지연 시간과 원하는 지연 시간의 오차가 감소될 수 있다. 또한, 클럭 생성기(120)는 제1 및 제2 지연 소자들(121, 122)에 대한 보상회로를 포함하지 않을 수 있다. 이에 따라, 소형화된 레이더 장치(100)가 구현될 수 있고, 레이더 장치(100)는 저전력으로 동작할 수 있다.As described above, the
도 8은 도 2의 수신기를 나타내는 블록도이다. 설명의 편의를 위해, 제1 수신기(140a)를 기준으로 도 8이 설명될 것이다. 그러나, 본 발명은 이에 한정되지 않으며, 제2 수신기(140b)는 제1 수신기(140a)와 동일하게 구현될 수 있다.8 is a block diagram illustrating the receiver of FIG. 2. For convenience of description, FIG. 8 will be described with reference to the
도 8을 참조하면, 제1 수신기(140a)는 제1 수신 안테나(141), 저잡음 증폭기(143), 샘플러(144), 가변 증폭기(145) 및 아날로그 디지털 변환기(146)를 포함할 수 있다. 제1 수신 안테나(141)는 제1 에코 펄스(EP1)를 수신하고, 수신된 제1 에코 펄스(EP1)를 저잡음 증폭기(143)로 전달할 수 있다.Referring to FIG. 8, the
저잡음 증폭기(143)는 제1 에코 펄스(EP1)를 증폭시킬 수 있다. 증폭된 제1 에코 펄스(AEP1)는 샘플러(sampler)(144)로 제공될 수 있다. 샘플러(144)는 수신 클럭(dCK)에 응답하여 증폭된 제1 에코 펄스(AEP1)를 샘플링할 수 있다. 예를 들어, 샘플러(144)는 수신 클럭(dCK)의 상승 에지에서의 증폭된 제1 에코 펄스(AEP1) 값을 샘플링할 수 있다. 샘플된 신호(SS)는 가변 증폭기(145)로 제공될 수 있다.The
가변 증폭기(145)는 샘플된 신호(SS)를 증폭시킬 수 있다. 증폭된 샘플된 신호(ASS)는 아날로그 디지털 변환기(146)로 제공될 수 있다. 아날로그 디지털 변환기(146)는 증폭된 샘플된 신호(ASS)를 디지털 신호로 변환하여 제1 복원 신호(RS1)를 생성할 수 있다.The
상술한 바와 같이, 제1 수신기(140a)는 수신 클럭(dCK)에 응답하여 제1 수신 안테나(141)를 통해 수신되는 신호 값을 샘플링할 수 있다. 즉, 수신 클럭(dCK)이 제공되는 시점에 제1 에코 펄스(EP1)가 수신되는 경우, 제1 수신기(140a)는 제1 에코 펄스(EP1)에 대응하는 값을 샘플링하고, 샘플링된 신호(SS)에 기초하여 제1 복원 신호(RS1)를 생성할 수 있다.As described above, the
도 9는 본 발명의 하나의 실시 예에 따른 레이더 장치의 동작을 나타내는 순서도이다. 도 2 및 도 9를 참조하면, S101 단계에서, 레이더 장치(100)는 가변 지연 제어 신호(DCS)에 기초하여 송신 클럭(tCK) 및 수신 클럭(dCK)을 생성할 수 있다. 가변 지연 제어 신호(DCS)는 미리 설정된 최소값 및 미리 설정된 최대값 사이에서 시간에 따라 연속적으로 변하는 신호일 수 있다. 레이더 장치(100)는 송신 클럭(tCK)보다 가변 지연 제어 신호(DCS)에 대응하는 지연 시간만큼 지연된 수신 클럭(dCK)을 생성할 수 있다.9 is a flowchart illustrating an operation of a radar apparatus according to an exemplary embodiment. 2 and 9, in operation S101, the
S102 단계에서, 레이더 장치(100)는 송신 클럭(tCK)에 기초하여 송신 펄스(TP)를 방사할 수 있다. S103 단계에서, 레이더 장치(100)는 송신 펄스(TP)가 목표물로부터 반사된 에코 펄스(EP)를 수신할 수 있다. 레이더 장치(100)의 제1 수신 안테나(141)로 수신되는 에코 펄스(EP)는 제1 에코 펄스(EP1)이고, 제2 수신 안테나(142)로 수신되는 에코 펄스(EP)는 제2 에코 펄스(EP2)일 수 있다. 즉, 레이더 장치(100)는 제1 수신 안테나(141)를 통해 제1 에코 펄스(EP1)를 수신하고, 제2 수신 안테나(142)를 통해 제2 에코 펄스(EP2)를 수신할 수 있다.In operation S102, the
S104 단계에서, 레이더 장치(100)는 수신 클럭(dCK)에 기초하여 제1 및 제2 복원 신호들(RS1, RS2)을 생성할 수 있다. 레이더 장치(100)는 수신 클럭(dCK)에 기초하여 제1 에코 펄스(EP1)에 대응하는 제1 복원 신호(RS1)를 생성할 수 있고, 제2 에코 펄스(EP2)에 대응하는 제2 복원 신호(RS2)를 생성할 수 있다.In operation S104, the
S105 단계에서, 레이더 장치(100)는 제1 및 제2 복원 신호들(RS1, RS2)을 기반으로 목표물의 거리(R) 및 목표물의 방위각(θ)을 획득할 수 있다. 레이더 장치(100)는 복원 신호들(RS1, RS2) 중 적어도 하나에 대응하는 송신 클럭(tCK)과 수신 클럭(dCK) 사이의 지연 시간에 기초하여 목표물의 거리(R)를 획득할 수 있다. 레이더 장치(100)는 복원 신호에서 에코 펄스(EP)의 위치를 특정하고, 특정된 위치로부터 목표물의 거리(R)를 획득할 수 있다. 레이더 장치(100)는 제1 수신 안테나(141)와 제2 수신 안테나(142) 사이의 이격 거리, 제1 복원 신호(RS1)에 대응하는 클럭 지연 및 제2 복원 신호(RS2)에 대응하는 클럭 지연에 기초하여 목표물의 방위각(θ)을 획득할 수 있다. 레이더 장치(100)는 한 주기(PE) 동안에 복원된 신호들(RS1, RS2)의 수신 시각들로부터 제1 수신 안테나(141)로부터 제1 목표물까지의 거리(R) 및 제2 수신 안테나(142)로부터 제2 목표물까지의 거리(R)를 획득할 수 있다. 레이더 장치(100)는 제1 목표물까지의 거리(R)와 제2 목표물까지의 거리(R)의 차이에 기초하여 방위각(θ)을 획득할 수 있다.In operation S105, the
도 10은 본 발명의 하나의 실시 예에 따른 레이더 장치가 송신 클럭 및 수신 클럭을 생성하는 동작을 나타내는 순서도이다. 도 2 및 도 10을 참조하면, S111 단계에서, 레이더 장치(100)는 기준 클럭(rCK)을 수신할 수 있다. S112 단계에서, 레이더 장치(100)는 제1 지연 제어 신호(DS1)에 기초하여 기준 클럭(rCK)을 지연시켜 송신 클럭(tCK)을 생성할 수 있다. S113 단계에서, 레이더 장치(100)는 제2 지연 제어 신호(DS2)에 기초하여 기준 클럭(rCK)을 지연시켜 수신 클럭(dCK)을 생성할 수 있다.10 is a flowchart illustrating an operation of generating a transmission clock and a reception clock by a radar apparatus according to an exemplary embodiment. 2 and 10, in step S111, the
S114 단계에서, 레이더 장치(100)는 송신 클럭(tCK)의 위상 및 수신 클럭(dCK)의 위상을 비교하여 위상 비교 출력 신호(CR)를 출력할 수 있다. S115 단계에서, 레이더 장치(100)는 위상 비교 출력 신호(CR)와 가변 지연 제어 신호(DCS)의 차이를 증폭시켜 제2 지연 제어 신호(DS2)를 출력할 수 있다. 예를 들어, 레이더 장치(100)는 위상 비교 출력 신호(CR)와 가변 지연 제어 신호(DCS)의 차이를 증폭시키기 전에, 위상 비교 출력 신호(CR)의 높은 주파수 성분을 제거할 수 있다. 레이더 장치(100)는 필터링된 위상 비교 출력 신호와 가변 지연 제어 신호(DCS)의 차이를 증폭시켜 제2 지연 제어 신호(DS2)를 출력할 수 있다.In operation S114, the
도 11은 도 1의 레이더 장치의 다른 실시 예를 나타내는 블록도이다. 도 11을 참조하면, 레이더 장치(200)는 제어기(210), 클럭 생성기(220), 제1 송신기(230a), 제2 송신기(230b) 및 수신기(240)를 포함할 수 있다. 제어기(210) 및 클럭 생성기(220)의 동작은 도 2의 제어기(110) 및 클럭 생성기(120)의 동작과 유사하고, 제1 송신기(230a) 및 제2 송신기(230b)의 동작은 도 2의 송신기(130)의 동작과 유사하고, 수신기(240)의 동작은 제1 수신기(140a) 또는 제2 수신기(140b)의 동작과 유사할 수 있다. 이에 따라, 중복되는 설명은 생략될 수 있다. 이하에서는, 도 2의 레이더 장치(100)와의 차이점을 중심으로 도 11의 레이더 장치(200)를 설명한다.FIG. 11 is a block diagram illustrating another exemplary embodiment of the radar apparatus of FIG. 1. Referring to FIG. 11, the
제어기(210)는 가변 지연 제어 신호(DCS)를 생성하고, 클럭 생성기(220)로 가변 지연 제어 신호(DCS)를 제공할 수 있다. 클럭 생성기(220)는 기준 클럭(rCK)으로부터 송신 클럭(tCK) 및 수신 클럭(dCK)을 생성할 수 있다. 클럭 생성기(220)는 가변 지연 제어 신호(DCS)에 기초하여 송신 클럭(tCK)보다 가변 지연 제어 신호(DCS)에 대응하는 지연 시간만큼 지연된 수신 클럭(dCK)을 생성할 수 있다.The
제1 송신기(230a)는 송신 클럭(tCK)에 응답하여 제1 송신 안테나(231)를 통해 제1 송신 펄스(TP1)를 방사할 수 있다. 제2 송신기(230b)는 송신 클럭(tCK)에 응답하여 제2 송신 안테나(232)를 통해 제2 송신 펄스(TP2)를 방사할 수 있다. 제1 송신기(230a) 및 제2 송신기(230b)는 제1 송신 펄스(TP1) 및 제2 송신 펄스(TP2)를 동시에 방사할 수 있다.The
수신기(240)는 수신 안테나(241)를 통해 입력되는 에코 펄스들(EP1, EP2)을 수신할 수 있다. 수신기(240)는 수신 클럭(dCK)에 응답하여 수신된 신호 값에 대응하는 복원 신호(RS)를 생성할 수 있다. 수신기(240)는 제1 송신 펄스(TP1)가 목표물에 반사되어 돌아오는 제1 에코 펄스(EP1) 및 제2 송신 펄스(TP2)가 목표물에 반사되어 돌아오는 제2 에코 펄스(EP2)를 수신할 수 있다. 제1 에코 펄스(EP1)와 제2 에코 펄스(EP2)가 하나의 수신기(240)를 통해 수신되는 경우, 제1 에코 펄스(EP1)와 제2 에코 펄스(EP2)는 중첩될 수 있다. 이에 따라, 제1 에코 펄스(EP1) 및 제2 에코 펄스(EP2)에 의해 수신기(240)로 수신되는 에코 펄스(SEP)는 제1 에코 펄스(EP1) 및 제2 에코 펄스(EP2)가 중첩된 형태의 펄스일 수 있다. 수신기(240)는 중첩된 에코 펄스(SEP)에 대응하는 복원 신호(RS)를 생성하여 제어기(210)로 제공할 수 있다.The
복원 신호(RS)의 파형은 제1 에코 펄스(EP1) 및 제2 에코 펄스(EP2)의 수신 시간 차이에 따라 달라질 수 있다. 제어기(210)는 복원 신호(RS)의 파형을 분석할 수 있다. 제어기(210)는 분석된 정보에 기초하여 목표물의 거리(R) 및 목표물의 방위각(θ)을 획득할 수 있다. 예시적으로, 제어기(210)는 에코 펄스(SEP)에 대응하는 복원 신호(RS)를 판별할 수 있다. 제어기(210)는 판별된 복원 신호(RS)에 대응하는 송신 클럭(tCK)과 수신 클럭(dCK) 사이의 지연 시간에 기초하여 목표물의 거리(R)를 획득할 수 있다. 또는, 제어기(210)는 한 주기(PE) 동안에 복원된 신호(RS)의 수신 시각으로부터 목표물의 거리(R)를 획득할 수 있다.The waveform of the recovery signal RS may vary according to a difference in reception time of the first echo pulse EP1 and the second echo pulse EP2. The
예시적으로, 제어기(210)는 복원 신호(RS)의 파형으로부터 제1 에코 펄스(EP1)가 수신된 시간과 제2 에코 펄스(EP2)가 수신된 시간의 차이를 산출할 수 있다. 제어기(210)는 산출된 수신 시간 차이에 기초하여 목표물의 방위각(θ)을 획득할 수 있다.In exemplary embodiments, the
제어기(210)는 가변 지연 제어 신호(DCS)의 주기 정보를 외부에 제공하기 위해, 미리 정해진 주기에 동기된 제어 주기 신호(CPS)를 출력할 수 있다.The
상술한 바와 같이, 레이더 장치(200)는 두 개의 송신기들(230a, 230b) 및 하나의 수신기(240)를 이용하여 목표물의 거리(R) 및 목표물의 방위각(θ)을 획득할 수 있다. 즉, 서로 다른 위치에서 동시에 송신 펄스들(TP1, TP2)을 송신하는 경우, 레이더 장치(200)는 하나의 수신기(240)를 통해 목표물의 위치 정보 및 속도 정보를 획득할 수 있다.As described above, the
도 12는 도 11의 레이더 장치로부터 생성된 복원 신호의 예시를 나타내는 도면이다. 도 11 및 도 12를 참조하면, 수신기(240)는 제1 에코 펄스(EP1) 및 제2 에코 펄스(EP2)를 수신할 수 있다. 목표물의 위치에 따라 제1 송신 펄스(TP1) 및 제2 송신 펄스(TP2)가 목표물에 도달하는 시간이 달라질 수 있으므로, 제1 에코 펄스(EP1)가 수신되는 시간과 제2 에코 펄스(EP2)가 수신되는 시간이 다를 수 있다. 도 12에 도시된 바와 같이, 제1 에코 펄스(EP1)는 제2 에코 펄스(EP2)보다 수신 시간 차이(sd)만큼 먼저 수신될 수 있다.FIG. 12 is a diagram illustrating an example of a reconstruction signal generated from the radar apparatus of FIG. 11. 11 and 12, the
도 11에서 설명한 바와 같이, 제1 에코 펄스(EP1) 및 제2 에코 펄스(EP2)는 중첩될 수 있다. 수신기(240)는 중첩된 에코 펄스(SEP)로부터 복원 신호(RS)를 생성할 수 있다. 복원 신호(RS)는 중첩된 에코 펄스(SEP)와 대응하는 값을 가질 수 있다. 즉, 복원 신호(RS)의 파형은 중첩된 에코 펄스(SEP)의 파형과 실질적으로 동일할 수 있다. 에코 펄스(SEP)의 파형은 제1 에코 펄스(EP1) 및 제2 에코 펄스(EP2)의 수신 시간 차이에 따라 달라질 수 있다.As described with reference to FIG. 11, the first echo pulse EP1 and the second echo pulse EP2 may overlap. The
제어기(210)는 복원 신호(RS)의 파형을 분석할 수 있다. 제어기(210)는 복원 신호(RS)의 특정 값(rs)의 크기가 임계값 이상인 경우, 에코 펄스(SEP)가 수신되었음을 판별할 수 있다. 제어기(210)는 특정 값(rs)에 대응하는 클럭 지연(cd)에 기초하여 목표물의 거리(R)를 획득할 수 있다. 또는, 제어기(210)는 한 주기(PE) 동안에 복원된 신호(RS)의 수신 시각으로부터 목표물의 거리(R)를 획득할 수 있다.The
제어기(210)는 복원 신호(RS)의 파형을 분석하여 제1 에코 펄스(EP1)와 제2 에코 펄스(EP2)의 수신 시간 차이(sd)를 획득할 수 있다. 제어기(210)는 수신 시간 차이(sd)에 기초하여 목표물의 방위각(θ)을 획득할 수 있다.The
도 13은 도 11의 제어기가 목표물의 거리 및 목표물의 방위각을 획득하는 방법을 나타내는 도면이다. 도 13에 도시된 바와 다르게, 송신 안테나들(231, 232)과 수신 안테나(241) 사이의 거리는 안테나들(231, 232, 241)과 목표물 사이의 거리보다 훨씬 작을 수 있다. 이하에서는, 송신 안테나들(231, 232)과 수신 안테나(241) 사이의 거리가 안테나들(231, 232, 241)과 목표물 사이의 거리보다 훨씬 작은 것으로 가정한다. 송신 안테나들(231, 232) 사이의 이격 거리는 송신 펄스들(TP1, TP2)의 중심 주파수의 반파장 이상 또는 이하의 값으로 임의로 설정될 수 있다.FIG. 13 is a diagram illustrating a method of obtaining, by the controller of FIG. 11, a distance of a target and an azimuth of the target. Unlike shown in FIG. 13, the distance between the transmit
도 13을 참조하면, 레이더 장치(200)로부터 목표물까지의 거리(R)는 수신 안테나(241)로부터 목표물까지의 거리(R)로 가정할 수 있다. 도 12에서 설명한 바와 같이, 제어기(210)는 수신 안테나(241)를 통해 수신되는 중첩된 에코 펄스(SEP)에 기초하여 수신 안테나(241)로부터 목표물까지의 거리(R)를 획득할 수 있다. 송신 안테나들(231, 232) 사이의 이격 거리가 충분할 경우, 수신 안테나(241)는 분리된 에코 펄스(EP)들을 수신할 수 있다. 이 경우, 상술한 바와 같이, 목표물의 거리(R) 및 방위각(θ)이 획득될 수 있다.Referring to FIG. 13, it may be assumed that the distance R from the
제1 송신 안테나(231)는 제1 경로(P1)를 통해 제1 송신 펄스(TP1)를 송신할 수 있다. 제2 송신 안테나(232)는 제2 경로(P2)를 통해 제2 송신 펄스(TP2)를 송신할 수 있다. 도 13에 도시된 바와 같이, 목표물의 방위각(θ)이 '0' 이 아닌 경우, 제1 경로(P1) 및 제2 경로(P2)에는 경로차(pad)가 존재할 수 있다. 경로차(pad)로 인하여, 제1 송신 펄스(TP1)와 제2 송신 펄스(TP2)가 목표물까지 도달하는 시간이 다를 수 있다. 이에 따라, 제1 송신 펄스(TP1)에 따른 제1 에코 펄스(EP1)가 수신 안테나(241)에 도달하는 시간과 제2 송신 펄스(TP2)에 따른 제2 에코 펄스(EP2)가 수신 안테나(241)에 도달하는 시간이 다를 수 있다. 수신 안테나(241)는 제1 에코 펄스(EP1)와 제2 에코 펄스(EP2)의 수신 시간 차이에 따라 다른 형태를 가지는 중첩된 에코 펄스(SEP)를 수신할 수 있다.The
경로차(pad)는 목표물의 방위각(θ)과 제1 송신 안테나(231) 및 제2 송신 안테나(232) 사이의 이격 거리(tad)에 대한 함수일 수 있다. 예를 들어, 안테나들(231, 232, 241)과 목표물 사이의 거리가 송신 안테나들(231, 232)과 수신 안테나(241) 사이의 거리보다 훨씬 큰 경우, 경로차(pad)는 아래의 수학식 2와 같이 나타낼 수 있다.The path difference pad may be a function of the azimuth angle θ of the target and the separation distance tad between the first transmit
도 12에서 설명한 바와 같이, 제어기(210)는 제1 에코 펄스(EP1)와 제2 에코 펄스(EP2)의 수신 시간 차이를 획득할 수 있고, 수신 시간 차이로부터 경로차(pad)를 산출할 수 있다. 제어기(210)는 위의 수학식 2를 기반으로 이격 거리(tad) 및 경로차(pad)를 이용하여 방위각(θ)을 획득할 수 있다.As described with reference to FIG. 12, the
상술한 바와 같이, 레이더 장치(200)는 연속적으로 변하는 가변 지연 제어 신호(DCS)에 기초하여 수신 클럭(dCK)을 생성할 수 있다. 이에 따라, 레이더 장치(200)는 송신 클럭(tCK)과 수신 클럭(dCK) 사이의 지연 시간을 정밀하게 조절할 수 있다. 레이더 장치(200)는 수신 클럭(dCK)에 기초하여 중첩된 에코 펄스(SEP)를 복원하고, 복원 신호(RS)로부터 제1 및 제2 에코 펄스들(EP1, EP2)의 지연 관계를 정밀하게 분석할 수 있다. 따라서, 레이더 장치(200)는 목표물의 방위각(θ) 정보를 높은 해상도로 획득할 수 있다.As described above, the
상술한 바와 같이, 본 발명의 실시 예들에 따른 레이더 장치는 적어도 두 개의 수신 안테나 또는 적어도 두 개의 송신 안테나를 포함할 수 있다. 설명의 편의를 위해, 두 개의 수신 안테나 또는 두 개의 송신 안테나가 수직 방향으로 배치되는 것으로 도시되었지만, 본 발명은 이에 한정되지 않으며, 본 발명의 수신 안테나 및 송신 안테나는 다양한 방향 및 다양한 간격으로 배치될 수 있다.As described above, the radar apparatus according to the embodiments of the present invention may include at least two receive antennas or at least two transmit antennas. For convenience of description, although two receiving antennas or two transmitting antennas are shown to be disposed in the vertical direction, the present invention is not limited thereto, and the receiving antenna and the transmitting antenna of the present invention may be arranged in various directions and at various intervals. Can be.
상술한 본 발명의 실시 예들에 따른 레이더 장치의 구성 요소들은 소프트웨어, 또는 하드웨어, 또는 그것들의 조합의 형태로 구현될 수 있다. 예시적으로, 소프트웨어는 기계 코드, 펌웨어, 임베디드 코드, 및 애플리케이션 소프트웨어일 수 있다. 예를 들어, 하드웨어는 전기 회로, 전자 회로, 프로세서, 컴퓨터, 집적 회로, 집적 회로 코어들, 압력 센서, 관성 센서, 멤즈(Micro Electro Mechanical System; MEMS), 수동 소자, 또는 그것들의 조합을 포함할 수 있다.Components of the radar apparatus according to the embodiments of the present invention described above may be implemented in the form of software, hardware, or a combination thereof. By way of example, the software may be machine code, firmware, embedded code, and application software. For example, the hardware may include electrical circuits, electronic circuits, processors, computers, integrated circuits, integrated circuit cores, pressure sensors, inertial sensors, Micro Electro Mechanical Systems (MEMS), passive components, or combinations thereof. Can be.
상술된 내용은 본 발명을 실시하기 위한 구체적인 실시 예들이다. 본 발명은 상술된 실시 예들뿐만 아니라, 단순하게 설계 변경되거나 용이하게 변경할 수 있는 실시 예들 또한 포함할 것이다. 또한, 본 발명은 실시 예들을 이용하여 용이하게 변형하여 실시할 수 있는 기술들도 포함될 것이다. 따라서, 본 발명의 범위는 상술된 실시 예들에 국한되어 정해져서는 안되며 후술하는 특허청구범위뿐만 아니라 이 발명의 특허청구범위와 균등한 것들에 의해 정해져야 할 것이다.The foregoing is specific embodiments for practicing the present invention. The present invention will include not only the above-described embodiments but also embodiments that can be simply changed in design or easily changed. In addition, the present invention will also include techniques that can be easily modified and practiced using the embodiments. Therefore, the scope of the present invention should not be limited to the above-described embodiments, but should be determined by the equivalents of the claims of the present invention as well as the following claims.
100, 200: 레이더 장치
110, 210: 제어기
120, 220: 클럭 생성기
130, 230a, 230b: 송신기
131, 231, 232: 송신 안테나
140a, 140b, 240: 수신기
141, 142, 241: 수신 안테나100, 200: radar device
110, 210: controller
120, 220: clock generator
130, 230a, 230b: transmitter
131, 231, 232: transmit antenna
140a, 140b, 240: receiver
141, 142, 241: receiving antenna
| Application Number | Priority Date | Filing Date | Title |
|---|---|---|---|
| US16/435,043US11366213B2 (en) | 2018-06-08 | 2019-06-07 | Radar apparatus |
| Application Number | Priority Date | Filing Date | Title |
|---|---|---|---|
| KR1020180066361 | 2018-06-08 | ||
| KR20180066361 | 2018-06-08 |
| Publication Number | Publication Date |
|---|---|
| KR20190139736Atrue KR20190139736A (en) | 2019-12-18 |
| KR102592703B1 KR102592703B1 (en) | 2023-10-24 |
| Application Number | Title | Priority Date | Filing Date |
|---|---|---|---|
| KR1020180113878AActiveKR102592703B1 (en) | 2018-06-08 | 2018-09-21 | Radar apparatus |
| Country | Link |
|---|---|
| KR (1) | KR102592703B1 (en) |
| Publication number | Priority date | Publication date | Assignee | Title |
|---|---|---|---|---|
| US20030146826A1 (en)* | 2001-12-14 | 2003-08-07 | Viana Luis M. | Back-up aid indicator |
| US20030151541A1 (en)* | 2000-02-08 | 2003-08-14 | Oswald Gordon Kenneth Andrew | Methods and apparatus for obtaining positional information |
| US20150061922A1 (en)* | 2013-02-22 | 2015-03-05 | Panasonic Corporation | Radar apparatus |
| US20160103213A1 (en)* | 2014-10-08 | 2016-04-14 | Texas Instruments Incorporated | Three Dimensional (3D) Tracking of Objects in a Radar System |
| KR20170112201A (en)* | 2016-03-31 | 2017-10-12 | 한국전자통신연구원 | Pulse radar apparatus and method for operating pulse radar apparatus |
| Publication number | Priority date | Publication date | Assignee | Title |
|---|---|---|---|---|
| US20030151541A1 (en)* | 2000-02-08 | 2003-08-14 | Oswald Gordon Kenneth Andrew | Methods and apparatus for obtaining positional information |
| US20030146826A1 (en)* | 2001-12-14 | 2003-08-07 | Viana Luis M. | Back-up aid indicator |
| US20150061922A1 (en)* | 2013-02-22 | 2015-03-05 | Panasonic Corporation | Radar apparatus |
| US20160103213A1 (en)* | 2014-10-08 | 2016-04-14 | Texas Instruments Incorporated | Three Dimensional (3D) Tracking of Objects in a Radar System |
| KR20170112201A (en)* | 2016-03-31 | 2017-10-12 | 한국전자통신연구원 | Pulse radar apparatus and method for operating pulse radar apparatus |
| Publication number | Publication date |
|---|---|
| KR102592703B1 (en) | 2023-10-24 |
| Publication | Publication Date | Title |
|---|---|---|
| US11057862B2 (en) | Wi-Fi radar detection using synchronized wireless access point | |
| CN101490579B (en) | Optical distance measuring method and corresponding optical distance measurement device | |
| US10965025B2 (en) | Self-calibration method of switched array antenna radar | |
| US9470784B2 (en) | Radar device | |
| KR20150015067A (en) | Radar calibration system in vehicle | |
| US9019159B2 (en) | Ranging diversity-reception method and receiver | |
| CN108603928A (en) | For reducing the method and system interfered caused by the phase noise in radar system | |
| US10495727B2 (en) | Phase difference estimator and method for estimating a phase difference between signals | |
| KR101628183B1 (en) | Rader comprising array antenna and method for calibrating phase of the same | |
| KR102582054B1 (en) | Pulse radar apparatus and method for operating pulse radar apparatus | |
| CN105388463B (en) | Receive signal handling equipment, radar and object detecting method | |
| EP4160266A1 (en) | Doppler radar apparatus and power saving method thereof | |
| US11009597B2 (en) | Phase noise compensation in digital beamforming radar systems | |
| KR102592703B1 (en) | Radar apparatus | |
| KR101568239B1 (en) | Apparatus and method for processing signal for millimeter wave seeker | |
| US10495744B2 (en) | Method, a system, a transponder, and a position detection apparatus for a precise measurement of a position | |
| KR101892690B1 (en) | IFF and method for detecting peak power of transmitting/receiving signal | |
| US11366213B2 (en) | Radar apparatus | |
| KR102188387B1 (en) | Radar device using delay | |
| US10031219B2 (en) | Radar and object detection method | |
| KR102549408B1 (en) | Pulse radar apparatus and operating method thereof | |
| JP2005195347A (en) | Direction sensor and radio wave emission source position estimation system | |
| RU2018129356A (en) | METHOD FOR SECRET MONITORING OF RADIO-SILENT OBJECTS | |
| KR20200137983A (en) | Pulse and continuous wave radar transceiver | |
| KR102630554B1 (en) | An ultra high resolution radar device using a delay-locked loop |
| Date | Code | Title | Description |
|---|---|---|---|
| PA0109 | Patent application | Patent event code:PA01091R01D Comment text:Patent Application Patent event date:20180921 | |
| PG1501 | Laying open of application | ||
| PA0201 | Request for examination | Patent event code:PA02012R01D Patent event date:20210708 Comment text:Request for Examination of Application Patent event code:PA02011R01I Patent event date:20180921 Comment text:Patent Application | |
| E902 | Notification of reason for refusal | ||
| PE0902 | Notice of grounds for rejection | Comment text:Notification of reason for refusal Patent event date:20230510 Patent event code:PE09021S01D | |
| E701 | Decision to grant or registration of patent right | ||
| PE0701 | Decision of registration | Patent event code:PE07011S01D Comment text:Decision to Grant Registration Patent event date:20230918 | |
| GRNT | Written decision to grant | ||
| PR0701 | Registration of establishment | Comment text:Registration of Establishment Patent event date:20231018 Patent event code:PR07011E01D | |
| PR1002 | Payment of registration fee | Payment date:20231019 End annual number:3 Start annual number:1 | |
| PG1601 | Publication of registration |