


본 발명은 전력 공급 제어 시스템 및 방법에 관한 것으로써, 보다 상세하게는 전원 샘플링을 통해 일부 PD의 전력 공급 요청의 필요성을 판단하여, 신규로 연결된 PD 또는 기존 연결된 PD의 불필요한 전력 공급 요청으로 인해 다른 포트에 연결된 PD에 공급되던 전력이 감소하거나 차단되는 것을 방지하는 전력 공급 제어 시스템 및 방법에 관한 것이다.The present invention relates to a power supply control system and method, and more particularly, to determine the need for a power supply request of some PDs through power sampling, and because of the unnecessary power supply request of a newly connected PD or an existing connected PD. A power supply control system and method for preventing the power supplied to a PD connected to a port from being reduced or interrupted.
이더넷(Ethernet)이란 구내통신망(LNA)의 모델로써 가장 널리 사용하는 통신 기술 중의 하나이다. 이에 대한 내용은 IEEE 802.3이라는 표준에 명시되어 있다. PoE(Power Over Ethernet)란 이러한 이더넷 네트워크에 연결된 장치에 하나의 케이블로 데이터 뿐만 아니라 전원까지 함께 공급할 수 있는 기술이다. PoE 시스템은 여러 케이블을 연결할 필요가 없어 케이블 정리가 간편하면서 전원 공급 및 제어가 어려운 장소에 설치하기도 쉽고, 설치 비용 또한 절감할 수 있어 널리 사용되고 있다.Ethernet is one of the most widely used communication technologies as a model of the local area network (LNA). This is specified in a standard called IEEE 802.3. Power Over Ethernet (PoE) is a technology that can provide power to a device connected to an Ethernet network with a single cable. PoE systems are widely used because they eliminate the need to connect multiple cables, simplifying cabling, making it easier to install in locations that are difficult to supply and control, and reducing installation costs.
PoE 시스템에서 전력을 공급하는 장치를 PSE(Power Sourcing Equipment)라 하며, 전력을 공급받는 장치를 PD(Powered Device)라 한다. 그런데 PoE 시스템에서는 원래 데이터 통신에 사용하는 랜 케이블을 전력 공급에 사용하는 것이므로, PSE에서 PD로 공급할 수 있는 최대 전력이 제한되어 있다. 따라서 종래에는 여러 PD들이 소모하는 전력이 증가함에 따라, 모든 PD에 전력을 충분히 공급할 수가 없어 일부 PD가 작동을 할 수 없거나 오류가 발생하기도 하였다.A device that supplies power in a PoE system is called a power sourcing equipment (PSE), and a device that receives power is called a powered device (PD). However, in the PoE system, since the LAN cable originally used for data communication is used to supply power, the maximum power that can be supplied from the PSE to the PD is limited. Therefore, as the power consumed by several PDs increases in the related art, some PDs may not operate or fail due to insufficient power supply to all PDs.
이를 해결하기 위해, 최근에는 PSE 자체를 대용량으로 설계하는 기술도 제안되었으나 과도한 비용이 필요하고, 고발열 및 고소음이 발생하는 문제가 있었다.In order to solve this problem, a technique for designing a large capacity of the PSE itself has recently been proposed, but there is a problem that excessive cost is required and high heat generation and high noise occur.
본 발명이 해결하고자 하는 과제는, 일부 포트에 연결된 PD의 불필요한 전력 공급 요청으로 인해 다른 포트에 연결된 PD에 공급되던 전력이 감소함으로써 발생할 수 있는 오류를 방지하는 시스템 및 방법을 제공하는 것이다.An object of the present invention is to provide a system and method for preventing an error that may occur due to a decrease in power supplied to a PD connected to another port due to an unnecessary power supply request of a PD connected to some port.
또한, 상기 오류 방지를 저렴한 비용, 저발열 및 저소음으로 해결할 수 있는 시스템 및 방법을 제공하는 것이다.In addition, to provide a system and method that can solve the error prevention at low cost, low heat and low noise.
본 발명의 과제들은 이상에서 언급한 과제로 제한되지 않으며, 언급되지 않은 또 다른 과제들은 아래의 기재로부터 당업자에게 명확하게 이해될 수 있을 것이다.The objects of the present invention are not limited to the above-mentioned objects, and other objects that are not mentioned will be clearly understood by those skilled in the art from the following description.
상기 과제를 해결하기 위한 본 발명의 실시예에 따른 전력 공급 장치는 전력 수여 장치에 전력을 공급하는 전력 공급 장치에 있어서, 외부 전원을 변압하여 전력을 출력하는 컨버터; 및 상기 전력 수여 장치로부터 추가적인 전력 공급 요청이 있을 때 전체 소비 전력량이 최대 공급 전력량을 초과하면 하나 이상의 포트의 전력 공급을 차단하는 제어부를 포함하되, 상기 제어부는, 상기 전력 공급 요청을 한 상기 전력 수여 장치가 상기 전력 공급 장치에 기존에 연결되어 있는 상태에서 상기 포트 중에 소정의 번호에 해당하는 포트의 전력 공급을 차단한다.According to an aspect of the present invention, there is provided a power supply apparatus, comprising: a converter configured to output power by transforming an external power supply; And a controller which blocks the power supply of one or more ports when the total power consumption exceeds the maximum supply power when there is an additional power supply request from the power granting device, wherein the control unit grants the power grant by requesting the power supply. While the device is previously connected to the power supply, the power supply of the port corresponding to the predetermined number of the ports is cut off.
상기 과제를 해결하기 위한 본 발명의 실시예에 따른 전력 공급 제어 방법은 전력 수여 장치에 전력을 공급하는 전력 공급 방법에 있어서, 전력 공급 장치가 전력 수여 장치로부터 추가적인 전력 공급 요청을 받는 단계; 전체 소비 전력량이 최대 공급 전력량을 초과하는지 판단하는 단계; 및 상기 전체 소비 전력량이 최대 공급 전력량을 초과하면 하나 이상의 포트의 전력 공급을 차단하는 단계를 포함하고, 상기 포트의 전력 공급을 차단하는 단계에 있어서, 상기 전력 공급 요청을 한 상기 전력 수여 장치가 상기 전력 공급 장치에 기존에 연결되어 있는 상태에서 상기 포트 중에 마지막 번호에 해당하는 포트의 전력 공급을 차단한다.According to another aspect of the present invention, there is provided a power supply control method for supplying power to a power supply device, the power supply device receiving an additional power supply request from the power supply device; Determining whether the total power consumption exceeds the maximum supply power; And shutting off power supply of at least one port when the total power consumption exceeds a maximum supply power, and in the step of shutting off power supply of the port, the power granting device requesting the power supply is configured to perform the power supply. In the state of being connected to the power supply, the power supply of the port corresponding to the last number of the ports is cut off.
본 발명의 기타 구체적인 사항들은 상세한 설명 및 도면들에 포함되어 있다.Other specific details of the invention are included in the detailed description and drawings.
본 발명의 실시예들에 의하면 적어도 다음과 같은 효과가 있다.According to embodiments of the present invention has at least the following effects.
전원 샘플링을 통해 일부 PD의 전력 공급 요청의 필요성을 판단하여, 신규로 연결된 PD 또는 기존 연결된 PD의 불필요한 전력 공급 요청으로 인해 다른 포트에 연결된 PD에 공급되던 전력이 감소하거나 차단됨으로써 발생할 수 있는 오류를 방지하는 시스템 및 방법을 제공하는 것이다.Power sampling determines the need for a power supply request from some PDs, eliminating errors that could result from reduced or interrupted power to PDs connected to other ports due to unnecessary power supply requests from newly connected or previously connected PDs. It is to provide a system and a method for preventing.
또한, 대용량 전원 공급 장치를 설치하지 않아도 상기 오류를 방지할 수 있어 저렴한 비용으로 발열 및 소음을 저하시킬 수 있는 시스템 및 방법을 제공하는 것이다.In addition, it is possible to prevent the error even without installing a large-capacity power supply to provide a system and method that can reduce heat and noise at a low cost.
본 발명에 따른 효과는 이상에서 예시된 내용에 의해 제한되지 않으며, 더욱 다양한 효과들이 본 명세서 내에 포함되어 있다.The effects according to the present invention are not limited by the contents exemplified above, and more various effects are included in the present specification.
도 1은 본 발명의 일 실시예에 따른 전력 공급 제어 시스템(1)을 도시한 블록도이다.
도 2는 본 발명의 일 실시예에 따른 전력 공급 제어 방법을 도시한 흐름도 중 일부이다.
도 3은 도 2에 따른 흐름도 중 나머지 일부이다.1 is a block diagram showing a power
2 is a part of a flowchart illustrating a power supply control method according to an embodiment of the present invention.
3 is the remainder of the flowchart according to FIG. 2.
본 발명의 이점 및 특징, 그리고 그것들을 달성하는 방법은 첨부되는 도면과 함께 상세하게 후술되어 있는 실시예들을 참조하면 명확해질 것이다. 그러나 본 발명은 이하에서 개시되는 실시예들에 한정되는 것이 아니라 서로 다른 다양한 형태로 구현될 수 있으며, 단지 본 실시예들은 본 발명의 개시가 완전하도록 하고, 본 발명이 속하는 기술분야에서 통상의 지식을 가진 자에게 발명의 범주를 완전하게 알려주기 위해 제공되는 것이며, 본 발명은 청구항의 범주에 의해 정의될 뿐이다. 명세서 전체에 걸쳐 동일 참조 부호는 동일 구성 요소를 지칭한다.Advantages and features of the present invention and methods for achieving them will be apparent with reference to the embodiments described below in detail with the accompanying drawings. However, the present invention is not limited to the embodiments disclosed below, but can be implemented in various different forms, and only the embodiments make the disclosure of the present invention complete, and the general knowledge in the art to which the present invention belongs. It is provided to fully inform the person having the scope of the invention, which is defined only by the scope of the claims. Like reference numerals refer to like elements throughout.
다른 정의가 없다면, 본 명세서에서 사용되는 모든 용어(기술 및 과학적 용어를 포함)는 본 발명이 속하는 기술분야에서 통상의 지식을 가진 자에게 공통적으로 이해될 수 있는 의미로 사용될 수 있을 것이다. 또 일반적으로 사용되는 사전에 정의되어 있는 용어들은 명백하게 특별히 정의되어 있지 않는 한 이상적으로 또는 과도하게 해석되지 않는다.Unless otherwise defined, all terms (including technical and scientific terms) used in the present specification may be used in a sense that can be commonly understood by those skilled in the art. In addition, the terms defined in the commonly used dictionaries are not ideally or excessively interpreted unless they are specifically defined clearly.
본 명세서에서 사용된 용어는 실시예들을 설명하기 위한 것이며 본 발명을 제한하고자 하는 것은 아니다. 본 명세서에서, 단수형은 문구에서 특별히 언급하지 않는 한 복수형도 포함한다. 명세서에서 사용되는 "포함한다(Comprises)" 및/또는 "포함하는(Comprising)"은 언급된 구성요소 외에 하나 이상의 다른 구성요소의 존재 또는 추가를 배제하지 않는다.The terminology used herein is for the purpose of describing particular embodiments only and is not intended to be limiting of the invention. In this specification, the singular also includes the plural unless specifically stated otherwise in the phrase. As used herein, “comprises” and / or “comprising” does not exclude the presence or addition of one or more other components in addition to the components mentioned.
비록 제1, 제2 등이 다양한 구성요소들을 서술하기 위해서 사용되나, 이들 구성요소들은 이들 용어에 의해 제한되지 않음은 물론이다. 이들 용어들은 단지 하나의 구성요소를 다른 구성요소와 구별하기 위하여 사용하는 것이다. 따라서, 이하에서 언급되는 제1 구성요소는 본 발명의 기술적 사상 내에서 제2 구성요소일 수도 있음은 물론이다.Although the first, second, etc. are used to describe various components, these components are of course not limited by these terms. These terms are only used to distinguish one component from another. Therefore, of course, the first component mentioned below may be a second component within the technical spirit of the present invention.
이하, 첨부된 도면을 참조하여 본 발명의 바람직한 실시예를 상세히 설명하기로 한다.Hereinafter, exemplary embodiments of the present invention will be described in detail with reference to the accompanying drawings.
도 1은 본 발명의 일 실시예에 따른 전력 공급 제어 시스템(1)을 도시한 블록도이다.1 is a block diagram showing a power
본 발명의 일 실시예에 따른 전력 공급 제어 시스템(1)은 외부로 전력을 공급하는 전력 공급 장치(10), 상기 전력 공급 장치(10)로부터 공급된 전력을 받는 전력 수여 장치(12), 상기 전력 공급 장치(10)로부터 상기 전력 수여 장치(12)로 전력이 공급되도록 상기 전력 공급 장치(10)와 상기 전력 수여 장치(12)를 연결하는 전력 공급 라인(11)을 포함한다. 본 발명의 일 실시예에 따른 전력 공급 제어 시스템(1)에서는 PoE 시스템을 사용할 수 있다. 따라서 이하 본 발명의 일 실시예에 따른 전력 공급 제어 시스템(1)은 PoE 시스템을 사용하는 것으로 한정하여 설명한다. 다만 이에 제한되지 않고 본 발명의 일 실시예에 따른 전력 공급 제어 시스템(1)은 다양한 전력 공급 시스템을 사용할 수 있다.Power
PoE 시스템에는 2003년에 발표된 IEEE 802.3af 표준을 준수하는 일반적인 PoE, 2009년에 발표된 IEEE 802.3AT 표준을 준수하는 PoE+(PoE Plus)가 있다. 상기 PoE와 PoE+(PoE Plus)는 PSE 및 PD에 각각 입출력되는 전력, 전압 등에 차이점을 가진다.PoE systems include generic PoE that complies with the IEEE 802.3af standard released in 2003 and PoE + (PoE Plus) that complies with the IEEE 802.3AT standard released in 2009. The PoE and PoE + (PoE Plus) have differences in power and voltage input and output to the PSE and PD, respectively.
도 1에 도시된 바와 같이, PoE 시스템에서는 전력 공급 장치(10)로는 PSE, 전력 수여 장치(12)로는 PD, 전력 공급 라인(11)으로는 랜 케이블을 사용한다.As shown in FIG. 1, in a PoE system, a PSE is used as the
PSE는 외부로부터 인가되는 외부 전원(103), 상기 외부 전원(103)을 변압하는 AC-DC 컨버터(102), PD로부터 전력 요청을 받고 PSE의 전력 공급을 분배 및 제어하는 제어부(101)를 포함한다.The PSE includes an
외부 전원(103)은 일반적으로 많이 사용하는 AC전원이며, 가정용 AC 220 V를 사용할 수 있다. AC-DC 컨버터(102)는 상기 외부 전원(103)을 DC로 변환하며, 전압을 낮춘다. IEEE 802.3af 표준을 준수하는 PoE의 경우 AC-DC 컨버터(102)는 전압을 DC 44.0 V 내지 57.0 V로 변환하고, IEEE 802.3AT 표준을 준수하는 PoE+(PoE Plus)의 경우 AC-DC 컨버터(102)는 전압을 DC 50.0 V 내지 57.0 V로 변환한다.The
제어부(101)는 본 발명의 일 실시예에 따른 전력 공급 제어 시스템(1)에서 발생할 수 있는 전력량, 포트 수 등의 측정, 판단, 제어 등을 한다. 구체적으로 설명하면, 외부 전원(103)의 공급 및 AC-DC 컨버터(102)의 변압 기능의 정상 작동 여부를 검사하고, PD로부터 전력 공급 추가 요청을 받아 각 포트에 PSE의 전력 공급을 분배한다.The
특히, 본 발명의 일 실시예에 따른 제어부(101)는 PD에서 소모되는 전체 소비 전력량(T)이 과도한 것인지를 판단한다. 전체 소비 전력량(T)가 과도한 것인지를 판단하기 위해 우선 최대 공급 전력량(A)에서 전체 소비 전력량(T)을 뺀 값과 마진 전력량(B)을 비교하고, 최대 공급 전력량(A)에서 전체 소비 전력량(T)을 뺀 값이 마진 전력량(B)보다 작다면 최대 공급 전력량(A)과 전체 소비 전력량(T)을 비교한다. 전체 소비 전력량(T)이 최대 공급 전력량(A)보다 큰 것으로 판단되면 전력 공급 추가를 요청한 해당 포트에 전원 샘플링을 실시한다. 상기 최대 공급 전력량(A), 상기 전체 소비 전력량(T), 상기 마진 전력량(B)에 대하여서는 하기에 자세히 기술한다.In particular, the
전원 샘플링을 통해 상기 전력 공급 추가가 일시적인 요청이라고 판단되면 전력 공급을 그대로 유지하고, 상기 전력 공급 추가가 지속적인 요청이라고 판단되면 전력 공급하는 포트를 차단한다. 상기 전원 샘플링 방법, 상기 전력 공급 추가 요청의 판단 및 상기 포트의 전력 공급 차단 방법에 대하여는 하기에 자세히 기술한다.If it is determined that the power supply addition is a temporary request through power sampling, the power supply is maintained as it is, and if the power supply addition is determined to be a continuous request, the port for supplying power is blocked. The power sampling method, the determination of the power supply addition request, and the power supply blocking method of the port will be described in detail below.
랜 케이블에는 UTP(Unshielded Twisted Pair cable), STP(Shielded Twisted Pair cable), FTP(Foiled Twisted Pair cable) 등이 있으며, 이는 랜 케이블 속의 심선을 감싸는 방식에 따라 분류된다. STP나 FTP가 노이즈 차폐 기능이 우수하나, 일반적으로는 UTP가 비용이 저렴하므로 가장 많이 사용된다. 본 발명의 일 실시예에 따르면 랜 케이블은 상기 UTP를 사용할 수 있으나, 이에 제한되지 않고 다양한 종류의 랜 케이블을 사용할 수 있다.LAN cables include UTP (Unshielded Twisted Pair cable), STP (Shielded Twisted Pair cable), FTP (Foiled Twisted Pair cable), etc., which are classified according to the method of wrapping the core in the LAN cable. STP and FTP provide better noise shielding, but UTP is generally used most often because of its low cost. According to an embodiment of the present invention, the LAN cable may use the UTP, but is not limited thereto and may use various kinds of LAN cables.
UTP는, PoE에서는 CAT.3 이상, PoE+(PoE Plus)에서는 CAT.5 이상의 등급을 사용하여야 한다. 각각의 IEEE 표준을 제정할 때 당시의 성능을 고려한 기준이다. 여기서 CAT이란 카테고리(CATegory)를 말하며, 대역폭에 따라 CAT.5, CAT.5E, CAT.6, CAT.6E, CAT.7 등으로 구분한다.UTP should use CAT.3 or higher for PoE and CAT.5 or higher for PoE + (PoE Plus). It is a standard that considers the performance at the time when enacting each IEEE standard. Here, CAT refers to a category (CATegory), which is divided into CAT.5, CAT.5E, CAT.6, CAT.6E, and CAT.7 according to the bandwidth.
UTP에는 2 가닥의 심선이 꼬인 형태를 하는 TP(Twisted wire Pair)가 주황색, 녹색, 파랑색, 갈색으로 4 개가 형성되어 있다. 일반적으로 주황색, 녹색의 2 개의 TP는 데이터 통신에 사용되고, 나머지 파랑색, 갈색의 2 개의 TP는 전화용으로 사용하거나 추후 새롭게 제정되는 표준에 준수하기 위해 예비용으로 존재한다. 이러한 UTP를 사용하기 위해, 일반적으로 상기 UTP의 양단에 상기 4 개의 TP 즉, 8 가닥의 심선을 모두 8핀 RJ-45 커넥터에 연결하여 사용한다.In UTP, four twisted wire pairs (TP), in which two cores are twisted, are formed in orange, green, blue, and brown. Generally, two orange and green TPs are used for data communication, and the other two blue and brown TPs are used for telephone use or are reserved for future compliance with new standards. In order to use such a UTP, generally, the four TPs, i.e., the eight strands of the cores, are connected to 8-pin RJ-45 connectors at both ends of the UTP.
본 발명의 일 실시예에 따른 랜 케이블은 도 1에 도시된 바와 같이, 제1 TP(111), 제2 TP(112), 제3 TP(113) 및 제4 TP(114)로 구성되며 모든 TP들은 PSE와 PD를 연결하여 PSE로부터 PD로 전력 공급 및 데이터 통신을 한다. 상기 기술한 바, PoE 시스템에서는 하나의 랜 케이블로 전력 공급 및 데이터 통신이 가능하며, 이는 DC 공통 모드 전압이 데이터에 영향을 미치지 않기 때문이다. 본 발명의 일 실시예에 따른 랜 케이블은 제1 및 제2 TP(111, 112)가 PoE 전력 공급을 하고 제3 및 제4 TP(113, 114)는 사용을 하지 않을 수 있다. 구체적으로는 제1 TP(111)가 44 V에 연결, 제2 TP(112)가 저전압, 예를 들면 0 V에 연결되며 제3 및 제4 TP(113, 114)는 아무 기능을 하지 않을 수 있다. 다만, 이에 제한되지 않고 랜 케이블은 다양한 형태로 전력 공급 및 데이터 통신을 할 수 있다.As shown in FIG. 1, a LAN cable according to an embodiment of the present invention includes a
PD는 PSE로부터 공급되는 전력을 수여하여 기능을 수행하는 장치이다. PoE 시스템에서 PD는 일반적으로 액세스 포인트, CCTV 카메라, IP 전화, 컴퓨팅 장치 등이 될 수 있으며, 각각의 디바이스 들은 종류에 따라 구동되기 위한 필요 전력이 상이할 수 있다. PoE 시스템에서는 일반적으로 PSE가 PD로 전력을 공급하기 위해, PD가 PoE 시스템이 적용될 수 있는 장치인지 판별하는 핸드쉐이킹을 수행한다. 상기 연결된 TP를 통해 일정한 간격으로 전류를 인가하고, 상기 인가한 전류를 검출하여 PD내에 특성 임피던스가 존재하는지를 판단한다. 여기서 특성 임피던스는 약 25KΩ의 저항을 말하며, PoE 시스템이 적용되기 위해서는 PD에 상기 특성 임피던스가 포함되어야 한다.The PD is a device that performs a function by receiving power supplied from the PSE. In a PoE system, a PD may generally be an access point, a CCTV camera, an IP phone, a computing device, etc., and each device may have a different power required to be driven depending on the type. In a PoE system, in general, the PSE performs handshaking to determine whether the PD is a device to which the PoE system can be applied to supply power to the PD. Current is applied at regular intervals through the connected TP, and the applied current is detected to determine whether a characteristic impedance exists in the PD. Here, the characteristic impedance refers to a resistance of about 25 KΩ, and the characteristic impedance must be included in the PD in order for the PoE system to be applied.
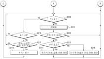
도 2는 본 발명의 일 실시예에 따른 전력 공급 제어 방법을 도시한 흐름도 중 일부이다.2 is a part of a flowchart illustrating a power supply control method according to an embodiment of the present invention.
도 2에 도시된 바와 같이, 시스템의 전원을 켜면 부팅이 시작되면서(S201), PSE의 모든 포트의 전원이 차단된다(S202). 즉, 전력 공급 포트 수(N)가 0이 된다. 여기서 전력 공급 포트 수(N)란 현재 PSE로부터 전력이 공급되는 포트 수를 말한다.As shown in FIG. 2, when the system is powered on, booting starts (S201), and power to all ports of the PSE is cut off (S202). That is, the number N of power supply ports becomes zero. Here, the number of power supply ports (N) refers to the number of ports that are currently powered from the PSE.
이후, PSE는 PD가 연결된 포트마다 전원을 공급한다. 이 때, 연결 포트 수(L)와 초기 최대 허용 포트 수(C)를 비교하여(S203), 연결 포트 수(L)가 초기 최대 허용 포트 수(C)보다 크다면 전력은 초기 최대 허용 포트 수(C)만큼 공급될 수 있고(N=C)(S204), 연결 포트 수(L)가 초기 최대 허용 포트 수(C)보다 작다면 전력은 모든 연결 포트 수(L)만큼 공급될 수 있다(N=L)(S205).The PSE then supplies power to each port to which the PD is connected. At this time, the number of connection ports (L) and the initial maximum allowable port number (C) are compared (S203), and if the number of connection ports (L) is larger than the initial maximum allowable port number (C), the power is initially the maximum allowed port number. (C) can be supplied (N = C) (S204), if the number of connection ports (L) is less than the initial maximum allowable port number (C) power can be supplied by all the connection port number (L) ( N = L) (S205).
여기서 연결 포트 수(L)란 현재 PSE에 연결된 포트 수를 말한다. 그리고 초기 최대 허용 포트 수(C)란 각 포트마다 소모할 수 있는 최대의 전력을 소모한다고 가정하였을 때, PSE가 전력을 최대로 공급할 수 있는 포트의 수이다. PSE가 최대로 공급할 수 있는 최대 공급 전력량(A)을 하나의 포트에서 최대로 소모할 수 있는 전력으로 나누어 초기 최대 허용 포트 수(C)를 구할 수 있다.Here, the connection port number (L) refers to the number of ports currently connected to the PSE. In addition, the initial maximum allowable port number (C) is the number of ports that the PSE can supply the maximum power assuming that it consumes the maximum power that can be consumed for each port. The initial maximum allowable port number (C) can be obtained by dividing the maximum supply power (A) that the PSE can provide maximum by the maximum power consumption of one port.
하나의 포트에서 최대로 소모할 수 있는 전력은, IEEE 802.3af 표준을 준수하는 PoE의 경우 15.95 W, IEEE 802.3AT 표준을 준수하는 PoE+(PoE Plus)의 경우 25.5 W이다. 따라서 예를 들면, PSE 장치의 최대 공급 전력량(A)이 200 W이고 PoE+(PoE Plus) 시스템을 사용할 때, 200 W를 25.5 W로 나누면 초기 최대 허용 포트 수(C)는 7이 된다. 상기 계산의 편의를 위해 전력 손실량은 무시하였다. 상기 S204 및 S205 단계는 PSE가 전력을 공급할 수 있는 포트 수는 초기 최대 허용 포트 수(C)를 초과할 수 없다는 것을 의미한다. 이는 초기 시스템의 부팅 시에는 PSE가 전력 공급하기 전 이므로, 각 포트에서 소모할 전력을 알 수 없어서 각 포트 마다 최대의 전력을 소모한다고 가정하기 때문이다.Maximum power dissipation on one port is 15.95 W for PoE compliant with the IEEE 802.3af standard and 25.5 W for PoE + (PoE Plus) compliant with the IEEE 802.3AT standard. Thus, for example, when the maximum power supply amount A of the PSE device is 200 W and the PoE + (PoE Plus) system is used, dividing the 200 W by 25.5 W results in an initial maximum allowable port number (C) of 7. For the convenience of the calculation, the amount of power loss was ignored. Steps S204 and S205 mean that the number of ports that the PSE can supply power cannot exceed the initial maximum allowed port number (C). This is because it is assumed that power is consumed at each port because the PSE is not supplied with power when the initial system is booted.
연결 포트 수(L)가 초기 최대 허용 포트 수(C)보다 작다면 전력은 모든 연결 포트 수(L)만큼 공급될 수 있다(N=L)(S205). 최대 공급 전력량(A)으로 모든 연결 포트 수(L)에 전력을 충분히 공급할 수 있기 때문이다. 만약 추가적으로 포트가 연결되어 연결 포트 수(L)가 증가한다면(S206), 우선 PSE는 신규 연결된 포트에도 전력을 공급한다. 본 발명의 일 실시예에 따른 전력 공급 제어 방법에 따르면 도 2에 도시한 바와 같이, 복수 개의 포트가 동시에 연결되더라도 신규 연결된 포트에 하나씩 전력을 공급하나(S207, S208), 이에 제한되지 않으며 복수 개의 신규 연결된 포트 일부 또는 전부에 동시에 전력을 공급할 수도 있다. 만약 추가적으로 연결된 포트가 없다면(S206), 상기 S207 및 S208 단계를 거치지 않는다.If the connection port number L is smaller than the initial maximum allowable port number C, power may be supplied by all the connection port numbers L (N = L) (S205). This is because the maximum supply power A can sufficiently supply power to all the connected port numbers L. FIG. If additional ports are connected to increase the number of connection ports (L) (S206), the PSE first supplies power to the newly connected ports. According to the power supply control method according to an embodiment of the present invention as shown in Figure 2, even if a plurality of ports are connected at the same time to supply power to the newly connected port one by one (S207, S208), but not limited to this It is also possible to power some or all of the newly connected ports simultaneously. If there is no additionally connected port (S206), the step S207 and S208 do not go through.
신규 연결된 포트에 전력이 공급되어 전력 공급 포트 수(N)가 증가하면, 전체 소비 전력량(T)이 증가하게 된다. 여기서 전체 소비 전력량(T)이란, PSE에 연결되어 전력을 공급받는 모든 PD에서 소모하는 소비 전력량을 말한다. 또한 추가적으로 연결된 포트가 없더라도, 기존에 연결되어 있던 포트에서 소모하는 전력이 증가할 수 있다. 예를 들면, PSE에 연결되어 있던 CCTV 카메라의 내부 조명이 켜지는 경우가 있을 수 있다. 각 포트에서 추가적인 전력 공급이 필요할 때에는 전력 공급이 필요한 PD가 PSE에 전력 공급 추가를 요청한다. 그리고 상기 전력 공급 추가 요청을 받은 PSE는 우선 해당 PD에 전력을 추가로 공급한다. 이 때 PSE에서 공급할 수 있는 최대 공급 전력량(A)은 제한되어 있으므로, 만약 전체 소비 전력량(T)이 과도하게 증가하면 PSE 내부에 있는 칩이 파손되거나 PSE 자체가 고장이 날 수 있다. 따라서 포트의 추가 연결과 무관하게 전체 소비 전력량(T)이 증가하면 전체 소비 전력량(T)을 저하시켜야 한다.When power is supplied to the newly connected port and the number of power supply ports N increases, the total power consumption amount T increases. Herein, the total power consumption amount T means power consumption consumed by all PDs connected to the PSE and powered. In addition, even if no additional port is connected, power consumed by the previously connected port may increase. For example, there may be a case where the internal lighting of the CCTV camera connected to the PSE is turned on. When additional power is required at each port, the PD that needs to supply power requests the PSE to add power. The PSE receiving the power supply addition request first supplies additional power to the corresponding PD. At this time, the maximum amount of power (A) that can be supplied by the PSE is limited. If the total power consumption (T) is excessively increased, the chip inside the PSE may be damaged or the PSE itself may fail. Therefore, regardless of the additional connection of the port, if the total power consumption (T) increases, the total power consumption (T) must be lowered.
도 3은 도 2에 따른 흐름도 중 나머지 일부이다.3 is the remainder of the flowchart according to FIG. 2.
도 3에 도시된 바와 같이 전체 소비 전력량(T)을 저하시키기 위해, 우선 최대 공급 전력량(A)에서 전체 소비 전력량(T)을 뺀 값과 마진 전력량(B)을 비교한다(S209). 여기서 마진 전력량(B)이란 전력의 추가 공급 또는 전력 차단 후 재공급을 위해 PSE에서 공급하는 전력량이 상기 최대 공급 전력량(A)를 초과하지 않도록 고려한 여유분의 전력량이다. 최대 공급 전력량(A)에서 전체 소비 전력량(T)을 뺀 값이 마진 전력량(B)보다 크다면(S209) PSE가 더 공급할 수 있는 전력에 여유가 있는 것이므로 또 다른 포트가 추가적으로 연결되기 전 까지는 전력 공급을 원활하게 진행한다. 그러나, 최대 공급 전력량(A)에서 전체 소비 전력량(T)을 뺀 값이 마진 전력량(B)보다 작다면(S209) 최대 공급 전력량(A)과 전체 소비 전력량(T)을 비교하여야 한다(S210).As shown in FIG. 3, in order to lower the total power consumption amount T, first, the margin power amount B is compared with the value obtained by subtracting the total power consumption amount T from the maximum supply power amount A (S209). Here, the margin power amount (B) is the amount of power in the margin considering that the amount of power supplied from the PSE for re-supply after additional supply or power cut off does not exceed the maximum supply amount (A). If the value of subtracting the total power consumption (T) from the maximum power supply (A) is greater than the margin power (B) (S209), the PSE has more power to supply, so the power is not available until another port is connected. Proceed smoothly. However, if the value obtained by subtracting the total power consumption amount T from the maximum supply power amount A is smaller than the margin power amount B (S209), the maximum supply power amount A and the total power consumption amount T should be compared (S210). .
한편, 만약 연결 포트 수(L)가 초기 최대 허용 포트 수(C)보다 크다면 전력은 초기 최대 허용 포트 수(C)만큼 공급될 수 있다(N=C)(S204). 각 포트 마다 최대의 전력을 소모한다고 가정한다면, 최대 공급 전력량(A) 만으로는 초기 최대 허용 포트 수(C)를 초과하여서 전력을 충분히 공급할 수 없기 때문이다. 이 때, PSE의 포트에 연결만 되어있을 뿐이고 전력은 공급받지 못하는 전원 미공급 연결 포트가 발생할 수 있다. 여기서 전원 미공급 연결 포트란 신규로 추가 연결되었으나 전원을 공급받지 못하는 포트 또는 기존에 연결되어 있었으나 전원을 공급받지 못하거나 전원 공급이 차단된 포트를 말한다. 따라서 추가적으로 전력을 공급할 수 있는지 판단하여 전력을 공급할 수 있다면 공급하여야 한다. 이 경우에는 상기 S205 내지 S209 단계를 거치지 않고 곧바로 최대 공급 전력량(A)과 전체 소비 전력량(T)을 비교한다(S210).On the other hand, if the connection port number L is greater than the initial maximum allowable port number C, power may be supplied by the initial maximum allowable port number C (N = C) (S204). If it is assumed that the maximum power consumption for each port, the maximum supply power (A) alone can not supply enough power beyond the initial maximum allowed port number (C). At this time, there may be an unpowered connection port that is only connected to the port of the PSE and does not receive power. Here, the non-powered connection port refers to a port that is newly added but not supplied with power, or a port that is connected but not supplied with power or disconnected from power. Therefore, it is necessary to determine whether additional power can be supplied and to supply power if it can be supplied. In this case, the maximum supply power amount A and the total power consumption amount T are immediately compared without going through steps S205 to S209 (S210).
만약 전체 소비 전력량(T)이 최대 공급 전력량(A)보다 크다면(S210) 모든 PD의 소비 전력이 PSE가 공급할 수 있는 최대 공급 전력량(A)을 초과한다는 것을 의미한다. PSE가 최대 공급 전력량(A)을 초과하여 전력을 공급하더라도 초과하는 정도가 과도하지 않다면, 곧바로 PSE 내부에 있는 칩이 파손되거나 PSE가 고장이 나는 것은 아니다. 그러나 파손 및 고장의 위험성이 높으므로 안전성을 확보하기 위해 전체 소비 전력량(T)을 저하시켜야 한다. 따라서 본 발명의 일 실시예에 따른 전원 공급 제어 시스템은 상기 전력 공급 추가를 요청한 해당 포트에 전원 샘플링을 실시한다(S211). 전원 샘플링이란 상기 기술한 바대로 우선 PSE가 해당 포트에 전원을 추가로 공급하게 되면, 공급한 전력값을 일정한 시간 동안 일정한 간격으로 샘플링을 하는 것이다.If the total power consumption amount T is greater than the maximum supply power amount A (S210), it means that the power consumption of all PDs exceeds the maximum supply power amount A that the PSE can supply. If the PSE delivers power in excess of the maximum supply power (A), if the excess is not excessive, the chip inside the PSE is not immediately damaged or the PSE fails. However, since the risk of breakage and failure is high, the total power consumption T must be lowered to ensure safety. Therefore, the power supply control system according to an embodiment of the present invention performs power sampling on the corresponding port that requested the addition of the power supply (S211). As described above, when the PSE additionally supplies power to a corresponding port, as described above, sampling of the supplied power value is performed at regular intervals for a predetermined time.
만약 샘플링을 한 결과, 상기 시간 내에 추가적으로 공급한 전력값이 다시 감소하면(S212) 상기 전력 공급 추가 요청은 일시적인 요청으로 판단하고 기존의 다른 포트에 대한 전력 공급을 유지한다. 그러나 만약 샘플링을 한 결과, 상기 시간 내에 추가적으로 공급한 전력값이 감소하지 않는다면(S212) 상기 전력 공급 추가 요청은 지속적인 요청으로 판단한다. 이 경우, 다른 포트의 전력 공급 저하 방지 및 PSE 파손 방지를 위해 일부 포트에 대한 전력 공급을 차단한다.If the additionally supplied power value decreases again as a result of the sampling (S212), the additional power supply request is determined as a temporary request and maintains power supply to another existing port. However, if the sampling result, the additionally supplied power value within the time does not decrease (S212), the additional power supply request is determined to be a continuous request. In this case, the power supply to some ports is cut off in order to prevent power supply degradation of other ports and to prevent PSE breakage.
만약 상기 전력 공급 추가 요청을 한 포트가 신규 연결된 포트라면(S213) 해당 신규 연결된 포트의 전력 공급을 차단한다(S214). 이 경우 사용자가 신규 연결된 포트를 사용하고자 한다면, 다른 포트의 전력 공급을 다시 조절한 후에 재연결을 시도해야 한다.If the port that requested the power supply addition request is a newly connected port (S213), power supply of the newly connected port is blocked (S214). In this case, if the user wants to use a new connected port, the user must reconnect after re-adjusting the power supply of the other port.
만약 상기 전력 공급 추가 요청을 한 포트가 기존에 연결되어 있던 포트라면(S213) 채널의 번호 중에 가장 마지막에 해당하는 포트의 전력 공급을 차단한다(S215). 이 때, 가장 중요한 PD의 전력 공급이 차단되지 않도록 사용자는 채널의 번호에 따라 우선순위를 붙여 포트를 연결할 수 있다. 상기 S214 또는 S215 단계에 따라 포트의 전력 공급이 차단되면 전력 공급 포트 수(N)가 하나 감소하고, 다시 S210 단계로 돌아가 최대 공급 전력량(A)과 전체 소비 전력량(T)을 비교한다(S210).If the port for which the power supply addition request is requested is a previously connected port (S213), power supply of the last port corresponding to the channel number is blocked (S215). At this time, the user can prioritize the ports according to the number of channels so that the power supply of the most important PD is not cut off. When the power supply of the port is cut off according to the step S214 or S215, the number N of power supply ports decreases by one, and the flow returns to step S210 to compare the maximum supply power amount A with the total power consumption amount T (S210). .
만약 전체 소비 전력량(T)이 최대 공급 전력량(A)보다 작다면(S210) 상기 S209에서 비교했던 최대 공급 전력량(A)에서 전체 소비 전력량(T)을 뺀 값과 마진 전력량(B)을 다시 비교한다(S216). S209 단계는 부팅 후 초기 단계에서 판단하는 것이나, S216 단계는 전체 소비 전력량(T)이 적어도 한 번은 상당히 많이 증가하여 S209 단계에서 S210 단계로 넘어 간 이후에 판단하는 것이다. 따라서 S209 단계와 S216 단계는 각각 독립적으로 필요한 단계이다.If the total power consumption amount T is less than the maximum supply power amount A (S210), the marginal power amount B is compared again with the maximum power supply amount A compared to S209 minus the total power consumption amount T. (S216). The S209 stage is determined at an initial stage after booting, but the S216 stage is determined after the total power consumption amount T has increased considerably at least once and the process has passed from the S209 stage to the S210 stage. Therefore, step S209 and step S216 are necessary steps independently of each other.
최대 공급 전력량(A)에서 전체 소비 전력량(T)을 뺀 값이 마진 전력량(B)보다 크다면(S216) PSE가 더 공급할 수 있는 전력에 여유가 있는 것이므로 전원 미공급 연결 포트가 존재하는지 판단한다(S217). 그리고 전원 미공급 연결 포트가 존재한다면 상기 전원 미공급 연결 포트 중 하나에 전력을 공급하고 다시 S209 단계로 돌아가 최대 공급 전력량(A)에서 전체 소비 전력량(T)을 뺀 값과 마진 전력량(B)을 비교한다(S209). 이 때 전력 공급 포트 수(N)는 1이 증가한다(S218). 만약 전원 미공급 연결 포트가 존재하지 않는다면 추가적으로 공급해야 할 전력이 없으므로 전력 공급을 원활하게 진행하며 다시 S210 단계로 돌아가 최대 공급 전력량(A)과 전체 소비 전력량(T)을 비교한다(S210).If the value obtained by subtracting the total power consumption (T) from the maximum power supply amount (A) is greater than the margin power amount (B) (S216), the PSE can afford more power, and thus it is determined whether there is an unpowered connection port. (S217). If there is a non-powered connection port, the power is supplied to one of the non-powered connection ports, and the flow returns to step S209 to subtract the total power consumption (T) from the maximum power supply (A) and the margin power amount (B). Comparison is made (S209). At this time, the number N of power supply ports increases by 1 (S218). If there is no power supply connection port, since there is no additional power to be supplied, the power supply is smoothly performed and the process returns to step S210 again and compares the maximum power supply amount (A) with the total power consumption (T) (S210).
만약 최대 공급 전력량(A)에서 전체 소비 전력량(T)을 뺀 값이 마진 전력량(B)보다 작다면(S216) PSE가 더 공급할 수 있는 전력에 여유가 있는 것은 아니나, 포트의 전력 공급을 차단해야 할 정도로 위험성이 높지는 않으므로 해당 전력 공급을 그대로 유지하며 다시 S210 단계로 돌아가 최대 공급 전력량(A)과 전체 소비 전력량(T)을 비교한다(S210).If the value of the maximum power consumption (A) minus the total power consumption (T) is less than the margin power amount (B) (S216), the PSE does not have enough power to supply more power, but the power supply of the port should be cut off. Since the risk is not high enough, the power supply is maintained as it is, and the flow returns to step S210 to compare the maximum power supply amount (A) with the total power consumption (T) (S210).
본 발명의 일 실시예에 따른 전력 공급 제어 방법은 도 2에 도시된 바와 같이, 편의상 S216 단계와 S217 단계를 나누었으나, S216 단계와 S217 단계는 순서가 바뀔 수도 있고 두 단계가 동시에 발생할 수도 있다.In the power supply control method according to the exemplary embodiment of the present invention, as shown in FIG. 2, the steps S216 and S217 are divided for convenience, but the steps S216 and S217 may be reversed or two steps may occur at the same time.
본 발명이 속하는 기술분야의 통상의 지식을 가진 자는 본 발명이 그 기술적 사상이나 필수적인 특징을 변경하지 않고서 다른 구체적인 형태로 실시될 수 있다는 것을 이해할 수 있을 것이다. 그러므로 이상에서 기술한 실시예들은 모든 면에서 예시적인 것이며 한정적이 아닌 것으로 이해해야만 한다. 본 발명의 범위는 상기 상세한 설명보다는 후술하는 특허청구범위에 의하여 나타내어지며, 특허청구범위의 의미 및 범위 그리고 그 균등 개념으로부터 도출되는 모든 변경 또는 변형된 형태가 본 발명의 범위에 포함되는 것으로 해석되어야 한다.Those skilled in the art will appreciate that the present invention can be embodied in other specific forms without changing the technical spirit or essential features of the present invention. Therefore, it should be understood that the embodiments described above are exemplary in all respects and not restrictive. The scope of the present invention is shown by the following claims rather than the above description, and all changes or modifications derived from the meaning and scope of the claims and their equivalents should be construed as being included in the scope of the present invention. do.
전력 공급 제어 시스템(1)전력 공급 장치(10)
전력 공급 라인(11)전력 수여 장치(12)
제어부(101)AC-DC 컨버터(102)
외부 전원(103)제1 TP(111)
제2 TP(112)제3 TP(113)Power Supply Control System (1) Power Supply (10)
Power Supply Line (11) Power Award Device (12)
| Application Number | Priority Date | Filing Date | Title |
|---|---|---|---|
| KR1020190104323AKR102091642B1 (en) | 2019-08-26 | 2019-08-26 | The System And Method For Electrical Power Supply Control |
| Application Number | Priority Date | Filing Date | Title |
|---|---|---|---|
| KR1020190104323AKR102091642B1 (en) | 2019-08-26 | 2019-08-26 | The System And Method For Electrical Power Supply Control |
| Application Number | Title | Priority Date | Filing Date |
|---|---|---|---|
| KR1020150146558ADivisionKR102017073B1 (en) | 2015-10-21 | 2015-10-21 | The System And Method For Electrical Power Supply Control |
| Publication Number | Publication Date |
|---|---|
| KR20190102164Atrue KR20190102164A (en) | 2019-09-03 |
| KR102091642B1 KR102091642B1 (en) | 2020-03-20 |
| Application Number | Title | Priority Date | Filing Date |
|---|---|---|---|
| KR1020190104323AActiveKR102091642B1 (en) | 2019-08-26 | 2019-08-26 | The System And Method For Electrical Power Supply Control |
| Country | Link |
|---|---|
| KR (1) | KR102091642B1 (en) |
| Publication number | Priority date | Publication date | Assignee | Title |
|---|---|---|---|---|
| KR102085194B1 (en) | 2020-01-06 | 2020-03-05 | 주식회사 새로운길 | Fence |
| KR102162962B1 (en) | 2019-10-30 | 2020-10-07 | 주식회사 새로운길 | Fence |
| KR20220009316A (en) | 2020-07-15 | 2022-01-24 | 주식회사 새로운길 | Fence |
| KR20220038905A (en) | 2020-09-21 | 2022-03-29 | 주식회사 새로운길 | Fence |
| KR20220094088A (en) | 2020-12-28 | 2022-07-05 | 서울특별시 | Fense with rotary connector |
| KR20220121101A (en) | 2021-02-24 | 2022-08-31 | 주식회사 새로운길 | Horizontal rotatable fence |
| Publication number | Priority date | Publication date | Assignee | Title |
|---|---|---|---|---|
| US20070233323A1 (en)* | 2006-04-04 | 2007-10-04 | Panduit Corp. | Building automation system controller |
| US20140325245A1 (en)* | 2013-04-29 | 2014-10-30 | Transistor Devices, Inc. D/B/A Tdi Power | USB Power Distribution Management System |
| Publication number | Priority date | Publication date | Assignee | Title |
|---|---|---|---|---|
| US20070233323A1 (en)* | 2006-04-04 | 2007-10-04 | Panduit Corp. | Building automation system controller |
| US20140325245A1 (en)* | 2013-04-29 | 2014-10-30 | Transistor Devices, Inc. D/B/A Tdi Power | USB Power Distribution Management System |
| Publication number | Priority date | Publication date | Assignee | Title |
|---|---|---|---|---|
| KR102162962B1 (en) | 2019-10-30 | 2020-10-07 | 주식회사 새로운길 | Fence |
| KR102085194B1 (en) | 2020-01-06 | 2020-03-05 | 주식회사 새로운길 | Fence |
| KR20220009316A (en) | 2020-07-15 | 2022-01-24 | 주식회사 새로운길 | Fence |
| KR20220038905A (en) | 2020-09-21 | 2022-03-29 | 주식회사 새로운길 | Fence |
| KR20220094088A (en) | 2020-12-28 | 2022-07-05 | 서울특별시 | Fense with rotary connector |
| KR20230051140A (en) | 2020-12-28 | 2023-04-17 | 서울특별시 | Fense with rotary connector |
| KR20220121101A (en) | 2021-02-24 | 2022-08-31 | 주식회사 새로운길 | Horizontal rotatable fence |
| Publication number | Publication date |
|---|---|
| KR102091642B1 (en) | 2020-03-20 |
| Publication | Publication Date | Title |
|---|---|---|
| KR102091642B1 (en) | The System And Method For Electrical Power Supply Control | |
| US20210240240A1 (en) | Providing power to a server | |
| US8850235B2 (en) | System and method for enabling power over ethernet for legacy devices | |
| US7921314B2 (en) | Providing power over ethernet cables | |
| EP3884612B1 (en) | Intermediary device for extracting power supplied over a data connection | |
| JP4481506B2 (en) | Improved structured cable system | |
| US9189036B2 (en) | Ethernet module | |
| US7240224B1 (en) | Inline power based device communications | |
| US8037324B2 (en) | Power over ethernet connector with integrated power source equipment (PSE) controller supporting high power applications | |
| US8447995B2 (en) | Bidirectional inline power port | |
| US7908494B2 (en) | System and method for multiple PoE power supply management | |
| US8205099B2 (en) | Power over Ethernet connector with integrated power source equipment (PSE) controller | |
| ZA200106533B (en) | Improved structure cabling system. | |
| US20070278857A1 (en) | Mid-Link Powered Device for Power over Ethernet | |
| US9069541B2 (en) | Digital rack interface pod (DRIP) with intelligent power control system and method | |
| KR102017073B1 (en) | The System And Method For Electrical Power Supply Control | |
| WO2007140467A2 (en) | Ethernet module | |
| Mendelson | All you need to know about Power over Ethernet (PoE) and the IEEE 802.3 af Standard | |
| US8037323B2 (en) | System and method for using an ethernet physical layer device to identify cabling topologies | |
| CN104426677A (en) | Reverse power over Ethernet system and method, and load sharing device and powered device | |
| US20100052642A1 (en) | System and method for using a phy's discovery of cable shielding for power over ethernet current capacity setting and temperature de-rating | |
| EP4440047B1 (en) | System and method for providing increased power using power over ethernet | |
| WO2024256217A1 (en) | Dc-powered lighting device and method for controlling operation thereof | |
| Wang et al. | The system of power on line | |
| Abdullah | November 11, 2009 ECE 480 DT 03 |
| Date | Code | Title | Description |
|---|---|---|---|
| A107 | Divisional application of patent | ||
| A201 | Request for examination | ||
| PA0107 | Divisional application | Comment text:Divisional Application of Patent Patent event date:20190826 Patent event code:PA01071R01D Filing date:20151021 Application number text:1020150146558 | |
| PA0201 | Request for examination | ||
| PG1501 | Laying open of application | ||
| E902 | Notification of reason for refusal | ||
| PE0902 | Notice of grounds for rejection | Comment text:Notification of reason for refusal Patent event date:20190930 Patent event code:PE09021S01D | |
| AMND | Amendment | ||
| E601 | Decision to refuse application | ||
| PE0601 | Decision on rejection of patent | Patent event date:20200109 Comment text:Decision to Refuse Application Patent event code:PE06012S01D Patent event date:20190930 Comment text:Notification of reason for refusal Patent event code:PE06011S01I | |
| AMND | Amendment | ||
| PX0901 | Re-examination | Patent event code:PX09011S01I Patent event date:20200109 Comment text:Decision to Refuse Application Patent event code:PX09012R01I Patent event date:20191202 Comment text:Amendment to Specification, etc. | |
| PX0701 | Decision of registration after re-examination | Patent event date:20200310 Comment text:Decision to Grant Registration Patent event code:PX07013S01D Patent event date:20200306 Comment text:Amendment to Specification, etc. Patent event code:PX07012R01I Patent event date:20200109 Comment text:Decision to Refuse Application Patent event code:PX07011S01I Patent event date:20191202 Comment text:Amendment to Specification, etc. Patent event code:PX07012R01I | |
| X701 | Decision to grant (after re-examination) | ||
| GRNT | Written decision to grant | ||
| PR0701 | Registration of establishment | Comment text:Registration of Establishment Patent event date:20200316 Patent event code:PR07011E01D | |
| PR1002 | Payment of registration fee | Payment date:20200317 End annual number:3 Start annual number:1 | |
| PG1601 | Publication of registration | ||
| PR1001 | Payment of annual fee | Payment date:20240222 Start annual number:5 End annual number:5 | |
| PR1001 | Payment of annual fee | Payment date:20250225 Start annual number:6 End annual number:6 |