



본 발명은 자기유변탄성체(Magneto-Rheological Elastomer, MRE)를 이용한 디스크 브레이크 시스템에 관한 것이다. 구체적으로, 자기장에 따른 자기유변탄성체의 성질을 이용하여 스퀼노이즈를 제어하는 브레이크 시스템의 마찰패드에 관한 것이다.The present invention relates to a disc brake system using a Magneto-Rheological Elastomer (MRE). More specifically, the present invention relates to a friction pad of a brake system that controls squeal noise by using properties of a magnetorheological elastomer according to a magnetic field.
일반적으로 차량은 주행중인 상태에서 속도를 감속시키거나 정지시키는 동시에 정지상태를 계속 유지할 수 있도록 바퀴 측에 브레이크 장치가 설치된다.Generally, the vehicle is provided with a brake device on the wheel side so that the vehicle can be decelerated or stopped while the vehicle is running, while maintaining the stopped state.
일반적으로 자동차의 브레이크 시스템은 마찰력을 이용하여 자동차의 운동에너지를 열에너지로 바꾸어 열을 대기중으로 방출시켜 제동 작용을 하는 마찰식 브레이크가 사용된다.Generally, a brake system of a vehicle uses a frictional brake that uses a friction force to convert kinetic energy of a vehicle into thermal energy and release heat to the atmosphere to perform a braking action.
자동차의 주 브레이크로 사용되는 유압식 브레이크는 드럼식 브레이크와 디스크 브레이크(Disk brake)가 주로 사용되며, 이 중 디스크 브레이크는 바퀴와 함께 회전하는 브레이크 디스크의 양측(Opposed type) 또는 한쪽(Floating type)에서 유압에 의하여 마찰패드를 눌러서 제동하도록 하는 방식이다.The hydraulic brakes used as the main brakes of automobiles are mainly drum brakes and disc brakes. Of these, disc brakes are mounted on both sides (Opposed type) or one of the floating type So that the friction pad is pressed to brake.
이러한 디스크 브레이크는 디스크가 대기중에 노출되어 회전되므로 방열에 좋고, 자기 배력 작용이 거의 없어 고속으로 반복 사용하여도 제동력의 변화가 적은 장점으로 인해 널리 사용되고 있다.Such disc brakes are widely used because they are good in heat radiation since the disc is exposed and rotated in the atmosphere, and there is little magnetic force action, and there is little change in braking force even when used repeatedly at high speed.
한편, 이러한 디스크 브레이크 시스템은 제동시 발생하는 디스크와 브레이크 패드간의 마찰진동에 의한 스퀼노이즈가 발생하는 문제점이 있다.Meanwhile, such a disc brake system has a problem that squeeze noise occurs due to friction vibration between a brake disc and a brake pad which occurs during braking.
따라서, 이러한 마찰진동에 의한 스퀼노이즈를 감소시킬 수 있는 브레이크 시스템이 요구되는 실정이다.Therefore, there is a demand for a brake system capable of reducing squeal noise caused by such friction vibration.
본 발명의 전술한 종래의 제반 문제점을 해결하기 위하여 안출된 것으로, 본 발명은 지능형 재료인 자기유변탄성체를 이용하여 자동차 브레이크 시스템의 마찰패드와 디스크 간의 접촉시 발생하는 스퀼노이즈를 저감시키고 운전자의 불편함을 해소하는 것을 목적으로 한다.SUMMARY OF THE INVENTION The present invention has been made in order to solve the above-described conventional problems of the present invention, and it is an object of the present invention to reduce squeal noise generated when a friction pad of a vehicle brake system contacts a disk by using an intelligent material, The purpose is to solve the problem.
상기한 목적을 달성하기 위해 본 발명은 캘리퍼, 피스톤, 마찰패드, 디스크를 포함하는 디스크 브레이크 시스템에 있어서, 상기 마찰패드는 상기 디스크와 접촉하는 패드, 상기 패드를 감싸는 플레이트, 및 커버심을 구비하되, 상기 커버심은 자기유변탄성체를 구비하여 상기 피스톤에 의해 가압될 때 강성을 변화시킬 수 있는 것을 특징으로 한다.According to an aspect of the present invention, there is provided a disc brake system including a caliper, a piston, a friction pad, and a disc, wherein the friction pad includes a pad contacting the disc, a plate surrounding the pad, The cover shim has a magnetorheological elastomer and is capable of changing rigidity when it is pressed by the piston.
또한, 상기 캘리퍼는 상기 자기유변탄성체에 자기장을 인가하기 위한 자기장 발생장치를 구비하는 것을 특징으로 한다.The caliper may further include a magnetic field generating device for applying a magnetic field to the magnetorheic elastomer.
또한, 상기 자기유변탄성체의 강성은 진동수를 상이하게 하여 공명이 일어나지 않도록 제어되는 것을 특징으로 한다.Further, the rigidity of the magnetorheic elastomer is controlled such that the resonance does not occur by making the number of frequencies different.
또한, 상기 자기장 발생장치에 자기장 발생 신호를 송신하는 제어기가 구비되는 것을 특징으로 한다.In addition, a controller for transmitting a magnetic field generating signal to the magnetic field generating device is provided.
본 발명은 브레이크 패드와 디스크의 접촉시 각 브레이크 시스템 간의 고유진동수를 겹치지 않게 하여 공진 현상을 제어함으로써 스퀼노이즈를 저감하는 효과가 있다.The present invention has the effect of reducing the squeal noise by controlling the resonance phenomenon by preventing the natural frequencies between the brake systems from overlapping each other when the brake pads are in contact with the disk.
도 1은 본 발명의 바람직한 실시예에 따른 브레이크 시스템을 도시한 개략도이다.
도 2는 본 발명에 따른 브레이크 시스템의 마찰패드를 도시한 사시도이다.
도 3은 도 2의 단면도이다.
도 4는 피스톤에 의해 마찰패드와 디스크가 압착된 상태를 도시하는 단면도로서, 자기장이 인가되지 않은 상태와 자기장이 인가된 상태를 각각 도시한 개략도이다.1 is a schematic diagram showing a brake system according to a preferred embodiment of the present invention.
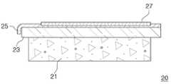
2 is a perspective view showing a friction pad of a brake system according to the present invention.
3 is a cross-sectional view of Fig.
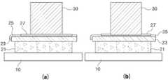
4 is a cross-sectional view showing a state in which a friction pad and a disk are compressed by a piston, and is a schematic view showing a state in which a magnetic field is not applied and a state in which a magnetic field is applied, respectively.
이하, 본 발명의 실시예를 첨부된 도면들을 참조하여 상세하게 설명한다. 우선 각 도면의 구성 요소들에 참조 부호를 첨가함에 있어서, 동일한 구성 요소들에 대해서는 비록 다른 도면상에 표시되더라도 가능한 한 동일한 부호를 가지도록 하고 있음에 유의해야 한다. 또한, 본 발명의 요지를 흐릴 수 있다고 판단되는 경우에는 그 상세한 설명은 생략한다. 또한, 이하에서 본 발명의 실시예를 설명할 것이나, 본 발명의 기술적 사상은 이에 한정하거나 제한되지 않고 당업자에 의해 실시될 수 있음은 물론이다.Hereinafter, embodiments of the present invention will be described in detail with reference to the accompanying drawings. In the drawings, the same reference numerals are used to designate the same or similar components throughout the drawings. Further, if it is determined that the gist of the present invention may be blurred, detailed description thereof will be omitted. In addition, embodiments of the present invention will be described below, but it goes without saying that the technical idea of the present invention is not limited thereto and can be practiced by those skilled in the art.
도 1은 본 발명의 바람직한 실시예에 따른 브레이크 시스템을 도시한 개략도이고, 도 2는 본 발명에 따른 브레이크 시스템의 마찰패드를 도시한 사시도이다.FIG. 1 is a schematic view showing a brake system according to a preferred embodiment of the present invention, and FIG. 2 is a perspective view showing a friction pad of a brake system according to the present invention.
또한, 도 3은 도 2의 단면도이고, 도 4는 피스톤에 의해 마찰패드와 디스크가 압착된 상태를 도시하는 단면도로서, 자기장이 인가되지 않은 상태와 자기장이 인가된 상태를 각각 도시한 개략도이다.Fig. 3 is a cross-sectional view of Fig. 2, and Fig. 4 is a cross-sectional view showing a state in which a friction pad and a disk are compressed by a piston, and is a schematic view showing a state in which a magnetic field is not applied and a magnetic field is applied, respectively.
이하 도 1 내지 도 4를 참고하여 본 발명에 따른 자기유변탄성체를 이용한 디스크 브레이크 시스템(1)을 설명한다.1 to 4, a
본 발명의 바람직한 실시예에 따른 디스크 브레이크 시스템(1)은 디스크(10), 마찰 패드(20), 피스톤(30), 캘리퍼(40)로 이루어진다.A
구체적으로, 캘리퍼(40)의 내부에 피스톤(30)이 구비되고, 마찰 패드(20)는 디스크(10)의 양 측면에 배치된 상태로 캘리퍼(40)의 내부에 장착된다. 또한, 캘리퍼(40)의 내부에는 자기장 발생장치(50)가 구비된다.Specifically, a
한편, 마찰 패드(20)는 패드(21), 플레이트(23), 커버심(25), 및 자기유변탄성체(27)가 차례로 배치된다.On the other hand, the
이때, 패드(21)는 디스크(10)와 접하게 되는 부분이며, 커버심(25) 및 자기유변탄성체(27)가 차례로 적층되어 있는 플레이트(23)에 패드(21)가 부착되는 형태이다.At this time, the
도 2 및 3을 참조하면, 커버심(25)의 상면에는 자기유변탄성체(27)에 부합하는 공간이 구비되어 자기유변탄성체(27)가 배치되며, 자기유변탄성체(27)는 커버심(25)보다 상방으로 소정 길이 돌출된다.2 and 3, a magnetostrictive
기존의 마찰 패드(20)는 커버심(25)이 제동장치에 의해 가압되는 피스톤(30)과 직접 접촉하게 되는 부분이다.The
한편, 본 발명은 도 2에 도시된 바와 같이 커버심(25)의 일부에 자기유변탄성체(27)가 구비되며, 따라서, 본 발명에 따른 디스크 브레이크 시스템(1)은 제동 시, 자기유변탄성체(27)와 피스톤(30)이 접촉하게 된다.2, the
이러한 자기유변탄성체(27)는 캘리퍼(40)에 구비된 자기장 발생장치(50)에서 인가되는 자기장의 세기에 의해 강성 및 댐핑력을 변화시킨다.The
이러한 성질을 이용하여, 자기유변탄성체(27)는 디스크(10)와 마찰 패드(20)간에 발생되는 진동 소음에 대한 고유진동수와 상이한 주파수 영역대의 진동을 형성하게 한다.Using this property, the
이때, 디스크(10)와 마찰 패드(20)간의 진동 소음, 고유 진동수 등은 미리 정해진 프로그램에 의해 분석될 수 있음은 물론이다.At this time, it is needless to say that vibration noise, natural frequency, etc. between the
이와 같이 공진 모드를 제어함에 따라 스퀼노이즈를 저감시키는 것이 가능하게 된다.Thus, it is possible to reduce the squeal noise by controlling the resonance mode.
미리 설계된 프로그램에 의해 공진이 발생하지 않을 수 있는 주파수 영역대에 대한 정보가 인식되면, 제어기는 자기유변탄성체(27)가 상기 주파수 영역대를 생성하기 적합한 강성을 가질 수 있도록 자기장 발생장치(50)에 신호를 송신한다.When information about a frequency band that resonance may not be generated by a pre-designed program is recognized, the controller controls the
상기 신호를 수신받은 자기장 발생장치(50)는 자기유변탄성체(27)에 자기장을 인가하여 강성을 변화시키며, 이에 의해 브레이크 시스템 간 고유진동수들은 겹쳐지지 않게 된다.The
이에 의해, 브레이크 시스템 간에는 공진이 발생하지 않게 되며 스퀼노이즈가 저감된다.Thereby, resonance does not occur between the brake systems, and squeal noise is reduced.
도 4를 참조하면, 제동 장치가 작동할 때, (a) 자기장이 인가되지 않은 경우, 및 (b) 자기장이 인가된 경우를 도시한다.Referring to Fig. 4, there is shown a case where (a) a magnetic field is not applied and (b) a magnetic field is applied when the braking device is operated.
이때 두 도면에서 자기유변탄성체(27)의 두께가 자기장의 인가 여부에 따라 상이함이 도시된다.At this time, in both figures, the thickness of the
이와 같이, 자기장의 강도에 따라 자기유변탄성체(27)는 강성 및 댐핑력 등을 제어할 수 있다.Thus, the
상술한 바와 같이 본 발명의 디스크 브레이크 시스템(1)은 디스크(10), 마찰패드(20), 및 피스톤(30)이 압착될 때, 마찰패드(20)에 구비된 자기유변탄성체(27)가 강성을 변화시키며, 이에 의해 디스크 브레이크 시스템간의 공진 모드에 대한 능동적인 제어가 가능하여 스퀼노이즈를 저감시킬 수 있다는 장점이 있다.As described above, the
이상의 설명은 본 발명의 기술 사상을 예시적으로 설명한 것에 불과한 것으로서, 본 발명이 속하는 기술 분야에서 통상의 지식을 가진 자라면 본 발명의 본질적인 특성에서 벗어나지 않는 범위 내에서 다양한 수정, 변경 및 치환이 가능할 것이다. 따라서 본 발명에 개시된 실시예 및 첨부된 도면들은 본 발명의 기술 사상을 한정하기 위한 것이 아니라 설명하기 위한 것이고, 이러한 실시예 및 첨부된 도면에 의하여 본 발명의 기술 사상의 범위가 한정되는 것은 아니다. 본 발명의 보호범위는 청구 범위에 의해서 해석되어야 하며, 그와 동등한 범위 내에 있는 모든 기술 사상은 본 발명의 권리 범위에 포함되는 것으로 해석되어야 할 것이다.It will be apparent to those skilled in the art that various modifications, substitutions and substitutions are possible, without departing from the scope and spirit of the invention as disclosed in the accompanying claims. will be. Therefore, the embodiments disclosed in the present invention and the accompanying drawings are intended to illustrate and not to limit the technical spirit of the present invention, and the scope of the technical idea of the present invention is not limited by these embodiments and accompanying drawings. The scope of protection of the present invention should be construed according to the claims, and all technical ideas within the scope of equivalents thereof should be construed as being included in the scope of the present invention.
1 : 디스크 브레이크 시스템 10 : 디스크
20 : 마찰 패드21 : 패드
23 : 플레이트25 : 커버심
27 : 자기유변탄성체30 : 피스톤
40 : 캘리퍼50 : 자기장 발생장치1: Disc brake system 10: Disc
20: Friction pad 21: Pad
23: plate 25: cover core
27: Magneto-rheological elastomer 30: Piston
40: caliper 50: magnetic field generator
| Application Number | Priority Date | Filing Date | Title |
|---|---|---|---|
| KR1020170073972AKR101953243B1 (en) | 2017-06-13 | 2017-06-13 | Disk break system using MRE |
| Application Number | Priority Date | Filing Date | Title |
|---|---|---|---|
| KR1020170073972AKR101953243B1 (en) | 2017-06-13 | 2017-06-13 | Disk break system using MRE |
| Publication Number | Publication Date |
|---|---|
| KR20180135652Atrue KR20180135652A (en) | 2018-12-21 |
| KR101953243B1 KR101953243B1 (en) | 2019-02-28 |
| Application Number | Title | Priority Date | Filing Date |
|---|---|---|---|
| KR1020170073972AActiveKR101953243B1 (en) | 2017-06-13 | 2017-06-13 | Disk break system using MRE |
| Country | Link |
|---|---|
| KR (1) | KR101953243B1 (en) |
| Publication number | Priority date | Publication date | Assignee | Title |
|---|---|---|---|---|
| CN109632629A (en)* | 2019-01-22 | 2019-04-16 | 重庆邮电大学 | Controllable coefficient of rolling friction detection device and detection method based on magnetosensitive rubber |
| KR102236821B1 (en)* | 2019-12-27 | 2021-04-05 | 인하대학교 산학협력단 | Wiper for vehicle using Magneto-Rheological Elastomer |
| CN113738791A (en)* | 2021-09-14 | 2021-12-03 | 珠海格力电器股份有限公司 | Electromagnetic power-off brake, motor and robot |
| Publication number | Priority date | Publication date | Assignee | Title |
|---|---|---|---|---|
| KR102207414B1 (en) | 2019-07-12 | 2021-01-26 | 피씨케이(주) | Adhesion Method of Vibration Reduction Structure With Plastic Composite Material and Magnetic Rheological Elastomer |
| CN111942158B (en)* | 2020-07-09 | 2022-04-12 | 浙江吉智新能源汽车科技有限公司 | A braking energy recovery device, system, vehicle and energy recovery method |
| Publication number | Priority date | Publication date | Assignee | Title |
|---|---|---|---|---|
| KR100461365B1 (en)* | 2001-12-04 | 2004-12-10 | 현대자동차주식회사 | Automotive brake system for decreasing squal noise |
| KR20070002363A (en) | 2005-06-30 | 2007-01-05 | 현대모비스 주식회사 | Automobile brake device using magnetorheological fluid |
| JP2011000928A (en)* | 2009-06-17 | 2011-01-06 | Advics Co Ltd | Damping device for disc brake |
| KR101180930B1 (en)* | 2006-09-21 | 2012-09-07 | 현대자동차주식회사 | Apparatus for reducing noise in the caliper for vehicle |
| KR20140083060A (en)* | 2007-04-25 | 2014-07-03 | 트렐레보르그 루보레 에이비 | Anti-squeal shim |
| Publication number | Priority date | Publication date | Assignee | Title |
|---|---|---|---|---|
| KR100461365B1 (en)* | 2001-12-04 | 2004-12-10 | 현대자동차주식회사 | Automotive brake system for decreasing squal noise |
| KR20070002363A (en) | 2005-06-30 | 2007-01-05 | 현대모비스 주식회사 | Automobile brake device using magnetorheological fluid |
| KR101180930B1 (en)* | 2006-09-21 | 2012-09-07 | 현대자동차주식회사 | Apparatus for reducing noise in the caliper for vehicle |
| KR20140083060A (en)* | 2007-04-25 | 2014-07-03 | 트렐레보르그 루보레 에이비 | Anti-squeal shim |
| JP2011000928A (en)* | 2009-06-17 | 2011-01-06 | Advics Co Ltd | Damping device for disc brake |
| Publication number | Priority date | Publication date | Assignee | Title |
|---|---|---|---|---|
| CN109632629A (en)* | 2019-01-22 | 2019-04-16 | 重庆邮电大学 | Controllable coefficient of rolling friction detection device and detection method based on magnetosensitive rubber |
| CN109632629B (en)* | 2019-01-22 | 2021-08-13 | 重庆邮电大学 | Controllable rolling friction coefficient detection device and detection method based on magneto-sensitive rubber |
| KR102236821B1 (en)* | 2019-12-27 | 2021-04-05 | 인하대학교 산학협력단 | Wiper for vehicle using Magneto-Rheological Elastomer |
| CN113738791A (en)* | 2021-09-14 | 2021-12-03 | 珠海格力电器股份有限公司 | Electromagnetic power-off brake, motor and robot |
| Publication number | Publication date |
|---|---|
| KR101953243B1 (en) | 2019-02-28 |
| Publication | Publication Date | Title |
|---|---|---|
| KR20180135652A (en) | Disk break system using MRE | |
| US3509973A (en) | Anti-squeal disc braking device | |
| JP5538417B2 (en) | Sleeve for disc brake caliper and disc brake fitted with such sleeve | |
| US7905333B2 (en) | Brake insulator for disc brake pads | |
| US20050039992A1 (en) | Brake lining with damping layer | |
| JP3563696B2 (en) | Holding brake for traction sheave elevator | |
| JP4714642B2 (en) | Disc brake pad | |
| US8100233B2 (en) | Disc-brake vibration damper | |
| JP4749169B2 (en) | Suppressor and structure including such a device | |
| JP6112391B2 (en) | Shim for disc brake pad | |
| US20210172488A1 (en) | Caliper brake pad spring and brake device | |
| TW201341686A (en) | Brake lining for a disc brake | |
| JPH0141942Y2 (en) | ||
| KR20150059367A (en) | Break Apparatus for Vehicle | |
| KR200281981Y1 (en) | Disc brake | |
| KR200196342Y1 (en) | Damping apparatus for calliper of disk brake | |
| KR20180075959A (en) | Brake pad assembly of caliper brake for vehicle | |
| KR100867838B1 (en) | Brake drag reduction device of vehicle | |
| KR100680842B1 (en) | Disc brake system | |
| KR200281970Y1 (en) | Cover shim of disc brake | |
| KR100572632B1 (en) | Car Disc Brake | |
| DE602005013444D1 (en) | n and equipped with such a device disc brake. | |
| JPH08159187A (en) | Brake lining | |
| KR20190064806A (en) | Clip for pad plate | |
| KR20020078018A (en) | Disk brake |
| Date | Code | Title | Description |
|---|---|---|---|
| A201 | Request for examination | ||
| PA0109 | Patent application | Patent event code:PA01091R01D Comment text:Patent Application Patent event date:20170613 | |
| PA0201 | Request for examination | ||
| E902 | Notification of reason for refusal | ||
| PE0902 | Notice of grounds for rejection | Comment text:Notification of reason for refusal Patent event date:20180718 Patent event code:PE09021S01D | |
| PG1501 | Laying open of application | ||
| E701 | Decision to grant or registration of patent right | ||
| PE0701 | Decision of registration | Patent event code:PE07011S01D Comment text:Decision to Grant Registration Patent event date:20190121 | |
| PR0701 | Registration of establishment | Comment text:Registration of Establishment Patent event date:20190222 Patent event code:PR07011E01D | |
| PR1002 | Payment of registration fee | Payment date:20190222 End annual number:3 Start annual number:1 | |
| PG1601 | Publication of registration | ||
| PR1001 | Payment of annual fee | Payment date:20211229 Start annual number:4 End annual number:4 | |
| PR1001 | Payment of annual fee | Payment date:20231227 Start annual number:6 End annual number:6 | |
| PR1001 | Payment of annual fee | Payment date:20241226 Start annual number:7 End annual number:7 |