










본 발명은 단방향 무선신호 송출 기능과 양방향 근거리 통신 기능을 다중 구비한 칩모듈을 탑재한 근거리장치에서 송출한 단방향 무선신호를 인식한 결제장치에서 결제 요청 시 상기 근거리장치의 칩모듈과 양방향 근거리 통신하는 사용자 소유 무선단말에서 상기 근거리장치의 칩모듈에서 생성한 인증코드를 전송하면 상기 인증코드의 유효성을 인증한 결과를 기반으로 상기 결제장치에서 요청한 결제가 처리되도록 하는 것이다.The present invention relates to a bidirectional short distance communication with a chip module of a short range device at a payment request in a payment device that recognizes a unidirectional wireless signal transmitted from a short range device equipped with a chip module having multiple unidirectional wireless signal transmission functions and bidirectional short distance communication functions And transmitting the authentication code generated by the chip module of the short range device to the user-owned wireless terminal, the payment requested by the settlement device is processed based on the result of authenticating the validity of the authentication code.
2010년 6월에 발표된 블루투스(Bluetooth) 버전 4.0 이후의 블루투스 스마트는 BLE(Bluetooth Low Energy)에서 수신 측을 특정하지 않고 비콘 신호를 송출하게 되었다. 최근 출시된 스마트폰의 경우 안드로이드 4.3 이후 버전부터 비콘 신호를 인식할 수 있으며, 아이폰의 경우 iOS5 이후부터 비콘 신호를 인식할 수 있다.Since the Bluetooth version 4.0 released in June 2010, Bluetooth Smart has been transmitting beacon signals without specifying the receiver side in BLE (Bluetooth Low Energy). The recently released smartphone can recognize the beacon signal from Android 4.3 or later, and the iPhone can recognize the beacon signal after iOS5.
종래의 비콘 신호를 이용한 서비스는 가맹점 등의 오프라인 거점에 비콘송신기를 설치하여 지속적으로 동일한 비콘 신호를 BLE에서 지속적으로 송출하게 하되, 비콘송신기의 일정 거리 이내로 접근한 사용자의 스마트폰에서 비콘 신호를 인식하여 각종 서비스를 제공받는 형태로 제안되었다. 예를들어, 종래의 비콘 기반 서비스는 사용자가 스마트폰을 소지하고 비콘송신기의 일정 거리 이내로 접근하면 스마트폰은 비콘송신기에서 송신하는 비콘 신호를 인식하고, 이를 지정된 서버로 전송하면 서버에서 해당 스마트폰으로 각종 서비스 관련 정보를 제공하는 형태로 제공되었다.In the service using the conventional beacon signal, a beacon transmitter is installed at an off-line base point such as an affiliate shop, so that the same beacon signal is continually transmitted from the BLE, and a beacon signal is recognized from a user's smartphone approaching within a certain distance of the beacon transmitter And various services were offered. For example, in a conventional beacon-based service, if a user possesses a smartphone and approaches within a predetermined distance of the beacon transmitter, the smartphone recognizes a beacon signal transmitted from the beacon transmitter and transmits the beacon signal to a designated server. And provide information related to various services.
이러한 비콘 기반 서비스에서 사용자의 스마트폰으로 제공하는 서비스 관련 정보가 광고와 같이 불특정 다수를 상대로 제공하는 것일 경우 비콘 기반 서비스를 강력한 효과를 발휘할 수 있다. 그런데 애초에 비콘은 불특정 다수가 수신할 수 있도록 설계되었기 때문에 특정한 스마트폰을 대상으로 서비스를 제공하기에는 기술적으로 난해한 문제점을 지니고 있다. 예를들어, 비콘 신호를 인식한 사용자의 스마트폰으로 결제관련정보를 제공하여 결제하게 할 경우, 비콘송신기 근처에 존재하는 모든 스마트폰은 모두 동일한 비콘송신기에서 송출하는 동일한 비콘 신호를 수신하기 때문에 비콘 신호를 수신한 스마트폰 중에서 특정 사용자의 스마트폰을 특정하여 결제관련정보를 제공해야 할 지 판별하기 난해한 문제점을 지니고 있으며, 이는 불특정 대상을 상대로 신호를 송출하도록 설계된 비콘이 지닌 원초적 문제점이다.In a beacon-based service, if a service-related information provided to a user's smartphone is provided to an unspecified number of users, such as an advertisement, the beacon-based service can exhibit a powerful effect. However, since the beacon is designed to receive an unspecified number of beacons in the beginning, it is technically difficult to provide services to a specific smartphone. For example, when payment information is provided to a smartphone of a user who recognizes a beacon signal, all smartphones existing near the beacon transmitter receive the same beacon signal transmitted from the same beacon transmitter, It is difficult to determine whether to provide payment related information by specifying a smartphone of a specific user among smartphones receiving a signal. This is a fundamental problem of a beacon designed to transmit a signal to an unspecified object.
게다가 대부분의 사용자들이 절전을 위해 스마트폰의 블루투스 기능(또는 비콘 수신 기능)을 비활성화하기 때문에 아무리 비콘송신기에서 열심히 비콘 신호를 송출하더라도 실제로 비콘 서비스를 제공받을 확률은 지극히 낮다. 설령 사용자 스마트폰의 블루투스 기능(또는 비콘 수신 기능)을 활성화하더라도, 애초에 비콘은 BLE에서 설계되었기 때문에 비콘송신기와 스마트폰 사이에 약간의 방해물만 있어도 스마트폰에서 비콘신호를 제대로 수신할 수 없는 문제점을 지니고 있다.Moreover, since most users disable the Bluetooth function (or beacon reception function) of the smartphone for power saving, even if the beacon transmitter sends a beacon signal hardly, the probability of receiving the beacon service is extremely low. Even if the user activates the Bluetooth function (or beacon reception function) of the user's smartphone, since the beacon was originally designed in the BLE, the beacon signal can not be properly received from the smartphone even if there is some obstacle between the beacon transmitter and the smartphone .
상기와 같은 문제점을 해소하기 위한 본 발명의 목적은, 사용자 소유 근거리장치의 칩모듈에서 단방향 무선신호를 통해 송출하는 고유코드와 상기 근거리장치를 소유한 사용자 소유 무선단말(또는 무선단말의 프로그램)을 고유 식별하는 고유정보를 매핑하여 저장한 후, 상기 사용자 소유 근거리장치의 칩모듈에서 송출한 단방향 무선신호를 수신한 결제장치로부터 상기 단방향 무선신호를 통해 인식된 고유코드를 포함하는 결제요청정보가 수신된 경우 상기 고유정보에 대응하는 사용자 소유 무선단말로부터 상기 근거리장치의 칩모듈에서 생성한 인증코드를 포함하는 결제확인정보를 수신하여 상기 인증코드의 유효성을 인증함으로써 상기 인증코드의 인증 결과를 근거로 상기 결제장치로부터 요청된 결제가 처리되도록 하는 근거리장치를 이용한 2채널 결제 방법을 제공함에 있다.In order to solve the above problems, an object of the present invention is to provide a wireless terminal (or a program of a wireless terminal) possessed by a user possessing the near device and a unique code transmitted through a unidirectional wireless signal in a chip module of a user- And the payment request information including the unique code recognized through the unidirectional wireless signal is received from the payment device receiving the unidirectional wireless signal transmitted from the chip module of the user's owned short range device The wireless base station device receives the payment confirmation information including the authentication code generated by the chip module of the local device from the user-owned wireless terminal corresponding to the unique information and authenticates the validity of the authentication code, And a local device for processing the payment requested by the settlement device And provides a two-channel payment method.
본 발명에 따른 근거리장치를 이용한 2채널 결제 방법은, 서버에 의해 실행되는 방법에 있어서, 단방향 무선신호 송출 기능과 양방향 근거리 통신 기능을 다중 구비한 칩모듈을 탑재한 사용자 소유 근거리장치에서 상기 단방향 무선신호를 통해 송출하는 고유코드와 상기 근거리장치를 소유한 사용자 소유 무선단말(또는 무선단말의 프로그램)을 고유 식별하는 고유정보를 매핑하여 저장하는 제1 단계와, 상기 사용자 소유 근거리장치의 칩모듈에서 송출한 단방향 무선신호를 수신한 결제장치로부터 상기 단방향 무선신호를 통해 인식된 고유코드를 포함하는 결제요청정보를 수신하는 제2 단계와, 상기 고유코드와 매핑된 고유정보에 대응하는 무선단말(또는 무선단말의 프로그램)로부터 상기 근거리장치의 칩모듈에서 생성되어 상기 양방향 근거리 통신을 통해 상기 무선단말로 제공된 인증코드를 포함하는 결제확인정보를 수신하는 제3 단계와, 상기 결제확인정보에 포함된 인증코드의 유효성이 인증됨에 의해 상기 결제요청정보를 통해 요청된 결제 절차가 수행되도록 처리하는 제4 단계를 포함한다.A two-channel payment method using a short-range device according to the present invention is a method executed by a server, the method comprising the steps of: receiving, from a user-owned short range device equipped with a chip module having a unidirectional radio signal transmission function and a bidirectional short- A first step of mapping and storing unique code transmitted through a signal and unique information that uniquely identifies a wireless terminal (or a program of a wireless terminal) possessed by the user who owns the local device; A second step of receiving settlement request information including a unique code recognized through the unidirectional radio signal from a settlement apparatus which receives the transmitted unidirectional radio signal; A program of a wireless terminal) generated by a chip module of the local device, A third step of receiving payment confirmation information including an authentication code provided to the wireless terminal through the payment request information; and a third step of receiving payment confirmation information through the payment request information by authenticating the validity of the authentication code included in the payment confirmation information And a fourth step of processing as much as possible.
본 발명에 따르면, 상기 사용자 소유 무선단말은 상기 사용자 소유 근거리장치의 칩모듈과 양방향 근거리 통신할 수 있다.According to the present invention, the user-owned wireless terminal can perform bidirectional short-range communication with the chip module of the user-owned short range device.
본 발명에 따르면, 상기 양방향 근거리 통신은 페어링 기반의 블루투스(Bluetooth) 통신을 포함하고, 상기 단방향 무선신호는 블루투스 기반의 비콘 신호를 포함할 수 있다.According to the present invention, the bi-directional short-range communication includes pairing-based Bluetooth communication, and the unidirectional radio signal may include a Bluetooth-based beacon signal.
본 발명에 따르면, 상기 양방향 근거리 통신은 케이블 연결 기반의 USB(Universal Serial Bus) 통신을 포함하고, 상기 단방향 무선신호는 블루투스 기반의 비콘 신호를 포함할 수 있다.According to the present invention, the bi-directional short-range communication includes a universal serial bus (USB) communication based on a cable connection, and the unidirectional wireless signal may include a Bluetooth-based beacon signal.
본 발명에 따르면, 상기 고유코드는 상기 근거리장치의 칩모듈에 고유 저장된 코드, 상기 근거리장치의 칩모듈과 양방향 근거리 통신하는 사용자 소유 무선단말에서 제공한 고유한 코드 중 적어도 하나의 코드를 포함할 수 있다.According to the present invention, the unique code may include at least one of code unique to the chip module of the short range device, and unique code provided by the user-owned wireless terminal in bidirectional short distance communication with the chip module of the short range device have.
본 발명에 따르면, 상기 근거리장치는 차량의 시가잭 삽입구에 삽입되는 사용자 소유 시가잭장치를 포함할 수 있다.According to the present invention, the near device may include a user-owned cigar jack device to be inserted into the cigar jack inlet of the vehicle.
본 발명에 따르면, 상기 근거리장치를 이용한 2채널 결제 방법은, 상기 결제요청정보를 수신한 경우, 상기 고유코드에 대응하는 근거리장치를 소유한 사용자에게 지불 요청할 결제금액을 포함하는 결제정보를 확인하는 제2-1 단계와, 상기 고유코드와 매핑된 고유정보를 이용하여 상기 사용자 소유 무선단말의 프로그램으로 상기 결제정보를 제공되도록 처리하는 제2-2 단계를 더 포함하며, 상기 제3 단계는 상기 결제정보를 제공받은 무선단말로부터 상기 인증코드를 포함하는 결제확인정보를 수신할 수 있다. 한편 상기 결제정보는 상기 사용자 소유 무선단말의 프로그램을 개입시킨 결제 절차에 이용될 수 있다. 한편 상기 결제요청정보는 상기 결제장치에서 결정한 결제금액을 포함하며, 상기 제2-1 단계는 상기 결제요청정보에 포함된 결제금액을 포함하는 결제정보를 확인하는 단계를 포함할 수 있다. 한편 상기 결제요청정보는 결제금액을 산출하는데 필요한 금액 산출 파라미터를 포함하며, 상기 제2-1 단계는 상기 결제요청정보에 포함된 금액 산출 파라미터를 이용하여 결제금액을 산출하고 상기 산출된 결제금액을 포함하는 결제정보를 확인할 수 있다.According to the present invention, when receiving the settlement request information, the two-channel settlement method using the short-distance device checks the settlement information including the settlement amount to be requested to the user who owns the local device corresponding to the unique code Further comprising a step 2-2 of processing the settlement information to provide the settlement information to the program of the user-owned wireless terminal using the unique information mapped to the unique code, And may receive the payment confirmation information including the authentication code from the wireless terminal provided with the payment information. Meanwhile, the payment information may be used in a payment procedure through the program of the user-owned wireless terminal. Meanwhile, the settlement request information includes the settlement amount determined by the settlement apparatus, and the step 2-1 may include checking the settlement information including the settlement amount included in the settlement request information. The settlement request information includes a cost calculation parameter required to calculate a settlement amount. In the second step, the settlement amount is calculated using the cost calculation parameter included in the settlement request information, and the calculated settlement amount And can check the included payment information.
본 발명에 따르면, 상기 제1 단계는 상기 근거리장치의 칩모듈에서 생성될 인증코드를 인증하기 위한 인증정보를 저장하는 단계를 더 포함하며, 상기 제3 단계는 상기 인증정보를 이용하여 상기 결제확인정보에 포함된 인증코드의 유효성이 인증되도록 처리하는 단계를 더 포함될 수 있다.According to the present invention, the first step may further include storing authentication information for authenticating an authentication code to be generated in the chip module of the short range device, and the third step may include: And processing the validity of the authentication code included in the information to be authenticated.
본 발명에 따르면, 상기 단방향 무선신호는 상기 고유코드와 함께 상기 근거리장치의 칩모듈에서 생성한 인증코드를 더 포함하고, 상기 제2 단계는 상기 결제장치로부터 상기 고유코드와 인증코드를 포함하는 결제요청정보를 수신하는 단계를 포함하며, 상기 제3 단계는 상기 결제요청정보의 인증코드를 이용하여 상기 결제확인정보에 포함된 인증코드의 유효성이 인증되도록 처리하는 단계를 더 포함될 수 있다.According to the present invention, the unidirectional wireless signal may further include an authentication code generated by the chip module of the short range device together with the unique code, and the second step may include receiving the unique code and the authentication code from the payment device And receiving the request information. The third step may further include processing the validity of the authentication code included in the payment confirmation information to be authenticated using the authentication code of the payment request information.
본 발명에 따르면, 상기 인증코드는 상기 근거리장치의 칩모듈에 구비된 정보와 상기 칩모듈에서 동적 결정된 정보와 양방향 근거리 통신을 통해 사용자 소유 무선단말의 프로그램으로부터 제공받은 정보 중 하나 이상의 정보를 씨드로 이용하여 동적 생성한 일회용코드, 상기 근거리장치의 칩모듈에 구비된 정보와 상기 칩모듈에서 동적 결정된 정보와 양방향 근거리 통신을 통해 사용자 소유 무선단말의 프로그램으로부터 제공받은 정보 중 하나 이상의 정보를 지정된 서버를 통해 복호화 가능하게 암호화한 암호코드, 상기 근거리장치의 칩모듈에 구비된 인증서를 이용하여 상기 칩모듈에 구비된 정보와 상기 칩모듈에서 동적 결정된 정보와 양방향 근거리 통신을 통해 사용자 소유 무선단말의 프로그램으로부터 제공받은 정보 중 하나 이상의 정보를 전자서명한 서명코드 중 적어도 하나의 코드를 포함할 수 있다.According to the present invention, the authentication code may include at least one of information provided in the chip module of the short range device, information dynamically determined in the chip module, and information received from the program of the user-owned wireless terminal through bidirectional short- The information provided in the chip module of the local device, the information dynamically determined in the chip module, and the information received from the program of the user-owned wireless terminal through bidirectional local area communication with the designated server And the information provided in the chip module and the information determined dynamically in the chip module by using a certificate provided in the chip module of the local device from the program of the user's owned wireless terminal through bidirectional short- One or more of the information provided It may include at least one code of the electronic signature and signed the code.
본 발명에 따르면, 상기 근거리장치를 이용한 2채널 결제 방법은, 상기 결제 절차에 대한 결제결과를 확인하는 제5 단계와, 상기 결제장치 또는 상기 사용자 소유 무선단말의 프로그램으로 상기 결제결과를 제공하는 제6 단계를 더 포함할 수 있다.According to the present invention, the two-channel payment method using the short range device includes a fifth step of confirming a settlement result of the settlement procedure, a fifth step of providing a payment result to the settlement device or the user- It may further comprise six steps.
본 발명에 따르면, 가맹점 등의 오프라인 거점에 단방향 무선신호(예컨대, 비콘 신호)를 송출하는 신호송신기를 설치하여 사용자의 스마트폰을 통해 인식하는 것이 아니라, 이와 전혀 반대되는 역방향으로 사용자가 단방향 무선신호를 송출하는 근거리장치를 소유함으로써, 상기 사용자가 접근하는 각종 오프라인 거점에 구비된 결제장치에서 사용자가 소유한 근거리장치에서 송출하는 단방향 무선신호를 수신 및 인식하여 결제금액을 지불할 사용자를 특정하고, 상기 사용자의 무선단말이 상기 단방향 무선신호를 송출한 근거리장치의 칩모듈과 양방향 근거리 통신하는지 인증하여 상기 결제장치로부터 요청된 결제 서비스를 안전하고 편리하게 제공하는 이점이 있다.According to the present invention, a signal transmitter for transmitting a unidirectional radio signal (for example, a beacon signal) to an off-line base station of an affiliated member or the like is provided and is not recognized by the user's smartphone, The payment device provided in various off-line bases accessed by the user receives and recognizes a unidirectional wireless signal transmitted from a local device owned by the user to specify a user to pay the payment amount, There is an advantage that the payment service requested from the payment device can be securely and conveniently provided by authenticating whether the wireless terminal of the user confirms bidirectional short distance communication with the chip module of the local device transmitting the unidirectional wireless signal.
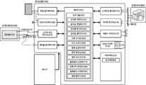
도 1은 본 발명의 실시 방법에 따라 사용자 소유의 근거리장치를 이용한 결제 처리 시스템 구성을 도시한 도면이다.
도 2는 본 발명의 실시 방법에 따른 근거리장치의 기능 구성을 도시한 도면이다.
도 3은 본 발명의 실시 방법에 따른 사용자 소유 무선단말의 기능 구성을 도시한 도면이다.
도 4는 본 발명의 실시 방법에 따라 사용자 소유 무선단말과 연동하여 사용자 소유 근거리장치를 이용한 결제를 처리하는 운영서버의 구성을 도시한 도면이다.
도 5는 본 발명의 실시 방법에 따른 근거리장치의 동작 과정을 도시한 도면이다.
도 6은 본 발명의 실시 방법에 따라 사용자의 근거리장치와 사용자의 무선단말 간 양방향 근거리 통신 연결 과정을 도시한 도면이다.
도 7은 본 발명의 실시 방법에 따라 사용자 소유 근거리장치의 칩모듈에서 단방향 무선신호를 통해 송출하는 고유코드를 등록하는 과정을 도시한 도면이다.
도 8은 본 발명의 실시 방법에 따라 사용자 소유 근거리장치의 칩모듈에서 송출한 단방향 무선신호를 이용한 결제 요청 과정을 도시한 도면이다.
도 9는 본 발명의 일 실시 방법에 따라 사용자 소유 무선단말로 근거리장치의 칩모듈에서 생성한 인증코드를 이용한 결제 확인 과정을 도시한 도면이다.
도 10은 본 발명의 다른 일 실시 방법에 따라 사용자 소유 무선단말로 근거리장치의 칩모듈에서 생성한 인증코드를 이용한 결제 확인 과정을 도시한 도면이다.
도 11은 본 발명의 실시 방법에 따라 사용자 소유 근거리장치의 칩모듈에서 송출한 단방향 무선신호와 사용자 소유 무선단말과 근거리장치의 칩모듈 간 양방향 근거리 통신을 결합한 결제 처리 과정을 도시한 도면이다.1 is a diagram showing a configuration of a settlement processing system using a user-owned short range device according to an embodiment of the present invention.
2 is a diagram showing a functional configuration of a short range device according to an embodiment of the present invention.
3 is a diagram illustrating a functional configuration of a user-possessed wireless terminal according to an embodiment of the present invention.
4 is a diagram illustrating a configuration of an operation server that processes a payment using a user-owned local device in cooperation with a user-owned wireless terminal according to an embodiment of the present invention.
5 is a diagram illustrating an operation procedure of a short range device according to an embodiment of the present invention.
6 is a diagram illustrating a bidirectional short-range communication connection procedure between a user's local device and a user's wireless terminal according to an embodiment of the present invention.
7 is a diagram illustrating a process of registering a unique code transmitted through a unidirectional wireless signal in a chip module of a user-owned short range device according to an embodiment of the present invention.
8 is a diagram illustrating a payment request process using a unidirectional wireless signal transmitted from a chip module of a user-owned short range device according to an embodiment of the present invention.
9 is a flowchart illustrating a payment confirmation process using an authentication code generated by a chip module of a local device to a user-possessed wireless terminal according to an embodiment of the present invention.
10 is a diagram illustrating a payment confirmation process using an authentication code generated by a chip module of a local device to a user-possessed wireless terminal according to another embodiment of the present invention.
11 is a view showing a settlement process of combining a unidirectional wireless signal transmitted from a chip module of a user-owned local device and a bidirectional local communication between a user-owned wireless terminal and a chip module of the local device according to an embodiment of the present invention.
이하 첨부된 도면과 설명을 참조하여 본 발명의 바람직한 실시예에 대한 동작 원리를 상세히 설명한다. 다만, 하기에 도시되는 도면과 후술되는 설명은 본 발명의 특징을 효과적으로 설명하기 위한 여러 가지 방법 중에서 바람직한 실시 방법에 대한 것이며, 본 발명이 하기의 도면과 설명만으로 한정되는 것은 아니다.The operation principle of the preferred embodiment of the present invention will be described in detail with reference to the accompanying drawings and description. It should be understood, however, that the drawings and the following detailed description are exemplary and explanatory and are intended to provide further explanation of the invention, and are not to be construed as limiting the present invention.
즉, 하기의 실시예는 본 발명의 수 많은 실시예 중에 바람직한 합집합 형태의 실시예 예에 해당하며, 하기의 실시예에서 특정 구성(또는 단계)를 생략하는 실시예, 또는 특정 구성(또는 단계)에 구현된 기능을 특정 구성(또는 단계)로 분할하는 실시예, 또는 둘 이상의 구성(또는 단계)에 구현된 기능을 어느 하나의 구성(또는 단계)에 통합하는 실시예, 특정 구성(또는 단계)의 동작 순서를 교체하는 실시예 등은, 하기의 실시예에서 별도로 언급하지 않더라도 모두 본 발명의 권리범위에 속함을 명백하게 밝혀두는 바이다. 따라서 하기의 실시예를 기준으로 부분집합 또는 여집합에 해당하는 다양한 실시예들이 본 발명의 출원일을 소급받아 분할될 수 있음을 분명하게 명기하는 바이다.In other words, the following embodiments correspond to the preferred embodiment of the preferred embodiment of the present invention. In the following embodiments, a specific configuration (or step) is omitted, or a specific configuration (or step) (Or steps), or an embodiment that incorporates functions implemented in more than one configuration (or step) into any one configuration (or step), a particular configuration (or step) It will be apparent that the present invention is not limited to the embodiments described below. Therefore, it should be clearly stated that various embodiments corresponding to subsets or combinations based on the following embodiments can be subdivided based on the filing date of the present invention.
또한, 하기에서 본 발명을 설명함에 있어 관련된 공지 기능 또는 구성에 대한 구체적인 설명이 본 발명의 요지를 불필요하게 흐릴 수 있다고 판단되는 경우에는 그 상세한 설명을 생략할 것이다. 그리고 후술되는 용어들은 본 발명에서의 기능을 고려하여 정의된 용어들로서, 이는 사용자, 운용자의 의도 또는 관례 등에 따라 달라질 수 있다. 그러므로 그 정의는 본 발명에서 전반에 걸친 내용을 토대로 내려져야 할 것이다.In the following description of the present invention, a detailed description of known functions and configurations incorporated herein will be omitted when it may make the subject matter of the present invention rather unclear. The terms used below are defined in consideration of the functions of the present invention, which may vary depending on the user, intention or custom of the operator. Therefore, the definition should be based on the contents throughout the present invention.
결과적으로, 본 발명의 기술적 사상은 청구범위에 의해 결정되며, 이하 실시예는 진보적인 본 발명의 기술적 사상을 본 발명이 속하는 기술분야에서 통상의 지식을 가진 자에게 효율적으로 설명하기 위한 일 수단일 뿐이다.As a result, the technical idea of the present invention is determined by the claims, and the following embodiments are merely means for effectively explaining the technical idea of the present invention to a person having ordinary skill in the art to which the present invention belongs Only.
도면1은 본 발명의 실시 방법에 따라 사용자 소유의 근거리장치(200)를 이용한 결제 처리 시스템 구성을 도시한 도면이다.1 is a diagram showing a configuration of a settlement processing system using a user-owned short range device 200 according to an embodiment of the present invention.
보다 상세하게 본 도면1은 단방향 무선신호 송출 기능과 양방향 근거리 통신 기능을 다중 구비한 칩모듈(230)을 탑재한 근거리장치(200)를 소유한 사용자의 무선단말(300)을 이용하여 상기 근거리장치(200)에서 송출하는 단방향 무선신호를 인식한 결제장치(100)에서 요청되는 결제를 처리하도록 하는 시스템의 구성을 도시한 것으로서, 본 발명이 속한 기술분야에서 통상의 지식을 가진 자라면, 본 도면1을 참조 및/또는 변형하여 근거리장치(200)를 이용한 결제 처리 시스템의 구성에 대한 다양한 실시 방법(예컨대, 일부 구성부가 생략되거나, 또는 세분화되거나, 또는 합쳐진 실시 방법)을 유추할 수 있을 것이나, 본 발명은 상기 유추되는 모든 실시 방법을 포함하여 이루어지며, 본 도면1에 도시된 실시 방법만으로 그 기술적 특징이 한정되지 아니한다.1 is a block diagram showing a configuration of a short-range wireless communication system using a wireless terminal 300 of a user possessing a short-distance device 200 equipped with a chip module 230 having a unidirectional wireless signal transmitting function and a bidirectional short- (100) that recognizes a unidirectional wireless signal transmitted from the unidirectional wireless terminal (200). If a person skilled in the art is familiar with the present invention, 1 may be referenced and / or modified to infer various implementations of the configuration of the payment processing system using the local device 200 (e.g., some of the components may be omitted, or broken down or combined) The present invention includes all of the above-described embodiments, and the technical features of the present invention are not limited only by the method shown in FIG.
본 발명의 시스템은, 단방향 무선신호 송출 기능과 양방향 근거리 통신 기능을 다중 구비한 칩모듈(230)을 탑재한 사용자 소유의 근거리장치(200)와, 상기 칩모듈(230)을 탑재한 근거리장치(200)를 소유한 사용자가 소유한 무선단말(300)과, 상기 사용자 소유 근거리장치(200)의 칩모듈(230)에서 송출하는 단방향 무선신호를 인식하여 상기 근거리장치(200)를 소유한 사용자에게 소정의 결제를 요청하는 결제장치(100)와, 지정된 경로를 경유하여 상기 결제장치(100) 및/또는 상기 사용자 소유 무선단말(300)과 통신하는 운영서버(400)를 포함하여 이루어진다. 상기 운영서버(400)는 적어도 하나의 서버 또는 둘 이상의 서버 조합의 형태로 구현될 수 있으며, 상기 운영서버(400)를 구현하는 방식에 의해 본 발명이 한정되지 아니한다. 한편 상기 운영서버(400)를 둘 이상의 서버 조합의 형태로 구현하는 경우 각 서버는 상호 연계된 둘 이상의 사업자가 운영하는 서버일 수 있으며, 이에 의해 본 발명이 한정되지 아니한다. 본 발명에 따른 근거리장치(200) 인증은 상기 사용자의 근거리장치(200)를 지정된 운영서버(400)에 등록하는 과정과 연동하여 수행되거나, 또는 사용자의 무선단말(300)에서 근거리장치(200)를 관리 및 운영하는 과정과 연동하여 수행될 수 있다.The system of the present invention includes a user-owned short range device 200 equipped with a chip module 230 having a unidirectional radio signal transmitting function and a bidirectional short distance communication function, and a short range device 200 mounted with the chip module 230 The wireless terminal 300 owned by the user who owns the local device 200 recognizes the unidirectional wireless signal transmitted from the chip module 230 of the user's owned local device 200 and transmits the unidirectional wireless signal to the user A settlement apparatus 100 for requesting a predetermined settlement and an operation server 400 for communicating with the settlement apparatus 100 and / or the user-owned wireless terminal 300 via a designated path. The operating server 400 may be implemented as at least one server or a combination of two or more servers, and the present invention is not limited by the manner in which the operating server 400 is implemented. If the operating server 400 is implemented in the form of a combination of two or more servers, each server may be a server operated by two or more operators connected to each other, and thus the present invention is not limited thereto. Authentication of the local device 200 according to the present invention may be performed in conjunction with the process of registering the local device 200 of the user with the designated operation server 400 or may be performed by the local device 200, And can be carried out in conjunction with the process of managing and operating.
상기 근거리장치(200)는 무선신호를 수신할 대상을 특정하지 않고 불특정 대상으로 단방향 무선신호를 송출하는 기능을 구비한 칩모듈(230)을 탑재한 장치의 총칭으로서, 바람직하게 상기 근거리장치(200)의 칩모듈(230)은 상기 단방향 무선신호 송출 기능과 함께 상기 근거리장치(200)를 소유한 사용자 소유 무선단말(300)과 양방향 근거리 통신을 처리하는 양방향 근거리 통신 기능을 다중 구비하여 이루어지는 것이 바람직하다.The short range device 200 is a general term for a device equipped with a chip module 230 having a function of transmitting a unidirectional radio signal to an unspecified target without specifying an object to receive the radio signal. Preferably, the short range device 200 It is preferable that the chip module 230 of the mobile terminal 300 has a function of transmitting the unidirectional radio signal and a bidirectional local area communication function for processing the bidirectional local area communication with the user's own wireless terminal 300 possessing the local device 200 Do.
상기 근거리장치(200)의 칩모듈(230)은 불특정 대상으로 단방향 무선신호를 송출하는 기능을 기본 구비하며, 상기 근거리장치(200)를 소유한 사용자 소유 무선단말(300)을 식별하여 상기 사용자의 무선단말(300)과 양방향 근거리 통신하는 기능을 다중 구비한다. 상기 칩모듈(230)의 단방향 무선신호는 대상을 특정하지 않고 송출되기 때문에 상기 사용자의 무선단말(300)로 수신됨을 물론, 상기 단방향 무선신호의 수신 범위(예컨대, 30m 내외, 최대 100m)에 존재하는 적어도 하나의 신호수신장치로도 수신될 수 있다. 본 발명의 실시 방법에 따르면, 상기 신호수신장치는 상기 단방향 무선신호를 인식하여 상기 근거리장치(200)를 소유한 사용자에게 소정의 결제를 요청하는 결제장치(100)를 포함하여 이루어진다.The chip module 230 of the short range device 200 is basically provided with a function of transmitting a unidirectional radio signal to an unspecified target and identifies the wireless terminal 300 owned by the user possessing the short range device 200, Directional short distance communication with the wireless terminal 300. [ Since the unidirectional radio signal of the chip module 230 is transmitted without specifying an object, the unidirectional radio signal of the unidirectional radio signal is not received by the user's wireless terminal 300 but is present within a reception range of the unidirectional radio signal Or at least one signal receiving device for receiving the signal. According to an embodiment of the present invention, the signal receiving apparatus includes a settlement apparatus 100 for recognizing the unidirectional radio signal and requesting a user who owns the short range device 200 to make a predetermined settlement.
본 발명의 제1 근거리장치(200) 실시예에 따르면, 상기 근거리장치(200)의 칩모듈(230)은 블루투스(Bluetooth) 기반의 단방향 무선신호(예컨대, 블루투스 기반의 비콘 신호)를 송출(Broadcasting)하는 단방향 무선신호 송출 기능을 구비하며, 상기 근거리장치(200)를 소유한 사용자 소유 무선단말(300)을 식별 또는 페어링하여 상기 사용자 소유 무선단말(300)과 블루투스 기반의 양방향 근거리 무선 통신을 처리하는 양방향 근거리 통신 기능을 다중 구비할 수 있다.The chip module 230 of the short range device 200 may transmit a Bluetooth based unidirectional wireless signal (e.g., a Bluetooth-based beacon signal) Way wireless radio communication with the user-possessed wireless terminal 300 by identifying or pairing the user-owned wireless terminal 300 possessing the near-field device 200 with the unidirectional wireless signal transmission function Way two-way communication function.
본 발명의 제2 근거리장치(200) 실시예에 따르면, 상기 근거리장치(200)의 칩모듈(230)은 블루투스 기반의 단방향 무선신호(예컨대, 블루투스 기반의 비콘 신호)를 송출하는 단방향 무선신호 송출 기능을 구비하며, 상기 근거리장치(200)를 소유한 사용자 소유 무선단말(300)과 케이블 연결되어 USB(Universal Serial Bus) 기반의 양방향 근거리 케이블 통신을 처리하는 양방향 근거리 통신 기능을 다중 구비할 수 있다.According to the second embodiment of the present invention, the chip module 230 of the short range device 200 transmits a unidirectional wireless signal for transmitting a Bluetooth-based unidirectional wireless signal (for example, a Bluetooth-based beacon signal) Directional short-range communication function for processing a bidirectional short-range cable communication based on USB (Universal Serial Bus), which is connected to a cable with a user-owned wireless terminal 300 possessing the short range device 200 .
그러나 본 발명의 근거리장치(200)에 탑재되는 칩모듈(230)의 양방향 근거리 통신 기능과 단방향 무선신호 송출 기능이 상기의 실시예로 한정되는 것은 아님을 명백하게 밝혀두는 바이다. 상기 칩모듈(230)의 양방향 근거리 통신 기능은 근거리에 위치하는 사용자의 무선단말(300)과 직접 통신세션을 형성하여 양방향 데이터 통신이 가능하면 족하고, 상기 칩모듈(230)의 단방향 무선신호는 대상을 특정하지 않고 근거리에 위치하는 사용자의 무선단말(300) 내지 근거리에 위치하는 각종 신호수신장치로 도달할 수 있는 무선신호라면 족하다. 즉, 본 발명의 칩모듈(230)에 구현되는 양방향 근거리 통신 기능과 단방향 무선신호 송출 기능은 특정 통신 규격이나 신호 규격에 의해 제한되지 아니하며, 상기의 조건을 만족한다면 어떤 방식이 채용되더라도 본 발명의 권리범위에 속함을 명백하게 밝혀두는 바이다.However, it should be apparent that the bidirectional local communication function and the unidirectional radio signal transmission function of the chip module 230 mounted in the short range device 200 of the present invention are not limited to the above embodiments. The bi-directional local communication function of the chip module 230 may establish a direct communication session with a user's wireless terminal 300 located at a nearby location to enable bidirectional data communication. It may be a radio signal that can be reached to the various signal receiving apparatuses located in the vicinity of the wireless terminal 300 of the user located at a short distance without specifying. That is, the bi-directional short-range communication function and the unidirectional radio signal transmission function implemented in the chip module 230 of the present invention are not limited by a specific communication standard or signal standard. Even if any method is adopted, It is clear that it belongs to the scope of the right.
상기 근거리장치(200)는 사용자가 휴대하거나 적어도 사용자와 함께 이동 가능하며, 상기 근거리장치(200)의 칩모듈(230)에서 송출하는 단방향 무선신호는 사용자가 접근하는 각종 신호수신장치로 수신/인식된다.The short-range wireless signal transmitted from the chip module 230 of the short range wireless device 200 may be received / recognized by various signal receiving devices accessed by the user, do.
본 발명의 제1 단방향 무선신호 송출 실시예에 따르면, 상기 근거리장치(200)의 칩모듈(230)은 상기 근거리장치(200)의 칩모듈(230)에 고유 저장된 고유코드를 포함하는 단방향 무선신호를 송출할 수 있다.According to the first unidirectional radio signal transmission embodiment of the present invention, the chip module 230 of the short range device 200 transmits a unidirectional radio signal including a unique code unique to the chip module 230 of the short range device 200 Can be transmitted.
본 발명의 제2 단방향 무선신호 송출 실시예에 따르면, 상기 근거리장치(200)의 칩모듈(230)은 상기 근거리장치(200)의 칩모듈(230)과 양방향 근거리 통신하는 사용자 소유 무선단말(300)에서 제공한 고유한 고유코드를 포함하는 단방향 무선신호를 송출할 수 있다. 이 경우 상기 근거리장치(200)의 칩모듈(230)에 고유한 코드가 저장되어 있더라도 상기 근거리장치(200)의 칩모듈(230)은 사용자 소유 무선단말(300)에서 제공한 고유한 고유코드를 포함하는 단방향 무선신호를 송출할 수 있다.The chip module 230 of the short range device 200 may transmit the second unidirectional wireless signal to the user's owned wireless terminal 300 which performs bidirectional short distance communication with the chip module 230 of the short range device 200. [ And transmits the unidirectional radio signal including the inherent unique code provided by the base station. In this case, even if a code unique to the chip module 230 of the short range device 200 is stored, the chip module 230 of the short range device 200 transmits a unique code provided by the user- Directional wireless signal including the one-way radio signal.
본 발명의 제3 단방향 무선신호 송출 실시예에 따르면, 상기 근거리장치(200)의 칩모듈(230)은 상기 근거리장치(200)의 칩모듈(230)에 고유 저장된 고유코드와 상기 근거리장치(200)의 칩모듈(230)에서 생성한 인증코드를 포함하는 단방향 무선신호를 송출할 수 있다. 여기서, 상기 근거리장치(200)의 칩모듈(230)에서 생성한 인증코드는 상기 근거리장치(200)의 칩모듈(230)에 구비된 정보와 상기 칩모듈(230)에서 동적 결정된 정보와 양방향 근거리 통신을 통해 사용자 소유 무선단말(300)의 프로그램(325)으로부터 제공받은 정보 중 하나 이상의 정보를 씨드로 이용하여 동적 생성한 일회용코드, 상기 근거리장치(200)의 칩모듈(230)에 구비된 정보와 상기 칩모듈(230)에서 동적 결정된 정보와 양방향 근거리 통신을 통해 사용자 소유 무선단말(300)의 프로그램(325)으로부터 제공받은 정보 중 하나 이상의 정보를 지정된 운영서버(400)를 통해 복호화 가능하게 암호화한 암호코드, 상기 근거리장치(200)의 칩모듈(230)에 구비된 인증서를 이용하여 상기 칩모듈(230)에 구비된 정보와 상기 칩모듈(230)에서 동적 결정된 정보와 양방향 근거리 통신을 통해 사용자 소유 무선단말(300)의 프로그램(325)으로부터 제공받은 정보 중 하나 이상의 정보를 전자서명한 서명코드 중 적어도 하나의 코드를 포함할 수 있다.The chip module 230 of the short range device 200 transmits a unique code unique to the chip module 230 of the short range device 200 and the unique code stored in the short range device 200 Way wireless signal including the authentication code generated by the chip module 230 of the mobile communication terminal 100. [ The authentication code generated by the chip module 230 of the short range device 200 is transmitted to the short range device 200 through information provided in the chip module 230 of the short range device 200 and information dynamically determined by the chip module 230, A disposable code dynamically generated by using one or more pieces of information provided from the program 325 of the user-owned wireless terminal 300 as a seed through communication, information on the chip module 230 of the short- And one or more pieces of information dynamically determined in the chip module 230 and information provided from the program 325 of the user-owned wireless terminal 300 through bidirectional local area communication in a decryptable manner through the designated operation server 400 The information provided in the chip module 230, the information dynamically determined in the chip module 230, and the information in the bi-directional short- Via God's possession, may include a digital signature of a signature code at least one code at least one of the information received from the information providing program 325 of wireless terminal 300.
본 발명의 제4 단방향 무선신호 송출 실시예에 따르면, 상기 근거리장치(200)의 칩모듈(230)은 상기 근거리장치(200)의 칩모듈(230)과 양방향 근거리 통신하는 사용자 소유 무선단말(300)에서 제공한 고유한 고유코드와 상기 근거리장치(200)의 칩모듈(230)에서 생성한 인증코드를 포함하는 단방향 무선신호를 송출할 수 있다. 여기서, 상기 근거리장치(200)의 칩모듈(230)에서 생성한 인증코드는 상기 근거리장치(200)의 칩모듈(230)에 구비된 정보와 상기 칩모듈(230)에서 동적 결정된 정보와 양방향 근거리 통신을 통해 사용자 소유 무선단말(300)의 프로그램(325)으로부터 제공받은 정보 중 하나 이상의 정보를 씨드로 이용하여 동적 생성한 일회용코드, 상기 근거리장치(200)의 칩모듈(230)에 구비된 정보와 상기 칩모듈(230)에서 동적 결정된 정보와 양방향 근거리 통신을 통해 사용자 소유 무선단말(300)의 프로그램(325)으로부터 제공받은 정보 중 하나 이상의 정보를 지정된 운영서버(400)를 통해 복호화 가능하게 암호화한 암호코드, 상기 근거리장치(200)의 칩모듈(230)에 구비된 인증서를 이용하여 상기 칩모듈(230)에 구비된 정보와 상기 칩모듈(230)에서 동적 결정된 정보와 양방향 근거리 통신을 통해 사용자 소유 무선단말(300)의 프로그램(325)으로부터 제공받은 정보 중 하나 이상의 정보를 전자서명한 서명코드 중 적어도 하나의 코드를 포함할 수 있다.The chip module 230 of the short range device 200 is connected to the user owned wireless terminal 300 which performs bi-directional short distance communication with the chip module 230 of the short range device 200 according to the fourth unidirectional wireless signal transmission embodiment of the present invention. And transmits the unidirectional radio signal including the unique code provided by the local device 200 and the authentication code generated by the chip module 230 of the local device 200. [ The authentication code generated by the chip module 230 of the short range device 200 is transmitted to the short range device 200 through information provided in the chip module 230 of the short range device 200 and information dynamically determined by the chip module 230, A disposable code dynamically generated by using one or more pieces of information provided from the program 325 of the user-owned wireless terminal 300 as a seed through communication, information on the chip module 230 of the short- And one or more pieces of information dynamically determined in the chip module 230 and information provided from the program 325 of the user-owned wireless terminal 300 through bidirectional local area communication in a decryptable manner through the designated operation server 400 The information provided in the chip module 230, the information dynamically determined in the chip module 230, and the information in the bi-directional short- Via God's possession, may include a digital signature of a signature code at least one code at least one of the information received from the information providing program 325 of wireless terminal 300.
본 발명의 제5 단방향 무선신호 송출 실시예에 따르면, 상기 근거리장치(200)의 칩모듈(230)은 상기 제1 내지 제4 단방향 무선신호 송출 실시예 중 하나 이상을 부분적으로 선택 또는 조합한 형태로 고유코드 및/또는 인증코드를 단방향 무선신호를 송출할 수 있으며, 본 발명은 상기 실시예를 변형하여 도출 가능한 모든 실시예를 권리범위로 포함함을 명백하게 밝혀두는 바이다.According to the fifth embodiment of the present invention, the chip module 230 of the short range device 200 may partially or wholly select one or more of the first to fourth unidirectional radio signal transmission examples It is possible to transmit a unique code and / or an authentication code in a unidirectional radio signal to the mobile terminal, and the present invention clearly encompasses all embodiments that can be derived by modifying the embodiment as a scope of right.
상기 근거리장치(200)는 단방향 무선신호를 송출하는 중에서 사용자 소유 무선단말(300)과 양방향 근거리 통신 가능한 상태를 적어도 일정 시간 동안 유지하며, 상기 근거리장치(200)의 칩모듈(230)은 상기 양방향 근거리 통신을 통해 상기 칩모듈(230)에서 생성한 인증코드를 상기 사용자 소유 무선단말(300)로 전송할 수 있다. 바람직하게, 상기 근거리장치(200)의 칩모듈(230)에서 상기 제1 내지 제5 단방향 무선신호 송출 실시예를 통해 송출한 단방향 무선신호가 특정한 결제장치(100)를 통해 수신/인식되고, 상기 결제장치(100)에서 상기 단방향 무선신호를 통해 인식된 고유코드를 포함하는 결제요청정보를 지정된 운영서버(400)로 전송한 경우, 상기 근거리장치(200)의 칩모듈(230)은 상기 양방향 근거리 통신을 통해 상기 칩모듈(230)에서 생성한 인증코드를 상기 사용자 소유 무선단말(300)로 전송(예컨대, 양방향 근거리 통신을 통한 무선단말(300)의 요청에 반응하여 상기 양방향 근거리 통신을 통해 상기 칩모듈(230)에서 생성한 인증코드를 무선단말(300)로 전송)할 수 있다. 만약 상기 근거리장치(200)의 칩모듈(230)에서 상기 제3 또는 제4 단방향 무선신호 송출 실시예에 따라 단방향 무선신호에 상기 인증코드를 포함하여 송출한 경우, 상기 근거리장치(200)의 칩모듈(230)은 상기 단방향 무선신호에 포함시켜 송출한 인증코드를 상기 양방향 근거리 통신을 통해 상기 무선단말(300)로 전송할 수 있다.The short range device 200 maintains a state in which bi-directional short distance communication with the user-owned wireless terminal 300 is allowed for at least a certain period of time during the transmission of the unidirectional radio signal and the chip module 230 of the short range device 200 transmits the bi- And transmit the authentication code generated by the chip module 230 to the user-possessed wireless terminal 300 through short-range communication. Preferably, the unidirectional radio signal transmitted through the first to fifth unidirectional radio signal transmitting embodiments is received / recognized by the specific payment device 100 in the chip module 230 of the short range device 200, The chip module 230 of the short range device 200 transmits the settlement request information including the unique code recognized through the unidirectional wireless signal to the designated operation server 400 in the payment device 100, Directional short-range communication in response to a request from the wireless terminal 300 through bidirectional local area communication to the user-possessed wireless terminal 300 via the communication channel And transmit the authentication code generated by the chip module 230 to the wireless terminal 300). If the chip module 230 of the short range wireless device 200 transmits the unidirectional wireless signal including the authentication code according to the third or fourth unidirectional wireless signal transmission embodiment, The module 230 may transmit the authentication code included in the unidirectional wireless signal to the wireless terminal 300 through the bidirectional local area communication.
한편 본 발명을 구현하는 일 실시예에 따르면, 상기 근거리장치(200)는 사용자가 운행하는 차량의 시가잭 삽입구에 삽입 가능한 시가잭장치를 포함할 수 있다. 이 경우 상기 시가잭장치는 사용자가 운행하는 차량의 시가잭 삽입구에 삽입된 상태로 사용자(또는 차량)과 함께 이동하며, 상기 시가잭장치의 칩모듈(230)에서 송출하는 단방향 무선신호는 상기 차량의 이동에 의해 상기 단방향 무선신호의 유효 범위 이내로 접근하는 각종 신호수신장치로 수신될 수 있다. 본 발명의 실시 방법에 따르면, 상기 신호수신장치는 상기 단방향 무선신호를 인식하여 상기 근거리장치(200)를 소유한 사용자에게 소정의 결제를 요청하는 결제장치(100)를 포함하여 이루어진다. 그러나 본 발명을 구현하는 실시예가 상기 시가잭장치로 한정되는 것은 아니며, 사용자와 함께 이동 가능하며 양방향 근거리 통신 기능과 단방향 무선신호 송출 기능을 다중 구비한 장치라면 어떠한 장치를 통해서도 본 발명이 구현될 수 있음을 명백하게 밝혀두는 바이다. 이하 편의상 상기 근거리장치(200)가 시가잭장치인 실시예를 위주로 본 발명의 기술적 특징을 상세히 설명하기로 한다.According to an embodiment of the present invention, the short range device 200 may include a cigar jack device that can be inserted into a cigar jack insertion port of a vehicle that the user is operating. In this case, the cigar jack device moves together with the user (or vehicle) in a state where the cigar jack device is inserted into the cigar jack insertion port of the vehicle that the user operates, and the unidirectional radio signal transmitted from the chip module 230 of the cigar jack device To the various signal receiving apparatuses which are within the effective range of the unidirectional radio signal. According to an embodiment of the present invention, the signal receiving apparatus includes a settlement apparatus 100 for recognizing the unidirectional radio signal and requesting a user who owns the short range device 200 to make a predetermined settlement. However, the embodiment implementing the present invention is not limited to the cigar jack device, and the present invention can be implemented by any device as long as it is movable together with the user and has both bidirectional local communication function and unidirectional radio signal transmission function. . Hereinafter, the technical features of the present invention will be described in detail with reference to an embodiment in which the short range device 200 is a cigar jack device.
상기 사용자 소유 무선단말(300)은 상기 근거리장치(200)를 소유한 사용자가 이용하는 무선통신기기의 총칭으로서, 바람직하게 지정된 통신망에 접속하는 망 통신 기능을 구비한다. 본 발명의 실시 방법에 따르면, 상기 무선단말(300)은 상기 근거리장치(200)의 칩모듈(230)과 적어도 하나의 양방향 데이터 통신을 처리하는 양방향 근거리 통신 기능 및/또는 상기 근거리장치(200)의 칩모듈(230)에서 송출하는 단방향 무선신호를 수신하는 단방향 무선신호 수신 기능을 구비할 수 있다. 예를들어, 상기 사용자의 무선단말(300)은 상기 망 통신 기능과 양방향 근거리 통신 기능 및 단방향 무선신호 수신 기능을 구비한 사용자 소지(또는 소유)의 휴대폰, 스마트폰, 태블릿PC 등을 적어도 하나 포함할 수 있다.The user-owned wireless terminal 300 is a collective term for a wireless communication device used by a user who owns the short range device 200, and preferably has a network communication function for connecting to a designated communication network. According to an embodiment of the present invention, the wireless terminal 300 includes a bidirectional local communication function for processing at least one bi-directional data communication with the chip module 230 of the short range device 200 and / And a unidirectional radio signal receiving function for receiving a unidirectional radio signal transmitted from the chip module 230 of the base station. For example, the user's wireless terminal 300 may include at least one user's mobile phone (smartphone, tablet PC, etc.) having the network communication function, bidirectional local communication function, and unidirectional wireless signal receiving function can do.
본 발명의 실시 방법에 따르면, 상기 사용자의 무선단말(300)에는 상기 무선단말(300)의 망 통신 기능을 이용하여 지정된 운영서버(400)와 통신(예컨대, 통신망을 경유하여 운영서버(400)와 통신채널을 연결, 또는 지정된 중계서버를 경유하여 운영서버(400)와 중계 통신)하고, 상기 무선단말(300)의 양방향 근거리 통신 기능을 이용하여 근거리장치(200)의 칩모듈(230)과 양방향 데이터 통신 절차를 수행하며, 상기 무선단말(300)의 단방향 무선신호 수신 기능을 이용하여 근거리장치(200)의 칩모듈(230)에서 송출한 단방향 무선신호를 인식하는 절차를 수행하는 프로그램코드를 포함하는 프로그램(325)이 설치 실행된다.According to an embodiment of the present invention, the user's wireless terminal 300 can communicate with a designated operation server 400 using a network communication function of the wireless terminal 300 (for example, an operation server 400 via a communication network) And communicates with the chip module 230 of the short range device 200 by using the bi-directional short distance communication function of the wireless terminal 300 A program code for performing a bidirectional data communication procedure and performing a procedure for recognizing a unidirectional wireless signal transmitted from the chip module 230 of the short range device 200 using the unidirectional wireless signal reception function of the wireless terminal 300 A program 325 including the program is installed and executed.
본 발명의 실시 방법에 따르면, 상기 사용자 소유 무선단말(300)의 프로그램(325)은 상기 무선단말(300)의 망 통신 기능을 이용하여 지정된 운영서버(400)로 사용자 소유 근거리장치(200)에서 단방향 무선신호를 통해 송출하는 고유코드와, 상기 근거리장치(200)를 소유한 사용자 소유 무선단말(300)(또는 무선단말(300)의 프로그램(325))을 고유 식별하는 고유정보를 등록할 수 있으며, 상기 운영서버(400)는 상기 고유코드와 고유정보를 매핑하여 저장할 수 있다. 실시 방법에 따라 상기 무선단말(300)의 프로그램(325)은 상기 근거리장치(200)(또는 무선단말(300))을 소유한 사용자에 대한 사용자정보를 상기 운영서버(400)로 등록할 수 있으며, 상기 운영서버(400)는 상기 사용자정보를 상기 고유코드 및/또는 고유정보와 매핑하여 저장할 수 있다.According to the embodiment of the present invention, the program 325 of the user-possessed wireless terminal 300 is transmitted to the designated operation server 400 using the network communication function of the wireless terminal 300 A unique code transmitted through a unidirectional wireless signal and unique information for uniquely identifying the wireless terminal 300 (or the program 325 of the wireless terminal 300) possessed by the user who owns the local device 200 can be registered And the operation server 400 may store the unique code and unique information by mapping the unique code. The program 325 of the wireless terminal 300 may register the user information for the user who owns the local device 200 (or the wireless terminal 300) to the operation server 400 , The operation server 400 may map the user information to the unique code and / or unique information and store the unique information.
한편 실시 방법에 따라 상기 사용자 소유 무선단말(300)의 프로그램(325)은 상기 근거리장치(200)의 칩모듈(230)에서 생성할 인증코드의 유효성을 인증받기 위한 인증규칙의 적어도 일부 정보(예컨대, 씨드 값)를 설정하여 상기 운영서버(400)로 제공할 수 있으며, 상기 운영서버(400)는 상기 무선단말(300)의 프로그램(325)으로부터 제공받은 일부 정보 및/또는 운영서버(400)에서 자체적으로 결정한 정보 등을 이용하여 상기 근거리장치(200)의 칩모듈(230)에서 생성할 인증코드의 유효성을 인증받기 위한 인증규칙을 구성하여 상기 고유코드 및/또는 고유정보와 매핑하여 저장할 수 있다.Meanwhile, the program 325 of the user-possessed wireless terminal 300 according to an embodiment of the present invention may include at least some information (for example, the authentication code) of the authentication rule for authenticating the validity of the authentication code to be generated by the chip module 230 of the short- The operating server 400 may provide some information provided from the program 325 of the wireless terminal 300 and / or a part of the information provided from the operation server 400 to the operating server 400, An authentication rule for authenticating the validity of an authentication code to be generated by the chip module 230 of the short range device 200 may be configured using the information determined by itself in the local device 200 and may be mapped to the unique code and / have.
한편 실시 방법에 따라 상기 사용자 소유 무선단말(300)의 프로그램(325)은 상기 사용자의 결제수단(예컨대, 신용카드, 체크카드, 금융계좌, 선불카드, 전자화폐 등)에 대응하는 결제수단정보를 입력받아 등록하는 절차를 수행할 수 있으며, 상기 결제수단정보는 지정된 보안매체에 등록 저장된다. 상기 보안매체는 상기 운영서버(400) 내에 구현(예컨대, 금융계좌, 전자화폐 등의 결제수단에 대응하는 결제수단정보는 운영서버(400) 내의 보안매체에 등록 가능)되거나, 또는 상기 사용자에게 상기 결제수단정보에 대응하는 결제수단(예컨대, 신용카드, 체크카드 등)를 발급한 발급사에 구현될 수 있다. 바람직하게, 상기 결제수단정보는 상기 고유코드 및/또는 고유정보와 매핑되어 상기 보안매체에 등록되는 것이 바람직하다.Meanwhile, the program 325 of the user-possessed wireless terminal 300 according to an embodiment of the present invention may include payment means information corresponding to the payment means (e.g., credit card, check card, financial account, prepaid card, electronic money, etc.) And the payment means information is registered and stored in the designated security medium. The security medium may be implemented in the operation server 400 (for example, the payment means information corresponding to a payment means such as a financial account or an electronic money can be registered in a security medium in the operation server 400) (E.g., a credit card, a check card, etc.) corresponding to the payment means information. Preferably, the payment means information is mapped with the unique code and / or unique information and is registered in the secure medium.
상기 결제장치(100)는 상기 근거리장치(200)의 칩모듈(230)에서 송출하는 단방향 무선신호를 수신하는 신호수신장치 중 상기 단방향 무선신호를 근거로 상기 근거리장치(200)를 소유한 사용자에게 소정의 결제를 요청하는 장치의 총칭으로서, 상기 단방향 무선신호를 수신하는 신호수신기를 내장하거나 또는 외장(예컨대, 케이블 연결, 이탈착)할 수 있다. 예를들어, 상기 근거리장치(200)가 시가잭장치인 경우, 상기 결제장치(100)는 주차장에 구비된 주차요금 결제장치(100), 고속도로 톨게이트에 구비된 톨게이트 결제장치(100), 주유소에 구비된 주유요금 결제장치(100) 중 적어도 하나를 포함할 수 있다.The settlement apparatus 100 transmits the unidirectional radio signal to the user who owns the short range device 200 based on the unidirectional radio signal among the signal reception apparatuses receiving the unidirectional radio signal transmitted from the chip module 230 of the short range device 200 As a general term for a device for requesting a predetermined settlement, a signal receiver for receiving the unidirectional radio signal may be built in or externally (for example, cable connection and detachment). For example, when the near-field device 200 is a cigar jack device, the payment device 100 includes a parking bill payment device 100 provided in a parking lot, a toll bill payment device 100 provided in a freeway toll gate, And a bill payment apparatus 100 according to an embodiment of the present invention.
본 발명의 실시 방법에 따르면, 상기 결제장치(100)는 상기 근거리장치(200)의 칩모듈(230)에서 송출하는 단방향 무선신호를 수신하여 상기 단방향 무선신호에 포함된 고유코드를 인식하고, 상기 인식된 고유코드를 포함하는 결제요청정보를 구성하여 지정된 운영서버(400)로 전송한다. 한편 상기 근거리장치(200)의 칩모듈(230)에서 송출하는 단방향 무선신호에 고유코드와 함께 소정의 인증코드가 포함된 경우, 상기 결제장치(100)는 상기 근거리장치(200)의 칩모듈(230)에서 송출하는 단방향 무선신호를 수신하여 상기 단방향 무선신호에 포함된 고유코드와 인증코드를 인식하고, 상기 인식된 고유코드와 인증코드를 포함하는 결제요청정보를 구성하여 지정된 운영서버(400)로 전송할 수 있다.According to an embodiment of the present invention, the settlement apparatus 100 receives a unidirectional radio signal transmitted from the chip module 230 of the short range device 200, recognizes a unique code included in the unidirectional radio signal, And transmits the settlement request information including the recognized unique code to the designated operation server 400. [ Meanwhile, when the unidirectional radio signal transmitted from the chip module 230 of the short range device 200 includes a specific code together with a specific code, the payment device 100 transmits the chip module 230 of the short range device 200 230), recognizes a unique code and an authentication code included in the unidirectional wireless signal, forms billing request information including the recognized unique code and an authentication code, Lt; / RTI >
본 발명의 제1 결제요청정보 실시예에 따르면, 상기 결제장치(100)는 상기 단방향 무선신호를 통해 인식된 고유코드 및/또는 인증코드를 포함하고, 상기 결제장치(100)에서 결정한 결제금액을 포함하는 결제요청정보를 구성하여 지정된 운영서버(400)로 전송할 수 있다. 상기 결제요청정보에 상기 결제금액을 직접 포함하는 실시예는 상기 결제장치(100)에서 결제금액을 산출하거나 입력받는 경우에 적용될 수 있다. 예를들어, 상기 근거리장치(200)가 시가잭장치이고 상기 결제장치(100)가 주차장에 구비된 주차요금 결제장치(100)인 경우 상기 주차요금 결제장치(100)는 상기 시가잭장치가 삽입된 차량의 주차요금을 산출한 후 상기 산출된 주차요금에 대응하는 결제금액을 포함하는 결제요청정보를 구성할 수 있다. 또는 상기 근거리장치(200)가 시가잭장치이고 상기 결제장치(100)가 주유소에 구비된 주유요금 결제장치(100)인 경우 상기 주유요금 결제장치(100)는 상기 시가잭장치가 삽입된 차량에 주유된 연료의 주유요금을 산출한 후 상기 산출된 주유요금에 대응하는 결제금액을 포함하는 결제요청정보를 구성할 수 있다.According to the first payment request information embodiment of the present invention, the settlement apparatus 100 includes a unique code and / or an authentication code recognized through the unidirectional wireless signal, and transmits a payment amount determined by the payment apparatus 100 And may transmit the settlement request information to the designated operation server 400. [ The embodiment in which the settlement amount is directly included in the settlement request information may be applied when the settlement amount is calculated or input in the settlement apparatus 100. For example, if the near-field device 200 is a cigar jack device and the billing apparatus 100 is a parking bill payment apparatus 100 equipped with a parking lot, The payment request information including the payment amount corresponding to the calculated parking fee may be configured. Or when the near device 200 is a cigar jack device and the payment device 100 is a bill payment device 100 provided in a gas station, the bill payment device 100 may be provided with a cigar jack device The billing request information including the billing amount corresponding to the billing charge calculated after calculating the billing charge of the fuel can be configured.
본 발명의 제2 결제요청정보 실시예에 따르면, 상기 결제장치(100)는 상기 단방향 무선신호를 통해 인식된 고유코드 및/또는 인증코드를 포함하고, 지정된 운영서버(400)에서 결제금액을 산출하는데 필요한 금액 산출 파라미터를 포함하는 결제요청정보를 구성하여 지정된 운영서버(400)로 전송할 수 있으며, 상기 운영서버(400)는 상기 금액 산출 파라미터를 이용하여 결제금액을 산출할 수 있다. 상기 결제요청정보에 상기 금액 산출 파라미터를 포함하여 운영서버(400)를 통해 결제금액을 산출하는 실시예는 운영서버(400)의 정책에 따라 사용자에게 지불 요청할 금액이 변경되거나 할인되는 경우에 적용될 수 있다. 예를들어, 상기 근거리장치(200)가 시가잭장치이고 상기 결제장치(100)가 주차장에 구비된 주차요금 결제장치(100)인 경우 상기 주차요금 결제장치(100)는 상기 시가잭장치가 삽입된 차량의 입차 시간과 출차 시간 등의 금액 산출 파라미터를 포함하는 결제요청정보를 구성할 수 있다. 또는 상기 근거리장치(200)가 시가잭장치이고 상기 결제장치(100)가 주유소에 구비된 주유요금 결제장치(100)인 경우 상기 주유요금 결제장치(100)는 상기 시가잭장치가 삽입된 차량에 주유된 연료의 주유량과 주유단가 등의 금액 산출 파라미터를 포함하는 결제요청정보를 구성할 수 있다.According to the second payment request information embodiment of the present invention, the settlement apparatus 100 includes a unique code and / or an authentication code recognized through the unidirectional wireless signal, and calculates a payment amount from the designated operation server 400 And transmits the settlement request information to the designated operation server 400. The operation server 400 can calculate the settlement amount using the amount calculation parameter. The embodiment in which the settlement amount is calculated through the operation server 400 by including the amount calculation parameter in the settlement request information may be applied when the amount to be requested to the user is changed or discounted according to the policy of the operation server 400 have. For example, if the near-field device 200 is a cigar jack device and the billing apparatus 100 is a parking bill payment apparatus 100 equipped with a parking lot, Such as an entrance time and an arrival time, of the payment request information. Or when the near device 200 is a cigar jack device and the payment device 100 is a bill payment device 100 provided in a gas station, the bill payment device 100 may be provided with a cigar jack device And settlement request information including a cost calculation parameter such as a fuel amount of the fuel and a fuel unit price.
본 발명의 제3 결제요청정보 실시예에 따르면, 상기 결제장치(100)는 상기 단방향 무선신호를 통해 인식된 고유코드 및/또는 인증코드를 포함하고, 상기 결제장치(100)에서 결정한 결제요청금액을 포함하는 결제요청정보를 구성하여 지정된 운영서버(400)로 전송할 수 있으며, 상기 운영서버(400)는 지정된 정책(예컨대, 근거리장치(200)를 이용하여 결제하는 경우의 할인율)이나 조건(예컨대, 근거리장치(200)를 소유한 사용자가 보유한 할인쿠폰이나 적립포인트 등의 적용)에 따라 상기 결제요청금액을 조정하여 결제금액을 산출할 수 있다.According to the third embodiment of the payment request information of the present invention, the payment apparatus 100 includes a unique code and / or an authentication code recognized through the unidirectional wireless signal, (For example, a discount rate when making a payment using the short range device 200) or a condition (for example, a discount rate when the user makes a payment using the short range device 200), and transmits the settlement request information to the designated operation server 400. [ , Application of a discount coupon or a credit point held by a user who owns the short range device 200, and the like) to calculate the settlement amount.
본 발명의 제4 결제요청정보 실시예에 따르면, 상기 결제장치(100)는 상기 단방향 무선신호를 통해 인식된 고유코드 및/또는 인증코드를 포함하고, 상기 결제장치(100)에서 결정한 결제요청금액과 지정된 운영서버(400)에서 상기 결제요청금액을 조정하여 실제 지불 요청할 결제금액을 산출하는데 필요한 금액 산출 파라미터(예컨대, 결제장치(100)를 운영하는 거점의 할인 정책 등)를 포함하는 결제요청정보를 구성하여 지정된 운영서버(400)로 전송할 수 있으며, 상기 운영서버(400)는 상기 금액 산출 파라미터를 기반으로 상기 결제요청금액을 조정하여 결제금액을 산출할 수 있다.According to the fourth payment request information embodiment of the present invention, the settlement apparatus 100 includes a unique code and / or an authentication code recognized through the unidirectional wireless signal, and the settlement request amount determined by the settlement apparatus 100 And the payment request information (for example, the discount policy of the base operating the settlement apparatus 100) necessary for calculating the settlement amount to be requested for actual payment by adjusting the settlement request amount at the designated operation server 400 To the designated operation server 400, and the operation server 400 can calculate the settlement amount by adjusting the settlement request amount based on the amount calculation parameter.
본 발명의 제5 결제요청정보 실시예에 따르면, 상기 결제요청정보는 상기 제1 내지 제4 결제요청정보 실시예를 하나 이상 부분적으로 선택 또는 조합한 형태로 구성될 수 있으며, 이를 기반으로 상기 결제요청정보를 수신한 운영서버(400)는 상기 근거리장치(200)를 소유한 사용자에게 지불 요청할 결제금액을 확인할 수 있다.According to an embodiment of the fifth payment request information of the present invention, the payment request information may be configured by partially or wholly selecting the first to fourth embodiments of the payment request information, The operation server 400 receiving the request information can confirm the payment amount to be requested to the user who owns the short range device 200.
상기 운영서버(400)는 상기 근거리장치(200)를 소유한 사용자 소유 무선단말(300)과 통신하거나 및/또는 상기 근거리장치(200)의 칩모듈(230)에서 송출한 단방향 무선신호를 수신하여 결제를 요청하는 결제장치(100)와 통신하는 서버의 총칭으로서, 바람직하게 사용자가 소유한 근거리장치(200)의 칩모듈(230)에서 송출하는 단방향 무선신호에 포함되는 고유코드와 상기 사용자가 소유한 무선단말(300)(또는 무선단말(300)의 프로그램(325))을 고유 식별하는 고유정보를 지정된 저장매체에 매핑하여 관리한다.The operation server 400 receives the unidirectional radio signal transmitted from the chip module 230 of the short range device 200 and / or communicates with the user-owned wireless terminal 300 that owns the short range device 200 A generic name of a server communicating with the settlement apparatus 100 requesting settlement, preferably a unique code included in a unidirectional wireless signal transmitted from the chip module 230 of the short range device 200 owned by the user, And maps unique information that uniquely identifies one wireless terminal 300 (or the program 325 of the wireless terminal 300) to a designated storage medium and manages the unique information.
상기 사용자 소유 근거리장치(200)의 칩모듈(230)에서 송출한 단방향 무선신호가 특정한 결제장치(100)로 수신/인식된 경우, 상기 운영서버(400)는 상기 단방향 무선신호를 수신한 결제장치(100)로부터 상기 단방향 무선신호를 통해 인식된 고유코드를 포함하는 결제요청정보(또는 상기 단방향 무선신호를 통해 인식된 고유코드와 인증코드를 포함하는 결제요청정보)를 수신한다. 상기 결제장치(100)로부터 상기 결제요청정보를 수신한 경우, 상기 운영서버(400)는 상기 고유코드와 매핑된 고유정보를 확인하고, 상기 고유정보에 대응하는 사용자 소유 무선단말(300)의 프로그램(325)으로 상기 사용자가 소유한 근거리장치(200)의 칩모듈(230)에서 생성한 인증코드를 요청(예컨대, 사용자 소유 무선단말(300)의 프로그램(325)으로 상기 근거리장치(200)의 칩모듈(230)에서 생성한 인증코드를 요청하는 요청정보를 전송)하거나, 및/또는 상기 고유코드에 대응하는 근거리장치(200)를 소유한 사용자에게 지불 요청할 결제금액을 포함하는 결제정보를 확인하여 상기 사용자 소유 무선단말(300)의 프로그램(325)으로 전송할 수 있다. 상기 운영서버(400)에서 상기 사용자 소유 무선단말(300)의 프로그램(325)으로 상기 결제정보를 전송하는 경우, 상기 결제정보는 상기 근거리장치(200)의 칩모듈(230)에서 생성한 인증코드를 요청하는 요청정보의 기능을 수행할 수 있다.When the unidirectional wireless signal transmitted from the chip module 230 of the user-owned short range device 200 is received / recognized by the specific payment device 100, the operation server 400 transmits the unidirectional wireless signal to the payment device 100, (Or payment request information including a unique code and an authentication code recognized through the unidirectional wireless signal) including a unique code recognized through the unidirectional wireless signal from the wireless communication unit 100. Upon receipt of the payment request information from the settlement apparatus 100, the operation server 400 confirms the unique information mapped with the unique code and transmits the program of the user-owned wireless terminal 300 corresponding to the unique information (For example, the program 325 of the user-possessed wireless terminal 300 requests the authentication code generated by the chip module 230 of the short range device 200 owned by the user) Or transmits the request information requesting the authentication code generated by the chip module 230) and / or confirms the payment information including the payment amount to be requested to the user who owns the short range device 200 corresponding to the unique code To the program (325) of the user-possessed wireless terminal (300). When the operation server 400 transmits the payment information to the program 325 of the user-owned wireless terminal 300, the payment information is transmitted to the user terminal 300 through the authentication code generated by the chip module 230 of the short- And the like.
본 발명의 실시 방법에 따라 상기 사용자 소유 무선단말(300)의 프로그램(325)으로 상기 결제정보를 전송하는 경우, 상기 운영서버(400)는 상기 근거리장치(200)를 소유한 사용자에게 지불 요청할 결제금액을 포함하는 결제정보를 확인하여 상기 사용자 소유 무선단말(300)의 프로그램(325)으로 전송하며, 상기 결제정보는 상기 결제금액과 함께 상기 결제장치(100)로부터 수신된 고유코드를 더 포함하거나, 상기 결제장치(100)를 운영하는 오프라인 거점에 대응하는 가맹점정보를 더 포함할 수 있다.When the payment information is transmitted to the program 325 of the user-owned wireless terminal 300 according to the embodiment of the present invention, the operation server 400 transmits the payment information to the user who owns the short- And transmits the payment information to the program 325 of the user-possessed wireless terminal 300. The payment information includes the unique code received from the payment apparatus 100 together with the payment amount , And merchant information corresponding to an off-line base operating the settlement apparatus 100.
상기 운영서버(400)에서 상기 결제정보를 전송한 경우, 상기 사용자 소유 무선단말(300)의 프로그램(325)은 상기 운영서버(400)로부터 상기 결제정보를 수신하고, 상기 결제정보에 대한 사용자의 결제확인을 확인하기 위한 결제확인 인터페이스에 상기 결제정보를 포함시켜 출력할 수 있다. 만약 상기 사용자가 상기 결제확인 인터페이스를 통해 상기 결제정보에 대한 결제를 확인한 경우(예컨대, “확인” 버튼 클릭 또는 등록된 PIN 입력/인증 등), 상기 무선단말(300)의 프로그램(325)은 상기 양방향 근거리 통신을 통해 상기 근거리장치(200)의 칩모듈(230)에서 생성한 인증코드를 확인(예컨대, 현재 양방향 근거리 통신이 연결된 근거리장치(200)의 칩모듈(230)(또는 결제정보에 포함된 고유코드에 대응하는 근거리장치(200)의 칩모듈(230))로 인증코드를 요청하여 수신)하고, 상기 양방향 근거리 통신을 통해 상기 근거리장치(200)의 칩모듈(230)로부터 수신된 인증코드를 포함하는 결제확인정보를 상기 운영서버(400)로 전송할 수 있다. 한편 상기 운영서버(400)에서 상기 인증코드를 요청하는 요청정보를 전송한 경우, 상기 무선단말(300)의 프로그램(325)은 상기 양방향 근거리 통신을 통해 상기 근거리장치(200)의 칩모듈(230)에서 생성한 인증코드를 확인(예컨대, 현재 양방향 근거리 통신이 연결된 근거리장치(200)의 칩모듈(230)(또는 결제정보에 포함된 고유코드에 대응하는 근거리장치(200)의 칩모듈(230))로 인증코드를 요청하여 수신)하고, 상기 양방향 근거리 통신을 통해 상기 근거리장치(200)의 칩모듈(230)로부터 수신된 인증코드를 포함하는 결제확인정보를 상기 운영서버(400)로 전송할 수 있으며, 실시 방법에 따라 상기 근거리장치(200)의 칩모듈(230)에서 생성한 인증코드를 확인하기 위해 사용자 조작(예컨대, “확인” 버튼 클릭 또는 등록된 PIN 입력/인증 등)을 유도하여 상기 사용자 조작을 근거로 상기 양방향 근거리 통신을 통해 상기 근거리장치(200)의 칩모듈(230)에서 생성한 인증코드를 확인할 수 있다.When the payment information is transmitted from the operation server 400, the program 325 of the user-owned wireless terminal 300 receives the payment information from the operation server 400, And may include the payment information in a payment confirmation interface for confirming payment confirmation. If the user confirms the payment for the payment information through the payment confirmation interface (e.g., by clicking the " confirm " button or entering the registered PIN), the program 325 of the wireless terminal 300 (For example, the chip module 230 of the short range device 200 to which the bi-directional short distance communication is connected) (or included in the billing information) through the bidirectional short-range communication by checking the authentication code generated by the chip module 230 of the short- And transmits the authentication code received from the chip module 230 of the short range device 200 through the bidirectional local area communication to the chip module 230 of the short range device 200 And transmits the payment confirmation information including the code to the operation server 400. [ Meanwhile, when the operation server 400 transmits the request information requesting the authentication code, the program 325 of the wireless terminal 300 transmits the authentication code to the chip module 230 of the short range device 200 through the bidirectional local area communication (For example, the chip module 230 of the short range device 200 to which the bidirectional short distance communication is connected (or the chip module 230 of the short range device 200 corresponding to the unique code included in the payment information) ), And transmits the settlement confirmation information including the authentication code received from the chip module 230 of the short range device 200 to the operation server 400 via the bidirectional local area communication (E.g., " OK " button click or registered PIN input / authentication, etc.) to confirm the authentication code generated by the chip module 230 of the short range device 200 The user- The can through the two-way short-range communications based on the check the verification code generated by chip module 230 of the short-range device 200.
상기 운영서버(400)는 상기 근거리장치(200)를 소유한 사용자 소유 무선단말(300)로부터 인증코드를 수신하고, 지정된 절차에 따라 상기 무선단말(300)로부터 수신된 인증코드의 유효성이 인증되게 처리한다.The operation server 400 receives the authentication code from the user-possessed wireless terminal 300 possessing the local device 200, and according to a designated procedure, the validity of the authentication code received from the wireless terminal 300 is authenticated .
본 발명의 제1 인증코드 인증 실시예에 따르면, 상기 운영서버(400)는 상기 근거리장치(200)의 칩모듈(230)에서 생성할 인증코드의 유효성을 인증하기 위한 인증규칙(예컨대, 근거리장치(200)의 칩모듈(230)에서 인증코드를 생성하는데 이용되는 씨드와 매칭되는 씨드 값과 상기 칩모듈(230)에서 인증코드를 생성하는데 이용되는 코드생성알고리즘과 매칭되는 코드생성알고리즘)을 설정하여 저장하며, 상기 무선단말(300)로부터 상기 근거리장치(200)의 칩모듈(230)에서 생성한 인증코드를 수신한 경우 상기 인증규칙을 이용하여 상기 칩모듈(230)에서 생성한 인증코드를 인증하기 위한 검증코드(예컨대, 인증규칙에 포함되어 저장된 씨드 값과 동적 결정된 씨드 값을 인증규칙에 대응하는 코드생성알고리즘에 대입하여 생성한 코드)를 생성하고, 상기 검증코드를 통해 상기 칩모듈(230)에서 생성한 인증코드의 유효성을 인증할 수 있다.According to the first authentication code authentication embodiment of the present invention, the operation server 400 may include an authentication rule (e.g., a local device authentication method) for authenticating the validity of an authentication code to be generated in the chip module 230 of the short- A seed value matched with a seed used for generating an authentication code in the chip module 230 of the chip module 200 and a code generation algorithm matching a code generation algorithm used for generating an authentication code in the chip module 230) And when receiving the authentication code generated by the chip module 230 of the short range device 200 from the wireless terminal 300, transmits the authentication code generated by the chip module 230 using the authentication rule Generates a verification code for authentication (e.g., a code generated by substituting a seed value stored in an authentication rule and a seed value dynamically determined into a code generation algorithm corresponding to an authentication rule) It is possible to authenticate the validity of the authentication code generated by the chip module 230.
본 발명의 제2 인증코드 인증 실시예에 따르면, 상기 운영서버(400)는 상기 근거리장치(200)의 칩모듈(230)에서 생성하는 인증코드를 지정된 인증서버(예컨대, OTP인증서버 등)를 통해 인증받기 위해 인증규칙(예컨대, 인증서버정보, 상기 인증코드의 유효성 인증을 위해 인증서버로 제공할 정보 셋트 등)를 설정하여 저장하며, 상기 무선단말(300)로부터 상기 근거리장치(200)의 칩모듈(230)에서 생성한 인증코드를 수신한 경우 상기 인증규칙을 이용하여 지정된 인증서버를 통해 상기 인증코드의 유효성이 인증되도록 처리하고, 상기 인증서버를 통해 인증된 인증 결과를 확인할 수 있다.According to the second authentication code authentication method of the present invention, the operation server 400 transmits an authentication code generated by the chip module 230 of the short range device 200 to a designated authentication server (e.g., an OTP authentication server) (For example, authentication server information, an information set to be provided to the authentication server for validity authentication of the authentication code, and the like) to receive authentication from the wireless terminal 300, When the authentication code generated by the chip module 230 is received, the validity of the authentication code is authenticated through the specified authentication server using the authentication rule, and the authentication result authenticated through the authentication server can be confirmed.
본 발명의 제3 인증코드 인증 실시예에 따르면, 상기 결제장치(100)로부터 수신된 결제요청정보에 상기 제3 또는 제4 단방향 무선신호 송출 실시예에 따라 상기 근거리장치(200)의 칩모듈(230)에서 상기 단방향 무선신호에 포함시켜 송출한 인증코드가 포함된 경우, 상기 운영서버(400)는 상기 근거리장치(200)의 칩모듈(230)에서 생성하여 상기 양방향 근거리 통신을 통해 상기 무선단말(300)로 전송된 후 상기 무선단말(300)로부터 수신된 인증코드와 상기 결제장치(100)로부터 수신된 인증코드를 비교하여 상기 근거리장치(200)의 칩모듈(230)에서 생성한 인증코드의 유효성을 인증할 수 있다.According to the third authentication code authentication method of the present invention, the chip module of the near device 200 may be connected to the payment request information received from the payment device 100 according to the third or fourth unidirectional radio signal transmission embodiment 230, the operation server 400 may generate the unidirectional wireless signal from the chip module 230 of the local device 200 and transmit the unidirectional wireless signal to the wireless terminal 200 through the bi- (300), compares the authentication code received from the wireless terminal (300) with the authentication code received from the settlement device (100) and transmits the authentication code generated by the chip module (230) of the short range device (200) Can be authenticated.
본 발명의 제4 인증코드 인증 실시예에 따르면, 상기 운영서버(400)는 상기 제1 내지 제3 인증코드 인증 실시예를 하나 이상 부분적으로 선택 또는 조합한 형태로 상기 인증코드의 유효성이 인증되게 처리할 수 있으며, 본 발명은 이러한 실시예도 본 발명의 권리범위로 포함할 수 있다.According to the fourth authentication code authentication embodiment of the present invention, the operation server 400 may be configured such that the validity of the authentication code is authenticated in the form of one or more partial selection or combination of the first to third authentication code authentication embodiments And the present invention can be included in the scope of the present invention.
상기 운영서버(400)와 연동 가능한 보안매체에 상기 사용자의 결제수단정보가 등록된 경우, 상기 운영서버(400)는 상기 인증코드의 인증 결과를 근거로 상기 보안매체에 등록된 사용자의 결제수단정보가 추출되어 지정된 결제서버(또는 금융사서버)를 통해 상기 결제요청정보(또는 결제정보)에 대한 결제 절차가 수행되도록 처리할 수 있다. 한편 본 발명의 실시예에서 상기 결제정보에 대한 결제를 처리하기 위해 이용되는 결제 방식과 결제수단은 어떠한 것이라도 무방하며, 특정한 결제 방식과 결제수단으로 한정되지 아니한다.When the payment method information of the user is registered in a security medium that can be interlocked with the operation server 400, the operation server 400 determines, based on the authentication result of the authentication code, Is extracted and processed so that the settlement procedure for the settlement request information (or the settlement information) is performed through the designated settlement server (or the financial company server). Meanwhile, in the embodiment of the present invention, any payment method and payment means used for processing payment information may be any payment method and payment means.
한편 상기 운영서버(400)와 연동 가능한 보안매체에 상기 사용자의 결제수단정보가 등록되지 않은 경우, 상기 운영서버(400)는 상기 사용자의 무선단말(300)로 상기 결제정보를 제공(만약 사용자의 무선단말(300)로 결제정보가 기 제공된 경우 생략 가능)하고, 상기 사용자의 무선단말(300)은 해당 무선단말(300)에서 이용 가능한 결제 방식과 사용자의 결제수단을 이용하여 상기 결제정보에 대한 결제 절차를 수행할 수 있다. 한편 본 발명의 실시예에서 상기 결제정보에 대한 결제를 처리하기 위해 이용되는 결제 방식과 결제수단은 어떠한 것이라도 무방하며, 특정한 결제 방식과 결제수단으로 한정되지 아니한다.On the other hand, when the payment means information of the user is not registered in the security medium interlocked with the operation server 400, the operation server 400 provides the payment information to the user's wireless terminal 300 The wireless terminal 300 of the user can use the payment method available in the wireless terminal 300 and the payment means of the user to transmit the payment information to the wireless terminal 300. [ The payment procedure can be performed. Meanwhile, in the embodiment of the present invention, any payment method and payment means used for processing payment information may be any payment method and payment means.
본 발명의 실시 방법에 따르면, 상기 운영서버(400)는 상기 결제 절차를 수행한 무선단말(300)의 프로그램(325) 및/또는 상기 무선단말(300)의 결제 절차에 대응하는 결제승인 절차를 수행한 결제서버(또는 금융사서버)로부터 상기 결제 절차에 대한 결제결과를 확인할 수 있으며, 상기 결제장치(100) 또는 상기 사용자 소유 무선단말(300)의 프로그램(325)으로 상기 확인된 결제결과를 제공할 수 있다.According to an embodiment of the present invention, the operation server 400 may perform a payment approval procedure corresponding to the payment program of the program 325 of the wireless terminal 300 that has performed the payment procedure and / or the payment procedure of the wireless terminal 300 The settlement result of the settlement procedure can be confirmed from the settlement server (or financial company server) performed and the settlement result of the settlement procedure can be confirmed by the program 325 of the settlement apparatus 100 or the user- can do.
도면2는 본 발명의 실시 방법에 따른 근거리장치(200)의 기능 구성을 도시한 도면이다.2 is a diagram showing a functional configuration of a short range device 200 according to an embodiment of the present invention.
보다 상세하게 본 도면2는 단방향 무선신호 송출 기능과 양방향 근거리 통신 기능을 다중 구비한 칩모듈(230)을 탑재한 근거리장치(200)의 기능 구성을 도시한 것으로서, 본 발명이 속한 기술분야에서 통상의 지식을 가진 자라면, 본 도면2를 참조 및/또는 변형하여 근거리장치(200)의 구성에 대한 다양한 실시 방법(예컨대, 일부 구성부가 생략되거나, 또는 세분화되거나, 또는 합쳐진 실시 방법)을 유추할 수 있을 것이나, 본 발명은 상기 유추되는 모든 실시 방법을 포함하여 이루어지며, 본 도면2에 도시된 실시 방법만으로 그 기술적 특징이 한정되지 아니한다.2 shows a functional configuration of a short range device 200 equipped with a chip module 230 having a unidirectional radio signal transmitting function and a bidirectional short distance communication function. In this case, Those skilled in the art will be able to refer to and / or modify the FIG. 2 to infer various implementations of the configuration of the short range device 200 (e.g., some configuration portions omitted, or fragmented, or combined) However, the present invention is not limited to the technical features of the present invention.
본 발명의 근거리장치(200)는, 단방향 무선신호 송출 기능과 양방향 근거리 통신 기능을 다중 구비한 칩모듈(230)을 내장하여 제작된다. 실시 방법에 따라 상기 근거리장치(200)는 외부의 전원을 공급받기 위한 단자, 상기 단자를 통해 외부의 전원을 공급받는 전원 공급부(205), 상기 공급된 외부의 전원을 지정된 전원으로 변환하는 전원 변환부(210), 상기 외부 전원을 충전하는 전원 충전부(215), 상기 칩모듈(230)의 사용자 조작을 위한 조작부(225), 상기 양방향 근거리 통신 중 근거리 케이블 통신을 위한 커넥터부(220) 중 적어도 하나의 구성을 더 포함할 수 있다. 예를들어, 상기 근거리장치(200)가 차량의 시가잭 삽입구에 삽입되는 시가잭장치 형태로 제작되는 경우, 상기 전원 공급부(205)는 상기 시가잭장치를 차량의 시가잭 삽입구에 삽입 시 상기 단자를 이용하여 상기 차량으로부터 인가되는 차량 전원(예컨대, 12V DC 전원)을 공급받으며, 상기 전원 변환부(210)는 상기 차량 전원을 USB 전원(예컨대, DC 5V) 및/또는 상기 칩모듈(230)의 동작 전원으로 변환하며, 상기 전원 충전부(215)는 상기 전원 공급부(205)를 통해 공급되는 전원 및/또는 상기 전원 변환부(210)를 통해 변환된 전원을 충전한다. 상기 전원 충전부(215)에 충전된 충전 전원은 상기 시가잭장치가 차량의 시가잭 삽입구에 삽입되지 않은 상태 또는 상기 차량의 시동이 꺼진 상태에서도 상기 칩모듈(230)로 동작 전원을 공급할 수 있다.The near device 200 of the present invention is manufactured by incorporating a chip module 230 having a unidirectional radio signal transmitting function and a bidirectional local communication function. According to an embodiment of the present invention, the short range device 200 includes a terminal for receiving external power, a power supply unit 205 for receiving external power through the terminal, a power conversion unit for converting the supplied external power into a designated power source, A power supply charging unit 215 for charging the external power supply, an operation unit 225 for a user operation of the chip module 230, and a connector unit 220 for short- And may further include one configuration. For example, when the near-field device 200 is manufactured in the form of a cigar jack device inserted into a cigar jack insertion port of a vehicle, the power source supply unit 205 uses the terminal to insert the cigar jack device into the cigar- (For example, 12V DC power source) applied from a vehicle, and the power conversion unit 210 converts the vehicle power into a USB power (e.g., DC 5V) and / or an operating power of the chip module 230 And the power charging unit 215 charges the power supplied through the power supply unit 205 and / or the power converted through the power conversion unit 210. The charging power source charged in the power charging unit 215 can supply the operating power to the chip module 230 even when the cigar jack device is not inserted into the cigar jack insertion port of the vehicle or when the vehicle is turned off.
본 발명의 실시 방법에 따르면, 상기 근거리장치(200)가 상기 전원 공급부(205)를 통해 외부 전원(예컨대, 차량 전원)을 공급받는 경우, 상기 칩모듈(230)은 상기 공급되는 외부 전원을 이용하여 상기 단방향 무선신호를 증폭(예컨대, 최대 신호 강도로 증폭)하여 송출할 수 있다. 예를들어, 상기 근거리장치(200)를 시가잭장치 형태로 제작하는 경우, 상기 칩모듈(230)은 상기 시가잭장치가 차량의 시가잭 삽입구에 삽입되어 차량 전원을 공급받는 상태에서 단방향 무선신호를 증폭하여 송출함으로써 상기 차량 차체의 금속재질 또는 창문의 유리재질(특히 자외선차단 필름을 장착한 유리재질)에 의한 신호 방해를 극복하고 상기 단방향 무선신호를 차량 외부의 지정된 근거리까지 도달하도록 할 수 있다. 한편 상기 근거리장치(200)가 외부 전원을 공급받지 못하거나 상기 전원 충전부(215)의 충전 전원을 이용하여 동작하는 경우, 상기 칩모듈(230)은 저전력 모드로 동작하더라도 무방하다.According to the embodiment of the present invention, when the short range device 200 receives an external power (for example, vehicle power) through the power supply unit 205, the chip module 230 uses the supplied external power The amplified unidirectional radio signal can be amplified (for example, amplified to a maximum signal intensity) and transmitted. For example, when the near-field device 200 is manufactured in the form of a cigar jack device, the chip module 230 amplifies the unidirectional radio signal while the cigar jack device is inserted into the cigar jack insertion port of the vehicle, It is possible to overcome the signal interference caused by the metallic material of the vehicle body or the glass material of the window (in particular, the glass material on which the ultraviolet ray shielding film is mounted), and to make the unidirectional radio signal reach a specified short distance outside the vehicle. Meanwhile, when the near device 200 does not receive external power or operates using the charging power of the power charging unit 215, the chip module 230 may operate in a low power mode.
상기 근거리장치(200)의 커넥터부(220)는 상기 칩모듈(230)과 사용자의 무선단말(300) 간의 근거리 케이블 통신을 제공할 수 있다. 만약 상기 근거리장치(200)가 시가잭장치 형태로 제작되는 경우, 상기 커넥터부(220)는 상기 전원 공급부(205)를 통해 공급받아 상기 전원 변환부(210)를 통해 USB 전원으로 변환된 전원을 외부로 인가하는 커넥터 역할을 수행할 수 있다.The connector 220 of the short range device 200 may provide short-range cable communication between the chip module 230 and the user's wireless terminal 300. When the short range device 200 is manufactured in the form of a cigar jack device, the connector unit 220 receives the power converted from the USB power through the power supply unit 210 through the power supply unit 205, As shown in FIG.
상기 근거리 장치의 조작부(225)는 근거리장치(200)에 탑재되어 상기 칩모듈(230)의 동작을 제어하기 위한 사용자 조작을 입력받는 구성부의 총칭으로서, 바람직하게 적어도 하나(또는 둘 이상의 조합)의 스위치 또는 버튼을 포함하여 이루어진다. 본 발명의 실시 방법에 따르면, 상기 조작부(225)는 기본적으로 ‘On’ 또는 ‘Off’의 동작을 조작(또는 토글) 가능하며, 추가적으로 미리 지정된 조작 패턴의 사용자 조작을 입력 가능한 것이 바람직하다. 예를들어, 상기 조작부(225)는 미리 설정된 시간 간격을 ‘On’ 또는 ‘Off’의 조작을 반복하거나, 또는 미리 설정된 시간 간격 이상으로 길게 ‘On’ 또는 ‘Off’의 조작을 구현하거나, 둘 이상의 스위치/버튼이 포함된 경우 둘 이상의 스위치/버튼을 동시 조작하거나 기 설정된 시간차를 두고 조작하는 등의 다양한 조작패턴을 구현할 수 있다. 그리고 이러한 다양한 조작 패턴은 상기 칩모듈(230)의 동작을 다양하게 제어할 수 있다.The operation unit 225 of the near device is collectively referred to as a component which is mounted on the short range device 200 and receives a user operation for controlling the operation of the chip module 230. The operation unit 225 preferably includes at least one Switch or button. According to the embodiment of the present invention, it is preferable that the operation unit 225 can basically operate (or toggle) the operation of 'On' or 'Off', and further input a user operation of a predetermined operation pattern. For example, the operation unit 225 may repeatedly perform an operation of 'On' or 'Off' for a preset time interval, or implement an operation of 'On' or 'Off' When the above switch / button is included, various operation patterns such as simultaneous operation of two or more switches / buttons or operation with a predetermined time difference can be implemented. The various operation patterns can control various operations of the chip module 230.
도면2를 참조하면, 상기 칩모듈(230)은, 상기 칩모듈(230)의 동작을 제어하는 제어부(250)와, 상기 칩모듈(230)의 동작에 필요한 데이터셋트(또는 프로그램코드)를 저장하는 메모리부(240)와, 양방향 근거리 무선 통신과 단방향 무선신호 송출을 위한 RF 처리를 수행하는 RF 처리부(245)와, 상기 RF 처리에 대응하는 무선 주파수 신호를 송수신하는 안테나부를 구비하며, 실시 방법에 따라 상기 커넥터부(220)와 전기적으로 연결되어 양방향 근거리 케이블 통신을 처리하는 USB 통신부(235)를 더 구비한다.2, the chip module 230 includes a control unit 250 for controlling the operation of the chip module 230, and a control unit 250 for storing a data set (or program code) necessary for the operation of the chip module 230 An RF processor 245 for performing bidirectional short-range wireless communication and RF processing for transmitting a unidirectional radio signal, and an antenna unit for transmitting and receiving a radio frequency signal corresponding to the RF processing, And a USB communication unit 235 electrically connected to the connector unit 220 to process the bi-directional short-distance cable communication.
상기 칩모듈(230)은 PCB(Printed Circuit Board)에 양방향 근거리 무선 통신과 단방향 무선신호 송출을 위한 하나 이상의 SMD(Surface Mount Devices)를 구비하는 형태로 제작될 수 있으며, 실시 방법에 따라 상기 제어부(250), 메모리부(240) 및 RF 처리부(245) 등은 통합 칩 형태로 구현되거나, 또는 PCB에 실장되는 개별 소자 형태, 또는 통합 칩과 각 소자의 조합 형태로 구현될 수 있다. 본 발명은 근거리장치(200) 내에 칩모듈(230)을 구현하는 방식에 의해 한정되지 아니함을 명백하게 밝혀두는 바이다.The chip module 230 may be manufactured in the form of a bidirectional short-range wireless communication to a PCB (Printed Circuit Board) and at least one SMD (Surface Mount Device) for transmitting a unidirectional wireless signal. 250, the memory unit 240, and the RF processing unit 245 may be implemented in the form of an integrated chip, an individual device mounted on a PCB, or a combination of integrated chips and devices. It is clear that the present invention is not limited by the manner in which the chip module 230 is implemented within the short range device 200.
상기 제어부(250)는 상기 칩모듈(230)의 동작을 제어하는 구성의 총칭으로서, 적어도 하나의 프로세서와 실행 메모리를 포함하여 구성되며, 상기 칩모듈(230)에 구비된 각 구성부와 버스(BUS)를 통해 연결된다. 본 발명에 따르면, 상기 제어부(250)는 상기 프로세서를 통해 상기 칩모듈(230)에 구비되는 적어도 하나의 프로그램코드를 상기 실행 메모리에 로딩하여 연산하고, 그 결과를 상기 버스를 통해 적어도 하나의 구성부로 전달하여 상기 칩모듈(230)의 동작을 제어한다. 이하, 편의상 프로그램코드 형태로 칩모듈(230)에 구현되는 프로그램 구성을 본 제어부(250) 내에 도시하여 설명하기로 한다.The control unit 250 is a general term for controlling the operation of the chip module 230. The control unit 250 includes at least one processor and an execution memory, BUS). According to the present invention, the control unit 250 loads at least one program code included in the chip module 230 into the execution memory through the processor, and outputs the result through at least one configuration And controls the operation of the chip module 230. [0035] Hereinafter, the program configuration implemented in the chip module 230 in the form of a program code will be described in the control unit 250 for convenience.
상기 메모리부(240)는 상기 칩모듈(230)에 구비되는 비휘발성 메모리의 총칭으로서, 상기 제어부(250)를 통해 실행되는 적어도 하나의 프로그램코드와, 상기 프로그램코드가 이용하는 적어도 하나의 데이터셋트를 저장하여 유지한다. 상기 메모리부(240)는 기본적으로 상기 칩모듈(230)의 운영체제에 대응하는 시스템프로그램코드와 시스템데이터셋트, 및 적어도 하나의 응용프로그램코드와 응용데이터셋트를 저장하며, 본 발명의 프로그램에 대응하는 프로그램코드와 데이터셋트도 상기 메모리부(240)에 저장된다.The memory unit 240 is a general term of a nonvolatile memory included in the chip module 230 and includes at least one program code executed through the controller 250 and at least one data set used by the program code And stores it. The memory unit 240 basically stores a system program code and a system data set corresponding to an operating system of the chip module 230 and at least one application program code and an application data set, The program code and data set are also stored in the memory unit 240.
본 발명의 실시 방법에 따르면, 상기 메모리부(240)는 상기 근거리장치(200)(또는 칩모듈(230))의 제작 시(또는 최초 동작 시, 또는 상기 메모리부(240)에 고유코드 저장 전 동작 시), 상기 근거리장치(200)(또는 칩모듈(230))에 대한 고유코드를 등록받아 지정된 저장영역에 저장한다.According to the method of the present invention, the memory unit 240 may store the unique code before the near device 200 (or the chip module 230) is manufactured (or at the time of initial operation or before storing the unique code in the memory unit 240) The microprocessor 230 registers the unique code for the local device 200 (or the chip module 230) in the designated storage area.
상기 RF 처리부(245)는 안테나부를 통해 단방향 무선신호를 방송하기 위한 RF 처리(예컨대, 무선 주파수 신호 변조 등) 및/또는 양방향 근거리 무선 통신을 위한 RF 처리를 수행하는 구성의 총칭으로서, 예를들어 블루투스 기반의 양방향 근거리 무선 통신 기능과 블루투스 기반의 단방향 무선신호를 송출을 위한 RF 처리를 수행할 수 있다. 여기서, 상기 단방향 무선신호를 송출은 무선신호를 수신하는 수신 측을 식별하거나 페어링 하지 않고 송출되는 무선신호를 포함한다.The RF processor 245 is a generic term for performing RF processing (e.g., RF signal modulation) for broadcasting a unidirectional radio signal through the antenna unit and / or RF processing for bidirectional short-range wireless communication. For example, It is possible to perform a Bluetooth-based bidirectional short-range wireless communication function and RF processing for transmitting a Bluetooth-based unidirectional wireless signal. Here, the transmission of the unidirectional radio signal includes a radio signal to be transmitted without identifying or pairing the receiving side that receives the radio signal.
본 발명의 실시 방법에 따르면, 상기 칩모듈(230)은 상기 양방향 근거리 무선 통신을 지원하는 근거리의 근거리통신장치 중 상기 근거리장치(200)를 소유한 사용자의 무선단말(300)과 양방향 근거리 무선 통신을 처리하며, 상기 RF 처리부(245)는 상기 사용자의 무선단말(300)과 양방향 근거리 무선 통신을 위한 RF 처리를 수행한다.According to an embodiment of the present invention, the chip module 230 is connected to the wireless terminal 300 of the user who owns the short range device 200 among the short range short range communication devices supporting the two-way short- And the RF processor 245 performs RF processing for bidirectional short-range wireless communication with the user's wireless terminal 300. [
상기 USB 통신부(235)는 상기 커넥터부(220)에 구비된 USB 커넥터(예컨대, D+ 및/또는 D-)와 전기적으로 연결되며, 상기 커넥터부(220)에 연결된 외부의 무선단말(300)(예컨대, 사용자 소유의 휴대폰, 스마트폰, 태블릿PC 등)과 양방향 근거리 케이블 통신을 처리할 수 있다. 상기 양방향 근거리 케이블 통신은 USB 패킷을 송수신하는 USB 통신 기능을 포함하며, 상기 커넥터부(220)에 연결된 외부의 무선단말(300)로 하여금 상기 칩모듈(230)을 검출하고 USB 통신을 준비하게 하는 USB 프로토콜 기능을 포함할 수 있다.The USB communication unit 235 is electrically connected to a USB connector (for example, D + and / or D-) included in the connector unit 220 and is connected to an external wireless terminal 300 For example, a user's own mobile phone, a smart phone, a tablet PC, etc.). The bidirectional short-range cable communication includes a USB communication function for transmitting and receiving a USB packet, and the external wireless terminal 300 connected to the connector 220 detects the chip module 230 and prepares for USB communication USB protocol functionality.
본 발명의 실시 방법에 따르면, 상기 USB 통신부(235)는 상기 커넥터부(220)의 USB 커넥터와 전기적으로 연결된 상태를 유지하지만, 상기 USB 통신부(235)의 양방향 근거리 케이블 통신 기능은 지정된 조건에 따라 선택적으로 활성화 또는 비활성화되며, 상기 USB 통신부(235)의 양방향 근거리 케이블 통신 기능이 활성화된 경우 상기 커넥터부(220)에 연결된 무선단말(300)과 양방향 근거리 케이블 통신을 처리하는 것이 바람직하며, 만약 상기 USB 통신부(235)의 양방향 근거리 케이블 통신 기능이 비활성화된 경우에는 상기 커넥터부(220)에 무선단말(300)이 연결되더라도 양방향 근거리 케이블 통신을 처리하지 않을 수 있다.According to the embodiment of the present invention, the USB communication unit 235 maintains a state of being electrically connected to the USB connector of the connector unit 220, but the bidirectional short-range cable communication function of the USB communication unit 235 Directional short-range cable communication with the wireless terminal 300 connected to the connector unit 220 when the bi-directional short-range cable communication function of the USB communication unit 235 is activated, Directional short-range cable communication function of the USB communication unit 235 is disabled, the bidirectional short-range cable communication may not be processed even if the wireless terminal 300 is connected to the connector unit 220. [
도면2를 참조하면, 상기 근거리장치(200)의 칩모듈(230)은, 양방향 근거리 무선 통신을 이용하여 상기 근거리장치(200)를 소유한 사용자의 무선단말(300)을 식별하는 통신 식별부(255)와, 상기 식별된 사용자의 무선단말(300)과 양방향 근거리 무선 통신을 연결하는 근거리 무선 통신 연결부(260)를 구비하며, 상기 USB 통신부(235)를 통해 상기 커넥터부(220)에 케이블 연결된 사용자의 무선단말(300)을 양방향 근거리 케이블 통신을 연결하는 근거리 케이블 통신 연결부(260)를 구비한다.2, the chip module 230 of the short range device 200 includes a communication identification unit (not shown) for identifying the wireless terminal 300 of the user who owns the short range device 200 using bidirectional short- And a short range wireless communication connection unit 260 for connecting the wireless terminal 300 of the identified user to the bidirectional short range wireless communication unit 255. The wireless communication unit 260 is connected to the connector unit 220 through the USB communication unit 235 And a short-range cable communication connection unit 260 for connecting the user's wireless terminal 300 to the two-way short-distance cable communication.
상기 통신 식별부(255)는 상기 칩모듈(230)의 최초 동작 시(또는 양방향 근거리 무선 통신을 연결할 사용자의 무선단말(300)을 식별 전 동작 시, 또는 사용자의 무선단말(300)에 대한 통신식별정보가 저장되기 전 동작 시, 또는 상기 조작부(225)를 통한 사용자 조작 시), 상기 칩모듈(230)과 양방향 근거리 무선 통신 가능한 근거리통신장치 중에서 상기 근거리장치(200)를 소유한 사용자의 무선단말(300)을 식별하는 절차를 수행한다. 예를들어, 상기 RF 처리부(245)가 블루투스 기반의 양방향 근거리 무선 통신을 위한 RF 처리를 수행하는 경우, 상기 통신 식별부(255)는 블루투스 페어링 절차에 따라 상기 근거리장치(200)를 소유한 사용자의 무선단말(300)과 페어링 절차를 수행함으로써, 상기 블루투스 기반의 양방향 근거리 무선 통신을 연결할 사용자의 무선단말(300)을 식별할 수 있다. 본 발명의 실시 방법에 따르면, 상기 통신 식별부(255)는 상기 사용자의 무선단말(300)을 식별한 결과로서 상기 사용자의 무선단말(300)과 양방향 근거리 무선 통신을 연결하기 위한 통신식별정보를 확인하여 상기 메모리부(240)에 저장 가능하며, 이 경우 상기 근거리 무선 통신 연결부(260)는 별도의 식별 절차 없이 상기 통신식별정보를 이용하여 상기 사용자의 무선단말(300)과 양방향 근거리 무선 통신을 연결할 수 있다.The communication identifying unit 255 identifies the wireless terminal 300 of the user to connect the bidirectional short range wireless communication at the initial operation of the chip module 230, The wireless communication method of the present invention may be applied to a wireless communication system such as a wireless communication system or a wireless communication system in which a user of a user who owns the short range device 200 among the short range communication devices capable of bidirectional short distance wireless communication with the chip module 230, And performs a procedure for identifying the terminal 300. For example, when the RF processing unit 245 performs RF processing for Bluetooth-based bidirectional short-range wireless communication, the communication identifying unit 255 identifies a user who owns the near device 200 according to a Bluetooth pairing procedure, Directional short-range wireless communication with the wireless terminal 300 of the Bluetooth-based bidirectional short-range wireless communication by performing the pairing procedure with the wireless terminal 300 of the Bluetooth-based bidirectional short-range wireless communication. According to the embodiment of the present invention, the communication identifier 255 identifies the user's wireless terminal 300 as communication identification information for connecting the bidirectional short-range wireless communication with the user's wireless terminal 300 Direction short-range wireless communication with the user's wireless terminal 300 using the communication identification information without performing a separate identification procedure. The short-range wireless communication connection unit 260 may be connected to the wireless terminal 300, You can connect.
상기 근거리 무선 통신 연결부(260)는 상기 근거리 무선 통신 식별부(255)를 통해 사용자의 무선단말(300)을 식별한 결과 또는 상기 메모리부(240)에 저장된 통신식별정보를 참조하여 상기 근거리장치(200)를 소유한 사용자의 무선단말(300)과 양방향 근거리 무선 통신을 연결할 수 있다.The short range wireless communication connection unit 260 refers to the result of identifying the user's wireless terminal 300 or the communication identification information stored in the memory unit 240 through the short range wireless communication identification unit 255, Directional short-range wireless communication with the wireless terminal 300 of the user who owns the mobile terminal 200.
한편 상기 근거리 케이블 통신 연결부(260)는 USB 통신부(235)와 연동하여 상기 커넥터부(220)에 케이블 연결되는 사용자의 무선단말(300)을 확인하고, 상기 사용자의 무선단말(300)과 양방향 근거리 케이블 통신을 연결할 수 있다. 실시 방법에 따라 상기 근거리 케이블 통신 연결부(260)는 상기 커넥터부(220)와 케이블 연결되는 장치 중 상기 사용자의 무선단말(300)을 식별하는 통신식별정보를 획득하여 상기 메모리부(240)에 저장할 수 있으며, 이 경우 상기 근거리 케이블 통신 연결부(260)는 상기 통신식별정보에 대응하는 사용자의 무선단말(300)과 양방향 근거리 케이블 통신을 연결할 수 있다. 이하, 상기 사용자의 무선단말(300)과 양방향 근거리 무선 통신 및/또는 양방향 근거리 케이블 통신 중 적어도 하나의 양방향 근거리 통신을 연결하는 구성부를 통칭하여 통신 연결부(260)라고 한다.Meanwhile, the short-range cable communication connection unit 260 identifies the user's wireless terminal 300 connected to the connector unit 220 in cooperation with the USB communication unit 235, Cable communication can be connected. According to an embodiment of the present invention, the short-range cable communication connection unit 260 acquires communication identification information for identifying the user's wireless terminal 300 among devices connected to the connector unit 220 through cable connection, and stores the acquired communication identification information in the memory unit 240 In this case, the short-range cable communication connection unit 260 may connect the two-way short-range cable communication with the user's wireless terminal 300 corresponding to the communication identification information. Hereinafter, a component for connecting at least one bi-directional local area communication between the user's wireless terminal 300 and the bi-directional local area wireless communication and / or the bi-directional local area cable communication is collectively referred to as a communication connection unit 260.
도면2를 참조하면, 상기 근거리장치(200)의 칩모듈(230)은, 상기 양방향 근거리 통신이 연결된 사용자의 무선단말(300)과 양방향 근거리 통신을 처리하는 통신 처리부(265)를 구비하고, 단방향 무선신호를 통해 송출할 식별코드를 확인하는 코드 확인부(270)와, 상기 RF 처리부(245)를 통해 상기 확인된 식별코드를 포함하는 단방향 무선신호를 송출하는 신호 송출부(280)를 구비하며, 상기 단방향 무선신호에 포함될 식별코드 중 인증코드를 생성하는 코드 생성부(275)를 구비할 수 있다.Referring to FIG. 2, the chip module 230 of the short range device 200 includes a communication processor 265 for processing bi-directional short distance communication with a user's wireless terminal 300 connected with the bidirectional short distance communication, A code checking unit 270 for checking an identification code to be transmitted through a radio signal and a signal transmitting unit 280 for transmitting a unidirectional radio signal including the identified identification code through the RF processor 245, And a code generation unit 275 for generating an authentication code among the identification codes to be included in the unidirectional wireless signal.
상기 통신 처리부(265)는 상기 통신 연결부(260)를 통해 양방향 근거리 통신이 연결된 사용자의 무선단말(300)과 양방향 근거리 무선 통신과 양방향 근거리 케이블 통신 중 적어도 하나의 양방향 근거리 통신을 처리한다.The communication processing unit 265 processes at least one bi-directional short distance communication between the user's wireless terminal 300 and the bidirectional short distance communication through the communication connection unit 260.
상기 신호 송출부(280)는 상기 단방향 무선신호에 포함시켜 송출 가능한 지정된 코드 구조의 식별코드를 확인하고, 상기 RF 처리부(245)를 통해 식별코드를 포함하는 단방향 무선신호가 송출되도록 처리한다. 만약 상기 칩모듈(230)이 상기 외부 전원(예컨대, 차량 전원)을 공급받아 동작하는 경우, 상기 신호 송출부(280)는 상기 단방향 무선신호를 증폭하여 송출되도록 처리할 수 있다.The signal transmitting unit 280 confirms an identification code of a designated code structure that can be transmitted by being included in the unidirectional radio signal, and processes the unidirectional radio signal including the identification code to be transmitted through the RF processor 245. If the chip module 230 operates in response to the external power supply (e.g., vehicle power), the signal transmitting unit 280 may process the unidirectional radio signal so as to be amplified and transmitted.
본 발명의 제1 단방향 무선신호 송출 실시예에 따르면, 상기 코드 확인부(270)는 상기 칩모듈(230)의 메모리부(240)에 고유 저장된 고유코드를 포함하는 식별코드를 확인하며, 상기 신호 송출부(280)는 상기 RF 처리부(245)를 통해 상기 식별코드를 포함하는 단방향 무선신호가 송출되도록 처리할 수 있다.According to the first unidirectional radio signal transmission embodiment of the present invention, the code checking unit 270 checks an identification code including a unique code stored in the memory unit 240 of the chip module 230, The transmitting unit 280 may process the unidirectional radio signal including the identification code to be transmitted through the RF processor 245.
본 발명의 제2 단방향 무선신호 송출 실시예에 따르면, 상기 코드 확인부(270)는 상기 통신 처리부(265)를 통한 양방향 근거리 통신을 통해 사용자 소유 무선단말(300)의 프로그램(325)으로부터 제공받은 고유한 고유코드를 포함하는 식별코드를 확인하며, 상기 신호 송출부(280)는 상기 RF 처리부(245)를 통해 상기 식별코드를 포함하는 단방향 무선신호가 송출되도록 처리할 수 있다.According to the second unidirectional wireless signal transmission embodiment of the present invention, the code checking unit 270 receives the code received from the program 325 of the user-possessed wireless terminal 300 through the bidirectional short-range communication through the communication processing unit 265 And the signal transmitting unit 280 may process the unidirectional radio signal including the identification code to be transmitted through the RF processor 245. For example,
본 발명의 제3 단방향 무선신호 송출 실시예에 따르면, 상기 코드 생성부(275)는 상기 칩모듈(230)의 메모리부(240)에 저장된 정보(예컨대, 씨드 값), 상기 칩모듈(230)에서 동적 결정된 정보(예컨대, 상기 전원 충전부(215)의 충전 전원을 이용하여 카운트되는 시간 값, 상기 통신 처리부(265)를 통해 사용자의 무선단말(300)과 시간 동기화 후 상기 충전 전원을 이용하여 카운트되는 시간 값 등), 상기 통신 처리부(265)를 통한 양방향 근거리 통신을 통해 사용자의 무선단말(300)로부터 제공받은 정보(예컨대, 상기 통신 처리부(265)를 통해 사용자의 무선단말(300)로부터 수신된 시간 값, 난수 값, 무선단말(300)의 기기ID 값, 무선단말(300)의 프로그램(325)이 운영서버(400)로부터 수신하여 제공한 값 등) 중 하나 이상의 정보를 씨드로 이용하여 일회용코드 형태의 인증코드를 생성할 수 있다. 이 경우 상기 코드 확인부(270)는 상기 칩모듈(230)의 메모리부(240)에 고유 저장된 고유코드와 상기 코드 생성부(275)를 통해 생성된 인증코드를 포함하는 식별코드를 확인하며, 상기 신호 송출부(280)는 상기 RF 처리부(245)를 통해 상기 식별코드를 포함하는 단방향 무선신호가 송출되도록 처리할 수 있다.The code generation unit 275 generates information on the information stored in the memory unit 240 of the chip module 230 such as the seed value and the chip module 230, (For example, a time value counted by using the charging power source of the power charging unit 215), a count value of the charging power source after the time synchronization with the user's wireless terminal 300 through the communication processing unit 265, (For example, information received from the user's wireless terminal 300 through the communication processing unit 265) through the bidirectional short-range communication through the communication processing unit 265 (E.g., a time value, a random number, a device ID value of the wireless terminal 300, a value received from the operation server 400 by the program 325 of the wireless terminal 300, etc.) The authorization code in the form of a one-off code Can be generated. In this case, the code checking unit 270 checks an identification code including a unique code stored in the memory unit 240 of the chip module 230 and an authentication code generated through the code generating unit 275, The signal transmitting unit 280 may process the unidirectional radio signal including the identification code to be transmitted through the RF processor 245.
또는, 상기 코드 생성부(275)는 상기 칩모듈(230)의 메모리부(240)에 구비된 정보와 상기 칩모듈(230)에서 동적 결정된 정보와 상기 통신 처리부(265)를 통한 양방향 근거리 통신을 통해 사용자 소유 무선단말(300)의 프로그램(325)으로부터 제공받은 정보 중 하나 이상의 정보를 지정된 운영서버(400)를 통해 복호화 가능하게 암호화한 암호코드 형태의 인증코드를 생성할 수 있다. 이 경우 상기 코드 확인부(270)는 상기 칩모듈(230)의 메모리부(240)에 고유 저장된 고유코드와 상기 코드 생성부(275)를 통해 생성된 인증코드를 포함하는 식별코드를 확인하며, 상기 신호 송출부(280)는 상기 RF 처리부(245)를 통해 상기 식별코드를 포함하는 단방향 무선신호가 송출되도록 처리할 수 있다.Alternatively, the code generating unit 275 may receive information provided in the memory unit 240 of the chip module 230, information dynamically determined in the chip module 230, and bidirectional near field communication through the communication processing unit 265 An authentication code in the form of a cipher code in which one or more pieces of information provided from the program 325 of the user-possessed wireless terminal 300 can be decrypted through the designated operation server 400 can be generated. In this case, the code checking unit 270 checks an identification code including a unique code stored in the memory unit 240 of the chip module 230 and an authentication code generated through the code generating unit 275, The signal transmitting unit 280 may process the unidirectional radio signal including the identification code to be transmitted through the RF processor 245.
또는, 상기 코드 생성부(275)는 상기 칩모듈(230)의 메모리부(240)에 구비된 인증서를 이용하여 상기 칩모듈(230)에 구비된 정보와 상기 칩모듈(230)에서 동적 결정된 정보와 상기 통신 처리부(265)를 통한 양방향 근거리 통신을 통해 사용자 소유 무선단말(300)의 프로그램(325)으로부터 제공받은 정보 중 하나 이상의 정보를 전자서명한 서명코드 형태의 인증코드를 생성할 수 있다. 이 경우 상기 코드 확인부(270)는 상기 칩모듈(230)의 메모리부(240)에 고유 저장된 고유코드와 상기 코드 생성부(275)를 통해 생성된 인증코드를 포함하는 식별코드를 확인하며, 상기 신호 송출부(280)는 상기 RF 처리부(245)를 통해 상기 식별코드를 포함하는 단방향 무선신호가 송출되도록 처리할 수 있다.Alternatively, the code generation unit 275 may generate the information provided in the chip module 230 and the information dynamically determined in the chip module 230 using the certificate provided in the memory unit 240 of the chip module 230 And an authentication code in the form of a signature code obtained by digitally signing one or more pieces of information provided from the program 325 of the user-possessed wireless terminal 300 through bidirectional short-range communication through the communication processor 265. [ In this case, the code checking unit 270 checks an identification code including a unique code stored in the memory unit 240 of the chip module 230 and an authentication code generated through the code generating unit 275, The signal transmitting unit 280 may process the unidirectional radio signal including the identification code to be transmitted through the RF processor 245.
본 발명의 제4 단방향 무선신호 송출 실시예에 따르면, 상기 코드 확인부(270)는 상기 통신 처리부(265)를 통한 양방향 근거리 통신을 통해 사용자 소유 무선단말(300)의 프로그램(325)으로부터 제공받은 고유한 고유코드를 확인하며, 상기 코드 생성부(275)는 상기 칩모듈(230)의 메모리부(240)에 저장된 정보, 상기 칩모듈(230)에서 동적 결정된 정보, 상기 통신 처리부(265)를 통한 양방향 근거리 통신을 통해 사용자의 무선단말(300)로부터 제공받은 정보 중 하나 이상의 정보를 씨드로 이용하여 일회용코드 형태의 인증코드를 생성할 수 있다. 이 경우 상기 코드 확인부(270)는 상기 사용자 소유 무선단말(300)의 프로그램(325)으로부터 제공받은 고유한 고유코드와 상기 코드 생성부(275)를 통해 생성된 인증코드를 포함하는 식별코드를 확인하며, 상기 신호 송출부(280)는 상기 RF 처리부(245)를 통해 상기 식별코드를 포함하는 단방향 무선신호가 송출되도록 처리할 수 있다.According to the fourth unidirectional wireless signal transmission embodiment of the present invention, the code verifying unit 270 receives the code received from the program 325 of the user-possessed wireless terminal 300 through the bidirectional short-range communication through the communication processing unit 265 The code generation unit 275 identifies a unique code inherent to the chip module 230 and the information stored in the memory unit 240 of the chip module 230 and information dynamically determined by the chip module 230, It is possible to generate an authentication code in the form of a disposable code by using one or more pieces of information provided from the user's wireless terminal 300 through the bi-directional short distance communication through the wireless terminal 300 as a seed. In this case, the code identifying unit 270 may identify the unique code provided from the program 325 of the user-possessed wireless terminal 300 and an identification code including the authentication code generated through the code generating unit 275 And the signal transmitting unit 280 may process the unidirectional radio signal including the identification code through the RF processor 245.
또는, 상기 코드 확인부(270)는 상기 통신 처리부(265)를 통한 양방향 근거리 통신을 통해 사용자 소유 무선단말(300)의 프로그램(325)으로부터 제공받은 고유한 고유코드를 확인하며, 상기 코드 생성부(275)는 상기 칩모듈(230)의 메모리부(240)에 구비된 정보와 상기 칩모듈(230)에서 동적 결정된 정보와 상기 통신 처리부(265)를 통한 양방향 근거리 통신을 통해 사용자 소유 무선단말(300)의 프로그램(325)으로부터 제공받은 정보 중 하나 이상의 정보를 지정된 운영서버(400)를 통해 복호화 가능하게 암호화한 암호코드 형태의 인증코드를 생성할 수 있다. 이 경우 상기 코드 확인부(270)는 상기 사용자 소유 무선단말(300)의 프로그램(325)으로부터 제공받은 고유한 고유코드와 상기 코드 생성부(275)를 통해 생성된 인증코드를 포함하는 식별코드를 확인하며, 상기 신호 송출부(280)는 상기 RF 처리부(245)를 통해 상기 식별코드를 포함하는 단방향 무선신호가 송출되도록 처리할 수 있다.Alternatively, the code checking unit 270 may check the unique code received from the program 325 of the user-owned wireless terminal 300 through the bidirectional local communication through the communication processing unit 265, The wireless module 275 transmits the information provided in the memory unit 240 of the chip module 230 and the information dynamically determined in the chip module 230 and the user- 300 may encrypt the encrypted information through the designated operating server 400 so as to generate an authentication code in the form of an encrypted code. In this case, the code identifying unit 270 may identify the unique code provided from the program 325 of the user-possessed wireless terminal 300 and an identification code including the authentication code generated through the code generating unit 275 And the signal transmitting unit 280 may process the unidirectional radio signal including the identification code through the RF processor 245.
또는, 상기 코드 확인부(270)는 상기 통신 처리부(265)를 통한 양방향 근거리 통신을 통해 사용자 소유 무선단말(300)의 프로그램(325)으로부터 제공받은 고유한 고유코드를 확인하며, 상기 코드 생성부(275)는 상기 칩모듈(230)의 메모리부(240)에 구비된 인증서를 이용하여 상기 칩모듈(230)에 구비된 정보와 상기 칩모듈(230)에서 동적 결정된 정보와 상기 통신 처리부(265)를 통한 양방향 근거리 통신을 통해 사용자 소유 무선단말(300)의 프로그램(325)으로부터 제공받은 정보 중 하나 이상의 정보를 전자서명한 서명코드 형태의 인증코드를 생성할 수 있다. 이 경우 상기 코드 확인부(270)는 상기 사용자 소유 무선단말(300)의 프로그램(325)으로부터 제공받은 고유한 고유코드와 상기 코드 생성부(275)를 통해 생성된 인증코드를 포함하는 식별코드를 확인하며, 상기 신호 송출부(280)는 상기 RF 처리부(245)를 통해 상기 식별코드를 포함하는 단방향 무선신호가 송출되도록 처리할 수 있다.Alternatively, the code checking unit 270 may check the unique code received from the program 325 of the user-owned wireless terminal 300 through the bidirectional local communication through the communication processing unit 265, The information provided to the chip module 230 and the information dynamically determined in the chip module 230 and the information received from the communication processing unit 265 using the certificate provided in the memory unit 240 of the chip module 230, ) Of the information provided from the program 325 of the user-possessed wireless terminal 300 through the bi-directional short-range communication through the bi-directional short- In this case, the code identifying unit 270 may identify the unique code provided from the program 325 of the user-possessed wireless terminal 300 and an identification code including the authentication code generated through the code generating unit 275 And the signal transmitting unit 280 may process the unidirectional radio signal including the identification code through the RF processor 245.
본 발명의 제5 단방향 무선신호 송출 실시예에 따르면, 상기 코드 확인부(270)는 상기 제1 내지 제4 단방향 무선신호 송출 실시예 중 하나 이상을 부분적으로 선택 또는 조합한 형태로 고유코드 및/또는 인증코드를 포함하는 식별코드를 확인할 수 있으며, 상기 신호 송출부(280)는 상기 RF 처리부(245)를 통해 상기 식별코드를 포함하는 단방향 무선신호가 송출되도록 처리할 수 있다. 본 발명은 상기 실시예를 변형하여 도출 가능한 모든 실시예를 권리범위로 포함함을 명백하게 밝혀두는 바이다.According to the fifth unidirectional radio signal transmitting embodiment of the present invention, the code verifying unit 270 may extract a unique code and / or a code in a form of partially selecting or combining at least one of the first through fourth unidirectional radio signal transmitting embodiments. Or the identification code including the authentication code, and the signal transmitting unit 280 can process the unidirectional radio signal including the identification code to be transmitted through the RF processor 245. It is clearly understood that the present invention includes all embodiments which can be derived from a modification of the above embodiment as a scope of right.
도면2를 참조하면, 상기 근거리장치(200)의 칩모듈(230)은, 상기 양방향 근거리 통신이 연결된 사용자의 무선단말(300)과 양방향 근거리 통신을 처리하는 통신 처리부(265)와, 상기 양방향 근거리 통신을 통해 사용자의 무선단말(300)로 전송할 인증코드를 생성하는 코드 생성부(275)와, 상기 양방향 근거리 통신을 통해 사용자의 무선단말(300)로 상기 생성된 인증코드를 전송하는 코드 전송부(290)를 구비하며, 상기 양방향 근거리 통신을 통해 상기 사용자의 무선단말(300)로부터 인증코드 요청을 확인하는 요청 확인부(285)를 구비할 수 있다.2, the chip module 230 of the near device 200 includes a communication processor 265 for processing bi-directional short distance communication with a user's wireless terminal 300 connected to the bidirectional short distance communication, A code generation unit 275 for generating an authentication code to be transmitted to the user's wireless terminal 300 through communication and a code transmission unit for transmitting the generated authentication code to the user's wireless terminal 300 through the bidirectional local area communication And a request confirmation unit 285 for confirming a request for an authentication code from the user's wireless terminal 300 through the bidirectional local area communication.
상기 통신 처리부(265)는 상기 통신 연결부(260)를 통해 양방향 근거리 통신이 연결된 사용자의 무선단말(300)과 양방향 근거리 무선 통신과 양방향 근거리 케이블 통신 중 적어도 하나의 양방향 근거리 통신을 처리한다.The communication processing unit 265 processes at least one bi-directional short distance communication between the user's wireless terminal 300 and the bidirectional short distance communication through the communication connection unit 260.
상기 사용자의 무선단말(300)에 구비된 프로그램(325)은 지정된 운영서버(400)로부터 상기 근거리장치(200)의 칩모듈(230)에서 생성한 인증코드를 요청하는 요청정보가 수신되거나, 및/또는 상기 운영서버(400)로부터 결제금액을 포함하는 결제정보를 수신하여 출력함에 의해, 지정된 절차에 따라 상기 양방향 근거리 통신을 통해 상기 근거리장치(200)의 칩모듈(230)로 상기 인증코드를 요청하는 코드요청정보를 전송할 수 있으며, 상기 요청 확인부(285)는 상기 양방향 근거리 통신을 통해 상기 사용자의 무선단말(300)로부터 상기 코드요청정보를 수신한다. 한편 실시 방법에 따라 상기 요청 확인부(285)는 사용자의 무선단말(300)로부터 인증코드를 생성하기 위한 정보(예컨대, 시간 값, 난수 값, 무선단말(300)의 기기ID 값, 무선단말(300)의 프로그램(325)이 운영서버(400)로부터 수신하여 제공한 값 등)을 포함하는 코드요청정보를 수신할 수 있다.The program 325 included in the user's wireless terminal 300 receives request information requesting the authentication code generated by the chip module 230 of the short range device 200 from the designated operation server 400, Or the payment information including the payment amount from the operation server 400 and outputs the payment information to the chip module 230 of the short range device 200 via the bidirectional local communication according to a designated procedure, The request confirmation unit 285 receives the code request information from the user's wireless terminal 300 through the bidirectional local area communication. Meanwhile, the request confirmation unit 285 may transmit information (e.g., a time value, a random number value, a device ID value of the wireless terminal 300, a wireless terminal A value received from the operating server 400 by the program 325 of the server 300, and the like).
상기 요청 확인부(285)를 통해 상기 사용자의 무선단말(300)로부터 상기 인증코드 요청이 확인되거나, 및/또는 상기 칩모듈(230) 내에 설정된 동작 절차에 따라 상기 인증코드를 상기 사용자의 무선단말(300)로 전송하도록 설정되는 경우, 상기 코드 생성부(275)는 상기 칩모듈(230)의 메모리부(240)에 저장된 정보(예컨대, 씨드 값), 상기 칩모듈(230)에서 동적 결정된 정보(예컨대, 상기 전원 충전부(215)의 충전 전원을 이용하여 카운트되는 시간 값, 상기 통신 처리부(265)를 통해 사용자의 무선단말(300)과 시간 동기화 후 상기 충전 전원을 이용하여 카운트되는 시간 값 등), 상기 통신 처리부(265)를 통한 양방향 근거리 통신을 통해 사용자의 무선단말(300)로부터 제공받은 정보(예컨대, 상기 통신 처리부(265)를 통해 사용자의 무선단말(300)로부터 수신된 시간 값, 난수 값, 무선단말(300)의 기기ID 값, 무선단말(300)의 프로그램(325)이 운영서버(400)로부터 수신하여 제공한 값 등) 중 하나 이상의 정보를 씨드로 이용하여 일회용코드 형태의 인증코드를 생성할 수 있다.The authentication code request is confirmed from the user's wireless terminal 300 through the request confirmation unit 285 and / or the authentication code is transmitted to the user's wireless terminal 300 according to an operation procedure set in the chip module 230. [ The code generation unit 275 generates the information (for example, seed value) stored in the memory unit 240 of the chip module 230, the information dynamically determined in the chip module 230 (For example, a time value counted using the charging power source of the power charging unit 215, a time value counted using the charging power source after the time synchronization with the user's wireless terminal 300 via the communication processing unit 265) The time information received from the user's wireless terminal 300 through the communication processing unit 265, the time information received from the user's wireless terminal 300 through the communication processing unit 265, Random number A device ID value of the wireless terminal 300, a value received from the operation server 400 by the program 325 of the wireless terminal 300, or the like) as a seed to generate a one- Lt; / RTI >
또는, 상기 코드 생성부(275)는 상기 칩모듈(230)의 메모리부(240)에 구비된 정보와 상기 칩모듈(230)에서 동적 결정된 정보와 상기 통신 처리부(265)를 통한 양방향 근거리 통신을 통해 사용자 소유 무선단말(300)의 프로그램(325)으로부터 제공받은 정보 중 하나 이상의 정보를 지정된 운영서버(400)를 통해 복호화 가능하게 암호화한 암호코드 형태의 인증코드를 생성할 수 있다.Alternatively, the code generating unit 275 may receive information provided in the memory unit 240 of the chip module 230, information dynamically determined in the chip module 230, and bidirectional near field communication through the communication processing unit 265 An authentication code in the form of a cipher code in which one or more pieces of information provided from the program 325 of the user-possessed wireless terminal 300 can be decrypted through the designated operation server 400 can be generated.
또는, 상기 코드 생성부(275)는 상기 칩모듈(230)의 메모리부(240)에 구비된 인증서를 이용하여 상기 칩모듈(230)에 구비된 정보와 상기 칩모듈(230)에서 동적 결정된 정보와 상기 통신 처리부(265)를 통한 양방향 근거리 통신을 통해 사용자 소유 무선단말(300)의 프로그램(325)으로부터 제공받은 정보 중 하나 이상의 정보를 전자서명한 서명코드 형태의 인증코드를 생성할 수 있다.Alternatively, the code generation unit 275 may generate the information provided in the chip module 230 and the information dynamically determined in the chip module 230 using the certificate provided in the memory unit 240 of the chip module 230 And an authentication code in the form of a signature code obtained by digitally signing one or more pieces of information provided from the program 325 of the user-possessed wireless terminal 300 through bidirectional short-range communication through the communication processor 265. [
한편 상기 제3 또는 제4 단방향 무선신호 송출 실시예에 따라 상기 신호 송출부(280)를 통해 송출되는 단방향 무선신호에 칩모듈(230)에서 생성한 인증코드를 포함되는 경우, 상기 코드 생성부(275)는 상기 단방향 무선신호에 포함된 인증코드를 상기 양방향 근거리 통신을 통해 사용자의 무선단말(300)로 전송할 인증코드로 확인할 수 있다.Meanwhile, when the unidirectional radio signal transmitted through the signal transmitting unit 280 includes the authentication code generated by the chip module 230 according to the third or fourth unidirectional radio signal transmitting embodiment, the code generating unit 275 may confirm the authentication code included in the unidirectional wireless signal with an authentication code to be transmitted to the user's wireless terminal 300 through the bidirectional local area communication.
상기 코드 전송부(290)는 상기 양방향 근거리 통신을 통해 상기 코드 생성부(275)를 통해 생성/확인된 인증코드를 사용자의 무선단말(300)로 전송하며, 상기 사용자의 무선단말(300)은 상기 양방향 근거리 통신을 통해 상기 칩모듈(230)에서 생성된 인증코드를 수신한다. 상기 무선단말(300)의 프로그램(325)은 상기 칩모듈(230)에서 생성된 인증코드를 포함하는 결제확인정보를 지정된 운영서버(400)로 전송할 수 있다.The code transmitting unit 290 transmits the authentication code generated / verified through the code generating unit 275 to the user's wireless terminal 300 through the bidirectional local area communication, and the user's wireless terminal 300 And receives the authentication code generated in the chip module 230 through the bidirectional local area communication. The program 325 of the wireless terminal 300 may transmit the payment confirmation information including the authentication code generated in the chip module 230 to the designated operation server 400.
도면3은 본 발명의 실시 방법에 따른 사용자 소유 무선단말(300)의 기능 구성을 도시한 도면이다.FIG. 3 is a diagram illustrating a functional configuration of a user-owned wireless terminal 300 according to an embodiment of the present invention.
보다 상세하게 본 도면3은 근거리장치(200)의 칩모듈(230)과 양방향 근거리 통신하여 상기 양방향 근거리 통신을 통해 상기 칩모듈(230)에서 생성한 인증코드를 수신하고, 상기 칩모듈(230)에서 송출하는 단방향 무선신호를 인식 가능한 무선단말(300)의 기능 구성을 도시한 것으로서, 본 발명이 속한 기술분야에서 통상의 지식을 가진 자라면, 본 도면3을 참조 및/또는 변형하여 상기 무선단말(300) 기능에 대한 다양한 실시 방법을 유추할 수 있을 것이나, 본 발명은 상기 유추되는 모든 실시 방법을 포함하여 이루어지며, 본 도면3에 도시된 실시 방법만으로 그 기술적 특징이 한정되지 아니한다. 바람직하게, 본 도면3의 무선단말(300)은 망 통신 기능과 양방향 근거리 통신 기능 및 단방향 무선 신호 수신 기능을 구비한 각종 스마트폰, 각종 태블릿PC 및 각종 휴대폰 중 적어도 하나를 포함할 수 있다.3 illustrates bidirectional short distance communication with the chip module 230 of the short range device 200 to receive the authentication code generated by the chip module 230 via the bidirectional short distance communication, The wireless terminal 300 is capable of recognizing the unidirectional wireless signal transmitted from the wireless terminal 300. As a person skilled in the art to which the present invention pertains, It is to be understood that the present invention is not limited to the above-described exemplary embodiments, and various changes and modifications may be made without departing from the scope of the present invention. 3 may include at least one of various smart phones, various tablet PCs, and various mobile phones having a network communication function, a bi-directional local communication function, and a unidirectional wireless signal receiving function.
도면3을 참조하면, 상기 무선단말(300)은, 제어부(302)와 메모리부(320)와 화면 출력부(304)와 사용자 입력부(306)와 사운드 처리부(316)와 케이블 통신부(310)와 근거리 무선 통신부(308)와 근거리망 통신부(312)와 무선망 통신부(314)와 USIM 리더부(318) 및 USIM를 구비하며, 전원 공급을 위한 배터리를 구비한다.3, the wireless terminal 300 includes a control unit 302, a memory unit 320, a screen output unit 304, a user input unit 306, a sound processing unit 316, a cable communication unit 310, A short range wireless communication unit 308, a short range wireless communication unit 312, a wireless network communication unit 314, a USIM reader unit 318, and a USIM, and has a battery for power supply.
상기 제어부(302)는 상기 무선단말(300)의 동작을 제어하는 구성의 총칭으로서, 적어도 하나의 프로세서와 실행 메모리를 포함하여 구성되며, 상기 무선단말(300)에 구비된 각 구성부와 버스(BUS)를 통해 연결된다. 본 발명에 따르면, 상기 제어부(302)는 상기 프로세서를 통해 상기 무선단말(300)에 구비되는 적어도 하나의 프로그램코드를 상기 실행 메모리에 로딩하여 연산하고, 그 결과를 상기 버스를 통해 적어도 하나의 구성부로 전달하여 상기 무선단말(300)의 동작을 제어한다. 이하, 편의상 프로그램코드 형태로 구현되는 본 발명의 프로그램(325) 구성을 본 제어부(302) 내에 도시하여 설명하기로 한다.The control unit 302 is a general term for controlling the operation of the wireless terminal 300. The control unit 302 includes at least one processor and an execution memory, BUS). According to the present invention, the control unit 302 loads at least one program code included in the wireless terminal 300 into the execution memory through the processor, and outputs the result through at least one configuration And controls the operation of the wireless terminal 300. FIG. Hereinafter, the configuration of the program 325 of the present invention, which is implemented in the form of program code for convenience, will be described in the control unit 302. FIG.
상기 메모리부(320)는 상기 무선단말(300)의 저장 자원에 대응되는 비휘발성 메모리의 총칭으로서, 상기 제어부(302)를 통해 실행되는 적어도 하나의 프로그램코드와, 상기 프로그램코드가 이용하는 적어도 하나의 데이터셋트를 저장하여 유지한다. 상기 메모리부(320)는 기본적으로 상기 무선단말(300)의 운영체제에 대응하는 시스템프로그램코드와 시스템데이터셋트, 상기 무선단말(300)의 무선 통신 연결을 처리하는 통신프로그램코드와 통신데이터셋트 및 적어도 하나의 응용프로그램코드와 응용데이터셋트를 저장하며, 본 발명의 프로그램(325)에 대응하는 프로그램코드와 데이터셋트도 상기 메모리부(320)에 저장된다.The memory unit 320 is a general term of a nonvolatile memory corresponding to a storage resource of the wireless terminal 300 and includes at least one program code executed through the control unit 302 and at least one Save and maintain the dataset. The memory unit 320 basically includes a system program code and a system data set corresponding to the operating system of the wireless terminal 300, a communication program code and a communication data set for processing a wireless communication connection of the wireless terminal 300, The program code and data set corresponding to the program 325 of the present invention are also stored in the memory unit 320. [
상기 화면 출력부(304)는 화면출력기(예컨대, LCD(Liquid Crystal Display) 등)와 이를 구동하는 구동 모듈로 구성되며, 상기 제어부(302)와 연동되어 상기 제어부(302)의 각종 연산 결과 중 화면 출력에 대응하는 연산 결과를 상기 화면출력 장치로 출력한다.The screen output unit 304 includes a screen output unit (e.g., an LCD (Liquid Crystal Display) or the like) and a driving module for driving the screen output unit 304. The screen output unit 304 is connected to the control unit 302, And outputs an operation result corresponding to the output to the screen output device.
상기 사용자 입력부(306)는 하나 이상의 사용자입력기(예컨대, 버튼, 키패드, 터치패드, 화면 출력부(304)와 연동하는 터치스크린 등)와 이를 구동하는 구동 모듈로 구성되며, 상기 제어부(302)와 연동되어 상기 제어부(302)의 각종 연산을 명령하는 명령을 입력하거나, 또는 상기 제어부(302)의 연산에 필요한 데이터를 입력한다.The user input unit 306 includes at least one user input device (e.g., a button, a keypad, a touch pad, a touch screen coupled to the screen output unit 304), and a drive module for driving the touch screen. And inputs a command for instructing various operations of the control unit 302 or data necessary for the operation of the control unit 302. [
상기 사운드 처리부(316)는 스피커와 마이크로폰과 및 이를 구동하는 구동 모듈로 구성되며, 상기 제어부(302)의 각종 연산 결과 중 사운드 출력에 대응하는 사운드 데이터를 디코딩(Decoding)하여 상기 스피커를 통해 출력하거나, 또는 상기 마이크로폰을 통해 입력되는 사운드 신호를 엔코딩(Encoding)하여 상기 제어부(302)로 전달한다.The sound processing unit 316 includes a speaker, a microphone, and a driving module for driving the speaker. The sound processing unit 316 decodes sound data corresponding to the sound output from the various calculation results of the control unit 302 and outputs the sound data through the speaker Or a sound signal input through the microphone, and transmits the encoded sound signal to the controller 302. [
상기 케이블 통신부(310)는 유선 케이블을 이용하여 전원을 공급받거나 또는 USB 기반의 근거리 케이블 통신을 제공하는 구성부로서, 상기 유선 케이블을 통해 공급되는 전원은 상기 배터리에 충전된다. 상기 케이블 통신부(310)는 유선 케이블 연결 시 USB 기반의 근거리 케이블 통신이 가능한지 판별하며, USB 기반의 근거리 케이블 통신이 가능한 경우 유선 케이블을 이용하여 USB 기반의 근거리 케이블 통신을 처리한다.The cable communication unit 310 receives power using a cable or provides USB-based short-range cable communication, and the power supplied through the cable is charged in the battery. The cable communication unit 310 determines whether USB-based short-range cable communication is available when the cable is connected, and USB-based short-range cable communication when the USB-based short-range cable communication is available.
상기 근거리 무선 통신부(308)는 근거리장치(200)의 칩모듈(230)과 양방향 근거리 무선 통신을 처리하고 상기 근거리장치(200)의 칩모듈(230)에서 송출한 단방향 무선신호를 수신 가능한 구성부로서, 바람직하게 블루투스 기반의 양방향 근거리 무선 통신을 처리하고 블루투스 기반의 단방향 무선신호를 수신하는 블루투스 구성부를 포함할 수 있다. 그러나 상기 근거리 무선 통신부(308)의 통신 규격 내지 신호 규격이 상기 블루투스로 한정되는 것은 아니며, 근거리장치(200)의 칩모듈(230)과 양방향 근거리 무선 통신을 처리하고 상기 근거리장치(200)의 칩모듈(230)에서 송출한 단방향 무선신호를 수신 가능하다면 어떤 통신 규격 내지 신호 규격이 적용되더라도 본 발명의 권리범위에 속함을 명백하게 밝혀두는 바이다.The short range wireless communication unit 308 is a unit for processing bidirectional short distance wireless communication with the chip module 230 of the short range device 200 and capable of receiving a unidirectional wireless signal transmitted from the chip module 230 of the short range device 200, And preferably includes a Bluetooth component for processing Bluetooth based bidirectional local area wireless communication and receiving Bluetooth based unidirectional wireless signals. However, the communication standard and the signal standard of the short-range wireless communication unit 308 are not limited to the Bluetooth, and the short-range wireless communication with the chip module 230 of the short- It is evident that whichever communication standard or signal standard is applied, it is within the scope of the present invention if a unidirectional radio signal transmitted from the module 230 can be received.
상기 무선망 통신부(314)와 근거리망 통신부(312)는 상기 무선단말(300)을 지정된 통신망에 접속시키는 통신 자원의 총칭이다. 바람직하게, 상기 무선단말(300)은 무선망 통신부(314)를 기본 통신 자원으로 구비할 수 있으며, 하나 이상의 근거리망 통신부(312)를 구비할 수 있다.The wireless network communication unit 314 and the short-range network communication unit 312 are collectively referred to as communication resources for connecting the wireless terminal 300 to a designated communication network. Preferably, the wireless terminal 300 may include a wireless network communication unit 314 as a basic communication resource, and may include one or more short-range network communication units 312.
상기 무선망 통신부(314)는 상기 무선단말(300)을 기지국을 경유하는 무선 통신망에 접속시키는 통신 자원의 총칭으로서, 특정 주파수 대역의 무선 주파수 신호를 송수신하는 안테나, RF모듈, 기저대역모듈, 신호처리모듈을 적어도 하나 포함하여 구성되며, 상기 제어부(302)와 연결되어 상기 제어부(302)의 각종 연산 결과 중 무선 통신에 대응하는 연산 결과를 무선 통신망을 통해 전송하거나 또는 무선 통신망을 통해 데이터를 수신하여 상기 제어부(302)로 전달함과 동시에, 상기 무선 통신의 접속, 등록, 통신, 핸드오프의 절차를 수행한다. 본 발명에 따르면, 상기 무선망 통신부(314)는 상기 무선단말(300)을 교환기를 경유하는 통화채널과 데이터채널을 포함하는 통화망에 연결할 수 있으며, 경우에 따라 상기 교환기를 경유하지 않고 패킷 통신 기반의 무선망 데이터 통신(예컨대, 인터넷)을 제공하는 데이터망에 연결할 수 있다.The wireless network communication unit 314 collectively refers to a communication resource for connecting the wireless terminal 300 to a wireless communication network via a base station. The wireless communication unit 314 may include an antenna, an RF module, a baseband module, And transmits the calculation result corresponding to the wireless communication among the various calculation results of the controller 302 through the wireless communication network or receives data through the wireless communication network To the control unit 302, and performs the connection, registration, communication, and handoff procedures of the wireless communication. According to the present invention, the wireless network communication unit 314 can connect the wireless terminal 300 to a communication network including a communication channel and a data channel via the exchange, and in some cases, Based wireless network data communication (e.g., the Internet).
본 발명의 실시 방법에 따르면, 상기 무선망 통신부(314)는 CDMA/WCDMA/LTE 규격에 따라 이동 통신망에 접속, 위치등록, 호처리, 통화연결, 데이터통신, 핸드오프를 적어도 하나 수행하는 이동 통신 구성을 포함한다. 한편 당업자의 의도에 따라 상기 무선망 통신부(314)는 IEEE 802.16 관련 규격에 따라 휴대인터넷에 접속, 위치등록, 데이터통신, 핸드오프를 적어도 하나 수행하는 휴대 인터넷 통신 구성을 더 포함할 수 있으며, 상기 무선망 통신부(314)가 제공하는 무선 통신 구성에 의해 본 발명이 한정되지 아니함을 명백히 밝혀두는 바이다. 즉, 상기 무선망 통신부(314)는 무선 구간의 주파수 대역이나 통신망의 종류 또는 프로토콜에 무관하게 셀 기반의 기지국을 통해 무선 통신망에 접속하는 구성부의 총칭이다.According to an embodiment of the present invention, the wireless network communication unit 314 is a mobile communication unit that performs at least one of connection to a mobile communication network, location registration, call processing, call connection, data communication, and handoff according to the CDMA / WCDMA / ≪ / RTI > Meanwhile, according to the intention of a person skilled in the art, the wireless network communication unit 314 may further include a portable internet communication structure for performing at least one of connection to the portable Internet, location registration, data communication and handoff according to the IEEE 802.16 standard, It is evident that the present invention is not limited by the wireless communication configuration provided by the wireless network communication unit 314. [ That is, the wireless network communication unit 314 is a general term for a configuration unit that connects to a wireless communication network through a cell-based base station irrespective of a frequency band of a wireless section, a type of a communication network, or a protocol.
상기 근거리망 통신부(312)는 일정 거리 이내(예컨대, 10m)에서 무선 주파수 신호를 통신매체로 이용하여 통신세션을 연결하고 이를 기반으로 상기 무선단말(300)을 통신망에 접속시키는 통신 자원의 총칭으로서, 바람직하게는 와이파이 통신, 공중무선 통신, UWB 중 적어도 하나를 통해 상기 무선단말(300)을 통신망에 접속시킬 수 있다. 본 발명의 실시 방법에 따르면, 상기 근거리망 통신부(312)는 상기 무선망 통신부(314)와 통합 또는 분리된 형태로 구현될 수 있다. 본 발명에 따르면, 상기 근거리망 통신부(312)는 무선AP를 통해 상기 무선단말(300)을 패킷 통신 기반의 근거리 무선 데이터 통신을 제공하는 데이터망에 연결한다.The short-range network communication unit 312 collectively refers to a communication resource for connecting a communication session using a radio frequency signal within a predetermined distance (e.g., 10 m) as a communication medium and connecting the wireless terminal 300 to the communication network based on the communication session , The wireless terminal 300 may be connected to the communication network through at least one of Wi-Fi communication, public wireless communication, and UWB. According to an embodiment of the present invention, the local area network communication unit 312 may be integrated with or separated from the wireless network communication unit 314. According to the present invention, the short-range network communication unit 312 connects the wireless terminal 300 to a data network providing packet-based short-range wireless data communication through a wireless AP.
상기 USIM 리더부(318)는 ISO/IEC 7816 규격을 기반으로 상기 무선단말(300)에 탑재 또는 이탈착되는 범용가입자식별모듈(Universal Subscriber Identity Module)과 적어도 하나의 데이터셋트를 교환하는 구성의 총칭으로서, 상기 데이터셋트는 APDU(Application Protocol Data Unit)를 통해 반이중 통신 방식으로 교환된다.The USIM reader unit 318 is a generic term of a configuration for exchanging at least one data set with a universal subscriber identity module mounted or detached from the wireless terminal 300 based on the ISO / IEC 7816 standard , And the data set is exchanged in a half duplex communication manner through an APDU (Application Protocol Data Unit).
상기 USIM은 상기 ISO/IEC 7816 규격에 따른 IC칩이 구비된 SIM 타입의 카드로서, 상기 USIM 리더부(318)와 연결되는 적어도 하나의 접점을 포함하는 입출력 인터페이스와, 적어도 하나의 IC칩용 프로그램코드와 데이터셋트를 저장하는 IC칩 메모리와, 상기 입출력 인터페이스와 연결되어 상기 무선단말(300)로부터 전달되는 적어도 하나의 명령에 따라 상기 IC칩용 프로그램코드를 연산하거나 상기 데이터셋트를 추출(또는 가공)하여 상기 입출력 인터페이스로 전달하는 프로세서를 포함하여 이루어진다.The USIM is an SIM type card having an IC chip conforming to the ISO / IEC 7816 standard, and includes an input / output interface including at least one contact connected to the USIM reader 318, a program code for at least one IC chip (Or processing) the program code for the IC chip in accordance with at least one command transmitted from the wireless terminal 300, or extracting (or processing) the data set in association with the input / output interface To the input / output interface.
상기 제어부(302)는 상기 통신 자원이 접속 가능한 데이터망을 근거리장치(200)의 칩모듈(230)과 연동하는 프로그램(325)을 다운로드하여 상기 메모리부(320)에 저장하며, 이후 상기 프로그램(325)이 구동되어 본 발명에 따른 동작을 수행할 수 있다.The control unit 302 downloads a program 325 linked with the chip module 230 of the short range device 200 to store the program in the memory unit 320, 325 are driven to perform operations according to the present invention.
도면3을 참조하면, 상기 무선단말(300)의 프로그램(325)은, 상기 근거리 무선 통신부(308)와 연동하여 양방향 근거리 무선 통신을 기반으로 무선단말(300)의 사용자가 소유한 근거리장치(200)의 칩모듈(230)을 식별하는 칩모듈 식별부(330)와, 상기 근거리 무선 통신부(308)와 연동하여 상기 식별된 근거리장치(200)의 칩모듈(230)과 방향 근거리 무선 통신을 연결하는 근거리 무선 칩모듈 연결부(335)를 구비하며, 상기 케이블 통신부(310)와 연동하여 유선 케이블이 연결된 근거리장치(200)와 양방향 근거리 케이블 통신을 연결하는 근거리 케이블 칩모듈 연결부(335)를 구비한다.Referring to FIG. 3, a program 325 of the wireless terminal 300 is connected to the local device 200 (FIG. 3) owned by the user of the wireless terminal 300, based on bidirectional short- A chip module identification unit 330 for identifying a chip module 230 of the short range wireless communication unit 308 in cooperation with the short range wireless communication unit 308, And a short-distance cable chip module connection unit 335 having a short-range wireless chip module connection unit 335 connected to the short-distance device 200 and connected to the cable communication unit 310, .
상기 칩모듈 식별부(330)는 상기 근거리장치(200)의 칩모듈(230)의 최초 동작 시(또는 칩모듈(230)에서 양방향 근거리 무선 통신을 연결할 사용자의 무선단말(300)을 식별 전 동작 시, 또는 칩모듈(230)에 사용자의 무선단말(300)에 대한 통신식별정보가 저장되기 전 동작 시, 또는 상기 근거리장치(200)의 조작부(225)를 통한 사용자 조작 시), 상기 근거리 무선 통신부(308)를 통해 양방향 근거리 무선 통신 가능한 근거리통신장치 중에서 상기 사용자가 소유한 근거리장치(200)의 칩모듈(230)을 식별하는 절차를 수행한다. 예를들어, 상기 근거리 무선 통신부(308)가 블루투스 기반의 양방향 근거리 무선 통신을 처리하는 경우, 상기 칩모듈 식별부(330)는 블루투스 페어링 절차에 따라 상기 사용자가 소유한 근거리장치(200)와 페어링 절차를 수행함으로써, 블루투스 기반의 양방향 근거리 무선 통신을 연결할 사용자의 근거리장치(200)의 칩모듈(230)을 식별할 수 있다. 본 발명의 실시 방법에 따르면, 상기 칩모듈 식별부(330)는 상기 사용자의 근거리장치(200)를 식별한 결과로서 상기 사용자의 근거리장치(200)와 양방향 근거리 무선 통신을 연결하기 위한 통신식별정보를 확인하여 상기 메모리부(320)에 저장 가능하며, 이 경우 상기 근거리 무선 칩모듈 연결부(335)는 별도의 식별 절차 없이 상기 통신식별정보를 이용하여 상기 사용자의 근거리장치(200)와 양방향 근거리 무선 통신을 연결할 수 있다.The chip module identification unit 330 identifies the wireless terminal 300 of the user to connect the bidirectional short distance wireless communication at the initial operation of the chip module 230 of the short range device 200 At the time of operation before the communication identification information of the user's wireless terminal 300 is stored in the chip module 230 or when the user operates the operation unit 225 of the short range device 200) And performs a procedure for identifying the chip module 230 of the short range device 200 owned by the user among the short range communication devices capable of bidirectional short distance wireless communication through the communication unit 308. [ For example, when the short-range wireless communication unit 308 processes the Bluetooth-based bidirectional short-range wireless communication, the chip module identification unit 330 performs a Bluetooth pairing procedure with the short- The user can identify the chip module 230 of the short range device 200 of the user to connect the Bluetooth based bidirectional short range wireless communication. According to an embodiment of the present invention, the chip module identification unit 330 identifies the user's short range device 200 as communication identification information for connecting the short range wireless communication with the short range device 200 of the user, The short-range wireless chip module connection unit 335 can identify the short-range wireless communication unit 300 with the user's short-range device 200 using the communication identification information without a separate identification process, Communication can be connected.
상기 근거리 무선 칩모듈 연결부(335)는 상기 근거리 무선 칩모듈 식별부(330)를 통해 사용자의 근거리장치(200)를 식별한 결과 또는 상기 메모리부(320)에 저장된 통신식별정보를 참조하여 상기 사용자의 근거리장치(200)와 양방향 근거리 무선 통신을 연결할 수 있다.The local wireless chip module connection unit 335 refers to the result of identifying the local device 200 of the user through the local area wireless chip module identification unit 330 or the communication identification information stored in the memory unit 320, Directional short-range wireless communication with the short range device 200 of FIG.
한편 상기 근거리 케이블 칩모듈 연결부(335)는 케이블 통신부(310)와 연동하여 상기 유선 케이블이 연결된 사용자의 근거리장치(200)를 확인하고, 상기 사용자의 근거리장치(200)와 양방향 근거리 케이블 통신을 연결할 수 있다. 실시 방법에 따라 상기 근거리 케이블 칩모듈 연결부(335)는 상기 유선 케이블이 연결되는 장치 중 상기 사용자의 근거리장치(200)를 식별하는 통신식별정보를 획득하여 상기 메모리부(320)에 저장할 수 있으며, 이 경우 상기 근거리 케이블 칩모듈 연결부(335)는 상기 통신식별정보에 대응하는 사용자의 근거리장치(200)와 양방향 근거리 케이블 통신을 연결할 수 있다. 이하, 상기 사용자의 근거리장치(200)와 양방향 근거리 무선 통신 및/또는 양방향 근거리 케이블 통신 중 적어도 하나의 양방향 근거리 통신을 연결하는 구성부를 통칭하여 칩모듈 연결부(335)라고 한다.Meanwhile, the short-distance cable chip module connection unit 335 is connected to the cable communication unit 310 to identify the short-range unit 200 of the user to which the short-range cable is connected and to connect the short- . According to an embodiment of the present invention, the short-range cable module connection unit 335 may acquire communication identification information identifying the user's short-range device 200 among the devices to which the cable is connected and store the acquired communication identification information in the memory unit 320, In this case, the short-distance cable chip module connection unit 335 can connect the short-distance local cable communication with the short-range device 200 of the user corresponding to the communication identification information. Hereinafter, a component for connecting at least one bi-directional local area communication between the local device 200 of the user and the bi-directional local area wireless communication and / or the bi-directional local area cable communication is collectively referred to as a chip module connecting portion 335.
도면3을 참조하면, 상기 무선단말(300)의 프로그램(325)은, 상기 양방향 근거리 통신이 연결된 근거리장치(200)의 칩모듈(230)과 양방향 근거리 통신을 처리하는 칩모듈 통신부(340)를 구비하고, 상기 칩모듈 통신부(340)를 통해 상기 근거리장치(200)의 칩모듈(230)과 양방향 근거리 통신하여 상기 근거리장치(200)의 칩모듈(230)을 관리하는 칩모듈 관리부(345)를 구비한다.3, the program 325 of the wireless terminal 300 includes a chip module communication unit 340 for processing bidirectional short distance communication with the chip module 230 of the short range device 200 to which the bi-directional short distance communication is connected And a chip module management unit 345 for performing bidirectional short distance communication with the chip module 230 of the short range device 200 through the chip module communication unit 340 to manage the chip module 230 of the short range device 200, Respectively.
상기 칩모듈 통신부(340)는 상기 근거리 무선 통신부(308)와 연동하여 상기 칩모듈 연결부(335)를 통해 통신 연결된 사용자의 근거리장치(200)의 칩모듈(230)과 양방향 근거리 무선 통신을 처리한다. 상기 칩모듈 관리부(345)는 상기 칩모듈 통신부(340)를 통해 상기 통신 연결된 근거리장치(200)의 칩모듈(230)로부터 상기 칩모듈(230)에서 송출하는 단방향 무선신호에 대한 상태정보를 수신하여 출력할 수 있다.The chip module communication unit 340 processes bi-directional short-range wireless communication with the chip module 230 of the short range device 200 of the user communicating with the short-range wireless communication unit 308 through the chip module connection unit 335 . The chip module management unit 345 receives status information on a unidirectional wireless signal transmitted from the chip module 230 from the chip module 230 of the short range communication device 200 through the chip module communication unit 340 And output it.
본 발명의 실시 방법에 따르면, 상기 칩모듈 관리부(345)는 상기 근거리장치(200)의 칩모듈(230)을 통해 송출할 단방향 무선신호에 포함시킬 별도의 고유코드를 설정 받고, 상기 칩모듈 통신부(340)의 양방향 근거리 통신을 통해 상기 근거리장치(200)로 상기 고유코드를 제공함으로써, 상기 근거리장치(200)의 칩모듈(230)을 통해 상기 제공된 별도의 고유코드를 포함하는 식별코드가 포함된 단방향 무선신호가 송출되게 제어할 수 있다.According to the embodiment of the present invention, the chip module management unit 345 sets a unique code to be included in the unidirectional radio signal to be transmitted through the chip module 230 of the short range device 200, By providing the unique code to the short range device 200 through bidirectional short distance communication of the short range device 340, an identification code including the provided separate unique code is included through the chip module 230 of the short range device 200 Directional radio signal is transmitted.
또는 상기 칩모듈 관리부(345)는 지정된 운영서버(400)로부터 상기 근거리장치(200)의 칩모듈(230)을 통해 송출할 단방향 무선신호에 포함시킬 별도의 고유코드를 수신하고, 상기 칩모듈 통신부(340)의 양방향 근거리 통신을 통해 상기 근거리장치(200)로 상기 고유코드를 제공함으로써, 상기 근거리장치(200)의 칩모듈(230)을 통해 상기 제공된 별도의 고유코드를 포함하는 식별코드가 포함된 단방향 무선신호가 송출되게 제어할 수 있다.Alternatively, the chip module management unit 345 may receive another unique code to be included in the unidirectional wireless signal to be transmitted from the designated operation server 400 through the chip module 230 of the short range device 200, By providing the unique code to the short range device 200 through bidirectional short distance communication of the short range device 340, an identification code including the provided separate unique code is included through the chip module 230 of the short range device 200 Directional radio signal is transmitted.
도면3을 참조하면, 상기 무선단말(300)의 프로그램(325)은, 상기 근거리 무선 통신부(308)와 연동하여 사용자 소유 근거리장치(200)의 칩모듈(230)에서 송출하는 단방향 무선신호를 수신하여 상기 단방향 무선신호에 포함된 고유코드 및/또는 인증코드를 인식하는 신호 인식부(350)와, 상기 인식된 고유코드 및/또는 인증코드를 판독하여 상기 근거리장치(200)의 칩모듈(230)에서 유효한 고유코드 및/또는 인증코드를 송출하는지 분석하는 신호 분석부(355)를 구비한다.Referring to FIG. 3, a program 325 of the wireless terminal 300 receives a unidirectional wireless signal transmitted from the chip module 230 of the user-owned short range device 200 in cooperation with the wireless local area communication unit 308 A signal recognition unit 350 for recognizing a unique code and / or an authentication code included in the unidirectional wireless signal, and a control unit 350 for reading the recognized unique code and / And a signal analyzing unit 355 analyzing whether the unique code and / or the authentication code is valid.
상기 신호 인식부(350)는 상기 근거리 무선 통신부(308)와 연동하여 사용자 소유 근거리장치(200)의 칩모듈(230)에서 송출한 단방향 무선신호를 수신하고, 상기 단방향 무선신호를 판독하여 상기 사용자 소유 근거리장치(200)의 칩모듈(230)에서 단방향 무선신호를 통해 송출한 고유코드 및/또는 인증코드를 인식한다.The signal recognition unit 350 receives the unidirectional radio signal transmitted from the chip module 230 of the user-owned short range device 200 in cooperation with the short-range wireless communication unit 308, reads the unidirectional radio signal, And recognizes a unique code and / or an authentication code transmitted via the unidirectional wireless signal from the chip module 230 of the owned short range device 200.
상기 신호 분석부(355)는 상기 칩모듈 통신부(340)를 통한 상기 근거리장치(200)의 칩모듈(230)과의 양방향 근거리 통신을 근거로 상기 근거리장치(200)의 칩모듈(230)에서 단방향 무선신호를 통해 송출해야 하는 고유코드 및/또는 인증코드를 확인하고, 상기 신호 인식부(350)를 통해 인식된 고유코드 및/또는 인증코드가 상기 근거리장치(200)의 칩모듈(230)에서 단방향 무선신호를 통해 송출해야 하는 고유코드 및/또는 인증코드와 매칭되는지 분석할 수 있다. 한편 상기 인증코드의 매칭을 위해 상기 신호 분석부(355)는 상기 인증코드의 매칭 인증을 위한 인증규칙을 구비하거나, 및/또는 상기 운영서버(400)로 상기 인증코드를 전송하여 인증 요청할 수 있다.The signal analyzer 355 analyzes the signal from the chip module 230 of the short range device 200 based on bi-directional short distance communication with the chip module 230 of the short range device 200 via the chip module communication unit 340 A unique code and / or an authentication code to be transmitted through the unidirectional wireless signal is checked, and a unique code and / or an authentication code recognized through the signal recognition unit 350 is transmitted to the chip module 230 of the short- Or a unique code and / or authentication code to be transmitted via the unidirectional wireless signal. Meanwhile, in order to match the authentication code, the signal analyzer 355 may include an authentication rule for matching authentication of the authentication code, and / or transmit the authentication code to the operation server 400 to request authentication .
만약 상기 고유코드 및/또는 인증코드가 매칭되는 경우, 상기 신호 분석부(355)는 상기 근거리장치(200)의 칩모듈(230)을 통해 송출되는 단방향 무선신호를 기반으로 요청되는 각종 서비스(예컨대, 결제 요청 등)가 유효한 것으로 처리하며, 그렇지 않은 경우 상기 신호 분석부(355)는 상기 칩모듈 관리부(345)를 통해 상기 근거리장치(200)의 칩모듈(230)을 통해 각종 서비스에 유효한 고유코드 및/또는 인증코드를 포함하는 단방향 무선신호가 송출되도록 제어할 수 있다.If the unique code and / or the authentication code are matched, the signal analyzer 355 analyzes various services (for example, a service request message, a service request message, etc.) requested based on a unidirectional radio signal transmitted through the chip module 230 of the short- The signal analyzer 355 notifies the signal analyzer 355 of the validity of the various services through the chip module 230 of the short range device 200 through the chip module manager 345, Directional radio signal including a code and / or an authentication code can be sent out.
도면3을 참조하면, 상기 무선단말(300)의 프로그램(325)은, 사용자 소유 근거리장치(200)의 칩모듈(230)에서 단방향 무선신호를 통해 송출하는 고유코드와, 상기 근거리장치(200)를 소유한 사용자 소유 무선단말(300)(또는 무선단말(300)의 프로그램(325))을 고유 식별하는 고유정보를 지정된 운영서버(400)에 등록 요청하는 등록 요청부(360)와, 상기 운영서버(400)에 등록된 고유코드가 상기 근거리장치(200)의 칩모듈(230)에서 송출하는 단방향 무선신호의 고유코드와 매칭되는지 확인하는 등록 확인부(365)를 구비한다.3, the program 325 of the wireless terminal 300 includes a unique code transmitted from the chip module 230 of the user-owned short range device 200 through the unidirectional wireless signal, A registration request unit 360 for requesting the specified operating server 400 to register unique information that uniquely identifies the user-owned wireless terminal 300 (or the program 325 of the wireless terminal 300) And a registration confirmation unit (365) for checking whether a unique code registered in the server (400) matches a unique code of a unidirectional radio signal transmitted from the chip module (230) of the short range device (200).
상기 무선단말(300)의 프로그램(325)을 최초 실행(또는 고유정보 등록 전 실행) 시, 상기 등록 요청부(360)는 상기 근거리장치(200)를 소유한 사용자 소유 무선단말(300)을 고유 식별하는 고유정보(예컨대, 전화번호, IMSI, IMEI, MAC 등) 및/또는 상기 사용자 소유 무선단말(300)에 설치 실행된 프로그램(325)을 고유 식별하는 고유정보(예컨대, 앱식별값, 디바이스토큰, 푸시토큰, UUID, UDID 등)를 확인하여 지정된 운영서버(400)로 등록 요청하며, 상기 운영서버(400)는 상기 근거리장치(200)를 소유한 사용자 소유 무선단말(300)(또는 무선단말(300)의 프로그램(325))을 고유 식별하는 고유정보를 제공받아 지정된 저장매체에 저장한다. 한편 실시 방법에 따라 상기 등록 요청부(360)는 상기 근거리장치(200)를 소유하고 상기 무선단말(300)을 소유한 사용자에 대한 사용자정보를 입력받아 지정된 경로를 경유하여 상기 운영서버(400)로 전송할 수 있으며, 이 경우 상기 운영서버(400)는 상기 사용자정보와 상기 고유정보를 매핑하여 지정된 저장매체에 저장할 수 있다.When the program 325 of the wireless terminal 300 is executed for the first time (or before execution of unique information registration), the registration request unit 360 requests the user-owned wireless terminal 300, which owns the short range device 200, (For example, an application identification value, a device ID, a device ID, a device identifier) unique to the unique information (e.g., telephone number, IMSI, IMEI, MAC and the like) The operation server 400 requests the registration of the wireless terminal 300 owned by the user who owns the short range device 200 (or wireless terminal 300) (Program 325 of the terminal 300) and stores the unique information in a designated storage medium. The registration request unit 360 possesses the local device 200 and receives user information about a user who owns the wireless terminal 300 according to an embodiment of the present invention. In this case, the operation server 400 may map the user information and the unique information and store the user information in a designated storage medium.
상기 칩모듈 식별부(330)를 통해 사용자 소유 근거리장치(200)의 칩모듈(230)이 식별되거나, 및/또는 상기 칩모듈 연결부(335)를 통해 상기 사용자 소유 근거리장치(200)의 칩모듈(230)과 양방향 근거리 통신이 연결되거나, 및/또는 사용자에 의해 상기 사용자 본인이 소유한 근거리장치(200)의 칩모듈(230)에 대한 고유코드가 입력되는 경우, 상기 등록 요청부(360)는 사용자 소유 근거리장치(200)의 칩모듈(230)에서 단방향 무선신호를 통해 송출하는 고유코드를 확인하고, 지정된 운영서버(400)로 상기 확인된 고유코드를 등록 요청하며, 상기 운영서버(400)는 상기 근거리장치(200)의 칩모듈(230)에서 단방향 무선신호를 통해 송출하는 고유코드를 수신하여 지정된 저장매체에 저장한다. 본 발명의 실시 방법에 따르면, 상기 등록 요청부(360)는 상기 운영서버(400)로 상기 무선단말(300)(또는 무선단말(300)의 프로그램(325))의 고유정보와 상기 고유코드를 전송하며, 상기 운영서버(400)는 상기 고유코드와 고유정보를 매핑하여 지정된 저장매체에 저장할 수 있다.The chip module 230 of the user-owned short range device 200 may be identified through the chip module identification part 330 and / or the chip module 230 of the user owned short range device 200 may be identified through the chip module connection part 335 When the unique code for the chip module 230 of the local device 200 owned by the user is inputted by the user and / or the unique request code for the chip module 230 owned by the user is input by the user, A unique code to be transmitted through the unidirectional radio signal is requested from the chip module 230 of the user's owned short range device 200 and a request for registering the unique code is transmitted to the designated operation server 400, Receives the unique code transmitted from the chip module 230 of the short range device 200 via the unidirectional radio signal and stores the received unique code in a designated storage medium. The registration request unit 360 transmits the unique information of the wireless terminal 300 (or the program 325 of the wireless terminal 300) and the unique code to the operation server 400 And the operation server 400 may map the inherent code and unique information and store the unique code in the designated storage medium.
상기 운영서버(400)를 통해 지정된 저장매체에 상기 고유코드가 등록된 경우, 상기 등록 확인부(365)는 상기 저장매체에 저장된 고유코드를 확인한다. 또한, 상기 등록 확인부(365)는 상기 칩모듈 통신부(340)를 통해 상기 근거리장치(200)의 칩모듈(230)과 통신하여 상기 칩모듈(230)에서 단방향 무선신호를 통해 송출하는 고유코드를 확인하거나, 또는 상기 신호 인식부(350)를 통해 상기 근거리장치(200)의 칩모듈(230)에서 송출하는 단방향 무선신호의 고유코드를 확인한 후, 상기 저장매체에 저장된 고유코드와 매칭되는지 확인할 수 있다. 만약 상기 저장매체에 저장된 고유코드가 상기 근거리장치(200)의 칩모듈(230)에서 송출하는 단방향 무선신호의 고유코드와 매칭되지 않는 경우, 등록 확인부(365)는 상기 등록 요청부(360)를 통해 상기 저장매체에 등록된 고유코드를 상기 근거리장치(200)의 칩모듈(230)에서 송출하는 단방향 무선신호의 고유코드와 매칭되도록 갱신할 수 있다.When the unique code is registered in the storage medium designated by the operation server 400, the registration confirmation unit 365 checks the unique code stored in the storage medium. The registration confirmation unit 365 communicates with the chip module 230 of the short range device 200 through the chip module communication unit 340 and transmits the unique code transmitted through the unidirectional wireless signal from the chip module 230 Or checks the unique code of the unidirectional radio signal transmitted from the chip module 230 of the short range device 200 through the signal recognition unit 350 and checks whether the unique code matches the unique code stored in the storage medium . If the unique code stored in the storage medium does not match the unique code of the unidirectional radio signal transmitted from the chip module 230 of the short range device 200, the registration confirmation unit 365 transmits the registration request to the registration request unit 360, The unique code registered in the storage medium may be updated to match the unique code of the unidirectional radio signal transmitted from the chip module 230 of the short range device 200.
본 발명의 실시 방법에 따르면, 상기 근거리장치(200)의 칩모듈(230)에서 송출하는 단방향 무선신호의 고유코드는 상기 칩모듈 관리부(345)를 통해 변경될 수 있다. 이 경우 상기 등록 확인부(365)는 상기 칩모듈 관리부(345)를 통해 변경된 고유코드를 확인하거나, 또는 상기 칩모듈 통신부(340)를 통해 상기 근거리장치(200)의 칩모듈(230)과 통신하여 상기 칩모듈(230)에서 단방향 무선신호를 통해 송출하는 고유코드를 확인하거나, 또는 상기 신호 인식부(350)를 통해 상기 근거리장치(200)의 칩모듈(230)에서 송출하는 단방향 무선신호의 고유코드를 확인한 후, 상기 저장매체에 저장된 고유코드와 상기 근거리장치(200)의 칩모듈(230)에서 실제 송출하는 단방향 무선신호의 고유코드가 매칭되는지 확인할 수 있다. 만약 상기 저장매체에 저장된 고유코드가 상기 근거리장치(200)의 칩모듈(230)에서 송출하는 단방향 무선신호의 고유코드와 매칭되지 않는 경우, 등록 확인부(365)는 상기 등록 요청부(360)를 통해 상기 저장매체에 등록된 고유코드를 상기 근거리장치(200)의 칩모듈(230)에서 송출하는 단방향 무선신호의 고유코드와 매칭되도록 갱신할 수 있다. 즉, 상기 등록 확인부(365)와 등록 요청부(360)에 의해 상기 사용자가 소유한 근거리장치(200)의 칩모듈(230)에서 단방향 무선신호를 통해 송출하는 고유코드와 상기 저장매체에 저장된 고유코드는 결제를 위해 매칭된 상태를 유지하게 된다.According to the embodiment of the present invention, the unique code of the unidirectional radio signal transmitted from the chip module 230 of the short range device 200 can be changed through the chip module management unit 345. In this case, the registration confirmation unit 365 confirms the changed unique code through the chip module management unit 345 or communicates with the chip module 230 of the short range device 200 through the chip module communication unit 340 And transmits the unidirectional radio signal transmitted from the chip module 230 of the short range device 200 through the signal recognition unit 350 to the chip module 230 through the unidirectional radio signal The unique code stored in the storage medium and the unique code of the unidirectional radio signal actually transmitted from the chip module 230 of the short range device 200 are matched. If the unique code stored in the storage medium does not match the unique code of the unidirectional radio signal transmitted from the chip module 230 of the short range device 200, the registration confirmation unit 365 transmits the registration request to the registration request unit 360, The unique code registered in the storage medium may be updated to match the unique code of the unidirectional radio signal transmitted from the chip module 230 of the short range device 200. That is, the unique code transmitted from the chip module 230 of the short range device 200 owned by the user via the unidirectional radio signal by the registration confirmation unit 365 and the registration request unit 360, The unique code will remain matched for payment.
본 발명의 실시 방법에 따르면, 상기 등록 요청부(360)는 상기 사용자의 결제수단에 대응하는 결제수단정보를 입력받고, 상기 결제수단정보를 지정된 운영서버(400)로 전송(또는 상기 결제수단정보를 저장할 보안매체를 구비한 서버로 직접 전송)하여 등록 요청할 수 있으며, 상기 운영서버(400)(또는 상기 결제수단정보를 수신한 서버)는 상기 사용자의 결제수단정보를 지정된 보안매체에 등록 저장할 수 있다. 이 경우 상기 보안매체에 등록 저장된 결제수단정보는 상기 고유코드 및/또는 고유정보와 매핑될 수 있다.According to the embodiment of the present invention, the registration request unit 360 receives the payment means information corresponding to the payment means of the user, and transmits the payment means information to the designated operation server 400 (or the payment means information (Or the server receiving the payment means information) can register and store the payment means information of the user in a specified security medium. have. In this case, the payment means information stored in the secure medium may be mapped to the unique code and / or unique information.
본 발명의 실시 방법에 따르면, 상기 등록 요청부(360)는 상기 근거리장치(200)의 칩모듈(230)에서 생성할 인증코드의 유효성을 인증받기 위한 인증규칙의 적어도 일부 정보(예컨대, 씨드 값)를 설정하여 상기 운영서버(400)로 제공하여 등록 요청할 수 있으며, 상기 운영서버(400)는 상기 무선단말(300)의 프로그램(325)으로부터 제공받은 일부 정보 및/또는 운영서버(400)에서 자체적으로 결정한 정보 등을 이용하여 상기 근거리장치(200)의 칩모듈(230)에서 생성할 인증코드의 유효성을 인증받기 위한 인증규칙을 구성하여 상기 고유코드 및/또는 고유정보와 매핑하여 저장할 수 있다.According to an embodiment of the present invention, the registration request unit 360 may receive at least partial information (e.g., a seed value) of an authentication rule for authenticating the validity of an authentication code to be generated in the chip module 230 of the short- And the operation server 400 can provide the partial information provided from the program 325 of the wireless terminal 300 and / or the partial information received from the operation server 400 An authentication rule for authenticating the validity of an authentication code to be generated by the chip module 230 of the short range device 200 may be configured using information determined by itself and may be mapped and stored with the unique code and / .
도면3을 참조하면, 상기 무선단말(300)의 프로그램(325)은, 상기 근거리장치(200)의 칩모듈(230)에서 송출하는 단방향 무선신호의 고유코드를 인식한 결제장치(100)에서 상기 고유코드를 포함하는 결제요청정보를 상기 운영서버(400)로 전송하여 결제 요청한 경우, 상기 운영서버(400)로부터 상기 근거리장치(200)의 칩모듈(230)에서 생성한 인증코드를 요청하는 요청정보를 수신하거나 및/또는 상기 결제 처리할 금액에 대응하는 결제금액을 포함하는 결제정보를 수신하는 정보 수신부(370)와, 양방향 근거리 통신을 통해 근거리장치(200)의 칩모듈(230)에서 생성한 인증코드를 획득하는 인증코드 획득부(380)와, 상기 운영서버(400)로 상기 확인된 인증코드를 포함하는 결제확인정보를 전송하는 결제확인 처리부(385)를 구비하며, 상기 운영서버(400)로부터 결제정보를 수신한 경우 상기 수신된 결제정보가 상기 근거리장치(200)의 칩모듈(230)에서 송출한 단방향 무선신호에 대응하는 결제정보인지 인증하는 결제정보 인증부(375)를 더 구비하거나 및/또는 지정된 결제 방식과 결제수단을 이용하여 상기 결제정보에 대한 결제 절차를 수행하는 결제 절차부(390)를 더 구비한다.3, a program 325 of the wireless terminal 300 recognizes a unique code of a unidirectional wireless signal transmitted from the chip module 230 of the short range wireless device 200, A request for requesting the authentication code generated by the chip module 230 of the short range device 200 from the operation server 400 when the payment request information including the unique code is transmitted to the operation server 400 An information receiving unit 370 for receiving payment information including a payment amount corresponding to the amount of money to be received and / or receiving the information, and generating the payment information in the chip module 230 of the short range device 200 through bidirectional short- An authentication code acquisition unit 380 for acquiring a verification code and a payment confirmation processing unit 385 for transmitting payment confirmation information including the verification code to the operation server 400, 400) A payment information authentication unit 375 for authenticating whether the received payment information corresponds to the unidirectional wireless signal transmitted from the chip module 230 of the short range device 200 and / And a settlement processing unit 390 for performing a settlement procedure for the settlement information by using a settlement means and a settlement means.
상기 사용자 소유 근거리장치(200)의 칩모듈(230)에서 송출하는 단방향 무선신호의 고유코드를 인식한 결제장치(100)에서 상기 고유코드를 포함하는 결제요청정보를 상기 운영서버(400)로 전송하여 결제 요청한 경우, 상기 운영서버(400)는 상기 근거리장치(200)의 칩모듈(230)에서 생성한 인증코드를 요청하는 요청정보를 전송할 수 있는데, 이 경우 상기 정보 수신부(370)는 상기 운영서버(400)로부터 결제금액을 포함하는 요청정보를 수신할 수 있다. 또는 상기 운영서버(400)는 상기 근거리장치(200)를 소유한 사용자에게 지불 요청할 결제금액을 포함하는 결제정보를 확인한 후 상기 고유코드와 매핑된 고유정보에 대응하는 상기 사용자 소유 무선단말(300)의 프로그램(325)으로 상기 결제정보를 전송할 수 있는데, 이 경우 상기 정보 수신부(370)는 상기 운영서버(400)로부터 결제금액을 포함하는 결제정보를 수신할 수 있다.The settlement apparatus 100 recognizing the unique code of the unidirectional radio signal transmitted from the chip module 230 of the user-owned short range device 200 transmits the settlement request information including the unique code to the operation server 400 The operation server 400 may transmit the request information requesting the authentication code generated by the chip module 230 of the short range device 200. In this case, From the server 400, the request information including the payment amount. Alternatively, the operation server 400 may check the payment information including the payment amount to be requested to the user who owns the short range device 200, and transmit the payment information to the user-owned wireless terminal 300 corresponding to the unique information mapped with the unique code. The information receiving unit 370 may receive the payment information including the payment amount from the operation server 400. In this case,
상기 정보 수신부(370)를 통해 상기 요청정보 및/또는 결제정보를 수신한 경우, 상기 인증코드 획득부(380)는 상기 양방향 근거리 통신을 통해 상기 근거리장치(200)의 칩모듈(230)에서 생성한 인증코드를 획득(예컨대, 현재 양방향 근거리 통신이 연결된 근거리장치(200)의 칩모듈(230)(또는 결제정보에 포함된 고유코드에 대응하는 근거리장치(200)의 칩모듈(230))로 인증코드를 요청하여 수신)한다.Upon receiving the request information and / or the settlement information through the information receiving unit 370, the authentication code obtaining unit 380 generates the authentication code from the chip module 230 of the short range device 200 through the bidirectional local area communication (For example, the chip module 230 of the short range device 200 to which the bidirectional short distance communication is connected) (or the chip module 230 of the short range device 200 corresponding to the unique code included in the payment information) Authentication code is requested and received).
만약 상기 정보 수신부(370)를 통해 상기 요청정보가 수신된 경우, 상기 인증코드 획득부(380)는 상기 양방향 근거리 통신을 통해 상기 근거리장치(200)의 칩모듈(230)에서 생성한 인증코드를 획득(예컨대, 현재 양방향 근거리 통신이 연결된 근거리장치(200)의 칩모듈(230)(또는 결제정보에 포함된 고유코드에 대응하는 근거리장치(200)의 칩모듈(230))로 인증코드를 요청하여 수신)할 수 있다.If the request information is received through the information receiving unit 370, the authentication code obtaining unit 380 obtains the authentication code generated by the chip module 230 of the short range device 200 through the bidirectional local area communication (For example, the chip module 230 of the short range device 200 to which the bidirectional short distance communication is connected) (or the chip module 230 of the short range device 200 corresponding to the unique code included in the payment information) (Receiving).
만약 상기 정보 수신부(370)를 통해 상기 결제정보가 수신된 경우, 상기 인증코드 획득부(380)는 상기 운영서버(400)로부터 수신된 결제정보에 대한 사용자의 결제확인을 확인하기 위한 결제확인 인터페이스에 상기 결제정보를 포함시켜 출력할 수 있다. 만약 상기 사용자가 상기 결제확인 인터페이스를 통해 상기 결제정보에 대한 결제를 확인한 경우(예컨대, “확인” 버튼 클릭 또는 등록된 PIN 입력/인증 등), 상기 인증코드 획득부(380)는 상기 양방향 근거리 통신을 통해 상기 근거리장치(200)의 칩모듈(230)에서 생성한 인증코드를 획득(예컨대, 현재 양방향 근거리 통신이 연결된 근거리장치(200)의 칩모듈(230)(또는 결제정보에 포함된 고유코드에 대응하는 근거리장치(200)의 칩모듈(230))로 인증코드를 요청하여 수신)할 수 있다. 한편 상기 정보 수신부(370)를 통해 상기 결제정보가 수신된 경우, 상기 결제정보 인증부(375)는 상기 칩모듈 통신부(340)와 연동하거나 또는 상기 신호 인식부(350)와 연동하여 상기 사용자 소유 근거리장치(200)에서 송출하는 단방향 무선신호의 고유코드를 확인하고, 상기 결제정보에 포함된 고유코드와 상기 근거리장치(200)에서 송출하는 단방향 무선신호의 고유코드가 매칭되는지 인증함으로써, 상기 수신된 결제정보가 상기 근거리장치(200)의 칩모듈(230)에서 송출한 단방향 무선신호에 대응하는 결제정보인지 인증할 수 있다. 이 경우 상기 인증코드 획득부(380)는 상기 결제정보가 매칭되는 경우 상기 근거리장치(200)의 칩모듈(230)에서 생성한 인증코드를 획득할 수 있다.If the payment information is received through the information receiving unit 370, the authentication code obtaining unit 380 obtains a payment confirmation message for confirming the payment confirmation received from the operation server 400 The payment information may be included and output. If the user confirms the payment for the payment information through the payment confirmation interface (e.g., by clicking the " confirm " button or entering the registered PIN / authentication, etc.), the authentication code obtaining unit 380 obtains the bi- (For example, the chip module 230 of the short range device 200 to which the bidirectional short distance communication is connected) (or a unique code included in the billing information) To the chip module 230 of the short range device 200 corresponding to the wireless network 200). Meanwhile, when the payment information is received through the information receiving unit 370, the payment information authenticating unit 375 may communicate with the chip module communicating unit 340 or may be associated with the signal recognizing unit 350 By verifying the unique code of the unidirectional radio signal transmitted from the short range device 200 and authenticating whether the unique code included in the payment information matches the unique code of the unidirectional radio signal transmitted from the short range device 200, It is possible to verify that the payment information is payment information corresponding to the unidirectional wireless signal transmitted from the chip module 230 of the short range device 200. [ In this case, the authentication code obtaining unit 380 can obtain the authentication code generated by the chip module 230 of the short range device 200 when the payment information matches.
상기 인증코드 획득부(380)를 통해 상기 근거리장치(200)의 칩모듈(230)에서 생성한 인증코드가 획득되면, 상기 결제확인 처리부(385)는 상기 근거리장치(200)의 칩모듈(230)에서 생성한 인증코드를 포함하는 결제확인정보를 구성하여 상기 운영서버(400)로 전송할 수 있다. 한편 실시 방법에 따라 상기 운영서버(400)에 결제 처리를 위한 소정의 PIN이 등록된 경우, 상기 결제확인 처리부(385)는 상기 결제 처리를 위한 PIN을 입력받고, 상기 근거리장치(200)의 칩모듈(230)에서 생성한 인증코드와 상기 입력된 PIN을 포함하는 결제확인정보를 구성하여 상기 운영서버(400)로 전송할 수 있다. 한편 실시 방법에 따라 상기 운영서버(400)와 연동하는 보안매체에 상기 사용자의 결제수단정보가 등록된 경우, 상기 결제확인 처리부(385)는 상기 등록된 사용자의 결제수단정보를 식별하는 식별값을 선택받거나 자동 확인하고, 상기 결제수단정보의 식별값을 더 포함하는 결제확인정보를 구성하여 상기 운영서버(400)로 전송할 수 있다.When the authentication code generated by the chip module 230 of the short range device 200 is acquired through the authentication code acquisition unit 380, the payment confirmation processing unit 385 transmits the authentication code generated by the chip module 230 And transmits the settlement confirmation information to the operation server 400. [0060] Meanwhile, when a predetermined PIN for payment processing is registered in the operation server 400 according to an embodiment of the present invention, the payment confirmation processing unit 385 receives the PIN for the payment processing, And transmits the authentication code generated by the module 230 and payment confirmation information including the input PIN to the operation server 400. Meanwhile, when the settlement means information of the user is registered in the secure medium interlocked with the operation server 400 according to the embodiment, the settlement confirmation processing unit 385 obtains an identification value for identifying the payment means information of the registered user And transmits the payment confirmation information including the identification value of the payment means information to the operation server 400. [
상기 운영서버(400)는 상기 근거리장치(200)를 소유한 사용자 소유 무선단말(300)로부터 인증코드를 포함하는 결제확인정보를 수신하고, 지정된 절차에 따라 상기 무선단말(300)로부터 수신된 인증코드의 유효성이 인증되게 처리한다.The operation server 400 receives the payment confirmation information including the authentication code from the user-owned wireless terminal 300 possessing the local device 200 and transmits the payment confirmation information including the authentication received from the wireless terminal 300 Process the validity of the code to be authenticated.
상기 운영서버(400)와 연동 가능한 보안매체에 상기 사용자의 결제수단정보가 등록된 경우, 상기 운영서버(400)는 상기 인증코드의 인증 결과를 근거로 상기 보안매체에 등록된 사용자의 결제수단정보가 추출되어 지정된 결제서버(또는 금융사서버)를 통해 상기 결제요청정보(또는 결제정보)에 대한 결제 절차가 수행되도록 처리할 수 있다. 한편 본 발명의 실시예에서 상기 결제정보에 대한 결제를 처리하기 위해 이용되는 결제 방식과 결제수단은 어떠한 것이라도 무방하며, 특정한 결제 방식과 결제수단으로 한정되지 아니한다.When the payment method information of the user is registered in a security medium that can be interlocked with the operation server 400, the operation server 400 determines, based on the authentication result of the authentication code, Is extracted and processed so that the settlement procedure for the settlement request information (or the settlement information) is performed through the designated settlement server (or the financial company server). Meanwhile, in the embodiment of the present invention, any payment method and payment means used for processing payment information may be any payment method and payment means.
한편 상기 운영서버(400)와 연동 가능한 보안매체에 상기 사용자의 결제수단정보가 등록되지 않은 경우, 상기 운영서버(400)는 상기 사용자의 무선단말(300)로 상기 결제정보를 제공(만약 사용자의 무선단말(300)로 결제정보가 기 제공된 경우 생략 가능)하고, 상기 결제 절차부(390)는 해당 무선단말(300)에서 이용 가능한 결제 방식과 사용자의 결제수단을 이용하여 상기 결제정보에 대한 결제 절차를 수행할 수 있다. 한편 본 발명의 실시예에서 상기 결제정보에 대한 결제를 처리하기 위해 이용되는 결제 방식과 결제수단은 어떠한 것이라도 무방하며, 특정한 결제 방식과 결제수단으로 한정되지 아니한다. 본 발명의 실시 방법에 따르면, 상기 결제 절차는 상기 운영서버(400)와 연동하여 수행되거나, 또는 상기 결제 방식 및/또는 결제수단에 대응하는 결제서버와 직접 연동하여 수행될 수 있다. 상기 결제 절차가 별도의 결제서버와 연동하여 수행된 경우, 상기 결제 절차부(390)는 상기 결제 절차의 결제결과를 확인하여 상기 운영서버(400)로 제공할 수 있다.On the other hand, when the payment means information of the user is not registered in the security medium interlocked with the operation server 400, the operation server 400 provides the payment information to the user's wireless terminal 300 The payment processing unit 390 can use the payment method available in the wireless terminal 300 and the payment method of the user to pay for the payment information Procedure can be performed. Meanwhile, in the embodiment of the present invention, any payment method and payment means used for processing payment information may be any payment method and payment means. According to an embodiment of the present invention, the settlement procedure may be performed in cooperation with the operation server 400, or may be performed directly in conjunction with the settlement server corresponding to the settlement method and / or the settlement means. When the settlement procedure is performed in cooperation with a separate settlement server, the settlement procedure unit 390 can confirm the settlement result of the settlement procedure and provide the settlement result to the operation server 400. [
도면4는 본 발명의 실시 방법에 따라 사용자 소유 무선단말(300)과 연동하여 사용자 소유 근거리장치(200)를 이용한 결제를 처리하는 운영서버(400)의 구성을 도시한 도면이다.4 is a diagram illustrating a configuration of an operation server 400 that processes payment using a user-owned short range device 200 in cooperation with a user-possessed wireless terminal 300 according to an embodiment of the present invention.
보다 상세하게 본 도면4는 사용자 소유 근거리장치(200)의 칩모듈(230)에서 단방향 무선신호를 통해 송출되는 고유코드와 상기 근거리장치(200)를 소유한 사용자 소유 무선단말(300)(또는 무선단말(300)의 프로그램(325))을 고유 식별하는 고유정보를 매핑하여 저장한 후, 상기 사용자 소유 근거리장치(200)의 칩모듈(230)에서 송출한 단방향 무선신호를 수신한 결제장치(100)로부터 상기 단방향 무선신호를 통해 인식된 고유코드를 포함하는 결제요청정보를 수신하고, 상기 근거리장치(200)를 소유한 사용자 소유 무선단말(300)의 프로그램(325)으로부터 상기 근거리장치(200)의 칩모듈(230)에서 생성한 인증코드를 포함하는 결제확인정보를 수신하여 인증한 결과를 근거로 상기 결제장치(100)로부터 요청된 결제가 처리되도록 하는 운영서버(400)의 기능 구성을 도시한 것으로서, 본 발명이 속한 기술분야에서 통상의 지식을 가진 자라면, 본 도면4를 참조 및/또는 변형하여 운영서버(400)의 구성에 대한 다양한 실시 방법(예컨대, 일부 구성부가 생략되거나, 또는 세분화되거나, 또는 합쳐진 실시 방법)을 유추할 수 있을 것이나, 본 발명은 상기 유추되는 모든 실시 방법을 포함하여 이루어지며, 본 도면4에 도시된 실시 방법만으로 그 기술적 특징이 한정되지 아니한다.4 is a diagram illustrating a unique code transmitted through a unidirectional wireless signal in the chip module 230 of the user-owned short range device 200 and a unique code transmitted from the wireless terminal 300 owned by the user who owns the short range device 200 The unique information identifying the unique identifier of the terminal 300 is mapped and stored and then transmitted to the settlement apparatus 100 receiving the unidirectional wireless signal transmitted from the chip module 230 of the user- And transmits the payment request information including the inherent code recognized through the unidirectional radio signal to the near device 200 from the program 325 of the user owned wireless terminal 300 possessing the near device 200. [ (400) for processing payment requested by the payment apparatus (100) based on a result of receiving and authenticating the payment confirmation information including the authentication code generated by the chip module (230) which Those skilled in the art will be able to refer and / or modify Figure 4 to illustrate various implementations of the configuration of the operations server 400 (e.g., some configuration portions may be omitted, However, the present invention encompasses all of the above-described embodiments, and the technical features of the present invention are not limited only by the method shown in FIG.
상기 운영서버(400)는 근거리장치(200)를 소유한 사용자 소유 무선단말(300)과 지정된 통신망을 경유하여 통신 가능하며, 상기 사용자 소유 근거리장치(200)의 칩모듈(230)에서 송출한 단방향 무선신호를 수신/인식하는 결제장치(100)와 지정된 통신망을 경유하여 통신한다.The operation server 400 can communicate with the user-owned wireless terminal 300 that owns the local device 200 via the designated communication network. The operation server 400 can communicate with the local terminal 200 via the designated communication network, And communicates with the settlement apparatus 100 that receives / recognizes the wireless signal via the designated communication network.
도면4를 참조하면, 상기 운영서버(400)는, 사용자 소유 근거리장치(200)의 칩모듈(230)에서 단방향 무선신호를 통해 송출하는 고유코드와 상기 근거리장치(200)를 소유한 사용자 소유 무선단말(300)(또는 무선단말(300)의 프로그램(325))을 고유 식별하는 고유정보를 매핑하여 등록하는 등록 처리부(405)를 구비하며, 상기 사용자 소유 근거리장치(200)의 칩모듈(230)에서 생성한 인증코드의 유효성을 인증하기 위한 인증규칙을 설정하는 인증규칙 설정부(410)를 더 구비한다.4, the operation server 400 includes a unique code transmitted through a unidirectional wireless signal from the chip module 230 of the user-owned short range device 200 and a unique code transmitted from the user- And a registration processing unit 405 for mapping and registering unique information that uniquely identifies the terminal 300 (or the program 325 of the wireless terminal 300) And an authentication rule setting unit 410 for setting an authentication rule for authenticating the validity of the authentication code generated by the authentication rule setting unit 410. [
상기 근거리장치(200)를 소유한 사용자 소유 무선단말(300)의 프로그램(325)은 지정된 절차에 따라 상기 무선단말(300)을 고유 식별하는 고유정보(예컨대, 전화번호, IMSI, IMEI, MAC 등) 및/또는 상기 사용자 소유 무선단말(300)에 설치 실행된 프로그램(325)을 고유 식별하는 고유정보(예컨대, 앱식별값, 디바이스토큰, 푸시토큰, UUID, UDID 등)를 확인하여 운영서버(400)로 등록 요청하며, 상기 등록 처리부(405)는 상기 사용자 소유 무선단말(300)의 프로그램(325)으로부터 상기 사용자 소유 무선단말(300)(또는 무선단말(300)의 프로그램(325))을 고유 식별하는 고유정보를 수신하고, 지정된 저장매체에 상기 수신된 고유정보를 저장한다. 상기 저장매체는 상기 운영서버(400) 내에 구현되거나 또는 상기 운영서버(400)와 연동하는 별도의 DB서버를 통해 구현될 수 있다. 한편 상기 사용자 소유 무선단말(300)의 프로그램(325)에서 상기 사용자에 대한 사용자정보를 전송하는 경우, 상기 등록 처리부(405)는 지정된 경로(예컨대, 사용자 인증을 처리하는 경로)를 경유하여 상기 사용자정보를 수신하고, 상기 무선단말(300)(또는 무선단말(300)의 프로그램(325))을 고유 식별하는 고유정보와 상기 사용자정보를 매핑하여 지정된 저장매체에 저장할 수 있다.The program 325 of the user-owned wireless terminal 300 possessing the local device 200 transmits unique information (e.g., telephone number, IMSI, IMEI, MAC, etc.) unique to the wireless terminal 300 (E.g., an application identification value, a device token, a push token, a UUID, a UDID, and the like) that uniquely identifies the program 325 installed in the wireless terminal 300 and / The registration processing unit 405 requests the registration of the user owned radio terminal 300 (or the program 325 of the radio terminal 300) from the program 325 of the user owned radio terminal 300 And stores the received unique information in a designated storage medium. The storage medium may be implemented in the operation server 400 or through a separate DB server linked with the operation server 400. On the other hand, when transmitting the user information for the user from the program 325 of the user-possessed wireless terminal 300, the registration processor 405 transmits the user information to the user via the designated path (for example, And may store the unique information that uniquely identifies the wireless terminal 300 (or the program 325 of the wireless terminal 300) and the user information in a designated storage medium.
상기 근거리장치(200)를 소유한 사용자 소유 무선단말(300)의 프로그램(325)에서 상기 사용자 소유 근거리장치(200)의 칩모듈(230)에서 단방향 무선신호를 통해 송출하는 고유코드를 확인하여 등록 요청하면, 상기 등록 처리부(405)는 상기 사용자 소유 무선단말(300)의 프로그램(325)으로부터 상기 사용자 소유 근거리장치(200)의 칩모듈(230)에서 단방향 무선신호를 통해 송출하는 고유코드를 수신하고, 지정된 저장매체에 상기 수신된 고유코드를 저장한다. 바람직하게, 상기 등록 처리부(405)는 상기 사용자 소유 근거리장치(200)의 칩모듈(230)에서 단방향 무선신호를 통해 송출하는 고유코드와 상기 사용자 소유 무선단말(300)(또는 무선단말(300)의 프로그램(325))을 고유 식별하는 고유정보를 매핑하여 지정된 저장매체에 저장한다.The unique code transmitted from the chip module 230 of the user-owned short range device 200 through the unidirectional wireless signal is checked in the program 325 of the wireless terminal 300 owned by the user who owns the short range device 200, Upon receiving the request, the registration processor 405 receives a unique code transmitted from the program 325 of the user-possessed wireless terminal 300 through the unidirectional wireless signal from the chip module 230 of the user-owned short range device 200 And stores the received unique code in a designated storage medium. The registration processing unit 405 may transmit the unique code transmitted through the unidirectional wireless signal from the chip module 230 of the user's owned short range device 200 and the unique code transmitted from the user owned wireless terminal 300 The program 325 of FIG. 3) is mapped and stored in a designated storage medium.
본 발명의 실시 방법에 따르면, 상기 사용자 소유 무선단말(300)의 프로그램(325)은 상기 사용자의 결제수단에 대응하는 결제수단정보를 입력받고, 상기 결제수단정보를 지정된 운영서버(400)로 전송하여 등록 요청할 수 있으며, 상기 등록 처리부(405)는 는 상기 사용자의 결제수단정보를 지정된 보안매체에 등록 저장할 수 있다. 이 경우 상기 보안매체에 등록 저장된 결제수단정보는 상기 고유코드 및/또는 고유정보와 매핑될 수 있다.According to the method of the present invention, the program 325 of the user-possessed wireless terminal 300 receives the payment means information corresponding to the payment means of the user and transmits the payment means information to the designated operation server 400 And the registration processing unit 405 may register and store the payment means information of the user in the designated security medium. In this case, the payment means information stored in the secure medium may be mapped to the unique code and / or unique information.
상기 인증규칙 설정부(410)는 상기 근거리장치(200)의 칩모듈(230)에서 생성한 인증코드의 유효성을 인증하기 위한 인증규칙(예컨대, 일회용코드를 생성하는 코드생성알고리즘과 씨드 값, 암호알고리즘과 암호 대상 정보, 서명알고리즘과 서명 대상 정보, 운영서버(400)에서 생성하여 무선단말(300)의 프로그램(325)으로 제공한 정보 등)을 설정한다. 한편 실시 방법에 따라 상기 인증규칙의 적어도 일부 정보(예컨대, 씨드 값)은 상기 무선단말(300)의 프로그램(325)을 통해 설정될 수 있다.The authentication rule setting unit 410 sets an authentication rule for authenticating the validity of the authentication code generated by the chip module 230 of the short range device 200 (for example, a code generation algorithm for generating a one- A signature algorithm, signature target information, information provided by the operation server 400 and provided to the program 325 of the wireless terminal 300, etc.). Meanwhile, at least some information (for example, a seed value) of the authentication rule may be set through the program 325 of the wireless terminal 300 according to the method of operation.
도면4를 참조하면, 상기 운영서버(400)는, 상기 사용자 소유 근거리장치(200)의 칩모듈(230)에서 송출한 단방향 무선신호를 수신한 결제장치(100)로부터 상기 단방향 무선신호를 통해 인식된 고유코드를 포함하는 결제요청정보를 수신하는 결제요청 수신부(415)를 구비한다.4, the operation server 400 receives the unidirectional radio signal transmitted from the chip module 230 of the user-owned short range device 200, and receives the unidirectional radio signal from the payment device 100 through the unidirectional radio signal And a payment request receiving unit 415 for receiving payment request information including the unique code.
상기 사용자 소유 근거리장치(200)의 칩모듈(230)이 단방향 무선신호를 송출하는 중에 상기 근거리장치(200)와 지정된 유효 범위 내의 결제장치(100)는 상기 근거리장치(200)의 칩모듈(230)에서 송출한 단방향 무선신호를 수신하고, 상기 단방향 무선신호에 포함된 고유코드를 인식하며, 실시 방법에 따라 상기 단방향 무선신호에 포함된 인증코드를 더 인식할 수 있다.While the chip module 230 of the user-owned short range device 200 transmits a unidirectional radio signal, the short range device 200 and the settlement device 100 within the designated effective range are connected to the chip module 230 of the short range device 200 And recognizes a unique code included in the unidirectional wireless signal, and further recognizes an authentication code included in the unidirectional wireless signal according to an embodiment of the present invention.
상기 결제장치(100)는 상기 단방향 무선신호를 통해 인식된 고유코드 및/또는 인증코드를 포함하는 결제요청정보를 구성하여 운영서버(400)로 전송하며, 상기 결제요청 수신부(415)는 상기 결제장치(100)로부터 상기 결제요청정보를 수신한다.The settlement apparatus 100 constructs payment request information including a unique code and / or an authentication code recognized through the unidirectional wireless signal and transmits the settlement request information to the operation server 400. The payment request receiving unit 415 transmits And receives the payment request information from the device 100. [
본 발명의 제1 결제요청정보 실시예에 따르면, 상기 결제장치(100)는 상기 단방향 무선신호를 통해 인식된 고유코드 및/또는 인증코드를 포함하고, 상기 결제장치(100)에서 결정한 결제금액을 포함하는 결제요청정보를 구성하여 운영서버(400)로 전송할 수 있으며, 상기 결제요청 수신부(415)는 상기 고유코드 및/또는 인증코드를 포함하고 상기 결제금액을 포함하는 결제요청정보를 수신한다.According to the first payment request information embodiment of the present invention, the settlement apparatus 100 includes a unique code and / or an authentication code recognized through the unidirectional wireless signal, and transmits a payment amount determined by the payment apparatus 100 And transmits the payment request information to the operation server 400. The payment request receiving unit 415 receives the payment request information including the unique code and / or the authentication code.
본 발명의 제2 결제요청정보 실시예에 따르면, 상기 결제장치(100)는 상기 단방향 무선신호를 통해 인식된 고유코드 및/또는 인증코드를 포함하고, 운영서버(400)에서 결제금액을 산출하는데 필요한 금액 산출 파라미터를 포함하는 결제요청정보를 구성하여 운영서버(400)로 전송할 수 있으며, 상기 결제요청 수신부(415)는 상기 고유코드 및/또는 인증코드를 포함하고 상기 금액 산출 파라미터를 포함하는 결제요청정보를 수신한다.According to the second payment request information embodiment of the present invention, the payment apparatus 100 includes a unique code and / or an authentication code recognized through the unidirectional wireless signal, and the payment amount is calculated in the operation server 400 The payment request receiving unit 415 may transmit the payment request information including the required amount calculation parameter to the operation server 400. The payment request receiving unit 415 may receive the settlement request including the unique code and / And receives the request information.
본 발명의 제3 결제요청정보 실시예에 따르면, 상기 결제장치(100)는 상기 단방향 무선신호를 통해 인식된 고유코드 및/또는 인증코드를 포함하고, 상기 결제장치(100)에서 결정한 결제요청금액을 포함하는 결제요청정보를 구성하여 운영서버(400)로 전송할 수 있으며, 상기 결제요청 수신부(415)는 상기 고유코드 및/또는 인증코드를 포함하고 상기 결제요청금액을 포함하는 결제요청정보를 수신한다.According to the third embodiment of the payment request information of the present invention, the payment apparatus 100 includes a unique code and / or an authentication code recognized through the unidirectional wireless signal, And transmits the payment request information to the operation server 400. The payment request receiving unit 415 receives the payment request information including the unique code and / or the authentication code and includes the payment request amount do.
본 발명의 제4 결제요청정보 실시예에 따르면, 상기 결제장치(100)는 상기 단방향 무선신호를 통해 인식된 고유코드 및/또는 인증코드를 포함하고, 상기 결제장치(100)에서 결정한 결제요청금액과 상기 운영서버(400)에서 상기 결제요청금액을 조정하여 실제 지불 요청할 결제금액을 산출하는데 필요한 금액 산출 파라미터(예컨대, 결제장치(100)를 운영하는 거점의 할인 정책 등)를 포함하는 결제요청정보를 구성하여 운영서버(400)로 전송할 수 있으며, 상기 결제요청 수신부(415)는 상기 고유코드 및/또는 인증코드를 포함하고 상기 결제요청금액과 금액 산출 파라미터를 포함하는 결제요청정보를 수신한다.According to the fourth payment request information embodiment of the present invention, the settlement apparatus 100 includes a unique code and / or an authentication code recognized through the unidirectional wireless signal, and the settlement request amount determined by the settlement apparatus 100 And the settlement request information (for example, a discount policy of a base operating the settlement apparatus 100) necessary for calculating the settlement amount to be requested for payment by adjusting the settlement request amount at the operation server 400 And the payment request receiving unit 415 receives the payment request information including the unique code and / or the authentication code and including the payment request amount and the money amount calculation parameter.
본 발명의 제5 결제요청정보 실시예에 따르면, 상기 결제장치(100)는 기 제1 내지 제4 결제요청정보 실시예를 하나 이상 부분적으로 선택 또는 조합한 형태의 결제요청정보를 구성하여 전송할 수 있으며, 상기 결제요청 수신부(415)는 상기 결제장치(100)로부터 상기 결제요청금액과 금액 산출 파라미터를 포함하는 결제요청정보를 수신한다.According to the fifth embodiment of the payment request information of the present invention, the payment apparatus 100 may configure and transmit the payment request information in the form of one or more partial selection or combination of the first to fourth embodiments of the payment request information And the payment request receiving unit 415 receives the payment request information including the payment request amount and the amount calculation parameter from the payment apparatus 100. [
도면4를 참조하면, 상기 운영서버(400)는, 상기 결제요청정보의 고유코드와 매핑된 고유정보에 대응하는 사용자 소유 무선단말(300)(또는 무선단말(300)의 프로그램(325))을 확인하는 단말 측 확인부(420)와, 상기 확인된 무선단말(300)의 프로그램(325)으로 상기 근거리장치(200)의 칩모듈(230)에서 생성한 인증코드를 요청하는 요청정보를 전송하거나 및/또는 소정의 결제금액을 포함하는 결제정보를 전송하는 결제확인 요청부(430)를 구비하며, 상기 근거리장치(200)를 소유한 사용자에게 지불 요청할 결제금액을 포함하는 결제정보를 확인하는 결제정보 확인부(425)를 더 구비한다.Referring to FIG. 4, the operation server 400 transmits a user-owned wireless terminal 300 (or a program 325 of the wireless terminal 300) corresponding to the unique code mapped to the unique code of the payment request information And transmits the request information requesting the authentication code generated by the chip module 230 of the short range device 200 to the program 325 of the identified wireless terminal 300 And a payment confirmation requesting unit 430 for transmitting payment information including a predetermined payment amount to the user who owns the local device 200. The settlement confirmation requesting unit 430 may be configured to check the payment information including the payment amount to be requested to the user who owns the short- And an information confirmation unit 425.
상기 결제요청 수신부(415)를 통해 상기 결제요청정보가 수신되면, 상기 단말 측 확인부(420)는 상기 등록 처리부(405)를 통해 지정된 저장매체에 등록된 고유코드와 고유정보의 매핑 관계를 이용하여 상기 결제요청정보에 포함된 고유코드와 매핑된 고유정보에 대응하는 사용자 소유 무선단말(300)(또는 무선단말(300)의 프로그램(325))을 확인한다. 만약 상기 고유코드와 매핑된 고유정보가 확인되지 않는 경우 상기 단말 측 확인부(420)는 상기 결제정보에 대한 결제를 중지하거나, 또는 상기 결제장치(100)를 통해 사용자 소유 무선단말(300)의 고유정보를 제공받을 수 있다.When the settlement request information is received through the settlement request receiving unit 415, the terminal side check unit 420 uses the mapping relation between the unique code registered in the storage medium designated through the registration processing unit 405 and unique information Owned wireless terminal 300 (or the program 325 of the wireless terminal 300) corresponding to the unique information mapped with the unique code included in the payment request information. If the unique information mapped to the unique code is not confirmed, the terminal side confirmation unit 420 suspends settlement of the payment information, or suspends settlement of the settlement information of the user-owned wireless terminal 300 through the settlement apparatus 100 Unique information can be provided.
한편 상기 사용자 소유 무선단말(300)의 프로그램(325)으로 결제정보를 제공하는 경우, 상기 결제정보 확인부(425)는 상기 결제요청정보를 근거로 상기 근거리장치(200)를 소유한 사용자에게 지불 요청할 결제금액을 확인하거나 산출한다.On the other hand, when providing the payment information to the program 325 of the user-owned wireless terminal 300, the payment information confirmation unit 425 transmits the payment information to the user who owns the local device 200 based on the payment request information Confirm or calculate the payment amount to be requested.
본 발명의 제1 결제요청정보 실시예에 따라 상기 결제요청정보에 결제금액이 포함된 경우, 상기 결제정보 확인부(425)는 상기 결제요청정보에 포함된 결제금액을 확인할 수 있다.According to the first settlement request information embodiment of the present invention, when the settlement amount is included in the settlement request information, the settlement information verification unit 425 can check the settlement amount included in the settlement request information.
본 발명의 제2 결제요청정보 실시예에 따라 상기 결제요청정보에 결제금액을 산출하는데 필요한 금액 산출 파라미터가 포함된 경우, 상기 결제정보 확인부(425)는 상기 금액 산출 파라미터를 이용하여 상기 근거리장치(200)를 소유한 사용자에게 지불 요청할 결제금액을 산출할 수 있다.If the payment request information includes the amount calculation parameter required to calculate the settlement amount according to the second settlement request information embodiment of the present invention, the settlement information verification unit 425 may calculate the settlement amount using the money- The payment amount to be requested to be paid to the user who owns the mobile terminal 200 can be calculated.
본 발명의 제3 결제요청정보 실시예에 따라 상기 결제요청정보에 상기 결제장치(100)에서 결정한 결제요청금액이 포함된 경우, 상기 결제정보 확인부(425)는 지정된 정책(예컨대, 근거리장치(200)를 이용하여 결제하는 경우의 할인율)이나 조건(예컨대, 근거리장치(200)를 소유한 사용자가 보유한 할인쿠폰이나 적립포인트 등의 적용)에 따라 상기 결제요청금액을 조정하여 결제금액을 산출할 수 있다.If the settlement request amount determined by the settlement apparatus 100 is included in the settlement request information according to the third settlement request information embodiment of the present invention, 200) or a condition (for example, application of a discount coupon or a credit point held by a user who owns the short range device 200) to calculate the settlement amount .
본 발명의 제4 결제요청정보 실시예에 따라 상기 결제요청정보에 상기 결제장치(100)에서 결정한 결제요청금액과 금액 산출 파라미터가 포함된 경우, 상기 결제정보 확인부(425)는 상기 금액 산출 파라미터를 기반으로 상기 결제요청금액을 조정하여 결제금액을 산출할 수 있다.When the settlement request amount and the amount calculation parameter determined by the settlement apparatus 100 are included in the settlement request information according to the fourth settlement request information embodiment of the present invention, The settlement amount can be calculated by adjusting the settlement amount.
상기 근거리장치(200)를 소유한 사용자에게 지불 요청할 결제금액이 확인/산출되면, 상기 결제정보 확인부(425)는 상기 확인/산출된 결제금액을 포함하고, 상기 단방향 무선신호를 수신한 결제장치(100)를 구비한 오프라인 거점에 대응하는 가맹점정보를 더 포함하는 결제정보를 확인할 수 있다.When the payment amount to be requested to the user who owns the short range device 200 is confirmed / calculated, the payment information confirmation unit 425 includes the confirmed / calculated payment amount, And the merchant information corresponding to the off-line base having the mobile terminal 100.
본 발명의 실시 방법에 따르면, 상기 결제정보 확인부(425)는 상기 결제금액 및 가맹점정보와 함께 상기 결제요청정보에 포함된 고유코드를 더 포함하는 결제정보를 확인할 수 있다.According to the embodiment of the present invention, the payment information confirmation unit 425 can check the payment information including the payment amount and the merchant information together with the unique code included in the payment request information.
상기 결제확인 처리부(385)는 상기 단말 측 확인부(420)를 통해 확인된 무선단말(300)의 프로그램(325)으로 상기 근거리장치(200)의 칩모듈(230)에서 생성한 인증코드를 요청하는 요청정보를 전송함으로써, 상기 무선단말(300)의 프로그램(325)으로 상기 근거리장치(200)의 칩모듈(230)에서 생성한 인증코드를 요청할 수 있다. 한편 상기 결제정보 확인부(425)를 통해 상기 결제금액을 포함하는 결제정보가 확인된 경우, 상기 결제확인 처리부(385)는 상기 단말 측 확인부(420)를 통해 확인된 무선단말(300)의 프로그램(325)으로 상기 결제정보 확인부(425)를 통해 확인된 결제정보를 전송함으로써, 상기 무선단말(300)의 프로그램(325)으로 상기 근거리장치(200)의 칩모듈(230)에서 생성한 인증코드를 요청할 수 있다.The payment confirmation processing unit 385 requests the authentication code generated by the chip module 230 of the short range device 200 to the program 325 of the wireless terminal 300 confirmed through the terminal side confirmation unit 420 The wireless terminal 300 can request the authentication code generated by the chip module 230 of the short range device 200 as the program 325 of the wireless terminal 300 by transmitting the request information. Meanwhile, when the payment information including the payment amount is confirmed through the payment information confirmation unit 425, the payment confirmation processing unit 385 checks the payment information of the wireless terminal 300 confirmed through the terminal side confirmation unit 420 The program 325 of the wireless terminal 300 transmits the payment information confirmed by the payment information verifying unit 425 to the program 325 so that the program 325 of the wireless terminal 300 You can request a verification code.
도면4를 참조하면, 상기 운영서버(400)는, 상기 사용자 소유 무선단말(300)의 프로그램(325)으로부터 상기 무선단말(300)과 양방향 근거리 통신하는 사용자 소유 근거리장치(200)의 칩모듈(230)에서 생성한 인증코드를 포함하는 결제확인정보를 수신하는 결제확인 수신부(435)와, 상기 결제확인정보에 포함된 인증코드의 유효성이 인증되게 처리하는 인증코드 인증부(440)를 구비하며, 상기 인증코드의 유효성이 인증된 경우 상기 사용자의 결제수단을 통해 상기 결제장치(100)로부터 요청된 결제를 처리하는 절차를 수행하는 결제 절차 처리부(445)를 구비한다.4, the operation server 400 includes a chip module (not shown) of the user-owned short range device 200 that performs bi-directional short distance communication with the wireless terminal 300 from the program 325 of the user- A settlement confirmation receiving unit 435 for receiving settlement confirmation information including an authentication code generated in the settlement confirmation information 230 and an authentication code authentication unit 440 for processing the validity of the authentication code included in the settlement confirmation information, And a payment procedure processing unit 445 for performing a process of processing a payment requested by the payment apparatus 100 through the payment means of the user when the validity of the authentication code is authenticated.
상기 사용자 소유 무선단말(300)의 프로그램(325)은 프로그램(325)으로부터 상기 무선단말(300)과 양방향 근거리 통신하는 사용자 소유 근거리장치(200)의 칩모듈(230)에서 생성한 인증코드를 획득하고, 상기 근거리장치(200)의 칩모듈(230)에서 생성한 인증코드를 포함하는 결제확인정보를 구성하여 전송하며, 상기 결제확인 수신부(435)는 상기 무선단말(300)의 프로그램(325)으로부터 상기 근거리장치(200)의 칩모듈(230)에서 생성한 인증코드를 포함하는 결제확인정보를 수신한다. 한편 실시 방법에 따라 상기 운영서버(400)에 결제 처리를 위한 소정의 PIN이 등록된 경우, 상기 무선단말(300)의 프로그램(325)은 상기 결제 처리를 위한 PIN을 입력받고, 상기 근거리장치(200)의 칩모듈(230)에서 생성한 인증코드와 상기 입력된 PIN을 포함하는 결제확인정보를 구성하여 상기 운영서버(400)로 전송할 수 있으며, 상기 결제확인 수신부(435)는 상기 무선단말(300)의 프로그램(325)으로부터 상기 인증코드와 PIN을 포함하는 결제확인정보를 수신하고, 상기 PIN의 유효성을 인증할 수 있다. 한편 실시 방법에 따라 상기 운영서버(400)와 연동하는 보안매체에 상기 사용자의 결제수단정보가 등록된 경우, 상기 무선단말(300)의 프로그램(325)은 상기 등록된 사용자의 결제수단정보를 식별하는 식별값을 선택받거나 자동 확인하고, 상기 결제수단정보의 식별값을 더 포함하는 결제확인정보를 구성하여 상기 운영서버(400)로 전송할 수 있으며, 이 경우 상기 인증코드의 유효성 인증에 따른 결제 절차는 성기 식별값에 대응하는 사용자의 결제수단정보를 이용하여 처리될 수 있다.The program 325 of the user-possessed wireless terminal 300 acquires the authentication code generated by the chip module 230 of the user-owned short range device 200 performing bi-directional short distance communication with the wireless terminal 300 from the program 325 And transmits the payment confirmation information including the authentication code generated by the chip module 230 of the short range device 200 to the payment confirmation receiver 435. The payment confirmation receiver 435 receives the program 325 of the wireless terminal 300, And the authentication code generated by the chip module 230 of the short range device 200 is received. Meanwhile, when a predetermined PIN for payment processing is registered in the operation server 400 according to the method, the program 325 of the wireless terminal 300 receives the PIN for the payment processing, 200 to the operating server 400. The payment confirmation receiving unit 435 may transmit the payment confirmation information including the authentication code generated by the chip module 230 of the mobile terminal 200 to the mobile terminal 300 from the program 325 and confirm the validity of the PIN by receiving payment confirmation information including the PIN and the authentication code. Meanwhile, when the payment method information of the user is registered in the secure medium interlocked with the operation server 400 according to the method, the program 325 of the wireless terminal 300 identifies the payment method information of the registered user And transmits the payment confirmation information including the identification value of the payment means information to the operation server 400. In this case, the settlement confirmation information including the payment procedure Can be processed using the payment means information of the user corresponding to the genital identification value.
상기 결제확인 수신부(435)를 통해 상기 근거리장치(200)의 칩모듈(230)에서 생성한 인증코드를 포함하는 결제확인정보가 수신되면, 상기 인증코드 인증부(440)는 상기 결제확인정보에 포함된 인증코드의 유효성이 인증되게 처리한다.When the payment confirmation information including the authentication code generated by the chip module 230 of the short range device 200 is received through the payment confirmation receiver 435, the authentication code authentication unit 440 transmits the payment confirmation information The validity of the included authentication code is authenticated.
본 발명의 제1 인증코드 인증 실시예에 따르면, 상기 인증코드 인증부(440)는 상기 근거리장치(200)의 칩모듈(230)에서 생성할 인증코드의 유효성을 인증하기 위한 인증규칙(예컨대, 근거리장치(200)의 칩모듈(230)에서 인증코드를 생성하는데 이용되는 씨드와 매칭되는 씨드 값과 상기 칩모듈(230)에서 인증코드를 생성하는데 이용되는 코드생성알고리즘과 매칭되는 코드생성알고리즘)을 설정하여 저장하며, 상기 결제확인 수신부(435)를 통해 상기 인증코드를 포함하는 결제확인정보가 수신된 경우 상기 인증규칙을 이용하여 상기 칩모듈(230)에서 생성한 인증코드를 인증하기 위한 검증코드(예컨대, 인증규칙에 포함되어 저장된 씨드 값과 동적 결정된 씨드 값을 인증규칙에 대응하는 코드생성알고리즘에 대입하여 생성한 코드)를 생성하고, 상기 검증코드를 통해 상기 결제확인정보에 포함된 인증코드의 유효성을 인증할 수 있다.According to the first authentication code authentication embodiment of the present invention, the authentication code authentication unit 440 may determine an authentication rule for authenticating the validity of an authentication code to be generated in the chip module 230 of the short- A code generation algorithm that matches a seed value matched with a seed used to generate an authentication code in the chip module 230 of the short range device 200 and a code generation algorithm used to generate an authentication code in the chip module 230) And when the payment confirmation information including the authentication code is received through the payment confirmation receiving unit 435, the verification unit 430 checks the authentication code generated by the chip module 230 using the authentication rule (For example, a code generated by substituting a seed value stored in the authentication rule and a dynamically determined seed value into a code generation algorithm corresponding to an authentication rule), and transmits the verification code It can authenticate the validity of the authentication code included in the payment confirmation information.
본 발명의 제2 인증코드 인증 실시예에 따르면, 상기 인증코드 인증부(440)는 상기 근거리장치(200)의 칩모듈(230)에서 생성하는 인증코드를 지정된 인증서버(예컨대, OTP인증서버 등)를 통해 인증받기 위해 인증규칙(예컨대, 인증서버정보, 상기 인증코드의 유효성 인증을 위해 인증서버로 제공할 정보 셋트 등)를 설정하여 저장하며, 상기 결제확인 수신부(435)를 통해 상기 인증코드를 포함하는 결제확인정보가 수신된 경우 상기 인증규칙을 이용하여 지정된 인증서버를 통해 상기 결제확인정보에 포함된 인증코드의 유효성이 인증되도록 처리하고, 상기 인증서버를 통해 인증된 인증 결과를 확인할 수 있다.The authentication code authenticating unit 440 transmits the authentication code generated by the chip module 230 of the short range device 200 to a specified authentication server (e.g., an OTP authentication server, etc.) (For example, authentication server information, information set to be provided to the authentication server for validity authentication of the authentication code, and the like) to receive authentication through the payment confirmation receiving unit 435, The validity of the authentication code included in the payment confirmation information is authenticated through the specified authentication server using the authentication rule, and the authentication result authenticated through the authentication server can be checked have.
본 발명의 제3 인증코드 인증 실시예에 따르면, 상기 결제장치(100)로부터 수신된 결제요청정보에 상기 제3 또는 제4 단방향 무선신호 송출 실시예에 따라 상기 근거리장치(200)의 칩모듈(230)에서 상기 단방향 무선신호에 포함시켜 송출한 인증코드가 포함된 경우, 상기 인증코드 인증부(440)는 상기 근거리장치(200)의 칩모듈(230)에서 생성하여 상기 양방향 근거리 통신을 통해 상기 무선단말(300)로 전송된 후 상기 결제확인정보에 포함된 인증코드와 상기 결제장치(100)로부터 수신된 인증코드를 비교하여 상기 결제확인정보에 포함된 인증코드의 유효성을 인증할 수 있다.According to the third authentication code authentication method of the present invention, the chip module of the near device 200 may be connected to the payment request information received from the payment device 100 according to the third or fourth unidirectional radio signal transmission embodiment If the authentication code included in the unidirectional wireless signal is included in the unidirectional wireless signal in step 230, the authentication code authentication unit 440 generates the authentication code in the unidirectional wireless signal by the chip module 230 of the short- The validity of the authentication code included in the payment confirmation information can be verified by comparing the authentication code included in the payment confirmation information with the authentication code received from the payment apparatus 100 after being transmitted to the wireless terminal 300. [
본 발명의 제4 인증코드 인증 실시예에 따르면, 상기 인증코드 인증부(440)는 상기 제1 내지 제3 인증코드 인증 실시예를 하나 이상 부분적으로 선택 또는 조합한 형태로 상기 인증코드의 유효성이 인증되게 처리할 수 있으며, 본 발명은 이러한 실시예도 본 발명의 권리범위로 포함할 수 있다.According to the fourth authentication code authentication embodiment of the present invention, the authentication code authentication unit 440 determines whether the validity of the authentication code in the form of one or more partial selection or combination of the first to third authentication code authentication embodiments And the present invention can be included in the scope of the present invention.
상기 운영서버(400)와 연동 가능한 보안매체에 상기 사용자의 결제수단정보가 등록된 경우, 상기 결제 절차 처리부(445)는 상기 제1 내지 제4 인증코드 인증 실시예 중 적어도 하나를 통해 상기 인증코드의 유효성을 인증한 인증 결과를 근거로 상기 보안매체에 등록된 사용자의 결제수단정보가 추출되어 지정된 결제서버(또는 금융사서버)를 통해 상기 결제요청정보(또는 결제정보)에 대한 결제 절차가 수행되도록 처리할 수 있다. 한편 본 발명의 실시예에서 상기 결제정보에 대한 결제를 처리하기 위해 이용되는 결제 방식과 결제수단은 어떠한 것이라도 무방하며, 특정한 결제 방식과 결제수단으로 한정되지 아니한다.When the payment method information of the user is registered in a security medium that can be interlocked with the operation server 400, the payment processing processing unit 445 transmits the authentication code to at least one of the first to fourth authentication code authentication embodiments, The settlement means information of the user registered in the secure medium is extracted based on the authentication result of the authentication of the settlement request information (or the settlement information) so that the settlement procedure for the settlement request information (or the settlement information) is performed through the designated settlement server Can be processed. Meanwhile, in the embodiment of the present invention, any payment method and payment means used for processing payment information may be any payment method and payment means.
한편 상기 운영서버(400)와 연동 가능한 보안매체에 상기 사용자의 결제수단정보가 등록되지 않은 경우, 상기 결제 절차 처리부(445)는 상기 제1 내지 제4 인증코드 인증 실시예 중 적어도 하나를 통해 상기 인증코드의 유효성을 인증한 인증 결과를 상기 사용자의 무선단말(300)로 제공(만약 사용자의 무선단말(300)로 결제정보가 제공되지 않은 경우 결제정보를 더 제공 가능)하며, 상기 사용자의 무선단말(300)은 해당 무선단말(300)에서 이용 가능한 결제 방식과 사용자의 결제수단을 이용하여 상기 결제정보에 대한 결제 절차를 수행할 수 있다. 한편 본 발명의 실시예에서 상기 결제정보에 대한 결제를 처리하기 위해 이용되는 결제 방식과 결제수단은 어떠한 것이라도 무방하며, 특정한 결제 방식과 결제수단으로 한정되지 아니한다.On the other hand, when the settlement means information of the user is not registered in the secure medium interlocking with the operation server 400, the settlement processing unit 445 may transmit the settlement information to the secure server through at least one of the first to fourth authentication code authentication embodiments. (If the payment information is not provided to the user's wireless terminal 300, payment information can be further provided), and the user's wireless terminal 300 The terminal 300 can perform a payment procedure for the payment information using the payment method available in the wireless terminal 300 and the payment means of the user. Meanwhile, in the embodiment of the present invention, any payment method and payment means used for processing payment information may be any payment method and payment means.
본 발명의 실시 방법에 따르면, 상기 결제 절차 처리부(445)는 상기 결제 절차를 수행한 무선단말(300)의 프로그램(325) 및/또는 상기 무선단말(300)의 결제 절차에 대응하는 결제승인 절차를 수행한 결제서버(또는 금융사서버)로부터 상기 결제 절차에 대한 결제결과를 확인할 수 있으며, 상기 결제장치(100) 또는 상기 사용자 소유 무선단말(300)의 프로그램(325)으로 상기 확인된 결제결과를 제공할 수 있다.According to an embodiment of the present invention, the payment procedure processing unit 445 may receive the payment approval procedure corresponding to the payment procedure of the program 325 of the wireless terminal 300 and / The settlement result of the settlement procedure can be confirmed from the settlement server (or the financial company server) that has performed the settlement process and the settlement result can be confirmed by the program 325 of the settlement apparatus 100 or the user- .
도면5는 본 발명의 실시 방법에 따른 근거리장치(200)의 동작 과정을 도시한 도면이다.5 is a diagram illustrating an operation process of the short range device 200 according to an embodiment of the present invention.
보다 상세하게 본 도면5는 전원 공급에 의해 지정된 식별코드를 포함하는 단방향 무선신호를 송출하는 근거리장치(200)의 칩모듈(230)에 대한 동작 과정을 도시한 것으로서, 본 발명이 속한 기술분야에서 통상의 지식을 가진 자라면, 본 도면5를 참조 및/또는 변형하여 상기 근거리장치(200)의 동작 과정에 대한 다양한 실시 방법(예컨대, 일부 단계가 생략되거나, 또는 순서가 변경된 실시 방법)을 유추할 수 있을 것이나, 본 발명은 상기 유추되는 모든 실시 방법을 포함하여 이루어지며, 본 도면5에 도시된 실시 방법만으로 그 기술적 특징이 한정되지 아니한다.More specifically, FIG. 5 illustrates an operation process for the chip module 230 of the short range device 200 that transmits a unidirectional radio signal including an identification code designated by a power supply. In the technology of the present invention, Those skilled in the art will be able to refer to and / or modify the FIG. 5 to derive various implementations of the operation of the near device 200 (e.g., omitting some of the steps or changing the order) However, the present invention includes all of the above-mentioned embodiments, and the technical features of the present invention are not limited only by the method shown in FIG.
도면5를 참조하면, 근거리장치(200)의 칩모듈(230)로 동작 전원이 공급되는 경우(500), 상기 근거리장치(200)의 칩모듈(230)은 단방향 무선신호의 송출 여부를 확인한다(505). 본 발명의 실시 방법에 따르면, 상기 근거리장치(200)의 칩모듈(230)은 전원 공급과 동시에 단방향 무선신호를 송출하거나, 및/또는 상기 근거리장치(200)에 구비된 조작부(225)를 통한 사용자 조작을 근거로 단방향 무선신호를 송출하거나, 및/또는 상기 근거리장치(200)의 칩모듈(230)과 사용자 무선단말(300) 간 양방향 근거리 통신이 연결되거나 상기 사용자 무선단말(300)의 지시에 의해 단방향 무선신호를 송출할 수 있다.5, when the operating power is supplied to the chip module 230 of the short range device 200 (500), the chip module 230 of the short range device 200 checks whether the unidirectional wireless signal is transmitted (505). According to an embodiment of the present invention, the chip module 230 of the short range device 200 transmits a unidirectional radio signal at the same time as power is supplied thereto and / or transmits the unidirectional wireless signal through the operation unit 225 provided in the short range device 200 Directional wireless communication between the chip module 230 of the short range device 200 and the user wireless terminal 300 is connected or an instruction of the user wireless terminal 300 is transmitted Directional radio signal can be transmitted.
만약 상기 단방향 무선신호를 송출한다면, 상기 근거리장치(200)의 칩모듈(230)은 본 발명의 제1 내지 제5 단방향 무선신호 송출 실시예 중 적어도 하나의 실시예에 따라 단방향 무선신호를 통해 송출할 고유코드 및/또는 인증코드를 포함하는 식별코드를 확인한다(510).If the unidirectional wireless signal is transmitted, the chip module 230 of the short range device 200 transmits the unidirectional wireless signal according to at least one embodiment of the first to fifth unidirectional wireless signal transmission embodiments of the present invention (510) the identification code including the unique code and / or the authentication code to be transmitted.
만약 상기 단방향 무선신호를 통해 송출할 식별코드가 확인되면, 상기 근거리장치(200)의 칩모듈(230)은 상기 근거리장치(200)의 외부로부터 외부 전원(예컨대, 근거리장치(200)가 시가잭장치인 경우 차량의 시가잭 삽입구에 삽입된 상태에서 차량으로부터 공급되는 차량 전원)을 공급받고 있는 상태인지 확인하며(515), 만약 외부 전원을 공급받고 있는 상태가 아니라면 상기 근거리장치(200)에 충전된 충전 전원을 이용하여 상기 식별코드를 포함하는 단방향 무선신호를 송출하되(520), 상기 외부 전원을 공급받고 있는 상태라면 상기 외부 전원을 기반으로 상기 단방향 무선신호의 강도를 증폭(예컨대, 최대 증폭 또는 기 설정된 수치까지 증폭)시켜 상기 식별코드를 포함하는 단방향 무선신호를 송출한다(525).If the identification code to be transmitted through the unidirectional radio signal is confirmed, the chip module 230 of the short range device 200 transmits an external power source (for example, the short range device 200) (515). If it is determined that the external power is not being supplied to the local device (200), it is determined whether the vehicle is in a state of being supplied with power from the vehicle And transmits a unidirectional radio signal including the identification code using the power source 520. If the unidirectional radio signal is being supplied to the external power source, the strength of the unidirectional radio signal is amplified And transmits a unidirectional radio signal including the identification code (525).
도면6은 본 발명의 실시 방법에 따라 사용자의 근거리장치(200)와 사용자의 무선단말(300) 간 양방향 근거리 통신 연결 과정을 도시한 도면이다.FIG. 6 is a diagram illustrating a bidirectional short-range communication connection procedure between a user's short-range device 200 and a user's wireless terminal 300 according to an embodiment of the present invention.
보다 상세하게 본 도면6은 사용자 소유 근거리장치(200)의 칩모듈(230)과 사용자의 무선단말(300) 사이에 양방향 근거리 통신을 연결하는 과정을 도시한 것으로서, 본 발명이 속한 기술분야에서 통상의 지식을 가진 자라면, 본 도면6을 참조 및/또는 변형하여 상기 양방향 근거리 통신 연결 과정에 대한 다양한 실시 방법(예컨대, 일부 단계가 생략되거나, 또는 순서가 변경된 실시 방법)을 유추할 수 있을 것이나, 본 발명은 상기 유추되는 모든 실시 방법을 포함하여 이루어지며, 본 도면6에 도시된 실시 방법만으로 그 기술적 특징이 한정되지 아니한다. 본 도면6은 편의상 사용자의 근거리장치(200)와 사용자의 무선단말(300) 사이에 양방향 근거리 무선 통신을 연결하는 과정을 위주로 설명할 것이나, 본 발명은 사용자의 근거리장치(200)와 사용자의 무선단말(300) 사이에 양방향 근거리 케이블 통신을 연결하는 실시예도 포함함을 명백하게 밝혀두는 바이다.6 shows a process of connecting bidirectional short-range communication between the chip module 230 of the user-owned short range device 200 and the user's wireless terminal 300. In the technical field of the present invention, It is possible to refer to and / or modify this FIG. 6 to infer various implementations of the bi-directional short distance communications connection process (e.g., omitting some steps or changing the order) , The present invention includes all of the above-described embodiments, and the technical features of the present invention are not limited only by the method shown in FIG. 6 is a flowchart illustrating a method for connecting a bidirectional short-range wireless communication between a user's proximity device 200 and a user's wireless terminal 300 for convenience sake. However, the present invention is not limited to the user's proximity device 200, It is evident that the present invention also includes an embodiment in which a bidirectional short-range cable communication is connected between the terminals 300. [
도면6을 참조하면, 상기 도면5에 도시된 과정을 통해 근거리장치(200)의 동작 중에 상기 근거리장치(200)의 칩모듈(230)은 양방향 근거리 통신을 연결할 사용자 무선단말(300)의 통신식별정보가 상기 칩모듈(230)의 지정된 저장영역에 저장되어 있는지 확인한다(600). 만약 상기 근거리장치(200)의 칩모듈(230)에 사용자 무선단말(300)의 통신식별정보가 저장되어 있지 않다면, 상기 근거리장치(200)의 칩모듈(230)은 양방향 근거리 통신을 연결할 사용자 무선단말(300)을 식별하는 절차(예컨대, 페어링 절차 등)를 수행하며(605), 상기 사용자의 무선단말(300)도 근거리에 존재하는 근거리통신장치 중 양방향 근거리 통신을 연결할 사용자 소유 근거리장치(200)의 칩모듈(230)을 식별하는 절차를 수행한다(605).Referring to FIG. 6, the chip module 230 of the short range device 200 during the operation of the short range device 200 through the process shown in FIG. 5 transmits the communication identification (ID) of the user wireless terminal 300 Information is stored in a designated storage area of the chip module 230 (600). If the communication identification information of the user wireless terminal 300 is not stored in the chip module 230 of the short range device 200, the chip module 230 of the short range device 200 transmits the user wireless (E.g., a pairing procedure) for identifying the terminal 300 (605), and the user's wireless terminal 300 is also connected to the user-owned short range communication device 200 (Step 605). ≪ / RTI >
만약 상기 양방향 근거리 통신을 연결할 사용자의 무선단말(300)이 식별되면, 상기 근거리장치(200)의 칩모듈(230)은 상기 식별된 사용자 무선단말(300)의 통신식별정보를 획득하여 지정된 저장영역에 저장하며(610), 이후 상기 근거리장치(200)의 칩모듈(230)은 상기 저장영역에 저장된 사용자 무선단말(300)의 통신식별정보를 이용하여 상기 사용자의 무선단말(300)과 양방향 근거리 통신을 연결할 수 있다. 한편 상기 무선단말(300)의 프로그램(325)도 상기 근거리장치(200)의 칩모듈(230)을 식별함과 동시에 상기 근거리장치(200)의 칩모듈(230)에 대한 통신식별정보를 획득하여 저장할 수 있다(615).If the wireless terminal 300 of the user to connect the bidirectional local area communication is identified, the chip module 230 of the short range device 200 acquires the communication identification information of the identified user wireless terminal 300, And the chip module 230 of the short range device 200 stores the mobile wireless terminal 300 in the storage area using the communication identification information of the user wireless terminal 300 stored in the storage area, Communication can be connected. The program 325 of the wireless terminal 300 also identifies the chip module 230 of the short range device 200 and acquires the communication identification information of the chip module 230 of the short range device 200 (615).
상기 근거리장치(200)의 칩모듈(230)에 상기 사용자 무선단말(300)의 통신식별정보가 저장된 경우, 상기 근거리장치(200)의 칩모듈(230)은 상기 통신식별정보를 이용하여 근거리에 존재하는 사용자의 무선단말(300)과 양방향 근거리 통신을 연결하며(620), 이에 대응하여 상기 사용자 무선단말(300)의 프로그램(325)도 상기 사용자 소유 근거리장치(200)의 칩모듈(230)에 대한 통신식별정보를 이용하여 상기 근거리장치(200)의 칩모듈(230)과 양방향 근거리 통신을 연결한다(620).When the communication identification information of the user wireless terminal 300 is stored in the chip module 230 of the short range device 200, the chip module 230 of the short range device 200 uses the communication identification information Directional short distance communication with an existing user's wireless terminal 300 in step 620. The program 325 of the user wireless terminal 300 is also connected to the chip module 230 of the user- Directional short distance communication with the chip module 230 of the short range device 200 using the communication identification information for the short range device 200 (620).
한편 상기 근거리장치(200)의 칩모듈(230)과 양방향 근거리 통신이 연결되면, 상기 무선단말(300)의 프로그램(325)은 상기 근거리장치(200)의 칩모듈(230)의 단방향 무선신호 송출을 위한 고유코드를 설정하는 절차를 수행할 지 여부를 확인한다(625). 만약 상기 근거리장치(200)의 칩모듈(230)로 단방향 무선신호 송출을 위한 고유코드를 설정한다면, 상기 무선단말(300)의 프로그램(325)은 본 발명의 제1 내지 제5 단방향 무선신호 송출 실시예 중 적어도 하나의 실시예에 부합하도록 상기 양방향 근거리 통신을 통해 상기 근거리장치(200)의 칩모듈(230)로 단방향 무선신호의 송출을 위한 고유코드를 설정하는 절차를 수행할 수 있다(630).When the bi-directional short distance communication with the chip module 230 of the short range device 200 is connected, the program 325 of the wireless terminal 300 transmits the unidirectional wireless signal of the chip module 230 of the short range device 200 (625) whether to perform a procedure for setting a unique code for the user. If the unique code for transmitting the unidirectional radio signal is set to the chip module 230 of the short range device 200, the program 325 of the wireless terminal 300 transmits the first to fifth unidirectional radio signal transmission A procedure for setting a unique code for transmitting a unidirectional radio signal to the chip module 230 of the short range device 200 through the bidirectional local area communication according to at least one embodiment of the embodiment may be performed ).
도면7은 본 발명의 실시 방법에 따라 사용자 소유 근거리장치(200)의 칩모듈(230)에서 단방향 무선신호를 통해 송출하는 고유코드를 등록하는 과정을 도시한 도면이다.7 is a diagram illustrating a process of registering a unique code transmitted through a unidirectional wireless signal in the chip module 230 of the user-owned short range device 200 according to an embodiment of the present invention.
보다 상세하게 본 도면7은 사용자 소유 근거리장치(200)의 칩모듈(230)에서 단방향 무선신호를 통해 송출하는 고유코드와 상기 근거리장치(200)를 소유한 사용자 소유 무선단말(300)(또는 무선단말(300)의 프로그램(325))을 고유 식별하는 고유정보를 매핑하여 등록하는 과정을 도시한 것으로서, 본 발명이 속한 기술분야에서 통상의 지식을 가진 자라면, 본 도면7을 참조 및/또는 변형하여 상기 고유코드 등록 과정에 대한 다양한 실시 방법(예컨대, 일부 단계가 생략되거나, 또는 순서가 변경된 실시 방법)을 유추할 수 있을 것이나, 본 발명은 상기 유추되는 모든 실시 방법을 포함하여 이루어지며, 본 도면7에 도시된 실시 방법만으로 그 기술적 특징이 한정되지 아니한다.7 is a block diagram illustrating a unique code transmitted through a unidirectional wireless signal in the chip module 230 of the user's owned short range device 200 and a unique code transmitted from the wireless terminal 300 owned by the user who owns the short range device 200 The program 325 of the terminal 300), and registers the unique information. The present invention is not limited to the above-described embodiments, The present invention may be embodied in various ways of practicing the inherent code registration process (for example, omitting some steps or changing the order) The technical features thereof are not limited only by the implementation method shown in FIG.
도면7을 참조하면, 사용자 소유 무선단말(300)의 프로그램(325)은 지정된 절차에 따라 근거리장치(200)를 소유한 사용자 소유 무선단말(300)을 고유 식별하는 고유정보(예컨대, 전화번호, IMSI, IMEI, MAC 등) 및/또는 상기 사용자 소유 무선단말(300)에 설치 실행된 프로그램(325)을 고유 식별하는 고유정보(예컨대, 앱식별값, 디바이스토큰, 푸시토큰, UUID, UDID 등)를 확인하여 지정된 운영서버(400)로 등록 요청하며(700), 상기 운영서버(400)는 상기 근거리장치(200)를 소유한 사용자 소유 무선단말(300)(또는 무선단말(300)의 프로그램(325))을 고유 식별하는 고유정보를 수신하여 지정된 저장매체에 저장한다(705).Referring to FIG. 7, the program 325 of the wireless terminal 300 of the user possesses unique information (for example, a phone number, a telephone number, etc.) that uniquely identifies the wireless terminal 300 owned by the user who owns the local device 200, (E.g., an application identification value, a device token, a push token, a UUID, a UDID, and the like) that uniquely identifies the program 325 installed in the wireless terminal 300 owned by the user, The operation server 400 requests registration to the designated operation server 400 and the operation server 400 transmits the program of the user terminal 300 (or the program of the wireless terminal 300) 325), and stores the unique information in a designated storage medium (705).
상기 무선단말(300)의 프로그램(325)은 상기 도면6에 도시된 과정을 통해 사용자 소유 근거리장치(200)의 칩모듈(230)과 연결된 양방향 근거리 통신을 통해 상기 근거리장치(200)의 칩모듈(230)에서 단방향 무선신호를 통해 송출하는 고유코드를 확인하거나(710), 및/또는 상기 도면5에 도시된 과정을 통해 사용자 소유 근거리장치(200)의 칩모듈(230)에서 송출하는 단방향 무선신호를 인식하여 고유코드를 확인하거나(710), 사용자가 무선단말(300)을 통해 입력하는 사용자 소유 근거리장치(200)의 고유코드를 확인한다(710).The program 325 of the wireless terminal 300 may be transmitted to the chip module 230 of the near device 200 through the bidirectional local area communication connected to the chip module 230 of the user- A unique code transmitted from the chip module 230 of the user-owned short range device 200 through the unidirectional wireless signal at step 710 and / (710), and confirms a unique code of the user-owned short range device (200) input by the user through the wireless terminal (710).
만약 상기 근거리장치(200)의 칩모듈(230)에서 단방향 무선신호를 통해 송출하는 고유코드가 확인되면, 상기 무선단말(300)의 프로그램(325)은 운영서버(400)로 상기 근거리장치(200)의 칩모듈(230)에서 송출하는 단방향 무선신호의 고유코드를 등록 요청하며(715), 상기 운영서버(400)는 상기 무선단말(300)의 프로그램(325)으로부터 상기 근거리장치(200)의 칩모듈(230)에서 단방향 무선신호를 통해 송출하는 고유코드를 수신하고, 상기 사용자 소유 무선단말(300)(또는 무선단말(300)의 프로그램(325))의 고유정보와 상기 고유코드를 매핑하여 지정된 저장매체에 저장한다(720). 한편 상기 근거리장치(200)의 칩모듈(230)에서 단방향 무선신호를 통해 인증코드를 더 송출하는 경우 상기 운영서버(400)는 상기 인증코드의 유효성을 인증하기 위한 인증규칙을 설정할 수 있다. 한편 실시 방법에 따라 상기 무선단말(300)의 프로그램(325)은 사용자의 결제수단정보를 입력받아 상기 운영서버(400)로 등록 요청할 수 있으며, 상기 운영서버(400)는 상기 결제수단정보를 지정된 보안매체에 등록 저장할 수 있다.If the unique code to be transmitted through the unidirectional wireless signal is confirmed in the chip module 230 of the short range device 200, the program 325 of the wireless terminal 300 is transmitted to the local server 200 The operation server 400 requests registration of the unique code of the unidirectional wireless signal transmitted from the chip module 230 of the wireless terminal 300 from the program 325 of the wireless terminal 300 The unique code transmitted from the chip module 230 through the unidirectional wireless signal is received and the unique code of the user owned wireless terminal 300 (or the program 325 of the wireless terminal 300) is mapped with the unique code And stored in a designated storage medium (720). Meanwhile, when the chip module 230 of the short range device 200 further transmits an authentication code through the unidirectional wireless signal, the operation server 400 may set an authentication rule for authenticating the validity of the authentication code. Meanwhile, the program 325 of the wireless terminal 300 may request the registration of the user's payment means information to the operation server 400 according to an embodiment of the present invention. You can register and store it on secure media.
본 발명의 실시 방법에 따르면, 상기 무선단말(300)의 프로그램(325)은 상기 운영서버(400)와 연동하여 상기 사용자 소유 근거리장치(200)의 칩모듈(230)에서 송출하는 단방향 무선신호의 고유코드가 등록되었음을 적어도 한번(또는 주기적으로) 확인하며(725), 이 후 상기 무선단말(300)의 프로그램(325)은 상기 운영서버(400)로부터 상기 근거리장치(200)의 칩모듈(230)에서 송출한 단방향 무선신호를 인식한 결제장치(100)에서 결제 요청한 결제를 위한 절차를 수행할 수 있다.The program 325 of the wireless terminal 300 may transmit the unidirectional wireless signal transmitted from the chip module 230 of the user-owned short range device 200 in cooperation with the operation server 400 The program 325 of the wireless terminal 300 may confirm that the unique code has been registered at least once (or periodically) 725 and then transmit the program module 325 of the wireless terminal 300 from the operation server 400 to the chip module 230 of the near- The payment apparatus 100 recognizing the unidirectional radio signal transmitted from the unidirectional wireless signal can perform the procedure for payment requested for payment.
한편 상기 무선단말(300)의 프로그램(325)은 상기 운영서버(400)를 통해 등록된 고유코드를 확인하며(730), 상기 무선단말(300)(또는 무선단말(300)의 프로그램(325))의 고유정보와 매핑 등록된 고유코드를 제공한다(735), 만약 상기 등록된 고유코드가 확인되면, 상기 무선단말(300)의 프로그램(325)은 상기 도면6에 도시된 과정을 통해 사용자 소유 근거리장치(200)의 칩모듈(230)과 연결된 양방향 근거리 통신을 통해 상기 근거리장치(200)의 칩모듈(230)에서 단방향 무선신호를 통해 실제 송출하는 고유코드를 확인하거나(740), 및/또는 상기 도면5에 도시된 과정을 통해 사용자 소유 근거리장치(200)의 칩모듈(230)에서 실제 송출하는 단방향 무선신호를 인식하여 고유코드를 확인하고(740), 상기 사용자 소유 근거리장치(200)의 칩모듈(230)에서 실제 송출하는 단방향 무선신호의 고유코드가 상기 운영서버(400)를 통해 등록된 고유코드와 매칭되는지 확인한다(745). 만약 상기 근거리장치(200)의 칩모듈(230)에서 실제 송출하는 단방향 무선신호의 고유코드가 상기 등록된 고유코드와 매칭된 경우, 상기 무선단말(300)의 프로그램(325)은 상기 운영서버(400)로부터 상기 근거리장치(200)의 칩모듈(230)에서 송출한 단방향 무선신호를 인식한 결제장치(100)에서 결제 요청한 결제를 위한 절차를 수행할 수 있다.Meanwhile, the program 325 of the wireless terminal 300 checks (730) the unique code registered through the operation server 400 and transmits the unique code to the wireless terminal 300 (or the program 325 of the wireless terminal 300) (Step 735). If the registered unique code is confirmed, the program 325 of the wireless terminal 300 transmits the unique code of the user owned by the user through the process shown in FIG. 6 (740) the unique code actually transmitted from the unidirectional wireless signal in the chip module (230) of the short range device (200) through bidirectional short distance communication connected to the chip module (230) of the short range device (200) Alternatively, the unicast radio signal actually transmitted from the chip module 230 of the user-owned short range device 200 is recognized through the process shown in FIG. 5, and the unique code is checked (step 740) Directional radio signal actually transmitted from the chip module 230 of the < RTI ID = 0.0 > To ensure that the specific code matches the unique registration code via the operation server 400 (745). If the unique code of the unidirectional radio signal actually transmitted from the chip module 230 of the short range device 200 is matched with the registered unique code, the program 325 of the wireless terminal 300 transmits the program 400 can recognize the unidirectional radio signal transmitted from the chip module 230 of the short range device 200 to perform the settlement for payment requested by the settlement device 100.
도면8은 본 발명의 실시 방법에 따라 사용자 소유 근거리장치(200)의 칩모듈(230)에서 송출한 단방향 무선신호를 이용한 결제 요청 과정을 도시한 도면이다.FIG. 8 is a diagram illustrating a payment request process using a unidirectional wireless signal transmitted from the chip module 230 of the user-owned short range device 200 according to an embodiment of the present invention.
보다 상세하게 본 도면8은 사용자 소유 근거리장치(200)의 칩모듈(230)에서 송출한 단방향 무선신호를 수신한 결제장치(100)가 상기 단방향 무선신호를 통해 인식된 고유코드를 포함하는 결제요청정보를 전송하면 운영서버(400)에서 상기 결제요청정보를 수신하여 상기 고유코드에 대응하는 근거리장치(200)를 소유한 사용자에게 지불 요청할 결제금액을 포함하는 결제정보를 확인하는 과정을 도시한 것으로서, 본 발명이 속한 기술분야에서 통상의 지식을 가진 자라면, 본 도면8을 참조 및/또는 변형하여 상기 결제 요청 과정에 대한 다양한 실시 방법(예컨대, 일부 단계가 생략되거나, 또는 순서가 변경된 실시 방법)을 유추할 수 있을 것이나, 본 발명은 상기 유추되는 모든 실시 방법을 포함하여 이루어지며, 본 도면8에 도시된 실시 방법만으로 그 기술적 특징이 한정되지 아니한다.8 shows a case where the payment device 100 receiving the unidirectional wireless signal transmitted from the chip module 230 of the user-owned short range device 200 receives a payment request including a unique code recognized through the unidirectional wireless signal Upon receipt of the information, the operation server 400 receives the payment request information and confirms the payment information including the payment amount to be paid to the user who owns the short range device 200 corresponding to the unique code Those skilled in the art will be able to refer to and / or modify the FIG. 8 to find out various methods of the payment request process (for example, a method in which some steps are omitted, However, the present invention is not limited to the above-described embodiments, but can be applied only to the technical method shown in FIG. 8 Gong is not limited.
도면8을 참조하면, 결제장치(100)는 유효 범위 내로 접근하는 근거리장치(200)의 칩모듈(230)에서 상기 도면5에 도시된 과정을 통해 송출하는 단방향 무선신호를 수신하고(800), 상기 수신된 단방향 무선신호를 판독하여 상기 유효 범위 내 접근한 근거리장치(200)의 칩모듈(230)에서 송출한 단방향 무선신호의 고유코드를 확인하며(805), 실시 방법에 따라 상기 단방향 무선신호에 포함된 인증코드를 더 확인할 수 있다(805).Referring to FIG. 8, the payment apparatus 100 receives (800) a unidirectional radio signal transmitted from the chip module 230 of the short range device 200 approaching within an effective range through the process shown in FIG. 5, Directional radio signal and confirms the unique code of the unidirectional radio signal transmitted from the chip module 230 of the short range access device 200 within the valid range (805), and transmits the unidirectional radio signal (805). ≪ / RTI >
상기 유효 범위 내 접근한 근거리장치(200)의 칩모듈(230)에서 송출한 단방향 무선신호의 고유코드 및/또는 인증코드를 인식한 결제장치(100)는 본 발명의 제1 내지 제5 결제요청정보 실시예 중 적어도 하나의 실시예를 이용하여 유효 범위 내 접근한 근거리장치(200)의 칩모듈(230)에서 송출한 단방향 무선신호를 통해 인식된 고유코드 및/또는 인증코드를 포함하는 결제요청정보를 구성하고(810), 운영서버(400)로 상기 결제요청정보를 전송한다(815).The settlement apparatus 100 recognizing the unique code and / or the authentication code of the unidirectional wireless signal transmitted from the chip module 230 of the short range access device 200 within the valid range is the first to fifth payment requests A payment request including a unique code and / or an authentication code recognized through the unidirectional wireless signal transmitted from the chip module 230 of the short range device 200 within an effective range using at least one embodiment of the information embodiment (810), and transmits the settlement request information to the operation server 400 (815).
상기 운영서버(400)는 상기 근거리장치(200)의 칩모듈(230)에서 송출한 단방향 무선신호를 인식한 결제장치(100)로부터 본 발명의 제1 내지 제5 결제요청정보 실시예 중 적어도 하나의 실시예를 통해 구성된 결제요청정보를 수신한다(820). 상기 운영서버(400)는 상기 결제요청정보에 포함된 고유코드를 확인하고, 상기 도면7에 도시된 과정을 통해 등록된 고유코드와 고유정보의 매핑 관계를 이용하여 상기 고유코드와 매핑된 고유정보에 대응하는 사용자 소유 무선단말(300)의 프로그램(325)을 확인한다(825).The operation server 400 receives at least one of the first to fifth payment request information embodiments of the present invention from the settlement apparatus 100 that has recognized the unidirectional radio signal transmitted from the chip module 230 of the short- The payment request information configured through the embodiment of FIG. The operation server 400 confirms the unique code included in the payment request information and extracts unique information mapped to the unique code using the mapping relationship between the unique code and the unique information registered through the process shown in FIG. (825) the program 325 of the user-owned wireless terminal 300 corresponding to the program 325 of the user.
도면9는 본 발명의 일 실시 방법에 따라 사용자 소유 무선단말(300)로 근거리장치(200)의 칩모듈(230)에서 생성한 인증코드를 이용한 결제 확인 과정을 도시한 도면이다.FIG. 9 is a diagram illustrating a payment confirmation process using an authentication code generated by a chip module 230 of a short range device 200 by a user-owned wireless terminal 300 according to an embodiment of the present invention.
보다 상세하게 본 도면9는 운영서버(400)에서 사용자 소유 무선단말(300)의 프로그램(325)으로 근거리장치(200)의 칩모듈(230)에서 생성한 인증코드를 요청한 후 상기 무선단말(300)의 프로그램(325)으로부터 상기 칩모듈(230)에서 생성한 인증코드를 포함하는 결제확인정보를 제공받는 과정을 도시한 것으로서, 본 발명이 속한 기술분야에서 통상의 지식을 가진 자라면, 본 도면9를 참조 및/또는 변형하여 상기 결제 확인 과정에 대한 다양한 실시 방법(예컨대, 일부 단계가 생략되거나, 또는 순서가 변경된 실시 방법)을 유추할 수 있을 것이나, 본 발명은 상기 유추되는 모든 실시 방법을 포함하여 이루어지며, 본 도면9에 도시된 실시 방법만으로 그 기술적 특징이 한정되지 아니한다.9 is a flowchart illustrating an operation of the wireless terminal 300 after requesting the authentication code generated by the chip module 230 of the short range device 200 from the operation server 400 to the program 325 of the user- And receives the payment confirmation information including the authentication code generated by the chip module 230 from the program 325 of the chip module 230. As a person skilled in the art, 9 may be referenced and / or modified to infer various implementations of the settlement verification process (e.g., some of the steps may be omitted or the sequence of changes may be made), but the present invention is not limited to all of the above- And the technical features thereof are not limited only by the method shown in FIG.
도면9를 참조하면, 운영서버(400)는 상기 도면8에 도시된 과정을 통해 확인된 사용자 소유 무선단말(300)의 프로그램(325)으로 상기 근거리장치(200)의 칩모듈(230)에서 생성한 인증코드를 요청하는 요청정보를 전송하고(900), 상기 무선단말(300)의 프로그램(325)은 상기 운영서버(400)로부터 상기 근거리장치(200)의 칩모듈(230)에서 생성한 인증코드를 요청하는 요청정보를 수신한다(905).Referring to FIG. 9, the operation server 400 generates a program 325 of a user-owned wireless terminal 300 identified through the process shown in FIG. 8 in a chip module 230 of the local device 200 The program 325 of the wireless terminal 300 transmits the request information requesting an authentication code from the operation server 400 to the authentication module 300 of the short- The request information requesting the code is received (905).
상기 무선단말(300)의 프로그램(325)은 상기 근거리장치(200)의 칩모듈(230)로부터 인증코드를 획득하는 절차를 수행할 지 여부를 결정한다(910). 만약 상기 인증코드를 획득하는 절차를 수행하는 경우, 상기 무선단말(300)의 프로그램(325)은 상기 도면6에 도시된 과정을 통해 양방향 근거리 통신이 연결된 근거리장치(200)의 칩모듈(230)로 상기 양방향 근거리 통신을 통해 인증코드를 요청하는 코드요청정보를 전송하고(915), 상기 근거리장치(200)의 칩모듈(230)은 상기 도면6에 도시된 과정을 통해 양방향 근거리 통신이 연결된 무선단말(300)로부터 상기 양방향 근거리 통신을 통해 인증코드를 요청하는 코드요청정보를 수신한다(920).The program 325 of the wireless terminal 300 determines whether to perform the procedure of acquiring the authentication code from the chip module 230 of the short range device 200 at step 910. The program 325 of the wireless terminal 300 may transmit the authentication code to the chip module 230 of the short range device 200 connected to the bidirectional local area communication through the process shown in FIG. And transmits the code request information requesting the authentication code through the bidirectional local area communication to the chip module 230 of the short range device 200 through the bidirectional local area communication And receives code request information for requesting an authentication code from the terminal 300 through the bidirectional local area communication (920).
상기 근거리장치(200)의 칩모듈(230)은 상기 사용자의 무선단말(300)로 제공할 인증코드를 생성(또는 확인)하고(925), 상기 양방향 근거리 통신을 통해 상기 사용자의 무선단말(300)로 상기 생성(또는 확인)된 인증코드를 전송한다(930).The chip module 230 of the local device 200 generates (or confirms) an authentication code to be provided to the user's wireless terminal 300 (925) and transmits the authentication code to the user's wireless terminal 300 (930) the generated (or confirmed) authentication code.
상기 무선단말(300)의 프로그램(325)은 상기 양방향 근거리 통신을 통해 상기 근거리장치(200)의 칩모듈(230)에서 생성한 인증코드를 획득하고(935), 상기 근거리장치(200)의 칩모듈(230)에서 생성한 인증코드를 포함하는 결제확인정보를 구성하여(940), 상기 운영서버(400)로 전송한다(945). 상기 운영서버(400)는 상기 무선단말(300)의 프로그램(325)으로부터 상기 근거리장치(200)의 칩모듈(230)에서 생성한 인증코드를 포함하는 결제확인정보를 수신한다(950).The program 325 of the wireless terminal 300 acquires the authentication code generated by the chip module 230 of the short range device 200 through the bidirectional local area communication and transmits the authentication code to the chip (940) and transmits the payment confirmation information including the authentication code generated by the module 230 to the operation server 400 (945). The operation server 400 receives the payment confirmation information including the authentication code generated by the chip module 230 of the short range device 200 from the program 325 of the wireless terminal 300 in operation 950.
도면10은 본 발명의 다른 일 실시 방법에 따라 사용자 소유 무선단말(300)로 근거리장치(200)의 칩모듈(230)에서 생성한 인증코드를 이용한 결제 확인 과정을 도시한 도면이다.FIG. 10 is a diagram illustrating a payment confirmation process using an authentication code generated by a chip module 230 of a short range device 200 by a user-owned wireless terminal 300 according to another embodiment of the present invention.
보다 상세하게 본 도면10은 운영서버(400)에서 결제금액을 포함하는 결제정보를 확인하여 사용자 소유 무선단말(300)의 프로그램(325)으로 전송한 후 상기 무선단말(300)의 프로그램(325)으로부터 상기 칩모듈(230)에서 생성한 인증코드를 포함하는 결제확인정보를 제공받는 과정을 도시한 것으로서, 본 발명이 속한 기술분야에서 통상의 지식을 가진 자라면, 본 도면10을 참조 및/또는 변형하여 상기 결제 확인 과정에 대한 다양한 실시 방법(예컨대, 일부 단계가 생략되거나, 또는 순서가 변경된 실시 방법)을 유추할 수 있을 것이나, 본 발명은 상기 유추되는 모든 실시 방법을 포함하여 이루어지며, 본 도면10에 도시된 실시 방법만으로 그 기술적 특징이 한정되지 아니한다.In more detail, FIG. 10 shows payment information including a payment amount at the operation server 400 and transmits the payment information to the program 325 of the user-possessed wireless terminal 300 and then transmits the program 325 of the wireless terminal 300, And receives the payment confirmation information including the authentication code generated by the chip module 230 from the service provider 200. It will be apparent to those skilled in the art that the present invention can be implemented by referring to the drawings and / It will be understood by those skilled in the art that various changes and modifications may be made without departing from the spirit and scope of the present invention as defined by the appended claims and their equivalents. The technical features thereof are not limited by the implementation method shown in FIG.
도면10을 참조하면, 운영서버(400)는 상기 도면8에 도시된 과정을 통해 본 발명의 제1 내지 제5 결제요청정보 실시예 중 적어도 하나의 실시예를 근거로 상기 결제요청정보에 포함된 고유코드에 대응하는 근거리장치(200)를 소유한 사용자에게 지불 요청할 결제금액을 확인하거나 산출한다(1000).Referring to FIG. 10, the operation server 400 receives the payment request information included in the payment request information according to at least one embodiment of the first to fifth payment request information embodiments of the present invention, (1000) the payment amount to be requested to the user who owns the local device 200 corresponding to the unique code.
만약 상기 결제금액이 확인 또는 산출되면, 상기 운영서버(400)는 상기 결제금액을 포함하며, 실시 방법에 따라 상기 결제요청정보에 포함된 고유코드를 더 포함하거나 및/또는 상기 결제장치(100)를 구비한 오프라인 거점에 대응하는 가맹점정보를 더 포함하는 결제정보를 확인한다(1005). 상기 운영서버(400)는 상기 도면8에 도시된 과정을 통해 확인된 사용자 소유 무선단말(300)의 프로그램(325)으로 결제정보를 전송하고(1010), 상기 무선단말(300)의 프로그램(325)은 상기 운영서버(400)로부터 상기 결제정보를 수신하여 출력한다(1015).If the settlement amount is confirmed or calculated, the operation server 400 includes the settlement amount, and further includes a unique code included in the settlement request information according to the method of operation and / (Step 1005). In step 1005, the payment information including the merchant information corresponding to the off-line base including the merchant information is checked. The operation server 400 transmits the payment information to the program 325 of the user-possessed wireless terminal 300 confirmed through the process shown in FIG. 8 (1010), and the program 325 of the wireless terminal 300 Receives the payment information from the operation server 400 and outputs the payment information (1015).
상기 무선단말(300)의 프로그램(325)은 상기 근거리장치(200)의 칩모듈(230)로부터 인증코드를 획득하는 절차를 수행할 지 여부를 결정한다(1020). 만약 상기 인증코드를 획득하는 절차를 수행하는 경우, 상기 무선단말(300)의 프로그램(325)은 상기 도면6에 도시된 과정을 통해 양방향 근거리 통신이 연결된 근거리장치(200)의 칩모듈(230)로 상기 양방향 근거리 통신을 통해 인증코드를 요청하는 코드요청정보를 전송하고(1025), 상기 근거리장치(200)의 칩모듈(230)은 상기 도면6에 도시된 과정을 통해 양방향 근거리 통신이 연결된 무선단말(300)로부터 상기 양방향 근거리 통신을 통해 인증코드를 요청하는 코드요청정보를 수신한다(1030).The program 325 of the wireless terminal 300 determines whether to perform the procedure for obtaining the authentication code from the chip module 230 of the short range device 200 in operation 1020. The program 325 of the wireless terminal 300 may transmit the authentication code to the chip module 230 of the short range device 200 connected to the bidirectional local area communication through the process shown in FIG. And transmits the code request information requesting the authentication code through the bidirectional local area communication to the chip module 230 of the short range device 200 through the bidirectional local area communication And receives code request information for requesting an authentication code from the terminal 300 through the bidirectional local area communication (1030).
상기 근거리장치(200)의 칩모듈(230)은 상기 사용자의 무선단말(300)로 제공할 인증코드를 생성(또는 확인)하고(1035), 상기 양방향 근거리 통신을 통해 상기 사용자의 무선단말(300)로 상기 생성(또는 확인)된 인증코드를 전송한다(1040).The chip module 230 of the local device 200 generates (or confirms) an authentication code to be provided to the user's wireless terminal 300 (1035) and transmits the authentication code to the user's wireless terminal 300 (1040) with the generated (or confirmed) authentication code.
상기 무선단말(300)의 프로그램(325)은 상기 양방향 근거리 통신을 통해 상기 근거리장치(200)의 칩모듈(230)에서 생성한 인증코드를 획득하고(1045), 상기 근거리장치(200)의 칩모듈(230)에서 생성한 인증코드를 포함하는 결제확인정보를 구성하여(1050), 상기 운영서버(400)로 전송한다(1055). 상기 운영서버(400)는 상기 무선단말(300)의 프로그램(325)으로부터 상기 근거리장치(200)의 칩모듈(230)에서 생성한 인증코드를 포함하는 결제확인정보를 수신한다(1060).The program 325 of the wireless terminal 300 obtains the authentication code generated by the chip module 230 of the short range device 200 through the bidirectional local area communication (1050) and transmits the payment confirmation information including the authentication code generated by the module 230 to the operation server 400 (1055). The operation server 400 receives the payment confirmation information including the authentication code generated by the chip module 230 of the short range device 200 from the program 325 of the wireless terminal 300 in operation 1060.
도면11은 본 발명의 실시 방법에 따라 사용자 소유 근거리장치(200)의 칩모듈(230)에서 송출한 단방향 무선신호와 사용자 소유 무선단말(300)과 근거리장치(200)의 칩모듈(230) 간 양방향 근거리 통신을 결합한 결제 처리 과정을 도시한 도면이다.11 is a diagram illustrating a unidirectional wireless signal transmitted from the chip module 230 of the user-owned short range device 200 and a wireless signal transmitted between the user owned wireless terminal 300 and the chip module 230 of the short range device 200 according to an embodiment of the present invention. And a bi-directional short distance communication.
보다 상세하게 본 도면11은 상기 도면5에 도시된 과정을 통해 사용자 소유 근거리장치(200)의 칩모듈(230)에서 송출된 단방향 무선신호를 수신한 결제장치(100)에서 상기 도면8에 도시된 과정을 통해 운영서버(400)로 전송한 결제요청정보가 수신되고, 상기 도면9 또는 도면10의 과정을 통해 사용자 소유 무선단말(300)의 프로그램(325)이 양방향 근거리 통신을 통해 사용자 소유 근거리장치(200)의 칩모듈(230)로부터 획득한 인증코드를 포함하는 결제확인정보가 운영서버(400)로 수신되면, 운영서버(400)에서 인증코드의 유효성을 인증되게 처리하여 결제장치(100)로부터 요청된 결제의 절차가 처리되도록 하는 과정을 도시한 것으로서, 본 발명이 속한 기술분야에서 통상의 지식을 가진 자라면, 본 도면11을 참조 및/또는 변형하여 상기 결제 처리 과정에 대한 다양한 실시 방법(예컨대, 일부 단계가 생략되거나, 또는 순서가 변경된 실시 방법)을 유추할 수 있을 것이나, 본 발명은 상기 유추되는 모든 실시 방법을 포함하여 이루어지며, 본 도면11에 도시된 실시 방법만으로 그 기술적 특징이 한정되지 아니한다.FIG. 11 is a detailed block diagram of the settlement apparatus 100 receiving the unidirectional radio signal transmitted from the chip module 230 of the user-owned short range device 200 through the process shown in FIG. 5, The payment request information transmitted to the operation server 400 is received through the process of FIG. 9 or FIG. 10, and the program 325 of the user-owned wireless terminal 300 is transmitted through the bidirectional local communication to the user- When the payment server 100 receives the payment confirmation information including the authentication code acquired from the chip module 230 of the payment server 200, the operation server 400 authenticates the validity of the authentication code, If the person skilled in the art is familiar with the present invention, it is possible to refer to and / or modify the FIG. 11 to provide a variety of payment processing procedures It is to be understood that the present invention is not limited to the embodiments shown and described herein, but it is to be understood that the invention may be practiced otherwise than as specifically described herein, Technical features are not limited.
도면11을 참조하면, 운영서버(400)는 상기 도면9 또는 도면10의 과정을 통해 사용자 소유 무선단말(300)의 프로그램(325)으로부터 수신된 결제확인정보에 포함된 인증코드를 확인하고, 본 발명의 제1 내지 제4 인증코드 인증 실시예 중 적어도 하나의 실시예를 통해 상기 사용자 소유 무선단말(300)과 양방향 근거리 통신하는 근거리장치(200)의 칩모듈(230)에서 생성한 인증코드의 유효성을 인증하는 절차를 수행한다(1100).Referring to FIG. 11, the operation server 400 checks the authentication code included in the payment confirmation information received from the program 325 of the user-possessed wireless terminal 300 through the process of FIG. 9 or FIG. 10, The authentication code generated by the chip module 230 of the short range device 200 that performs bi-directional short distance communication with the user-possessed wireless terminal 300 through at least one of the first through fourth authentication codes according to the present invention A validation authentication procedure is performed (1100).
만약 상기 인증코드의 유효성이 인증되지 않으면, 상기 운영서버(400)는 결제오류에 대응하는 결제결과를 생성하고(1105), 상기 결제오류에 대응하는 결제결과를 상기 무선단말(300)의 프로그램(325)으로 제공하며(1120), 상기 무선단말(300)의 프로그램(325)은 상기 결제결과를 수신하여 출력한다(1125). 한편 상기 운영서버(400)는 상기 결제오류에 대응하는 결제결과를 상기 결제장치(100)로 제공하며(1120), 상기 결제장치(100)는 상기 결제결과를 수신하여 상기 근거리장치(200)의 칩모듈(230)에서 송출한 단방향 무선신호에 대한 결제요청의 결제결과로 처리한다(1130).If the validity of the authentication code is not authenticated, the operation server 400 generates a settlement result corresponding to a settlement error (1105), and transmits a settlement result corresponding to the settlement error to the program (Step 1120), and the program 325 of the wireless terminal 300 receives and outputs the payment result (step 1125). Meanwhile, the operation server 400 provides the settlement result corresponding to the settlement error to the settlement apparatus 100 (1120), and the settlement apparatus 100 receives the settlement result and transmits the settlement result to the near field apparatus 200 (1130) as a payment result of a payment request for a unidirectional wireless signal transmitted from the chip module (230).
한편 상기 인증코드의 유효성이 인증되면, 상기 운영서버(400)는 지정된 보안매체에 등록 저장된 사용자의 결제수단정보를 이용하여 상기 도면8의 과정을 통해 결제장치(100)로부터 요청된 결제를 처리하는 결제 절차를 수행할 수 있다(1110a). 또는 상기 운영서버(400)는 상기 무선단말(300)의 프로그램(325)과 연동하여 기 도면8의 과정을 통해 결제장치(100)로부터 요청된 결제를 처리하는 결제 절차를 수행할 수 있으며(1110b), 상기 무선단말(300)은 지정된 결제 방식과 결제수단을 이용하여 상기 결제를 처리하는 결제 절차를 수행할 수 있다(1110c).Meanwhile, when the validity of the authentication code is authenticated, the operation server 400 processes the payment requested from the payment apparatus 100 through the process of FIG. 8 using the payment means information of the user registered and registered in the designated security medium A payment procedure may be performed 1110a. Alternatively, the operation server 400 may perform a payment procedure for processing a payment requested from the payment apparatus 100 through the process of FIG. 8 in cooperation with the program 325 of the wireless terminal 300 (1110b ), The wireless terminal 300 can perform a payment procedure for processing the payment using the designated payment method and payment means (1110c).
만약 상기 수행된 결제 절차에 대한 결제 처리가 완료되면, 상기 운영서버(400)는 상기 결제 처리에 대한 결제결과를 확인하고(1115), 상기 결제 처리에 대응하는 결제결과를 상기 무선단말(300)의 프로그램(325)으로 제공하며(1120), 상기 무선단말(300)의 프로그램(325)은 상기 결제결과를 수신하여 출력한다(1125). 한편 상기 운영서버(400)는 상기 결제 처리에 대응하는 결제결과를 상기 결제장치(100)로 제공하며(1120), 상기 결제장치(100)는 상기 결제결과를 수신하여 상기 근거리장치(200)의 칩모듈(230)에서 송출한 단방향 무선신호에 대한 결제요청의 결제결과로 처리한다(1130).If the settlement process for the payment procedure is completed, the operation server 400 confirms the settlement result for the settlement process (1115) and transmits the settlement result corresponding to the settlement process to the mobile terminal 300 The program 325 of the wireless terminal 300 receives the payment result and outputs the payment result to the program 325 of the wireless terminal 300 in operation 1125. Meanwhile, the operation server 400 provides the settlement result corresponding to the settlement process to the settlement apparatus 100 (1120), and the settlement apparatus 100 receives the settlement result and transmits the settlement result to the near- (1130) as a payment result of a payment request for a unidirectional wireless signal transmitted from the chip module (230).
100 : 결제장치200 : 근거리장치
230 : 칩모듈255 : 통신 식별부
260 : 통신 연결부265 : 통신 처리부
270 : 코드 확인부275 : 코드 생성부
280 : 신호 송출부285 : 요청 확인부
290 : 코드 전송부300 : 무선단말
325 : 프로그램330 : 칩모듈 식별부
335 : 칩모듈 연결부340 : 칩모듈 통신부
345 : 칩모듈 관리부350 : 신호 인식부
355 : 신호 분석부360 : 등록 요청부
365 : 등록 확인부370 : 정보 수신부
375 : 결제정보 인증부380 : 인증코드 획득부
385 : 결제확인 처리부390 : 결제 절차부
400 : 운영서버405 : 등록 처리부
410 : 인증규칙 설정부415 : 결제요청 수신부
420 : 단말 측 확인부425 : 결제정보 확인부
430 : 결제확인 요청부435 : 결제확인 수신부
440 : 인증코드 인증부445 : 결제 절차 처리부100: Payment device 200: Near device
230: Chip module 255: Communication identification part
260: communication connection unit 265: communication processing unit
270: code verification unit 275: code generation unit
280: signal transmitting unit 285:
290: code transmission unit 300: wireless terminal
325: Program 330: Chip module identification part
335: Chip module connection part 340: Chip module communication part
345: Chip module management unit 350:
355: signal analysis unit 360: registration request unit
365: registration confirmation unit 370: information receiving unit
375: Payment information authentication unit 380: Authentication code acquisition unit
385: Payment confirmation processing unit 390: Payment processing unit
400: Operation server 405: Registration processor
410: authentication rule setting unit 415: payment request receiving unit
420: terminal side confirmation unit 425: payment information confirmation unit
430: payment confirmation requesting unit 435: payment confirmation receiver
440: Authentication code authentication unit 445: Payment procedure processor
| Application Number | Priority Date | Filing Date | Title |
|---|---|---|---|
| KR1020150132961AKR20170034973A (en) | 2015-09-21 | 2015-09-21 | Method for Providing Two-Channel Payment by using Close Range Device |
| Application Number | Priority Date | Filing Date | Title |
|---|---|---|---|
| KR1020150132961AKR20170034973A (en) | 2015-09-21 | 2015-09-21 | Method for Providing Two-Channel Payment by using Close Range Device |
| Publication Number | Publication Date |
|---|---|
| KR20170034973Atrue KR20170034973A (en) | 2017-03-30 |
| Application Number | Title | Priority Date | Filing Date |
|---|---|---|---|
| KR1020150132961ACeasedKR20170034973A (en) | 2015-09-21 | 2015-09-21 | Method for Providing Two-Channel Payment by using Close Range Device |
| Country | Link |
|---|---|
| KR (1) | KR20170034973A (en) |
| Publication number | Priority date | Publication date | Assignee | Title |
|---|---|---|---|---|
| CN107894588A (en)* | 2017-11-13 | 2018-04-10 | 北京小米移动软件有限公司 | Mobile terminal, distance measurement method, dimension measurement method and device |
| Publication number | Priority date | Publication date | Assignee | Title |
|---|---|---|---|---|
| CN107894588A (en)* | 2017-11-13 | 2018-04-10 | 北京小米移动软件有限公司 | Mobile terminal, distance measurement method, dimension measurement method and device |
| Publication | Publication Date | Title |
|---|---|---|
| KR20170134884A (en) | Method for Providing Payment by using Close Range Device | |
| KR20170001870A (en) | Method for High-Speed Paying a Toll by using Cigar Jack Device | |
| KR20170134854A (en) | Method for Providing Refueling Payment by using Close Range Device | |
| KR20170057528A (en) | Method for Providing Refueling Payment by using Cigar Jack Device | |
| KR20170034973A (en) | Method for Providing Two-Channel Payment by using Close Range Device | |
| KR20170134888A (en) | Method for Providing Two-Channel Payment by using Cigar Jack Device | |
| KR20170026795A (en) | Method for Providing Payment by using Close Range Device | |
| KR20170121004A (en) | Method for Reverse Sharing Parker Device by using Sharer's Mobile Device | |
| KR20180110283A (en) | Method for Providing Payment by using OBD Interlocking Device in a Car | |
| KR20170134852A (en) | Method for Providing Two-Channel Payment by using Close Range Device | |
| KR20170034969A (en) | Method for Providing Two-Channel Payment by using Cigar Jack Device | |
| KR20170134881A (en) | Method for Certificating Close Range Device | |
| KR20170134885A (en) | Method for Providing Payment by using Cigar Jack Device | |
| KR20170026796A (en) | Method for Providing Payment by using Cigar Jack Device | |
| KR20180056487A (en) | Method for Providing Two-Channel Payment by using Black Box Device | |
| KR20170134922A (en) | Method for High-Speed Paying a Toll by using Cigar Jack Device | |
| KR20180056466A (en) | Method for Registering Coupling between Payment Means and Black Box | |
| KR20180056489A (en) | Method for Providing Two-Channel Payment by using Car Navigation | |
| KR20180056477A (en) | Method for Providing Payment by using Black Box Device | |
| KR20170134915A (en) | Method for Providing Valet Parking by using Adaptive Cigar Jack Device and Staff Mobile Device | |
| KR20180056480A (en) | Method for Providing Payment by using Car Navigation | |
| KR20170057527A (en) | Method for Providing Refueling Payment by using Close Range Device | |
| KR20170000867A (en) | Method for Providing Valet Parking by using Adaptive Cigar Jack Device and Staff Mobile Device | |
| KR20180110292A (en) | Method for Providing Two-Channel Payment by using OBD Interlocking Device in a Car | |
| KR20170134856A (en) | Method for Providing Refueling Payment by using Cigar Jack Device |
| Date | Code | Title | Description |
|---|---|---|---|
| PA0109 | Patent application | Patent event code:PA01091R01D Comment text:Patent Application Patent event date:20150921 | |
| PG1501 | Laying open of application | ||
| PN2301 | Change of applicant | Patent event date:20171013 Comment text:Notification of Change of Applicant Patent event code:PN23011R01D | |
| PA0201 | Request for examination | Patent event code:PA02012R01D Patent event date:20200904 Comment text:Request for Examination of Application Patent event code:PA02011R01I Patent event date:20150921 Comment text:Patent Application | |
| E902 | Notification of reason for refusal | ||
| PE0902 | Notice of grounds for rejection | Comment text:Notification of reason for refusal Patent event date:20220321 Patent event code:PE09021S01D | |
| E902 | Notification of reason for refusal | ||
| PE0902 | Notice of grounds for rejection | Comment text:Notification of reason for refusal Patent event date:20220411 Patent event code:PE09021S01D | |
| E601 | Decision to refuse application | ||
| PE0601 | Decision on rejection of patent | Patent event date:20220615 Comment text:Decision to Refuse Application Patent event code:PE06012S01D Patent event date:20220411 Comment text:Notification of reason for refusal Patent event code:PE06011S01I Patent event date:20220321 Comment text:Notification of reason for refusal Patent event code:PE06011S01I |