





본 발명은 유기 발광 표시 장치에 관한 것으로, 특히 발광 소자의 열화에 따른 외부 보상시 다양한 수식을 가지는 룩 업 테이블을 구성하고, 초기 열화 정보를 이용하여 열화 보상을 위한 가장 적합한 수식을 가지는 룩 업 테이블을 결정하고, 그에 따른 열화 보상을 수행함으로써 발광 소자의 정확한 열화 보상이 가능하도록 한 유기 발광 표시 장치 및 그 구동방법에 관한 것이다.The present invention relates to an organic light emitting diode (OLED) display, and more particularly to a look-up table having various formulas for external compensation due to deterioration of a light emitting device, And compensating for the deterioration of the light emitting device, thereby correcting the deterioration of the light emitting device accurately, and a method of driving the same.
다양한 정보를 화면으로 구현해 주는 영상 표시 장치는 정보 통신 시대의 핵심 기술로 더 얇고 더 가벼우며, 휴대가 가능하면서도 고성능의 방향으로 발전하고 있다. 이에 음극선관(CRT)의 단점인 무게와 부피를 줄일 수 있는 평판 표시 장치로 유기 발광층의 발광량을 제어하여 영상을 표시하는 유기 발광 표시 장치 등이 각광받고 있다.The image display device that realizes various information on the screen is the core technology of the information communication age, and it is becoming thinner, lighter, portable, and higher performance. Accordingly, an organic light emitting display device for displaying an image by controlling the amount of light emitted from the organic light emitting layer by using a flat panel display capable of reducing weight and volume, which is a disadvantage of a cathode ray tube (CRT)
유기 발광 표시 장치는 다수의 화소들이 매트릭스 형태로 배열되어 화상을 표시하게 된다. 여기서, 각 화소는 발광 소자와, 그 발광 소자를 독립적으로 구동하는 다수의 트랜지스터로 이루어진 화소 구동 회로를 구비한다.In an organic light emitting display, a plurality of pixels are arranged in a matrix form to display an image. Here, each pixel includes a light emitting element and a pixel driving circuit composed of a plurality of transistors that independently drive the light emitting element.
종래의 유기 발광 표시 장치에서는 시간이 경과함에 따라 발광 소자가 열화한다. 즉 발광 소자의 전류-전압(I-V)특성은 시간이 경과함에 따라 열화한다. 이에 따라 구동 트랜지스터의 특성 커브와 발광 소자의 특성 커브의 교점인 동작점이 변동되며, 그에 따라 유기 발광 표시장치에는 잔상 또는 휘도 불균일이 발생하며, 휘도 저하로 인해 제품 수명이 저하되는 문제점이 있다.In the conventional organic light emitting display, the light emitting element deteriorates with time. That is, the current-voltage (I-V) characteristic of the light emitting device deteriorates with time. As a result, the operating point, which is an intersection of the characteristic curve of the driving transistor and the characteristic curve of the light emitting element, fluctuates. As a result, a residual image or luminance irregularity occurs in the organic light emitting display device.
상기 문제점을 해결하기 위하여, 구동 트랜지스터의 문턱전압을 검출하고, 검출된 문턱전압을 기반으로 그 화소에 인가될 데이터 전압을 보정하는 기술이 대한민국 공개특허공보 제10-2012-0061522호, 대한민국 공개특허공보 제10-2015-0003093호 등에 개시되어 있다.In order to solve the above problems, a technique of detecting a threshold voltage of a driving transistor and correcting a data voltage to be applied to the pixel based on the detected threshold voltage is disclosed in Korean Patent Publication No. 10-2012-0061522, 10-2015-0003093 and the like.
그러나, 종래의 기술은 구동 트랜지스터의 문턱전압을 검출하는 것으로서 직접 발광 소자의 열화를 센싱할 수 없으므로, 유기 발광 소자의 정확한 열화 정보를 센싱하는 데에는 한계가 있었다.However, the conventional technology is not able to sense the deterioration of the light emitting element directly because it detects the threshold voltage of the driving transistor, and thus there is a limit to sensing accurate deterioration information of the organic light emitting element.
본 발명은 전술한 문제점을 해결하기 위해 안출된 것으로, 발광 소자의 열화를 직접 센싱하고, 복수의 룩 업 테이블 중 상기 발광 소자의 열화 대비 휘도 변화를 보상하기에 가장 최적화된 최적 룩 업 테이블을 선택하여 발광 소자의 열화 보상이 가능하도록 하는 것을 해결하고자 하는 과제로 한다.SUMMARY OF THE INVENTION The present invention has been conceived to solve the above-described problems, and it is an object of the present invention to directly detect the deterioration of a light emitting element and to select an optimum lookup table most optimized for compensating for a change in luminance of deterioration among the plurality of lookup tables Thereby making it possible to compensate for the deterioration of the light emitting element.
상기 과제를 해결하기 위하여, 본 발명에 의한 유기 발광 표시 장치는, 발광 소자의 열화를 직접 센싱하고, 이 때의 발광 소자의 초기 열화값을 산출한다.In order to solve the above problems, an organic light emitting display according to the present invention directly senses deterioration of a light emitting element and calculates an initial deterioration value of the light emitting element at this time.
또한 본 발명에 의한 유기 발광 표시 장치는, 발광 소자의 초기 열화값을 변수로 하여 서로 다른 발광 소자의 열화 대비 휘도 보상 수식을 가지는 복수의 룩 업 테이블 중 최적 룩 업 테이블을 선택하여 상기 발광 소자의 열화 보상을 수행한다.The organic light emitting display according to the present invention may further include an optimal lookup table among a plurality of lookup tables having deterioration contrast compensation equations of different light emitting devices, Perform degradation compensation.
본 발명에 의한 유기 발광 표시 장치는, 발광 소자의 초기 열화정보를 변수로 하여 다양한 열화 대비 휘도 수식을 가지는 복수의 룩 업 테이블 중 최적 룩 업 테이블을 선택하고, 발광 소자의 열화 대비 휘도 감소분이 적절하게 보상될 수 있도록 한 것으로서, 정확한 열화 대비 휘도 수식이 존재하지 않는 발광 소자(OLED)의 경우에도 정확한 열화에 따른 휘도 보상이 가능하도록 한다.The OLED display according to the present invention selects an optimal lookup table among a plurality of lookup tables having various degradation contrast luminance expressions by using initial deterioration information of a light emitting element as a variable, And even in the case of a light emitting device (OLED) in which there is no accurate degradation contrast luminance formula, the luminance compensation according to accurate deterioration is enabled.
그에 따라 본 발명에 의한 유기 발광 표시 장치는, 표시 패널의 휘도 편차를 더 효과적으로 제거하며, 발광 소자의 잔상 수명이 증가하는 효과를 가진다.Accordingly, the OLED display according to the present invention has the effect of effectively eliminating the luminance deviation of the display panel and increasing the after-image lifetime of the light emitting device.
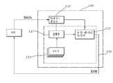
도 1은 본 발명에 의한 유기 발광 표시 장치를 상세히 설명하기 위한 예시도이다.
도 2는 본 발명의 화소를 설명하기 위한 예시도이다.
도 3은 데이터 구동부를 더욱 상세히 설명하기 위한 예시도이다.
도 4는 타이밍 제어부를 상세히 설명하기 위한 예시도이다.
도 5는 복수의 룩 업 테이블 각각에 대응되는 발광 소자의 열화값 대비 휘도 변화량을 그래프로 나타낸 것이다.
도 6은 발광 소자의 초기 열화값과 이후 발광 소자의 열화값 대비 휘도 변화량 수식과의 관계를 나타낸 그래프이다.FIG. 1 is an exemplary view for explaining an organic light emitting display according to the present invention in detail.
 2 is an exemplary diagram for explaining a pixel of the present invention.
 3 is an exemplary diagram for explaining the data driver in more detail.
 4 is an exemplary diagram for explaining the timing control unit in detail.
 FIG. 5 is a graph showing a change in luminance versus deterioration value of the light emitting device corresponding to each of the plurality of lookup tables.
 6 is a graph showing the relationship between the initial deterioration value of the light emitting element and the brightness change amount expression with respect to the deterioration value of the light emitting element.
본 발명에 앞서, 출원인은 대한민국 특허출원 제10-2014-0124850 등에서 유기 발광 표시 장치에 구비된 발광 소자의 특성을 센싱하여 보상하는 기술을 제안한 바 있다.Prior to the present invention, the applicant has proposed a technique of sensing and compensating the characteristics of a light emitting device provided in an organic light emitting display device in Korean Patent Application No. 10-2014-0124850.
유기 발광 소자의 특성을 센싱하여 보상하는 기술을 이용할 경우, 유기 발광 표시 장치 열화 정도를 감지하여 정확한 보정이 가능한 장점이 있다.When the technique of sensing and compensating the characteristics of the organic light emitting diode is used, there is an advantage that the degree of deterioration of the organic light emitting display can be detected and corrected accurately.
일반적으로 발광 소자의 열화에 따른 정확한 휘도 또는 전류를 나타내는 수식은 존재하지 않는다. 따라서 발광 소자의 특성을 센싱하여 열화정보를 산출, 보상하는 경우에는 발광 소자의 열화정보에 대한 룩 업 테이블을 구성하여, 열화 정보에 따른 적절한 휘도 보상을 진행한다.In general, there is no formula for expressing accurate luminance or current according to deterioration of a light emitting element. Therefore, when the deterioration information is calculated and compensated by sensing the characteristics of the light-emitting element, a look-up table for the deterioration information of the light-emitting element is configured to proceed with appropriate luminance compensation according to the deterioration information.
종래의 룩 업 테이블을 이용하여 발광 소자의 휘도 보상을 수행하는 기술에 의하면, 대표 열화 대비 휘도 변화 수식을 이용한 하나의 룩 업 테이블만을 사용해 왔다.According to the technique of performing luminance compensation of the light emitting device using the conventional lookup table, only one lookup table using the representative deterioration contrast luminance variation formula has been used.
그러나, 일반적으로 발광 소자의 열화에 따른 휘도 변화는 다양한 양상으로 나타난다. 그에 따라 종래의 기술과 같이 하나의 룩 업 테이블만을 이용할 경우, 정확한 발광 소자의 열화 보상을 수행하기 어려운 문제가 발생하였으며, 본 발명은 그와 같은 문제점을 해결하기 위해 제안된 것이다.However, in general, the luminance change due to the deterioration of the light emitting element appears in various aspects. Accordingly, when using only one look-up table as in the prior art, it is difficult to accurately compensate for deterioration of the light emitting device. The present invention has been proposed to solve such a problem.
이하, 본 발명의 실시예에 따른 표시 장치 및 그 구동 방법을 첨부된 도면을 참조하여 상세히 설명한다.Hereinafter, a display apparatus and a driving method thereof according to an embodiment of the present invention will be described in detail with reference to the accompanying drawings.
도 1은 본 발명에 의한 유기 발광 표시 장치를 상세히 설명하기 위한 예시도이다.FIG. 1 is an exemplary view for explaining an organic light emitting display according to the present invention in detail.
도 1에 도시된 유기 발광 표시 장치는, 스캔 구동부(106)와 데이터 구동부(104)와, 타이밍 제어부(108)를 포함하는 패널 구동부와, 표시 패널(102)을 구비한다.1 includes a
스캔 구동부(106)는 타이밍 제어부(108)로부터의 스캔 제어 신호에 응답하여 표시 패널(102)에 형성된 스캔 라인(SL)에 하이 또는 로우 상태의 제 1 스캔 전압을, 센싱 제어 라인들(SSL)에 하이 또는 로우 상태의 제 2 스캔 전압을 공급한다.The
데이터 구동부(104)는 타이밍 제어부(108)로부터의 제어 신호 및 감마 전압을 이용하여 디지털 보상 데이터를 아날로그 형태의 데이터 전압으로 변환하고, 변환된 아날로그 형태의 데이터 전압을 데이터 라인(DL)에 공급한다.The
또한 데이터 구동부(104)는 센싱 기간 동안 레퍼런스 라인(RL)으로부터 공급되는 전압들을 감지하여 디지털 데이터로 변환한 센싱 데이터(SData)를 생성하여 타이밍 제어부(104)로 출력한다.The
타이밍 제어부(108)는 스캔 구동부(106) 및 데이터 구동부(104)의 구동 타이밍을 제어하는 다수의 제어 신호를 생성한다. 여기서, 타이밍 제어부(108)에서 생성된 제어 신호들에는 스캔 구동부(106)의 구동 타이밍을 제어하기 위한 스캔 제어 신호와, 데이터 구동부(104)의 구동 타이밍을 제어하기 위한 데이터 제어 신호 등이 포함된다.The
또한 타이밍 제어부(108)는 센싱 데이터(SData)를 기초로 결정되는 보상값들을 다수의 룩 업 테이블을 포함하는 포함하는 메모리에 저장하고, 외부로부터 입력되는 데이터를 가변하여 디지털 보상 데이터를 생성하고, 그 디지털 보상 데이터를 데이터 구동부(104)로 공급한다.The
도 2는 본 발명의 화소(P)를 설명하기 위한 예시도이다.2 is an exemplary view for explaining the pixel P of the present invention.
표시 패널(102)은 매트릭스 형태로 배치된 다수의 화소(P)들을 포함한다. 각 화소(P)들은 발광 소자(OLED)와, 이를 구동하는 다수의 트랜지스터를 포함하는 화소 구동 회로를 구비한다. 화소 구동 회로는 구동 트랜지스터(Tr_D), 스위칭 트랜지스터(Tr_Sw), 센싱 트랜지스터(Tr_Se) 및 스토리지 커패시터(Cst)를 포함한다. 본 발명의 실시예에서는 3T1C 구조를 가지는 화소 구동 회로를 예를 들어 설명하고 있으나, 반드시 그에 한정되는 것은 아니며, 통상의 기술자가 필요에 따라 그 구조를 변경할 수 있다.The
스위칭 트랜지스터(TR1)는 각 화소의 스캔 라인(SL)에 게이트 전극이 접속되고, 데이터 라인(DL)에 소스 전극이 접속되고, 스토리지 커패시터(Cst)의 제 1 단자인 제 1 노드(n1)에 드레인 전극이 접속된다.The switching transistor TR1 has a gate electrode connected to the scan line SL of each pixel, a source electrode connected to the data line DL, and a first node n1 as a first terminal of the storage capacitor Cst Drain electrodes are connected.
이에 따라, 스위칭 트랜지스터(TR1)는 각 화소의 스캔 라인(SL)로부터의 제 1 스캔 신호에 응답하여 데이터 라인(DL)로부터의 데이터 전압(Vdata)을 제 1 노드(n1)에 공급한다.Thus, the switching transistor TR1 supplies the data voltage Vdata from the data line DL to the first node n1 in response to the first scan signal from the scan line SL of each pixel.
구동 트랜지스터(TR2)는 제 1 노드(n1)에 게이트 전극이 접속되고, 고전위 구동 전압원(VDD)에 드레인 전극이 접속되고, 발광 소자(OLED)의 애노드 전극에 소스 전극이 접속된다.In the driving transistor TR2, a gate electrode is connected to the first node n1, a drain electrode is connected to the high potential driving voltage source VDD, and a source electrode is connected to the anode electrode of the light emitting element OLED.
이에 따라, 구동 트랜지스터(TR2)는 자신의 소스-게이트간 전압(Vgs) 즉, 고전위 전압원(VDD)과 제 1 노드(n1)사이에 걸리는 전압에 따라 발광 소자(OLED)에 흐르는 전류량을 조절한다.Accordingly, the driving transistor TR2 controls the amount of current flowing to the light emitting element OLED according to the source-gate voltage Vgs of the driving transistor TR2, that is, the voltage applied between the high potential source VDD and the first node n1. do.
센싱 트랜지스터(TR3)는 각 화소의 센싱 제어 라인(SSL)에 게이트 전극이 접속되고, 제 2 노드(n2)에 소스 전극이 접속되고, 제 3 노드(n3)에 드레인 전극이 접속된다.In the sensing transistor TR3, the gate electrode is connected to the sensing control line SSL of each pixel, the source electrode is connected to the second node n2, and the drain electrode is connected to the third node n3.
이에 따라, 센싱 트랜지스터(TR3)는 센싱 제어 라인(SSL)로부터의 제 2 스캔 신호에 응답하여 레퍼런스 라인(RL)으로부터의 프리차징 전압을 제 2 노드(n2)에 공급하거나, 센싱 기간 동안 발광 소자(OLED)의 애노드 전극의 전압을 레퍼런스 라인(RL)에 공급한다.Accordingly, the sensing transistor TR3 supplies the pre-charging voltage from the reference line RL to the second node n2 in response to the second scan signal from the sensing control line SSL, The voltage of the anode electrode of the organic light emitting diode (OLED) is supplied to the reference line RL.
스토리지 커패시터(Cst)는 제 1 노드(n1)에 제 1 단자가 접속되고, 제 2 노드(n2)에 제 2 단자가 접속된다. 스토리지 커패시터(Cst)는 제 1 및 제 2 노드(n1, n2) 각각에 공급되는 전압들 간의 차전압을 충전하여 구동 트랜지스터(Tr_D)의 구동 전압(Vgs)으로 공급한다. 예를 들어, 스토리지 커패시터(Cst)는 제 1 및 제 2 노드(n1, n2) 각각에 공급되는 데이터 전압(Vdata)과 프리차징(Vpre) 간의 차전압을 충전한다.In the storage capacitor Cst, a first terminal is connected to the first node n1, and a second terminal is connected to the second node n2. The storage capacitor Cst charges the difference voltage between the voltages supplied to the first and second nodes n1 and n2 and supplies the difference voltage to the driving voltage Vgs of the driving transistor Tr_D. For example, the storage capacitor Cst charges the difference voltage between the data voltage Vdata supplied to each of the first and second nodes n1 and n2 and the precharging voltage Vpre.
기준 커패시터(Cref)는 제 3 노드에 제 1 단자가 접속되고, 기저 전압원에 제 2 단자가 접속되고 레퍼런스 라인(RL)과 병렬로 접속된다. 기준 커패시터(Cref)는 센싱 기간 동안 턴온되는 센싱 트랜지스터(Tr_Se)를 통해 발광 소자(OLED)의 애노드 전극의 전압을 충전한다.The reference capacitor Cref has a first terminal connected to the third node, a second terminal connected to the base voltage source, and connected in parallel with the reference line RL. The reference capacitor Cref charges the voltage of the anode electrode of the light emitting element OLED through the sensing transistor Tr_Se which is turned on during the sensing period.
도 3은 데이터 구동부(104)를 더욱 상세히 설명하기 위한 예시도이다.3 is an exemplary diagram illustrating the
본 발명에 의한 데이터 구동부(104)는 프리차징 트랜지스터(TR_Pre)와, 센싱부(114)와, 샘플링 트랜지스터(TR_Sam)와, 출력부(116)를 포함한다.The
프리차징 트랜지스터(TR_Pre)는 초기화 기간 동안 타이밍 제어부(108)로부터 공급되는 프리차징 제어 신호에 응답하여 레퍼런스 라인(RL)에 프리차징 전압(Vpre)을 공급하여 레퍼런스 라인(RL)을 초기화한다.The precharging transistor TR_Pre supplies the precharging voltage Vpre to the reference line RL in response to the precharging control signal supplied from the
센싱부(114)는 센싱 기간 동안 레퍼런스 라인(RL)으로부터 발광 소자(OLED)의 애노드 전압을 센싱하여 타이밍 제어부(108)로 출력한다.The
이를 위하여, 센싱부(114)는 복수의 아날로그 디지털 변환부(ADC)를 구비하고, 상기 센싱된 발광 소자(OLED)의 애노드 전압을 디지털 신호로 변환한 센싱 데이터(Data)를 생성하여 타이밍 제어부(108)에 공급한다.For this, the
샘플링 트랜지스터(TR_Sam)는 센싱 기간 동안 타이밍 제어부(108)로부터 공급되는 센싱 제어 신호에 응답하여 레퍼런스 라인(RL)을 상기 센싱부(114)와 전기적으로 접속시킨다.The sampling transistor TR_Sam electrically connects the reference line RL to the
출력부(116)는 발광 기간 동안 타이밍 제어부(108)로부터 공급되는 데이터 제어 신호에 응답하여 타이밍 제어부(108)로부터 입력되는 디지털 보상 데이터(R',G',B')를 복수의 디지털 아날로그 변환부(DAC)를 통해 아날로그 형태의 데이터 전압으로 변환하고 변환된 아날로그 형태의 데이터 전압을 데이터 라인(DL)에 공급한다.The
도 4는 타이밍 제어부(108)를 상세히 설명하기 위한 예시도이다.4 is an exemplary diagram for describing the
본 발명에 의한 타이밍 제어부(108)는 열화 정보 생성부(124)와, 데이터 보정부(120)를 포함한다.The
열화 정보 생성부(124)는 센싱부(114)로부터 센싱 데이터를 입력받아 각 발광 소자(OLED)의 동작점 또는 문턱 전압의 변화량을 검출하여 열화 정보를 생성한다.The deterioration
한편, 열화 정보 생성부(124)는 유기 발광 표시 장치의 초기 구동시, 초기 열화정보를 산출하여 이를 데이터 보정부(120)로 출력한다.On the other hand, the deterioration
데이터 보정부(120)는 상기 센싱 데이터(SDATA)를 입력받아 각 발광 소자의 동작점 및 문턱 전압을 검출하고, 각 발광 소자의 열화값을 산출하며, 초기 구동시의 발광 소자의 초기 열화값에 근거하여 각 발광 소자의 열화를 가장 적절히 보상할 수 있는 최적 룩 업 테이블을 선택하고, 상기 최적 룩업 테이블과 이후 입력되는 발광 소자의 열화값을 이용하여 외부로부터 입력되는 영상 데이터를 보상하여 보상된 데이터 전압을 생성하고, 이를 데이터 구동부(104)의 출력부(116)로 출력한다.The
이를 위하여 데이터 보정부(120)는 메모리(123)와, 선택부(121) 및 보상 데이터 생성부(122)를 포함한다.To this end, the
메모리(123)에는 발광 소자의 열화값에 대응되는 휘도 변화량을 보상하는 복수의 룩 업 테이블이 저장된다.The
각 발광 소자의 열화값에 따른 휘도 변화량의 양상은 발광 소자의 특성에 따라 상이하다. 그에 따라, 상기 복수의 룩 업 테이블에는 각각 서로 다른 발광 소자의 열화값에 따른 휘도 변화량 및 이를 이용한 보상 데이터가 저장되어 있다.The aspect of the luminance change amount depending on the deterioration value of each light emitting element varies depending on the characteristics of the light emitting element. Accordingly, the plurality of look-up tables store the amount of luminance change according to the deterioration value of each of the different light emitting devices and the compensation data using the luminance variation amount.
선택부(121)는 상기 복수의 룩 업 테이블 중 적어도 하나의 최적 룩 업 테이블을 선택한다.The selecting
이 때, 선택부(121)는 발광 소자(OLED)의 초기 열화값과, 상기 복수의 룩 업 테이블의 열화 수식과의 상관관계를 이용하여 적어도 하나의 최적 룩 업 테이블(LUT)을 선택하여 보상 데이터 생성부(122)로 출력한다.In this case, the selecting
이 때 열화 수식은 상기 룩 업 테이블을 생성하는 데 이용된 각 발광 소자의 열화값에 따른 휘도 변화량을 그래프 형태로 표시한 경우의 기울기에 해당된다.At this time, the deterioration formula corresponds to the slope when the luminance change amount corresponding to the deterioration value of each light emitting element used for generating the look-up table is expressed in a graph form.
보상 데이터 생성부(122)는 외부로부터 입력되는 영상 데이터를 상기 열화 정보 생성부(124)로부터의 발광 소자(OLED)의 열화 정보 및 상기 최적 룩 업 테이블을 이용하여 보상하여 데이터 구동부(104)의 출력부(116)로 출력한다.The compensation
이하로는, 본 발명에 의한 유기 발광 표시 장치의 구동 방법을 설명한다.Hereinafter, a driving method of the organic light emitting diode display according to the present invention will be described.
먼저, 발광 소자(OLED)의 애노드 전압을 센싱하기 위한 구동 방법은 앞서 언급한 대한민국 특허출원 제10-2014-0124850호 등에 상세히 기재되어 있으며, 이를 도 2 및 도 3을 참조하여 간단히 설명하면 다음과 같다.First, a driving method for sensing the anode voltage of the light emitting device OLED is described in detail in Korean Patent Application No. 10-2014-0124850 mentioned above and will be briefly described with reference to FIG. 2 and FIG. same.
발광 소자(OLED)의 애노드 전압 센싱에 앞서, 먼저 구동 트랜지스터(Tr_D)의 문턱 전압(Vth)값을 보상한 데이터 전압(Vdata')을 각 화소 구동 회로에 공급하는 것이 바람직하며, 구동 트랜지스터(Tr_D)의 문턱 전압(Vth) 센싱 방법은 앞서 언급한 대한민국 공개특허공보 제10-2015-0003093호 등에 상세히 개시되어 있다.It is preferable to supply a data voltage Vdata 'obtained by compensating the threshold voltage Vth of the driving transistor Tr_D to each pixel driving circuit before the anode voltage sensing of the light emitting device OLED, (Vth) sensing method is disclosed in detail in Korean Patent Laid-Open Publication No. 10-2015-0003093 mentioned above.
이후, 발광 소자(OLED)의 애노드 전압을 센싱하기 위하여, 유기 발광 표시 장치는 초기화 기간(T1), 발광 기간(T2) 및 센싱 기간(T3)으로 나뉘어 구동한다.Then, in order to sense the anode voltage of the light emitting device OLED, the organic light emitting display device is divided into an initializing period T1, a light emitting period T2, and a sensing period T3.
초기화 기간(T1)에는 스위칭 트랜지스터(Tr_Sw)가 턴 온되고 데이터 전압(Vdata)을 인가되어 제 1 노드(n1)에는 데이터 전압(Vdata)이 충전되고, 센싱 트랜지스터(Tr_Se)가 턴온되며, 센싱부(114)의 프리차징 트랜지스터(Tr_Pre)가 턴온되어 레퍼런스 라인(RL)에 프리차징 전압(Pre)이 공급되고, 샘플링 트랜지스터(Tr_Sam)는 턴오프된다.In the initialization period T1, the switching transistor Tr_Sw is turned on and the data voltage Vdata is applied so that the first node n1 is charged with the data voltage Vdata, the sensing transistor Tr_Se is turned on, The precharging transistor Tr_Pre of the
이에 따라, 초기화 기간 동안 구동 트랜지스터(Tr_D)의 소스 전극 및 레퍼런스 라인(RL)은 프리차징 전압으로 초기화된다. 이 때, 스토리지 커패시터(Cst)에는 데이터 전압(Vdata')과 프리차징 전압(Vpre)의 차전압이 저장된다.Thus, during the initialization period, the source electrode of the driving transistor Tr_D and the reference line RL are initialized to the pre-charging voltage. At this time, a difference voltage between the data voltage Vdata 'and the precharging voltage Vpre is stored in the storage capacitor Cst.
그 다음, 발광 기간(T2)에서는 스위칭 트랜지스터(Tr_Sw)와 센싱 트랜지스터(Tr_Se)는 턴오프되고, 센싱부(114)의 샘플링 트랜지스터(Tr_Sam)는 턴오프되고, 프리차징 트랜지스터(Tr_Pre)는 턴온된다.Next, in the light emission period T2, the switching transistor Tr_Sw and the sensing transistor Tr_Se are turned off, the sampling transistor Tr_Sam of the
그에 따라, 스토리지 커패시터(Cst)에 저장된 전압은 구동 트랜지스터(Tr_D)의 구동 전압(Vgs)으로 공급되며, 구동 트랜지스터(Tr_D)는 스토리지 커패시터(Cst)에 저장된 전압(Vdata'-Vpre)에 의해 턴온되고, 발광 소자(OLED)에는 구동 전류가 공급되어 발광한다.Accordingly, the voltage stored in the storage capacitor Cst is supplied as the driving voltage Vgs of the driving transistor Tr_D, and the driving transistor Tr_D is turned on by the voltage Vdata'-Vpre stored in the storage capacitor Cst And the driving current is supplied to the light emitting element OLED to emit light.
센싱 기간(T3)의 전반부에서는 스위칭 트랜지스터(Tr_Sw)와 프리차징 트랜지스터(Tr_Pre) 및 샘플링 트랜지스터(Tr_Sam)은 턴오프되고, 센싱 트랜지스터(Tr_Se)는 턴온되어, 레퍼런스 라인(RL)의 커패시터(Cref)는 제 2 노드의 전압(Vn2), 즉 애노드 전극의 전압을 충전한다.In the first half of the sensing period T3, the switching transistor Tr_Sw, the precharging transistor Tr_Pre and the sampling transistor Tr_Sam are turned off, the sensing transistor Tr_Se is turned on and the capacitor Cref of the reference line RL is turned on, Charges the voltage Vn2 of the second node, that is, the voltage of the anode electrode.
그 다음 센싱 기간(T3)의 후반부에서는 스위칭 트랜지스터(Tr_Sw), 프리차징 트랜지스터(Tr_Pre)는 턴오프되고, 센싱 트랜지스터(Tr_Se)는 턴온 상태를 유지하며, 샘플링 트랜지스터(Tr_Sam)가 턴온되어 레퍼런스 라인(RL)은 센싱부(114)와 연결된다.In the latter half of the sensing period T3, the switching transistor Tr_Sw and the precharging transistor Tr_Pre are turned off, the sensing transistor Tr_Se is kept in a turned-on state, the sampling transistor Tr_Sam is turned on, RL are connected to the
그에 따라 센싱부(114)는 제 2 노드(N2)의 전압, 즉 발광 소자(OLED)의 발광시 애노드 전극의 전압(Vs)를 센싱함으로써 발광 소자(OELD)의 동작점을 계산할 수 있다.Accordingly, the
센싱부(114)는 레퍼런스 라인(RL)의 전압, 즉 발광소자(OLED)의 발광시 애노드 전극에 공급되는 전압(Vs)을 센싱하고, 센싱된 전압(Vs)을 디지털 형태의 센싱 데이터(SDATA)로 생성하여 타이밍 제어부(108)에 구비된 열화 정보 생성부(124)로 출력한다.The
열화 정보 생성부(124)는 상기 센싱 데이터를 이용하여 발광 소자(OLED)의 동작점을 산출한다.The deterioration
출원인은 발광 소자(OLED)의 문턱 전압을 센싱하는 방법 또한 대한민국 특허출원 제10-2014-0124850호에서 제시한 바 있다. 이를 도 2 및 도 3을 참조하여 간략히 설명하면 다음과 같다.The applicant has also proposed a method for sensing the threshold voltage of a light emitting device (OLED) in Korean Patent Application No. 10-2014-0124850. This will be briefly described with reference to FIG. 2 and FIG. 3 as follows.
먼저, 초기화기간(T1), 발광 기간(T2) 및 제 1 센싱 기간은 앞서 설명한 발광 소자(OLED)의 동작점을 센싱하는 때의 초기화 기간(T1), 발광 기간(T2) 및 센싱 기간(T3)와 동일하다.The initializing period T1, the light emitting period T2 and the first sensing period are the same as the initial period T1, the light emitting period T2 and the sensing period T3 in sensing the operating point of the light emitting device OLED, ).
제 2 센싱 기간(T4)의 전반부에서는 프리차징 트랜지스터(Tr_Pre) 및 샘플링 트랜지스터(T_Sam)은 모두 턴오프되도록 샘플링 제어 전압(Sam) 및 프리차징 제어 전압(Pre)는 모두 로우 상태를 유지한다.In the first half of the second sensing period T4, both the sampling control voltage Sam and the precharging control voltage Pre maintain a low state so that the precharging transistor Tr_Pre and the sampling transistor T_Sam are all turned off.
또한, 스위칭 트랜지스터(Tr_Sw) 및 센싱 트랜지스터(Tr_Se)는 턴 온되도록 하며, 턴온된 스위칭 트랜지스터(Tr_Sw)를 통해 데이터 라인(DL)에서는 블랙 데이터 전압이 구동 트랜지스터(Tr_D)의 게이트 전극에 공급되도록 한다.In addition, the switching transistor Tr_Sw and the sensing transistor Tr_Se are turned on and the black data voltage is supplied to the gate electrode of the driving transistor Tr_D in the data line DL through the turned-on switching transistor Tr_Sw .
그에 따라 구동 트랜지스터(Tr_D)는 턴오프되고, 제 1 노드(n1)의 전압은 낮아지며, 턴온된 센싱 트랜지스터(Tr_Se)를 통해 제 3 노드(n3)의 전압은 제 2 노드(n2)의 전압 레벨로 하강한다.The driving transistor Tr_D is turned off so that the voltage of the first node n1 is lowered and the voltage of the third node n3 through the turned-on sensing transistor Tr_Se is lowered to the voltage level of the second node n2 .
이에 따라 레퍼런스 라인(RL)의 커패시터(Cref)에 충전된 전압은 발광 소자(OLED)의 문턱 전압(Vth)과 등전위가 될 때까지 저전압원(Vss)으로 방전된다.The voltage charged in the capacitor Cref of the reference line RL is discharged to the low voltage source Vss until the voltage becomes equal to the threshold voltage Vth of the light emitting device OLED.
그 다음 제 2 센싱 기간(T4)의 후반부에서는, 샘플링 트랜지스터(Tr_Sam)가 턴온되어 레퍼런스 라인(RL)이 센싱부(114)와 연결되고, 센싱부(114)는 제 2 노드(n2)의 전압, 즉 발광 소자(OLED)의 비발광시 애노드 전극에 공급되는 전압(Vs)을 센싱한 센싱 데이터(SDATA)를 열화 정보 생성부(124)로 출력하며, 열화 정보 생성부(124)는 이를 통해 발광 소자(OLED)의 문턱 전압(Vth)을 계산한다.In the second half of the second sensing period T4, the sampling transistor Tr_Sam is turned on so that the reference line RL is connected to the
열화 정보 생성부(124)는 앞서 설명한 것과 같이, 센싱 데이터(SDATA)를 이용하여 발광 소자(OLED)의 동작점 또는 문턱 전압(Vth)을 산출한다.The deterioration
또한 열화 정보 생성부(124)는 상기 발광 소자(OLED)의 동작점 또는 문턱 전압(Vth)의 특정 시점으로부터의 변화량을 산출하여 열화 정보를 산출하고, 이를 보상 데이터 생성부(108)로 출력한다.Further, the deterioration
한편, 유기 발광 표시 장치의 초기 구동시 열화 정보 생성부(124)는 상기 발광 소자(OLED)의 동작점 또는 문턱 전압(Vth)의 초기 열화값을 산출하고, 이를 데이터 보정부(120)에 구비된 선택부(121)로 출력한다.On the other hand, the deterioration
도 5는 복수의 룩 업 테이블(LUT) 각각에 대응되는 발광 소자의 열화값 대비 휘도 변화량인 열화 수식을 그래프로 나타낸 것이다.FIG. 5 is a graph showing a deterioration formula, which is a variation amount of luminance with respect to a deterioration value of a light emitting device corresponding to each of a plurality of lookup tables (LUTs).
선택부(121)는 초기 열화 값을 입력받아, 이에 근거하여 복수 개의 룩 업 테이블(LUT) 중 상기 발광 소자(OLED)를 가장 적절히 보상할 수 있는 최적 룩 업 테이블을 선택한다.The
이를 위해, 메모리(123)의 각 룩 업 테이블(LUT)에는 실험을 통해 발광 소자의 열화에 대하여 다양한 휘도 변화값을 가지는 복수의 열화 수식 및 그에 대한 보상 데이터가 저장된다. 이 때 상기 룩 업 테이블(LUT)의 발광 소자의 열화값-휘도 변화량을 그래프로 나타낼 경우, 각 룩 업 테이블(LUT)은 도 5에 도시된 것과 같이 서로 다른 기울기를 가지는 복수의 그래프로 표시될 수 있으며, 이를 열화 수식이라 할 수 있다.To this end, each lookup table (LUT) of the
본 발명에서는 편의상 5개의 룩 업 테이블(LUT)이 도시되었으나, 룩 업 테이블(LUT)의 수는 다양하게 변경될 수 있다.In the present invention, five lookup tables (LUTs) are shown for the sake of convenience, but the number of lookup tables (LUTs) can be variously changed.
선택부(121)는 상기 복수의 룩 업 테이블(LUT)중에서 초기 열화 값을 기준으로 최적 룩 업 테이블을 선택한다.The
도 6은 발광 소자(OLED)의 초기 열화값과 이후 발광 소자(OLED)의 열화 수식과의 관계를 나타낸 그래프이다.6 is a graph showing the relationship between the initial deterioration value of the light emitting device OLED and the degradation formula of the light emitting device OLED.
여기서, x 축은 발광 소자(OLED)의 초기 열화값이며, Y 축은 발광 소자(OLED)의 열화 수식을 의미한다.Here, the x axis represents the initial deterioration value of the light emitting device OLED, and the Y axis represents the deterioration formula of the light emitting device OLED.
앞서 언급한 바와 같이, 발광 소자(OLED)의 열화 수식은, 룩 업 테이블의 열화값에 따른 휘도 변화량을 그래프 형태로 표시한 경우의 기울기에 해당되며, 발광 소자의 열화값 대비 휘도 변화량을 발광 소자의 열화 정도로 나눈 값이라고 보아도 무방하다. 상기 그래프 형태의 열화 수식의 예를 도 5에서 나타내고 있다.As described above, the deterioration formula of the light emitting device OLED corresponds to the slope when the luminance change amount according to the deterioration value of the look-up table is expressed in a graph form, and the luminance change amount with respect to the deterioration value of the light emitting device, As shown in Fig. An example of the graphical deterioration formula is shown in Fig.
이들 열화 수식은 각 발광 소자의 특성에 따라 상이한 값을 가지며, 복수의 발광 소자 각각의 열화 수식을 산출하여 상이한 거동을 보이는 복수의 룩 업 테이블을 만들 수 있다.These deterioration formulas have different values depending on the characteristics of the respective light emitting devices, and a plurality of lookup tables having different behaviors can be made by calculating the deterioration formula of each of the plurality of light emitting devices.
발광 소자(OLED)의 초기 열화값과, 이후 발광 소자(OLED)의 열화값 변화량 대비 휘도 변화량을 측정하면 도 6과 같은 양상을 가지는 결과가 도출된다. 이를 상세히 설명하면 다음과 같다.The initial deterioration value of the light emitting device OLED and the luminance change amount with respect to the deterioration value change amount of the light emitting device OLED are then measured to obtain the result as shown in FIG. This will be described in detail as follows.
발광 소자(OLED)의 초기 열화값이 작은 경우에는 이후 발광 소자(OLED)의 열화값 변화량 대비 휘도 변화량이 크다. 즉 도 5에 도시된 그래프 중 ① 과 그 기울기가 유사한 열화 수식을 갖는다.When the initial deterioration value of the light emitting device OLED is small, the luminance change amount with respect to the deterioration value change amount of the light emitting device OLED is large. That is, the slope of the graph shown in FIG. 5 is similar to that of the graph shown in FIG.
발광 소자(OLED)의 초기 열화값이 중간 정도인 경우에는, 이후 발광 소자(OLED)의 열화값 변화량 대비 휘도 변화량도 중간 정도이다. 즉 도 5에 도시된 그래프 중 ③ 과 그 기울기가 유사한 열화 수식을 갖는다.When the initial deterioration value of the light emitting device OLED is intermediate, the amount of change in luminance with respect to the deterioration value change amount of the light emitting device OLED is also intermediate. That is, the slope of the graph shown in FIG. 5 is similar to the slope of the graph shown in FIG.
발광 소자(OLED)의 초기 열화값이 큰 경우에는, 이후 발광 소자(OLED)의 열화값 변화량 대비 휘도 변화량이 작다. 즉 도 5 에 도시된 그래프 중 ⑤ 와 그 기울기가 유사한 열화 수식을 갖는다.When the initial deterioration value of the light emitting device OLED is large, the change amount of the brightness with respect to the deterioration value change amount of the light emitting device OLED is small. That is, the slope of the graph shown in FIG. 5 is similar to the slope of the graph shown in FIG.
그에 따라, 선택부(121)는 발광 소자(OLED)의 초기 열화값을 기초로 그에 대응되는 발광 소자(OLED)의 열화값 변화량 대비 휘도 변화량을 예상하고, 그에 따른 보상값이 저장된 최적 룩 업 테이블을 선택하여 보상 데이터 생성부(122)로 출력한다.Accordingly, the selecting
이 때, 선택부(121)는 표시 패널(102)의 각 발광 소자들의 초기 열화값의 평균값을 산출하고, 이에 대응되는 최적 룩 업 테이블을 선택할 수 있다.At this time, the selecting
또한, 선택부(121)는 표시 패널의 발광 소자(OLED)들 각각에 대하여 초기 열화값에 대응되는 룩 업 테이블을 선택하여 각 발광 소자(OLED)별로 서로 다른 최적 룩 업 테이블을 적용할 수도 있다.In addition, the
보상 데이터 생성부(122)는 외부로부터 영상 데이터(R, G, B)를 입력받아, 열화정보 생성부(124)로부터의 입력되는 열화 정보에 대응되는 최적 룩 업 테이블의 보상값을 반영하여 보상된 영상 데이터(R',G',B')를 생성하고, 이를 데이터 구동부(104)의 출력부(116)로 출력한다.The compensation
출력부(116)는 상기 보상된 영상 데이터(R', G', B')를 아날로그 데이터 전압으로 변환하여 데이터 라인(DL)을 통해 표시 패널(102)로 출력한다.The
이상 설명한 것과 같이, 본 발명은 발광 소자의 초기 열화값을 변수로 하여 다양한 열화 대비 휘도 수식을 가지는 복수의 룩 업 테이블 중 최적 룩 업 테이블을 선택하고, 발광 소자의 열화 대비 휘도 감소분이 적절하게 보상될 수 있도록 한 것으로서, 정확한 열화 대비 휘도 수식이 존재하지 않는 발광 소자(OLED)의 경우에도 정확한 열화에 따른 휘도 보상이 가능하도록 한다.As described above, according to the present invention, an optimum lookup table among a plurality of lookup tables having various degradation contrast luminance expressions is selected by using initial deterioration values of a light emitting element as a variable, and a reduction in luminance of a light emitting element is appropriately compensated In addition, even in the case of a light emitting device (OLED) in which there is no accurate degradation contrast luminance expression, the luminance compensation due to accurate deterioration is enabled.
그에 따라 본 발명에 의한 유기 발광 표시 장치는, 표시 패널의 휘도 편차를 더 효과적으로 제거하며, 발광 소자의 잔상 수명이 증가하는 효과를 가진다.Accordingly, the OLED display according to the present invention has the effect of effectively eliminating the luminance deviation of the display panel and increasing the after-image lifetime of the light emitting device.
이상의 설명은 본 발명을 예시적으로 설명한 것에 불과하며, 본 발명이 속하는 기술 분야에서 통상의 지식을 가진 자에 의해 본 발명의 기술적 사상에서 벗어나지 않는 범위에서 다양한 변형이 가능할 것이다. 따라서 본 발명의 명세서에 개시된 실시 예들은 본 발명을 한정하는 것이 아니다. 본 발명의 범위는 아래의 특허청구범위에 의해 해석되어야 하며, 그와 균등한 범위 내에 있는 모든 기술도 본 발명의 범위에 포함되는 것으로 해석해야 할 것이다.The foregoing description is merely illustrative of the present invention, and various modifications may be made by those skilled in the art without departing from the spirit of the present invention. Accordingly, the embodiments disclosed in the specification of the present invention are not intended to limit the present invention. The scope of the present invention should be construed according to the following claims, and all the techniques within the scope of equivalents should be construed as being included in the scope of the present invention.
102: 표시 패널104: 데이터 구동부
106: 스캔 구동부108: 타이밍 제어부
114: 센싱부116: 출력부
120: 데이터 보정부121: 선택부
122: 보상 데이터 생성부123: 룩 업 테이블
124: 열화정보 생성부102: display panel 104: data driver
 106: scan driver 108: timing controller
 114: sensing unit 116: output unit
 120: Data correction unit 121:
 122: compensation data generation unit 123: lookup table
 124: deterioration information generating unit
| Application Number | Priority Date | Filing Date | Title | 
|---|---|---|---|
| KR1020150122341AKR102387789B1 (en) | 2015-08-31 | 2015-08-31 | Organic light emitting diode display device and method for driving the same | 
| Application Number | Priority Date | Filing Date | Title | 
|---|---|---|---|
| KR1020150122341AKR102387789B1 (en) | 2015-08-31 | 2015-08-31 | Organic light emitting diode display device and method for driving the same | 
| Publication Number | Publication Date | 
|---|---|
| KR20170025621Atrue KR20170025621A (en) | 2017-03-08 | 
| KR102387789B1 KR102387789B1 (en) | 2022-04-15 | 
| Application Number | Title | Priority Date | Filing Date | 
|---|---|---|---|
| KR1020150122341AActiveKR102387789B1 (en) | 2015-08-31 | 2015-08-31 | Organic light emitting diode display device and method for driving the same | 
| Country | Link | 
|---|---|
| KR (1) | KR102387789B1 (en) | 
| Publication number | Priority date | Publication date | Assignee | Title | 
|---|---|---|---|---|
| KR20190014850A (en)* | 2017-08-04 | 2019-02-13 | 엘지디스플레이 주식회사 | Organic light emitting diode display device and sensing method thereof | 
| CN111554226A (en)* | 2020-05-22 | 2020-08-18 | Tcl华星光电技术有限公司 | Brightness compensation method and device and brightness compensation system | 
| KR20220096713A (en)* | 2020-12-31 | 2022-07-07 | 엘지디스플레이 주식회사 | Organic light emitting display device and compensation metho of degradation thereof | 
| CN115273743A (en)* | 2022-08-22 | 2022-11-01 | 合肥京东方卓印科技有限公司 | Brightness compensation method and device, electronic equipment, display panel and storage medium | 
| EP4148626A1 (en)* | 2018-07-11 | 2023-03-15 | Silicon Storage Technology Inc. | Compensation for reference transistors and memory cells in analog neuro memory in deep learning artificial neural network | 
| Publication number | Priority date | Publication date | Assignee | Title | 
|---|---|---|---|---|
| KR20130064552A (en)* | 2011-12-08 | 2013-06-18 | 엘지디스플레이 주식회사 | Organic light emitting display and compensation method of degradation thereof | 
| KR20140078500A (en)* | 2012-12-17 | 2014-06-25 | 엘지디스플레이 주식회사 | Organic light emitting display device and method for driving thereof | 
| KR20140129857A (en)* | 2013-04-30 | 2014-11-07 | 삼성디스플레이 주식회사 | Organic light emitting display device | 
| KR20150011645A (en)* | 2013-07-23 | 2015-02-02 | 엘지디스플레이 주식회사 | Organic light emitting diode display device and method for driving the same | 
| KR20150064460A (en)* | 2013-12-03 | 2015-06-11 | 엘지디스플레이 주식회사 | Organic light emitting display device and method for driving thereof | 
| KR20150065026A (en)* | 2013-12-04 | 2015-06-12 | 엘지디스플레이 주식회사 | Organic light emitting display device and method for driving thereof | 
| KR20150080954A (en)* | 2013-12-30 | 2015-07-13 | 엘지디스플레이 주식회사 | Organic light emitting display device and method for driving thereof | 
| Publication number | Priority date | Publication date | Assignee | Title | 
|---|---|---|---|---|
| KR20130064552A (en)* | 2011-12-08 | 2013-06-18 | 엘지디스플레이 주식회사 | Organic light emitting display and compensation method of degradation thereof | 
| KR20140078500A (en)* | 2012-12-17 | 2014-06-25 | 엘지디스플레이 주식회사 | Organic light emitting display device and method for driving thereof | 
| KR20140129857A (en)* | 2013-04-30 | 2014-11-07 | 삼성디스플레이 주식회사 | Organic light emitting display device | 
| KR20150011645A (en)* | 2013-07-23 | 2015-02-02 | 엘지디스플레이 주식회사 | Organic light emitting diode display device and method for driving the same | 
| KR20150064460A (en)* | 2013-12-03 | 2015-06-11 | 엘지디스플레이 주식회사 | Organic light emitting display device and method for driving thereof | 
| KR20150065026A (en)* | 2013-12-04 | 2015-06-12 | 엘지디스플레이 주식회사 | Organic light emitting display device and method for driving thereof | 
| KR20150080954A (en)* | 2013-12-30 | 2015-07-13 | 엘지디스플레이 주식회사 | Organic light emitting display device and method for driving thereof | 
| Publication number | Priority date | Publication date | Assignee | Title | 
|---|---|---|---|---|
| KR20190014850A (en)* | 2017-08-04 | 2019-02-13 | 엘지디스플레이 주식회사 | Organic light emitting diode display device and sensing method thereof | 
| EP4148626A1 (en)* | 2018-07-11 | 2023-03-15 | Silicon Storage Technology Inc. | Compensation for reference transistors and memory cells in analog neuro memory in deep learning artificial neural network | 
| US11797834B2 (en) | 2018-07-11 | 2023-10-24 | Silicon Storage Technology, Inc. | Compensation for reference transistors and memory cells in analog neuro memory in deep learning artificial neural network | 
| US11847557B2 (en) | 2018-07-11 | 2023-12-19 | Silicon Storage Technology, Inc. | Compensation for reference transistors and memory cells in analog neuro memory in deep learning artificial neural network | 
| CN111554226A (en)* | 2020-05-22 | 2020-08-18 | Tcl华星光电技术有限公司 | Brightness compensation method and device and brightness compensation system | 
| KR20220096713A (en)* | 2020-12-31 | 2022-07-07 | 엘지디스플레이 주식회사 | Organic light emitting display device and compensation metho of degradation thereof | 
| CN115273743A (en)* | 2022-08-22 | 2022-11-01 | 合肥京东方卓印科技有限公司 | Brightness compensation method and device, electronic equipment, display panel and storage medium | 
| Publication number | Publication date | 
|---|---|
| KR102387789B1 (en) | 2022-04-15 | 
| Publication | Publication Date | Title | 
|---|---|---|
| KR102234021B1 (en) | Organic light emitting display | |
| KR101065419B1 (en) | OLED display and driving method thereof | |
| JP6748407B2 (en) | OLED display | |
| KR101147427B1 (en) | Organic light emitting display and driving method thereof | |
| US8599224B2 (en) | Organic light emitting display and driving method thereof | |
| KR102033374B1 (en) | Organic light emitting display device and method for driving the same | |
| TWI425478B (en) | Pixel driving device, light emitting device, driving/controlling method thereof, and electronic device | |
| US8558767B2 (en) | Organic light emitting display and driving method thereof | |
| JP4980976B2 (en) | Organic electroluminescent display device and driving method thereof | |
| KR101997875B1 (en) | Organic Light Emitting Display Device and Driving Method Thereof | |
| KR101248204B1 (en) | Pixel drive apparatus, light-emitting apparatus and drive control method for light-emitting apparatus | |
| KR100830298B1 (en) | Organic light emitting display device and driving method thereof | |
| US8400380B2 (en) | Organic light emitting display device and driving method thereof | |
| JP2009169372A (en) | Organic electroluminescent display device and driving method thereof | |
| KR102387789B1 (en) | Organic light emitting diode display device and method for driving the same | |
| KR102444312B1 (en) | Organic light emitting diode display device and method for driving the same | |
| KR102042531B1 (en) | Organic light emitting diode display device and method of driving the same | |
| KR20140078504A (en) | Organic light emitting display device and method for driving the same | |
| KR102465446B1 (en) | Organic light emitting diode display device | |
| KR102387787B1 (en) | Organic light emitting diode display device and method for driving the same | |
| KR102450338B1 (en) | Organic Light Emitting Diode and Method for Driving the Same | |
| KR20090131786A (en) | Organic light emitting display device and driving method thereof | |
| KR20150100997A (en) | Organic light emitting display device | |
| KR20180007212A (en) | Organic Light Emitting Diode Display and Method for Driving the same | 
| Date | Code | Title | Description | 
|---|---|---|---|
| PA0109 | Patent application | Patent event code:PA01091R01D Comment text:Patent Application Patent event date:20150831 | |
| PG1501 | Laying open of application | ||
| PA0201 | Request for examination | Patent event code:PA02012R01D Patent event date:20200716 Comment text:Request for Examination of Application Patent event code:PA02011R01I Patent event date:20150831 Comment text:Patent Application | |
| E902 | Notification of reason for refusal | ||
| PE0902 | Notice of grounds for rejection | Comment text:Notification of reason for refusal Patent event date:20210630 Patent event code:PE09021S01D | |
| E701 | Decision to grant or registration of patent right | ||
| PE0701 | Decision of registration | Patent event code:PE07011S01D Comment text:Decision to Grant Registration Patent event date:20220318 | |
| GRNT | Written decision to grant | ||
| PR0701 | Registration of establishment | Comment text:Registration of Establishment Patent event date:20220413 Patent event code:PR07011E01D | |
| PR1002 | Payment of registration fee | Payment date:20220413 End annual number:3 Start annual number:1 | |
| PG1601 | Publication of registration | ||
| PR1001 | Payment of annual fee | Payment date:20250318 Start annual number:4 End annual number:4 |