







본 발명은 안마 베개에 관한 것으로서, 더욱 상세하게는 평소에 사용자에게 안락한 수면을 제공하는 베개 기능을 수행하다가, 사용시에만 공압에 의해 신축하는 에어봉이 출몰되어 사용자의 두부를 자극하는 안마 베개에 관한 것이다.The present invention relates to a massage pillow, and more particularly, to a massage pillow that performs a pillow function that normally provides a comfortable sleep to a user, and which stimulates the head of a user by protruding and retracting an air rod stretched or contracted by air pressure only during use .
안마는 손이나 특수한 기구로 몸을 주무르거나, 누르거나, 두드리거나, 문지르거나 하는 등의 다양한 동작을 통해 신체에 역학적 자극을 주는 것으로, 간단하게는 혈액순환을 돕고, 피로가 풀리게 하는 등의 효과가 있고, 보다 전문적 시술을 통해서는 생체반응을 일으키게 하여 신체의 변조를 바로 잡아 병을 치료하고 건강을 증진시키는 등의 효과가 있어, 신체의 건강과 치유를 위한 치료법으로 각광받고 있다. Massage is a kind of massage that gives a physical stimulus to the body through a variety of actions, such as wetting, pressing, tapping, or rubbing the body with a hand or a special instrument, which simply helps blood circulation and relieves fatigue In addition, through more specialized procedures, it is possible to correct the body's modulation by causing the vital reaction, thereby treating the disease and promoting the health. Thus, it has been attracting attention as a treatment for the health and healing of the body.
한편, 마사지는 주로 손을 사용하여 직접 피부에 일정한 방법으로 자극을 줌으로써 혈액이나 림프의 순환을 촉진하고 신진대사를 왕성하게 하여 건강 증진과 치료 효과를 얻을 수 있는 것이고, 안마와 비슷한 지압은 몸을 손 또는 손가락 따위로 누르거나 주물러서 신경을 자극하여 피의 순환을 순조롭게 하는 것으로, 여기서는 마사지와 지압을 안마에 포함시켜 설명한다.On the other hand, massages are mainly used by hand to directly stimulate the skin in a certain way, thereby promoting blood circulation and lymphatic circulation, making the metabolism vigorous, so that health promotion and treatment effect can be obtained. By pressing with hand or fingers, or choking to stimulate the nerves to smooth the circulation of blood. Here, massage and acupressure are included in the massage.
최근 전문적인 마사지사 또는 안마 시술사에 의한 전문 시설이 많이 이용되고 있지만, 일반 가정에서도 간단하게 이용할 수 있는 다양한 형태의 안마용 기구나 장치가 널리 보급되어 있다.Recently, a professional massage facility or massage facility has been widely used, but various types of massage equipment and devices that can be easily used at home are widely available.
이러한 종래의 안마용구에는, 손으로 잡아 신체의 소정 부위를 두드리거나 문지르도록 된 간단한 수동식 기구도 있고, 모터의 구동력을 이용하여 반복적인 자극을 신체에 가하도록 된 자동식 장치도 있다.Such conventional massage equipment includes a simple hand mechanism that is held by a hand to hit or rub a predetermined portion of the body, and an automatic apparatus that applies repetitive stimulation to the body using the driving force of the motor.
이 중에서 자동식 안마장치는, 통상 진동모터에 의해 발생하는 진동 자극을 신체에 가하도록 된 것으로, 독립된 개별 기구로 구성되기도 하고, 신체가 접촉되는 매트리스나 의자, 베개 등의 안착부에 내장되어 피시술자가 편안한 자세로 안마를 받을 수 있도록 구성되기도 하였다.
Among these, the automatic massage device is designed to apply a vibration stimulus generated by a vibration motor to a body, and may be constituted by an independent individual mechanism, or may be built in a seat portion such as a mattress or a chair or a pillow to which the body contacts, I was able to get a massage in a comfortable position.
이중 베개는 복원력이 있는 쿠션부재를 베개커버의 내부에 넣어 구성함으로써 안락한 수면을 제공한다.The double pillow provides a comfortable sleep surface by inserting a resilient cushion member inside the pillow cover.
베개에 사용되는 쿠션부재는 통상 부드러운 새의 깃털이나 솜을 천 주머니에 넣어 구성하거나 통상의 복원력이 우수한 메모리폼 또는 라텍스를 사용한다.The cushioning member used for the pillow is usually formed by putting soft feathers or cotton in a cloth bag or using a memory foam or latex having excellent restoring force.
이와 같은 베개 중 근육통을 치료하거나 피로를 풀기 위해서 많이 사용하는 안마 베개는 베개 내부에 진동모터 또는 편심 회전하는 캠을 설치하거나, 공압에 의하여 피스톤 운동을 하는 타격구를 다수 장치하여 인체를 두드리면서 안마를 하는 장치가 개시되어 있다.Massage pillow, which is often used to relieve muscle fatigue or relieve fatigue, is equipped with a vibrating motor or eccentric rotating cam inside the pillow, or a large number of hitting holes that perform piston motion by pneumatic pressure, Is disclosed.
그러나 종래의 안마 베개는 베개 내부에 딱딱한 전기장치가 구비되므로 쿠션감에 의해 사용자에게 안락함과 편안함을 제공하는 베개 기능을 수행하지 못하고, 진동모터 또는 피스톤이나 스프링 등의 타격구는 딱딱한 물건이기 때문에 사용자의 취향에 따라서는 안마 효과가 없거나 도리어 안마에 의하여 통증이 생기는 경우도 생길 수 있는 문제점이 있었다.However, since the conventional massage pillow is provided with a hard electrical device inside the pillow, the pillow function that provides comfort and comfort to the user due to the cushioning feeling can not be performed, and since the hitting portion such as the vibration motor or the piston or spring is a hard object, There is a problem in that there is no massage effect depending on the taste or the massage may cause pain.
본 발명은 상술한 문제점을 해결하기 위하여 안출된 것으로서, 평소에는 사용자에게 안락한 수면을 제공하는 베개 기능을 수행하다가, 사용시에만 공압에 의해 신축하는 에어봉이 베개 상부로 출몰되어 사용자의 두부를 자극하게 되므로 통증없이 사용자의 혈액순환을 돕고 피로를 푸는 등의 안마 효과를 낼 수 있는 안마 베개를 제공하는데 그 목적이 있다.SUMMARY OF THE INVENTION [0006] The present invention has been conceived to solve the above-mentioned problems, and it is an object of the present invention to provide a sleeping pad which provides a comfortable sleeping surface to a user, The present invention provides a massage pillow capable of providing a massage effect such as relieving fatigue by helping the blood circulation of the user without pain.
상술한 목적을 달성하기 위한 본 발명의 일 실시예에 따른 안마 베개는, 압축공기를 생성하는 공압발생기;According to an aspect of the present invention, there is provided a massage pillow including: a pneumatic generator for generating compressed air;
상기 공압발생기에 일측이 연결되어 압축공기를 이송하는 다수의 에어호스;A plurality of air hoses connected to one side of the pneumatic generator to transfer compressed air;
상기 다수의 에어호스의 타측에 연결되어 압축공기가 주입되면 팽창되어 위로 상승하고, 압축공기가 빠지면 수축되어 아래로 하강하는 다수의 에어봉; 및A plurality of air rods connected to the other side of the plurality of air hoses and expanding upward when compressed air is injected and contracting when the compressed air is released, And
상기 다수의 에어호스가 내부에 배치되고 그 상부에 다수의 에어봉이 설치되어 지지되는 지지구; 를 구비하는 안마수단을 포함하고,A plurality of air hoses disposed inside and having a plurality of air rods installed thereon; And massage means,
베개 내부에 지지구와 다수의 에어봉이 장착되어 상기 베개 상부로 다수의 에어봉이 반복적으로 출몰하는 것을 특징으로 한다.
And a plurality of air rods are mounted in the pillow and a plurality of air rods repeatedly protrude and retract into the upper portion of the pillow.
본 발명의 다른 실시예에 따른 안마 베개는, 압축공기를 생성하는 공압발생기;A massage pillow according to another embodiment of the present invention includes: a pneumatic generator for generating compressed air;
상기 공압발생기에 일측이 연결되어 압축공기를 이송하는 다수의 에어호스;A plurality of air hoses connected to one side of the pneumatic generator to transfer compressed air;
상기 다수의 에어호스의 타측 일부에 연결되어 압축공기가 주입되면 팽창되어 위로 상승하고, 압축공기가 빠지면 수축되어 아래로 하강하는 다수의 에어봉; 및A plurality of air rods connected to the other part of the plurality of air hoses and expanding upward when compressed air is injected and contracting when the compressed air is withdrawn and descending downward; And
상기 다수 에어호스의 타측 나머지에 연결되어 높낮이를 조절하고 그 상부에 다수의 에어봉이 설치되는 것으로, 한 개 또는 2개 이상이 종이나 횡으로 배치되는 에어패드; 를 구비하는 안마수단을 포함하고,An air pad connected to the other end of the plurality of air hoses to adjust the height thereof and having a plurality of air rods disposed thereon, one or more than two air rods arranged longitudinally or laterally; And massage means,
베개 내부에 에어패드와 다수의 에어봉이 장착되어 상기 베개 상부로 다수의 에어봉이 반복적으로 출몰하는 것을 특징으로 한다.
An air pad and a plurality of air rods are mounted in the pillow so that a plurality of air rods repeatedly protrude and retract into the upper portion of the pillow.
또한, 상기 에어봉은 외부 가이드에 의해 감싸지되,Further, the air rod is wrapped by an outer guide,
상기 외부 가이드는 지지구나 에어패드의 상부에 상방이 개방되도록 입설되고 내주면에 가이드홈이 상하로 형성되며 상기 가이드홈의 상부에 내측으로 걸림턱이 형성되는 가이드 돌기와, 상기 가이드 돌기의 내측에 결합하여 가이드홈을 따라 상하로 슬라이드 되는 것으로, 상기 가이드홈이 형성된 가이드 돌기에 면접촉하는 밀착부가 하부에 외측으로 형성되는 슬라이더로 이루어지는 것을 특징으로 한다.The outer guide may include a guide protrusion which is installed upward in an upper portion of the support or air pad, a guide protrusion formed on the inner circumferential surface of the guide groove in the upper and lower direction, a guide protrusion formed on the upper portion of the guide groove, And a slider which slides up and down along the guide groove and in which a close contact portion which is in surface contact with the guide protrusion formed with the guide groove is formed outwardly at the lower portion.
또한, 상기 에어봉의 내부에 내부 가이드가 구비되되,Further, an inner guide is provided inside the air rod,
상기 내부 가이드는 지지구나 에어패드의 상부에 상방이 개방되도록 입설되고 내주면에 가이드홈이 상하로 형성되며 상기 가이드홈의 상부에 내측으로 걸림턱이 형성되는 가이드 돌기와, 상기 가이드 돌기의 내측에 결합하여 가이드홈을 따라 상하로 슬라이드 되는 것으로, 상기 가이드홈이 형성된 가이드 돌기에 면접촉하는 밀착부가 하부에 외측으로 형성되는 슬라이더로 이루어지는 것을 특징으로 한다.The inner guide includes a guide protrusion which is installed upward in an upper portion of a support or air pad and has a guide groove formed in an upper and lower surface on an inner circumferential surface thereof and a locking protrusion is formed on an upper portion of the guide groove, And a slider which slides up and down along the guide groove and in which a close contact portion which is in surface contact with the guide protrusion formed with the guide groove is formed outwardly at the lower portion.
또한, 상기 안마수단은 제어시스템에 의해 제어되되,In addition, the massage means is controlled by the control system,
상기 제어시스템은 공압발생기를 이루는 하나 또는 다수의 에어펌프가 각 에어호스를 통해 하나의 전체 에어호스에 연결되고, 전체 에어호스는 다시 분기되어 에어패드 및 에어봉에 연결되며 각 분기 에어호스에는 공급 솔레노이드밸브와 배기 솔레노이드밸브를 각각 구비하며,Wherein the control system is configured such that one or more air pumps constituting a pneumatic generator are connected to one entire air hose through each air hose and the entire air hose is branched again to be connected to the air pads and air rods, A solenoid valve and an exhaust solenoid valve,
상기 공급 솔레노이드밸브 앞 단의 전체 에어호스에는 전체 에어호스에 공급되는 압축공기의 압력을 측정하는 공압센서가, 배기 솔레노이드밸브 후단의 분기 에어호스에는 압축공기와 사람의 두부 무게(하중)에 의해 분기 에어호스에 가해지는 압력을 측정하는 압력센서가 각각 구비되는 것을 특징으로 한다.The total air hose at the front end of the supply solenoid valve is connected to a branch air hose at the rear end of the exhaust solenoid valve by a pneumatic sensor for measuring the pressure of the compressed air supplied to the entire air hose. And a pressure sensor for measuring a pressure applied to the air hose.
또한, 상기 제어시스템 측의 분기 에어호스와 안마 베개 측의 에어호스는 서로 분리되게 구성되어 커넥터에 의해 일 대 일로 연결되는 것을 특징으로 한다.Further, the branch air hose on the side of the control system and the air hose on the massage pillow side are separated from each other and connected one to one by a connector.
그리고 상기 커넥터에는 다극의 오디오잭이 하나 또는 다수 구비되고 에어봉이나 에어펌프에는 소리센서나 온도센서 또는 스피커가 구비되어 오디오잭을 통해 제어시스템에 연결되는 것을 특징으로 한다.The connector is provided with one or more multi-pole audio jacks, and the air rod or air pump is provided with a sound sensor, a temperature sensor or a speaker, and is connected to the control system through an audio jack.
상술한 과제의 해결 수단에 의하면, 평소에는 사용자에게 안락한 수면을 제공하는 베개 기능을 수행하다가 사용시에만 공압에 의해 신축하는 에어봉이 베개 상부로 출몰되어 사용자의 두부를 자극하게 되므로 통증없이 사용자의 혈액순환을 돕고 피로를 푸는 등의 안마 효과를 낼 수 있다.According to the means for solving the above-mentioned problems, the pillow function for providing a comfortable sleep to the user is usually performed, and the air rod stretched and contracted by the pneumatic pressure exits to the upper part of the pillow only at the time of use and stimulates the head of the user. Helping to relieve fatigue and massage effects can be.
또한, 베개에 압력센서와 소리센서를 구비하여 수면하는 동안 두부의 체중을 압력에 의해 측정하여 에어패드로 경추가 있는 머리 부분의 높낮이를 조절하여 편안한 자세로 숙면을 취할 수 있도록 하고 코골이를 감지한 경우 전후측 또는 좌우측 중 어느 한쪽의 머리 부위를 높여서 코골이를 방지할 수 있다.In addition, a pressure sensor and a sound sensor are provided on the pillow, and the weight of the head is measured by the pressure during the sleep to adjust the height of the head portion of the cervical spine with the air pad, In either case, the snoring can be prevented by raising the head part of either the front or rear side or the left or right side.
도 1은 본 발명에 적용되는 안마수단의 개략도이다.
도 2a와 도 2b는 본 발명의 실시예에 따른 안마 베개의 조립 사시도와 분해 사시도이다.
도 3a와 도 3b는 도 1에 나타낸 에어봉의 신축 상태를 나타내는 도면이다.
도 4는 본 발명의 적용되는 안마수단의 다른 개략도이다.
도 5는 도 2에 나타낸 안마 베개의 제어시스템을 나타내는 블록도이다.
도 6은 도 1에 나타낸 에어봉의 다른 예를 나타내는 도면이다.BRIEF DESCRIPTION OF THE DRAWINGS Fig. 1 is a schematic view of a massage device applied to the present invention; Fig.
2A and 2B are an assembled perspective view and an exploded perspective view of a massage pillow according to an embodiment of the present invention.
Figs. 3A and 3B are views showing the expansion and contraction state of the air rod shown in Fig. 1. Fig.
Figure 4 is another schematic view of the massage device applied in accordance with the present invention.
5 is a block diagram showing the control system of the massage pillow shown in Fig.
Fig. 6 is a view showing another example of the air rod shown in Fig. 1. Fig.
이하 본 발명의 실시예에 대하여 첨부된 도면을 참고로 상세히 설명하면 다음과 같다.Hereinafter, embodiments of the present invention will be described in detail with reference to the accompanying drawings.
도면들 중 동일한 구성요소들에 대해서는 비록 다른 도면상에 표시되더라도 가능한 한 동일한 참조번호 및 부호들로 나타내고 있음에 유의해야 한다.It is to be noted that the same components of the drawings are denoted by the same reference numerals and symbols as possible even if they are shown in different drawings.
하기에서 본 발명을 설명함에 있어, 관련된 공지 기능 또는 구성에 대한 구체적인 설명이 본 발명의 요지를 불필요하게 흐릴 수 있다고 판단되는 경우에는 그 상세한 설명을 생략할 것이다.In the following description of the present invention, a detailed description of known functions and configurations incorporated herein will be omitted when it may make the subject matter of the present invention rather unclear.
또한, 어떤 부분이 어떤 구성요소를 "포함"한다고 할 때, 이는 특별히 반대되는 기재가 없는 한 다른 구성요소를 제외하는 것이 아니라 다른 구성요소를 더 포함할 수 있는 것을 의미한다.
Also, when a part is referred to as "including " an element, it does not exclude other elements unless specifically stated otherwise.
도 1은 본 발명에 적용되는 안마수단의 개략도이다.BRIEF DESCRIPTION OF THE DRAWINGS Fig. 1 is a schematic view of a massage device applied to the present invention; Fig.
도 1에 도시된 바와 같이 본 발명의 안마 베개에 적용되는 안마수단(1)은 공압발생기(10), 에어호스(20), 지지구(30) 및 에어봉(40)을 포함하여 구성된다.As shown in Fig. 1, a
상기 공압발생기(10)는 예를 들어 예를 들어 다수의 에어펌프로 이루어지고, 압축공기를 생성하여 이송라인 즉 각 에어호스(20)를 따라 이송해서 에어봉(40)에 주입한다.The
이때 에어호스(20)는 에어봉(40)에 일 대 일로 연결될 수도 있고, 분기관(22)을 통해 다수의 에어봉(40)에 연결될 수도 있다.At this time, the
상기 공압발생기(10)에 MP3 플레이어 기능이나 인터넷 기능을 구현하여 음악을 들을 수 있고, 음성인식 기능을 탑재하여 사용자의 음성(명령)에 의해 공압발생기(10)를 작동시키거나 중지할 수 있다.The
상기 지지구(30)는 얇은 판재 형상의 내부에 에어호스(20)가 배치되고 그 상부에 다수의 에어봉(40)이 압축공기가 새지 않도록 밀봉되게 설치되어 지지되는 것으로, 이때 에어봉(40)의 하부는 개방되어 에어호스(20)와 연통된다.The
상기 에어봉(40)은 예를 들어 실리콘과 같이 부드러운 재질로 이루어진 것으로, 압축공기가 주입되면 팽창되어 수직 또는 경사지게 위로 상승하고, 압축공기가 빠지면 수축되어 아래로 하강한다.The
이와 같이 다수의 에어봉(40)이 상승과 하강을 반복하는 것에 의해 두부의 특정 부위(예를 들어 경추)를 누르거나 두드리게 되어 자극을 하게 된다.As described above, the
여기서 에어봉(40)과 지지구(30)를 일체로 형성할 수도 있다.
Here, the
도 2a와 도 2b는 본 발명의 실시예에 따른 안마 베개의 조립 사시도와 분해 사시도이다.2A and 2B are an assembled perspective view and an exploded perspective view of a massage pillow according to an embodiment of the present invention.
도 2a 및 도 2b에 도시된 바와 같이 안마 베개(200)는 그 내부에 도 1에 나타낸 안마수단(1)의 에어봉(40)과 지지구(30)가 설치된다.As shown in FIGS. 2A and 2B, the
본 발명에서는 상기 안마 베개(200)의 하면에 지지구(30) 형상으로 장착홈(202)이 형성되고, 에어봉(40)과 대응되는 위치의 안마 베개(200)에 에어봉(40)이 출몰할 수 있도록 다수의 관통공(204)이 형성된다.In the present invention, a mounting
물론 안마 베개(200)에는 에어호스(20)를 외부에서 장착홈(202)까지 배치하기 위한 홈이 형성된다.Of course, the
상기 장착홈(202)에 지지구(30)가 장착된 상태에서 안마 베개(200)의 관통공(204)에 에어봉(40)이 위치한다.The
상기 에어봉(40)에 압축공기가 주입되지 않은 상태에서는 에어봉(40)이 수축되어 관통공(204) 밖으로 돌출되지 않고 있다가 압축공기가 주입되면 에어봉(40)이 팽창/상승하면서 관통공(204) 밖으로 돌출되고, 압축공기가 빠지면 다시 수축/하강하면서 관통공(204) 내부에 위치하게 된다.The
이를 반복하여 다수의 에어봉(40)이 안마 베개(200) 위로 출몰함에 따라 사람이 누워 있는 경우 두부를 자극하여 안마를 하게 된다.
When a plurality of
도 3a와 도 3b는 도 1에 나타낸 에어봉의 신축 상태를 나타내는 도면이다.Figs. 3A and 3B are views showing the expansion and contraction state of the air rod shown in Fig. 1. Fig.
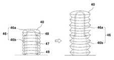
도 3a에 나타낸 바와 같이 에어봉(40)은 외부 가이드(42)에 의해 감싸진다.As shown in Fig. 3A, the
상기 외부 가이드(42)는 지지구(30)의 상부에 상방이 개방되도록 입설되고 내주면에 가이드홈(43)이 상하로 형성되며 상기 가이드홈(43)의 상부에 내측으로 걸림턱(44)이 형성되는 가이드 돌기(42b)와, 상기 가이드 돌기(42b)의 내측에 결합하여 가이드홈(43)을 따라 상하로 슬라이드 되는 것으로, 하방이 개방되고 상기 가이드홈(43)이 형성된 가이드 돌기(42b)에 면접촉하는 밀착부(45)가 하부에 외측으로 형성되는 슬라이더(42a)로 이루어진다.The
이때 가이드 돌기(42b)와 슬라이더(42a)는 예를 들어 원통 형상으로서 슬라이더(42a) 상부는 돔 형상처럼 상측으로 둥글게 라운드 된다.
At this time, the
이러한 구성에 의해 에어봉(40)에 압축공기가 주입되면 에어봉(40)이 팽창/상승하고 이에 따라 외부 가이드(42)의 가이드 돌기(42b)는 지지구(30)에 고정된 상태에서 슬라이더(42a)가 가이드홈(43)을 따라 상부로 슬라이드 되어 안마 베개(200) 상부로 돌출된다.With this configuration, when the compressed air is injected into the
상기 에어봉(40)에 압축공기가 빠지면 에어봉(40)이 수축/하강하고 이에 따라 슬라이더(42a)는 그 자중에 의해 가이드 돌기(42b)의 가이드홈(43)을 따라 하부로 슬라이드 하강한다.The
이와 같이 에어봉(40)이 팽창 또는 수축하는 경우 외부 가이드(42)에 의해 그 형상이 유지된다.When the
물론 상기 외부 가이드(42) 없이도 에어봉(40)은 정상적으로 팽창 또는 수축하여 안마 기능을 수행한다.
Of course, without the
도 3b에 도시된 바와 같이 에어봉(40)의 내부에 내부 가이드(46)가 구비된다.An
상기 에어봉(40)은 다수의 주름이 횡으로 형성되어 압축공기가 빠진 상태에서 겹쳐져 있다가 압축공기가 주입되면 주름이 펼쳐진다.A plurality of wrinkles are formed laterally in the
상기 내부 가이드(46)는 지지구(30)의 상부에 상방이 개방되도록 입설되고 내주면에 가이드홈(47)이 상하로 형성되며 상기 가이드홈(47)의 상부에 내측으로 걸림턱(48)이 형성되는 가이드 돌기(46b)와, 상기 가이드 돌기(46b)의 내측에 결합하여 가이드홈(47)을 따라 상하로 슬라이드 되는 것으로, 하방이 개방되고 상기 가이드홈(47)이 형성된 가이드 돌기(46b)에 면접촉하는 밀착부(49)가 하부에 외측으로 형성되는 슬라이더(46a)로 이루어진다.The
이때 가이드 돌기(46b)와 슬라이더(46a)는 원통 형상으로서 슬라이더(46a) 상부는 돔처럼 상측으로 둥글게 라운드 된다.
At this time, the
이러한 구성에 의해 에어봉(40)에 압축공기가 주입되면 내부 가이드(46)에도 압축공기가 주입되어 내부 가이드(46)의 가이드 돌기(46b)는 지지구(30)에 고정된 상태에서 슬라이더(46a)가 가이드홈(47)을 따라 상부로 슬라이드 되고, 에어봉(40)이 팽창/상승하면서 안마 베개(200) 상부로 돌출된다.When the compressed air is injected into the
상기 에어봉(40)에 압축공기가 빠지면 에어봉(40)이 수축/하강함과 동시에 내부 가이드(46)에도 압축공기가 빠져 슬라이더(46a)가 그 자중에 의해 가이드홈(47)을 따라 하부로 슬라이드 하강한다.When the compressed air is discharged into the
이와 같이 에어봉(40)이 팽창 또는 수축하는 경우 내부 가이드(46)에 의해 그 형상이 유지된다.When the
물론 상기 내부 가이드(46) 없이도 에어봉(40)은 정상적으로 팽창 또는 수축하여 안마 기능을 수행한다.
Of course, without the
도 4는 본 발명의 적용되는 안마 수단의 다른 개략도이다.Figure 4 is another schematic view of the massage device applied in accordance with the present invention.
도 4에 도시된 바와 같이 안마수단(1)은 공압발생기(10), 에어호스(20), 에어패드(50) 및 에어봉(40)을 포함하여 구성된다.As shown in Fig. 4, the
공압발생기(10), 에어호스(20) 및 에어봉(40)은 도 1의 안마수단(1)에서 설명하였으므로 여기서는 에어패드(50)에 대해서 설명한다.The
공압발생기(10)는 에어호스(20)를 통해 에어봉(40) 및 에어패드(50)에 연결되어 압축공기를 주입한다.The
상기 에어패드(50)는 지지구(30) 대신 분리되게 구성되는 것으로, 내부에 압축공기가 주입되면 팽창/상승하고, 빠지면 수축/하강함으로써 높낮이를 조절한다.The
이를 위해 에어패드(50)에는 다수의 주름이 횡으로 형성되어 압축공기가 빠진 상태에서 겹쳐져 있다가 압축공기가 주입되면 주름이 펼쳐지면서 상승하게 된다.To this end, a plurality of corrugations are formed laterally in the
이때 2개 이상의 에어패드(50)가 횡으로 인접되게 배치되어 좌우측 중 어느 한쪽의 에어패드(50)만 높이거나 낮출 수 있다.At this time, two or
물론 종으로 인접되게 배치되는 경우 전후측 중 어느 한쪽의 에어패드(50)만 높이거나 낮출 수 있고, 에어봉(40)과 에어패드(50)가 일체로 만들어질 수도 있다.
Of course, when the
도 5는 도 2에 나타낸 안마 베개의 제어시스템을 나타내는 블록도이다.5 is a block diagram showing the control system of the massage pillow shown in Fig.
도 5에 도시된 바와 같이 제어시스템(300)은 제어부(310), 입력선택부(320), 표시부(330), 공압센서(340), 공급 솔레노이드밸브(350a,…,350n), 배기 솔레노이드밸브(360a,…,360n), 압력센서(370a,…,370n), 오디오잭(380), 커넥터(60) 및 소리센서(70)를 포함하여 구성된다.5, the
공압발생기(10)를 이루는 다수의 에어펌프(10a,…,10n)는 각 에어호스(20)를 통해 하나의 전체 에어호스에 연결된 후, 다시 분기되어 에어패드(50) 및 에어봉(40)에 연결되고, 각 에어호스(20)에는 공급 솔레노이드밸브(350a,…,350n)와 배기 솔레노이드 밸브(360a,…,360n)가 구비된다. A plurality of
또한, 공급 솔레노이드밸브(350a,…,350n) 앞 단의 전체 에어호스에는 전체 에어호스에 공급되는 압축공기의 압력을 측정하는 공압센서(340)가 구비되고, 배기 솔레노이드밸브(360a,…,360n) 후단의 분기 에어호스에는 압축공기와 사람의 두부 무게(하중)에 의해 분기 에어호스에 가해지는 압력을 측정하는 압력센서(370a,…,370n)가 각각 구비된다.The entire air hose at the front end of the
이때 제어시스템(300)측 분기 에어호스와 안마 베개(200)측 에어호스는 서로 분리되게 형성되어 커넥터(60)에 의해 일 대 일로 연결되고, 상기 커넥터(60)에는 후술하는 오디오잭(380)이 구비된다.At this time, the branch air hose on the
입력선택부(320)는 제어부(310)와 연결되어 사용자가 안마 베개(200)의 안마 시간, 안마 강도, 안마 패턴(일괄제어, 순차제어) 등에 대한 명령을 입력 및 선택할 수 있도록 하는 것으로, 다수의 버튼으로 구비될 수 있다.The
공압센서(340) 및 압력센서(370a,…,370n)는 상기 제어부(310)와 연결되어 각 측정한 압력을 제어부(310)에 입력한다.The
제어부(310)는 입력선택부(320)로부터 입력된 명령에 따라 공압센서(340) 및 압력센서(370a,…,370n)로부터 입력된 압력을 참고로, 에어펌프(10a,…,10n), 공급 솔레노이드밸브(350a,…,350n) 및 배기 솔레노이드밸브(360a,…,360n)를 제어하여 에어패드(350)의 높낮이를 조절하고, 에어봉(40)을 일괄적으로 또는 순차적으로 상승 및 하강시킨다.The
표시부(330)는 상기 제어부(310)의 제어에 의해 사용자가 입력한 값, 공압센서(340) 및 압력센서(370a,…,370n)에서 보내온 압력값, 에어펌프(10a,…,10n), 공급 솔레노이드밸브(350a,…,350n) 및 배기 솔레노이드밸브(360a,…,360n)의 작동 상태 등을 나타내는 것으로, LCD나 다수의 LED 디스플레이로 이루어질 수 있다.The
상기 에어패드(50)에 소리센서(70)가 구비되어 커넥터(60)의 오디오잭(380)을 통해 제어부(310)에 소리가 입력될 수 있다.A
또한, 상기 오디오잭(380)을 소리센서(70)에 연결하지 않고 극성이 많은 4극의 오디오잭(380)을 에어패드(50)에 구비된 온도센서에 연결하여 사용할 수도 있다.It is also possible to connect the
제어부(310)에서 에어패드(50) 또는 에어봉(40)을 상승시키고자 하는 경우에 제어부(310)는 배기 솔레노이드밸브(360a,…,360n)를 닫고 에어펌프(10a,…,10n)를 작동하면서 상승시키고자 하는 공급 솔레노이드밸브(350a,…,350n)를 열어 압축공기를 에어패드(50) 또는 에어봉(40)에 주입함으로써 팽창, 상승시킬 수 있다.The
반대로 에어패드(50) 또는 에어봉(40)을 하강하고자 하는 경우에 제어부(310)는 공급 솔레노이드밸브(350a,…,350n)를 닫고 하강시키고자 하는 배기 솔레노이드밸브(360a,…,360n)를 열어 에어패드(50) 또는 에어봉(40)의 압축공기를 배기함으로써 수축, 하강시킬 수 있다.On the other hand, when the
이와 같이 에어패드(50)의 높낮이를 조절하면서 에어봉(40)을 일괄적으로 또는 순차적으로 상승/하강함으로써 안마 베개(200)의 사용자에게 안마를 하게 된다.Thus, the user of the
한편, 사용자가 안마 베개(200)에 머리를 베고 누워 수면을 취하는 상태에서 다수의 압력센서(370a,…,370n)로부터 입력된 압력이 균일하지 않고 어느 한쪽의 압력이 일방적으로 높거나 낮은 경우, 제어부(310)는 사용자의 누워있는 자세가 불안정한 것으로 판단해서 상대적으로 압력이 낮은 쪽의 배기 솔레노이드밸브(360a,…,360n)를 개방하여 높이를 낮추고, 압력이 높은 쪽의 공급 솔레노이드밸브(350a,…,350n)를 개방하여 높이를 높임으로써 전체적으로 안마 베개(200)의 높이를 맞춰주어 편안한 수면을 취하게 할 수 있다.On the other hand, when the pressure inputted from the plurality of
또한, 요추가 있는 부분의 에어패드(50)나 에어봉(40)의 높이를 높여 체형의 곡선에 맞는 자세를 맞춰주어 편안한 수면을 취하게 할 수도 있다.In addition, it is possible to raise the height of the
또한, 제어부(310)는 소리센서(70)로부터 입력된 소릿값이 설정값 이상인 경우 사용자가 코를 고는 것으로 판단하여 사용자의 전후측 또는 좌우측 중 어느 한쪽의 안마 베개(200)를 높여서 코골이를 방지할 수도 있다.If the snoring value input from the
이상에서는 에어호스(20)의 수만큼 배기 솔레노이드밸브(360a,…,360n)와 공급 솔레노이드밸브(350a,…,350n)를 구비하여 각 에어호스(20)에 설치하는 것을 예를 들어 설명하였으나, 배기 솔레노이드밸브와 공급 솔레노이드밸브를 한 개씩 구비하여 전 에어호스를 통해 일괄적으로 배기하거나 압축공기를 공급할 수도 있다.
It has been described that the
도 6은 도 1에 나타낸 에어봉의 다른 예를 나타내는 도면으로, 에어봉(40)의 상부에 실리콘 또는 고무재질의 캡(80)을 씌워 안마시에 사람의 피부와 유사한 감촉을 느끼게 할 수 있다.
Fig. 6 is a view showing another example of the air rod shown in Fig. 1. In the upper part of the
이상에서 본 발명에 대한 기술 사상을 첨부 도면과 함께 서술하였지만, 이는 본 발명의 바람직한 실시예를 예시적으로 설명한 것이지 본 발명을 한정하는 것은 아니다. 또한, 이 기술 분야의 통상의 지식을 가진 자라면 누구나 본 발명의 기술 사상의 범주를 이탈하지 않는 범위 내에서 다양한 변형 및 모방이 가능함은 명백한 사실이다.Although the preferred embodiments of the present invention have been disclosed for illustrative purposes, those skilled in the art will appreciate that various modifications, additions and substitutions are possible, without departing from the scope and spirit of the invention as disclosed in the accompanying claims. In addition, it is a matter of course that various modifications and variations are possible without departing from the scope of the technical idea of the present invention by anyone having ordinary skill in the art.
1: 안마수단10: 공압 발생기
10a,…,10n: 에어펌프20: 에어호스
30: 지지구40: 에어봉
42,46: 가이드50: 공압패드
60: 커넥터200: 안마 베개
202: 장착홈204: 관통공
300: 제어시스템310: 제어부
320: 입력선택부330: 표시부
340: 공압센서350a,…,350n: 공급 솔레노이드밸브
360a,…,360n: 배기 솔레노이드밸브
370a,…,370n: 압력센서380: 오디오잭1: Massage unit 10: Pneumatic generator
10a, ... , 10n: air pump 20: air hose
30: ground 40: air rod
42, 46: guide 50: pneumatic pad
60: Connector 200: Massage pillow
202: mounting groove 204: through hole
300: control system 310: control unit
320: input selection unit 330: display unit
340:
360a, ... , 360n: Exhaust solenoid valve
370a, ... , 370n: pressure sensor 380: audio jack
| Application Number | Priority Date | Filing Date | Title |
|---|---|---|---|
| KR1020150054441AKR101803365B1 (en) | 2015-04-17 | 2015-04-17 | Massage Pillow |
| PCT/KR2016/003974WO2016167613A1 (en) | 2015-04-17 | 2016-04-18 | Pillow for massage |
| Application Number | Priority Date | Filing Date | Title |
|---|---|---|---|
| KR1020150054441AKR101803365B1 (en) | 2015-04-17 | 2015-04-17 | Massage Pillow |
| Publication Number | Publication Date |
|---|---|
| KR20160123802Atrue KR20160123802A (en) | 2016-10-26 |
| KR101803365B1 KR101803365B1 (en) | 2017-11-30 |
| Application Number | Title | Priority Date | Filing Date |
|---|---|---|---|
| KR1020150054441AExpired - Fee RelatedKR101803365B1 (en) | 2015-04-17 | 2015-04-17 | Massage Pillow |
| Country | Link |
|---|---|
| KR (1) | KR101803365B1 (en) |
| WO (1) | WO2016167613A1 (en) |
| Publication number | Priority date | Publication date | Assignee | Title |
|---|---|---|---|---|
| WO2019031670A1 (en)* | 2017-08-09 | 2019-02-14 | 김창겸 | Functional sleep pillow |
| KR101963043B1 (en) | 2017-10-20 | 2019-07-31 | 한밭대학교 산학협력단 | Airbag pillow adapted to user sleep |
| KR102283549B1 (en)* | 2021-05-31 | 2021-07-30 | (주)제스파 | Pillow massager that helps you sleep and method for controlling thereof |
| KR20210144007A (en)* | 2020-05-21 | 2021-11-30 | 인제대학교 산학협력단 | sub occipital myofascial release pillow |
| KR20230011509A (en)* | 2021-07-12 | 2023-01-25 | 주식회사 쓰리에이치 | Detachable acupressure rod |
| Publication number | Priority date | Publication date | Assignee | Title |
|---|---|---|---|---|
| KR102065513B1 (en)* | 2018-12-13 | 2020-01-13 | 주식회사 텐마인즈 | External force detecting system and driving method thereof |
| CN111989015A (en)* | 2018-12-13 | 2020-11-24 | 天满紫商贸有限公司 | External force detection system and driving method of external force detection system |
| CN110169899B (en)* | 2019-05-27 | 2021-04-27 | 天津中德应用技术大学 | Alternating telescopic structure |
| KR102620461B1 (en)* | 2022-02-22 | 2024-01-03 | 의료법인 명지의료재단 | Automated Diabetic Neuropathy Screening Device |
| US12214707B2 (en)* | 2022-03-29 | 2025-02-04 | Lear Corporation | Seat assembly with massage |
| CN115349731B (en)* | 2022-09-13 | 2023-10-27 | 慕思健康睡眠股份有限公司 | Intelligent household device |
| Publication number | Priority date | Publication date | Assignee | Title |
|---|---|---|---|---|
| KR101085245B1 (en) | 2011-03-21 | 2011-11-22 | 강성원 | Acupressure pillow |
| KR200474197Y1 (en) | 2014-05-07 | 2014-08-28 | 문정석 | Pillow For Massage And Acupressure Treatment |
| Publication number | Priority date | Publication date | Assignee | Title |
|---|---|---|---|---|
| KR100676747B1 (en)* | 2005-10-31 | 2007-02-01 | 주식회사 인아렉스 | Leg massage device using air |
| KR200422999Y1 (en)* | 2006-05-24 | 2006-08-02 | 양복금 | Shiatsu pillow |
| KR100835755B1 (en)* | 2007-12-05 | 2008-06-09 | 이창재 | High Function Meridian |
| KR101151404B1 (en)* | 2009-02-09 | 2012-06-14 | 고유민 | The pillow having massage function |
| Publication number | Priority date | Publication date | Assignee | Title |
|---|---|---|---|---|
| KR101085245B1 (en) | 2011-03-21 | 2011-11-22 | 강성원 | Acupressure pillow |
| KR200474197Y1 (en) | 2014-05-07 | 2014-08-28 | 문정석 | Pillow For Massage And Acupressure Treatment |
| Publication number | Priority date | Publication date | Assignee | Title |
|---|---|---|---|---|
| WO2019031670A1 (en)* | 2017-08-09 | 2019-02-14 | 김창겸 | Functional sleep pillow |
| KR101963043B1 (en) | 2017-10-20 | 2019-07-31 | 한밭대학교 산학협력단 | Airbag pillow adapted to user sleep |
| KR20210144007A (en)* | 2020-05-21 | 2021-11-30 | 인제대학교 산학협력단 | sub occipital myofascial release pillow |
| KR102283549B1 (en)* | 2021-05-31 | 2021-07-30 | (주)제스파 | Pillow massager that helps you sleep and method for controlling thereof |
| KR20230011509A (en)* | 2021-07-12 | 2023-01-25 | 주식회사 쓰리에이치 | Detachable acupressure rod |
| Publication number | Publication date |
|---|---|
| WO2016167613A1 (en) | 2016-10-20 |
| KR101803365B1 (en) | 2017-11-30 |
| WO2016167613A4 (en) | 2017-02-09 |
| Publication | Publication Date | Title |
|---|---|---|
| KR101803365B1 (en) | Massage Pillow | |
| KR101802213B1 (en) | Massage Mattress | |
| KR101275228B1 (en) | Medical devices for strengthening sphincter and chair including the same | |
| JP4773272B2 (en) | Treatment machine | |
| CN107997866A (en) | Health device and its system | |
| KR101468845B1 (en) | Apparatus for air-press massage | |
| KR102377642B1 (en) | Massage Device Of Posterior Cervical muscle | |
| CN109008425A (en) | A kind of soft or hard adjustable bed mattess for realizing massage functions | |
| KR102203704B1 (en) | Massage mat using air pressure | |
| RU2721142C1 (en) | Height-adjustable rehabilitation therapeutic pillow | |
| KR102178703B1 (en) | Neck relaxation massage and snoring sleep induction device | |
| KR20220004537A (en) | Perineal Region Massage Device for Massage Device, And Method for Controlling the Same | |
| JP2011229810A (en) | Massage machine | |
| JP2008000225A (en) | Treatment machine | |
| JP5161861B2 (en) | Massage pillow | |
| KR20180072063A (en) | air cell control mat using body information, and control method thereof | |
| KR20220110372A (en) | Massage Device Of Posterior Cervical muscle | |
| JP4448943B2 (en) | Health pillow | |
| CN204364426U (en) | A kind of health care intelligent massage chair | |
| JP2007307179A (en) | Massage equipment such as shoulders and stool with massage function | |
| CN110693689A (en) | Scalp nerve rehabilitation training device based on targeted regulation and control and training method thereof | |
| JP4516173B2 (en) | Massage pillow | |
| CN211750950U (en) | Scalp nerve rehabilitation training device based on targeted regulation and control | |
| CN114948640A (en) | Neck massager and control method thereof | |
| KR20220108282A (en) | Perineal Region Massage Device for Massage Device, And Method for Controlling the Same |
| Date | Code | Title | Description |
|---|---|---|---|
| A201 | Request for examination | ||
| PA0109 | Patent application | St.27 status event code:A-0-1-A10-A12-nap-PA0109 | |
| PA0201 | Request for examination | St.27 status event code:A-1-2-D10-D11-exm-PA0201 | |
| E902 | Notification of reason for refusal | ||
| PE0902 | Notice of grounds for rejection | St.27 status event code:A-1-2-D10-D21-exm-PE0902 | |
| P11-X000 | Amendment of application requested | St.27 status event code:A-2-2-P10-P11-nap-X000 | |
| P13-X000 | Application amended | St.27 status event code:A-2-2-P10-P13-nap-X000 | |
| PG1501 | Laying open of application | St.27 status event code:A-1-1-Q10-Q12-nap-PG1501 | |
| E701 | Decision to grant or registration of patent right | ||
| PE0701 | Decision of registration | St.27 status event code:A-1-2-D10-D22-exm-PE0701 | |
| GRNT | Written decision to grant | ||
| PR0701 | Registration of establishment | St.27 status event code:A-2-4-F10-F11-exm-PR0701 | |
| PR1002 | Payment of registration fee | St.27 status event code:A-2-2-U10-U11-oth-PR1002 Fee payment year number:1 | |
| PG1601 | Publication of registration | St.27 status event code:A-4-4-Q10-Q13-nap-PG1601 | |
| P22-X000 | Classification modified | St.27 status event code:A-4-4-P10-P22-nap-X000 | |
| PR1001 | Payment of annual fee | St.27 status event code:A-4-4-U10-U11-oth-PR1001 Fee payment year number:4 | |
| PC1903 | Unpaid annual fee | St.27 status event code:A-4-4-U10-U13-oth-PC1903 Not in force date:20211125 Payment event data comment text:Termination Category : DEFAULT_OF_REGISTRATION_FEE | |
| PC1903 | Unpaid annual fee | St.27 status event code:N-4-6-H10-H13-oth-PC1903 Ip right cessation event data comment text:Termination Category : DEFAULT_OF_REGISTRATION_FEE Not in force date:20211125 |