











본 발명은 골전도 스피커를 구비하는 이동 단말기에 관한 것이다.The present invention relates to a mobile terminal having a bone conduction speaker.
단말기는 이동 가능여부에 따라 이동 단말기(mobile/portable terminal) 및 고정 단말기(stationary terminal)으로 나뉠 수 있다. 다시 이동 단말기는 사용자의 직접 휴대 가능 여부에 따라 휴대(형) 단말기(handheld terminal) 및 거치형 단말기(vehicle mounted terminal)로 나뉠 수 있다.A terminal can be divided into a mobile terminal (mobile / portable terminal) and a stationary terminal according to whether the terminal can be moved. The mobile terminal can be divided into a handheld terminal and a vehicle mounted terminal according to whether the user can directly carry the mobile terminal.
이동 단말기의 기능은 다양화 되고 있다. 예를 들면, 데이터와 음성통신, 카메라를 통한 사진촬영 및 비디오 촬영, 음성녹음, 스피커 시스템을 통한 음악파일 재생 그리고 디스플레이부에 이미지나 비디오를 출력하는 기능이 있다. 일부 단말기는 전자게임 플레이 기능이 추가되거나, 멀티미디어 플레이어 기능을 수행한다. 특히 최근의 이동 단말기는 방송과 비디오나 텔레비전 프로그램과 같은 시각적 컨텐츠를 제공하는 멀티캐스트 신호를 수신할 수 있다.The functions of mobile terminals are diversified. For example, there are data and voice communication, photographing and video shooting through a camera, voice recording, music file playback through a speaker system, and outputting an image or video on a display unit. Some terminals are equipped with an electronic game play function or a multimedia player function. In particular, modern mobile terminals can receive multicast signals that provide visual content such as broadcast and video or television programs.
이와 같은 단말기(terminal)는 기능이 다양화됨에 따라 예를 들어, 사진이나 동영상의 촬영, 음악이나 동영상 파일의 재생, 게임, 방송의 수신 등의 복합적인 기능들을 갖춘 멀티미디어 기기(Multimedia player) 형태로 구현되고 있다.Such a terminal has various functions, for example, in the form of a multimedia device having multiple functions such as photographing and photographing of a moving picture, reproduction of a music or video file, reception of a game and broadcasting, etc. .
이러한 단말기의 기능 지지 및 증대를 위해, 단말기의 구조적인 부분 및/또는 소프트웨어적인 부분을 개량하는 것이 고려될 수 있다.In order to support and enhance the functionality of such terminals, it may be considered to improve the structural and / or software parts of the terminal.
최근에는 청각 데이터의 제공에 따른 사생활 보호, 소음 등 다양한 문제에 따라, 사용자에게만 전달되는 골전도 방식의 스피커에 대한 연구가 진행되고 있다. 특히, 사용자에게 보다 선명하고 정확한 청각 데이터를 제공하기 위하여, 골전도 스피커 모듈 자체의 변형 및 이동 단말기에 장착된 상태가 개발되고 있다.2. Description of the Related Art [0002] In recent years, studies on a bone conduction type speaker that is transmitted only to a user have been under way due to various problems such as privacy protection and noise due to provision of auditory data. Particularly, in order to provide the user with clearer and more accurate hearing data, the deformation of the bone conduction speaker module itself and the state mounted on the mobile terminal are being developed.
다만, 이러한 진동방식의 스피커는 신체에 접촉이 불안정한 경우 출력품질이 떨어지는 문제점이 있다. 따라서, 사용자의 신체에 장착된 상태로 구동되는 안경형 단말기의 경우, 사용자의 얼굴형이나, 사용상태에 따라 출력품질이 저하되는 단점이 있다.However, such a vibration type speaker has a problem that the output quality is deteriorated when the contact with the body is unstable. Accordingly, in the case of the eyeglass-type terminal driven in a state of being mounted on the user's body, there is a disadvantage that the output quality is deteriorated depending on the face type of the user or the use state.
본 발명은 출력품질이 향상된 골전도 스피커를 구비하는 이동 단말기를 제공하는 것이다.The present invention provides a mobile terminal having a bone conduction speaker with improved output quality.
상기 또는 다른 목적을 달성하기 위해 본 발명의 일 측면에 따르면, 외관을 이루고, 개구부를 포함하는 프레임부, 상기 케이스에 장착되고, 자성체 및 코일을 구비하여 진동을 발생시키는 골전도 스피커 모듈 및 상기 골전도 스피커 모듈에 고정되고, 사용자의 신체에 접하여 상기 진동에 의한 청각데이터를 출력하도록 상기 개구부로 노출되는 진동전달부를 포함하는 이동 단말기를 제공한다.According to an aspect of the present invention, there is provided a bone conduction speaker module for generating a vibration by having a frame portion including an opening, a frame portion mounted on the case, a magnetic body and a coil, And a vibration transmission unit fixed to the speaker module and exposed to the opening to output auditory data due to the vibration in contact with the user's body.
또한, 본 발명의 다른 측면에 따르면, 상기 골전도 스피커 모듈은 상기 자성체 및 상기 코일을 수납하는 하우징 및 상기 하우징의 일면에 고정되고, 상기 일면으로부터 돌출되어 상기 진동전달부에 체결되는 체결부재를 포함할 수 있다.According to another aspect of the present invention, the bone conduction speaker module includes a housing for housing the magnetic body and the coil, and a fastening member fixed to one surface of the housing and projecting from the one surface and fastened to the vibration transmission portion can do.
또한, 본 발명의 다른 측면에 따르면, 상기 진동전달부는, 일 면에 상기 체결부재가 삽입되도록 형성되는 리세스부를 포함할 수 있다.According to another aspect of the present invention, the vibration transmitting portion may include a recess portion formed on one surface of the coupling member so that the coupling member is inserted.
또한, 본 발명의 다른 측면에 따르면, 상기 체결부재의 외주면을 따라 나사산이 형성되고, 상기 리세스부에 상기 체결부재는 나사결합할 수 있다.According to another aspect of the present invention, a thread is formed along the outer peripheral surface of the fastening member, and the fastening member is screwed to the recessed portion.
또한, 본 발명의 다른 측면에 따르면, 상기 진동전달부는 상기 리세스부에 장착되고, 상기 나사산과 대응되는 나사구조가 형성되는 태핑(tapping)부재를 포함할 수 있다.According to another aspect of the present invention, the vibration transmitting portion may include a tapping member mounted on the recess portion and having a threaded structure corresponding to the threaded portion.
또한, 본 발명의 다른 측면에 따르면, 상기 스피커 모듈은 상기 하우징의 일면 상에, 상기 체결부재를 둘러싸도록 형성되는 접착부재를 더 포함하고, 상기 리세스부는, 상기 체결부재가 고정되는 제1 영역 및 상기 접착부재에 대응되는 제2 영역으로 이루어질 수 있다.According to another aspect of the present invention, the speaker module further includes an adhesive member formed on one surface of the housing so as to surround the fastening member, and the recessed portion includes a first region in which the fastening member is fixed, And a second region corresponding to the adhesive member.
또한, 본 발명의 다른 측면에 따르면, 상기 체결유닛은 용접에 의하여 상기 하우징의 일면에 형성될 수 있다.According to another aspect of the present invention, the fastening unit may be formed on one side of the housing by welding.
또한, 본 발명의 다른 측면에 따르면, 상기 스피커 모듈은 상기 하우징으로부터 돌출되어 상기 케이스의 내부면에 고정되되게 형성되는 고정부재를 포함할 수 있다,According to another aspect of the present invention, the speaker module may include a fixing member protruded from the housing and fixed to an inner surface of the case.
또한, 본 발명의 다른 측면에 따르면, 상기 진동전달부는 상기 케이스의 외면을 기준으로 돌출되도록 형성될 수 있다.According to another aspect of the present invention, the vibration transmitting portion may be formed to protrude from the outer surface of the case.
본 발명에 따른 이동 단말기에 따르면 상기 골진도 스피커모듈과 직접적으로 접촉하여 진동을 전달하는 진동전달부가 이동 단말기의 외면으로부터 도출된 상태로 노출되어, 사용자의 신체에 진동의 전달효율이 향상될 수 있다.According to the mobile terminal according to the present invention, the vibration transmission portion that directly contacts the bone-gorgeous speaker module and transmits the vibration is exposed in a state derived from the outer surface of the mobile terminal, so that the efficiency of transmitting vibration to the user's body can be improved .
도 1a는 본 발명과 관련된 이동 단말기를 설명하기 위한 블록도이다.
도 1b 및 1c는 본 발명과 관련된 이동 단말기의 일 예를 서로 다른 방향에서 바라본 개념도이다.
도 2는 본 발명의 또 다른 일 실시 예와 관련된 글래스 타입의 이동 단말기의 일 예를 보인 사시도.
도 3a는 본 발명의 일 실시예에 따른 음향 출력모듈을 일 방향에서 바라본 평면도.
도 3b는 도 3a를 A-A방향으로 절단한 단면도.
도 3c는 진동전달부와 상기 골전도 스피커 모듈을 분리한 상태의 단면도.
도 4a는 제2 프레임에 장착된 음향 출력모듈을 도시한 단면도.
도 4b는 도 4a를 A방향에서 바라본 도면.
도 5a 및 도 5b는 다른 실시예에 따라 골전도 스피커 모듈에 고정된 진동전달부를 설명하기 위한 개념도.
도 6은 프레임에 고정된 음향 출력부를 설명하기 위한 단면도.1A is a block diagram illustrating a mobile terminal according to the present invention.
1B and 1C are conceptual diagrams illustrating an example of a mobile terminal according to the present invention in different directions.
FIG. 2 is a perspective view illustrating an example of a glass-type mobile terminal according to another embodiment of the present invention; FIG.
FIG. 3A is a plan view of an acoustic output module according to an embodiment of the present invention, viewed from one direction; FIG.
FIG. 3B is a cross-sectional view taken along line AA in FIG. 3A; FIG.
3C is a cross-sectional view of the vibrating transmitter and the bone conduction speaker module separated from each other.
4A is a sectional view showing an acoustic output module mounted on a second frame;
FIG. 4B is a view of FIG.
FIG. 5A and FIG. 5B are conceptual diagrams illustrating a vibration transmission unit fixed to a bone conduction speaker module according to another embodiment. FIG.
6 is a sectional view for explaining an acoustic output section fixed to a frame;
이하, 첨부된 도면을 참조하여 본 명세서에 개시된 실시 예를 상세히 설명하되, 동일하거나 유사한 구성요소에는 동일유사한 도면 부호를 부여하고 이에 대한 중복되는 설명은 생략하기로 한다. 이하의 설명에서 사용되는 구성요소에 대한 접미사 "모듈" 및 "부"는 명세서 작성의 용이함만이 고려되어 부여되거나 혼용되는 것으로서, 그 자체로 서로 구별되는 의미 또는 역할을 갖는 것은 아니다. 또한, 본 명세서에 개시된 실시 예를 설명함에 있어서 관련된 공지 기술에 대한 구체적인 설명이 본 명세서에 개시된 실시 예의 요지를 흐릴 수 있다고 판단되는 경우 그 상세한 설명을 생략한다. 또한, 첨부된 도면은 본 명세서에 개시된 실시 예를 쉽게 이해할 수 있도록 하기 위한 것일 뿐, 첨부된 도면에 의해 본 명세서에 개시된 기술적 사상이 제한되지 않으며, 본 발명의 사상 및 기술 범위에 포함되는 모든 변경, 균등물 내지 대체물을 포함하는 것으로 이해되어야 한다.DETAILED DESCRIPTION OF THE PREFERRED EMBODIMENTS Hereinafter, embodiments of the present invention will be described in detail with reference to the accompanying drawings, wherein like or similar elements are denoted by like reference numerals and duplicate descriptions thereof will be omitted. The suffix "module" and " part "for the components used in the following description are given or mixed in consideration of ease of specification, and do not have their own meaning or role. In the following description of the embodiments of the present invention, a detailed description of related arts will be omitted when it is determined that the gist of the embodiments disclosed herein may be blurred. It is to be understood that both the foregoing general description and the following detailed description are exemplary and explanatory and are intended to provide further explanation of the invention as claimed. , ≪ / RTI > equivalents, and alternatives.
제1, 제2 등과 같이 서수를 포함하는 용어는 다양한 구성요소들을 설명하는데 사용될 수 있지만, 상기 구성요소들은 상기 용어들에 의해 한정되지는 않는다. 상기 용어들은 하나의 구성요소를 다른 구성요소로부터 구별하는 목적으로만 사용된다.Terms including ordinals, such as first, second, etc., may be used to describe various elements, but the elements are not limited to these terms. The terms are used only for the purpose of distinguishing one component from another.
어떤 구성요소가 다른 구성요소에 "연결되어" 있다거나 "접속되어" 있다고 언급된 때에는, 그 다른 구성요소에 직접적으로 연결되어 있거나 또는 접속되어 있을 수도 있지만, 중간에 다른 구성요소가 존재할 수도 있다고 이해되어야 할 것이다. 반면에, 어떤 구성요소가 다른 구성요소에 "직접 연결되어" 있다거나 "직접 접속되어" 있다고 언급된 때에는, 중간에 다른 구성요소가 존재하지 않는 것으로 이해되어야 할 것이다.It is to be understood that when an element is referred to as being "connected" or "connected" to another element, it may be directly connected or connected to the other element, . On the other hand, when an element is referred to as being "directly connected" or "directly connected" to another element, it should be understood that there are no other elements in between.
단수의 표현은 문맥상 명백하게 다르게 뜻하지 않는 한, 복수의 표현을 포함한다.The singular expressions include plural expressions unless the context clearly dictates otherwise.
본 출원에서, "포함한다" 또는 "가지다" 등의 용어는 명세서상에 기재된 특징, 숫자, 단계, 동작, 구성요소, 부품 또는 이들을 조합한 것이 존재함을 지정하려는 것이지, 하나 또는 그 이상의 다른 특징들이나 숫자, 단계, 동작, 구성요소, 부품 또는 이들을 조합한 것들의 존재 또는 부가 가능성을 미리 배제하지 않는 것으로 이해되어야 한다.In the present application, the terms "comprises", "having", and the like are used to specify that a feature, a number, a step, an operation, an element, a component, But do not preclude the presence or addition of one or more other features, integers, steps, operations, elements, components, or combinations thereof.
본 명세서에서 설명되는 이동 단말기에는 휴대폰, 스마트 폰(smart phone), 노트북 컴퓨터(laptop computer), 디지털방송용 단말기, PDA(personal digital assistants), PMP(portable multimedia player), 네비게이션, 슬레이트 PC(slate PC), 태블릿 PC(tablet PC), 울트라북(ultrabook), 웨어러블 디바이스(wearable device, 예를 들어, 워치형 단말기 (smartwatch), 글래스형 단말기 (smart glass), HMD(head mounted display)) 등이 포함될 수 있다.The mobile terminal described in this specification includes a mobile phone, a smart phone, a laptop computer, a digital broadcasting terminal, a personal digital assistant (PDA), a portable multimedia player (PMP), a navigation device, a slate PC A tablet PC, an ultrabook, a wearable device such as a smartwatch, a smart glass, and a head mounted display (HMD). have.
그러나, 본 명세서에 기재된 실시 예에 따른 구성은 이동 단말기에만 적용 가능한 경우를 제외하면, 디지털 TV, 데스크탑 컴퓨터, 디지털 사이니지 등과 같은 고정 단말기에도 적용될 수도 있음을 본 기술분야의 당업자라면 쉽게 알 수 있을 것이다.However, it will be appreciated by those skilled in the art that the configuration according to the embodiments described herein may be applied to fixed terminals such as a digital TV, a desktop computer, a digital signage, and the like, will be.
도 1a 내지 도 1c를 참조하면, 도 1a는 본 발명과 관련된 이동 단말기를 설명하기 위한 블록도이고, 도 1b 및 1c는 본 발명과 관련된 이동 단말기의 일 예를 서로 다른 방향에서 바라본 개념도이다.1A to 1C are block diagrams for explaining a mobile terminal according to the present invention, and FIGS. 1B and 1C are conceptual diagrams showing an example of a mobile terminal according to the present invention in different directions.
상기 이동 단말기(100)는 무선 통신부(110), 입력부(120), 감지부(140), 출력부(150), 인터페이스부(160), 메모리(170), 제어부(180) 및 전원 공급부(190) 등을 포함할 수 있다. 도 1a에 도시된 구성요소들은 이동 단말기를 구현하는데 있어서 필수적인 것은 아니어서, 본 명세서 상에서 설명되는 이동 단말기는 위에서 열거된 구성요소들 보다 많거나, 또는 적은 구성요소들을 가질 수 있다.The
보다 구체적으로, 상기 구성요소들 중 무선 통신부(110)는, 이동 단말기(100)와 무선 통신 시스템 사이, 이동 단말기(100)와 다른 이동 단말기(100) 사이, 또는 이동 단말기(100)와 외부서버 사이의 무선 통신을 가능하게 하는 하나 이상의 모듈을 포함할 수 있다. 또한, 상기 무선 통신부(110)는, 이동 단말기(100)를 하나 이상의 네트워크에 연결하는 하나 이상의 모듈을 포함할 수 있다.The
이러한 무선 통신부(110)는, 방송 수신 모듈(111), 이동통신 모듈(112), 무선 인터넷 모듈(113), 근거리 통신 모듈(114), 위치정보 모듈(115) 중 적어도 하나를 포함할 수 있다.The
입력부(120)는, 영상 신호 입력을 위한 카메라(121) 또는 영상 입력부, 오디오 신호 입력을 위한 마이크로폰(microphone, 122), 또는 오디오 입력부, 사용자로부터 정보를 입력받기 위한 사용자 입력부(123, 예를 들어, 터치키(touch key), 푸시키(mechanical key) 등)를 포함할 수 있다. 입력부(120)에서 수집한 음성 데이터나 이미지 데이터는 분석되어 사용자의 제어명령으로 처리될 수 있다.The
센싱부(140)는 이동 단말기 내 정보, 이동 단말기를 둘러싼 주변 환경 정보 및 사용자 정보 중 적어도 하나를 센싱하기 위한 하나 이상의 센서를 포함할 수 있다. 예를 들어, 센싱부(140)는 근접센서(141, proximity sensor), 조도 센서(142, illumination sensor), 터치 센서(touch sensor), 가속도 센서(acceleration sensor), 자기 센서(magnetic sensor), 중력 센서(G-sensor), 자이로스코프 센서(gyroscope sensor), 모션 센서(motion sensor), RGB 센서, 적외선 센서(IR 센서: infrared sensor), 지문인식 센서(finger scan sensor), 초음파 센서(ultrasonic sensor), 광 센서(optical sensor, 예를 들어, 카메라(121 참조)), 마이크로폰(microphone, 122 참조), 배터리 게이지(battery gauge), 환경 센서(예를 들어, 기압계, 습도계, 온도계, 방사능 감지 센서, 열 감지 센서, 가스 감지 센서 등), 화학 센서(예를 들어, 전자 코, 헬스케어 센서, 생체 인식 센서 등) 중 적어도 하나를 포함할 수 있다. 한편, 본 명세서에 개시된 이동 단말기는, 이러한 센서들 중 적어도 둘 이상의 센서에서 센싱되는 정보들을 조합하여 활용할 수 있다.The
출력부(150)는 시각, 청각 또는 촉각 등과 관련된 출력을 발생시키기 위한 것으로, 디스플레이부(151), 음향 출력부(152), 햅팁 모듈(153), 광 출력부(154) 중 적어도 하나를 포함할 수 있다. 디스플레이부(151)는 터치 센서와 상호 레이어 구조를 이루거나 일체형으로 형성됨으로써, 터치 스크린을 구현할 수 있다. 이러한 터치 스크린은, 이동 단말기(100)와 사용자 사이의 입력 인터페이스를 제공하는 사용자 입력부(123)로써 기능함과 동시에, 이동 단말기(100)와 사용자 사이의 출력 인터페이스를 제공할 수 있다.The
인터페이스부(160)는 이동 단말기(100)에 연결되는 다양한 종류의 외부 기기와의 통로 역할을 수행한다. 이러한 인터페이스부(160)는, 유/무선 헤드셋 포트(port), 외부 충전기 포트(port), 유/무선 데이터 포트(port), 메모리 카드(memory card) 포트, 식별 모듈이 구비된 장치를 연결하는 포트(port), 오디오 I/O(Input/Output) 포트(port), 비디오 I/O(Input/Output) 포트(port), 이어폰 포트(port) 중 적어도 하나를 포함할 수 있다. 이동 단말기(100)에서는, 상기 인터페이스부(160)에 외부 기기가 연결되는 것에 대응하여, 연결된 외부 기기와 관련된 적절할 제어를 수행할 수 있다.The
또한, 메모리(170)는 이동 단말기(100)의 다양한 기능을 지원하는 데이터를 저장한다. 메모리(170)는 이동 단말기(100)에서 구동되는 다수의 응용 프로그램(application program 또는 애플리케이션(application)), 이동 단말기(100)의 동작을 위한 데이터들, 명령어들을 저장할 수 있다. 이러한 응용 프로그램 중 적어도 일부는, 무선 통신을 통해 외부 서버로부터 다운로드 될 수 있다. 또한 이러한 응용 프로그램 중 적어도 일부는, 이동 단말기(100)의 기본적인 기능(예를 들어, 전화 착신, 발신 기능, 메시지 수신, 발신 기능)을 위하여 출고 당시부터 이동 단말기(100)상에 존재할 수 있다. 한편, 응용 프로그램은, 메모리(170)에 저장되고, 이동 단말기(100) 상에 설치되어, 제어부(180)에 의하여 상기 이동 단말기의 동작(또는 기능)을 수행하도록 구동될 수 있다.In addition, the
제어부(180)는 상기 응용 프로그램과 관련된 동작 외에도, 통상적으로 이동 단말기(100)의 전반적인 동작을 제어한다. 제어부(180)는 위에서 살펴본 구성요소들을 통해 입력 또는 출력되는 신호, 데이터, 정보 등을 처리하거나 메모리(170)에 저장된 응용 프로그램을 구동함으로써, 사용자에게 적절한 정보 또는 기능을 제공 또는 처리할 수 있다.In addition to the operations related to the application program, the
또한, 제어부(180)는 메모리(170)에 저장된 응용 프로그램을 구동하기 위하여, 도 1a와 함께 살펴본 구성요소들 중 적어도 일부를 제어할 수 있다. 나아가, 제어부(180)는 상기 응용 프로그램의 구동을 위하여, 이동 단말기(100)에 포함된 구성요소들 중 적어도 둘 이상을 서로 조합하여 동작시킬 수 있다.In addition, the
전원공급부(190)는 제어부(180)의 제어 하에서, 외부의 전원, 내부의 전원을 인가 받아 이동 단말기(100)에 포함된 각 구성요소들에 전원을 공급한다. 이러한 전원공급부(190)는 배터리를 포함하며, 상기 배터리는 내장형 배터리 또는 교체가능한 형태의 배터리가 될 수 있다.The
상기 각 구성요소들 중 적어도 일부는, 이하에서 설명되는 다양한 실시 예들에 따른 이동 단말기의 동작, 제어, 또는 제어방법을 구현하기 위하여 서로 협력하여 동작할 수 있다. 또한, 상기 이동 단말기의 동작, 제어, 또는 제어방법은 상기 메모리(170)에 저장된 적어도 하나의 응용 프로그램의 구동에 의하여 이동 단말기 상에서 구현될 수 있다.At least some of the components may operate in cooperation with one another to implement a method of operation, control, or control of a mobile terminal according to various embodiments described below. In addition, the operation, control, or control method of the mobile terminal may be implemented on the mobile terminal by driving at least one application program stored in the
이하에서는, 위에서 살펴본 이동 단말기(100)를 통하여 구현되는 다양한 실시 예들을 살펴보기에 앞서, 위에서 열거된 구성요소들에 대하여 도 1a를 참조하여 보다 구체적으로 살펴본다.Hereinafter, the various components of the
먼저, 무선 통신부(110)에 대하여 살펴보면, 무선 통신부(110)의 방송 수신 모듈(111)은 방송 채널을 통하여 외부의 방송 관리 서버로부터 방송 신호 및/또는 방송 관련된 정보를 수신한다. 상기 방송 채널은 위성 채널, 지상파 채널을 포함할 수 있다. 적어도 두 개의 방송 채널들에 대한 동시 방송 수신 또는 방송 채널 스위칭을 위해 둘 이상의 상기 방송 수신 모듈이 상기 이동단말기(100)에 제공될 수 있다.First, referring to the
이동통신 모듈(112)은, 이동통신을 위한 기술표준들 또는 통신방식(예를 들어, GSM(Global System for Mobile communication), CDMA(Code Division Multi Access), CDMA2000(Code Division Multi Access 2000), EV-DO(Enhanced Voice-Data Optimized or Enhanced Voice-Data Only), WCDMA(Wideband CDMA), HSDPA(High Speed Downlink Packet Access), HSUPA(High Speed Uplink Packet Access), LTE(Long Term Evolution), LTE-A(Long Term Evolution-Advanced) 등)에 따라 구축된 이동 통신망 상에서 기지국, 외부의 단말, 서버 중 적어도 하나와 무선 신호를 송수신한다.The
상기 무선 신호는, 음성 호 신호, 화상 통화 호 신호 또는 문자/멀티미디어 메시지 송수신에 따른 다양한 형태의 데이터를 포함할 수 있다.The wireless signal may include various types of data depending on a voice call signal, a video call signal or a text / multimedia message transmission / reception.
무선 인터넷 모듈(113)은 무선 인터넷 접속을 위한 모듈을 말하는 것으로, 이동 단말기(100)에 내장되거나 외장될 수 있다. 무선 인터넷 모듈(113)은 무선 인터넷 기술들에 따른 통신망에서 무선 신호를 송수신하도록 이루어진다.The
무선 인터넷 기술로는, 예를 들어 WLAN(Wireless LAN), Wi-Fi(Wireless-Fidelity), Wi-Fi(Wireless Fidelity) Direct, DLNA(Digital Living Network Alliance), WiBro(Wireless Broadband), WiMAX(World Interoperability for Microwave Access), HSDPA(High Speed Downlink Packet Access), HSUPA(High Speed Uplink Packet Access), LTE(Long Term Evolution), LTE-A(Long Term Evolution-Advanced) 등이 있으며, 상기 무선 인터넷 모듈(113)은 상기에서 나열되지 않은 인터넷 기술까지 포함한 범위에서 적어도 하나의 무선 인터넷 기술에 따라 데이터를 송수신하게 된다.Wireless Internet technologies include, for example, wireless LAN (WLAN), wireless fidelity (Wi-Fi), wireless fidelity (Wi-Fi) Direct, DLNA (Digital Living Network Alliance), WiBro Interoperability for Microwave Access, High Speed Downlink Packet Access (HSDPA), High Speed Uplink Packet Access (HSUPA), Long Term Evolution (LTE) and Long Term Evolution-Advanced (LTE-A) 113 transmit and receive data according to at least one wireless Internet technology, including Internet technologies not listed above.
WiBro, HSDPA, HSUPA, GSM, CDMA, WCDMA, LTE, LTE-A 등에 의한 무선인터넷 접속은 이동통신망을 통해 이루어진다는 관점에서 본다면, 상기 이동통신망을 통해 무선인터넷 접속을 수행하는 상기 무선 인터넷 모듈(113)은 상기 이동통신 모듈(112)의 일종으로 이해될 수도 있다.The
근거리 통신 모듈(114)은 근거리 통신(Short range communication)을 위한 것으로서, 블루투스(Bluetooth™), RFID(Radio Frequency Identification), 적외선 통신(Infrared Data Association; IrDA), UWB(Ultra Wideband), ZigBee, NFC(Near Field Communication), Wi-Fi(Wireless-Fidelity), Wi-Fi Direct, Wireless USB(Wireless Universal Serial Bus) 기술 중 적어도 하나를 이용하여, 근거리 통신을 지원할 수 있다. 이러한, 근거리 통신 모듈(114)은, 근거리 무선 통신망(Wireless Area Networks)을 통해 이동 단말기(100)와 무선 통신 시스템 사이, 이동 단말기(100)와 다른 이동 단말기(100) 사이, 또는 이동 단말기(100)와 다른 이동 단말기(100, 또는 외부서버)가 위치한 네트워크 사이의 무선 통신을 지원할 수 있다. 상기 근거리 무선 통신망은 근거리 무선 개인 통신망(Wireless Personal Area Networks)일 수 있다.The short-
여기에서, 다른 이동 단말기(100)는 본 발명에 따른 이동 단말기(100)와 데이터를 상호 교환하는 것이 가능한(또는 연동 가능한) 웨어러블 디바이스(wearable device, 예를 들어, 스마트워치(smartwatch), 스마트 글래스(smart glass), HMD(head mounted display))가 될 수 있다. 근거리 통신 모듈(114)은, 이동 단말기(100) 주변에, 상기 이동 단말기(100)와 통신 가능한 웨어러블 디바이스를 감지(또는 인식)할 수 있다. 나아가, 제어부(180)는 상기 감지된 웨어러블 디바이스가 본 발명에 따른 이동 단말기(100)와 통신하도록 인증된 디바이스인 경우, 이동 단말기(100)에서 처리되는 데이터의 적어도 일부를, 상기 근거리 통신 모듈(114)을 통해 웨어러블 디바이스로 전송할 수 있다. 따라서, 웨어러블 디바이스의 사용자는, 이동 단말기(100)에서 처리되는 데이터를, 웨어러블 디바이스를 통해 이용할 수 있다. 예를 들어, 이에 따르면 사용자는, 이동 단말기(100)에 전화가 수신된 경우, 웨어러블 디바이스를 통해 전화 통화를 수행하거나, 이동 단말기(100)에 메시지가 수신된 경우, 웨어러블 디바이스를 통해 상기 수신된 메시지를 확인하는 것이 가능하다.Here, the other
위치정보 모듈(115)은 이동 단말기의 위치(또는 현재 위치)를 획득하기 위한 모듈로서, 그의 대표적인 예로는 GPS(Global Positioning System) 모듈 또는 WiFi(Wireless Fidelity) 모듈이 있다. 예를 들어, 이동 단말기는 GPS모듈을 활용하면, GPS 위성에서 보내는 신호를 이용하여 이동 단말기의 위치를 획득할 수 있다. 다른 예로서, 이동 단말기는 Wi-Fi모듈을 활용하면, Wi-Fi모듈과 무선신호를 송신 또는 수신하는 무선 AP(Wireless Access Point)의 정보에 기반하여, 이동 단말기의 위치를 획득할 수 있다. 필요에 따라서, 위치정보모듈(115)은 치환 또는 부가적으로 이동 단말기의 위치에 관한 데이터를 얻기 위해 무선 통신부(110)의 다른 모듈 중 어느 기능을 수행할 수 있다. 위치정보모듈(115)은 이동 단말기의 위치(또는 현재 위치)를 획득하기 위해 이용되는 모듈로, 이동 단말기의 위치를 직접적으로 계산하거나 획득하는 모듈로 한정되지는 않는다.The position information module 115 is a module for obtaining the position (or current position) of the mobile terminal, and a representative example thereof is a Global Positioning System (GPS) module or a Wireless Fidelity (WiFi) module. For example, when the mobile terminal utilizes the GPS module, it can acquire the position of the mobile terminal by using a signal transmitted from the GPS satellite. As another example, when the mobile terminal utilizes the Wi-Fi module, it can acquire the position of the mobile terminal based on information of a wireless access point (AP) that transmits or receives the wireless signal with the Wi-Fi module. Optionally, the location information module 115 may perform any of the other functions of the
다음으로, 입력부(120)는 영상 정보(또는 신호), 오디오 정보(또는 신호), 데이터, 또는 사용자로부터 입력되는 정보의 입력을 위한 것으로서, 영상 정보의 입력을 위하여, 이동 단말기(100) 는 하나 또는 복수의 카메라(121)를 구비할 수 있다. 카메라(121)는 화상 통화모드 또는 촬영 모드에서 이미지 센서에 의해 얻어지는 정지영상 또는 동영상 등의 화상 프레임을 처리한다. 처리된 화상 프레임은 디스플레이부(151)에 표시되거나 메모리(170)에 저장될 수 있다. 한편, 이동 단말기(100)에 구비되는 복수의 카메라(121)는 매트릭스 구조를 이루도록 배치될 수 있으며, 이와 같이 매트릭스 구조를 이루는 카메라(121)를 통하여, 이동 단말기(100)에는 다양한 각도 또는 초점을 갖는 복수의 영상정보가 입력될 수 있다. 또한, 복수의 카메라(121)는 입체영상을 구현하기 위한 좌 영상 및 우 영상을 획득하도록, 스트레오 구조로 배치될 수 있다.Next, the
마이크로폰(122)은 외부의 음향 신호를 전기적인 음성 데이터로 처리한다. 처리된 음성 데이터는 이동 단말기(100)에서 수행 중인 기능(또는 실행 중인 응용 프로그램)에 따라 다양하게 활용될 수 있다. 한편, 마이크로폰(122)에는 외부의 음향 신호를 입력 받는 과정에서 발생되는 잡음(noise)을 제거하기 위한 다양한 잡음 제거 알고리즘이 구현될 수 있다.The
사용자 입력부(123)는 사용자로부터 정보를 입력받기 위한 것으로서, 사용자 입력부(123)를 통해 정보가 입력되면, 제어부(180)는 입력된 정보에 대응되도록 이동 단말기(100)의 동작을 제어할 수 있다. 이러한, 사용자 입력부(123)는 기계식 (mechanical) 입력수단(또는, 메커니컬 키, 예를 들어, 이동 단말기(100)의 전·후면 또는 측면에 위치하는 버튼, 돔 스위치 (dome switch), 조그 휠, 조그 스위치 등) 및 터치식 입력수단을 포함할 수 있다. 일 예로서, 터치식 입력수단은, 소프트웨어적인 처리를 통해 터치스크린에 표시되는 가상 키(virtual key), 소프트 키(soft key) 또는 비주얼 키(visual key)로 이루어지거나, 상기 터치스크린 이외의 부분에 배치되는 터치 키(touch key)로 이루어질 수 있다. 한편, 상기 가상키 또는 비주얼 키는, 다양한 형태를 가지면서 터치스크린 상에 표시되는 것이 가능하며, 예를 들어, 그래픽(graphic), 텍스트(text), 아이콘(icon), 비디오(video) 또는 이들의 조합으로 이루어질 수 있다.The
한편, 센싱부(140)는 이동 단말기 내 정보, 이동 단말기를 둘러싼 주변 환경 정보 및 사용자 정보 중 적어도 하나를 센싱하고, 이에 대응하는 센싱 신호를 발생시킨다. 제어부(180)는 이러한 센싱 신호에 기초하여, 이동 단말기(100)의 구동 또는 동작을 제어하거나, 이동 단말기(100)에 설치된 응용 프로그램과 관련된 데이터 처리, 기능 또는 동작을 수행 할 수 있다. 센싱부(140)에 포함될 수 있는 다양한 센서 중 대표적인 센서들의 대하여, 보다 구체적으로 살펴본다.Meanwhile, the
먼저, 근접 센서(141)는 소정의 검출면에 접근하는 물체, 혹은 근방에 존재하는 물체의 유무를 전자계의 힘 또는 적외선 등을 이용하여 기계적 접촉이 없이 검출하는 센서를 말한다. 이러한 근접 센서(141)는 위에서 살펴본 터치 스크린에 의해 감싸지는 이동 단말기의 내부 영역 또는 상기 터치 스크린의 근처에 근접 센서(141)가 배치될 수 있다.First, the
근접 센서(141)의 예로는 투과형 광전 센서, 직접 반사형 광전 센서, 미러 반사형 광전 센서, 고주파 발진형 근접 센서, 정전 용량형 근접 센서, 자기형 근접 센서, 적외선 근접 센서 등이 있다. 터치 스크린이 정전식인 경우에, 근접 센서(141)는 전도성을 갖는 물체의 근접에 따른 전계의 변화로 상기 물체의 근접을 검출하도록 구성될 수 있다. 이 경우 터치 스크린(또는 터치 센서) 자체가 근접 센서로 분류될 수 있다.Examples of the
한편, 설명의 편의를 위해, 터치 스크린 상에 물체가 접촉되지 않으면서 근접되어 상기 물체가 상기 터치 스크린 상에 위치함이 인식되도록 하는 행위를 "근접 터치(proximity touch)"라고 명명하고, 상기 터치 스크린 상에 물체가 실제로 접촉되는 행위를 "접촉 터치(contact touch)"라고 명명한다. 상기 터치 스크린 상에서 물체가 근접 터치 되는 위치라 함은, 상기 물체가 근접 터치될 때 상기 물체가 상기 터치 스크린에 대해 수직으로 대응되는 위치를 의미한다. 상기 근접 센서(141)는, 근접 터치와, 근접 터치 패턴(예를 들어, 근접 터치 거리, 근접 터치 방향, 근접 터치 속도, 근접 터치 시간, 근접 터치 위치, 근접 터치 이동 상태 등)을 감지할 수 있다. 한편, 제어부(180)는 위와 같이, 근접 센서(141)를 통해 감지된 근접 터치 동작 및 근접 터치 패턴에 상응하는 데이터(또는 정보)를 처리하며, 나아가, 처리된 데이터에 대응하는 시각적인 정보를 터치 스크린상에 출력시킬 수 있다. 나아가, 제어부(180)는, 터치 스크린 상의 동일한 지점에 대한 터치가, 근접 터치인지 또는 접촉 터치인지에 따라, 서로 다른 동작 또는 데이터(또는 정보)가 처리되도록 이동 단말기(100)를 제어할 수 있다.On the other hand, for convenience of explanation, the act of recognizing that the object is located on the touch screen in proximity with no object touching the touch screen is referred to as "proximity touch & The act of actually touching an object on the screen is called a "contact touch. &Quot; The position at which the object is closely touched on the touch screen means a position where the object corresponds to the touch screen vertically when the object is touched. The
터치 센서는 저항막 방식, 정전용량 방식, 적외선 방식, 초음파 방식, 자기장 방식 등 여러가지 터치방식 중 적어도 하나를 이용하여 터치 스크린(또는 디스플레이부(151))에 가해지는 터치(또는 터치입력)을 감지한다.The touch sensor senses a touch (or touch input) applied to the touch screen (or the display unit 151) by using at least one of various touch methods such as a resistance film type, a capacitive type, an infrared type, an ultrasonic type, do.
일 예로서, 터치 센서는, 터치 스크린의 특정 부위에 가해진 압력 또는 특정 부위에 발생하는 정전 용량 등의 변화를 전기적인 입력신호로 변환하도록 구성될 수 있다. 터치 센서는, 터치 스크린 상에 터치를 가하는 터치 대상체가 터치 센서 상에 터치 되는 위치, 면적, 터치 시의 압력, 터치 시의 정전 용량 등을 검출할 수 있도록 구성될 수 있다. 여기에서, 터치 대상체는 상기 터치 센서에 터치를 인가하는 물체로서, 예를 들어, 손가락, 터치펜 또는 스타일러스 펜(Stylus pen), 포인터 등이 될 수 있다.For example, the touch sensor may be configured to convert a change in a pressure applied to a specific portion of the touch screen or a capacitance generated in a specific portion to an electrical input signal. The touch sensor may be configured to detect a position, an area, a pressure at the time of touch, a capacitance at the time of touch, and the like where a touch object touching the touch screen is touched on the touch sensor. Here, the touch object may be a finger, a touch pen, a stylus pen, a pointer, or the like as an object to which a touch is applied to the touch sensor.
이와 같이, 터치 센서에 대한 터치 입력이 있는 경우, 그에 대응하는 신호(들)는 터치 제어기로 보내진다. 터치 제어기는 그 신호(들)를 처리한 다음 대응하는 데이터를 제어부(180)로 전송한다. 이로써, 제어부(180)는 디스플레이부(151)의 어느 영역이 터치 되었는지 여부 등을 알 수 있게 된다. 여기에서, 터치 제어기는, 제어부(180)와 별도의 구성요소일 수 있고, 제어부(180) 자체일 수 있다.Thus, when there is a touch input to the touch sensor, the corresponding signal (s) is sent to the touch controller. The touch controller processes the signal (s) and transmits the corresponding data to the
한편, 제어부(180)는, 터치 스크린(또는 터치 스크린 이외에 구비된 터치키)을 터치하는, 터치 대상체의 종류에 따라 서로 다른 제어를 수행하거나, 동일한 제어를 수행할 수 있다. 터치 대상체의 종류에 따라 서로 다른 제어를 수행할지 또는 동일한 제어를 수행할 지는, 현재 이동 단말기(100)의 동작상태 또는 실행 중인 응용 프로그램에 따라 결정될 수 있다.On the other hand, the
한편, 위에서 살펴본 터치 센서 및 근접 센서는 독립적으로 또는 조합되어, 터치 스크린에 대한 숏(또는 탭) 터치(short touch), 롱 터치(long touch), 멀티 터치(multi touch), 드래그 터치(drag touch), 플리크 터치(flick touch), 핀치-인 터치(pinch-in touch), 핀치-아웃 터치(pinch-out 터치), 스와이프(swype) 터치, 호버링(hovering) 터치 등과 같은, 다양한 방식의 터치를 센싱할 수 있다.On the other hand, the touch sensors and the proximity sensors discussed above can be used independently or in combination to provide a short touch (touch), a long touch, a multi touch, a drag touch ), Flick touch, pinch-in touch, pinch-out touch, swipe touch, hovering touch, and the like. Touch can be sensed.
초음파 센서는 초음파를 이용하여, 감지대상의 위치정보를 인식할 수 있다. 한편 제어부(180)는 광 센서와 복수의 초음파 센서로부터 감지되는 정보를 통해, 파동 발생원의 위치를 산출하는 것이 가능하다. 파동 발생원의 위치는, 광이 초음파보다 매우 빠른 성질, 즉, 광이 광 센서에 도달하는 시간이 초음파가 초음파 센서에 도달하는 시간보다 매우 빠름을 이용하여, 산출될 수 있다. 보다 구체적으로 광을 기준 신호로 초음파가 도달하는 시간과의 시간차를 이용하여 파동 발생원의 위치가 산출될 수 있다.The ultrasonic sensor can recognize the position information of the object to be sensed by using ultrasonic waves. Meanwhile, the
한편, 입력부(120)의 구성으로 살펴본, 카메라(121)는 카메라 센서(예를 들어, CCD, CMOS 등), 포토 센서(또는 이미지 센서) 및 레이저 센서 중 적어도 하나를 포함한다.The
카메라(121)와 레이저 센서는 서로 조합되어, 3차원 입체영상에 대한 감지대상의 터치를 감지할 수 있다. 포토 센서는 디스플레이 소자에 적층될 수 있는데, 이러한 포토 센서는 터치 스크린에 근접한 감지대상의 움직임을 스캐닝하도록 이루어진다. 보다 구체적으로, 포토 센서는 행/열에 Photo Diode와 TR(Transistor)를 실장하여 Photo Diode에 인가되는 빛의 양에 따라 변화되는 전기적 신호를 이용하여 포토 센서 위에 올려지는 내용물을 스캔한다. 즉, 포토 센서는 빛의 변화량에 따른 감지대상의 좌표 계산을 수행하며, 이를 통하여 감지대상의 위치정보가 획득될 수 있다.The
디스플레이부(151)는 이동 단말기(100)에서 처리되는 정보를 표시(출력)한다. 예를 들어, 디스플레이부(151)는 이동 단말기(100)에서 구동되는 응용 프로그램의 실행화면 정보, 또는 이러한 실행화면 정보에 따른 UI(User Interface), GUI(Graphic User Interface) 정보를 표시할 수 있다.The
또한, 상기 디스플레이부(151)는 입체영상을 표시하는 입체 디스플레이부로서 구성될 수 있다.In addition, the
상기 입체 디스플레이부에는 스테레오스코픽 방식(안경 방식), 오토 스테레오스코픽 방식(무안경 방식), 프로젝션 방식(홀로그래픽 방식) 등의 3차원 디스플레이 방식이 적용될 수 있다.In the stereoscopic display unit, a three-dimensional display system such as a stereoscopic system (glasses system), an autostereoscopic system (no-glasses system), and a projection system (holographic system) can be applied.
도 1 b 및 1c를 참조하면, 개시된 이동 단말기(100)는 바 형태의 단말기 바디를 구비하고 있다. 다만, 본 발명은 여기에 한정되지 않고 와치 타입, 클립 타입, 글래스 타입 또는 2 이상의 바디들이 상대 이동 가능하게 결합되는 폴더 타입, 플립 타입, 슬라이드 타입, 스윙 타입, 스위블 타입 등 다양한 구조에 적용될 수 있다. 이동 단말기의 특정 유형에 관련될 것이나, 이동 단말기의 특정유형에 관한 설명은 다른 타입의 이동 단말기에 일반적으로 적용될 수 있다.Referring to FIGS. 1B and 1C, the disclosed
여기에서, 단말기 바디는 이동 단말기(100)를 적어도 하나의 집합체로 보아 이를 지칭하는 개념으로 이해될 수 있다.Here, the terminal body can be understood as a concept of referring to the
이동 단말기(100)는 외관을 이루는 케이스(예를 들면, 프레임, 하우징, 커버 등)를 포함한다. 도시된 바와 같이, 이동 단말기(100)는 프론트 케이스(101)와 리어 케이스(102)를 포함할 수 있다. 프론트 케이스(101)와 리어 케이스(102)의 결합에 의해 형성되는 내부공간에는 각종 전자부품들이 배치된다. 프론트 케이스(101)와 리어 케이스(102) 사이에는 적어도 하나의 미들 케이스가 추가로 배치될 수 있다.The
단말기 바디의 전면에는 디스플레이부(151)가 배치되어 정보를 출력할 수 있다. 도시된 바와 같이, 디스플레이부(151)의 윈도우(151a)는 프론트 케이스(101)에 장착되어 프론트 케이스(101)와 함께 단말기 바디의 전면을 형성할 수 있다.A
경우에 따라서, 리어 케이스(102)에도 전자부품이 장착될 수 있다. 리어 케이스(102)에 장착 가능한 전자부품은 착탈 가능한 배터리, 식별 모듈, 메모리 카드 등이 있다. 이 경우, 리어 케이스(102)에는 장착된 전자부품을 덮기 위한 후면커버(103)가 착탈 가능하게 결합될 수 있다. 따라서, 후면 커버(103)가 리어 케이스(102)로부터 분리되면, 리어 케이스(102)에 장착된 전자부품은 외부로 노출된다.In some cases, electronic components may also be mounted on the
도시된 바와 같이, 후면커버(103)가 리어 케이스(102)에 결합되면, 리어 케이스(102)의 측면 일부가 노출될 수 있다. 경우에 따라서, 상기 결합시 리어 케이스(102)는 후면커버(103)에 의해 완전히 가려질 수도 있다. 한편, 후면커버(103)에는 카메라(121b)나 음향 출력부(152b)를 외부로 노출시키기 위한 개구부가 구비될 수 있다.As shown, when the
이러한 케이스들(101, 102, 103)은 합성수지를 사출하여 형성되거나 금속, 예를 들어 스테인레스 스틸(STS), 알루미늄(Al), 티타늄(Ti) 등으로 형성될 수도 있다.These
이동 단말기(100)는, 복수의 케이스가 각종 전자부품들을 수용하는 내부 공간을 마련하는 위의 예와 달리, 하나의 케이스가 상기 내부 공간을 마련하도록 구성될 수도 있다. 이 경우, 합성수지 또는 금속이 측면에서 후면으로 이어지는 유니 바디의 이동 단말기(100)가 구현될 수 있다.The
한편, 이동 단말기(100)는 단말기 바디 내부로 물이 스며들지 않도록 하는 방수부(미도시)를 구비할 수 있다. 예를 들어, 방수부는 윈도우(151a)와 프론트 케이스(101) 사이, 프론트 케이스(101)와 리어 케이스(102) 사이 또는 리어 케이스(102)와 후면 커버(103) 사이에 구비되어, 이들의 결합 시 내부 공간을 밀폐하는 방수부재를 포함할 수 있다.Meanwhile, the
이동 단말기(100)에는 디스플레이부(151), 제1 및 제2 음향 출력부(152a, 152b), 근접 센서(141), 조도 센서(142), 광 출력부(154), 제1 및 제2 카메라(121a, 121b), 제1 및 제2 조작유닛(123a, 123b), 마이크로폰(122), 인터페이스부(160) 등이 구비될 수 있다.The
이하에서는, 도 1b 및 도 1c에 도시된 바와 같이, 단말기 바디의 전면에 디스플레이부(151), 제1 음향 출력부(152a), 근접 센서(141), 조도 센서(142), 광 출력부(154), 제1 카메라(121a) 및 제1 조작유닛(123a)이 배치되고, 단말기 바디의 측면에 제2 조작유닛(123b), 마이크로폰(122) 및 인터페이스부(160)이 배치되며, 단말기 바디의 후면에 제2 음향 출력부(152b) 및 제2 카메라(121b)가 배치된 이동 단말기(100)를 일 예로 들어 설명한다.1B and 1C, a
다만, 이들 구성은 이러한 배치에 한정되는 것은 아니다. 이들 구성은 필요에 따라 제외 또는 대체되거나, 다른 면에 배치될 수 있다. 예를 들어, 단말기 바디의 전면에는 제1 조작유닛(123a)이 구비되지 않을 수 있으며, 제2 음향 출력부(152b)는 단말기 바디의 후면이 아닌 단말기 바디의 측면에 구비될 수 있다.However, these configurations are not limited to this arrangement. These configurations may be excluded or replaced as needed, or placed on different planes. For example, the
디스플레이부(151)는 이동 단말기(100)에서 처리되는 정보를 표시(출력)한다. 예를 들어, 디스플레이부(151)는 이동 단말기(100)에서 구동되는 응용 프로그램의 실행화면 정보, 또는 이러한 실행화면 정보에 따른 UI(User Interface), GUI(Graphic User Interface) 정보를 표시할 수 있다.The
디스플레이부(151)는 액정 디스플레이(liquid crystal display, LCD), 박막 트랜지스터 액정 디스플레이(thin film transistor-liquid crystal display, TFT LCD), 유기 발광 다이오드(organic light-emitting diode, OLED), 플렉서블 디스플레이(flexible display), 3차원 디스플레이(3D display), 전자잉크 디스플레이(e-ink display) 중에서 적어도 하나를 포함할 수 있다.The
또한, 디스플레이부(151)는 이동 단말기(100)의 구현 형태에 따라 2개 이상 존재할 수 있다. 이 경우, 이동 단말기(100)에는 복수의 디스플레이부들이 하나의 면에 이격되거나 일체로 배치될 수 있고, 또한 서로 다른 면에 각각 배치될 수도 있다.In addition, the
디스플레이부(151)는 터치 방식에 의하여 제어 명령을 입력 받을 수 있도록, 디스플레이부(151)에 대한 터치를 감지하는 터치센서를 포함할 수 있다. 이를 이용하여, 디스플레이부(151)에 대하여 터치가 이루어지면, 터치센서는 상기 터치를 감지하고, 제어부(180)는 이에 근거하여 상기 터치에 대응하는 제어명령을 발생시키도록 이루어질 수 있다. 터치 방식에 의하여 입력되는 내용은 문자 또는 숫자이거나, 각종 모드에서의 지시 또는 지정 가능한 메뉴항목 등일 수 있다.The
한편, 터치센서는, 터치패턴을 구비하는 필름 형태로 구성되어 윈도우(151a)와 윈도우(151a)의 배면 상의 디스플레이(미도시) 사이에 배치되거나, 윈도우(151a)의 배면에 직접 패터닝되는 메탈 와이어가 될 수도 있다. 또는, 터치센서는 디스플레이와 일체로 형성될 수 있다. 예를 들어, 터치센서는, 디스플레이의 기판 상에 배치되거나, 디스플레이의 내부에 구비될 수 있다.The touch sensor may be a film having a touch pattern and disposed between the
이처럼, 디스플레이부(151)는 터치센서와 함께 터치 스크린을 형성할 수 있으며, 이 경우에 터치 스크린은 사용자 입력부(123, 도 1a 참조)로 기능할 수 있다. 경우에 따라, 터치 스크린은 제1조작유닛(123a)의 적어도 일부 기능을 대체할 수 있다.In this way, the
제1 음향 출력부(152a)는 통화음을 사용자의 귀에 전달시키는 리시버(receiver)로 구현될 수 있으며, 제2 음향 출력부(152b)는 각종 알람음이나 멀티미디어의 재생음을 출력하는 라우드 스피커(loud speaker)의 형태로 구현될 수 있다.The first
디스플레이부(151)의 윈도우(151a)에는 제1 음향 출력부(152a)로부터 발생되는 사운드의 방출을 위한 음향홀이 형성될 수 있다. 다만, 본 발명은 이에 한정되는 것은 아니고, 상기 사운드는 구조물 간의 조립틈(예를 들어, 윈도우(151a)와 프론트 케이스(101) 간의 틈)을 따라 방출되도록 구성될 수 있다. 이 경우, 외관상 음향 출력을 위하여 독립적으로 형성되는 홀이 보이지 않거나 숨겨져 이동 단말기(100)의 외관이 보다 심플해질 수 있다.The
광 출력부(154)는 이벤트의 발생시 이를 알리기 위한 빛을 출력하도록 이루어진다. 상기 이벤트의 예로는 메시지 수신, 호 신호 수신, 부재중 전화, 알람, 일정 알림, 이메일 수신, 애플리케이션을 통한 정보 수신 등을 들 수 있다. 제어부(180)는 사용자의 이벤트 확인이 감지되면, 빛의 출력이 종료되도록 광 출력부(154)를 제어할 수 있다.The
제1 카메라(121a)는 촬영 모드 또는 화상통화 모드에서 이미지 센서에 의해 얻어지는 정지영상 또는 동영상의 화상 프레임을 처리한다. 처리된 화상 프레임은 디스플레이부(151)에 표시될 수 있으며, 메모리(170)에 저장될 수 있다.The
제1 및 제2 조작유닛(123a, 123b)은 이동 단말기(100)의 동작을 제어하기 위한 명령을 입력 받기 위해 조작되는 사용자 입력부(123)의 일 예로서, 조작부(manipulating portion)로도 통칭될 수 있다. 제1 및 제2 조작유닛(123a, 123b)은 터치, 푸시, 스크롤 등 사용자가 촉각적인 느낌을 받으면서 조작하게 되는 방식(tactile manner)이라면 어떤 방식이든 채용될 수 있다. 또한, 제1 및 제2 조작유닛(123a, 123b)은 근접 터치(proximity touch), 호버링(hovering) 터치 등을 통해서 사용자의 촉각적인 느낌이 없이 조작하게 되는 방식으로도 채용될 수 있다.The first and
본 도면에서는 제1 조작유닛(123a)이 터치키(touch key)인 것으로 예시하나, 본 발명이 이에 한정되는 것은 아니다. 예를 들어, 제1 조작유닛(123a)은 푸시키(mechanical key)가 되거나, 터치키와 푸시키의 조합으로 구성될 수 있다.In this figure, the
제1 및 제2 조작유닛(123a, 123b)에 의하여 입력되는 내용은 다양하게 설정될 수 있다. 예를 들어, 제1 조작유닛(123a)은 메뉴, 홈키, 취소, 검색 등의 명령을 입력 받고, 제2 조작유닛(123b)은 제1 또는 제2 음향 출력부(152a, 152b)에서 출력되는 음향의 크기 조절, 디스플레이부(151)의 터치 인식 모드로의 전환 등의 명령을 입력 받을 수 있다.The contents input by the first and
한편, 단말기 바디의 후면에는 사용자 입력부(123)의 다른 일 예로서, 후면 입력부(미도시)가 구비될 수 있다. 이러한 후면 입력부는 이동 단말기(100)의 동작을 제어하기 위한 명령을 입력 받기 위해 조작되는 것으로서, 입력되는 내용은 다양하게 설정될 수 있다. 예를 들어, 전원의 온/오프, 시작, 종료, 스크롤 등과 같은 명령, 제1 및 제2 음향 출력부(152a, 152b)에서 출력되는 음향의 크기 조절, 디스플레이부(151)의 터치 인식 모드로의 전환 등과 같은 명령을 입력 받을 수 있다. 후면 입력부는 터치입력, 푸시입력 또는 이들의 조합에 의한 입력이 가능한 형태로 구현될 수 있다.On the other hand, a rear input unit (not shown) may be provided on the rear surface of the terminal body as another example of the
후면 입력부는 단말기 바디의 두께방향으로 전면의 디스플레이부(151)와 중첩되게 배치될 수 있다. 일 예로, 사용자가 단말기 바디를 한 손으로 쥐었을 때 검지를 이용하여 용이하게 조작 가능하도록, 후면 입력부는 단말기 바디의 후면 상단부에 배치될 수 있다. 다만, 본 발명은 반드시 이에 한정되는 것은 아니며, 후면 입력부의 위치는 변경될 수 있다.The rear input unit may be disposed so as to overlap with the
이처럼 단말기 바디의 후면에 후면 입력부가 구비되는 경우, 이를 이용한 새로운 형태의 유저 인터페이스가 구현될 수 있다. 또한, 앞서 설명한 터치 스크린 또는 후면 입력부가 단말기 바디의 전면에 구비되는 제1 조작유닛(123a)의 적어도 일부 기능을 대체하여, 단말기 바디의 전면에 제1 조작유닛(123a)이 미배치되는 경우, 디스플레이부(151)가 보다 대화면(大畵面)으로 구성될 수 있다.When a rear input unit is provided on the rear surface of the terminal body, a new type of user interface using the rear input unit can be realized. When the
한편, 이동 단말기(100)에는 사용자의 지문을 인식하는 지문인식센서가 구비될 수 있으며, 제어부(180)는 지문인식센서를 통하여 감지되는 지문정보를 인증수단으로 이용할 수 있다. 상기 지문인식센서는 디스플레이부(151) 또는 사용자 입력부(123)에 내장될 수 있다.Meanwhile, the
마이크로폰(122)은 사용자의 음성, 기타 소리 등을 입력 받도록 이루어진다. 마이크로폰(122)은 복수의 개소에 구비되어 스테레오 음향을 입력 받도록 구성될 수 있다.The
인터페이스부(160)는 이동 단말기(100)를 외부기기와 연결시킬 수 있는 통로가 된다. 예를 들어, 인터페이스부(160)는 다른 장치(예를 들어, 이어폰, 외장 스피커)와의 연결을 위한 접속단자, 근거리 통신을 위한 포트[예를 들어, 적외선 포트(IrDA Port), 블루투스 포트(Bluetooth Port), 무선 랜 포트(Wireless LAN Port) 등], 또는 이동 단말기(100)에 전원을 공급하기 위한 전원공급단자 중 적어도 하나일 수 있다. 이러한 인터페이스부(160)는 SIM(Subscriber Identification Module) 또는 UIM(User Identity Module), 정보 저장을 위한 메모리 카드 등의 외장형 카드를 수용하는 소켓의 형태로 구현될 수도 있다.The
단말기 바디의 후면에는 제2카메라(121b)가 배치될 수 있다. 이 경우, 제2카메라(121b)는 제1카메라(121a)와 실질적으로 반대되는 촬영 방향을 가지게 된다.And a
제2카메라(121b)는 적어도 하나의 라인을 따라 배열되는 복수의 렌즈를 포함할 수 있다. 복수의 렌즈는 행렬(matrix) 형식으로 배열될 수도 있다. 이러한 카메라는, '어레이(array) 카메라'로 명명될 수 있다. 제2카메라(121b)가 어레이 카메라로 구성되는 경우, 복수의 렌즈를 이용하여 다양한 방식으로 영상을 촬영할 수 있으며, 보다 나은 품질의 영상을 획득할 수 있다.The
플래시(124)는 제2카메라(121b)에 인접하게 배치될 수 있다. 플래시(124)는 제2카메라(121b)로 피사체를 촬영하는 경우에 피사체를 향하여 빛을 비추게 된다.The
단말기 바디에는 제2 음향 출력부(152b)가 추가로 배치될 수 있다. 제2 음향 출력부(152b)는 제1 음향 출력부(152a)와 함께 스테레오 기능을 구현할 수 있으며, 통화시 스피커폰 모드의 구현을 위하여 사용될 수도 있다.And a second
단말기 바디에는 무선 통신을 위한 적어도 하나의 안테나가 구비될 수 있다. 안테나는 단말기 바디에 내장되거나, 케이스에 형성될 수 있다. 예를 들어, 방송 수신 모듈(111, 도 1a 참조)의 일부를 이루는 안테나는 단말기 바디에서 인출 가능하게 구성될 수 있다. 또는, 안테나는 필름 타입으로 형성되어 후면 커버(103)의 내측면에 부착될 수도 있고, 도전성 재질을 포함하는 케이스가 안테나로서 기능하도록 구성될 수도 있다.The terminal body may be provided with at least one antenna for wireless communication. The antenna may be embedded in the terminal body or formed in the case. For example, an antenna constituting a part of the broadcast receiving module 111 (see FIG. 1A) may be configured to be able to be drawn out from the terminal body. Alternatively, the antenna may be formed in a film type and attached to the inner surface of the
단말기 바디에는 이동 단말기(100)에 전원을 공급하기 위한 전원 공급부(190, 도 1a 참조)가 구비된다. 전원 공급부(190)는 단말기 바디에 내장되거나, 단말기 바디의 외부에서 착탈 가능하게 구성되는 배터리(191)를 포함할 수 있다.The terminal body is provided with a power supply unit 190 (see FIG. 1A) for supplying power to the
배터리(191)는 인터페이스부(160)에 연결되는 전원 케이블을 통하여 전원을 공급받도록 구성될 수 있다. 또한, 배터리(191)는 무선충전기기를 통하여 무선충전 가능하도록 구성될 수도 있다. 상기 무선충전은 자기유도방식 또는 공진방식(자기공명방식)에 의하여 구현될 수 있다.The
한편, 본 도면에서는 후면 커버(103)가 배터리(191)를 덮도록 리어 케이스(102)에 결합되어 배터리(191)의 이탈을 제한하고, 배터리(191)를 외부 충격과 이물질로부터 보호하도록 구성된 것을 예시하고 있다. 배터리(191)가 단말기 바디에 착탈 가능하게 구성되는 경우, 후면 커버(103)는 리어 케이스(102)에 착탈 가능하게 결합될 수 있다.The
이동 단말기(100)에는 외관을 보호하거나, 이동 단말기(100)의 기능을 보조 또는 확장시키는 액세서리가 추가될 수 있다. 이러한 액세서리의 일 예로, 이동 단말기(100)의 적어도 일면을 덮거나 수용하는 커버 또는 파우치를 들 수 있다. 커버 또는 파우치는 디스플레이부(151)와 연동되어 이동 단말기(100)의 기능을 확장시키도록 구성될 수 있다. 액세서리의 다른 일 예로, 터치 스크린에 대한 터치입력을 보조 또는 확장하기 위한 터치펜을 들 수 있다.The
한편, 이동 단말기는 사용자가 주로 손에 쥐고 사용하는 차원을 넘어서, 신체에 착용할 수 있는 웨어러블 디바이스(wearable device)로 확장될 수 있다. 이러한 웨어러블 디바이스에는 스마트 워치(smart watch), 스마트 글래스(smart glass), HMD(head mounted display) 등이 있다. 이하, 웨어러블 디바이스로 확장된 이동 단말기의 예들에 대하여 설명하기로 한다.Meanwhile, the mobile terminal can be extended to a wearable device that can be worn on the body beyond the dimension that the user mainly grasps and uses. These wearable devices include smart watch, smart glass, and head mounted display (HMD). Hereinafter, examples of a mobile terminal extended to a wearable device will be described.
웨어러블 디바이스는 다른 이동 단말기(100)와 데이터를 상호 교환(또는 연동) 가능하게 이루어질 수 있다. 근거리 통신 모듈(114)은, 이동 단말기(100) 주변에 통신 가능한 웨어러블 디바이스를 감지(또는 인식)할 수 있다. 나아가, 제어부(180)는 감지된 웨어러블 디바이스가 이동 단말기(100)와 통신하도록 인증된 디바이스인 경우, 이동 단말기(100)에서 처리되는 데이터의 적어도 일부를, 근거리 통신 모듈(114)을 통하여 웨어러블 디바이스로 전송할 수 있다. 따라서, 사용자는 이동 단말기(100)에서 처리되는 데이터를 웨어러블 디바이스를 통하여 이용할 수 있다. 예를 들어, 이동 단말기(100)에 전화가 수신된 경우 웨어러블 디바이스를 통해 전화 통화를 수행하거나, 이동 단말기(100)에 메시지가 수신된 경우 웨어러블 디바이스를 통해 상기 수신된 메시지를 확인하는 것이 가능하다.The wearable device can be made to be able to exchange (or interlock) data with another
도 2는 본 발명의 또 다른 일 실시 예와 관련된 글래스 타입의 이동 단말기(400)의 일 예를 보인 사시도이다.2 is a perspective view showing an example of a glass-type
글래스 타입의 이동 단말기(400)는 인체의 두부에 착용 가능하도록 구성되며, 이를 위한 프레임부(케이스, 하우징 등)을 구비할 수 있다. 프레임부는 착용이 용이하도록 플렉서블 재질로 형성될 수 있다. 본 도면에서는, 프레임부가 서로 다른 재질의 제1 프레임(401)과 제2 프레임(402)을 포함하는 것을 예시하고 있다. 일반적으로 이동 단말기(400)는 도1a 내지 도 1c의 이동 단말기(100)의 특징 또는 그와 유사한 특징을 포함할 수 있다.The glass-type
프레임부는 두부에 지지되며, 각종 부품들이 장착되는 공간을 마련한다. 도시된 바와 같이, 프레임부에는 제어 모듈(480), 음향 출력 모듈(452) 등과 같은 전자부품이 장착될 수 있다. 또한, 프레임부에는 좌안 및 우안 중 적어도 하나를 덮는 렌즈(403)가 착탈 가능하게 장착될 수 있다.The frame portion is supported on the head portion, and a space for mounting various components is provided. As shown in the figure, electronic parts such as the
제어 모듈(480)은 이동 단말기(400)에 구비되는 각종 전자부품을 제어하도록 이루어진다. 제어 모듈(480)은 앞서 설명한 제어부(180)에 대응되는 구성으로 이해될 수 있다. 본 도면에서는, 제어 모듈(480)이 일측 두부 상의 프레임부에 설치된 것을 예시하고 있다. 하지만, 제어 모듈(480)의 위치는 이에 한정되지 않는다.The
디스플레이부(451)는 헤드 마운티드 디스플레이(Head Mounted Display, HMD) 형태로 구현될 수 있다. HMD 형태란, 두부에 장착되어, 사용자의 눈 앞에 직접 영상을 보여주는 디스플레이 방식을 말한다. 사용자가 글래스 타입의 이동 단말기(400)를 착용하였을 때, 사용자의 눈 앞에 직접 영상을 제공할 수 있도록, 디스플레이부(451)는 좌안 및 우안 중 적어도 하나에 대응되게 배치될 수 있다. 본 도면에서는, 사용자의 우안을 향하여 영상을 출력할 수 있도록, 디스플레이부(451)가 우안에 대응되는 부분에 위치한 것을 예시하고 있다.The
디스플레이부(451)는 프리즘을 이용하여 사용자의 눈으로 이미지를 투사할 수 있다. 또한, 사용자가 투사된 이미지와 전방의 일반 시야(사용자가 눈을 통하여 바라보는 범위)를 함께 볼 수 있도록, 프리즘은 투광성으로 형성될 수 있다.The
이처럼, 디스플레이부(451)를 통하여 출력되는 영상은, 일반 시야와 오버랩(overlap)되어 보여질 수 있다. 이동 단말기(400)는 이러한 디스플레이의 특성을 이용하여 현실의 이미지나 배경에 가상 이미지를 겹쳐서 하나의 영상으로 보여주는 증강현실(Augmented Reality, AR)을 제공할 수 있다.As described above, the image output through the
카메라(421)는 좌안 및 우안 중 적어도 하나에 인접하게 배치되어, 전방의 영상을 촬영하도록 형성된다. 카메라(421)가 눈에 인접하여 위치하므로, 카메라(421)는 사용자가 바라보는 장면을 영상으로 획득할 수 있다.The
본 도면에서는, 카메라(421)가 제어 모듈(480)에 구비된 것을 예시하고 있으나, 반드시 이에 한정되는 것은 아니다. 카메라(421)는 상기 프레임부에 설치될 수도 있으며, 복수 개로 구비되어 입체 영상을 획득하도록 이루어질 수도 있다.Although the
글래스 타입의 이동 단말기(400)는 제어명령을 입력 받기 위하여 조작되는 사용자 입력부(423a, 423b)를 구비할 수 있다. 사용자 입력부(423a, 423b)는 터치, 푸시 등 사용자가 촉각적인 느낌을 가면서 조작하게 되는 방식(tactile manner)이라면 어떤 방식이든 채용될 수 있다. 본 도면에서는, 프레임부와 제어 모듈(480)에 각각 푸시 및 터치 입력 방식의 사용자 입력부(423a, 423b)가 구비된 것을 예시하고 있다.The glass-type
또한, 글래스 타입의 이동 단말기(400)에는 사운드를 입력 받아 전기적인 음성 데이터로 처리하는 마이크로폰(미도시) 및 음향을 출력하는 음향 출력 모듈(452)이 구비될 수 있다. 음향 출력 모듈(452)은 일반적인 음향 출력 방식 또는 골전도 방식으로 음향을 전달하도록 이루어질 수 있다. 음향 출력 모듈(452)이 골전도 방식으로 구현되는 경우, 사용자가 이동 단말기(400)를 착용시, 음향 출력 모듈(452)은 두개골을 진동시켜 음향을 전달하게 된다.In addition, the glass-type
본원발명에 다른 음향 출력모듈은 상기 음향을 사용자의 두개골에 전달하기 위하여, 진동을 전달을 향상시키는 구조를 포함한다. 이하, 본 발명에 따라 상기 프레임부에 고정되는 음향 출력모듈의 구조를 구체적으로 설명한다. 본 발명에 따른 음향 출력모듈은 도 1b에 도시된 바(bar) 타입의 이동 단말기 및 도 2에 도시된 글래스 타입의 이동 단말기에 모두 적용될 수 있으나, 글래스 타입의 이동 단말기에 적용된 경우를 예를 들어 설명한다.Another acoustic output module according to the present invention includes a structure for enhancing transmission of vibration to deliver the sound to the user ' s skull. Hereinafter, the structure of the sound output module fixed to the frame unit according to the present invention will be described in detail. The sound output module according to the present invention can be applied to both the bar-type mobile terminal shown in FIG. 1B and the glass-type mobile terminal shown in FIG. 2, but it can be applied to a glass- Explain.
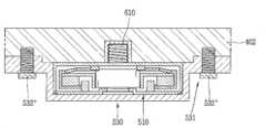
도 3a는 본 발명의 일 실시예에 따른 음향 출력모듈을 일 방향에서 바라본 평면도이고, 도3b는 도 3a를 A-A방향으로 절단한 단면도이며, 도 3c는 진동전달부와 상기 골전도 스피커 모듈을 분리한 상태의 단면도이다.3A is a plan view of the sound output module according to an embodiment of the present invention viewed from one direction, FIG. 3B is a cross-sectional view taken along line AA in FIG. 3A, Fig.
도 3a 및 도 3b를 참조하면, 본 실시예에 따른 음향 출력모듈부(500)는은 골전도 스피커 모듈(510), 진동전달부(520) 및 고정부(530)를 포함한다.3A and 3B, the sound
상기 골전도 스피커 모듈(510)은 상기 고정부(530)에 의하여 상기 프레임부에 고정된다. 상기 골전도 스피커 모듈(510)은 상기 제1 프레임(401) 또는 상기 제2 프레임(402)에 장착될 수 있다.The bone
상기 골전도 스피커 모듈(510)은 내부공간을 구비하는 하우징(511), 상기 하우징(511) 내부에 장착되는 코일(512), 자성체(513), 판스프링(514) 및 요크(515)를 포함한다. 다만, 이 모든 구성이 반드시 필요한 것을 아니며 어느 하나의 구성은 다른 구성으로 대체될 수 있다.The bone
전원에 의하여 상기 코일(512)에 교번되는 전기신호(주파수 신호)가 입력되면, 상기 자성체(513) 사이의 공극에 형성된 자속에 의하여, 상기 자성체(513)가 유동하게 된다. 즉, 상기 자성체(513) 및 상기 자성체(513)를 지지하는 요크(515)가 진동하면서 음향 또는 진동을 발생시킨다. 상기 진동은 상기 하우징(511)을 통하여 사용자의 신체에 전달된다.When an alternating electric signal (frequency signal) is inputted to the
상기 하우징(511)의 일 면에 진동전달부(520)가 고정된다. 상기 진동전달부(520)의 일부는 상기 이동 단말기의 외부로 노출된다. 상기 진동전달부(520)와 상기 하우징(511)를 고정하기 위하여, 상기 음향출력 모듈(500)은 체결부재(610)를 더 포함한다.A
본 실시예에 따른 체결부재(610)는 일단이 상기 하우징(511)의 일 면에 고정된다. 예를 들어, 상기 체결부재(610)는 상기 일 면에 용접방식으로 고정되거나, 상기 체결부재(610) 및 상기 하우징(511)은 일체로 형성될 수 있다. 상기 체결부재(610)는 상기 하우징(511)의 일 면으로부터 돌출되도록 형성된다.One end of the
상기 진동전달부(520)의 상기 하우징(511)과 마주보는 일면에 리세스부(521)가 형성된다. 상기 리세스부(521)에 상기 체결부재(610)가 삽입된다. 즉, 상기 리세스부(521)는 상기 체결부재(610)와 대응되는 형상으로 형성된다.A recess portion 521 is formed on a surface of the
예를 들어, 상기 체결부재(610)는 상기 리세스부(521)에 나사고정될 수 있다. 상기 체결부재(610)의 외주면은 나사산이 형성되고, 상기 진동전달부(520)는 상기 리세스부(521)의 내부에 삽입되고 내면에 나사부가 형성되는 테핑(tapping)부재(522)를 더 포함할 수 있다. 이 경우 상기 진동전달부(520)는 플라스틱 재질로 형성될 수 있다.For example, the
이에 따라, 상기 체결부재(610)는 상기 테핑부재(522)와 나사결합하여 상기 진동전달부(520)에 고정된다. 상기 체결부재(610)의 전 영역이 상기 리세스부(521)에 삽입되는 것이 바람직하다. 즉, 상기 하우징(511)의 일 면이 상기 진동전달부의 일 면과 밀착되는 것이 바람직하다.Accordingly, the
상기 진동전달부(520)의 형상은 상기 도면에 도시된 바에 한정되는 것은 아니며, 적용되는 이동 단말기의 외부로 노출되어 사용자의 신체에 접할 수 있는 두께 및 형상으로 형성된다.The shape of the
상기 고정부(530)는 지지부(531)과 체결부(532)를 포함한다. 상기 지지부(530)는 상기 하우징(511)의 상기 진동전달부(520)와 마주보는 일 면을 제외한 나머지 영역을 지지하도록 형성될 수 있다. 상기 지지부(531)는 상기 하우징(511)을 수납하기 수납공간을 형성할 수 있다. 상기 지지부(531)은 상기 하우징(511)의 외면을 감싸는 구조로 상기 일면을 제외한 하우징의 나머지 영역을 모두 지지하므로 상기 진동으로 인하여 상기 프레임으로부터 상기 골전도 스피커 모듈(310)이 분리되는 문제점을 최소화할 수 있다.The fixing
상기 고정부(530)는 상기 지지부(531)로부터 연장되는 연장부(532)를 포함한다. 상기 연장부(532)는 적어도 두 개로 형성되는 것이 바람직하다. 상기 연장부(532)는 체결홀(532')을 포함하고, 상기 체결홀(532')을 관통한 체결부(532'')가 상기 이동 단말기의 프레임 등에 체결된다. 예를 들어, 상기 연장부(532)는 상기 프레임부의 내면에 장착된다.The fixing
도 4a는 제2 프레임에 장착된 음향 출력모듈을 도시한 단면도이고, 도 4b는 도 4a를 A방향에서 바라본 도면이다, 상기 제2 프레임(402)의 일 영역에 개구부(402')가 형성된다. 상기 개구부(402')는 상기 안경형 이동 단말기가 사용자의 두부에 착용된 경우, 사용자의 신체와 접촉될 수 있는 영역에 형성되는 것이 바람직하다. 상기 진동전달부(520)는 상기 프레임의 외면으로부터 기 설정된 두께로 돌출되도록 장착될 수 있다. 따라서, 사용자가 상기 안경형 이동 단말기를 착용하고 있는 동안, 상기 진동전달부(520)가 신체의 일부에 접촉된 상태를 유지할 수 있다.4A is a cross-sectional view showing an acoustic output module mounted on a second frame, and FIG. 4B is a view seen from a direction A in FIG. 4A. An opening 402 'is formed in one area of the
상기 연장부(532)는 상기 개구부(402')와 인접한 상기 제2 프레임(402)의 내면에 고정된다. 상기 개구부(402')를 통하여 상기 진동전달부(520)의 일부가 노출된다. 상기 개구부(402')는 상기 진동전달부(520)의 단면과 실질적으로 동일한 형상으로 형성되는 것이 바람직하다.The
도면에 구체적으로 도시되지 아니하였으나, 상기 음향 출력모듈(500)은 상기 개구부(402')와 상기 진동전달부(520)의 외주면 사이에 형성되는 고정링(미도시)를 더 포함할 수 있다. 상기 고정링은 상기 개구부(402')과 상기 진동전달부(520) 사이의 개구영역을 차단하여, 오염물의 유입을 방지하고, 음향의 출력에 의하여 상기 프레임의 다른 영역에 까지 진동이 전달되는 단점을 방지할 수 있다.The
본 발명에 따르면, 상기 골진도 스피커모듈과 직접적으로 접촉하여 진동을 전달하는 진동전달부가 이동 단말기의 외면으로부터 도출된 상태로 노출되어, 사용자의 신체에 진동의 전달효율이 향상될 수 있다.
According to the present invention, the vibration transmission portion that directly contacts the bone-strength speaker module and transmits the vibration is exposed in a state derived from the outer surface of the mobile terminal, so that the transmission efficiency of the vibration to the user's body can be improved.
도 5a 및 도 5b는 다른 실시예에 따라 골전도 스피커 모듈에 고정된 진동전달부를 설명하기 위한 개념도이다.5A and 5B are conceptual diagrams for explaining a vibration transmission unit fixed to a bone conduction speaker module according to another embodiment.
도 5a를 참조하면, 상기 체결부재(620)는 코킹(caulking)방식을 이용하여 상기 하우징(511)에 고정된다. 코킹(caulking)방식은 금속판을 두들겨서 기밀(氣密)하게 하는 결합방식에 해당된다.Referring to FIG. 5A, the
구체적으로, 본 실시예에 따른 체결부재(620)는 일 방향으로 연장되고, 상기 체결부재(620)의 일 단부와 인접한 일 영역은 상기 일 방향과 수직한 방향으로 연장되는 걸림돌기(621a)가 형성된다. 상기 걸림돌기(621a)와 인접한 일 단부에는 상기 나사산이 형성되지 아니한다. 상기 하우징(511)의 상기 일 면은 상기 체결부재(620)의 일단부가 끼워지도록 형성되는 홀이 형성될 수 있다. 상기 체결부재(620)를 상기 홀에 끼우면, 상기 걸림돌기(621a)에 의하여 걸리게 되고, 상기 체결부재(620)의 일 단부를 가압하면, 상기 일 단부가 변형되어 상기 걸림돌기(621a)와 함께 상기 하우징(511)에 결합된다. 즉, 상기 하우징(511)의 홀을 이루는 영역은 상기 걸림돌기(621a)와 변형된 영역에 의하여, 상기 체결부재(620)와 결합된다.Specifically, the
본 실시예에 따른 체결부재(620)의 일부 영역의 외주면에는 나사산이 형성되고, 상기 체결부재(620)는 상기 진동전달부(520)와 나사결합 한다. 또한, 상기 진동전달부(520)는 상기 체결부재(620)와 나사결합하는 테핑부재(522)를 더 포함할 수 있다.A screw thread is formed on the outer circumferential surface of a part of the
이에 따라, 상기 체결부재(620)는 상기 하우징(511)과 일체로 형성되어 상기 하우징으로부터 전달되는 진동을 보다 효율적으로 상기 진동전달부(520)에 전달 할 수 있다.Accordingly, the
도 5b를 참조하면, 상기 하우징(511) 및 진동전달부(530)는 접착부재에 의하여 고정된다.Referring to FIG. 5B, the
상기 체결부재(630)는 상기 하우징(511)의 일 면에 고정되며, 용접방식에 의하여 고정될 수 있다. 다만, 상기 체결부재(630)는 코킹방식을 이용하여 상기 하우징(511)에 고정될 수 있다.The
상기 음향 출력모듈(500)은 상기 체결부재(630)와 인접한 상기 하우징(511)의 일 영역에 형성되는 접착부재(631)를 더 포함한다. 상기 접착부재(631)은 상기 체결부재(630)의 외주를 감싸도록 형성될 수 있다.The
상기 접착부재(631)는 기 설정된 두께 및 기 설정된 크기로 형성된다. 상기 진동전달부(530)는 상기 체결부재(630) 및 상기 접착부재(631)와 대응되는형상으로 리세스된 리세스부(531)를 포함한다. 상기 리세스부(531)는 상기 체결부재(630)가 삽입되도록 형성되는 제1 영역(531a) 및 상기 접착부재(631)에 대응되는 제2 영역(531b)로 이루어진다. 상기 제1 및 제2 영역(531a, 531b)는 연속적인 영역에 해당된다. 즉, 상기 접착부재(631)은 상기 제2 영역(531b)을 이루는 상기 진동전달부(530)의 일 영역에 접착되어, 상기 진동전달부(630)와 상기 골전도 스피커 모듈(510)을 고정한다.The
서로 다른 형상으로 이루어지는 제1 및 제2 영역(531a, 531b)에 의하여 외부의 힘에 의하여 상기 하우징(511)을 기준으로 상기 진동전달부(530)가 이동하는 문제점을 방지할 수 있다. 이에 따라, 상기 진동전달부(630)와 상기 골전도 스피커 모듈(510)의 내구성을 향상시켜서, 외부로 노출되는 진동전달부(630)에 충격이 인가되는 경우에도 골전도 스피커 모듈(510)과의 분리를 방지할 수 있다.
It is possible to prevent the
도 6은 프레임에 고정된 음향 출력부를 설명하기 위한 단면도이다. 본 발명의 일 실시예에 따르면 상기 제2 프레임(402)의 내면에는 상기 체결부재(610)가 결합하기 위한 리세스가 형성된다. 상기 체결부재(610)는 용접방식에 의하여 상기 하우징에 결합될 수 있으나, 이에 한정되는 것은 아니며 상기 설명한 실시예에에 따른 결합방식에 의한다. 상기 제2 프레임(402)은 상기 체결부재(610)가 나사결합하기 위한 태핑부재(521)를 더 포함할 수 있다.6 is a cross-sectional view for explaining an acoustic output section fixed to a frame. According to an embodiment of the present invention, a recess for engaging the
또한, 상기 고정부(530)의 상기 연장부(531)는 상기 제2 프레임(402)의 내면에 밀착하도록, 상기 체결부(532'')에 의하여 고정된다. 따라서, 상기 골전도 스피커 모듈(510)을 통하여 출력되는 진동은 직접적으로 상기 제2 프레임(402)에 전달될 수 있다.The
또한, 상기 제2 프레임(402)에 형성된 리세스부에 상기 체결부재(610)가 삽입 및 고정되어 있고, 하우징(511)을 지지하는 고정부(530)에 의하여 상기 골전도 스피커 모듈(510)이 고정되어 있으므로, 진동에 의하여 상기 프레임으로부터 분리되는 문제점을 최소화할 수 있다.The fixing
전술한 본 발명은, 프로그램이 기록된 매체에 컴퓨터가 읽을 수 있는 코드로서 구현하는 것이 가능하다. 컴퓨터가 읽을 수 있는 매체는, 컴퓨터 시스템에 의하여 읽혀질 수 있는 데이터가 저장되는 모든 종류의 기록장치를 포함한다. 컴퓨터가 읽을 수 있는 매체의 예로는, HDD(Hard Disk Drive), SSD(Solid State Disk), SDD(Silicon Disk Drive), ROM, RAM, CD-ROM, 자기 테이프, 플로피 디스크, 광 데이터 저장 장치 등이 있으며, 또한 캐리어 웨이브(예를 들어, 인터넷을 통한 전송)의 형태로 구현되는 것도 포함한다. 또한, 상기 컴퓨터는 단말기의 제어부(180)를 포함할 수도 있다. 따라서, 상기의 상세한 설명은 모든 면에서 제한적으로 해석되어서는 아니 되고 예시적인 것으로 고려되어야 한다. 본 발명의 범위는 첨부된 청구항의 합리적 해석에 의해 결정되어야 하고, 본 발명의 등가적 범위 내에서의 모든 변경은 본 발명의 범위에 포함된다.The present invention described above can be implemented as computer readable codes on a medium on which a program is recorded. The computer readable medium includes all kinds of recording devices in which data that can be read by a computer system is stored. Examples of the computer readable medium include a hard disk drive (HDD), a solid state disk (SSD), a silicon disk drive (SDD), a ROM, a RAM, a CD-ROM, a magnetic tape, a floppy disk, , And may also be implemented in the form of a carrier wave (e.g., transmission over the Internet). In addition, the computer may include a
100: 이동단말기110: 무선통신부
120: 입력부
140: 센싱부150: 출력부
160: 인터페이스부 170: 메모리
180: 제어부190: 전원공급부100: mobile terminal 110: wireless communication unit
120: Input unit
140: sensing unit 150: output unit
160: interface unit 170: memory
180: control unit 190: power supply unit
| Application Number | Priority Date | Filing Date | Title |
|---|---|---|---|
| KR1020140068518AKR20150140134A (en) | 2014-06-05 | 2014-06-05 | Portable terminal |
| Application Number | Priority Date | Filing Date | Title |
|---|---|---|---|
| KR1020140068518AKR20150140134A (en) | 2014-06-05 | 2014-06-05 | Portable terminal |
| Publication Number | Publication Date |
|---|---|
| KR20150140134Atrue KR20150140134A (en) | 2015-12-15 |
| Application Number | Title | Priority Date | Filing Date |
|---|---|---|---|
| KR1020140068518ACeasedKR20150140134A (en) | 2014-06-05 | 2014-06-05 | Portable terminal |
| Country | Link |
|---|---|
| KR (1) | KR20150140134A (en) |
| Publication number | Priority date | Publication date | Assignee | Title |
|---|---|---|---|---|
| WO2017111447A3 (en)* | 2015-12-24 | 2018-03-08 | 주식회사 모다이노칩 | Mobile terminal |
| WO2018080130A1 (en)* | 2016-10-24 | 2018-05-03 | 주식회사 정글 | Speaker module and glasses-type wearable device |
| WO2018155867A1 (en)* | 2017-02-24 | 2018-08-30 | 주식회사 모다이노칩 | Piezoelectric vibration apparatus and electronic device comprising same |
| KR20190100917A (en)* | 2017-01-20 | 2019-08-29 | 엘지전자 주식회사 | Mobile terminal |
| KR20200059029A (en)* | 2018-11-20 | 2020-05-28 | 주식회사 이엠텍 | Actuator |
| US12234393B2 (en) | 2021-07-09 | 2025-02-25 | Samsung Display Co., Ltd. | Adhesive sheet and method for manufacturing display device using the same |
| Publication number | Priority date | Publication date | Assignee | Title |
|---|---|---|---|---|
| WO2017111447A3 (en)* | 2015-12-24 | 2018-03-08 | 주식회사 모다이노칩 | Mobile terminal |
| WO2018080130A1 (en)* | 2016-10-24 | 2018-05-03 | 주식회사 정글 | Speaker module and glasses-type wearable device |
| KR20190100917A (en)* | 2017-01-20 | 2019-08-29 | 엘지전자 주식회사 | Mobile terminal |
| US10827054B2 (en) | 2017-01-20 | 2020-11-03 | Lg Electronics Inc. | Mobile terminal |
| WO2018155867A1 (en)* | 2017-02-24 | 2018-08-30 | 주식회사 모다이노칩 | Piezoelectric vibration apparatus and electronic device comprising same |
| KR20200059029A (en)* | 2018-11-20 | 2020-05-28 | 주식회사 이엠텍 | Actuator |
| US11115754B2 (en) | 2018-11-20 | 2021-09-07 | Em-Tech. Co., Ltd. | Actuator |
| US12234393B2 (en) | 2021-07-09 | 2025-02-25 | Samsung Display Co., Ltd. | Adhesive sheet and method for manufacturing display device using the same |
| Publication | Publication Date | Title |
|---|---|---|
| KR101785458B1 (en) | Camera module and mobile terminal having the same | |
| KR20190025382A (en) | Electronic device | |
| KR101783773B1 (en) | Dual camera module and mobile terminal comprising the camera | |
| KR20150142516A (en) | Glass type terminal and control method thereof | |
| KR20170079637A (en) | Mobile terminal | |
| KR101718043B1 (en) | Mobile terminal and method of controlling the same | |
| KR20150131837A (en) | Mobile terminal and control method for the mobile terminal | |
| KR20150140134A (en) | Portable terminal | |
| KR20170142754A (en) | Mobile terminal | |
| KR20190057286A (en) | Mobile terminal | |
| KR101510704B1 (en) | Mobile terminal and control method for the mobile terminal | |
| KR20180020653A (en) | Mobile terminal | |
| KR20150140050A (en) | Mobile terminal and method for controlling the same | |
| KR20170042164A (en) | Mobile terminal and method for controlling the same | |
| KR20160029348A (en) | Glass type mobile terminal | |
| KR20160081698A (en) | White balance module and mobile terminal having the same | |
| KR101575053B1 (en) | Mobile terminal | |
| KR20180082216A (en) | Mobile terminal | |
| KR101808626B1 (en) | Mobile terminal | |
| KR20160043426A (en) | Mobile terminal and method for controlling the same | |
| KR101591329B1 (en) | Mobile terminal and method for controlling the same | |
| KR20170122595A (en) | Mobile terminal | |
| KR20180005519A (en) | Mobile terminal and method for controlling the same | |
| KR20170013084A (en) | Cradle and terminal system having the same | |
| KR20160047882A (en) | Mobile terminal |
| Date | Code | Title | Description |
|---|---|---|---|
| A201 | Request for examination | ||
| PA0109 | Patent application | Patent event code:PA01091R01D Comment text:Patent Application Patent event date:20140605 | |
| PA0201 | Request for examination | ||
| E902 | Notification of reason for refusal | ||
| PE0902 | Notice of grounds for rejection | Comment text:Notification of reason for refusal Patent event date:20150529 Patent event code:PE09021S01D | |
| AMND | Amendment | ||
| PG1501 | Laying open of application | ||
| E601 | Decision to refuse application | ||
| PE0601 | Decision on rejection of patent | Patent event date:20151228 Comment text:Decision to Refuse Application Patent event code:PE06012S01D Patent event date:20150529 Comment text:Notification of reason for refusal Patent event code:PE06011S01I | |
| AMND | Amendment | ||
| PX0901 | Re-examination | Patent event code:PX09011S01I Patent event date:20151228 Comment text:Decision to Refuse Application Patent event code:PX09012R01I Patent event date:20150729 Comment text:Amendment to Specification, etc. | |
| PX0601 | Decision of rejection after re-examination | Comment text:Decision to Refuse Application Patent event code:PX06014S01D Patent event date:20160219 Comment text:Amendment to Specification, etc. Patent event code:PX06012R01I Patent event date:20160127 Comment text:Decision to Refuse Application Patent event code:PX06011S01I Patent event date:20151228 Comment text:Amendment to Specification, etc. Patent event code:PX06012R01I Patent event date:20150729 Comment text:Notification of reason for refusal Patent event code:PX06013S01I Patent event date:20150529 |