






본 발명은 형광등용 안정기를 이용한 LED 조명 장치에 관한 것이다.The present invention relates to an LED lighting apparatus using a ballast for fluorescent lamps.
최근 필라멘트 전구나 형광등 등을 대신하여 엘이디(LED: Light-Emitting Diode)가 새로운 조명기구로 사용이 증가되고 있으며 각광을 받고 있다. 형광등은 상용 교류(AC) 전원을 수십 kHz의 교류로 변환하는 주로 전자식 안정기(Electronic Ballast)를 통해 구동된다. 반면에, LED는 직류(DC) 전원으로 구동되어야 하며, 다른 조명장치에 비해 긴 수명과 낮은 소비전력, 빠른 응답속도 및 강한 내충격성을 가지며, 소형 경량화가 가능하다는 장점이 있다. 이처럼 LED는 형광등과 다른 방식으로 점등되기 때문에, 통상의 LED 램프를 형광등 시스템에 그대로 사용할 수 없다.In recent years, light-emitting diodes (LEDs) have been increasingly used as new lighting devices in place of filament lamps and fluorescent lamps. Fluorescent lamps are mainly driven by electronic ballasts that convert commercial AC power to AC of several tens of kHz. On the other hand, the LED has to be driven by a direct current (DC) power source, and has a long lifetime, low power consumption, fast response speed, strong impact resistance, and small size and weight. As such, the LEDs are turned on differently from the fluorescent lamps, so that ordinary LED lamps can not be used as they are in the fluorescent lamp system.
우선, 형광등 시스템에 대해서 간단히 설명하면, 상용 교류 전원을 입력 받아 이를 정류하고 역률을 보상하여 직류 전원으로 변환한다. 그리고 나서 상기 직류 전원은 공진 인버터(Resonant Inverter, 미도시)에 의하여 수십 kHz의 교류 전원으로 변환되어 형광등 램프에 인가된다. 이러한 형광등 시스템은 점차 높은 전압이 형광등 램프 양단에 인가되다가 순간적으로 방전 현상이 일어나면서 전압 강하되고 형광등 램프가 점등한다. 일반적으로, 방전되기 전의 방전 전압은 약 600V 이상이며 방전 후의 동작 전압은 약 400V정도이나, 이는 형광등 램프, 안정기의 특성이 제조 업체나 동작 방식에 따라 다르기 때문에 규격화 되어 있지 않다.First, the fluorescent light system will be briefly described. The commercial AC power is input, rectified, and the power factor is compensated to convert it into DC power. The DC power is then converted into an AC power of several tens of kHz by a resonant inverter (not shown) and applied to the fluorescent lamp. In such a fluorescent lamp system, a gradually higher voltage is applied across the fluorescent lamp, instantaneous discharge occurs, and the voltage drops and the fluorescent lamp is turned on. Generally, the discharge voltage before discharging is about 600V or more, and the operating voltage after discharging is about 400V, which is not standardized because characteristics of fluorescent lamps and ballasts are different according to the manufacturer and operation method.
도 1을 참고하여, 종래의 형광등 점등시의 방전 과정에 대해서 간단히 설명하도록 한다.Referring to FIG. 1, a discharge process at the time of lighting a conventional fluorescent lamp will be briefly described.
형광등이 점등되기 전에 형광등 램프의 양단은 전기적으로 개방된 상태이다. 형광등 스위치가 온 되면, 형광등 램프 양단에 점차 높은 전압이 인가된다. 도 1에 도시된 바와 같이, 개방된 상태에서는 공진 인버터의 전압 이득이 매우 크기 때문에 형광등 램프 양단 전압(VLAMP)의 진폭이 점점 증가한다. 형광등 램프 양단 전압(VLAMP)이 소정의 전압보다 커지게 되면, 형광등 램프 양단 전극 사이에 방전이 일어나고, 형광등 양단 전압(VLAMP)은 전압 강하하며 형광등 램프는 점등을 시작한다. 이러한 동작에 의하여 형광등 램프 양단은 저항값이 무한대인 개방된 상태에서 수백 옴(Ω)의 저항값을 가지게 되고, 형광등은 발광하게 된다.Both ends of the fluorescent lamp are electrically opened before the fluorescent lamp is turned on. When the fluorescent lamp switch is turned on, a high voltage is gradually applied to both ends of the fluorescent lamp. As shown in Fig. 1, in the open state, the voltage gain of the resonance inverter is very large, so that the amplitude of the voltage VLAMP across the fluorescent lamp is gradually increased. When the voltage VLAMP across the fluorescent lamp becomes larger than the predetermined voltage, a discharge occurs between the electrodes of the fluorescent lamp, the voltage VLAMP across the fluorescent lamp drops, and the fluorescent lamp starts to light. With this operation, both ends of the fluorescent lamp have a resistance value of several hundred ohms (Ω) in an open state in which the resistance value is infinite, and the fluorescent lamp emits light.
그러나, 형광등 대신 발광소자 다이오드(LED)를 사용하는 경우에는 상기 기술한 현상은 나타나지 않는다. 이는 LED의 경우 점등 전에도 LED 양단이 전기적으로 개방 상태가 아니어서 방전 현상이 발생하지 않기 때문이다. 이러한 차이는 형광등 안정기 내부의 보호 회로를 동작시킬 수 있다.However, when a light emitting diode (LED) is used instead of a fluorescent lamp, the above-described phenomenon does not appear. This is because both ends of the LED are not electrically opened before the LED is lit so that the discharge phenomenon does not occur. This difference can operate the protection circuit inside the fluorescent lamp ballast.
이로 인하여, LED를 형광등용 안정기에 연결하여 사용하는 경우에는 점등이 되지 않거나, 점등시간이 오래 걸리거나, 점등 후에 LED가 다시 꺼지는 현상 등이 발생한다. 이는 앞서 설명한 바와 같이, 안정기의 규격이나 특성들이 제조사 별로 개별화된 구조 및 동작 방식을 가지고 있기 때문이다.Therefore, when the LED is connected to the ballast for fluorescent lamp, the LED does not light up, it takes a long time to turn on the LED, or the LED turns off again after lighting. This is because, as described above, the specifications and characteristics of the ballast are individually structured and operated according to the manufacturer.
따라서, 다양한 안정기와의 호환성을 확보하기 위해서는 LED 조명 장치가 형광등 점등 과정을 모사하는 것이 필요하다.Therefore, in order to ensure compatibility with various ballasts, it is necessary for the LED lighting apparatus to simulate the fluorescent lighting procedure.
본 발명은 상술한 종래 기술의 문제점을 모두 해결하는 것을 그 목적으로 한다.SUMMARY OF THE INVENTION The present invention has been made to solve all the problems of the prior art described above.
본 발명의 다른 목적은 다양한 안정기와 호환 가능한 형광등용 안정기를 이용한 LED 조명 장치를 제공하는 것이다.It is another object of the present invention to provide an LED lighting device using a ballast for a fluorescent lamp compatible with various ballasts.
본 발명의 또 다른 목적은 형광등의 점등 과정을 모사할 수 있는 형광등용 안정기를 이용한 LED 조명 장치를 제공하는 것이다.It is still another object of the present invention to provide an LED lighting apparatus using a ballast for a fluorescent lamp capable of simulating the lighting process of a fluorescent lamp.
본 발명의 또 다른 목적은 간단하게 LED 조명 장치를 제어하며, 다른 기능을 가지는 회로와 쉽게 병용될 수 있는 형광등용 안정기를 이용한 LED 조명 장치를 제공하는 것이다.It is still another object of the present invention to provide an LED lighting device using a fluorescent ballast which can be easily combined with a circuit having other functions to control the LED lighting device simply.
본 발명은 형광등용 안정기를 이용한 LED 조명 장치에 관한 것으로, 적어도 하나의 LED소자를 포함하는 LED부, 형광등용 안정기로부터 출력되는 전원 신호를 정류하여 제어부에 전달하는 정류부, 및 상기 정류부로부터 전달받은 입력 전압의 크기에 따라, 상기 정류부와 상기 LED부의 연결을 제어하는 제어부를 포함한다.The present invention relates to an LED lighting device using a fluorescent ballast, comprising: an LED unit including at least one LED element, a rectifier for rectifying and transmitting a power signal output from the ballast for a fluorescent lamp to a controller, and an input received from the rectifier. According to the magnitude of the voltage, it includes a control unit for controlling the connection of the rectifier and the LED unit.
실시예에 따르면, 상기 제어부는,According to an embodiment, the control unit,
상기 입력 전압이 소정의 전압 이상이면 상기 정류부와 상기 LED부를 연결하여 상기 입력 전압을 전압 강하시키고, 강하된 상기 입력 전압이 상기 LED부에 인가되도록 할 수 있다.When the input voltage is greater than or equal to a predetermined voltage, the rectifying unit and the LED unit may be connected to drop the input voltage, and the dropped input voltage may be applied to the LED unit.
실시예에 따르면, 상기 제어부는, 상기 LED부와 상기 정류부의 연결을 도통 또는 차단하는 스위치, 및 상기 스위치부의 온/오프 동작을 제어하는 스위치 제어부를 포함할 수 있다.According to an embodiment, the controller may include a switch for conducting or blocking a connection between the LED unit and the rectifier, and a switch controller for controlling an on / off operation of the switch unit.
실시예에 따르면, 상기 스위치는, 적어도 하나의 MOS형 트랜지스터일 수 있다.According to an embodiment, the switch may be at least one MOS type transistor.
실시예에 따르면, 상기 정류부와 상기 LED부 사이에 직렬로 연결되는 제1 인덕터 및 상기 LED부에 병렬로 연결되는 제1 커패시터를 포함하는 필터부를 더 포함할 수 있다.According to an embodiment, the light emitting device may further include a filter unit including a first inductor connected in series between the rectifying unit and the LED unit, and a first capacitor connected in parallel to the LED unit.
실시예에 따르면, 상기 정류부 및 상기 제어부와 병렬로 연결되는 제2 커패시터를 더 포함할 수 있다.According to an embodiment of the present invention, the controller may further include a second capacitor connected in parallel to the rectifier and the controller.
실시예에 따르면, 상기 형광등용 안정기의 출력을 상기 정류부로 전달하는 상기 정류부에 연결되는 적어도 하나의 접속단자, 및 상기 각 접속단자와 상기 정류부 사이에 삽입되는 적어도 하나의 저항을 더 포함할 수 있다.According to the embodiment, at least one connecting terminal connected to the rectifying section for transmitting the output of the ballast for stabilizing the fluorescent lamp to the rectifying section, and at least one resistor inserted between the connecting terminal and the rectifying section .
본 발명의 실시예에 따르면, 종래의 형광등용 안정기와 호환되는 LED 조명 장치를 제공할 수 있다.According to the embodiment of the present invention, it is possible to provide an LED lighting apparatus compatible with a conventional ballast for a fluorescent lamp.
본 발명의 실시예에 따르면, 안정기로부터 전달되는 다양한 안정기와 호환 가능한 형광등용 안정기를 이용한 LED 조명 장치를 제공할 수 있다.According to the embodiment of the present invention, it is possible to provide an LED lighting apparatus using a ballast for a fluorescent lamp compatible with various ballasts transmitted from a ballast.
본 발명의 실시예에 따르면, 형광등의 점등 과정을 모사할 수 있는 형광등용 안정기를 이용한 LED 조명 장치를 제공할 수 있다.According to the embodiment of the present invention, it is possible to provide an LED lighting apparatus using a ballast for a fluorescent lamp capable of simulating the lighting process of a fluorescent lamp.
본 발명의 실시예에 따르면, LED 조명 장치를 제어하며, 다른 기능을 가지는 회로와 쉽게 병용될 수 있는 형광등용 안정기를 이용한 LED 조명 장치를 제공할 수 있다.According to the embodiment of the present invention, it is possible to provide an LED lighting apparatus using a ballast for a fluorescent lamp, which can be easily combined with a circuit having other functions, controlling the LED lighting apparatus.
도 1은 종래의 형광등 시스템의 점등 과정에서 형광등 램프 양단에 인가되는 전압의 크기를 나타낸 그래프이다.
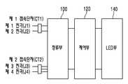
도 2는 본 발명의 실시예에 따른 형광등용 안정기를 이용한 LED 조명 장치의 블록도이다.
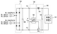
도 3은 본 발명의 실시예에 따른 형광등용 안정기를 이용한 LED 조명 장치의 회로도이다.
도 4는 도 3에 도시된 형광등용 안정기를 이용한 LED 조명 장치의 정류부의 다른 실시예이다.
도 5a는 종래의 형광등용 시스템에서 형광등 램프 양단의 전압 신호의 파형도이며, 도 5b는 본 발명의 실시예에 따른 형광등용 안정기를 이용한 LED 조명 장치의 특정 신호의 파형도이다.
도 6은 본 발명의 실시예에 따른 형광등용 안정기를 이용한 구체적인 LED 조명 장치의 회로도이다.FIG. 1 is a graph showing the magnitude of a voltage applied across a fluorescent lamp during a lighting process of a conventional fluorescent lamp system.
2 is a block diagram of an LED lighting apparatus using a ballast for a fluorescent lamp according to an embodiment of the present invention.
3 is a circuit diagram of an LED lighting apparatus using a ballast for a fluorescent lamp according to an embodiment of the present invention.
4 is another embodiment of the rectifying unit of the LED lighting apparatus using the ballast for fluorescent lamp shown in Fig.
FIG. 5A is a waveform diagram of a voltage signal across a fluorescent lamp in a conventional fluorescent lamp system, and FIG. 5B is a waveform diagram of a specific signal in an LED lighting apparatus using a fluorescent ballast according to an embodiment of the present invention.
6 is a circuit diagram of a specific LED lighting apparatus using a ballast for a fluorescent lamp according to an embodiment of the present invention.
후술하는 본 발명에 대한 상세한 설명은, 본 발명이 실시될 수 있는 특정 실시예를 예시로서 도시하는 첨부 도면을 참조한다. 이들 실시예는 당업자가 본 발명을 실시할 수 있기에 충분하도록 상세히 설명된다. 본 발명의 다양한 실시예는 서로 다르지만 상호 배타적일 필요는 없음이 이해되어야 한다. 예를 들어, 여기에 기재되어 있는 특정 형상, 구조 및 특성은 일 실시예에 관련하여 본 발명의 정신 및 범위를 벗어나지 않으면서 다른 실시예로 구현될 수 있다. 또한, 각각의 개시된 실시예 내의 개별 구성요소의 위치 또는 배치는 본 발명의 정신 및 범위를 벗어나지 않으면서 변경될 수 있음이 이해되어야 한다. 따라서, 후술하는 상세한 설명은 한정적인 의미로서 취하려는 것이 아니며, 본 발명의 범위는, 적절하게 설명된다면, 그 청구항들이 주장하는 것과 균등한 모든 범위와 더불어 첨부된 청구항에 의해서만 한정된다. 도면에서 유사한 참조부호는 여러 측면에 걸쳐서 동일하거나 유사한 기능을 지칭한다.
The following detailed description of the invention refers to the accompanying drawings, which illustrate, by way of illustration, specific embodiments in which the invention may be practiced. These embodiments are described in sufficient detail to enable those skilled in the art to practice the invention. It should be understood that the various embodiments of the present invention are different, but need not be mutually exclusive. For example, certain features, structures, and characteristics described herein may be implemented in other embodiments without departing from the spirit and scope of the invention in connection with an embodiment. It is also to be understood that the position or arrangement of the individual components within each disclosed embodiment may be varied without departing from the spirit and scope of the invention. The following detailed description is, therefore, not to be taken in a limiting sense, and the scope of the present invention is to be limited only by the appended claims, along with the full scope of equivalents to which such claims are entitled, if properly explained. In the drawings, like reference numerals refer to the same or similar functions throughout the several views.
[본 발명의 바람직한 실시예][Preferred Embodiment of the Present Invention]
제1 실시예First Embodiment
도 2는 본 발명의 일 실시예에 따른 형광등용 안정기를 이용한 LED 조명 장치의 블록도를 나타낸다.2 is a block diagram of an LED lighting apparatus using a ballast for a fluorescent lamp according to an embodiment of the present invention.
도 2를 참조하면, 본 발명의 실시예에 따른 형광등용 안정기를 이용한 LED 조명 장치는 적어도 하나의 LED 소자를 포함하는 LED부(140), 형광등용 안정기로부터 출력되는 전원 신호를 정류하여 후술하는 제어부(120)에 전달하는 정류부(100), 정류부(100)로부터 전달 받은 입력 전압의 크기에 따라 LED부(140)와 정류부(100)를 연결함으로써 형광등 램프의 점등 과정을 모사하는 제어부(120)를 포함한다.Referring to FIG. 2, the LED lighting device using the ballast for fluorescent lamp according to the embodiment of the present invention includes an
도 3은 도 2의 형광등용 안정기의 구체적인 실시예의 회로도이며, 도 4는 도 3의 정류부의 다른 실시 형태를 나타낸다.Fig. 3 is a circuit diagram of a specific embodiment of the ballast for fluorescent lamp of Fig. 2, and Fig. 4 shows another embodiment of the rectifying section of Fig.
도 3에 도시된 바와 같이, 정류부(100)는 형광등용 안정기로부터 출력되는 전원 전압을 정류한다. 상기 정류부(100)는 통상적인 다이오드 또는 이의 응용소자(예를 들면, 브릿지 정류 회로 등)로 구현될 수 있으나, 이 외에도 교류 전원(AC)을 정류할 수 있으면 어떠한 소자이던지 본 발명의 정류부(100)에 포함될 수 있다.As shown in Fig. 3, the rectifying
상기 정류부(100)는 제1 전극(J1), 제2 전극(J2), 제3 전극(J3) 및 제4 전극(J4)에 연결될 수 있다. 상기 정류부(100)는 제1 전극(J1) 내지 제4 전극(J4) 중 어느 두 전극을 통해 입력되는 교류 전원을 전파 정류하여 제어부(120)에 전달한다.The rectifying
도 3에 도시된 바와 같이, 교류 전원이 제1 전극(J1)과 제2 전극(J2)을 통해 입력되거나, 제3 전극(J3)과 제4 전극(J4)을 통해 입력되면 정류부(100)가 제어부(120)에 전파 정류된 전압을 출력하게 된다. 브릿지 다이오드 조합은 형광등용 안정기에서 출력되는 상용 전원의 수백 배에 달하는 주파수의 교류 전원을 처리하기 위한 고주파용 다이오드를 사용하는 것이 바람직하다.3, when the AC power is input through the first electrode J1 and the second electrode J2 or inputted through the third electrode J3 and the fourth electrode J4, And outputs the full-wave rectified voltage to the
한편, 도 4에 도시된 바와 같이, 정류부(200)는 제1 정류부(201), 제2 정류부(202)를 포함할 수도 있다.4, the rectifying
도 3에 도시된 바와 같이, 제어부(120)는 정류부(100)로부터 출력된 정류부(100)의 출력 전압을 입력 받고, 입력된 제어부 입력 전압(Vrect)이 소정의 전압 이상이면 전압 강하가 일어나도록 정류부(100)와 LED부(140)의 연결을 제어한다. 즉, 이를 통해 종래의 형광등 시스템에서 형광등의 점등시 발생하는 방전 현상을 모사함으로써, LED 조명이 형광등용 안정기와 호환될 수 있도록 한다.3, the
구체적으로, 제어부(120)는 제1 단자(N1)와 제2 단자(N2)를 포함하고, 상기 제1 단자(N1) 및 제2 단자(N2)를 통해 정류부(100)와 전원 신호를 주고 받으며, 제어부 입력 전압(Vrect)은 제1 단자(N1)과 제2 단자(N2) 사이에 인가되는 전압이다.Specifically, the
제어부(120)는 정류부(100)와 LED부(140)의 연결을 도통시키거나 차단시키는 제1 스위치(SW1)와 제1 스위치(SW1)의 온/오프 동작을 제어하는 스위치 제어부(130)를 포함할 수 있다. 제1 스위치(SW1)는 트랜지스터로 구현될 수 있으며, 빠른 응답 속도를 위하여 MOS 트랜지스터로 구현될 수 있다. 스위치 제어부(130)는 MOS 트랜지스터로 구현되는 제1 스위치(SW1)의 게이트단에 제어 신호를 전달하여 제1 스위치(SW1)의 드레인단과 소스단의 연결을 온/오프 제어할 수 있다.The
도 3을 참조하면, 제1 스위치(SW1)는 LED부(140)의 음극(cathode)단과 제2 단자(N2) 사이에 위치한다. 구체적으로, 제1 스위치(SW1)의 드레인단 및 소스단은 제어부(110)의 제2 단자(N2) 및 LED부(140)의 음극단과 연결된다. 상기 제1 스위치(SW1)는 LED부(140)의 양극(anode)단과 제1 단자(N1) 사이에 위치할 수도 있다. 한편, 제1 스위치(SW1)의 게이트단은 스위치 제어부(130)의 제어 신호 출력단과 연결된다.Referring to FIG. 3, the first switch SW1 is located between the cathode terminal of the
제1 스위치(SW1)의 온/오프 동작에 대해서 설명하면, 스위치 제어부(130)는 제어부 입력 전압(Vrect)을 감지하여, 제어부 입력 전압(Vrect)이 형광등의 방전 시작을 위한 소정의 전압인 점등 전압(Vignition)보다 커지게 되면, 제1 스위치(SW1)의 게이트단에 제어신호를 전달하여 제1 스위치(SW1)의 드레인단과 소스단의 연결이 도통되도록 제어한다.The
구체적으로 설명하면, 제어부 입력 전압(Vrect)이 점등 전압 (Vignition)보다 작으면 제1 스위치(SW1)의 드레인단과 소스단의 연결은 개방 상태로 유지된다. 따라서 정류부(100)와 LED부(140)의 연결은 차단된다. 반면에, 제어부 입력 전압(Vrect)이 점등 전압(Vignition)보다 커지게 되면 제1 스위치(SW1)의 드레인단과 소스단의 연결은 온 상태가 되며, 정류부(100)와 LED부(140)의 연결은 도통된다. 제1 스위치(SW1)가 오프 상태에서 온 상태로 바뀌면서 제어부 입력 전압(Vrect)이 순간적으로 전압 강하한다.More specifically, if the control input voltage Vrect is lower than the turn-on voltage Vignition, the connection between the drain terminal and the source terminal of the first switch SW1 is maintained in the open state. Accordingly, the connection between the rectifying
정리하면, 스위치 제어부(130)는 LED부(140)의 점등 전에는 제1 스위치(SW1)가 오프 상태를 유지하도록 제어하고, 제어부 입력 전압(Vrect)이 점등 전압(Vignition)보다 커지게 되면 제1 스위치(SW1)가 온 상태가 되도록 제어한다. 제1 스위치(SW1)가 온 상태가 된 이후에는 사용자 등 외부 원인에 의하여 전원이 차단되지 않는 동안은 제1 스위치(SW1)가 온 상태를 유지하도록 제어한다.In summary, the
LED부(140)는 정류부(100)로부터 출력되는 전압 및 전류를 이용하여 발광하는 LED 소자들을 포함한다. 상기 LED부(140)에 포함되는 LED 소자들은 병렬 또는 직렬로 연결되어 점등된다.The
또한, 도 3에 도시된 바와 같이, 본 발명의 실시예에 따른 형광등용 안정기를 이용한 LED 조명 장치는 제어부(120)와 LED부(140) 사이에 필터부(160)를 더 포함할 수 있다.3, the LED lighting apparatus using the ballast for a fluorescent lamp according to the embodiment of the present invention may further include a
상기 필터부(160)는 상기 제어부(120)로부터 LED부(140)로 전달되는 전류의 급격한 전류 변화를 제어하는 제1 인덕터(161)와 LED부(140)에 과전류가 흐르는 것을 방지하는 제1 커패시터(162)를 포함할 수 있다.The
또한, 본 발명의 실시예에 따른 형광등용 안정기를 이용한 LED 조명 장치는 정류부(100)와 제어부(120) 사이에 병렬로 연결되는 제2 커패시터(180)을 더 포함할 수 있다.The LED lighting apparatus using the ballast for a fluorescent lamp according to an embodiment of the present invention may further include a
상기 제2 커패시터(180)는 정류부(100)와 LED부(140)가 연결되기 전의 시간 동안 제어부 입력 전압(Vrect)을 안정화 시킬 수 있다. 구체적으로, 제2 커패시터(180)는 맥류 파형인 정류부 출력 전압을 이용하여 제어부에 전달되는 제어부 입력 전압(Vrect)을 안정화 시킬 수 있으며, 커패시터의 축전 특성을 이용하여 제어부(120)에 전력 공급도 가능할 수 있다. 또한, 정류부(100)와 LED부(140)의 연결 후에는 LED부(140)에 직류 전류가 공급되므로 안정기 동작에 있어서 제2 커패시터(180)는 영향을 미치지 않으므로, 다른 회로와의 호환성이 증대된다.The
필터부(160)와 제2 커패시터(180)의 연결구조에 대해서 설명하면, 필터부(160)의 제1 인덕터(161)는 제1 단자(N1)와 LED부(140)의 양극(anode)단 사이에 연결되고, 제1 커패시터(162)는 LED부(140)의 양극단과 음극단 사이에 연결됨으로써, LED부(140)와 병렬로 연결된다. 즉, 제1 커패시터(162)의 일단은 LED부(140)의 양극단 및 인덕터(161)의 일단과 연결되며, 제1 커패시터(162)의 타단은 LED부(140)의 음극단 및 제1 스위치(SW1)의 드레인단에 연결된다. 한편, 제2 커패시터(180)의 양단은 정류부(100) 및 제어부(120)의 사이에서 정류부(100) 및 제어부(120)와 병렬로 연결된다. 즉, 제1 단자(N1)와 제2 단자(N2) 사이에 연결된다.The
도 5a는 종래의 형광등 시스템에서의 형광등에 인가되는 전압의 파형도이며, 도 5b는 본 발명의 제1 실시예에 따른 형광등용 안정기를 이용한 LED 조명 장치의 정류부, 제어부, 스위치에서의 특정 신호들의 파형을 나타낸다.FIG. 5A is a waveform diagram of a voltage applied to a fluorescent lamp in a conventional fluorescent lamp system, FIG. 5B is a waveform diagram of a specific signal in a rectifying part, a control part, and a switch of a LED lighting device using a fluorescent ballast according to the first embodiment of the present invention Wave form.
도 5a를 참조하면, 형광등에 인가되는 형광등 램프 전압(Vlamp)은 형광등이 점등되기 전에는 진폭이 증가하는 교류파형이다. 이는 앞서 설명한 바와 같이, 개방된 공진 인버터에 의하여 에너지가 축적되기 때문이다. 형광등 램프 전압(Vlamp)값이 형광등의 방전 전압(Vignition)보다 커지게 되면, 형광등 양단에 방전이 일어나며 전압이 강하된다. 방전과 함께 형광등은 점등되며, 형광등 램프에는 진폭의 범위가 -발광전압(-Vlamp, on ≤ 진폭 ≤ 발광전압(Vlamp, on)인 교류 전압이 인가되고 형광등은 발광한다.Referring to FIG. 5A, the fluorescent lamp voltage Vlamp applied to the fluorescent lamp is an AC waveform whose amplitude increases before the fluorescent lamp is turned on. This is because, as described above, energy is accumulated by the open resonance inverter. When the fluorescent lamp voltage (Vlamp) value becomes larger than the discharge voltage (fluorescent), a discharge is generated across the fluorescent lamp and the voltage drops. The fluorescent lamp is turned on with the discharge, and the fluorescent lamp emits an alternating voltage with a light emission voltage (-Vlamp, on-off amplitude, on-off voltage (Vlamp, on)
도 3 및 도 5b를 참조하면, 제어부(120) 입력 전압(Vrect)의 진폭은 도 5a의 경우와 마찬가지로 증가하게 된다. 현재 도 5b에 도시된 제어부 입력 전압(Vrect)은 제2 커패시터(180)에 의하여 단조 증가 증가하는 형태를 보이나, 제2 커패시터(180)가 없는 경우에는 진폭이 점차 증가하는 맥류파형을 나타낸다. 제어부 입력 전압(Vrect)이 점등을 위한 점등 전압(Vignition)보다 커지게 되면, 정류부(100)와 LED부(140)의 연결로 전압 강하가 발생한다. 이렇게 강하된 전압은 LED부(140)에 인가되며, LED를 발광시키기 위한 발광 전압(VF)으로 유지된다. 또한, 제어부 입력 전압(Vrect)이 전압 강하될 때, 제1 스위치(SW1)의 게이트단에는 제1 스위치를 온 시키는 제어 신호가 입력 된다.Referring to FIGS. 3 and 5B, the amplitude of the input voltage Vrect of the
한편, 본 발명에 따른 형광등용 안정기를 이용하는 LED 조명 장치는 다양한 규격과 동작 방식을 가진 안정기와 호환될 수 있다. 이를 위하여, 제어부 입력 전압(Vrect)은 다른 구성들에게 영향을 미치지 않는 범위에서 높을수록 유리하다. 즉, 형광등용 안정기마다 전압 강하를 일으키기 위한 점등 전압의 크기가 다르므로, 본 발명에서도 전압 강하를 일으키는 점등 전압(Vignition)이 높을수록 유리하다. 그러나, 제어부 입력 전압(Vrect)이 너무 높으면 본 발명의 다른 구성들(예를 들면 트랜지스터 등)에게 고장이나 오동작 등의 영향을 미칠 수 있으므로 점등 전압(Vignition)은 이러한 소자들의 특성을 고려한 최대 범위 내로 설정된다. 또한, 점등 전압(Vignition) 값이 너무 낮으면, 전압 강하의 양이 너무 적어서 형광등의 점등 과정의 모사가 충분하지 못할 수 있다. 따라서, 안정기가 정상적으로 동작하지 않을 수 있으므로, 충분한 전압 강하를 위하여 소정의 전압 보다는 크도록 설정된다.Meanwhile, the LED lighting device using the ballast for a fluorescent lamp according to the present invention can be compatible with a ballast having various specifications and operating methods. To this end, the control input voltage Vrect is advantageously increased as far as it does not affect other configurations. That is, since the size of the lighting voltage for causing a voltage drop differs for each fluorescent lamp ballast, the higher the lighting voltage (vignition) causing the voltage drop in the present invention, the better. However, if the control input voltage Vrect is too high, the other components (for example, transistors) of the present invention may be affected by malfunction or malfunction, so that the ignition voltage is within the maximum range considering the characteristics of these elements Respectively. If the ignition voltage value is too low, the amount of the voltage drop is too small to simulate the lighting process of the fluorescent lamp. Therefore, since the ballast may not operate normally, it is set to be larger than a predetermined voltage for sufficient voltage drop.
도 6은 본 발명의 형광등용 안정기를 이용한 LED 조명 장치의 구체적인 회로도이다.6 is a specific circuit diagram of the LED lighting device using the ballast for fluorescent lamp of the present invention.
도 6을 참조하면, 본 발명의 일 실시예에 따른 형광등용 안정기를 이용한 LED 조명 장치는 정류부(100), 제어부(120), LED부(140), 필터부(160) 및 제2 커패시터(180)을 포함할 수 있다.6, an LED lighting apparatus using a ballast for a fluorescent lamp according to an exemplary embodiment of the present invention includes a rectifying
도 6에 도시된 바와 같이, 상기 정류부(100)는 제1 전극 내지 제4 전극(J1~J4)와 연결되며, 각각의 전극(J1~J4)과 정류부(100) 사이에는 접속 저항(JR1~JR4)가 삽입될 수 있다. 종래의 형광등 시스템에서는 접속 단자에 연결되는 필라멘트에서 전압 강하가 발생하였다. 본 발명의 실시예에서는 종래의 형광등 시스템에 일어나는 전압 강하를 모사하기 위하여 제1 전극 내지 제4 전극(J1~J4)와 정류부(100) 사이에 접속 저항들(JR1~JR4)이 연결될 수 있다. 상기 접속 저항들(JR1~JR4)은 상기 접속 단자(CT1, CT2)와 정류부(100)가 단락되는 것을 방지하고, 전압 강하를 일으킨다. 본 발명에서 각각의 접속 저항(JR1~JR4)은 약 1.5옴(Ω) 정도이다. 이로써 LED와 형광등용 안정기와의 호환성을 더욱 높일 수 있다.6, the rectifying
제어부(120)는 제1 단자(N1)와 제3 단자(N3) 사이에 연결되는 제1 저항(R1), 제3 단자(N3)와 제2 단자(N2) 사이에 연결되는 제2 저항(R2), 제3 단자(N3)와 제2 단자(N2) 사이에서 상기 제2 저항(R2)에 병렬로 연결되는 제3 커패시터(134), 일단이 제3 단자(N3)와 연결되고 타단은 제4 단자(N4)에 연결되는 다이악(Diac), 음극이 제4 단자(N4)와 연결되고 양극이 제2 단자(N2)에 연결되는 제너 다이오드(135), 제4 단자(N4)와 제1 스위치(SW1)의 게이트단 사이에 연결되는 게이트 저항(136)을 포함할 수 있다.The
상기 제어부(140)의 구체적인 동작에 대해서 설명하도록 한다.The specific operation of the
도 6에 도시된 바와 같이, 제어부 입력 전압(Vrect)은 제1 저항(R1)과 제2 저항(R2)의 저항비에 따라 전압 강하되어 제1 전압(V1)이 제3 단자(N3)에 인가된다. 상기 제1 전압(V1)은 제3 커패시터(134)에 전하를 저장한다. 다이악(Diac)는 양단에 특정 크기 이상의 전압이 인가되면 단락되는 소자이며, 제너 다이오드는(135)는 제1 스위치(SW1)의 게이트단에 인가되는 전압의 한계값을 정하기 위한 소자로서, 제너 다이오드(135)의 제너 전압은 제1 스위치(SW1)의 게이트단 기준 전압이 된다. 상기 제1 전압(V1)이 다이악(Diac)의 브레이크 오버 전압과 제너 다이오드(135)의 제너 전압의 합보다 크면 다이악(Diac)는 단락되어 제3 커패시터(134)에 저장된 전하는 제1 스위치(SW1)의 게이트단으로 전달되어 제1 스위치(SW1)는 온 상태가 된다. 즉, 제1 전압(V1)에 비례하는 제어부 입력 전압(Vrect)이 특정 전압 이상이 되면, 제1 스위치(SW1)가 온 되어, 전압 강하가 발생하며, LED부(140)가 발광하게 된다. 상기 스위치 제어부(130)의 각 수동 소자들의 소자값은 본 발명의 실시예에 따른 형광등용 안정기를 이용한 LED 발광 장치의 스펙 또는 특성에 따라 달라질 수 있다. 바람직하게는, 제어부 입력 전압(Vrect)은 상기 제1 스위치(SW1)가 정상적으로 작동할 수 있는 허용치 최대치보다는 작으며, 안정기가 정상적으로 작동할 수 있는 전압보다 크게 설정된다.The controller input voltage Vrect is lowered in accordance with the resistance ratio between the first resistor R1 and the second resistor R2 so that the first voltage V1 is applied to the third terminal N3 . The first voltage (V1) stores charge in the third capacitor (134). The diode Diac is a device short-circuited when a voltage of a certain magnitude or more is applied to both ends. The
도 6에서는 수동 소자를 이용하여 구현되는 경우를 예로 설명하였으나, 제어부(120)는 이에 한정되지 않으며, 능동 소자로 구현되거나 하나의 제어칩(control chip)으로 구현될 수 있다.6, the
이상에서 설명한 바와 같이, 본 발명의 일 실시예에 따르면, 형광등용 안정기를 이용한 LED 조명 장치를 손쉽게 구현할 수 있다. 즉, 안정기로부터 전달 되는 전원을 정류하고 정류된 전압이 점등을 위한 점등 전압보다 커지면 정류부(100)와 LED부(140)를 연결하여 형광등의 방전 현상을 모사함으로써, 형광등용 안정기와 호환이 되도록 한다. 즉, 종래의 형광등 시스템에서 형광등의 점등 과정을 재현함으로써, 형광등용 안정기와 LED소자와의 호환성을 극대화 할 수 있다.As described above, according to the embodiment of the present invention, the LED lighting device using the ballast for fluorescent lamp can be easily implemented. That is, when the rectified power is rectified and the rectified voltage is greater than the lighting voltage for lighting, the rectifying
그리고, 본 발명의 형광등용 안정기를 이용한 LED조명 장치는 스위치가 최초에 한 번 턴 온(turn on)되면 LED 조명이 꺼질 때까지 계속 온 상태를 유지하며, LED 조명 장치 내의 다른 회로 구성들에 영향을 미치지 않으므로 다른 회로들과 함께 사용하기가 쉬운 장점이 있다.The LED lighting device using the fluorescent lamp stabilizer of the present invention maintains the on state until the LED lighting is turned off once the switch is turned on for the first time, It is easy to use with other circuits.
이상에서 실시예들에 설명된 특징, 구조, 효과 등은 본 발명의 적어도 하나의 실시예에 포함되며, 반드시 하나의 실시예에만 한정되는 것은 아니다. 나아가, 각 실시예에서 예시된 특징, 구조, 효과 등은 실시예들이 속하는 분야의 통상의 지식을 가지는 자에 의해 다른 실시예들에 대해서도 조합 또는 변형되어 실시 가능하다. 따라서 이러한 조합과 변형에 관계된 내용들은 본 발명의 범위에 포함되는 것으로 해석되어야 할 것이다.The features, structures, effects and the like described in the embodiments are included in at least one embodiment of the present invention and are not necessarily limited to only one embodiment. Furthermore, the features, structures, effects and the like illustrated in the embodiments can be combined and modified by other persons skilled in the art to which the embodiments belong. Therefore, it should be understood that the present invention is not limited to these combinations and modifications.
또한, 이상에서 실시예를 중심으로 설명하였으나 이는 단지 예시일 뿐 본 발명을 한정하는 것이 아니며, 본 발명이 속하는 분야의 통상의 지식을 가진 자라면 본 실시예의 본질적인 특성을 벗어나지 않는 범위에서 이상에 예시되지 않은 여러 가지의 변형과 응용이 가능함을 알 수 있을 것이다. 예를 들어, 실시예에 구체적으로 나타난 각 구성 요소는 변형하여 실시할 수 있는 것이다. 그리고 이러한 변형과 응용에 관계된 차이점들은 첨부된 청구 범위에서 규정하는 본 발명의 범위에 포함되는 것으로 해석되어야 할 것이다.While the present invention has been particularly shown and described with reference to exemplary embodiments thereof, it is clearly understood that the same is by way of illustration and example only and is not to be taken by way of illustration, It can be seen that various modifications and applications are possible. For example, each component specifically shown in the embodiments can be modified and implemented. It is to be understood that all changes and modifications that come within the meaning and range of equivalency of the claims are therefore intended to be embraced therein.
100 : 정류부
120 : 제어부
134 : 제3 커패시터
135 : 제너 다이오드
136 : 게이트 저항
140 : LED부 정류부
160 : 필터부
161 : 제1 인덕터
162 : 제1 커패시터
180 : 제2 커패시터100: rectification part
120:
134: third capacitor
135: Zener diode
136: Gate resistance
140: LED part rectification part
160:
161: first inductor
162: first capacitor
180: second capacitor
| Application Number | Priority Date | Filing Date | Title |
|---|---|---|---|
| KR1020120092169AKR101400369B1 (en) | 2012-08-23 | 2012-08-23 | Led lighting device using ballaster for fluorescent lamp |
| Application Number | Priority Date | Filing Date | Title |
|---|---|---|---|
| KR1020120092169AKR101400369B1 (en) | 2012-08-23 | 2012-08-23 | Led lighting device using ballaster for fluorescent lamp |
| Publication Number | Publication Date |
|---|---|
| KR20140026732Atrue KR20140026732A (en) | 2014-03-06 |
| KR101400369B1 KR101400369B1 (en) | 2014-05-28 |
| Application Number | Title | Priority Date | Filing Date |
|---|---|---|---|
| KR1020120092169AActiveKR101400369B1 (en) | 2012-08-23 | 2012-08-23 | Led lighting device using ballaster for fluorescent lamp |
| Country | Link |
|---|---|
| KR (1) | KR101400369B1 (en) |
| Publication number | Priority date | Publication date | Assignee | Title |
|---|---|---|---|---|
| WO2015142042A1 (en)* | 2014-03-17 | 2015-09-24 | (주)소프트커널 | Fluorescent lamp-compatible led lighting device and electric shock protection apparatus therefor |
| WO2016003055A1 (en)* | 2014-07-04 | 2016-01-07 | 강신중 | Led lamp driving device |
| Publication number | Priority date | Publication date | Assignee | Title |
|---|---|---|---|---|
| KR101652241B1 (en) | 2015-05-27 | 2016-08-31 | (주)아비스 | Light emitting diode lamp |
| KR101632391B1 (en) | 2015-07-15 | 2016-06-21 | 주식회사 케어윈 | Led lamp driver |
| KR20180101699A (en) | 2017-03-05 | 2018-09-13 | 주식회사 경성전자 | Led lighting apparatus with interchangeability of fluorescent lamp |
| Publication number | Priority date | Publication date | Assignee | Title |
|---|---|---|---|---|
| WO2010047447A1 (en)* | 2008-10-25 | 2010-04-29 | Nam Ki-Ho | Led illumination device |
| KR100996670B1 (en)* | 2010-06-08 | 2010-11-25 | 이정항 | Led lighting of electronic stabilizer type |
| KR20120015232A (en)* | 2010-08-11 | 2012-02-21 | 삼성엘이디 주식회사 | Driving circuit for LED lamps and LED lamps |
| Publication number | Priority date | Publication date | Assignee | Title |
|---|---|---|---|---|
| WO2015142042A1 (en)* | 2014-03-17 | 2015-09-24 | (주)소프트커널 | Fluorescent lamp-compatible led lighting device and electric shock protection apparatus therefor |
| US9686835B2 (en) | 2014-03-17 | 2017-06-20 | Softkernel Co., Ltd. | Fluorescent lamp-compatible LED lighting device and electric shock protection apparatus therefor |
| WO2016003055A1 (en)* | 2014-07-04 | 2016-01-07 | 강신중 | Led lamp driving device |
| Publication number | Publication date |
|---|---|
| KR101400369B1 (en) | 2014-05-28 |
| Publication | Publication Date | Title |
|---|---|---|
| KR101382226B1 (en) | Led lighting device using ballaster for fluorescent lamp | |
| JP5266594B1 (en) | LED lamp, lighting device including the LED lamp, and LED lamp current control method | |
| US9839077B2 (en) | LED lighting device using ballast | |
| JP5108994B1 (en) | LED lamp and lighting device including the LED lamp | |
| US8358056B2 (en) | LED fluorescent lamp | |
| CN101720150B (en) | LED driving circuit, LED lighting device, LED lighting equipment and LED lighting system | |
| KR101521834B1 (en) | Led lighting device using ballast | |
| KR101400369B1 (en) | Led lighting device using ballaster for fluorescent lamp | |
| US20160126860A1 (en) | Improvements relating to power adaptors | |
| US9282599B2 (en) | Light-emitting diode lamp compatible with an electronic ballast generating preheating current | |
| CN102655701A (en) | Illumination system | |
| CN109315039B (en) | Ballast-Independent Retrofit LED Lamp with Flicker Reduction Circuitry | |
| TW201545606A (en) | Two-wire dimmer switch | |
| WO2013148888A1 (en) | Dimmer compatiable led bulb driver circuit | |
| CN109792819B (en) | Modified light-emitting diode (LED) lamp tube for realizing step-by-step dimming in multi-lamp lighting system | |
| WO2009107057A1 (en) | Dimming circuit and electronic ballast for a lamp | |
| US7102297B2 (en) | Ballast with end-of-lamp-life protection circuit | |
| JP2017513184A (en) | Fluorescent lamp compatible type LED lighting device and electric shock protection device therefor | |
| CN112566313B (en) | Delay starting circuit and lamp | |
| US20140111112A1 (en) | Led fluorescent lamp | |
| KR101386143B1 (en) | Apparatus and Method for Supplying Power of LED Lighting, and LED Lighting Apparatus Using That | |
| US10182479B1 (en) | Voltage regulation circuit for LED tube | |
| US20140175984A1 (en) | Lighting device with a protection circuit having disable winding | |
| CN106714410B (en) | Dimmable Instant Start Ballast Dimming Control | |
| US8723435B2 (en) | Illumination apparatus, electronic ballast therein and method for protecting the same |
| Date | Code | Title | Description |
|---|---|---|---|
| A201 | Request for examination | ||
| PA0109 | Patent application | Patent event code:PA01091R01D Comment text:Patent Application Patent event date:20120823 | |
| PA0201 | Request for examination | ||
| E902 | Notification of reason for refusal | ||
| PE0902 | Notice of grounds for rejection | Comment text:Notification of reason for refusal Patent event date:20131029 Patent event code:PE09021S01D | |
| PG1501 | Laying open of application | ||
| E701 | Decision to grant or registration of patent right | ||
| PE0701 | Decision of registration | Patent event code:PE07011S01D Comment text:Decision to Grant Registration Patent event date:20140520 | |
| GRNT | Written decision to grant | ||
| PR0701 | Registration of establishment | Comment text:Registration of Establishment Patent event date:20140521 Patent event code:PR07011E01D | |
| PR1002 | Payment of registration fee | Payment date:20140522 End annual number:3 Start annual number:1 | |
| PG1601 | Publication of registration | ||
| FPAY | Annual fee payment | Payment date:20170519 Year of fee payment:4 | |
| PR1001 | Payment of annual fee | Payment date:20170519 Start annual number:4 End annual number:4 | |
| FPAY | Annual fee payment | Payment date:20180514 Year of fee payment:5 | |
| PR1001 | Payment of annual fee | Payment date:20180514 Start annual number:5 End annual number:5 | |
| FPAY | Annual fee payment | Payment date:20190507 Year of fee payment:6 | |
| PR1001 | Payment of annual fee | Payment date:20190507 Start annual number:6 End annual number:6 | |
| PR1001 | Payment of annual fee | Payment date:20200504 Start annual number:7 End annual number:7 | |
| PR1001 | Payment of annual fee | Payment date:20210503 Start annual number:8 End annual number:8 | |
| PR1001 | Payment of annual fee | Payment date:20220504 Start annual number:9 End annual number:9 | |
| PR1001 | Payment of annual fee | Payment date:20240502 Start annual number:11 End annual number:11 |