










본 발명은 패킷 전송 장치 및 방법, 및 패킷 수신 장치 및 방법에 관한 것으로, 보다 상세하게는 MMT(MPEG Media Tranport) 시스템을 위한 타이밍 모델을 기반으로 하는 패킷 전송 장치 및 방법, 및 패킷 수신 장치 및 방법에 관한 것이다.
The present invention relates to a packet transmission apparatus and method, and a packet receiving apparatus and method, and more particularly, to a packet transmission apparatus and method based on a timing model for an MPEG Media Tranport (MMT) system, and a packet receiving apparatus and method. It is about.
MPEG-2 시스템에 있어서, 인코더(encoder)에 들어 있는 모든 픽처 및 오디오 샘플이, 디코더(decoder)의 출력에서, 지속적으로 발생하는 종단간 지연(end to end delay) 이후에, 각각 한번씩 정확히 나타나는 타이밍 모델(timing model)을 구현하기 위한 연구가 진행 중에 있다. 디코딩 시스템이 타이밍 모델이 포함된 컴플리언트(compliant) 비트 스트림(bit stream)을 정확하게 전달하고 받는 것을 고려했을 때, 디코더에서 고품질의 비디오와 오디오 출력의 동기화를 맞추는 것은 그리 어렵지 않다. 반대로, RTP(Real Time Transport Protocol) 타이밍 모델은 실제 표현 시간(actual presentation time)과 관련된 어떠한 타이밍 정보도 가지고 있지 않다. 데이터 패킷 내에 포함된 타임 스탬프(timestamp)는 연관 타이밍(relative timing)을 가지고 있고, RTCP(Real Time Control Protocol) 송신기 리포트(report)는 스트림간(inter-stream) 동기화에 대한 추가 정보를 제공한다. 하지만, RTP는 수신기에서 필요한 버퍼의 용량 또는 패킷의 디코딩 시간에 대한 어떠한 정보도 제공하지 않는다. 따라서, RTP는 송신기 지향적인 플렉서블한 타이밍 모델을 갖는다(수신기에 대한 설명은 플렉서빌리티(flexibility)를 허용하기 위해 의도적으로 특별히 제한하지 않았음). 이에 반해, MPEG-2 시스템은 수신기에 대한 명확한 타이밍 모델을 제공한다. 따라서, MPEG-2 시스템의 타이밍 모델과 RTP 시스템의 타이밍 모델의 요구하는 수신기에 대한 타이밍 모델의 구성의 차이점 때문에 MMT 시스템에서 패킷의 동기화를 맞추기가 어렵고, 이를 위해서는 반드시 복잡한 구성을 갖추어야 하는 문제점이 있다.
In an MPEG-2 system, every picture and audio sample contained in an encoder appears exactly once each after the end-to-end delay, which occurs continuously at the output of the decoder. Research is underway to implement the modeling (timing model). Given that the decoding system correctly delivers and receives a compliant bit stream containing the timing model, it is not too difficult to synchronize the high quality video and audio output at the decoder. In contrast, the Real Time Transport Protocol (RTP) timing model does not have any timing information related to the actual presentation time. The timestamp included in the data packet has relative timing, and the Real Time Control Protocol (RTCP) transmitter report provides additional information about inter-stream synchronization. However, RTP does not provide any information about the capacity of the buffer required at the receiver or the decoding time of the packet. Thus, RTP has a transmitter-oriented flexible timing model (the description of the receiver is not intentionally specifically limited to allow for flexibility). In contrast, the MPEG-2 system provides a clear timing model for the receiver. Therefore, due to the difference between the timing model of the MPEG-2 system and the timing model for the receiver requiring the timing model of the RTP system, it is difficult to match the packet synchronization in the MMT system, which requires a complicated configuration. .
상술한 문제점을 해결하기 위한 본 발명의 목적은 MPEG-2 시스템에서의 타이밍 모델과 RTP 타이밍 모델의 이점을 고려해서 통합된 MMT 시스템의 타이밍 모델을 기반으로 패킷을 전송하는 장치 및 방법, 및 수신하는 장치 및 방법을 제공하는 것이다.SUMMARY OF THE INVENTION An object of the present invention is to provide an apparatus and method for transmitting a packet based on a timing model of an integrated MMT system in consideration of the advantages of the timing model and the RTP timing model in an MPEG-2 system. It is to provide an apparatus and method.
또한, 본 발명의 다른 목적은 MPEG-2 시스템 또는 RTP를 통해 전송되는 패킷 스트림을 네트워크 지터 보상이나 시간 동기화 등에 활용되는 타임 스탬프 정보를 포함하는 새로운 형태의 패킷으로 패킷화하여 전송함으로써, 종래 전송 표준을 거스르지 않고, 동기화를 효과적으로 수행하는 MMT 시스템에서의 패킷 전송 장치 및 방법, 및 패킷 수신 장치 및 방법을 제공하는 것이다.
In addition, another object of the present invention is to transmit a packet stream transmitted through the MPEG-2 system or RTP into a new type of packet including time stamp information used for network jitter compensation, time synchronization, and the like. It is an object of the present invention to provide a packet transmission apparatus and method, and a packet receiving apparatus and method in an MMT system that effectively perform synchronization without countering this.
상기한 목적을 달성하기 위한 MMT 시스템의 패킷 전송 장치는 MMT(MPEG Media Transport) 시스템에서 패킷을 전송하는 장치에 있어서, 입력 픽처를 기반으로 인코딩된 비디오 스트림 및 상기 비디오 스트림에 대응하는 오디오 스트림을 패킷화하여 MMT 패킷을 생성하는 MMT 패킷화부를 포함하되, 상기 MMT 패킷화부는 비디오 및 오디오 인코더의 마스터 프로그램 클락인 STC(System Time Clock) 및 MMT 버퍼링 지연(delay)을 기반으로 생성되는 동기화 정보를 포함하여 상기 MMT 패킷을 생성할 수 있다.A packet transmission apparatus of an MMT system for achieving the above object is a device for transmitting a packet in a MPEG Media Transport (MMT) system, the packet is encoded video stream and the audio stream corresponding to the video stream based on the input picture And an MMT packetizer for generating an MMT packet, wherein the MMT packetizer includes synchronization information generated based on a system time clock (STC) and an MMT buffering delay, which are master program clocks of a video and audio encoder. To generate the MMT packet.
상기 MMT 패킷 전송 장치는 상기 입력 픽처를 인코딩하여 비디오 스트림을 생성하는 비디오 인코더; 상기 인코딩된 비디오 스트림를 저장하고 있는 비디오 버퍼; 및 상기 패킷화된 MMT 패킷을 전송하는 전송부를 더 포함하되, 상기 비디오 버퍼는 일정한 속도(rate)로 상기 비디오 스트림을 출력할 수 있다.The MMT packet transmission apparatus may include a video encoder that encodes the input picture to generate a video stream; A video buffer that stores the encoded video stream; And a transmitter configured to transmit the packetized MMT packet, wherein the video buffer may output the video stream at a constant rate.
상기 MMT 패킷화부는 비디오 버퍼로부터 출력되는 비디오 스트림을 상기 STC를 기반으로 타임 스탬핑함으로써 생성된 MCR(MMT Clock Reference) 타임 스탬프 정보를 포함하여 패킷화할 수 있다.The MMT packetizer may packetize the video stream output from the video buffer including MCR clock reference (MCR) time stamp information generated by time stamping the video stream output from the video buffer.
상기 패킷화부는 상기 MCR 타임 스탬프 정보를 이용하여 상기 MMT 패킷의 전송을 위한 채널에서의 데이터 레이트 및 패킷 레이트 중 적어도 어느 하나를 제어할 수 있다.The packetizer may control at least one of a data rate and a packet rate in a channel for transmitting the MMT packet using the MCR time stamp information.
상기 MMT 패킷화부는 상기 MCR 타임 스탬핑 정보를 상기 MMT 패킷의 D.1 레이어에 삽입할 수 있다.The MMT packetizer may insert the MCR time stamping information into the D.1 layer of the MMT packet.
상기 MMT 패킷화부는 상기 전송 장치에서의 버퍼링 지연과 수신 장치에서의 버퍼링 지연 및 네트워크 지연의 합을 상기 STC를 이용하여 타임 스탬핑된 상기 입력 픽처의 타임 스탬프 값에 더함으로써 생성된 PTS(Presentation Time Stamp) 정보를 포함하여 상기 MMT 패킷을 생성할 수 있다.The MMT packetization unit generates a PTS (Presentation Time Stamp) generated by adding a sum of a buffering delay at the transmitting apparatus, a buffering delay at the receiving apparatus, and a network delay to a time stamp value of the input picture time stamped using the STC. ) May be generated to include the MMT packet.
상기 MMT 패킷화부는 상기 PTS 정보를 상기 MMT 패킷의 E.3 레이어에 삽입할 수 있다.The MMT packetizer may insert the PTS information into the E.3 layer of the MMT packet.
상기 STC 값은 프로그램에 따라 다르고, 상기 MMT 패킷화부는 서로 다른 STC를 갖는 서로 다른 프로그램들을 멀티플렉싱할 수 있다.The STC value varies depending on a program, and the MMT packetizer may multiplex different programs having different STCs.
상기한 목적을 달성하기 위한 MMT 시스템의 패킷 전송 방법은 MMT 시스템에서 패킷을 전송하는 방법에 있어서, 입력 픽처를 기반으로 인코딩된 비디오 스트림 및 상기 비디오 스트림에 대응하는 오디오 스트림을 패킷화하여 MMT 패킷을 생성하는 MMT 패킷화 단계를 포함하되, 상기 MMT 패킷화 단계는 비디오 인코더의 마스터 프로그램 클락인 STC(System Time Clock) 값 및 MMT 버퍼링 지연(delay)을 기반으로 생성되는 동기화 정보를 포함하여 상기 MMT 패킷을 생성하는 단계를 포함할 수 있다.In the packet transmission method of the MMT system for achieving the above object, in the method for transmitting a packet in the MMT system, MMT packet by packetizing the encoded video stream and the audio stream corresponding to the video stream based on the input picture And generating an MMT packetization step, wherein the MMT packetization step includes the MMT packet including synchronization information generated based on an STC (System Time Clock) value, which is a master program clock of a video encoder, and an MMT buffering delay. It may include the step of generating.
상기한 목적을 달성하기 위한 MMT 시스템의 패킷 수신 장치는 MMT(MPEG Media Transport) 시스템에서 패킷을 수신하는 장치에 있어서, 수신된 MMT 패킷을 디패킷화하여 비디오 스트림과 오디오 스트림을 생성하는 MMT 디패킷화부를 포함하되, 상기 MMT 디패킷화부는 상기 MMT 패킷에 포함된, 비디오 인코더의 마스터 프로그램 클락인 STC(System Time Clock) 값과 MMT 버퍼링 지연을 기반으로 생성된 동기화 정보를 이용하여 네트워크 지터를 추정하여 상기 MMT 패킷을 디지터링(dejittering)하는 MMT 패킷 디지터링부를 포함할 수 있다.A packet receiving apparatus of an MMT system for achieving the above object is an apparatus for receiving a packet in an MPEG Media Transport (MMT) system, the MMT depacket to depacketize the received MMT packet to generate a video stream and an audio stream The MMT depacketization unit includes a video unit, and estimates network jitter using synchronization information generated based on an STC (System Time Clock) value, which is a master program clock of a video encoder, included in the MMT packet, and an MMT buffering delay. And an MMT packet digitizing unit for digitizing the MMT packet.
상기 패킷 수신 장치는 상기 비디오 스트림을 저장하는 비디오 버퍼; 상기 비디오 스트림을 디코딩하는 비디오 디코더; 및 디스플레이를 위해 상기 디코딩된 비디오 픽처를 재정렬하는 재정렬 버퍼(reorder buffer)를 더 포함할 수 있다.The packet receiving apparatus includes a video buffer for storing the video stream; A video decoder for decoding the video stream; And a reorder buffer for reordering the decoded video picture for display.
상기 MMT 패킷 디지터링부는 상기 동기화 정보 중 MCR(MMT Clock Reference) 타임 스탬프 정보와 상기 STC 값을 이용하여 상기 MMT 패킷의 도착 예정 시간과 실제 도착 시간과의 차이값을 계산하는 차이값 계산부; 상기 차이값을 기반으로 상기 네트워크 지터의 크기를 추정하는 네트워크 지터 추정부; 및 상기 추정된 네트워크 지터의 크기를 이용하여 상기 MMT 패킷을 디지터링하여 동기화를 수행하는 디지터링부를 포함할 수 있다.The MMT packet digitizing unit calculates a difference value between an estimated arrival time of the MMT packet and an actual arrival time using MCR clock reference (MCR) time stamp information among the synchronization information and the STC value; A network jitter estimator for estimating the size of the network jitter based on the difference value; And a digitizer configured to perform synchronization by digitizing the MMT packet using the estimated size of network jitter.
상기 MMT 패킷 디지터링부는 인코딩된 MCR 타임 스탬프 정보가 수신되기 전에 디지터링 동작을 수행할 수 있다.The MMT packet digitizing unit may perform a digitizing operation before the encoded MCR time stamp information is received.
상기 MMT 패킷 디지터링부는 상기 수신된 MMT 패킷의 D.1 레이어의 헤더로부터 상기 MCR 타임 스탬프 정보를 추출할 수 있다.The MMT packet digitizing unit may extract the MCR time stamp information from the header of the D.1 layer of the received MMT packet.
상기 MMT 디패킷화부는 상기 MMT 패킷에 포함된 PTS(Presentation Time Stamp) 정보와 상기 STC 값을 비교하여 상기 비디오 픽처가 I 픽처인지, P 픽처인지 B 픽처인지에 관한 정보를 생성할 수 있다.The MMT depacketizer may generate information on whether the video picture is an I picture, a P picture, or a B picture by comparing PTS (Presentation Time Stamp) information included in the MMT packet with the STC value.
상기 비디오 픽처가 I 픽처 또는 P 픽처로만 구성된 경우, 상기 MMT 디패킷화부는 상기 PTS 정보를 파싱하여 상기 비디오 스트림이 상기 비디오 버퍼로부터 출력되어 디코딩되는 시간 정보를 생성할 수 있다.When the video picture includes only an I picture or a P picture, the MMT depacketizer may parse the PTS information to generate time information when the video stream is output from the video buffer and decoded.
상기 비디오 픽처에 B 픽처가 포함된 경우, 상기 MMT 디패킷화부는 상기 PTS 정보를 파싱하여, 상기 디코딩된 비디오 픽처가 상기 재정렬 버퍼로부터 출력되어 디스플레이되는 시간 정보를 생성할 수 있다.When the B picture is included in the video picture, the MMT depacketizer may parse the PTS information to generate time information that is output from the reordering buffer to the decoded video picture.
상기 MMT 디패킷화부는 상기 수신된 MMT 패킷의 E.3 레이어로부터 상기 PTS 정보를 파싱할 수 있다.The MMT depacketizer may parse the PTS information from the E.3 layer of the received MMT packet.
상기한 목적을 달성하기 위한 MMT 시스템의 패킷 수신 방법은 MMT(MPEG Media Transport) 시스템에서 패킷을 수신하는 방법에 있어서, 수신된 MMT 패킷을 디패킷화하여 비디오 스트림과 오디오 스트림을 생성하는 MMT 디패킷화 단계를 포함하되, 상기 MMT 디패킷화 단계는 상기 MMT 패킷에 포함된 MCR 정보를 이용하여 네트워크 지터를 추정하여 상기 MMT 패킷을 디지터링(dejittering)하는 MMT 패킷 디지터링 단계를 포함할 수 있다.A packet receiving method of an MMT system for achieving the above object is a method of receiving a packet in an MPEG Media Transport (MMT) system, the MMT depacket to depacketize the received MMT packet to generate a video stream and an audio stream The MMT depacketizing step may include an MMT packet digitizing step of digitizing the MMT packet by estimating network jitter using MCR information included in the MMT packet.
상기 MMT 디패킷화 단계는 상기 MMT 패킷에 포함된 PTS(Presentation Time Stamp) 정보를 이용하여 상기 비디오 스트림이 디코딩되는 시간 정보 및 상기 디코딩된 비디오 픽처가 디스플레이되는 시간 정보 중 적어도 어느 하나를 생성하는 단계를 포함할 수 있다.
The MMT depacketizing step includes generating at least one of time information at which the video stream is decoded and time information at which the decoded video picture is displayed using PTS (Presentation Time Stamp) information included in the MMT packet. It may include.
본 발명의 MMT 시스템에서의 패킷 전송 장치 및 방법, 및 패킷 수신 장치 및 방법에 따르면, 여러 미디어 소스의 동기화 및 패킷 도착 지터 측정뿐만 아니라, MMT 전송 장치/수신 장치 STC 클락 록킹(clock locking)을 달성하는 효과가 있다.According to the packet transmission apparatus and method, and the packet reception apparatus and method in the MMT system of the present invention, as well as synchronization and packet arrival jitter measurement of various media sources, the MMT transmission apparatus / receiver STC clock locking is achieved. It is effective.
또한, 본 발명의 MMT 시스템에서의 패킷 전송 장치 및 방법, 및 패킷 수신 장치 및 방법에 따르면, 종래 표준을 거스르지않고, MPEG-2 시스템 또는 RTP를 통해 전송되는 패킷의 동기화를 효율적으로 수행할 수 있다는 효과가 있다.
In addition, according to the packet transmission apparatus and method, and the packet reception apparatus and method in the MMT system of the present invention, it is possible to efficiently perform the synchronization of packets transmitted through the MPEG-2 system or RTP without violating the conventional standard. It works.
도 1a는 MMT 계층 구조를 나타낸 개념도,
도 1b는 MMT 시스템에서의 패킷 전송 장치 및 패킷 수신 장치의 전송 지연을 설명하기 위한 개념도,
도 2는 본 발명의 일 실시예에 따른 MMT 시스템에서의 패킷 전송 장치의 구성을 개략적으로 나타낸 블록도,
도 3은 MMT의 D 레이어(layer) 페이로드(payload)로의 MPEG TS 패킷의 캡슐화(encapsulation)를 설명하기 위한 개념도,
도 4는 TS 패킷 헤더 내에 MCR 정보를 갖는 MPEG TS 패킷을 포함하는 MMT 패킷을 나타낸 도면,
도 5는 D 레이어 헤더 내에 존재하는 MCR 타임 스탬프 정보를 나타낸 도면,
도 6은 본 발명의 일 실시예에 따른 MMT 시스템에서의 패킷 수신 장치의 구성을 개략적으로 나타낸 블록도,
도 7은 본 발명의 일 실시예에 따른 MMT 시스템에서의 패킷 수신 장치의 MMT 디패킷화부를 구체적으로 나타낸 상세블록도,
도 8은 본 발명의 일 실시예에 따른 MMT 시스템에서의 패킷 수신 장치의 MMT 패킷 디지터링부를 구체적으로 나타낸 상세블록도,
도 9는 본 발명의 다른 실시예에 따른 MMT 시스템에서의 패킷 수신 장치의 MMT 디패킷화부와 MPEG-2 TS 패킷들을 위한 수신기 버퍼 모델과의 연동 관계를 설명하기 위한 도면,
도 10은 본 발명의 일 실시예에 따른 MMT 시스템에서의 패킷 수신 장치의 MMT 디패킷화부에서 MCR 정보를 파싱하여 비디오 픽처에 따른 동기화를 처리하는 방법을 설명하기 위한 흐름도이다.1A is a conceptual diagram illustrating an MMT hierarchical structure;
1B is a conceptual diagram illustrating a transmission delay of a packet transmitter and a packet receiver in an MMT system;
2 is a block diagram schematically showing the configuration of a packet transmission apparatus in an MMT system according to an embodiment of the present invention;
3 is a conceptual diagram illustrating encapsulation of an MPEG TS packet into a D layer payload of an MMT;
4 illustrates an MMT packet including an MPEG TS packet having MCR information in a TS packet header;
5 is a diagram illustrating MCR time stamp information existing in a D layer header;
6 is a block diagram schematically showing the configuration of a packet receiving apparatus in an MMT system according to an embodiment of the present invention;
7 is a detailed block diagram illustrating an MMT depacketization unit of a packet receiving apparatus in an MMT system according to an embodiment of the present invention;
8 is a detailed block diagram illustrating in detail an MMT packet digitizing unit of a packet receiving apparatus in an MMT system according to an embodiment of the present invention;
9 is a view for explaining an interlocking relationship between an MMT depacketizer and a receiver buffer model for MPEG-2 TS packets in a packet receiving apparatus in an MMT system according to another embodiment of the present invention;
10 is a flowchart illustrating a method of processing synchronization according to a video picture by parsing MCR information in an MMT depacketizer of a packet receiving apparatus in an MMT system according to an embodiment of the present invention.
본 발명은 다양한 변경을 가할 수 있고 여러 가지 실시예를 가질 수 있는 바, 특정 실시예들을 도면에 예시하고 상세하게 설명하고자 한다.While the invention is susceptible to various modifications and alternative forms, specific embodiments thereof are shown by way of example in the drawings and will herein be described in detail.
그러나, 이는 본 발명을 특정한 실시 형태에 대해 한정하려는 것이 아니며, 본 발명의 사상 및 기술 범위에 포함되는 모든 변경, 균등물 내지 대체물을 포함하는 것으로 이해되어야 한다.It should be understood, however, that the invention is not intended to be limited to the particular embodiments, but includes all modifications, equivalents, and alternatives falling within the spirit and scope of the invention.
제1, 제2 등의 용어는 다양한 구성요소들을 설명하는데 사용될 수 있지만, 상기 구성요소들은 상기 용어들에 의해 한정되어서는 안 된다. 상기 용어들은 하나의 구성요소를 다른 구성요소로부터 구별하는 목적으로만 사용된다. 예를 들어, 본 발명의 권리 범위를 벗어나지 않으면서 제1 구성요소는 제2 구성요소로 명명될 수 있고, 유사하게 제2 구성요소도 제1 구성요소로 명명될 수 있다. 및/또는 이라는 용어는 복수의 관련된 기재된 항목들의 조합 또는 복수의 관련된 기재된 항목들 중의 어느 항목을 포함한다.The terms first, second, etc. may be used to describe various components, but the components should not be limited by the terms. The terms are used only for the purpose of distinguishing one component from another. For example, without departing from the scope of the present invention, the first component may be referred to as a second component, and similarly, the second component may also be referred to as a first component. And / or < / RTI > includes any combination of a plurality of related listed items or any of a plurality of related listed items.
어떤 구성요소가 다른 구성요소에 "연결되어" 있다거나 "접속되어" 있다고 언급된 때에는, 그 다른 구성요소에 직접적으로 연결되어 있거나 또는 접속되어 있을 수도 있지만, 중간에 다른 구성요소가 존재할 수도 있다고 이해되어야 할 것이다. 반면에, 어떤 구성요소가 다른 구성요소에 "직접 연결되어" 있다거나 "직접 접속되어" 있다고 언급된 때에는, 중간에 다른 구성요소가 존재하지 않는 것으로 이해되어야 할 것이다.When a component is referred to as being "connected" or "connected" to another component, it may be directly connected to or connected to that other component, but it may be understood that other components may be present in between. Should be. On the other hand, when an element is referred to as being "directly connected" or "directly connected" to another element, it should be understood that there are no other elements in between.
본 출원에서 사용한 용어는 단지 특정한 실시예를 설명하기 위해 사용된 것으로, 본 발명을 한정하려는 의도가 아니다. 단수의 표현은 문맥상 명백하게 다르게 뜻하지 않는 한, 복수의 표현을 포함한다. 본 출원에서, "포함하다" 또는 "가지다" 등의 용어는 명세서상에 기재된 특징, 숫자, 단계, 동작, 구성요소, 부품 또는 이들을 조합한 것이 존재함을 지정하려는 것이지, 하나 또는 그 이상의 다른 특징들이나 숫자, 단계, 동작, 구성요소, 부품 또는 이들을 조합한 것들의 존재 또는 부가 가능성을 미리 배제하지 않는 것으로 이해되어야 한다.The terminology used herein is for the purpose of describing particular example embodiments only and is not intended to be limiting of the present invention. Singular expressions include plural expressions unless the context clearly indicates otherwise. In this application, the terms "comprise" or "have" are intended to indicate that there is a feature, number, step, operation, component, part, or combination thereof described in the specification, and one or more other features. It is to be understood that the present invention does not exclude the possibility of the presence or the addition of numbers, steps, operations, components, components, or a combination thereof.
다르게 정의되지 않는 한, 기술적이거나 과학적인 용어를 포함해서 여기서 사용되는 모든 용어들은 본 발명이 속하는 기술 분야에서 통상의 지식을 가진 자에 의해 일반적으로 이해되는 것과 동일한 의미를 가지고 있다. 일반적으로 사용되는 사전에 정의되어 있는 것과 같은 용어들은 관련 기술의 문맥 상 가지는 의미와 일치하는 의미를 가진 것으로 해석되어야 하며, 본 출원에서 명백하게 정의하지 않는 한, 이상적이거나 과도하게 형식적인 의미로 해석되지 않는다.Unless defined otherwise, all terms used herein, including technical or scientific terms, have the same meaning as commonly understood by one of ordinary skill in the art. Terms such as those defined in commonly used dictionaries should be interpreted as having a meaning consistent with the meaning in the context of the relevant art and are to be interpreted in an ideal or overly formal sense unless explicitly defined in the present application Do not.
이하, 첨부한 도면들을 참조하여, 본 발명의 바람직한 실시예를 보다 상세하게 설명하고자 한다. 본 발명을 설명함에 있어 전체적인 이해를 용이하게 하기 위하여 도면상의 동일한 구성요소에 대해서는 동일한 참조부호를 사용하고 동일한 구성요소에 대해서 중복된 설명은 생략한다.
Hereinafter, preferred embodiments of the present invention will be described in detail with reference to the accompanying drawings. In order to facilitate the understanding of the present invention, the same reference numerals are used for the same constituent elements in the drawings and redundant explanations for the same constituent elements are omitted.
MMTMMT 계층 구조 Hierarchy
도 1a는 MMT 계층 구조를 나타낸 개념도이다.1A is a conceptual diagram illustrating an MMT hierarchical structure.
도 1a를 참조하면, MMT 계층은 캡슐화 계층(Encapsulation layer), 전달 계층(Delivery layer) 및 S 계층(S layer)의 기능 영역(functional area)을 포함한다. MMT 계층은 전송 계층(Transport layer) 위에서 동작한다.Referring to FIG. 1A, the MMT layer includes an encapsulation layer, a delivery layer, and a functional area of the S layer. The MMT layer operates on a transport layer.
캡슐화 계층(Encapsulation layer; E-layer)은 예를 들어 전송되는 미디어의 패킷화(packetization), 프래그먼테이션(Fragmentation), 동기화(Synchronization), 멀티플렉싱(Multiplexing)등의 기능을 담당할 수 있다.The encapsulation layer (E-layer) can perform functions such as packetization, fragmentation, synchronization, and multiplexing of the transmitted media, for example.
캡슐화 계층(E-layer)은, 도 1a에 도시된 바와 같이, MMT E.1 계층(MMT E.1 Layer), MMT E.2 계층(MMT E.2 Layer) 및 MMT E.3 계층(MMT E.3 Layer)으로 구성될 수 있다.Encapsulation layer (E-layer), as shown in Figure 1a, MMT E.1 Layer (MMT E.1 Layer), MMT E.2 Layer (MMT E.2 Layer) and MMT E.3 Layer (MMT) E.3 Layer).
E.3 계층은 미디어 코덱(A) 계층으로부터 제공된 미디어 프래그먼트 유닛(Media Fragment Unit; MFU)를 캡슐화하여 M-유닛(M-Unit)을 생성한다.The E.3 layer encapsulates a Media Fragment Unit (MFU) provided from the Media Codec (A) layer to create an M-Unit.
MFU는 미디어 디코더에서 독립적으로 소비될 수 있는 데이터 유닛을 싣을 수 있는, 임의의 특정 코덱(codec)에 독립적인, 포맷을 가질 수 있다. MFU는 예를 들어 비디오의 픽춰(picture) 또는 슬라이스(slice)가 될 수 있다.The MFU may have a format, independent of any particular codec, that can carry data units that can be consumed independently in the media decoder. The MFU can be, for example, a picture or slice of the video.
M-유닛은 하나 또는 복수의 MFU 로 구성될 수 있으며, 하나 또는 복수의 액세스 유닛(Access Unit)을 싣을 수 있는, 특정 코덱(codec)에 독립적인, 포맷을 가질 수 있다.The M-unit may consist of one or a plurality of MFUs and may have a format, independent of a particular codec, that may carry one or a plurality of access units.
E.2 계층은 E.3 계층에서 생성된 M-유닛을 캡슐화하여 MMT 애셋(MMT Asset)을 생성한다.The E.2 layer encapsulates the M-units created in the E.3 layer to create an MMT asset.
MMT 애셋은 단일의 데이터 소스로부터의 하나 또는 복수의 M-유닛으로 이루어진 데이터 엔티티(data entity)로서, 컴포지션 정보(composition information) 및 전송 특성(transport characteristics)이 정의된 데이터 유닛이다. MMT 애셋은 PES(packetized elementary streams)에 대응될 수 있으며, 예를 들어 비디오, 오디오, 프로그램 정보(program information), MPEG-U 위젯(widget), JPEG 이미지, MPEG 4 파일 포맷(File Format), M2TS(MPEG transport stream)등에 대응될 수 있다.An MMT asset is a data entity composed of one or a plurality of M-units from a single data source and is a data unit in which composition information and transport characteristics are defined. MMT assets can correspond to packetized elementary streams (PES), for example video, audio, program information, MPEG-U widgets, JPEG images, MPEG 4 file format, M2TS (MPEG transport stream), etc.
E.1 계층(E.1 Layer)은 E.2 계층에서 생성된 MMT 애셋을 캡슐화하여 MMT 패키지(MMT Package)를 생성한다.E.1 Layer (E.1 Layer) encapsulates MMT asset created in E.2 layer to create MMT Package (MMT Package).
MMT 패키지는 콤포지션 정보(composition information) 및 전송 특성(transport characteristics)과 같은 부가 정보와 함께 하나 또는 복수의 MMT 애셋으로 구성될 수 있다. 콤포지션 정보(composition information)는 MMT 애셋들 사이의 관계(relationship)에 대한 정보를 포함하며, 하나의 컨텐츠(content)가 복수개의 MMT 패키지로 이루어질 경우 복수의 MMT 패키지간의 관계(relationship)를 나타내기 위한 정보를 더 포함할 수 있다. 전송 특성(transport characteristics)은 MMT 애셋 또는 MMT 패킷의 전송 조건(delivery condition)을 결정하기 위해 필요한 전송 특성 정보를 포함할 수 있으며, 예를 들어 트래픽 기술 파라미터(traffic description parameter) 및 QoS 기술자(QoS descriptor)를 포함할 수 있다. MMT 패키지는 MPEG-2 TS의 프로그램(Program)에 대응될 수 있다.
The MMT package may be composed of one or more MMT assets together with additional information such as composition information and transport characteristics. Composition information includes information about a relationship between MMT assets, and when one content consists of a plurality of MMT packages, it indicates a relationship between a plurality of MMT packages. It may further include information. The transport characteristics may include transmission characteristic information necessary for determining a delivery condition of an MMT asset or an MMT packet, and may include, for example, a traffic description parameter and a QoS descriptor. ) May be included. The MMT package may correspond to a program of MPEG-2 TS.
전달 계층(Delivery layer)은 예를 들어 네트워크를 통해 전송되는 미디어의 네트워크 플로우 멀티플렉싱(Network flow multiplexing), 네트워크 패킷화(Network packetization), QoS 제어 등을 수행할 수 있다.The delivery layer may perform, for example, network flow multiplexing, network packetization, and QoS control of media transmitted through a network.
전달 계층 (D-layer)은, 도 1a에 도시된 바와 같이, MMT D.1 계층(MMT D.1 Layer), MMT D.2 계층(MMT D.2 Layer) 및 MMT D.3 계층(MMT D.3 Layer)으로 구성될 수 있다.The transport layer (D-layer) is, as shown in Figure 1a, MMT D.1 Layer (MMT D.1 Layer), MMT D.2 Layer (MMT D.2 Layer) and MMT D.3 Layer (MMT) D.3 Layer).
D.1 계층(D.1-layer)은 E.1 계층에서 생성된 MMT 패키지를 받아서 MMT 페이로드 포맷(MMT Payload format)을 생성한다. MMT 페이로드 포맷은 MMT 애셋을 전송하고, 그리고 MMT 애플리케이션 프로토콜 또는 RTP와 같은 다른 기존의 애플리케이션 전송 프로토콜에 의한 소비를 위한 정보를 전송하기 위한 페이로드 포맷이다. MMT 페이로드는 AL-FEC와 같은 정보와 함께 MFU의 프래그먼트를 포함할 수 있다.The D.1 layer receives the MMT package generated in the E.1 layer and generates an MMT payload format. The MMT payload format is a payload format for carrying MMT assets and for transmitting information for consumption by the MMT application protocol or other existing application transport protocol such as RTP. The MMT payload may contain fragments of MFUs with information such as AL-FEC.
D.2 계층(D.2-layer)은 D.1 계층에서 생성된 MMT 페이로드 포맷을 받아서 MMT 전송 패킷(MMT Transport Packet) 또는 MMT 패킷(MMT Packet)를 생성한다. MMT 전송 패킷 또는 MMT 패킷은 MMT를 위한 애플리케이션 전송 프로토콜에 사용되는 데이터 포맷이다.The D.2 layer receives the MMT payload format generated in the D.1 layer and generates an MMT transport packet or an MMT packet. The MMT transport packet or MMT packet is a data format used in an application transport protocol for MMT.
D.3 계층(D.3-layer)은 교차 계층 설계(cross-layer Design)에 의해 계층간에 정보를 교환할 수 있는 기능을 제공하여 QoS를 지원한다. 예를 들어, D.3 계층은 MAC/PHY 계층의 QoS 파라미터를 이용하여 QoS 제어를 수행할 수 있다.
D.3 layer (D.3-layer) supports QoS by providing the function of exchanging information between layers by cross-layer design. For example, the D.3 layer may perform QoS control using QoS parameters of the MAC / PHY layer.
S 계층(S layer)은 시그널링 기능(signaling function)을 수행한다. 예를 들어 전송되는 미디어의 세션 초기화/제어/관리(session initialization/control/management), 서버 기반 및/또는 클라이언트 기반의 트릭 모드, 서비스 디스커버리(Service discovery), 동기화(Synchronization) 등을 위한 시그널링 기능을 수행할 수 있다.The S layer performs a signaling function. For example, signaling functions for session initialization / control / management of transmitted media, server-based and / or client-based trick modes, service discovery, synchronization, etc. Can be done.
S 계층(S layer)은, 도 1a에 도시된 바와 같이, MMT S.1 계층(MMT S.1 Layer) 및 MMT S.2 계층(MMT S.2 Layer)으로 구성될 수 있다.As shown in FIG. 1A, the S layer may be configured of an MMT S.1 layer and an MMT S.2 layer.
S.1 계층은 서비스 디스커버리(Service discovery), 미디어의 세션 초기화/종료(media session initialization/termination), 미디어의 세션 표현/제어(media session presentation/control), 전달(D) 계층 및 캡슐화(E) 계층과의 인터페이스 기능 등을 수행할 수 있다. S.1 계층은 미디어 표현 세션 관리(presentation session management)를 위한 애플리케이션들간의 제어 메시지들의 포맷을 정의할 수 있다.The S.1 layer consists of service discovery, media session initialization / termination, media session presentation / control, transport layer (D) and encapsulation (E) And an interface function with the layer. The S.1 layer may define the format of control messages between applications for media presentation session management.
S.2 계층은 흐름 제어(flow control), 전달 세션 관리(delivery session management), 전달 세션 모니터링(delivery session monitoring), 에러 제어(error control), 하이브리드망 동기화 제어(Hybrid network synchronization control)에 관한 전달 계층(D-layer)의 전달 엔드-포인트들(delivery end-points)간에 교환되는 제어 메시지의 포맷을 정의할 수 있다.The S.2 layer is responsible for flow control, delivery session management, delivery session monitoring, error control, and hybrid network synchronization control. It is possible to define the format of the control message exchanged between delivery end-points of the D-layer.
S.2 계층은 전달 계층의 동작을 지원하기 위하여 전달 세션 설정 및 해제(delivery session establishment and release), 전달 세션 모니터링, 흐름 제어, 에러 제어, 설정된 전달 세션에 대한 리소스 예약, 복합 전달 환경하에서의 동기화를 위한 시그널링, 적응적 전달(adaptive delivery)를 위한 시그널링을 포함할 수 있다. 송신측(sender)와 수신측(receiver)간에 필요한 시그널링을 제공할 수 있다. 즉, S.2 계층은 전술한 바와 같은 전달 계층의 동작을 지원하기 위하여 송신측(sender)와 수신측(receiver)간에 필요한 시그널링을 제공할 수 있다. 또한, S.2 계층은 전달 계층 및 캡슐화 계층과의 인터페이스 기능을 담당할 수 있다.
The S.2 layer supports delivery session establishment and release, delivery session monitoring, flow control, error control, resource scheduling for established delivery sessions, and synchronization in a complex delivery environment to support the behavior of the delivery layer. Signaling for adaptive delivery, and signaling for adaptive delivery. Required signaling may be provided between a sender and a receiver. That is, the S.2 layer may provide signaling required between the sender and the receiver in order to support the operation of the transport layer as described above. In addition, the S.2 layer may be responsible for interfacing with the transport layer and the encapsulation layer.
단일 미디어 스트림 또는 서로 다른 미디어 스트림의 패킷 간의 타이밍 관계를 유지하는 것은 MMT(MPEG Media Transport) 시스템에서는 필수적인 요소이다. MMT 시스템은 MMT 패킷 간의 동기화 시간을 보장하기 위한 타이밍 관계를 다시 조절하기 위한 것으로 동기화 기능 및 디지터링 알고리즘(de-jittering algorithms)을 갖고 있다. MMT 시스템을 위한 타이밍 모델은 MPEG 시스템 표준 중 어느 하나로부터 확장된 개념이고, 이는 RTP(Real Time Transport Protocol) 기반 스트리밍 시스템과 유사한 네트워크 디지터(de-jitter) 추정 함수를 활용한다.
Maintaining a timing relationship between packets of a single media stream or different media streams is an essential element in MPEG Media Transport (MMT) systems. The MMT system re-adjusts the timing relationship for ensuring synchronization time between MMT packets, and has synchronization functions and de-jittering algorithms. The timing model for the MMT system is an extended concept from any of the MPEG system standards, which utilizes a network de-jitter estimation function similar to a real time transport protocol (RTP) based streaming system.
MMTMMT 시스템에서의 지연 Delay in the system
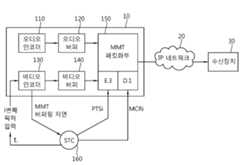
도 1b는 MMT 시스템에서의 패킷 전송 장치 및 패킷 수신 장치의 전송 지연을 설명하기 위한 개념도이다. 도 1b에 도시된 바와 같이, 본 발명의 일 실시예에 따른 패킷 전송 장치 및 패킷 수신 장치는 일정한 데이터 지연을 가지고 패킷을 송수신한다.1B is a conceptual diagram illustrating a transmission delay of a packet transmitter and a packet receiver in an MMT system. As shown in FIG. 1B, the packet transmission apparatus and the packet reception apparatus according to an embodiment of the present invention transmit and receive packets with a constant data delay.
도 1b를 참조하면, MMT 시스템은 전송 장치(10), IP 네트워크(20) 및 수신장치(30)를 포함할 수 있다. 전송 장치(10)는 입력되는 픽처를 패킷화하여 MMT 패킷을 생성하여 수신 장치(30)로 전송한다. IP 네트워크(20)는 무선 네트워크일 수 있다.Referring to FIG. 1B, the MMT system may include a
이때, 송신 장치(10)는 비디오 인코더에서 인코딩된 비디오 스트림을 패킷화 할 때, 오디오 스트림과의 동기화를 맞추기 위해, 버퍼링한다. 따라서, 송신 장치(10)에서는 버퍼링에 의해 지연(DS,i)이 발생한다. 또한, IP 네트워크(20)에서도 전송 경로 상에서 지연(DN,i)이 발생할 수 있다. 수신 장치(30) 역시 MMT 패킷을 수신하고 나서 수신된 패킷을 디코딩할 때까지 버퍼링을 해야하고, 디코딩된 데이터 중 B 픽처가 포함되어 있으면, 순서를 재정렬해야 하기 때문에 버퍼링이 필요하므로 이에 따른 지연(DR,i)이 발생한다. 이러한 지연들로 인해, 실시간으로 방송되는 서비스에 있어서, 오디오 데이터와 비디오 데이터 간의 동기화가 문제될 수 있다.At this time, the
따라서, 본 발명의 일 실시예에 따르면, 상기한 바와 같은 송신 장치(10)에서의 지연(DS,i), 네트워크(20)에서의 지연(DN,i) 및 수신 장치(30)에서의 지연(DR,i)을 통합하여 전체 지연(DT,i)을 구하고, 구해진 지연(DT,i)을 고려하여 수신된 영상이 디스플레이되는 표현 정보 시간을 결정하므로써 동기화 문제를 해결할 수 있다. 따라서, 본 발명의 송신 장치(10)는 상기와 같은 동기화 파라미터를 포함하는 형태로 패킷을 전송하고, 수신 장치(30)는 상기 패킷을 수신하면, 동기화 파라미터를 추출하여 동기화를 맞추어 디코딩을 수행할 수 있다.
Therefore, according to an embodiment of the present invention, the delay DS, i in the transmitting
MMTMMT 패킷 전송 장치 Packet transmitter
도 2는 본 발명의 일 실시예에 따른 MMT 시스템에서의 패킷 전송 장치(10)의 구성을 개략적으로 나타낸 블록도이다. 본 발명의 일 실시예에 따른 패킷 전송 장치(10)는 오디오 인코더(110), 오디오 버퍼(120), 비디오 인코더(130), 비디오 버퍼(140), MMT 패킷화부(150) 및 STC(160: System Time Clock)를 포함할 수 있다.2 is a block diagram schematically illustrating a configuration of a
도 2를 참조하면, 오디오 인코더(110)는 수신 장치(30)로 전송할 컨텐츠의 오디오 블록을 인코딩하여 오디오 스트림을 생성한다. 그리고, 오디오 버퍼(120)는 인코딩된 오디오 스트림이 MMT 패킷화부(150)에서 패킷화될 때까지 저장하고 있다. 실시간으로 전송되는 서비스에서는, 오디오 버퍼(120)는 오디오 인코더(110)로부터 일정하지 않게 출력되어 나오는 오디오 데이터를 입력으로 수신하여, 일정한 레이트로 출력할 수 있다. 그렇게 함으로써 MMT 패킷화부(150)에서 일정한 레이트로 입력되는 비디오 스트림과의 패킷화를 보다 용이하게 하도록 유도할 수 있다.Referring to FIG. 2, the
비디오 인코더(130)는 픽처를 입력으로 받아 인코딩을 수행하여 비디오 스트림을 생성한다. 비디오 버퍼(140)는 인코딩된 비디오 스트림을 저장하고 있다가 MMT 패킷화부(150)로 전송한다.The
MMT 패킷화부(150)는 비디오 스트림과 상기 비디오 스트림과 대응하는 오디오 스트림을 패킷화하여 MMT 패킷을 생성한다. 이때, MMT 패킷에 동기화 정보를 삽입할 수 있다.The
STC(160)는 특정 프로그램에 속해 그 프로그램에 대한 비디오 인코더(130)와 오디오 인코더(110)의 마스터 클락이다. 즉, 인코더(110, 130)의 입력에서, 입력 픽처 또는 오디오 블록의 발생 시간은 상기 STC(160)를 샘플링하여 기록한다. 따라서, 각각의 픽처 또는 오디오 블록은 타이밍 정보(ti)를 획득하게 된다. STC(160)는 프로그램에 따라 서로 다를 수 있다.The
입력되는 픽처가 MMT 패킷이 되어 수신 장치(30)로 전송되는 과정을 살펴보면, 입력되는 픽처는 일정한 레이트(rate)로 비디오 인코더(130)로 입력되고, 비디오 인코더(130)는 입력된 픽처를 인코딩하는 시간이 픽처에 따라 다를 수 있으므로, 인코딩된 비디오 스트림을 다양한 레이트로 출력한다. 따라서, 비디오 버퍼(140)는 다양한 레이트로 출력되는 비디오 스트림을 저장하고 있다가, 이를 일정한 레이트로 출력한다. 비디오 버퍼(140)를 통해 일정한 레이트로 출력되는 비디오 스트림을 MMT 패킷화부(150)로 전송된다. MMT 패킷화부(150)는 일정한 레이트로 출력되는 비디오 스트림과 오디오 버퍼(120)를 통해 출력되는 오디오 스트림을 패킷화하여 MMT 패킷을 생성한 후, 이를 IP 네트워크(20)를 통해 수신 장치(30)로 전송한다. 수신 장치(30)는 MMT 패킷을 디패킷화한 후, 디코딩을 수행하여 픽처를 디스플레이할 수 있다.Referring to a process in which an input picture becomes an MMT packet and is transmitted to the receiving
MMT 시스템 모델은 디코더에서의 지연 시간이 0이라고 가정하고, 또한, 인코더(110, 130)에서 전송 경로까지의 지연도 0이라고 가정하였을 때, 버퍼(120, 140)에서만 지연이 발생한다고 할 수 있다. 따라서, MMT 시스템 모델은 전송 경로 지연과 같은 zero-delay 요소가 동작을 방해하지 않고, 일정한(constant) 지연을 가질 수 있다는 사실을 수용한다. 디코더는 타임 스탬프에 의해 인코더(110, 130)와 함께 동기화될 수 있다.The MMT system model may assume that the delay occurs only in the
전송 장치(10)는 마스터 오실레이터(master oscillator), 카운터(counter) 및 STC(160)를 포함할 수 있다. 전송 장치(10)는 픽처 또는 오디오 블록에 대한 STC 값에 인코더와 디코더의 지연과 동일한 일정한 량의 지연을 더하여 표현 타임 스탬프(PTS: Presentation Time Stamp)를 생성할 수 있다. 비디오 인코더(130)는 MMT 버퍼링 지연, 즉, 전송 장치(10)에서의 버퍼링 지연 및 수신 장치(30)에서의 버퍼링 지연 정보를 MMT 패킷화부(150)에 전송한다. MMT 패킷화부(150)는 상기 MMT 버퍼링 지연을 STC(160)를 기반으로 입력되는 픽처의 타임 스탬프와 연산하여 PTS를 생성할 수 있다. 경우에 따라서, 이상적인 모델을 가정하여 MMT 패킷화 과정과 디패킷 과정의 연산 시간을 0이라고 가정할 수 있다. MMT 패킷화부(150)는 상기 PTS 정보를 해당 픽처 또는 오디오 블록을 나타내는 MMT 패킷의 E.3 레이어(layer)에 삽입한다. DTS(Decoding Time Stamp) 및 PTS는 B-픽처의 순서 변경의 경우를 제외하고는 양자는 동일하다. 왜냐하면, I 픽처나 P 픽처는 순서가 변경되는 경우가 없으므로, 디코딩되는 시간이 바로 디스플레이되는 시간이기 때문이다. 따라서, 만약 I 또는 P 픽처로만 구성되어 있다면, PTS는 액세스 장치가 수신 장치(30)의 버퍼에서 출력되어 디코더로 들어가 디코딩되는 시간을 표시하는데 사용될 수 있다. B 픽처가 비디오 스트림에 존재하는 경우, PTS 관련 정보는 관련 영상의 디스플레이 장치가 디스플레이하기 위해 재정렬 버퍼에서 출력되어 나오는 시간을 표시하는데 사용될 수 있다.The
더욱이, 비디오 버퍼(140)에서 나온 출력, 즉 비디오 스트림은 STC 값을 갖는 타임 스탬핑된 시간을 포함하고 있는데, 이를 MCR(MMT Clock Reference)이라고 한다. 상기 MCR 타임 스탬프는 D.1 MMT 패킷의 패킷화 과정의 D.1 레이어에 삽입될 수 있다. 상기 MCR 타임 스탬프는 MPEG-2 TS에서 최대 100ms 간격으로 발생되도록 요구될 수 있다. 따라서, 프로그램 내에 포함된 모든 비디오 및 오디오 스트림은 공통 STC(160)로부터 타임 스탬핑된 값을 가지고 있고, 이는 비디오 및 오디오 디코더의 동기화를 달성하기 위함이다. MCR 타임 스탬프의 시스템의 중요한 특성은 (전송 장치(10) 출력에서) 채널 상의 데이터 레이트 및 패킷 레이트가 STC(160)와 완전히 비동기일 수 있고, 그래도 STC(160)는 디코더에서 여전히 동기화될 수 있다는 것이다. 이는 또한, 서로 다른 STC(160)들을 갖는 서로 다른 프로그램이 각각의 프로그램에 대한 STC(160)의 복구를 허용하는 동안, 멀티플렉싱된 MMT 패킷 내에서 전송될 수 있다.Moreover, the output from
MPEG-2 TS는 오디오, 비디오 및 데이터를 저장하고 전송하기 위한 표준 포맷이고, DVB, ATSC와 같은 방송 시스템에서 사용될 수 있다. MMT의 요구사항에 따라, MMT는 사전에 저장된 콘텐츠의 스트리밍을 지원할 수 있다. IP 네트워크 기반의 MMT 시스템을 이용하여 MPEG-2 TS 패킷을 전송하기 위해서는 MMT 패킷은 네트워크 지터를 계산하는데 필요한 타이밍 정보를 제공해야 한다. MPEG-2 TS는 원래 디지털 방송 서비스에 사용되도록 개발되었고, TS 패킷은 일반적으로 IP 기반의 패킷 교환 네트워크에 비해, 전송 지연이 비교적 짧고 일정한 회선 교환 네트워크를 기반으로 하여 전송될 수 있다.MPEG-2 TS is a standard format for storing and transmitting audio, video and data, and can be used in broadcasting systems such as DVB and ATSC. According to the requirements of the MMT, the MMT may support streaming of pre-stored content. In order to transmit an MPEG-2 TS packet using an IP network-based MMT system, the MMT packet must provide timing information for calculating network jitter. MPEG-2 TS was originally developed to be used for digital broadcasting services, and TS packets can be transmitted based on a constant circuit switching network with a relatively short transmission delay compared to an IP-based packet switched network.
TS 전송 시스템에서 지연 처리를 위해 T-STD(Transport Stream System Target Decorder)에서 TS의 타이밍 버퍼 모델을 이용하여 전송 지연을 처리할 수 있다. 그러나, IP 기반의 패킷 교환 네트워크를 사용하는 MMT는 패킷 지연에 따른 도착 시간 변동과 지터로 인해 상기와 같은 방식의 T-STD로는 신뢰할만한 전송을 처리할 수 없기 때문에 버퍼 모델의 재설계가 필요할 수 있다.In order to process the delay in the TS transmission system, a transmission delay may be processed by using a timing buffer model of the TS in a T-STD. However, MMT using an IP-based packet-switched network may require a redesign of the buffer model because the T-STD cannot handle reliable transmissions due to variations in arrival time and jitter due to packet delays. have.
도 3은 MMT의 D 레이어(layer) 페이로드(payload)로의 MPEG TS 패킷(300)의 캡슐화(encapsulation)를 설명하기 위한 개념도이다. 도 3에 도시된 바와 같이, MPEG TS 패킷(300)이 16개가 도시되어 있고, 상기 MPEG TS 패킷(300)은 7개가 하나의 MMT 패킷(310, 320)으로 패킷화될 수 있으며, 하나의 MMT 패킷의 페이로드(314, 324)에 헤더(312, 322) 데이터를 붙여 전송될 수 있다.FIG. 3 is a conceptual diagram illustrating encapsulation of the
도 3을 참조하면, D 레이어(layer) 페이로드(314, 324)에 매핑된 TS 패킷(300)은 전술한 바와 같이, D 레이어 페이로드(314, 324) 내에 포함된 TS 패킷 헤더 필드에 MCR 정보를 포함할 수 있다. MMT 패킷화부(150)는 전술한 바와 같이, 비디오 인코더(130)로부터 수신한 MMT 버퍼링 지연, 네트워크 지연 및 STC 값을 기반으로 MCR 정보를 생성하고, 이를 D 레이어의 패킷 페이로드(314, 324)에 포함된 TS 패킷 헤더 필드에 포함시켜 패킷화함으로써 디코더에서 동기화 정보를 용이하게 추출할 수 있도록 한다. D 레이어의 패킷 헤더(312, 322)에는 MCR 타임 스탬프 정보가 포함될 수 있다.Referring to FIG. 3, the
도 4는 TS 패킷 헤더 내에 MCR 정보(410, 434, 440)를 갖는 MPEG TS 패킷을 포함하는 MMT 패킷(400, 420)을 나타낸 도면이다. 도 4에 도시된 바와 같이, n 번째 MMT 패킷(400)과 (n+1)번째 MMT 패킷(420)이 있고, 각각의 MMT 패킷(400, 420)은 IP/UDP 헤더(402, 422) 및 D 레이어 헤더(404, 424) 및 TS 패킷 헤더(406,426, 430, 436) 및 TS 패킷 페이로드(408, 428, 432, 438)를 포함하는 TS 패킷을 포함한다.4 is a diagram illustrating an
도 4를 참조하면, 제 1 MMT 패킷(400)에서 보여지는 것처럼, D 레이어 페이로드에서 제 1 TS 패킷의 패킷 헤더(406)에 MCR 정보(410)가 위치하는 것이 반드시 보장되지는 않는다. 즉, 제 1 MMT 패킷(400)에만 제 1 TS 패킷의 패킷 헤더(406)에 MCR 정보(410)가 위치하고, 제 2 MMT 패킷(420)의 경우에는 제 1 TS 패킷의 패킷 헤더(426)에는 MCR 정보가 없고, 제 2 패킷 헤더(420) 내지 제 7 TS 패킷 헤더(436)에 MCR 정보(434, 440)가 포함되어 있다. 그러므로, TS 패킷에 존재하는 MCR 값만으로는 MMT 서비스 시나리오에서 정확한 지터 값을 계산할 수 없다. 따라서, MCR 타임 스탬프 정보와 같은 MMT 전송 장치(10)와 수신 장치(30) 모두에 의해 공유되는 새로운 레퍼런스 클락(reference clock)이 필요하다.Referring to FIG. 4, as shown in the
도 5는 D 레이어 헤더(500) 내에 존재하는 MCR 타임 스탬프 정보(502)를 나타낸 도면이다. 도 5에 도시된 바와 같이, MMT 패킷의 D 레이어의 헤더(500)에 MCR 타임 스탬프 정보(502)가 포함되어 있다.5 is a diagram illustrating MCR
도 5를 참조하면, MCR 타임 스탬프 정보는 D 레이어 페이로드에서 첫 번째 바이트의 샘플링 인스턴스 클락(sampling instance clock) 값에 포함되어 있다. 본 발명의 일 실시예에 따르면, 이 값은 지터 추정과 RTT(Round Trip Time) 계산뿐만 아니라 전송 장치(10)와 수신 장치(30) 사이에 시스템 클락 락킹(locking) 목적을 위해서 사용될 수도 있다.
Referring to FIG. 5, the MCR time stamp information is included in a sampling instance clock value of the first byte in the D layer payload. According to one embodiment of the invention, this value may be used for the purpose of system clock locking between the transmitting
MMTMMT 패킷 수신 장치 Packet receiver
도 6은 본 발명의 일 실시예에 따른 MMT 시스템에서의 패킷 수신 장치(600)의 구성을 개략적으로 나타낸 블록도이다. 도 6에 도시된 바와 같이, 본 발명의 일 실시예에 따른 MMT 패킷 수신 장치(600)는 MMT 디패킷화부(610), 오디오 버퍼(620), 오디오 디코더(630), 비디오 버퍼(640), 비디오 디코더(650) 및 재정렬 버퍼(660)를 포함할 수 있다.6 is a block diagram schematically illustrating a configuration of a
도 6을 참조하면, MMT 패킷 수신 장치(600)는 송신 장치(690)로부터 IP 네트워크(680)를 통해 전송된 MMT 패킷을 수신하고, 수신된 MMT 패킷을 디패킷화하여 오디오 블록과 비디오 픽처로 나누고, 양자 간의 동기화 정보를 추출하여 동기화를 맞춘 상태로 디스플레이한다.Referring to FIG. 6, the MMT
먼저, MMT 디패킷화부(610)는 MMT 패킷을 디패킷화하여 비디오 스트림과 오디오 스트림을 생성한다. MMT 패킷 디패킷화부(610)는 MMT 패킷의 D.1 레이어에 포함된 MCR 정보와 STC(607)를 이용하여 네트워크 지터를 추정할 수 있다(S602). 추정된 네트워크 지터 값을 기반으로 디지터링을 수행하여 MMT 패킷 간의 동기화를 맞출 수 있다. 또한, MMT 패킷의 E.3 레이어에 포함된 PTS와 STC(607) 값을 비교하여(S604), 비디오 디코더(650)에서의 디코딩에 필요한 동기화 정보를 제공할 수 있다. 상기 비교(S604)를 통해 디코딩되는 비디오 픽처가 I 픽처인지 P 픽처인지, B 픽처인지 파악할 수 있다. 또한, B 픽처가 포함된 경우, 순서 변경을 위해 재정렬 버퍼(660)로 동기화 정보를 제공하여 순차적으로 픽처를 출력할 수 있도록 지원한다.First, the
오디오 버퍼(620)는 오디오 스트림을 저장하고 있고, 이를 일정한 레이트로 오디오 디코더(630)로 출력한다. 이는 실시간으로 제공되는 서비스에서 디코더(630)로의 입력을 일정하게 하기 위해, 디코더(630) 앞단에서 오디오 스트림을 저장하고 있는 것이다.The
오디오 디코더(630)는 오디오 버퍼(620)로부터 오디오 스트림을 수신하여 디코딩을 수행함으로써 오디오 블록을 생성한다.The
비디오 버퍼(640)는 오디오 버퍼(620)와 마찬가지로, 비디오 스트림을 저장한다. 저장된 비디오 스트림은 일정한 레이트로 오디오 디코더(630)로 출력된다.The
비디오 디코더(650)는 비디오 버퍼(640)로부터 비디오 스트림을 수신하여 디코딩을 수행함으로써 비디오 픽처를 생성한다. 비디오 디코더(650)는 MMT 디패킷화부(610)로부터 PTS와 STC(607)의 비교를 통해 산출된 동기화 정보를 제공함으로써 픽처의 디코딩 시간을 고려하여 디코딩을 수행할 수 있다. 특히, B 픽처가 포함된 경우가 아니라면, 상기 PTS는 DTS와 같으므로, PTS를 기반으로 디코딩을 수행하면 된다. 즉, PTS는 비디오 버퍼(640)에서 출력되어 디코딩되야 하는 시간을 표시하는데 사용된다. 다만, B 픽처가 존재하는 경우, PTS 관련 정보는 영상의 디스플레이 장치가 디스플레이할 때, 재정렬 버퍼에서 출력되어 디스플레이되는 시간을 표시하는데 사용될 수 있다.The
재정렬 버퍼(660)는 비디오 디코더(650)로부터 디코딩되어 생성된 비디오 픽처를 재정렬하여 디스플레이한다. I 픽처나 B 픽처로만 구성된 비디오 픽처에 있어서, 재정렬 버퍼(660)는 특별한 기능을 수행하지 않는다. 왜냐하면, 순서 변경의 여지가 없기 때문이다. 다만, B 픽처가 포함된 경우, B 픽처는 순서가 변경되야 하기 때문에, 이전 픽처와의 순서 변경을 수행해야 하고, 이같은 작업은 재정렬 버퍼(660)를 통해 이루어진다. 재정렬 버퍼(660)는 MMT 디패킷화부(610)에서 PTS와 STC(607)의 비교를 통해(S604), B 픽처로 파악된 비디오 픽처에 대해, PTS 정보를 이용하여 영상의 디스플레이 시간을 추출하여 상기 디스플레이 시간에 해당 픽처가 출력될 수 있도록 한다.The
MMT 시스템의 요구사항에 따라 MMT 시스템은 다양한 네트워크 조건 하에서, 콘텐츠의 지속적인 디코딩 및 프리젠테이션(presentation)을 수행하기 위해 패킷 도착 지터(jitter)에 탄력성을 지원하고, 종단간 지연을 조절하도록 지원한다. 이러한 목적은 RTP 타임 스탬프와 NTP 타임 스탬프의 협력적 방식으로 지원함으로써 RTP 기반 시스템에서 달성될 수 있다. 이러한 타임 스탬프가 있으면, 네트워크 변화에 강하게 대항하여, 동작 중인 시스템을 보호하기 위해 필수 정보인 네트워크 지터, 패킷 손실 비율 및 패킷 왕복 시간을 추정할 수 있다.According to the requirements of the MMT system, the MMT system supports elasticity to packet arrival jitter and adjusts end-to-end delay in order to perform continuous decoding and presentation of content under various network conditions. This goal can be achieved in RTP-based systems by supporting a cooperative manner of RTP time stamps and NTP time stamps. With such a time stamp, it is possible to estimate network jitter, packet loss rate, and packet round trip time, which are essential information to protect the system in operation against the network change.
도 7은 본 발명의 일 실시예에 따른 MMT 시스템에서의 패킷 수신 장치의 MMT 디패킷화부(610)를 구체적으로 나타낸 상세블록도이다. 도 7에 도시된 바와 같이, 본 발명의 일 실시예에 따른 MMT 디패킷화부(610)는 MMT 패킷 디지터링부(710) 및 디패킷화부(720)를 포함할 수 있다.7 is a detailed block diagram illustrating an
도 7을 참조하면, MMT 디지터링부(710)는 MCR 타임 스탬프 정보를 사용하여, MMT 패킷 전송 중에 발생하는 네트워크 지터를 추정한다. MMT 디지터링부(710)는 MCR 타임 스탬프 정보와 로컬 STC 클락을 가지고, 예상 도착 시간과 MMT 패킷의 실제 도착 시간의 시간 차이를 계산할 수 있다. 이 시간 차이는 네트워크 지터의 실제 값을 추정하는데 사용될 수 있다.Referring to FIG. 7, the
디패킷화부(720)는 MMT 패킷 디지터링부(710)를 통해 네트워크 지터의 추정을 통하여 디지터링이 완료된 패킷에 대해 디패킷화를 수행하여 오디오 스트림과 비디오 스트림으로 분할한다. 분할된 비디오 스트림은 비디오 버퍼로 전송되고, 분할된 오디오 스트림은 오디오 버퍼로 전송된다.The
도 8은 본 발명의 일 실시예에 따른 MMT 시스템에서의 패킷 수신 장치의 MMT 패킷 디지터링부(710)를 구체적으로 나타낸 상세블록도이다. 도 8에 도시된 바와 같이, MMT 패킷 디지터링부(710)는 디지터 버퍼(810), 추출부(820), 차이값 계산부(830), 네트워크 지터 추정부(840) 및 디지터링부(850)를 포함할 수 있다.8 is a detailed block diagram illustrating in detail the MMT
도 8을 참조하면, 디지터 버퍼(810)는 출력에서 MMT 패킷들 간의 시간적 관계를 회복하기 위해, MMT 패킷의 디지터링을 수행할 때까지, 수신된 MMT 패킷을 저장하고 있다. 디지터 버퍼(810)의 크기는 MCR 정보를 이용하여 계산될 수 있다.Referring to FIG. 8, the
추출부(820)는 디지터 버퍼(810)에 저장되어 있는 MMT 패킷의 D.1 레이어를 파싱하여 그 안에 포함된 MCR 타임 스탬프 정보를 추출한다. 전술한 바와 같이, 전송 장치에서 패킷화된 MMT 패킷의 D.1 레이어에는 비디오 스트림이 STC를 기반으로 타임스탬핑된 MCR 타임 스탬프 정보가 포함되어 있기 때문에 수신 장치에서의 동기화를 위해 상기 D.1 레이어로부터 MCR 타임 스탬프 정보를 추출한다.The
차이값 계산부(830)는 추출부(820)에서 추출된 MCR 타임 스탬프 정보와 STC 값을 이용하여 MMT 패킷의 도착 예정 시간과 실제 도착 시간과의 차이값을 계산한다. MCR 타임 스탬프 정보는 인코딩된 비디오 스트림이 STC 값을 기반으로 타임 스탬핑된 값이므로, 패킷화되는 시점의 정보가 들어 있고, 이를 통해 MMT 패킷의 도착 예정 시간을 산출할 수 있다. 산출된 도착 예정 시간과 실제로 MMT 패킷이 도착한 시간의 차이를 계산하면, 상기 시간 차이값을 계산할 수 있다.The
네트워크 지터 추정부(840)는 차이값 계산부(830)에서 계산된 상기 시간 차이값을 기반으로 네트워크 지터의 크기를 추정한다. 시간 차이값이 크면 네트워크 지터의 크기도 비례적으로 커지게 되므로, 비례 관계를 이용하여 지터의 크기를 추정할 수 있다.The
디지터링부(850)는 네트워크 지터 추정부(840)에서 추정된 네트워크 지터의 크기 정보를 이용하여 MMT 패킷을 디지터링한다. 즉, 네트워크 지터의 크기만큼 지연을 상쇄시켜 MMT 패킷 간의 동기화가 이루어질 수 있도록 한다. 따라서, 디지터링부(850)를 통과한 MMT 패킷은 디지터링된 패킷이고, MMT 패킷 간의 동기화가 맞기 때문에 이를 디패킷화부(720)로 전송한다.The
여기서, 본 발명의 일 실시예에 따르면, MMT 디지터링부(710)는 안정적인 STC의 복구를 보장하기 위해, 디지터링을 인코딩된 MCR 값이 MMT 수신 장치에 전달되기 전에 수행되는 것이 바람직할 수 있다.Here, according to an embodiment of the present invention, in order to ensure the stable recovery of the STC, the
이를 통해 MMT 디지터링부(710)는 IP 네트워크에 의해 발생된 지터를 제거할 수 있고, 디패킷화부(720)로 디지터링된 MMT 패킷을 포워딩할 수 있다.Through this, the
도 9는 본 발명의 다른 실시예에 따른 MMT 시스템에서의 패킷 수신 장치의 MMT 디패킷화부와 MPEG-2 TS 패킷들을 위한 수신기 버퍼 모델과의 연동 관계를 설명하기 위한 도면이다. 도 9에 도시된 바와 같이, 수신되는 MMT 패킷은 디지터링부(910)를 통해 디지터링되고, 디패킷화부(920)를 통해 MPEG-2 TS 패킷으로 디패킷화되며, MPEG-2 T-STD 모델(930)에 의해 지연 처리를 완료할 수 있다.9 is a diagram illustrating an interworking relationship between an MMT depacketizer and a receiver buffer model for MPEG-2 TS packets in a packet receiving apparatus in an MMT system according to another embodiment of the present invention. As shown in FIG. 9, the received MMT packet is digitized through the
도 9를 참조하면, MMT 패킷은 페이로드에 다수의 MPEG-2 TS 패킷을 포함할 수 있고, MPEG-2 TS 패킷은 상기한 바와 같이, 디지털 방송 서비스를 위해 사용되도록 개발되어 일반적으로 IP 기반의 패킷 교환 네트워크에 비해 전송 지연이 비교적 짧고 일정한 회선 교환 네트워크를 기반으로 하여 전송될 수 있다.Referring to FIG. 9, an MMT packet may include a plurality of MPEG-2 TS packets in a payload, and as described above, an MPEG-2 TS packet is developed to be used for a digital broadcasting service and is generally based on IP. Compared to a packet switched network, the transmission delay is relatively short and can be transmitted based on a constant circuit switched network.
따라서, MMT 패킷을 MPEG-2 TS 패킷으로 변환함으로써 기존에 MPEG-2 TS 패킷의 지연 처리를 담당하는 MPEG-2 T-STD 모델(930)를 활용할 수 있다. 이를 통해 역호환성을 제고시킬 수 있다.Accordingly, by converting the MMT packet into the MPEG-2 TS packet, the MPEG-2 T-
디지터링부(910)는 앞서 설명한 MMT 디지터링부(710)와 동일하게 MCR 타임 스탬프 정보를 기반으로 네트워크 지터를 계산함으로써 적절한 디지터 버퍼의 크기를 산출하고 이를 통해 디지터링된 MMT 패킷을 생성한다.The digitizing
디패킷화부(920)는 단순하게 MMT 패킷을 MPEG-2 TS 패킷으로 변환하는 기능을 수행한다. 디패킷화부(920)를 통과한 패킷은 디지터링된 MPEG-2 TS 패킷이 된다.The
MPEG-2 T-STD 모델(930)은 기본적으로 TS 타이밍 버퍼 모델을 이용하여 전송 지연을 처리하는 구조를 가지고 TS 패킷에 대한 지연 처리를 수행할 수 있다.The MPEG-2 T-
도 10은 본 발명의 일 실시예에 따른 MMT 시스템에서의 패킷 수신 장치의 MMT 디패킷화부에서 MCR 정보를 파싱하여 비디오 픽처에 따른 동기화를 처리하는 방법을 설명하기 위한 흐름도이다.10 is a flowchart illustrating a method of processing synchronization according to a video picture by parsing MCR information in an MMT depacketizer of a packet receiving apparatus in an MMT system according to an embodiment of the present invention.
도 10을 참조하면, MMT 디패킷화부(610)는 MMT 패킷을 디패킷화하여 MMT 패킷의 E.3 레이어에 포함된 PTS를 추출한다(S1010). 그리고는 추출된 PTS 정보와 STC 값을 비교하여(S1020), 비디오 디코더에서의 디코딩에 필요한 동기화 정보를 제공할 수 있다. 비교 결과를 기반으로 디코딩되는 비디오 픽처에 B 픽처가 존재하는지 파악한다(S1030). 즉, 상기 픽처가 I 픽처인지 P 픽처인지, B 픽처인지 파악할 수 있다.Referring to FIG. 10, the
B 픽처가 포함된 경우, PTS 정보를 파싱하여 디스플레이되는 시간을 파악한다(S1040). 그리고는 상기 디스플레이 시간을 재정렬 버퍼로 전송하여(S1050), 순차적으로 픽처를 출력할 수 있도록 지원한다. 재정렬 버퍼는 B 픽처로 파악된 비디오 픽처에 대해 수신된 디스플레이 시간을 기반으로 상기 디스플레이 시간에 해당 픽처가 출력될 수 있도록 한다.If the B picture is included, the display time is determined by parsing the PTS information (S1040). Then, the display time is transmitted to the reordering buffer (S1050), and the pictures are sequentially output. The reordering buffer enables the corresponding picture to be output at the display time based on the display time received for the video picture identified as the B picture.
B 픽처가 포함되지 않는 경우, 즉, I 및 P 픽처로만 비디오 픽처가 구성된 경우, PTS 정보를 기반으로 디코딩 시간을 파악한다(S1060). 그리고는 상기 시간 정보를 비디오 디코더로 전송한다(S1070). 상기 PTS 정보는 DTS와 같으므로, 시간 정보를 수신한 비디오 디코더는 PTS를 기반으로 디코딩을 수행하면 된다. 즉, PTS는 비디오 버퍼에서 출력되어 비디오 디코더를 통해 디코딩되야 하는 시간을 표시하는데 사용된다. 비디오 디코더는 MMT 디패킷화부로부터 수신된 동기화 정보를 기반으로 픽처의 디코딩 시간을 고려하여 디코딩을 수행할 수 있다.When the B picture is not included, that is, when the video picture is composed of only I and P pictures, the decoding time is determined based on the PTS information (S1060). Then, the time information is transmitted to the video decoder (S1070). Since the PTS information is the same as the DTS, the video decoder receiving the time information may perform decoding based on the PTS. That is, the PTS is used to indicate the time that should be output from the video buffer and decoded through the video decoder. The video decoder may perform decoding in consideration of the decoding time of the picture based on the synchronization information received from the MMT depacketizer.
이상 실시예를 참조하여 설명하였지만, 해당 기술 분야의 숙련된 당업자는 하기의 특허 청구의 범위에 기재된 본 발명의 사상 및 영역으로부터 벗어나지 않는 범위 내에서 본 발명을 다양하게 수정 및 변경시킬 수 있음을 이해할 수 있을 것이다.Although described with reference to the embodiments above, those skilled in the art will understand that the present invention can be variously modified and changed without departing from the spirit and scope of the invention as set forth in the claims below. Could be.
| Application Number | Priority Date | Filing Date | Title |
|---|---|---|---|
| PCT/KR2012/005584WO2013009131A2 (en) | 2011-07-13 | 2012-07-13 | Apparatus and method for transmitting packet and apparatus and method for receiving packet in mmt system |
| Application Number | Priority Date | Filing Date | Title |
|---|---|---|---|
| KR20110069325 | 2011-07-13 | ||
| KR1020110069325 | 2011-07-13 |
| Publication Number | Publication Date |
|---|---|
| KR20130009671Atrue KR20130009671A (en) | 2013-01-23 |
| Application Number | Title | Priority Date | Filing Date |
|---|---|---|---|
| KR1020120076395AWithdrawnKR20130009671A (en) | 2011-07-13 | 2012-07-13 | Packet transmission apparatus and method, and packet reception apparatus and method in mmt system |
| Country | Link |
|---|---|
| KR (1) | KR20130009671A (en) |
| Publication number | Priority date | Publication date | Assignee | Title |
|---|---|---|---|---|
| KR20150047083A (en)* | 2013-10-23 | 2015-05-04 | 한국전자통신연구원 | Apparatus and Method for Managing MMT buffer model using Reception quality feedback message |
| KR20150083311A (en)* | 2014-01-09 | 2015-07-17 | 한국전자통신연구원 | Apparatus and method for processing mmt signaling message |
| KR20220076761A (en)* | 2020-12-01 | 2022-06-08 | 주식회사 마젠타컴퍼니 | System and method for integrated transmission by synchronizing a plurality of media sources |
| Publication number | Priority date | Publication date | Assignee | Title |
|---|---|---|---|---|
| KR20150047083A (en)* | 2013-10-23 | 2015-05-04 | 한국전자통신연구원 | Apparatus and Method for Managing MMT buffer model using Reception quality feedback message |
| KR20150083311A (en)* | 2014-01-09 | 2015-07-17 | 한국전자통신연구원 | Apparatus and method for processing mmt signaling message |
| US9300557B2 (en) | 2014-01-09 | 2016-03-29 | Electronics And Telecommunications Research Institute | Apparatus and method for processing MPEG media transport signaling message |
| KR20220076761A (en)* | 2020-12-01 | 2022-06-08 | 주식회사 마젠타컴퍼니 | System and method for integrated transmission by synchronizing a plurality of media sources |
| Publication | Publication Date | Title |
|---|---|---|
| KR102049907B1 (en) | Media data transmission apparatus and method, and media data reception apparatus and method in mmt system | |
| EP1813115B1 (en) | Buffering packets of a media stream | |
| KR20130009670A (en) | Packet transmission apparatus and method, and packet reception apparatus and method in mmt system | |
| KR20130078643A (en) | Methods of providing timing information using mmt control layer signaling for synchronizing mmt packet streams in mmt hybrid delivery service and methods of synchronizing mmt packet streams in mmt hybrid delivery service | |
| US8379151B2 (en) | Synchronization of audio and video streams | |
| CN108293145B (en) | Video distribution synchronization | |
| US20150181003A1 (en) | Method and apparatus for transmitting and receiving packets in hybrid transmission service of mmt | |
| TWI455573B (en) | Method for reconstructing system time clock (stc) without carrying pcr | |
| KR102026266B1 (en) | Estimation method of network jitter for apparatuses transporting coded media data | |
| WO2013098810A1 (en) | Adaptive forward error correction (fec) system and method | |
| JP5300278B2 (en) | How to detect media rate to measure network jitter | |
| JP2012513139A (en) | Method for synchronizing transport streams in a multiplexer with an external coprocessor | |
| EP1836786B1 (en) | Method of transmitting mpeg streams over ip and corresponding device, receiving method and receiver | |
| US20100172374A1 (en) | System and method for transport of a constant bit rate stream | |
| US9647951B2 (en) | Media stream rate reconstruction system and method | |
| KR20130009671A (en) | Packet transmission apparatus and method, and packet reception apparatus and method in mmt system | |
| Seo et al. | A new timing model design for MPEG Media Transport (MMT) | |
| CN102204249A (en) | Constant bit rate padding of mpeg transport streams | |
| WO2013009131A2 (en) | Apparatus and method for transmitting packet and apparatus and method for receiving packet in mmt system | |
| KR101920051B1 (en) | Methods of Providing Timing Information for Synchronizing MMT Packet Streams in MMT Hybrid Delivery Service and Methods of Synchronizing MMT Packet Streams in MMT Hybrid Delivery Service | |
| CN101489122B (en) | Method, apparatus and system for implementing transmission stream time mapping | |
| Fernando | MMT: the next-generation media transport standard | |
| KR20130032843A (en) | Media data transmission apparatus and method, and media data reception apparatus and method in mmt system | |
| KR20120084246A (en) | MBP Media Transfer Method | |
| Onishi et al. | Highly accurate de‐jittering scheme for broadcast quality video transmission |
| Date | Code | Title | Description |
|---|---|---|---|
| PA0109 | Patent application | Patent event code:PA01091R01D Comment text:Patent Application Patent event date:20120713 | |
| PG1501 | Laying open of application | ||
| PC1203 | Withdrawal of no request for examination | ||
| WITN | Application deemed withdrawn, e.g. because no request for examination was filed or no examination fee was paid |