











































































































본 기술은, 복수 기판을 맞붙임(bonding)에 의해 전극 사이 또는 배선 사이 접합이 이루어진 반도체 장치, 이와 같은 반도체 장치의 제조 방법 및 반도체 장치를 포함하는 전자 기기에 관한 것이다.The present technology relates to a semiconductor device in which a plurality of substrates are bonded between electrodes or wirings by bonding, a method of manufacturing such a semiconductor device, and an electronic device including the semiconductor device.
종래, 2장의 웨이퍼 또는 기판을 맞붙여서, 각각의 반도체 기판에 형성된 접합 전극끼리를 접합하는 기술이 개발되어 있다(예를 들면, 특허 문헌 1 참조).Conventionally, the technique of joining two wafers or board | substrates together and joining the junction electrodes formed in each semiconductor substrate is developed (for example, refer patent document 1).
또한, 반도체 장치의 더한층의 고집적화를 달성하기 위한 구조의 하나로서, 각각에 소자나 배선이 형성된 2장의 기판을 적층시켜서 맞붙이는 3차원 구조가 제안되어 있다. 이와 같은 3차원 구조의 반도체 장치를 제조하는 경우, 우선, 각각에 소자가 형성된 2장의 기판을 준비하고, 각각의 기판의 맞붙임면측에, 접합용의 전극(본딩 패드)를 인출한 상태로 한다. 이때, 예를 들면 매입 배선 기술(이른바 다마신(damascene) 처리)를 적용함에 의해, 구리(Cu)로 이루어지는 접합용의 전극이 절연막으로 둘러싸인 구성의 맞붙임면을 형성한다. 그 후, 맞붙임면을 대향시켜서 2장의 기판을 배치하고, 또한 각 맞붙임면에 마련한 전극끼리를 대응시켜서 2장의 기판을 적층시키고, 이 상태에서 열처리를 시행한다. 이에 의해, 전극 사이를 접합시킨 기판 사이의 맞붙임을 행한다(이상, 예를 들면 하기 특허 문헌 1 참조).Moreover, as one of the structures for achieving the further high integration of a semiconductor device, the three-dimensional structure which laminates and joins two board | substrates with which an element and wiring were formed, respectively, is proposed. When manufacturing a semiconductor device of such a three-dimensional structure, first, two board | substrates with an element formed in each are prepared, and it is set as the state which the electrode (bonding pad) for joining is drawn out to the bonding surface side of each board | substrate. . At this time, for example, by applying a buried wiring technique (so-called damascene treatment), a joining surface having a structure in which a bonding electrode made of copper (Cu) is surrounded by an insulating film is formed. Then, two board | substrates are arrange | positioned facing a joining surface, and two board | substrates are laminated | stacked so that the electrodes provided in each joining surface can correspond, and heat processing is performed in this state. Thereby, bonding between the board | substrates which joined between electrodes is performed (above, for example, refer following patent document 1).
여기서, 일반적인 매입 배선 기술에 의한 전극의 형성은, 예를 들면 다음과 같이 행하여진다. 우선, 기판의 표면을 덮는 절연막에 홈 패턴을 형성하고, 뒤이어 홈 패턴의 내벽을 덮는 상태로, 구리(Cu)에 대해 배리어성을 갖는 도전성의 하지층 또는 배리어 메탈층을 절연막상에 성막한다. 다음에, 배리어 메탈층의 상부에, 홈 패턴을 매입하는 상태로 구리(Cu)를 이용한 전극막을 성막한 후, 배리어 메탈층이 노출할 때까지 전극막을 연마하고, 또한 절연막이 노출할 때까지 배리어 메탈층과 전극막을 연마한다. 이에 의해, 절연막에 형성한 홈 패턴 내에 배리어 메탈층을 통하여 전극막이 매입된 매입 전극이 형성된다.Here, formation of the electrode by a general embedding wiring technique is performed as follows, for example. First, a groove pattern is formed in the insulating film covering the surface of the substrate, and then a conductive base layer or barrier metal layer having a barrier property against copper (Cu) is formed on the insulating film in a state of covering the inner wall of the groove pattern. Next, after forming an electrode film using copper (Cu) in the state of embedding a groove pattern on the barrier metal layer, the electrode film is polished until the barrier metal layer is exposed, and the barrier until the insulating film is exposed. The metal layer and the electrode film are polished. As a result, a buried electrode in which the electrode film is embedded through the barrier metal layer is formed in the groove pattern formed in the insulating film.
이상의 매입 배선 기술에서는, 전극막을 연마하여 배리어 메탈층이 노출한 시점에서 전극막의 연마를 자동적으로 정지할 수 있는 것이지만, 계속해서 행하여지는 전극막과 배리어 메탈층과의 연마에서는 절연막이 노출한 시점에서 전극막의 연마를 자동적으로 정지할 수가 없다. 이 때문에, 연마면 내에서는, 홈 패턴 내의 전극막이 과잉하게 연마되는 디싱이나, 전극 레이아웃에 의존하여 홈 패턴 내의 전극막이 과잉하게 연마된 에로전이 발생하기 쉽고, 평탄한 연삭면을 얻는 것이 곤란하다. 그래서, 전극막을 성막하기 전에, 절연막상의 배리어 메탈층을 제거하여 홈 패턴의 내벽만으로 배리어 메탈층을 남기고, 이 상부에 전극막을 성막하여 연마를 행하는 방법이 제안되어 있다(이상, 하기 특허 문헌 2 참조).In the above-described embedded wiring technique, polishing of the electrode film can be automatically stopped when the barrier metal layer is exposed, but subsequent polishing of the electrode film and the barrier metal layer is performed when the insulating film is exposed. Polishing of the electrode film cannot be stopped automatically. Therefore, in the polishing surface, dishing in which the electrode film in the groove pattern is excessively polished or erosion in which the electrode film in the groove pattern is excessively polished depending on the electrode layout easily occurs, and it is difficult to obtain a flat grinding surface. Therefore, before forming the electrode film, a method of removing the barrier metal layer on the insulating film to leave the barrier metal layer only on the inner wall of the groove pattern, and forming the electrode film on the upper part of the film is polished (see
그런데 상술한 바와 같은 맞붙임에 의해 얻어지는 3차원 구조의 반도체 장치에서는, 절연막 안으로 전극 재료의 확산을 방지하면서, 2장의 기판끼리의 맞붙임 강도 및 전극 사이의 접합 강도가 확보된 구조가 요망되고 있다. 그러나, 상기 특허 문헌 1에 나타난 반도체 장치의 제조 방법에서는, 절연막 안으로 전극 재료의 확산을 방지할 수가 없다.By the way, in the semiconductor device of the three-dimensional structure obtained by the above bonding, the structure which the bonding strength of two board | substrates and the bonding strength between electrodes is ensured, preventing the spreading of electrode material into an insulating film. . However, in the method for manufacturing a semiconductor device described in
한편, 상기 특허 문헌 2에 나타난 매입 배선 기술에서는, 배리어 메탈층 또는 하지층을 통하여 전극막을 마련함에 의해, 절연막 안으로 전극 재료의 확산은 방지할 수 있다. 그러나, 이 매입 배선 기술은, 기판끼리의 맞붙임을 고려한 것이 아니고, 연마에 의해 얻어진 평탄화면에 전극 및 절연막과 함께 배리어 메탈층이 노출한 상태가 된다. 이 때문에, 평탄화면의 전면에서 충분한 맞붙임 강도를 확보하는 것은 곤란하다.On the other hand, in the buried wiring technology described in
그래서 본 기술은, 2장의 기판의 맞붙임에 의해 전극 사이 접합이 이루어진 구성에 있어서, 절연막 안으로 전극 재료의 확산을 방지하면서도 맞붙임 강도가 확보되고, 이에 의해 신뢰성의 향상이 도모된 3차원 구조의 반도체 장치를 제공하는 것을 목적으로 한다. 또, 본 기술은 이와 같은 반도체 장치의 제조 방법 및 반도체 장치를 포함하는 전자 기기를 제공하는 것을 목적으로 한다.Therefore, the present technique is a three-dimensional structure in which the bonding strength between the two substrates is formed by bonding two substrates together, thereby preventing the diffusion of the electrode material into the insulating film while securing the bonding strength, thereby improving reliability. It is an object to provide a semiconductor device. Moreover, an object of this technology is to provide the manufacturing method of such a semiconductor device, and the electronic device containing a semiconductor device.
본 발명의 제 1 실시예에 관하여, 제 1 전극, 및 상기 제 1 전극에 대한 확산 방지 재료로 구성되고 상기 제 1 전극의 주위를 피복하는 제 1 절연막을 포함하고, 상기 제 1 전극과 상기 제 1 절연막으로 접합면을 구성하는 제 1 기판과, 상기 제 1 기판 상에 접합되어 설치되고, 상기 제 1 전극에 접합된 제 2 전극, 및 상기 제 2 전극에 대한 확산 방지 재료로 구성되고 상기 제 2 전극의 주위를 피복하는 제 2 절연막을 포함하고, 상기 제 2 전극과 상기 제 2 절연막으로 상기 제 1 기판에 대한 접합면을 구성하는 제 2 기판을 구비하는 반도체 장치를 제공한다.Regarding the first embodiment of the present invention, there is provided a first electrode and a first insulating film composed of a diffusion preventing material for the first electrode and covering the periphery of the first electrode, wherein the first electrode and the first electrode are provided. A first substrate constituting a bonding surface with a first insulating film, a second electrode bonded to the first substrate, bonded to the first electrode, and a diffusion preventing material for the second electrode, A semiconductor device comprising a second insulating film covering a periphery of a second electrode, and comprising a second substrate forming a bonding surface to the first substrate with the second electrode and the second insulating film.
본 발명의 제 1 실시예에 관하여, 전극 재료에 대한 확산 방지 재료로 구성된 절연막을 2장의 기판 각각의 상부에 형성하고, 상기 절연막 상에 홈 패턴을 형성하고, 전극막이 상기 절연막 상에 형성된 홈 패턴을 매입하는 상태에서 상기 전극 재료에 의해 구성된 상기 전극막을 상기 기판 각각의 상기 절연막 상에 형성하고, 상기 절연막이 노출될 때까지 상기 기판 각각의 상기 전극막을 연마하여, 상기 홈 패턴 내에 상기 전극막이 매입되도록, 상기 전극의 패턴을 형성하고, 상기 전극이 상부에 각각 형성된 2장의 상기 기판을, 상기 전극이 함께 접합된 상태에서, 접합하는 것으로 하는 반도체 장치의 제조 방법에 의하여 반도체 장치가 제조된다.In accordance with the first embodiment of the present invention, an insulating film made of a diffusion preventing material for the electrode material is formed on each of two substrates, a groove pattern is formed on the insulating film, and a groove pattern is formed on the insulating film. Is formed on the insulating film of each of the substrates, and the electrode film of each of the substrates is polished until the insulating film is exposed, so that the electrode film is embedded in the groove pattern. The semiconductor device is manufactured by the manufacturing method of the semiconductor device which forms the pattern of the said electrode, and joins the said 2 board | substrates each in which the said electrode was formed, respectively, in the state which the said electrode joined together.
반도체 소자 및 제조 방법에 의해서, 2장의 기판의 접합에 의해서 상기 전극이 함께 접합되고, 전극 재료의 확산을 막음으로써 접합 강도가 보장된다. 결과적으로, 3차원 구조의 반도체 장치는 신뢰성 향상을 도모할 수 있다.By the semiconductor element and the manufacturing method, the electrodes are joined together by the joining of two substrates, and the bonding strength is ensured by preventing the diffusion of the electrode material. As a result, the semiconductor device of the three-dimensional structure can be improved in reliability.
본 발명의 제 2의 실시예에 관하여, 제 1 전극 및 제 1 절연막이 노출되는 접합면을 갖는 제 1 기판과, 상기 제 1 기판의 접합면을 피복하는 절연성 박막과, 제 2 전극 및 제 2 절연막이 노출되는 접합면을 갖고, 상기 제 2 기판의 상기 접합면과 상기 제 1 기판의 상기 접합면의 사이에 상기 절연성 박막이 끼워지고 상기 제 1 전극과 상기 제 2 전극이 상기 절연성 박막을 관통하여 전기적으로 서로 접속된 상태에서, 상기 제 1 기판에 접합되는 제 2 기판을 구비한 반도체 장치를 제공한다.In the second embodiment of the present invention, a first substrate having a junction surface to which the first electrode and the first insulating film are exposed, an insulating thin film covering the junction surface of the first substrate, a second electrode, and a second electrode An insulating film is exposed, the insulating thin film is sandwiched between the bonding surface of the second substrate and the bonding surface of the first substrate, and the first electrode and the second electrode penetrate the insulating thin film. A semiconductor device having a second substrate bonded to the first substrate in a state of being electrically connected to each other is provided.
본 발명의 제 2의 실시예에 관하여, 전극 및 절연막이 노출되는 접합면을 각각 갖는 2장의 기판을 준비하고, 절연성 박막이 상기 2장의 기판 중 적어도 하나의 접합면을 피복하는 상태에서, 상기 절연성 박막을 형성하고, 상기 절연성 박막을 가로질러 상기 2장의 기판의 접합면을 서로 대향 배치하고, 상기 전극이 상기 절연성 박막을 관통하여 전기적으로 서로 접속된 상태에서 상기 2장의 기판을 정렬하고, 상기 2장의 기판을 상기 정열된 상태에서 접합하는 반도체 장치의 제조 방법에 의하여 반도체 장치가 제조된다.In accordance with the second embodiment of the present invention, two insulating substrates each having a bonding surface on which an electrode and an insulating film are exposed are prepared, and the insulating thin film covers the bonding surface of at least one of the two substrates. Form a thin film, arrange the bonding surfaces of the two substrates across the insulating thin film, and align the two substrates while the electrodes are electrically connected to each other through the insulating thin film; A semiconductor device is manufactured by the manufacturing method of the semiconductor device which joins a long board | substrate in the said aligned state.
본 발명의 반도체 장치(전자 기기) 및 그 제조방법에서, 제 1 금속막의 접합측 표면의 면적은 제 1 금속막에 접합하는 제 2 금속막의 접합측 표면의 면적보다 작게한다. 또한, 제 2 금속막에 접합되지 않는 제 1 금속막에서의 면 영역을 구비하는 접합 계면측 상에 제 1 금속막의 면 영역부에서, 계면 배리어막이 구비된다. 전술한 구성에 의하여, 접합 계면은 더욱 높은 신뢰성을 가지고, 접합 계면에서 전기 특성의 감소를 억제할 수 있다.In the semiconductor device (electronic device) and the manufacturing method of the present invention, the area of the bonding side surface of the first metal film is smaller than the area of the bonding side surface of the second metal film to be bonded to the first metal film. Moreover, an interface barrier film is provided in the surface area part of a 1st metal film on the bonding interface side provided with the surface area in a 1st metal film which is not joined to a 2nd metal film. By the above-described configuration, the bonding interface has higher reliability and can suppress a decrease in electrical properties at the bonding interface.
본 발명의 제 3의 실시예에 관하여, 접합 계면측 상의 표면 상에 형성된 제 1 금속막을 갖는 제 1 반도체부와, 상기 접합 계면 상에서 상기 제 1 금속막에 접합되며 상기 접합 계면측 상의 표면 면적이 상기 접합 계면측 상의 상기 제 1 금속막의 표면 면적보다 더 작은 제 2 금속막을 갖고, 상기 접합 계면 상의 상기 제 1 반도체부에 접합되는 상태로 마련되는 제 2 반도체부와, 상기 제 1 금속막이 상기 제 2 금속막에 대해 접합하지 않는 면 영역을 포함하는 상기 접합 계면측 상의 상기 제 1 금속막의 면 영역의 일부에 마련된 계면 배리어부를 갖는 반도체 장치와, 상기 반도체 장치의 출력 신호를 처리하는 신호 처리 회로를 갖는 전자 기기를 제공한다. According to the third embodiment of the present invention, a first semiconductor portion having a first metal film formed on the surface on the bonding interface side and a surface area on the bonding interface side are bonded to the first metal film on the bonding interface side. A second semiconductor portion having a second metal film smaller than the surface area of the first metal film on the bonding interface side and provided in a state of being bonded to the first semiconductor portion on the bonding interface, and the first metal film being the first metal film; A semiconductor device having an interface barrier portion provided in a part of the surface region of the first metal film on the bonding interface side including a surface region not bonded to the two metal films, and a signal processing circuit for processing an output signal of the semiconductor device; It provides an electronic device having.
본 발명의 제 3의 실시예에 관하여, 접합 계면측 상의 표면 상에 형성된 제 1 금속막을 갖는 제 1 반도체부를 제작하고, 상기 접합 계면측 상의 표면 면적이 상기 접합 계면측 상의 상기 제 1 금속막의 표면 면적보다 더 작은 제 2 금속막을 갖는 제 2 반도체부를 제작하고, 상기 제 1 금속막측 상의 상기 제 1 반도체부의 표면과 상기 제 2 금속막측 상의 상기 제 2 반도체부의 표면을 서로 접합하고, 상기 제 1 금속막과 상기 제 2 금속막을 서로 접합하고, 상기 제 1 금속막이 상기 제 2 금속막에 대해 접하지 않는 면 영역을 포함하는 상기 접합 계면측 상의 상기 제 1 금속막의 면 영역의 일부에 계면 배리어부를 마련하는 반도체 장치의 제조 방법에 의하여 반도체 장치가 제조된다.According to the third embodiment of the present invention, a first semiconductor portion having a first metal film formed on the surface on the bonding interface side is fabricated, and the surface area on the bonding interface side is the surface of the first metal film on the bonding interface side. A second semiconductor portion having a second metal film smaller than an area is fabricated, a surface of the first semiconductor portion on the first metal film side and a surface of the second semiconductor portion on the second metal film side are bonded to each other, and the first metal is bonded. A film and the second metal film are bonded to each other, and an interface barrier portion is provided in a part of the surface region of the first metal film on the bonding interface side including a surface region in which the first metal film is not in contact with the second metal film. A semiconductor device is manufactured by the manufacturing method of the semiconductor device mentioned above.
본 발명의 제 4의 실시예에 관하여, 반도체 기판과, 상기 반도체 기판 상에 형성된 절연층과, 상기 절연층의 표면 상에 형성된 접합 전극과, 상기 절연층의 표면 상에 형성되고, 상기 절연층에 의해 상기 접합 전극을 둘러싸는 보호층을 갖는 반도체 장치가 제공된다.According to a fourth embodiment of the present invention, a semiconductor substrate, an insulating layer formed on the semiconductor substrate, a junction electrode formed on the surface of the insulating layer, and a surface formed on the surface of the insulating layer, There is provided a semiconductor device having a protective layer surrounding the junction electrode.
본 발명의 제 4의 실시예에 관하여, 반도체 기판 상에 절연층을 형성하고, 상기 절연층의 표면 상에 접합 전극을 형성하고, 상기 절연층에 의해 상기 접합 전극을 둘러싸는 상기 절연층의 상기 표면의 위치에 보호층을 형성하는 반도체 장치의 제조 방법에 의하여 반도체 장치가 제조된다.In the fourth embodiment of the present invention, the insulating layer is formed on the semiconductor substrate, the junction electrode is formed on the surface of the insulation layer, and the insulation layer surrounds the junction electrode. A semiconductor device is manufactured by the manufacturing method of a semiconductor device which forms a protective layer in the position of a surface.
본 발명의 제 5의 실시예에 관하여, 반도체 기판과, 상기 반도체 기판 상에 형성된 절연층과, 상기 절연층의 표면 상에 형성된 접합 전극과, 상기 절연층의 표면 상에 형성되고, 상기 절연층에 의해 상기 접합 전극을 둘러싸는 보호층을 갖는 반도체 장치와, 상기 반도체 장치의 출력 신호를 처리하는 신호 처리 회로를 갖는 전자 기기가 제공된다.According to a fifth embodiment of the present invention, a semiconductor substrate, an insulating layer formed on the semiconductor substrate, a junction electrode formed on the surface of the insulating layer, and a surface formed of the insulating layer, There is provided an electronic device having a semiconductor device having a protective layer surrounding the junction electrode, and a signal processing circuit for processing an output signal of the semiconductor device.
도 1은 본 발명이 적용되는 반도체 장치의 한 예를 도시하는 개략 구성도.
도 2는 본 발명의 제 1의 실시예에 관한 반도체 장치의 구성을 도시하는 부분 단면도.
도 3a 내지 도 3f는 도 2의 반도체 장치의 제조에서의 센서 기판의 각각의 제작 순서를 도시하는 단면도.
도 4a 내지 도 4e는 도 2의 반도체 장치의 제조에서의 회로 기판의 각각의 제작 순서를 도시하는 단면도.
도 5a 및 도 5b는 도 2의 반도체 장치의 제조에서의 맞붙임의 각각 순서를 도시하는 단면도.
도 6의 A 내지 C, A' 내지 C' 및 D는 도 2의 반도체 장치의 비교례로서 반도체 장치의 제조 방법의 한 예를 도시하는 단면도.
도 7은 도 2의 반도체 장치의 변형례가 되는 반도체 장치의 구성을 도시하는 부분 단면도.
도 8은 본 발명의 제 2의 실시예에 관한 반도체 장치의 구성을 도시하는 부분 단면도.
도 9a 내지 도 9e는 본 발명의 제 2의 실시예에 관한 반도체 장치의 제조에서의 제 1 기판 또는 센서 기판의 제작 순서를 도시하는 단면도.
도 10a 및 도 10b는 제 2의 실시예에 관한 반도체 장치의 제조에서의 제 2 기판 또는 회로 기판의 제작 순서를 도시하는 단면도.
도 11a 및 도 11b는 제 2의 실시예에 관한 반도체 장치의 제조에서의 맞붙임의 각각 순서를 도시하는 단면도.
도 12a 및 도 12b는 Cu-Cu 접합시에 발생하는 문제를 설명하기 위한 단면도.
도 13은 Cu-Cu 접합시에 발생하는 다른 문제를 설명하기 위한 단면도.
도 14는 본 발명의 제 3의 실시예의 제 1의 실시 형태에 관한 반도체 장치에서의 접합 계면 부근의 단면도.
도 15는 도 14의 반도체 장치의 접합 계면 부근의 상면도.
도 16a 내지 도 16m은 도 15의 반도체 장치의 각각의 제작 순서를 설명하기 위한 단면도.
도 17은 본 발명의 제 3의 실시예의 제 2의 실시 형태에 관한 반도체 장치에서의 접합 계면 부근의 단면도.
도 18은 도 17의 반도체 장치의 접합 계면 부근의 상면도.
도 19a 내지 도 19e는 도 17의 반도체 장치의 각각의 제작 순서를 설명하기 위한 단면도.
도 20은 본 발명의 제 3의 실시예의 제 3의 실시 형태에 관한 반도체 장치에서의 접합 계면 부근의 단면도.
도 21은 도 20의 반도체 장치의 접합 계면 부근의 상면도.
도 22a 내지 도 22h는 도 20의 반도체 장치의 각각의 제작 순서를 설명하기 위한 단면도.
도 23은 변형례 1의 반도체 장치에서의 접합 계면 부근의 단면도.
도 24는 도 23의 반도체 장치의 제작 순서를 설명하기 위한 단면도.
도 25 및 도 26은 변형례 3 및 4의 반도체 장치에서의 접합 계면 부근의 단면도.
도 27 및 도 28은 참고예 1 및 2의 반도체 장치에서의 접합 계면 부근의 단면도.
도 29 및 도 30은 종래의 Cu-Cu 접합 수법에서 발생할 수 있는 문제를 설명하기 위한 도면.
도 31은 본 발명의 제 3의 실시예의 제 4의 실시 형태에 관한 반도체 장치에서의 접합 계면 부근의 단면도.
도 32는 도 31의 반도체 장치의 접합 계면 부근의 상면도.
도 33a 내지 도 33d는 도 31의 반도체 장치의 각각의 제작 순서를 설명하기 위한 도면.
도 34는 본 발명의 제 3의 실시예의 제 5의 실시 형태에 관한 반도체 장치에서의 접합 계면 부근의 단면도.
도 35는 도 34의 반도체 장치의 접합 계면 부근의 상면도.
도 36a 내지 도 36d는 도 34의 반도체 장치의 각각의 제작 순서를 설명하기 위한 도면.
도 37은 본 발명의 Cu-Cu 접합 기술을 적용할 수 있는 응용례 1의 반도체 장치의 구성례를 도시하는 단면도.
도 38은 본 발명의 Cu-Cu 접합 기술을 적용할 수 있는 응용례 2의 반도체 장치의 구성례를 도시하는 단면도.
도 39는 본 발명의 제 4의 실시예에 관한 반도체 장치의 접합 전극의 개략 구성을 도시하는 단면도.
도 40a는, 도 39의 접합 전극을 구비하는 반도체 장치의 개략 구성을 도시하는 단면도이고, 도 40b는, 도 40a에 도시하는 제 1 접합부의 접합면의 평면도.
도 41a 내지 도 41k는, 도 41a의 반도체 장치의 각각의 제작 순서를 설명하기 위한 도면.
도 42a는, 도 39의 변형례 1의 접합 전극을 구비하는 반도체 장치의 개략 구성을 도시하는 단면도이고, 도 42b는, 도 42a에 도시하는 제 1 접합부의 접합면에서의 평면도.
도 43a 내지 도 43g는, 도 42a의 반도체 장치의 각각의 제작 순서를 설명하기 위한 도면.
도 44는 도 39의 변형례 2의 접합 전극을 구비하는 반도체 장치의 개략 구성을 도시하는 단면도.
도 45는 본 발명을 적용하여 얻어진 반도체 장치를 이용한 전자 기기를 나타내는 개략 구성도.1 is a schematic configuration diagram showing an example of a semiconductor device to which the present invention is applied.
Fig. 2 is a partial sectional view showing the structure of a semiconductor device according to the first embodiment of the present invention.
3A to 3F are cross-sectional views showing respective manufacturing procedures of the sensor substrate in the manufacture of the semiconductor device of FIG. 2.
4A to 4E are cross-sectional views illustrating respective fabrication procedures of circuit boards in the manufacture of the semiconductor device of FIG. 2.
5A and 5B are cross-sectional views each showing the order of bonding in the manufacture of the semiconductor device of FIG. 2.
A to C, A 'to C', and D in FIG. 6 are cross-sectional views showing an example of a method of manufacturing a semiconductor device as a comparative example of the semiconductor device of FIG.
FIG. 7 is a partial cross-sectional view showing a configuration of a semiconductor device as a modification of the semiconductor device of FIG. 2.
8 is a partial cross-sectional view showing a configuration of a semiconductor device according to a second embodiment of the present invention.
9A to 9E are sectional views showing the manufacturing procedures of the first substrate or the sensor substrate in the manufacture of the semiconductor device according to the second embodiment of the present invention.
10A and 10B are sectional views showing the manufacturing procedures of the second substrate or the circuit board in the manufacture of the semiconductor device according to the second embodiment.
11A and 11B are cross-sectional views each showing the order of bonding in the manufacture of a semiconductor device according to the second embodiment.
12A and 12B are cross-sectional views for explaining problems occurring in Cu-Cu bonding.
13 is a cross-sectional view for explaining another problem occurring in the Cu-Cu bonding.
Fig. 14 is a sectional view of the vicinity of the bonding interface of the semiconductor device according to the first embodiment of the third example of the present invention.
15 is a top view of the vicinity of the bonding interface of the semiconductor device of FIG. 14;
16A to 16M are cross-sectional views for explaining the production procedures of each of the semiconductor devices of FIG. 15.
Fig. 17 is a sectional view of the vicinity of the bonding interface of the semiconductor device according to the second embodiment of the third example of the present invention.
18 is a top view of the vicinity of the bonding interface of the semiconductor device of FIG. 17.
19A to 19E are cross-sectional views illustrating the manufacturing procedures of each of the semiconductor devices of FIG. 17.
Fig. 20 is a sectional view of the vicinity of the bonding interface of the semiconductor device according to the third embodiment of the third embodiment of the present invention.
21 is a top view near the junction interface of the semiconductor device of FIG. 20;
22A to 22H are cross-sectional views illustrating respective fabrication procedures of the semiconductor device of FIG. 20.
23 is a cross-sectional view near the junction interface in the semiconductor device of Modification Example 1. FIG.
24 is a cross-sectional view illustrating a manufacturing procedure of the semiconductor device of FIG. 23.
25 and 26 are cross-sectional views near the bonding interface in the semiconductor devices of
27 and 28 are sectional views of the vicinity of the bonding interface in the semiconductor devices of Reference Examples 1 and 2. FIG.
29 and 30 are diagrams for explaining problems that may occur in the conventional Cu-Cu bonding method.
Fig. 31 is a sectional view of the vicinity of the bonding interface of the semiconductor device according to the fourth embodiment of the third embodiment of the present invention.
32 is a top view of the vicinity of the bonding interface of the semiconductor device of FIG. 31;
33A to 33D are diagrams for describing the manufacturing procedures of each of the semiconductor devices of FIG. 31.
Fig. 34 is a sectional view of the vicinity of the bonding interface of the semiconductor device according to the fifth embodiment of the third embodiment of the present invention.
35 is a top view of the vicinity of the bonding interface of the semiconductor device of FIG. 34;
36A to 36D are diagrams for describing the manufacturing procedures of each of the semiconductor devices of FIG. 34.
37 is a cross-sectional view illustrating a configuration example of a semiconductor device of Application Example 1 to which the Cu-Cu bonding technique of the present invention can be applied.
38 is a cross-sectional view illustrating a configuration example of a semiconductor device of Application Example 2 to which the Cu-Cu bonding technique of the present invention can be applied.
39 is a cross-sectional view showing a schematic configuration of a junction electrode of a semiconductor device according to the fourth embodiment of the present invention.
40A is a cross-sectional view illustrating a schematic configuration of a semiconductor device including the junction electrode of FIG. 39, and FIG. 40B is a plan view of the junction surface of the first junction portion illustrated in FIG. 40A.
41A to 41K are diagrams for describing respective fabrication procedures of the semiconductor device of FIG. 41A.
FIG. 42A is a cross-sectional view illustrating a schematic configuration of a semiconductor device including the junction electrode of Modification Example 1 of FIG. 39, and FIG. 42B is a plan view of the junction surface of the first junction portion illustrated in FIG. 42A.
43A to 43G are diagrams for describing the manufacturing procedures of each of the semiconductor devices of FIG. 42A.
44 is a cross-sectional view illustrating a schematic configuration of a semiconductor device including the junction electrode of Modification Example 2 of FIG. 39.
45 is a schematic block diagram showing an electronic device using a semiconductor device obtained by applying the present invention.
제 1의 실시예First embodiment
<<1. 제 1의 실시예의 반도체 장치의 개략 구성례>><< 1. Schematic Configuration Example of Semiconductor Device of First Embodiment >>
도 1은, 본 기술이 적용되는 3차원 구조의 반도체 장치의 한 예로서, 고체 촬상 장치의 개략 구성을 도시한다. 도 1에 도시하는 반도체 장치(1)는, 제 1 기판으로서의 센서 기판(2)과, 제 2 기판으로서의 회로 기판(7)을 포함하고, 이 센서 기판(2)에 대해 적층시킨 상태에서 맞붙여진 제 2 기판으로서의 회로 기판(7)을 구비한, 이른바 3차원 구조의 반도체 장치(고체 촬상 장치)이다. 이하, 제 1 기판으로서의 센서 기판(2)을 단지 센서 기판(2)이라고 칭하고, 제 2 기판으로서의 회로 기판(7)을 단지 회로 기판(7)이라고 칭한다.1 shows a schematic configuration of a solid-state imaging device as an example of a three-dimensional semiconductor device to which the present technology is applied. The
센서 기판(2)의 일면측에는, 광전 변환부를 포함하는 복수 화소(3)가 규칙적으로 2차원적으로 배열된 화소 영역(4)이 마련되어 있다. 화소 영역(4)에는, 복수 화소 구동선(5)이 행방향으로 배선되고, 복수의 수직 신호선(6)이 열방향으로 배선되어 있고, 하나의 화소(3)가 1개의 화소 구동선(5)과 1개의 수직 신호선(6)에 접속되는 상태로 배치되어 있다. 이들의 각 화소(3)에는, 광전 변환부와, 전하 축적부와, 복수 트랜지스터(이른바 MOS(metal oxide semiconductor) 트랜지스터) 및 용량 소자 등으로 구성된 화소 회로가 마련되어 있다. 또한, 복수 화소로 화소 회로의 일부를 공유하고 있는 경우도 있다.On one surface side of the
또한 회로 기판(7)의 일면측에는, 센서 기판(2)에 마련된 각 화소(3)를 구동하기 위한 수직 구동 회로(8), 칼럼 신호 처리 회로(9), 수평 구동 회로(10), 및 시스템 제어 회로(11) 등의 주변 회로가 마련되어 있다.In addition, one surface side of the
<<2. 제 1의 실시예의 반도체 장치의 구성>><< 2. Configuration of Semiconductor Device of First Embodiment >>
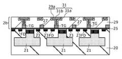
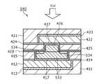
도 2는, 제 1의 실시예의 반도체 장치의 구성을 도시하는 단면도이고, 도 1에서의 3화소분의 단면도이다. 이하, 도 2의 단면도에 의거하여 제 1의 실시예의 반도체 장치의 상세한 구성을 설명한다.FIG. 2 is a cross-sectional view showing the configuration of the semiconductor device of the first embodiment, and is a cross-sectional view of three pixels in FIG. 1. Hereinafter, the detailed structure of the semiconductor device of 1st Example is demonstrated based on sectional drawing of FIG.
반도체 장치(1)는, 상술한 바와 같이 센서 기판(2)과 회로 기판(7)을 적층시킨 상태에서 맞붙인 3차원 구조의 고체 촬상 장치이다. 센서 기판(2)은, 반도체층(2a)과, 반도체층(2a)에서의 회로 기판(7)측의 면상에 배치된 배선층(2b) 및 전극층(2c)으로 구성되어 있다. 회로 기판(7)은, 반도체층(7a)과, 반도체층(7a)에서의 센서 기판(2)측의 면상에 배치된 제 1 배선층(7b), 제 2 배선층(7c), 및 전극층(7d)으로 구성되어 있다.As described above, the
이상과 같은 센서 기판(2)과 회로 기판(7)은, 전극층(2c)의 표면과 전극층(7d)의 표면을 맞붙임면으로 하여 맞붙여져 있고, 본 실시예의 반도체 장치(1)는 이후에 상세히 설명하는 바와 같이, 이들 전극층(2c) 및 전극층(7d)의 구성이 특징적이다.The
또한 센서 기판(2)에서의 회로 기판(7)과 반대측의 면에는, 보호막(15), 컬러 필터층(17), 및 온 칩 렌즈(19)가 이 순서로 적층되어있다.In addition, the
다음에, 센서 기판(2) 및 회로 기판(7)을 구성하는 각 층의 상세한 구성을 순차적으로 설명하고, 또한 보호막(15), 컬러 필터층(17), 및 온 칩 렌즈(19)의 구성을 차례로 설명한다.Next, the detailed structure of each layer which comprises the sensor board |
[반도체층(2a)(센서 기판(2)측)][
센서 기판(2)측의 반도체층(2a)은, 예를 들면 단결정 실리콘으로 이루어지는 반도체 기판을 박막화한 것이다. 이 반도체층(2a)에서, 컬러 필터층(17)이나 온 칩 렌즈(19) 등이 배치되어 있는 제 1면측에는, 예를 들면 n형 불순물층(또는 p형 불순물층)으로 이루어지는 광전 변환부(21)가 화소마다 마련되어 있다. 또한, 반도체층(2a)의 제 2면측에는, n+형 불순물층으로 이루어지는 플로팅 디퓨전(FD) 및 트랜지스터(Tr)의 소스/드레인(23), 나아가서는 여기에서 도시를 생략한 다른 불순물층 등이 마련되어 있다.The
[배선층(2b)(센서 기판(2)측)][
센서 기판(2)에서의 반도체층(2a)상에 마련된 배선층(2b)은, 반도체층(2a)과의 계면측에, 게이트 절연막(25)을 통하여 마련된 전송 게이트(TG) 및 트랜지스터(Tr)의 게이트 전극(27), 나아가서는 여기에서 도시를 생략한 다른 전극을 갖고 있다. 또한 이들의 전송 게이트(TG) 및 게이트 전극(27)은, 층간 절연막(29)으로 덮여 있고, 이 층간 절연막(29)에 마련된 홈 패턴 내에 예를 들면 구리(Cu)를 이용한 매입 배선(31)이 마련되어 있다.The
이 경우, 층간 절연막(29)은, 예를 들면 산화 실리콘을 이용하여 구성된다. 또한, 매입 배선(31)의 레이아웃이 조밀한 경우, 매입 배선(31) 사이의 용량을 저감하기 위해 산화 실리콘보다도 유전율이 낮은 재료를 이용하여 구성되어 있어도 좋다. 이와 같은 층간 절연막(29)에는, 회로 기판(7)측에 개구하는 홈 패턴이 형성되고, 홈 패턴의 일부가 전송 게이트(TG)나 게이트 전극(27)에 달하는 구성으로 되어 있다.In this case, the
이와 같은 홈 패턴 내에, 배리어 메탈층(31a)을 통하여 구리(Cu)로 이루어지는 배선층(31b)이 마련되고, 이들의 2층에 의해 매입 배선(31)이 구성되어 있다. 여기서 배리어 메탈층(31a)은, 산화 실리콘이나 이것보다도 유전율이 낮은 재료로 이루어지는 층간 절연막(29)에 대한 구리(Cu)의 확산을 방지하기 위한 층이고, 예를 들면 탄탈(Ta)이나 질화 탄탈(TaN)을 이용하여 구성된다.In such a groove pattern, the
또한, 이상과 같은 배선층(2b)은, 또한 적층된 다층 배선층으로서 구성되어 있어도 좋다.In addition, the
[전극층(2c)(센서 기판(2)측)][
배선층(2b)상에 마련된 센서 기판(2)측의 전극층(2c)은, 센서 기판(2)에서, 회로 기판(7)측의 표면에 인출된 제 1 전극(33)과, 제 1 전극(33)의 주위를 덮는 제 1 절연막(35)을 갖고 있다. 이들의 제 1 전극(33) 및 제 1 절연막(35)은, 센서 기판(2)에서 회로 기판(7)에 대한 맞붙임면(41)을 구성하고 있다.The
이 중 제 1 전극(33)은, 단일한 재료층으로 구성된 것으로, 예를 들면 구리(Cu)를 이용하여 구성되어 있다. 이와 같은 제 1 전극(33)은, 제 1 절연막(35)에 매입된 매입 배선으로서 구성되어 있다.Among these, the
또한 제 1 절연막(35)은, 배선층(2b)을 덮는 상태로 마련되어 있고, 회로 기판(7)측에 개구하는 홈 패턴(35a)을 구비하고, 이 홈 패턴(35a) 내에 제 1 전극(33)이 매입되어 있다. 즉, 제 1 절연막(35)은, 제 1 전극(33)의 주위에 접하여 마련되어 있다. 또한, 여기에서 도시는 생략하였지만, 제 1 절연막(35)에 마련된 홈 패턴(35a)의 일부는, 배선층(2b)에 마련한 매입 배선(31)에 달하고 있고, 이 내부에 매입된 제 1 전극(33)이 필요에 응하여 매입 배선(31)에 접속된 상태로 되어 있다.Moreover, the 1st insulating
이상과 같은 제 1 절연막(35)은, 제 1 전극(35)를 구성하는 재료에 대한 확산 방지 재료로 구성되어 있다. 이와 같은 확산 방지 재료로서는, 제 1 전극(35)을 구성하는 재료에 대한 확산 계수가 작은 것이 사용된다. 특히 본 실시 형태에서는, 확산 방지 재료를 이용한 단일한 재료층으로서 제 1 절연막(35)이 구성되어 있다. 또한 본 실시 형태에서, 제 1 절연막(35)은, 제 1 전극(33)에 대한 확산 방지 재료임과 함께, 회로 기판(7)에서 센서 기판(2)측의 표면에 인출된 제 2 전극(67)을 구성하는 재료에 대한 확산 방지 재료로 구성되어 있다.The 1st insulating
예를 들면 제 1 전극(33) 및 제 2 전극(67)이 구리(Cu)를 이용하여 구성된 것인 경우, 제 1 절연막(35)을 구성하는 확산 방지 재료로서는, 산화 실리콘보다도 분자 구조가 조밀한 무기 절연성 재료 또는 유기 절연성 재료가 사용된다. 이와 같은 무기 절연성 재료로서는, 질화 실리콘(SiN), 탄질화 실리콘(SiCN), 산질화 실리콘(SiON), 탄화 실리콘(SiC)이 예시된다. 또한 유기 절연성 재료로서는, 벤조시클로부텐(BCB), 폴리벤조옥사졸(PBO), 폴리이미드, 폴리알릴에테르(PAE)가 예시된다. 또한, 전극층(2c)은, 센서 기판(2)측의 최상층이기 때문에, 제 1 전극(33)의 레이아웃도 러프하다. 이 때문에, 제 1 전극(33) 사이에 용량이 붙기 어렵고, 제 1 절연막(35)에 대해 저유전율이 요구되는 일은 없다.For example, when the
이상과 같이, 센서 기판(2)에서의 회로 기판(7)측의 표면은, 회로 기판(7)과의 맞붙임면(41)으로서 구성되고, 제 1 전극(33) 및 제 1 절연막(35)만으로 구성된 상태로 되어 있다. 이 맞붙임면(41)은, 평탄화된 면으로서 구성되어 있다.As mentioned above, the surface of the
[반도체층(7a)(회로 기판(7)측)][
회로 기판(7)측의 반도체층(7a)은, 예를 들면 단결정 실리콘으로 이루어지는 반도체 기판을 박막화한 것이다. 이 반도체층(7a)에서, 센서 기판(2)측의 표면층에는, 트랜지스터(Tr)의 소스/드레인(51), 나아가서는 도 2에서 도시를 생략한 불순물층 등이 각 화소에 마련되어 있다.The
[제 1 배선층(7b)(회로 기판(7)측)][
회로 기판(7)측의 제 1 배선층(7b)은, 반도체층(7a)과의 계면측에, 게이트 절연막(53)을 통하여 마련된 게이트 전극(55), 나아가서는 여기에서 도시를 생략한 다른 전극을 갖고 있다. 이들의 게이트 전극(55) 및 다른 전극은, 층간 절연막(57)으로 덮여 있고, 이 층간 절연막(57)에 마련된 홈 패턴 내에는 예를 들면 구리(Cu)를 이용한 매입 배선(59)이 마련되어 있다.The
층간 절연막(57) 및 매입 배선(59)의 구성은, 센서 기판(2)측의 배선층(2b)과 마찬가지이다. 즉, 층간 절연막(57)에는, 센서 기판(2)측에 개구하는 홈 패턴이 형성되고, 홈 패턴의 일부가 게이트 전극(55)이나 소스/드레인(51)에 달하는 구성으로 되어 있다. 또한, 이와 같은 홈 패턴 내에, 배리어 메탈층(59a)을 통하여 구리(Cu)로 이루어지는 배선층(59b)이 마련되고, 이들의 2층에 의해 매입 배선(59)이 구성되어 있다.The structures of the
[제 2 배선층(7c)(회로 기판(7)측)]
회로 기판(7)측의 제 2 배선층(7c)은, 제 1 배선층(7b)과의 계면측에, 확산 방지 절연막(61)을 통하여 적층된 층간 절연막(63)을 구비하고 있다. 이들의 확산 방지 절연막(61) 및 층간 절연막(63)에 마련된 홈 패턴 내에 예를 들면 구리(Cu)를 이용한 매입 배선(65)이 마련되어 있다.The
확산 방지 절연막(61)은, 제 1 배선층(7b)에 마련된 매입 배선(59)을 구성하는 재료에 대한 확산 방지 재료로 구성되어 있다. 이와 같은 확산 방지 절연막(61)은, 예를 들면 질화 실리콘(SiN), 탄질화 실리콘(SiCN), 산질화 실리콘(SiON), 탄화 실리콘(SiC)으로 이루어진다.The diffusion
층간 절연막(63) 및 매입 배선(65)의 구성은, 센서 기판(2)측의 배선층(2b)과 마찬가지이다. 즉, 층간 절연막(63)에는, 센서 기판(2)측에 개구하는 홈 패턴이 형성되고, 홈 패턴의 일부가 제 1 배선층(7b)의 매입 배선(59)에 달하는 구성으로 되어 있다. 또한, 이와 같은 홈 패턴 내에, 배리어 메탈층(65a)을 통하여 구리(Cu)로 이루어지는 배선층(65b)이 마련되고, 이들의 2층에 의해 매입 배선(65)이 구성되어 있다.The structures of the
또한, 이상과 같은 제 1 배선층(7b), 제 2 배선층(7c)은, 또한 적층된 다층 배선층으로서 구성되어 있어도 좋다.In addition, the above-mentioned
[전극층(7d)(회로 기판(7)측)][
제 2 기판인 회로 기판(7)측의 전극층(7d)은, 회로 기판(7)에서, 센서 기판(2)측의 표면에 인출되어 제 1 전극(33)에 접합된 제 2 전극(67)과, 제 2 전극(67)의 주위를 덮는 제 2 절연막(69)을 갖고 있다. 이들의 제 2 전극(67) 및 제 2 절연막(69)은, 회로 기판(7)에서 센서 기판(2)에 대한 맞붙임면(71)을 구성하고 있고, 이하에 설명하는 바와 같이 센서 기판(2)측의 전극층(2c)과 마찬가지로 구성되어 있다.The
즉 제 2 전극(67)은, 단일한 재료층으로 구성된 것으로, 센서 기판(2)측에 마련한 제 1 전극(33)과 양호한 접합성이 유지되는 재료로 구성되어 있다. 이 때문에, 제 2 전극(67)은, 제 1 전극(33)과 동일 재료로 구성되어 있으면 좋고, 예를 들면 구리(Cu)를 이용하여 구성되어 있다. 이와 같은 제 2 전극(67)은, 제 2 절연막(69)에 매입된 매입 배선으로서 구성되어 있다.That is, the
또한 제 2 절연막(69)은, 제 2 배선층(7c)을 덮는 상태로 마련되어 있고, 각 화소에 센서 기판(2)측에 개구하는 홈 패턴(69a)을 구비하고, 이 홈 패턴(69a) 내에 제 2 전극(67)이 매입되어 있다. 즉, 제 2 절연막(69)은, 제 2 전극(67)의 주위에 접하여 마련되어 있다. 또한, 여기에서 도시는 생략하였지만, 제 2 절연막(69)에 마련된 홈 패턴(69a)의 일부는, 하층의 매입 배선(65)에 달하고 있고, 이 내부에 매입된 제 2 전극(67)이 필요에 응하여 매입 배선(65)에 접속된 상태로 되어 있다.Moreover, the 2nd insulating
이상과 같은 제 2 절연막(69)은, 제 2 전극(67)을 구성하는 재료에 대한 확산 방지 재료로 구성되어 있다. 특히 본 실시 형태에서는, 확산 방지 재료를 이용한 단일한 재료층으로서 제 2 절연막(69)이 구성되어 있다. 또한 본 실시예에서, 제 2 절연막(69)은, 제 2 전극(67)과 함께, 센서 기판(2)에서 회로 기판(7)과의 맞붙임면에 인출된 제 1 전극(33)을 구성하는 재료에 대한 확산 방지 재료로 구성되어 있으면 좋다.The second insulating
이와 같은 제 2 절연막(69)은, 센서 기판(2)측에 마련한 제 1 절연막(35)으로서 예시한 재료 중에서 선택한 재료를 이용할 수 있다. 또한, 제 2 절연막(69)은, 센서 기판(2)측에서의 제 1 절연막(35)과 양호한 접합성이 유지되는 재료로 구성되어 있다. 이 때문에, 제 2 절연막(69)은, 제 1 절연막(35)과 동일 재료로 구성되어 있으면 좋다. 또한, 전극층(7d)은, 회로 기판(7)측의 최상층이기 때문에, 제 2 전극(67)의 레이아웃도 러프하다. 이 때문에, 제 2 전극(67) 사이에 용량이 붙기 어렵고, 제 2 절연막(69)에 대해 저유전율이 요구되는 일은 없다.As the second insulating
이상과 같이, 회로 기판(7)에서의 센서 기판(2)측의 표면은, 센서측 기판(2)과의 맞붙임면(71)으로서 구성되고, 제 2 전극(67) 및 제 2 절연막(69)만으로 구성된 상태로 되어 있다. 이 맞붙임면(71)은, 평탄화된 면으로서 구성되어 있다.As described above, the surface of the
[보호막(15)][Protective Film 15]
센서 기판(2)의 광전 변환부(21)를 덮는 보호막(15)은, 패시베이션 특성을 갖는 재료막으로 구성되고, 예를 들면 산화 실리콘막, 질화 실리콘막, 또는 산질화 실리콘막 등이 사용된다.The
[컬러 필터층(17)][Color filter layer 17]
컬러 필터층(17)은, 각 광전 변환부(21)에 대응하여 1:1로 마련된 각 색의 컬러 필터로 구성되어 있다. 각 색의 컬러 필터의 배열이 한정되는 일은 없다.The
[온 칩 렌즈(19)][On-chip lens (19)]
온 칩 렌즈(19)는, 각 광전 변환부(21) 및 컬러 필터층(17)을 구성하는 각 색의 컬러 필터에 대응하여 1:1로 마련되고, 각 광전 변환부(21)에 입사광이 집광되도록 구성되어 있다.The on-
[제 1의 실시예의 반도체 장치의 작용 효과][Operational Effects of Semiconductor Device of First Embodiment]
이상과 같이 구성된 반도체 장치(1)에 의하면, 제 1 전극(33)에 대한 확산 방지 재료로 구성된 제 1 절연막(35)에 의해 제 1 전극(33)의 주위를 덮은 구조이기 때문에, 제 1 전극(33)과 제 1 절연막(35)과의 사이에 배리어 메탈층을 마련할 필요는 없다. 마찬가지로, 제 2 전극(67)에 대한 확산 방지 재료로 구성된 제 2 절연막(69)에 의해 제 2 전극(67)의 주위를 덮은 구조이기 때문에, 제 2 전극(67)과 제 2 절연막(69)과의 사이에 배리어 메탈층을 마련할 필요는 없다.According to the
이 때문에, 센서 기판(2)의 맞붙임면(41)과, 회로 기판(7)의 맞붙임면(71)의 각각을, 절연막(35, 69)과 전극(33, 67)만으로 구성하여 접합 강도를 확보하면서, 전극(33, 67)을 구성하는 재료의 절연막(35, 69)으로의 확산을 방지할 수 있다.For this reason, each of the
이 결과, 센서 기판(2)과 회로 기판(7)과의 맞붙임에 의해 전극(33, 67) 사이 접합이 이루어진 3차원 구조의 반도체 장치(1)에서, 전극 재료의 절연막(35, 69) 안으로 확산을 방지하면서도 맞붙임 강도가 확보되고, 신뢰성의 향상을 도모하는 것이 가능해진다.As a result, in the
<<3. 제 1의 실시예의 반도체 장치의 구조에서 센서 기판의 제작 순서>><< 3. Fabrication Procedure of Sensor Substrate in Structure of Semiconductor Device of First Embodiment >>
도 3a 내지 도 3f는, 제 1의 실시예에서 설명한 구성의 반도체 장치의 제조에 이용하는 센서 기판의 각각의 제작 순서를 나타낸다. 이하, 이들의 도면에 의거하여 본 실시예에 이용하는 센서 기판의 제작 순서를 설명한다.3A to 3F show the respective manufacturing procedures of the sensor substrate used for manufacturing the semiconductor device having the structure described in the first embodiment. Hereinafter, the manufacturing procedure of the sensor board used for a present Example is demonstrated based on these drawings.
[도 3a]3A
우선, 도 3a에 도시하는 바와 같이, 예를 들면 단결정 실리콘으로 이루어지는 반도체 기판(20)을 준비한다. 이 반도체 기판(20)의 소정 깊이에 n형 불순물층으로 이루어지는 광전 변환부(21)를 형성하고, 또한 광전 변환부(21)의 표면층에, n+형 불순물층으로 이루어지는 전하 전송부나 p+형 불순물층으로 이루어지는 정공용의 전하 축적부를 형성한다. 또한 반도체 기판(20)의 표면층에, n+형 불순물층으로 이루어지는 플로팅 디퓨전(FD), 및 소스/드레인(23), 나아가서는 여기에서 도시를 생략한 다른 불순물층을 형성한다.First, as shown in FIG. 3A, the
또한 반도체 기판(20)의 표면상에, 게이트 절연막(25)을 성막하고, 또한 이 상부에 전송 게이트(TG) 및 게이트 전극(27)을 형성한다. 전송 게이트(TG)는 플로팅 디퓨전(FD)과 광전 변환부(21)와의 사이에 형성되고, 게이트 전극(27)은, 소스/드레인(23) 사이에 형성된다. 또한 이것과 동일 공정에서, 여기에서 도시를 생략한 다른 전극을 형성한다.Further, a
그 후, 반도체 기판(20)상에, 전송 게이트(TG) 및 게이트 전극(27)을 덮는 상태로, 예를 들면 산화 실리콘으로 이루어지는 층간 절연막(29)을 성막한다.Thereafter, an
[도 3b]3b.
다음에, 도 3b에 도시하는 바와 같이, 층간 절연막(29)에 홈 패턴(29a)을 형성한다. 이 홈 패턴(29a)은, 필요에 응한 개소에서 전송 게이트(TG)에 달하는 형상으로 형성된다. 또한 도 3b에서 도시는 생략하였지만, 층간 절연막(29) 및 게이트 절연막(25)에는, 필요 개소에서 소스/드레인(23))에 달하는 홈 패턴을 형성한다.Next, as shown in FIG. 3B, the
다음에 홈 패턴(29a)의 내벽을 덮는 상태로, 배리어 메탈층(31a)을 성막하고, 이 상부에 홈 패턴(29a)을 매입하는 상태로 구리(Cu)로 이루어지는 배선층(31b)을 성막한다.Next, the
[도 3c]Figure 3c
그 후 도 3c에 도시하는 바와 같이, 화학적 기계 연마(chemical mechanical polishing : 이하 CMP)법에 의해, 배리어 메탈층(31a)이 노출할 때까지 배선층(31b)을 평탄화 제거하고, 또한, 층간 절연막(29)이 노출할 때까지 배리어 메탈층(31a)을 평탄화 제거한다. 이에 의해, 홈 패턴(29a) 내에 배리어 메탈층(31a)을 통하여 배선층(31b)을 매입하여 이루어지는 매입 배선(31)을 형성하고, 매입 배선(31)을 구비한 배선층(2b)을 얻는다.After that, as shown in FIG. 3C, the
이상까지의 공정은, 특히 공정 순서가 한정되는 일은 없고, 적절히 선택된 통상의 공정 순서로 행하면 좋다. 본 기술에서는, 다음의 공정부터가 특징적인 공정이 된다.The steps up to the above are not particularly limited in the order of the steps, and may be performed in a normal step selected appropriately. In the present technology, the following steps become characteristic steps.
[도 3d]3d]
즉 우선, 도 3d에 도시하는 바와 같이, 배선층(2b)상에, 제 1 절연막(35)을 성막한다. 제 1 절연막(35)은, 다음에 성막하는 제 1 전극막을 구성하는 재료에 대한 확산 방지 재료를 이용하여 성막된다. 예를 들면 제 1 전극막이 구리(Cu)로 이루어지는 경우, 제 1 절연막(35)은, 산화 실리콘보다도 분자 구조가 조밀한 무기 절연성 재료 또는 유기 절연성 재료가 사용된다. 이와 같은 무기 절연성 재료로서는, 질화 실리콘(SiN), 탄질화 실리콘(SiCN), 산질화 실리콘(SiON), 탄화 실리콘(SiC)이 예시된다. 또한 유기 절연성 재료로서는, 벤조시클로부텐(BCB), 폴리벤조옥사졸(PBO), 폴리이미드, 폴리알릴에테르(PAE)가 예시된다.That is, first, as shown in FIG. 3D, the first insulating
이상과 같은 각 재료로 이루어지는 제 1 절연막(35)은, 각각의 재료에 적합한 성막 방법으로 성막된다. 예를 들면, 무기 절연성 재료라면, 화학 기상 성장법(chemical vapor deposition : CVD)이 적용되고, 유기 절연성 재료라면 CVD법이나 도포법이 적용된다.The 1st insulating
다음에, 제 1 절연막(35)에, 홈 패턴(35a)을 형성한다. 이 홈 패턴(35a)은, 전극 패드가 매입된 형상을 가지며, 여기서는 도시되지 않은 필요 개소에서 하층의 매입 배선(31)에 달하고 있다.Next, the
이와 같은 홈 패턴(35a)은, 다음과 같이 하여 형성한다. 예를 들면 제 1 절연막(35)이 무기 절연 재료로 이루어지는 것이면, 우선 포토리소그래피법에 의해 제 1 절연막(35)상에 레지스트 패턴을 형성하고, 이것을 마스크로 하여 제 1 절연막(35)을 에칭한다. 한편, 제 1 절연막(35)이 유기 절연 재료로 이루어지는 것이면, 우선 제 1 절연막(35)상에 무기 재료층을 형성하고, 이 상부에 레지스트 패턴을 형성한다. 다음에, 레지스트 패턴을 마스크로 하여 무기 재료층을 에칭하여 무기 마스크를 형성한 후, 무기 마스크상에서 제 1 절연막(35)을 에칭한다. 이에 의해 홈 패턴(35a)을 형성하고, 홈 패턴(35a)을 형성한 후에, 제 1 절연막(35)상에서 무기 마스크를 제거한다.
[도 3e]3e]
다음에, 도 3e에 도시하는 바와 같이, 제 1 절연막(35)상에, 홈 패턴(35a)을 매입한 상태에서, 제 1 전극막(33a)을 직접 성막한다. 제 1 전극막(33a)은, 제 1 절연막(35)에 대한 확산이 방지된 재료로 이루어지고, 예를 들면 구리(Cu)를 이용하여 구성된다. 이와 같은 제 1 전극막(33a)의 성막은, 예를 들면 스퍼터법에 의해 얇은 시드(seed)층을 성막한 후, 이 시드층을 전극으로 하는 도금법에 의해 행하여진다.Next, as shown in FIG. 3E, the
[도 3f]Figure 3f
뒤이어, 도 3f에 도시하는 바와 같이, CMP법에 의해, 제 1 절연막(35)이 노출할 때까지 제 1 절연막(35)상에 직접 성막된 제 1 전극막(33a)을 평탄화 제거한다. 이때, 제 1 절연막(35)을 연마 스토퍼로 하고, 연마면 내에서 주위에 제 1 절연막(35)이 노출한 제 1 전극막(33a) 부분부터 차례로, 연마가 자동적으로 정지하는 CMP를 행한다. 이와 같은 CMP는, 제 1 전극막(33a)이 구리(Cu)로 대표된 화학적으로 활성한 재료라면 좋고, 다음과 같은 다양한 방법이 예시된다.Subsequently, as illustrated in FIG. 3F, the
예를 들면, 제 1 전극막(33a)의 CMP에 의한 연마의 진행에 의해 주위에 제 1 절연막(35)이 노출한 부분에서는, 연마 슬러리의 국소적인 온도 변화나, 연삭면에서의 제 1 절연막(33a)의 점유률의 국소적인 변화가 발생한다. 그래서, 이들의 국소적인 변화를 이용한 화학적 작용에 의해, 주위에 제 1 절연막(35)이 노출한 제 1 전극막(33a) 부분에서, 국소적으로 CMP에 의한 연마의 진행을 자동적으로 정지시키는 방법이 예시된다.For example, in the part where the 1st insulating
또한 전극막(33a)의 표면만을 변질시켜서, 화학적인 에칭 작용을 이용하지 않고, 연마 패드가 접촉한 부분에서만 연마를 진행시키는 다른 방법이 예시된다. 이 경우, 제 1 전극막(33a)의 CMP에 의한 연마의 진행에 의해 주위에 제 1 절연막(35)이 노출한 제 1 전극막(33a) 부분에서는, 제 1 절연막(35)의 표면이 기준면이 되고, 그 이상 연마가 진행되는 일은 없다. 이 때문에, 주위에 제 1 절연막(35)이 노출한 제 1 전극막(33) 부분부터 차례로, 연마가 자동으로 정지한다. 구체적으로는, 연마 슬러리로서 지립(grain) 없는 Cu용 연마 슬러리 "HS-C430"(Hitachi Chemical Co., Ltd.의 상품명)를 이용함에 의해, 이와 같은 CMP가 행하여진다.Further, another method is described in which only the surface of the
이상에 의해, 홈 패턴(35a) 내에 제 1 전극막(33a)을 매입하여 이루어지는 제 1 전극(33)을 매입 전극으로서 형성하고, 제 1 전극(33)을 구비한 전극층(2c)을 얻는다. 또한 이에 의해, 제 1 전극(33)과 제 1 절연막(35)으로 구성된 평탄한 맞붙임면(41)을 갖는 센서 기판(2)이, 제 1 기판으로서 제작된다.By the above, the
<<4. 제 1의 실시예의 반도체 장치의 제조에서의 회로 기판의 제작 순서>><< 4. Procedure for Manufacturing Circuit Board in Manufacturing of Semiconductor Device of First Embodiment >>
도 4a 내지 도 4e는, 제 1의 실시예에서 설명한 구성의 반도체 장치의 제조에 이용하는 회로 기판의 제작 순서를 나타낸다. 이하, 도 4a 내지 도 4e에 의거하여 실시예에 이용하는 회로 기판의 제작 순서를 설명한다.4A to 4E show the manufacturing procedures of the circuit board used for manufacturing the semiconductor device having the structure described in the first embodiment. Hereinafter, the manufacturing procedure of the circuit board used for an Example based on FIG. 4A-FIG. 4E is demonstrated.
[도 4a][FIG. 4A]
우선, 도 4a에 도시하는 바와 같이, 예를 들면 단결정 실리콘으로 이루어지는 반도체 기판(50)을 준비한다. 이 반도체 기판(50)의 표면층에, 각 도전형의 소스/드레인(51), 및 여기에서 도시를 생략한 다른 불순물층을 형성한다. 또한 반도체 기판(50)의 표면상에, 게이트 절연막(53)을 성막하고, 또한 이 상부에 게이트 전극(55)을 형성한다. 게이트 전극(55)은, 소스/드레인(51) 사이에 형성된다. 또한 이것과 동일 공정으로, 여기에서 도시를 생략한 다른 전극을 형성한다.First, as shown in FIG. 4A, the
그 후, 반도체 기판(50)상에, 게이트 전극(55)을 덮는 상태로, 예를 들면 산화 실리콘으로 이루어지는 층간 절연막(57)을 성막한다.Thereafter, an
다음에, 층간 절연막(57)에 홈 패턴(57a)을 형성한다. 이 홈 패턴(57a)은, 필요에 응한 개소에서 게이트 전극(55)에 달하는 형상으로 형성된다. 또한 여기에서 도시는 생략하였지만, 층간 절연막(57) 및 게이트 절연막(53)에는, 필요 개소에서 소스/드레인(51))에 달하는 홈 패턴을 형성한다. 다음에 홈 패턴(57a)의 내벽을 덮는 상태로, 배리어 메탈층(59a)을 성막하고, 이 상부에 홈 패턴(57a)을 매입한 상태에서 구리(Cu)로 이루어지는 배선층(59b)을 성막한 후, CMP에 의해 배선층(59b) 및 배리어 메탈층(59a)을 순차적으로 평탄화 제거한다. 이에 의해, 홈 패턴(57a) 내에 배리어 메탈층(59a)을 통하여 배선층(59b)을 매입하여 이루어지는 매입 배선(59)을 형성하고, 매입 배선(59)을 구비한 제 1 배선층(7b)을 얻는다.Next, a
[도 4b]4b.
다음에, 도 4b에 도시하는 바와 같이, 제 1 배선층(7b)상에 확산 방지 절연막(61)을 통하여 층간 절연막(63)을 적층시켜서 성막하고, 이 층간 절연막(63) 및 확산 방지 절연막(61)에 홈 패턴(63a)을 형성한다. 이 홈 패턴(63a)은, 필요에 응한 개소에서 하층의 매입 배선(59)에 달하여 형성된다. 그 후는, 제 1 배선층(7b)의 형성 순서와 마찬가지로 하여, 홈 패턴(63a) 내에 배리어 메탈층(65a)을 통하여 배선층(65b)을 매입하여 이루어지는 매입 배선(65)을 형성하고, 제 2 배선층(7c)을 얻는다.Next, as shown in FIG. 4B, an
이상까지의 공정은, 통상의 공정 순서로 행하면 좋고, 또한 특히 공정 순서가 한정되는 일은 없고, 알맞은 순서로 행할 수 있다. 본 기술에서는, 다음의 공정부터가 특징적인 공정이 된다.The steps up to the above may be performed in a normal step sequence, and the step is not particularly limited, and the steps can be performed in a proper order. In the present technology, the following steps become characteristic steps.
[도 4c]Figure 4c
즉 우선, 도 4c에 도시하는 바와 같이, 제 2 배선층(7c)상에, 제 2 절연막(69)을 성막한다. 제 2 절연막(69)은, 다음에 성막하는 제 2 전극막을 구성하는 재료에 대한 확산 방지 재료를 이용하여 성막된다. 예를 들면 제 2 전극막이 구리(Cu)로 이루어지는 경우, 제 2 절연막(69)은, 앞서 설명한 센서 기판(2)측의 제 1 절연막(35)과 같은 재료가 사용되고, 마찬가지로 성막된다.That is, first, as shown in FIG. 4C, the second insulating
다음에, 제 2 절연막(69)에, 홈 패턴(69a)을 형성한다. 이 홈 패턴(69a)은, 전극 패드가 매입되는 형상을 가지며, 필요 개소에서 제 2 배선층(7c)에 형성된 매입 배선(65)에 달하고 있다. 이와 같은 홈 패턴(69a)의 형성은, 앞서 설명한 센서 기판(2)측의 제 1 절연막(35)에 형성한 홈 패턴(35a)과 마찬가지로 형성된다.Next, a
[도 4d][FIG. 4D]
다음에, 도 4d에 도시하는 바와 같이, 제 2 절연막(69)상에, 홈 패턴(69a)을 매입하는 상태로, 제 2 전극막(67a)을 직접 성막한다. 제 2 전극막(67a)은, 제 2 절연막(69)에 대한 확산이 방지된 재료로 이루어지고, 예를 들면 구리(Cu)를 이용하여 구성된다. 이와 같은 제 2 전극막(67a)의 성막은, 예를 들면 스퍼터법에 의해 얇은 시드층을 성막한 후, 이 시드층을 전극으로 하는 도금법에 의해 행하여진다.Next, as shown in FIG. 4D, the
[도 4e]4E
뒤이어, 도 4e에 도시하는 바와 같이, CMP법에 의해, 제 2 절연막(69)이 노출할 때까지 제 2 전극막(67a)을 평탄화 제거한다. 제 2 전극막(67a)의 평탄화는, 도 3f를 이용하여 설명한 제 1 전극막(33a)의 평탄화와 마찬가지로, 제 2 절연막(69)을 연마 스토퍼로 하고, 연마면 내에서 주위에 제 2 절연막(69)이 노출한 제 2 전극막(67a) 부분부터 차례로, 연마가 자동적으로 정지하는 CMP에 의해 행한다.Subsequently, as shown in FIG. 4E, the
이상에 의해, 홈 패턴(69a) 내에 제 2 전극막(67a)을 매입하여 이루어지는 제 2 전극(67)을 형성하고, 매입 전극으로서의 제 2 전극(67)을 구비한 전극층(7d)을 얻는다. 또한 이에 의해, 제 2 전극(67)과 제 2 절연막(69)으로 구성된 평탄한 맞붙임면(71)을 갖는 회로 기판(7)이, 제 2 기판으로서 제작된다.By the above, the
<<5. 제 1의 실시예의 반도체 장치의 제조에서의 기판의 맞붙임>><< 5. Bonding of Substrates in Manufacturing of Semiconductor Device of First Embodiment >>
다음에, 도 5a 및 도 5b를 이용하여, 평탄한 맞붙임면(41)이 형성된 센서 기판(2)과, 평탄한 맞붙임면(71)이 형성된 회로 기판(7)과의 맏붙임 순서를 설명한다.5A and 5B, the first attaching procedure of the
[도 5a]Fig. 5a.
우선, 도 5a에 도시하는 바와 같이, 상술한 순서로 제작한 센서 기판(2)과 회로 기판(7)을, 평탄한 맞붙임면(41)-맞붙임면(71)끼리를 마주 대하게 하여 대향 배치한다. 또한, 센서 기판(2)측의 제 1 전극(33)과, 회로 기판(7)측의 제 2 전극(67)이 대응하도록, 센서 기판(2)과 회로 기판(7)을 위치 맞춤한다. 도시한 예에서는, 제 1 전극(33)과 제 2 전극(67)이 1:1로 대응하고 있는 상태를 나타냈지만, 대응 상태는 이것으로 한정되는 일은 없다.First, as shown to FIG. 5A, the sensor board |
또한, 센서 기판(2)의 맞붙임면(41), 및 회로 기판(7)의 맞붙임면(71)에 대해서는, 필요에 응하여 웨트 처리 또는 플라즈마 처리에 의한 맞붙임의 전처리를 시행하여 둔다.In addition, the
[도 5b]5b.
다음에, 도 5b에 도시하는 바와 같이, 센서 기판(2)과 회로 기판(7)을, 맞붙임면(41)과 맞붙임면(71)끼리를 접촉시켜서 적층시킨다. 이 상태에서 열처리를 행함에 의해, 맞붙임면(41)의 제 1 전극(33)과, 맞붙임면(71)의 제 2 전극(67)을 접합시킨다. 맞붙임면(41)의 제 1 절연막(35)과 맞붙임면(71)의 제 2 절연막(69)을 접합시킨다. 이와 같은 열처리는, 제 1 전극(33)과 제 2 전극(67)을 구성하는 재료에 의해, 센서 기판(2) 및 회로 기판(7)에 형성된 소자나 배선에 영향이 없는 범위에서 이들의 전극(33, 67)이 충분히 접합하는 온도 및 시간에서 행하여진다.Next, as shown in FIG. 5B, the
예를 들면, 제 1 전극(33) 및 제 2 전극(67)이, 구리(Cu)를 주로 하는 재료로 구성되는 경우, 200℃ 내지 600℃에서 1 내지 5시간 정도의 열처리가 행하여진다. 이와 같은 열처리는, 가압 분위기하에서 행하여도 좋고, 센서 기판(2)과 회로 기판(7)을 양면측으로부터 가압한 상태에서 행하여도 좋다. 한 예로서, 400℃에서 4시간의 열처리를 행함으로써, Cu-Cu 접합을 행한다.For example, when the
이상과 같이 하여 센서 기판(2)과 회로 기판(7)을 적층시켜서, 이들의 사이를 접합면(41, 71) 사이에서 맞붙인 후, 센서 기판(2)측의 반도체 기판(20)을 박막화하여 반도체층(2a)으로 하고, 광전 변환부(21)를 노출시킨다. 또할 필요에 응하여 회로 기판(7)측의 반도체 기판(50)을 박막화하여 반도체층(7a)으로 한다.The
[도 2]2
그 후, 도 2에 도시한 바와 같이, 센서 기판(2)에서의 광전 변환부(21)의 노출면상에 보호막(15)을 성막하고, 또한 보호막(15)상에 컬러 필터층(17) 및 온 칩 렌즈(19)를 형성하고, 반도체 장치(고체 촬상 장치)를 완성시킨다.After that, as shown in FIG. 2, the
[제 1의 실시예의 반도체 장치의 제조 방법의 작용 효과][Operational Effect of Manufacturing Method of Semiconductor Device of First Embodiment]
이상 설명한 제 1의 실시예의 제조 방법에 의하면, 도 3f를 이용하여 설명한 바와 같이, 센서 기판(2)의 형성에 있어서, 제 1 절연막(35)상에 직접 성막된 제 1 전극막(33a)을, 제 1 절연막(35)을 연마 스토퍼로 한 CMP에 의해 평탄화 및 제거하고 있다. 이때, 주위에 제 1 절연막(35)이 노출한 제 1 전극막(33a) 부분부터 차례로, 연마를 자동적으로 정지시킨 CMP를 행함에 의해, 연삭면의 전면에서 디싱(dishing)이나 에로전(erosion)의 발생을 방지할 수 있고, 평탄한 연삭면을 맞붙임면(41)으로서 얻는 것이 가능해진다.According to the manufacturing method of the first embodiment described above, as described with reference to FIG. 3F, in the formation of the
또한, 도 4e를 이용하여 설명한 공정에서도, 상술과 마찬가지로 평탄한 연삭면을 맞붙임면(71)으로서 얻는 것이 가능해진다.Moreover, also in the process demonstrated using FIG. 4E, it becomes possible to obtain the flat grinding surface as the
따라서 도 5a 및 도 5b을 이용하여 설명한 맏붙임의 공정에서는, 센서 기판(2)과 회로 기판(7)과의 맞붙임을, 서로 평탄한 맞붙임면(41)과 맞붙임면(71)과의 사이에서 행할 수 있다. 이에 의해, 맞붙임면(41)과 맞붙임면(71)의 전면 사이에서, 양호한 전극(33-67) 사이 접합이 이루어진 맞붙임이 행하여지고, 센서 기판(2)과 회로 기판(7)과의 맞붙임 강도를 유지하는 것이 가능해진다.Therefore, in the process of the first bonding described with reference to FIGS. 5A and 5B, the bonding between the
또한, 센서 기판(2)측의 맞붙임면(41)을 구성하는 제 1 절연막(35)은, 제 1 전극(33)에 대한 확산 방지 재료로 구성되어 있다. 이 때문에, 제 1 절연막(35)에의 제 1 전극(33)의 확산을 방지할 수 있다. 마찬가지로, 회로 기판(7)측의 맞붙임면(71)을 구성하는 제 2 절연막(69)은, 제 2 전극(67)에 대한 확산 방지 재료로 구성되어 있다. 이 때문에, 제 2 전극(67)의 제 2 절연막(69)으로의 확산을 방지할 수 있다. 따라서 상술한 바와 같은 전극(33, 67) 사이의 접합 강도를 유지한 맞붙임을 실현 가능한 구성으로 되어 있다.In addition, the 1st insulating
그 밖에도, 회로 기판(7)측의 제 2 전극(67)에 대한 확산 방지 재료에 의해 센서 기판(2)측의 제 1 절연막(35)을 구성하고, 센서 기판(2)측의 제 1 전극(33)에 대한 확산 방지 재료에 의해 회로 기판(7)측의 제 2 절연막(69)을 구성한다. 이에 의해, 센서 기판(2)과 회로 기판(7)과의 사이에서의 전극 재료의 상호 확산도 방지할 수 있다.In addition, the 1st insulating
더하여, 센서 기판(2)측의 맞붙임면(41)이 제 1 전극(33)과 제 1 절연막(35)만으로 구성되고, 회로 기판(7)측의 맞붙임면(71)이 제 2 전극(67)과 제 2 절연막(69)만으로 구성되어 있다. 이 때문에, 화학적으로 불활성이어서 접합 강도를 유지하기 어려운 배리어 메탈층에 의해 맞붙임면(41, 71)이 구성되는 일은 없고, 맞붙임면의 구성이 단순화되고, 이에 의해서도 접합 강도를 유지하는 것이 가능해진다.In addition, the
도 6의 A 내지 C, A' 내지 C' 및 D는, 비교예가 되는 반도체 장치의 제조 순서를 도시한다. 도 6의 A 내지 D에 도시한 비교예의 순서는, 다음과 같이 행한다.A to C, A 'to C' and D in FIG. 6 show a manufacturing procedure of the semiconductor device as a comparative example. The comparative example shown to A to D of FIG. 6 is performed as follows.
우선 도 6의 A에 도시하는 바와 같이, 한쪽의 기판 표면을 덮는 제 1 절연막(101)에 홈 패턴(101a)을 형성하고, 이 홈 패턴(101a)에 따라 전극 재료에 대한 배리어 메탈층(102)을 성막한 후, 이 상부에 구리(Cu)로 이루어지는 제 1 전극막(103a)을 성막한다. 뒤이어, 도 6의 B에 도시하는 바와 같이, 제 1 전극막(103a)을 CMP에 의해 평탄화 제거하고, 배리어 메탈층(102)을 노출시킨다. 이때, 배리어 메탈층(102)을 연마 스토퍼로 한 CMP를 행한다. 또한 이 CMP에서는, 연마면 내에서 주위에 배리어 메탈층(102)이 노출한 제 1 전극막(103a) 부분부터 차례로, 연마가 자동적으로 정지하는 CMP를 행한다.First, as shown in FIG. 6A, a
그 후, 도 6의 C에 도시하는 바와 같이, 배리어 메탈층(102)을 연마에 의해 평탄화 제거하고, 제 1 절연막(101)을 노출시킨다. 이상에 의해, 제 1 절연막(101)의 홈 패턴(101a) 내에, 배리어 메탈층(102)을 통하여 구리(Cu)로 이루어지는 제 1 전극막(103a)이 매입된 제 1 전극(103)을 형성한다.Thereafter, as shown in FIG. 6C, the
한편, 도 6의 A' 내지 도 6의 C'에 도시하는 바와 같이, 다른쪽의 기판의 표면측에도, 같은 순서로 제 2 절연막(201)의 홈 패턴(201a) 내에, 배리어 메탈층(202)을 통하여 구리(Cu)로 이루어지는 제 2 전극막(203a)이 매입된 제 2 전극(203)을 형성한다.6A 'to 6', the
그 후, 도 6의 D에 도시하는 바와 같이, 각각의 연삭면을 대향 배치하고, 제 1 전극(103)과 제 2 전극(203)을 대응시켜서 접합시켜서, 2개의 기판의 맞붙임을 행한다.Thereafter, as shown in FIG. 6D, the respective grinding surfaces are disposed to face each other, the
이와 같은 비교예의 순서에서는, 도 6의 B로부터 도 6의 C에 이르는 배리어 메탈층(102)과 제 1 전극막(103a)의 연마에 있어서, 화학적으로 활성인 구리(Cu)로 이루어지는 제 1 전극막(103a)의 급격한 노출 면적의 변화가 생기는 일이 없다. 이 때문에, 주위에 제 1 절연막(101)이 노출한 제 1 전극막(103a) 부분부터 차례로, 연마를 자동적으로 정지시키는 CMP를 행할 수는 없다. 따라서 연마면 내에서의 디싱이나 에로전의 발생을 방지할 수 없고, 평탄한 연삭면을 얻는 것이 곤란하다. 이것은, 도 6의 C'에 도시하는 공정도 마찬가지이다.In the order of this comparative example, the first electrode made of chemically active copper (Cu) in polishing of the
따라서, 도 6의 D에 도시한 바와 같이, 평탄성에 뒤떨어지는 연삭면끼리를 대향시켜서 기판끼리 맞붙여도, 충분한 접착 강도를 얻을 수가 없고, 게다가 제 1 전극(103)과 제 2 전극(203)과의 접합 강도도 충분히 얻을 수가 없다.Therefore, as shown in FIG. 6D, even when the substrates are joined to each other by facing grinding surfaces that are inferior in flatness, sufficient adhesive strength cannot be obtained, and the
또한, 도 6의 C에 도시한 연삭면은, 제 1 절연막(101), 배리어 메탈층(102), 및 제 1 전극(103)으로 구성된다. 한편, 도 6의 C'에 도시한 연삭면도, 제 2 절연막(201), 배리어 메탈층(202), 및 제 2 전극(203)으로 구성된다. 이 때문에, 연삭면끼리의 맞붙임 계면에는, 제 1 절연막(101) 및 제 1 전극(103)과 배리어 메탈층(202)과의 접합 계면, 제 2 절연막(201) 및 제 2 전극(203)과 배리어 메탈층(102)과의 접합 계면도 발생한다. 그러나, 배리어 메탈층(102, 202)은, 화학적으로 불활성이기 때문에, 맞붙임에 플라즈마 처리나 웨트 처리로의 전처리가 곤란하다. 이 때문에 맞붙임면에서 배리어 메탈층(102, 202)이 노출하고 있는 부분에서는, 접합 강도를 얻을 수가 없고, 기판 사이의 접착 강도의 저하를 초래하는 요인이 된다.In addition, the grinding surface shown in FIG. 6C is composed of the first insulating
이상과 같은 비교예에 대해, 도 2에 도시한 본 실시예의 반도체 장치에서는, 제 1 전극(33) 및 제 1 절연막(35), 제 2 전극(67) 및 제 2 절연막(69)의, 각각 2종류로 단순화된 평탄한 맞붙임면(41)과 맞붙임면(71)과의 사이에서 맞붙임이 행하여진다. 그리고, 제 1 전극(33)과 제 2 전극(67) 사이, 제 1 절연막(35)과 제 2 절연막(69) 사이, 제 1 전극(33)과 제 2 절연막(69) 사이, 및 제 2 전극과 제 1 절연막(35) 사이는, 각각 충분한 접합 강도를 얻는 것이 가능하다. 이 때문에 센서 기판(제 1 기판)(2)과 회로 기판(제 2 기판)(7) 사이에는, 충분한 맞붙임 강도를 얻는 것이 가능한 것이다.In the above-described comparative example, in the semiconductor device of the present embodiment shown in FIG. 2, each of the
<<6. 제 1의 실시예의 반도체 장치의 변형례>><< 6. Modification of the semiconductor device of the first embodiment >>
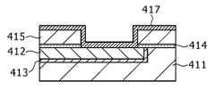
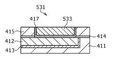
도 7은, 제 1의 실시예의 변형례에 관한 반도체 장치(1')를 나타낸다. 도 7에 도시하는 바와 같이, 제 1 기판으로서의 센서 기판(2)에는, 층간 절연막(35-1)과 확산 방지 절연막(35-2)을 이용한 제 1 절연막(35')을 마련하여도 좋다. 이 경우, 예를 들면 산화 실리콘이나 저유전율 재료를 이용한 층간 절연막(35-1)에, 홈 패턴(35a)이 마련되고, 이 홈 패턴(35a)의 내벽을 포함하는 층간 절연막(35-1)을 덮는 상태로, 확산 방지 절연막(35-2)이 마련되어 있다. 그리고, 홈 패턴(35a) 내에, 확산 방지 절연막(35-2)을 통하여 제 1 전극(33)이 마련되어 있다. 이에 의해, 제 1 전극(33)의 주위는 확산 방지 절연막(35-2)으로 둘러싸이고, 제 1 전극(33)과 확산 방지 절연막(35-2)으로 맞붙임면(41)이 구성된 상태로 되어 있다.7 shows a semiconductor device 1 'according to a modification of the first embodiment. As shown in FIG. 7, the first insulating
또한 제 2 기판으로서의 회로 기판(7)에도, 마찬가지로 하여 층간 절연막(69-1)과 확산 방지 절연막(69-2)을 이용한 제 2 절연막(69')을 마련하여도 좋다. 이에 의해, 제 2 전극(67)의 주위는 확산 방지 절연막(69-2)으로 둘러싸이고, 제 2 전극(67)과 확산 방지 절연막(69-2)으로 맞붙임면(71)이 구성된 상태로 되어 있다.Similarly, the
또한, 상술한 구성의 반도체 장치(1')라 하여도, 센서 기판(2)의 맞붙임면(41)과, 회로 기판(7)의 맞붙임면(71)을, 확산 방지 절연막(35-2, 69-2)과 전극(33, 67)만으로 구성하여 접합 강도를 확보하는 것이 가능하다. 게다가, 전극(33, 67)을 구성하는 재료의 층간 절연막(35-1, 69-1)으로의 확산을 방지할 수 있다.In addition, also in the semiconductor device 1 'having the above-described configuration, the
이 결과, 2장의 기판(2-7)의 맞붙임에 의해 제 1 전극(33)-제 2 전극(67)끼리의 접합이 이루어진 3차원 구조의 반도체 장치(1')에서, 전극 재료의 확산을 방지하면서도 맞붙임 강도가 확보되고, 신뢰성의 향상을 도모하는 것이 가능해진다.As a result, in the semiconductor device 1 'of the three-dimensional structure in which the
또한 이상과 같은 구성의 반도체 장치(1')의 제조에 있어서, 제 1 기판인 센서 기판(2)을 제작하는 경우, 확산 방지 절연막(35-2)을 스토퍼로 하여 제 1 전극(33)을 구성하는 막을 CMP에 의해 연마하면 좋다. 이 때문에, 확산 방지 절연막(35-2)이 노출한 시점을 연마의 종점으로서 정확하게 검출할 수 있고, 디싱을 발생시키는 일 없이 CMP를 종료시켜서 평탄한 연삭면을 맞붙임면(41)으로서 얻는 것이 가능해진다.In the manufacture of the
또한 제 2 기판인 회로 기판(7)을 제작하는 경우도 마찬가지로, 확산 방지 절연막(69-2)을 스토퍼로 하여 제 2 전극(67)을 구성하는 막을 CMP에 의해 연마하면 좋다. 이 때문에, 마찬가지로 평탄한 연삭면을 맞붙임면(71)으로서 얻는 것이 가능해진다.Also in the case of manufacturing the
이 결과, 앞의 제 1의 실시예의 제조 방법과 마찬가지로, 맞붙임면(41)과 맞붙임면(71)의 전면 사이에서 접합이 이루어진 맞붙임이 행하여지고, 센서 기판(2)과 회로 기판(7)과의 맞붙임 강도를 유지하는 것이 가능해진다. 게다가, 회로 기판(7)측의 제 2 전극(67)에 대한 확산 방지 재료에 의해 센서 기판(2)측의 확산 방지 절연막(35-2)을 구성하고, 센서 기판(2)측의 제 1 전극(33)에 대한 확산 방지 재료에 의해 회로 기판(7)측의 확산 방지 절연막(69-2)을 구성하여도 좋다. 이에 의해, 센서 기판(2)과 회로 기판(7)과의 사이에서의 전극 재료의 확산도 방지할 수 있다. 더하여, 센서 기판(2)측의 맞붙임면(41)이 제 1 전극(33)과 확산 방지 절연막(35-2)만으로 구성되고, 회로 기판(7)측의 맞붙임면(71)이 제 2 전극(67)과 확산 방지 절연막(69-2)만으로 구성되어 있다. 이 때문에, 맞붙임면의 구성이 단순화되고, 이에 의해서도 접합 강도를 유지하는 것이 가능해진다.As a result, similarly to the manufacturing method of the first embodiment, the joining is performed between the joining
제 2의 실시예Second embodiment
<<1. 제 2의 실시예의 반도체 장치의 구성>><< 1. Configuration of Semiconductor Device of Second Embodiment >>
도 8은 본 발명의 제 2의 실시예에 관한 반도체 장치의 부분 단면 구성을 나타낸다. 뒤에서 본 실시예의 반도체 장치의 상세 구성을 도 8을 참조하여 설명한다.8 shows a partial cross-sectional structure of a semiconductor device according to the second embodiment of the present invention. A detailed configuration of the semiconductor device of this embodiment will be described below with reference to FIG. 8.
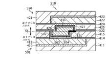
도 8에 나타난 반도체 소자(301)는 절연성 박막(312)이 사이에 끼워진 상태에서, 제 1 기판(302)의 맞붙임면(341)과 제 2 기판(307)의 맞붙임면(371)이 서로 대향하는 관계로 배치하듯이, 제 1 기판(302)과 제 2 기판(307)을 서로 맞붙인 3차원 구조의 고체 촬상 소자이다. 본 실시예에서, 반도체 소자(301)는, 사이에 삽입된 절연성 박막(312)과 함께 제 1 기판(302)과 제 2 기판(307)이 서로 맞붙여진 구조에 특징이 있다.In the
제 1 기판(302)은 반대측부터 제 2 기판(307)으로 차례로 적층된 반도체층(302a), 배선층(302b) 및 전극층(302c)을 포함한다. 전극층(302c)의 표면은 제 2 기판(307)에 맞붙임면(341)으로써 구성되어 있다. 반면에, 제 2 기판(307)은 반대측부터 제 2 기판(307)으로 차례로 적층된 반도체층(307a), 배선층(307b) 및 전극층(307c)을 포함한다. 전극층(307c)의 표면은 제 1 기판(302)에 맞붙임면(371)으로써 구성되어 있다.The
제 2 기판(307)의 반대측 상의 제 1 기판(302)의 면상에, 도 8과 같이, 보호막(315), 컬러 필터층(317) 및 온 칩 렌즈(319)가 차례로 적층되어 있다.On the surface of the
이하, 제 1 기판(302), 제 2 기판(307) 및 절연성 박막(312)으로 구성된 층의 상세한 구성은 연속으로 설명하고, 이때 보호막(315), 컬러 필터층(317) 및 온 칩 렌즈(319)의 구성도 연속으로 설명한다.Hereinafter, the detailed configuration of the layer composed of the
[반도체층(302a)(제 1 기판(302)측)][
예를 들면, 제 1 기판(302)의 반도체층(302a)은 단결정 실리콘으로 이루어진 반도체 기판(320)의 박막이다. 컬러 필터층(317), 온 칩 렌즈(319) 등이 배치된 반도체층(302a)의 제 1면측 상에, 예를 들면, 각 화소에 n형 불수물 또는 p형 불순물으로부터 형성된 광전 변환부(321)이 구비된다. 반면에, 반도체층(302a)의 제 2면 상에, n+형 불순물층으로부터 트랜지스터(Tr)의 플로팅 디퓨전(FD) 및 소스/드레인(323)이 형성되고, 도시하지 않은 불순물층 등이 구비된다.For example, the
[배선층(302b)(제 1 기판(302)측)][
제 1 기판(302)의 반도체층(302a)상에 구비된 배선층(302b)은, 반도체층(302a)와 함께 계면측에, 트랜지스터(Tr)의 트랜지스터 게이트(TG) 및 게이트 전극(327)을 구비하고, 도시하지 않은 다른 전극은 서로 삽입된 게이트 절연막(325)을 갖는다. 트랜지스터 게이트(TG) 및 게이트 전극(327)은 층간 절연막(329)으로 덮여있고, 매입 배선(331)은 층간 절연막(329) 상에 형성된 홈 패턴에 구비된다. 매입 배선(331)은 홈 패턴의 내벽을 덮는 배리어 메탈층(331a) 및 구리(Cu)로 만들어지고 배리어 메탈층(331a) 사이에 끼인 홈 패턴에 매입된 배선층(331b)으로부터 구성된다.The
앞서 설명한 바와 같이, 배선층(302b)은 적층된 다층의 배선층으로 더 구비될 수 있다.As described above, the
[전극층(302c)(제 1 기판(302)측)][
제 1 기판(302)의 배선층(302b) 상에 구비된 전극층(302c)는, 배선층(302b)와의 계면측 상에, 구리(Cu)에 대한 확산 방지 절연막(332) 및 확산 방지 절연막(332) 상에 적층된 제 1 절연막(335)을 구비한다. 제 1 절연막(335)는 예를 들면 TEOS막으로 형성되고, 제 1 전극(333)은 매입된 전극으로써 제 1 절연막(335)에 형성된 홈 패턴에 구비된다. TEOS막은 TEOS 가스(Tetra Ethoxy Silane gas: 합성 Si(OC2H5)4)를 원료 가스로 한 화학 기상 성장법(chemical vapor deposition : CVD법)에 의하여 형성된 산화 실리콘막이다. 제 1 전극(333)은 홈 패턴의 내벽을 덮는 배리어 메탈층(333a) 및 구리(Cu)로 만들어지고 배리어 메탈층(333a) 사이에 끼인 홈 패턴에 매입된 제 1 전극막(333b)으로부터 구성된다.The
상술한 바와 같은 구성을 갖는 전극층(302c)은 제 2 기판(307)에 제 1 기판(302)측 상에 맞붙임면(341)으로써 이용된다. 맞붙임면(341)은 제 1 전극(333) 및 제 1 절연막(335)이 노출되어 구성되고, 예를 들어, 화학적 기계 연마(이하, CMP)에 의하여 평탄화 상태이다.The
도 8에 나타나지 않았지만, 제 1 절연막(335)에서 구비된 홈 패턴은 배선층(302b)에 구비된 매입 배선(331)으로 부분적으로 연장되고, 홈 패턴에 매입된 제 1 전극(333)은 경우에 따라 매입 배선(331)에 연결된 상태가 된다.Although not shown in FIG. 8, the groove pattern provided in the first insulating
[반도체층(307a)(제 2 기판(307)측)][
반면에, 제 2 기판(307)의 반도체층(307a)은, 예를 들어, 단결정 실리콘으로 만든 반도체 기판(350)의 박막으로부터 형성된다. 제 1 기판(302)측 상의 반도체층(307a)의 표면층 상에는, 트랜지스터(Tr)의 소스/드레인(351) 및 도시하지 않은 불순물층이 구비된다.On the other hand, the
[배선층(307b)(제 2 기판(307)측)][
제 2 기판(307)의 반도체층(307a) 상에 구비된 배선층(307b)는, 반도체층(307a)와의 계면측 상에서, 게이트 절연막(353) 사이에 끼인 게이트 절연막(353)과 도시하지 않은 다른 전극을 구비한 게이트 전극(355)을 갖는다. 게이트 전극(355)과 다른 전극은 층간 절연막(357)로 덮여있고, 매입 배선(359)은 층간 절연막(357) 상에 형성된 홈 패턴에 구비된다. 매입 배선(359)은 홈 패턴의 내벽을 덮는 배리어 메탈층(359a) 및 구리(Cu)로 만들어지고 배리어 메탈층(359a)와의 사이에 끼인 홈 패턴에 매입된 배선층(359b)으로부터 구성된다.The
상기 설명한 배선층(307b)은 다층의 배선층 구조를 가질 수 있다.The
[전극층(307c)(제 2 기판(307)측)][
제 2 기판(307)의 배선층(307b) 상에 구비된 전극층(307c)은, 배선층(307b)과의 계면측 상에서, 구리(Cu)에 대한 확산 방지 절연막(361) 및 확산 방지 절연막(361) 상에 적층된 제 2 절연막(369)을 포함한다. 제 2 절연막(369)은, 예를 들면, TEOS막에 의해 형성되고, 매입된 전극으로써 제 2 전극(367)은 제 2 절연막(369)에 형성된 홈 패턴에 구비된다. 제 2 전극(367)는 홈 패턴의 내벽을 덮는 배리어 메탈층(367a) 및 구리(Cu)로 만들어지고 배리어 메탈층(367a) 사이에 끼인 홈 패턴에 매입된 제 2 전극막(367b)으로부터 구성된다. 제 2 전극(367)는 제 1 기판(302)측의 제 1 전극(333)에 상응하기 위해서 배치되고, 절연성 박막(312) 사이에 끼인 제 1 기판(302) 상의 제 1 전극(333)에 전기적으로 연결된다.The
상기 설명한 전극층(307c)의 표면은 제 1 기판(302)에 대한 제 2 기판(307) 상의 맞붙임면(371)으로서 형성된다. 맞붙임면(371)은 제 2 전극(367) 및 제 2 절연막(369)으로 노출되도록 구성되고, 예를 들면, CMP에 의하여 평탄화된 상태이다.The surface of the
[절연성 박막(312)][Insulating thin film 312]
절연성 박막(312)는 제 1 기판(302)의 맞붙임면(341) 및 제 2 기판(307) 상의 맞붙임면(371) 사이에 끼워지고, 맞붙임면(341) 및 맞붙임면(371)의 전면을 덮는다. 환언하면, 제 2 기판(307)의 제 1 기판(302)은 절연성 박막(312) 사이에 끼어 서로 맞붙여진다.The insulating
상기 설명한 바와 같이, 예를 들면, 절연성 박막(312)은 산화막 및 질화막에 의하여 형성되고, 반도체와 함께 일반적으로 사용되는 산화막 및 질화막은 절연성 박막(312)으로 사용된다. 뒤에서, 절연성 박막(312)의 구성 재료를 자세히 설명한다.As described above, for example, the insulating
절연성 박막(312)이 산화막에 의하여 형성된 경우에, 예를 들면, 산화 실리콘(SiO2) 또는 산화 하프늄(HfO2)이 사용된다. 절연성 박막(312)이 산화막에 의해서 형성되고 제 1 전극(333) 및 제 2 전극(367)이 구리(Cu)에 의해 만들어진 경우에, 전극 물질인 구리(Cu)는 절연성 박막(312)으로 확산되기 쉽다. 이러한 구리(Cu)의 확산에 의해 절연성 박막(312)의 전기 저항이 감소하므로, 절연성 박막(312) 사이에 끼인 제 1 전극(333) 및 제 2 전극(367) 사이의 유전성(dielectric)이 향상된다. 따라서, 절연성 박막(312)이 산화막에 의하여 형성된 경우에는, 절연성 박막(312)는 상당히 두껍게 형성될 수 있다.In the case where the insulating
절연성 박막(312)이 질화막으로 형성된 경우에, 예를 들면, 질화 실리콘(SiN)이 사용된다. 질화막에 의하여 형성된 절연성 박막(312)은 제 1 전극(333) 및 제 2 전극(367)에 대한 확산 방지 특성을 갖는다.In the case where the insulating
결과적으로, 동일 기판 안에서, 절연성 박막(312)을 통하여 동일 기판의 전극들 사이에 나타나는 누설 전류를 막을 수 있다. 환언하면, 제 1 기판(302)에서 절연성 박막(312)을 통하여 나타나는 근처의 제 1 전극(333) 사이의 누설 전류를 막을 수 있다. 동일하게, 제 2 기판(307)에서, 절연성 박막(312)을 통하여 나타나는 근처의 제 2 전극(367) 사이의 누설 전류를 막을 수 있다.As a result, in the same substrate, leakage current appearing between the electrodes of the same substrate through the insulating
반면에, 다른 기판 사이에서, 대향 전극측 상의 절연성 박막으로의 전극 물질의 확산을 막을 수 있다. 환언하면, 대응하는 제 2 기판(307)측 상의 제 2 절연막(369)으로의 제 1 기판(302)측 상의 제 1 전극(333)의 확산을 막을 수 있다. 동일하게, 대응하는 제 1 기판(302)측 상의 제 1 절연막(335)으로의 제 2 기판(307)측 상의 제 2 전극(367)의 확산을 막을 수 있다. 따라서, 절연성 박막이 노출되는 기판의 각각의 맞붙임면의 부분에서 반대 전극측의 전극에 관하여 확산 방지 물질로 만들어진 배리어막을 구비할 필요가 없다.On the other hand, it is possible to prevent the diffusion of the electrode material into the insulating thin film on the opposite electrode side between the other substrates. In other words, diffusion of the
또한, 특히 본 실시예에서, 제 1 기판(302)측의 제 1 전극(333) 및 제 2 기판(307)측의 제 2 전극(367)은 절연성 박막(312) 사이에 끼워져 서로 전기적으로 연결된다. 따라서, 절연성 박막(312)의 두께는 매우 작다. 절연성 박막(312)의 막두께는 절연성 박막(312)의 물질에 따라 다르며, 약 2㎚ 이하이다(예를 들면, 산화 실리콘(SiO2) 및 산화 하프늄(HfO2)과 같은 산화물 및 거의 모든 물질에 관하여). 그러나, 절연성 박막(312)의 막 품질에 따라서, 더 두꺼운 막이 사용될 수 있다. 절연성 박막(312) 사이에 싸인 반대 관계로 배치된 제 1 전극(333) 및 제 2 전극(367) 사이는 터널 전류가 흐른다. 또한, 고장을 일으키는 고정 레벨 이상의 전압이 인가되면, 제 1 전극(333) 및 제 2 전극(367)는 완전히 도체 상태로 위치하고 사이로 전류가 흐른다.In particular, in this embodiment, the
본 실시예의 반도체 소자(301)에서, 절연성 박막(312)은 필연적으로 위에 설명한 일층 구조를 가질 필요는 없고, 동일 물질의 적층 구조 또는 다른 물질의 적층 구조를 갖는다.In the
[보호막(315), 컬러 필터층(317) 및 온 칩 렌즈(319)][
보호막(315)는 제 1 기판(302)의 광전 변환부(321)를 덮어 구비된다. 보호막(315)는 패시베이션 특성을 갖는 재료막으로 구성되고, 예를 들면 산화 실리콘막, 질화 실리콘막, 또는 산질화 실리콘막 등이 보호막(315)에 사용된다.The
컬러 필터층(317)은, 각 광전 변환부(321)에 대응하여 1:1로 마련된 각 색의 컬러 필터로 구성되어 있다. 각 색의 컬러 필터의 배열이 한정되는 일은 없다.The
온 칩 렌즈(319)는, 각 광전 변환부(321) 및 컬러 필터층(317)을 구성하는 각 색의 컬러 필터에 대응하여 1:1로 마련되고, 각 광전 변환부(321)에 입사광이 집광되도록 구성되어 있다.The on-
[본 실시예의 반도체 소자의 구성에 의한 효과][Effects by Configuration of Semiconductor Device of Present Example]
전술한 방법으로 구성된 본 실시예의 반도체 소자(301)에서, 제 1 기판(302) 및 제 2 기판(307)는 도 8에서 본 바와 같이 절연성 박막(312)로 싸여 서로 맞붙여지므로, 제 1 기판(302)의 맞붙임면(341) 및 제 2 기판(307)의 맞붙임면(371)은 서로 직접 접촉되지 않는다. 따라서, 서로 직접적으로 접합하는 맞붙임면의 구조에서 통상 발생하는 접합 계면을 따른 보이드의 발생을 막을 수 있다. 결과적으로, 반도체 소자에서, 2개의 기판 사이에서의 접합 강도는 증가하고, 신뢰성의 향상이 도모된다.In the
특히 제 1 절연막(335) 및 제 2 절연막(369)이 TEOS막에 의하여 형성된 경우에, 많은 OH군이 TEOS막의 표면으로 나가므로, 탈수축합에 의한 보이드가 TEOS막 접합의 유형에서 서로 직접 접합하는 각 절연막을 따른 접합 계면을 따라서 발생한다. 또한 절연막이 TEOS막인 경우에, 본 실시예의 반도체 소자(301)에서, 기판은 절연성 박막(312)의 사이에 끼여 맞붙여지기 때문에, TEOS막은 서로 직접 접합되지 않고 탈수축합에 의한 보이드의 발생은 막을 수 있다. 결과적으로, 반도체 소자에서, 2개의 기판 사이에 접합 강도는 증가하고 신뢰성의 향상이 도모된다.Particularly in the case where the first insulating
<<2. 제 2의 실시예의 반도체 장치의 제조에서의 제 1 기판(센서 기판)의 제작 순서>><< 2. Manufacturing Procedure of First Substrate (Sensor Substrate) in Manufacturing of Semiconductor Device of Second Embodiment >>
도 9a 내지 도 9e는 제 2의 실시예의 반도체 장치의 제조에 이용하는 제 1 기판(302)의 제작 순서를 도시한다. 이하, 도 9a 내지 도 9e에 의거하여 본 실시예에 이용하는 제 1 기판(302)(센서 기판)의 제작 순서를 설명한다.9A to 9E show a manufacturing procedure of the
도 9a에 도시하는 바와 같이, 예를 들면 단결정 실리콘으로 이루어지는 반도체 기판(320)을 준비한다. 이 반도체 기판(320)의 소정 깊이에 n형 불순물층으로 이루어지는 광전 변환부(321)를 형성하고, 또한 광전 변환부(321)의 표면층에, n+형 불순물층으로 이루어지는 전하 전송부나 p+형 불순물층으로 이루어지는 정공용의 전하 축적부를 형성한다. 또한 반도체 기판(320)의 표면층에, n+형 불순물층으로 이루어지는 플로팅 디퓨전(FD), 및 소스/드레인(323), 나아가서는 여기에서 도시를 생략한 다른 불순물층을 형성한다.As shown in Fig. 9A, a
다음에, 반도체 기판(320)상에, 게이트 절연막(325)을 성막하고, 또한 게이트 절연막(325)상에 전송 게이트(TG) 및 게이트 전극(327)을 형성한다. 여기서, 전송 게이트(TG)는 플로팅 디퓨전(FD)과 광전 변환부(321)와의 사이에 형성되고, 게이트 전극(327)은, 소스/드레인(323) 사이에 형성된다. 또한 이것과 동일 공정에 의해, 여기에서 도시를 생략한 다른 전극을 형성한다.Next, a
그리고, 여기까지의 공정은, 통상의 제작 순서를 적절히 선택하여 행하여도 좋다.In addition, you may perform the process to here by selecting a normal manufacture procedure suitably.
그 후, 게이트 절연막(325)상에, 전송 게이트(TG) 및 게이트 전극(327)을 덮는 상태로, 예를 들면 산화 실리콘으로 이루어지는 층간 절연막(329)을 성막한다. 또한, 각 화소에 층간 절연막(329)에 홈 패턴을 형성하고, 이 홈 패턴 내에 배리어 메탈층(331a)을 통하여 배선층(331b)을 매입하여 이루어지는 매입 배선(31)을 형성한다. 이 매입 배선(331)은, 필요 부분에서 전송 게이트(TG)에 접속하여 형성된다. 또한 여기에서 도시는 생략하였지만, 일부의 매입 배선(331)은, 필요 개소에서 소스/드레인(323)에 접속하여 형성된다. 이상에 의해, 매입 배선(331)을 구비한 배선층(302b)을 얻는다. 또한, 이 매입 배선(331)의 형성에는, 도 9b 이하를 이용하여 설명하는 매입 배선 기술을 적용한다.Thereafter, an
계속되고, 배선층(302b)상에, 확산 방지 절연막(332)을 성막하고, 또한 그 위에 제 1 절연막(335)을 성막한다. 예를 들면 TEOS(tetraethylorthosilicate) 가스를 이용한 CVD법에 의해, TEOS막으로 이루어지는 제 1 절연막(335)을 성막한다. 그 후, 이 제 1 절연막(335)에, 이하에 설명하는 매입 배선 기술을 적용하여, 제 1 전극(333)을 형성한다.Subsequently, a diffusion
도 9b에 도시하는 바와 같이, 제 1 절연막(335)에 홈 패턴(335a)을 형성한다. 여기에서 도시는 생략하였지만, 홈 패턴(335a)은, 필요한 개소에서는 매입 배선(331)에 달하는 형상으로 형성된다.As shown in FIG. 9B, a
도 9c에 도시하는 바와 같이, 홈 패턴(335a)의 내벽을 덮는 상태로 배리어 메탈층(333a)을 성막하고, 이 상부에 홈 패턴(335a)을 매입하는 상태로 제 1 전극막(333b)을 성막한다. 배리어 메탈층(333a)은, 제 1 전극막(333b)이 제 1 절연막(335)으로 확산하는 것을 막는 배리어 특성이 있는 재료로 구성되고, 한편, 제 1 전극막(333b)은 구리(Cu)로 이루어지지만, 이것으로 한하지 않고, 도전성이 있는 재료에 의해 구성된다.As shown in FIG. 9C, the
도 9d에 도시하는 바와 같이, CMP법에 의해, 배리어 메탈층(333a)이 노출할 때까지 제 1 전극막(333b)을 평탄화 제거하고, 또한, 제 1 절연막(335)이 노출할 때까지 배리어 메탈층(33a)을 평탄화 및 제거한다. 이에 의해, 홈 패턴(335a) 내에 배리어 메탈층(333a)을 통하여 제 1 전극막(333b)을 매입하여 이루어지는 제 1 전극(333)을 형성한다. 이상에 의해, 제 1 전극(333)을 구비한 전극층(302c)을 얻는다.As shown in FIG. 9D, by the CMP method, the
이상의 공정에 의해, 제 1 전극(333)과 제 1 절연막(335)이 노출된 평탄한 맞붙임면(341)을 갖는 제 1 기판(302)이, 센서 기판으로서 제작된다. 또한, 필요에 응하여, 맞붙임면(341)에 대해, 웨트 처리 또는 플라즈마 처리에 의한 전처리를 시행하여 둔다.By the above process, the 1st board |
여기까지의 공정은, 통상의 공정 순서로 행하면 좋고, 또한 특히 공정 순서가 한정되는 일은 없고, 알맞은 순서로 행할 수 있다. 본 기술에서는, 다음의 절연성 박막의 성막이 특징적인 공정이 된다.What is necessary is just to perform the process to here in a normal process order, and also a process order is not specifically limited, It can be performed in a suitable order. In this technology, the film formation of the following insulating thin film becomes a characteristic process.
[절연성 박막의 성막 순서][Deposition Procedure of Insulating Thin Film]
도 9e에 도시하는 바와 같이, 제 1 기판(302)에서의 맞붙임면(341)의 전면을 덮는 상태로, 원자층 퇴적법(Atomic Layer Deposition : 이하 ALD법)에 의해 절연성 박막(312a)을 성막한다.As shown in FIG. 9E, an insulating
ALD법의 순서에 관해, 개략을 설명한다.The outline of the procedure of ALD method is demonstrated.
우선, 성막되는 박막의 구성 원소를 함유하는 제 1 반응물과 제 2 반응물을 준비한다. 성막 공정으로서, 기판상에, 제 1 반응물을 포함하는 가스를 공급하여 흡착 반응시키는 제 1 공정과, 제 2 반응물을 포함하는 가스 공급하여 흡착 반응시키는 제 2 공정이 있고, 이 공정의 사이에는 불활성 가스를 흘려서, 미흡착의 반응물을 퍼지(purge)한다. 이 성막 공정을 1사이클 행함으로써 원자층 1층을 퇴적시켜서, 반복함에 의해 소망 막두께의 성막을 한다. 또한, 제 1 공정과 제 2 공정은, 어느쪽을 먼저 행하여도 좋다.First, the first reactant and the second reactant containing the constituent elements of the thin film to be formed are prepared. As the film forming step, there is a first step of supplying and adsorbing a gas containing a first reactant onto a substrate, and a second step of supplying and adsorbing a gas containing a second reactant therebetween. The gas is flowed to purge the unadsorbed reactant. By carrying out this cycle of film formation one cycle, one atomic layer is deposited and repeated to form a desired film thickness. In addition, you may perform a 1st process and a 2nd process first.
이상과 같은 성막 방법이 ALD법이고, 다음과 같은 특징이 있다.The film forming method described above is the ALD method, and has the following characteristics.
ALD법은, 상술한 바와 같이, 성막 공정의 사이클을 반복하여 성막하는 방법이고, 이 사이클 수의 조정에 의해, 성막하는 막두께를 원자층 단위로 고정밀도로 제어한 성막이 가능하다. 이와 같은 ALD법을 절연성 박막(312a)의 성막에 적용하면, 극히 얇은 절연성 박막(312a)이라도 막두께 제어성 좋게 성막할 수 있다.As described above, the ALD method is a method of forming a film by repeating the cycle of the film forming step, and by adjusting the number of cycles, the film can be formed by controlling the film thickness to be formed with high precision in atomic layer units. When such an ALD method is applied to the formation of the insulating
ALD법은, 또한 약 500℃ 이하의 저온 프로세스에서의 성막이 가능하는 방법이다. 절연성 박막(312a)의 성막시에는, 이미 전극층(302c)이 형성되어 있기 때문에, 전극층(302c)을 구성하는 금속에의 내열성을 고려할 필요가 있고, 절연성 박막(312a)의 성막에는 저온 프로세스가 요구된다. 그래서, 이와 같은 ALD법을 절연성 박막(312a)의 성막에 적용하면, 저온 프로세스에 의해 전극층(302c)을 열화시키는 일 없이 절연성 박막(312a)을 성막할 수 있다.The ALD method is also a method capable of forming a film in a low temperature process of about 500 ° C. or less. Since the
ALD법은, 상술한 바와 같이, 원자층을 1층씩 퇴적시켜서 성막하는 방법이다. 이와 같은 ALD법을 절연성 박막(312a)의 성막에 적용하면, CMP에 의해 초(超)평탄화된 기판 표면의 요철을 악화시키는 일 없고, 평탄하면서 균일한 절연성 박막(312)으로 맞붙임면(341)의 전면을 덮을 수 있다.As described above, the ALD method is a method in which an atomic layer is deposited one by one to form a film. When such an ALD method is applied to the formation of the insulating
이하에, 한 예로서, 산화막 또는 질화막으로 이루어지는 절연성 박막(312a)의 ALD법에 의한 성막 조건에 관해, 구체적으로 설명한다.As an example, the film-forming conditions by the ALD method of the insulating
절연성 박막(12a)이 산화막(SiO2 또는 HfO2 등)으로 이루어지는 경우, 상술한 ALD법에서, 제 1 반응물을 Si 함유 반응물 또는 Hf 함유 반응물로 하고, 제 2 반응물을 O 함유 반응물이라고 한다. 이들의 반응물을 공급하여 흡착 반응시키는 공정을 교대로 반복함에 의해, 산화막(SiO2 또는 HfO2)으로 이루어지는 절연성 박막(312a)을 맞붙임면(341)상에 성막한다. 여기서, Si 함유 반응물은, 예를 들면, 실란(SiH4), 디클로로실란(H2SiCl2) 등의 가스 상태로 공급 가능한 물질을 이용한다. Hf 함유 반응물은, 테트라키스디메틸아미노하프늄(Hf[N(CH3)2]4) 등을 이용한다. O 함유 반응물은, 수증기 가스, 오존 가스 등을 이용한다.When the insulating thin film 12a consists of an oxide film (SiO2 or HfO2, etc.), in the above-mentioned ALD method, the first reactant is referred to as Si-containing reactant or Hf-containing reactant, and the second reactant is referred to as O-containing reactant. By alternately repeating the step of supplying and reacting these reactants with each other, an insulating
한편, 절연성 박막(312a)이 질화막(SiN 등)으로 이루어지는 경우, 상술한 ALD법에서, 제 1 반응물을 Si 함유 반응물로 하고, 제 2 반응물을 N 함유 반응물로 한다. 이들의 반응물을 공급하여 흡착 반응시키는 공정을 교대로 반복함에 의해, 질화막(SiN)으로 이루어지는 절연성 박막(312a)을 맏붙임면(341)상에 성막한다. 여기서, N 함유 반응물은, 예를 들면, 질소 가스나 암모니아 가스 등을 이용한다. O 함유 반응물은, 수증기 가스, 오존 가스 등을 이용한다.On the other hand, when the insulating
이상에 의해, 제 1 기판(302)상에, 맏붙임면(341)의 전면을 덮는 상태로, 극히 얇은 균일한 절연성 박막(312a)을 성막한다.By the above, the extremely thin uniform insulating
<<3. 제 2의 실시예의 반도체 장치의 제조에서의 제 2 기판(회로 기판)의 제작 순서>><< 3. Manufacturing Procedure of Second Substrate (Circuit Board) in Manufacturing of Semiconductor Device of Second Embodiment >>
도 10a 및 도 10b는, 상술한 본 실시 형태의 반도체 장치의 제조에 이용되는 제 2 기판(307)의 제작 순서를 설명하기 위한 단면 공정도이다. 이하, 도 10a 및 도 10b에 의거하여 제 2의 실시예에 이용되는 제 2 기판(307)(회로 기판)의 제작 순서를 설명한다.10A and 10B are cross-sectional process diagrams for explaining the fabrication procedure of the
도 10a에 도시하는 바와 같이, 예를 들면 단결정 실리콘으로 이루어지는 반도체 기판(350)을 준비한다. 이 반도체 기판(350)의 표면층에, 각 도전형의 소스/드레인(351), 및 여기에서 도시를 생략한 다른 불순물층을 형성한다. 이에 의해, 반도체층(307a)을 얻는다.As shown in Fig. 10A, a
다음에, 반도체층(307a)의 위에, 게이트 절연막(353)을 성막하고, 또한 이 상부에 게이트 전극(355)을 형성한다. 게이트 전극(355)은, 소스/드레인(351) 사이에 형성된다. 또한, 이것과 동일 공정에서, 여기에서 도시를 생략한 다른 전극을 형성한다.Next, a
계속해서, 게이트 절연막(353)의 위에, 게이트 전극(355)을 덮는 상태로, 예를 들면 산화 실리콘으로 이루어지는 층간 절연막(357)을 성막한다. 이 층간 절연막(357)의 홈 패턴 내에 배리어 메탈층(359a)을 통하여 배선층(359b)을 매입하여 이루어지는 매입 배선(359)을 형성하고, 매입 배선(359)을 구비한 배선층(307b)을 얻는다. 여기에서 매입 배선(359)의 형성은, 상술한 제 1 전극(333)의 형성과 마찬가지로, 매입 배선 기술을 적용하여 행한다.Subsequently, an
그 후, 배선층(307b)상에 확산 방지 절연막(361)을 통하여, 예를 들면 TEOS막로 이루어지는 제 2 절연막(369)을 적층시켜서 성막한다. 이에 의해, 제 2 절연막(369)의 홈 패턴 내에 배리어 메탈층(367a)을 통하여 제 2 전극막(367b)을 매입하여 이루어지는 제 2 전극(367)을 형성하고, 제 2 전극(367)을 구비한 전극층(307c)을 얻는다. 여기에서 제 2 전극(367)의 형성은, 상술한 제 1 전극(333)의 형성과 마찬가지로 행한다.Thereafter, a second
이상의 공정에 의해, 제 2 전극(367)과 제 2 절연막(369)이 노출된 평탄한 맞붙임면(371)을 갖는 제 2 기판(307)이, 회로 기판으로서 제작된다.By the above process, the 2nd board |
여기까지의 공정은, 통상의 공정 순서로 행하면 좋고, 또한 특히 공정 순서가 한정되는 일은 없고, 적절한 순서로 행할 수 있다. 본 기술에서는, 다음의 절연성 박막의 성막, 및 기판의 맞붙임이 특징적인 공정이 된다.What is necessary is just to perform the process to here in a normal process order, and also a process order is not specifically limited, It can carry out in an appropriate order. In this technique, the film formation of the following insulating thin film and the bonding of a board | substrate become a characteristic process.
도 10b에 도시하는 바와 같이, 제 1 기판(302)측의 절연성 박막(312a)과 마찬가지로 하여, 맞붙임면(371)의 위에, ALD법에 의해 절연성 박막(312b)을 성막한다.As shown in FIG. 10B, the insulating
이에 의해, 제 2 기판(307)상에, 맞붙임면(371)의 전면을 덮는 상태로, 극히 얇은 균일한 절연성 박막(312b)을 성막한다. 또한, 절연성 박막(312b)은, 제 1 기판(302)측의 절연성 박막(312a)과 다른 막이라도 좋지만, 같은 막이라도 좋다.As a result, an extremely thin uniform insulating
<<4. 본 실시 형태의 반도체 장치의 제조에서의 기판의 맞붙임 순서>><< 4. Joining procedure of the board | substrate in manufacture of the semiconductor device of this embodiment >>
도 11a 및 도 11b를 이용하여, 맏붙임면(341)상에 절연성 박막(312a)을 성막한 제 1 기판(302)과, 맞붙임면(371)상에 절연성 박막(312b)을 성막한 제 2 기판(307)과의 맞붙임 순서를 설명한다.11A and 11B, the
도 11a에 도시하는 바와 같이, 절연성 박막을 통한 상태로 제 1 기판(302)의 맏붙임면(341)과 제 2 기판(307)의 맞붙임면(371)을 대향 배치시키고, 또한, 제 1 기판(302)의 제 1 전극(333)과, 제 2 기판(307)의 제 2 전극(367)이 대응하도록 위치 맞춤한다. 도시한 예에서는, 제 1 전극(333)과 제 2 전극(367)이 1:1로 대응하고 있는 상태를 나타내지만, 대응 상태는 이것으로 한정되는 일은 없다.As shown in FIG. 11A, the
도 11b에 도시하는 바와 같이, 제 1 기판(302)상의 절연성 박막(312a)과, 제 2 기판(307)상의 절연성 박막(312b)을 대향시킨 상태로 열처리를 행함에 의해, 절연성 박막(312a)과 절연성 박막(312b)과의 사이의 접합을 한다. 이와 같은 열처리는, 제 1 기판(302) 및 제 2 기판(307)에 형성된 소자나 배선에 영향이 없는 범위에서, 절연성 박막(312)끼리가 충분히 접합하는 온도 및 시간에서 행하여진다.As shown in FIG. 11B, the insulating
예를 들면, 제 1 전극(333) 및 제 2 전극(367)이, 구리(Cu)를 주로 하는 재료로 구성되는 경우, 200℃ 내지 600℃에서 1 내지 5시간 정도의 열처리가 행하여진다. 이와 같은 열처리는, 가압 분위기하에서 행하여도 좋고, 또는, 제 1 기판(302)과 제 2 기판(307)을 양면측부터 가압한 상태로 행하여도 좋다. 한 예으로서, 400℃에서 4시간의 열처리를 행함으로써, 절연성 박막(312)을 통한 제 1 전극(333)과 제 2 전극(367)과의 사이의 접속를 행한다. 이에 의해, 절연성 박막(312a)과 절연성 박막(312b)과의 사이가 접합되고, 제 1 기판(302)과 제 2 기판(307)이 맞붙여진다.For example, when the
여기서, 상술한 바와 같이 제 1 기판(302) 및 제 2 기판(307)의 양쪽의 맞붙임면(341, 371)상에 절연성 박막(312a, 312b)이 성막되는 경우는, 그 절연성 박막(312a, 312b)이 같은 재료라도, 다른 재료라도 좋다.As described above, when the insulating
또한, 본 실시예의 반도체 장치의 제조 방법에서는, 제 1 기판(302) 및 제 2 기판(307)중 어느 한쪽의 기판의 맞붙임면만으로 절연성 박막을 성막하여도 좋다. 예를 들면, 제 1 기판(302)의 맏붙임면(341)상만에 절연성 박막(312a)을 성막하여, 제 1 기판(302)측의 절연성 박막(312a)과 제 2 기판(307)측의 맞붙임면(371)과의 사이의 접합에 의해, 제 1 기판(302)과 제 2 기판(307)을 맞붙여도 좋다.In addition, in the manufacturing method of the semiconductor device of the present embodiment, the insulating thin film may be formed only by the bonding surface of any one of the
이상과 같이, 제 1 기판(302)과 제 2 기판(307)을 맞붙인 후, 제 1 기판(302)측의 반도체 기판(320)을 박막화하여 반도체층(302a)으로 하고, 광전 변환부(321)을 노출시킨다. 또한, 필요에 응하여, 제 2 기판(307)측의 반도체층(307a)에서, 반도체 기판(350)을 박막화하여도 좋다.As described above, after the
그 후, 제 1 기판(302)에서의 광전 변환부(321)의 노출면상에 보호막(315)을 성막하고, 또한 보호막(315)상에 컬러 필터층(317) 및 온 칩 렌즈(319)를 형성하여, 반도체 장치(1) 또는 고체 촬상 장치를 완성시킨다.Thereafter, a
[제 2의 실시예의 반도체 장치의 제조 방법에 의한 효과][Effect by Manufacturing Method of Semiconductor Device of Second Embodiment]
상술한 바와 같은 본 실시 형태의 반도체 장치의 제조 방법에서는, 제 1 기판(302) 및 제 2 기판(307)의 위에 각각 절연성 박막(312a, 312b)을 성막하고, 이 절연성 박막(312a, 312b)이 성막된 면끼리를 접합함에 의해, 제 1 기판(302)과 제 2 기판(307)을 맞붙이고 있다. 이 때문에, CMP에 의해 평탄화 처리된 맞붙임면(341, 371)끼리를 직접 접합하는 경우와 비교하여, 절연성 박막(312a, 312b)이 성막된 면끼리의 접합에 의해, 제 1 기판(302)과 제 2 기판(307)을 맞붙이는 본 실시 형태의 반도체 장치(1)는 접합성이 좋다. 또한, 제 1 기판(302)의 맏붙임면(341)상에만 절연성 박막(12a)을 성막한 경우라도, 제 1 기판(302)측의 절연성 박막(312a)과 제 2 기판(307)측의 맞붙임면(371)과의 사이의 접합이 되고, 맞붙임면(341, 371)끼리를 직접 접합하는 경우보다도 기판의 접합성이 좋다.In the method for manufacturing a semiconductor device of the present embodiment as described above, insulating
예를 들면, CMP에 의해 평탄화 처리된 맞붙임면(341, 371)은, CMP의 공정에서 맞붙임면(341, 371)을 구성하는 제 1 절연막(335) 및 제 2 절연막(369)이 함수(含水)할 가능성이 있다. 또한, 이 맞붙임면(341, 371)을 구성하는 제 1 절연막(335) 및 제 2 절연막(369)이 TEOS막로 이루어지는 경우라면, 그 TEOS막의 성막 조건 때문에, 원래 함수율이 높은 막으로서 제 1 절연막(335) 및 제 2 절연막(369)이 형성된다. 따라서 이와 같은 함수하고 있는 맞붙임면(341, 371)끼리를 직접 접합하는 경우, 맞붙인 후의 열처리에서, 탈 가스(outgoing gas)가 접합 계면에 집중하여 보이드를 형성한다. 그러나, 본 실시 형태에서는, 맞붙임면(341, 371)의 전면을 절연성 박막(312a, 312b)으로 덮음에 의해, 탈 가스가 접합 계면에 집중하는 것을 방지하여 보이드의 발생를 억제하는 것이 가능하다.For example, the joining
특히, 제 1 기판(302)의 맞붙임면(341)상의 절연성 박막(312a)과 제 2 기판(307)의 맞붙임면(371)상의 절연성 박막(312b)이, 동일 재료 막으로 구성되어 있는 경우는, 동일 재료 막끼리의 접합이 되기 때문에, 보다 강고한 접합이 가능하게 된다. 이에 의해, 기판의 접합 강도가 증가하여 신뢰성의 향상이 도모된 반도체 장치를 얻을 수 있다.In particular, when the insulating
나아가서는, 절연성 박막(312a, 312b)의 성막을 ALD법에 의해 행하였음에 의해, 다음과 같은 효과도 있다.Further, by forming the insulating
우선, ALD법은 원자층 단위의 성막에 의해 막두께 제어성이 좋은 방법이여서, 극히 얇은 절연성 박막을 성막 가능하다. 이에 의해, 제 1 기판(302)측의 제 1 전극(333)과 제 2 기판(307)측의 제 2 전극(367)이 절연성 박막(312)을 통하여 대향 배치된 구조라도, 이 절연성 박막(312)이 극히 얇은 막두께이기 때문에, 제 1 전극(333)과 제 2 전극(367)과의 사이의 전기적인 접속이 가능하게 된다.First, the ALD method is a method of controlling film thickness with good film formation in atomic layer units, and thus an extremely thin insulating thin film can be formed. Thus, even if the
다음에, ALD법은 원자층 단위의 성막에 의해 막두께 균일성이 좋은 방법이여서, CMP에 의해 평탄화된 맞붙임면(341, 371)의 평탄성을 유지하여, 균일한 절연성 박막(312a, 312b)을 제 1 기판(302) 및 제 2 기판(307)의 위에 성막한다. 이와 같은 절연성 박막(312a, 312b)의 성막된 평탄한 접합면끼리에 의해 접합이 도모되기 때문에, 밀착성에 우수한 접합이 행하여지고, 접합 강도가 향상한 기판의 접합이 가능하게 된다.Next, the ALD method is a method of good film thickness uniformity by atomic layer deposition, and maintains the flatness of the joining
계속해서, ALD법은 저온 프로세스에서의 성막을 하는 방법이어서, 제 1 기판(302)측의 전극층(302c) 및 제 2 기판(307)측의 전극층(307c)을 구성하는 금속이 고열에 의해 열화하는 일 없이, 제 1 기판(302) 및 제 2 기판(307)의 위에 절연성 박막(312a, 312b)을 성막 가능하다.Subsequently, the ALD method is a method for forming a film in a low temperature process, so that the metal constituting the
최후로, ALD법은 원자층 단위의 성막 방법이여서, 성막된 절연성 박막(312a, 312b)은 치밀한 막이어서 함수율이 극히 낮고, 함수율이 낮은 절연성 박막(312a, 312b)이 성막된 접합면끼리에 의한 접합이 되기 때문에, 접합면에 보이드의 발생하는 우려는 전혀 없다.Finally, the ALD method is an atomic layer deposition method, whereby the formed insulating
이상에 의해, 기판의 접합 강도가 증가하여 신뢰성의 향상이 도모된 반도체 장치가 얻어진다.The semiconductor device in which the bonding strength of a board | substrate increases and the improvement of reliability was aimed at by the above is obtained.
제 3의 실시예Third embodiment
<<1. 제 1의 실시 형태>><< 1. First embodiment >>
[종래의 Cu-Cu 접합 기술의 문제점][Problems of Conventional Cu-Cu Bonding Technology]
우선, 본 개시의 제 1의 실시 형태에 관한 반도체 장치에 관해 설명하기 전에, 종래의 Cu-Cu 접합 기술에서 발생할 수 있는 문제점를, 도 12a, 도 12b 및 도 13을 참조하면서 설명한다. 또한, 도 12a는, 2개의 반도체 부재를 접합하기 전의 각 반도체 부재의 개략 구성이고, 도 12b는, 접합 후의 접합 계면 부근의 개략 단면도이다. 또한, 도 13은, 2개의 반도체 부재의 맞붙임시에 접합 얼라인먼트 어긋남이 발생한 경우에 발생할 수 있는 문제를 설명하기 위한 도면이다.First, before describing the semiconductor device according to the first embodiment of the present disclosure, problems which may occur in the conventional Cu-Cu bonding technique will be described with reference to FIGS. 12A, 12B, and 13. 12A is a schematic structure of each semiconductor member before joining two semiconductor members, and FIG. 12B is a schematic sectional drawing of the junction interface vicinity after joining. 13 is a figure for demonstrating the problem which may arise when the junction alignment misalignment generate | occur | produces at the time of joining two semiconductor members.
도 12a, 도 12b 및 도 13에서는, 제 1 SiO2층(611), 제 1 Cu 전극(612), 및, 제 1 Cu 배리어층(613)을 포함하는 제 1 반도체 부재(610)와, 제 2 SiO2층(621), 제 2 Cu 전극(622), 및, 제 2 Cu 배리어층(623)을 포함하는 제 2 반도체 부재(620)를 접합하는 예를 도시한다.12A, 12B, and 13, a
또한, 도 12a 및 도 12b에 도시하는 예에서는, 각 반도체 부재에서, Cu 전극은, SiO2층의 한쪽의 표면에 매립하도록 하여 형성된다. 즉, Cu 전극은, SiO2층의 한쪽의 표면에 노출하고, 또한, 그 노출면이 SiO2층의 한쪽의 표면과 개략 같은면이 되도록 형성된다. 또한, Cu 배리어층은, Cu 전극과 SiO2층과의 사이에 마련된다. 그리고, 제 1 반도체 부재(610)의 제 1 Cu 전극(612)측의 표면과, 제 2 반도체 부재(620)의 제 2 Cu 전극(622)측의 표면이 맞붙여진다.In addition, in the example shown to FIG. 12A and FIG. 12B, in each semiconductor member, Cu electrode is formed so that it may be embedded in one surface of SiO2 layer. That is, the Cu electrode is exposed to one surface of the
제 1 반도체 부재(610)와 제 2 반도체 부재(620)를 접합할 때, 양자의 사이에 접합 얼라인먼트 어긋남이 발생하면, 도 12b에 도시하는 바와 같이, 접합 계면(Sj)에서, 한쪽의 반도체 부재의 Cu 전극과 다른쪽의 반도체 부재의 SiO2층과의 접촉 영역이 생성된다.When bonding alignment misalignment occurs between both when joining the
이 경우, 접합시의 어닐 처리 등에 의해, 도 13에 도시하는 바와 같이, 각 Cu 전극으로부터 SiO2층에 Cu(630)가 확산하여, 접합 계면(Sj)에서, 이웃하는 Cu 전극 사이가 단락할 가능성이 있다. 또한, 각 Cu 전극으로부터 SiO2층에의 Cu(630)의 확산 량이 크면 Cu 전극 내의 Cu의 량이 감소하기 때문에, 예를 들면, 접촉 저항의 상승이나 도통 불량 등의 부적합함이 생기는 경우도 생각된다.In this case, as shown in FIG. 13, Cu 630 diffuses from each Cu electrode to the
상술한 바와 같은 접합 계면(Sj)에서의 전기 특성의 부적합함이 생기면, 반도체 장치의 성능이 열화한다. 그래서, 본 실시 형태에서는, 상술한 바와 같은 접합 계면(Sj)에서의 전기 특성의 부적합함을 해소할 수 있는 반도체 장치의 구성에 관해 설명한다.If the electrical properties at the junction interface Sj as described above are inadequate, the performance of the semiconductor device deteriorates. So, in this embodiment, the structure of the semiconductor device which can eliminate the unsuitability of the electrical characteristic in the bonding interface Sj as mentioned above is demonstrated.
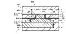
[반도체 장치의 구성][Configuration of Semiconductor Device]
도 14 및 도 15에, 제 1의 실시 형태에 관한 반도체 장치의 개략 구성을 도시한다. 도 14는, 제 1의 실시 형태의 반도체 장치의 접합 계면 부근의 개략 단면도이고, 도 15는, 각 Cu 접합부 및 후술하는 계면 Cu 배리어막 사이의 배치 관계를 도시하는 접합 계면 부근의 개략 상면도이다. 또한, 도 14 및 도 15에서는, 설명을 간략화하기 위해, 하나의 접합 계면 부근의 구성만을 도시한다.14 and 15 show a schematic configuration of a semiconductor device according to the first embodiment. 14 is a schematic cross-sectional view of the vicinity of a bonding interface of the semiconductor device of the first embodiment, and FIG. 15 is a schematic top view of the vicinity of the bonding interface showing an arrangement relationship between each Cu junction portion and an interface Cu barrier film described later. . In addition, in FIG.14 and FIG.15, in order to simplify description, only the structure of one junction interface vicinity is shown.
반도체 장치(401)는, 도 14에 도시하는 바와 같이, 제 1 반도체 부재(410)(제 1 반도체부)와, 제 2 반도체 부재(420)(제 2 반도체부)를 구비한다. 그리고, 본 실시 형태의 반도체 장치(401)에서는, 제 1 반도체 부재(410)의 후술하는 제 1층간 절연막(415)측의 면이, 제 2 반도체 부재(420)의 후술하는 계면 Cu 배리어막(428)측의 면과 접합된다.As shown in FIG. 14, the
제 1 반도체 부재(410)는, 제 1 반도체 기판(도시 생략), 제 1 SiO2층(411), 제 1 Cu 배선부(412), 제 1 Cu 배리어막(413), 제 1 Cu 확산 방지막(414), 제 1층간 절연막(415), 제 1 Cu 접합부(416), 및, 제 1 Cu 배리어층(417)을 갖는다.The
제 1 SiO2층(411)은, 제 1 반도체 기판상에 형성된다. 제 1 Cu 배선부(412)는, 제 1 SiO2층(411)의 제 1 반도체 기판측과는 반대측의 표면에 매립하도록 하여 형성된다. 또한, 제 1 Cu 배선부(412)는, 도 15에 도시하는 바와 같이, 소정 방향으로 연재한 Cu막이고, 예를 들면, 도시하지 않은 반도체 장치(401) 내 또는 반도체 장치(401)를 포함하는 전자 기기 내의 소정의 디바이스, 신호 처리 회로 등에 접속된다.The
제 1 Cu 배리어막(413)은, 제 1 SiO2층(411)과 제 1 Cu 배선부(412)와의 사이에 형성된다. 또한, 제 1 Cu 배리어막(413)은, 제 1 Cu 배선부(412)로부터 제 1 SiO2층(411)으로의 Cu(구리)의 확산을 방지하기 위한 박막이고, 예를 들면, Ti, Ta, Ru, 또는, 그들의 질화물(TiN, TaN, RuN)로 형성된다.The first
제 1 Cu 확산 방지막(414)은, 제 1 SiO2층(411) 및 제 1 Cu 배선부(412)의 영역상이고, 또한, 제 1 Cu 배리어층(417)의 형성 영역 이외의 영역상에 형성된다. 또한, 제 1 Cu 확산 방지막(414)은, 제 1 Cu 배선부(412)로부터 제 1층간 절연막(415)으로의 Cu의 확산을 방지하기 위한 박막이고, 예를 들면 SiC, SiN, 또는, SiCN 등의 박막으로 구성된다.The first Cu
제 1층간 절연막(415)은, 제 1 Cu 확산 방지막(414)상에 형성되고, 예를 들면 SiO2막 등의 산화막으로 구성된다.The first
제 1 Cu 접합부(416)(제 1 금속막)는, 제 1층간 절연막(415)의 제 1 Cu 확산 방지막(414)측과는 반대측의 표면에 매립하도록 하여 마련된다. 또한, 본 실시 형태에서는, 제 1 Cu 접합부(416)를, 도 15에 도시하는 바와 같이, 표면(막면)이 정방형상의 Cu막으로 구성한다. 단, 본 개시는 이것으로 한정되지 않고, 제 1 Cu 접합부(416)의 표면 형상은, 예를 들면, 필요로 하는 접촉 저항, 디자인 룰 등의 조건를 고려하여 적절히 변경할 수 있다.The 1st Cu junction part 416 (1st metal film) is provided so that it may be buried in the surface on the opposite side to the 1st Cu
제 1 Cu 배리어층(417)은, 제 1 Cu 접합부(416)와, 제 1 Cu 배선부(412), 제 1 Cu 확산 방지막(414) 및 제 1층간 절연막(415)과의 사이에 마련되고, 제 1 Cu 접합부(416)를 덮도록 마련된다. 이에 의해, 제 1 Cu 접합부(416)는, 제 1 Cu 배리어층(417)을 통하여 제 1 Cu 배선부(412)에 전기적으로 접속된다. 또한, 제 1 Cu 배리어층(417)은, 제 1 Cu 접합부(416)로부터 제 1층간 절연막(415)으로의 Cu의 확산을 방지하기 위한 박막이고, 예를 들면, Ti, Ta, Ru, 또는, 그들의 질화물로 형성된다.The first
제 2 반도체 부재(420)는, 제 2 반도체 기판(도시 생략), 제 2 SiO2층(421), 제 2 Cu 배선부(422), 제 2 Cu 배리어막(423), 제 2 Cu 확산 방지막(424), 제 2 층간 절연막(425), 제 2 Cu 접합부(426), 제 2 Cu 배리어층(427), 및, 계면 Cu 배리어막(428)을 갖는다.The
또한, 제 2 반도체 부재(420)의 제 2 반도체 기판, 제 2 SiO2층(421), 및, 제 2 Cu 배선부(422)는, 각각, 제 1 반도체 부재(410)의 제 1 반도체 기판, 제 1 SiO2층(411), 및, 제 1 Cu 배선부(412)와 같은 구성이다. 또한, 제 2 반도체 부재(420)의 제 2 Cu 배리어막(423), 제 2 Cu 확산 방지막(424), 및, 제 2 층간 절연막(425)은, 각각, 제 1 반도체 부재(410)의 제 1 Cu 배리어막(413), 제 1 Cu 확산 방지막(414), 및, 제 1층간 절연막(415)과 같은 구성이다.In addition, the second semiconductor substrate of the
제 2 Cu 접합부(426)(제 2 금속막)는, 제 2 층간 절연막(425)(절연막)의 제 2 Cu 확산 방지막(424)측과는 반대측의 표면에 매립하도록 하여 마련된다. 또한, 본 실시 형태에서는, 제 2 Cu 접합부(426)를, 도 15에 도시하는 바와 같이, 표면이 정방형상의 Cu막으로 구성한다. 단, 본 발명은 이것으로 한정되지 않고, 제 2 Cu 접합부(426)의 표면 형상은, 예를 들면, 필요로 하는 접촉 저항, 디자인 룰 등의 조건를 고려하여 적절히 변경할 수 있다.The 2nd Cu junction part 426 (2nd metal film) is provided so that it may be buried in the surface on the opposite side to the 2nd Cu
또한, 본 실시 형태에서는, 도 14 및 도 15에 도시하는 바와 같이, 제 2 Cu 접합부(426)의 접합측(접합 계면(Sj)측)의 표면 면적(접합측 표면의 치수)을, 제 1 Cu 접합부(416)의 그것보다 작게 한다. 이때, 제 1 반도체 부재(410) 및 제 2 반도체 부재(420) 사이에서 상정되는 최대의 접합 얼라인먼트 어긋남이 발생하여도, 접합 계면(Sj)에서, 제 2 Cu 접합부(426)와 제 1층간 절연막(415)과 접촉하지 않도록, 제 2 Cu 접합부(426)의 사이즈를 설정한다. 보다 구체적으로는, 예를 들면, 도 14에 도시하는 바와 같이, 제 2 Cu 접합부(426)의 측면과 제 1 Cu 배리어층(417)의 측면과의 최단 거리를 △a로 하였을 때, △a가 상정되는 최대의 접합 얼라인먼트 어긋남 이상의 치수가 되도록, 제 2 Cu 접합부(426)의 사이즈를 설정한다.In addition, in this embodiment, as shown to FIG. 14 and FIG. 15, the surface area (dimension of the bonding side surface) of the bonding side (bonding interface Sj side) of the 2nd
제 2 Cu 배리어층(427)은, 제 2 Cu 접합부(426)와, 제 2 Cu 배선부(422), 제 2 Cu 확산 방지막(424) 및 제 2 층간 절연막(425)과의 사이에 마련되고, 제 2 Cu 접합부(426)를 덮도록 마련된다. 이에 의해, 제 2 Cu 접합부(426)는, 제 2 Cu 배리어층(427)을 통하여 제 2 Cu 배선부(422)에 전기적으로 접속된다. 또한, 제 2 Cu 배리어층(427)은, 제 1 Cu 배리어층(417)과 마찬가지로, 제 2 Cu 접합부(426)로부터 제 2 층간 절연막(425)으로의 Cu의 확산을 방지하기 위한 박막이고, 예를 들면, Ti, Ta, Ru, 또는, 그들의 질화물로 형성된다.The second
계면 Cu 배리어막(428)(계면 배리어막, 계면 배리어부)은, 제 2 층간 절연막(425)상에 형성된다. 이때, 계면 Cu 배리어막(428)의 표면과, 제 2 Cu 접합부(426)의 접합측의 표면이 개략 같은면이 되도록, 계면 Cu 배리어막(428)을 형성한다. 즉, 계면 Cu 배리어막(428)은, 제 1 Cu 접합부(416)의 접합 계면(Sj)측의 면 영역중 제 2 Cu 접합부(426)와 접합하지 않는 면 영역을 포함하는 영역에 마련된다. 이와 같은 영역(위치)에 계면 Cu 배리어막(428)을 마련함에 의해, 접합 계면(Sj)에서의 제 1 Cu 접합부(416)와 제 2 층간 절연막(425)과의 대향 영역을 통하여, Cu 접합부로부터 층간 절연막(SiO2막)에 Cu가 확산하는 것을 방지할 수 있다.The interfacial Cu barrier film 428 (interface barrier film, interfacial barrier portion) is formed on the second
또한, 계면 Cu 배리어막(428)은, 예를 들면, SiN, SiON, SiCN, 유기계 수지 등의 재료로 형성할 수 있다. 단, Cu막과의 밀착성 향상이라는 관점에서는, 특히, 계면 Cu 배리어막(428)을 SiN으로 형성하는 것이 바람직하다.The interfacial
[반도체 장치의 제조 수법][Method of Manufacturing Semiconductor Device]
다음에, 본 실시 형태의 반도체 장치(401)의 제조 수법을, 도 16a 내지 고 16m을 참조하면서 설명한다. 또한, 도 16a 내지 16l에는, 각 공정에서 제작되는 반도체 부재의 Cu 접합부 부근의 개략 단면을 도시하고, 도 16m에는, 제 1 반도체 부재(410)와 제 2 반도체 부재(420)와의 접합 처리의 양상을 도시한다.Next, the manufacturing method of the
최초에, 도 16a 내지 도 16f을 참조하면서, 제 1 반도체 부재(410)의 제작 수법을 설명한다. 본 실시 형태에서는, 도시하지 않지만, 우선, 제 1 SiO2층(411)(하지 절연층)의 한쪽의 표면의 소정 영역에, 제 1 Cu 배리어막(413), 및, 제 1 Cu 배선부(412)를 이 순서로 형성한다. 이때, 제 1 Cu 배선부(412)를, 제 1 SiO2층(411)의 한쪽의 표면에 매입하도록(제 1 Cu 배선부(412)가 그 표면에 노출하도록) 형성한다.First, the manufacturing method of the
뒤이어, 도 16a에 도시하는 바와 같이, 제 1 SiO2층(411), 제 1 Cu 배선부(412), 및, 제 1 Cu 배리어막(413)으로 이루어지는 반도체 부재의 제 1 Cu 배선부(412)측의 표면상에, 제 1 Cu 확산 방지막(414)을 형성한다. 또한, 제 1 SiO2층(411), 제 1 Cu 배선부(412), 제 1 Cu 배리어막(413), 및, 제 1 Cu 확산 방지막(414)은, 종래의 예를 들면 고체 촬상 장치 등의 반도체 장치의 제조 수법(예를 들면 일본 특개2004-63859호 공보 참조)과 마찬가지로 형성할 수 있다.Subsequently, as shown in FIG. 16A, the first
뒤이어, 제 1 Cu 확산 방지막(414)상에, 제 1층간 절연막(415)을 형성한다. 구체적으로는, 예를 들면, 제 1 Cu 확산 방지막(414)상에, 두께가 약 50 내지 500nm 정도의 SiO2막 또는 탄소 함유 산화 실리콘(SiOC)막을 성막하여 제 1층간 절연막(415)을 형성한다. 또한, 이와 같은 제 1층간 절연막(415)은, 예를 들면 CVD(chemical vapor deposition)법, 또는, 스핀 코트법으로 형성할 수 있다.Subsequently, a first
뒤이어, 도 16b에 도시하는 바와 같이, 제 1층간 절연막(415)상에 레지스트막(450)을 형성한다. 그리고, 포토리소그래피 기술을 이용하여, 레지스트막(450)에 대해 패터닝 처리를 시행하고, 제 1 Cu 접합부(416)의 형성 영역의 레지스트막(450)을 제거하여 개구부(450a)를 형성한다.Subsequently, as shown in FIG. 16B, a resist
뒤이어 레지스트막(450)이 형성된 반도체 부재의 개구부(150a)측의 표면에 대해, 예를 들면 종래 기지의 마그네트론 방식의 에칭 장치를 이용하여, 드라이 에칭 처리를 행한다. 이에 의해, 레지스트막(450)의 개구부(450a)에 노출한 제 1층간 절연막(415)의 영역이 에칭된다. 이 에칭 처리에서는, 도 16c에 도시하는 바와 같이, 레지스트막(450)의 개구부(450a)의 영역의 제 1층간 절연막(415), 및, 제 1 Cu 확산 방지막(414)을 제거하고, 제 1층간 절연막(415)의 개구부(415a)에 제 1 Cu 배선부(412)를 노출시킨다. 또한, 본 실시 형태에서는, 제 1층간 절연막(415)의 개구부(415a)의 개구 지름을, 예를 들면, 약 4 내지 100㎛ 정도로 한다.Subsequently, a dry etching process is performed on the surface of the opening 150a side of the semiconductor member on which the resist
그 후, 에칭 처리된 면에 대해, 예를 들면 산소(O2) 플라즈마를 이용한 애싱 처리, 및, 유기 아민계의 약액를 이용한 세정 처리를 시행한다. 이에 의해, 제 1층간 절연막(415)상에 잔류한 레지스트막(450), 및, 상기 에칭 처리에서 발생한 잔류 부착물을 제거한다.Then, the ashing process is performed, for example, the ashing process using oxygen (O2) plasma, and the washing process using the organic amine chemical liquid. As a result, the resist
뒤이어 도 16d에 도시하는 바와 같이, 제 1층간 절연막(415)상, 및, 제 1층간 절연막(415)의 개구부(15a)에 노출한 제 1 Cu 배선부(412)상에, Ti, Ta, Ru, 또는, 그들의 질화물로 이루어지는 제 1 Cu 배리어층(417)을 형성한다. 구체적으로는, 예를 들면 RF(Radio Frequency) 스퍼터링법 등의 수법을 이용하여, Ar/N2 분위기중에서, 두께가 약 5 내지 50nm의 제 1 Cu 배리어층(417)을, 제 1층간 절연막(415) 및 제 1 Cu 배선부(412)상에 형성한다.Subsequently, as shown in FIG. 16D, on the first
뒤이어 도 16e에 도시하는 바와 같이, 제 1 Cu 배리어층(417)상에, 예를 들면 스퍼터링법 및 전해 도금법 등의 수법을 이용하여, Cu막(451)을 형성한다. 이 처리에 의해, 제 1층간 절연막(415)의 개구부(415a)의 영역에 Cu막(451)이 매입된다.Subsequently, as shown in FIG. 16E, the
뒤이어 Cu막(451)이 형성된 반도체 부재를, 예를 들면 핫 플레이트나 신터 어닐 장치 등의 가열 장치를 이용하여, 질소 분위기중 또는 진공중에서, 약 100 내지 400℃에서 1 내지 60분 정도 가열한다. 이 가열처리에 의해, Cu막(451)을 죄여서 치밀한 막질의 Cu막(451)을 형성한다.Subsequently, the semiconductor member on which the
그 후, 도 16f에 도시하는 바와 같이, Cu막(451) 및 제 1 Cu 배리어층(417)의 불필요한 부분를 화학 기계 연마(CMP)법에 의해 제거한다. 구체적으로는, 제 1층간 절연막(415)이 표면에 노출할 때까지, Cu막(451)측의 표면을 CMP법으로 연마한다.Thereafter, as shown in FIG. 16F, unnecessary portions of the
본 실시 형태에서는, 상술한 도 16a 내지 16f의 각종 공정을 행하여, 제 1 반도체 부재(410)를 제작한다. 다음에, 제 2 반도체 부재(420)의 제작 수법을, 도 16g 내지 16l을 참조하면서 설명한다.In this embodiment, the various steps of FIGS. 16A to 16F described above are performed to fabricate the
우선, 제 1 반도체 부재(410)와 마찬가지로 하여(도 16a의 공정), 제 2 SiO2층(421)의 한쪽의 표면의 소정 영역에, 제 2 Cu 배리어막(423), 및, 제 2 Cu 배선부(422)를 이 순서로 형성한다. 뒤이어 제 2 SiO2층(421), 제 2 Cu 배선부(422), 및, 제 2 Cu 배리어막(423)으로 이루어지는 반도체 부재의 제 2 Cu 배선부(422)측의 표면상에, 제 2 Cu 확산 방지막(424)을 형성한다.First, similarly to the first semiconductor member 410 (process of FIG. 16A), the second
뒤이어 제 2 Cu 확산 방지막(424)상에, 제 2 층간 절연막(425)을 형성한다. 구체적으로는, 예를 들면, 제 2 Cu 확산 방지막(424)상에, 두께가 약 50 내지 500nm 정도의 SiO2막 또는 SiOC막을 성막하여 제 2 층간 절연막(425)을 형성한다. 또한, 이와 같은 제 2 층간 절연막(425)은, 예를 들면 CVD법 또는 스핀 코트법으로 형성할 수 있다. 뒤이어 제 2 층간 절연막(425)상에, 예를 들면 CVD법 또는 스핀 코트법 등의 수법을 이용하여, 두께가 약 5 내지 100nm 정도의 계면 Cu 배리어막(428)을 형성한다. 뒤이어 계면 Cu 배리어막(428)상에, 예를 들면 CVD법 또는 스핀 코트법 등의 수법을 이용하여, 두께가 약 50 내지 200nm 정도의 SiO2막 또는 SiOC막을 성막하여 절연막(452)을 형성한다.Subsequently, a second
뒤이어 도 16g에 도시하는 바와 같이, 절연막(452)상에 레지스트막(453)을 형성한다. 그리고, 포토리소그래피 기술을 이용하여, 레지스트막(453)에 대해 패터닝 처리를 시행하고, 제 2 Cu 접합부(426)의 형성 영역의 레지스트막(453)을 제거하여 개구부(453a)를 형성한다. 또한, 개구부(453a)의 개구 지름은, 도 16b의 공정에서 형성한 레지스트막(450)의 개구부(450a)의 그것보다 작게 한다.Subsequently, as shown in FIG. 16G, a resist
단, 상술한 레지스트막(453)에 개구부(453a)가 형성된 반도체 부재의 제작 공정은, 도 16g에 도시하는 예로 한정되지 않고, 예를 들면, 계면 Cu 배리어막(428)상에 직접, 레지스트막(453)을 마련하고, 다시, 개구부(453a)를 형성하여도 좋다. 도 16h에, 그 수법으로 개구부(453a)를 형성한 때의 반도체 부재의 개략 단면도를 도시한다.However, the manufacturing process of the semiconductor member in which the
단, 도 16h에 도시하는 수법을 채용한 경우, 계면 Cu 배리어막(428)상에 직접, 제 2 Cu 배리어층(427)을 통하여 Cu막이 형성되고, 그 후, 그 Cu막을 CMP 처리로 연마함에 의해 제 2 Cu 접합부(426)가 형성된다. 그러나, 통상, 계면 Cu 배리어막(428)은 CMP 처리로 연마하는 것이 곤란한 막이기 때문에, 도 16h에 도시하는 수법을 채용한 경우에는, CMP 처리시에, Cu막의 깎임 잔사가 계면 Cu 배리어막(428)상에 발생하는 경우도 있다.However, when the method shown in FIG. 16H is adopted, a Cu film is formed directly on the interface
그에 대해, 도 16g에 도시하는 개구부(453a)의 형성 수법에서는, 계면 Cu 배리어막(428)상에 절연막(452)이 형성되기 때문에, Cu막의 CMP 처리시에 절연막(452)도 함께 연마함에 의해, Cu막의 깎임 잔사를 보다 확실하게 없앨 수 있다. 즉, 제 2 Cu 접합부(426)를 형성할 때의 Cu막의 깎임 잔사를 방지하는 관점에서는, 도 16g에 도시하는 개구부(453a)의 형성 수법이 도 12에 도시하는 개구부(453a)의 형성 수법 보다 알맞다.In contrast, in the formation method of the
뒤이어 레지스트막(453)이 형성된 반도체 부재의 개구부(453a)측의 표면에 대해, 예를 들면 종래 기지의 마그네트론 방식의 에칭 장치를 이용하여, 드라이 에칭 처리를 행한다. 이에 의해, 레지스트막(453)의 개구부(453a)에 노출한 절연막(452)의 영역이 에칭된다. 이 에칭 처리에서는, 도 16i에 도시하는 바와 같이, 개구부(453a)의 영역의 절연막(452), 계면 Cu 배리어막(428), 제 2 층간 절연막(425), 및, 제 2 Cu 확산 방지막(424)을 제거하여, 제 2 층간 절연막(425)의 개구부(425a)에 제 2 Cu 배선부(422)를 노출시킨다. 또한, 본 실시 형태에서는, 제 2 층간 절연막(425)의 개구부(425a)의 개구 지름은, 예를 들면, 약 1 내지 95㎛ 정도로 한다.Subsequently, the dry etching process is performed to the surface of the
그 후, 에칭 처리된 면에 대해, 예를 들면 산소(O2) 플라즈마를 이용한 애싱 처리, 및, 유기 아민계의 약액를 이용한 세정 처리를 시행한다. 이에 의해, 절연막(452)상에 잔류한 레지스트막(453), 및, 상기 에칭 처리에서 발생한 잔류 부착물을 제거한다.Then, the ashing process is performed, for example, the ashing process using oxygen (O2) plasma, and the washing process using the organic amine chemical liquid. Thereby, the resist
뒤이어 도 16j에 도시하는 바와 같이, 절연막(452)상, 및, 제 2 층간 절연막(425)의 개구부(425a)에 노출한 제 2 Cu 배선부(422)상에, Ti, Ta, Ru, 또는, 그들의 질화물로 이루어지는 제 2 Cu 배리어층(427)을 형성한다. 구체적으로는, 예를 들면 RF 스퍼터링법 등의 수법을 이용하여, Ar/N2 분위기중에서, 두께가 약 5 내지 50nm의 제 2 Cu 배리어층(427)을, 절연막(452) 및 제 2 Cu 배선부(422)상에 형성한다.Subsequently, as shown in FIG. 16J, Ti, Ta, Ru, or on the insulating
뒤이어 도 16j에 도시하는 바와 같이, 제 2 Cu 배리어층(427)상에, 예를 들면 스퍼터링법 및 전해 도금법 등의 수법을 이용하여, Cu막(454)을 형성한다. 이 처리에 의해, 제 2 층간 절연막(425)의 개구부(425a)의 영역에 Cu막(454)이 매입된다.16J, the
뒤이어 Cu막(454)이 형성된 반도체 부재를, 예를 들면 핫 플레이트나 신터 어닐 장치 등의 가열 장치를 이용하여, 질소 분위기중 또는 진공중에서, 약 100 내지 400℃에서 1 내지 60분 정도 가열한다. 이 가열처리에 의해, Cu막(454)을 죄여서 치밀한 막질의 Cu막(454)을 형성한다.Subsequently, the semiconductor member on which the
그리고, 도 16l에 도시하는 바와 같이, Cu막(454), 제 2 Cu 배리어층(427) 및 절연막(452)의 불필요한 부분를 화학 기계 연마(CMP)법에 의해 제거한다. 구체적으로는, 계면 Cu 배리어막(428)이 표면에 노출할 때까지, Cu막(454)측의 표면을 CMP법으로 연마한다. 본 실시 형태에서는, 상술한 도 16g 내지 16l의 각종 공정을 행하여, 제 2 반도체 부재(420)를 제작한다.As shown in FIG. 16L, unnecessary portions of the
뒤이어 상기 순서로 제작된 제 1 반도체 부재(410)(도 16f)와 제 2 반도체 부재(420)(도 16l)를 맞붙인다. 이 맞붙임 공정(접합 공정)의 구체적인 처리 내용은, 다음과 같다.Subsequently, the first semiconductor member 410 (FIG. 16F) and the second semiconductor member 420 (FIG. 16L) produced in the above order are bonded together. The specific process content of this pasting process (joining process) is as follows.
우선, 제 1 반도체 부재(410)의 제 1 Cu 접합부(416)측의 표면, 및, 제 2 반도체 부재(420)의 제 2 Cu 접합부(426)측의 표면에 대해 환원 처리를 시행하여, 각 Cu 접합부의 표면의 산화막(산화물)을 제거한다. 이에 의해, 각 Cu 접합부의 표면에 청정한 Cu를 노출시킨다. 또한, 이때, 환원 처리로서는, 예를 들면 포름산 등의 약액를 이용한 웨트 에칭 처리, 또는, 예를 들면 Ar, NH3, H2 등의 플라즈마를 이용한 드라이 에칭 처리가 이용된다.First, the surface of the surface of the
뒤이어 도 16m에 도시하는 바와 같이, 제 1 반도체 부재(410)의 제 1 Cu 접합부(416)측의 표면과, 제 2 반도체 부재(420)의 제 2 Cu 접합부(426)측의 표면을 접촉시킨다(또는 맞붙인다). 이때, 제 1 Cu 접합부(416)와, 그것에 대응하는 제 2 Cu 접합부(426)가 대향하도록 위치 맞춤을 행하고 나서 양자를 맞붙인다.Subsequently, as shown in FIG. 16M, the surface of the
뒤이어 제 1 반도체 부재(410) 및 제 2 반도체 부재(420)를 맞붙인 상태로, 예를 들면 핫 플레이트나 RTA(Rapid Thermal Annealing) 장치 등의 가열 장치를 이용하여 맞붙임 부재를 어닐하여, 제 1 Cu 접합부(416)와 제 2 Cu 접합부(426)를 접합한다. 구체적으로는, 예를 들면, 대기압의 N2 분위기중, 또는, 진공중에서 약 100 내지 400℃에서 5분 내지 2시간 정도, 맞붙임 부재를 가열한다.Subsequently, in a state where the
또한, 이 접합 처리에 의해, 제 1 Cu 접합부(416)의 접합 계면(Sj)측의 면 영역중 제 2 Cu 접합부(426)와 접합하지 않는 면 영역을 포함하는 영역에 계면 Cu 배리어막(428)이 배치된다. 보다 구체적으로는, 도 14에 도시하는 바와 같이, 제 1 Cu 접합부(416)와, 제 2 층간 절연막(425)이 대향하는 접합 계면(Sj)의 영역을 포함하는 영역에 계면 Cu 배리어막(428)이 배치된다.In addition, by this bonding treatment, the interface
본 실시 형태에서는, 이와 같이 하여, Cu-Cu 접합 처리를 행한다. 또한, 상술한 접합 공정 이외의 반도체 장치(401)의 제조 공정은, 종래의 예를 들면 고체 촬상 장치 등의 반도체 장치의 제조 수법(예를 들면 일본 특개2007-234725호 공보 참조)과 마찬가지로 할 수 있다.In this embodiment, Cu-Cu bonding process is performed in this way. In addition, the manufacturing process of the
상술한 바와 같이, 본 실시 형태의 반도체 장치(401)에서는, 제 1 반도체 부재(410)의 제 1 Cu 접합부(416)와, 제 2 반도체 부재(420)의 제 2 층간 절연막(425)이 대향하는 접합 계면 영역을 포함하는 영역에는, 계면 Cu 배리어막(428)이 마련된다. 그 때문에, 본 실시 형태에서는, 반도체 부재의 접합시에, 접합 얼라인먼트 어긋남이 발생하여도, 접합 계면(Sj)에서, Cu 접합부와 층간 절연막과의 접촉 영역이 발생하지 않아, 상술한 접합 계면(Sj)에서의 전기 특성의 부적합함을 해소할 수 있다.As described above, in the
또한, 본 실시 형태에서는, 상술한 바와 같이, 제 1 Cu 접합부(416)의 접합측의 표면 면적을, 제 2 Cu 접합부(426)의 그것보다 충분히 크게 한다. 그 때문에, 본 실시 형태에서는, 제 1 반도체 부재(410) 및 제 2 반도체 부재(420)의 접합시에 접합 얼라인먼트 어긋남이 발생하여도, Cu 접합부 사이의 접촉 면적(접촉 저항)은 변화하지 않아, 반도체 장치(401)의 전기 특성(또는 성능)의 열화를 억제할 수 있다. 즉, 본 실시 형태에서는, 접합 계면(Sj)에서의 접촉 저항의 증대를 억제할 수 있기 때문에, 반도체 장치(401)의 소비 전력의 증대, 및, 처리 속도의 지연를 억제할 수 있다.In addition, in this embodiment, as above-mentioned, the surface area of the joining side of the 1st
또한, 본 실시 형태에서는, 제 1 Cu 접합부(416)와 제 2 층간 절연막(425)과의 사이에는, 계면 Cu 배리어막(428)이 마련되기 때문에, 양자 사이의 밀착력을 향상시킬 수 있다. 이에 의해, 본 실시 형태에서는, 제 1 반도체 부재(410) 및 제 2 반도체 부재(420) 사이의 접합 강도를 증대시킬 수 있다.In addition, in this embodiment, since the interface
이상의 것으로부터, 본 실시 형태에서는, 접합 계면에서의 전기 특성의 열화를 보다 한층 억제할 수 있고, 보다 신뢰성이 높은 접합 계면(Sj)을 갖는 반도체 장치(401)를 제공할 수 있다.From the above, in the present embodiment, the deterioration of the electrical characteristics at the bonding interface can be further suppressed, and the
<<2.제 2의 실시 형태>><< 2.2nd embodiment >>
[반도체 장치의 구성][Configuration of Semiconductor Device]
도 17 및 도 18에, 제 3의 실시예의 제 2의 실시 형태에 관한 반도체 장치의 개략 구성을 도시한다. 도 17은, 제 2의 실시 형태에 관한 반도체 장치의 접합 계면 부근의 개략 단면도이고, 도 18은, 각 Cu 접합부 및 계면 Cu 배리어막 사이의 배치 관계를 도시하는 접합 계면 부근의 개략 상면도이다. 또한, 도 17 및 18에서는, 설명을 간략화하기 위해, 하나의 접합 계면 부근의 구성만을 도시한다. 또한, 도 17 및 18에 도시하는 본 실시 형태의 반도체 장치(402)에서, 도 14 및 15에 도시하는 제 1의 실시 형태의 반도체 장치(401)와 같은 구성에는, 같은 부호를 붙여서 도시한다.17 and 18 show a schematic configuration of a semiconductor device according to a second embodiment of a third example. FIG. 17 is a schematic cross-sectional view of the vicinity of a bonding interface of a semiconductor device according to the second embodiment, and FIG. 18 is a schematic top view of the vicinity of a bonding interface showing an arrangement relationship between each Cu junction portion and an interface Cu barrier film. In addition, in FIG.17 and 18, in order to simplify description, only the structure of one junction interface vicinity is shown. In addition, in the
반도체 장치(402)는, 도 17에 도시하는 바와 같이, 제 1 반도체 부재(430)(제 1 반도체부)와, 제 2 반도체 부재(440)(제 2 반도체부)와, 계면 Cu 배리어막(450)(계면 배리어막 또는 계면 배리어부)를 구비한다.As shown in FIG. 17, the
제 1 반도체 부재(430)는, 제 1 반도체 기판(도시 생략), 제 1 SiO2층(411), 제 1 Cu 배선부(412), 제 1 Cu 배리어막(413), 제 1 Cu 확산 방지막(414), 제 1층간 절연막(415), 제 1 Cu 접합부(416), 제 1 Cu 배리어층(417), 및, 제 1 Cu 시드층(431)을 갖는다.The
도 17과 도 14와의 비교로부터 분명한 바와 같이, 본 실시 형태의 제 1 반도체 부재(430)는, 제 1의 실시 형태의 제 1 반도체 부재(410)에서, 제 1 Cu 접합부(416)와 제 1 Cu 배리어층(417)과의 사이에 제 1 Cu 시드층(431)을 마련한 구성으로 된다. 그 이외의 제 1 반도체 부재(430)의 구성은, 상기 제 1의 실시 형태의 제 1 반도체 부재(410)의 대응하는 구성과 같다. 그 때문에, 여기서는, 제 1 Cu 시드층(431)의 구성에 관해서만 설명한다.As is apparent from the comparison with FIG. 17 and FIG. 14, the
제 1 Cu 시드층(431)(시드층)은, 상술한 바와 같이, 제 1 Cu 접합부(416)와 제 1 Cu 배리어층(417)과의 사이에 마련되고, 제 1 Cu 접합부(416)를 덮도록 형성된다.As described above, the first Cu seed layer 431 (seed layer) is provided between the first
제 1 Cu 시드층(431)은, 산소와 반응하기 쉬운 금속 재료를 함유하는 Cu층(Cu 합금층)으로 형성된다. 제 1 Cu 시드층(431)에 함유하는 금속 재료로서는, 예를 들면, 산소에 대해 수소보다도 반응하기 쉬운 금속 재료를 이용할 수 있다. 구체적으로는, Fe, Mn, V, Cr, Mg, Si, Ce, Ti, Al 등의 금속 재료를 이용할 수 있다. 또한, 이들의 금속 재료중, Mn, Mg, Ti, 또는, Al은, 반도체 장치에 알맞는 재료이다. 또한, 접합 계면 Si의 배선 저항의 저하라는 관점에서는, 제 1 Cu 시드층(431)에 함유하는 금속 재료로서, Mn, 또는, Ti를 이용하는 것이 특히 바람직하다.The first
제 2 반도체 부재(440)는, 제 2 반도체 기판(도시 생략), 제 2 SiO2층(421), 제 2 Cu 배선부(422), 제 2 Cu 배리어막(423), 제 2 Cu 확산 방지막(424), 제 2 층간 절연막(425), 제 2 Cu 접합부(426), 제 2 Cu 배리어층(427), 및, 제 2 Cu 시드층(441)을 갖는다.The
도 17과 도 14와의 비교로부터 분명한 바와 같이, 본 실시 형태의 제 2 반도체 부재(440)는, 제 1의 실시 형태의 제 2 반도체 부재(420)에서, 계면 Cu 배리어막(428)을 생략하고, 또한, 제 2 Cu 접합부(426) 및 제 2 Cu 배리어층(427) 사이에 제 2 Cu 시드층(441)을 마련한 구성으로 된다. 그 이외의 제 2 반도체 부재(440)의 구성은, 상기 제 1의 실시 형태의 제 2 반도체 부재(420)의 대응하는 구성과 같다. 그 때문에, 여기서는, 제 2 Cu 시드층(441)의 구성에 관해서만 설명한다.As is apparent from the comparison with FIG. 17 and FIG. 14, the
제 2 Cu 시드층(441)은, 상술한 바와 같이, 제 2 Cu 접합부(426)와 제 2 Cu 배리어층(427)과의 사이에 마련되고, 제 2 Cu 접합부(426)를 덮도록 형성된다. 제 2 Cu 시드층(441)은, 제 1 Cu 시드층(431)과 마찬가지로, 산소와 반응하기 쉬운 금속 재료를 함유하는 Cu층(Cu 합금층)으로 형성된다. 또한, 제 2 Cu 시드층(441)에 함유하는 금속 재료는, 상기 제 1 Cu 시드층(431)에서 설명한 각종 금속 재료로부터 적절히 선택할 수 있다. 또한, 본 실시 형태에서는, 제 2 Cu 시드층(441)에 함유하는 금속 재료는, 제 1 Cu 시드층(431)에 포함되는 금속 재료와 마찬가지로 한다.As described above, the second
계면 Cu 배리어막(450)은, 제 1 반도체 부재(430)와 제 2 반도체 부재(440)를 접합할 때의 열처리(어닐 처리)에 의해, 각 Cu시드층에 함유하는 금속 재료와 각 층간 절연막(주로 제 2 층간 절연막(425))중의 산소와 반응하여 생성되는 막(자기(自己) 형성막)이다. 그 때문에, 계면 Cu 배리어막(450)은, 제 1 반도체 부재(430)의 제 1 Cu 접합부(416)와, 제 2 반도체 부재(440)의 제 2 층간 절연막(425)이 대향하는 접합 계면(Sj)의 영역에 형성되고, 예를 들면, MnOx, MgOx, TiOx, AlOx 등의 산화막으로 구성된다.The interfacial
또한, 도 17에서는, 계면 Cu 배리어막(450)의 형성 위치를 명확히 하기 위해, 계면 Cu 배리어막(450)이, 접합 계면(Sj)에 따라서, 제 2 Cu 접합부(426)의 측면로부터 제 1 Cu 배리어층(417)의 측면에 걸쳐서 형성된 예를 도시한다. 그러나, 계면 Cu 배리어막(450)의 형성 영역은, 이 예로 한정되지 않는다.In addition, in FIG. 17, in order to clarify the formation position of the interface
계면 Cu 배리어막(450)은, 제 1 Cu 접합부(416)와 제 2 층간 절연막(425)과의 대향 영역을 통하여, Cu 접합부로부터 층간 절연막에 Cu가 확산하는 것을 방지하기 위한 막이다. 그 때문에, 접합 계면(Sj)에서, 적어도, 제 1 Cu 접합부(416)와 제 2 층간 절연막(425)과의 대향 영역에 계면 Cu 배리어막(450)을 형성하면 좋다. 또한, 계면 Cu 배리어막(450)의 형성 영역은, 예를 들면, 제 1 반도체 부재(430)와 제 2 반도체 부재(440)와의 접합 처리시의 어닐 조건이나, 각 Cu 시드층중의 금속 재료의 함유량 등을 조정함에 의해 적절히 설정할 수 있다.The interfacial
[반도체 장치의 제조 수법][Method of Manufacturing Semiconductor Device]
다음에, 본 실시 형태의 반도체 장치(402)의 제조 수법을, 도 19a 내지 도 19e를 참조하면서 설명한다. 또한, 도 19a 내지 도 19e에는, 각 공정에서 제작되는 반도체 부재의 Cu 접합부 부근의 개략 단면을 도시하고, 도 19e에는, 제 1 반도체 부재(430)와 제 2 반도체 부재(440)와의 접합 처리의 양상을 도시한다. 또한, 하기 설명에서, 상기 제 1의 실시 형태의 반도체 장치의 제조 수법과 같은 공정의 설명에서는, 상기 제 1의 실시 형태의 공정의 도면(도 16a 내지 도 16m)을 적절히 참조한다.Next, the manufacturing method of the
우선, 본 실시 형태에서는, 상기 도 16a에서 설명한 제 1의 실시 형태의 제 1 반도체 부재(410)의 제작 공정과 마찬가지로 하여, 제 1 SiO2층(411)상에, 제 1 Cu 배리어막(413), 제 1 Cu 배선부(412), 및, 제 1 Cu 확산 방지막(414)을 이 순서로 형성한다. 뒤이어 상기 도 16b 및 도 16c에서 설명한 제 1의 실시 형태의 제 1 반도체 부재(410)의 제작 공정과 마찬가지로 하여, 제 1 Cu 확산 방지막(414)상에, 제 1층간 절연막(415)(제 1 산화막), 및, 그 개구부(415a)를 형성한다. 또한, 본 실시 형태에서도, 제 1층간 절연막(415)의 개구부(415a)의 개구 지름은, 예를 들면, 약 4 내지 100㎛ 정도로 한다. 그리고, 상기 도 16d에서 설명한 제 1의 실시 형태의 제 1 반도체 부재(410)의 제작 공정과 마찬가지로 하여, 제 1층간 절연막(415)상, 및, 그 개구부(415a)에 노출한 제 1 Cu 배선부(412)상에, 제 1 Cu 배리어층(417)을 형성한다.First, in the present embodiment, the first
뒤이어 도 19a에 도시하는 바와 같이, 제 1 Cu 배리어층(417)상에, 예를 들면 RF 스퍼터링법 등의 수법을 이용하여, Ar/N2 분위기중에서, 두께가 약 5 내지 50nm의 제 1 Cu 시드층(431)(예를 들면 CuMn층, CuAl층, CuMg층, CuTi층 등)을 형성한다.Subsequently, as shown in FIG. 19A, the first Cu seed having a thickness of about 5 to 50 nm in an Ar / N2 atmosphere, using, for example, an RF sputtering method or the like, on the first
뒤이어 도 19b에 도시하는 바와 같이, 제 1 Cu 시드층(431)상에, 예를 들면 스퍼터링법 및 전해 도금법 등의 수법을 이용하여, Cu막(455)을 형성한다. 이 처리에 의해, 제 1층간 절연막(415)의 개구부(415a)의 영역에 Cu막(455)이 매입된다.Subsequently, as shown in FIG. 19B, the
뒤이어 Cu막(455)이 형성된 반도체 부재를, 예를 들면 핫 플레이트나 신터 어닐 장치 등의 가열 장치를 이용하여, 질소 분위기중 또는 진공중에서, 약 100 내지 400℃에서 1 내지 60분 정도 가열한다. 이 가열처리에 의해, Cu막(455)을 죄여서 치밀한 막질의 Cu막(455)을 형성한다.Subsequently, the semiconductor member on which the
뒤이어 도 19c에 도시하는 바와 같이, Cu막(455), 제 1 Cu 시드층(431) 및 제 1 Cu 배리어층(417)의 불필요한 부분를 CMP법에 의해 제거한다. 구체적으로는, 제 1층간 절연막(415)이 표면에 노출할 때까지, Cu막(455)측의 표면을 CMP법으로 연마한다.Subsequently, as shown in FIG. 19C, unnecessary portions of the
본 실시 형태에서는, 상술한 바와 같이 하여, 제 1 반도체 부재(430)를 제작한다. 또한, 본 실시 형태에서는, 상술한 제 1 반도체 부재(430)와 마찬가지로 제 2 반도체 부재(440)를 제작한다.In the present embodiment, as described above, the
도 19d에, 본 실 시 형태로 제작된 제 2 반도체 부재(440)의 개략 단면도를 도시한다. 단, 본 실시 형태에서는, 제 2 반도체 부재(440)의 제작 도중에서, 제 2 층간 절연막(425)(제 2 산화막)에 개구부를 형성할 때에, 그 개구부의 개구 지름을, 도 16c에서 설명한 제 1층간 절연막(415)의 개구 지름(약 4 내지 100㎛ 정도)보다 작게 한다. 구체적으로는, 제 2 층간 절연막(425)에 개구부의 개구 지름을 약 1 내지 95㎛ 정도로 한다.FIG. 19D shows a schematic cross-sectional view of the
그 후, 상술한 바와 같이 하여 제작된 제 1 반도체 부재(430)(도 19c)와 제 2 반도체 부재(440)(도 19d)를, 상기 제 1의 실시 형태와 마찬가지로 하여 맞붙인다.Thereafter, the first semiconductor member 430 (FIG. 19C) and the second semiconductor member 440 (FIG. 19D) produced as described above are bonded together in the same manner as in the first embodiment.
구체적으로는, 우선, 제 1 반도체 부재(430)의 제 1 Cu 접합부(416)측의 표면, 및, 제 2 반도체 부재(440)의 제 2 Cu 접합부(426)측의 표면에 대해 환원 처리를 시행하여, 각 Cu 접합부의 표면의 산화막(산화물)을 제거하여, 각 Cu 접합부의 표면에 청정한 Cu를 노출시킨다. 또한, 이때, 환원 처리로서는, 예를 들면 포름산 등의 약액를 이용한 웨트 에칭 처리, 또는, 예를 들면 Ar, NH3, H2 등의 플라즈마를 이용한 드라이 에칭 처리가 이용된다.Specifically, first, a reduction treatment is performed on the surface of the
뒤이어 도 19e에 도시하는 바와 같이, 제 1 반도체 부재(430)의 제 1 Cu 접합부(416)측의 표면과, 제 2 반도체 부재(440)의 제 2 Cu 접합부(426)측의 표면을 접촉시킨다(또는 맞붙인다). 그리고, 제 1 반도체 부재(430)와 제 2 반도체 부재(440)를 맞붙인 상태에서, 예를 들면 핫 플레이트나 RTA 장치 등의 가열 장치를 이용하여 맞붙임 부재를 어닐하여, 제 1 Cu 접합부(416)와 제 2 Cu 접합부(426)를 접합한다. 구체적으로는, 예를 들면, 대기압의 N2 분위기중, 또는, 진공중에서 약 100 내지 400℃에서 5분 내지 2시간 정도, 맞붙임 부재를 가열한다.Subsequently, as shown in FIG. 19E, the surface of the
또한, 상술한 접합 처리시에는, 각 Cu시드층중의 금속 재료(예를 들면 Mn, Mg, Ti, Al 등)가 층간 절연막(주로, 제 2 층간 절연막(425))중의 산소와 선택적으로 반응한다. 이에 의해, 제 1 반도체 부재(430)의 제 1 Cu 접합부(416)와, 제 2 반도체 부재(440)의 제 2 층간 절연막(425)이 대향하는 접합 계면(Sj)의 영역에, 계면 Cu 배리어막(450)이 형성된다. 즉, 상기 접합 처리에 의해, 제 1 Cu 접합부(416)의 접합 계면(Sj)측의 면 영역중 제 2 Cu 접합부(426)와 접합하지 않는 면 영역을 포함하는 영역에 계면 Cu 배리어막(450)이 마련된다.In the bonding process described above, the metal material (eg, Mn, Mg, Ti, Al, etc.) in each Cu seed layer selectively reacts with oxygen in the interlayer insulating film (mainly, the second interlayer insulating film 425). do. As a result, the interface Cu barrier is formed in the region of the bonding interface Sj where the first
본 실시 형태에서는, 상술한 바와 같이 하여, Cu-Cu 접합 처리를 행한다. 또한, 상술한 접합 공정 이외의 반도체 장치(402)의 제조 공정은, 종래의 예를 들면 고체 촬상 장치 등의 반도체 장치의 제조 수법(예를 들면 일본 특개2007-234725호 공보 참조)과 마찬가지로 할 수 있다.In this embodiment, a Cu-Cu joining process is performed as mentioned above. In addition, the manufacturing process of the
상술한 바와 같이, 본 실시 형태의 반도체 장치(402)에서도, 상기 제 1의 실시 형태와 마찬가지로, 제 1 반도체 부재(430)의 제 1 Cu 접합부(416)와, 제 2 반도체 부재(440)의 제 2 층간 절연막(425)이 대향하는 접합 계면(Sj)의 영역에는, 계면 Cu 배리어막(450)이 마련된다. 그 때문에, 본 실시 형태에서도, 제 1의 실시 형태와 같은 효과를 얻을 수 있다.As described above, in the
또한, 본 실시 형태와 같이, Cu시드층을 마련하고, 또한 Cu시드층상에 Cu 접합부를 전해 도금법으로 형성한 경우, Cu시드층중의 Cu가, Cu 도금막의 핵이 된다. 그 때문에, 본 실시 형태에서는, Cu 접합부 및 층간 절연막 사이의 밀착력을 향상시킬 수 있다.In addition, when providing a Cu seed layer and forming a Cu junction part by the electroplating method on the Cu seed layer like this embodiment, Cu in a Cu seed layer becomes a nucleus of a Cu plating film. Therefore, in this embodiment, the adhesive force between Cu junction part and an interlayer insulation film can be improved.
<<3. 제 3의 실시 형태>><< 3. Third embodiment >>
[반도체 장치의 구성][Configuration of Semiconductor Device]
도 20 및 도 21에, 제 3의 실시 형태에 관한 반도체 장치의 개략 구성을 도시한다. 도 20은, 제 3의 실시 형태에 관한 반도체 장치의 접합 계면 부근의 개략 단면도이고, 도 21은, 각 Cu 접합부 및 후술하는 제 2 Cu 배리어층의 계면층부 사이의 배치 관계를 도시하는 접합 계면 부근의 개략 상면도이다. 또한, 도 20 및 도 21에서는, 설명을 간략화하기 위해, 하나의 접합 계면 부근의 구성만을 도시한다. 또한, 도 20 및 도 21에 도시하는 본 실시 형태의 반도체 장치(403)에서, 도 14 및 도 15에 도시하는 제 1의 실시 형태의 반도체 장치(401)와 같은 구성에는, 같은 부호를 붙여서 도시한다.20 and 21 show a schematic configuration of a semiconductor device according to the third embodiment. 20 is a schematic cross-sectional view of the vicinity of a bonding interface of a semiconductor device according to the third embodiment, and FIG. 21 is a junction interface vicinity showing an arrangement relationship between each Cu junction portion and an interface layer portion of a second Cu barrier layer described later. A schematic top view of the. In addition, in FIG. 20 and FIG. 21, in order to simplify description, only the structure of one junction interface vicinity is shown. In addition, in the
반도체 장치(403)는, 도 20에 도시하는 바와 같이, 제 1 반도체 부재(410)(제 1 반도체부)와, 제 2 반도체 부재(460)(제 2 반도체부)를 구비한다. 또한, 본 실시 형태의 반도체 장치(403)에서의 제 1 반도체 부재(410)의 구성은, 상기 제 1의 실시 형태(도 14)의 그것과 같은 구성이기 때문에, 여기서는, 제 1 반도체 부재(410)의 설명은 생략한다.As shown in FIG. 20, the
제 2 반도체 부재(460)는, 제 2 반도체 기판(도시 생략), 제 2 SiO2층(421), 제 2 Cu 배선부(422), 제 2 Cu 배리어막(423), 제 2 Cu 확산 방지막(424), 제 2 층간 절연막(425), 제 2 Cu 접합부(426), 및, 제 2 Cu 배리어층(461)(배리어 메탈층)을 갖는다.The
도 20와 도 14와의 비교로부터 분명한 바와 같이, 본 실시 형태의 제 2 반도체 부재(460)는, 제 1의 실시 형태의 제 2 반도체 부재(420)에서, 계면 Cu 배리어막(428)을 생략하고, 또한, 제 2 Cu 배리어층(427)의 구성을 바꾼 것으로 된다. 그 이외의 제 2 반도체 부재(460)의 구성은, 상기 제 1의 실시 형태의 제 2 반도체 부재(420)의 대응하는 구성과 같다. 그 때문에, 여기서는, 제 2 Cu 배리어층(461)의 구성에 관해서만 설명한다.As is apparent from the comparison with FIG. 20 and FIG. 14, the
제 2 Cu 배리어층(461)은, 도 20에 도시하는 바와 같이, 제 2 Cu 접합부(426)를 피복하도록 마련된 배리어 본체부(461a)와, 그 배리어 본체부(461a)의 접합 계면(Sj)측의 단부로부터 접합 계면(Sj)에 따라서 연재하여 형성된 계면층부(461b)(계면 배리어부)를 갖는다.As shown in FIG. 20, the second
즉, 본 실시 형태에서는, 제 1 반도체 부재(410)의 제 1 Cu 접합부(416)와, 제 2 반도체 부재(460)의 제 2 층간 절연막(425)이 대향하는 접합 계면(Sj)의 영역에, 제 2 Cu 배리어층(461)의 계면층부(461b)를 배치한다. 그리고, 제 2 Cu 배리어층(461)의 계면층부(461b)가, 제 1 Cu 접합부(416)와 제 2 층간 절연막(425)과의 대향 영역을 통하여, Cu 접합부로부터 층간 절연막에 Cu가 확산하는 것을 방지한다. 그 때문에, 본 실시 형태에서는, 접합시에 상정되는 최대의 접합 얼라인먼트 어긋남이 발생하여도, 접합 계면(Sj)에, 제 1 Cu 접합부(416)와 제 2 층간 절연막(425)과의 접촉 영역이 발생하지 않도록, 계면층부(461b)의 접합 계면(Sj)에 따르는 방향의 폭을 설정한다. 또한, 제 2 Cu 배리어층(461)은, 상기 제 1의 실시 형태와 마찬가지로, 예를 들면, Ti, Ta, Ru, 또는, 그들의 질화물 등으로 형성된다.That is, in the present embodiment, the first
[반도체 장치의 제조 수법][Method of Manufacturing Semiconductor Device]
다음에, 본 실시 형태의 반도체 장치(403)의 제조 수법을, 도 22a 내지 도 22h를 참조하면서 설명한다. 또한, 도 22a 내지 도22g에는, 각 공정에서 제작되는 반도체 부재의 Cu 접합부 부근의 개략 단면을 도시하고, 도 22h에는, 제 1 반도체 부재(410)와 제 2 반도체 부재(460)와의 접합 처리의 양상을 도시한다. 또한, 하기 설명에서, 상기 제 1의 실시 형태의 반도체 장치의 제조 수법과 같은 공정의 설명에서는, 상기 제 1의 실시 형태의 공정의 도면(도 16a 내지 도 16m)을 적절히 참조한다. 또한, 본 실시 형태의 제 1 반도체 부재(410)의 제작 수법은, 상기 제 1의 실시 형태의 그것과(도 16a 내지 도 16f)와 마찬가지이기 때문에, 여기서는, 제 1 반도체 부재(410)의 제작 수법의 설명을 생략하고, 제 2 반도체 부재(460)의 제작 수법, 및, Cu-Cu 접합 수법에 관해 설명한다.Next, the manufacturing method of the
우선, 본 실시 형태에서는, 상기 도 16a에서 설명한 제 1의 실시 형태의 제 1 반도체 부재(410)의 제작 공정과 마찬가지로 하여, 제 2 SiO2층(421)상에, 제 2 Cu 배리어막(423), 제 2 Cu 배선부(422), 및, 제 2 Cu 확산 방지막(424)을 이 순서로 형성한다. 뒤이어 상기 도 16b에서 설명한 제 1의 실시 형태의 제 1 반도체 부재(410)의 제작 공정과 마찬가지로 하여, 제 2 Cu 확산 방지막(424)상에, 제 2 층간 절연막(425)을 형성한다.First, in the present embodiment, the second
뒤이어 도 22a에 도시하는 바와 같이, 제 2 층간 절연막(425)상에 레지스트막(456)을 형성한다. 그리고, 포토리소그래피 기술을 이용하여, 레지스트막(456)에 대해 패터닝 처리를 시행하고, 제 2 Cu 배리어층(461)의 형성 영역의 레지스트막(456)을 제거하여 개구부(456a)를 형성한다. 이에 의해, 레지스트막(456)의 개구부(456a)에 제 2 층간 절연막(425)이 노출한다.Subsequently, as shown in FIG. 22A, a resist
뒤이어 레지스트막(456)이 형성된 반도체 부재의 개구부(456a)측의 표면에 대해, 예를 들면 종래 기지의 마그네트론 방식의 에칭 장치를 이용하여, 드라이 에칭 처리를 행한다. 이에 의해, 레지스트막(456)의 개구부(456a)에 노출한 제 2 층간 절연막(425)의 영역이 에칭된다. 이때, 제 2 층간 절연막(425)을, 약 10 내지 50nm 정도, 에칭하여 제거한다. 이 결과, 도 22b에 도시하는 바와 같이, 제 2 층간 절연막(425)의 표면에는, 깊이가 약 10 내지 50nm 정도의 오목부(425b)가 형성된다.Subsequently, a dry etching process is performed on the surface of the
그 후, 에칭 처리된 면에 대해, 예를 들면 산소(O2) 플라즈마를 이용한 애싱 처리, 및, 유기 아민계의 약액를 이용한 세정 처리를 시행한다. 이에 의해, 제 2 층간 절연막(425)상에 잔류한 레지스트막(456), 및, 상기 에칭 처리에서 발생한 잔류 부착물을 제거한다.Then, the ashing process is performed, for example, the ashing process using oxygen (O2) plasma, and the washing process using the organic amine chemical liquid. Thereby, the resist
뒤이어 도 22c에 도시하는 바와 같이, 재차, 제 2 Cu 확산 방지막(424)상에 레지스트막(457)을 형성한다. 그리고, 포토리소그래피 기술을 이용하여, 레지스트막(457)에 대해 패터닝 처리를 시행하고, 제 2 Cu 배리어층(461)의 배리어 본체부(461a)의 형성 영역의 레지스트막(457)을 제거하여 개구부(457a)를 형성한다. 이에 의해, 레지스트막(457)의 개구부(457a)에 제 2 층간 절연막(425)의 오목부(425b)의 저부가 노출한다.Subsequently, as shown in FIG. 22C, a resist
뒤이어 레지스트막(457)이 형성된 반도체 부재의 개구부(457a)측의 표면에 대해, 예를 들면 종래 기지의 마그네트론 방식의 에칭 장치를 이용하여, 드라이 에칭 처리를 행한다. 이에 의해, 레지스트막(457)의 개구부(457a)에 노출한 제 2 층간 절연막(425)의 오목부(425b)의 일부 영역이 에칭된다.Subsequently, a dry etching process is performed on the surface of the
이 에칭 처리에서는, 도 22d에 도시하는 바와 같이, 개구부(457a)의 영역의 제 2 층간 절연막(425) 및 제 2 Cu 확산 방지막(424)을 제거하여, 제 2 층간 절연막(425)의 개구부(425a)에 제 2 Cu 배선부(422)를 노출시킨다. 또한, 본 실시 형태에서는, 제 2 층간 절연막(425)의 개구부(425a)의 개구 지름은, 예를 들면, 약 1 내지 95㎛ 정도로 한다. 또한, 이 에칭 처리에서 제거되지 않는 제 2 층간 절연막(425)의 오목부(425b)의 영역은, 제 2 Cu 배리어층(461)의 계면층부(461b)의 형성 영역이 된다.In this etching process, as shown in FIG. 22D, the second
그 후, 에칭 처리된 면에 대해, 예를 들면 산소(O2) 플라즈마를 이용한 애싱 처리, 및, 유기 아민계의 약액를 이용한 세정 처리를 시행한다. 이에 의해, 제 2 층간 절연막(425)상에 잔류한 레지스트막(457), 및, 상기 에칭 처리에서 발생한 잔류 부착물을 제거한다.Then, the ashing process is performed, for example, the ashing process using oxygen (O2) plasma, and the washing process using the organic amine chemical liquid. Thereby, the resist
뒤이어 도 22e에 도시하는 바와 같이, 제 2 층간 절연막(425)상, 및, 제 2 층간 절연막(425)의 개구부(425a)에 노출한 제 2 Cu 배선부(422)상에, Ti, Ta, Ru, 또는, 그들의 질화물로 이루어지는 제 2 Cu 배리어층(461)을 형성한다. 구체적으로는, 예를 들면 RF 스퍼터링법 등의 수법을 이용하여, Ar/N2 분위기중에서, 두께가 약 5 내지 50nm의 제 2 Cu 배리어층(461)을, 제 2 층간 절연막(425)상, 및, 제 2 Cu 배선부(422)상에 형성한다. 이 처리에 의해, 제 2 층간 절연막(425)의 개구부(425a)에 노출한 제 2 Cu 배선부(422)상, 및, 제 2 층간 절연막(425)의 측면상에, 배리어 본체부(461a)가 형성된다. 또한, 이 처리에 의해, 제 2 층간 절연막(425)의 오목부(425b)상에, 계면층부(461b)가 형성된다.Subsequently, as shown in FIG. 22E, Ti, Ta, and the like are formed on the second
뒤이어 도 22f에 도시하는 바와 같이, 제 2 Cu 배리어층(461)상에, 예를 들면 스퍼터링법 및 전해 도금법 등의 수법을 이용하여, Cu막(458)을 형성한다. 이 처리에 의해, 제 2 층간 절연막(425)의 개구부(425a)의 영역에 Cu막(458)이 매입된다.Subsequently, as shown in FIG. 22F, a
뒤이어 Cu막(458)이 형성된 반도체 부재를, 예를 들면 핫 플레이트나 신터 어닐 장치 등의 가열 장치를 이용하여, 질소 분위기중 또는 진공중에서, 약 100 내지 400℃에서 1 내지 60분 정도 가열한다. 이 가열처리에 의해, Cu막(458)을 죄여서 치밀한 막질의 Cu막(458)을 형성한다.Subsequently, the semiconductor member on which the
그리고, 도 22g에 도시하는 바와 같이, Cu막(458) 및 제 2 Cu 배리어층(461)의 불필요한 부분를 화학 기계 연마(CMP)법에 의해 제거한다. 이때, 제 2 층간 절연막(425)의 오목부(425b)상에, 계면층부(461b)가 남도록, CMP법의 처리 조건를 조정한다. 구체적으로는, 제 2 층간 절연막(425)이 표면에 노출할 때까지, Cu막(458)측의 표면을 CMP법으로 연마한다. 본 실시 형태에서는, 상술한 바와 같이 하여 제 2 반도체 부재(460)를 제작한다.As shown in FIG. 22G, unnecessary portions of the
그 후, 상술한 바와 같이 하여 제작된 제 2 반도체 부재(460)(도 22g)와, 상기 제 1의 실시 형태와 마찬가지로 제작된 제 1 반도체 부재(410)(도 16f)를, 상기 제 1의 실시 형태와 마찬가지로 하여 맞붙인다.Thereafter, the second semiconductor member 460 (FIG. 22G) produced as described above, and the first semiconductor member 410 (FIG. 16F) produced in the same manner as the first embodiment described above, It pastes similarly to embodiment.
구체적으로는, 우선, 제 1 반도체 부재(410)의 제 1 Cu 접합부(416)측의 표면, 및, 제 2 반도체 부재(460)의 제 2 Cu 접합부(426)측의 표면에 대해 환원 처리를 시행하고, 각 Cu 접합부의 표면의 산화막(산화물)을 제거하여, 각 Cu 접합부의 표면에 청정한 Cu를 노출시킨다. 또한, 이때, 환원 처리로서는, 예를 들면 포름산 등의 약액를 이용한 웨트 에칭 처리, 또는, 예를 들면 Ar, NH3, H2 등의 플라즈마를 이용한 드라이 에칭 처리가 이용된다.Specifically, first, a reduction treatment is performed on the surface of the
뒤이어 도 22h에 도시하는 바와 같이, 제 1 반도체 부재(410)의 제 1 Cu 접합부(416)측의 표면과, 제 2 반도체 부재(460)의 제 2 Cu 접합부(426)측의 표면을 접촉시킨다(또는 맞붙인다). 그리고, 제 1 반도체 부재(410)와 제 2 반도체 부재(460)를 맞붙인 상태에서, 예를 들면 핫 플레이트나 RTA 장치 등의 가열 장치를 이용하여 맞붙임 부재를 어닐하여, 제 1 Cu 접합부(416)와 제 2 Cu 접합부(426)를 접합한다. 구체적으로는, 예를 들면, 대기압의 N2 분위기중, 또는, 진공중에서 약 100 내지 400℃에서 5분 내지 2시간 정도, 맞붙임 부재를 가열한다.Subsequently, as shown in FIG. 22H, the surface on the
또한, 이 접합 처리에 의해, 제 1 Cu 접합부(416)의 접합 계면(Sj)측의 면 영역중 제 2 Cu 접합부(426)와 접합하지 않는 면 영역을 포함하는 영역에 제 2 Cu 배리어층(461)의 계면층부(461b)가 배치된다. 보다 구체적으로는, 도 20에 도시하는 바와 같이, 제 1 Cu 접합부(416)와, 제 2 층간 절연막(425)이 대향하는 접합 계면(Sj)의 영역을 포함하는 영역에 제 2 Cu 배리어층(461)의 계면층부(461b)가 배치된다.In addition, by the bonding treatment, the second Cu barrier layer (for the region including the surface region not bonded to the second
본 실시 형태에서는, 상술한 바와 같이 하여, Cu-Cu 접합 처리를 행한다. 또한, 상술한 접합 공정 이외의 반도체 장치(402)의 제조 공정은, 종래의 예를 들면 고체 촬상 장치 등의 반도체 장치의 제조 수법(예를 들면 일본 특개2007-234725호 공보 참조)과 마찬가지로 할 수 있다.In this embodiment, a Cu-Cu joining process is performed as mentioned above. In addition, the manufacturing process of the
상술한 바와 같이, 본 실시 형태에서도, 상기 제 1의 실시 형태와 마찬가지로, 제 1 반도체 부재(410)의 제 1 Cu 접합부(416)와, 제 2 반도체 부재(460)의 제 2 층간 절연막(425)이 대향하는 접합 계면(Sj)의 영역에는, 제 2 Cu 배리어층(461)의 계면층부(461b)가 마련된다. 그 때문에, 본 실시 형태에서도, 제 1의 실시 형태와 같은 효과를 얻을 수 있다.As described above, also in the present embodiment, like the first embodiment, the first
<<4. 각종 변형례 및 참고예>><< 4. Various Modifications and Reference Examples >>
다음에, 상술한 각종 실시 형태의 반도체 장치의 변형례를 설명한다.Next, a modification of the semiconductor device of the various embodiments described above will be described.
[변형례 1][Modification 1]
상기 제 1의 실시 형태의 반도체 장치(401)(도 14)에서는, 제 2 반도체 부재(420)의 제 2 Cu 배선부(422)상에, 제 2 Cu 확산 방지막(424), 제 2 층간 절연막(425), 및, 계면 Cu 배리어막(428)을 마련하는 구성례를 설명하였지만, 본 발명은 이것으로 한정되지 않는다. 예를 들면, 제 2 Cu 배선부(422)상에, 계면 Cu 배리어막만을 마련하는 구성으로 하여도 좋다.In the semiconductor device 401 (FIG. 14) of the first embodiment, the second Cu
도 23에, 그 한 예(변형례 1)를 도시한다. 도 23은, 변형례 1의 반도체 장치(404)의 접합 계면(Sj) 부근의 개략 구성 단면도이다. 또한, 변형례 1의 반도체 장치(404)에서, 도 14에 도시하는 제 1의 실시 형태의 반도체 장치(401)와 같은 구성에는, 같은 부호를 붙여서 도시한다.An example (modification 1) is shown in FIG. 23 is a schematic sectional view of the vicinity of the bonding interface Sj of the
이 예의 반도체 장치(404)는, 도 23에 도시하는 바와 같이, 제 1 반도체 부재(410)와, 제 2 반도체 부재(470)를 구비한다. 또한, 본 변형례 1의 반도체 장치(404)에서의 제 1 반도체 부재(410)의 구성은, 상기 제 1의 실시 형태(도 14)의 그것과 같은 구성이기 때문에, 여기서는, 제 1 반도체 부재(410)의 설명은 생략한다.As shown in FIG. 23, the
제 2 반도체 부재(470)는, 제 2 반도체 기판(도시 생략), 제 2 SiO2층(421), 제 2 Cu 배선부(422), 제 2 Cu 배리어막(423), 계면 Cu 배리어막(471)(계면 배리어막 또는 계면 배리어부), 제 2 Cu 접합부(426), 및, 제 2 Cu 배리어층(427)을 갖는다. 또한, 이 예의 제 2 반도체 부재(470)에서, 계면 Cu 배리어막(471) 이외의 구성은, 상기 제 1의 실시 형태의 제 2 반도체 부재(420)의 대응하는 구성과 같은 구성이다.The
계면 Cu 배리어막(471)(Cu 확산 방지막)은, 제 2 SiO2층(421), 제 2 Cu 배선부(422) 및 제 2 Cu 배리어막(423)상에 마련되고, 또한, 제 2 Cu 배리어층(427)의 측부를 덮도록 마련된다. 그 때문에, 이 예에서는, 계면 Cu 배리어막(471)은, Cu 접합부로부터 층간 절연막으로의 Cu의 확산을 방지할 뿐만 아니라, 상기 제 1의 실시 형태의 제 2 반도체 부재(420)의 제 2 Cu 확산 방지막(424) 및 제 2 층간 절연막(425)과 같은 역할도 겸한다.The interfacial Cu barrier film 471 (Cu diffusion prevention film) is provided on the
또한, 계면 Cu 배리어막(471)은, 상기 제 1의 실시 형태의 계면 Cu 배리어막(428)과 마찬가지로, 예를 들면, SiN, SiON, SiCN, 유기계 수지 등의 재료로 형성할 수 있다.The interface
이 예의 제 2 반도체 부재(470)는, 예를 들면, 다음과 같이 하여 제작할 수 있다. 우선, 상기 도 16a에서 설명한 제 1의 실시 형태의 제 1 반도체 부재(410)의 제작 공정과 마찬가지로 하여, 제 2 SiO2층(421)상에, 제 2 Cu 배리어막(423), 및, 제 2 Cu 배선부(422)를 이 순서로 형성한다. 뒤이어 제 2 SiO2층(421), 제 2 Cu 배선부(422) 및 제 2 Cu 배리어막(423)상에, 두께가 약 5 내지 500nm의 계면 Cu 배리어막(471)을 형성한다.The
뒤이어 도 24에 도시하는 바와 같이, 계면 Cu 배리어막(471)상에 레지스트막(459)을 형성한다. 그 후, 포토리소그래피 기술을 이용하여, 레지스트막(459)에 대해 패터닝 처리를 시행하고, 제 2 Cu 접합부(426)의 형성 영역의 레지스트막(459)을 제거하여 개구부(459a)를 형성한다. 이에 의해, 레지스트막(459)의 개구부(459a)에 계면 Cu 배리어막(471)이 노출한다. 그 후는, 상기 도 16i 내지 도 16l에서 설명한 상기 제 1의 실시 형태의 제 2 반도체 부재(420)의 제작 공정과 마찬가지로 하여, 이 예의 제 2 반도체 부재(470)를 제작한다.Subsequently, as shown in FIG. 24, a resist
이 예의 구성에서는, 제 1 Cu 접합부(416)의 접합 계면(Sj)측의 면 영역중 제 2 Cu 접합부(426)와 접합하지 않는 면 영역은, 계면 Cu 배리어막(471)과 접촉한 상태가 된다. 그 때문에, 이 예의 구성에서도, 각 Cu 접합부의 Cu가 외부의 산화막으로 확산하는 일이 없기 때문에, 제 1의 실시 형태와 같은 효과를 얻을 수 있다.In the structure of this example, the surface area which is not joined with the 2nd
[변형례 2][Modification example 2]
상기 제 2의 실시 형태에서는, 제 1 반도체 부재(430) 및 제 2 반도체 부재(440)의 어느 것에도, Cu시드층을 마련하는 예(도 17 참조)를 설명하였지만, 본 개시는 이것으로 한정되지 않는다. 적어도, Cu 접합부의 접합측의 표면 면적이 큰 편의 반도체 부재에 Cu시드층을 마련하면 좋다. 예를 들면, 도 17에 도시하는 반도체 장치(402)에서는, 제 1 반도체 부재(430)의 제 1 Cu 접합부(416)와, 제 1 Cu 배리어층(417)과의 사이에만 Cu시드층을 마련하면 좋다.In the second embodiment, an example in which a Cu seed layer is provided in all of the
이 경우에도, 접합시의 어닐 처리에 의해, 제 1 반도체 부재(430)의 Cu시드층중의 예를 들면 Mn, Mg, Ti, Al 등의 금속 재료가, 접합 계면(Sj)을 끼우고 대향하는 제 2 반도체 부재(440)의 제 2 층간 절연막(425)중의 산소와 반응한다. 그 결과, 이 예에서도, 상기 제 2의 실시 형태와 마찬가지로, 제 1 반도체 부재(430)의 제 1 Cu 접합부(416)와, 제 2 반도체 부재(440)의 제 2 층간 절연막(425)이 대향하는 접합 계면(Sj)의 영역에 계면 배리어막이 형성되고, 제 1의 실시 형태와 같은 효과를 얻을 수 있다.Also in this case, by annealing at the time of bonding, metal materials, such as Mn, Mg, Ti, Al, etc. in the Cu seed layer of the
[변형례 3][Modification 3]
상기 제 3의 실시 형태에서는, 제 2 반도체 부재(460)에서, 제 2 Cu 배리어층(461)의 계면층부(461b)를 제 2 층간 절연막(425)의 접합측 표면에 매립하도록 형성하는 예를 설명하였지만, 본 발명은 이것으로 한정되지 않는다. 예를 들면, 계면층부(461b)를, 제 2 층간 절연막(425)의 접합측 표면상에 마련하는 구성으로 하여도 좋다.In the third embodiment, an example in which the
도 25에, 그 한 예(변형례 3)를 도시한다. 도 25은, 변형례 3의 반도체 장치(405)의 접합 계면(Sj) 부근의 개략 구성 단면도이다. 또한, 도 25에 도시하는 이 예의 반도체 장치(405)에서, 도 20에 도시하는 제 3의 실시 형태의 반도체 장치(403)와 같은 구성에는, 같은 부호를 붙여서 도시한다.25 shows one example (modification 3). 25 is a schematic sectional view of the vicinity of the bonding interface Sj of the
이 예의 반도체 장치(405)는, 도 25에 도시하는 바와 같이, 제 1 반도체 부재(410)와, 제 2 반도체 부재(480)를 구비한다. 또한, 본 변형례의 반도체 장치(405)에서의 제 1 반도체 부재(410)의 구성은, 상기 제 3의 실시 형태(도 20)의 그것과 같은 구성이기 때문에, 여기서는, 제 1 반도체 부재(410)의 설명은 생략한다.As shown in FIG. 25, the
제 2 반도체 부재(480)는, 제 2 반도체 기판(도시 생략), 제 2 SiO2층(421), 제 2 Cu 배선부(422), 제 2 Cu 배리어막(423), 제 2 Cu 확산 방지막(424), 제 2 층간 절연막(481), 제 2 Cu 접합부(426), 제 2 Cu 배리어층(461), 및, 계면 Cu 배리어막(482)을 갖는다.The
또한, 이 예의 제 2 반도체 부재(480)에서, 제 2 반도체 기판(도시 생략), 제 2 SiO2층(421), 제 2 Cu 배선부(422), 제 2 Cu 배리어막(423), 및, 제 2 Cu 확산 방지막(424)의 구성은, 상기 제 3의 실시 형태의 제 2 반도체 부재(460)의 대응하는 구성과 같은 구성이다. 또한, 이 예의 제 2 Cu 접합부(426), 및, 제 2 Cu 배리어층(461)의 구성은, 상기 제 3의 실시 형태의 제 2 반도체 부재(460)의 대응하는 구성과 같은 구성이다.In the
본 변형례에서는, 제 2 Cu 배리어층(461)의 계면층부(461b)는, 제 2 층간 절연막(481)의 접합측 표면상에 마련된다. 그 때문에, 제 2 층간 절연막(481)의 표면에는, 상기 제 3의 실시 형태와 같이 오목부(425b)는 형성되지 않는다.In this modification, the
또한, 이 예에서는, 계면 Cu 배리어막(482)이, 제 2 층간 절연막(481)의 표면상에 형성되고, 또한, 제 2 Cu 배리어층(461)의 계면층부(461b)의 측부(또는 측면)를 덮도록 마련된다. 또한, 이때, 계면 Cu 배리어막(482)의 막두께와 계면층부(461b)의 막두께를 개략 같게 하여, 계면 Cu 배리어막(482)의 접합 계면(Sj)측의 표면과, 계면층부(461b)의 접합 계면(Sj)측의 표면이 개략 같은면이 되도록 한다. 또한, 계면 Cu 배리어막(482)은, 상기 제 1의 실시 형태의 계면 Cu 배리어막(428)과 마찬가지로, 예를 들면, SiN, SiON, SiCN, 유기계 수지 등의 재료로 형성할 수 있다.In this example, the interfacial
이 예에서는, 접합 계면(Sj)에서, 제 1 Cu 접합부(416)와 제 2 Cu 접합부(426)와의 접합 영역 이외의 영역에서는, 제 1 Cu 접합부(416)는, 제 2 Cu 배리어층(461)의 계면층부(461b) 및/또는 계면 Cu 배리어막(482)과 접촉한 상태가 된다. 그 때문에, 이 예의 구성에서도, 각 Cu 접합부의 Cu가 층간 절연막으로 확산하는 것을 방지할 수 있기 때문에, 제 1의 실시 형태와 같은 효과를 얻을 수 있다.In this example, in the bonding interface Sj, in the region other than the bonding region between the first
또한, 이 예에서는, 계면 Cu 배리어막(482)을 마련하지 않는 구성으로 하여도 좋다. 이 경우, 제 2 Cu 배리어층(461)의 계면층부(461b)의 측부의 주위에는 공극이 형성되는데, 이 공극에 의해, 각 Cu 접합부의 Cu가 층간 절연막으로 확산하는 것을 방지할 수 있기 때문에, 제 1의 실시 형태와 같은 효과를 얻을 수 있다. 단, 접합 계면(Sj)의 접합 강도의 관점에서는, 도 25에 도시하는 바와 같이, 계면층부(461b)의 측부를 덮도록 계면 Cu 배리어막(482)을 마련하는 것이 바람직하다.In this example, the configuration may be such that the interface
[변형례 4][Modification 4]
상기 각종 실시 형태 및 각종 변형례에서는, 각 접합부의 전극막을 Cu막으로 구성하는 예를 설명하였지만, 본 개시는 이것으로 한정되지 않는다. 접합부를, 예를 들면, Al, W, Ti, TiN, Ta, TaN, Ru 등으로 형성된 금속막, 또는, 이들의 적층막으로 구성하고 있어도 좋다.In the above various embodiments and various modification examples, an example in which the electrode film at each junction portion is formed of a Cu film has been described, but the present disclosure is not limited thereto. The junction part may be comprised by the metal film formed from Al, W, Ti, TiN, Ta, TaN, Ru, etc., or these laminated films, for example.
예를 들면, 상기 제 1의 실시 형태에서, 접합부의 전극 재료로서 Al(알루미늄)을 이용할 수 있다. 이 경우에는, 계면 Cu 배리어막(428)을, 상기 제 1의 실시 형태와 마찬가지로, 예를 들면, SiN, SiON, SiCN, 수지 등의 재료로 형성할 수 있다. 또한, 이 경우, Al 접합부를 피복하는 메탈 배리어층은, Al 접합부측부터 Ti막 및 TiN막을 이 순서로 적층한 다층막(Ti/TiN 적층막)으로 구성하는 것이 바람직하다.For example, in the first embodiment, Al (aluminum) can be used as the electrode material of the junction portion. In this case, the interface
또한, 예를 들면, 상기 제 2의 실시 형태의 구성에서도, 접합부의 전극 재료로서 Al을 이용할 수 있다. 단, 이 경우에는, Al은 산소와 반응하기 쉬운 재료이기 때문에, 계면 배리어막을 생성하기 위한 시드층(Cu시드층)을 마련할 필요가 없다.For example, Al can also be used as an electrode material of a junction part also in the structure of the said 2nd Embodiment. In this case, however, since Al is a material that is likely to react with oxygen, it is not necessary to provide a seed layer (Cu seed layer) for generating an interface barrier film.
여기서, 도 26에, 상기 제 2의 실시 형태의 구성에서, 접합부를 Al로 형성한 경우의 반도체 장치의 접합 계면(Sj) 부근의 개략 구성 단면을 도시한다. 또한, 도 26에서는, 설명을 간략화하기 위해, Al 접합부 부근의 구성만을 도시하고, 배선부의 구성은 생략한다. 또한, 도 26에 도시하는 반도체 장치(406)에서, 도 17에 도시하는 제 2의 실시 형태의 반도체 장치(402)와 같은 구성에는, 같은 부호를 붙여서 도시한다.Here, in FIG. 26, in the structure of the said 2nd Embodiment, the schematic structure cross section of the junction interface Sj vicinity of the semiconductor device at the time of forming a junction part by Al is shown. In addition, in FIG. 26, in order to simplify description, only the structure of Al junction part vicinity is shown, and the structure of a wiring part is abbreviate | omitted. In addition, in the
이 예의 반도체 장치(406)는, 도 26에 도시하는 바와 같이, 제 1 반도체 부재(491)와, 제 2 반도체 부재(492)와, 계면 배리어막(497)을 구비한다. 제 1 반도체 부재(491)는, 제 1층간 절연막(415)과, 그 접합측 표면에 매립하도록 하여 형성된 제 1 Al 접합부(493)와, 제 1층간 절연막(415) 및 제 1 Al 접합부(493) 사이에 마련된 제 1 배리어 메탈층(494)을 갖는다. 또한, 제 2 반도체 부재(492)는, 제 2 층간 절연막(425)과, 그 접합측 표면에 매립하도록 하여 형성된 제 2 Al 접합부(495)와, 제 2 층간 절연막(425) 및 제 2 Al 접합부(495) 사이에 마련된 제 2 배리어 메탈층(496)을 갖는다.As illustrated in FIG. 26, the
그리고, 도 26에 도시하는 변형예에서도, 제 1 반도체 부재(491)와 제 2 반도체 부재(492)와의 접합시에 행하는 어닐 처리에 의해, 제 1 Al 접합부(493) 내의 Al의 일부가, 접합 계면(Sj)을 끼우고 대향하는 제 2 반도체 부재(492)의 제 2 층간 절연막(425) 중의 산소와 반응한다. 그 결과, 제 1 Al 접합부(493)와, 제 2 층간 절연막(425)이 대향하는 접합 계면(Sj)의 영역에는, 계면 배리어막(497)이 형성된다. 그 때문에, 이 구성례에서도, 제 1의 실시 형태와 마찬가지로, 제 1 반도체 부재(491) 및 제 2 반도체 부재(492) 사이의 접합 강도를 증대시킬 수 있고, 보다 신뢰성이 높은 접합 계면을 갖는 반도체 장치(406)를 얻을 수 있다.And also in the modification shown in FIG. 26, a part of Al in the 1st
또한, 예를 들면, 상기 제 1의 실시 형태에서, 접합부의 전극 재료로서 예를 들면 W(텅스텐)를 이용할 수 있다. 이 경우에는, 계면 Cu 배리어막(428)을, 상기 제 1의 실시 형태와 마찬가지로, 예를 들면, SiN, SiON, SiCN, 수지 등의 재료로 형성할 수 있다. 또한, 이 경우, W 접합부를 피복하는 메탈 배리어층은, W 접합부측부터 Ti막 및 TiN막을 이 순서로 적층한 다층막(Ti/TiN 적층막)으로 구성하는 것이 바람직하다. 또한, W는 산소와 반응하기 어려운(계면 배리어막을 자기 생성하기 어려운) 금속 재료이기 때문에, 상기 제 2의 실시 형태의 구성의 접합부에 W를 이용하는 것은 곤란하다.For example, in the said 1st Embodiment, W (tungsten) can be used as an electrode material of a junction part, for example. In this case, the interface
[변형예 5][Modification 5]
상기 각종 실시 형태 및 각종 변형예에서는, 신호가 공급되는 금속막끼리를, 접합 계면(Sj)에서 접합하는 예를 설명 하였지만, 본 개시는 이것으로 한정되지 않는다. 신호가 공급되지 않는 금속막끼리를 접합 계면(Sj)에서 접합하는 경우도, 상기 각종 실시 형태 및 각종 변형예에서 설명한 Cu-Cu 접합 기술을 적용할 수 있다.In the above various embodiments and various modifications, examples in which the metal films to which signals are supplied are bonded at the bonding interface Sj have been described, but the present disclosure is not limited thereto. Also in the case where the metal films to which no signal is supplied are bonded at the bonding interface Sj, the Cu-Cu bonding technique described in the above various embodiments and various modification examples can be applied.
예를 들면, 더미 전극끼리를 접합하는 경우에도, 상기 각종 실시 형태 및 각종 변형예에서 설명한 Cu-Cu 접합 기술을 적용할 수 있다. 또한, 예를 들면, 고체 촬상 소자에서, 센서부와 로직 회로부와의 사이에서 금속막끼리를 접합하여, 차광막을 형성하는 경우에도, 상기 각종 실시 형태 및 각종 변형예에서 설명한 Cu-Cu 접합 기술을 적용할 수 있다.For example, even when joining dummy electrodes, the Cu-Cu bonding technique demonstrated by the said various embodiment and various modification examples can be applied. For example, in the case of forming a light shielding film by joining metal films between a sensor unit and a logic circuit unit in a solid-state imaging device, the Cu-Cu bonding technique described in the above-described various embodiments and various modification examples is used. Applicable
[참고예 1][Referential Example 1]
상기 제 2의 실시 형태에서는, 제 1 Cu 접합부(416)의 접합 계면(Sj)측 표면의 치수(표면 면적)와, 제 2 Cu 접합부(426)의 그것이 다른 예를 설명하였다. 그러나, 상기 제 2의 실시 형태에서 설명한 Cu-Cu 접합 기술은, 제 1 Cu 접합부의 접합 계면(Sj)측의 표면 형상 및 치수와, 제 2 Cu 접합부의 그들이 같은 반도체 장치에도 적용 가능하다.In the said 2nd Embodiment, the example of the dimension (surface area) of the surface of the bonding interface Sj side of the 1st
도 27에, 그 한 예, 즉 참고예 1을 도시한다. 또한, 도 27은, 이 예의 반도체 장치(500)의 접합 계면(Sj) 부근의 개략 구성 단면도이다. 또한, 도 27에 도시하는 참고예의 반도체 장치(500)에서, 도 17에 도시하는 제 2의 실시 형태의 반도체 장치(402)와 같은 구성에는, 같은 부호를 붙여서 도시한다.In Fig. 27, one example, that is, Reference Example 1 is shown. 27 is a schematic sectional view of the vicinity of the bonding interface Sj of the
이 참고예의 반도체 장치(500)는, 도 27에 도시하는 바와 같이, 제 1 반도체 부재(501)와, 제 2 반도체 부재(440)와, 계면 Cu 배리어막(505)을 구비한다. 또한, 이 예의 반도체 장치(500)에서의 제 2 반도체 부재(440)의 구성은, 도 17을 참조로 설명된 상기 제 2의 실시 형태의 그것과 같은 구성이기 때문에, 여기서는, 제 2 반도체 부재(440)의 설명은 생략한다.As shown in FIG. 27, the
제 1 반도체 부재(501)는, 제 1 반도체 기판(도시 생략), 제 1 SiO2층(411), 제 1 Cu 배선부(412), 제 1 Cu 배리어막(413), 제 1 Cu 확산 방지막(414), 제 1층간 절연막(415), 제 1 Cu 접합부(502), 제 1 Cu 배리어층(503), 및, 제 1 Cu 시드층(504)을 갖는다.The
또한, 이 예에서는, 제 1 Cu 접합부(502)의 접합 계면(Sj)측의 표면 형상 및 치수를, 제 2 Cu 접합부(426)의 그것들과 같게 한다. 그 이외의 제 1 반도체 부재(501)의 구성은, 상기 제 2의 실시 형태의 제 1 반도체 부재(430)의 대응하는 구성과 같은 구성이다.In addition, in this example, the surface shape and dimension of the junction interface Sj side of the 1st
그리고, 이 예에서도, 상기 제 2의 실시 형태와 마찬가지로, 제 1 반도체 부재(501)의 제 1 Cu 접합부(502)측의 표면과, 제 2 반도체 부재(440)의 제 2 Cu 접합부(426)측의 표면을 접합함에 의해, 반도체 장치(500)가 제작된다. 이 때, 양 Cu 접합부 사이에, 접합 얼라인먼트 어긋남이 발생하면, 접합시의 어닐 처리에 의해, 각 Cu시드층 중의 예를 들면 Mn, Mg, Ti, Al 등의 금속 재료가 접합 계면(Sj)을 끼우고 대향하는 층간 절연막의 산소와 선택적으로 반응한다. 이 결과, 도 27에 도시하는 바와 같이, 제 1 Cu 접합부(502)와 제 2 층간 절연막(425)이 대향하는 접합 계면(Sj)의 영역, 및, 제 2 Cu 접합부(426)와 제 1층간 절연막(415)이 대향하는 접합 계면(Sj)의 영역에 각각, 계면 Cu 배리어막(505)이 형성된다.Also in this example, similarly to the second embodiment, the surface on the first
상술한 바와 같이, 이 예의 반도체 장치(500)에서도, 한쪽의 반도체 부재의 Cu 접합부와, 다른쪽의 반도체 부재의 층간 절연막이 대향하는 접합 계면(Sj)의 영역에는, 계면 Cu 배리어막(505)이 마련된다. 그 때문에, 이 예에서도, 제 2의 실시 형태와 같은 효과를 얻을 수 있다.As described above, also in the
[참고예 2][Reference Example 2]
상기 참고예 1에서는, 제 1 Cu 접합부의 접합 계면(Sj)측의 표면 형상 및 치수와, 제 2 Cu 접합부의 그들이 같은 반도체 장치에, 상기 제 2의 실시 형태에서 설명한 Cu-Cu 접합 기술을 적용하는 예를 설명하였다. 여기서는, 참고예 1의 반도체 장치(500)에 또한, 상기 제 1의 실시 형태에서 설명한 Cu-Cu 접합 기술을 조합한 구성례를 설명한다.In the said Reference Example 1, the Cu-Cu bonding technique demonstrated in the said 2nd Embodiment is applied to the semiconductor device with the surface shape and dimension of the junction interface Sj side of a 1st Cu junction part, and those of a 2nd Cu junction part. An example was described. Here, a structural example in which the
도 28에, 그 한 예, 즉 참고예 2를 도시한다. 또한, 도 28은, 이 예의 반도체 장치(510)의 접합 계면(Sj) 부근의 개략 구성 단면도이다. 또한, 도 28에 도시하는 이 예의 반도체 장치(510)에서, 도 27에 도시하는 참고예 1의 반도체 장치(500)와 같은 구성에는, 같은 부호를 붙여서 도시한다.In Fig. 28, one example, that is, Reference Example 2 is shown. 28 is a schematic sectional view of the vicinity of the bonding interface Sj of the
이 예의 반도체 장치(510)는, 도 28에 도시하는 바와 같이, 제 1 반도체 부재(501)와, 제 2 반도체 부재(520)와, 제 1 계면 Cu 배리어막(521)을 구비한다. 또한, 이 예의 반도체 장치(510)에서의 제 1 반도체 부재(501)의 구성은, 상기 참고예 1(도 27)의 그것과 같은 구성이기 때문에, 여기서는, 제 1 반도체 부재(501)의 설명은 생략한다.As shown in FIG. 28, the
제 2 반도체 부재(520)는, 제 2 반도체 기판(도시 생략), 제 2 SiO2층(421), 제 2 Cu 배선부(422), 제 2 Cu 배리어막(423), 제 2 Cu 확산 방지막(424), 제 2 층간 절연막(425), 제 2 Cu 접합부(426), 제 2 Cu 배리어층(427), 및, 제 2 Cu 시드층(441)을 갖는다. 또한, 제 2 반도체 부재(520)는, 제 2 계면 Cu 배리어막(522)을 갖는다.The
도 28과 도 27의 비교로부터 분명한 바와 같이, 이 예의 제 2 반도체 부재(520)는, 상기 참고예 1의 제 2 반도체 부재(440)에서, 제 2 층간 절연막(425)상에 제 2 계면 Cu 배리어막(522)을 마련한 구성이다. 또한, 이 예에서는, 제 2 Cu 접합부(426)의 접합 계면(Sj)측의 표면과, 제 2 계면 Cu 배리어막(522)의 표면이 개략 같은 면이 되도록, 제 2 계면 Cu 배리어막(522)을 형성한다. 또한, 제 2 계면 Cu 배리어막(522) 이외의 제 2 반도체 부재(520)의 구성은, 상기 참고예 1의 제 2 반도체 부재(440)의 대응하는 구성과 같다.As is apparent from the comparison between FIG. 28 and FIG. 27, the
또한, 제 2 계면 Cu 배리어막(522)은, 상기 제 1의 실시 형태의 계면 Cu 배리어막(428)과 마찬가지로, 예를 들면, SiN, SiON, SiCN, 유기계 수지 등의 재료로 형성할 수 있다. 단, Cu막과의 밀착성이라는 관점에서는, 특히, 제 2 계면 Cu 배리어막(522)을 SiN으로 형성하는 것이 바람직하다.The second interfacial
그리고, 이 예에서도, 상기 제 2의 실시 형태와 마찬가지로, 제 1 반도체 부재(501)의 제 1 Cu 접합부(502)측의 표면과, 제 2 반도체 부재(520)의 제 2 Cu 접합부(426)측의 표면을 맞붙임에 의해, 반도체 장치(510)가 제작된다. 이 때, 양 Cu 접합부 사이에, 접합 얼라인먼트 어긋남이 발생하면, 접합시의 어닐 처리에 의해, 각 Cu시드층 중의 예를 들면 Mn, Mg, Ti, Al 등의 금속 재료가 접합 계면(Sj)을 끼우고 대향하는 층간 절연막의 산소와 선택적으로 반응한다. 이 결과, 한쪽의 반도체 부재의 Cu 접합부와, 다른쪽의 반도체 부재의 층간 절연막이 대향하는 접합 계면(Sj) 영역에, 제 1 계면 Cu 배리어막(521)이 형성된다.And also in this example, like the said 2nd Embodiment, the surface by the side of the 1st
단, 이 예에서는, 상술한 바와 같이, 제 2 반도체 부재(520)의 접합 계면(Sj)의 표면에 제 2 계면 Cu 배리어막(522)을 마련한다. 그 때문에, 이 예에서는, 제 1 Cu 접합부(502)와 제 2 층간 절연막(425)이 대향하는 접합 계면(Sj)의 영역, 및, 제 2 Cu 접합부(426)와 제 1층간 절연막(415)이 대향하는 접합 계면(Sj)의 영역의 한쪽에, 제 1 계면 Cu 배리어막(521)이 형성된다. 또한, 제 1 Cu 접합부(502)와 제 2 층간 절연막(425)이 대향하는 접합 계면(Sj)의 영역, 및, 제 2 Cu 접합부(426)와 제 1층간 절연막(415)이 대향하는 접합 계면(Sj)의 영역의 다른쪽에, 제 2 계면 Cu 배리어막(522)이 배치된다. 도 28에 도시하는 예에서는, 전자의 접합 계면(Sj)의 영역에, 제 2 계면 Cu 배리어막(522)이 마련되고, 후자의 접합 계면(Sj)의 영역에, 제 1 계면 Cu 배리어막(521)이 마련된다.However, in this example, as described above, the second interface
상술한 바와 같이, 이 예의 반도체 장치(510)에서도, 한쪽의 반도체 부재의 Cu 접합부와, 다른쪽의 반도체 부재의 층간 절연막이 대향하는 접합 계면(Sj)의 영역에는, 제 1 계면 Cu 배리어막(521) 또는 제 2 계면 Cu 배리어막(522)이 마련된다. 그 때문에, 이 예에서도, 제 1 및 제 2의 실시 형태와 같은 효과를 얻을 수 있다.As described above, also in the
<<5. 제 4의 실시 형태>><< 5. Fourth embodiment >>
통상, Cu 접합부의 면적이 서로 다른 제 1 반도체 부재 및 제 2 반도체 부재를 맞붙여서 Cu-Cu 접합을 행하는 경우, 한쪽의 반도체 부재의 Cu 접합부와, 다른쪽의 반도체 부재의 층간 절연막과 접촉한다. 도 29에, 그 접합예에서의 접합 계면 부근의 개략 단면도를 도시한다. 또한, 도 29에 도시하는 반도체 장치(650)에서, 도 14에 도시하는 제 1의 실시 형태의 반도체 장치(401)와 같은 구성에는, 같은 부호를 붙여서 도시한다.Usually, when Cu-Cu bonding is performed by bonding together the 1st semiconductor member and 2nd semiconductor member from which the Cu junction part differs, it contacts with the Cu junction part of one semiconductor member and the interlayer insulation film of the other semiconductor member. 29, the schematic sectional drawing of the junction interface vicinity in the bonding example is shown. In addition, in the
이 경우, 도 29에 도시하는 바와 같이, 제 2 Cu 접합부(426)보다 면적이 큰 제 1 Cu 접합부(416)로부터 제 2 층간 절연막(425)에 Cu가 확산하여(도 29 중의 점선 화살표), 접합 계면(Sj)에서의 전기 특성이 열화하여, Cu 접합부 및 반도체 장치(650)의 신뢰성이 손상된다. 그에 대해, 상기 각종 실시 형태에서는, 제 1 Cu 접합부(416)와 제 2 층간 절연막(425)과의 접합 계면에 계면 배리어막을 형성하여, 제 1 Cu 접합부(416)로부터 제 2 층간 절연막(425)으로의 Cu의 확산을 방지할 수 있고, 상기 문제를 해소할 수 있다.In this case, as shown in FIG. 29, Cu diffuses from the
또한, 상술한 접합 계면에서의 Cu의 확산을 방지하는 다른 수법으로서는, 제 1 반도체 부재 및 제 2 반도체 부재의 적어도 한쪽의 접합계면측의 층간 절연막의 표면을 Cu 접합부의 접합측 표면보다 후퇴시킨 상태로, 양자를 맞붙이는 수법도 생각된다. 즉, 제 1 반도체 부재 및 제 2 반도체 부재의 적어도 한쪽의 Cu 접합부를 접합계면측으로 돌출시킨 상태로, 양자를 맞붙이는 수법도 생각된다.In addition, as another method for preventing the diffusion of Cu at the bonding interface described above, the surface of the interlayer insulating film on the bonding interface side of at least one of the first semiconductor member and the second semiconductor member is recessed from the bonding side surface of the Cu bonding portion. As a result, a method of bringing them together is also considered. That is, the method of sticking both together in the state which protruded at least one Cu junction part of a 1st semiconductor member and a 2nd semiconductor member to the junction interface side is also considered.
도 30에, 제 1 반도체 부재 및 제 2 반도체 부재의 양쪽의 Cu 접합부를 접합계면측으로 돌출시킨 상태로 양자를 맞붙인 경우의, 접합 계면 부근의 개략 단면도를 도시한다. 또한, 도 30에 도시하는 반도체 장치(660)에서, 도 14에 도시하는 제 1의 실시 형태의 반도체 장치(401)와 같은 구성에는, 같은 부호를 붙여서 도시한다.FIG. 30 is a schematic cross-sectional view of the vicinity of the bonding interface when the Cu bonding portions of both the first semiconductor member and the second semiconductor member are joined together in a state where they are protruded toward the bonding interface side. In addition, in the
이 경우에는, 제 1 반도체 부재(661) 및 제 2 반도체 부재(662) 사이, 특히, 제 1층간 절연막(663)과 제 2 층간 절연막(664) 사이의 접합 계면(Sj)에 간극이 생긴다. 이에 의해, 제 2 층간 절연막(664)과 제 1 Cu 접합부(416)와의 사이에는 공극이 형성되어, 제 1 Cu 접합부(416)로부터 제 2 층간 절연막(664)으로의 Cu의 확산이 방지된다. 그러나, 이 경우에는, 속이 흰 화살표로 도시하는 바와 같이, 접합 계면(Sj)의 간극에 외기가 침입하여 제 1 Cu 접합부(416)의 표면을 오염하고, 이에 의해, 접합 계면(Sj)에서의 전기 특성이 열화하여, Cu 접합부 및 반도체 장치의 신뢰성이 손상된다.In this case, a gap is formed between the
그래서, 제 4의 실시 형태에서는, 제 2 층간 절연막과 제 1 Cu 접합부와의 사이에 공극을 형성한 구성을 갖는 반도체 장치에서, 상술한 외기의 영향를 방지할 수 있는 구성례를 설명한다.So, in 4th Embodiment, the structural example which can prevent the influence of external air mentioned above is demonstrated in the semiconductor device which has a structure in which the space | gap was formed between the 2nd interlayer insulation film and the 1st Cu junction part.
[반도체 장치의 구성][Configuration of Semiconductor Device]
도 31 및 도 32에, 제 4의 실시 형태에 관한 반도체 장치의 개략 구성을 도시한다. 도 31은, 제 4의 실시 형태에 관한 반도체 장치의 접합 계면 부근의 개략 단면도이고, 도 32는, 각 Cu 접합부와 접합 계면에 구획되는 공극과의 배치 관계를 도시하는 접합 계면 부근의 개략 상면도이다. 또한, 도 31 및 도 32에서는, 설명을 간략화하기 위해, 하나의 접합 계면 부근의 구성만을 도시한다. 또한, 도 31에 도시하는 본 실시 형태의 반도체 장치(530)에서, 도 14에 도시하는 제 1의 실시 형태의 반도체 장치(401)와 같은 구성에는, 같은 부호를 붙여서 도시한다.31 and 32 show a schematic configuration of a semiconductor device according to the fourth embodiment. FIG. 31 is a schematic cross-sectional view of the vicinity of a bonding interface of a semiconductor device according to the fourth embodiment, and FIG. 32 is a schematic top view of the vicinity of the bonding interface showing an arrangement relationship between each Cu junction portion and a gap partitioned at the junction interface. to be. In addition, in FIG.31 and FIG.32, in order to simplify description, only the structure of one junction interface vicinity is shown. In addition, in the
반도체 장치(530)는, 도 31에 도시하는 바와 같이, 제 1 반도체 부재(531)(제 1 반도체부)와, 제 2 반도체 부재(532)(제 2 반도체부)를 구비한다.As shown in FIG. 31, the
제 1 반도체 부재(531)는, 제 1 반도체 기판(도시 생략), 제 1 SiO2층(411), 제 1 Cu 배선부(412), 제 1 Cu 배리어막(413), 제 1 Cu 확산 방지막(414), 제 1층간 절연막(415), 제 1 Cu 접합부(533), 및, 제 1 Cu 배리어층(417)을 갖는다.The
도 31과 도 14의 비교로부터 분명한 바와 같이, 본 실시 형태의 제 1 반도체 부재(531)는, 제 1의 실시 형태의 제 1 반도체 부재(410)의 접합 계면(Sj)측의 표면 영역에서, 제 2 층간 절연막(425)과 대향하는 제 1 Cu 접합부(416)의 표면 영역에 오목부를 마련한 구성으로 된다. 그 이외의 제 1 반도체 부재(531)의 구성은, 상기 제 1의 실시 형태의 제 1 반도체 부재(410)의 대응하는 구성과 같다.As is apparent from the comparison between FIG. 31 and FIG. 14, the
제 2 반도체 부재(532)는, 제 2 반도체 기판(도시 생략), 제 2 SiO2층(421), 제 2 Cu 배선부(422), 제 2 Cu 배리어막(423), 제 2 Cu 확산 방지막(424), 제 2 층간 절연막(425), 및, 제 2 Cu 접합부(426)를 갖는다.The
도 31과 도 14의 비교로부터 분명한 바와 같이, 본 실시 형태의 제 2 반도체 부재(532)는, 제 1의 실시 형태의 제 2 반도체 부재(420)에서, 계면 Cu 배리어막(428)을 생략한 구성으로 된다. 그 이외의 제 2 반도체 부재(532)의 구성은, 상기 제 1의 실시 형태의 제 2 반도체 부재(420)의 대응하는 구성과 같다.As apparent from the comparison between FIG. 31 and FIG. 14, in the
본 실시 형태의 반도체 장치(530)에서는, 도 31에 도시하는 바와 같이, 제 1 반도체 부재(531)의 접합 계면(Sj)측의 표면 영역에서, 제 2 반도체 부재(532)의 제 2 층간 절연막(425)과 대향하는 제 1 Cu 접합부(533)의 표면 영역에 오목부(534)를 마련한다. 이에 의해, 제 1 반도체 부재(531)의 제 1 Cu 접합부(533)와, 제 2 반도체 부재(532)의 제 2 층간 절연막(425)이 대향하는 접합 계면(Sj)의 영역에 공극이 형성되고, 제 1 Cu 접합부(533)가, 제 2 층간 절연막(425)과 직접 접촉하지 않는 구조를 형성할 수 있다.In the
즉, 본 실시 형태의 반도체 장치(530)에서는, 제 1 Cu 접합부(533)의 오목부(534)와, 오목부(534)와 대향하는 제 2 반도체 부재(532)의 접합 계면(Sj)측의 표면 영역부(면 영역부)에 의해 계면 배리어부가 구성된다. 또한, 본 실시 형태에서는, 도 31에 도시하는 바와 같이, 제 1 Cu 접합부(533)의 오목부(534)와 제 2 층간 절연막(425)의 접합 계면(Sj)측의 표면에 의해 구획된 공극이, 그 주변의 각종 막에 의해 밀봉된 상태가 된다.That is, in the
[반도체 장치의 제조 수법][Method of Manufacturing Semiconductor Device]
다음에, 본 실시 형태의 반도체 장치(530)의 제조 수법을, 도 33a 내지 도 33d를 참조하면서 설명한다. 또한, 도 33a 및 도 33b에는, 각 공정에서 제작되는 반도체 부재의 Cu 접합부 부근의 개략 단면을 도시하고, 도 33c 및 도 33d에는, 제 1 반도체 부재(531)와 제 2 반도체 부재(532)와의 접합 처리의 양상을 도시한다.Next, the manufacturing method of the
우선, 본 실시 형태에서는, 도 16a 내지 도 16f에서 설명한 제 1의 실시 형태의 제 1 반도체 부재(410)의 제작 공정과 마찬가지로 하여, 도 33a에 도시된 바와 같이 제 1 반도체 부재(531)를 제작한다.First, in this embodiment, similarly to the manufacturing process of the
또한, 본 실시 형태에서는, 도 16a 내지 도 16f에서 설명한 제 1의 실시 형태의 제 1 반도체 부재(410)의 제작 공정과 마찬가지로 하여, 도 33b에 도시된 바와 같이 제 2 반도체 부재(532)를 제작한다. 단, 이 때, 제 2 층간 절연막(425)에, 제 2 Cu 접합부(426) 및 제 2 Cu 배리어층(427)의 형성 영역에 대응하는 개구부를 형성하는 공정(도 16c의 공정에 대응)에서는, 개구부의 개구지름을 약 1 내지 95㎛ 정도로 한다.In addition, in this embodiment, similarly to the manufacturing process of the
뒤이어 제 1 반도체 부재(531)의 제 1 Cu 접합부(533)측의 표면, 및, 제 2 반도체 부재(532)의 제 2 Cu 접합부(426)측의 표면에 대해 환원 처리를 시행하고, 각 Cu 접합부의 표면의 산화막(산화물)을 제거하여, 각 Cu 접합부의 표면에 청정한 Cu를 노출시킨다. 또한, 이 때, 환원 처리로서는, 예를 들면 포름산 등의 약액를 이용한 웨트 에칭 처리, 또는, 예를 들면 Ar, NH3, H2 등의 플라즈마를 이용한 드라이 에칭 처리가 이용된다.Subsequently, a reduction treatment is performed on the surface of the first
뒤이어 도 33c에 도시하는 바와 같이, 제 1 반도체 부재(531)의 제 1 Cu 접합부(533)측의 표면과, 제 2 반도체 부재(532)의 제 2 Cu 접합부(426)측의 표면을 접촉또는 맞붙인다.Subsequently, as shown in FIG. 33C, the surface on the first
그리고, 제 1 반도체 부재(531)와 제 2 반도체 부재(532)를 맞붙인 상태에서, 예를 들면 핫 플레이트나 RTA 장치 등의 가열 장치(어닐 장치)를 이용하여 맞붙임 부재를 어닐하여, 도 33d에 도시된 바와 같이 제 1 Cu 접합부(533)와 제 2 Cu 접합부(426)를 접합한다. 구체적으로는, 예를 들면, 대기압의 N2 분위기 중, 또는, 진공 중에서 약 100 내지 400℃에서 5분 내지 2시간 정도, 맞붙임 부재를 가열한다.Then, in the state where the
본 실시 형태에서는, 도 33d에 도시하는 어닐 처리에 의해, 제 1 Cu 접합부(533)의 Cu막을 더욱 죄인다. 또한, 접합 계면(Sj)에서, 제 1 Cu 접합부(533)와 제 2 층간 절연막(425)과의 접촉 영역은, 다른 영역에 비하여 밀착력이 약한 영역이다. 그 때문에, 도 33d에 도시하는 어닐 처리에 의해, 이 접촉 영역에서는, 제 1 Cu 접합부(533)가 수축하여, 제 1 Cu 접합부(533)의 표면이 접합 계면(Sj)으로부터 멀어지는 방향으로 후퇴한다. 이 결과, 도 33d에 도시하는 바와 같이, 제 1 반도체 부재(531)의 접합 계면(Sj)측의 표면 영역에서, 제 2 층간 절연막(425)과 대향하는 제 1 Cu 접합부(533)의 표면 영역에 오목부(534)가 형성된다.In this embodiment, the Cu film of the 1st
즉, 도 33d에 도시하는 어닐 처리에 의해, 제 1 Cu 접합부(533) 및 제 2 층간 절연막(425) 사이의 접합 계면(Sj)에 공극이 형성됨과 함께, 그 공극이, 그 주변의 각종 막에 의해, 반도체 장치(530) 내에 밀봉된 구조가 형성된다. 또한, 도 33d에 도시하는 어닐 처리에 의해 오목부(534)를 형성하기 위해서는, 예를 들면, 각 반도체 부재의 제작시에 치밀한 막질의 Cu 접합부를 형성하기 위해 행한 어닐 처리의 어닐 온도 보다 높은 온도로 어닐하는 것이 바람직하다.That is, a gap is formed in the bonding interface Sj between the first
본 실시 형태에서는, 상술한 바와 같이 하여, Cu-Cu 접합 처리를 행한다. 또한, 상술한 접합 공정 이외의 반도체 장치(530)의 제조 공정은, 종래의 예를 들면 고체 촬상 장치 등의 반도체 장치의 제조 수법(예를 들면 일본 특개2007-234725호 공보 참조)과 마찬가지로 할 수 있다.In this embodiment, a Cu-Cu joining process is performed as mentioned above. In addition, the manufacturing process of the
상술한 바와 같이, 본 실시 형태의 반도체 장치(530)에서는, 제 1 Cu 접합부(533) 및 제 2 층간 절연막(425) 사이의 접합 계면(Sj)에 공극을 형성하여, 양자가 직접 접촉하지 않는 구조를 형성한다. 그 때문에, 본 실시 형태에서도, 제 1의 실시 형태와 마찬가지로, 제 1 Cu 접합부(533)로부터 제 2 층간 절연막(425)으로의 Cu의 확산을 방지할 수 있다. 또한, 접합 계면(Sj)에 형성되는 공극의 영역은 접합 계면(Sj)의 전 영역에 비하여 충분히 작기 때문에 본 실시 형태의 구성에서의 접합 계면(Sj)의 밀착 성능은, 상기 각종 실시 형태의 그것과 같은 정도가 된다.As described above, in the
또한, 본 실시 형태의 반도체 장치(530)에서는, 제 1 Cu 접합부(533) 및 제 2 층간 절연막(425) 사이의 접합 계면(Sj)에 형성된 공극이, 그 주변의 각종 막에 의해 밀봉된 상태가 된다. 그 때문에, 본 실시 형태에서는, Cu 접합부에의 외기의 침입을 방지할 수 있고, 반도체 장치(530)의 신뢰성을 확보할 수 있다.In addition, in the
<6. 제 5의 실시 형태><6. Fifth Embodiment>
제 5의 실시 형태에서는, 제 1 반도체 부재의 제 1 Cu 접합부와, 제 2 반도체 부재의 제 2 층간 절연막과의 사이의 접합 계면에 공극을 마련한 반도체 장치의 다른 구성례를 설명한다.In 5th Embodiment, the other structural example of the semiconductor device which provided the space | gap in the bonding interface between the 1st Cu junction part of a 1st semiconductor member and the 2nd interlayer insulation film of a 2nd semiconductor member is demonstrated.
[반도체 장치의 구성][Configuration of Semiconductor Device]
도 34 및 도 35에, 제 5의 실시 형태에 관한 반도체 장치의 개략 구성을 도시한다. 도 34는, 제 5의 실시 형태에 관한 반도체 장치의 접합 계면 부근의 개략 단면도이고, 도 35는, 각 Cu 접합부 및 계면 Cu 배리어막과 접합 계면에 구획되는 공극과의 사이의 배치 관계를 도시하는 접합 계면 부근의 개략 상면도이다. 또한, 도 34 및 도 35에서는, 설명을 간략화하기 위해, 하나의 접합 계면 부근의 구성만을 도시한다. 또한, 도 34에 도시하는 본 실시 형태의 반도체 장치(540)에서, 도 31에 도시하는 제 4의 실시 형태의 반도체 장치(530)와 같은 구성에는, 같은 부호를 붙여서 도시한다.34 and 35 show a schematic configuration of a semiconductor device according to the fifth embodiment. FIG. 34 is a schematic cross-sectional view of the vicinity of a bonding interface of a semiconductor device according to the fifth embodiment, and FIG. 35 shows an arrangement relationship between each Cu junction portion and an interface Cu barrier film and a void partitioned at the junction interface. It is a schematic top view of the junction interface vicinity. 34 and 35, only the structure of one junction interface vicinity is shown in order to simplify description. In addition, in the
반도체 장치(540)는, 도 34에 도시하는 바와 같이, 제 1 반도체 부재(531)(제 1 반도체부)와, 제 2 반도체 부재(420)(제 2 반도체부)를 구비한다.As shown in FIG. 34, the
제 1 반도체 부재(531)의 구성은, 제 4의 실시 형태(도 31)의 그것과 같은 구성이다. 즉, 제 1 반도체 부재(531)의 구성은, 제 1의 실시 형태(도 14)의 제 1 반도체 부재(410)의 접합 계면(Sj)측의 표면 영역에서, 제 2 반도체 부재(420)의 제 2 층간 절연막(425)과 대향하는 제 1 Cu 접합부(533)의 표면 영역에 오목부(534)를 마련한 구성으로 된다. 한편, 제 2 반도체 부재(420)의 구성은, 제 1의 실시 형태(도 14)의 그것과 같은 구성이고, 제 2 층간 절연막(425)의 접합 계면(Sj)측의 표면에, 계면 Cu 배리어막(428)이 마련된 구성으로 된다.The configuration of the
본 실시 형태의 반도체 장치(540)에서는, 상술한 바와 같이, 제 1 반도체 부재(531)의 접합 계면(Sj)측의 표면 영역에서, 제 2 반도체 부재(420)의 계면 Cu 배리어막(428)과 대향하는 제 1 Cu 접합부(533)의 표면 영역에 오목부(534)를 마련한다. 이에 의해, 제 1 반도체 부재(531)의 제 1 Cu 접합부(533)와, 제 2 반도체 부재(420)의 계면 Cu 배리어막(428)이 대향하는 접합 계면(Sj)에 공극이 형성된다. 또한, 본 실시 형태에서는, 도 34에 도시하는 바와 같이, 제 1 Cu 접합부(533)의 오목부(534)와 계면 Cu 배리어막(428)의 접합 계면(Sj)측의 표면에 의해 구획된 공극이, 그 주변의 각종 막에 의해 밀봉된 상태가 된다.In the
즉, 본 실시 형태에서도, 제 1 Cu 접합부(533)의 오목부(534)와, 오목부(534)와 대향하는 제 2 반도체 부재(420)의 접합 계면(Sj)측의 표면 영역부(면 영역부)에 의해 계면 배리어부가 구성된다. 그리고, 본 실시 형태에서는, 이 계면 배리어부에 구획되는 공극, 및, 계면 Cu 배리어막(428)에 의해, 제 1 Cu 접합부(533)로부터 제 2 층간 절연막(425)으로의 Cu의 확산이 방지된다.That is, also in this embodiment, the surface area part (surface) of the recessed
[반도체 장치의 제조 수법][Method of Manufacturing Semiconductor Device]
다음에, 본 실시 형태의 반도체 장치(540)의 제조 수법을, 도 36a 내지 도 36d를 참조하면서 설명한다. 또한, 도 36a 및 도 36b에는, 각 공정에서 제작되는 반도체 부재의 Cu 접합부 부근의 개략 단면을 도시하고, 도 36c 및 도 36d에는, 제 1 반도체 부재(531)와 제 2 반도체 부재(420)와의 접합 처리의 양상을 도시한다.Next, the manufacturing method of the
우선, 본 실시 형태에서는, 도 16a 내지 16f에서 설명한 제 1의 실시 형태의 제 1 반도체 부재(410)의 제작 공정과 마찬가지로 하여, 도 36a에 도시된 바와 같이 제 1 반도체 부재(531)를 제작한다.First, in this embodiment, similarly to the manufacturing process of the
또한, 본 실시 형태에서는, 도 16g 내지 16l에서 설명한 제 1의 실시 형태의 제 2 반도체 부재(420)의 제작 공정과 마찬가지로 하여, 도 36b에 도시된 바와 같이 제 2 반도체 부재(420)를 제작한다. 단, 본 실시 형태에서는, 계면 Cu 배리어막(428)(예를 들면 SiN 막, SiCN막 등)의 막두께는, 약 10 내지 100nm로 하고, CVD법 또는 스핀 코트법에 의해 계면 Cu 배리어막(428)을 형성한다. 또한, 본 실시 형태에서, 제 2 층간 절연막(425)에, 제 2 Cu 접합부(426) 및 제 2 Cu 배리어층(427)의 형성 영역에 대응하는 개구부를 형성하는 공정(도 16i의 공정에 대응)에서는, 개구부의 개구지름을 약 4 내지 100㎛ 정도로 한다.In addition, in the present embodiment, the
뒤이어 제 1 반도체 부재(531)의 제 1 Cu 접합부(533)측의 표면, 및, 제 2 반도체 부재(420)의 제 2 Cu 접합부(426)측의 표면에 대해 환원 처리를 시행하여, 각 Cu 접합부의 표면의 산화막(산화물)을 제거하여, 각 Cu 접합부의 표면에 청정한 Cu를 노출시킨다. 또한, 이 때, 환원 처리로서는, 예를 들면 포름산 등의 약액를 이용한 웨트 에칭 처리, 또는, 예를 들면 Ar, NH3, H2 등의 플라즈마를 이용한 드라이 에칭 처리가 이용된다.Subsequently, a reduction treatment is performed on the surface of the first
뒤이어 도 36c에 도시하는 바와 같이, 제 1 반도체 부재(531)의 제 1 Cu 접합부(533)측의 표면과, 제 2 반도체 부재(420)의 제 2 Cu 접합부(426)측의 표면을 접촉 또는 맞붙인다.Subsequently, as shown in FIG. 36C, the surface on the side of the
그리고, 제 1 반도체 부재(531)와 제 2 반도체 부재(420)를 맞붙인 상태에서, 예를 들면 핫 플레이트나 RTA 장치 등의 가열 장치(어닐 장치)를 이용하여 맞붙임 부재를 어닐하여, 도 36d에 도시된 바와 같이 제 1 Cu 접합부(533)와 제 2 Cu 접합부(426)를 접합한다. 구체적으로는, 예를 들면, 대기압의 N2 분위기 중, 또는, 진공 중에서 약 100 내지 400℃에서 5분 내지 2시간 정도, 맞붙임 부재를 가열한다.In the state where the
본 실시 형태에서도, 도 36d에 도시하는 어닐 처리에 의해, 상기 제 4의 실시 형태와 마찬가지로, 제 1 Cu 접합부(533)의 Cu막을 더욱 죄인다. 이 때, 접합 계면(Sj)에서, 제 1 Cu 접합부(533)와 계면 Cu 배리어막(428)과의 접촉 영역에서는, 그 영역의 제 1 Cu 접합부(533)가 수축하여, 제 1 Cu 접합부(533)의 표면이 접합 계면(Sj)으로부터 멀어지는 방향으로 후퇴한다. 이 결과, 도 36d에 도시하는 바와 같이, 제 1 반도체 부재(531)의 접합 계면(Sj)측의 표면 영역에서, 계면 Cu 배리어막(428)과 대향하는 제 1 Cu 접합부(533)의 표면 영역에 오목부(534)가 형성된다.Also in this embodiment, by the annealing process shown in FIG. 36D, the Cu film of the 1st
즉, 도 36d에 도시하는 어닐 처리에 의해, 제 1 Cu 접합부(533) 및 계면 Cu 배리어막(428) 사이의 접합 계면(Sj)에 공극이 형성됨과 함께, 그 공극이, 그 주변의 각종 막에 의해, 반도체 장치(540) 내에 밀봉된 구조가 형성된다. 또한, 도 36d에 도시하는 어닐 처리에 의해 오목부(534)를 형성하기 위해서는, 예를 들면, 각 반도체 부재의 제작시에 치밀한 막질의 Cu 접합부를 형성하기 위해 행한 어닐 처리의 어닐 온도 보다 높은 온도로 어닐하는 것이 바람직하다.That is, by the annealing treatment shown in FIG. 36D, the voids are formed in the bonding interface Sj between the first
본 실시 형태에서는, 상술한 바와 같이 하여, Cu-Cu 접합 처리를 행한다. 또한, 상술한 접합 공정 이외의 반도체 장치(540)의 제조 공정은, 종래의 예를 들면 고체 촬상 장치 등의 반도체 장치의 제조 수법(예를 들면 일본 특개2007-234725호 공보 참조)과 마찬가지로 할 수 있다.In this embodiment, a Cu-Cu joining process is performed as mentioned above. In addition, the manufacturing process of the
상술한 바와 같이, 본 실시 형태의 반도체 장치(540)에서는, 제 1 Cu 접합부(533) 및 계면 Cu 배리어막(428) 사이의 접합 계면(Sj)의 영역에 공극을 형성하여, 양자가 직접 접촉하지 않는 구조를 형성한다. 또한, 본 실 시 형태에서는, 제 1 Cu 접합부(533)의 오목부(534)와 대향하는 영역에 계면 Cu 배리어막(428)이 형성된다. 그 때문에, 본 실시 형태에서는, 제 1 Cu 접합부(533)로부터 제 2 층간 절연막(425)으로의 Cu의 확산을 보다 확실하게 방지할 수 있다.As described above, in the
또한, 본 실시 형태의 반도체 장치(540)에서는, 제 1 Cu 접합부(533) 및 계면 Cu 배리어막(428) 사이의 접합 계면(Sj)에 형성된 공극이, 그 주변의 각종 막에 의해 밀봉된 상태가 된다. 그 때문에, 본 실시 형태에서는, 상기 제 4의 실시 형태와 마찬가지로, Cu 접합부에의 외기의 침입을 방지할 수 있고, 반도체 장치(540)의 신뢰성을 확보할 수 있다.In the
또한, 본 실시 형태에서는, 제 1의 실시 형태의 반도체 장치(401)(도 14)에, 상기 제 4의 실시 형태에서 설명한 계면 배리어부의 형성 기술을 적용한 예를 설명하였지만, 본 개시는 이것으로 한정되지 않는다. 예를 들면, 제 2의 실시 형태의 반도체 장치(402)(도 17)나 제 3의 실시 형태의 반도체 장치(403)(도 20)에, 상기 제 4의 실시 형태에서 설명한 계면 배리어부의 형성 기술을 적용하여도 좋다. 또한, 예를 들면, 상기 각종 변형예의 반도체 장치(도 23 내지 도 26 등)에, 상기 제 4의 실시 형태에서 설명한, 계면 배리어부의 형성 기술을 적용하여도 좋다.In addition, although this embodiment demonstrated the example which applied the formation technique of the interface barrier part demonstrated in the said 4th Embodiment to the semiconductor device 401 (FIG. 14) of 1st Embodiment, this indication is limited to this. It doesn't work. For example, in the semiconductor device 402 (FIG. 17) of the 2nd Embodiment or the semiconductor device 403 (FIG. 20) of 3rd Embodiment, the formation technique of the interface barrier part demonstrated by said 4th Embodiment May be applied. For example, the formation technique of the interface barrier part described in the fourth embodiment may be applied to the semiconductor devices (FIGS. 23 to 26 and the like) of the various modifications described above.
또한, 상기 제 4의 실시 형태에서 설명한 계면 배리어부의 형성 기술은 상기 각종 참고예의 반도체 장치(도 27 및 도 34)에도 적용 가능하다. 단, 이 경우에는, 접합 계면(Sj)에서, 제 2 층간 절연막과 대향하는, 제 1 Cu 접합부의 표면 영역 뿐만 아니라, 제 1층간 절연막과 대향하는, 제 2 Cu 접합부의 표면 영역에도 오목부가 형성된다.In addition, the formation technique of the interface barrier part demonstrated in the 4th embodiment is applicable also to the semiconductor device (FIGS. 27 and 34) of the said various reference examples. In this case, however, the concave portion is formed not only in the surface region of the first Cu junction portion facing the second interlayer insulating film at the bonding interface Sj but also in the surface region of the second Cu junction portion facing the first interlayer insulating film. do.
<7. 각종 응용례><7. Various Applications>
상기 각종 실시 형태 및 각종 변형예에서 설명한 반도체 장치, 및, 그 제조 수법(Cu-Cu 접합 수법)은, 제조시에 2장의 기판를 맞붙여서 Cu-Cu 접합 처리를 필요로 하는 각종 전자 기기에 적용 가능하다. 특히, 상술한 각종 실시 형태 및 상기 각종 변형예의 Cu-Cu 접합 수법은, 예를 들면, 고체 촬상 장치의 제조에 알맞다.The semiconductor device described in the above various embodiments and various modifications, and its manufacturing method (Cu-Cu bonding method) can be applied to various electronic devices that require two substrates to be bonded to each other during the manufacturing process and require a Cu-Cu bonding process. Do. In particular, the Cu-Cu bonding method of the above-described various embodiments and the above-described various modifications is suitable for producing a solid-state imaging device, for example.
[응용례 1][Application Example 1]
도 37에, 상기 각종 실시 형태 및 각종 변형예에서 설명한 반도체 장치, 및, 그 제조 수법이 적용 가능한 반도체 이미지 센서 모듈의 구성례를 도시한다. 도 37에 도시하는 반도체 이미지 센서 모듈(700)은, 제 1 반도체 칩(701)과, 제 2 반도체 칩(702)을 접합하여 구성된다.37 shows a configuration example of the semiconductor device described in the various embodiments and various modifications and the semiconductor image sensor module to which the manufacturing method is applicable. The semiconductor
제 1 반도체 칩(701)은, 포토다이오드 형성 영역(703)과, 트랜지스터 형성 영역(704)과, 아날로그/디지털 변환기 어레이(705)를 내장한다. 그리고, 포토다이오드 형성 영역(703)상에, 트랜지스터 형성 영역(704), 및, 아날로그/디지털 변환기 어레이(705)는 이 순서로 적층된다.The
또한, 아날로그/디지털 변환기 어레이(705)에는, 관통 콘택트부(706)가 형성된다. 관통 콘택트부(706)는, 그 한쪽의 단부가, 아날로그/디지털 변환기 어레이(705)의 제 2 반도체 칩(702)측의 표면에 노출하도록 형성된다.In the analog-to-digital converter array 705, a through
한편, 제 2 반도체 칩(702)은, 메모리 어레이로 구성되고, 그 내부에는, 콘택트부(707)가 형성된다. 콘택트부(707)는, 그 한쪽의 단부가, 제 2 반도체 칩(702)의 제 1 반도체 칩(701)측의 표면에 노출하도록 형성된다.On the other hand, the
그리고, 관통 콘택트부(706)와 콘택트부(707)를 맞댄 상태로, 가열 압착함에 의해, 제 1 반도체 칩(701)과 제 2 반도체 칩(702)이 접합되고, 반도체 이미지 센서 모듈(700)이 제작된다. 이와 같은 구성의 반도체 이미지 센서 모듈(700)에서는, 단위 면적당의 화소수를 늘릴 수 있음과 함께, 그 두께를 얇게 할 수 있다.Then, the
이 예의 반도체 이미지 센서 모듈(700)에서는, 예를 들면 제 1 반도체 칩(701)과 제 2 반도체 칩(702)과의 접합 공정에서, 상기 각종 실시 형태 및 각종 변형예의 Cu-Cu 접합 수법을 적용할 수 있다. 이 경우에는, 제 1 반도체 칩(701) 및 제 2 반도체 칩(702) 사이의 접합 계면의 신뢰성을 보다 향상시킬 수 있다.In the semiconductor
[응용례 2][Application Example 2]
도 38에, 상기 각종 실시 형태 및 각종 변형예에서 설명한 반도체 장치, 및, 그 제조 수법이 적용 가능한 이면 조사형의 고체 촬상 장치의 주요부의 개략 단면도를 도시한다.38 is a schematic cross-sectional view of principal parts of the semiconductor device described in the various embodiments and various modifications and the back-illumination solid-state imaging device to which the manufacturing method is applicable.
도 38에 도시하는 고체 촬상 장치(800)는, 반제품 상태의 화소 어레이를 구비한 제 1의 반도체 기판(810)과, 반제품 상태의 로직 회로를 구비한 제 2의 반도체 기판(820)을 접합하여 구성된다. 또한, 도 38에 도시하는 고체 촬상 장치(800)에서는, 제 1의 반도체 기판(810)의 제 2의 반도체 기판(820)측과는 반대측의 표면상에, 평탄화막(830), 온 칩 컬러 필터(831), 및, 온 칩 마이크로 렌즈(832)가 이 순서로 적층된다.The solid-
제 1의 반도체 기판(810)은, P형의 반도체 웰 영역(811), 및, 다층 배선층(812)을 가지며, 평탄화막(830)측에, 반도체 웰 영역(811)이 배치된다. 반도체 웰 영역(811) 내에는, 예를 들면 포토다이오드(PD), 플로팅 디퓨전(FD), 화소를 구성하는 MOS 트랜지스터(Tr1, Tr2), 및, 제어 회로를 구성하는 MOS 트랜지스터(Tr3, Tr4)가 형성된다. 또한, 다층 배선층(812) 내에는, 층간 절연막(813)을 통하여 형성된 복수의 메탈 배선(814), 및, 메탈 배선(814)과 대응하는 MOS 트랜지스터를 접속하기 위해 층간 절연막(813)에 형성된 접속 도체(815)가 형성된다.The
한편, 제 2의 반도체 기판(820)은, 예를 들면 실리콘 기판의 표면에 형성된 반도체 웰 영역(821)과, 반도체 웰 영역(821)의 제 1의 반도체 기판(810)측에 형성된 다층 배선층(822)을 갖는다. 반도체 웰 영역(821)에는, 로직 회로를 구성하는 MOS 트랜지스터(Tr6, Tr7, Tr8)가 형성된다. 또한, 다층 배선층(822) 내에는, 층간 절연막(823)을 통하여 형성된 복수의 메탈 배선(824), 및, 메탈 배선(824)과 대응하는 MOS 트랜지스터를 접속하기 위해 층간 절연막(823)에 형성된 접속 도체(825)가 형성된다.On the other hand, the
상술한 구성의 이면 조사형의 고체 촬상 장치(800)에도, 상술한 본 개시에 관한 각종 실시 형태 및 상기 각종 변형예의 Cu-Cu 접합 기술을 적용할 수 있다.The Cu-Cu bonding technique of the above-described various embodiments and the above-described various modifications can also be applied to the back-illumination solid-
제 4의 실시예Fourth embodiment
<<1. 반도체 장치의 개요>><< 1. Overview of Semiconductor Devices >>
반도체 장치의 접합 전극의 구성의 개요에 관해 설명한다.The outline | summary of the structure of the junction electrode of a semiconductor device is demonstrated.
도 39에, 종래의 일반적인 접합 전극의 구성을 도시한다. 도 39는 접합 전극을 구비하는 접합부의 구성을 도시하는 단면도이다.39 shows the configuration of a conventional general junction electrode. It is sectional drawing which shows the structure of the junction part provided with a junction electrode.
제 1 접합부(910)는, 도시하지 않은 반도체 기체 상에 형성되어 있다. 그리고, 제 1 접합부(910)는, 제 1 배선층(912)과, 제 1 배선층(912)에 비어(913)를 통하여 접속하는 제 1 접합 전극(911)을 구비한다.The
제 1 배선층(912)은, 층간 절연층(919) 내에 형성되어 있다. 그리고, 층간 절연층(919)상에 중간층(918)을 통하여, 층간 절연층(917)이 형성되어 있다. 또한, 층간 절연층(917)상에 중간층(916)을 통하여, 층간 절연층(915)을 구비한다.The
제 1 접합 전극(911)은, 층간 절연층(915) 내에 형성되고, 제 1 접합 전극(911)의 표면이, 층간 절연층(915)의 표면으로부터 노출되어 있다. 이 노출면은, 층간 절연층(915)의 표면과 동일면에 형성되어 있다.The
또한, 중간층(916), 층간 절연층(917) 및 중간층(918)을 관통하는 비어(913)에 의해, 제 1 배선층(912)과 제 1 접합 전극(911)이 전기적으로 접속되어 있다.The
제 1 접합 전극(911), 비어(913)와 층간 절연층(915 및 917), 중간층(916)과의 사이에는, 전극 재료의 절연층으로의 확산을 막기 위한 배리어 메탈층(914)을 구비한다. 또한, 제 1 배선층(912)과 층간 절연층(919)과의 사이에 배리어 메탈층(931)을 구비한다.A
제 2 접합부(920)는, 상술한 제 1 접합부(910)와 마찬가지로, 도시하지 않은 반도체 기체 상에 형성되어 있다. 그리고, 제 2 접합부(920)는, 제 2 배선층(922)과, 제 2 배선층(922)에 비어(923)를 통하여 접속하는 제 2 접합 전극(921)을 구비한다.The
제 2 배선층(922)은, 층간 절연층(929) 내에 형성되어 있다. 그리고, 층간 절연층(929)상에 중간층(928)을 통하여, 층간 절연층(927)이 형성되어 있다. 또한, 층간 절연층(927)상에 중간층(926)을 통하여, 층간 절연층(925)을 구비한다.The
제 2 접합 전극(921)은, 층간 절연층(925) 내에 형성되고, 제 2 접합 전극(921)의 표면이, 층간 절연층(925)의 표면으로부터 노출되어 있다. 이 노출면은, 층간 절연층(925)의 표면과 동일면에 형성되어 있다.The
또한, 중간층(926), 층간 절연층(927) 및 중간층(928)을 관통하는 비어(923)에 의해, 제 2 배선층(922)과 제 2 접합 전극(921)이 전기적으로 접속되어 있다.The
제 2 접합 전극(921), 비어(923)와 층간 절연층(925, 927), 중간층(926)과의 사이에는, 전극 재료의 절연층으로의 확산을 막기 위한 배리어 메탈층(924)을 구비한다. 또한, 제 2 배선층(922)과 층간 절연층(929)과의 사이에 배리어 메탈층(932)을 구비한다.A
상술한 바와 같이, 제 1 접합 전극(911)과 제 2 접합 전극(921)이 접합된 상태에서, 제 1 접합부(910)와 제 2 접합부(920)가 맞붙여져 있다.As mentioned above, the
또한, 제 1 접합 전극(911)과 제 2 접합 전극(921)과의 접합에서는, 접합 신뢰성을 확보하기 위해, 한쪽의 전극의 면적을 크게 함에 의해, 접합 위치가 어긋난 경우에도, 접합 면적에 차가 발생하지 않도록 설계되어 있다. 도 39에 도시하는 구성에서는, 제 2 접합 전극(921)의 면적을 크게 함에 의해, 위치 어긋남에 대한 접속 신뢰성을 확보하고 있다.In addition, in joining between the
도 39에 도시하는 구성에서는, 상술한 바와 같이 제 1 접합 전극(911)과 제 2 접합 전극(921)에서 면적차를 갖는 구성을 위해, 면적이 큰 편의 제 2 접합 전극(921)은, 그 표면에 제 1 접합부(910)의 층간 절연층(915)과 직접 접촉하는 접촉부(933)를 갖는다.In the structure shown in FIG. 39, for the structure which has an area difference between the
이 접촉부(933)는, Cu 등의 금속층이 층간 절연층(915)과 직접 접촉하고 있는 구성으로 된다.This
또한, 일반적으로 층간 절연층(915) 등을 구성하는 SiO2는, 흡습하기 쉬운 성질을 갖기 때문에,층 내에 물(H2O)이 포함되기 쉽다. 또한, 근래의 고성능 디바이스에 사용되는 low-k(k<2.4) 재료는, 흡습성이 더욱 크다.Also, in general, SiO2 constituting the insulating
이 때문에, 제 2 접합 전극(921)과 층간 절연층(915)이 직접 접하는 접촉부(933)에서는, 층간 절연층(915) 등에 함유되는 물(930)과 제 2 접합 전극(921)이 접촉한다. 이 경우, 제 2 접합 전극(921)을 구성하는 Cu 등의 금속이 부식할 가능성이 있다.For this reason, in the
상술한 바와 같이, 반도체 기체를 금속의 접합 전극끼리 접합하는 구성의 반도체 장치에서는, 층간 절연층에 포함되는 물에 의한 접합 전극의 부식이 발생한다. 접합 전극이 수분에 의해 부식되면, 전극 사이의 저항 상승, 도통 불량 등이 야기되고, 반도체 장치의 정상적인 기능를 방해하는 원인이 된다.As described above, in a semiconductor device having a structure in which a semiconductor base is bonded to metal junction electrodes, corrosion of the junction electrode due to water contained in the interlayer insulating layer occurs. When the junction electrode is corroded by moisture, an increase in resistance between the electrodes, poor conduction, and the like are caused, which causes a normal functioning of the semiconductor device.
이 때문에, 접합 전극에 의해 접합된 반도체 장치에서는, 층간 절연층에 포함되는 물에 의한 접합 전극의 부식을 막는 구성이 요구되고 있다.For this reason, in the semiconductor device joined by the junction electrode, the structure which prevents corrosion of the junction electrode by the water contained in an interlayer insulation layer is calculated | required.
<<2. 반도체 장치의 실시 형태>><< 2. Embodiment of Semiconductor Device >>
이하, 접합 전극을 구비하는 반도체 장치의 실시 형태에 관해 설명한다.EMBODIMENT OF THE INVENTION Hereinafter, embodiment of the semiconductor device provided with a junction electrode is described.
도 40a 및 도 40b에, 본 실시 형태의 접합 전극을 구비하는 반도체 장치의 개략 구성을 도시한다. 도 40a는, 본 실시 형태의 반도체 장치의 접합 전극 영역 부근의 단면도이다. 도 40b는, 도 40a에 도시하는 제 1 접합부(940)의 접합면(950)의 평면도이다. 또한, 도 40a 및 도 40b에서는, 접합 전극의 형성 영역 부근의 개략 구성만을 도시하고, 접합 전극이 형성되는 반도체 기체 및 접합 전극 주위에 마련되는 각 구성부의 도시를 생략한다.40A and 40B show a schematic configuration of a semiconductor device including the junction electrode of the present embodiment. 40A is a cross-sectional view near the junction electrode region of the semiconductor device of this embodiment. 40B is a plan view of the
도 40a에 도시하는 바와 같이, 제 1 접합부(940)와 제 2 접합부(960)가 전극 형성면을 대향시켜서 접합된 반도체 장치가 형성되어 있다.As shown in FIG. 40A, a semiconductor device in which a
제 1 접합부(940)는, 접합면(950)에 제 1 접합 전극(941), 제 2 접합 전극(942), 및, 제 3 접합 전극(943)을 구비한다. 또한, 제 2 접합부(960)는, 접합면(950)에, 제 4 접합 전극(961), 제 5 접합 전극(962), 및, 제 6 접합 전극(963)을 구비한다.The
그리고, 제 1 접합부(940)의 제 1 접합 전극(941)과, 제 2 접합부(960)의 제 4 접합 전극(961)이 접합되어 있다. 또한, 제 2 접합 전극(942)과 제 5 접합 전극(962)이 접합되고, 제 3 접합 전극(943)과 제 6 접합 전극(963)이 접합되어 있다.And the
[절연층][Insulating layer]
제 1 접합부(940) 및 제 2 접합부(960)는, 복수의 배선층과 절연층이 적층되어 구성되어 있다.The
제 1 접합부(940)의 절연층은, 접합면(950)측부터 차례로, 제 1층간 절연층(951), 제 1 중간층(952), 제 2 층간 절연층(953), 제 2 중간층(954), 및, 제 3 층간 절연층(955)으로 구성되어 있다. 또한, 제 2 접합부(960)의 절연층은, 접합면(950)측부터 차례로, 제 4 층간 절연층(971), 제 3 중간층(972), 제 5 층간 절연층(973), 제 4 중간층(974), 및, 제 6 층간 절연층(975)으로 구성되어 있다.The insulating layer of the
[도체층 : 제 1 접합부][Conductor Layer: First Junction]
제 1 접합부(940)의 제 1 접합 전극(941), 제 2 접합 전극(942), 및, 제 3 접합 전극(943)은, 제 1층간 절연층(951)에 형성되어 있다. 그리고, 접합면(950)에, 제 1 접합 전극(941), 제 2 접합 전극(942), 및, 제 3 접합 전극(943)의 표면이 노출하고, 제 1층간 절연층(951)과 동일면에 형성되어 있다.The
제 1 배선(946), 제 2 배선(947), 및, 제 3 배선(948)은, 제 3 층간 절연층(955) 내에 제 2 중간층(954)과 접하는 위치에 형성되어 있다.The
제 1 접합 전극(941)과 제 1 배선(946)은, 제 1 중간층(952), 제 2 층간 절연층(953) 및 제 2 중간층(954)을 관통하는 제 1 비어(956)에 의해 전기적으로 접속되어 있다. 마찬가지로, 제 2 접합 전극(942)과 제 2 배선(947)은, 제 2 비어(957)에 의해 전기적으로 접속되어 있다. 제 3 접합 전극(943)과 제 3 배선(948)은, 제 3 비어(958)에 의해 전기적으로 접속되어 있다.The
또한, 제 1 접합 전극(941)과 제 1층간 절연층(951)과의 사이에는, 제 1 접합 전극(941)의 절연층으로의 확산을 막기 위한 배리어 메탈층(941A)이 마련되어 있다. 그리고, 제 2 접합 전극(942) 및 제 3 접합 전극(943)과 제 1층간 절연층(951)과의 사이에 배리어 메탈층(942A, 943A)이 마련되어 있다. 또한, 제 1 배선(946)과 제 3 층간 절연층(955)과의 사이에 배리어 메탈층(946A), 제 2 배선(947)과 제 3 층간 절연층(955)과의 사이에 배리어 메탈층(947A), 제 3 배선(948)과 제 3 층간 절연층(955)과의 사이에 배리어 메탈층(948A)이 마련되어 있다.A
또한, 제 1 비어(956), 제 2 비어(957), 및, 제 3 비어(958)와 제 1 중간층(952), 제 5 층간 절연층(973), 및, 제 2 중간층(954)과의 사이에도, 각각 배리어 메탈층(956A), 배리어 메탈층(957A), 및, 배리어 메탈층(958A)이 마련되어 있다. 제 1 비어(956), 제 2 비어(957), 및, 제 3 비어(958)는, 각각 배리어 메탈층(956A), 배리어 메탈층(957A), 및, 배리어 메탈층(958A)을 통하여, 제 1 배선(946), 제 2 배선(947), 및, 제 3 배선(948)과 접속하고 있다.In addition, the first via 956, the second via 957, and the third via 958, the first
[도체층 : 제 2 접합부][Conductor Layer: Second Junction]
제 2 접합부(960)의 제 4 접합 전극(961), 제 5 접합 전극(962), 및, 제 6 접합 전극(963)은, 제 4 층간 절연층(971)에 형성되어 있다. 그리고, 접합면(950)에 제 4 접합 전극(961), 제 5 접합 전극(962), 및, 제 6 접합 전극(963)의 표면이 노출하고, 제 4 층간 절연층(971)과 동일면에 형성되어 있다.The
제 4 배선(966), 제 5 배선(967), 및, 제 6 배선(968)은, 제 6 층간 절연층(975) 내에 제 4 중간층(974)과 접하는 위치에 형성되어 있다.The
제 4 접합 전극(961)과 제 4 배선(966)은, 제 3 중간층(972), 제 5 층간 절연층(973) 및 제 4 중간층(974)을 관통하는 제 4 비어(976)에 의해 전기적으로 접속되어 있다. 마찬가지로, 제 5 접합 전극(962)과 제 5 배선(967)은, 제 5 비어(977)에 의해 전기적으로 접속되어 있다. 제 6 접합 전극(963)과 제 6 배선(968)은, 제 6 비어(978)에 의해 전기적으로 접속되어 있다.The
또한, 제 4 접합 전극(961)과 제 4 층간 절연층(971)과의 사이에는, 제 4 접합 전극(961)의 절연층으로의 확산을 막기 위한 배리어 메탈층(961A)이 마련되어 있다. 그리고, 제 5 접합 전극(962) 및 제 6 접합 전극(963)과 제 4 층간 절연층(971)과의 사이에 배리어 메탈층(962A, 963A)이 마련되어 있다. 또한, 제 4 배선(966)과 제 6 층간 절연층(975)과의 사이에 배리어 메탈층(966A), 제 5 배선(967)과 제 6 층간 절연층(975)과의 사이에 배리어 메탈층(967A), 제 6 배선(968)과 제 6 층간 절연층(975)과의 사이에 배리어 메탈층(968A)을 구비한다.A
또한, 제 4 비어(976), 제 5 비어(977), 및, 제 6 비어(978)와 제 3 중간층(972), 제 5 층간 절연층(973), 및, 제 4 중간층(974)과의 사이에도, 각각 배리어 메탈층(976A), 배리어 메탈층(977A), 및, 배리어 메탈층(978A)이 마련되어 있다. 제 4 비어(976), 제 5 비어(977), 및, 제 6 비어(978)는, 각각 배리어 메탈층(976A), 배리어 메탈층(977A), 및, 배리어 메탈층(978A)을 통하여, 제 4 배선(966), 제 5 배선(967), 및, 제 6 배선(968)과 접속하고 있다.In addition, the fourth via 976, the fifth via 997, and the sixth via 978, the third
[재료][material]
상술한 제 1 배선(946), 제 2 배선(947), 제 3 배선(948), 제 4 배선(966), 제 5 배선(967), 및, 제 6 배선(968)은, 반도체 장치의 배선으로서 일반적으로 이용되는 재료, 예를 들면 Al, Cu 등으로 형성된다.The
또한, 제 1 접합 전극(941), 제 2 접합 전극(942), 제 3 접합 전극(943), 제 4 접합 전극(961), 제 5 접합 전극(962), 및, 제 6 접합 전극(963)은, 반도체 기체의 접합이 가능한 도전체, 예를 들면 Cu로 형성된다.The
각 배리어 메탈층은, 반도체 장치에 배리어 메탈층으로서 일반적으로 적용되는 재료, 예를 들면, Ta, Ti, Ru, TaN, TiN 등으로 형성된다.Each barrier metal layer is formed of a material generally applied as a barrier metal layer to a semiconductor device, for example, Ta, Ti, Ru, TaN, TiN, or the like.
제 1층간 절연층(951), 제 2 층간 절연층(953), 제 3 층간 절연층(955), 제 4 층간 절연층(971), 제 5 층간 절연층(973), 및, 제 6 층간 절연층(975)은, 예를 들면, SiO2, 및, 불소 함유 산화 실리콘(FSG), 폴리아릴에테르(PAE)로 대표되는 유기 실리콘계의 폴리머, 하이드로겐실세스퀴옥산(HSQ), 및, 메틸실세스퀴옥산(MSQ)으로 대표되는 무기계 재료 등, 비유전율 2.7 정도 또는 그 이하의 저유전율(Low-k) 재료에 의해 구성된다.1st
도 40a에 도시하는 바와 같이, 상술한 제 1 내지 6 층간 절연층(951, 953, 955, 971, 973, 975)에는, 절연층의 흡습에 의해 물(H2O)(970)이 포함되기 쉽다.As shown in FIG. 40A, the above-described first to sixth
제 1 중간층(952), 제 2 중간층(954), 제 3 중간층(972), 및, 제 4 중간층(974)은, 배선 등을 구성하는 금속 재료의 확산 방지층으로서, 반도체 장치에 일반적으로 사용 되는 재료에 의해 구성된다. 또한, 각 중간층은 층간 절연층에 함유되는 물(970)을 투과하기 어려운 고밀도 절연층이다. 이와 같은, 확산 방지층이 되는 고밀도 절연층 로서는, 예를 들면, 스핀 코트법이나 CVD법으로 성막된 비유전율 4 내지 7의 P-SiN이나, 이것에 C가 함유된 비유전율 4 이하의 SiCN 등으로 구성한다.The 1st intermediate |
[접합부][copula]
상술한 바와 같이, 제 1 접합 전극(941), 제 2 접합 전극(942) 및 제 3 접합 전극(943)과, 제 4 접합 전극(961), 제 5 접합 전극(962) 및 제 6 접합 전극(963)이 접합된 상태에서, 반도체 기체끼리가 접합된 반도체 장치가 구성된다.As described above, the
또한, 도 40a에 도시하는 바와 같이, 제 1 접합부(940)의 접합 전극과, 제 2 접합부(960)의 접합 전극은, 접합 신뢰성을 확보하기 위해, 대향하는 접합 전극의 한쪽의 전극의 면적이 크게 형성되어 있다. 이 구성에 의해, 접합 위치가 어긋난 경우에도, 각 전극의 접합 면적이 변하지 않도록 설계되어 있다.In addition, as shown in FIG. 40A, the junction electrode of the
도 40a에 도시하는 구성에서는, 제 2 접합 전극(942), 제 4 접합 전극(961), 및, 제 6 접합 전극(963)이, 대향하는 접합 전극보다도 큰 면적으로 형성되어 있다. 이 때문에, 제 2 접합 전극(942)에는, 제 4 층간 절연층(971)과 직접 접촉하는 접촉부(949)가 형성된다. 또한, 제 4 접합 전극(961), 및, 제 6 접합 전극(963)의 표면에는, 제 1층간 절연층(951)과 직접 접촉하는 접촉부(969, 979)가 형성된다.In the structure shown in FIG. 40A, the
[보호층][Protective layer]
제 1 접합부(940)는, 제 1 접합 전극(941)의 주위에, 제 1 보호층(944)을 구비한다. 또한, 제 2 접합 전극(942)과 제 3 접합 전극(943)의 주위를 둘러싸는 제 2 보호층(945)을 구비한다.The
제 1 보호층(944) 및 제 2 보호층(945)은, 도 40b에 도시하는 바와 같이, 제 1 접합 전극(941)의 주위를 둘러싸는 일련의 층으로 형성된다. 그리고, 도 40a에 도시하는 바와 같이, 제 1 보호층(944)은, 제 1 접합부(940)의 접합면(950)으로부터, 제 1층간 절연층(951)을 관통하여, 제 1 중간층(952)에 달하는 깊이의 오목부 내에 형성되어 있다. 제 2 보호층(945)은, 제 1 접합부(940)의 접합면(950)으로부터, 제 1층간 절연층(951), 제 1 중간층(952), 및, 제 2 층간 절연층(953)을 관통하여, 제 2 중간층(954)에 달하는 깊이의 오목부 내에 형성되어 있다.As shown in FIG. 40B, the first
또한, 도 40a에 도시하는 바와 같이, 제 2 접합부(960)에도 상술한 제 1 보호층(944)과 대응하는 위치에, 제 3 보호층(964)을 구비한다. 그리고, 제 2 보호층(945)과 대응하는 위치에 제 4 보호층(965)을 구비한다.40A, the
제 3 보호층(964)은, 제 4 접합 전극(961)의 주위를 둘러싸고, 제 2 접합부(960)의 접합면(950)으로부터, 제 4 층간 절연층(971)을 관통하여, 제 3 중간층(972)에 달하는 깊이의 오목부 내에 형성되어 있다.The third
제 4 보호층(965)은, 제 5 접합 전극(962)과 제 6 접합 전극(963)의 주위를 둘러싸고, 제 2 접합부(960)의 접합면(950)으로부터, 제 4 층간 절연층(971)을 관통하여, 제 3 중간층(972)에 달하는 깊이의 오목부 내에 형성되어 있다.The fourth
그리고, 접합면(950)에서, 제 1 보호층(944)과 제 3 보호층(964)이, 각각 접촉하는 위치에 마련되어 있다. 이 구성에 의해, 제 1 접합 전극(941)과 제 4 접합 전극(961)과의 접합부가, 제 1 보호층(944), 제 3 보호층(964), 제 1 중간층(952), 및 제 3 중간층(972)에 의해 둘러 싸여진다.And on the
또한, 접합면(950)에서, 제 2 보호층(945)과 제 4 보호층(965)이, 각각 접촉하는 위치에 마련되어 있다. 이 때문에, 제 2 접합 전극(942)과 제 5 접합 전극(962)과의 접합부, 및 제 3 접합 전극(943)과 제 6 접합 전극(963)과의 접합부가 제 2 보호층(945), 제 4 보호층(965), 제 2 중간층(954), 및 제 3 중간층(972)에 의해 둘러 싸여진다.Moreover, on the
제 1 보호층(944), 제 2 보호층(945), 제 3 보호층(964), 및 제 4 보호층(965)은, 상술한 각 배리어 메탈층과 같은 재료, 예를 들면, Ta, Ti, Ru, TaN, TiN 등으로 형성된다.The
[보호층 : 작용][Protective Layer: Function]
상술한 바와 같이, 제 1 층간 절연층(951)이나 제 4 층간 절연층(971) 등에 적용되는 SiO2나 low-k 재료 등은, 흡습하기 쉬운 성질을 갖는다. 특히, 층간 절연층끼리를 플라즈마 접합법을 이용하여 접합한 경우에는, 절연층의 표면 처리 및 열처리에 의해, 접합면에 물이 발생한다. 이 때문에, 절연층 재료의 흡습에 의해 물(H2O)(970)이, 제 1 층간 절연층(951)이나 제 4 층간 절연층(971) 등에 포함되기 쉽다.As described above, SiO2 , a low-k material, or the like applied to the first
본 실시예의 반도체 장치의 구성에서는, 접합 전극의 주위에, 제 1 보호층(944), 제 2 보호층(945), 제 3 보호층(964), 및 제 4 보호층(965)을 구비한다. 각 보호층은, 배리어 메탈층과 같은 재료로 구성됨에 의해, 절연층 중에 함유되는 물(970)의 투과를 막을 수 있다. 또한, 제 1 중간층(952), 및 제 3 중간층(972)이, 물(970)을 투과하기 어려운 P-SiN 등의 고밀도 절연층에 의해 구성된다.In the structure of the semiconductor device of the present embodiment, the first
이 때문에, 제 1 보호층(944), 제 3 보호층(964), 제 1 중간층(952), 및 제 3 중간층(972)에 의해, 제 1 층간 절연층(951)이나 제 4 층간 절연층(971)에 포함되어 있는 물(970)을 차단할 수 있다.For this reason, the first
또한, 제 2 보호층(945), 제 4 보호층(965), 제 2 중간층(954), 및 제 3 중간층(972)에 의해 제 1 층간 절연층(951)이나 제 4 층간 절연층(971)에 포함되어 있는 물(970)을 차단할 수 있다.Further, the first
상술한 구성에 의해, 제 1 접합 전극(941)과 제 4 접합 전극(961)과의 접합부에서, 제 4 접합 전극(961)과 제 1 층간 절연층(951)과의 접촉부(969)에의 물(970)의 접촉을 억제할 수 있다. 마찬가지로, 제 2 접합 전극(942)과 제 5 접합 전극(962)과의 접합부에서, 제 2 접합 전극(942)과 제 4 층간 절연층(971)과의 접촉부(949)에의 물(970)의 접촉을 억제할 수 있다. 그리고, 제 3 접합 전극(943)과 제 6 접합 전극(963)과의 접합부에서, 제 6 접합 전극(963)과 제 1 층간 절연층(951)과의 접촉부(979)에의 물(970)의 접촉을 억제할 수 있다.By the above-described configuration, water from the junction portion between the
또한, 상술한 구성에서는, 제 4 접합 전극(961)의 접촉부(969)는, 제 1 보호층(944), 제 3 보호층(964), 제 1 중간층(952), 및 제 3 중간층(972)에 둘러 싸여진 영역 내의 제 1 층간 절연층(951)에 함유되는 물(970)과 접촉한다. 이 때문에, 제 1 접합 전극(941)과 제 1 보호층(944)과의 거리, 및 제 4 접합 전극(961)과 제 3 보호층(964)과의 거리를, 가능한 한 가깝게 하는 구성으로 하는 것이 바람직하다. 예를 들면, 배선의 디자인 룰에서 가능한 최근접 거리로 함에 의해, 제 1 보호층(944) 및 제 3 보호층(964) 등에 둘러 싸여진 영역 내에서, 절연층이 존재 가능한 영역을 최소화한다. 접합 전극과 보호층은 최근접 거리로서는, 최소로 50nm 정도로할 수 있고, 일반적인 반도체 장치의 디자인 룰에서는 2㎛ 내지 4㎛ 정도로 할 수 있다.In the above-described configuration, the
또한, 제 2 접합 전극(942)의 접촉부(949)나, 제 6 접합 전극(963)의 접촉부(979)에서도, 제 3 보호층(964) 및 제 4 보호층(965) 등의 영역 내의 제 1 층간 절연층(951) 및 제 4 층간 절연층(971)에 함유되는 물(970)과 접촉한다. 이 때문에, 배선의 디자인 룰로 가능한 한 제 2 보호층(945) 및 제 4 보호층(965)을, 제 2 접합 전극(942) 및 제 6 접합 전극(963)에 근접시키는 것이 바람직하다.Also, in the
또한, 접합 전극을 둘러싸는 보호층은, 적어도 흡습하기 쉬운 재료로 이루어지는 절연층을 차단하도록 형성될 필요가 있다. 이 때문에, 보호층은, 적어도 접합 전극이 마련되어 있는 층간 절연층의 표면으로부터, 즉, 접합면으로부터, 그 상층의 절연층, 즉, 중간층까지의 깊이까지 형성하는 것이 바람직하다.In addition, the protective layer surrounding the junction electrode needs to be formed to block at least an insulating layer made of a material that is easily absorbed. For this reason, it is preferable to form a protective layer at least from the surface of the interlayer insulation layer in which the junction electrode is provided, ie, from the junction surface to the depth from the upper insulation layer, ie, the intermediate | middle layer.
또한, 보호층은, 접합 전극이 형성되어 있는 층간 절연층 보다 더 깊은 위치까지 형성하여도 좋다. 예를 들면, 제 2 보호층(945)과 같이, 접합면(950)으로부터 제 1 층간 절연층(951), 제 1 중간층(952), 및 제 2 층간 절연층(953)을 관통하여 제 2 중간층(954)과 접하는 위치까지 형성하여도 좋다. 제 2 보호층(945)의 구성에 의하면, 제 2 층간 절연층(953) 내의 물을 차단할 수 있기 때문에, 제 2 층간 절연층(953)으로부터, 제 1 중간층(952)을 투과하는 물(970)을 막을 수 있다.In addition, the protective layer may be formed to a position deeper than the interlayer insulating layer in which the junction electrode is formed. For example, like the second
또한, 접합면(950)에서, 접촉하는 한쪽의 보호층의 폭을, 다른 쪽의 폭보다 더 크게 함에 의해, 반도체 기체의 접합 위치의 어긋남이 발생한 경우에도, 보호층끼리의 접속 신뢰성을 확보할 수 있다. 도 40a에 도시하는 본 실시예의 반도체 장치의 구성에서는, 제 3 보호층(964) 및 제 4 보호층(965)의 접합면에서의 폭을, 제 1 보호층(944) 및 제 2 보호층(945)보다 더 크게 구성하고 있다.In addition, in the
구체적으로는, 제 3 보호층(964)의 접합 전극측, 즉, 내측이, 제 1 보호층(944)보다 더 접합 전극에 가깝게 되도록, 또한, 제 3 보호층(964)의 접합 전극과 반대측, 즉, 외측이, 제 1 보호층(944)보다 더 접합 전극으로부터 멀게 되도록 구성한다. 이와 같이, 제 3 보호층(964)의 폭을 크게 함에 의해, 접합 위치에 어긋남이 발생한 경우에도, 제 3 보호층(964)의 폭 내에서 제 1 보호층(944)이 접촉한다.Specifically, the junction electrode side of the third
또한, 제 4 보호층(965)의 접합 전극측, 즉, 내측이, 제 2 보호층(945)보다더 접합 전극에 가깝게 되도록, 또한, 제 4 보호층(965)의 접합 전극과 반대측, 즉, 외측이, 제 2 보호층(945)보다도 접합 전극으로부터 멀게 되도록 구성한다. 이와 같이, 제 4 보호층(965)의 폭을 크게 함에 의해, 접합 위치에 어긋남이 발생한 경우에도, 제 4 보호층(965)의 폭 내에서 제 2 보호층(945)이 접촉한다.In addition, the junction electrode side of the fourth
상술한 구성에 의해, 위치 어긋남에 대한 보호층의 접속 신뢰성을 확보할 수 있다.By the above-described configuration, the connection reliability of the protective layer against position shift can be ensured.
[보호층 : 효과][Protective layer: effect]
상술한 본 실시예의 반도체 장치의 구성에 의하면, 접합 전극을 둘러싸는 보호층을 형성함에 의해, 접합부의 부식의 요인이 되는 수분과 접합 전극의 접촉을 최소한으로 억제할 수 있다. 이 때문에, 접합 전극의 부식을 억제할 수 있고, 양호한 전기 특성과 신뢰성을 갖는 반도체 장치를 구성할 수 있다.According to the structure of the semiconductor device of the present embodiment described above, by forming a protective layer surrounding the junction electrode, contact between the junction electrode and water, which is a cause of corrosion of the junction portion, can be minimized. For this reason, corrosion of a junction electrode can be suppressed and the semiconductor device which has favorable electrical characteristics and reliability can be comprised.
따라서, 반도체 장치의 전기 특성, 및 신뢰성의 향상이 가능하게 된다. 또한, 부식에 의한 저항 치의 상승을 억제할 수 있고, 반도체 장치의 처리 속도의 향상이나, 소비 전력의 저하가 가능하게 된다.Therefore, the electrical characteristics and the reliability of the semiconductor device can be improved. In addition, the increase in the resistance value due to corrosion can be suppressed, and the processing speed of the semiconductor device can be improved and the power consumption can be reduced.
또한, 접합 전극을 보호층으로 둘러쌈에 의해, 전극 접합부를 흐르는 전기 신호에 대해 외부로부터의 혼신도 저감할 수 있다. 따라서, 반도체 장치의 노이즈 저감이 가능하게 된다.In addition, by enclosing the junction electrode in a protective layer, interference from the outside with respect to the electrical signal flowing through the electrode junction can also be reduced. Therefore, noise reduction of the semiconductor device can be achieved.
또한, 접합 전극이나 보호층의 형상은, 상술한 실시예에 기재된 구성으로 한정되지 않는다. 보호층은 접합 전극의 접합면에서, 접합 전극과 둘러싸는 일련의 형상이라면, 도 40b에 도시하는 원형으로 한정되지 않고, 기타의 형상로 하여도 좋다. 또한, 접합 전극의 형상도, 도 40b에 도시하는 원형에 한정되지 않고, 기타의 형상도 할 수 있다.In addition, the shape of a junction electrode or a protective layer is not limited to the structure described in the Example mentioned above. The protective layer is not limited to the circle shown in FIG. 40B as long as it is a series of shapes that surround the junction electrode on the junction surface of the junction electrode, and may be other shapes. In addition, the shape of a junction electrode is not limited to the circular shape shown in FIG. 40B, and other shapes can also be made.
<3. 반도체 장치의 제조 방법><3. Manufacturing Method of Semiconductor Device>
다음에, 실시예의 반도체 장치의 제조 방법의 한 예를 설명한다. 또한, 이하의 제조 방법의 설명에서는, 상술한 도 40a 및 도 40b에 도시하는 제 1 접합 전극(941)과, 제 4 접합 전극(961)과의 접합부 부근의 제조 방법만을 나타내고, 기타 구성의 제조 방법은 설명을 생략한다. 제 2 접합 전극(942)과 제 5 접합 전극(962)과의 접합부, 및 제 3 접합 전극(943)과 제 6 접합 전극(963)과의 접합부 등에 관해서는, 제 1 접합 전극(941)과 제 4 접합 전극(961)과의 접합부 부근의 제조 방법과 같이 제조할 수 있다. 또한, 반도체 기체, 배선층, 다른 각종 트랜지스터, 각종 소자의 제작 방법에 관해서는 설명을 생략한다. 이들은 종래 공지의 방법에 의해 제작할 수 있다.Next, an example of the manufacturing method of the semiconductor device of the embodiment will be described. In addition, in the following description of the manufacturing method, only the manufacturing method in the vicinity of the junction part of the
또한, 상술한 도 40a 및 도 40b에 도시하는 본 실시예의 반도체 장치의 구성과 같은 구성에는 같은 부호를 붙여서 각 구성의 상세한 설명은 생략한다.In addition, the same code | symbol is attached | subjected to the structure same as the structure of the semiconductor device of this embodiment shown to FIG. 40A and 40B mentioned above, and detailed description of each structure is abbreviate | omitted.
우선, 도 41a에 도시하는 바와 같이, 하지 디바이스에 접속된 배리어 메탈층(946A) 및 제 1 배선(946)을 포함하는 제 3 층간 절연층(955)을 형성한다. 이 제 1 배선(946)을 포함하는 제 3 층간 절연층(955)의 형성 방법은, 일반적인 반도체 장치의 제조 방법에 적용되는 다마신 프로세스(예를 들면 일본국 특개2004-63859호 공보 참조) 등을 이용하여 형성할 수 있다. 그리고, 제 1 배선(946) 및 제 3 층간 절연층(955)상에, 10 내지 100nm의 제 2 중간층(954)을 형성한다.First, as shown in FIG. 41A, a third
다음에, 도 41b에 도시하는 바와 같이, 제 2 중간층(954)상에, 20 내지 200nm의 SiO2층 및 SiOC층 등에 의한 제 2 층간 절연층(953)을 형성한다. 그리고, 제 2 층간 절연층(953)상에 10 내지 100nm의 SiN층 및 SiCN층 등으로 이루어지는 제 1 중간층(952)을 형성한다. 제 1 중간층(952)상에, 20 내지 200nm의 SiO2층 및 SiOC층으로 이루어지는 제 1 층간 절연층(951)을 형성한다.Next, as shown in FIG. 41B, a second
상술한 제 1 층간 절연층(951), 제 1 중간층(952), 제 2 층간 절연층(953), 제 2 중간층(954), 및 제 3 층간 절연층(955)의 각 층은, 예를 들면 CVD법 또는 스핀 코트법을 이용하여 형성한다.Each layer of the above-described first interlayer insulating
또한, 도 41b에 도시하는 바와 같이, 제 1 층간 절연층(951)상에 레지스트층(991)을 형성한다. 레지스트층(991)은, 제 1 배선(946) 등의 하층 배선 구조에 접속하는 제 1 비어(956) 등의 형성 위치를 개구하는 패턴으로 형성한다.41B, a resist
다음에, 도 41c에 도시하는 바와 같이, 레지스트층(991)의 위로부터 일반적인 마그네트론 방식의 에칭 장치를 이용한 드라이 에칭법에 의해, 제 1 층간 절연층(951), 제 1 중간층(952), 및 제 2 층간 절연층(953)을 에칭한다.Next, as shown in FIG. 41C, the first
제 1 층간 절연층(951), 제 1 중간층(952), 및 제 2 층간 절연층(953)을 에칭한 후, 예를 들면 산소(O2) 플라즈마를 베이스로 하는 애싱 처리와 유기 아민계의 약액 처리를 시행한다. 이 처리에 의해, 레지스트층(991) 및 에칭 처리할 때에 생긴 잔류 부착물을 완전히 제거한다.After etching the first
다음에, 도 41d에 도시하는 바와 같이, 50nm 내지 1㎛ 두께의 유기 수지를 스핀 코트법으로 도포하여 도포 장치 내에 있는 히터로 30 내지 200℃에서 소성하여 유기 재료층(992)을 형성한다. 그리고, 유기 재료층(992)상에, 20nm 내지 200nm의 SiO2층을, CVD법 또는 스핀 코트법으로 형성하여, 산화물층(993)을 형성한다.Next, as shown in FIG. 41D, an organic resin having a thickness of 50 nm to 1 µm is applied by spin coating to be baked at 30 to 200 ° C. with a heater in the coating apparatus to form an
다음에, 도 41e에 도시하는 바와 같이, 산화물층(993)상에, 레지스트층(994)을 형성한다. 레지스트층(994)은, 접합부의 제 1 접합 전극(941), 및 제 1 보호층(944)을 형성하는 위치를 개구한 패턴으로 형성한다.Next, as shown in FIG. 41E, a resist
다음에, 상기 레지스트층(994)상부터 일반적인 마그네트론 방식의 에칭 장치를 이용한 드라이 에칭법에 의해, 산화물층(993)을 에칭한다. 에칭된 산화물층(993)은 일반적인 마그네트론 방식의 에칭 장치를 이용한 드라이 에칭법에 의해 유기 재료층(992)과 제 1 층간 절연층(951)을 에칭하는데 사용된다.Next, the
그 후, 예를 들면 산소(O2) 플라즈마를 베이스로 하는 애싱 처리와 유기 아민계의 약액 처리를 시행함에 의해, 산화물층(993), 유기 재료층(992) 및 에칭 처리할 때에 생긴 잔류 부착물을 완전히 제거한다. 또한, 이 처리에 의해, 제 1 배선(946) 상의 제 2 중간층(954)을 동시에 에칭하여, 제 1 배선(946)을 노출시켜서 도 41g에 도시하는 형상으로 한다.Thereafter, for example, an ashing treatment based on an oxygen (O2 ) plasma and an organic amine-based chemical liquid treatment are carried out, so that residual deposits formed during the
다음에, 도 41h에 도시하는 바와 같이, 배리어 메탈층(956A), 및 제 1 보호층(944)을 형성하기 위한 배리어 재료층(995)을 형성한다. 배리어 재료층(995)은, RF 스퍼터링 처리에 의해, Ar/N2 분위기하에서, Ti, Ta 및 Ru 또는 그 질화물을 5 내지 50nm 형성한다.Next, as shown in FIG. 41H, a
다음에, 도 41i에 도시하는 바와 같이, 전해 도금법 또는 스퍼터링법을 이용하여, 배리어 재료층(995)상에 Cu 등으로 이루어지는 전극 재료층(996)을 형성한다. 전극 재료층(996)은, 제 1 층간 절연층(951), 제 1 중간층(952), 제 2 층간 절연층(953), 및 제 2 중간층(954)에 형성되어 있는 개구부를 매입하여 형성한다. 그리고, 전극 재료층(996)의 형성 후, 핫 플레이트나 신터 어닐링 장치를 이용하여, 100℃ 내지 400℃에서 1분 내지 60분 정도 열처리를 행한다.Next, as shown in FIG. 41I, an
다음에, 도 41j에 도시하는 바와 같이, 퇴적한 배리어 재료층(995), 및 전극 재료층(996) 중, 배선 패턴으로서 불필요한 부분를 화학 기계 연마(CMP)법에 의해 제거한다. 이 공정에 의해, 제 1 비어(956)를 통하여 제 1 배선(946)과 접속하는 제 1 접합 전극(941)을 형성한다. 동시에 배리어 메탈층(941A) 및 배리어 메탈층(956A)을 형성한다.Next, as shown in FIG. 41J, portions unnecessary in the deposited
또한, 제 1 층간 절연층(951)의 개구부에 잔존하는 배리어 재료층(995)에 의해, 제 1 보호층(944)을 형성한다.In addition, the first
이상의 공정에 의해 제 1 접합부(940)를 형성한다.The
또한, 상술한 도 41a 내지 도 41j에서 기술한 방법과 같은 공정을 반복하여, 제 2 접합부(960)를 갖는 반도체 장치를 준비한다.In addition, the same process as the method described with reference to FIGS. 41A to 41J is repeated to prepare a semiconductor device having the
그리고, 상술한 방법에 의해 형성한 2장의 반도체 기체의 표면에, 즉, 제 1 접합부(940) 및 제 2 접합부(960)의 표면에, 예를 들면 포름산을 이용한 웨트 처리, 또는, Ar, NH3, H2 등의 플라즈마를 이용한 드라이 처리를 시행한다. 이 처리에 의해, 제 1 접합 전극(941), 및 제 4 접합 전극(961)의 표면의 산화막을 제거하여, 청정한 금속면을 노출시킨다.The wet treatment using formic acid, for example, on the surfaces of the two semiconductor substrates formed by the above-described method, that is, on the surfaces of the
그리고, 도 41k에 도시하는 바와 같이, 2장의 반도체 기체의 표면끼리를 대향시킨 후, 양자를 접촉시킴에 의해, 제 1 접합부(940)와 제 2 접합부(960)의 접합을 행한다.As shown in FIG. 41K, after the surfaces of the two semiconductor substrates are opposed to each other, the
그 때, 핫 플레이트나 RTA 등의 어닐링 장치로, 예를 들면 대기압에서 N2 분위기 또는 진 공중에서, 100℃ 내지 400℃에서 5분 내지 2시간 정도 열처리를 행한다.That performs a time, a hot plate or with an annealing apparatus of the RTA, such as, for example, in a N2 atmosphere or a binary air at atmospheric pressure, at about 100 ℃ to 400
또한, 상술한 제 1 접합부(940)와 제 2 접합부(960)의 접합에서는, 플라즈마 접합법을 이용하여, 제 1 층간 절연층(951)과 제 4 층간 절연층(971)을 접합하여도 좋다. 예를 들면, 제 1 층간 절연층(951)과 제 4 층간 절연층(971)의 표면에, 산소 플라즈마를 조사하여, 표면을 개질한다. 개질 후, 제 1 층간 절연층(951)과 제 4 층간 절연층(971)의 표면을 순수로 30초간 세정하여, 표면에 실란올기(Si-OH기)를 형성한다. 그리고, 실란올기를 형성한 면끼리를 마주 대하게 하여 일부를 꽉 눌러서, 반데르발스력에 의해 접합한다. 그 후, 접합 계면의 밀착력을 더욱 높이기 위해, 예를 들면 400℃/60min의 열처리를 가하여 실란올기끼리를 탈수축합 반응시킨다.In the above-described bonding of the
이상의 공정에 의해, 도 41k에 도시하는 본 실시예의 반도체 장치를 제조할 수 있다.Through the above steps, the semiconductor device of the present embodiment shown in FIG. 41K can be manufactured.
상술한 제조 방법에서는, 배리어 메탈층(956A)과 제 1 보호층(944)을 동시에 형성할 수 있다. 또한, 제 1 보호층(944)을 형성하기 위한 제 1 층간 절연층(951)의 오목부를, 제 1 접합 전극(941)을 형성하기 위한 오목부와 동시에 형성할 수 있다.In the above-described manufacturing method, the
이 때문에, 종래의 반도체 장치의 제조 방법로부터, 보호층을 형성하기 위한 공정을 추가하는 일 없이, 본 실시예의 반도체 장치를 제조할 수 있다.For this reason, the semiconductor device of a present Example can be manufactured from the conventional manufacturing method of a semiconductor device, without adding the process for forming a protective layer.
도 41k에 도시하는 반도체 장치에서, 각 구성의 치수의 한 예를 나타낸다.In the semiconductor device shown in FIG. 41K, an example of the dimension of each configuration is shown.
제 1 배선(946) 또는 제 4 배선(966)과 접속하는 제 1 비어(956), 제 4 비어(976)의 개구 지름은 50nm 내지 200nm이다. 제 1 접합 전극(941), 및 제 4 접합 전극(961)의 개구 지름은 200nm 내지 20㎛이다. 제 1 접합 전극(941), 및 제 4 접합 전극(961)의 주위에 형성되고, 접합부를 둘러싸는 제 1 보호층(944) 및 제 3 보호층(964)의 개구 폭은 10nm 내지 20㎛이다.The opening diameters of the first via 956 and the fourth via 976 connected to the
<4. 반도체 장치의 변형예 1><4. Modification Example 1 of Semiconductor Device>
다음에, 본 실시예의 반도체 장치의 변형예 1에 관해 설명한다. 도 42a 및 도 42b에 변형예 1의 반도체 장치의 구성을 도시한다. 또한, 도 42a 및 도 42b에 도시하는 반도체 장치에서, 상술한 실시 형태의 반도체 장치와 같은 구성에는, 같은 부호를 붙여서 상세한 설명을 생략한다. 또한, 도 42a 및 도 42b에 도시하는 변형예 1의 반도체 장치의 구성은, 보호층 이외의 구성이 상술한 실시 형태의 반도체 장치와 같다. 이 때문에, 보호층 이외의 구성의 설명은 생략한다.Next, Modified Example 1 of the semiconductor device of the present embodiment will be described. 42A and 42B show the configuration of the semiconductor device of Modification Example 1. FIG. In addition, in the semiconductor device shown in FIG. 42A and 42B, the same code | symbol is attached | subjected to the structure similar to the semiconductor device of embodiment mentioned above, and detailed description is abbreviate | omitted. In addition, the structure of the semiconductor device of the
[보호층][Protective layer]
도 42a에 도시하는 바와 같이, 제 1 접합부(940)는, 제 1 접합 전극(941)의 주위에, 제 1 보호층(981)을 구비한다. 그리고, 제 2 접합 전극(942)과 제 3 접합 전극(943)의 주위를 둘러싸는 제 2 보호층(982)을 구비한다.As shown in FIG. 42A, the
또한, 제 1 보호층(981)은, 도 42b에 도시하는 바와 같이, 제 1 접합 전극(941)의 주위를 둘러싸는 일련의 층으로 형성되어 있다. 또한, 제 2 보호층(982)은, 제 2 접합 전극(942) 및 제 3 접합 전극(943)의 주위를 둘러싸는 일련의 층으로 형성되어 있다.In addition, as shown in FIG. 42B, the first
제 1 보호층(981)은, 도 42a에 도시하는 바와 같이, 제 1 층간 절연층(951)에 형성된 오목부의 내면을 피복하는 배리어 메탈층(981B)과, 이 배리어 메탈층(981B) 내를 매입하여 형성된 도체층(981A)으로 이루어진다.As shown in FIG. 42A, the first
그리고, 제 1 보호층(981)은, 제 1 접합부(940)의 접합면(950)으로부터, 제 1 층간 절연층(951)을 관통하여, 제 1 중간층(952)에 달하는 깊이로 형성되어 있다.The first
또한, 제 2 보호층(982)은, 제 1 층간 절연층(951), 제 1 중간층(952), 및 제 2 층간 절연층(953)에 형성된 오목부의 내면을 피복하는 배리어 메탈층(982B)과, 이 배리어 메탈층(982B) 내를 매입하여 형성된 도체층(982A)으로 이루어진다. 그리고, 제 2 보호층(982)은, 제 1 접합부(940)의 접합면(950)으로부터, 제 1 층간 절연층(951), 제 1 중간층(952), 및 제 2 층간 절연층(953)을 관통하여, 제 2 중간층(954)에 달하는 깊이로 형성되어 있다.The second
또한, 도 42a에 도시하는 바와 같이, 제 2 접합부(960)에도 상술한 제 1 보호층(981)과 대응하는 위치에, 제 3 보호층(964)을 구비한다. 그리고, 제 2 보호층(982)과 대응하는 위치에 제 4 보호층(965)을 구비한다. 이들 제 3 보호층(964), 및 제 4 보호층(965)은, 상술한 도 40a 및 도 40b에 도시하는 실시 형태와 같은 구성이다.In addition, as shown to FIG. 42A, the
접합면(950)에서, 제 1 보호층(981)과 제 3 보호층(964)은, 각각 접촉하는 위치에 마련되어 있다. 또한, 접합면(950)에서, 제 2 보호층(982)과 제 4 보호층(965)은, 각각 접촉하는 위치에 마련되어 있다.In the
그리고, 이 구성에 의해, 제 1 보호층(981), 제 3 보호층(964), 제 1 중간층(952), 및 제 3 중간층(972)에 의해 둘러 싸여진 영역 내에, 제 1 접합 전극(941)과 제 4 접합 전극(961)과의 접합부가 형성된다. 또한, 제 2 보호층(982), 제 4 보호층(965), 제 2 중간층(954), 및 제 3 중간층(972)에 의해 둘러 싸여진 영역 내에, 제 2 접합 전극(942)과 제 5 접합 전극(962)과의 접합부, 및 제 3 접합 전극(943)과 제 6 접합 전극(963)과의 접합부가 형성된다.By this configuration, the
제 1 보호층(981) 및 제 2 보호층(982)의 배리어 메탈층(981B, 982B)은, 상술한 각 배리어 메탈층과 같은 재료, 예를 들면, Ta, Ti, Ru, TaN, 또는 TiN 등으로 형성된다. 또한, 제 1 보호층(981) 및 제 2 보호층(982)의 도체층(981A, 982A)은, 상술한 접합 전극과 같은 재료, 예를 들면, Cu로 형성된다.The
[보호층 : 효과][Protective layer: effect]
도 42a에 도시하는 본 실시예의 반도체 장치의 구성에서는, 제 1 보호층(981) 및 제 2 보호층(982)의 접합면에서의 폭을, 제 3 보호층(964) 및 제 4 보호층(965)의 폭보다도 크게 함에 의해, 위치 어긋남에 대한 접속 신뢰성을 확보하고 있다.In the structure of the semiconductor device of the present embodiment shown in FIG. 42A, the width at the bonding surface of the first
제 1 보호층(981) 및 제 2 보호층(982)의 구성은, 예를 들면, 보호층끼리의 접속 신뢰성을 확보하기 위해, 접합하는 한쪽의 보호층의 폭을 다른 쪽의 폭보다 더 크게 하는 경우에 알맞다. 예를 들면, 제 1 보호층(981)의 개구 지름 또는 폭을 30nm 정도 내지 20㎛ 정도로 한 경우에는, 배리어 메탈층(981B, 982B)에 의한 매입만으로는, 절연층에 형성한 개구부를 매입하기가 어렵다. 이 때문에, 개구부의 내면을 배리어 메탈층(981B, 982B)으로 피복한 후, 이 배리어 메탈층(981B, 982B) 내를 도체층(981A. 982A)으로 매입함에 의해, 접합면의 폭이 큰 제 1 보호층(981) 및 제 2 보호층(982)을 구성할 수 있다.In the configuration of the first
<5. 반도체 장치의 변형예 1의 제조 방법><5. Manufacturing Method of Modified Example 1 of Semiconductor Device>
다음에, 상술한 변형예 1의 반도체 장치의 제조 방법을 설명한다. 이하의 제조 방법의 설명에서는, 상술한 도 42a 및 도 42b에 도시하는 제 1 접합 전극(941)과, 제 4 접합 전극(961)과의 접합부 부근의 제조 방법만을 나타내고, 기타 구성의 제조 방법은 설명을 생략한다.Next, the manufacturing method of the semiconductor device of the
우선, 상술한 도 41a 내지 도 41d와 같은 공정에 의해, 제 1 배선(946)이 형성된 제 3 층간 절연층(955)상에, 제 2 중간층(954), 제 2 층간 절연층(953), 제 1 중간층(952), 제 1 층간 절연층(951), 유기 재료층(992), 및 산화물층(993)을 형성한다. 제 2 층간 절연층(953), 제 1 중간층(952), 및 제 1 층간 절연층(951)에는, 제 1 비어(956)를 형성하기 위한 개구부가 형성되어 있다.First, the second
다음에, 도 43a에 도시하는 바와 같이, 산화물층(993)상에, 레지스트층(997)을 형성한다. 레지스트층(997)은, 접합부의 제 1 접합 전극(941), 및 제 1 보호층(981)을 형성하는 위치를 개구하는 패턴으로 형성한다.Next, as shown in FIG. 43A, a resist
다음에, 도 43b에 도시하는 바와 같이, 레지스트층(997)상으로부터 일반적인 마그네트론 방식의 에칭 장치를 이용한 드라이 에칭법에 의해, 산화물층(993)을 에칭한다. 그리고, 에칭한 산화물층(993)을 마스크로 이용하여, 유기 재료층(992)과 제 1 층간 절연층(951)을, 일반적인 마그네트론 방식의 에칭 장치를 이용한 드라이 에칭법에 의해 에칭한다.Next, as shown in FIG. 43B, the
그 후, 예를 들면 산소(O2) 플라즈마를 베이스로 하는 애싱 처리와 유기 아민계의 약액 처리를 시행함에 의해, 산화물층(993), 유기 재료층(992) 및 에칭 처리할 때에 생긴 잔류 부착물을 완전히 제거한다. 또한, 이 처리에 의해, 제 1 배선(946) 상의 제 2 중간층(954)을 동시에 에칭하여, 제 1 배선(946)을 노출시켜서 도 43c에 도시하는 형상으로 한다.Thereafter, for example, an ashing treatment based on an oxygen (O2 ) plasma and an organic amine-based chemical liquid treatment are carried out, so that residual deposits formed during the
다음에, 도 43d에 도시하는 바와 같이, 배리어 메탈층(956A), 및 제 1 보호층(981)의 배리어 메탈층(981B)을 형성하기 위한 배리어 재료층(998)을 형성한다. 배리어 재료층(998)은, RF 스퍼터링 처리에 의해, Ar/N2 분위기하에서, Ti, Ta 및 Ru 또는 그 질화물을 5 내지 50nm 형성한다.Next, as shown in FIG. 43D, a
다음에, 도 43e에 도시하는 바와 같이, 전해 도금법 또는 스퍼터링법을 이용하여, 배리어 재료층(998)상에 Cu 등으로 이루어지는 전극 재료층(999)을 형성한다. 전극 재료층(999)은, 제 1 접합 전극(941)이 되는 개구부, 및 제 1 보호층(981)이 되는 개구부를 매입하여 형성한다. 그리고, 전극 재료층(999)의 형성 후, 핫 플레이트나 신터 어닐링 장치를 이용하여, 100℃ 내지 400℃에서 1분 내지 60분 정도 열처리를 행한다.Next, as shown in Fig. 43E, an
다음에, 도 43f에 도시하는 바와 같이, 퇴적된 배리어 재료층(998), 및 전극 재료층(999) 중, 배선 패턴으로서 불필요한 부분를 화학 기계 연마(CMP)법에 의해 제거한다. 이 공정에 의해, 제 1 비어(956)를 통하여 제 1 배선(946)과 접속하는 제 1 접합 전극(941)을 형성한다. 동시에 배리어 메탈층(941A) 및 배리어 메탈층(956A)을 형성한다.Next, as shown in FIG. 43F, the unnecessary portion of the deposited
또한, 제 1 층간 절연층(951)의 개구부에 잔존하는 배리어 재료층(998)과 전극 재료층(999)으로, 제 1 보호층(981)을 형성한다.The first
이상의 공정에 의해 제 1 접합부(940)을 형성한다.The
또한, 상술한 도 41a 내지 도 41j에서 기술한 방법과 같은 공정을 반복하여, 제 2 접합부(960)를 갖는 반도체 장치를 준비한다.In addition, the same process as the method described with reference to FIGS. 41A to 41J is repeated to prepare a semiconductor device having the
그리고, 상술한 방법에 의해 형성한 2장의 반도체 기체의 표면에, 즉, 제 1 접합부(940) 및 제 2 접합부(960)의 표면에, 예를 들면 포름산을 이용한 웨트 에칭 처리, 또는, Ar, NH3, H2 등의 플라즈마를 이용한 드라이 에칭 처리를 시행한다. 이 처리에 의해, 제 1 접합 전극(941), 및 제 4 접합 전극(961)의 표면의 산화막을 제거하여, 청정한 금속층을 노출시킨다.Then, a wet etching treatment using formic acid, for example, on the surfaces of the two semiconductor substrates formed by the above-described method, that is, on the surfaces of the
그리고, 도 43g에 도시하는 바와 같이, 2장의 반도체 기체의 표면끼리를 대향시킨 후, 양자를 접촉시킴에 의해, 제 1 접합부(940)와 제 2 접합부(960)의 접합을 행한다.As shown in FIG. 43G, after the surfaces of the two semiconductor substrates are opposed to each other, the
그 때, 핫 플레이트나 RTA 등의 어닐링 장치로, 예를 들면 대기압에서 N2 분위기 또는 진공 중에서, 100℃ 내지 400℃에서 5분 내지 2시간 정도 열처리를 행한다.That performs a time, a hot plate or with an annealing apparatus of the RTA, such as, for example, in a N2 atmosphere or a vacuum at atmospheric pressure, at about 100 ℃ to 400
이상의 공정에 의해, 도 43g에 도시하는 본 실시예의 반도체 장치를 제조할 수 있다.Through the above steps, the semiconductor device of the present embodiment shown in FIG. 43G can be manufactured.
<6. 반도체 장치의 변형예 2><6. Modification Example 2 of Semiconductor Device>
다음에, 본 실시예의 반도체 장치의 변형예 2에 관해 설명한다. 도 44에 변형예 2의 반도체 장치의 구성을 도시한다. 또한, 도 44에 도시하는 반도체 장치에서, 상술한 실시 형태의 반도체 장치와 같은 구성에는, 같은 부호를 붙여서 상세한 설명을 생략한다. 또한, 도 44에 도시하는 변형예 2의 반도체 장치의 구성은, 층간 절연층 이외의 구성이 상술한 실시 형태의 반도체 장치와 같다. 이 때문에, 층간 절연층이 외의 구성의 설명은 생략한다.Next, Modified Example 2 of the semiconductor device of the present embodiment will be described. 44 shows the configuration of a semiconductor device of Modification Example 2. FIG. In addition, in the semiconductor device shown in FIG. 44, the same code | symbol is attached | subjected to the structure similar to the semiconductor device of embodiment mentioned above, and detailed description is abbreviate | omitted. In addition, the structure of the semiconductor device of the
[절연층][Insulating layer]
제 1 접합부(940) 및 제 2 접합부(960)는, 복수의 배선층과 절연층이 적층되어 구성되어 있다.The
제 1 접합부(940)의 절연층은, 접합면(950)측으로부터 차례로, 제 1 층간 절연층(983), 및 제 2 층간 절연층(984)으로 구성된다. 또한, 제 2 접합부(960)의 절연층은, 접합면(950)측으로부터 차례로, 제 3 층간 절연층(985), 및 제 4 층간 절연층(986)으로 구성되어 있다.The insulating layer of the
제 1 접합부(940)에서는, 제 2 층간 절연층(984) 내에 제 1 배선(946), 제 2 배선(947), 및 제 3 배선(948)이 형성되어 있다. 그리고, 제 1 층간 절연층(983) 내에, 제 1 접합부(940)의 제 1 접합 전극(941), 제 2 접합 전극(942), 및 제 3 접합 전극(943)이 형성되어 있다. 그리고, 접합면(950)에, 제 1 접합 전극(941), 제 2 접합 전극(942), 및 제 3 접합 전극(943)의 표면이 노출되고, 제 1 층간 절연층(983)과 동일면에 형성되어 있다.In the
또한, 제 1 층간 절연층(983) 내에, 제 1 비어(956), 제 2 비어(957), 및 제 3 비어(958)가 형성되어 있다.In addition, a first via 956, a second via 957, and a third via 958 are formed in the first
또한, 제 1 층간 절연층(983) 내에, 제 1 접합 전극(941)의 주위를 둘러싸는 제 1 보호층(944)과, 제 2 접합 전극(942)과 제 3 접합 전극(943)의 주위를 둘러싸는 제 2 보호층(945)을 구비한다.In the first
제 2 접합부(960)에서는, 제 4 층간 절연층(986) 내에 제 4 배선(966), 제 5 배선(967), 및 제 6 배선(968)이 형성되어 있다. 그리고, 제 3 층간 절연층(985) 내에, 제 4 접합 전극(961), 제 5 접합 전극(962), 및 제 6 접합 전극(963)이 형성되어 있다. 그리고, 접합면(950)에 제 4 접합 전극(961), 제 5 접합 전극(962), 및 제 6 접합 전극(963)의 표면이 노출되고, 제 3 층간 절연층(985)과 동일면에 형성되어 있다.In the
또한, 제 3 층간 절연층(985) 내에, 제 4 비어(976), 제 5 비어(977), 및 제 6 비어(978)가 형성되어 있다.In addition, a fourth via 976, a fifth via 997, and a sixth via 978 are formed in the third
또한, 제 3 층간 절연층(985) 내에, 제 4 접합 전극(961)의 주위를 둘러싸는 제 3 보호층(964)과, 제 5 접합 전극(962)과 제 6 접합 전극(963)의 주위를 둘러싸는 제 4 보호층(965)을 구비한다.In addition, in the third
제 1 층간 절연층(983), 및 제 3 층간 절연층(985)은, 상술한 실시 형태의 반도체 장치의 중간층과 같은 재료에 의해 구성한다. 예를 들면, 일반적으로 반도체 장치에 배선 등을 구성하는 금속 재료의 확산 방지층으로서 사용되는 재료에 의해 구성된다. 또한, 제 1 층간 절연층(983), 및 제 3 층간 절연층(985)은 층간 절연층에 함유되는 물(970)을 투과하기 어려운 고밀도 절연층이다. 이와 같은, 확산 방지층이 되는 고밀도 절연층으로서는, 예를 들면, 스핀 코트법이나 CVD법으로 성막된 비유전율 4 내지 7의 P-SiN이나, 이것에 C가 함유된 비유전율 4 이하의 SiCN 등으로 구성한다.The first
또한, 제 2 층간 절연층(984), 및 제 4 층간 절연층(986)은, 상술한 실시 형태의 반도체 장치의 층간 절연층과 같은 재료에 의해 구성한다. 예를 들면, SiO2,및 불소 함유 산화 실리콘(FSG), 폴리아릴에테르(PAE)로 대표되는 유기 실리콘계의 폴리머, 하이드로겐실세스퀴옥산(HSQ), 및 메틸실세스퀴옥산(MSQ)로 대표되는 무기계 재료 등, 비유전율 2.7 정도 또는 그 이하의 저유전율(low-k) 재료에 의해 구성한다.The second
상술한 변형예 2의 반도체 장치의 구성에 의하면, 접합면(950)이 되는 제 1 층간 절연층(983), 및 제 3 층간 절연층(985)이 물을 투과하기 어려운 층이다. 이 때문에, 제 1 접합 전극(941)과 제 4 접합 전극(961)과의 접합부에서, 제 4 접합 전극(961)과 제 1 층간 절연층(983)과의 접촉부(969)에의 물(970)의 접촉을 억제할 수 있다. 마찬가지로, 제 2 접합 전극(942)과 제 5 접합 전극(962)과의 접합부에서, 제 2 접합 전극(942)과 제 4 층간 절연층(971)과의 접촉부(949)에의 물(970)의 접촉을 억제할 수 있다.According to the structure of the semiconductor device of the
또한, 제 1 보호층(944), 제 2 보호층(945), 제 3 보호층(964), 및 제 4 보호층(965)을 구비함에 의해, 플라즈마 접합할 때에 접합면에 발생하는 물이나 층간 절연층 내에 포함되는 물의 전극 접합부에의 이동를 억제할 수 있다. 이 때문에, 접합 전극의 부식을 억제할 수 있고, 양호한 전기 특성과 신뢰성을 갖는 반도체 장치를 구성할 수 있다.Further, by providing the first
[제조 방법][Manufacturing method]
도 44에 도시하는 변형예 2의 반도체 장치는, 상술한 실시 형태의 반도체 장치의 제조 방법에서, 적층하는 층간 절연층의 재료와, 층간 절연층의 에칭 조건을 변경함에 의해 제조할 수 있다. 예를 들면, 상술한 도 41a 및 도 41b에 도시하는 층간 절연층과 중간층을 형성하는 공정에서, 단일층의 층간 절연층을 형성한다. 그리고, 에칭하는 공정에서, 에칭 시간을 제어함에 의해, 층간 절연층의 소망하는 깊이에 오목부를 형성한다. 이와 같이 제조 공정을 변경함에 의해, 상술한 실시 형태의 반도체 장치와 같은 방법로, 변형예 2의 반도체 장치를 제조할 수 있다.The semiconductor device of the
<7. 전자 기기의 실시 형태><7. Embodiment of electronic device>
상술한 실시 형태의 반도체 장치는, 2개의 반도체 부재를 맞붙여서 배선 접합을 행하는 임의의 전자 기기, 예를 들면, 고체 촬상 장치, 반도체 메모리, 반도체 로직 디바이스(IC 등)에 적용 가능하다.The semiconductor device of the above-described embodiment is applicable to any electronic device that performs wiring bonding by bonding two semiconductor members together, for example, a solid-state imaging device, a semiconductor memory, and a semiconductor logic device (IC, etc.).
제 5의 실시예Fifth Embodiment
≪실시예의 반도체 장치를 이용한 전자 기기의 한 예≫`` Example of Electronic Device Using Semiconductor Device of Example ''
상술한 실시 형태에서 설명한 본 기술에 관한 고체 촬상 장치 등의 반도체 장치는, 예를 들면 디지털 카메라나 비디오 카메라 등의 카메라 시스템, 나아가서는 촬상 기능를 갖는 휴대전화, 또는 촬상 기능를 구비한 다른 기기 등의 전자 기기에 적용할 수 있다.A semiconductor device such as a solid-state imaging device according to the present technology described in the above-described embodiments is, for example, a camera system such as a digital camera or a video camera, or an electronic device such as a mobile phone having an imaging function or another device having an imaging function. Applicable to the device.
도 45는, 본 기술에 관한 전자 기기의 한 예로서, 고체 촬상 장치를 이용한 카메라의 구성도를 도시한다. 본 실시예예에 관한 카메라는, 정지화상 또는 동화 촬영 가능한 비디오 카메라를 예로 한 것이다. 이 카메라(90)는, 고체 촬상 장치(91)와, 고체 촬상 장치(91)의 수광 센서부에 입사광을 유도하는 광학계(93)와, 셔터 장치(94)와, 고체 촬상 장치(91)를 구동하는 구동 회로(95)와, 고체 촬상 장치(91)의 출력 신호를 처리하는 신호 처리 회로(96)를 갖는다.45 is a configuration diagram of a camera using a solid-state imaging device as an example of the electronic apparatus according to the present technology. The camera according to the present embodiment is an example of a video camera capable of capturing still images or moving images. The
고체 촬상 장치(91)는, 상술한 실시예 및 변형예에서 설명한 구성의 반도체 장치 중의 어느 것이라도 적용하여 구성된다. 광학 렌즈를 포함하는 광학계(93)는, 피사체로부터의 상광(image light), 즉, 입사광을 고체 촬상 장치(91)의 촬상면상에 결상시킨다. 이에 의해, 고체 촬상 장치(91) 내에, 일정 기간 신호 전하가 축적된다. 이와 같은 광학계(93)는, 복수의 광학 렌즈로 구성된 광학 렌즈계로 하여도 좋다. 셔터 장치(94)는, 고체 촬상 장치(91)에의 광조사 기간 및 차광 기간을 제어한다. 구동 회로(95)는, 고체 촬상 장치(91) 및 셔터 장치(94)에 구동 신호를 공급하고, 공급한 구동 신호 또는 타이밍 신호에 의해, 고체 촬상 장치(91)의 신호 처리 회로(96)에의 신호 출력 동작의 제어, 및 셔터 장치(94)의 셔터 동작을 제어한다. 즉, 구동 회로(95)는, 구동 신호 또는 타이밍 신호의 공급에 의해, 고체 촬상 장치(91)로부터 신호 처리 회로(96)에의 신호 전송 동작을 행한다. 신호 처리 회로(96)는, 고체 촬상 장치(91)로부터 전송된 신호에 대해, 각종의 신호 처리를 행한다. 신호 처리가 행하여진 영상 신호는, 메모리 등의 기억 매체에 기억되거나 또는 모니터에 출력된다.The solid-
본 발명은 공개된 일본 특허청에 2011년 7월 5일, 2011년 8월 1일, 2011년 8월 4일, 2011년 9월 27일 및 2012년 1월 16일에 출원되어 우선권 주장된 일본 특허 출원 JP2011-148883, JP2011-168021, JP2011-170666, JP2011-210142 및 JP2012-006356과 관계된 주제를 포함하며, 이는 참조로서 전체 내용에 포함된다.The present invention has been filed with the published Japanese Patent Office on July 5, 2011, August 1, 2011, August 4, 2011, September 27, 2011, and January 16, 2012, and claimed priority. The subject matter relates to applications JP2011-148883, JP2011-168021, JP2011-170666, JP2011-210142 and JP2012-006356, which are incorporated by reference in their entirety.
다양한 수정, 조합, 하위 조합 및 변경은 관련 기술분야의 기술자의 설계의 요구 및 첨부된 청구항과 그 균등물 범위 내에 있는 다른 요인에 의하여 발생할 수 있음을 이해해야 한다.It should be understood that various modifications, combinations, subcombinations, and alterations may occur depending on the design requirements of the artisan in the relevant art and other factors within the scope of the appended claims and their equivalents.
| Application Number | Priority Date | Filing Date | Title |
|---|---|---|---|
| JPJP-P-2011-148883 | 2011-07-05 | ||
| JP2011148883 | 2011-07-05 | ||
| JP2011168021AJP5982748B2 (en) | 2011-08-01 | 2011-08-01 | SEMICONDUCTOR DEVICE, SEMICONDUCTOR DEVICE MANUFACTURING METHOD, AND ELECTRONIC DEVICE |
| JPJP-P-2011-168021 | 2011-08-01 | ||
| JPJP-P-2011-170666 | 2011-08-04 | ||
| JP2011170666AJP5803398B2 (en) | 2011-08-04 | 2011-08-04 | SEMICONDUCTOR DEVICE, SEMICONDUCTOR DEVICE MANUFACTURING METHOD, AND ELECTRONIC DEVICE |
| JP2011210142AJP6127360B2 (en) | 2011-09-27 | 2011-09-27 | Semiconductor device and manufacturing method of semiconductor device |
| JPJP-P-2011-210142 | 2011-09-27 | ||
| JP2012006356AJP6031765B2 (en) | 2011-07-05 | 2012-01-16 | SEMICONDUCTOR DEVICE, ELECTRONIC DEVICE, AND METHOD FOR MANUFACTURING SEMICONDUCTOR DEVICE |
| JPJP-P-2012-006356 | 2012-01-16 |
| Application Number | Title | Priority Date | Filing Date |
|---|---|---|---|
| KR1020190069266ADivisionKR20190071647A (en) | 2011-07-05 | 2019-06-12 | Semiconductor device, fabrication method for a semiconductor device and electronic apparatus |
| Publication Number | Publication Date |
|---|---|
| KR20130007972Atrue KR20130007972A (en) | 2013-01-21 |
| KR102030852B1 KR102030852B1 (en) | 2019-10-10 |
| Application Number | Title | Priority Date | Filing Date |
|---|---|---|---|
| KR1020120069684AActiveKR102030852B1 (en) | 2011-07-05 | 2012-06-28 | Semiconductor device, fabrication method for a semiconductor device and electronic apparatus |
| KR1020190069266ACeasedKR20190071647A (en) | 2011-07-05 | 2019-06-12 | Semiconductor device, fabrication method for a semiconductor device and electronic apparatus |
| KR1020200069977AActiveKR102298787B1 (en) | 2011-07-05 | 2020-06-10 | Semiconductor device, fabrication method for a semiconductor device and electronic apparatus |
| KR1020210112763AActiveKR102439964B1 (en) | 2011-07-05 | 2021-08-26 | Semiconductor device, fabrication method for a semiconductor device and electronic apparatus |
| KR1020220109225AActiveKR102673911B1 (en) | 2011-07-05 | 2022-08-30 | Semiconductor device, fabrication method for a semiconductor device and electronic device |
| KR1020240073260APendingKR20240085908A (en) | 2011-07-05 | 2024-06-04 | Semiconductor device, fabrication method for a semiconductor device and electronic device |
| Application Number | Title | Priority Date | Filing Date |
|---|---|---|---|
| KR1020190069266ACeasedKR20190071647A (en) | 2011-07-05 | 2019-06-12 | Semiconductor device, fabrication method for a semiconductor device and electronic apparatus |
| KR1020200069977AActiveKR102298787B1 (en) | 2011-07-05 | 2020-06-10 | Semiconductor device, fabrication method for a semiconductor device and electronic apparatus |
| KR1020210112763AActiveKR102439964B1 (en) | 2011-07-05 | 2021-08-26 | Semiconductor device, fabrication method for a semiconductor device and electronic apparatus |
| KR1020220109225AActiveKR102673911B1 (en) | 2011-07-05 | 2022-08-30 | Semiconductor device, fabrication method for a semiconductor device and electronic device |
| KR1020240073260APendingKR20240085908A (en) | 2011-07-05 | 2024-06-04 | Semiconductor device, fabrication method for a semiconductor device and electronic device |
| Country | Link |
|---|---|
| KR (6) | KR102030852B1 (en) |
| TW (1) | TWI495041B (en) |
| Publication number | Priority date | Publication date | Assignee | Title |
|---|---|---|---|---|
| KR20150032373A (en)* | 2013-09-16 | 2015-03-26 | 삼성전자주식회사 | Stack type image sensor and fabrication method thereof |
| KR20160057089A (en)* | 2014-11-13 | 2016-05-23 | 삼성전자주식회사 | Semiconductor device and method of manufacturing the same |
| KR20220036996A (en)* | 2017-10-06 | 2022-03-23 | 인벤사스 본딩 테크놀로지스 인코포레이티드 | Diffusion barrier collar for interconnects |
| US11742374B2 (en) | 2018-10-05 | 2023-08-29 | Sony Semiconductor Solutions Corporation | Semiconductor device, method of manufacturing semiconductor device, and imaging element |
| US11798965B2 (en) | 2017-12-20 | 2023-10-24 | Sony Semiconductor Solutions Corporation | Solid-state imaging device and method for manufacturing the same |
| US12087795B2 (en) | 2019-05-20 | 2024-09-10 | Sony Semiconductor Solutions Corporation | Solid-state imaging device and electronic apparatus |
| US12087796B2 (en) | 2018-03-08 | 2024-09-10 | Sony Semiconductor Solutions Corporation | Imaging device |
| Publication number | Priority date | Publication date | Assignee | Title |
|---|---|---|---|---|
| US9984191B2 (en)* | 2014-08-29 | 2018-05-29 | Taiwan Semiconductor Manufacturing Company | Cell layout and structure |
| JP2019054153A (en)* | 2017-09-15 | 2019-04-04 | 東芝メモリ株式会社 | Semiconductor device manufacturing method |
| TWI850281B (en) | 2018-12-27 | 2024-08-01 | 日商索尼半導體解決方案公司 | Semiconductor components |
| US11456328B2 (en)* | 2019-10-09 | 2022-09-27 | Omnivision Technologies, Inc. | Stack chip air gap heat insulator |
| JP7603382B2 (en)* | 2019-11-18 | 2024-12-20 | ソニーセミコンダクタソリューションズ株式会社 | Image pickup device and method for manufacturing image pickup device |
| US12255110B2 (en) | 2021-04-14 | 2025-03-18 | Samsung Electronics Co., Ltd. | Methods and systems for real-time quality control of a film in a spin coating process |
| KR20220170132A (en) | 2021-06-22 | 2022-12-29 | 삼성전자주식회사 | Image sensor |
| US20240297193A1 (en)* | 2023-03-01 | 2024-09-05 | Visera Technologies Company Limited | Image sensor and method for forming the same |
| Publication number | Priority date | Publication date | Assignee | Title |
|---|---|---|---|---|
| JPH06120262A (en)* | 1992-10-06 | 1994-04-28 | Matsushita Electric Ind Co Ltd | Charge transfer device |
| JP2000012540A (en) | 1998-06-18 | 2000-01-14 | Sony Corp | Formation of groove wiring |
| JP2000299379A (en) | 1999-04-13 | 2000-10-24 | Tadatomo Suga | Semiconductor device and manufacturing method thereof |
| JP2006191081A (en) | 2004-12-30 | 2006-07-20 | Magnachip Semiconductor Ltd | Image sensor with extended light receiving area and method of manufacturing the same |
| KR20090038292A (en)* | 2007-10-15 | 2009-04-20 | 삼성전자주식회사 | Semiconductor device with integrated crack stop structure |
| JP2010129693A (en)* | 2008-11-26 | 2010-06-10 | Fujitsu Microelectronics Ltd | Semiconductor device and method of manufacturing same |
| JP2011044655A (en)* | 2009-08-24 | 2011-03-03 | Sony Corp | Semiconductor device and manufacturing method of the semiconductor device |
| JP2011049270A (en)* | 2009-08-26 | 2011-03-10 | Sony Corp | Method of manufacturing semiconductor device, and semiconductor device |
| JP2011071958A (en)* | 2009-08-28 | 2011-04-07 | Sony Corp | Imaging device and camera system |
| Publication number | Priority date | Publication date | Assignee | Title |
|---|---|---|---|---|
| US6734568B2 (en)* | 2001-08-29 | 2004-05-11 | Kabushiki Kaisha Toshiba | Semiconductor device and method of manufacturing the same |
| JP2003091391A (en)* | 2001-09-17 | 2003-03-28 | Canon Inc | Peripheral device control method, program for executing the method, computer for executing the method, peripheral device, and computer system |
| US6661098B2 (en)* | 2002-01-18 | 2003-12-09 | International Business Machines Corporation | High density area array solder microjoining interconnect structure and fabrication method |
| US7491582B2 (en)* | 2004-08-31 | 2009-02-17 | Seiko Epson Corporation | Method for manufacturing semiconductor device and semiconductor device |
| US7767493B2 (en)* | 2005-06-14 | 2010-08-03 | John Trezza | Post & penetration interconnection |
| US7381635B2 (en)* | 2005-07-18 | 2008-06-03 | International Business Machines Corporation | Method and structure for reduction of soft error rates in integrated circuits |
| US7439548B2 (en)* | 2006-08-11 | 2008-10-21 | Bridgelux, Inc | Surface mountable chip |
| US8482132B2 (en)* | 2009-10-08 | 2013-07-09 | International Business Machines Corporation | Pad bonding employing a self-aligned plated liner for adhesion enhancement |
| EP2518768B1 (en) | 2009-12-26 | 2019-03-20 | Canon Kabushiki Kaisha | Solid-state imaging device and imaging system |
| US20110156195A1 (en) | 2009-12-31 | 2011-06-30 | Tivarus Cristian A | Interwafer interconnects for stacked CMOS image sensors |
| JP5451547B2 (en) | 2010-07-09 | 2014-03-26 | キヤノン株式会社 | Solid-state imaging device |
| Publication number | Priority date | Publication date | Assignee | Title |
|---|---|---|---|---|
| JPH06120262A (en)* | 1992-10-06 | 1994-04-28 | Matsushita Electric Ind Co Ltd | Charge transfer device |
| JP2000012540A (en) | 1998-06-18 | 2000-01-14 | Sony Corp | Formation of groove wiring |
| JP2000299379A (en) | 1999-04-13 | 2000-10-24 | Tadatomo Suga | Semiconductor device and manufacturing method thereof |
| JP2006191081A (en) | 2004-12-30 | 2006-07-20 | Magnachip Semiconductor Ltd | Image sensor with extended light receiving area and method of manufacturing the same |
| KR20090038292A (en)* | 2007-10-15 | 2009-04-20 | 삼성전자주식회사 | Semiconductor device with integrated crack stop structure |
| JP2010129693A (en)* | 2008-11-26 | 2010-06-10 | Fujitsu Microelectronics Ltd | Semiconductor device and method of manufacturing same |
| JP2011044655A (en)* | 2009-08-24 | 2011-03-03 | Sony Corp | Semiconductor device and manufacturing method of the semiconductor device |
| JP2011049270A (en)* | 2009-08-26 | 2011-03-10 | Sony Corp | Method of manufacturing semiconductor device, and semiconductor device |
| JP2011071958A (en)* | 2009-08-28 | 2011-04-07 | Sony Corp | Imaging device and camera system |
| Publication number | Priority date | Publication date | Assignee | Title |
|---|---|---|---|---|
| KR20150032373A (en)* | 2013-09-16 | 2015-03-26 | 삼성전자주식회사 | Stack type image sensor and fabrication method thereof |
| KR20160057089A (en)* | 2014-11-13 | 2016-05-23 | 삼성전자주식회사 | Semiconductor device and method of manufacturing the same |
| KR20220036996A (en)* | 2017-10-06 | 2022-03-23 | 인벤사스 본딩 테크놀로지스 인코포레이티드 | Diffusion barrier collar for interconnects |
| US11694925B2 (en) | 2017-10-06 | 2023-07-04 | Adeia Semiconductor Bonding Technologies Inc. | Diffusion barrier collar for interconnects |
| US12198981B2 (en) | 2017-10-06 | 2025-01-14 | Adeia Semiconductor Bonding Technologies Inc. | Diffusion barrier collar for interconnects |
| US12322650B2 (en) | 2017-10-06 | 2025-06-03 | Adeia Semiconductor Bonding Technologies Inc. | Diffusion barrier for interconnects |
| US11798965B2 (en) | 2017-12-20 | 2023-10-24 | Sony Semiconductor Solutions Corporation | Solid-state imaging device and method for manufacturing the same |
| US12087796B2 (en) | 2018-03-08 | 2024-09-10 | Sony Semiconductor Solutions Corporation | Imaging device |
| US11742374B2 (en) | 2018-10-05 | 2023-08-29 | Sony Semiconductor Solutions Corporation | Semiconductor device, method of manufacturing semiconductor device, and imaging element |
| US12199123B2 (en) | 2018-10-05 | 2025-01-14 | Sony Semiconductor Solutions Corporation | Semiconductor device including a structure for higher integration |
| US12087795B2 (en) | 2019-05-20 | 2024-09-10 | Sony Semiconductor Solutions Corporation | Solid-state imaging device and electronic apparatus |
| Publication number | Publication date |
|---|---|
| KR20240085908A (en) | 2024-06-17 |
| KR102439964B1 (en) | 2022-09-05 |
| KR102673911B1 (en) | 2024-06-11 |
| KR102030852B1 (en) | 2019-10-10 |
| KR20200070189A (en) | 2020-06-17 |
| KR20190071647A (en) | 2019-06-24 |
| TWI495041B (en) | 2015-08-01 |
| KR20210107592A (en) | 2021-09-01 |
| KR102298787B1 (en) | 2021-09-07 |
| TW201304064A (en) | 2013-01-16 |
| KR20220126271A (en) | 2022-09-15 |
| Publication | Publication Date | Title |
|---|---|---|
| KR102439964B1 (en) | Semiconductor device, fabrication method for a semiconductor device and electronic apparatus | |
| US11569123B2 (en) | Semiconductor device, fabrication method for a semiconductor device and electronic apparatus | |
| JP6031765B2 (en) | SEMICONDUCTOR DEVICE, ELECTRONIC DEVICE, AND METHOD FOR MANUFACTURING SEMICONDUCTOR DEVICE | |
| US10777600B2 (en) | Semiconductor device, manufacturing method thereof, and electronic apparatus | |
| JP5982748B2 (en) | SEMICONDUCTOR DEVICE, SEMICONDUCTOR DEVICE MANUFACTURING METHOD, AND ELECTRONIC DEVICE | |
| TWI871680B (en) | Camera equipment and electronic equipment | |
| JP5803398B2 (en) | SEMICONDUCTOR DEVICE, SEMICONDUCTOR DEVICE MANUFACTURING METHOD, AND ELECTRONIC DEVICE | |
| JP2012094720A (en) | Solid state image pick up device, semiconductor device, method for manufacturing solid state image pick up device and semiconductor device, and electronic apparatus | |
| KR20110107747A (en) | Semiconductor device, manufacturing method of semiconductor device, design method of semiconductor device, and electronic device | |
| JP2012204501A (en) | Semiconductor device, electronic device, and semiconductor device manufacturing method |
| Date | Code | Title | Description |
|---|---|---|---|
| PA0109 | Patent application | Patent event code:PA01091R01D Comment text:Patent Application Patent event date:20120628 | |
| PG1501 | Laying open of application | ||
| A201 | Request for examination | ||
| PA0201 | Request for examination | Patent event code:PA02012R01D Patent event date:20170525 Comment text:Request for Examination of Application Patent event code:PA02011R01I Patent event date:20120628 Comment text:Patent Application | |
| E902 | Notification of reason for refusal | ||
| PE0902 | Notice of grounds for rejection | Comment text:Notification of reason for refusal Patent event date:20181213 Patent event code:PE09021S01D | |
| AMND | Amendment | ||
| E601 | Decision to refuse application | ||
| PE0601 | Decision on rejection of patent | Patent event date:20190514 Comment text:Decision to Refuse Application Patent event code:PE06012S01D Patent event date:20181213 Comment text:Notification of reason for refusal Patent event code:PE06011S01I | |
| A107 | Divisional application of patent | ||
| AMND | Amendment | ||
| PA0107 | Divisional application | Comment text:Divisional Application of Patent Patent event date:20190612 Patent event code:PA01071R01D | |
| PX0901 | Re-examination | Patent event code:PX09011S01I Patent event date:20190514 Comment text:Decision to Refuse Application Patent event code:PX09012R01I Patent event date:20190412 Comment text:Amendment to Specification, etc. | |
| PX0701 | Decision of registration after re-examination | Patent event date:20190702 Comment text:Decision to Grant Registration Patent event code:PX07013S01D Patent event date:20190612 Comment text:Amendment to Specification, etc. Patent event code:PX07012R01I Patent event date:20190514 Comment text:Decision to Refuse Application Patent event code:PX07011S01I Patent event date:20190412 Comment text:Amendment to Specification, etc. Patent event code:PX07012R01I | |
| X701 | Decision to grant (after re-examination) | ||
| GRNT | Written decision to grant | ||
| PR0701 | Registration of establishment | Comment text:Registration of Establishment Patent event date:20191002 Patent event code:PR07011E01D | |
| PR1002 | Payment of registration fee | Payment date:20191002 End annual number:3 Start annual number:1 | |
| PG1601 | Publication of registration | ||
| PR1001 | Payment of annual fee | Payment date:20220922 Start annual number:4 End annual number:4 | |
| PR1001 | Payment of annual fee | Payment date:20230921 Start annual number:5 End annual number:5 | |
| PR1001 | Payment of annual fee |