









본 발명은 환자 단말 및 의사 단말과 연결되는 서버에서 의료기관 서버와 연동하여, 상기 환자 단말로부터 전송되는 환자상태 측정 데이터에 대응하여 생성되는 환자 관리정보와, 의사 단말로부터 전송되는 전문 건강 관리정보를 포함하는 의료정보에 대한 커뮤니케이션 서비스를 제공하는 것이다.
The present invention includes a patient management information generated in response to the patient state measurement data transmitted from the patient terminal, and the professional health management information transmitted from the doctor terminal in conjunction with the medical institution server in the server connected to the patient terminal and the doctor terminal It is to provide a communication service for medical information.
의료 환경이 IT와 접목되면서 현재 U-Health와 SaaS형 SCM체계가 적용된 서비스는 제공되지 않고 있다. 또한 이와 관련된 SaaS형 서비스가 전무한 상태이다.As the medical environment is integrated with IT, services with U-Health and SaaS type SCM systems are not provided. In addition, there is no SaaS type service related to this.
또한, 세계적으로 건강에 대한 관심이 증가하면서 흡연인구가 감소하고 건강을 위한 지출이 증가하고 있으며, 고령화가 진행되어 일상적인 건강관리를 받아야 하는 계층도 꾸준히 증가하고 있는 추세이다.In addition, as the interest in health increases worldwide, the smoking population decreases and the expenditure for health increases, and the aging population continues to increase the number of people who need to receive daily health care.
또한, 육체적인 건강과 더불어 정신적 건강에 대한 관심도 증가하고, 정신 상담에 대한 거부감이 줄어들고 있으며, 이에 따라 건강 관리 시장도 확대되고 있다.
In addition, as well as physical health, attention to mental health is increasing, the rejection of mental counseling is decreasing, and the health care market is expanding accordingly.
한편, 과거에는 아플 때만 주로 병원을 이용했으나, 최근 건강관리의 중요성을 인식하기 시작하면서 아프지 않아도 정기적으로 병원에 가서 각종 검사를 받게 되었다. 예컨대, 암을 초기에 발견하는 것이 치료 가능성 여부, 나아가 삶과 죽음을 가를 수 있다는 사실을 많은 사람들이 알게 되었기 때문에 한 발짝 더 나아가 암을 예방하기 위해 어떤 음식을 먹고 어떤 생활습관을 고쳐야 하는 지에 대한 관삼을 갖게 되었다.
Meanwhile, in the past, the hospital was mainly used only when sick, but recently began to recognize the importance of health care, even if you do not get sick regularly went to the hospital to undergo various tests. For example, because many people have found that early detection of cancer can be curable, and can even kill life and death, take a step further and see what foods and lifestyles you need to change to prevent cancer. I have gwansam.
상기와 같은 문제점을 해소하기 위한 본 발명의 목적은, 환자 단말 및 의사 단말과 연결되는 서버에서 의료기관 서버와 연동하여, 상기 환자 단말로부터 전송되는 환자상태 측정 데이터에 대응하여 생성되는 환자 관리정보와, 의사 단말로부터 전송되는 전문 건강 관리정보를 포함하는 의료정보에 대한 커뮤니케이션 서비스 제공 방법 및 시스템을 제공함에 있다.
An object of the present invention for solving the above problems, the patient management information generated in response to the patient status measurement data transmitted from the patient terminal in conjunction with the medical institution server in the server connected to the patient terminal and the doctor terminal, The present invention provides a method and system for providing a communication service for medical information including professional health care information transmitted from a doctor terminal.
본 발명에 따른 환자 단말 및 의사 단말과 연결되는 서버에서 의료기관 서버와 연동하여, 상기 환자 단말로부터 전송되는 환자상태 측정 데이터를 이용하여 상기 환자상태 측정 데이터에 기반하는 의료정보 커뮤니케이션 서비스를 제공하는 방법은, 의료기관의 환자 진료정보를 기반으로 환자별 및 의사별 환자관리 기준 데이터 및 관리 메시지 데이터를 포함하는 의료정보 데이터베이스를 구축하는 단계와, 네트워크를 통해 접속한 환자 단말 또는 의사 단말로부터 환자 정보 또는 의사 정보를 포함하는 의료정보 커뮤니케이션 서비스 제공 요청 정보 수신시, 상기 의료정보 데이터베이스를 통해 환자 정보 또는 의사 의사를 인증하고, 인증된 환자 또는 의사에 대응하는 환자 고유 계정 또는 의사 고유 계정을 자동으로 생성하여 상기 의료정보 데이터베이스에 저장하는 단계와, 의료정보 데이터베이스에 포함되는 환자의 주치의 정보와 의사의 담당환자 정보를 확인하고 환자 고유 계정 및 의사 고유 계정을 매칭하여 환자 고유 계정에 대응하는 의사 고유 계정을 상기 환자 고유 계정의 서브 계정으로 연결하고, 의사 고유 계정에 대응하는 환자 고유 계정을 상기 의사 고유 계정의 서브 계정으로 연결하는 단계와, 환자 단말로부터 환자용 의료기기에서 측정된 환자상태 측정 데이터가 수신되면, 상기 수신된 환자상태 측정 데이터에 대응하는 환자별 및 의사별 환자관리 기준 데이터를 확인하는 단계와, 상기 환자상태 측정 데이터를 상기 확인된 환자별 및 의사별 환자관리 기준 데이터와 비교하여 상기 환자별 및 의사별 환자관리 기준 데이터에 부합되는지 판단하는 단계와, 부합되는 경우, 상기 환자상태 측정 데이터에 대응하는 관리 메시지 데이터를 이용하여 환자 관리정보를 생성하는 단계와, 상기 생성된 환자 관리정보를 상기 환자 고유 계정의 서브계정과 환자 고유계정에 대응하는 의사 고유계정의 서브계정에 등록하는 단계와, 단말과 연결하여 상기 환자 관리정보가 등록된 계정정보를 동기화 처리하거나, 상기 환자 관리정보의 계정 등록 내역을 단말로 전송하는 단계를 포함한다.
In the server connected to the patient terminal and the doctor terminal according to the present invention in conjunction with the medical institution server, the method for providing a medical information communication service based on the patient state measurement data using the patient state measurement data transmitted from the patient terminal And establishing a medical information database including patient management reference data and management message data for each patient and doctor based on patient medical information of a medical institution, and patient information or doctor information from a patient terminal or a doctor terminal connected through a network. Upon receiving the medical information communication service providing request information including the information, authenticates the patient information or the doctor through the medical information database, and automatically generates a patient unique account or doctor unique account corresponding to the authenticated patient or doctor, Information data Storing the data in the database, and checking the doctor's doctor information and the doctor's patient information included in the medical information database, and matching the patient's unique account and the doctor's unique account to the doctor's unique account corresponding to the patient's unique account. Connecting to the sub-account of the patient-specific account corresponding to the doctor-specific account to the sub-account of the doctor-specific account, and when the patient state measurement data measured in the patient medical device is received from the patient terminal, Confirming patient management reference data for each patient and doctor corresponding to patient condition measurement data, and comparing the patient condition measurement data with the confirmed patient management doctor data for each patient and doctor Determining whether it meets the management criteria data, and if so, Generating patient management information using management message data corresponding to status measurement data, and registering the generated patient management information in a subaccount of the patient-specific account and a subaccount of a doctor-specific account corresponding to the patient-specific account; And synchronizing the account information registered with the patient management information by connecting to the terminal or transmitting the account registration details of the patient management information to the terminal.
본 발명에 따르면, 상기 의료정보 커뮤니케이션 서비스 제공방법은, 상기 환자상태 측정 데이터가 환자별 및 의사별 환자관리 기준 데이터에 부합되지 않는 경우, 상기 환자상태 측정 데이터를 상기 환자 고유 계정에 대응하는 의사 고유 계정의 서브계정에 등록하는 단계와, 의사 단말로부터 상기 의사 고유 계정에 등록된 환자상태 측정 데이터에 대응하는 전문 건강 관리정보를 수신하는 단계와, 상기 수신된 전문 건강 관리정보를 상기 의사 고유 계정에 대응하는 상기 환자 고유 계정의 서브계정에 등록하는 단계를 포함할 수 있다.
According to the present invention, the medical information communication service providing method, if the patient condition measurement data does not meet patient-specific and doctor-specific patient management standard data, the patient state measurement data corresponding to the patient-specific account unique to the doctor Registering in the sub-account of the account; receiving, from the doctor terminal, professional health care information corresponding to the patient condition measurement data registered in the doctor-specific account; and receiving the received professional health care information into the doctor-specific account. And registering in a subaccount of the corresponding patient unique account.
본 발명에 따르면, 상기 의료정보 커뮤니케이션 서비스 제공방법은, 상기 의사 단말로부터 상기 의사 고유 계정에 등록된 환자상태 측정 데이터에 대응하는 전문 건강 관리정보가 수신되는 경우, 상기 전문 건강 관리정보에 타 의사의 소견 요청정보가 포함되어 있는지 확인하는 단계와, 상기 타 의사의 소견 요청정보가 포함되어 있는 경우, 상기 타 의사에 대응하는 의사 고유 계정을 의료정보 데이터베이스로부터 확인하는 단계와, 확인된 타 의사 고유 계정의 서브계정에 상기 환자의 전문 건강 관리정보를 등록하는 단계와, 상기 타 의사 단말로부터 상기 환자에 대한 소견정보가 포함된 전문 건강 관리정보가 수신되면, 상기 수신된 전문 건강 관리정보를 상기 환자 고유 계정의 서브계정에 등록하는 단계를 더 포함하는 것을 특징으로 한다.
According to the present invention, in the medical information communication service providing method, when the professional health care information corresponding to the patient state measurement data registered in the doctor unique account is received from the doctor terminal, the other health care information of the other doctors Checking whether the request information is included in the opinion; if the request information of the other doctor is included, confirming a doctor unique account corresponding to the other doctor from a medical information database; Registering professional health care information of the patient in a sub-account of the patient; and receiving specialized health care information including opinion information about the patient from the other doctor terminal, the received professional health care information is included in the patient's own. The method may further include registering a sub account of the account.
본 발명에 따라 환자 단말 및 의사 단말과 연결되며 의료기관 서버와 연동하여, 환자 단말로부터 전송되는 환자상태 측정 데이터를 이용하여 상기 환자상태 측정 데이터에 기반하는 의료정보 커뮤니케이션 서비스를 제공하는 서버는, 의료기관의 환자 진료정보를 기반으로 환자별 및 의사별 환자관리 기준 데이터 및 관리 메시지 데이터를 포함하는 의료정보 데이터베이스를 구축하는 데이터베이스 관리수단과, 네트워크를 통해 접속한 환자 단말 또는 의사 단말로부터 환자 정보 또는 의사 정보를 포함하는 의료정보 커뮤니케이션 서비스 제공 요청 정보 수신시, 고유 계정 생성을 위해 상기 의료정보 데이터베이스를 통해 환자 또는 의사를 인증하는 인증수단과, 인증된 환자 또는 의사에 대응하는 환자 고유 계정 또는 의사 고유 계정을 자동으로 생성하여 상기 의료정보 데이터베이스에 저장하는 계정 생성수단과, 의료정보 데이터베이스에 포함되는 환자의 주치의 정보와 의사의 담당환자 정보를 확인하고 환자 고유 계정 및 의사 고유 계정을 매칭하여 환자 고유 계정에 대응하는 의사 고유 계정을 상기 환자 고유 계정의 서브 계정으로 연결하고, 의사 고유 계정에 대응하는 환자 고유 계정을 상기 의사 고유 계정의 서브 계정으로 연결하는 계정 처리수단과, 환자 단말로부터 환자용 의료기기에서 측정된 환자상태 측정 데이터를 수신하는 데이터 수신수단과, 상기 수신된 환자상태 측정 데이터에 대응하는 환자별 및 의사별 환자관리 기준 데이터를 확인하는 데이터 확인수단과, 상기 환자상태 측정 데이터를 상기 확인된 환자별 및 의사별 환자관리 기준 데이터와 비교하여 상기 환자별 및 의사별 환자관리 기준 데이터에 부합되는지 판단하는 판단수단과, 부합되는 경우, 상기 환자상태 측정 데이터에 대응하는 관리 메시지 데이터를 이용하여 환자 관리정보를 생성하는 정보 생성수단과, 상기 생성된 환자 관리정보를 상기 환자 고유 계정의 서브계정과 환자 고유계정에 대응하는 의사 고유계정의 서브계정에 등록하는 정보 등록수단과, 단말과 연결하여 상기 환자 관리정보가 등록된 계정정보를 동기화 처리하거나, 상기 환자 관리정보의 계정 등록 내역을 단말로 전송하는 정보 처리수단을 포함한다.
According to the present invention, a server connected to a patient terminal and a doctor terminal and linked with a medical institution server to provide a medical information communication service based on the patient state measurement data using the patient state measurement data transmitted from the patient terminal, Database management means for constructing a medical information database including patient management reference data and management message data for each patient and doctor based on patient care information, and patient information or doctor information from a patient terminal or a doctor terminal connected through a network. Upon receiving the request for providing the medical information communication service including information, authentication means for authenticating the patient or doctor through the medical information database to generate a unique account, and a patient-specific account or doctor-specific account corresponding to the authenticated patient or doctor is automatically generated. Raw Account generation means for storing in the medical information database, the doctor's information and the patient's patient's information included in the medical information database are checked, and the patient's unique account and the doctor's unique account are matched to correspond to the patient's unique account. Account processing means for linking an account to a sub-account of the patient-specific account and linking a patient-specific account corresponding to a doctor-specific account to a sub-account of the doctor-specific account; Data receiving means for receiving data, data checking means for confirming patient-specific and doctor-specific patient management reference data corresponding to the received patient condition measurement data, and checking the patient condition measurement data for each confirmed patient and doctor By patient and doctor by comparison with patient management standard data Judging means for judging whether or not the patient management standard data is met; information matching means for generating patient management information using management message data corresponding to the patient condition measurement data; Information registration means for registering in the sub-account of the patient-specific account and the sub-account of the doctor-specific account corresponding to the patient-specific account, and connected with a terminal to synchronize the account information registered with the patient management information, And information processing means for transmitting the account registration details to the terminal.
본 발명에 따르면, 상기 서버는, 상기 의사 단말로부터 의사 고유 계정에 등록된 환자상태 측정 데이터에 대응하는 전문 건강 관리정보에 타 의사의 소견 요청정보가 포함되어 있는지 확인하는 정보 확인수단을 더 포함하며, 상기 정보 등록수단은, 상기 타 의사의 소견 요청정보가 포함되어 있는 경우, 상기 타 의사에 대응하는 의사 고유 계정을 의료정보 데이터베이스로부터 확인하여, 확인된 타 의사 고유 계정의 서브계정에 상기 환자의 전문 건강 관리정보를 등록하고, 상기 타 의사 단말로부터 상기 환자에 대한 소견정보가 포함된 전문 건강 관리정보가 수신되면, 상기 수신된 전문 건강 관리정보를 상기 환자 고유 계정의 서브계정에 등록하는 것을 특징으로 한다.
According to the present invention, the server further comprises information checking means for checking whether the request information of another doctor is included in the professional health care information corresponding to the patient state measurement data registered in the doctor's unique account from the doctor terminal; The information registering means checks a doctor unique account corresponding to the other doctor from a medical information database when the request information of the other doctor is included in the request. Registering the professional health care information, and when the professional health care information including findings about the patient is received from the other doctor terminal, the received professional health care information is registered in the sub-account of the patient's unique account It is done.
한편, 본 발명은 전술한 서버 기능 구성부를 실행하기 위한 프로그램을 기록한 것을 특징으로 하는 컴퓨터로 판독 가능한 기록매체를 포함한다.
On the other hand, the present invention includes a computer-readable recording medium characterized by recording a program for executing the above-described server function configuration unit.
한편, 본 발명에 따라 의료정보 커뮤니케이션 서비스 제공을 위한 프로그램을 구비하며, 네트워크 상의 서버와 연동하여, 환자상태 측정 데이터에 대응하는 의료정보를 제공받는 환자 단말은, 사용자의 키(또는 터치) 입력에 따라 의료정보 커뮤니케이션 서비스를 위한 프로그램을 구동하는 프로그램 구동부와, 환자용 의료기기와 연결되어 상기 환자용 의료기기를 통해 측정된 환자상태 측정 데이터를 수신하는 데이터 수신부와, 상기 수신된 환자상태 측정 데이터를 서버로 전송하여 환자상태 측정 데이터에 대응하는 환자 관리정보 또는 전문 건강 관리정보를 요청하는 서비스 요청부와, 서버와 연동하여 계정 정보를 상기 서버와 동기화하여 제공받거나, 또는 서버로부터 전송되는 환자 관리정보 또는 전문 건강 관리정보를 수신하는 정보 수신부 및 서버와 연동하여 단말에 저장된 계정정보와 서버상의 계정정보를 동기화 처리하거나, 서버로부터 수신되는 환자 관리정보 또는 전문 건강 관리정보를 계정별로 저장하는 계정정보 처리부를 구비한다.
Meanwhile, a patient terminal having a program for providing a medical information communication service according to the present invention and linked with a server on a network to receive medical information corresponding to patient condition measurement data may be provided to a user's key (or touch) input. A program driver for driving a program for a medical information communication service, a data receiver connected with a patient medical device to receive patient state measurement data measured through the patient medical device, and the received patient state measurement data as a server. A service requesting unit which transmits patient management information or specialized health management information corresponding to patient condition measurement data by transmission, and receives account information in synchronization with the server in connection with a server, or transmits patient management information or professional message transmitted from a server Information receiving unit for receiving health care information and It is provided with an account information processing unit for synchronizing the account information stored in the terminal and the account information on the server in conjunction with the server, or for storing the patient management information or professional health management information received from the server for each account.
또한, 본 발명에 따라 의료정보 커뮤니케이션 서비스 제공을 위한 프로그램을 구비하며, 네트워크 상의 서버와 연동하여, 환자상태 측정 데이터에 대응하는 전문 건강 관리정보를 제공하기 위한 의사 단말은, 사용자의 키(또는 터치) 입력에 따라 의료정보 커뮤니케이션 서비스를 위한 프로그램을 구동하는 프로그램 구동부와, 서버와 연동하여 단말에 저장된 계정정보와 서버상의 계정정보를 동기화 처리하거나, 서버로부터 수신되는 환자 관리정보를 계정별로 저장하는 계정정보 처리부와, 환자 관리정보를 기반으로 전문 건강 관리정보를 입력(또는 선택)하기 위한 인터페이스를 제공하는 인터페이스 제공부 및 상기 인터페이스를 통해 입력(또는 선택)된 전문 건강 관리정보를 서버로 전송하는 정보 전송부를 구비한다.
In addition, according to the present invention, a doctor terminal for providing a medical information communication service and providing professional health care information corresponding to patient condition measurement data in conjunction with a server on a network may include a user's key (or touch). ) An account for synchronizing the account information stored in the terminal with the account information stored in the terminal and the patient management information received from the server by synchronizing with the program driver for driving a program for medical information communication service according to the input; An information providing unit, an interface providing unit providing an interface for inputting (or selecting) specialized health care information based on patient management information, and information for transmitting the specialized health care information input (or selected) through the interface to a server; It is provided with a transmission unit.
본 발명에 따르면, 의료 정보를 환자별 및 의사별로 데이터베이스화하여 현재 모바일과 연계된 관리 시스템에 적용함으로써, 헬스케어 활성화에 따른 원격 진료 이전에 의료기관에서 인력비용을 최소화하면서 차별화된 의료 정보 제공 서비스가 가능한 이점이 있다.
According to the present invention, by providing a database of medical information for each patient and doctor by applying to a management system currently linked to mobile, the differentiated medical information providing service while minimizing the manpower cost in the medical institution before the remote treatment according to the activation of healthcare There is a possible advantage.
또한, 서비스 제공자와 의료기관이 연계하여 새로운 융합 시너지 효과를 창출할 수 있는 이점이 있다.
In addition, there is an advantage that the service provider and the medical institution can be linked to create a new convergence synergy.
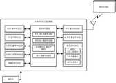
도 1은 본 발명의 일 실시 방법에 따라 의료정보 커뮤니케이션 서비스를 제공하는 시스템 구성을 도시한 도.
도 2는 본 발명의 일 실시 방법에 따른 의료정보 커뮤니케이션 서비스를 제공하는 서버의 기능 구성을 도시한 도.
도 3은 본 발명의 일 실시 방법에 따라 의료정보 커뮤니케이션 서비스를 위한 고유 계정 생성 과정을 도시한 도.
도 4는 본 발명의 일 실시 방법에 따른 의료정보 커뮤니케이션 서비스를 제공하는 과정을 도시한 도.
도 5는 본 발명의 일 실시 방법에 따른 의료정보 커뮤니케이션 서비스를 제공하는 과정을 도시한 도.
도 6은 본 발명의 일 실시 방법에 따른 의료정보 커뮤니케이션 서비스를 제공하는 과정을 도시한 도.
도 7은 일 실시 방법에 따라 의료정보 커뮤니케이션 서비스를 위한 환자 무선 단말 기능 구성을 도시한 도.
도 8은 본 발명의 일 실시 방법에 따라 의료정보 커뮤니케이션 서비스를 위한 환자 무선 단말 동작 과정을 도시한 도.
도 9는 일 실시 방법에 따라 의료정보 커뮤니케이션 서비스를 위한 의사 무선 단말 기능 구성을 도시한 도.
도 10은 본 발명의 일 실시 방법에 따라 의료정보 커뮤니케이션 서비스를 위한 의사 무선 단말 동작 과정을 도시한 도.1 is a diagram illustrating a system configuration for providing a medical information communication service according to an embodiment of the present invention.
2 is a diagram illustrating a functional configuration of a server providing a medical information communication service according to an embodiment of the present invention.
3 is a diagram illustrating a unique account creation process for a medical information communication service according to an embodiment of the present invention.
4 is a diagram illustrating a process of providing a medical information communication service according to an embodiment of the present invention.
5 is a diagram illustrating a process of providing a medical information communication service according to an embodiment of the present invention.
6 is a diagram illustrating a process of providing a medical information communication service according to an embodiment of the present invention.
7 is a diagram illustrating a configuration of a patient wireless terminal function for a medical information communication service according to one embodiment.
8 is a diagram illustrating an operation of a patient wireless terminal for a medical information communication service according to an embodiment of the present invention.
9 is a diagram illustrating a pseudo wireless terminal function configuration for a medical information communication service according to one embodiment.
10 is a diagram illustrating an operation of a pseudo wireless terminal for a medical information communication service according to an embodiment of the present invention.
이하 첨부된 도면과 설명을 참조하여 본 발명의 바람직한 실시예에 대한 동작 원리를 상세히 설명한다. 다만, 하기에 도시되는 도면과 후술되는 설명은 본 발명의 특징을 효과적으로 설명하기 위한 여러 가지 방법 중에서 바람직한 실시 방법에 대한 것이며, 본 발명이 하기의 도면과 설명만으로 한정되는 것은 아니다.
Hereinafter, with reference to the accompanying drawings and description will be described in detail the operating principle of the preferred embodiment of the present invention. It should be understood, however, that the drawings and the following detailed description are exemplary and explanatory and are intended to provide further explanation of the invention, and are not to be construed as limiting the present invention.
또한, 하기에서 본 발명을 설명함에 있어 관련된 공지 기능 또는 구성에 대한 구체적인 설명이 본 발명의 요지를 불필요하게 흐릴 수 있다고 판단되는 경우에는 그 상세한 설명을 생략할 것이다. 그리고 후술되는 용어들은 본 발명에서의 기능을 고려하여 정의된 용어들로서, 이는 사용자, 운용자의 의도 또는 관례 등에 따라 달라질 수 있다. 그러므로 그 정의는 본 발명에서 전반에 걸친 내용을 토대로 내려져야 할 것이다.
In the following description of the present invention, a detailed description of known functions and configurations incorporated herein will be omitted when it may make the subject matter of the present invention rather unclear. The terms used below are defined in consideration of the functions of the present invention, which may vary depending on the user, intention or custom of the operator. Therefore, the definition should be based on the contents throughout the present invention.
결과적으로, 본 발명의 기술적 사상은 청구범위에 의해 결정되며, 이하 실시예는 진보적인 본 발명의 기술적 사상을 본 발명이 속하는 기술분야에서 통상의 지식을 가진 자에게 효율적으로 설명하기 위한 일 수단일 뿐이다.
As a result, the technical spirit of the present invention is determined by the claims, and the following examples are one means for efficiently explaining the technical spirit of the present invention to those skilled in the art to which the present invention pertains. It is only.
도면1은 본 발명의 일 실시 방법에 따라 의료정보 커뮤니케이션 서비스를 제공하는 시스템 구성을 도시한 도면이다.
1 is a diagram illustrating a system configuration for providing a medical information communication service according to an exemplary embodiment of the present invention.
보다 상세하게 도면1은 의료정보 커뮤니케이션 서비스를 위한 환자 고유 계정 및 의사 고유 계정을 생성하고, 의료기관의 환자 진료정보를 기반으로 환자별 및 의사별 환자관리 기준 데이터 및 관리 메시지 데이터를 포함하는 의료정보 데이터베이스(120)를 구축한 후, 환자용 의료기기로부터 획득한 환자상태 측정 데이터를 이용하여 환자에게 제공 가능한 환자 관리정보 또는 전문 건강 관리정보를 생성하여 환자 단말(105)로 제공하기 위한 의료정보 커뮤니케이션 서비스 제공 시스템 구성을 도시한 것으로서, 본 발명이 속한 기술분야에서 통상의 지식을 가진 자라면, 도면1을 참조 또는 변형하여 환자 단말(105) 및 의사 단말(110)과 연계하여 환자상태 측정 데이터에 기반하는 의료정보 커뮤니케이션 서비스를 제공하기 위한 시스템 구성에 대한 다양한 실시 방법(예컨대, 일부 구성수단이 생략되거나, 또는 세분화되거나, 또는 합쳐진 실시 방법)을 유추할 수 있을 것이나, 본 발명은 상기 유추되는 모든 실시 방법을 포함하여 이루어지며, 도면1에 도시된 실시 방법만으로 그 기술적 특징이 한정되지 아니한다.
More specifically, Figure 1 creates a patient-specific account and a doctor-specific account for the medical information communication service, a medical information database including patient management reference data and management message data for each patient and doctor based on patient medical information of a medical institution After building 120, using the patient state measurement data obtained from the patient medical device to provide the patient information or professional health management information that can be provided to the patient to provide the medical information communication service for providing to the patient terminal 105 As shown in the configuration of the system, those skilled in the art to which the present invention pertains, based on the patient state measurement data in connection with the patient terminal 105 and the
본 발명에 따르면, 환자 단말(105)은 환자가 이용하는 무선 단말 및 유선 단말을 모두 포함할 수 있으며, 상기 시스템은 상기 환자 단말(105)에 구비된 의료정보 커뮤니케이션 서비스를 위한 프로그램과 연동할 수 있다.
According to the present invention, the patient terminal 105 may include both a wireless terminal and a wired terminal used by the patient, and the system may be linked with a program for medical information communication service provided in the patient terminal 105. .
또한, 의사 단말(110)은 의사가 이용하는 무선 단말 및 유선 단말을 모두 포함할 수 있으며, 상기 시스템은 상기 의사 단말(110)에 구비된 의료정보 커뮤니케이션 서비스를 위한 프로그램과 연동할 수 있다.
In addition, the
여기서, 상기 유선 단말은 TCP/IP(Transmission Control Protocol/Internet Protocol) 기반의 통신망에 연결된 모든 단말장치의 총칭으로서, 상기 TCP/IP 기반 통신망에 연결된 데스크탑(Desktop) 컴퓨터 및/또는 노트북(Notebook), 또는 상기 TCP/IP 기반 통신망에 연결된 가전단말(예컨대, 셋탑박스(Set-Top-Box) 등), 또는 TCP/IP 기반 통신망에 연결된 키오스크(KIOSK) 또는 IPTV 또는 VoIP 단말 등을 적어도 하나 이상 포함할 수 있다.
Here, the wired terminal is a generic term for all terminal devices connected to a TCP / IP based communication network, and includes a desktop computer and / or a notebook connected to the TCP / IP based communication network. Or at least one home appliance terminal (eg, Set-Top-Box) connected to the TCP / IP-based communication network, or a kiosk or IPTV or VoIP terminal connected to the TCP / IP-based communication network. Can be.
또한, 상기 무선 단말은 CDMA(Code Division Multiple Access) 기반의 이동통신망에 연결된 모든 단말장치, 및/또는 IEEE 802.16x 기반의 휴대 인터넷에 연결된 모든 단말장치, 및/또는 Motorola사의 DataTAC 방식 및/또는 Erricson사의 Mobitex 방식의 무선 데이터 통신망에 연결된 모든 단말장치의 총칭으로서, 상기 CDMA 기반 이동통신망에 연결된 개인 통신 단말기(Personal Communication System; PCS) 및/또는 GSM(Global System for Mobile communications) 단말기 및/또는 개인 디지털 셀룰러 단말기(Personal Digital Cellular; PDC) 및/또는 PHS(Personal Handyphone System) 단말기 및/또는 개인 정보 단말기(Personal Digital Assistant; PDA) 및/또는 스마트폰(Smart Phone) 및/또는 텔레매틱스(Telematics), 또는 상기 IEEE 802.16x 기반 휴대 인터넷에 연결된 휴대 인터넷 단말, 또는 와이브로 단말, 또는 상기 DataTAC/ Mobitex 기반 무선 데이터 통신망에 연결된 무선 데이터 통신 단말 등을 적어도 하나 이상 포함할 수 있다.
The wireless terminal may be any terminal device connected to a CDMA-based mobile communication network, and / or all terminal devices connected to the IEEE 802.16x-based mobile Internet, and / or Motorola's DataTAC scheme and / or Erricson. General term for all terminal devices connected to the Mobitex-type wireless data communication network of the company, a personal communication system (PCS) and / or a global system for mobile communications (GSM) terminal and / or personal digital device connected to the CDMA-based mobile communication network. Cellular Terminals (PDCs) and / or Personal Handyphone System (PHS) Terminals and / or Personal Digital Assistants (PDAs) and / or Smart Phones and / or Telematics, or A portable Internet terminal or a WiBro terminal connected to the IEEE 802.16x based portable Internet, or the DataTAC / Mobitex based wireless data A wireless data communication terminal connected to a communication network, such as may include at least one.
환자용 의료기기는 환자로부터 환자상태 측정 데이터를 측정할 수 있는 가정용 의료기기를 모두 포함할 수 있으며, 환자용 의료기기는 환자 단말(105)과 연결되어 상기 측정한 환자상태 측정 데이터를 환자 단말로 전송할 수 있다.
The patient medical device may include all home medical devices capable of measuring patient condition measurement data from a patient, and the patient medical device may be connected to the patient terminal 105 to transmit the measured patient condition measurement data to the patient terminal. have.
환자 단말(105)은 의료정보 커뮤니케이션 서비스 제공을 위한 프로그램을 구비하며, 네트워크 상의 서버(100)와 연동하여, 환자상태 측정 데이터에 대응하는 의료정보를 제공받는 것을 특징으로 하며, 이를 위한 하나 이상의 기능 구성부를 구비하여 구성될 수 있다.
The patient terminal 105 is provided with a program for providing a medical information communication service, and in conjunction with the server 100 on the network, characterized in that receiving medical information corresponding to the patient condition measurement data, one or more functions for this It can be configured with a configuration.
보다 상세하게, 환자 단말(105)은 사용자의 키(또는 터치) 입력에 따라 의료정보 커뮤니케이션 서비스를 위한 프로그램을 구동하고, 환자용 의료기기와 연결되어 상기 환자용 의료기기를 통해 측정된 환자상태 측정 데이터를 수신하며, 상기 수신된 환자상태 측정 데이터를 서버(100)로 전송하여 환자상태 측정 데이터에 대응하는 환자 관리정보 또는 전문 건강 관리정보를 요청하는 기능을 구비할 수 있다.
In more detail, the patient terminal 105 drives a program for a medical information communication service according to a user's key (or touch) input, and is connected to a patient medical device to measure patient state measurement data measured through the patient medical device. Receives, and may transmit the received patient condition measurement data to the server 100 to request the patient management information or professional health management information corresponding to the patient condition measurement data.
또한, 환자 단말(105)은 서버(100)와 연동하여 계정 정보를 상기 서버(100)와 동기화하여 제공받거나, 또는 서버(100)로부터 전송되는 환자 관리정보 또는 전문 건강 관리정보를 수신하고, 서버(100)와 연동하여 단말(105)에 저장된 계정정보와 서버상의 계정정보를 동기화 처리하거나, 서버(100)로부터 수신되는 환자 관리정보 또는 전문 건강 관리정보를 계정별로 저장하는 기능을 구비할 수 있다.
In addition, the patient terminal 105 is provided in synchronization with the server 100 and the account information in conjunction with the server 100, or receives the patient management information or professional health management information transmitted from the server 100, It may be provided with a function of synchronizing with the account information stored in the terminal 105 and the account information on the server in conjunction with the 100, or to store the patient management information or professional health management information received from the server 100 for each account. .
상기 환자 단말(105)의 보다 상세한 기능 구성부에 대한 설명은 하기의 도면7을 통해 기술하기로 한다.
A detailed description of the functional components of the patient terminal 105 will be described with reference to FIG. 7.
의사 단말(110)은 의료정보 커뮤니케이션 서비스 제공을 위한 프로그램을 구비하며, 네트워크 상의 서버(100)와 연동하여, 환자상태 측정 데이터에 대응하는 전문 건강 관리정보를 제공하기 위한 하나 이상의 기능 구성부를 포함하여 구성될 수 있다.
The
보다 상세하게, 의사 단말(110)은 사용자의 키(또는 터치) 입력에 따라 의료정보 커뮤니케이션 서비스를 위한 프로그램을 구동하고, 서버(100)와 연동하여 단말(110)에 저장된 계정정보와 서버(100)상의 계정정보를 동기화 처리하거나, 서버(100)로부터 수신되는 환자 관리정보를 계정별로 저장하며, 환자 관리정보를 기반으로 전문 건강 관리정보를 입력(또는 선택)하기 위한 인터페이스를 제공하고, 상기 인터페이스를 통해 입력(또는 선택)된 전문 건강 관리정보를 서버(100)로 전송하는 기능을 구비할 수 있다.
In more detail, the
상기 의사 단말(110)의 보다 상세한 기능 구성부에 대한 설명은 하기의 도면9를 통해 기술하기로 한다.
A more detailed functional component of the
의료정보 커뮤니케이션 서비스 제공 시스템상의 서버(100)는 환자 단말(105) 및 의사 단말(110)과 연결되며 의료기관 서버(115)와 연동하여, 환자 단말(105)로부터 전송되는 환자상태 측정 데이터를 이용하여 상기 환자상태 측정 데이터에 기반하는 의료정보 커뮤니케이션 서비스를 제공한다.
The server 100 on the medical information communication service providing system is connected to the patient terminal 105 and the
의료정보 커뮤니케이션 서비스를 제공하는 서버(100)는, 의료기관의 환자 진료정보를 기반으로 환자별 및 의사별 환자관리 기준 데이터 및 관리 메시지 데이터를 포함하는 의료정보 데이터베이스(120)를 구축하고, 네트워크를 통해 접속한 환자 단말(105) 또는 의사 단말(110)로부터 환자 정보 또는 의사 정보를 포함하는 의료정보 커뮤니케이션 서비스 제공 요청 정보 수신시, 고유 계정 생성을 위해 상기 의료정보 데이터베이스(120)를 통해 환자 또는 의사를 인증하여, 인증된 환자 또는 의사에 대응하는 환자 고유 계정 또는 의사 고유 계정을 자동으로 생성하여 상기 의료정보 데이터베이스(120)에 저장하고, 의료정보 데이터베이스(120)에 포함되는 환자의 주치의 정보와 의사의 담당환자 정보를 확인하고 환자 고유 계정 및 의사 고유 계정을 매칭하여 환자 고유 계정에 대응하는 의사 고유 계정을 상기 환자 고유 계정의 서브 계정으로 연결하고, 의사 고유 계정에 대응하는 환자 고유 계정을 상기 의사 고유 계정의 서브 계정으로 연결하기 위한 하나 이상의 기능 구성수단을 구비할 수 있다.
The server 100 providing the medical information communication service establishes a medical information database 120 including patient management reference data and management message data for each patient and doctor based on patient care information of a medical institution, and through a network. Upon receiving the medical information communication service providing request information including the patient information or the doctor information from the connected patient terminal 105 or the
또한, 상기 서버(100)는, 환자 단말(105)로부터 환자용 의료기기에서 측정된 환자상태 측정 데이터가 수신되면, 상기 수신된 환자상태 측정 데이터에 대응하는 환자별 및 의사별 환자관리 기준 데이터를 확인하고, 상기 환자상태 측정 데이터를 상기 확인된 환자별 및 의사별 환자관리 기준 데이터와 비교하여 상기 환자별 및 의사별 환자관리 기준 데이터에 부합되는지 판단하여, 부합되는 경우, 상기 환자상태 측정 데이터에 대응하는 관리 메시지 데이터를 이용하여 환자 관리정보를 생성하고, 상기 생성된 환자 관리정보를 상기 환자 고유 계정의 서브계정과 환자 고유계정에 대응하는 의사 고유계정의 서브계정에 등록하며, 환자 단말(105) 또는 의사 단말(110)과 연결하여 상기 환자 관리정보가 등록된 계정정보를 동기화 처리하거나, 상기 환자 관리정보의 계정 등록 내역을 단말로 전송하기 위한 하나 이상의 기능 구성수단을 포함하여 구성될 수 있다.
In addition, the server 100, when the patient state measurement data measured in the patient medical device is received from the patient terminal 105, and confirms the patient management reference data for each patient and doctor corresponding to the received patient state measurement data And comparing the patient condition measurement data with the identified patient and doctor patient management reference data, and determining whether the patient condition measurement data meets the patient and doctor patient management standard data. Patient management information is generated using the management message data, and the generated patient management information is registered in the subaccount of the patient unique account and the subaccount of the doctor unique account corresponding to the patient unique account, and the patient terminal 105. Or in connection with the
상기 서버(100)의 기능 구성수단에 대한 보다 상세한 설명은 하기의 도면2를 통해 기술하기로 한다.
A more detailed description of the functional configuration means of the server 100 will be described with reference to FIG. 2.
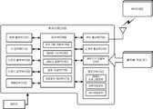
도면2는 본 발명의 일 실시 방법에 따른 의료정보 커뮤니케이션 서비스를 제공하는 서버의 기능 구성을 도시한 도면이다.
2 is a diagram illustrating a functional configuration of a server providing a medical information communication service according to an embodiment of the present invention.
도면2는 상기 도면1에 도시된 의료정보 커뮤니케이션 서비스 제공 시스템 상에서 의료정보 커뮤니케이션 서비스를 위한 환자 고유 계정 및 의사 고유 계정을 생성하고, 의료기관의 환자 진료정보를 기반으로 환자별 및 의사별 환자관리 기준 데이터 및 관리 메시지 데이터를 포함하는 의료정보 데이터베이스(120)를 구축한 후, 환자용 의료기기로부터 획득한 환자상태 측정 데이터를 이용하여 환자에게 제공 가능한 환자 관리정보 또는 전문 건강 관리정보를 생성하여 환자 단말(105)로 제공하기 위한 서버 기능 구성을 도시한 것으로서, 본 발명이 속한 기술분야에서 통상의 지식을 가진 자라면, 도면2를 참조 또는 변형하여 환자 단말(105) 및 의사 단말(110)과 연계하여 환자상태 측정 데이터에 기반하는 의료정보 커뮤니케이션 서비스를 제공하는 서버 기능 구성에 대한 다양한 실시 방법(예컨대, 일부 구성수단이 생략되거나, 또는 세분화되거나, 또는 합쳐진 실시 방법)을 유추할 수 있을 것이나, 본 발명은 상기 유추되는 모든 실시 방법을 포함하여 이루어지며, 도면2에 도시된 실시 방법만으로 그 기술적 특징이 한정되지 아니한다.
FIG. 2 shows a patient-specific account and a doctor-specific account for a medical information communication service on the medical information communication service providing system shown in FIG. And establishing a medical information database 120 including management message data, and generating patient management information or professional health management information that can be provided to the patient using patient condition measurement data obtained from the medical device for the patient. As shown in FIG. 2, a server function configuration for providing the same is provided to a person having ordinary knowledge in the art to which the present invention pertains. Referring to FIG. 2 or modified, the patient may be connected to the patient terminal 105 and the
예컨대, 상기 의료정보 커뮤니케이션 서비스를 위한 환자 고유 계정 및 의사 고유 계정을 생성하고, 의료기관의 환자 진료정보를 기반으로 환자별 및 의사별 환자관리 기준 데이터 및 관리 메시지 데이터를 포함하는 의료정보 데이터베이스(120)를 구축한 후, 환자용 의료기기로부터 획득한 환자상태 측정 데이터를 이용하여 환자에게 제공 가능한 환자 관리정보 또는 전문 건강 관리정보를 생성하여 환자 단말(105)로 제공하기 위한 의료정보 커뮤니케이션 서비스 제공 서버(100)를 구성하는 각각의 수단을 하나의 서버(100)에 포함되는 구성요소 형태로 서버(100) 내에 도시하였으나, 상기 수단들이 하나의 서버 구성요소로 한정되는 것은 결코 아니며, 당업자의 의도에 따라 각 수단이 별도의 서버 형태로 구현되거나, 또는 두개 이상의 수단이 조합되어 서버 형태로 구현되거나, 일부 수단은 서버 형태로 구현되고 나머지 수단은 서버의 구성요소 형태로 구현되는 것이 모두 가능하며, 상기 수단들의 구현 방식에 의해 본 발명이 한정되지 아니함을 명백하게 밝혀두는 바이다.
For example, the medical information database 120 may generate a patient-specific account and a doctor-specific account for the medical information communication service and include patient management reference data and management message data for each patient and doctor based on patient medical information of a medical institution. After constructing the medical information communication service providing server 100 for generating and providing the patient management information or professional health management information that can be provided to the patient using the patient state measurement data obtained from the medical device for the patient (105) Although each means constituting a) is shown in the server 100 in the form of a component included in one server 100, the means are not limited to one server component, but each means according to the intention of those skilled in the art Means may be embodied in a separate server form, or two or more means may be combined to form a server It is apparent that some means may be implemented in the form of a server, some means may be implemented in the form of a component of the server, the present invention is not limited by the manner of implementation of the means.
도면2를 참조하면, 서버(100)는, 데이터베이스 관리수단(200), 인증수단(205), 계정 생성수단(210), 계정 처리수단(215), 데이터 수신수단(220), 데이터 확인수단(225), 판단수단(230), 정보 생성수단(235), 정보 등록수단(240) 및 정보 처리수단(245)을 포함하여 구성될 수 있다.
2, the server 100, the database management means 200, authentication means 205, account generation means 210, account processing means 215, data receiving means 220, data confirmation means ( 225, the determining means 230, the information generating means 235, the information registering means 240, and the information processing means 245.
데이터베이스 관리수단(200)은, 의료기관의 환자 진료정보를 기반으로 환자별 및 의사별 환자관리 기준 데이터 및 관리 메시지 데이터를 포함하는 의료정보 데이터베이스(120)를 구축한다.
The database management means 200 establishes a medical information database 120 including patient management reference data and management message data for each patient and doctor based on patient care information of a medical institution.
예컨대, 데이터베이스 관리수단(200)은, 기 협력된 의료기관 서버(또는 단말)로 환자별 및 의사별 환자관리 기준 데이터 및 관리 메시지 데이터를 포함하는 의료정보 데이터베이스(120) 구축을 위한 환자별 및 의사별 환자관리 기준 데이터 폼(또는 양식) 및 관리 메시지 데이터 폼(또는 양식)을 제공하고, 상기 의료기관 서버(또는 단말)로부터 상기 제공된 데이터 폼(또는 양식)에 대응하는 환자별 및 의사별 환자관리 기준 데이터 및 관리 메시지 데이터를 제공받을 수 있다.
For example, the database management means 200 is a patient-by-patient and a doctor-by-patient for establishing a medical information database 120 including patient management reference data and management message data for each patient and doctor by a pre-cooperated medical institution server (or terminal). Provide patient management reference data form (or form) and management message data form (or form), patient-specific and doctor-specific patient management reference data corresponding to the provided data form (or form) from the medical institution server (or terminal). And management message data.
여기서, 상기 환자별 및 의사별 환자관리 기준 데이터는, 특정 환자에 대한 주치의의 진료기록 정보나 상기 주치의의 진료 의견에 기반하여 상기 환자의 환자상태 측정 데이터에 대응하는 환자별 및 의사별 기준을 설정하기 위한 데이터이며, 상기 환자별 및 의사별 환자관리 기준 데이터는, 환자 정보, 의사 정보(주치의 정보), 주치의에 의한 환자별 병증 및 병증 세부 분류정보, 환자상태 측정 데이터의 기준으로 사용할 기준 수치 데이터를 포함하여 구성될 수 있다.
Here, the patient management reference data for each patient and doctor sets the patient and doctor criteria corresponding to the patient condition measurement data of the patient based on the doctor's medical record information or the doctor's opinion about the patient. The patient management reference data for each patient and doctor include data on patient information, doctor information (a doctor's information), detailed classification information on patients' symptoms and conditions by the attending physician, and reference numerical data to be used as a reference for patient condition measurement data. It may be configured to include.
상기 관리 메시지 데이터는, 상기 환자별 및 의사별 환자관리 기준 데이터를 근거로, 환자 단말(105)로부터 환자상태 측정 데이터가 전송될 시, 상기 환자상태 측정 데이터에 대응하여 환자에게 제공할 하나 이상의 의료정보 메시지를 포함하여 구성될 수 있다.
The management message data may include one or more medical services to be provided to the patient in response to the patient condition measurement data when the patient condition measurement data is transmitted from the patient terminal 105 based on the patient management reference data for each patient and doctor. It may be configured to include an information message.
인증수단(205)은, 네트워크를 통해 접속한 환자 단말(105) 또는 의사 단말(110)로부터 환자 정보 또는 의사 정보를 포함하는 의료정보 커뮤니케이션 서비스 제공 요청 정보 수신시, 고유 계정 생성을 위해 상기 의료정보 데이터베이스(120)를 통해 환자 또는 의사를 인증한다.
When the authentication means 205 receives the medical information communication service providing request information including the patient information or the doctor information from the patient terminal 105 or the
상기 인증수단(205)은, 접속한 환자 단말(105)로부터 의료정보 커뮤니케이션 서비스 제공 요청 정보가 수신되면, 상기 의료정보 커뮤니케이션 서비스 제공 요청 정보에 포함된 환자 정보와 상기 의료정보 데이터베이스(120)에 기 저장된 환자 정보를 비교하여 상기 의료정보 커뮤니케이션 서비스 제공을 요청하는 환자가 의료정보 커뮤니케이션 서비스를 제공받는 것이 가능한 환자인지 인증한다.
When the authentication means 205 receives the medical information communication service providing request information from the connected patient terminal 105, the authentication means 205 writes the patient information included in the medical information communication service providing request information and the medical information database 120. By comparing the stored patient information, the patient requesting to provide the medical information communication service is authenticated as to whether the patient can receive the medical information communication service.
또한, 상기 인증수단(205)은, 접속한 의사 단말(110)로부터 의료정보 커뮤니케이션 서비스 제공 요청 정보가 수신되면, 상기 의료정보 커뮤니케이션 서비스 제공 요청 정보에 포함된 의사 정보와 상기 의료정보 데이터베이스(120)에 기 저장된 의사 정보를 비교하여 상기 의료정보 커뮤니케이션 서비스 제공을 요청하는 의사가 의료정보 커뮤니케이션 서비스를 제공받는 것이 가능한 의사인지 인증한다.
In addition, the authentication means 205, when the medical information communication service providing request information is received from the connected
계정 생성수단(210)은, 상기 인증수단(205)을 통해 인증된 환자 또는 의사에 대응하는 환자 고유 계정 또는 의사 고유 계정을 자동으로 생성하여 상기 의료정보 데이터베이스(120)에 저장한다.
The account generating unit 210 automatically generates a patient-specific account or a doctor-specific account corresponding to a patient or a doctor authenticated through the authentication means 205 and stores it in the medical information database 120.
상기 고유 계정은, 상기 의료정보 커뮤니케이션 서비스 제공을 요청하는 환자 또는 의사별로 고유하게 생성되며, 하나 이상의 서브 계정을 포함하도록 구성되는 것이 가능하다.
The unique account is uniquely generated for each patient or doctor requesting to provide the medical information communication service, and may be configured to include one or more sub accounts.
예컨대, 상기 환자 고유 계정은, 환자의 주치의 정보를 포함하는 서브 계정과, 환자가 제공한 환자상태 측정 데이터에 대응하는 환자 관리정보가 저장되는 서브 계정과, 환자가 제공한 환자상태 측정 데이터에 대응하여 의사가 제공하는 전문 건강관리 정보를 포함하는 서브 계정과 연결될 수 있으며, 추가 정보에 의한 추가 서브 계정의 연결이 더 가능하다.
For example, the patient-specific account may include a sub account including information of a patient's doctor, a sub account storing patient management information corresponding to patient condition measurement data provided by a patient, and patient condition measurement data provided by a patient. It can be linked to the sub-account including the professional health care information provided by the doctor, it is possible to further link the additional sub-account by the additional information.
또한, 의사 고유 계정은, 담당 환자 정보를 포함하는 서브 계정과, 환자가 제공한 환자상태 측정 데이터에 대응하는 환자 관리정보가 저장되는 서브 계정과, 환자가 제공한 환자상태 측정 데이터에 대응하여 의사가 제공하는 전문 건강관리 정보를 포함하는 서브 계정과 연결될 수 있으며, 추가 정보에 의한 추가 서브 계정의 연결이 더 가능하다.
In addition, the doctor-specific account includes a sub-account including the patient information in charge, a sub-account in which the patient management information corresponding to the patient-state measurement data provided by the patient is stored, and the patient-state measurement data provided by the patient. It may be linked with a sub account including the professional health care information provided by the, it is more possible to link the additional sub account by the additional information.
계정 처리수단(215)은, 상기 계정 생성수단(210)을 통해 환자 고유 계정과 의사 고유 계정이 생성된 이후, 상기 환자 또는 의사의 의료정보 커뮤니케이션 서비스 제공 요청 정보 수신시, 의료정보 데이터베이스(120)에 포함되는 환자의 주치의 정보와 의사의 담당환자 정보를 확인하고 환자 고유 계정 및 의사 고유 계정을 매칭하여 환자 고유 계정에 대응하는 의사 고유 계정을 상기 환자 고유 계정의 서브 계정으로 연결하고, 의사 고유 계정에 대응하는 환자 고유 계정을 상기 의사 고유 계정의 서브 계정으로 연결한다.
The account processing means 215, after the patient-specific account and the doctor-specific account is generated through the account generation means 210, upon receiving the medical information communication service providing request information of the patient or doctor, medical information database 120 The doctor's primary patient information and the doctor's patient patient information are checked and the doctor's unique account corresponding to the patient's unique account is matched to the patient's unique account by matching the patient's unique account and the doctor's unique account, and the doctor's unique account Link the patient unique account corresponding to the subaccount of the pseudo unique account.
데이터 수신수단(220)은, 환자 단말(105)로부터 환자용 의료기기에서 측정된 환자상태 측정 데이터가 전송되면, 상기 환자 단말(105)로부터 전송되는 환자상태 측정 데이터를 수신하며, 상기 수신된 환자상태 측정 데이터는 데이터 확인수단(225)으로 전달된다.
When the patient state measurement data measured by the patient medical device is transmitted from the patient terminal 105, the data receiving unit 220 receives the patient state measurement data transmitted from the patient terminal 105, and receives the received patient state. The measurement data is transmitted to the data checking means 225.
데이터 확인수단(225)은, 상기 데이터 수신수단(220)을 통해 환자 단말(105)로부터 수신된 환자상태 측정 데이터에 대응하는 환자별 및 의사별 환자관리 기준 데이터를 의료정보 데이터베이스(120)를 참조하여 확인한다.
The data checking means 225 refers to the patient-specific and doctor-specific patient management reference data corresponding to the patient condition measurement data received from the patient terminal 105 through the data receiving means 220, and refers to the medical information database 120. Check it.
판단수단(230)은, 상기 데이터 확인수단(225)을 통해 의료정보 데이터베이스(120)로부터 상기 환자상태 측정 데이터를 전송하는 환자에 대응하는 환자별 및 의사별 환자관리 기준 데이터가 확인되면, 상기 환자상태 측정 데이터를 상기 확인된 환자별 및 의사별 환자관리 기준 데이터와 비교하여 상기 환자별 및 의사별 환자관리 기준 데이터에 부합되는지 판단한다.
Determination means 230, the patient-specific and doctor-specific patient management reference data corresponding to the patient transmitting the patient condition measurement data from the medical information database 120 through the data checking means 225 is confirmed, the patient The state measurement data is compared with the confirmed patient-specific and doctor-specific patient management reference data to determine whether the patient-specific and doctor-specific patient management criteria data are met.
정보 생성수단(235)은, 상기 판단수단(230)의 판단결과, 상기 환자상태 측정 데이터가 상기 환자별 및 의사별 환자관리 기준 데이터에 부합되는 경우, 상기 환자상태 측정 데이터에 대응하는 관리 메시지 데이터를 확인하고, 상기 관리 메시지 데이터를 포함하는 환자 관리정보를 생성한다.
The information generating means 235, the management message data corresponding to the patient condition measurement data, if the patient condition measurement data meets the patient-specific and doctor-specific patient management reference data, as a result of the determination by the determination means 230 Confirm and generate patient management information including the management message data.
정보 등록수단(240)은, 상기 정보 생성수단(235)을 통해 생성된 환자 관리정보를 상기 환자 고유 계정의 서브계정과 환자 고유계정에 대응하는 의사 고유계정의 서브계정에 등록한다.
The information registering means 240 registers the patient management information generated through the information generating means 235 in the subaccount of the patient unique account and the subaccount of the doctor unique account corresponding to the patient unique account.
정보 처리수단(245)은, 환자 단말(105) 또는 의사 단말(110)과 연결하여 상기 환자 관리정보가 등록된 계정정보를 동기화 처리하거나, 상기 환자 관리정보의 계정 등록 내역을 환자 단말(105) 또는 의사 단말(110)로 전송하여 환자 또는 의사가 계정 확인을 통해 상기 환자 관리정보를 확인할 수 있도록 한다.
The information processing means 245 is connected to the patient terminal 105 or the
본 발명의 실시 방법에 따르면, 상기 서버(100)는, 상기 의사 단말(110)로부터 의사 고유 계정에 등록된 환자상태 측정 데이터에 대응하는 전문 건강 관리정보에 타 의사의 소견 요청정보가 포함되어 있는지 확인하는 정보 확인수단(250)을 더 포함하여 구성될 수 있다.
According to the method of the present invention, the server 100, whether the request information of the other doctor is included in the professional health care information corresponding to the patient state measurement data registered in the doctor-specific account from the doctor terminal (110) It may be configured to further include information checking means 250 to confirm.
상기 정보 확인수단(250)의 확인 결과, 상기 타 의사의 소견 요청정보가 포함되어 있는 경우, 상기 정보 등록수단(240)은, 상기 타 의사에 대응하는 의사 고유 계정을 의료정보 데이터베이스(120)로부터 확인하여, 확인된 타 의사 고유 계정의 서브계정에 상기 환자의 전문 건강 관리정보를 등록하고, 상기 타 의사 단말로부터 상기 환자에 대한 소견정보가 포함된 전문 건강 관리정보가 수신되면, 상기 수신된 전문 건강 관리정보를 상기 환자 고유 계정의 서브계정에 등록한다.
As a result of confirming the information checking means 250, when the request information of the other doctor is included, the information registration means 240, from the medical information database 120 to the doctor-specific account corresponding to the other doctor By confirming, the professional health care information of the patient is registered in the sub-account of the confirmed other doctor unique account, and when the professional health care information including findings about the patient is received from the other doctor terminal, the received professional Register the health care information in the subaccount of the patient unique account.
여기서, 상기 전문 건강 관리정보는, 환자 상태 측정 데이터 및/또는 환자 관리정보를 확인한 의사가 상기 의료정보 데이터베이스(120)에 저장된 환자별 및 의사별 환자관리 기준 데이터에 상기 환자 상태 측정 데이터가 부합되지 않아, 의사의 전문적인 건강 정보가 요구되는 경우, 상기 의사가 의사 단말(110)을 통해 상기 환자에게 제공하기 위해 입력하는 정보를 포함한다.
Here, the professional health care information, the patient state measurement data and / or the doctor confirming the patient management information does not match the patient state measurement data to the patient-specific and doctor-specific patient management reference data stored in the medical information database 120 In other words, when professional medical information of a doctor is required, the doctor includes information input for providing to the patient through the
도면3은 본 발명의 일 실시 방법에 따라 의료정보 커뮤니케이션 서비스를 위한 고유 계정 생성 과정을 도시한 도면이다.
3 is a diagram illustrating a process of creating a unique account for a medical information communication service according to an exemplary embodiment of the present invention.
보다 상세하게, 도면3은 상기 도면2에 도시된 의료정보 커뮤니케이션 서비스를 제공하는 서버(100)에서 의료기관의 환자 진료정보를 기반으로 환자별 및 의사별 환자관리 기준 데이터 및 관리 메시지 데이터를 포함하는 의료정보 데이터베이스(120)를 구축하고, 의료정보 커뮤니케이션 서비스를 위한 환자 고유 계정 및 의사 고유 계정을 생성하는 과정을 도시한 것으로서, 본 발명이 속한 기술분야에서 통상의 지식을 가진 자라면, 도면3을 참조 또는 변형하여 의료정보 커뮤니케이션 서비스를 위한 환자 고유 계정 및 의사 고유 계정을 생성하는 과정에 대한 다양한 실시 방법을 유추할 수 있을 것이나, 본 발명은 상기 유추되는 모든 실시 방법을 포함하여 이루어지며, 도면3에 도시된 실시 방법만으로 그 기술적 특징이 한정되지 아니한다.
More specifically, FIG. 3 is a medical service including patient management reference data and management message data for each patient and doctor based on patient medical information of a medical institution in the server 100 providing the medical information communication service shown in FIG. 2. The process of establishing the information database 120 and generating a patient-specific account and a doctor-specific account for a medical information communication service, and those skilled in the art to which the present invention pertains, refer to FIG. 3. Alternatively, the present invention may be inferred from various modification methods for generating a patient-specific account and a doctor-specific account for the medical information communication service, but the present invention includes all the inferred implementation methods, The technical features are not limited only to the illustrated embodiment.
도면3을 참조하면, 서버(100)에서 의료기관 단말(또는 서버)로부터 환자 진료정보를 기반으로 환자별 및 의사별 환자관리 기준 데이터 및 관리 메시지 데이터를 수신한다(300).
Referring to FIG. 3, the server 100 receives patient management reference data and management message data for each patient and doctor based on patient care information from a medical institution terminal (or server) (300).
상기 환자별 및 의사별 환자관리 기준 데이터 및 관리 메시지 데이터가 수신되면, 상기 서버(100)는 환자별 및 의사별 환자관리 기준 데이터 및 관리 메시지 데이터를 의료정보 데이터베이스(120)에 저장한다(305).
When the patient management reference data and management message data for each patient and doctor are received, the server 100 stores patient management reference data and management message data for each patient and doctor in the medical information database 120 (305). .
이후, 서버(100)에서 네트워크를 통해 접속한 환자 단말(105) 또는 의사 단말(110)로부터 의료정보 커뮤니케이션 서비스 제공 요청 정보가 수신되면(310), 상기 서버(100)는 의료정보 데이터베이스(120)를 이용하여 서비스 제공 요청 환자 또는 의사를 인증한다(315).
Thereafter, when the server 100 receives the medical information communication service providing request information from the patient terminal 105 or the
만약, 상기 의료정보 커뮤니케이션 서비스 제공을 요청하는 환자 또는 의사에 대한 인증이 완료되면(320), 상기 서버(100)는 환자 또는 의사에 대응하는 고유 계정을 자동으로 생성하여 의료정보 데이터베이스(120)에 저장한다(325).
If authentication of the patient or doctor requesting to provide the medical information communication service is completed (320), the server 100 automatically generates a unique account corresponding to the patient or doctor to the medical information database 120 Save (325).
그리고, 상기 서버(100)는 의료정보 데이터베이스(120)에 저장된 환자 주치의 정보 및 의사 담당 환자정보를 확인하고(330), 상기 서버(100)는 환자 고유 계정과 의사 고유 계정을 연결하여 의료정보 데이터베이스(120)에 저장한다(335).
In addition, the server 100 checks the patient's doctor information and the doctor's patient information stored in the medical information database 120 (330), and the server 100 connects the patient's unique account and the doctor's unique account to the medical information database. In operation 120, it is stored at 120.
도면4는 본 발명의 일 실시 방법에 따른 의료정보 커뮤니케이션 서비스를 제공하는 과정을 도시한 도면이다.
4 is a diagram illustrating a process of providing a medical information communication service according to an embodiment of the present invention.
보다 상세하게, 도면4는 상기 도면3의 과정을 통해 의료정보 커뮤니케이션 서비스를 제공하는 서버(100)에서 의료기관의 환자 진료정보를 기반으로 환자별 및 의사별 환자관리 기준 데이터 및 관리 메시지 데이터를 포함하는 의료정보 데이터베이스(120)를 구축하고, 의료정보 커뮤니케이션 서비스를 위한 환자 고유 계정 및 의사 고유 계정이 생성된 이후, 상기 환자 고유 계정 및 의사 고유 계정을 이용하여 의료정보 커뮤니케이션 서비스를 제공하는 과정을 도시한 것으로서, 본 발명이 속한 기술분야에서 통상의 지식을 가진 자라면, 도면4를 참조 또는 변형하여 환자 고유 계정 및 의사 고유 계정을 이용하여 의료정보 커뮤니케이션 서비스를 제공하는 과정에 대한 다양한 실시 방법을 유추할 수 있을 것이나, 본 발명은 상기 유추되는 모든 실시 방법을 포함하여 이루어지며, 도면4에 도시된 실시 방법만으로 그 기술적 특징이 한정되지 아니한다.
More specifically, FIG. 4 includes patient management reference data and management message data for each patient and doctor based on patient care information of a medical institution in the server 100 providing medical information communication service through the process of FIG. 3. After the medical information database 120 is established and a patient-specific account and a doctor-specific account are created for the medical information communication service, a process of providing medical information communication service using the patient-specific account and the doctor-specific account is shown. As those skilled in the art to which the present invention pertains, various implementation methods for a process of providing medical information communication service using a patient-specific account and a doctor-specific account by referring to or modifying the drawing 4 may be inferred. It will be appreciated that the present invention is directed to all implementations inferred from the above. It is made, including, and the technical features are not limited only to the implementation method shown in FIG.
도면4를 참조하면, 상기 도면3의 과정을 통해 의료정보 커뮤니케이션 서비스를 제공하는 서버(100)에서 의료기관의 환자 진료정보를 기반으로 환자별 및 의사별 환자관리 기준 데이터 및 관리 메시지 데이터를 포함하는 의료정보 데이터베이스(120)를 구축하고, 의료정보 커뮤니케이션 서비스를 위한 환자 고유 계정 및 의사 고유 계정이 생성된 이후, 의료정보 커뮤니케이션 서비스를 위해 환자 단말(105)에서 환자용 의료기기로부터 환자상태 측정 데이터를 획득하고, 획득한 환자상태 측정 데이터를 서버(100)로 전송한다(400).
Referring to FIG. 4, the server 100 providing medical information communication service through the process of FIG. 3 includes medical data including patient management reference data and management message data for each patient and doctor based on patient medical information of a medical institution. After the information database 120 is established, a patient unique account and a doctor unique account for the medical information communication service are generated, the patient terminal 105 obtains the patient condition measurement data from the patient medical device for the medical information communication service. In
서버(100)에서 환자 단말(105)로부터 환자상태 측정 데이터가 수신되면(405), 서버(100)는 환자상태 측정 데이터를 전송한 환자에 대응하는 환자별 및 의사별 환자관리 기준 데이터를 의료정보 데이터베이스(120)로부터 확인한다(410).
When the patient state measurement data is received from the patient terminal 105 in the server 100 (405), the server 100 is a medical information for each patient and doctor-specific patient management reference data corresponding to the patient transmitted the patient state measurement data Verify from database 120 (410).
그리고, 서버(100)는 환자상태 측정 데이터가 환자별 및 의사별 환자관리 기준 데이터에 부합되는지 판단하고(415), 만약 환자상태 측정 데이터가 환자별 및 의사별 환자관리 기준 데이터에 부합되지 않는다면(420), 하기의 도면5의 과정에 따르게 된다.
In addition, the server 100 determines whether the patient condition measurement data is consistent with the patient management standard data for each patient and doctor (415), and if the patient condition measurement data does not match the patient management standard data for each patient and doctor ( 420), the process of FIG.
반면, 환자상태 측정 데이터가 환자별 및 의사별 환자관리 기준 데이터에 부합되면(420), 서버(100)는 환자상태 측정 데이터에 대응하는 하나 이상의 환자 관리 메시지 데이터를 의료정보 데이터베이스(120)로부터 확인하고(425), 상기 확인된 하나 이상의 환자 관리 메시지 데이터를 이용하여 환자에게 제공할 환자 관리정보를 생성한다(430).
On the other hand, if the patient condition measurement data meets patient-specific and doctor-specific patient management criteria data (420), the server 100 checks one or more patient management message data corresponding to the patient condition measurement data from the medical information database 120 In
환자에게 제공할 환자 관리정보가 생성되면, 상기 서버(100)는 환자 고유 계정의 서브계정과 환자 고유계정에 대응하는 의사 고유 계정의 서브계정에 상기 생성된 환자 관리정보를 등록하고(435), 단말과 연동하여 환자 관리정보가 등록된 계정정보를 동기화하여 상기 등록된 환자 관리정보를 환자 단말(105) 또는 의사 단말(110)을 통해 확인할 수 있도록 한다(440).
When the patient management information to be provided to the patient is generated, the server 100 registers the generated patient management information in the sub-account of the patient-specific account and the doctor-specific account corresponding to the patient-specific account (435), In
도면5는 본 발명의 일 실시 방법에 따른 의료정보 커뮤니케이션 서비스를 제공하는 과정을 도시한 도면이다.
5 is a diagram illustrating a process of providing a medical information communication service according to an embodiment of the present invention.
보다 상세하게, 도면5는 상기 도면4의 과정을 통해 환자 고유 계정 및 의사 고유 계정을 이용하여 의료정보 커뮤니케이션 서비스를 제공하는 과정에서 환자 단말(105)로부터 전송된 환자상태 측정 데이터가 의료정보 데이터베이스(120)에 저장된 환자별 및 의사별 환자관리 기준 데이터에 부합되지 않는 경우, 의사 단말(110)로부터 제공되는 전문 건강 관리정보를 환자 단말(105)로 제공하는 과정을 도시한 것으로서, 본 발명이 속한 기술분야에서 통상의 지식을 가진 자라면, 도면5를 참조 또는 변형하여 환자 고유 계정 및 의사 고유 계정을 이용하여 전문 건강 관리정보를 제공하는 과정에 대한 다양한 실시 방법을 유추할 수 있을 것이나, 본 발명은 상기 유추되는 모든 실시 방법을 포함하여 이루어지며, 도면5에 도시된 실시 방법만으로 그 기술적 특징이 한정되지 아니한다.
In more detail, FIG. 5 illustrates a medical information database (not shown) of the patient state measurement data transmitted from the patient terminal 105 in the process of providing the medical information communication service using the patient unique account and the doctor unique account through the process of FIG. 4. If it does not meet the patient-specific and doctor-specific patient management criteria data stored in 120, it shows a process of providing the professional health care information provided from the
도면5를 참조하면, 상기 도면4의 과정을 통해 환자 고유 계정 및 의사 고유 계정을 이용하여 의료정보 커뮤니케이션 서비스를 제공하는 과정에서 환자 단말(105)로부터 전송된 환자상태 측정 데이터가 의료정보 데이터베이스(120)에 저장된 환자별 및 의사별 환자관리 기준 데이터에 부합되지 않는 경우, 서버(100)는 환자상태 측정 데이터(또는 환자상태 측정 데이터와 환자 관리 정보)를 환자 고유 계정에 대응하는 의사 고유 계정의 서브계정에 등록한다(500).
Referring to FIG. 5, in the process of providing a medical information communication service using a patient unique account and a doctor unique account through the process of FIG. 4, patient state measurement data transmitted from the patient terminal 105 is stored in the medical information database 120. If the patient-specific and doctor-specific patient management criteria data stored in the server 100 does not meet the server 100, the patient state measurement data (or patient state measurement data and patient management information) is stored in the subordinate of the doctor-specific account corresponding to the patient-specific account. Register for an account (500).
이후, 상기 환자 고유 계정에 대응하는 의사 고유 계정의 서브계정에 등록된 환자상태 측정 데이터를 확인한 의사 단말(110)로부터 의사의 전문 건강 관리정보가 입력되면(505), 상기 서버(100)는 의사 단말(110)로부터 입력된 전문 건강 관리정보를 수신한다(510).
Subsequently, when professional health care information of a doctor is input from the
상기 의사 단말(110)로부터 전문 건강 관리정보가 수신되면, 상기 서버(100)는 상기 전문 건강 관리정보에 타 의사의 소견을 요청하는 타 의사 소견 요청정보가 포함되어 있는지 확인하고(515), 만약, 상기 전문 건강 관리정보에 타 의사 소견 요청정보가 포함되어 있지 않다면(520), 상기 서버(100)는 환자 고유 계정에 대응하는 의사 고유 계정의 서브계정과 상기 환자 고유 계정의 서브 계정에 상기 전문 건강 관리정보를 등록하고(525), 환자 단말(105)과 연동하여 전문 건강 관리정보가 등록된 계정 정보를 동기화하여 환자가 상기 등록된 전문 건강 관리정보를 확인할 수 있도록 한다(530).
When the professional health care information is received from the
반면, 상기 전문 건강 관리정보에 타 의사 소견 요청정보가 포함되어 있다면(520), 하기의 도면6의 과정에 따르게 된다.
On the other hand, if the professional health care information includes request information from other doctors (520), it follows the process of Figure 6 below.
도면6은 본 발명의 일 실시 방법에 따른 의료정보 커뮤니케이션 서비스를 제공하는 과정을 도시한 도면이다.
6 is a diagram illustrating a process of providing a medical information communication service according to an embodiment of the present invention.
보다 상세하게, 도면6은 상기 도면5의 과정을 통해 의사 단말(110)로부터 제공되는 전문 건강 관리정보를 환자 단말(105)로 제공하는 과정에서 상기 전문 건강 관리정보에 타 의사 소견 요청 정보가 포함되어 있는 경우, 타 의사 소견 정보가 포함된 전문 건강 관리정보를 환자 단말(105)로 제공하는 과정을 도시한 것으로서, 본 발명이 속한 기술분야에서 통상의 지식을 가진 자라면, 도면6을 참조 또는 변형하여 타 의사 소견 정보가 포함된 전문 건강 관리정보를 환자 단말(105)로 제공하는 과정에 대한 다양한 실시 방법을 유추할 수 있을 것이나, 본 발명은 상기 유추되는 모든 실시 방법을 포함하여 이루어지며, 도면6에 도시된 실시 방법만으로 그 기술적 특징이 한정되지 아니한다.
More specifically, FIG. 6 includes request information of other doctors in the professional health care information in the process of providing the professional health care information provided from the
도면6을 참조하면, 상기 도면5의 과정을 통해 의사 단말(110)로부터 제공되는 전문 건강 관리정보를 환자 단말(105)로 제공하는 과정에서 상기 전문 건강 관리정보에 타 의사 소견 요청 정보가 포함되어 있는 경우, 서버(100)는 상기 소견이 요청된 타 의사의 고유 계정 정보를 확인하고(600), 상기 타 의사의 고유 계정 정보의 서브 계정에 상기 타 의사 소견 요청정보를 포함하는 전문 건강 관리정보를 등록한다(605).
Referring to FIG. 6, in the process of providing professional health management information provided from the
이후, 타 의사 단말로부터 타 의사의 소견 정보가 포함된 전문 건강 관리정보가 입력되면(610), 서버(100)는 타 의사 단말로부터 타 의사 소견이 포함된 전문 건강 관리정보를 수신하고(615), 환자 고유 계정의 서브계정에 상기 수신된 전문 건강 관리정보를 등록한다(620).
Subsequently, when professional health management information including opinions of other doctors is input from another doctor terminal (610), the server 100 receives professional health management information including other doctors' opinions from another doctor terminal (615). In
여기서, 상기 환자에게 제공되는 전문 건강 관리정보는 상기 환자의 주치의인 의사가 제공하는 전문 건강 관리정보와 상기 타 의사가 제공하는 전문 건강 관리정보를 모두 포함할 수 있다.
Here, the professional health care information provided to the patient may include both professional health care information provided by a doctor who is the main physician of the patient and professional health care information provided by the other doctor.
그리고, 상기 서버(100)는 환자 단말(105)과 연동하여 전문 건강 관리정보가 등록된 계정정보를 동기화하여 상기 전문 건강 관리정보를 확인할 수 있도록 한다(625).
In
도면7은 일 실시 방법에 따라 의료정보 커뮤니케이션 서비스를 위한 환자 무선 단말 기능 구성을 도시한 도면이다
7 is a diagram illustrating a configuration of a patient wireless terminal function for a medical information communication service according to one embodiment.
보다 상세하게 도면7은 의료정보 커뮤니케이션 서비스 제공을 위한 프로그램을 구비하며, 네트워크 상의 서버(100)와 연동하여, 환자상태 측정 데이터에 대응하는 의료정보를 제공받기 위한 환자 무선 단말(700)의 기능 구성을 도시한 것으로서, 본 발명이 속한 기술분야에서 통상의 지식을 가진 자라면, 도면7을 참조 또는 변형하여 환자상태 측정 데이터에 대응하는 의료정보를 제공받기 위한 환자 무선 단말(700)의 기능 구성에 대한 다양한 실시 방법을 유추할 수 있을 것이나, 본 발명은 상기 유추되는 모든 실시 방법을 포함하여 이루어지며, 도면7에 도시된 실시 방법만으로 그 기술적 특징이 한정되지 아니한다.
In more detail, Figure 7 is provided with a program for providing medical information communication service, in conjunction with the server 100 on the network, the functional configuration of the patient wireless terminal 700 for receiving medical information corresponding to the patient condition measurement data As shown in the drawings, those of ordinary skill in the art to which the present invention pertains may refer to the functional configuration of the patient wireless terminal 700 for receiving medical information corresponding to the patient state measurement data by referring to or modifying the drawing 7. Various implementation methods may be inferred, but the present invention includes all the implementation methods inferred, and the technical features are not limited only to the implementation method shown in FIG.
또한, 도면7의 환자 무선 단말(700)은 도면7에 도시된 기능 구성부 외에 현재/향후 출시되는 터치스크린(또는 터치패드)이 구비되는 스마트폰(또는 휴대폰)의 각종 기능 구성을 더 포함할 수 있으며, 이에 의해 본 발명이 한정되지 아니함을 명백히 밝혀두는 바이다.
In addition, the patient wireless terminal 700 of FIG. 7 may further include various functional configurations of a smart phone (or mobile phone) equipped with a touch screen (or touch pad) that is currently / futurely released in addition to the functional component shown in FIG. 7. It is apparent that the present invention is not limited thereto.
도면7을 참조하면, 의료정보 커뮤니케이션 서비스 제공을 위한 프로그램을 구비하며, 네트워크 상의 서버(100)와 연동하여, 환자상태 측정 데이터에 대응하는 의료정보를 제공받기 위한 환자 무선 단말(700)은, 제어부(705)와 메모리부(750)와 화면 출력부(710)와 키 입력부(715)와 사운드 출력부(720)와 사운드 입력부(725)와 카메라부(730)와 무선 통신부(735)와 근거리 통신부(740)와 외부기기 연결부(745) 및 전원 공급을 위한 배터리를 구비하며, 당업자의 의도에 따른 적어도 하나의 구성부를 더 구비할 수 있다.
Referring to FIG. 7, a patient wireless terminal 700 having a program for providing a medical information communication service and linked with a server 100 on a network to receive medical information corresponding to patient condition measurement data is provided. 705, a memory unit 750, a screen output unit 710, a key input unit 715, a sound output unit 720, a sound input unit 725, a camera unit 730, a wireless communication unit 735, and a near field communication unit. 740 and the external device connection unit 745 and a battery for power supply, and may further include at least one component according to the intention of those skilled in the art.
상기 제어부(705)는 환자 무선 단말(700)의 동작을 제어하는 기능 구성의 총칭으로서, 적어도 하나의 프로세서와 실행 메모리를 포함하며, 환자 무선 단말(700)에 구비된 각 기능 구성부와 버스(BUS)를 통해 연결된다. 본 발명에 따르면, 제어부(705)는 상기 프로세서를 통해 환자 무선 단말(700)에 구비되는 적어도 하나의 프로그램 코드를 상기 실행 메모리에 로딩하여 연산하고, 그 결과를 상기 버스를 통해 적어도 하나의 기능 구성부로 전달하여 환자 무선 단말(700)의 동작을 제어한다.
The controller 705 is a generic term for a functional configuration that controls the operation of the patient wireless terminal 700. The controller 705 includes at least one processor and an execution memory, and each function component and bus provided in the patient wireless terminal 700. BUS). According to the present invention, the controller 705 loads and executes at least one program code included in the patient wireless terminal 700 through the processor into the execution memory, and calculates at least one function configuration through the bus. By transmitting to the negative to control the operation of the patient wireless terminal 700.
이하, 편의상 본 발명을 구현하기 위해 프로그램 코드 형태로 구현되는 기능 구성부를 본 도면7의 제어부(705) 내에 도시하여 설명하기로 한다.
Hereinafter, for convenience, a functional component implemented in the form of program code will be described in the control unit 705 of FIG. 7 to implement the present invention.
메모리부(750)는 환자 무선 단말(700)에 구비되는 비휘발성 메모리의 총칭으로서, 상기 제어부(705)를 통해 실행되는 적어도 하나의 프로그램 코드와, 상기 프로그램 코드가 이용하는 적어도 하나의 데이터 셋트를 저장하여 유지한다.
The memory unit 750 is a general term for a nonvolatile memory included in the patient wireless terminal 700, and stores at least one program code executed through the control unit 705 and at least one data set used by the program code. To keep it.
메모리부(750)는 기본적으로 환자 무선 단말(700)의 운영체제에 대응하는 시스템 프로그램 코드와 시스템 데이터 셋트, 환자 무선 단말(700)의 무선 통신 연결을 처리하는 통신 프로그램 코드와 통신 데이터 셋트 및 적어도 하나의 응용프로그램 코드와 응용 데이터 셋트를 저장하며, 본 발명을 구현하기 위한 프로그램 코드와 데이터 셋트 역시 상기 메모리부에 저장될 수 있다.
The memory unit 750 basically includes a system program code and a system data set corresponding to an operating system of the patient wireless terminal 700, a communication program code and a communication data set for processing a wireless communication connection of the patient wireless terminal 700, and at least one. It stores the application code and the application data set of the program code and data set for implementing the present invention may also be stored in the memory unit.
본 발명의 실시 방법에 따르면, 메모리부(750)는 의료정보 커뮤니케이션 서비스 프로그램 정보와, 환자 고유 계정 및 하나 이상의 서브 계정 정보를 더 저장할 수 있다.
According to an exemplary embodiment of the present invention, the memory unit 750 may further store medical information communication service program information, a patient unique account, and one or more sub account information.
화면 출력부(710)는 화면출력 장치(예컨대, LCD(Liquid Crystal Display) 장치)와 이를 구동하는 출력 모듈로 구성되며, 제어부(705)와 버스로 연결되어 제어부(705)의 각종 연산 결과 중 화면 출력에 대응하는 연산 결과를 상기 화면출력 장치로 출력한다.
The screen output unit 710 includes a screen output device (for example, a liquid crystal display (LCD) device) and an output module for driving the screen output unit 710. The screen output unit 710 is connected to the bus with the controller 705 to display a screen among various calculation results of the controller 705. The operation result corresponding to the output is output to the screen output device.
키 입력부(715)는 적어도 하나의 키 버튼을 구비한 키 입력장치(또는 상기 화면 출력부(710)와 연동하는 터치스크린 장치)와 이를 구동하는 입력 모듈로 구성되며, 제어부(705)와 버스로 연결되어 제어부(705)의 각종 연산을 명령하는 명령을 입력하거나, 또는 제어부(705)의 연산에 필요한 데이터를 입력한다.
The key input unit 715 is composed of a key input device (or a touch screen device interworking with the screen output unit 710) having at least one key button and an input module for driving the same. Connected to input a command to command the various operations of the control unit 705, or input data required for the operation of the control unit 705.
사운드 출력부(720)는 사운드 신호를 출력하는 스피커와 상기 스피커를 구동하는 사운드 모듈로 구성되며, 제어부(705)와 버스로 연결되어 제어부(705)의 각종 연산 결과 중 사운드 출력에 대응하는 연산 결과를 상기 스피커를 통해 출력한다. 여기서, 사운드 모듈은 기 스피커를 통해 출력할 사운드 데이터를 디코딩(Decoding)하여 사운드 신호로 변환한다.
The sound output unit 720 includes a speaker for outputting a sound signal and a sound module for driving the speaker. The sound output unit 720 is connected to the bus by the control unit 705 and corresponds to a sound output among various calculation results of the control unit 705. Is output through the speaker. Here, the sound module decodes sound data to be output through the existing speaker and converts the sound data into a sound signal.
사운드 입력부(725)는 사운드 신호를 입력받는 마이크로폰과 상기 마이크로폰을 구동하는 사운드 모듈로 구성되며, 상기 마이크로폰을 통해 입력되는 사운드 데이터를 제어부(705)로 전달한다. 상기 사운드 모듈은 상기 마이크로폰을 통해 입력되는 사운드 신호를 엔코딩(Encoding)하여 부호화한다.
The sound input unit 725 includes a microphone for receiving a sound signal and a sound module for driving the microphone, and transmits sound data input through the microphone to the controller 705. The sound module encodes and encodes a sound signal input through the microphone.
상기 카메라부(730)는 상기 광학부와 CCD(Charge Coupled Device)와 이를 구동하는 카메라 모듈로 구성되며, 상기 광학부를 통해 상기 CCD에 입력된 비트맵 데이터를 획득한다. 상기 비트맵 데이터는 정지 영상의 이미지 데이터와 동영상 데이터를 모두 포함할 수 있다.
The camera unit 730 includes the optical unit, a charge coupled device (CCD), and a camera module for driving the same, and acquires bitmap data input to the CCD through the optical unit. The bitmap data may include both still image data and moving image data.
무선 통신부(735)는 무선 통신을 연결하는 통신 구성의 총칭으로서, 특정 주파수 대역의 무선 주파수 신호를 송수신하는 안테나, RF모듈, 기저대역모듈, 신호처리모듈을 적어도 하나 포함하여 구성되며, 제어부(705)와 버스로 연결되어 제어부(705)의 각종 연산 결과 중 무선 통신에 대응하는 연산 결과를 무선 통신을 통해 전송하거나, 또는 무선 통신을 통해 데이터를 수신하여 제어부(705)로 전달함과 동시에, 상기 무선 통신의 접속, 등록, 통신, 핸드오프의 절차를 유지한다.
The wireless communication unit 735 is a general term for a communication configuration for connecting wireless communication, and includes at least one antenna, an RF module, a baseband module, and a signal processing module for transmitting and receiving radio frequency signals of a specific frequency band, and the controller 705. Is connected to the bus and transmits the calculation result corresponding to the wireless communication among the various calculation results of the control unit 705 through wireless communication, or receives and transmits data to the control unit 705 through wireless communication, Maintain procedures for connection, registration, communication, and handoff of wireless communications.
본 발명의 실시 방법에 따르면, 무선 통신부(735)는 CDMA/WCDMA 규격에 따라 이동 통신망에 접속, 위치등록, 호처리, 통화연결, 데이터통신, 핸드오프를 적어도 하나 수행하는 이동 통신 구성을 포함한다. 한편 당업자의 의도에 따라 상기 무선 통신부(735)는 IEEE 802.16? 규격에 따라 휴대인터넷에 접속, 위치등록, 데이터통신, 핸드오프를 적어도 하나 수행하는 휴대 인터넷 통신 구성을 더 포함할 수 있으며, 무선 통신부(735)가 제공하는 무선 통신 구성에 의해 본 발명이 한정되지 아니함을 명백히 밝혀두는 바이다.
According to an embodiment of the present invention, the wireless communication unit 735 includes a mobile communication configuration for performing at least one connection, location registration, call processing, call connection, data communication, and handoff to a mobile communication network according to the CDMA / WCDMA standard. . Meanwhile, according to the intention of the person skilled in the art, the wireless communication unit 735 is an IEEE 802.16? In accordance with the standard, the mobile Internet connection may further include a mobile Internet communication configuration for performing at least one connection, location registration, data communication, and handoff, and the present invention is not limited by the wireless communication configuration provided by the wireless communication unit 735. It is clear that no.
근거리 통신부(740)는 일정 거리 이내에서 무선 주파수 신호를 통신매체로 이용하여 통신세션을 연결하는 근거리 통신모듈로 구성되며, 바람직하게는 ISO 180000 시리즈 규격의 RFID 통신, 블루투스 통신, 와이파이 통신, 공중 무선 통신 중 적어도 하나를 포함할 수 있다. 본 발명의 실시 방법에 따르면, 근거리 통신부(740)는 상기 무선 통신부(735)와 통합될 수 있다.
The short range communication unit 740 is configured as a short range communication module for connecting a communication session using a radio frequency signal as a communication medium within a predetermined distance, preferably ISO 180000 series RFID communication, Bluetooth communication, Wi-Fi communication, public wireless It may include at least one of the communication. According to the exemplary embodiment of the present invention, the short range communication unit 740 may be integrated with the wireless communication unit 735.
외부기기 연결부(745)는 다양한 외부기기 연결을 위한 연결 커넥터를 포함하며, 환자용 의료기기를 포함하는 외부기기로부터 전송되는 환자 상태 측정 데이터를 제어부로 전달한다.
The external device connection unit 745 includes a connection connector for connecting various external devices, and transmits patient state measurement data transmitted from an external device including a medical device for a patient to the controller.
도면7을 참조하면, 환자 무선 단말(700)은, 프로그램 구동부(755)와 데이터 수신부(760)와 서비스 요청부(765)와 정보 수신부(770)와 계정정보 처리부(775)를 포함하여 구성될 수 있다.
Referring to FIG. 7, the patient wireless terminal 700 may include a program driver 755, a data receiver 760, a service requester 765, an information receiver 770, and an account information processor 775. Can be.
프로그램 구동부(755)는, 사용자의 키(또는 터치) 입력에 따라 의료정보 커뮤니케이션 서비스를 위한 프로그램을 구동한다.
The program driver 755 drives a program for a medical information communication service according to a user's key (or touch) input.
예컨대, 상기 프로그램 구동부(755)는, 의료정보 커뮤니케이션 서비스를 위한 환자용 의료기기와 연결시, 상기 연결된 환자용 의료기기를 인식하여 자동으로 구동될 수 있다.
For example, the program driver 755 may be automatically driven by recognizing the connected patient medical device when connected to the patient medical device for the medical information communication service.
데이터 수신부(760)는, 환자용 의료기기와 연결되어 상기 환자용 의료기기를 통해 측정된 환자상태 측정 데이터를 수신한다.
The data receiving unit 760 is connected to the patient medical device and receives the patient state measurement data measured through the patient medical device.
서비스 요청부(765)는, 상기 수신된 환자상태 측정 데이터와 환자정보 등을 서버(100)로 전송하여 환자상태 측정 데이터에 대응하는 환자 관리정보 또는 전문 건강 관리정보를 요청한다.
The service request unit 765 transmits the received patient condition measurement data and patient information to the server 100 to request patient management information or professional health management information corresponding to the patient condition measurement data.
정보 수신부(770)는, 서버(100)와 연동하여 계정 정보를 상기 서버(100)와 동기화하여 제공받거나, 또는 서버(100)로부터 전송되는 환자 관리정보 또는 전문 건강 관리정보를 수신하고, 화면 출력부(710)와 연동하여 상기 제공된 계정 정보나 상기 수신된 환자 관리정보 또는 전문 건강 관리정보를 출력하도록 한다.
The information receiving unit 770 is provided in synchronization with the server 100 in synchronization with the server 100, or receives patient management information or professional health management information transmitted from the server 100, and outputs a screen. In conjunction with the unit 710 to output the provided account information, the received patient management information or professional health care information.
계정정보 처리부(775)는, 서버(100)와 연동하여 단말에 저장된 계정정보와 서버(100)상의 계정정보를 동기화 처리하거나, 서버(100)로부터 수신되는 환자 관리정보 또는 전문 건강 관리정보를 수신하여 계정별로 저장하도록 한다.
The account information processing unit 775 synchronizes with the account information stored in the terminal and the account information on the server 100 in association with the server 100, or receives the patient management information or the professional health management information received from the server 100. Save it by account.
도면8은 본 발명의 일 실시 방법에 따라 의료정보 커뮤니케이션 서비스를 위한 환자 무선 단말 동작 과정을 도시한 도면이다.
8 is a flowchart illustrating an operation of a patient wireless terminal for a medical information communication service according to an exemplary embodiment of the present invention.
보다 상세하게, 도면8은 상기 도면7에 도시된 의료정보 커뮤니케이션 서비스 제공을 위한 프로그램을 구비하며, 네트워크 상의 서버(100)와 연동하여, 환자상태 측정 데이터에 대응하는 의료정보를 제공받기 위한 환자 무선 단말(700)의 동작 과정을 도시한 것으로서, 본 발명이 속한 기술분야에서 통상의 지식을 가진 자라면, 도면8을 참조 또는 변형하여 상기 환자상태 측정 데이터에 대응하는 의료정보를 제공받기 위한 환자 무선 단말(700)의 동작 과정에 대한 다양한 실시 방법을 유추할 수 있을 것이나, 본 발명은 상기 유추되는 모든 실시 방법을 포함하여 이루어지며, 도면8에 도시된 실시 방법만으로 그 기술적 특징이 한정되지 아니한다.
More specifically, FIG. 8 includes a program for providing a medical information communication service shown in FIG. 7, and works with a server 100 on a network to wirelessly receive medical information corresponding to patient condition measurement data. As an operation process of the terminal 700, a person having ordinary knowledge in the technical field to which the present invention belongs, the patient radio for receiving medical information corresponding to the patient state measurement data by referring to or modifying the drawing 8 Various implementation methods for the operation process of the terminal 700 may be inferred, but the present invention includes all the implementation methods inferred above, and the technical features are not limited to the implementation method illustrated in FIG.
도면8을 참조하면, 본 발명에 따라 의료정보 커뮤니케이션 서비스를 위한 프로그램이 환자 무선 단말(700)에 탑재된 이후, 환자의 키 입력 등을 통해 의료정보 커뮤니케이션 서비스를 위한 프로그램이 구동될 수 있다(800).
Referring to FIG. 8, after the program for the medical information communication service is mounted in the patient wireless terminal 700 according to the present invention, the program for the medical information communication service may be driven through key input of the patient (800). ).
의료정보 커뮤니케이션 서비스를 위한 프로그램이 구동된 이후, 환자 무선 단말(700)은 환자상태 측정을 위한 환자용 의료기기와 연결여부를 확인한다(805).
After the program for the medical information communication service is driven, the patient wireless terminal 700 checks whether the patient is connected to the medical device for measuring the patient's condition (805).
환자 무선 단말과 환자용 의료기기가 통신 연결되면(810), 환자 무선 단말(700)은 환자용 의료기기로부터 환자상태 측정 데이터를 수신한다(815).
When the patient wireless terminal and the patient medical device is in communication (810), the patient wireless terminal 700 receives the patient state measurement data from the patient medical device (815).
환자용 의료기기로부터 환자상태 측정 데이터가 수신되면, 환자 무선 단말(700)은 환자상태 측정 데이터를 서버(100)로 전송하여 환자 관리정보 또는 전문 건강 관리정보를 요청한다(820).
When the patient state measurement data is received from the patient medical device, the patient wireless terminal 700 transmits the patient state measurement data to the server 100 to request patient management information or professional health management information (820).
서버(100)에서 환자 관리정보/전문 건강 관리정보를 환자 고유계정의 서브계정에 등록하면(825), 환자 무선 단말(700)은 서버(100)와 연동하여 계정 정보를 동기화하고(830), 계정에 등록된 환자 관리정보 또는 전문 건강 관리정보를 확인하여 화면 출력한다(835).
When the server 100 registers the patient management information / professional health care information in the sub-account of the patient's unique account (825), the patient wireless terminal 700 is synchronized with the server 100 to synchronize the account information (830), The screen may be output after checking the patient management information or professional health management information registered in the account (835).
도면9는 일 실시 방법에 따라 의료정보 커뮤니케이션 서비스를 위한 의사 무선 단말 기능 구성을 도시한 도면이다
9 is a diagram illustrating a pseudo wireless terminal function configuration for a medical information communication service according to one embodiment.
보다 상세하게 도면9는 의료정보 커뮤니케이션 서비스 제공을 위한 프로그램을 구비하며, 네트워크 상의 서버(100)와 연동하여, 환자상태 측정 데이터에 대응하는 의료정보를 제공하기 위한 의사 무선 단말(900)의 기능 구성을 도시한 것으로서, 본 발명이 속한 기술분야에서 통상의 지식을 가진 자라면, 도면9를 참조 또는 변형하여 환자상태 측정 데이터에 대응하는 의료정보를 제공하기 위한 의사 무선 단말(900)의 기능 구성에 대한 다양한 실시 방법을 유추할 수 있을 것이나, 본 발명은 상기 유추되는 모든 실시 방법을 포함하여 이루어지며, 도면9에 도시된 실시 방법만으로 그 기술적 특징이 한정되지 아니한다.
In more detail, FIG. 9 includes a program for providing a medical information communication service, and works with a server 100 on a network to configure a function of a pseudo wireless terminal 900 for providing medical information corresponding to patient condition measurement data. As shown in the drawings, those of ordinary skill in the art to which the present invention pertains may refer to the functional configuration of the pseudo radio terminal 900 for providing medical information corresponding to the patient condition measurement data by referring to or modifying the drawing 9. Various implementation methods may be inferred, but the present invention includes all the implementation methods inferred, and the technical features are not limited to the implementation method shown in FIG.
또한, 도면9의 의사 무선 단말(900)은 도면9에 도시된 기능 구성부 외에 현재/향후 출시되는 터치스크린(또는 터치패드)이 구비되는 스마트폰(또는 휴대폰)의 각종 기능 구성을 더 포함할 수 있으며, 이에 의해 본 발명이 한정되지 아니함을 명백히 밝혀두는 바이다.
In addition, the pseudo wireless terminal 900 of FIG. 9 may further include various functional configurations of a smart phone (or mobile phone) equipped with a touch screen (or touch pad) that is currently / later released in addition to the functional components shown in FIG. 9. It is apparent that the present invention is not limited thereto.
도면9를 참조하면, 의료정보 커뮤니케이션 서비스 제공을 위한 프로그램을 구비하며, 네트워크 상의 서버(100)와 연동하여, 환자상태 측정 데이터에 대응하는 의료정보를 제공하기 위한 의사 무선 단말(900)은, 제어부(905)와 메모리부(945)와 화면 출력부(910)와 키 입력부(915)와 사운드 출력부(920)와 사운드 입력부(925)와 카메라부(930)와 무선 통신부(935)와 근거리 통신부(940) 및 전원 공급을 위한 배터리를 구비하며, 당업자의 의도에 따른 적어도 하나의 구성부를 더 구비할 수 있다.
Referring to FIG. 9, a doctor wireless terminal 900 including a program for providing a medical information communication service and providing medical information corresponding to patient condition measurement data in conjunction with a server 100 on a network is provided. 905, a memory unit 945, a screen output unit 910, a key input unit 915, a sound output unit 920, a sound input unit 925, a camera unit 930, a wireless communication unit 935, and a near field communication unit 940 and a battery for power supply, and may further include at least one component according to the intention of those skilled in the art.
상기 제어부(905)는 의사 무선 단말(900)의 동작을 제어하는 기능 구성의 총칭으로서, 적어도 하나의 프로세서와 실행 메모리를 포함하며, 의사 무선 단말(900)에 구비된 각 기능 구성부와 버스(BUS)를 통해 연결된다. 본 발명에 따르면, 제어부(905)는 상기 프로세서를 통해 의사 무선 단말(900)에 구비되는 적어도 하나의 프로그램 코드를 상기 실행 메모리에 로딩하여 연산하고, 그 결과를 상기 버스를 통해 적어도 하나의 기능 구성부로 전달하여 의사 무선 단말(900)의 동작을 제어한다.
The controller 905 is a generic term for a functional configuration that controls the operation of the pseudo radio terminal 900. The controller 905 includes at least one processor and an execution memory, and each function component and bus provided in the pseudo radio terminal 900. BUS). According to the present invention, the controller 905 loads and executes at least one program code included in the pseudo radio terminal 900 through the processor into the execution memory, and calculates at least one function through the bus. By transmitting to the negative to control the operation of the pseudo radio terminal (900).
이하, 편의상 본 발명을 구현하기 위해 프로그램 코드 형태로 구현되는 기능 구성부를 본 도면9의 제어부(905) 내에 도시하여 설명하기로 한다.
Hereinafter, for convenience, a functional component implemented in the form of program code will be described in the control unit 905 of FIG.
메모리부(945)는 의사 무선 단말(900)에 구비되는 비휘발성 메모리의 총칭으로서, 상기 제어부(905)를 통해 실행되는 적어도 하나의 프로그램 코드와, 상기 프로그램 코드가 이용하는 적어도 하나의 데이터 셋트를 저장하여 유지한다.
The memory unit 945 is a general term for a nonvolatile memory included in the pseudo wireless terminal 900. The memory unit 945 stores at least one program code executed through the control unit 905 and at least one data set used by the program code. To keep it.
메모리부(945)는 기본적으로 의사 무선 단말(900)의 운영체제에 대응하는 시스템 프로그램 코드와 시스템 데이터 셋트, 의사 무선 단말(900)의 무선 통신 연결을 처리하는 통신 프로그램 코드와 통신 데이터 셋트 및 적어도 하나의 응용프로그램 코드와 응용 데이터 셋트를 저장하며, 본 발명을 구현하기 위한 프로그램 코드와 데이터 셋트 역시 상기 메모리부(945)에 저장될 수 있다.
The memory unit 945 basically includes a system program code and a system data set corresponding to an operating system of the pseudo wireless terminal 900, a communication program code and a communication data set for processing a wireless communication connection of the pseudo wireless terminal 900, and at least one. It stores the application code and the application data set of the program code and data set for implementing the present invention may also be stored in the memory unit (945).
본 발명의 실시 방법에 따르면, 메모리부(945)는 의료정보 커뮤니케이션 서비스 프로그램 정보와, 의사 고유 계정 및 하나 이상의 서브 계정 정보를 더 저장할 수 있다.
According to an embodiment of the present invention, the memory unit 945 may further store medical information communication service program information, a doctor-specific account, and one or more sub-account information.
화면 출력부(910)는 화면출력 장치(예컨대, LCD(Liquid Crystal Display) 장치)와 이를 구동하는 출력 모듈로 구성되며, 제어부(905)와 버스로 연결되어 제어부(905)의 각종 연산 결과 중 화면 출력에 대응하는 연산 결과를 상기 화면출력 장치로 출력한다.
The screen output unit 910 is composed of a screen output device (for example, an LCD (Liquid Crystal Display) device) and an output module for driving the same. The operation result corresponding to the output is output to the screen output device.
키 입력부(915)는 적어도 하나의 키 버튼을 구비한 키 입력장치(또는 상기 화면 출력부(910)와 연동하는 터치스크린 장치)와 이를 구동하는 입력 모듈로 구성되며, 제어부(905)와 버스로 연결되어 제어부(905)의 각종 연산을 명령하는 명령을 입력하거나, 또는 제어부(905)의 연산에 필요한 데이터를 입력한다.
The key input unit 915 includes a key input device (or a touch screen device interlocked with the screen output unit 910) having at least one key button and an input module for driving the key input device. Connected to input a command to command the various operations of the control unit 905, or input data required for the operation of the control unit 905.
사운드 출력부(920)는 사운드 신호를 출력하는 스피커와 상기 스피커를 구동하는 사운드 모듈로 구성되며, 제어부(905)와 버스로 연결되어 제어부(905)의 각종 연산 결과 중 사운드 출력에 대응하는 연산 결과를 상기 스피커를 통해 출력한다. 여기서, 사운드 모듈은 기 스피커를 통해 출력할 사운드 데이터를 디코딩(Decoding)하여 사운드 신호로 변환한다.
The sound output unit 920 includes a speaker for outputting a sound signal and a sound module for driving the speaker. The sound output unit 920 is connected to the bus by the controller 905 and corresponds to a sound output among various calculation results of the controller 905. Is output through the speaker. Here, the sound module decodes sound data to be output through the existing speaker and converts the sound data into a sound signal.
사운드 입력부(925)는 사운드 신호를 입력받는 마이크로폰과 상기 마이크로폰을 구동하는 사운드 모듈로 구성되며, 상기 마이크로폰을 통해 입력되는 사운드 데이터를 제어부(905)로 전달한다. 상기 사운드 모듈은 상기 마이크로폰을 통해 입력되는 사운드 신호를 엔코딩(Encoding)하여 부호화한다.
The sound input unit 925 includes a microphone for receiving a sound signal and a sound module for driving the microphone, and transmits sound data input through the microphone to the controller 905. The sound module encodes and encodes a sound signal input through the microphone.
상기 카메라부(930)는 상기 광학부와 CCD(Charge Coupled Device)와 이를 구동하는 카메라 모듈로 구성되며, 상기 광학부를 통해 상기 CCD에 입력된 비트맵 데이터를 획득한다. 상기 비트맵 데이터는 정지 영상의 이미지 데이터와 동영상 데이터를 모두 포함할 수 있다.
The camera unit 930 includes the optical unit, a charge coupled device (CCD), and a camera module for driving the same, and acquires bitmap data input to the CCD through the optical unit. The bitmap data may include both still image data and moving image data.
무선 통신부(935)는 무선 통신을 연결하는 통신 구성의 총칭으로서, 특정 주파수 대역의 무선 주파수 신호를 송수신하는 안테나, RF모듈, 기저대역모듈, 신호처리모듈을 적어도 하나 포함하여 구성되며, 제어부(905)와 버스로 연결되어 제어부(905)의 각종 연산 결과 중 무선 통신에 대응하는 연산 결과를 무선 통신을 통해 전송하거나, 또는 무선 통신을 통해 데이터를 수신하여 제어부(905)로 전달함과 동시에, 상기 무선 통신의 접속, 등록, 통신, 핸드오프의 절차를 유지한다.
The wireless communication unit 935 is a generic term for a communication configuration for connecting wireless communication. The wireless communication unit 935 includes at least one antenna, an RF module, a baseband module, and a signal processing module for transmitting and receiving radio frequency signals of a specific frequency band. ) Is connected to the bus and transmits the calculation result corresponding to the wireless communication among the various calculation results of the control unit 905 through wireless communication, or receives and transmits data to the control unit 905 through wireless communication, Maintain procedures for connection, registration, communication, and handoff of wireless communications.
본 발명의 실시 방법에 따르면, 무선 통신부(935)는 CDMA/WCDMA 규격에 따라 이동 통신망에 접속, 위치등록, 호처리, 통화연결, 데이터통신, 핸드오프를 적어도 하나 수행하는 이동 통신 구성을 포함한다. 한편 당업자의 의도에 따라 상기 무선 통신부(208)는 IEEE 802.16? 규격에 따라 휴대인터넷에 접속, 위치등록, 데이터통신, 핸드오프를 적어도 하나 수행하는 휴대 인터넷 통신 구성을 더 포함할 수 있으며, 무선 통신부(935)가 제공하는 무선 통신 구성에 의해 본 발명이 한정되지 아니함을 명백히 밝혀두는 바이다.
According to an exemplary embodiment of the present invention, the wireless communication unit 935 includes a mobile communication configuration for performing at least one connection, location registration, call processing, call connection, data communication, and handoff to a mobile communication network according to the CDMA / WCDMA standard. . Meanwhile, according to the intention of the person skilled in the art, the wireless communication unit 208 is IEEE 802.16? According to the specification, the mobile internet communication may further include a mobile internet communication configuration for performing at least one connection, location registration, data communication, and handoff, and the present invention is not limited by the wireless communication configuration provided by the wireless communication unit 935. It is clear that no.
근거리 통신부(940)는 일정 거리 이내에서 무선 주파수 신호를 통신매체로 이용하여 통신세션을 연결하는 근거리 통신모듈로 구성되며, 바람직하게는 ISO 180000 시리즈 규격의 RFID 통신, 블루투스 통신, 와이파이 통신, 공중 무선 통신 중 적어도 하나를 포함할 수 있다. 본 발명의 실시 방법에 따르면, 근거리 통신부(940)는 상기 무선 통신부(935)와 통합될 수 있다.
The short-range communication unit 940 is configured as a short-range communication module for connecting a communication session using a radio frequency signal as a communication medium within a predetermined distance, preferably ISO 180000 series RFID communication, Bluetooth communication, Wi-Fi communication, public wireless It may include at least one of the communication. According to an embodiment of the present invention, the short range communication unit 940 may be integrated with the wireless communication unit 935.
도면7을 참조하면, 의사 무선 단말(900)은, 프로그램 구동부(950)와 계정정보 처리부(955)와 인터페이스 제공부(960)와 정보 전송부(965)를 포함하여 구성될 수 있다.
Referring to FIG. 7, the pseudo wireless terminal 900 may include a program driver 950, an account information processor 955, an interface provider 960, and an information transmitter 965.
프로그램 구동부(950)는, 의사의 키(또는 터치) 입력에 따라 의료정보 커뮤니케이션 서비스를 위한 프로그램을 구동한다.
The program driver 950 drives a program for a medical information communication service according to a doctor's key (or touch) input.
계정정보 처리부(955)는, 서버(100)와 연동하여 단말(900)에 저장된 계정정보와 서버(100)상의 계정정보를 동기화 처리하거나, 서버(100)로부터 수신되는 환자 관리정보 또는 전문 건강 관리정보를 수신하여 계정별로 저장하도록 한다.
The account information processing unit 955 synchronizes with the account information stored in the terminal 900 and the account information on the server 100 in cooperation with the server 100, or manages patient information or professional health care received from the server 100. Receive information and store it by account.
인터페이스 제공부(960)는 환자 관리정보를 기반으로 전문 건강 관리정보를 입력(또는 선택)하기 위한 인터페이스를 제공한다.
The interface provider 960 provides an interface for inputting (or selecting) specialized health care information based on patient management information.
정보 전송부(965)는 상기 인터페이스를 통해 입력(또는 선택)된 전문 건강 관리정보를 서버(100)로 전송한다.
The information transmitter 965 transmits the professional health care information input (or selected) through the interface to the server 100.
도면10은 본 발명의 일 실시 방법에 따라 의료정보 커뮤니케이션 서비스를 위한 의사 무선 단말 동작 과정을 도시한 도면이다.
FIG. 10 is a flowchart illustrating an operation of a pseudo wireless terminal for a medical information communication service according to an exemplary embodiment of the present invention.
보다 상세하게, 도면10은 상기 도면9에 도시된 의료정보 커뮤니케이션 서비스 제공을 위한 프로그램을 구비하며, 네트워크 상의 서버(100)와 연동하여, 환자상태 측정 데이터에 대응하는 의료정보를 제공하기 위한 의사 무선 단말(900)의 동작 과정을 도시한 것으로서, 본 발명이 속한 기술분야에서 통상의 지식을 가진 자라면, 도면10을 참조 또는 변형하여 상기 환자상태 측정 데이터에 대응하는 의료정보를 제공하기 위한 의사 무선 단말(900)의 동작 과정에 대한 다양한 실시 방법을 유추할 수 있을 것이나, 본 발명은 상기 유추되는 모든 실시 방법을 포함하여 이루어지며, 도면10에 도시된 실시 방법만으로 그 기술적 특징이 한정되지 아니한다.
More specifically, FIG. 10 includes a program for providing a medical information communication service shown in FIG. 9, and interoperates with a server 100 on a network to provide medical information corresponding to patient condition measurement data. As an operation process of the terminal 900, a person having ordinary knowledge in the technical field to which the present invention belongs, the doctor radio for providing medical information corresponding to the patient state measurement data by referring to or modifying the drawing 10. Various implementation methods for the operation process of the terminal 900 may be inferred, but the present invention includes all the inferred implementation methods, and the technical features are not limited to the implementation method illustrated in FIG.
도면10을 참조하면, 본 발명에 따라 의료정보 커뮤니케이션 서비스를 위한 프로그램이 의사 무선 단말(900)에 탑재된 이후, 의사의 키 입력 등을 통해 의료정보 커뮤니케이션 서비스를 위한 프로그램이 구동될 수 있다(1000).
Referring to FIG. 10, after the program for medical information communication service is mounted in the doctor wireless terminal 900 according to the present invention, the program for medical information communication service may be driven through a key input of a doctor (1000). ).
의료정보 커뮤니케이션 서비스를 위한 프로그램이 구동된 이후, 서버(100)에서 환자 상태 측정 데이터(또는 환자 관리정보)를 환자 고유계정에 대응하는 의사 고유계정의 서브계정에 등록하면(1005),
After the program for the medical information communication service is started, when the patient state measurement data (or patient management information) is registered in the sub-account of the doctor-specific account corresponding to the patient-specific account in the server 100 (1005),
의사 무선 단말(900)은 서버(100)와 연동하여 계정 정보를 동기화하고(1010), 계정에 등록된 환자 상태 측정 데이터 또는 환자 관리정보를 화면 출력한다(1015).
The doctor wireless terminal 900 synchronizes account information with the server 100 in operation 1010, and outputs patient state measurement data or patient management information registered in the account in
이후, 상기 등록된 환자 상태 측정 데이터 또는 환자 관리정보에 대응하는 전문 건강 관리정보를 입력하고자 한다면(1020), 의사 무선 단말(900)은 전문 건강 관리정보 입력을 위한 인터페이스를 화면 출력한다(1025).
Subsequently, if a user wants to input professional health management information corresponding to the registered patient condition measurement data or patient management information (1020), the doctor wireless terminal 900 displays an interface for inputting professional health care information (1025). .
그리고, 의사 무선 단말(900)은 상기 인터페이스를 통해 입력되는 전문 건강 관리정보를 서버(100)로 전송하고, 서버(100)는 의사 무선 단말(900)에서 전송한 전문 건강 관리 정보를 환자 고유 계정의 서브 계정에 등록한다(1030).
In addition, the doctor wireless terminal 900 transmits the professional health care information input through the interface to the server 100, and the server 100 transmits the professional health care information transmitted from the doctor wireless terminal 900 to the patient's own account. It registers in the sub account of (1030).
100 : 의료정보 제공서버105 : 환자 단말
110 : 의사 단말115 : 의료기관 서버
120 : 의료정보 데이터베이스
200 : 데이터베이스 관리수단205 : 인증수단
210 : 계정 생성수단215 : 계정 처리수단
220 : 데이터 수신수단225 : 데이터 확인수단
230 : 판단수단235 : 정보 생성수단
240 : 정보 등록수단245 : 정보 처리수단
250 : 정보 확인수단100: medical information providing server 105: patient terminal
110: doctor terminal 115: medical institution server
120: Medical Information Database
200: database management means 205: authentication means
210: account creation means 215: account processing means
220: data receiving means 225: data checking means
230: determination means 235: information generating means
240: information registration means 245: information processing means
250: information verification means
| Application Number | Priority Date | Filing Date | Title |
|---|---|---|---|
| KR1020100102782AKR101167433B1 (en) | 2010-10-21 | 2010-10-21 | System and method for providing medical information communication service, server for providing medical information and terminal, program recording medium |
| Application Number | Priority Date | Filing Date | Title |
|---|---|---|---|
| KR1020100102782AKR101167433B1 (en) | 2010-10-21 | 2010-10-21 | System and method for providing medical information communication service, server for providing medical information and terminal, program recording medium |
| Publication Number | Publication Date |
|---|---|
| KR20120082041Atrue KR20120082041A (en) | 2012-07-23 |
| KR101167433B1 KR101167433B1 (en) | 2012-07-27 |
| Application Number | Title | Priority Date | Filing Date |
|---|---|---|---|
| KR1020100102782AActiveKR101167433B1 (en) | 2010-10-21 | 2010-10-21 | System and method for providing medical information communication service, server for providing medical information and terminal, program recording medium |
| Country | Link |
|---|---|
| KR (1) | KR101167433B1 (en) |
| Publication number | Priority date | Publication date | Assignee | Title |
|---|---|---|---|---|
| WO2014098415A1 (en)* | 2012-12-17 | 2014-06-26 | Samsung Electronics Co., Ltd. | Method of managing external devices, method of operating external device, host device, management server, and external device |
| KR20140107146A (en)* | 2013-02-27 | 2014-09-04 | 아이엠에스 헬스 인코포레이티드 | Linking health care applications for information management |
| KR101443357B1 (en)* | 2012-09-28 | 2014-09-29 | 주식회사 유비샘 | System for providing the health of a patient using cloud computing |
| WO2014178908A1 (en)* | 2013-05-01 | 2014-11-06 | Medsphere Systems Corporation | Methods and systems for creating and using multi-disciplinary treatment plans |
| KR20210001850A (en)* | 2019-06-26 | 2021-01-06 | 오채수 | Patient portal system for managing patients based on medical staff and menagement method for using the same |
| KR20220035799A (en)* | 2020-09-14 | 2022-03-22 | 국립암센터 | Apparatus and method for providing care services |
| WO2025079975A1 (en)* | 2023-10-10 | 2025-04-17 | 주식회사 씨젠 | Method and device for sharing personal health record |
| Publication number | Priority date | Publication date | Assignee | Title |
|---|---|---|---|---|
| JP2008047035A (en)* | 2006-08-21 | 2008-02-28 | Fujifilm Corp | Medical communication system |
| Publication number | Priority date | Publication date | Assignee | Title |
|---|---|---|---|---|
| KR101443357B1 (en)* | 2012-09-28 | 2014-09-29 | 주식회사 유비샘 | System for providing the health of a patient using cloud computing |
| US11056234B2 (en) | 2012-12-17 | 2021-07-06 | Samsung Electronics Co., Ltd. | Method of managing external devices, method of operating external device, host device, management server, and external device |
| US9740470B2 (en) | 2012-12-17 | 2017-08-22 | Samsung Electronics Co., Ltd. | Method of managing external devices, method of operating external device, host device, management server, and external device |
| US10114631B2 (en) | 2012-12-17 | 2018-10-30 | Samsung Electronics Co., Ltd. | Method of managing external devices, method of operating external device, host device, management server, and external device |
| US10459712B2 (en) | 2012-12-17 | 2019-10-29 | Samsung Electronics Co., Ltd. | Method of managing external devices, method of operating external device, host device, management server, and external device |
| WO2014098415A1 (en)* | 2012-12-17 | 2014-06-26 | Samsung Electronics Co., Ltd. | Method of managing external devices, method of operating external device, host device, management server, and external device |
| US11875881B2 (en) | 2012-12-17 | 2024-01-16 | Samsung Electronics Co., Ltd. | Method of managing external devices, method of operating external device, host device, management server, and external device |
| US12260957B2 (en) | 2012-12-17 | 2025-03-25 | Samsung Electronics Co., Ltd. | Method of managing external devices, method of operating external device, host device, management server, and external device |
| KR20140107146A (en)* | 2013-02-27 | 2014-09-04 | 아이엠에스 헬스 인코포레이티드 | Linking health care applications for information management |
| WO2014178908A1 (en)* | 2013-05-01 | 2014-11-06 | Medsphere Systems Corporation | Methods and systems for creating and using multi-disciplinary treatment plans |
| US10600517B2 (en) | 2013-05-01 | 2020-03-24 | Medsphere Systems Corporation | Network system of individual user devices to generate group implemented treatment plan |
| KR20210001850A (en)* | 2019-06-26 | 2021-01-06 | 오채수 | Patient portal system for managing patients based on medical staff and menagement method for using the same |
| KR20220035799A (en)* | 2020-09-14 | 2022-03-22 | 국립암센터 | Apparatus and method for providing care services |
| WO2025079975A1 (en)* | 2023-10-10 | 2025-04-17 | 주식회사 씨젠 | Method and device for sharing personal health record |
| Publication number | Publication date |
|---|---|
| KR101167433B1 (en) | 2012-07-27 |
| Publication | Publication Date | Title |
|---|---|---|
| KR101167433B1 (en) | System and method for providing medical information communication service, server for providing medical information and terminal, program recording medium | |
| CN110494919B (en) | Method for managing healthcare services by using a therapy management system | |
| US10789555B2 (en) | Mobile device-based system for automated, real time health record exchange | |
| CN101926675B (en) | Method, device and system for remotely acquiring physical detection data of user | |
| KR102351368B1 (en) | Method and apparatus for outputting audio in an electronic device | |
| US20180137936A1 (en) | Secure real-time health record exchange | |
| US20150161371A1 (en) | Electronic device and authentication control method | |
| KR102447179B1 (en) | Wireless communication method and electronic device providing same | |
| KR102337715B1 (en) | Electronic device and call processing method thereof | |
| US20170061074A1 (en) | Telemedicine system and method | |
| EP2800052A1 (en) | Method and apparatus for managing personal health | |
| CN102710878B (en) | Based on the medication alert method of mobile terminal, system and mobile terminal device | |
| KR101552250B1 (en) | System for controlling medical device by using short-range wireless communication technology and method of the same | |
| KR20160105261A (en) | Method and apparatus for providing card service using electronic device | |
| TW201421417A (en) | Method to transmit physiological detection signals via Bluetooth/Wi-Fi and mobile phone device | |
| CN103297510A (en) | Portable remote multifunctional medical service method | |
| WO2013112978A1 (en) | Unlocking a body area network | |
| CN113488137A (en) | Health management plan recommendation method, device and system | |
| WO2017105602A1 (en) | Telemedicine system and method | |
| JP2016076767A (en) | Short-range wireless communication system of electronic medical information and program thereof | |
| Frohner et al. | Development of an Android App in compliance with the Continua Health Alliance Design Guidelines for medical device connectivity in mHealth | |
| KR20150012388A (en) | Method of providing standard home nursing service based on patient's condition | |
| CN111785396A (en) | Server, client, detection device, doctor, triage method and system | |
| KR20150000538A (en) | A system for health management using network and a method thereby | |
| KR20160000985A (en) | System for providing u-health service for oda recipient countries |
| Date | Code | Title | Description |
|---|---|---|---|
| A201 | Request for examination | ||
| PA0109 | Patent application | St.27 status event code:A-0-1-A10-A12-nap-PA0109 | |
| PA0201 | Request for examination | St.27 status event code:A-1-2-D10-D11-exm-PA0201 | |
| D13-X000 | Search requested | St.27 status event code:A-1-2-D10-D13-srh-X000 | |
| D14-X000 | Search report completed | St.27 status event code:A-1-2-D10-D14-srh-X000 | |
| E902 | Notification of reason for refusal | ||
| PE0902 | Notice of grounds for rejection | St.27 status event code:A-1-2-D10-D21-exm-PE0902 | |
| P11-X000 | Amendment of application requested | St.27 status event code:A-2-2-P10-P11-nap-X000 | |
| P13-X000 | Application amended | St.27 status event code:A-2-2-P10-P13-nap-X000 | |
| E701 | Decision to grant or registration of patent right | ||
| PE0701 | Decision of registration | St.27 status event code:A-1-2-D10-D22-exm-PE0701 | |
| P22-X000 | Classification modified | St.27 status event code:A-2-2-P10-P22-nap-X000 | |
| GRNT | Written decision to grant | ||
| PR0701 | Registration of establishment | St.27 status event code:A-2-4-F10-F11-exm-PR0701 | |
| PR1002 | Payment of registration fee | St.27 status event code:A-2-2-U10-U11-oth-PR1002 Fee payment year number:1 | |
| PG1501 | Laying open of application | St.27 status event code:A-1-1-Q10-Q12-nap-PG1501 | |
| PG1601 | Publication of registration | St.27 status event code:A-4-4-Q10-Q13-nap-PG1601 | |
| P22-X000 | Classification modified | St.27 status event code:A-4-4-P10-P22-nap-X000 | |
| P22-X000 | Classification modified | St.27 status event code:A-4-4-P10-P22-nap-X000 | |
| P22-X000 | Classification modified | St.27 status event code:A-4-4-P10-P22-nap-X000 | |
| R18-X000 | Changes to party contact information recorded | St.27 status event code:A-5-5-R10-R18-oth-X000 | |
| P14-X000 | Amendment of ip right document requested | St.27 status event code:A-5-5-P10-P14-nap-X000 | |
| P16-X000 | Ip right document amended | St.27 status event code:A-5-5-P10-P16-nap-X000 | |
| Q16-X000 | A copy of ip right certificate issued | St.27 status event code:A-4-4-Q10-Q16-nap-X000 | |
| FPAY | Annual fee payment | Payment date:20150529 Year of fee payment:4 | |
| PR1001 | Payment of annual fee | St.27 status event code:A-4-4-U10-U11-oth-PR1001 Fee payment year number:4 | |
| P22-X000 | Classification modified | St.27 status event code:A-4-4-P10-P22-nap-X000 | |
| FPAY | Annual fee payment | Payment date:20160621 Year of fee payment:5 | |
| PR1001 | Payment of annual fee | St.27 status event code:A-4-4-U10-U11-oth-PR1001 Fee payment year number:5 | |
| FPAY | Annual fee payment | Payment date:20170710 Year of fee payment:6 | |
| PR1001 | Payment of annual fee | St.27 status event code:A-4-4-U10-U11-oth-PR1001 Fee payment year number:6 | |
| P22-X000 | Classification modified | St.27 status event code:A-4-4-P10-P22-nap-X000 | |
| P22-X000 | Classification modified | St.27 status event code:A-4-4-P10-P22-nap-X000 | |
| FPAY | Annual fee payment | Payment date:20180710 Year of fee payment:7 | |
| PR1001 | Payment of annual fee | St.27 status event code:A-4-4-U10-U11-oth-PR1001 Fee payment year number:7 | |
| P22-X000 | Classification modified | St.27 status event code:A-4-4-P10-P22-nap-X000 | |
| P22-X000 | Classification modified | St.27 status event code:A-4-4-P10-P22-nap-X000 | |
| FPAY | Annual fee payment | Payment date:20190710 Year of fee payment:8 | |
| PR1001 | Payment of annual fee | St.27 status event code:A-4-4-U10-U11-oth-PR1001 Fee payment year number:8 | |
| P22-X000 | Classification modified | St.27 status event code:A-4-4-P10-P22-nap-X000 | |
| PR1001 | Payment of annual fee | St.27 status event code:A-4-4-U10-U11-oth-PR1001 Fee payment year number:9 | |
| PR1001 | Payment of annual fee | St.27 status event code:A-4-4-U10-U11-oth-PR1001 Fee payment year number:10 | |
| PR1001 | Payment of annual fee | St.27 status event code:A-4-4-U10-U11-oth-PR1001 Fee payment year number:11 | |
| PR1001 | Payment of annual fee | St.27 status event code:A-4-4-U10-U11-oth-PR1001 Fee payment year number:12 | |
| PR1001 | Payment of annual fee | St.27 status event code:A-4-4-U10-U11-oth-PR1001 Fee payment year number:13 | |
| PR1001 | Payment of annual fee | St.27 status event code:A-4-4-U10-U11-oth-PR1001 Fee payment year number:14 |