




본 발명은 스마트카드 전자지갑(smart card electronic wallet)과 키오스크(kiosk)를 이용한 무인대출시스템 및 방법에 관한 것이다. 보다 구체적으로 본 발명은 금융정보의 조회 및 확인과 본인인증 기능을 지닌 스마트카드 전자지갑 그리고 상기 스마트카드 전자지갑에 의한 금융정보 및 본인인증과 공인된 신용평가기관의 신용평가결과에 따른 다수의 대출기관 별 대출조건을 표시함으로써 사용자의 선택에 따른 대출을 수행하는 키오스크를 이용한 무인대출시스템 및 방법에 관한 것이다.
The present invention relates to an unmanned loan system and method using a smart card electronic wallet (kiosk) and kiosk (kiosk). More specifically, the present invention provides a smart card electronic wallet with inquiry and verification of financial information and a personal authentication function, and a plurality of loans according to the financial information and identity verification by the smart card electronic wallet and credit evaluation results of an authorized credit rating agency. The present invention relates to an unmanned loan system and method using a kiosk that performs loans according to a user's choice by displaying loan conditions for each institution.
스마트카드 전자지갑(electronic wallet)이란 반도체칩(IC)에 전자적인 방법으로 일정금액의 가치를 저장하여 현금과 동일하게 사용할 수 있도록 한 결제수단의 일종으로서, 은행 또는 인증된 발행기관에서 발행된다는 점에서 선불카드 등과 구분된다.A smart card electronic wallet is a kind of payment method that allows you to store a certain amount of money in an electronic way on a semiconductor chip and use it like cash.It is issued by a bank or an authorized issuer. Prepaid cards and so on.
스마트카드 전자지갑은 편의상 비밀번호 입력이 필요한 고액결제용 비밀지갑과 비밀번호의 입력이 필요없는 소액결제용 현금지갑으로 나누어볼 수 있지만, 유사한 개념으로 혼용되어오던 선불카드와 달리 고도의 기밀성, 무결성, 가용성, 부인방지 특성을 만족시킴에 따라 온라인 금융거래, 증권거래는 물론 제휴은행간 예금이체, 신용카드를 이용한 충전이 가능한 형태로 발전해 왔다. 때문에 현재로서는 기능에 따른 구분의 실익이 없는 바, 이하에서 스마트카드 전자지갑은 현금지갑, 비밀지갑을 총칭한다.The smart card electronic wallet can be divided into a high-payment secret wallet that requires a password for convenience and a small wallet cash wallet that does not require a password input. As it meets the non-repudiation characteristics, it has developed into an online financial transaction, securities transaction, deposit transfer between affiliated banks, and recharging using a credit card. Therefore, at present, there is no benefit of the division according to the function. Hereinafter, the smart card electronic wallet refers to cash wallet and secret wallet.
한편, 대출(loan) 금융기관에서 외부에 자금을 공급하는 한 형식을 지칭하며, 은행이나 사금융회사 등 대출기관마다 대출조건은 상이하지만 공통적으로 대출자의 신원과 신용평가결과를 요구한다.On the other hand, it refers to a form in which a loan financial institution provides funds to the outside. Loan institutions, such as banks and private financial firms, have different loan conditions, but in general, require the lender's identity and credit rating results.
때문에 보통의 고객이 대출을 받기 위해서는 대출기관에 직접 방문해서 신원과 신용등급을 확인해야 하고, 신용등급이 해당 대출기관의 대출조건에 부합하면 대출금액의 한도와 이자율을 결정한 후 비로소 대출금을 수령할 수 있다.Therefore, in order to receive a loan, an average customer must visit a lender to check his or her identity and credit rating. Can be.
하지만 고객의 입장에서는 대출기관을 방문하기 전에 미리 자신의 신용등급과 대출조건 등을 알기 어려우며, 때문에 조금이라도 유리한 대출을 받기 위해서는 다수의 대출기관을 일일이 방문하여야만 하는 불편함이 따랐다. 이에 따라 다수의 대출기관과 고객을 중계하는 이른바 대출중개업이 나타나기도 했지만, 이 경우 고객에게 부당한 중계수수료의 부담이 가중되는 것은 물론 개인정보의 유출과 더불어 무분별한 신용평가신청으로 인한 신용등급 하락의 문제점을 수반한다.
However, from the customer's point of view, it is difficult to know his or her credit rating and loan conditions before visiting the lender, and therefore, it is inconvenient to visit a large number of lenders in order to receive a favorable loan. As a result, a so-called loan brokerage business that relayed a large number of lenders and customers appeared, but in this case, the burden of improper brokerage fees was imposed on the customers, as well as the leakage of personal information and the problem of credit rating deterioration due to indiscriminate credit application. Entails.
본 발명은 상기와 같은 문제점을 해결하기 위해 안출된 것이다. 즉, 본 발명은 고객이 대출기관을 일일이 방문하지 않더라도 자신의 신용등급에 따른 대출기관 별 대출조건을 손쉽게 확인하여 자신에게 유리한 대출을 자유로이 신청 및 접수할 수 있고, 더 나아가 대출과정 중에 나타날 수 있는 부당한 중계수수료의 부담과 개인정보의 유출을 방지하며 무분별한 신용평가신청으로 인한 신용등급하락을 방지할 수 있는 구체적인 방도를 제시하는데 그 목적을 둔다.The present invention has been made to solve the above problems. That is, the present invention can easily apply for and receive a loan in favor of the user by easily checking the loan conditions for each lender according to his or her credit rating even if the customer does not visit the lender one by one. The purpose of this study is to present specific measures to prevent the burden of improper relay fees and the leakage of personal information and to prevent the credit rating from falling down indiscriminately.
이를 위해 본 발명은 금융정보의 조회 및 확인과 본인인증 기능을 지닌 스마트카드 전자지갑 그리고 상기 스마트카드 전자지갑에 의한 금융정보 및 본인인증과 공인된 신용평가기관의 신용평가결과에 따른 다수의 대출기관 별 대출조건을 표시함으로써 사용자의 선택에 따른 대출을 수행하는 키오스크를 이용한 무인대출시스템 및 방법을 제공하고자 한다.
To this end, the present invention is a smart card electronic wallet having the function of inquiry and confirmation of financial information and identity verification, and a plurality of lenders in accordance with the financial information and identity verification by the smart card electronic wallet and credit evaluation results of authorized credit rating agencies. The purpose of the present invention is to provide an unmanned loan system and method using a kiosk that performs loans according to a user's choice by displaying loan conditions for each user.
상기와 같은 목적을 달성하기 위하여, 본 발명은 인터넷 접속된 사용자 단말; 인터넷 접속된 키오스크; 인터넷을 통해 상기 사용자 단말과 접속되고 공인된 신용정보평가기관과 유무선 통신망으로 연결되어 상기 사용자 단말을 통해 전송되는 전자지갑신청정보를 토대로 상기 신용평가기관과 연계하여 사용자의 신원과 개인신용정보를 확인하고, 상기 신용평가기관의 신용평가결과에 따라 상기 사용자 단말로 상기 전자지갑발급정보를 회신하는 전자지갑신청서버, 인터넷을 통해 상기 키오스크와 접속되고 대출기관과 유무선 통신망으로 연결되어 상기 키오스크를 통해 전송되는 신원확인정보 및 대출신청정보에 따라 상기 대출기관과 연계하여 대출을 신청하고 상기 키오스크로 대출처리정보를 회신하는 대출관리서버가 구비된 대출운영부; 상기 신용평가결과에 따라 상기 대출운영부 또는 신용평가기관에서 발급되어 사용자가 소지하며 상기 신원확인정보가 저장된 스마트카드 전자지갑을 포함하는 스마트카드 전자지갑과 키오스크를 이용한 무인대출시스템을 제공한다.In order to achieve the above object, the present invention provides a user terminal connected to the Internet; Internet connected kiosks; The user's identity and personal credit information are verified through linkage with the credit rating agency based on the electronic wallet application information connected to the user terminal through the Internet and connected to an authorized credit information evaluation agency through a wired / wireless communication network. And an electronic wallet application server for returning the electronic wallet issuance information to the user terminal according to the credit rating result of the credit rating agency, connected to the kiosk through the Internet, and connected to a lender and a wired / wireless communication network, and transmitted through the kiosk. A loan management unit provided with a loan management server for applying for loans in connection with the lenders and returning loan processing information to the kiosks according to identification information and loan application information to be provided; According to the result of the credit rating is issued by the loan management unit or credit rating agency is provided by the user possesses a smart card electronic wallet including a smart card electronic wallet with the identification information is stored and provides an unmanned loan system using a kiosk.
이때, 상기 키오스크는 사용자의 신원확인을 위한 신원확인부, 상기 스마트카드 전자지갑을 인식하는 리더부, 정보의 입출력을 위한 입출력부, 상기 대출처리정보를 인쇄하는 프린터를 포함하는 것을 특징으로 하고, 상기 신원확인부는 주민등록증의 지문과 사용자 지문을 인식하는 제 1 및 제 1 스캐너를 포함하고, 입출력부는 복수의 버튼과 터치스크린을 포함하는 것을 특징으로 하며, 상기 전자지갑신청서버와 연동되고 상기 전자지갑신청정보, 상기 전자지갑발급정보가 저장되는 적어도 하나의 제 1 데이터베이스; 상기 대출관리서버와 연동되고 상기 대출신청정보, 상기 대출처리정보가 저장되는 적어도 하나의 제 2 데이터베이스를 더 포함하는 것을 특징으로 한다.In this case, the kiosk is characterized in that it comprises an identity verification unit for identifying the user, a reader unit for recognizing the smart card electronic wallet, input and output unit for input and output of information, printer for printing the loan processing information, The identification unit includes first and first scanners for recognizing a fingerprint of a resident registration card and a user fingerprint, and an input / output unit includes a plurality of buttons and a touch screen, interlocked with the electronic wallet application server, and the electronic wallet. At least one first database for storing application information and the electronic wallet issuance information; And at least one second database interworking with the loan management server and storing the loan application information and the loan processing information.
또한 상기 신용평가결과는 난수로 암호화된 것을 특징으로 한다.In addition, the credit rating result is characterized by being encrypted with a random number.
아울러 본 발명은 인터넷 접속된 사용자 단말과 키오스크, 상기 사용자 단말과 신용정보평가기관을 중계하는 스마트카드 전자지갑신청서버 및 상기 키오스크와 대출기관을 중계하는 대출관리서버가 구비된 대출운영부, 상기 신용정보평기기관 또는 상기 대출운영부에서 발급되어 사용자가 소지하는 스마트카드 전자지갑을 이용한 무인대출방법으로서, (a) 상기 사용자 단말을 통해 상기 대출운영부로 스마트카드 전자지갑신청정보가 전송되는 단계; (b) 상기 대출운영부가 상기 신용정보평가기관과 연계해서 상기 스마트카드 전자지갑신청정보를 토대로 사용자의 신원과 개인신용정보를 확인하고, 상기 신용평가기관의 신용평가결과에 따라 상기 사용자 단말로 상기 스마트카드 전자지갑발급정보를 회신하는 단계; (c) 상기 대출운영부 또는 신용평가기관으로부터 상기 사용자에게 신원확인정보가 저장된 스마트카드 전자지갑이 발급되는 단계; (d) 상기 스마트카드 전자지갑을 소지한 사용자가 상기 키오스크를 이용하여 상기 신원확인정보로 신원확인을 하고 대출신청정보를 작성하여 상기 대출운영부로 전송하는 단계; (e) 상기 대출운영부가 상기 신원확인정보와 대출신청정보를 토대로 상기 대출기관과 연계해서 대출을 신청하고, 상기 키오스크로 대출처리정보를 회신하는 단계를 포함하는 스마트카드 전자지갑과 키오스크를 이용한 무인대출방법을 제공한다.In addition, the present invention loan operation unit provided with a user terminal and kiosk connected to the Internet, a smart card electronic wallet application server for relaying the user terminal and the credit information evaluation agency and a loan management server for relaying the kiosk and the lender, the credit information An unmanned loan method using a smart card electronic wallet issued by a rating agency or the loan operation unit and possessed by a user, the method comprising: (a) transmitting smart card electronic wallet application information to the loan operation unit through the user terminal; (b) the loan management unit checks the identity and personal credit information of the user based on the smart card electronic wallet application information in connection with the credit information evaluation agency, and sends the user information to the user terminal according to the credit evaluation result of the credit rating agency. Replying the smart card electronic wallet issuance information; (c) issuing a smart card electronic wallet in which identification information is stored to the user from the loan management unit or the credit rating agency; (d) a user holding the smart card electronic wallet, using the kiosk to identify the user with the identification information, and filling out loan application information to the loan operator; (e) The unmanned system using the smart card electronic wallet and kiosk, including the step of applying the loan in connection with the lenders and returning the loan processing information to the kiosk based on the identification information and the loan application information. Provide a loan method.
이때, 상기 (c) 단계의 상기 신원확인정보는 비밀번호 또는 PIN 번호 를 포함하고, 상기 (d) 단계는 (d1) 상기 키오스크를 이용하여 상기 사용자의 주민등록증 지문과 상기 사용자 지문의 일치여부를 확인하는 단계; (d2) 상기 키오스크를 이용하여 상기 스마트카드 전자지갑에 저장된 비밀번호 또는 PIN 번호 와 상기 사용자가 입력한 번호의 일치여부를 확인하는 단계를 포함하는 것을 특징으로 하며, 상기 (d) 단계는 (d3) 상기 키오스크를 이용하여 상기 사용자의 모바일기기 로 인증번호를 전송하고 상기 사용자가 입력한 숫자와 일치여부를 확인하는 단계를 더 포함하는 것을 특징으로 한다.In this case, the identification information of step (c) includes a password or PIN number, and the step (d) includes (d1) confirming whether the user's ID card fingerprint matches the user's fingerprint using the kiosk. step; (d2) using the kiosk to check whether the password or PIN number stored in the smart card electronic wallet and the number entered by the user, characterized in that the step (d) step (d3) The method may further include transmitting an authentication number to the mobile device of the user by using the kiosk and confirming whether the number matches the number input by the user.
또한, 상기 (d) 단계의 상기 신원확인정보로 신원확인 후 상기 대출신청정보 작성 전, 상기 대출운영부가 상기 신용평가기관에 상기 신원확인정보로 개인신용정보를 요청하고, 상기 신용평가기관으로부터 상기 대출운영부로 상기 신용평가결과가 회신되는 단계를 더 포함하는 것을 특징으로 하고, 상기 (e) 단계 후 상기 사용자의 은행계좌로 상기 대출에 따른 대출금이 입금되는 단계를 더 포함하는 것을 특징으로 한다.
Further, before the loan application information is written after the identity verification using the identification information of step (d), the loan management unit requests personal credit information from the credit rating agency as the identification information, And further comprising the step of returning the credit evaluation result to the loan management unit, and further comprising the step of depositing a loan according to the loan to the user's bank account after the step (e).
본 발명에 따르면 대출기관을 일일이 방문하지 않더라도 사용자의 신용등급에 따른 대출기관 별 대출조건을 손쉽게 확인하여 자신에게 유리한 대출을 신청 및 접수할 수 있다.According to the present invention, even if you do not visit the lender one by one, you can easily check the lending conditions for each lender according to the user's credit rating to apply for and receive a loan in favor of him.
또한, 본 발명에 따르면 사용자가 소지한 스마트카드 전자지갑의 은행계좌로 대출기관의 대출금이 입금되므로 현금과 동일하게 자유로이 사용할 수 있고, 최초 스마트카드 전자지갑의 발급시 사용자가 입력한 비밀번호 또는 PIN 번호가 저장되므로 강력한 보안기능과 편리성을 나타낸다.In addition, according to the present invention, because the loan of the lender is deposited into the bank account of the smart card electronic wallet possessed by the user, it can be used freely as cash, and the password or PIN number entered by the user when issuing the first smart card electronic wallet. Is stored, indicating strong security and convenience.
아울러 본 발명에 따르면 대출과정 중에 발생할 수 있는 부당한 중계수수료의 부담과 개인정보의 유출을 방지할 수 있고, 무분별한 신용평가신청으로 인한 신용등급하락을 방지할 수 있다.
In addition, according to the present invention can prevent the burden of unfair relay fees and personal information leakage that can occur during the loan process, it is possible to prevent the fall of the credit rating due to indiscriminate credit rating application.
도 1은 본 발명에 따른 무인대출시스템의 모식도.
도 2는 본 발명에 따른 무인대출시스템의 키오스크에 대한 모식도.
도 3은 본 발명에 따른 무인대출시스템의 키오스크에 대한 사시도.
도 4는 본 발명에 따른 스마트카드 전자지갑의 파일구조를 나타낸 모식도.
도 5는 본 발명에 따른 무인대출방법의 순서도.1 is a schematic diagram of an unmanned loan system according to the present invention.
Figure 2 is a schematic diagram of a kiosk of the unmanned loan system according to the present invention.
3 is a perspective view of a kiosk of the unmanned loan system according to the present invention.
Figure 4 is a schematic diagram showing the file structure of the smart card electronic wallet according to the present invention.
5 is a flow chart of the unmanned loan method according to the present invention.
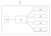
도 1은 본 발명에 따른 스마트카드 전자지갑과 키오스크를 이용한 무인대출시스템(이하, 간략하게 무인대출시스템이라 한다.)을 나타낸 모식도이다.1 is a schematic diagram showing an unmanned loan system (hereinafter, simply referred to as an unmanned loan system) using a smart card electronic wallet and kiosk according to the present invention.
보이는 것처럼, 본 발명에 따른 무인대출시스템은 인터넷에 접속 가능한 적어도 하나의 사용자 단말(10), 인터넷에 접속되고 공인된 신용정보평가기관(60) 및 복수의 대출기관(70)과 유무선 통신망으로 연결된 대출운영부(20), 인터넷을 통해 대출운영부(20)와 접속된 복수의 키오스크(40), 대출운영부(20) 또는 신용정보평기관(60)에서 발급되어 사용자가 소지하는 스마트카드 전자지갑(80)을 포함한다.As can be seen, the unmanned loan system according to the present invention is connected to at least one
각각을 상세히 살펴보면 다음과 같다.Looking at each of them in detail as follows.
사용자 단말(10)은 컴퓨터, PDA(personal digital assistants), 휴대폰, 스마트폰(smart phone) 등 인터넷 통신으로 원하는 정보를 송수신할 수 있는 모든 종류를 총칭한다. 따라서 사용자는 사용자 단말(10)을 이용해서 언제든지 어디서나 대출운영부(20)에 인터넷 접속해서 필요한 정보를 송수신할 수 있다.The
이때, 사용자 단말(10)을 통해 대출운영부(20)로 전송되는 정보는 스마트카드 전자지갑(80)의 발급에 필요한 전자지갑신청정보일 수 있고, 대출운영부(20)를 통해 사용자 단말(10)로 수신되는 정보는 전자지갑신청정보의 처리결과인 전자지갑발급정보일 수 있다.At this time, the information transmitted to the
대출운영부(20)는 사용자 단말(10)로부터 전송된 전자지갑신청정보를 토대로 공인된 신용평가기관(60)과 연계해서 사용자의 신원과 개인신용정보를 확인하고, 신용평가기관(60)의 신용평가결과에 따라 사용자 단말(10)로 전자지갑발급정보를 전송한다. 아울러 대출운영부(20)는 후술하는 키오스크(40)로부터 전송되는 대출신청정보와 신용평가결과를 토대로 다수의 대출기관과 연계해서 대출을 심사 및 접수하고 대출신청정보의 처리결과인 대출처리정보를 키오스크(40)에 전송한다.
이를 위한 대출운영부(20)는 상호 연동하는 적어도 하나의 서버(22,32) 및 데이터베이스(24,34)를 포함한다.
이때, 바람직하게는 대출운영부(20)의 서버(22,32)는 사용자 단말(10)과 인터넷으로 접속되고 공인된 신용평가기관(60)과 유무선 통신망으로 연결된 전자지갑신청서버(22), 복수의 키오스크(40)와 인터넷 접속되고 복수의 대출기관(70)과 유무선 통신망으로 연결된 대출관리서버(32)로 구분 가능하며, 각각은 적어도 하나의 제 1 및 제 2 데이터베이스(24,34)와 연동하고, 인터넷 접속 가능한 공통 또는 별개의 웹페이지를 제공한다.At this time, preferably, the
그리고 필요에 따라 대출운영부(20)에는 스마트카드 전자지갑(80)의 발급을 위한 전자지갑발급기가 구비될 수 있으며, 이 경우 스마트카드 전자지갑(80)은 대출운영부(20)에서 발급된다. 참고로, 스마트카드 전자지갑(80)은 신용평가기관(60)에서 발급되는 것도 가능하다.And if necessary, the
다음으로, 키오스크(40)는 사용자가 입력한 대출신청정보를 대출운영부(20)에 전송하고, 대출운영부(20)에서 전송되는 대출처리정보를 표시하며, 그외에 대출의 신청 및 접수를 위한 일련의 단계를 진행한다.Next, the
이를 위한 키오스크(40)는 대출운영부(20)의 대출관리서버(32)와 인터넷 통신을 지원하는 통신부, 사용자의 신원 확인을 위한 신원확인부, 사용자의 스마트카드 전자지갑을 인식하는 리더부, 신원확인과 대출을 위한 각종 정보가 입출력되는 입출력부, 명세서를 출력하는 프린터, 상기의 각 부분을 제어하기 위한 제어부를 포함한다. 키오스크에 대해서는 해당 부분에서 상세하게 살펴본다.The
마지막으로, 스마트카드 전자지갑(80)은 대출운영부(20) 또는 공인된 신용평가기관(60)에서 발급되어 사용자가 소지하는 카드매체 내지는 이와 유사한 종류로서 금융정보의 조회 및 확인, 본인인증, 지불수단의 기능을 지닌다. 이를 위해 스마트카드 전자지갑(80)에는 금융정보 와 신원확인정보가 내장되고, 체크카드, 직불카드, 교통카드 중 적어도 하나의 기능이 추가된다. 스마트카드 전자지갑(80)에 대해서는 해당 부분에서 상세하게 살펴본다.Lastly, the smart card
첨부된 도 2는 본 발명에 따른 키오스크(40)의 모식도이고, 도 3은 바람직한 일례를 나타낸 사시도이다.2 is a schematic diagram of a
보이는 것처럼, 본 발명에 따른 키오스크는 신원확인부(44), 리더부(46), 입출력부(48), 프린터(50)를 비롯한 통신부(42), 제어부(52)를 포함한다.As can be seen, the kiosk according to the present invention includes an
신원확인부(44)는 사용자의 신원을 확인하기 위한 것으로서 주민등록증의 지문과 사용자의 지문을 인식하는 제 1 및 제 2 스캐너(44a,44b)를 포함한다. 이때, 바람직하게는 제 1 스캐너(44a)의 제 1 스캔센서는 듀얼 컨택 이미지 센서로서 색소자를 이용하여 주민등록증의 인쇄상태, 재질 등을 토대로 위조여부를 감지할 수 있고, 제 2 스캐너(44b)의 제 2 스캔센서는 광학식 센서로서 온도, 주파수 등을 이용하여 지문의 위조여부를 감지할 수 있다.The
리더부(46)는 스마트카드 전자지갑의 인식을 위한 것으로서 스마트카드 전자지갑과 비접촉식 통신을 위한 IC칩과 안테나를 포함한다. 이때, 바람직하게는 리더부(46)에는 별도의 연산기능과 보안 알고리즘이 내장되어 고도의 보안성과 안정성을 추구한다.The
입출력부(48)는 신원확인과 대출에 필요한 각종 정보가 입출력되는 부분으로서 모니터(48a) 또는 터치스크린(48b) 중 하나와 복수의 버튼(48c)을 포함한다. 이때, 바람직하게는 모니터(48a)는 평판표시장치가 사용되고, 터치스크린(48b)은 멀티터치가 가능한 IR , 정압식 또는 정전용량방식이 사용되며, 복수의 버튼(48c)은 0~1의 숫자, 한글 또는 영문, 각종 문양이 적절히 할당된 키패드(key pad)가 사용될 수 있다.The input /
프린터(50)는 명세서를 출력하기 위한 부분으로서 바람직하게는 서멀 다이렉트 방식이며, 명세서에는 대출금액, 대출일시, 입금계좌, 잔여대출가능액을 비롯한 각종 필요내용이 기재된다.The
그 밖에도 통신부(42)는 인터넷 통신을 지원하기 위한 것으로서 통상의 기술내용이 적용될 수 있고, 제어부(52)는 신원확인부(44), 리더부(46), 입출력부(48), 프린터(50), 통신부(42)를 제어하여 후술하는 신원확인 및 대출이 원활하게 진행되도록 한다.In addition, the
첨부된 도 4는 본 발명에 따른 스마트카드 전자지갑의 바람직한 일례에 대한 파일구조를 나타낸 모식도이다.4 is a schematic diagram showing a file structure of a preferred example of a smart card electronic wallet according to the present invention.
보이는 것처럼, 스마트카드 전자지갑의 파일구조는 전용파일(DE)과 요소파일(EF)로 나누어볼 수 있다. 이때, 전용파일(DE)은 특정 어플리케이션이나 서비스와 관련된 것으로서 요소파일의 기능적인 그룹으로 이루어지고, 요소파일(EF)은 운영체제에 의해서만 이용되는 내부요소파일(internal EF), 리더기를 통해 읽고 쓸 수 있는 어플리케이션 데이터가 저장되는 작업요소파일(Working EF), 전자화폐 고유의 데이터가 관리되는 잔자화폐파일(EP EF)을 포함한다.As you can see, the file structure of a smart card electronic wallet can be divided into a dedicated file (DE) and an element file (EF). At this time, the dedicated file (DE) is related to a specific application or service and consists of a functional group of element files, and the element file (EF) can be read and written through an internal element file (internal EF) or a reader used only by an operating system. The working element file (Working EF) in which the application data is stored, and the residual money file (EP EF) in which data unique to electronic money is managed.
참고로, 본 도면에 표시된 숫자, 약어 등은 국제표준화기구(ISO)의 카드관련 국제표준 및 EMV(Europay, Master, Visa) 규격에 따르므로 각각에 대한 상세한 설명은 생략하지만, 직불, 금융공동망, 전자화폐의 기능과 더불어 본인인증을 위한 인증서가 내장된 것을 확인할 수 있다.For reference, numbers, abbreviations, and the like shown in this drawing are in accordance with the International Standard for Cards (ISO) and international standards for EMV (Europay, Master, Visa). In addition to the functions of electronic money, it is possible to confirm that a certificate for authentication is embedded.
첨부된 도 5는 본 발명에 따른 무인대출시스템을 이용한 무인대출방법의 순서도이다. 도 1 내지 도 4와 함께 참조해서 본 발명에 따른 무인대출방법을 순서대로 살펴본다.5 is a flowchart of an unmanned loan method using an unmanned loan system according to the present invention. With reference to Figures 1 to 4 looks at the unmanned loan method according to the invention in order.
먼저, 사용자는 사용자 단말(10)을 이용해서 대출운영부(20)의 웹페이지에 접속한다.(st1)First, the user accesses the web page of the
이때, 바람직하게는 웹페이지는 대출운영부(20)의 전자지갑신청서버(22)와 연동하고, 스마트카드 전자지갑신청을 위한 다수의 정보를 기재할 수 있는 입력란이 존재한다. 따라서 사용자는 각각의 입력란을 채워넣는 방식으로 전자지갑신청정보를 작성하여 대출운영부(20)에 전송한다.(st2)At this time, preferably the web page is interlocked with the electronic
참고로, 전자지갑신청정보는 사용자 확인과 스마트카드 전자지갑 수령을 위한 이름, 주민등록번호, 주소, 연락처, 사진 등의 사용자정보, 비밀번호 또는 PIN 번호 등의 인증정보, 연계 금융기관으로부터 대출금이 입금될 은행계좌정보, 체크카드, 직불카드, 교통카드 등 사용자가 원하는 부가기능의 선택정보를 포함한다.For reference, the electronic wallet application information includes the user information such as name, social security number, address, contact number, photo, authentication information such as password or PIN number for the user confirmation and smart card electronic wallet receipt, and the bank where the loan will be deposited from the linked financial institution. It includes optional information of additional functions desired by the user, such as account information, check card, debit card, and transportation card.
이어서, 대출운영부(20)의 전자지갑신청서버(22)는 전자지갑신청정보를 토대로 신용평가기관(60)과 연계해서 신원 및 개인신용정보를 확인하고, 신용평가기관(60)에 신용평가를 요청한다.(st3)Subsequently, the electronic
그리고 신용평가기관(60)의 신용평가결과에 따라 스마트카드 전자지갑의 발급여부를 판단하여 전자지갑발급정보를 사용자 단말(10)로 전송한다.(st5,st6) 이때, 전자지갑신청정보, 전자지갑발급정보는 전자지갑신청서버(22)와 연동하는 적어도 하나의 제 1 데이터베이스(24)에 저장되며, 바람직하게는 신용평가결과는 난수로 암호화되어 신용평가기관(60)으로부터 전송된다.Then, it is determined whether the smart card electronic wallet is issued according to the credit rating result of the
이어서, 해당 신용평가결과에 따라 스마트카드 전자지갑의 발급이 가능한 경우에는 신용평가기관(60) 또는 대출운영부(20)에서 스마트카드 전자지갑(80)이 발급되어 사용자에게 오프라인으로 전달된다. 이때, 스마트카드 전자지갑(80)에는 전자지갑신청정보의 사용자정보 및 인증정보에 기초한 비밀번호 또는 PIN 번호 등의 신원확인정보와 더불어 체크카드, 직불카드, 교통카드 등의 부가기능을 위한 각종 로직이 내장된다.(st7)Subsequently, when the smart card electronic wallet can be issued according to the credit rating result, the smart card
이어서, 스마트카드 전자지갑(80)을 수령한 사용자는 키오스크(40)를 이용하여 대출신청정보를 작성한다. 이때, 바람직하게는 대출신청정보의 작성 이전에 키오스크(40)에 의한 신원확인단계가 선행되는데, 신원확인단계는 주민등록증의 지문과 사용자의 지문을 비교하는 제 1 확인과정과 스마트카드 전자지갑의 비밀번호 또는 PIN 번호 를 확인하는 제 2 확인과정을 포함한다.(st8)Subsequently, the user who receives the smart card
즉, 신원확인을 위해 사용자가 키오스크(40)의 제 1 및 제 2 스캐너(44a,44b)에 각각 주민등록증과 손가락을 각각 올려놓으면 제어부(52)는 양자의 동일 여부를 판단하는 제 1 확인과정을 진행하고, 사용자가 리더부(46)에 스마트카드 전자지갑을 올려놓고 입출력부(48)에 비밀번호 또는 PIN 번호 를 입력하면 제어부(52)는 스마트카드 전자지갑(80)에 내장된 비밀번호 또는 PIN 번호 와 사용자가 입력한 번호의 동일 여부를 판단하여 제 2 확인과정을 진행한다. 이때, 바람직하게는 제어부(52)는 사용자의 핸드폰과 같은 모바일기기 로로 인증번호를 전송해서 입출력부(48)로 입력된 숫자의 동일 여부를 판단하는 제 3 확인과정을 진행할 수 있으며, 제 1 내지 제 3 확인과정의 순서는 특별한 한정이 없다.That is, if the user puts his or her ID card and his / her fingers on the first and
그리고 바람직하게는 신원확인단계 후 대출신청정보의 작성 전 대출운영부(20)에 의한 신용평가단계가 선행된다. 신용평가단계는 대출운영부(20)가 공인된 신용평가기관(60)에 사용자의 신용평가결과를 요청 및 회신하는 과정으로 진행되는데, 이로써 해당 사용자의 현재 신용평가결과를 확인할 수 있다. 참고로, 신용평가기관(60)에서 회신되는 신용평가결과는 난수로 암호화된다. And preferably after the identification step, the credit evaluation step by the
이어서, 키오스크(40)에 의한 신원확인단계와 대출운영부(20)에 의한 신용평가단계가 완료되면 사용자는 키오스크(40)를 이용하여 대출신청정보를 작성한다.(st9) 이때, 대출신청정보작성으로부터 대출까지는 일련의 연속된 동작으로서 키오스크(40), 대출운영부(20)의 대출관리서버(32), 대출기관(70)이 상호 연계해서 진행되며, 구체적인 방식은 자유로울 수 있으나 아래에서는 사용자를 중심으로 한가지 일례를 살펴본다.Subsequently, when the identification step by the
먼저, 신원확인의 완료 후 키오스크(40)의 모니터(48a) 또는 터치스크린(48b)에는 사용자의 현재 신용평가결과에 따라 대출가능한 대출기관과 대출한도, 연이율, 대출기간 등의 대출기준이 리스트의 형태로 표시된다. 이에 따라 사용자가 자신이 원하는 항목을 선택하면 모니터(48a) 또는 터치스크린(48b)에는 해당 대출기관이 요구하는 세부정보입력란이 표시된다. 이때, 세부정보입력란에는 원하는 대출액, 직업, 결혼유무, 주거형태 등 각종 필요사항이 포함되고, 사용자는 키오스크(40)의 입출력부(48)를 이용하여 각각을 작성한다. 이어서 세부정보입력란을 모두 작성하면 대출과 관련된 주요사항, 예컨대 대출기관, 대출액, 이자율, 대출기간 등 중요 사항이 요약 정리되어 모니터(48a) 또는 터치스크린(48b)에 표시된다. 그리고 바람직하게는 다시 한번 신원확인단계를 거친다. 여기서 신원확인단계는 앞서 살펴본 st8의 내용과 동일 또는 유사할 수 있다.First, after the identification is completed, the
그리고 이상의 과정을 통해 작성된 대출심사정보는 사용자의 현재 신용평가결과 와 함께 대출운영부(20)에 의해 대출심사요청의 형태로 대출기관에 전송된다.(st10) 이어서, 대출기관(70)은 대출심사요청에 따른 대출심사결과를 대출운영부(20)에 전송하고(st11), 대출운영부(20)는 대출처리정보의 형태로 키오스크(40)에 전송한다.(st12,st13)The loan screening information created through the above process is transmitted to the lender in the form of a loan screening request by the
그 결과 키오스크(40)로부터는 최종의 대출결과가 표시되고, 해당 사항은 프린터(50)를 통해 명세서에 인쇄되어 사용자에게 발급된다. 이때, 사용자가 작성한 대출신청정보, 대출처리정보는 대출관리서버(32)와 연동하는 적어도 하나의 제 2 데이터베이스(34)에 저장된다.As a result, the final loan result is displayed from the
그리고 대출이 이루어지면 대출금은 스마트카드 전자지갑신청정보의 은행계좌로 입금되며, 사용자는 스마트카드 전자지갑(80)의 체크카드, 직불카드, 교통카드 등의 부가기능을 이용하여 대출금을 자유로이 사용할 수 있다.(st14)When the loan is made, the loan is deposited into the bank account of the smart card electronic wallet application information, and the user can freely use the loan using additional functions such as a check card, a debit card, and a transportation card of the smart card
한편, 사용자는 자신의 대출한도액 내에서 위의 과정을 되풀이하는 방식으로 얼마든지 추가적인 대출을 받을 수 있으며, 이 경우 st1 내지 st7 단계는 당연히 생략될 수 있다.On the other hand, the user can receive any additional loans by repeating the above process within their loan limit, in which case st1 to st7 step can be omitted naturally.
이상의 설명 및 도면은 본 발명의 기술사상을 설명하기 위한 일례에 지나지 않으며, 본 발명을 한정하지는 않는다. 즉, 본 발명은 다양한 변형이 가능하지만 이들 변형이 본 발명의 기술사상 내에 있다면 본 발명에 속한다 해야 할 것인바, 본 발명의 기술사상은 이하의 특허청구범위에 기재된 대로 해석될 필요가 있다.The above description and drawings are only examples for describing the technical idea of the present invention, and do not limit the present invention. That is, the present invention may be variously modified, but if these modifications are within the technical spirit of the present invention, it should be included in the present invention, and the technical spirit of the present invention needs to be interpreted as described in the following claims.
| Application Number | Priority Date | Filing Date | Title |
|---|---|---|---|
| KR1020100049537AKR20110130083A (en) | 2010-05-27 | 2010-05-27 | Unmanned loan system and method using smart card electronic wallet and kiosk |
| Application Number | Priority Date | Filing Date | Title |
|---|---|---|---|
| KR1020100049537AKR20110130083A (en) | 2010-05-27 | 2010-05-27 | Unmanned loan system and method using smart card electronic wallet and kiosk |
| Publication Number | Publication Date |
|---|---|
| KR20110130083Atrue KR20110130083A (en) | 2011-12-05 |
| Application Number | Title | Priority Date | Filing Date |
|---|---|---|---|
| KR1020100049537ACeasedKR20110130083A (en) | 2010-05-27 | 2010-05-27 | Unmanned loan system and method using smart card electronic wallet and kiosk |
| Country | Link |
|---|---|
| KR (1) | KR20110130083A (en) |
| Publication number | Priority date | Publication date | Assignee | Title |
|---|---|---|---|---|
| WO2016171491A1 (en)* | 2015-04-22 | 2016-10-27 | (주)에스엠소프트 | System for evaluating loan eligibility and drafting contract by using mobile terminal |
| KR20190033985A (en) | 2017-09-22 | 2019-04-01 | 이종선 | Payment terminal providing loan service, loan method and system using the same |
| WO2020204261A1 (en)* | 2019-04-05 | 2020-10-08 | 주식회사 한메가 | Financial transaction service operating system and method using qr code |
| Publication number | Priority date | Publication date | Assignee | Title |
|---|---|---|---|---|
| WO2016171491A1 (en)* | 2015-04-22 | 2016-10-27 | (주)에스엠소프트 | System for evaluating loan eligibility and drafting contract by using mobile terminal |
| KR20190033985A (en) | 2017-09-22 | 2019-04-01 | 이종선 | Payment terminal providing loan service, loan method and system using the same |
| WO2020204261A1 (en)* | 2019-04-05 | 2020-10-08 | 주식회사 한메가 | Financial transaction service operating system and method using qr code |
| Publication | Publication Date | Title |
|---|---|---|
| KR102416954B1 (en) | Methods for prepaid, debit and credit card security code generation systems | |
| US7765162B2 (en) | Method and system for conducting off-line and on-line pre-authorized payment transactions | |
| AU2007211131B2 (en) | Techniques for authorization of usage of a payment device | |
| US8565723B2 (en) | Onetime passwords for mobile wallets | |
| US10147077B2 (en) | Financial transaction method and system having an update mechanism | |
| US20040024700A1 (en) | Electronic funds transfer method and system | |
| US6857565B2 (en) | Electronic traveler's checks | |
| KR20230125334A (en) | Prepaid, debit and credit card security code generation system | |
| US20180308076A1 (en) | Electronic financial processing system using personal atm terminal and method for processing thereof | |
| KR100819568B1 (en) | IC card storage information exchange method and system and program recording medium therefor | |
| KR20110130083A (en) | Unmanned loan system and method using smart card electronic wallet and kiosk | |
| KR101599908B1 (en) | How to provide a loan service through a merchant terminal | |
| CN108475374B (en) | Payment devices with multiple modes for conducting financial transactions | |
| US20090171841A1 (en) | Method and system for transferring funds between account holders | |
| KR100914662B1 (en) | Method for Providing Cash-back Correspond to Medical Supplies Purchasing | |
| KR101123627B1 (en) | A system for accumulating the changes and the method of providing the change accumulation service | |
| KR100916967B1 (en) | Drug Purchase Loan Processing System | |
| KR101785587B1 (en) | Method for Providing Loan Service by Affiliated Store's Terminal | |
| KR100832782B1 (en) | Information processing method and system and program recording medium therefor | |
| KR20090060241A (en) | Method for processing loan for purchasing medical supplies | |
| WO2002045278A2 (en) | Electronic funds transfer method and system | |
| AU2002227009A1 (en) | Electronic funds transfer method and system | |
| KR100885167B1 (en) | Total Limit Loan Data Processing Method and System and Program Record Medium | |
| KR20080003301A (en) | Information processing method and system and program recording medium therefor | |
| KR20090060240A (en) | How to Pay for Loan Payment |
| Date | Code | Title | Description |
|---|---|---|---|
| A201 | Request for examination | ||
| PA0109 | Patent application | Patent event code:PA01091R01D Comment text:Patent Application Patent event date:20100527 | |
| PA0201 | Request for examination | ||
| E902 | Notification of reason for refusal | ||
| PE0902 | Notice of grounds for rejection | Comment text:Notification of reason for refusal Patent event date:20110829 Patent event code:PE09021S01D | |
| PG1501 | Laying open of application | ||
| E902 | Notification of reason for refusal | ||
| PE0902 | Notice of grounds for rejection | Comment text:Notification of reason for refusal Patent event date:20120531 Patent event code:PE09021S01D | |
| E902 | Notification of reason for refusal | ||
| PE0902 | Notice of grounds for rejection | Comment text:Notification of reason for refusal Patent event date:20121029 Patent event code:PE09021S01D | |
| E601 | Decision to refuse application | ||
| PE0601 | Decision on rejection of patent | Patent event date:20130417 Comment text:Decision to Refuse Application Patent event code:PE06012S01D Patent event date:20121029 Comment text:Notification of reason for refusal Patent event code:PE06011S01I Patent event date:20120531 Comment text:Notification of reason for refusal Patent event code:PE06011S01I Patent event date:20110829 Comment text:Notification of reason for refusal Patent event code:PE06011S01I |