












본 발명은 무전기에 연결하여 두 손을 자유로이 사용하는 스피커 마이크로폰을 평상시나 방독면 또는 마스크를 착용한 상태 등 어떠한 상태에서도 무전 수신이나 송신이 모두 가능하게 스피커 마이크로폰의 수신은 일반 스피커(230)를 사용하고, 송신은 골전도유닛(150)을 이용한 골전도 마이크를 사용하여 방독면이나 마스크를 착용한 상태에서 목의 음성 진동이나 귀 옆의 머리뼈의 음성진동을 감지하여 송신할 수 있도록 하는 것으로서, 어떠한 주변 환경에서도 무전기 통신을 할 수 있는 골전도 마이크로폰에 관한 것이다.The present invention is connected to the radio, the speaker microphone using both hands freely in the usual or wearing a gas mask or mask in any state, such as radio reception or transmission is possible so that the reception of the speaker microphone using a
기 발명되어 실시되는 스피커 마이크로폰은 도 10 에 도시한 바와 같이 스피커 마이크로폰 본체의 일측에 코드(250)를 부착하고, 코드(250)의 다른 일측에 플러그(270)를 연결하여 무전기의 콘넥터에 연결할 수 있게 되어 있고, 본체(300)의 내부에 스피커(230)와 콘덴서마이크(240)와 PTT 스위치(220)가 구성되어 있으며, 무전기의 음성 수신 신호는 본체(200)의 스피커(230)를 통해 음파로 출력되고, 무전기의 송신 신호는 본체(200)에 내장된 콘덴서 마이크(240)로 사람 목소리의 음파를 감지하여 전기 신호로 바꾸어서 무전기에 출력 함으로서 송신을 하게 되고,The speaker microphone according to the present invention is attached to the
기 발명된 실용 제 20-0290420호 "마이크 및 스피커 폰이 부착된 방독면"은 방독면의 마스크 내부에 음성 송신용 마이크(101)와 방독면 외측면에 음성 수신용 스피커폰(102)을 부착 구성하여, 입을 통해 말을 하면 방독면의 마스크 내부에 장착된 음성 송신용 마이크(101)로 감지하여 음성 신호를 무전기에 송신하고, 무전기에서 수신된 음성 신호를 방독면의 외측 면에 장착된 음성 수신용 스피커폰(102)을 통해 출력하여 귀로 듣게 되어 있다.Practical invention 20-0290420 "gas mask with a microphone and speaker phone" is invented by attaching the
그런데 기 발명된 스피커 마이크로폰은 무전기 사용자가 방독면이나 마스크를 착용치 아니한 상태에서는 스피커 마이크로폰의 스피커(230)를 통해 무전기의 수신 음성을 출력하여 귀로 들을 수 있고, 입으로 말하는 음성 신호는 스피커 마이크로폰의 내장 콘덴서 마이크(240)를 통해서 음성 신호를 감지하여 전기 신호로 바꾸어 주어 무전기에 전달 함으로서 송신이 되지만, 무전기 사용자가 방독면이나 마스크를 사용시에는 입이 방독면이나 마스크에 막히게 되므로, 기 발명된 스피커 마이크로폰의 내장 콘덴서 마이크로(240)는 음파를 통한 송신이 어렵게 되는 문제점을 내재하고 있고, However, the speaker microphone of the present invention can output the received voice of the radio through the
기 발명된 된 실용 제 20-0290420호 "마이크 및 스피커 폰이 부착된 방독면"은 방독면을 착용시에는 방독면의 내부에 부착된 마이크(101)로 입으로 말하는 음성 신호를 감지하여 송신을 하고, 방독면의 외부에 장착된 스피커폰(102)으로 수신을 하게 되지만, 방독면을 착용치 않을 경우에는 무전기 송신과 수신을 모두 할 수 없는 문제점을 내재하고 있는 것이다.Practical invention 20-0290420 "gas mask with a microphone and a speaker phone" is invented when the gas mask is worn to detect and transmit a voice signal spoken by the
본 발명이 해결하고자 하는 과제는 무전기를 사용하여 무전 통신을 함에 있어서 평상시에도 무전기에 연결된 스피커 마이크로폰을 통해서 송신을 할 수 있고, 스피커 마이크로폰에 내장된 스피커(230)를 통해 수신을 할 수 있으며, 방독면이나 마스크 등을 착용한 상태에서도 무전 통신이 스피커 마이크로폰의 내장 마이크를 통해 송신을 할 수 있고, 스피커 마이크로폰의 내장 스피커(230)를 통해 수신을 할 수 있어서, 무전기 사용자가 방독면이나 마스크 등의 착용 여부에 관계없이 스피커 마이크로폰의 내장 마이크와 내장 스피커를 통해 간편하고 편리하게 무전기의 송신과 수신을 할수 있는 골전도 마이크로폰을 제공하고자 하는데 그 주된 목적이 있는 것이다.The problem to be solved by the present invention can be transmitted through the speaker microphone connected to the radio in normal radio communication using the radio, can be received through the
본 발명은 상기 문제점을 감안해서 이루어진 것으로 본체의 일측에 코드(250)를 연결하고 코드(250)의 다른 일측에 플러그(270)가 연결되어 무전기의 콘넥터와 접속할 수 있게 구성되고, 본체의 내부에 수신 음성을 출력할 수 있는 스피커(230)가 내장되고, 무전기의 상태를 송신 모드로 하기 위한 PTT 스위치(220)가 구성되며, PTT 스위치(220) 외부에는 PTT 버튼(210)으로 구성 되고, 본체(200)의 일측에는 골전도 마이크부(160)가 구성되고, 골전도 마이크부(160)와 본체(200) 사이에는 스프링이나 스폰지 등으로 탄성이 있게 구성한 완충부(170)를 구성하고, 골전도 마이크부(160) 내부에는 골전도유닛(150)을 내장하여 골전도 마이크로 동작이 되게 하고, 본체(200)의 내부에 골전도 마이크의 음성 진동 신호를 증폭할 수 있는 앰프(180)를 구성하며, 무전기의 수신 음성은 본체(200) 내에 구성된 스피커(230)를 통해서 음파로 출력되어 귀로 듣게 되고, 무전기 송신은 PTT 버튼(210)을 누르면 PTT 스위치(220)가 눌려서 무전기를 송신 모드가 되게 하고, 골전도유닛(150)이 구성된 골전도 마이크부(160)를 음성 진동이 있는 목이나 귀 옆에 갖다 대면, 목이나 귀 옆의 머리뼈의 음성 진동이 골전도유닛(150)을 진동시키고, 골전도유닛(150)의 음성코일(40)에 음성 전기 신호가 발생 되고, 이 음성 신호를 본체(200)에 내장된 앰프(200)에서 증폭해서 증폭된 음성 전기 신호를 무전기로 보내서 송신을 하게 된다.The present invention has been made in view of the above problems, and the
즉, 방독면이나 마스크 등의 착용 여부에 관계없이 본체(200) 내부에 내장된 스피커(230)를 통해서 수신된 음성신호를 출력하여 귀로 들을 수 있고, 또한 방독면이나 마스크 등의 착용 여부에 관계없이 본체(200) 내부나 본체(200)의 일측 면에 구성된 골전도 마이크부(160)에 내장된 골전도유닛(150)의 골전도 마이크 작용으로 목이나 귀 옆의 머리뼈의 음성 신호 진동을 감지하여 음성 전기 신호로 바꾸고, 본체(200)에 내장된 앰프(180)로 음성 전기 신호를 증폭하여 증폭된 음성 전기 신호를 무전기에 공급 함으로서 무리없이 송신을 할 수 있는 골전도 마이크로폰을 제공하려는 것이다.That is, regardless of whether a gas mask or a mask is worn, the voice signal received through the
본 발명은 무전 통신시 무전기를 손으로 들지 않고 허리에 차거나 주머니에 넣고 무전 통신을 할 수 있으며, 방독면이나 마스크 등의 착용 여부에 관계없이 무전기의 송신과 수신을 할 수 있는 것으로 주변 상황에 따라 방독면이나 마스크를 착용해야하는 소방관의 화재 진압이나 산불 진압 및 응급 구호 또는 경찰관 등의 경찰 활동에 매우 유익하게 사용할 수 있는 것으로서 어떠한 상황하에서도 두 손을 사용하면서 무전 통신을 할 수 있는 매우 유용한 발명이다.The present invention allows wireless communication without putting the radio in the waist or put it in the pocket during radio communication, and can transmit and receive the radio regardless of wearing a gas mask or a mask. It is a very useful invention that can be used in the fire fighting, forest fire suppression and emergency relief of police officers who need to wear a mask or a police officer, such as a police officer.
도 1은 본 발명의 구성 단면도.
도 2와 도 3은 본 발명의 다른 실시예의 구성 단면도.
도 4는 본 발명의 골전도유닛의 분리사시도.
도 5는 본 발명의 골전도유닛의 종 단면도.
도 6,도 7,도 8,도 9는 본 발명의 다른 실시예의 골전도유닛의 종 단면도.
도 10는 종래의 실시 상태의 스피커 마이크로폰 구성도.
도 11은 종래의 실시 상태의 골전도 헤드셋 구성도.
도 12는 종래의 실시 상태의 골전도 헤드셋 착용도.
도 13은 종래의 실시 상태의 방독면 구성도.1 is a cross-sectional view of the configuration of the present invention.
2 and 3 are cross-sectional views of another embodiment of the present invention.
Figure 4 is an exploded perspective view of the bone conduction unit of the present invention.
Figure 5 is a longitudinal cross-sectional view of the bone conduction unit of the present invention.
6, 7, 8 and 9 are longitudinal cross-sectional view of the bone conduction unit of another embodiment of the present invention.
10 is a configuration of a speaker microphone of a conventional embodiment.
11 is a configuration diagram of a bone conduction headset in a conventional embodiment.
12 is a wearing degree of bone conduction headset of the conventional embodiment.
13 is a configuration of a gas mask in a conventional embodiment.
도 1 은 본 발명의 구성 단면도를 도시한 것이고, 도 2, 도 3은 본 발명의 다른 실시예의 구성 단면도를 도시한 것이다.Figure 1 shows a sectional view of the configuration of the present invention, Figures 2 and 3 show the configuration sectional view of another embodiment of the present invention.
도 1에서 보는 바와 같이 본 발명의 골전도 마이크로폰은 플러그(270)와 코드(250)와 본체(200)와 스피커(230)와 PTT 스위치(220)와 PTT 버튼(210)과 앰프(180)와 완충부(170) 및 골전도유닛(150)과 골전도 마이크부(160)를 포함하여 이루어진다.
As shown in FIG. 1, the bone conduction microphone of the present invention includes a
무전기에서 수신된 음성신호는 무전기의 콘넥터에 연결된 플러그(270)와 코드(250)를 통해서 본체(200)에 내장된 스피커(230)로 출력되어 음파로 귀로 듣게 되고, 무전기 사용자의 음성 송신은 골전도 마이크폰의 골전도 마이크부(160)를 무전기 사용자의 목이나 귀 옆의 머리뼈에 접촉 시킴으로서, 무전기 사용자의 목이나 귀 옆의 머리뼈의 음성 진동이 골전도 마이크부(160)를 진동시키고, 골전도 마이크부(160)의 음성 진동이 골전도 마이크부(160)에 내장된 골전도유닛(150)을 진동시키고, 골전도유닛(150)의 영구자석과 음성코일의 상호 반작용에 의해서 골전도유닛(150)의 음성코일(40)에 음성 진동에 의한 음성 전기 신호가 발생 되게 되어서 골전도유닛(150)이 골전도 마이크 기능을 하게 되고, 골전도유닛(150)의 음성 전기 신호를 본체(200)에 내장된 앰프(180)에서 증폭하고, 증폭된 음성 전기 신호를 코드(250)와 플러그(270)를 통해 무전기에 공급 함으로서 음성 송신을 하게 되는데,The voice signal received from the radio is output to the
무전기의 사용자가 방독면이나 마스크를 착용한 상태에서는 무전기 사용자의 입은 막히게 되어 목소리의 음파에 의한 음성은 차단이 되나, 무전기 사용자가 말을 하게 되면, 이 음성 신호는 목이나 귀 옆의 머리뼈를 통해서 음성 진동을 하게 되는데, 이 음성 진동을 골전도 마이크부(160)로 감지하여 골전도유닛(150)을 진동시키고, 골전도유닛(40)의 진동으로 골전도유닛(150)의 영구 자석(90)과 음성코일(40) 사이에 작용 반작용에 의한 전자력이 발생하여 음성 코일에 음성 전기 신호가 발생되게 되며, 이 음성 전기 신호를 무전기에서 인식할 수 있는 정도의 크기로 본체(200)에 내장된 앰프(180)로 증폭하여 무전기로 보내서 음성 송신을 하게 되는 것이다.When the user of the radio wears a gas mask or mask, the user's mouth is blocked and the voice is blocked by sound waves.However, when the user of the radio speaks, the voice signal is transmitted through the neck bones of the neck or ear. The voice vibration is detected, the bone vibration is detected by the bone
즉, 무전기 사용자가 방독면이나 마스크 등의 착용 여부에 관계없이 무전기 사용자는 무전 통신을 할 수 있게 되는 것이다.That is, the radio user can perform radio communication regardless of whether the radio user wears a gas mask or a mask.
또한 본 발명이 진동을 통해서 음성을 감지할 수 있으므로 방독면이나 마스크를 착용한 상태에서도 입 옆의 볼 부위의 방독면이나 마스크의 고무면이나 천면을 통해서도 음성 진동 신호를 감지할 수도 있는 것이다.
In addition, since the present invention can detect the voice through vibration, the voice vibration signal may also be detected through the gas mask or the rubber surface or the mask surface of the cheek area next to the mouth even when wearing a gas mask or a mask.
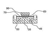
본 발명의 골전도 마이크로폰을 구성함에 있어서, 골전도 마이크부(160)에 수납 설치되는 골전도유닛(150)은 요크(20)에 4 방향으로 연장면(30)(30')을 구성함과, 이에 음성코일(40)을 형성하고 진동판(70)은 나사로 요크(20)에 고정한 것에 있어서, 진동판(70)의 상부에 부착된 철편(60) 중앙 상부에는 영구자석(90)을 설치하고, 음성코일(40)의 내부에는 중앙자극(50)을 형성하게 하여 영구 자석(90)에 의해 형성된 철편(60)의 자기력과 철편과 음성코일(40)의 진동에 의한 전자력에 의해 음성코일에 음성 전기 신호가 발생 되게 하여 골전도유닛(150)이 골전도 마이크로 작용할 수 있게 하는 골전도유닛(150)을 구성한다.
In constructing the bone conduction microphone of the present invention, the
이와 같이 본 발명은 무전 통신을 함에 있어서 방독면이나 마스크 등의 착용 여부에 관계없이 어떠한 상황 하에서도 무전기의 사용자가 무전기를 손으로 잡지 않고 , 무전기를 허리에 차고 두 손을 마음대로 사용할 수 있으며, 무전기의 수신은 골전도 마이크로폰 본체에 내장된 스피커(230)의 음성 출력으로 귀로 들을 수 있고, 무전기 사용자의 음성 송신은 목이나 귀 옆의 머리뼈 등의 음성 진동을 골전도유닛(150)을 이용한 골전도 마이크로 감지 함으로서 음성 진동이 있는 곳이면 어느 곳에 관계없이 입으로 크게 말을 하면 입의 음파로 진동 감지를 하거나, 음성 진동이 목으로도 전달되므로 목의 음성 진동을 감지할 수도 있고, 귀 옆의 머리뼈의 음성 진동 신호를 감지할 수도 있고, 또는 방독면이나 마스크 등의 고무판이나 천 등의 음성 진동도 감지가 가능하여 이 음성 진동 신호를 증폭해서 무전기에 보냄으로서 무전 송신을 할 수 있는 것이 특징이다.As described above, the present invention allows a user of a walkie talkie to carry a walkie talkie without using a walkie talkie or a mask, regardless of whether he or she wears a gas mask or a mask. Receiving can be heard in the ear by the voice output of the
10 : 케이스
20 : 요크
30 30' : 연장면
40 : 음성코일
50 : 중앙자극
60 : 철편
70 : 내부 진동판
80 : 고정나사
90 : 영구자석
150 : 골전도유닛
160 : 골전도 마이크부
170 : 완충부
180 : 앰프
200 : 본체
210 : PTT 버튼
220 : PTT 스위치
230 : 스피커
240 : 콘덴서 마이크
250 : 코드
270 : 플러그10: case
20: York
30 30 ': Extension surface
40: voice coil
50: central stimulation
60: iron piece
70: internal diaphragm
80: set screw
90: permanent magnet
150: bone conduction unit
160: bone conduction microphone
170: buffer unit
180: amplifier
200: main body
210: PTT button
220: PTT switch
230: Speaker
240: condenser microphone
250: code
270: plug
| Application Number | Priority Date | Filing Date | Title |
|---|---|---|---|
| KR1020100004196AKR20110084581A (en) | 2010-01-18 | 2010-01-18 | Bone conduction microphone |
| Application Number | Priority Date | Filing Date | Title |
|---|---|---|---|
| KR1020100004196AKR20110084581A (en) | 2010-01-18 | 2010-01-18 | Bone conduction microphone |
| Publication Number | Publication Date |
|---|---|
| KR20110084581Atrue KR20110084581A (en) | 2011-07-26 |
| Application Number | Title | Priority Date | Filing Date |
|---|---|---|---|
| KR1020100004196AWithdrawnKR20110084581A (en) | 2010-01-18 | 2010-01-18 | Bone conduction microphone |
| Country | Link |
|---|---|
| KR (1) | KR20110084581A (en) |
| Publication number | Priority date | Publication date | Assignee | Title |
|---|---|---|---|---|
| CN111405450A (en)* | 2020-02-26 | 2020-07-10 | 歌尔股份有限公司 | Simulated human head device for bone conduction equipment test and test method |
| CN113825054A (en)* | 2020-06-18 | 2021-12-21 | 李平 | Head-wearing type voice communication device |
| Publication number | Priority date | Publication date | Assignee | Title |
|---|---|---|---|---|
| CN111405450A (en)* | 2020-02-26 | 2020-07-10 | 歌尔股份有限公司 | Simulated human head device for bone conduction equipment test and test method |
| CN111405450B (en)* | 2020-02-26 | 2024-04-02 | 歌尔股份有限公司 | Simulated human head device for bone conduction equipment test and test method |
| CN113825054A (en)* | 2020-06-18 | 2021-12-21 | 李平 | Head-wearing type voice communication device |
| CN113825054B (en)* | 2020-06-18 | 2024-01-12 | 李平 | Head-wearing voice communication device |
| Publication | Publication Date | Title |
|---|---|---|
| JP5146147B2 (en) | Bone conduction microphone / speaker communication device | |
| CN101795143B (en) | Bone-conduction microphone built-in headset | |
| CN109479169B (en) | A method of modifying a hearing protector and hearing protector | |
| KR100829811B1 (en) | Wireless headset detachable from glasses | |
| WO2002043358A1 (en) | Portable telephone attachment for person hard of hearing | |
| JP3200747U (en) | Disaster prevention helmet | |
| US10911857B2 (en) | Sound output apparatus | |
| KR102382256B1 (en) | sound output device | |
| KR101366001B1 (en) | Vibrating headphones | |
| KR20110084581A (en) | Bone conduction microphone | |
| KR20120000147A (en) | Soundproof microphone headset | |
| KR20110080306A (en) | Portable terminal with hearing aid function | |
| KR20160128086A (en) | A wireless headset | |
| EP1341362A2 (en) | Hands free audio kit for helmet wearers | |
| JP6454934B1 (en) | Sound equipment | |
| JP2008109599A (en) | Compound operation type receiver operating as bone conduction receiver and respiratory tract receiver | |
| WO2020116253A1 (en) | Electroacoustic transducer and acoustic device | |
| JP2000261875A (en) | Communication device using bone conduction voice | |
| KR101427120B1 (en) | earphone on tragus | |
| EP4362499A1 (en) | A hearing aid with improved suspension | |
| KR20100119470A (en) | Wireless head set apparatus equipped with mic combined with earphone and monitoring function | |
| CN202514070U (en) | Vibration type loudspeaker | |
| KR200383075Y1 (en) | Skin Vibrator Bone Pone | |
| JP3189465U (en) | Bone-conduction wireless audio signal transmission system | |
| KR100506806B1 (en) | The bone-conduction receiver unit |
| Date | Code | Title | Description |
|---|---|---|---|
| PA0109 | Patent application | Patent event code:PA01091R01D Comment text:Patent Application Patent event date:20100118 | |
| PG1501 | Laying open of application | ||
| PC1203 | Withdrawal of no request for examination | ||
| WITN | Application deemed withdrawn, e.g. because no request for examination was filed or no examination fee was paid |