






본 발명은 고강도 집속 초음파 치료 시스템에 관한 것으로서, 특히 인체의 치료행위를 수행하면서 동시에 치료부위의 확인 및 치료과정의 모니터링을 간편하게 수행할 수 있는 고강도 집속 초음파 치료 시스템에 관한 것이다.The present invention relates to a high-intensity focused ultrasound therapy system, and more particularly, to a high-intensity focused ultrasound therapy system that can perform the treatment of the human body and at the same time can easily confirm the treatment site and monitor the treatment process.
고강도 집속 초음파 치료 시스템(HIFU; High-Intensity Focused Ultrasound Treatment System)은, 고강도의 집속된 초음파를 이용하여 인체의 질병을 치료하는 시스템으로서, 인체의 정상적인 조직이 받아들일 수 있는 에너지강도의 음파 에너지를 매질(sound bearing medium)을 통해, 환자의 체내 조직에 투과시켜 특정 치료부위 조직에 집중시킴으로써, 암세포의 응고(凝固)성 괴사(Necrotize)를 유발시키게 된다. 이러한 고강도 집속 초음파 치료 시스템은 치료용 초음파를 발생시키는 하나의 트랜스듀서 또는 복수 개의 트랜스듀서 배열로 구성되는 것이 보통이다.HIFU (High-Intensity Focused Ultrasound Treatment System) is a system that treats human diseases by using high-intensity focused ultrasound, and it is capable of absorbing sound wave energy of energy intensity that normal tissue of human body can accept. Through the sound bearing medium, it penetrates into the patient's body tissue and concentrates on the specific treatment site tissue, causing necrotic necrosis of cancer cells. Such high intensity focused ultrasound therapy systems typically consist of a single transducer or a plurality of transducer arrays that generate therapeutic ultrasound.
도 1에는 복수 개의 트랜스듀서 배열로 구성되는 고강도 집속 초음파 치료 시스템(1)의 일례가 도시되어 있다. 이 시스템(1)은, 구관(球冠, spherical crown) 형상의 용기(2)와, 상기 용기(2)의 내주면 위에 그려지는 복수 개의 가상 동심원 선상에 배열되며, 인체(H)에 치료용 초음파(U)를 조사하는 평면형 압전세라믹(3)과, 상기 압전세라믹(3)의 뒷면에 부착되는 음파흡수재료(4)를 구비한 복수 개의 트랜스듀서(5)를 포함하여 구성되며, 상기 평면형 압전세라믹(3)에서 조사되는 초음파(U)가 상기 용기(2)의 곡률중심(O)에 집속됨으로써, 인체(H)의 치료가 이루어진다.1 shows an example of a high intensity focused
한편, 이러한 고강도 집속 초음파 치료 시스템이 치료부위의 암세포를 순식간에 괴사시키면서 정상조직에 영향을 주지 않기 위해서는, 초음파의 초점과 부엽(Sidelobe,副葉)이 작아야 하고, 초음파 초점 내의 에너지가 커야 한다. 또한 피부와 초음파 조사(照射)경로 내의 정상조직이 높은 온도 때문에 발생하는 화상을 방지하기 위해서는, 도 1에 도시된 초음파의 집속각도(β)가 커야 한다.On the other hand, in order not to While these high-intensity focused ultrasound therapy system necrotic tumor cells of the treated area in a flash affect normal tissue, the ultrasonic focus and the side lobe (Sidelobe,副葉) is smaller, and larger the energy in the ultrasound focus. In addition, in order to prevent burns caused by the high temperature of the normal tissue in the skin and the ultrasonic irradiation path, the focusing angle β of the ultrasonic wave shown in FIG. 1 should be large.
그러나, 상기 고강도 집속 초음파 치료 시스템(1)은, 평면형 압전세라믹(3)을 사용하고 있으므로, 상기 압전세라믹(3)으로부터 조사되는 초음파(U)가 일정한 폭을 가진 형태로 조사되기 때문에 곡률중심(O)에 집속된 초음파(U)의 초점 영역이 커진다는 문제점이 있다.However, since the high-intensity focused
또한, 상기 고강도 집속 초음파 치료 시스템(1)은, 상기 압전세라믹(3)으로부터 후방으로 조사되는 초음파(U)가 상기 음파흡수재료(4)에 흡수되는 구조인 바, 상기 트랜스듀서(5)를 장시간 작동시킬 경우 음파흡수재료(4)에 대량의 열이 발생하므로 트랜스듀서(5)의 정상적인 작동에 영향을 준다는 문제점도 있다.In addition, the high-intensity focused
아울러, 이 고강도 집속 초음파 치료 시스템(1)의 경우에는, 상기 용기(2)에 치료부위를 확정하고 치료과정을 모니터링하기 위한 진단프로브(probe)를 결합시키 기 어려운 구조인 바, 인체의 치료행위를 수행하면서 동시에 치료부위의 확인 및 치료과정의 모니터링을 수행하는 것이 어렵다는 문제점도 있다.In addition, in the case of the high-intensity focused ultrasound therapy system (1), it is difficult to combine the diagnostic probe (probe) to determine the treatment site and monitor the treatment process to the container (2), the treatment behavior of the human body At the same time there is a problem that it is difficult to perform the identification of the treatment site and monitoring the treatment process.
복수 개의 트랜스듀서 배열로 구성되는 시스템의 또 다른 일례로는 중국 특허 출원번호 2001270265.x의 <일종의 초점 초음파 파원>이 있다. 이 시스템의 각 트랜스듀서는 평면형 압전세라믹 또는 압전세라믹에 음향렌즈가 조합되어 있는데, 트랜스듀서의 초음파 출력이 제한되기 때문에 초점 초음파의 강도가 편파적이라는 문제점이 있다. 또한, 중국 특허 출원번호 200510038963.1, 공개번호CN 1669672A의 <압전식 다원 고강도 초점 초음파 트랜스듀서 및 초점방법>의 트랜스듀서에서 알 수 있듯이, 압전세라믹과 음향렌즈의 조합방식은 음향렌즈와 압전도자기의 결합, 음향렌즈의 가공 등이 필요하므로 제작과정이 복잡하다는 문제점도 있다.Another example of a system consisting of a plurality of transducer arrays is <a kind of focal ultrasonic wave source> of Chinese patent application No. 2001270265.x. Each transducer in this system has a planar piezoceramic or a piezoceramic acoustic lens in combination. However, since the ultrasonic output of the transducer is limited, the intensity of focus ultrasound is polarized. In addition, as can be seen from the transducers of the piezoelectric multi-element high intensity focus ultrasonic transducer and focusing method of Chinese Patent Application No. 200510038963.1, Publication No. There is also a problem that the manufacturing process is complicated because the processing of the acoustic lens is required.
한편, 하나의 트랜스듀서를 사용하는 시스템의 경우에는, 트랜스듀서의 기하학적 모양과 주파수에 의해 초점의 위치와 사이즈가 결정되며, 형성된 초점의 초점 영역이 작고 부엽이 작다는 장점이 있다. 그러나 그 가공 기술의 제한 때문에 초음파 조사면적과 집속각도(β)가 작으며 초점구역 내의 에너지가 약하다는 문제점이 있다.On the other hand, in the case of a system using one transducer, the position and size of the focal point are determined by the geometric shape and frequency of the transducer, and the advantage is that the focal region of the formed focal point is small and the side lobe is small. However, due to the limitation of the processing technology, there is a problem that the ultrasonic irradiation area and the focusing angle β are small and the energy in the focal region is weak.
본 발명은 상기 문제를 해결하기 위해 안출된 것으로서, 그 목적은 인체의 치료행위를 수행하면서 동시에 치료부위의 확인 및 치료과정의 모니터링을 간편하게 수행할 수 있도록 구조가 개선된 고강도 집속 초음파 치료 시스템을 제공하기 위함이다.The present invention has been made to solve the above problems, the object of which is to provide a high-intensity focused ultrasound therapy system with improved structure to perform the treatment of the human body and at the same time to easily perform the identification of the treatment site and monitoring the treatment process To do this.
상기 목적을 달성하기 위하여 본 발명에 따른 고강도 집속 초음파 치료 시스템은, 인체의 특정 영역에 치료용 초음파를 조사하여 치료를 수행하는 고강도 집속 초음파 치료 시스템에 있어서, 구관(球冠, spherical crown) 형상의 용기; 상기 용기의 내주면 위에 그려지는 복수 개의 가상 동심원 선상에 배열되며, 치료용 초음파를 발생시키는 복수 개의 트랜스듀서; 진단용 초음파를 조사하는 진단프로브가 장착될 수 있는 일단부를 구비하며, 상기 일단부가 상기 용기를 관통하여 상기 용기의 곡률중심 방향에 배치되어 있는 파이프 형상의 프로브지지부재;를 포함하여 구성되는 특징을 갖는다.In order to achieve the above object, the high-intensity focused ultrasound therapy system according to the present invention, in the high-intensity focused ultrasound therapy system for performing treatment by irradiating therapeutic ultrasound to a specific area of the human body, the spherical crown (sphere) Vessel; A plurality of transducers arranged on a plurality of virtual concentric lines drawn on the inner circumferential surface of the container and generating therapeutic ultrasonic waves; It has one end to which the diagnostic probe for irradiating the diagnostic ultrasonic wave can be mounted, the one end portion is a pipe-shaped probe support member disposed in the direction of the center of curvature of the container through the container; .
본 발명에 따르면, 일단부에 진단용 초음파를 조사하는 진단프로브가 장착될 수 있는 파이프 형상의 프로브지지부재를 구비함으로써, 인체의 치료행위를 수행하면서 동시에 치료부위의 확인 및 치료과정의 모니터링을 간편하게 수행할 수 있다는 효과가 있다.According to the present invention, by having a pipe-shaped probe support member that can be equipped with a diagnostic probe for irradiating diagnostic ultrasonic waves at one end, while performing the treatment of the human body at the same time, the confirmation of the treatment site and the monitoring of the treatment process can be easily performed. The effect is that you can.
이하에서, 첨부된 도면들을 참조하여 본 발명의 바람직한 실시예를 상세하게 설명하기로 한다.Hereinafter, preferred embodiments of the present invention will be described in detail with reference to the accompanying drawings.
도 2는 본 발명의 일 실시예에 따른 고강도 집속 초음파 치료 시스템의 평면도이며, 도 3은 도 2에 도시된 고강도 집속 초음파 치료 시스템의 III-III선 단면도이다. 도 4는 도 3에 도시된 트랜스듀서의 IV-IV선 단면도이며, 도 5는 복수 개의 트랜스듀서 전부를 작동시킨 경우를 나타내는 도면이다.2 is a plan view of the high-intensity focused ultrasound therapy system according to an embodiment of the present invention, Figure 3 is a cross-sectional view III-III of the high-intensity focused ultrasound therapy system shown in FIG. 4 is a cross-sectional view taken along line IV-IV of the transducer illustrated in FIG. 3, and FIG. 5 is a diagram illustrating a case in which all of the plurality of transducers are operated.
도 2 내지 도 5를 참조하면, 본 발명의 바람직한 실시예에 따른 고강도 집속 초음파 치료 시스템(100)은, 인체의 특정 영역에 치료용 초음파(U)를 조사하여 치료를 수행하는 장치로서, 용기(10)와, 트랜스듀서(20)와, 진단프로브(30)와, 프로브지지부재(40)를 포함하여 구성된다.2 to 5, the high-intensity focused
상기 용기(10)는, 구관(球冠, spherical crown) 형상의 용기로서, 두랄루민 재질로 제조되며, 상기 용기(10)의 곡률반경은 300mm이다.The
상기 용기(10)의 내주면에는 복수 개의 제1관통공(11)이 형성되는데, 상기 제1관통공(11)들은 상기 용기(10)의 중심축선(C)을 중심으로 하여 상기 용기(10)의 내주면 위에 그려지는 복수 개의 가상 동심원 선상에 배치되며, 상기 각 동심원 선상에서 서로 등간격으로 배치되어 있다. 본 실시예에서 상기 동심원은 2개이며, 상기 제1관통공(11)은 안쪽 동심원에 8개, 바깥쪽 동심원에 16개가 분포되어 총 24개가 마련되어 있다.A plurality of first through
상기 용기(10)의 중심에는 하나의 제2관통공(12)이 형성되어 있는데, 상기 제2관통공(12)의 직경은 60mm이다.A second through
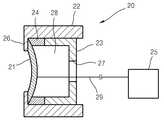
상기 트랜스듀서(20)는, 치료용 초음파(U)를 발생시키는 장치로서 복수 개 마련되어 상기 제1관통공(11)에 각각 결합됨으로써 상기 용기(10)의 내주면 위에 배열된다. 이 트랜스듀서(20)는, 압전세라믹(21)과, 케이스(22)와, 압착클램프(23)와, 개스킷(24)을 포함하여 구성된다. 본 실시예에서 상기 트랜스듀서(20)는 상기 제1관통공(11)의 갯수와 동일한 16개가 사용되고 있다.The
상기 압전세라믹(21)은, 치료용 초음파(U)를 발생시키는 부재로서, 미리 정해진 곡률반경을 갖는 구면을 구비하고 있다. 본 실시예에서는, 상기 압전세라믹(21) 구면의 곡률반경은 상기 구관 형상 용기(10)의 곡률반경과 동일하다.The
상기 케이스(22)는, 상기 압전세라믹(21)을 내부에 수용하는 파이프 형상의 부재로서, 일단에는 내측으로 연장된 걸림턱(26)이 형성되어 있다.The
상기 압착클램프(23)는, 일단이 개구된 원통형 부재로서, 상기 개구된 일단이 상기 케이스(22)의 타단 내부에 삽입됨으로써 반사공동(28)이 마련될 수 있도록 형성되어 있으며, 폐쇄된 타단의 중앙부에는 구멍(27)이 형성되어 있다.The crimping
상기 개스킷(24)은, 상기 압전세라믹(21)과 상기 압착클램프(23)의 일단 사이에 배치되는 절연부재이다.The
상기 전원장치(25)는, 상기 압전세라믹(21)에 고출력의 고주파 전기를 공급하는 장치로서 복수 개 마련되며, 상기 압전세라믹(21)에 하나씩 전기적으로 연결되어 있다. 상기 압전세라믹(21)에 연결된 도선(29)이 상기 압착클램프(23)의 구멍(27)을 통과하여 상기 전원장치(25)에 연결된다.The
상기 진단프로브(30)는, 인체를 진단하기 위하여 진단용 초음파를 조사하는 장치로서, 상기 용기(10)의 곡률중심(O) 방향에 배치된다.The
상기 프로브지지부재(40)는, 파이프 형상의 부재로서, 일단부에는 상기 진단프로브(30)가 장착되어 있다. 이 프로브지지부재(40)는, 상기 용기(10)의 중심축선(C)을 따라 상하로 이동가능하고 상기 용기(10)의 중심축선(C)을 중심으로 회전운동 가능하도록 일단부가 상기 제2관통공(12)을 관통한 상태로, 상기 용기(10)에 결합되어 있고, 타단부는 상기 상하 운동과 회전 운동을 발생시키는 구동장치(미도시)와 연결되어 있다. 본 실시예에서 상기 프로브지지부재(40)의 외경은 60mm이다.The
상기 프로브지지부재(40)와 상기 용기(10)의 제2관통공(12) 사이에는, 상기 용기(10)내에 담긴 액체가 새어나오는 것을 방지하기 위한 밀폐링(미도시)이 마련되어 있다.A sealing ring (not shown) is provided between the
이하에서는, 상술한 구성의 고강도 집속 초음파 치료 시스템(100)을 사용하는 방법의 일례를 설명하기로 한다.Hereinafter, an example of a method of using the high intensity focused
상기 압전세라믹(21)에 연결된 전원장치(25)를 켜게 되면 상기 압전세라믹(21)으로부터 초음파(U)가 발생되는데, 이 초음파(U)는 인체(H)를 향하여 전방으로 조사될 뿐 아니라, 후방으로도 조사가 된다. 이때, 상기 압전세라믹(21)와 압착클램프(23)가 형성하는 반사공동(28)에 의하여, 상기 후방으로 조사되는 초음파(U)가 전방으로 반사되어, 전방으로 조사된 초음파(U)와 중첩되어 에너지 이용률이 높아진다는 장점이 있다.When the
또한, 상기 고강도 집속 초음파 치료 시스템(100)의 경우에는 별도의 음파흡 수재료가 없이 상기 반사공동(28)에 의하여 후방으로 조사되는 초음파(U)가 전방으로 반사되기 때문에, 종래의 고강도 집속 초음파 치료 시스템(1)과는 달리, 초음파(U) 흡수에 의한 발열 현상이 억제될 수 있다는 장점도 있다. 그리고, 상기 압착클램프(23)에는 상기 구멍(27)이 구비되어 있으므로, 초음파(U)에 의하여 발생된 열의 일부가 쉽게 외부로 배출될 수 있다는 장점도 있다.In the case of the high intensity focused
한편, 상기 압전세라믹(21)은, 종래의 고강도 집속 초음파 치료 시스템(1)에서 사용되는 평면형 압전세라믹(3)과는 달리, 상기 구관 형상 용기(10)의 곡률반경과 동일한 곡률반경을 가진 구면을 가지고 있으므로, 상기 용기(10) 형상에 의한 1차적인 초점 형성이 상기 곡률중심(O)에 이루어지고, 상기 압전세라믹(21)의 구면 형상에 의한 2차적인 초점이 동일한 지점에 중첩되어 형성됨으로써, 2중 초점(Double Focusing) 이 구현된다는 장점이 있다. 따라서, 초점영역이 작고 초점영역 내의 에너지가 크다는 장점이 있다.On the other hand, the piezoelectric ceramic 21, unlike the planar piezoelectric ceramic (3) used in the conventional high-intensity focused
또한, 상기 고강도 집속 초음파 치료 시스템(100)은, 하나의 트랜스듀서를 사용하는 종래의 시스템과는 달리, 300mm의 곡률반경을 가지는 대구경의 용기(10)를 구비하는 바, 집속각도(β)가 크다는 장점도 있다. 따라서, 피부와 초음파 조사(照射)경로 내의 정상조직에 화상이 발생하는 것을 방지할 수 있다.In addition, unlike the conventional system using one transducer, the high-intensity focused
상기 고강도 집속 초음파 치료 시스템(100)의 경우, 상기 전원장치(25)가 상기 압전세라믹(21)에 하나씩 연결되어 있으므로, 상기 전원장치(25)의 출력을 전체적으로 또는 개별적으로 조절함으로써, 상기 복수 개의 트랜스듀서(20)의 출력 에너지를 집단적으로 또는 개별적으로 조절할 수 있으며, 상기 복수 개의 트랜스듀 서(20) 중 일부 트랜스듀서(20)만을 선택적으로 작동시킴으로써, 필요에 따라 상기 트랜스듀서(20)로부터 조사되는 초음파(U)의 조사경로를 선택할 수 있다는 장점이 있다.In the case of the high intensity focused
즉, 초음파(U)의 조사경로 상에 아무런 방해요소가 없고 강력한 출력의 치료가 요구되는 경우에는, 도 5에 도시된 바와 같이, 모든 트랜스듀서(20)들을 작동시킬 수 있으며, 초음파(U)의 조사경로 상에 인체(H)의 골격과 같은 방해요소가 있는 경우에는, 도 6에 도시된 바와 같이, 그 방해요소를 피할 수 있는 외곽 동심원 상에 배열된 트랜스듀서(20)들만을 작동시킬 수도 있다. 또한, 인체(H)의 피부에 대한 치료의 경우처럼 미약한 출력의 치료가 요구되는 경우에는, 도 7에 도시된 바와 같이, 일측의 트랜스듀서(20) 한 개 또는 몇 개를 선택적으로 작동시킬 수도 있다.That is, when there is no obstruction on the irradiation path of the ultrasonic wave U and a strong output treatment is required, as shown in FIG. 5, all the
또한, 상기 고강도 집속 초음파 치료 시스템(100)는, 상기 용기(10)를 관통한 상태로 상기 용기(10)의 중심축선(C)을 따라 상하로 이동가능하고 그 중심축선(C)을 중심으로 회전운동 가능한 프로브지지부재(40)를 구비하고 있으므로, 상기 진단프로브(30)의 장착이 편리하고, 인체(H)의 치료행위를 수행하면서 동시에 치료부위의 확인 및 치료과정의 모니터링을 간편하게 수행할 수 있으므로 치료 시술 중에도 치료부위 확정과 치료효과를 평가하는 것이 가능하다는 장점이 있다.In addition, the high-intensity focused
특히, 상기 프로브지지부재(40)는 상기 중심축선(C)을 따라 상하로 이동가능하고 그 중심축선(C)을 중심으로 회전운동 가능하므로, 상기 진단프로브(30)를 인체(H)에 적절한 방향으로 근접시킬 수 있다는 장점이 있다. 따라서 더욱 똑똑한 초음파 진단 영상을 얻을 수 있다는 장점이 있고, 상기 압전세라믹(21)으로부터 조사 되는 초음파(U)의 조사 경로로부터 상기 진단프로브(30)를 이동시킬 수 있으므로 고출력 초음파(U)로부터 상기 진단프로브(30)가 손상되는 것을 방지할 수 있다는 장점도 있다.In particular, the
이상으로 본 발명을 설명하였는데, 본 발명의 기술적 범위는 상술한 실시예에 기재된 내용으로 한정되는 것은 아니며, 해당 기술 분야의 통상의 지식을 가진 자에 의해 수정 또는 변경된 등가의 구성은 본 발명의 기술적 사상의 범위를 벗어나지 않는 것임은 명백하다.The technical scope of the present invention is not limited to the contents described in the above embodiments, and the equivalent structure modified or changed by those skilled in the art can be applied to the technical It is clear that the present invention does not depart from the scope of thought.
도 1은 종래의 고강도 집속 초음파 치료 시스템을 나타내는 단면도이다.1 is a cross-sectional view showing a conventional high intensity focused ultrasound treatment system.
도 2는 본 발명의 일 실시예에 따른 고강도 집속 초음파 치료 시스템의 평면도이다.2 is a plan view of a high-intensity focused ultrasound therapy system according to an embodiment of the present invention.
도 3은 도 2에 도시된 고강도 집속 초음파 치료 시스템의 III-III선 단면도이다.3 is a cross-sectional view taken along the line III-III of the high intensity focused ultrasound treatment system shown in FIG.
도 4는 도 3에 도시된 트랜스듀서의 IV-IV선 단면도이다.4 is a cross-sectional view taken along the line IV-IV of the transducer shown in FIG. 3.
도 5는 복수 개의 트랜스듀서 전부를 작동시킨 경우를 나타내는 도면이다.5 is a diagram illustrating a case in which all of a plurality of transducers are operated.
도 6은 복수 개의 트랜스듀서 중 외곽 동심원 상에 배열된 트랜스듀서를 작동시킨 경우를 나타내는 도면이다.6 is a diagram illustrating a case where a transducer arranged on an outer concentric circle among a plurality of transducers is operated.
도 7은 복수 개의 트랜스듀서 중 일측의 트랜스듀서를 선택적으로 작동시킨 경우를 나타내는 도면이다.7 is a diagram illustrating a case in which a transducer of one side is selectively operated among a plurality of transducers.
* 도면의 주요부위에 대한 부호의 설명 ** Explanation of symbols on major part of drawing *
100 : 고강도 집속 초음파 치료 시스템10 : 용기100: high intensity focused ultrasound therapy system 10: container
11 : 제1관통공12 : 제2관통공11: first through hole 12: second through hole
20 : 트랜스듀서21 : 압전세라믹20: transducer 21: piezoceramic
22 : 케이스23 : 압착클램프22
24 : 개스킷25 : 전원장치24: gasket 25: power supply
30 : 진단프로브 40 : 프로브지지부재30: diagnostic probe 40: probe support member
| Application Number | Priority Date | Filing Date | Title |
|---|---|---|---|
| KR1020090131252AKR20110074326A (en) | 2009-12-24 | 2009-12-24 | High intensity focused ultrasound therapy system |
| Application Number | Priority Date | Filing Date | Title |
|---|---|---|---|
| KR1020090131252AKR20110074326A (en) | 2009-12-24 | 2009-12-24 | High intensity focused ultrasound therapy system |
| Publication Number | Publication Date |
|---|---|
| KR20110074326Atrue KR20110074326A (en) | 2011-06-30 |
| Application Number | Title | Priority Date | Filing Date |
|---|---|---|---|
| KR1020090131252AAbandonedKR20110074326A (en) | 2009-12-24 | 2009-12-24 | High intensity focused ultrasound therapy system |
| Country | Link |
|---|---|
| KR (1) | KR20110074326A (en) |
| Publication number | Priority date | Publication date | Assignee | Title |
|---|---|---|---|---|
| KR101330901B1 (en)* | 2012-02-23 | 2013-11-18 | 인하대학교 산학협력단 | Ultrasonic treatment device |
| WO2014021489A1 (en) | 2012-07-30 | 2014-02-06 | 노슨 주식회사 | Ultrasonic probe having gradient information and device for ultrasonic diagnosis and treatment using same |
| WO2014109482A1 (en)* | 2013-01-10 | 2014-07-17 | 주식회사 코러스트 | Ultrasound converter for high intensity focused ultrasound generating device |
| KR101457666B1 (en)* | 2013-05-31 | 2014-11-12 | 알피니언메디칼시스템 주식회사 | Ultrasound Transducer with cooling function |
| WO2014193012A1 (en)* | 2013-05-31 | 2014-12-04 | 알피니언메디칼시스템 주식회사 | Transducer structure for improving image quality |
| KR101533402B1 (en)* | 2014-01-28 | 2015-07-03 | 알피니언메디칼시스템 주식회사 | High Intensity Focused Ultrasound treatment apparatus and method of controlling the same |
| US10039523B2 (en) | 2013-02-18 | 2018-08-07 | Samsung Electronics Co., Ltd. | High intensity focused ultrasound probes and methods of manufacturing and operating the same |
| WO2020054929A1 (en)* | 2018-09-14 | 2020-03-19 | 재단법인 대구경북첨단의료산업진흥재단 | Multi-channel ultrasound stimulator |
| KR20210073167A (en) | 2019-12-10 | 2021-06-18 | 한국과학기술연구원 | Ultrasonic therapy and diagnosis apparatus implementing multiple functions using detachable circuit boards |
| KR20210073848A (en)* | 2019-12-11 | 2021-06-21 | 주식회사 리메드 | Extracorporeal shockwave terapy device |
| KR20210077123A (en)* | 2019-12-17 | 2021-06-25 | 주식회사 리메드 | Extracorporeal shockwave terapy device |
| CN113559426A (en)* | 2021-08-30 | 2021-10-29 | 中惠医疗科技(上海)有限公司 | Focused ultrasound treatment head for small animals |
| CN114028741A (en)* | 2021-11-16 | 2022-02-11 | 上海吾魅科技有限公司 | Probe combining high-intensity focused ultrasound and superficial imaging ultrasound |
| CN115624690A (en)* | 2022-10-14 | 2023-01-20 | 江苏省声学产业技术创新中心 | Bowl-shaped piezoelectric ceramic structure for transdermal drug delivery instrument and application thereof |
| US11596379B2 (en) | 2016-02-01 | 2023-03-07 | Sogang University Research Foundation | Ultrasound treatment device for HIFU and ultrasound image, and control method therefor |
| KR20230051816A (en)* | 2021-10-12 | 2023-04-19 | 주식회사 제이시스메디칼 | Leak-proof coupling structure of transducer array of high-intensity focused ultrasound treatment device and transducer array |
| WO2023075143A1 (en)* | 2021-11-01 | 2023-05-04 | (주)제이시스메디칼 | Electrode structure using transducer holder of transducer array of high-intensity focused ultrasound generation device, and transducer array |
| CN116197103A (en)* | 2021-11-30 | 2023-06-02 | 株式会社毛细医学 | Ultrasonic vortex energy injection device |
| KR20230105827A (en)* | 2022-01-05 | 2023-07-12 | 주식회사 제이시스메디칼 | Structure to maximize vibration wave output of transducer holder high-intensity focused ultrasound treatment device and transducer array |
| WO2023163348A1 (en)* | 2022-02-23 | 2023-08-31 | 주식회사 제이시스메디칼 | Probe-replaceable high-intensity focused ultrasound generation device |
| WO2024010235A1 (en)* | 2022-07-05 | 2024-01-11 | 주식회사 제이시스메디칼 | Noise-minimizing structure of high-intensity focused ultrasound generation device |
| WO2024010234A1 (en)* | 2022-07-05 | 2024-01-11 | 주식회사 제이시스메디칼 | High-intensity focused ultrasound generator using insulating material |
| WO2024122824A1 (en)* | 2022-12-09 | 2024-06-13 | 주식회사 제이시스메디칼 | High-intensity focused ultrasonic wave generation device for focusing ultrasonic wave by using slit |
| WO2024122822A1 (en)* | 2022-12-09 | 2024-06-13 | 주식회사 제이시스메디칼 | High-intensity focused ultrasound generator for focusing ultrasonic waves using wave diffraction and interference |
| WO2024122823A1 (en)* | 2022-12-09 | 2024-06-13 | 주식회사 제이시스메디칼 | High-intensity focused ultrasonic generation device for focusing ultrasonic waves by using diffraction and interference of waves |
| WO2024177483A1 (en)* | 2023-02-20 | 2024-08-29 | 에코디엠랩 주식회사 | Array-type focused ultrasound transducer and medical ultrasonic device |
| Publication number | Priority date | Publication date | Assignee | Title |
|---|---|---|---|---|
| KR101330901B1 (en)* | 2012-02-23 | 2013-11-18 | 인하대학교 산학협력단 | Ultrasonic treatment device |
| WO2014021489A1 (en) | 2012-07-30 | 2014-02-06 | 노슨 주식회사 | Ultrasonic probe having gradient information and device for ultrasonic diagnosis and treatment using same |
| WO2014109482A1 (en)* | 2013-01-10 | 2014-07-17 | 주식회사 코러스트 | Ultrasound converter for high intensity focused ultrasound generating device |
| US10039523B2 (en) | 2013-02-18 | 2018-08-07 | Samsung Electronics Co., Ltd. | High intensity focused ultrasound probes and methods of manufacturing and operating the same |
| KR101492608B1 (en)* | 2013-05-31 | 2015-02-11 | 알피니언메디칼시스템 주식회사 | Transducer Structure for Enhancement in Image Quality |
| KR101457666B1 (en)* | 2013-05-31 | 2014-11-12 | 알피니언메디칼시스템 주식회사 | Ultrasound Transducer with cooling function |
| EP3006086A4 (en)* | 2013-05-31 | 2017-02-01 | Alpinion Medical Systems Co., Ltd. | Transducer structure for improving image quality |
| WO2014193013A1 (en)* | 2013-05-31 | 2014-12-04 | 알피니언메디칼시스템 주식회사 | Ultrasonic transducer having cooling function |
| WO2014193012A1 (en)* | 2013-05-31 | 2014-12-04 | 알피니언메디칼시스템 주식회사 | Transducer structure for improving image quality |
| KR101533402B1 (en)* | 2014-01-28 | 2015-07-03 | 알피니언메디칼시스템 주식회사 | High Intensity Focused Ultrasound treatment apparatus and method of controlling the same |
| US11596379B2 (en) | 2016-02-01 | 2023-03-07 | Sogang University Research Foundation | Ultrasound treatment device for HIFU and ultrasound image, and control method therefor |
| WO2020054929A1 (en)* | 2018-09-14 | 2020-03-19 | 재단법인 대구경북첨단의료산업진흥재단 | Multi-channel ultrasound stimulator |
| KR20200031398A (en)* | 2018-09-14 | 2020-03-24 | 재단법인 대구경북첨단의료산업진흥재단 | Ultrasound stimulator having multiple channel |
| EP3851163A4 (en)* | 2018-09-14 | 2021-11-03 | Daegu-Gyeongbuk Medical Innovation Foundation | MULTI-CHANNEL ULTRASONIC STIMULATOR |
| US20210196988A1 (en)* | 2018-09-14 | 2021-07-01 | Daegu-Gyeongbuk Medical Innovation Foundation | Multi-channel ultrasound stimulator |
| KR20210073167A (en) | 2019-12-10 | 2021-06-18 | 한국과학기술연구원 | Ultrasonic therapy and diagnosis apparatus implementing multiple functions using detachable circuit boards |
| US11638575B2 (en) | 2019-12-10 | 2023-05-02 | Korea Institute Of Science And Technology | Ultrasonic therapy and diagnosis apparatus implementing multiple functions using detachable circuit boards |
| KR20210073848A (en)* | 2019-12-11 | 2021-06-21 | 주식회사 리메드 | Extracorporeal shockwave terapy device |
| KR20210077123A (en)* | 2019-12-17 | 2021-06-25 | 주식회사 리메드 | Extracorporeal shockwave terapy device |
| CN113559426A (en)* | 2021-08-30 | 2021-10-29 | 中惠医疗科技(上海)有限公司 | Focused ultrasound treatment head for small animals |
| JP2024533835A (en)* | 2021-10-12 | 2024-09-12 | ジェイシス メディカル インコーポレイテッド | Leak-proof coupling structure for transducer array of high intensity focused ultrasound generator |
| KR20230051816A (en)* | 2021-10-12 | 2023-04-19 | 주식회사 제이시스메디칼 | Leak-proof coupling structure of transducer array of high-intensity focused ultrasound treatment device and transducer array |
| WO2023063601A1 (en)* | 2021-10-12 | 2023-04-20 | (주)제이시스메디칼 | Leakage-preventing coupling structure of transducer array of high-intensity focused ultrasound generator, and transducer array |
| JP2024533836A (en)* | 2021-11-01 | 2024-09-12 | ジェイシス メディカル インコーポレイテッド | Electrode structure using the transducer holder of the transducer array of a high intensity focused ultrasound generator |
| WO2023075143A1 (en)* | 2021-11-01 | 2023-05-04 | (주)제이시스메디칼 | Electrode structure using transducer holder of transducer array of high-intensity focused ultrasound generation device, and transducer array |
| KR20230063192A (en)* | 2021-11-01 | 2023-05-09 | 주식회사 제이시스메디칼 | Electrode structure using transducer holder of transducer array of high-intensity focused ultrasound treatment device and transducer array |
| CN114028741A (en)* | 2021-11-16 | 2022-02-11 | 上海吾魅科技有限公司 | Probe combining high-intensity focused ultrasound and superficial imaging ultrasound |
| CN116197103A (en)* | 2021-11-30 | 2023-06-02 | 株式会社毛细医学 | Ultrasonic vortex energy injection device |
| KR20230105827A (en)* | 2022-01-05 | 2023-07-12 | 주식회사 제이시스메디칼 | Structure to maximize vibration wave output of transducer holder high-intensity focused ultrasound treatment device and transducer array |
| WO2023163348A1 (en)* | 2022-02-23 | 2023-08-31 | 주식회사 제이시스메디칼 | Probe-replaceable high-intensity focused ultrasound generation device |
| WO2024010235A1 (en)* | 2022-07-05 | 2024-01-11 | 주식회사 제이시스메디칼 | Noise-minimizing structure of high-intensity focused ultrasound generation device |
| WO2024010234A1 (en)* | 2022-07-05 | 2024-01-11 | 주식회사 제이시스메디칼 | High-intensity focused ultrasound generator using insulating material |
| CN115624690B (en)* | 2022-10-14 | 2023-10-31 | 江苏省声学产业技术创新中心 | Bowl-shaped piezoelectric ceramic structure for transdermal drug delivery instrument and application thereof |
| CN115624690A (en)* | 2022-10-14 | 2023-01-20 | 江苏省声学产业技术创新中心 | Bowl-shaped piezoelectric ceramic structure for transdermal drug delivery instrument and application thereof |
| WO2024122824A1 (en)* | 2022-12-09 | 2024-06-13 | 주식회사 제이시스메디칼 | High-intensity focused ultrasonic wave generation device for focusing ultrasonic wave by using slit |
| WO2024122822A1 (en)* | 2022-12-09 | 2024-06-13 | 주식회사 제이시스메디칼 | High-intensity focused ultrasound generator for focusing ultrasonic waves using wave diffraction and interference |
| WO2024122823A1 (en)* | 2022-12-09 | 2024-06-13 | 주식회사 제이시스메디칼 | High-intensity focused ultrasonic generation device for focusing ultrasonic waves by using diffraction and interference of waves |
| WO2024177483A1 (en)* | 2023-02-20 | 2024-08-29 | 에코디엠랩 주식회사 | Array-type focused ultrasound transducer and medical ultrasonic device |
| Publication | Publication Date | Title |
|---|---|---|
| KR20110074326A (en) | High intensity focused ultrasound therapy system | |
| US9737324B2 (en) | Therapeutic probe for treating tissue using focused intersecting ultrasonic waves | |
| US8475442B2 (en) | Ultrasonic assembly with adjustable fluid lens | |
| US8409099B2 (en) | Focused ultrasound system for surrounding a body tissue mass and treatment method | |
| US8162858B2 (en) | Ultrasonic medical treatment device with variable focal zone | |
| US9782608B2 (en) | High intensity focused ultrasound treatment head and system | |
| EP2524651B1 (en) | Ultrasonic transducer | |
| KR20160100946A (en) | Method for operating a device for treatment of a tissue and device for treatment of a tissue | |
| US20090171255A1 (en) | Apparatus and method for ultrasound treatment | |
| CN101130126A (en) | A high-intensity focused ultrasound treatment system guided by imaging equipment | |
| JP2001046387A (en) | Ultrasonic therapeutic applicator | |
| WO2011146139A2 (en) | Ultrasonic transducer assembly | |
| WO2002043805A1 (en) | System for steering a focused ultrasund array | |
| US20070118057A1 (en) | Acoustic wave energy delivery device | |
| CN104874113A (en) | Multi-frequency annular array probe and ultrasonic physiotherapy instrument including the same | |
| KR20190026402A (en) | High intensity focused ultrasound device | |
| Kim et al. | Lesion generation through ribs using histotripsy therapy without aberration correction | |
| KR101330901B1 (en) | Ultrasonic treatment device | |
| KR101259381B1 (en) | Applicator for HIFU | |
| US11406848B2 (en) | Ultrasonic therapy device using HIFU and control method thereof | |
| JP2020510452A (en) | New devices for transfection and drug delivery | |
| AU2023382152A1 (en) | Ultrasound image-guided focused ultrasound systems and related methods | |
| KR102538149B1 (en) | Ultrasound treatment head and ultrasound imaging and treatment method | |
| CN222427019U (en) | Ultrasonic treatment and imaging integrated probe and cavity FUS treatment system | |
| KR101808832B1 (en) | Ultrasonic therapy apparatus using high intensity focused ultrasound and the control method thereof |
| Date | Code | Title | Description |
|---|---|---|---|
| A201 | Request for examination | ||
| PA0109 | Patent application | Patent event code:PA01091R01D Comment text:Patent Application Patent event date:20091224 | |
| PA0201 | Request for examination | ||
| PG1501 | Laying open of application | ||
| E902 | Notification of reason for refusal | ||
| PE0902 | Notice of grounds for rejection | Comment text:Notification of reason for refusal Patent event date:20110808 Patent event code:PE09021S01D | |
| E701 | Decision to grant or registration of patent right | ||
| PE0701 | Decision of registration | Patent event code:PE07011S01D Comment text:Decision to Grant Registration Patent event date:20120328 | |
| NORF | Unpaid initial registration fee | ||
| PC1904 | Unpaid initial registration fee |