






본 발명은 이동통신 서비스용 중계기 시스템에 관한 것으로서, 보다 상세하게는 건물 내부의 통화 품질을 향상시키기 위한 인빌딩(In-building) 통신 중계 방법 및 시스템에 관한 것이다.The present invention relates to a repeater system for a mobile communication service, and more particularly, to an in-building communication relay method and system for improving call quality in a building.
최근 정보통신 기술의 비약적인 발전과 함께 인터넷 및 이동통신망과 같은 정보통신 인프라의 보급이 확대되어 일반인들의 생활이나 기업의 업무 등에도 이를 활용한 다양한 방식이 생겨나고 있다. 이러한 인터넷 및 이동통신망과 같은 정보통신 인프라를 이용하여 기존의 오프라인 방식으로 진행하던 서비스들이나 업무 방식이 급속하게 온라인화 되어가는 추세이다. 또한, 정보통신 기술을 이용한 새로운 서비스나 업무 방식도 지속적으로 개발되어 향후에는 IT(Information Technology) 관련 기술이 현대 생활에서 필수적인 수단으로 자리잡게 될 것이다.Recently, with the rapid development of information and communication technology, the spread of information and communication infrastructure such as the Internet and mobile communication network has been expanded, and various methods using the same have been generated in the lives of ordinary people and the business of companies. Using the information and communication infrastructure, such as the Internet and mobile communication networks, services or work methods that were previously performed in the offline manner are rapidly becoming online. In addition, new services and methods of work using information and communication technologies will continue to be developed, and in the future, information technology (IT) -related technologies will become an essential means in modern life.
또한, 최근 이동 통신 기술의 비약적인 발전은 이동 통신 단말기의 대중화를 급속히 촉진시켜, 대부분의 일반인들도 핸드폰, PDA 등의 이동 통신 단말기를 항상 소지하고 다니도록 우리의 생활을 변모시켰다. 이동 통신 단말기는 사용자로 하여 금 통신망의 접근을 보다 용이하게 하면서 종래의 전통적인 통신 시스템이 가지던 시스템 자원을 효율적으로 배분하게 하는 효과를 가져왔다.In addition, the recent rapid development of mobile communication technology has rapidly promoted the popularization of mobile communication terminals, transforming our lives so that most ordinary people always carry mobile communication terminals such as mobile phones and PDAs. The mobile communication terminal has an effect of efficiently allocating system resources of the conventional communication system while making the access of the gold network easier for the user.
이러한 추세에 발맞추어 이동통신 서비스 이용자들이 언제 어디서나 보다 편리하게 서비스를 이용하게 할 수 있도록 이동통신 서비스 품질을 확보하고 강화하기 위한 노력은 기업의 주요한 목표가 되었다. 이를 위해 통신서비스 제공 기업들은 이동통신 서비스를 원활하게 제공받을 수 없는 음영지역을 최소화하는 데 심혈을 기울이고 있다. 그 중 건물 내의 지하 층 및 지상의 저층 음영지역에 이동통신 서비스 품질(통화 품질)을 확보하기 위해 중계기를 설치하는 인빌딩 중계 시스템을 지속적으로 개발하고 있다. 이 인빌딩 중계기는 여러 종류가 있으나 기존에는 급전선을 각 음영지역으로 직접 포설하여 통신을 중계하는 방법이 가장 많이 이용되었다.In line with this trend, efforts to secure and reinforce the quality of mobile communication services have become a major goal of the enterprise so that mobile communication service users can use the service more conveniently anytime and anywhere. To this end, telecommunications service providers are trying to minimize the shaded areas where mobile telecommunication services cannot be smoothly provided. Among them, we are continuously developing an in-building relay system that installs a repeater to secure mobile communication service quality (call quality) in the basement floor and low-level shaded areas of the building. There are many kinds of in-building repeaters, but the method of relaying communication by laying feeder directly in each shaded area is the most widely used.
그러나 위에서와 같이 기존의 방식대로 중소형 건물의 인빌딩 통화품질을 확보하기 위해서는 옥내 소형 초소형 등의 중계기를 실내의 음영지역에 설치하고 서비스 위치까지 급전선을 포설하여 안테나를 설치해 통화품질을 확보하는 방식이기 때문에 추가로 설치비용과 시간 그리고 많은 노력이 소요되고 있다. 따라서, 기존에 건물 내에 설치된 시설물을 이용하는 방법이 최근 많이 사용되고 있다. 즉, CCTV 중계기 방식이라 하여 CCTV용 통신케이블을 이용하여 CCTV가 설치된 지역에 중계기를 설치하는 방식이 있다. 그러나 이 방식은 이동통신 서비스 제공이 원활하지 않은 음영지역과 CCTV가 설치된 지역이 일치하지 않을 경우가 많아, 목표 커버리지를 일치시키기가 어려운 문제점이 있다.However, in order to secure the in-building call quality of small and medium-sized buildings in the same way as above, a repeater such as indoor small and micro-mini is installed in the shadow area of the room and a feeder line is installed to the service position to secure the call quality. This adds to installation costs, time and effort. Therefore, the method of using the facilities installed in the existing building has been used a lot recently. That is, there is a method of installing a repeater in the area where CCTV is installed by using a CCTV communication cable. However, in this method, there are many cases where the shaded area where the mobile communication service is not provided and the area where CCTV is installed do not coincide, which makes it difficult to match the target coverage.
본 발명은 상기와 같은 문제점을 해결하기 위해 창안한 것으로서, 건물 내 인빌딩 중계 시스템을 구축할 때, 추가 급전선 등의 추가 시설물을 최소화하고 기존에 설치된 시설물들을 대체하여 활용할 수 있도록 하는 건물 내 통신 중계 시스템을 제공하는 데 목적이 있다.The present invention has been made to solve the above problems, when building the in-building relay system in the building, in-building communication relay to minimize the additional facilities such as additional feeders and to replace the existing installed facilities The purpose is to provide a system.
아울러, 건물 내의 이동통신 서비스 음영지역인 목표 커버리지와 일치할 수 있는 전력선 인프라를 이용하여 통신 중계 시스템을 구축하는 데 다른 목적이 있다.In addition, there is another purpose to build a communication relay system using a power line infrastructure that can match the target coverage, which is a shadow area of mobile communication services in a building.
본 발명의 다른 목적 및 장점들은 하기에 설명될 것이며, 본 발명의 실시예에 의해 알게 될 것이다. 또한, 본 발명의 목적 및 장점들은 첨부된 특허 청구 범 위에 나타낸 수단 및 조합에 의해 실현될 수 있다.Other objects and advantages of the invention will be described below and will be appreciated by the embodiments of the invention. Furthermore, the objects and advantages of the present invention can be realized by means and combinations indicated in the appended claims.
상기와 같은 목적을 달성하기 위하여, 본 발명에 따른 전력선 통신을 이용한 옥내 통신 중계 시스템은, 통신 시스템으로부터 제공되는 통신 서비스를 건물 내부로 중계하는 시스템으로서, 중계기 및 기지국으로부터 통신 신호를 입력받고, 건물 내의 전력선 입력단과 연결되어 건물 내에 배선된 전력선을 통해 입력받은 통신 신호를 변조하여 전력선 통신(PLC: Power Line Communication)방식에 따라 건물 내로 공급하는 메인 유닛; 및 건물 내에 배선된 전력선의 말단에 연결되어 전력선 통신방식에 따라 수신한 통신 신호를 복조하여 주위 공간에 통신 서비스를 제공하는 원격 유닛;을 포함한다.In order to achieve the above object, the indoor communication relay system using the power line communication according to the present invention is a system for relaying a communication service provided from the communication system into the building, receiving a communication signal from the repeater and the base station, A main unit connected to a power line input terminal in the main unit and modulating a communication signal received through a power line wired in the building to supply the building to the building according to a power line communication (PLC) method; And a remote unit connected to an end of the power line wired in the building and demodulating the received communication signal according to the power line communication scheme to provide a communication service to the surrounding space.
본 발명의 다른 측면에 따르면, 통신 시스템으로부터 제공되는 통신 서비스를 건물 내부로 중계하는 방법으로서, (a) 건물 내의 전력선 입력단에 연결된 메인 유닛에서 통신 시스템의 중계기 및 기지국으로부터 통신 신호를 입력받아, 전력선을 통해 건물 내로 통신 신호를 공급할 수 있도록 변조하는 단계; (b) 변조된 통신 신호를 전력선 입력단을 통해 전력선 통신(PLC: Power Line Communication)방식에 따라 건물 내에 배선된 전력선으로 공급하는 단계; (c) 건물 내에 배선된 전력선의 말단에 연결된 원격 유닛에서 전력선 통신방식에 따라 전력선을 통해 수신한 통신 신호를 복조하는 단계; 및 (d) 상기 원격 유닛 주위의 공간으로 상기 복조된 통신 신호를 이용하여 통신 서비스를 제공하는 단계;를 포함하는 전력선 통신을 이용한 옥내 통신 중계 방법이 제공된다.According to another aspect of the present invention, a method for relaying a communication service provided from a communication system into a building, comprising: (a) receiving a communication signal from a relay system and a base station of a communication system at a main unit connected to a power line input terminal in a building, Modulating to supply a communication signal into the building via a computer; (b) supplying a modulated communication signal to a power line wired in a building according to a power line communication (PLC) scheme through a power line input terminal; (c) demodulating a communication signal received through the power line in accordance with a power line communication scheme in a remote unit connected to an end of a power line wired in a building; And (d) providing a communication service using the demodulated communication signal to a space around the remote unit.
본 발명의 또 다른 측면에 따르면, 통신 시스템으로부터 제공되는 통신 서비스를 건물 내부로 중계하는 장치로서, 통신 시스템의 중계기 및 기지국과 통신 신호를 송,수신하는 통신신호 입력수단; 입력된 통신신호를 전력선 통신(PLC: Power Line Communication)방식에 따라 건물 내에 배선된 전력선을 통해 공급하기 위해 변조하거나, 전력선을 통해 수신한 변조된 통신 신호를 복조하는 통신신호 변복조수단; 및 건물 내의 전력선 입력단과 연결되어 건물 내에 배선된 전력선으로 전력선 통신 방식에 따라 전원 및 통신 신호를 송,수신하는 전력선 통신수단;을 포함하는 전력선 통신을 이용한 옥내 통신 중계용 메인유닛 장치가 제공된다.According to another aspect of the present invention, an apparatus for relaying a communication service provided from a communication system into a building, comprising: communication signal input means for transmitting and receiving a communication signal with a relay and a base station of the communication system; Communication signal modulation and demodulation means for modulating the inputted communication signal through a power line wired in a building according to a power line communication (PLC) method, or demodulating a modulated communication signal received through a power line; And a power line communication means connected to a power line input terminal in a building and transmitting and receiving power and communication signals to a power line wired in the building according to a power line communication scheme.
본 발명의 또 다른 측면에 따르면, 통신 시스템으로부터 제공되는 통신 서비스를 건물 내부로 중계하는 장치로서, 건물 내의 전력선 말단과 연결되어 전력선 통신(PLC: Power Line Communication)방식에 따라 건물 내에 배선된 전력선을 통해 통신신호를 송,수신하는 전력선 통신수단; 상기 전력선 통신수단에서 수신한 변조된 통신신호를 복조하거나, 단말로부터 입력받은 통신신호를 상기 전력선 통신수단을 통해 송신하기 위하여 변조하는 통신신호 변복조수단; 및 주위의 공간에 위치한 단말과 통신신호를 무선으로 송,수신하여 통신 서비스를 제공하는 통신 서비스 제공수단;을 포함하는 전력선 통신을 이용한 옥내 통신 중계용 원격유닛 장치가 제공된다.According to another aspect of the present invention, an apparatus for relaying a communication service provided from a communication system into a building, the power line connected to the power line terminal in the building and wired in the building according to a power line communication (PLC) scheme Power line communication means for transmitting and receiving a communication signal through; Communication signal modulation and demodulation means for demodulating the modulated communication signal received by the power line communication means, or modulating the communication signal received from the terminal through the power line communication means; And a communication service providing means for providing a communication service by wirelessly transmitting and receiving a communication signal with a terminal located in a surrounding space.
본 발명에 따르면, 건물 내의 이동통신 서비스 음영지역에 통신 서비스를 중계하기 위해 기존 건물에 구축된 전력선 인프라를 액세스 망으로 활용하여 급전선 의 추가 포설이 필요 없고 중계기 설치와 시스템 구축을 용이하게 할 수 있는 효과를 제공한다.According to the present invention, by using the power line infrastructure established in the existing building as an access network in order to relay the communication service to the mobile communication service shaded area in the building, there is no need for additional laying of the feeder line and it is possible to facilitate the installation of the repeater and the system construction. Provide effect.
또한, 건물 내에 광범위하게 배선된 전력선 인프라로 인해 광범위한 위치와 특정 목적 위치에 중계기(원격 유닛)를 설치하여 이동통신 서비스를 제공할 수 있어 이용자들의 이동통신 서비스 접근성을 높일 수 있는 효과를 제공한다.In addition, due to the extensively wired power line infrastructure in the building, a repeater (remote unit) can be installed in a wide range of locations and a specific purpose location to provide mobile communication services, thereby providing an effect of improving accessibility of users to mobile communication services.
이하, 첨부된 도면을 참조하여 본 발명의 바람직한 실시예를 상세히 설명하기로 한다. 이에 앞서, 본 명세서 및 청구범위에 사용된 용어나 단어는 통상적이거나 사전적인 의미로 한정해서 해석되어서는 아니되며, 발명자는 그 자신의 발명을 가장 최선의 방법으로 설명하기 위해 용어의 개념을 적절하게 정의할 수 있다는 원칙에 입각하여 본 발명의 기술적 사상에 부합하는 의미와 개념으로 해석되어야만 한다. 따라서, 본 명세서에 기재된 실시예와 도면에 도시된 구성은 본 발명의 가장 바람직한 일 실시예에 불과할 뿐이고 본 발명의 기술적 사상을 모두 대변하는 것은 아니므로, 본 출원시점에 있어서 이들을 대체할 수 있는 다양한 균등물과 변형예들이 있을 수 있음을 이해하여야 한다.Hereinafter, exemplary embodiments of the present invention will be described in detail with reference to the accompanying drawings. Prior to this, terms or words used in the specification and claims should not be construed as having a conventional or dictionary meaning, and the inventors should properly explain the concept of terms in order to best explain their own invention. Based on the principle that can be defined, it should be interpreted as meaning and concept corresponding to the technical idea of the present invention. Therefore, the embodiments described in the specification and the drawings shown in the drawings are only the most preferred embodiment of the present invention and do not represent all of the technical idea of the present invention, various modifications that can be replaced at the time of the present application It should be understood that there may be equivalents and variations.
본 발명을 설명하기에 앞서, 본 발명에 이용되는 기술들을 먼저 설명하기로 한다.Prior to describing the present invention, the techniques used in the present invention will be described first.
먼저, 인빌딩 시스템이란, 건물 내 음영 및 난청 지역에 있는 이동통신 가입자를 수용할 수 있도록 통신장치, 무선 중계기로부터 수신된 신호를 동축 케이블이 나 광 선로를 통하여 건물 내 임의의 장소에 전송함으로써 서비스 가능 지역 확대 등 무선 환경을 개선하도록 하는 시스템이다. 본 발명에서는 이를 옥내 통신 중계 시스템이라 하고, 동축 케이블이나 광 선로 대신 건물 내부에 기 배선된 전력선 인프라를 이용한다. 본 발명은 이러한 전력선 인프라를 이용하여 통신 서비스를 중계하기 위해서 전력선 통신방식을 이용한다.First, the in-building system is a service by transmitting a signal received from a communication device or a wireless repeater to an arbitrary place in a building through a coaxial cable or an optical line to accommodate a mobile communication subscriber in a shaded or deaf area in a building. It is a system to improve the wireless environment such as expanding the available area. In the present invention, this is called an indoor communication relay system, and uses a power line infrastructure pre-wired inside a building instead of a coaxial cable or an optical line. The present invention uses a power line communication scheme to relay a communication service using such a power line infrastructure.
전력선 통신(Power Line Communication)방식이란, 건물 내 기 설치된 전력선을 통하여 60Hz인 저주파 전력신호에 수백 KHz ~ 수십 MHz 대역의 고주파 신호를 실어 전송하는 통신기술로 전력선을 사용하여 전원과 통신신호를 다중화하여 동시에 전송하는 원리를 이용하는 것으로, 최근 유선업계에서 새로운 통신기술로 부상하고 있는 기술이다.Power line communication is a communication technology that transmits high frequency signals in the hundreds of KHz ~ tens of MHz bands to 60Hz low frequency power signals through power lines installed in buildings, and uses power lines to multiplex power and communication signals. By using the principle of transmitting at the same time, it is a technology emerging as a new communication technology in the wired industry recently.
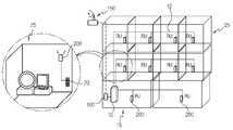
도 1 및 도 2는 본 발명의 일 실시예에 따른 전력선 통신을 이용한 옥내 통신 중계 시스템이 구현된 예를 나타낸 도면이다.1 and 2 are diagrams showing an example implementation of an indoor communication relay system using power line communication according to an embodiment of the present invention.
도 1은 본 발명의 일 실시예에 다른 옥내 통신 중계 시스템에서 전력선 및 통신신호 입력단 부분의 구성을 나타낸 도면이고, 도 2는 건물 내부의 각각의 말단으로 전력선 및 통신신호가 중계되는 부분의 구성을 나타낸 도면이다.1 is a view showing the configuration of the power line and the communication signal input terminal portion in the indoor communication relay system according to an embodiment of the present invention, Figure 2 is a configuration of the portion of the power line and communication signal relayed to each end inside the building The figure shown.
도 1 및 도 2를 참조하여 본 발명의 일 실시예에 따른 전력선 통신을 이용한 옥내 통신 중계 시스템을 개략적으로 설명하기로 한다.An indoor communication relay system using power line communication according to an embodiment of the present invention will be described with reference to FIGS. 1 and 2.
먼저, 도 1에서와 같이, 중소형 건물의 전력선 인프라는 외부에서 건물 내부로 전력선(11)이 인입되고 EPS실 또는 MDF실(15)에 위치한 전력선 분배함(입력단: 10)에서 인입된 외부 전력선(11)을 건물 내에 배선된 전력선을 통해 분배되는 구성 이다. 또한, 도 2와 같이, 건물 내부로 배선된 전력선(12)은 건물 내부의 주요 위치(개별룸: 25)에 전력선의 말단(20)이 콘센트로 구성된다. 따라서, 전원은 건물 외부에서 인입된 전력선(11)을 통해 건물 내부에 배선된 전력선(12)을 경유해 주요 위치(25)의 전력선 말단(20)인 콘센트까지 공급된다.First, as shown in FIG. 1, the power line infrastructure of a small and medium-sized building includes an external power line drawn in a power line distribution box (input terminal 10) located in an EPS room or an
본 발명의 일 실시예에 따른 전력선 통신을 이용한 옥내 통신 중계 시스템은, 이동통신 시스템의 기지국(300) 및 중계기(400)로부터 입력 안테나(150)를 통해 통신 신호를 입력받고, 인입된 통신 신호를 메인 유닛(100)에서 변조하여 전력선 입력단(10)으로 전력선 통신방식에 따라 건물 내로 공급한다. 건물 내의 개별 공간(25)에 위치한 원격 유닛(200)은 건물 내에 배선된 전력선(12)을 통해 공급되는 통신 신호를 전력선의 말단(20)으로부터 수신하고, 수신된 통신 신호를 복조하여 주위 공간에 통신 서비스를 제공한다. 상기 원격 유닛(200)은 건물 내에 다수 설치될 수 있다.In the indoor communication relay system using power line communication according to an embodiment of the present invention, a communication signal is input from the
여기서, 도면에서는 기지국(300) 및 중계기(400)로부터 통신 신호를 입력 안테나(150)를 통해 무선(RF: Radio Frequency)으로 입력받는 것으로 도시하였으나, 본 발명은 이에 한정하지 않고 이동통신 시스템의 어떠한 노드(기지국, 중계기 등)로부터도 통신 신호를 입력받을 수 있고, 또한 포설된 급전선을 통해 메인 유닛(100)으로 통신 신호를 입력받는 등의 다양한 실시예가 있을 수 있음은 물론이다.Here, in the drawing, but the communication signal from the
또한, 상기 메인 유닛(100)으로 입력되는 통신 신호는 이동통신 시스템으로부터 제공되는 통신 신호로서 다양한 방식의 이동통신 신호가 이용될 수 있다. 예 를 들어 CDMA, CDMA2000, GSM, WCDMA, OFDM(WIBRO) 등의 방식에 따른 이동통신 신호가 이용될 수 있다. 아울러, 통신 서비스는 바람직하게 이동통신 서비스이고, 이동통신 시스템에서 제공하는 무선 이동통신 서비스인 것이 바람직하다.In addition, the communication signal input to the
나아가, 상기 전력선 입력단(10)은 건물 내의 EPS(Electric Pipe Shaft)실 또는 MDF(Main Distribution Frame)실에 위치하여 건물로 인입되는 전력선을 건물 내부로 분배하는 전력선 분배함(분전반, 배전반)인 것이 바람직하다. 반면에, 상기 입력 안테나(150)는 건물 외부에 위치하거나 건물 상층에 무선 송신이 용이한 위치에 설치되는 것이 바람직하다. 이는 기지국(300) 및 중계기(400)로부터 원활하게 무선으로 통신 신호를 수신하기 위함이다. 이렇게 무선으로 수신한 통신 신호는 급전선을 통해 MDF실 또는 EPS실(150)의 메인 유닛(100)으로 전송된다.Further, the power
도 3은 본 발명의 일 실시예에 따른 전력선 통신을 이용한 옥내 통신 중계 시스템의 주요 구성을 나타낸 블록도이다.3 is a block diagram showing the main configuration of the indoor communication relay system using power line communication according to an embodiment of the present invention.
도 3을 참조하여 본 발명의 일 실시예에 따른 전력선 통신을 이용한 옥내 통신 중계 시스템의 구성을 설명하기로 한다.Referring to Figure 3 will be described the configuration of the indoor communication relay system using power line communication according to an embodiment of the present invention.
도면에서와 같이, 본 발명의 일 실시예에 따른 전력선 통신을 이용한 옥내 통신 중계 시스템은, 이동통신 시스템으로부터 통신신호를 입력받아 건물 내부로 공급하는 메인 유닛(100)과 건물 내부에서 공급된 통신신호를 수신하여 통신 서비스를 제공하는 원격 유닛(200)을 포함한다.As shown in the drawing, the indoor communication relay system using the power line communication according to an embodiment of the present invention, the
상기 메인 유닛(100)은, 이동통신 시스템으로부터 통신 신호를 무선으로 입력받기 위해 입력 안테나(150)를 더 구비할 수 있다. 상기 메인 유닛(100)은 전력 선 입력단(10)에 연결되며, 통신 신호를 입력받아 이를 변조하여 전력선 통신 방식에 따라 상기 전력선 입력단(10)을 통해 건물 내부로 공급한다. 상기 전력선 입력단(10)은 외부에서 인입된 전력선을 건물 내부로 분배하는 전력선 분배함인 것이 바람직하다.The
상기 원격 유닛(200)은, 건물 내부의 전력선 말단(20)으로부터 전력선 통신 방식에 따라 통신 신호를 수신하고, 이를 복조하여 주위 공간에 위치한 단말(600)에 이동통신 서비스를 제공한다. 상기 원격 유닛(200)은 주위 단말(600)에 이동통신 서비스를 무선으로 제공하기 위해 송수신 안테나를 더 구비할 수 있다. 상기 송수신 안테나를 통해 상기 원격 유닛(200)은 통신 신호를 단말(600)에 송출하고, 단말(600)에서 발생하는 통신 신호를 수신한다. 또한, 상기 전력선 말단(20)은 건물 내에 전력선과 연결된 콘센트인 것이 바람직하다.The
아울러, 건물 내부의 전력선 입력단(10)과 전력선 말단(20) 사이에서는 전력선 통신 방식에 따라 상기 통신 신호가 전송되는데, 이때에 이용하는 주파수 대역은 1 MHz ~ 30 MHz 범위인 것이 바람직하다. 또한, 전송 속도는 10Mbps이고 최대 전송거리는 500m 이내인 것이 바람직하다. 이와 함께, 상기 메인 유닛(100) 및 상기 원격 유닛(200)간 데이터 링크층의 MAC 부계층에서 매체 접속 제어 방식으로는 CSMA, CSMA/CD, Token Bus/Ring, ATM 방식을 이용할 수 있다. 아울러, 상기 메인 유닛(100) 및 원격 유닛(200)에서 통신 신호를 변조 또는 복조하는 방식으로는 QAM(Quadrature Amplitude Modulated), QPR(Quadrature Partial Response), 2B1Q, DMT(Discrete Multi-Tone), CAP(Carrierless Amplitude/Phase Modulation), TCM(Trellis Code Modulation) 방식 등을 이용할 수 있다.In addition, the communication signal is transmitted between the power
이하에서는 상기 메인 유닛(100) 장치 및 원격 유닛(200) 장치의 구성을 도면을 통해 상세히 살펴보기로 한다.Hereinafter, configurations of the
도 4는 본 발명의 일 실시예에 따른 전력선 통신을 이용한 옥내 통신 중계용 메인유닛 장치의 기능적 구성을 나타낸 도면이고, 도 5는 본 발명의 일 실시예에 따른 전력선 통신을 이용한 옥내 통신 중계용 원격유닛 장치의 기능적 구성을 나타낸 도면이다.4 is a view showing the functional configuration of the main unit device for the indoor communication relay using power line communication according to an embodiment of the present invention, Figure 5 is a remote for indoor communication relay using power line communication according to an embodiment of the present invention It is a figure which shows the functional structure of a unit apparatus.
도 4 및 도 5를 참조하여, 본 발명에 따른 메인 유닛 장치(100) 및 원격 유닛 장치(200)의 구성을 설명한다.4 and 5, the configuration of the
도시된 바와 같이, 본 발명에 따른 메인 유닛 장치(100)는 이동통신 시스템에 액세스하기 위한 통신신호 입력 수단(110), 통신 신호를 변조 또는 복조 처리하는 통신신호 변복조 수단(120) 및 건물 내 전력선을 통해 전력선 통신을 수행하는 전력선 통신 수단(130)을 포함한다.As shown, the
상기 통신신호 입력 수단(110)은, 이동통신 시스템의 중계기 및 기지국과 통신 신호를 송,수신하는 역할을 수행한다. 상기 통신신호 입력 수단(110)은 무선 입력 안테나, 통신신호 입,출력부 등을 포함할 수 있다. 상기 통신신호 입력 수단(110)은 이동통신 시스템으로부터 통신신호를 수신하여 입력받고, 후술할 통신신호 변복조 수단(120) 및 전력선 통신 수단(130)을 통해 수신한 단말로부터 발생한 통신신호를 이동통신 시스템으로 송신한다.The communication
상기 통신신호 변복조 수단(120)은, 상기 통신신호 입력 수단(110)을 통해서 입력된 통신 신호를 전력선 통신 방식에 따라 건물 내 배선된 전력선을 통해 공급하기 위해 변조 처리하고, 전력선을 통해 수신한 단말로부터 발생한 통신신호를 복조 처리하는 역할을 수행한다. 상기 통신신호 변복조 수단(120)은 전력선 통신방식에 따른 신호 변복조 처리용 모뎀(modem)장치일 수 있다.The communication signal modulation and demodulation means 120 modulates the communication signal inputted through the communication signal input means 110 through a power line wired in a building according to a power line communication method, and receives the terminal through a power line. Demodulates the communication signal generated from The communication signal modulation and demodulation means 120 may be a modem device for signal modulation and demodulation processing according to a power line communication method.
상기 전력선 통신 수단(130)은, 건물 내의 전력선 입력단(전력선 분배함)과 연결되어 건물 내에 배선된 전력선으로 전력선 통신방식에 따라 통신 신호를 송신 및 수신 처리하는 역할을 수행한다. 상기 전력선 통신 수단(130)은 변조된 통신 신호를 건물 내의 전력선으로 전력선 통신방식에 따라 실어 보내고, 전력선을 통해 실려 오는 변조된 통신 신호를 수신한다.The power
한편, 본 발명에 따른 원격 유닛 장치(200)는, 도 5에서와 같이 전력선 통신 수단(210), 통신신호 변복조 수단(220), 통신 서비스 제공 수단(230)을 포함한다.Meanwhile, the
상기 전력선 통신 수단(210)은, 건물 내의 전력선 말단(콘센트)과 연결되어 전력선 통신방식에 따라 건물 내에 배선된 전력선을 통해 공급되는 통신신호를 송신 및 수신 처리하는 역할을 수행한다. 상기 전력선 통신 수단(210)은 전력선을 통해 실려 오는 변조된 통신 신호를 수신하고, 단말에서 발생하여 수신 및 변조 처리된 통신 신호를 전력선을 통해 실어 보낸다.The power
상기 통신신호 변복조 수단(220)은 상기 메인 유닛 장치(100)의 통신신호 변복조 수단(120)과 유사하며 통신 신호에 대한 변조 및 복조 처리를 수행한다. 즉, 상기 통신신호 변복조 수단(220)은 상기 전력선 통신수단(210)에서 수신한 변조된 통신신호를 복조하거나, 단말로부터 발생하여 입력받은 통신신호를 상기 전력선 통 신수단(220)을 통해 송신하기 위하여 변조 처리한다.The communication signal demodulation means 220 is similar to the communication signal demodulation means 120 of the
상기 통신 서비스 제공 수단(230)은 주위 공간에 위치한 이동통신 단말과 액세스하여 무선으로 통신 신호를 송신 및 수신하여 통신 서비스를 제공하는 역할을 수행한다. 상기 통신 서비스 제공 수단(230)은 전력선으로부터 전원을 인가받는 전원부와 단말과 무선 통신을 위해 무선 송수신 안테나 장치를 구비할 수 있다. 상기 통신 서비스 제공 수단(230)은 상기 통신신호 변복조 수단(220)에서 복조된 통신 신호를 주위에 위치한 해당 단말에 무선으로 제공하고, 단말에서 발생한 통신 신호를 무선으로 수신하여 상기 통신신호 변복조 수단(220) 및 상기 전력선 통신 수단(210)을 통해 이동통신 시스템으로 송신한다.The communication service providing means 230 performs a role of providing a communication service by accessing a mobile communication terminal located in a surrounding space and wirelessly transmitting and receiving a communication signal. The communication
다음으로, 본 발명의 일 실시예에 따른 전력선 통신을 이용한 옥내 통신 중계 방법의 전체적인 절차를 간략하게 설명하기로 한다.Next, the overall procedure of the indoor communication relay method using power line communication according to an embodiment of the present invention will be briefly described.
도 6은 본 발명의 일 실시예에 따른 전력선 통신을 이용한 옥내 통신 중계 방법의 절차를 순서대로 나타낸 도면이다.FIG. 6 is a flowchart illustrating a procedure of an indoor communication relay method using power line communication according to an embodiment of the present invention.
도 6을 참조하면, 본 발명에 따른 옥내 통신 중계 방법은 먼저 이동통신 시스템으로부터 통신신호를 입력받는다. 이때에는, 건물 외부의 입력 안테나 또는 급전선을 통해 기지국 및 중계기로부터 통신신호를 건물 내로 입력받게 된다.(S10)Referring to FIG. 6, the indoor communication relay method according to the present invention first receives a communication signal from a mobile communication system. At this time, the communication signal is received from the base station and the repeater into the building through an input antenna or a feed line outside the building.
통신신호를 입력받으면, 전력선 통신 방식을 통해 건물 내로 통신신호를 공급하기 위해 통신신호를 변조 처리하는 절차가 진행된다.(S20)Upon receiving the communication signal, a procedure of modulating the communication signal is performed to supply the communication signal to the building through the power line communication method (S20).
변조된 통신신호는 전력선 입력단을 통해서 건물 내부에 배선된 전력선으로 공급한다. 이때에는 전력선 통신방식에 따라 변조된 신호를 공급하는 절차가 이루 어진다.(S30)The modulated communication signal is supplied to the power line wired inside the building through the power line input terminal. In this case, a procedure of supplying a modulated signal according to the power line communication method is performed.
다음, 건물 내부의 특정 장소로 배선된 전력선의 말단에서는 건물 내부의 전력선으로 공급된 변조된 통신신호를 수신하게 된다. 이때에는, 건물 내(예를 들면 지하층이나, 저층)의 콘센트 등으로부터 전력선 통신방식에 따라 신호를 수신하는 절차가 진행된다.(S40)Next, the terminal of the power line wired to a specific place inside the building receives the modulated communication signal supplied to the power line inside the building. At this time, a procedure for receiving a signal in accordance with a power line communication method is performed from an outlet in a building (for example, a basement floor or a lower floor).
이렇게 수신된 변조된 통신 신호는 복조 처리하여 변조되기 전의 통신 신호로 다시 복원하는 절차를 진행한다.(S50)The modulated communication signal thus received is demodulated and restored to a communication signal before being modulated (S50).
통신 신호의 복조 처리와 함께 주위에 위치한 이동통신 단말로 복조된 통신 신호를 송신하여 통신 서비스를 제공하는 절차를 진행한다. 따라서, 건물 내부의 지하층이나 저층의 이동통신 서비스가 원활하게 제공되지 못하는 음영지역으로 통신 서비스를 중계하여 고품질의 통신 서비스를 제공할 수 있게 된다.(S60)In addition to demodulating the communication signal, a demodulated communication signal is transmitted to mobile communication terminals located nearby to provide a communication service. Therefore, it is possible to provide a high quality communication service by relaying the communication service to a shaded area where the mobile communication service of the basement floor or the lower floor inside the building is not provided smoothly (S60).
이하에서는, 본 발명의 일 실시예에 따른 전력선 통신을 이용한 옥내 통신 중계 방법에 따라 각 노드에서 진행되는 절차의 흐름을 상세히 설명하기로 한다.Hereinafter, a flow of a procedure performed in each node according to an indoor communication relay method using power line communication according to an embodiment of the present invention will be described in detail.
도 7은 본 발명의 일 실시예에 따른 전력선 통신을 이용한 옥내 통신 중계 방법에 따라 각 노드에서 이루어지는 절차를 도시한 흐름도이다.7 is a flowchart illustrating a procedure performed at each node according to an indoor communication relay method using power line communication according to an embodiment of the present invention.
도면에서와 같이, 본 발명에 따른 옥내 통신 중계 방법은 다양한 노드를 통해 진행된다.As shown in the figure, the indoor communication relay method according to the present invention proceeds through various nodes.
먼저, 이동통신 시스템의 기지국으로부터 메인 유닛으로 통신신호를 입력받게 된다. 이때 메인 유닛은 건물 내부의 일정 장소에 위치하게 된다.(1)First, a communication signal is received from a base station of a mobile communication system to a main unit. At this time, the main unit is located in a certain place inside the building. (1)
메인 유닛에서는 입력받은 통신신호를 전력선 통신방식으로 전송하기 위해 변조처리를 하게 된다.(2)In the main unit, modulation processing is performed to transmit the received communication signal through the power line communication method.
메인 유닛에서 변조된 통신신호는 건물 내의 전력선 입력단을 통해 전력선 통신 방식에 따라 건물 내부로 공급된다. 이때 전력선 입력단은 EPS실 또는 MDF실에 위치한 전력선 분배함이 된다.(3)The communication signal modulated in the main unit is supplied into the building through the power line input terminal in the building according to the power line communication method. At this time, the power line input terminal is a power line distribution box located in the EPS chamber or the MDF chamber.
건물 내로 공급된 통신신호는 전력선 통신을 통해 건물의 주요 위치에 설치된 전력선 말단으로 전송된다. 이때 전력선 말단은 건물 내의 개별장소에 설치된 콘센트가 된다.(4)The communication signal supplied into the building is transmitted through the power line communication to the end of the power line installed at the main location of the building. In this case, the end of the power line is an outlet installed in a separate place in the building. (4)
전력선 말단에 연결된 원격 유닛에서는 말단에서 전력선 통신을 통해 전송된 통신신호를 수신한다.(5)A remote unit connected to the power line end receives a communication signal transmitted through power line communication at the end.
원격 유닛에서는 수신된 통신신호가 변조된 상태이므로, 이를 원래의 통신신호로 복구하는 복조 처리를 하게 된다.(6)In the remote unit, since the received communication signal is modulated, demodulation processing is performed to recover the original communication signal.
복조된 통신신호는 무선 안테나를 통해 주위 공간에 위치한 이동통신 단말로 제공하여 이동통신 신호의 옥내 중계 서비스가 이루어진다.(7)The demodulated communication signal is provided to a mobile communication terminal located in the surrounding space through a wireless antenna to perform indoor relay service of the mobile communication signal.
다음으로, 건물 내에 위치한 이동통신 단말에서 음성 및 데이터를 송신하거나 발신을 하는 등의 통신신호가 발생하게 된다.(8)Next, a communication signal such as voice or data transmission or transmission is generated from the mobile communication terminal located in the building.
통신신호가 발생한 단말의 주위에 위치한 원격 유닛에서는 발생한 통신신호를 수신하게 된다. 이때 역시 무선 안테나를 통해 수신하며, 해당 원격 유닛은 해당 단말을 담당하게 된다.(7')The remote unit located around the terminal where the communication signal is generated receives the generated communication signal. At this time, it is also received through the wireless antenna, the remote unit is in charge of the terminal.
원격 유닛에서는 수신한 통신신호를 전력선 통신 방식으로 전송하기 위해 변조하는 처리를 진행한다.(6')The remote unit proceeds to modulate the received communication signal in order to transmit the power line communication method (6 ').
원격 유닛은 변조된 통신신호를 전력선 말단을 통해 전력선 통신방식에 따라 건물 내 전력선으로 송신한다.(5')The remote unit transmits the modulated communication signal through the power line end to the power line in the building according to the power line communication method (5 ').
전력선 말단과 건물 내 전력선 입력단에서는 전력선 통신 방식으로 통신신호를 전송한다.(4')At the power line terminal and the power line input terminal in the building, communication signals are transmitted by power line communication method (4 ').
메인 유닛에서는 건물 내부로부터 전송된 통신신호를 전력선 입력단을 통해서 수신하게 된다.(3')The main unit receives the communication signal transmitted from the inside of the building through the power line input terminal (3 ').
메인 유닛으로 수신된 통신신호는 복조 처리하여 변조되기 전의 통신신호로 복원하는 절차를 진행한다.(2')The communication signal received by the main unit is demodulated and restored to the communication signal before being modulated (2 ').
이렇게 복조된 통신신호는 기지국을 통해서 이동통신 시스템으로 송출하는 출력 처리가 이루어진다.(1')The demodulated communication signal is outputted to the mobile communication system through the base station (1 ').
이상에서와 같이, 이동통신 시스템과 건물 내부에 위치한 단말 간에는 건물 내에 배선된 전력선을 통해 통신신호가 중계 처리되어, 건물 내 음영지역으로도 원활한 통신 서비스를 제공할 수 있게 된다.As described above, the communication signal is relayed through the power line wired in the building between the mobile communication system and the terminal located inside the building, thereby providing a smooth communication service even in the shadow area of the building.
이상에서 본 발명은 비록 한정된 실시예와 도면에 의해 설명되었으나, 본 발명은 이것에 의해 한정되지 않으며 본 발명이 속하는 기술분야에서 통상의 지식을 가진 자에 의해 본 발명의 기술사상과 아래에 기재될 특허청구범위의 균등범위 내에서 다양한 수정 및 변형이 가능함은 물론이다.Although the present invention has been described above by means of limited embodiments and drawings, the present invention is not limited thereto and will be described below by the person skilled in the art to which the present invention pertains. Of course, various modifications and variations are possible within the scope of the claims.
본 명세서에 첨부되는 다음의 도면들은 본 발명의 바람직한 실시예를 예시하는 것이며, 전술된 발명의 상세한 설명과 함께 본 발명의 기술사상을 더욱 이해시키는 역할을 하는 것이므로, 본 발명은 그러한 도면에 기재된 사항에만 한정되어 해석되어서는 아니된다.The following drawings, which are attached to this specification, illustrate exemplary embodiments of the present invention, and together with the detailed description of the present invention serve to further understand the technical spirit of the present invention, the present invention includes matters described in such drawings. It should not be construed as limited to.
도 1은 본 발명의 일 실시예에 다른 옥내 통신 중계 시스템에서 전력선 및 통신신호 입력단 부분의 구성을 나타낸 도면이다.1 is a view showing the configuration of the power line and communication signal input portion in the indoor communication relay system according to an embodiment of the present invention.
도 2는 건물 내부의 각각의 말단으로 전력선 및 통신신호가 중계되는 부분의 구성을 나타낸 도면이다.2 is a view showing the configuration of a portion where the power line and the communication signal is relayed to each end inside the building.
도 3은 본 발명의 일 실시예에 따른 전력선 통신을 이용한 옥내 통신 중계 시스템의 주요 구성을 나타낸 블록도이다.3 is a block diagram showing the main configuration of the indoor communication relay system using power line communication according to an embodiment of the present invention.
도 4는 본 발명의 일 실시예에 따른 전력선 통신을 이용한 옥내 통신 중계용 메인유닛 장치의 기능적 구성을 나타낸 도면이다.4 is a view showing the functional configuration of the main unit device for the indoor communication relay using power line communication according to an embodiment of the present invention.
도 5는 본 발명의 일 실시예에 따른 전력선 통신을 이용한 옥내 통신 중계용 원격유닛 장치의 기능적 구성을 나타낸 도면이다.5 is a view showing the functional configuration of the remote unit device for the indoor communication relay using power line communication according to an embodiment of the present invention.
도 6은 본 발명의 일 실시예에 따른 전력선 통신을 이용한 옥내 통신 중계 방법의 절차를 순서대로 나타낸 도면이다.FIG. 6 is a flowchart illustrating a procedure of an indoor communication relay method using power line communication according to an embodiment of the present invention.
도 7은 본 발명의 일 실시예에 따른 전력선 통신을 이용한 옥내 통신 중계 방법에 따라 각 노드에서 이루어지는 절차를 도시한 흐름도이다.7 is a flowchart illustrating a procedure performed at each node according to an indoor communication relay method using power line communication according to an embodiment of the present invention.
<도면의 주요 부분에 대한 부호의 설명><Explanation of symbols for the main parts of the drawings>
10 : 전력선 입력단 20 : 전력선 말단10: power line input terminal 20: power line terminal
100 : 메인 유닛 150 : 입력 안테나100: main unit 150: input antenna
200 : 원격 유닛 300 : 기지국200: remote unit 300: base station
400 : 중계기400: repeater
| Application Number | Priority Date | Filing Date | Title |
|---|---|---|---|
| KR1020080031813AKR20090106241A (en) | 2008-04-04 | 2008-04-04 | Indoor communication relay system and method using power line communication |
| PCT/KR2009/001489WO2009123404A1 (en) | 2008-04-04 | 2009-03-24 | In-building communication-relay system using power-line communication and method thereof |
| Application Number | Priority Date | Filing Date | Title |
|---|---|---|---|
| KR1020080031813AKR20090106241A (en) | 2008-04-04 | 2008-04-04 | Indoor communication relay system and method using power line communication |
| Publication Number | Publication Date |
|---|---|
| KR20090106241Atrue KR20090106241A (en) | 2009-10-08 |
| Application Number | Title | Priority Date | Filing Date |
|---|---|---|---|
| KR1020080031813ACeasedKR20090106241A (en) | 2008-04-04 | 2008-04-04 | Indoor communication relay system and method using power line communication |
| Country | Link |
|---|---|
| KR (1) | KR20090106241A (en) |
| WO (1) | WO2009123404A1 (en) |
| Publication number | Priority date | Publication date | Assignee | Title |
|---|---|---|---|---|
| US9113347B2 (en) | 2012-12-05 | 2015-08-18 | At&T Intellectual Property I, Lp | Backhaul link for distributed antenna system |
| US10009065B2 (en) | 2012-12-05 | 2018-06-26 | At&T Intellectual Property I, L.P. | Backhaul link for distributed antenna system |
| US9525524B2 (en) | 2013-05-31 | 2016-12-20 | At&T Intellectual Property I, L.P. | Remote distributed antenna system |
| US9999038B2 (en) | 2013-05-31 | 2018-06-12 | At&T Intellectual Property I, L.P. | Remote distributed antenna system |
| US8897697B1 (en) | 2013-11-06 | 2014-11-25 | At&T Intellectual Property I, Lp | Millimeter-wave surface-wave communications |
| US9209902B2 (en) | 2013-12-10 | 2015-12-08 | At&T Intellectual Property I, L.P. | Quasi-optical coupler |
| US9692101B2 (en) | 2014-08-26 | 2017-06-27 | At&T Intellectual Property I, L.P. | Guided wave couplers for coupling electromagnetic waves between a waveguide surface and a surface of a wire |
| US9768833B2 (en) | 2014-09-15 | 2017-09-19 | At&T Intellectual Property I, L.P. | Method and apparatus for sensing a condition in a transmission medium of electromagnetic waves |
| US10063280B2 (en) | 2014-09-17 | 2018-08-28 | At&T Intellectual Property I, L.P. | Monitoring and mitigating conditions in a communication network |
| US9615269B2 (en) | 2014-10-02 | 2017-04-04 | At&T Intellectual Property I, L.P. | Method and apparatus that provides fault tolerance in a communication network |
| US9685992B2 (en) | 2014-10-03 | 2017-06-20 | At&T Intellectual Property I, L.P. | Circuit panel network and methods thereof |
| US9762289B2 (en) | 2014-10-14 | 2017-09-12 | At&T Intellectual Property I, L.P. | Method and apparatus for transmitting or receiving signals in a transportation system |
| US9973299B2 (en) | 2014-10-14 | 2018-05-15 | At&T Intellectual Property I, L.P. | Method and apparatus for adjusting a mode of communication in a communication network |
| US9627768B2 (en) | 2014-10-21 | 2017-04-18 | At&T Intellectual Property I, L.P. | Guided-wave transmission device with non-fundamental mode propagation and methods for use therewith |
| US9577306B2 (en) | 2014-10-21 | 2017-02-21 | At&T Intellectual Property I, L.P. | Guided-wave transmission device and methods for use therewith |
| US9520945B2 (en) | 2014-10-21 | 2016-12-13 | At&T Intellectual Property I, L.P. | Apparatus for providing communication services and methods thereof |
| US9312919B1 (en) | 2014-10-21 | 2016-04-12 | At&T Intellectual Property I, Lp | Transmission device with impairment compensation and methods for use therewith |
| US9653770B2 (en) | 2014-10-21 | 2017-05-16 | At&T Intellectual Property I, L.P. | Guided wave coupler, coupling module and methods for use therewith |
| US9780834B2 (en) | 2014-10-21 | 2017-10-03 | At&T Intellectual Property I, L.P. | Method and apparatus for transmitting electromagnetic waves |
| US9769020B2 (en) | 2014-10-21 | 2017-09-19 | At&T Intellectual Property I, L.P. | Method and apparatus for responding to events affecting communications in a communication network |
| US10243784B2 (en) | 2014-11-20 | 2019-03-26 | At&T Intellectual Property I, L.P. | System for generating topology information and methods thereof |
| US9461706B1 (en) | 2015-07-31 | 2016-10-04 | At&T Intellectual Property I, Lp | Method and apparatus for exchanging communication signals |
| US10009067B2 (en) | 2014-12-04 | 2018-06-26 | At&T Intellectual Property I, L.P. | Method and apparatus for configuring a communication interface |
| US9742462B2 (en) | 2014-12-04 | 2017-08-22 | At&T Intellectual Property I, L.P. | Transmission medium and communication interfaces and methods for use therewith |
| US9997819B2 (en) | 2015-06-09 | 2018-06-12 | At&T Intellectual Property I, L.P. | Transmission medium and method for facilitating propagation of electromagnetic waves via a core |
| US9800327B2 (en) | 2014-11-20 | 2017-10-24 | At&T Intellectual Property I, L.P. | Apparatus for controlling operations of a communication device and methods thereof |
| US9544006B2 (en) | 2014-11-20 | 2017-01-10 | At&T Intellectual Property I, L.P. | Transmission device with mode division multiplexing and methods for use therewith |
| US9680670B2 (en) | 2014-11-20 | 2017-06-13 | At&T Intellectual Property I, L.P. | Transmission device with channel equalization and control and methods for use therewith |
| US9954287B2 (en) | 2014-11-20 | 2018-04-24 | At&T Intellectual Property I, L.P. | Apparatus for converting wireless signals and electromagnetic waves and methods thereof |
| US10144036B2 (en) | 2015-01-30 | 2018-12-04 | At&T Intellectual Property I, L.P. | Method and apparatus for mitigating interference affecting a propagation of electromagnetic waves guided by a transmission medium |
| CN104660305B (en)* | 2015-02-11 | 2017-07-11 | 中北大学 | A kind of power grid communication network and the means of communication based on WIMAX |
| US9876570B2 (en) | 2015-02-20 | 2018-01-23 | At&T Intellectual Property I, Lp | Guided-wave transmission device with non-fundamental mode propagation and methods for use therewith |
| US10224981B2 (en) | 2015-04-24 | 2019-03-05 | At&T Intellectual Property I, Lp | Passive electrical coupling device and methods for use therewith |
| US9705561B2 (en) | 2015-04-24 | 2017-07-11 | At&T Intellectual Property I, L.P. | Directional coupling device and methods for use therewith |
| US9490869B1 (en) | 2015-05-14 | 2016-11-08 | At&T Intellectual Property I, L.P. | Transmission medium having multiple cores and methods for use therewith |
| US9871282B2 (en) | 2015-05-14 | 2018-01-16 | At&T Intellectual Property I, L.P. | At least one transmission medium having a dielectric surface that is covered at least in part by a second dielectric |
| US9748626B2 (en) | 2015-05-14 | 2017-08-29 | At&T Intellectual Property I, L.P. | Plurality of cables having different cross-sectional shapes which are bundled together to form a transmission medium |
| US10650940B2 (en) | 2015-05-15 | 2020-05-12 | At&T Intellectual Property I, L.P. | Transmission medium having a conductive material and methods for use therewith |
| US10103801B2 (en) | 2015-06-03 | 2018-10-16 | At&T Intellectual Property I, L.P. | Host node device and methods for use therewith |
| US10812174B2 (en) | 2015-06-03 | 2020-10-20 | At&T Intellectual Property I, L.P. | Client node device and methods for use therewith |
| US9912381B2 (en) | 2015-06-03 | 2018-03-06 | At&T Intellectual Property I, Lp | Network termination and methods for use therewith |
| US9866309B2 (en) | 2015-06-03 | 2018-01-09 | At&T Intellectual Property I, Lp | Host node device and methods for use therewith |
| US9913139B2 (en) | 2015-06-09 | 2018-03-06 | At&T Intellectual Property I, L.P. | Signal fingerprinting for authentication of communicating devices |
| US9608692B2 (en) | 2015-06-11 | 2017-03-28 | At&T Intellectual Property I, L.P. | Repeater and methods for use therewith |
| US10142086B2 (en) | 2015-06-11 | 2018-11-27 | At&T Intellectual Property I, L.P. | Repeater and methods for use therewith |
| US9820146B2 (en) | 2015-06-12 | 2017-11-14 | At&T Intellectual Property I, L.P. | Method and apparatus for authentication and identity management of communicating devices |
| US9667317B2 (en) | 2015-06-15 | 2017-05-30 | At&T Intellectual Property I, L.P. | Method and apparatus for providing security using network traffic adjustments |
| US9640850B2 (en) | 2015-06-25 | 2017-05-02 | At&T Intellectual Property I, L.P. | Methods and apparatus for inducing a non-fundamental wave mode on a transmission medium |
| US9509415B1 (en) | 2015-06-25 | 2016-11-29 | At&T Intellectual Property I, L.P. | Methods and apparatus for inducing a fundamental wave mode on a transmission medium |
| US9865911B2 (en) | 2015-06-25 | 2018-01-09 | At&T Intellectual Property I, L.P. | Waveguide system for slot radiating first electromagnetic waves that are combined into a non-fundamental wave mode second electromagnetic wave on a transmission medium |
| US10170840B2 (en) | 2015-07-14 | 2019-01-01 | At&T Intellectual Property I, L.P. | Apparatus and methods for sending or receiving electromagnetic signals |
| US10148016B2 (en) | 2015-07-14 | 2018-12-04 | At&T Intellectual Property I, L.P. | Apparatus and methods for communicating utilizing an antenna array |
| US10205655B2 (en) | 2015-07-14 | 2019-02-12 | At&T Intellectual Property I, L.P. | Apparatus and methods for communicating utilizing an antenna array and multiple communication paths |
| US9882257B2 (en) | 2015-07-14 | 2018-01-30 | At&T Intellectual Property I, L.P. | Method and apparatus for launching a wave mode that mitigates interference |
| US10033107B2 (en) | 2015-07-14 | 2018-07-24 | At&T Intellectual Property I, L.P. | Method and apparatus for coupling an antenna to a device |
| US9853342B2 (en) | 2015-07-14 | 2017-12-26 | At&T Intellectual Property I, L.P. | Dielectric transmission medium connector and methods for use therewith |
| US9847566B2 (en) | 2015-07-14 | 2017-12-19 | At&T Intellectual Property I, L.P. | Method and apparatus for adjusting a field of a signal to mitigate interference |
| US10341142B2 (en) | 2015-07-14 | 2019-07-02 | At&T Intellectual Property I, L.P. | Apparatus and methods for generating non-interfering electromagnetic waves on an uninsulated conductor |
| US10044409B2 (en) | 2015-07-14 | 2018-08-07 | At&T Intellectual Property I, L.P. | Transmission medium and methods for use therewith |
| US10033108B2 (en) | 2015-07-14 | 2018-07-24 | At&T Intellectual Property I, L.P. | Apparatus and methods for generating an electromagnetic wave having a wave mode that mitigates interference |
| US9628116B2 (en) | 2015-07-14 | 2017-04-18 | At&T Intellectual Property I, L.P. | Apparatus and methods for transmitting wireless signals |
| US10320586B2 (en) | 2015-07-14 | 2019-06-11 | At&T Intellectual Property I, L.P. | Apparatus and methods for generating non-interfering electromagnetic waves on an insulated transmission medium |
| US9722318B2 (en) | 2015-07-14 | 2017-08-01 | At&T Intellectual Property I, L.P. | Method and apparatus for coupling an antenna to a device |
| US10090606B2 (en) | 2015-07-15 | 2018-10-02 | At&T Intellectual Property I, L.P. | Antenna system with dielectric array and methods for use therewith |
| US9793951B2 (en) | 2015-07-15 | 2017-10-17 | At&T Intellectual Property I, L.P. | Method and apparatus for launching a wave mode that mitigates interference |
| US9608740B2 (en) | 2015-07-15 | 2017-03-28 | At&T Intellectual Property I, L.P. | Method and apparatus for launching a wave mode that mitigates interference |
| US9749053B2 (en) | 2015-07-23 | 2017-08-29 | At&T Intellectual Property I, L.P. | Node device, repeater and methods for use therewith |
| US9948333B2 (en) | 2015-07-23 | 2018-04-17 | At&T Intellectual Property I, L.P. | Method and apparatus for wireless communications to mitigate interference |
| US9871283B2 (en) | 2015-07-23 | 2018-01-16 | At&T Intellectual Property I, Lp | Transmission medium having a dielectric core comprised of plural members connected by a ball and socket configuration |
| US9912027B2 (en) | 2015-07-23 | 2018-03-06 | At&T Intellectual Property I, L.P. | Method and apparatus for exchanging communication signals |
| US9735833B2 (en) | 2015-07-31 | 2017-08-15 | At&T Intellectual Property I, L.P. | Method and apparatus for communications management in a neighborhood network |
| US9967173B2 (en) | 2015-07-31 | 2018-05-08 | At&T Intellectual Property I, L.P. | Method and apparatus for authentication and identity management of communicating devices |
| US9904535B2 (en) | 2015-09-14 | 2018-02-27 | At&T Intellectual Property I, L.P. | Method and apparatus for distributing software |
| US10079661B2 (en) | 2015-09-16 | 2018-09-18 | At&T Intellectual Property I, L.P. | Method and apparatus for use with a radio distributed antenna system having a clock reference |
| US10009063B2 (en) | 2015-09-16 | 2018-06-26 | At&T Intellectual Property I, L.P. | Method and apparatus for use with a radio distributed antenna system having an out-of-band reference signal |
| US10136434B2 (en) | 2015-09-16 | 2018-11-20 | At&T Intellectual Property I, L.P. | Method and apparatus for use with a radio distributed antenna system having an ultra-wideband control channel |
| US9769128B2 (en) | 2015-09-28 | 2017-09-19 | At&T Intellectual Property I, L.P. | Method and apparatus for encryption of communications over a network |
| US9729197B2 (en) | 2015-10-01 | 2017-08-08 | At&T Intellectual Property I, L.P. | Method and apparatus for communicating network management traffic over a network |
| US9882277B2 (en) | 2015-10-02 | 2018-01-30 | At&T Intellectual Property I, Lp | Communication device and antenna assembly with actuated gimbal mount |
| US9876264B2 (en) | 2015-10-02 | 2018-01-23 | At&T Intellectual Property I, Lp | Communication system, guided wave switch and methods for use therewith |
| US10665942B2 (en) | 2015-10-16 | 2020-05-26 | At&T Intellectual Property I, L.P. | Method and apparatus for adjusting wireless communications |
| US10355367B2 (en) | 2015-10-16 | 2019-07-16 | At&T Intellectual Property I, L.P. | Antenna structure for exchanging wireless signals |
| US9912419B1 (en) | 2016-08-24 | 2018-03-06 | At&T Intellectual Property I, L.P. | Method and apparatus for managing a fault in a distributed antenna system |
| US9860075B1 (en) | 2016-08-26 | 2018-01-02 | At&T Intellectual Property I, L.P. | Method and communication node for broadband distribution |
| US10291311B2 (en) | 2016-09-09 | 2019-05-14 | At&T Intellectual Property I, L.P. | Method and apparatus for mitigating a fault in a distributed antenna system |
| US11032819B2 (en) | 2016-09-15 | 2021-06-08 | At&T Intellectual Property I, L.P. | Method and apparatus for use with a radio distributed antenna system having a control channel reference signal |
| US10340600B2 (en) | 2016-10-18 | 2019-07-02 | At&T Intellectual Property I, L.P. | Apparatus and methods for launching guided waves via plural waveguide systems |
| US10135146B2 (en) | 2016-10-18 | 2018-11-20 | At&T Intellectual Property I, L.P. | Apparatus and methods for launching guided waves via circuits |
| US10135147B2 (en) | 2016-10-18 | 2018-11-20 | At&T Intellectual Property I, L.P. | Apparatus and methods for launching guided waves via an antenna |
| US10811767B2 (en) | 2016-10-21 | 2020-10-20 | At&T Intellectual Property I, L.P. | System and dielectric antenna with convex dielectric radome |
| US10374316B2 (en) | 2016-10-21 | 2019-08-06 | At&T Intellectual Property I, L.P. | System and dielectric antenna with non-uniform dielectric |
| US9876605B1 (en) | 2016-10-21 | 2018-01-23 | At&T Intellectual Property I, L.P. | Launcher and coupling system to support desired guided wave mode |
| US10312567B2 (en) | 2016-10-26 | 2019-06-04 | At&T Intellectual Property I, L.P. | Launcher with planar strip antenna and methods for use therewith |
| US10224634B2 (en) | 2016-11-03 | 2019-03-05 | At&T Intellectual Property I, L.P. | Methods and apparatus for adjusting an operational characteristic of an antenna |
| US10498044B2 (en) | 2016-11-03 | 2019-12-03 | At&T Intellectual Property I, L.P. | Apparatus for configuring a surface of an antenna |
| US10291334B2 (en) | 2016-11-03 | 2019-05-14 | At&T Intellectual Property I, L.P. | System for detecting a fault in a communication system |
| US10225025B2 (en) | 2016-11-03 | 2019-03-05 | At&T Intellectual Property I, L.P. | Method and apparatus for detecting a fault in a communication system |
| US10535928B2 (en) | 2016-11-23 | 2020-01-14 | At&T Intellectual Property I, L.P. | Antenna system and methods for use therewith |
| US10178445B2 (en) | 2016-11-23 | 2019-01-08 | At&T Intellectual Property I, L.P. | Methods, devices, and systems for load balancing between a plurality of waveguides |
| US10340601B2 (en) | 2016-11-23 | 2019-07-02 | At&T Intellectual Property I, L.P. | Multi-antenna system and methods for use therewith |
| US10090594B2 (en) | 2016-11-23 | 2018-10-02 | At&T Intellectual Property I, L.P. | Antenna system having structural configurations for assembly |
| US10340603B2 (en) | 2016-11-23 | 2019-07-02 | At&T Intellectual Property I, L.P. | Antenna system having shielded structural configurations for assembly |
| US10305190B2 (en) | 2016-12-01 | 2019-05-28 | At&T Intellectual Property I, L.P. | Reflecting dielectric antenna system and methods for use therewith |
| US10361489B2 (en) | 2016-12-01 | 2019-07-23 | At&T Intellectual Property I, L.P. | Dielectric dish antenna system and methods for use therewith |
| US10727599B2 (en) | 2016-12-06 | 2020-07-28 | At&T Intellectual Property I, L.P. | Launcher with slot antenna and methods for use therewith |
| US10637149B2 (en) | 2016-12-06 | 2020-04-28 | At&T Intellectual Property I, L.P. | Injection molded dielectric antenna and methods for use therewith |
| US10135145B2 (en) | 2016-12-06 | 2018-11-20 | At&T Intellectual Property I, L.P. | Apparatus and methods for generating an electromagnetic wave along a transmission medium |
| US10020844B2 (en) | 2016-12-06 | 2018-07-10 | T&T Intellectual Property I, L.P. | Method and apparatus for broadcast communication via guided waves |
| US10755542B2 (en) | 2016-12-06 | 2020-08-25 | At&T Intellectual Property I, L.P. | Method and apparatus for surveillance via guided wave communication |
| US10694379B2 (en) | 2016-12-06 | 2020-06-23 | At&T Intellectual Property I, L.P. | Waveguide system with device-based authentication and methods for use therewith |
| US9927517B1 (en) | 2016-12-06 | 2018-03-27 | At&T Intellectual Property I, L.P. | Apparatus and methods for sensing rainfall |
| US10326494B2 (en) | 2016-12-06 | 2019-06-18 | At&T Intellectual Property I, L.P. | Apparatus for measurement de-embedding and methods for use therewith |
| US10819035B2 (en) | 2016-12-06 | 2020-10-27 | At&T Intellectual Property I, L.P. | Launcher with helical antenna and methods for use therewith |
| US10382976B2 (en) | 2016-12-06 | 2019-08-13 | At&T Intellectual Property I, L.P. | Method and apparatus for managing wireless communications based on communication paths and network device positions |
| US10439675B2 (en) | 2016-12-06 | 2019-10-08 | At&T Intellectual Property I, L.P. | Method and apparatus for repeating guided wave communication signals |
| US10027397B2 (en) | 2016-12-07 | 2018-07-17 | At&T Intellectual Property I, L.P. | Distributed antenna system and methods for use therewith |
| US10547348B2 (en) | 2016-12-07 | 2020-01-28 | At&T Intellectual Property I, L.P. | Method and apparatus for switching transmission mediums in a communication system |
| US10389029B2 (en) | 2016-12-07 | 2019-08-20 | At&T Intellectual Property I, L.P. | Multi-feed dielectric antenna system with core selection and methods for use therewith |
| US10446936B2 (en) | 2016-12-07 | 2019-10-15 | At&T Intellectual Property I, L.P. | Multi-feed dielectric antenna system and methods for use therewith |
| US9893795B1 (en) | 2016-12-07 | 2018-02-13 | At&T Intellectual Property I, Lp | Method and repeater for broadband distribution |
| US10168695B2 (en) | 2016-12-07 | 2019-01-01 | At&T Intellectual Property I, L.P. | Method and apparatus for controlling an unmanned aircraft |
| US10243270B2 (en) | 2016-12-07 | 2019-03-26 | At&T Intellectual Property I, L.P. | Beam adaptive multi-feed dielectric antenna system and methods for use therewith |
| US10139820B2 (en) | 2016-12-07 | 2018-11-27 | At&T Intellectual Property I, L.P. | Method and apparatus for deploying equipment of a communication system |
| US10359749B2 (en) | 2016-12-07 | 2019-07-23 | At&T Intellectual Property I, L.P. | Method and apparatus for utilities management via guided wave communication |
| US10938108B2 (en) | 2016-12-08 | 2021-03-02 | At&T Intellectual Property I, L.P. | Frequency selective multi-feed dielectric antenna system and methods for use therewith |
| US10389037B2 (en) | 2016-12-08 | 2019-08-20 | At&T Intellectual Property I, L.P. | Apparatus and methods for selecting sections of an antenna array and use therewith |
| US10069535B2 (en) | 2016-12-08 | 2018-09-04 | At&T Intellectual Property I, L.P. | Apparatus and methods for launching electromagnetic waves having a certain electric field structure |
| US10326689B2 (en) | 2016-12-08 | 2019-06-18 | At&T Intellectual Property I, L.P. | Method and system for providing alternative communication paths |
| US10530505B2 (en) | 2016-12-08 | 2020-01-07 | At&T Intellectual Property I, L.P. | Apparatus and methods for launching electromagnetic waves along a transmission medium |
| US9998870B1 (en) | 2016-12-08 | 2018-06-12 | At&T Intellectual Property I, L.P. | Method and apparatus for proximity sensing |
| US10103422B2 (en) | 2016-12-08 | 2018-10-16 | At&T Intellectual Property I, L.P. | Method and apparatus for mounting network devices |
| US9911020B1 (en) | 2016-12-08 | 2018-03-06 | At&T Intellectual Property I, L.P. | Method and apparatus for tracking via a radio frequency identification device |
| US10777873B2 (en) | 2016-12-08 | 2020-09-15 | At&T Intellectual Property I, L.P. | Method and apparatus for mounting network devices |
| US10411356B2 (en) | 2016-12-08 | 2019-09-10 | At&T Intellectual Property I, L.P. | Apparatus and methods for selectively targeting communication devices with an antenna array |
| US10916969B2 (en) | 2016-12-08 | 2021-02-09 | At&T Intellectual Property I, L.P. | Method and apparatus for providing power using an inductive coupling |
| US10601494B2 (en) | 2016-12-08 | 2020-03-24 | At&T Intellectual Property I, L.P. | Dual-band communication device and method for use therewith |
| US10264586B2 (en) | 2016-12-09 | 2019-04-16 | At&T Mobility Ii Llc | Cloud-based packet controller and methods for use therewith |
| US10340983B2 (en) | 2016-12-09 | 2019-07-02 | At&T Intellectual Property I, L.P. | Method and apparatus for surveying remote sites via guided wave communications |
| US9838896B1 (en) | 2016-12-09 | 2017-12-05 | At&T Intellectual Property I, L.P. | Method and apparatus for assessing network coverage |
| US9973940B1 (en) | 2017-02-27 | 2018-05-15 | At&T Intellectual Property I, L.P. | Apparatus and methods for dynamic impedance matching of a guided wave launcher |
| US10298293B2 (en) | 2017-03-13 | 2019-05-21 | At&T Intellectual Property I, L.P. | Apparatus of communication utilizing wireless network devices |
| US10951265B1 (en) | 2019-12-02 | 2021-03-16 | At&T Intellectual Property I, L.P. | Surface wave repeater with cancellation and methods for use therewith |
| CN113905390A (en)* | 2021-08-26 | 2022-01-07 | 日海恒联通信技术有限公司 | 5G wireless access type indoor distribution system |
| Publication number | Priority date | Publication date | Assignee | Title |
|---|---|---|---|---|
| KR100627189B1 (en)* | 1999-06-28 | 2006-09-22 | 에스케이 텔레콤주식회사 | Relay system using power line in wireless communication network |
| KR20010076510A (en)* | 2000-01-26 | 2001-08-16 | 김승돌 | Power line communication local area network apparatus |
| US7092693B2 (en)* | 2003-08-29 | 2006-08-15 | Sony Corporation | Ultra-wide band wireless / power-line communication system for delivering audio/video content |
| KR100720681B1 (en)* | 2005-03-14 | 2007-05-23 | 액스트로브텔레콤(주) | Digital mobile communication relay system |
| JP2007104191A (en)* | 2005-10-03 | 2007-04-19 | Mitsubishi Electric Engineering Co Ltd | Power line monitor system using plc coupler |
| Publication number | Publication date |
|---|---|
| WO2009123404A4 (en) | 2009-12-03 |
| WO2009123404A1 (en) | 2009-10-08 |
| Publication | Publication Date | Title |
|---|---|---|
| KR20090106241A (en) | Indoor communication relay system and method using power line communication | |
| US7929940B1 (en) | System and method for transmitting wireless digital service signals via power transmission lines | |
| US6040759A (en) | Communication system for providing broadband data services using a high-voltage cable of a power system | |
| CA2339972C (en) | Method and system for conversion and distribution of incoming wireless telephone signals using the power line | |
| KR20010099822A (en) | Method and system for combining wireless phone jack and RF wireless communications | |
| US20090215451A1 (en) | Apparatuses and methods for transmitting and receiving control information in a wireless communication system based on Cognitive Radio (CR) | |
| US20080186881A1 (en) | System For Distributing Radio Signal | |
| WO2010050535A1 (en) | Wireless communication system, wireless communication method, relay device, and wireless terminal device | |
| CN110730029B (en) | Multi-mode wireless satellite communication terminal, system and communication method | |
| JP2011061632A (en) | Relay station device, base station device, mobile station device, and radio communication system | |
| US11570136B2 (en) | Wireless extension of broadband access | |
| KR20070006535A (en) | Wireless communication system and relay device and remote wireless base station device | |
| JP3795768B2 (en) | Network system | |
| CN110278579B (en) | Data processing method and device for base station | |
| CN101415198A (en) | System and method for communicating with terminal user | |
| CN109442684A (en) | Realize the wireless repeater and air-conditioning system of indoor radio signal covering | |
| JP4493143B2 (en) | Wireless LAN system | |
| KR20000024958A (en) | Transmitting/receiving system of terminal station for common use in wireless local loop | |
| CN110838931B (en) | Method, apparatus and computer readable medium for automatic configuration in a communication system | |
| CN106487616A (en) | Update standby interface method and Wireless Telecom Equipment that application icon is located | |
| CN106487669A (en) | The duplicate control and processing unit of telecommunication apparatus | |
| CN106452985A (en) | Composite video stream synchronization signal detection and extraction apparatus | |
| CN109525297A (en) | Realize repeater and the air-conditioning system of indoor radio signal covering | |
| KR101725775B1 (en) | Method And Apparatus for Relaying Signal by Using Frequency Conversion | |
| CN102368717B (en) | Method, device and system for remotely managing equipment |
| Date | Code | Title | Description |
|---|---|---|---|
| A201 | Request for examination | ||
| PA0109 | Patent application | Patent event code:PA01091R01D Comment text:Patent Application Patent event date:20080404 | |
| PA0201 | Request for examination | ||
| N231 | Notification of change of applicant | ||
| PN2301 | Change of applicant | Patent event date:20090824 Comment text:Notification of Change of Applicant Patent event code:PN23011R01D | |
| PG1501 | Laying open of application | ||
| E902 | Notification of reason for refusal | ||
| PE0902 | Notice of grounds for rejection | Comment text:Notification of reason for refusal Patent event date:20091026 Patent event code:PE09021S01D | |
| E601 | Decision to refuse application | ||
| PE0601 | Decision on rejection of patent | Patent event date:20100119 Comment text:Decision to Refuse Application Patent event code:PE06012S01D Patent event date:20091026 Comment text:Notification of reason for refusal Patent event code:PE06011S01I |