

본 발명은 온라인게임에서의 음성채팅시스템 및 그 방법에 관한 것으로, 더욱 상세하게는 온라인게임 중 사용자로 하여금 게임 클라이언트(Game Client) 내에서 자유롭게 음성채팅 대상이나 그룹을 선택/변경할 수 있도록 해줌으로써, 보다 쉽고 편한 음성채팅이 가능하도록 돕는 온라인게임에서의 음성채팅시스템 및 그 방법에 관한 것이다.The present invention relates to a voice chat system and an method thereof in an online game, and more particularly, by allowing a user to freely select / change a voice chat target or group in a game client during an online game. The present invention relates to a voice chat system in an online game and a method for helping to make voice chat easier and more convenient.
주지하다시피, 최근 들어 수년간의 인터넷 인프라의 비약적인 발전으로 인해, 온라인 게임 역시 다양한 형태로 진화하고 있다. 즉, 고전적인 형태의 RPG(Role Playing Game)는 MMORPG(Massively Multiplayer Online Role Playing Game)로 진화하여 국내에서만 동시접속자가 수만에 이르는 대형 MMORPG 온라인 게임들이 상용화되기에 이르렀다.As you know, in recent years, due to the rapid development of the Internet infrastructure, online games are also evolving in various forms. In other words, the classical form of RPG (Role Playing Game) has evolved into MMORPG (Massively Multiplayer Online Role Playing Game), which has led to the commercialization of large-scale MMORPG online games with tens of thousands of concurrent users only in Korea.
이때, 온라인게임은 혼자서 즐기는 게임에서 벗어나 다수의 게이머가 함께 그룹으로 묶여 게임을 하거나, 또는 두 팀으로 나뉘어 대결하는 구도로 게임이 진 행되고 있다. 따라서 여러 명의 게이머들이 팀을 이루어 게임에 참여하는 경우, 게이머들간의 전략 수립이나 여담을 위해 서로 음성채팅을 수행해야되는 경우들이 빈번하게 발생할 수 있다.At this time, the online game is a game that proceeds from the game to be enjoyed alone, a plurality of gamers are grouped together to play the game, or divided into two teams. Therefore, when a large number of gamers participate in a game as a team, there may be frequent cases in which voice chats need to be performed with each other in order to establish a strategy or talk with each other.
이로 인해 종래에 개발된 음성채팅방법으로는 최대 16명의 게이머가 접속 가능한 게임방 내에서 같은 팀에 속한 8명을 음성채팅그룹으로 묶어 채팅하는 방식이 있었다. 즉, 현재 같은 게임방 내에서 게임을 진행하고 있는 게이머들 중 같은 팀에 속한 게이머들 간의 의사소통이 가능했던 것이다.As a result, the voice chat method developed in the related art has a method of grouping up to eight people belonging to the same team and chatting in a voice chat group in a game room where up to 16 gamers can connect. In other words, it was possible to communicate among gamers in the same team who are currently in the same game room.
하지만, 상술한 종래의 음성채팅방법에 의하면, 사용자가 임의로 음성채팅 대상이나 그룹을 설정할 수 있는 것이 아니라, 같은 게임방 내의 같은 팀원들 간에만 음성채팅이 가능했기 때문에, 메신저에 등록된 다른 게이머들이나 클랜(특정 사용자들의 모임의 통칭) 플레이어들과의 음성을 통한 커뮤니케이션은 불가능했고, 이로 인해 다른 플레이어들과의 음성채팅을 위해서는 그들이 속한 같은 게임방에 접속해야하는 불편한 문제점이 있었다.However, according to the conventional voice chat method described above, the voice chat is possible only between the same team members in the same game room. (Communication of a specific group of users) Communication through the voices with the players was not possible, which caused the inconvenience of having to connect to the same game room to which the other players could chat.
한편, 또 다른 종래의 외부 프로그램을 이용한 음성채팅방식은 게임 클라이언트와 별도로 음성채팅 전용프로그램을 실행하여 음성채팅을 수행하였는데, 이 경우 프로그램을 이용해 음성채팅용 채널(방)을 생성한 후 해당 채널에 입장한 사람들끼리 음성채팅을 수행하는 방식이었다. 하지만, 이 경우 게임방에 종속되지 않고 원하는 대상과 음성채팅을 할 수 있다는 장점은 있으나, 반대로 같은 게임방에서 플레이 하는 대상과 음성채팅을 할 수 없다는 단점이 있고, 특히 게임 클라이언트와는 별도로 프로그램을 설치/실행해야할 뿐만 아니라, 채팅 대상을 변경하기 위 해서는 새로 방을 생성해야하는 번거로운 문제점이 있었다.On the other hand, the voice chat method using another conventional external program performed a voice chat by executing a voice chat dedicated program separately from the game client. In this case, after creating a voice chat channel (room) using the program, It was a way for people to enter the voice chat. However, in this case, there is an advantage in that it is possible to voice chat with a desired target without being dependent on the game room, but on the contrary, there is a disadvantage that voice chat can not be performed with a target playing in the same game room. In addition to running, there was a cumbersome problem of creating a new room to change the chat target.
본 발명은 상기와 같은 문제점을 해결하기 위한 것으로, 온라인게임 중 사용자로 하여금 게임 클라이언트 내에서 자유롭게 음성채팅 대상이나 그룹을 선택/변경할 수 있도록 해줌으로써, 현재 동일한 게임을 수행하고 있지 않은 플레이어들과도 언제나 자유롭게 음성채팅을 수행할 수 있도록 해주어 편리성을 극대화시키는 온라인게임에서의 음성채팅시스템 및 그 방법을 제공하는 것을 그 목적으로 한다.The present invention is to solve the above problems, by allowing the user to freely select / change the voice chat target or group in the game client of the online game, even with players who are not currently playing the same game The object of the present invention is to provide a voice chat system and an method thereof in an online game that maximizes convenience by allowing voice chat to be performed freely at all times.
또 다른 목적으로는 별도의 외부 프로그램 없이 게임 클라이언트 내에서 음성채팅 대상변경이 가능하기 때문에, 외부 프로그램을 설치/실행해야 하는 불편함을 해소할 뿐만 아니라, 음성채팅 대상변경을 위해 게임 클라이언트에서 빠져나와 외부 프로그램 설정을 바꿔야하는 번거로움을 없애기 위한 온라인게임에서의 음성채팅시스템 및 그 방법을 제공하는 것을 그 목적으로 한다.Another purpose is to change the voice chat target within the game client without a separate external program. This eliminates the inconvenience of having to install / execute an external program and exits the game client to change the voice chat target. The object of the present invention is to provide a voice chat system and an method thereof in an online game to eliminate the need to change external program settings.
상기와 같은 목적을 해결하고자 하는 본 발명의 온라인게임에서의 음성채팅시스템은, 사용자가 게임을 진행하면 게임 서버와의 통신을 통해 온라인게임을 처리하는 게임처리부;Voice chat system in the online game of the present invention to solve the above object, the game processing unit for processing the online game through communication with the game server when the user proceeds the game;
사용자가 게임 도중 선택/변경한 음성채팅 대상 또는 그룹정보를 저장관리하는 채팅그룹 관리부; 및Chat group management unit for storing and managing the voice chat target or group information selected / changed by the user during the game; And
사용자가 음성채팅을 위한 대상 또는 그룹을 선택/변경하면 이에 따른 음성 채팅 대상 또는 그룹정보를 상기 채팅그룹 관리부에 업그레이드시키고, 사용자가 음성채팅을 위해 음성채팅 대상 또는 그룹을 선택한 후 음성신호를 전송하면 상기 채팅그룹 관리부를 통해 그 대상 또는 그룹을 검색한 후 음성채팅을 진행시키는 음성채팅 처리부;로 이루어진 게임 클라이언트를 구비하는 것을 특징으로 한다.When the user selects / changes the target or group for voice chat, the voice chat target or group information is upgraded to the chat group manager. When the user selects the voice chat target or group for voice chat, and then transmits a voice signal. It is characterized in that it comprises a game client consisting of; voice chat processing unit for proceeding to voice chat after searching the subject or group through the chat group management unit.
한편, 상기와 같은 목적을 해결하고자 하는 본 발명의 온라인게임에서의 음성채팅방법은, 게임처리부, 채팅그룹 관리부 및 음성채팅 처리부로 이루어진 게임 클라이언트와; 게임 서버로 구성된 온라인게임 내에서의 음성채팅방법에 있어서,On the other hand, the voice chat method in the online game of the present invention to solve the above object, the game client consisting of a game processing unit, a chat group management unit and a voice chat processing unit; In the voice chat method in the online game consisting of a game server,
사용자가 게임 도중 음성채팅을 위한 대상 또는 그룹을 선택/변경하면, 상기 음성채팅 처리부가 이에 따른 음성채팅 대상 또는 그룹정보를 상기 채팅그룹 관리부에 업그레이드시키는 제 101 단계;Step 101, when the user selects / changes a target or group for voice chat during a game, the voice chat processing unit upgrades the voice chat target or group information accordingly to the chat group manager;
사용자가 음성채팅을 위해 음성채팅 대상 또는 그룹을 선택한 후 음성신호를 전송하면, 상기 음성채팅 처리부가 상기 채팅그룹 관리부를 통해 그 대상 또는 그룹을 검색하는 제 102 단계; 및Step 102, when the user selects a voice chat target or group for voice chat and transmits a voice signal, the voice chat processing unit searches for the target or group through the chat group manager; And
상기 음성채팅 처리부가 그 검색된 대상 또는 그룹 내 게이머들과의 접속을 통해 음성채팅을 진행시키는 제 103 단계;로 이루어지는 것을 특징으로 한다.And performing a voice chat through the voice chat processing unit through a connection with the searched object or gamers in the group.
본 발명에 의하면, 온라인게임 중 사용자로 하여금 게임 클라이언트 내에서 자유롭게 음성채팅 대상이나 그룹을 선택/변경할 수 있도록 해줌으로써, 현재 동일한 게임을 수행하고 있지 않은 플레이어들과도 언제나 자유롭게 음성채팅을 수행할 수 있도록 해주어 편리성을 극대화시키는 효과가 있다.According to the present invention, by allowing a user to freely select / change a voice chat target or a group within an online game, the user can freely perform voice chat with players who are not currently playing the same game. It helps to maximize convenience.
또한 본 발명에 의하면, 별도의 외부 프로그램 없이 게임 클라이언트 내에서 음성채팅 대상변경이 가능하기 때문에, 외부 프로그램을 설치/실행해야 하는 불편함을 해소할 뿐만 아니라, 음성채팅 대상변경을 위해 게임 클라이언트에서 빠져나와 외부 프로그램 설정을 바꿔야하는 번거로움을 없애는 효과가 있다.In addition, according to the present invention, since it is possible to change the voice chat target within the game client without a separate external program, not only eliminates the inconvenience of having to install / execute an external program, but also exits the game client for changing the voice chat target. This has the effect of eliminating the hassle of changing external program settings with me.
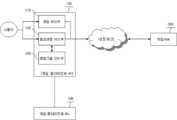
이하에서는 첨부하는 도면을 참조하여 본 발명에 의한 온라인게임에서의 음성채팅시스템의 구성을 상세히 설명하기로 한다. 도 1은 본 발명에 의한 온라인게임에서의 음성채팅시스템의 구성을 도시하는 망 구성도이다.Hereinafter, with reference to the accompanying drawings will be described in detail the configuration of the voice chat system in the online game according to the present invention. 1 is a network diagram showing the configuration of a voice chat system in an online game according to the present invention.
도 1에 도시된 바에 의하면 온라인게임에서의 음성채팅시스템은, 게임처리부(110), 채팅그룹 관리부(120), 및 음성채팅 처리부(130)로 이루어진 게임 클라이언트(100)로 구성된다.As shown in FIG. 1, the voice chat system in an online game includes a
이때, 상기 게임 클라이언트(100) 내의 게임처리부(110)는 사용자가 게임을 진행하면 게임 서버(200)와의 통신을 통해 온라인게임을 처리하는 역할을 한다.At this time, the
또한, 상기 채팅그룹 관리부(120)는 사용자가 게임 도중 선택/변경한 음성채팅 대상 또는 그룹정보를 저장관리하는 역할을 한다. 이때, 상기 채팅그룹 관리부(120)에 저장관리되는 그룹은 사용자가 음성채팅을 위해 선택한 대상이나 그룹으로서, 동일한 게임을 진행하는 그룹에 한정되지 않고, 다른 게임방, 게임지역, 던전, 파티, 메신저등록상대 및 클랜 등을 자유롭게 선택/지정할 수 있다.In addition, the
한편, 상기 음성채팅 처리부(130)는 사용자가 음성채팅을 위한 대상 또는 그룹을 선택/변경하면 이에 따른 음성채팅 대상 또는 그룹정보를 상기 채팅그룹 관리부(120)에 업그레이드시키고, 사용자가 음성채팅을 위해 음성채팅 대상 또는 그룹을 선택한 후 음성신호를 전송하면 상기 채팅그룹 관리부(120)를 통해 그 대상 또는 그룹을 검색한 후 이들과의 음성채팅을 진행시키는 역할을 한다.Meanwhile, when the user selects / changes the target or group for the voice chat, the voice
그러면, 상기와 같은 구성을 가지는 시스템을 이용한 본 발명의 일 실시예에 따른 온라인게임에서의 음성채팅방법에 대해 도 2를 참조하여 설명하기로 한다.Next, a voice chat method in an online game according to an embodiment of the present invention using the system having the above configuration will be described with reference to FIG. 2.
우선, 사용자가 게임 도중 음성채팅을 위한 대상 또는 그룹을 선택/변경하면, 상기 음성채팅 처리부(130)는 이에 따른 음성채팅 대상 또는 그룹정보를 상기 채팅그룹 관리부(120)에 업그레이드시킨다(S101). 이때, 상기 채팅그룹 관리부(120)에 저장관리되는 그룹은 사용자가 음성채팅을 위해 선택한 대상이나 그룹으로서, 동일한 게임을 진행하는 그룹에 한정되지 않고, 다른 게임방, 게임지역, 던전, 파티, 메신저등록상대 및 클랜 등을 자유롭게 선택/지정할 수 있다.First, when a user selects / changes a target or group for a voice chat during a game, the voice
한편, 사용자가 음성채팅을 위해 음성채팅 대상 또는 그룹을 선택한 후 음성 신호를 전송하면, 상기 음성채팅 처리부(130)는 상기 채팅그룹 관리부(120)를 통해 그 대상 또는 그룹을 검색한다(S102).Meanwhile, when the user selects a voice chat target or group for voice chat and transmits a voice signal, the
그런 후, 상기 음성채팅 처리부(130)는 그 검색된 대상 또는 그룹 내 게이머들과의 접속을 통해 음성채팅을 진행시킨다(S103).Thereafter, the voice
이상 다수의 실시예를 들어 본 발명을 상세하게 설명하였으나, 본 발명의 권리범위는 이러한 실시예로 국한되어 해석되지 아니하며, 본 발명은 특허청구범위에 기재된 기술사상을 벗어나지 않는 범위 내에서 다양하게 변형실시될 수 있다.Although the present invention has been described in detail with reference to a number of embodiments, the scope of the present invention is not limited to these embodiments and should not be interpreted, and the present invention may be modified in various ways without departing from the technical spirit described in the claims. Can be implemented.
도 1은 본 발명의 일 실시예에 따른 온라인게임에서의 음성채팅시스템의 구성을 나타낸 망 구성도,1 is a network diagram showing the configuration of the voice chat system in an online game according to an embodiment of the present invention,
도 2는 본 발명의 일 실시예에 따른 온라인게임에서의 음성채팅방법을 나타낸 동작 플로우챠트이다.2 is an operation flowchart showing a voice chat method in an online game according to an embodiment of the present invention.
<도면의 주요 부분에 대한 부호의 설명><Explanation of symbols for the main parts of the drawings>
100 : 게임 클라이언트100: Game Client
110 : 게임처리부120 : 채팅그룹 관리부110: game processing unit 120: chat group management unit
130 : 음성채팅 처리부130: voice chat processing unit
200 : 게임 서버200: game server
| Application Number | Priority Date | Filing Date | Title |
|---|---|---|---|
| KR1020070120068AKR20090053292A (en) | 2007-11-23 | 2007-11-23 | Voice chat system and method in online game |
| Application Number | Priority Date | Filing Date | Title |
|---|---|---|---|
| KR1020070120068AKR20090053292A (en) | 2007-11-23 | 2007-11-23 | Voice chat system and method in online game |
| Publication Number | Publication Date |
|---|---|
| KR20090053292Atrue KR20090053292A (en) | 2009-05-27 |
| Application Number | Title | Priority Date | Filing Date |
|---|---|---|---|
| KR1020070120068ACeasedKR20090053292A (en) | 2007-11-23 | 2007-11-23 | Voice chat system and method in online game |
| Country | Link |
|---|---|
| KR (1) | KR20090053292A (en) |
| Publication number | Priority date | Publication date | Assignee | Title |
|---|---|---|---|---|
| WO2013085176A1 (en)* | 2011-12-09 | 2013-06-13 | (주)네오위즈게임즈 | Method for operating game on basis of region or closeness and system for same |
| KR101647435B1 (en)* | 2015-11-09 | 2016-08-10 | 박현우 | Apparatus for supporting online game |
| KR20230108018A (en)* | 2022-01-10 | 2023-07-18 | 주식회사 엔씨소프트 | Electronic device and method for establishing channel for voice chat through user input in virtual space |
| Publication number | Priority date | Publication date | Assignee | Title |
|---|---|---|---|---|
| WO2013085176A1 (en)* | 2011-12-09 | 2013-06-13 | (주)네오위즈게임즈 | Method for operating game on basis of region or closeness and system for same |
| KR101647435B1 (en)* | 2015-11-09 | 2016-08-10 | 박현우 | Apparatus for supporting online game |
| KR20230108018A (en)* | 2022-01-10 | 2023-07-18 | 주식회사 엔씨소프트 | Electronic device and method for establishing channel for voice chat through user input in virtual space |
| Publication | Publication Date | Title |
|---|---|---|
| US10398985B2 (en) | Social matching of game players on-line | |
| US8535165B2 (en) | Setting up on-line game sessions out of a game context | |
| JP5586960B2 (en) | System and method for successfully managing a virtual world mapped to a real location in a mobile enabled multiplayer online role playing game (MMORPG) | |
| JP5280712B2 (en) | Server system | |
| KR20080021799A (en) | System and method for providing interoperability of standalone electronic games | |
| JP6009477B2 (en) | Game system and game program | |
| JP5997319B2 (en) | Server system | |
| JP2018042740A (en) | Game server system and program | |
| JP2012245054A (en) | Game server processing system | |
| JP5758438B2 (en) | Server system | |
| KR101529387B1 (en) | Apparatus and method of providing multiplayer competition action game supporting dynamic switch of player characters | |
| KR20090053292A (en) | Voice chat system and method in online game | |
| JP5546572B2 (en) | Video game processing apparatus and video game processing program | |
| KR20100067424A (en) | Method and apparatus for providing on-line rhythm game | |
| JP2015136552A (en) | Server system | |
| JP2020199376A (en) | Video game processing program and video game processing system | |
| JP2017202000A (en) | Video game processing program and video game processing system | |
| JP5945174B2 (en) | GAME SYSTEM, TERMINAL DEVICE, GAME CONTROL METHOD, AND PROGRAM | |
| JP7121896B2 (en) | Game system and game program | |
| CN112691371B (en) | Game audio output method and device, storage medium and electronic device | |
| JP6775060B2 (en) | Game system and game program | |
| JP6768112B2 (en) | Game system and game program | |
| JP6724210B2 (en) | Game system and game program | |
| JP6724209B2 (en) | Game system and game program | |
| Ducheneaut et al. | Let me get my alt: digital identiti (es) in multiplayer games |
| Date | Code | Title | Description |
|---|---|---|---|
| PA0109 | Patent application | Patent event code:PA01091R01D Comment text:Patent Application Patent event date:20071123 | |
| PG1501 | Laying open of application | ||
| A201 | Request for examination | ||
| PA0201 | Request for examination | Patent event code:PA02012R01D Patent event date:20121008 Comment text:Request for Examination of Application Patent event code:PA02011R01I Patent event date:20071123 Comment text:Patent Application | |
| E902 | Notification of reason for refusal | ||
| PE0902 | Notice of grounds for rejection | Comment text:Notification of reason for refusal Patent event date:20130927 Patent event code:PE09021S01D | |
| E601 | Decision to refuse application | ||
| PE0601 | Decision on rejection of patent | Patent event date:20131210 Comment text:Decision to Refuse Application Patent event code:PE06012S01D Patent event date:20130927 Comment text:Notification of reason for refusal Patent event code:PE06011S01I |