






본 발명은 신체 중심유지 발달 운동구에 관한 것으로, 상세하게는 받침 프레임 상측으로 발판을 형성한 구체를 결합하여, 중심점을 기준으로 기울기가 변하는 발판을 이용하여, 신체의 중심 밸런스를 잡고 수평 감각을 발달하는 운동을 할 수 있도록 한 것이다.The present invention relates to a body-centered development exercise ball, and in particular, by combining the sphere formed the scaffold above the support frame, by using a scaffold that changes the inclination relative to the center point, to balance the center of the body and develop a horizontal sense It is to be able to exercise.
종래에 사람이 신체의 중심 밸런스를 운동하기 위해서는, 탄성 볼에 신체를 의탁하여 몸의 중심을 잡거나, 탄성을 가지는 스프링 패드(퐁퐁)와 같은 시설에서 신체 중심을 잡은 운동을 하였다.Conventionally, in order for a person to exercise the center balance of the body, the body is placed on an elastic ball to hold the center of the body, or the center of the body is exercised at a facility such as an elastic spring pad (pong pong).
그러나 상기와 같은 운동구를 이용하기 위해서는 운동구가 설치되어 있는 장소에서 운동을 해야하고, 개인이 간편하게 집이나 직장 등에서 설치하지 못하므로, 운동을 하기위해서는 일정 시간을 할애하여 운동을 해야 하는 불편함이 있었다.However, in order to use the above-mentioned exercise equipment, exercise must be performed in the place where the exercise equipment is installed, and since the individual can not easily install at home or at work, there is inconvenience of having to exercise for a certain time to exercise. .
본 발명은 간편하게 사람이 중심 잡기 운동을 할 수 있도록, 원형 발판을 형성한 회전 볼과, 상기의 회전 볼이 볼 내입부와 손잡이, 브레이크가 판을 형성을 받침 프레임을 결합하여, 사용자가 발판 위에서 무게 중심의 이동에 따라 원형 발판의 기울기가 상하, 좌우, 회전하면서 변하는 원형 발판 위에서 수평 유지 및 신체 밸런스를 유지하는 운동을 하는 것으로, 첨부된 도면에 의해 상세하게 설명하면 다음과 같다.The present invention combines a rotary ball formed with a circular footrest and a frame supporting the ball inlet, handle, and brake to form a plate so that a person can easily perform a centering movement, and the user moves on the footrest. The tilt of the circular scaffold according to the movement of the center of gravity is to exercise the horizontal maintenance and body balance on the circular scaffold that changes while rotating, described in detail by the accompanying drawings as follows.
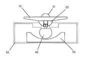
브레이크 누름판 내입부가 형성되고, 밑면으로 결합 요부를 형성한 원형 발판과, 상기의 원형 발판의 결합 요부에 결합하는 결합 돌부가 형성되고, 브레이크 봉 내입부를 형성한 회전 볼과, 상기의 브레이크 누름판 내입부와 브레이크 봉 내입부에 결합하도록, 브레이크 누름판 하측으로 스프링과 나사부가 형성한 토클 스위치 봉을 결합한 브레이크와, 상기의 회전 볼 하측으로 토클 스위치 봉의 나사부와 결합하는 나사부 내입부와 고무 패드를 형성한 구형 중심추와, 상기의 회전 볼이 내입되는 볼 내입부와 구형 중심추가 접하는 고무 패드를 형성한 브레이크 판과 손잡이 결합부를 형성한 프레임과, 상기의 손잡이 결합부에 결합하는 탈, 부착용 손잡이로 구성한 것이다.The brake press plate inner part is formed, the round scaffold which formed the engaging recess at the bottom surface, the engaging protrusion which engages with the engaging recess of the said circular scaffold is formed, the rotating ball which formed the brake rod inner part, and said brake press plate inner part And a brake having a spring and a threaded toggle switch rod formed under the brake press plate to engage the brake rod inner portion, and a threaded inlet portion and a rubber pad formed at the lower side of the rotating ball engaging the threaded portion of the toggle switch rod. It consists of a frame formed with a brake plate and a handle engaging portion formed with a center weight, a rubber pad contacting the ball inlet portion and a spherical center portion into which the rotating ball is inserted, and a detachable handle attached to the handle engaging portion. .
상기에서 상세하게 설명한 바와 같이, 상하, 좌우, 회전 방향으로 기울기에 변화를 갖는 원형 발판(10)을 형성한 구체로 구성한 운동구(70)의 사용은, 사용자가 편리하게 가정이나 사무실 등에서 운동구를 이용하여 신체의 중심을 잡는 운동을 할 수 있는 효과가 있는 것이다.As described in detail above, the use of the
브레이크 누름판 내입부(11)가 형성되고, 밑면으로 결합 요부(12)를 형성한 원형 발판(10)과, 상기의 원형 발판(10)의 결합 요부(12)에 결합하는 결합 돌부(21)가 형성되고, 브레이크 봉 내입부(22)를 형성한 회전 볼(20)과, 상기의 브레이크 누름판 내입부(11)와 브레이크 봉 내입부(22)에 결합하도록, 브레이크 누름판(31) 하측으로 스프링(32)과 나사부(33)가 형성한 토클 스위치 봉(34)을 결합한 브레이크(30)와, 상기의 회전 볼(20) 하측으로 토클 스위치 봉(34)의 나사부(33)와 결합하는 나사부 내입부(41)와 고무 패드(42)를 형성한 구형 중심추(40)와, 상기의 회전 볼(20)이 내입되는 볼 내입부(51)와 구형 중심추(40)가 접하는 고무 패드(52)를 형성한 브레이크 판(53)과 손잡이 결합부(54)를 형성한 프레임(50)과, 상기의 손잡이 결합부(54)에 결합하는 탈, 부착용 손잡이(60)로 구성된 것이다.The brake press
본 발명의 구성을 좀더 상세하게 살펴보면, 원형 발판(10)의 결합 요부(12)와 회전 볼(20)의 결합 돌부(21)를 이용하여, 원형 발판(10)을 회전 볼(20)에 결합 하고, 브레이크 누름판(31)을 결합한 토글 스위치 봉(34)을, 브레이크 봉 내입부(22)에 결합하여, 브레이크 누름판(31)을 원형 발판(10)의 브레이크 누름판 내입부(11)에 결합하는 것이다.Looking at the configuration of the present invention in more detail, by using the
상기와 같이 결합하는 토글 스위치 봉(34)의 나사부(33)와 중심추(40)의 나사부 내입부(41)를 이용하여 토글 스위치 봉(34)과 중심추(40)를 결합하고, 회전 볼(20)을 프레임(50)의 볼 내입부(51)에 올려놓는 것이다.Coupling the
상기와 같이 올려진 회전 볼(20)은 볼 내입부(51)의 경사를 따라 상하, 좌우, 회전할 수 있는 것이며, 회전 볼(20) 하측의 중심추(40)에 의해서 항상, 회전 볼(20)은 수평을 유지하려는 형태로 구성한 것이다.The
이와 같은 운동구(70)의 사용은 다음과 같다.The use of such a
사용자가 손잡이(60)를 이용하여 중심을 잡은 상태에서, 양발을 원형 발판(10)에 올려놓으면, 양발 중에서 어느 한곳에 발에 차등하게 가해지는 무게 중심을 따라 회전 볼(20)이 볼 내입부(51)에서 각도가 변하여 원형 발판(10)이 기울어져 지는 것이다.If the user puts the feet on the
상기와 같이 원형 발판(10)이 기울어지면 사용자는 양발을 움직이거나 신체를 움직여 원형 발판(10)과 프레임(50)이 수평이 될 수 있도록 행동을 하여, 신체의 중심을 잡는 운동을 하는 것이다.When the
상기와 같은 원형 발판(10)의 동작은, 사용자가 원형 발판(10)에 가해지는 하중에 따라, 원형 발판(10)이 좌우, 상하, 회전 운동을 하므로, 사용자가 필요로 하는 운동을 할 수 있는 것이다.The operation of the
본 발명에서 원형 발판(10)의 브레이크 누름판 내입부(11) 형성한 브레이크(30)는, 사용자가 브레이크 누름판(31)을 누르게 되면, 스프링(32)과 토글 스위치 봉(34)의 일반적인 동작으로, 토글 스위치 봉(34)에 결합한 중심추(40)가 내려가면서, 중심추(40)의 고무 패드(42)와 브레이크 판(53)의 고무 패드(52)가 접하여, 회전 볼(20)이 움직이지 않는 것이다.In the present invention, the
상기의 동작에서 브레이크 누름판(31)을 재차 밟아 주면 토글 스위치 봉(34)이 회복되어 중심추(40)와 브레이크 판(53)이 떨어지면서 회전 볼(20)이 움직이는 것이다.In the above operation, when the
본 발명에서 원형 발판(10)은 사용자의 신체 조건에 따라 넓이가 넓거나 좁은 형태의 발판을 선택하여 사용할 수 있는 것이다.In the present invention, the
도 1은 본 발명의 구성을 설명한 분리 사시도1 is an exploded perspective view illustrating the configuration of the present invention
도 2는 본 발명의 구성을 설명한 사시도2 is a perspective view illustrating a configuration of the present invention
도 3은 본 발명의 구성을 설명한 단면도3 is a cross-sectional view illustrating the configuration of the present invention.
도 4는 본 발명에서 브레이크의 사용을 설명한 단면도로서4 is a cross-sectional view illustrating the use of the brake in the present invention.
a는 브레이크가 동작하지 않은 상태a is the brake not working
b는 브레이크가 동작한 상태b is brake applied
도 5는 본 발명에서 회전 볼과 발판의 작동상태를 설명한 측면도로서Figure 5 is a side view illustrating the operating state of the rotating ball and the footrest in the present invention
a는 발판이 수평인 상태a indicates that the footrest is horizontal
b는 발판이 경사진 상태b is a state where the footstool is inclined
도면의 주요부분에 대한 부호의 설명Explanation of symbols for main parts of the drawings
10. 원형 발판 11. 브레이크 누름판 내입부10. Circular footrest 11.Brake pressure plate inner part
12. 결합 요부12. Combined main parts
20. 회전 볼 21. 결합 돌부20.
22. 브레이크 봉 내입부22. Inner part of brake rod
30. 브레이크 31. 브레이크 누름판30. Brake 31. Brake press plate
32. 스프링 33. 나사부32.Spring 33.Thread
34. 토글 스위치 봉34. Toggle Switch Rods
40. 중심추 41. 나사부 내입부40.
42. 고무 패드42. Rubber pad
50. 프레임 51. 볼 내입부50.Frame 51.Ball inside
52. 고무 패드 53. 브레이크 판52. Rubber Pad 53. Brake Plate
54. 손잡이 결합부54. Handle joint
60. 손잡이60. Handle
70. 운동구70. Athletic Equipment
| Application Number | Priority Date | Filing Date | Title |
|---|---|---|---|
| KR1020070066836AKR20090003822A (en) | 2007-07-04 | 2007-07-04 | Body maintenance development exercise |
| Application Number | Priority Date | Filing Date | Title |
|---|---|---|---|
| KR1020070066836AKR20090003822A (en) | 2007-07-04 | 2007-07-04 | Body maintenance development exercise |
| Publication Number | Publication Date |
|---|---|
| KR20090003822Atrue KR20090003822A (en) | 2009-01-12 |
| Application Number | Title | Priority Date | Filing Date |
|---|---|---|---|
| KR1020070066836AWithdrawnKR20090003822A (en) | 2007-07-04 | 2007-07-04 | Body maintenance development exercise |
| Country | Link |
|---|---|
| KR (1) | KR20090003822A (en) |
| Publication number | Priority date | Publication date | Assignee | Title |
|---|---|---|---|---|
| CN103990253A (en)* | 2013-02-18 | 2014-08-20 | 艾谱森股份有限公司 | Rehabilitation device |
| WO2016036396A1 (en)* | 2014-09-05 | 2016-03-10 | Apple Inc. | Pivoting electrical switch |
| US9330864B2 (en) | 2014-09-05 | 2016-05-03 | Apple Inc. | Pivoting electrical switch |
| KR20220121927A (en) | 2021-02-24 | 2022-09-02 | 한국표준과학연구원 | Body balance and movement measurement system |
| KR20240128165A (en) | 2023-02-16 | 2024-08-26 | 한국표준과학연구원 | Exercise estimating device and its estimation method |
| KR20250071968A (en) | 2023-11-15 | 2025-05-23 | 한국표준과학연구원 | Body balance measuring device |
| Publication number | Priority date | Publication date | Assignee | Title |
|---|---|---|---|---|
| CN103990253A (en)* | 2013-02-18 | 2014-08-20 | 艾谱森股份有限公司 | Rehabilitation device |
| WO2016036396A1 (en)* | 2014-09-05 | 2016-03-10 | Apple Inc. | Pivoting electrical switch |
| US9330864B2 (en) | 2014-09-05 | 2016-05-03 | Apple Inc. | Pivoting electrical switch |
| KR20220121927A (en) | 2021-02-24 | 2022-09-02 | 한국표준과학연구원 | Body balance and movement measurement system |
| KR20240128165A (en) | 2023-02-16 | 2024-08-26 | 한국표준과학연구원 | Exercise estimating device and its estimation method |
| KR20250071968A (en) | 2023-11-15 | 2025-05-23 | 한국표준과학연구원 | Body balance measuring device |
| Publication | Publication Date | Title |
|---|---|---|
| US2714007A (en) | Exercising device | |
| KR20090003822A (en) | Body maintenance development exercise | |
| US9199117B1 (en) | Omnidirectional exercise platform | |
| US20130116100A1 (en) | Balancing exerciser | |
| US20040225375A1 (en) | Prosthetic foot having a universal joint in an ankle member | |
| CN108939434B (en) | leg exercising equipment for teenager break in class | |
| WO2019033035A2 (en) | A device for movement and resistance training of the lower extremities | |
| CN213491795U (en) | Rehabilitation device for physical exercise | |
| CN213884899U (en) | Multifunctional prostrate supporting plate | |
| CN213100639U (en) | Sports training device | |
| CN210612794U (en) | A track and field-based physical training device | |
| CN201453950U (en) | Novel exerciser | |
| CN215096798U (en) | Novel universal caster | |
| CN216023061U (en) | Novel basket with all-round elasticity buffer structure | |
| KR20090022550A (en) | Supporting Angle Mount for Chair with Spring Loaded Swivel | |
| KR102402869B1 (en) | Exercise equipment with stick rod fastening structure | |
| CN113877169A (en) | Novel basket with all-round elasticity buffer structure | |
| CN213432767U (en) | Environment-friendly interesting physical therapy fitness bosu ball | |
| CN113320333A (en) | Novel universal caster | |
| CN217365108U (en) | Leisure bar chair with adjustable pedal height | |
| KR200426508Y1 (en) | Fixed hula hoop for back and butt exercise | |
| JP6265510B2 (en) | Training equipment | |
| CN223392809U (en) | Multifunctional body-building device | |
| CN213852941U (en) | Brain tonic device | |
| CN216456762U (en) | An orthopedic ankle fitness device |
| Date | Code | Title | Description |
|---|---|---|---|
| PA0109 | Patent application | Patent event code:PA01091R01D Comment text:Patent Application Patent event date:20070704 | |
| PG1501 | Laying open of application | ||
| PC1203 | Withdrawal of no request for examination | ||
| WITN | Application deemed withdrawn, e.g. because no request for examination was filed or no examination fee was paid |