
















본 발명은, 액체를 거쳐서 기판을 노광하는 노광 장치에 관한 것이다.The present invention relates to an exposure apparatus for exposing a substrate through a liquid.
레티클에 형성된 회로 패턴 및 투영 광학계를 거쳐서 척에 의해 홀드된 기판을 노광하는 투영 노광 장치가 사용되고 있다. 최근에는, 고해상도와 동시에, 전사 정밀도 및 스루풋이 우수한 노광 장치가 점점 요구되고 있다. 고해상도의 요구에 응하기 위한 일 수단으로서 액침노광이 주목받고 있다. 액침노광은, 투영 광학계와 척에 의해 홀드된 기판과의 사이의 매질을 액체로 함으로써 투영 광학계의 개구수(NA)의 증가를 꾀하는 것이다. 투영 광학계의 NA는, 상기 매질의 굴절률을 n이라고 하면, NA=n×sinθ로 나타낸다. 따라서, 상기 매질을 공기의 굴절률보다도 높은 굴절률, 즉 n>1의 매질로 함으로써, 매질이 공기의 경우에 대하여 NA를 n배까지 크게 할 수 있다. 그 때문에, 프로세스 정수 k1과 광원의 파장λ에 의해 나타내는 노광 장치의 해상도 R=k1×(λ/NA)을 개선할 수 있다.Projection exposure apparatuses for exposing a substrate held by a chuck via a circuit pattern formed on a reticle and a projection optical system have been used. In recent years, there is an increasing demand for an exposure apparatus that has high resolution and excellent transfer accuracy and throughput. Immersion exposure has attracted attention as one means for meeting the demand for high resolution. Immersion exposure is intended to increase the numerical aperture (NA) of the projection optical system by making the medium between the projection optical system and the substrate held by the chuck a liquid. The NA of the projection optical system is represented by NA = n x sin when the refractive index of the medium is n. Therefore, by making the medium a refractive index higher than the refractive index of air, that is, a medium of n> 1, Na can be made up to n times larger than the case where the medium is air. Therefore, the resolution R = k1 × (λ / NA) of the exposure apparatus indicated by the process constant k1 and the wavelength λ of the light source can be improved.
액침노광에 있어서는, 투영 광학계의 최종면과 기판과의 사이에 액체를 국소 적으로 충전하는 로컬 필(local-fill) 방식이 국제공개 제99/49504호 팜플렛, 일본국 공개특허공보 특개 2005-150734호,및 일본국 공개특허공보 특개 2006-186112호에 제안되어 있다.In immersion exposure, a local fill method for locally filling a liquid between a final surface of a projection optical system and a substrate is disclosed in International Publication No. 99/49504 pamphlet, Japanese Patent Laid-Open No. 2005-150734 And Japanese Unexamined Patent Application Publication No. 2006-186112.
로컬 필 방식에 있어서는, 투영 광학계의 최종면과 기판과의 좁은 틈에 액체를 균일하게 공급하여 회수함으로써 상기 틈의 액량을 유지하는 것이 필요하다. 예를 들면, 기판 스테이지의 척을 둘러싸는 천판 및 상기 척에 의해 홀드된 기판 위에 부분적으로 액체가 남으면, 기화열에 의해 천판을 변형시키고, 레티클에 형성된 패턴의 전사 정밀도를 악화시킬 수 있다. 또한, 기판 스테이지를 고속으로 이동시키면, 액체막 주위의 액체 비산량 또는 액체막 주위에 부분적으로 남은 액체량이 증가할 수 있다.In the local fill method, it is necessary to maintain the liquid amount of the gap by uniformly supplying and recovering the liquid in a narrow gap between the final surface of the projection optical system and the substrate. For example, if liquid remains partially on the top plate surrounding the chuck of the substrate stage and the substrate held by the chuck, the top plate may be deformed by the heat of vaporization, and the transfer accuracy of the pattern formed on the reticle may be deteriorated. Also, by moving the substrate stage at high speed, the amount of liquid scattering around the liquid film or the amount of liquid partially remaining around the liquid film may increase.
또한, 예를 들면, 천판 또는 기판 위에 부분적으로 남은 액체가, 투영 광학계의 최종면과 기판과의 틈에 충전된 액체와 혼합될 수 있다. 이 경우, 그 틈에 충전된 액체중에 기포가 혼입될 수 있다. 그 액체에 혼입된 기포는, 노광 빛을 난반사하므로, 노광량의 감소로 인해 스루풋을 저하시킬 수 있고, 노광 빛이 기판에 도달하는 것을 방해해서 전사 정밀도를 악화시킬 수 있다.Also, for example, the liquid partially remaining on the top plate or the substrate may be mixed with the liquid filled in the gap between the final surface of the projection optical system and the substrate. In this case, bubbles may be mixed in the liquid filled in the gap. Since the bubble mixed with the liquid diffusely reflects the exposure light, the throughput can be reduced due to the decrease in the exposure amount, and the exposure light can be prevented from reaching the substrate, thereby degrading the transfer accuracy.
이러한 문제를 해결하기 위해서, 기판 또는 상기 기판을 홀드하기 위한 기판 테이블의 액체(액침액)에 대한 접촉각을 90°보다 크게 함에 의하고, 기포형성 및 액누설에 대처하는 방식이 일본국 공개특허공보 특개2005-150734호에 제안되어 있다.In order to solve this problem, the contact angle with respect to the liquid (immersion liquid) of the substrate or the substrate table for holding the substrate is made larger than 90 °, and a method of coping with bubble formation and liquid leakage is disclosed in Japanese Laid-Open Patent Publication. Suggested in 2005-150734.
또한, 천판 위에 부분적으로 남은 액체가 천판상의 불순물과 함께 기판 위에 이동할 때, 전사 정밀도는 악화될 수 있다.In addition, when the liquid partially remaining on the top plate moves on the substrate together with impurities on the top plate, the transfer accuracy may deteriorate.
이러한 문제를 해결하기 위해서, 액체가 기판 상에 이동하는 것을 억제하는 방식이 일본국 공개특허공보 특개2006-186112호에 제안되어 있다. 이 방식에서, 기판 지지체의 표면을, 기판 지지체와 액체와의 접촉각이 기판의 가장자리부측으로부터 그 외측을 향하도록 연속적 또는 단속적으로 감소되도록 설정된다. 또한, 이 방식에서는, 상술한 것과 같은 상기 표면 설정의 영역의 외측에 액체 회수 기구가 설치된다.In order to solve such a problem, the method of suppressing the movement of a liquid on a board | substrate is proposed by Unexamined-Japanese-Patent No. 2006-186112. In this manner, the surface of the substrate support is set so that the contact angle between the substrate support and the liquid is continuously or intermittently reduced such that the angle of contact of the substrate support toward the outside from the edge side of the substrate. Moreover, in this system, a liquid recovery mechanism is provided outside the area of the surface setting as described above.
일본국 공개특허공보 특개 2005-150734호에 기재된 노광 장치로는, 기판 및 상기 기판을 홀드하기 위한 기판 테이블의 액침액에 대한 접촉각을 90°보다 크게 함으로써, 액체를 남기지 않는다. 그러나, 도 8b에 나타나 있는 바와 같이 기판 테이블을 고속으로, 장거리 이동시켰을 때에 액막이 분리되고, 액 나머지가 발생한다. 발액성이 높은 면 위에 남은 액체는 이동하기 쉽고, 기판 테이블을 고속으로 이동시키는 동안 비산한다.In the exposure apparatus described in Japanese Patent Laid-Open No. 2005-150734, liquid is not left by making the contact angle of the substrate and the immersion liquid of the substrate table for holding the substrate larger than 90 degrees. However, as shown in FIG. 8B, when the substrate table is moved at a high speed for a long distance, the liquid film is separated, and the remaining liquid is generated. The liquid remaining on the high liquid-repellent side is easy to move and scatters while moving the substrate table at high speed.
도 8a에는 투영 광학계의 경통을 -Z방향에서 본 개략도를, 도 8b에는 경통의 단면도를 나타낸다. 노광하는 동안, 액체(액침액)를, 액체 공급구(101')를 통해 공급하고, 액체 회수구(103')를 통해 회수하고, 경통(32') 아래에 충전한다. 그러나, 기판 스테이지의 고속이동에 따라, 도 8b에 나타나 있는 바와 같이 액체를 분할하고, 액체가 천판(44') 위에 남아버린다. 이 천판 위에 남은 액체가, 기판 스테이지의 고속이동에 따라, 다시 경통 아래로 충전된 액체에 혼합하면, 이 혼합시에 기포가 발생하고, 경통 아래에 기포가 진입될 수 있다.8A is a schematic view of the barrel of the projection optical system seen in the -Z direction, and FIG. 8B is a cross-sectional view of the barrel. During exposure, a liquid (immersion liquid) is supplied through the liquid supply port 101 ', recovered through the liquid recovery port 103', and filled under the barrel 32 '. However, as the substrate stage moves at high speed, the liquid is divided as shown in Fig. 8B, and the liquid remains on the top plate 44 '. When the liquid remaining on the top plate is mixed with the liquid filled down the barrel again according to the high-speed movement of the substrate stage, bubbles are generated during this mixing, and bubbles may enter under the barrel.
또한, 일본국 공개특허공보 특개 2006-186112호에 기재된 노광 장치로는, 기판 지지체의 표면을, 기판 지지체와 액체와의 접촉각이 기판의 가장자리부측으로부터 그 외측을 향하도록 연속적 또는 단속적으로 감소되도록 설정함에 의해, 액체가 기판 상에 이동하는 것을 억제한다. 그러나, 액체 회수 기구가 상기 표면 설정의 영역의 외측에 설치되어 있고, 그 영역 위에 부분적으로 남은 액체는 배출되기 어렵다. 특히, 전사 정밀도를 악화시키는 영향이 큰, 노광 영역에 가까운 영역에 부분적으로 남은 액체를 효율적으로 배출하는 것은 어렵다.Moreover, with the exposure apparatus of Unexamined-Japanese-Patent No. 2006-186112, the surface of a board | substrate support body is set so that the contact angle of a board | substrate support body and a liquid may reduce continuously or intermittently so that it may face to the outer side from the edge side of a board | substrate. This suppresses the movement of the liquid on the substrate. However, the liquid recovery mechanism is provided outside of the surface setting area, and the liquid partially remaining on the area is hard to be discharged. In particular, it is difficult to efficiently discharge the liquid partially remaining in the area close to the exposure area, which has a large effect of deteriorating the transfer accuracy.
본 발명의 일 국면은, 전사 정밀도 및 스루풋이 우수한 노광 장치를 제공하는 것을 목적으로 한다.One aspect of the present invention is to provide an exposure apparatus excellent in transfer accuracy and throughput.
본 발명의 일 국면에 의하면, 액체를 거쳐서 기판을 노광하는 노광 장치는, 원판의 패턴을 상기 기판 위에 투영하는 투영 광학계와, 상기 기판을 홀드하고 이동하는 기판 스테이지를 구비한다. 상기 기판 스테이지는, 상기 기판을 홀드하는 척과, 상기 척에 의해 홀드된 상기 기판을 둘러싸는 천판과, 상기 천판 상의 액체를 배출하는 배액기구를 구비한다. 상기 천판의 표면은 제1영역과 제2영역을 포함한다. 상기 제1영역의 적어도 일부는 상기 척에 의해 홀드된 상기 기판과 상기 제2영역의 사이에 형성된다. 상기 제1영역에 대한 상기 액체의 접촉각은 상기 제2영역에 대한 상기 액체의 접촉각보다 작다. 상기 배액기구는 상기 제1영역 상에 배치된 상기 액체를 배출한다.According to one aspect of the present invention, an exposure apparatus for exposing a substrate through a liquid includes a projection optical system for projecting a pattern of the original onto the substrate, and a substrate stage for holding and moving the substrate. The substrate stage includes a chuck for holding the substrate, a top plate surrounding the substrate held by the chuck, and a drainage mechanism for discharging the liquid on the top plate. The surface of the top plate includes a first region and a second region. At least a portion of the first region is formed between the substrate and the second region held by the chuck. The contact angle of the liquid with respect to the first region is smaller than the contact angle of the liquid with respect to the second region. The drain mechanism discharges the liquid disposed on the first region.
본 발명의 또 다른 특징 및 국면은, 이하, 첨부도면들을 참조해서 예시적 실시예들의 아래의 설명으로부터 명백해질 것이다.Still other features and aspects of the present invention will become apparent from the following description of exemplary embodiments with reference to the accompanying drawings.
이하, 도면들을 참조하여, 본 발명의 예시적 실시예들에 따른 본 발명의 다양한 노광 장치, 특징 및 국면을 설명한다. 또한, 도면들에 있어서, 동일 또는 유사한 부재에 대해서는 동일한 참조번호 및 기호를 사용하고, 그 설명은 생략한다.DETAILED DESCRIPTION Hereinafter, various exposure apparatuses, features and aspects of the present invention will be described with reference to the drawings. In addition, in the drawings, the same reference numerals and symbols are used for the same or similar members, and the description thereof is omitted.
제 1의 예시적 실시예First exemplary embodiment
[노광 장치][Exposure device]
도 1은, 제 1의 예시적 실시예의 노광 장치(1)의 예시의 단면도다. 노광 장치(1)는, 레티클(20)에 형성된 회로 패턴과, 투영 광학계(30)와, 투영 광학계(30)와 척(42)에 의해 홀드된 기판(40) 사이의 공간에 공급되는 액체LW를 거쳐서, 스텝 앤드 스캔 방식으로 상기 기판(40)을 노광하는 액침형의 투영 노광 장치다. 노광 장치(1)는, 스텝 앤드 리피트 방식을 이용할 수 있다.1 is a cross-sectional view of an example of the
노광 장치(1)는, 도 1에 나타나 있는 바와 같이, 조명 장치(10)와, 레티클(20)을 홀드하고 이동하는 레티클 스테이지(25)와, 투영 광학계(30)와, 기판(40)을 홀드하고 이동하는 기판(웨이퍼)스테이지(45)를 가진다. 노광 장치(10)는, 기판 스테이지(45)를 지지하는 정반(47)과, 측거 장치(50)와, 스테이지 제어부(60)와, 그 밖의 부재를 더 구비한다. 그 밖의 부재는, 예를 들면, 액체공급부(70)와, 액침 제어부(80)와, 액체회수부(90)와, 노즐 부재(100)를 포함한다.As shown in FIG. 1, the
조명 장치(10)는, 기판에 전사되는 회로 패턴이 형성된 레티클(20)을 조명한다. 이 조명 장치(10)는, 광원부(12)와, 조명 광학계(14)를 가진다.The
광원부(12)는, 본 예시적 실시예에서는 광원으로서, 파장 약 193nm의 ArF엑시머레이저를 사용한다. 그러나, 광원은, ArF엑시머레이저에 한정되지 않고, 예를 들면 파장 약 248nm의 KrF엑시머레이저나 파장 약 157nm의 F2레이저를 사용해도 좋고, 수은램프나 크세논 램프 등의 램프를 사용해도 좋다.The
조명 광학계(14)는, 광원부(12)로부터 방출된 광으로 레티클(20)을 조명한다.The illumination
레티클(20)은, (도면에 나타나 있지 않은) 레티클 반송계에 의해 노광 장치(1)의 외부에서 반송되어, 레티클 스테이지(25)에 의해 홀드 및 이동된다. 레티클(20)은, 예를 들면, 석영제로 이루어지고, 그 위에는 패턴이 형성되어 있다. 상기 패턴 상(image)은, 투영 광학계(30)에 의해, 척(42)에 의해 홀드된 기판(40) 위에 투영된다. 레티클(20)과 기판(40)은, 서로 광학적으로 공역의 관계로 되도록 배치된다. 노광 장치(1)가, 스텝 앤드 스캔 방식의 노광 장치이므로, 레티클(20)과 기판(40)을 투영 광학계(30)의 축소 배율비와 같은 속도비로 주사 함에 의해, 레티클(20)의 패턴을 기판(40) 위에 전사한다. 또한, 스텝 앤드 리피트 방식의 노광 장치의 경우에는, 레티클(20)과 기판(40)을 정지시킨 상태에서 노광이 행해진다.The
레티클 스테이지(25)는, 정반(27)에 의해 지지되어 있다. 레티클 스테이 지(25)는, (도면에 나타나 있지 않은) 레티클 척을 거쳐서 레티클(20)을 홀드하고, 레티클 스테이지(25)의 위치는, (도면에 나타나 있지 않은) 이동 기구 및 스테이지 제어부(60)에 의해 제어된다. 상기 이동 기구는, 선형 모터를 포함하고, 주사 방향(본 예시적 실시예에서는 X축방향)으로 레티클 스테이지(25)를 구동할 수 있다.The
투영 광학계(30)는, 레티클(20)의 패턴 상을 기판(40) 위에 결상한다. 투영 광학계(30)는, 굴절계 또는 반사 굴절계일 수 있다. 투영 광학계(30)는, 액체LW와 접촉하는 렌즈(최종 렌즈)를 포함한다. 상기 최종 렌즈는, 액체LW와 접촉하는 평면을 가지는 평볼록 렌즈일 수 있다. 투영 광학계(30)는, 동축 광학계이고, 광축 OA를 갖는다.The projection
기판(40)은, (도면에 나타나 있지 않은) 기판 반송계에 의해 노광 장치(1)의 외부에서 반송되어, 기판 스테이지(45)에 의해 홀드되어 이동된다. 기판(40)은, 피노광체이며, 반도체기판, 유리 기판 또는 그 밖의 기판일 수 있다. 기판(40)에는, 포토레지스트가 도포되어 있다.The board |
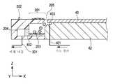
천판(44)(액체 지지판)은 척(42)에 의해 홀드된 기판(40)을 둘러싸고, 그 표면은 기판(40)의 표면이 거의 동일한 면내에 있다. 천판(44)은, 액체LW를 지지하는데 사용된다. 천판(44)은, 기판(40)의 표면과 거의 같은 높이의 표면을 가지므로, 기판(40)의 외측의 영역에 액체LW를 형성할 수 있다. 그래서, 기판(40)의 외주 부근의 숏 영역을 노광할 때에, 투영 광학계(30) 아래에 안정한 액막을 보유할 수 있다.The top plate 44 (liquid support plate) surrounds the
기판 스테이지(45)는, 척(42), 천판(44) 및 이동체(46)를 구비한다. 기판 스 테이지(45)는, 정반(47)에 의해 지지되고, 척(42)을 통해 기판(40)을 홀드한다. 기판 스테이지(45)는, 기판(40)을 X, Y 및 Z축 방향으로 병진시키고, 이들 축을 중심으로 회전시킨다. 노광시에, 기판 스테이지(45)는, 투영 광학계(30)의 초점면 (상면)에 기판(40)의 표면이 항상 고정밀도로 일치하도록, 스테이지 제어부(60)에 의해 제어된다.The
측거 장치(50)는, 레티클 스테이지(25)의 위치 및 기판 스테이지(45)의 2차원 위치를, 참조 미러(52 및 54) 및 레이저 간섭계(56 및 58)를 통해 실시간으로 측량한다. 측거 장치(50)에 의한 측거 결과는, 스테이지 제어부(60)에 전달된다. 스테이지 제어부(60)는, 이러한 측거 결과에 의거하여 위치 결정과 동기제어를 위해, 레티클 스테이지(25) 및 기판 스테이지(45)의 이동을 제어한다.The ranging
액체의 공급 및 회수에 대해서, 도 1 및 도 2a를 참조하여 설명한다. 도 1에 도시된 액체공급부(70)는, 도 2a에 나타낸 투영 광학계(30)의 최종광학부재(32)와 천판(44) 또는 기판(40)과의 사이에 형성된 공간 또는 틈에 액체LW를 공급한다. 도 1의 액체공급부(70)는, 본 예시적 실시예에서는 (도면에 나타나 있지 않은) 액체 정제 장치와, 탈기 장치와, 액체온도제어장치와, 액체공급 배관(72)을 가진다. 액체공급부(70)는, 투영 광학계(30)의 최종면의 주위에 형성된 도 2a에 나타내는 액체공급구(101)를 통해 액체LW를 공급하고, 투영 광학계(30)와 기판(40)과의 사이의 공간에 액체LW의 액막을 형성한다. 또한, 투영 광학계(30)와 기판(40)과의 사이의 거리는, 액체LW의 액막을 안정하게 형성 및 제거할 수 있는 정도인 것이 바람직하고, 예를 들면 1.0mm일 수 있다.The supply and recovery of the liquid will be described with reference to FIGS. 1 and 2A. The
액체공급부(70)는, 예를 들면 액체LW를 저장하는 탱크, 액체LW를 보내는 압송장치, 액체LW의 공급 유량을 조정하는 유량조정장치를 포함한다.The
액체LW는, 작은 양의 노광 빛을 흡수하는 것들 중에서 선택될 수 있다. 또한, 액체LW는, 투영 광학계(30)를 구성하는 석영이나 형석 등의 굴절광학소자와 같은 정도의 굴절률을 가질 수 있다. 액체정제 장치는, (도면에 나타나 있지 않은) 액체공급원으로부터 공급되는 원료액중에 포함되는 금속이온, 미립자 및 유기물 등의 불순물을 저감하여, 액체LW를 정제한다. 액체정제 장치에 의해 정제된 액체LW는, 탈기 장치에 공급된다.The liquid LV may be selected from those which absorb a small amount of exposure light. The liquid LB may have a refractive index equivalent to that of refractive optical elements such as quartz and fluorite, which constitute the projection
탈기 장치는, 액체LW에 탈기 처리를 실시하고, 액체LW중의 용존산소 및 용존질소를 저감한다. 탈기 장치는, 예를 들면, 막 모듈과 진공 펌프로 이루어진다. 탈기 장치는, 액체 LW를 공급하는 제1영역과, 진공이 생성되는 제2영역과, 액체 LW중의 용존가스가 본 막을 통해 진공중에 방출되도록 제1영역과 제2영역 사이에 삽입된 가스 투과성 막을 갖는 장치일 수 있다.The degassing apparatus performs degassing process on liquid L, and reduces dissolved oxygen and dissolved nitrogen in liquid L. The degassing apparatus consists of a membrane module and a vacuum pump, for example. The degassing apparatus comprises a first region for supplying the liquid LW, a second region for generating a vacuum, and a gas permeable membrane inserted between the first region and the second region so that the dissolved gas in the liquid LW is released into the vacuum through the membrane. It may be a device having.
온도제어장치는, 액체LW를 목표온도로 유지하도록 액체 LW의 온도를 제어한다.The temperature control device controls the temperature of the liquid LW to maintain the liquid L at the target temperature.
액체공급 배관(72)은, 탈기 처리 및 온도제어된 액체LW를, 노즐부재(100)에 형성된 액체공급구(101)를 통하여, 투영 광학계(30)와 척(42)에 의해 홀드된 기판(40)과의 사이의 공간에 공급한다. 즉, 액체공급 배관(72)은, 액체공급구(101)에 접속되어 있다. 노즐부재(100)는, 투영 광학계(30)의 최종광학부재(32)와 직접 접촉하지 않도록 지지되어 있다.The
액침제어부(80)는, 기판 스테이지(45)의 현재 위치, 속도, 가속도, 목표위치 및 이동 방향의 정보를 스테이지 제어부(60)로부터 취득하고, 이러한 정보에 의거하여 액침노광처리(액체의 공급 및 회수)를 제어한다. 액침제어부(80)는, 액체LW의 공급 및 회수의 시작 및 정지, 및 공급 및 회수하는 액체LW의 유량등의 제어 지령을, 액체공급부(70)와 액체회수부(90)에 준다.The liquid
액체회수부(90)는, 액체공급부(70)에 의해 공급된 액체LW를 회수한다. 본 예시적 실시예에서, 액체회수부(90)는, 액체회수 배관(92)을 가진다. 액체회수부(90)는, 예를 들면 회수한 액체LW를 일시적으로 모으는 탱크, 액체LW를 흡인하는 흡인부, 액체LW의 회수 유량을 조정하기 위한 유량조정 장치 등을 더 구비한다. 액체회수 배관(92)은, 노즐부재(100)에 형성된 액체회수구(103)에 접속되어 있다.The
액체LW는, 예를 들면, 순수, 기능 수, 불소계 액(예를 들면, 탄화불소)일 수 있다. 또한 액체LW는, 미리, (도면에 나타나 있지 않은) 탈기 장치를 사용해서 용존가스가 충분하게 제거된 액체일 수 있다. 이에 따라, 액체LW중의 기포의 발생이 억제되고, 또한 액체LW중에 기포가 발생해도 바로 액체LW중에 상기 기포를 흡수할 수 있다. 예를 들면, 공기중에 많이 포함되는 질소 및 산소를 대상으로 삼고, 액체LW에 용존 가능한 가스량의 80%을 제거하면, 충분하게 기포의 발생을 억제할 수 있다. (도면에 나타나 있지 않은) 탈기 장치를 노광 장치에 구비하여, 항상 액체중의 용존가스를 탈기 장치에 의해 연속적으로 제거하면서 액체공급부(70)에 액체LW를 공급할 수 있다.The liquid L 'may be, for example, pure water, functional water, or a fluorine-based liquid (for example, fluorine carbide). The liquid LV may be a liquid in which dissolved gas is sufficiently removed in advance by using a degassing apparatus (not shown). Thereby, generation | occurrence | production of the bubble in a liquid LB is suppressed, and even if a bubble generate | occur | produces in a liquid LB, the said bubble can be absorbed immediately in liquid LL. For example, if 80% of the amount of gas that can be dissolved in the liquid Lk is removed by using nitrogen and oxygen contained in the air as a target, bubbles can be sufficiently suppressed. The degassing apparatus (not shown) is provided in the exposure apparatus, and the liquid Lk can be supplied to the
액체공급 배관(72) 및 액체회수 배관(92)은, 액체LW를 오염되지 않도록, 용출 물질이 적은 폴리테트라플루오르에틸렌 수지, 폴리에틸렌 수지, 폴리프로필렌 수지 등의 수지로 구성할 수 있다. 액체LW에 순수이외의 액체를 사용할 경우에는, 액체LW에 내성을 가지고, 또한, 용출 물질이 적은 재료로 액체공급 배관(72) 및 액체회수 배관(92)을 구성할 수 있다.The
액체공급구(101)에는, 다공질부재가 끼워 넣어질 수 있다. 다공질부재는, 특히, 섬유형이나 입상(분말상태)의 금속재료나 무기재료를 소결한 다공질체일 수 있다. 이러한 다공질체(적어도 표면)는, 예를 들면, 스테인레스, 니켈, 알루미나, 실리콘 디옥사이드(SiO2), 실리콘 카바이드(SiC), 열처리에 의해 표면에만 SiO2을 가지는 SiC로 구성될 수 있다.The porous member may be inserted into the
도 8b에 나타나 있는 바와 같이, 천판(44')을 발액성(발수성)이 높은 재료로 형성했다고 하여도, 기판 스테이지를 고속으로 장거리 이동시킬 때에, 천판(44') 위에서 액체LW가 확대되고, 어느 정도 액체가 확대될 때 액체LW'는 분할된다. 도 8b에 도시된 경우에서는, 노광시에 액체LW'를 분할하는 위치를 특정하는 것은 어렵다. 그러므로, 본 예시적 실시예에서는 이하의 구성에 의해, 액체LW'가 분할되는 위치를 특정하고, 그 분할된 액체를 다른 장소로 비산시키지 않도록 하고 있다.As shown in FIG. 8B, even when the top plate 44 'is formed of a material having high liquid repellency (water repellency), when the substrate stage is moved at a long distance at high speed, the liquid Lk is expanded on the top plate 44'. When the liquid is enlarged to some extent, the liquid L 'is divided. In the case shown in Fig. 8B, it is difficult to specify the position at which the liquid L 'is divided during exposure. In the present exemplary embodiment, therefore, the position at which the liquid L 'is divided is specified by the following configuration so as not to scatter the divided liquid to another place.
도 2a 및 2b를 참조하여 천판(44)의 특징을 설명하겠다.2A and 2B, the characteristics of the
도 2a는, -X방향에 기판 스테이지(45)를 고속으로 장거리 이동시켰을 때의 액체LW의 상태를 도시한 도면이다. 도 2a에 도시된 것처럼, 천판(44)은, 그 표면에 서로 인접하는 제1영역(201)과 제2영역(202)을 갖는다. 액침액에 대한 제1영역(201)의 접촉각은, 제2영역(202)의 접촉각과 서로 다르다. 여기에서, 제1영역(201)은, 친액성(액체LW에 대한 제1영역(201)의 접촉각이 90도미만임)이고, 제2영역(202)은, 그 액체LW에 대한 접촉각이 제1영역(201)의 접촉각보다 크다.FIG. 2A is a diagram showing a state of liquid Lb when the
서로 인접하는 접촉각이 다른 제1영역(201) 및 제2영역(202)의 효과에 대해서, 도 3a∼도 3d를 사용해서 자세하게 설명한다. 도 3a에는, 기판 스테이지(45)의 고속이동 등에 의해 분할된 액체의 단면모식도를 나타낸다.Effects of the
분할된 액체는, 기판 스테이지(45)의 이동에 따라 제2영역(202) 위를 움직이고, 도 3b에 나타나 있는 바와 같이 보다 친액성이 높은 제1영역(201)에 도달한다. 도 3c에 나타나 있는 바와 같이 제1영역(201)과 친화성을 나타내므로, 제2영역(202) 위를 이동해 온 액체는, 다른 기판 스테이지(45)의 이동이 있어도, 도 3d에 나타나 있는 바와 같이 제1영역(201)에 머문다. 이렇게 천판(44) 위에 서로 인접하는 접촉각이 다른 2개의 영역을 설치했을 경우, 보다 친액성이 높은 영역에 액적을 모을 수 있다.The divided liquid moves on the
본 예시적 실시예에서는, 이 효과를 사용하여, 천판(44)상의 액체를 제1영역(201)에 모으고, 모은 액체를 제1영역(201)을 통해 배출하도록 하고 있다.In this exemplary embodiment, this effect is used to collect the liquid on the
또한, 서로 인접하는 접촉각이 다른 2개의 영역에서는, 접촉각이 보다 낮은 영역에, 액체를 쉽게 분할하여 남길 수 있다.In addition, in two areas having different contact angles adjacent to each other, the liquid can be easily divided and left in a region having a lower contact angle.
도 2a에 도시된 것처럼, 제2영역(202)의 접촉각보다 접촉각이 작은 제1영 역(201)이 액체LW 아래를 통과하는 경우, 제1영역(201) 위에 상기 분할된 액체가 남는다. 이 액 나머지가 발생 함에 의해, 최종광학부재(32) 아래로부터 확대되는 액체LW의 양을 감소시켜, 제1영역(201) 이외의 장소에서 액체가 남지 않도록 한다. 또한, 가령 제1영역(201)이외의 위치에서 액체가 분할되어 비산된 경우에도, 친액성의 영역에 액체가 모이므로, 비산한 액체는, 제1영역(201) 위에 이동되었을 때에 제1영역(201) 위에 모일 수 있다.As shown in FIG. 2A, when the
도 2b에 나타나 있는 바와 같이, 제1영역(201)을 다공질부재 또는 다공질재료로 형성하고, 배액기구로서의 제1 공간(203) 및 배수용 배관(301)을 제1영역(201)에 접속하는 것이 바람직하다. 제1 공간(203)은 제1영역(201) 아래의 천판(44) 안에 설치되고, 배수용 배관(301)은 제1 공간(203)에 접속되어 있다. 제1영역(201) 위에 머무른 액체는, 친액성의 다공질부재에 침투하고, 제1 공간(203)에 낙하한다. 제1 공간(203)에 모인 액체는, 배수용 배관(301)을 통해 배수된다. 이러한 구성으로 하면, 제1영역(201) 위에 머무른 액체가 오랫동안 잔류하지 않고, 상기 액체의 비산양을 한층 더 저감시킬 수 있다.As shown in FIG. 2B, the
도 4a 및 4b는, 기판(40) 표면에 인접한, 천판(44) 표면의 제1영역에 액체를 보유하는 예시 구성을 나타낸다. 도 4a는, 기판(40)에 인접하는 천판(44) 근방의 일부를 나타낸 단면도, 도 4b는 도 4a에 도시된 단면의 방향에 직교하는 선 IVB-IVB를 따라 도시된 천판(44)의 단면도다.4A and 4B show an exemplary configuration for retaining liquid in a first region of the
제1영역(201) 위에 모아진 액체는, 제2 틈(206) 및 제3 틈(통로라고도 한다)(207)을 통해 배액기구에 의해 배출된다. 배액기구는, 제1 공간(203), 다공질 체(402), 제2 공간(204), 배액용 배관(301)을 구비할 수 있다. 상기 배액기구에 의해, 제1 공간(203)에 모아진 액체는, 다공질체(402)를 통해 제2 공간(204)으로 이동하고, 배액용 배관(301)을 통해 배출된다.The liquid collected on the
다음에, 도 4a 및 도 4b에 나타낸 실시예에 대해서 이하에 상세하게 설명한다. 액체LW가 맞대는 면에 있어서, 기판(40)의 중심부에서 외측을 향하고, 기판(40), 제1영역(201), 및 제2영역(202)의 순으로 배치되어 있다. 여기에서, 액체LW에 대한 기판(40) 표면의 접촉각보다, 액체LW에 대한 제1영역(201)의 접촉각을 작게 하고 있다. 또한, 액체LW에 대한 제1영역(201)의 접촉각보다, 액체LW에 대한 제2영역(201)의 접촉각을 크게 하고 있다. 이러한 구성을 취함으로써, 천판(44) 상의 영역 중, 기판에의 패턴 전사 정밀도를 악화시키는 영향이 큰, 기판(노광 영역)에 가까운 영역에 액체가 남는 것을 저감시킬 수 있다. 또한, 천판(44)의 제2영역(201)에 액체가 남는 양을 저감시킬 수 있어서, 천판(44)의 외측에 액체가 비산하는 것을 억제할 수 있다.Next, the embodiment shown in FIG. 4A and FIG. 4B is explained in full detail below. On the surface where the liquid LG meets, it is arranged outward from the center of the
다음에, 기판(40)과 천판(44)과의 사이에 형성되고 천판(44)에 형성된 복수의 틈에 대해서, 상세히 설명한다. 제1 틈(205)은, 기판(40)과 천판(44) 사이에 형성된 틈이다. 이 제1 틈의 크기는, 기판의 외경오차 및 기판의 반송 오차에 의해 변화된다. 이 틈의 크기가 커지면, 해당 틈으로부터 낙하하는 액체의 양이 많아지고, 최종광학부재하의 액체LW의 양이 부족해진다. 또한, 액체가 낙하할 때에 공기가 액체LW중에 침입하기 쉬워져, 노광 불량의 원인이 될 수 있다.Next, the plurality of gaps formed between the
이에 따라서, 제1 틈(205)을 형성하는 천판(44)의 경사면과 척(42)의 경사면 과(도 4a중의 발액부분 400)에 표면을 발액성으로 하는 처리를 행한다. 이렇게 함으로써, 제1 틈(205)에 침입하는 액량을 감하고, 제1 공간(203)에 액체가 낙하하는 양을 저감시킬 수 있다. 여기서, 도 4a의 각도θ은, 제 1 공간(203)에 낙하하는 액량을 감하기 위해서, 60°미만으로 설정될 수 있다. 이 각도θ을 60°미만, 즉 경사를 완만하게 하는 경우, 천판(44)의 경사면과 척(42)의 경사면 사이에 형성된 틈의 간격을 좁힐 수 있다. 그래서, 제1 공간(203)에 낙하하는 액체의 양을 더욱 감소할 수 있다. 또한, 제1 공간(203)에 모인 액체는, 기판 스테이지(45)의 동작에 따라 액체가 흔들리는 경우에도, 천판(44)의 경사면과 척(42)의 경사면 사이에 형성된 틈으로부터 기판(40) 표면 등에 튀기는 것을 억제할 수 있다.Thereby, the process which makes a surface liquid-repellent is performed to the inclined surface of the
또한, 제1영역(201) 위에 액체가 남으면, 제1영역(201)으로부터 액체가 이동하고, 제1영역(201) 이외의 장소에 액체가 남을 수 있다. 이를 해결하기 위해서, 천판(44)에, 제2 틈(206) 및 제3 틈(207)을 형성하여, 제1 공간(203)에 효율적으로 액체를 이동시킨다. 제2 틈(206)은, 제1영역(201)과 제2영역(202)과의 경계에 설치하고 있다. 또한, 제3 틈(207)은, 제1 틈(205)의 근방이며, 또한 제1영역(201) 안에 형성된다. 상기 틈의 수 및/또는 형상은, 이것들에 한정되는 것이 아니고, 제1영역(201)을 통해 액체를 배출하도록, 적당하게 변경될 수 있다.In addition, when liquid remains on the
또한, 척(42)에, 제1 공간(203)에 대하여 가스를 공급하는 가스 공급용 배관(401) 및 가스 공급구(403)를 배치하고, 가스 공급구(403)로부터의 가스 공급에 의해, 액체의 제2 공간(204)에의 이동을 보조하도록 할 수 있다. 이러한 구성을 취함으로써 기판(40)의 이면에 액체가 침입하는 것을 막을 수 있다고 하는 부차적 효 과도 얻을 수 있다.Further, in the
또한, 제2 공간(204)은, 도 4b에서 나타나 있는 바와 같이, 제1 공간(203)에 모인 액체를 제2 공간(204)으로 이동하고, 배액할 수 있는 한, 기판(40)의 전체 둘레를 따라 설치할 필요는 없다. 제2 공간(204)을 기판(40)의 전체 둘레가 아니고 배액용 배관(301)에 인접하게만 형성되는 경우, 기판(40)의 전체 둘레를 따라 제2 공간(204)을 형성한 경우와 비교하여, 기화열에 의한 천판(44)의 변형을 저감시킬 수 있다. 또한, 그 위에, 천판(44)을 적재하는 기판 스테이지(45)의 제어 성능의 저하를 저감시킬 수 있다. 또한, 제2 공간(204)을 전체 둘레가 아니고 배액용 배관(301)에 인접하게만 형성하면, (도면에 나타내지 않은) 온도조정 기구에 의해 천판(44)의 온도조정을 행할 경우에도, 기화열에서 냉각되는 위치가 다공질체(402)의 근방에 제한되므로, 온도조정이 하기 쉬워진다.In addition, as shown in FIG. 4B, the
또한, 다공질체(402)를 사용하지 않고, 핀홀이나 슬릿 등의 개구부를 통해 제1 공간(203)에 모인 액체를 배액하면, 기화열에 의한 온도저하를 보다 저감시키는 것이 가능하다.In addition, if the liquid collected in the
또한, -Z방향에 수직한 제1의 공간(203)의 저면(바닥면)을 친액성재료로 이루어지거나, 혹은 그 표면을 친액성이 되도록 처리될 수 있다. 이렇게 함으로써, 제1의 공간(203)에 낙하한 액체가 저면에서 확대될 수 있고, 다공질체(402)에 도달하기 쉬워지므로, 배액효율을 향상할 수 있다.Further, the bottom surface (bottom surface) of the
또한, 도 4b에 나타나 있는 바와 같이, 제1 공간(203)을 파티션(209)에 의해 복수의 위치(도 4b에서는 4군데)에서 구획할 수 있다. 이렇게 함으로써, 제1 공 간(203)에 모인 액체는, 기판 스테이지(45)의 동작에 따라 쉽게 흔들릴 수 없어, 배액이 원활이 될 수 있다. 또한, 제1 공간(203)에 파티션을 넣음으로써 액체의 흔들림에 의한 기판 스테이지(45)의 진동을 저감시킬 수 있다.As shown in FIG. 4B, the
천판(44)의 기판(40)에 인접하는 부분은, 제1 틈의 편차를 감할 수 있으면, 다른 구성을 취할 수 있다.The part adjacent to the board |
이하에, 천판(44) 상의 제1 및 제2영역의 다른 배치 예를 도 5a∼도 5d를 사용하여 설명한다. 액침노광 장치로는, 기판(40) 및 천판(44)의 액침액에 대한 접촉각이 서로 다르므로, 기판(40)과 천판(44)과의 경계에서 액체LW를 쉽게 분할하고, 보다 작은 접촉각의 영역에 액체 LW가 보다 남기 쉽다.Below, another arrangement example of the 1st and 2nd area | region on the
특히, 이 액 나머지는, 기판(40)이 장거리 이동, 예를 들면 100mm이상 이동해서 액침영역이 기판(40)과 천판(44)을 교차할 때에 발생하기 쉽다. 또한, 액 나머지가 발생하기 어려운 이동 속도의 상한은, 액체LW가 천판(44) 위에서 기판(40) 위에 옮겨갈 때와, 액체LW가 기판(40) 위에서 천판(44) 위에 옮겨갈 때에 변한다. 기판(40)에 도포되는 재료의 접촉각보다도, 천판(44)의 표면을 형성하는 재료의 접촉각의 쪽이 높기 때문에, 액체LW가 기판(40) 위에서 천판(44) 위에 옮겨질 때에, 액 나머지를 발생하기 어려운 이동 속도의 상한이 작아진다. 가령, 각각의 경우에 액 나머지가 발생하기 어려운 속도로 설정했다고 하여도, 제1 틈의 크기가 좁을 때에 액 나머지가 발생하기 쉽다.In particular, the rest of the liquid tends to occur when the
액 나머지를 발생시키지 않도록 더욱 기판 스테이지의 이동 속도를 하강시키면, 스루풋이 바람직하지 않게 내려가 버린다. 이것을 해소하기 위해서, 도 5a에 나타나 있는 바와 같이 제1영역(201)을, 철판(44)상의 영역 중 기판(40)에 인접하는 일부의 영역에 한정하고, 그 밖의 영역을 제2영역(202)에 형성할 수 있다. 이 경우, 기판 스테이지가 장거리 이동할 때는, 제1영역(201)을 통하여, 액침영역(500)이 기판(40)으로부터 천판(44)상의 제2영역(202)과의 사이를 옮겨지도록 하면, 기판(40)과 제2영역(202) 위에서의 액체가 남는 정도를 저감시킬 수 있다.If the moving speed of the substrate stage is further lowered so as not to generate the remaining liquid, the throughput undesirably decreases. In order to eliminate this, as shown in FIG. 5A, the
또한, 도 5b에 나타나 있는 바와 같이, 기판(40)의 전체 둘레(외주전체)를 둘러싸도록, 제1영역(201)이 원환형이고, 그 밖의 영역에 제2영역(202)이 형성될 수 있다. 제1영역(201)이 기판(40)의 전체 둘레를 둘러싸는 경우, 액침영역(500)이 반드시 기판(40)으로부터 천판(44) 상의 제2영역(202)까지의 제1영역(201)을 가로지를 수 있다. 따라서, 이동 거리를 최단으로 하면서, 기판(40)과 제2영역(202) 위에 액체가 남는 정도를 저감시킬 수 있다.In addition, as shown in FIG. 5B, the
제1영역이 도 5a 및 도 5b에 나타나 있는 바와 같이 기판(40)의 적어도 일부를 둘러싸는 경우, 제1영역(201)에는, 액침액에 대한 접촉각이 대단히 작은 재료를 사용할 수 있다. 예를 들면, 제1영역(201)에 SiO2나 열처리에 의해 표면에만 SiO2를 갖는 SiC를 사용하면, 기판의 주변영역을 노광할 때에 노광 빛이 조사되어도, 그 접촉각 그렇게 많이 변화되지 않는다. 이에 따라서, 안정한 방식으로, 제1영역에 분할된 액침액을 모으고, 배 액할 수 있다.When the first region surrounds at least part of the
또한, 제1영역은, 도 5c에 나타나 있는 바와 같이 천판(44) 위에 복수의 위치에 형성될 수 있다. 복수의 제1영역(201)을, 예를 들면 동일한 간격으로 배치하 고, 의도적으로 제1영역 위에 잔액을 발생시킨다. 적당한 간격으로 잔액을 발생시키므로, 기판 스테이지의 고속 장거리 이동시에 액체LW의 양을 저감시키고, 동시에, 제1영역(201) 이외의 장소에서 액체가 남는 정도를 저감시킬 수 있다. 또한, 천판(44) 위에 복수의 제1영역(201)을 배치하므로, 제2영역(202) 위에 남는 액체가, 이동해서 천판(44)으로부터 비산하는 것을 막을 수 있다.In addition, the first region may be formed at a plurality of positions on the
또한, 도 5d에 나타나 있는 바와 같이, 천판(44)에 구멍(210)을 형성하고, 천판(44)상의 구멍(210)에 접하는 부분에 제1영역(201)을 형성할 수 있다. 또한, 구멍(210) 안에 노광 빛이 조사되는 측량용 부재(215)를 배치할 수 있다. 이러한 구성에 함으로써, 측량용 부재(215) 및 측량용 부재(215) 근방에 남은 액체를, 제1영역(201)에 모으고, 또 제1영역(201)을 통해 배출할 수 있다. 제1영역에 모아진 액체를, 개구부를 거쳐서 대응한 제1 공간(203)으로 이동할 수 있다. 더욱이, 제1 공간(203)으로 이동한 액체는, 제1 공간(203)으로부터 직접 배출될 수 있다.In addition, as shown in FIG. 5D, a
이상, 도 5a 내지 도 5d에 나타나 있는 바와 같이, 본 예시적 실시예에 따른 액침노광 장치로는, 기판(40)과 제2영역(202)과의 사이, 또는, 구멍(210)과 제2영역(202)과의 사이에, 제1영역(201)이 적어도 부분저긍로 형성된다. 이렇게 구성함으로써, 제1영역(201) 이외의 장소에 남는 액체의 양이 저감된다.As described above, as shown in FIGS. 5A to 5D, the liquid immersion exposure apparatus according to the present exemplary embodiment may be provided between the
또한, 도 5a 내지 도 5d에 도시된 구성은, 서로 조합될 수 있다. 도 5a 또는 도 5b의 구성, 도 5c의 구성, 및 도 5d의 구성 중 적어도 2개를 조합할 수 있다.Also, the configurations shown in Figs. 5A to 5D can be combined with each other. At least two of the configuration of FIG. 5A or 5B, the configuration of FIG. 5C, and the configuration of FIG. 5D may be combined.
개구부 및 배액기구의 예에 대해서, 도 6a 내지 도 6d를 참조해서 이하에 설명한다.Examples of the opening and the drainage mechanism will be described below with reference to FIGS. 6A to 6D.
도 6a는, 천판(44)에 형성된 제1 공간(203) 근방의 일부를 나타낸 단면도를 나타낸다. 제1영역(201) 안에는, 예를 들면 복수의 개구부(208)가 설치되어 있다. 제1영역(201)에 접한 액체는, 개구부(208)를 통해 제1 공간(203)으로 이동하여, 제1 공간(203)으로부터 배출된다. 개구부(208)는, 도 6b에 나타나 있는 바와 같이 제1영역(201)과 제2영역(202)과의 경계근방에 배치된 여러 개의 핀홀(211)일 수 있다. 또한, 개구부(208)는, 도 6c에 나타나 있는 바와 같이 제1영역(201)과 제2영역(202)과의 경계근방에 배치된 여러 개의 슬릿(212)일 수 있다.FIG. 6: A is sectional drawing which shows a part of vicinity of the
또한, 이 핀홀들이나 슬릿들 대신에, 제1영역(201)과 제2영역(202)(또는 각 측량용 부재 215)과의 사이에 틈을 형성하여, 이 틈을 통해서 배액기구가 배액을 한다. 또한, 비록 도시되지 않았지만, 제1영역(201)과 제2영역(202)과의 경계에 홈을 설치하고, 이 홈에 핀홀들과 슬릿들을 형성할 수 있다. 더욱이, 도 6d에 나타나 있는 바와 같이, 제1영역(201)이 영역 201-a 및 201-b로 분리되고, 복수의 틈(205, 206)을 개구부로서 가질 수 있다. 이 때, 분할된 제1영역(영역 201-a 및 201-b)은, (도면에 나타내지 않은) 지지부재에 의해 지지된다. 이것들의 지지부재는, 서로 다른 재료로 구성되어도 된다. 또한, 이 지지부재는, 배액기구에 있는 제1 공간 또는 제2 공간에 액체를 이동시킬 수 있는 한 어떠한 구성도 가질 수 있다. 도면에는 나타내지 않았지만, 예를 들면 본 구성에서의 지지부재는 다공질체를 포함할 수 있고, 또 예를 들면 개구부를 포함할 수 있다. 또, 예를 들면 지지부 재는 복수의 영역으로 분할되어, 그 영역 사이를 액체가 지나갈 수 있다.In addition, instead of these pinholes or slits, a gap is formed between the
또한, 기판 스테이지는, 제1영역(201)을 포함하는 천판(44)의 제1 부분과 제 2영역(202)을 포함하는 천판(44)의 제2 부분과를 연결하는 연결 기구를 구비할 수 있다. 연결 기구는, 예를 들면 제1영역 및 제2영역(천판의 표면)에 평행한 방향으로 탄성을 갖는 탄성부재, 예를 들면 도 7a 및 도 7b에 나타나 있는 바와 같은 판 스프링(404)일 수 있다. 도 7a는 기판(40)과 천판(44)과의 경계근방의 일부의 단면도이다. 도 7b는 기판(40) 및 천판(44)을 +Z축 방향에서 본 상면도다.In addition, the substrate stage may include a connection mechanism for connecting the first portion of the
도 7a 및 도 7b의 구성 예는, 전술한 도 4a 및 도 4b의 구성 예와는 달리, 제1영역(201)을 가지는 천판의 부분은, 제2영역(202)을 가지는 천판의 부분으로부터 연장되는 판 스프링(404)에 의해 지지된다. 친액성 재료로 이루어진 제1영역(201)으로부터의 액침액의 증발에 의한 온도저하에 의해, 제1영역(201)을 가지는 천판 부분이 변형할 수 있다. 그러나, 판 스프링(404)으로 제1영역(201)을 갖는 천판 부분을 지지하는 경우, 제1영역(201)을 가지는 천판 부분의 변형의 영향을, 제2영역(202)을 가지는 천판 부분 등, 그 밖의 부재에 미치지 않게 할 수 있다. 또한, 제1영역(201)의 온도변화의 영향이, 제2영역(202)등, 기판 스테이지(45)의 다른 부분에 미치는 것을 저감시킬 수 있다.7A and 7B show that, unlike the configuration examples of FIGS. 4A and 4B described above, the portion of the top plate having the
이제, 제1영역(201) 및 제2영역(202)에 사용할 수 있는 재료의 예에 대해서 구체적으로 설명한다. 제1영역(201)은, 액체와의 접촉각이 90도 미만인 친액성 부재 또는 친액성 재료로 구성될 수 있다. 예를 들면, 액체가 물일 경우, 상기 친액성 부재 또는 친액성 재료는, SiO2, SiC, 열처리에 의해 표면에만 SiO2를 가지는 SiC, 고안정성 유리세라믹(예를 들면, Schott사의 ZERODUR(R))를 포함할 수 있다. 액체 이외의 액체를 사용하는 경우에는, 그 액체에 대하여, 내성을 가지고, 또한 용출량이 적고, 전술의 친액성을 나타내는 재료를 널리 사용할 수 있다.Now, examples of materials that can be used for the
제2영역(202)은, 액체와의 접촉각이, 그 액체에 대한 제1영역(201)의 접촉각보다 크고, 그 액체에 대하여, 내성을 가지고, 또한 용출량이 적은 부재 또는 재료를 널리 사용할 수 있다.In the
예를 들면, 액체가 물일 경우, 상기 부재 또는 재료는, 일반적으로 발수성이 높은 것으로 알려져 있는 불소계 수지나 증착중합수지 등을 사용 할 수 있다. 구체적으로는, 불소계 수지로서 테트라플루오로에틸렌(tetrafluoroethylene;TFE)을 포함하는 중합체를 널리 사용할 수 있다. 더 구체적으로는, 중합체는, 폴리테트라플루오로에틸렌(PTFE), 퍼플훌오로알킬 비닐 에테르 수지(PFA), 퍼플루오로에틸렌-프로필렌 혼성중합체(FEP)를 포함한다. PTFE는 TFE를 중합시킨 중합체이다. PFA는 TFE와 퍼플루오로알콕시에틸렌을 공중합시킨 중합체이다. FEP는 TFE와 헥사플루오로푸로필렌을 공중합시킨 중합체다.For example, when a liquid is water, the said member or material can use a fluorine-type resin, vapor deposition polymerization resin, etc. generally known to be high in water repellency. Specifically, a polymer containing tetrafluoroethylene (TF) can be widely used as the fluorine resin. More specifically, the polymer includes polytetrafluoroethylene (PF), purple fluoroalkyl vinyl ether resin (FA), and perfluoroethylene-propylene interpolymer (FE). PET is a polymer which polymerized TFT. PFA is a polymer obtained by copolymerizing TFT and perfluoroalkoxyethylene. FE is a polymer obtained by copolymerizing TF with hexafluorofuropropylene.
또한, 증착중합수지로서는, 파라 크실렌, 또는 그 유도체를 포함하는 중합체를 사용할 수 있다. 구체적으로는, 이 증착중합수지는, 파릴렌(미국의 유니언 카바이드 케미컬 앤드 플라스틱사(UCC)가 개발한 폴리파라크실렌 수지)을 포함한다. 더 구체적으로는, 이 증착중합수지로는, 파릴렌N(UCC사제 폴리파라크실렌의 상품명), 파릴렌C(UCC사제 폴리모노클로로 파라크실렌의 상품명), 파릴렌D(UCC사제 폴리디클로로 파라크실렌의 상품명)를 들 수 있다.As the evaporation polymerization resin, a polymer containing para xylene or a derivative thereof can be used. Specifically, this vapor deposition polymerization resin contains parylene (polyparaxylene resin developed by Union Carbide Chemical & Plastics, Inc., USA). More specifically, as this vapor deposition polymerization resin, parylene N (trade name of polyparaxylene manufactured by BCC), parylene C (trade name of polymonochloro paraxylene manufactured by BCC), parylene D (polydichloroparaxylene manufactured by BCC) Brand name).
이것들의 수지는, 그 중합도 혹은 중합비의 조정, 또는 관능기 혹은 유도체 의 도입에 의한 조정을 함으로써, 액체에 대한 접촉각을 조정할 수 있다.These resins can adjust the contact angle with respect to a liquid by adjusting the degree of polymerization or polymerization ratio, or by introducing a functional group or a derivative.
또한, 불소계 수지 등을 코팅한 천판(44)의 표면에 요철 또는 침상의 미세구조를 설치해서 표면 거칠기를 조정 함에 의해, 접촉각을 크게 할 수 있다. 이러한 구성으로 함으로써, 제1영역(201)을 통해 액체를 효율적으로 천판(44)으로부터 배출할 수 있다. 그래서, 전사 정밀도 및 스루풋이 뛰어나고, 장기간 안정한 노광 장치를 실현할 수 있다.In addition, by providing a concave-convex or needle-like microstructure on the surface of the
제 2의 예시적 실시예Second exemplary embodiment
도 9의 단면도를 참조하여, 본 발명의 기판 스테이지의 다른 예시적 실시예를 설명한다. 상기 제 2의 예시적 실시예에 따른 기판 스테이지와의 차이는, 본 예시적 실시예에 따른 기판 스테이지가 제3 틈(207)이 없다는 것이다. 제1영역(201)의 폭을 수 mm 이하로 좁게 하는 경우나, 기판 스테이지(45)의 이동 속도를 그다지 빨리 할 필요가 없는 경우에는, 제3 틈(207)을 없앨 수 있다.9, another exemplary embodiment of the substrate stage of the present invention is described. The difference from the substrate stage according to the second exemplary embodiment is that the substrate stage according to the present exemplary embodiment is free of the
또한, 제1 틈(205)을 형성하는 천판(44)의 경사면과 척(42)의 경사면과에 있어서의 발액부(발액성을 가지도록 처리한 부분)(400)는, 기판의 외경 오차가 적고, 반송 정밀도가 높은 반송 장치를 사용하여 제1 틈(205)의 편차를 저감시키며, 또한 제1 틈(205)의 크기를 충분히 작게 할 수 있는 경우에는, 제거할 수 있다.In addition, the liquid repelling portion (part treated to have liquid repellency) 400 in the inclined surface of the
또한, 본 예시적 실시예에서는, 제1영역(201)이 SiC로 이루어지고, 제2영역(202)이 불소계 수지로 이루어진다. 또한, 기판(40) 이면에 대향하는 위치에 배치한 가스 공급구(403)의 근방의 척(42)의 표면을 발액성으로 하는 처리를 실시하 고 있다. 아울러, 제1 공간(203)에 모인 액체를, 배액 배관(301)이 접속된 제2 공간(204)에 이동시키기 위해서, 보조적으로 가스 공급구(403)로부터 가스를 공급한다. 이러한 구성으로 함으로써, 제1영역(201)에 모아진 액체를 효율적으로 천판(44)으로부터 배출할 수 있다. 그래서, 전사 정밀도 및 스루풋이 뛰어나고, 장기간 안정한 노광 장치를 실현할 수 있다.In the present exemplary embodiment, the
제 3의 예시적 실시예Third Exemplary Embodiment
도 10의 단면도를 참조하여, 본 발명의 기판 스테이지의 다른 예시적 실시예를 설명한다. 상술한 예시적 실시예들과의 차이는, 기판(40) 근방에 배치된 제1영역(201)이 다공질체(402)로 구성되어 있는 점이다. 제1영역(201)에 모아진 액체는, 제1 틈(205) 및 다공질체(402)를 통해 제1 공간(203)으로 이동하고, 다공질체(402) 및 제2 공간(204)을 통해 그 제1 공간(203)으로부터 배출된다. 이러한 구성으로 함으로써, 천판(44) 위에 남은 액체를 효율적으로 배출 할 수 있다. 그래서, 전사 정밀도 및 스루풋이 우수한 노광 장치를 실현할 수 있다.10, another exemplary embodiment of the substrate stage of the present invention will be described. The difference from the above-described exemplary embodiments is that the
본 예시적 실시예에서, 전술한 바와 같이 기판의 외경 오차와 기판의 반송 오차에 따라 제1 틈(205)의 크기가 변하므로, 제1 틈(205)으로부터 배액된 양은 변화된다. 따라서, 제1 틈(205)을 형성하는 다공질체(402)의 경사면과 척(42)의 경사면에 형성된 발액부(400)는, 제1 틈(205)의 제어와는 관계없이, 천판(44)을 구성하는 다공질체(402)로부터의 배액량을 안정화 할 수 있다. 그래서, 전사 정밀도 및 스루풋이 뛰어나고, 장기간 안정한 노광 장치를 실현할 수 있다.In the present exemplary embodiment, since the size of the
또한, 상술한 예시적 실시예와 마찬가지로, 외경 오차가 적은 기판을 사용하고, 또한 반송 정밀도가 높은 기판 반송 장치를 사용함으로써, 발액부(400)를 제거할 수 있다.In addition, similar to the above-described exemplary embodiment, the
제 4의 예시적 실시예Fourth Exemplary Embodiment
도 11의 단면도를 참조하여, 본 발명의 기판 스테이지의 또 다른 예시적 실시예를 설명한다. 본 예시적 실시예의 중요한 특징은, 기판(40) 근방에 형성된 제1 틈(205)을 통해서만 제1영역(201)으로부터 배액한다는 것이다. 전술한 바와 같이, 외경 오차가 적은 기판을 사용하고, 반송 정밀도가 높은 기판반송 장치를 사용함으로써, 제1 틈(205)을, 액체LW의 유지 및 액체의 배출의 쌍방에 적합한 크기로 안정시킬 수 있다. 이러한 구성을 함으로써, 제1영역(201)에 모아진 액체를 효율적으로 천판(44)으로부터 제1 틈(205)을 통해 배출할 수 있다. 그래서, 전사 정밀도 및 스루풋이 뛰어나고, 장기간 안정한 노광 장치를 실현할 수 있다.Another exemplary embodiment of the substrate stage of the present invention will be described with reference to the cross-sectional view of FIG. 11. An important feature of this exemplary embodiment is that it drains from the
제 5의 예시적 실시예Fifth Exemplary Embodiment
도 14 및 도 15의 단면도를 참조하여, 본 발명의 기판 스테이지의 또 다른 예시적 실시예를 설명한다. 도 14는 노즐부재(100) 아래를 천판(44) 및 기판(40)이 -X방향으로 이동했을 때의 모양을 나타낸다. 도 15는, 참조 기호 S를 갖는 참조번호가 설명에 도움이 되도록 표면들에 첨가된 도면으로, 도 14와 같은 상태를 나타낸다.14 and 15, another exemplary embodiment of the substrate stage of the present invention will be described. 14 shows the shape when the
본 예시적 실시예의 특징은, 기판(40) 근방에서, 천판(44)의 높이를 낮게 한 것, 즉 천판(44)이 기판(40)에 인접한 위치에서 오목해져 있는 것이다. 기판(40)의 높이에 대하여 기판(40) 근방의 천판(44)의 높이를 hd2만큼 낮게 해서 제1영역(201)을 형성하고, 그 제1영역(201) 외측의 천판(44)의 높이를 hd1만큼 높게 해서 제2영역(202)을 형성한다.A feature of this exemplary embodiment is that in the vicinity of the
기판(40)과 제2영역(202)보다 제1영역(201)을 낮게 하므로, 제1영역(201)에 액체를 따라 보다 쉽게 모을 수 있고, 스테이지의 고속이동에 따라 분할된 액체LW가 제1영역(201)으로부터 비산되는 것을 억제할 수 있다. 더욱이, hd1 및 hd2는 기판(40)의 두께 이하, 바람직하게는 0.5mm이하로 하는 것이 바람직하다. hd1 및 hd2를 크게 하면, 스테이지를 고속 이동시켰을 때에, 단차부에서 공기를 흡입할 수 있고, 액체LW에 기포가 진입할 수 있다. 이것은, 노광 불량의 원인이 된다.Since the
또한 제1영역(201)을 형성하는 면이 기판(40)을 향해서 경사진 경우, 제1영역(201)에 모아진 액체LW를 제1 공간(203)에 쉽게 낙하시킬 수 있다. 제1 공간(203)에 모아진 액체는, 다공질체(402)와 제2 공간(204)을 통하여, 배액용 배관(301)으로부터 배출될 수 있다.In addition, when the surface forming the
제1영역(201)과 제2영역(202)의 레벨 차가 큰 경우, 단차부에서 액체가 쉽게 분할될 수 있고, 제2영역(202) 위에 액체가 남을 수 있다. 그 때문에, 도 15에 나타나 있는 바와 같이 경사 sp2를 통해 제1영역(201)과 제2영역(202)이 서로 연결될 수 있다. 경사 sp2의 액체에 대한 접촉각은 제1영역(201) 또는 제2영역(202)의 액 체에 대한 접촉각과 같거나, 또는, 제1영역(201)과 제2영역(202)의 접촉각들 사이일 수 있다.When the level difference between the
또한 노즐부재(100)와 기판(40) 사이의 공간이 액체LW로 충전된 상태에서 기판(40)의 외주부가 노즐부재(100) 아래를 통과하면, 기판(40)의 측면과 천판(44)의 측면 ss4 사이에 형성된 틈에 액체LW의 일부가 보유되고, 기판(40)의 이면에 그 액체LW가 도달할 수 있다. 이를 해결하기 위해서, 천판(44)의 측면 ss4의 두께hd3을 기판(40)의 두께의 2분의 1이하 정도로 하여, 기판(40)의 측면과 천판(44)의 측면 ss4 사이에 형성된 틈에 액체LW를 쉽게 보유하지 못한다.In addition, when the outer peripheral portion of the
또한, 제1 공간(203)의 일부를 형성하는 경사면 sp5를 발액 처리하고, 척(42)의 측면 ss7의 액체LW에 대한 접촉각보다도 경사면 sp5의 액체LW에 대한 접촉각을 높게 하는 경우, 척(42)의 측면 ss7을 따라 액체LW가 낙하하기 쉽게 할 수 있다. 결과적으로, 기판(40)의 측면과 천판(44)의 측면 ss4 사이에 형성된 틈에 액체LW가 남는 것을 억제할 수 있다.In addition, when the inclined surface sp5 which forms a part of the
또한, 척의 측면 ss7의 액체LW에 대한 접촉각과 비교하여, 제1 공간(203)을 형성하는 면 ss8의 액체LW에 대한 접촉각을 작게 하는 경우, 효율적으로 다공질체(402)로부터 제1 공간에 모인 액체를 회수하는 것이 가능하다.In addition, when the contact angle with respect to the liquid Lk of the surface ss8 which forms the
또한, 기판(40)의 측면과 천판(44)의 측면 ss4 사이에 형성된 틈으로부터 제1 공간(203)에 낙하하는 액체의 양이 지나치게 많을 경우에는, 척(42)의 각도θ1을 90도 이상, 바람직하게는 120도 이상으로 하여서 그 틈으로부터 낙하하는 액체의 양을 감하는 것이 가능하다.When the amount of liquid falling into the
각도θ1을 크게 하는 경우, 천판(44)의 경사면 sp5와 척(42)의 경사면 ss7 사이에 형성된 틈의 간격을 좁힐 수 있다. 그 때문에, 제1 공간(203)에 모인 액체가 기판 스테이지(45)의 동작에 따라 흔들리는 것을 억제하여서, 천판(44)의 경사면과 척(42)의 경사면 사이에 형성된 틈으로부터 기판(40) 표면 등에 튀기는 것을 억제할 수 있다.When the angle θ1 is increased, the gap between the inclined surface sp5 of the
상술한 예시적 실시예들에서, 제1영역(201)의 액체LW에 대한 접촉각은 제2영역(202)의 액체LW의 접촉각보다도 작았다. 본 예시적 실시예에서는 제1영역(201)의 높이를 기판(40)과 제2영역(202)의 높이보다도 낮게 함으로써 상기 분할된 액체를 제1영역(201)에 모을 수 있다. 그 때문에, 제1영역의 액체LW에 대한 접촉각과 제2영역의 액체LW에 대한 접촉각과 같을 수 있다. 더욱이, 상술한 예시적 실시예들과 마찬가지로 제1영역의 액체LW에 대한 접촉각을 제2영역의 액체LW에 대한 접촉각과 비교하여 낮게 설정되는 경우, 상기 분할된 액체는 제1영역(201)에 더 효율적으로 모일 수 있다.In the above-described exemplary embodiments, the contact angle of the liquid LV of the
제 6의 예시적 실시예Sixth exemplary embodiment
도 16 및 도 17의 단면도를 참조하여, 본 발명의 기판 스테이지의 또 다른 예시적 실시예를 설명한다. 도 16은 노즐부재(100) 아래에서 천판(44) 및 기판(40)이 -X방향으로 이동하는 상태를 나타낸 도면이다. 도 17은 참조 기호 S를 갖는 참조번호가 설명에 도움이 되도록 표면들에 첨가된 도면으로, 도 16과 같은 상태를 나타낸다.16 and 17, another exemplary embodiment of the substrate stage of the present invention will be described. FIG. 16 is a view illustrating a state in which the
본 예시적 실시예의 특징은, 상술한 예시적 실시예에 더하여, 제1영역(201)과 제2영역(202)의 사이에 배액용의 유로를 설치한 것이다.A characteristic of this exemplary embodiment is that in addition to the above-described exemplary embodiment, a flow path for drainage is provided between the
기판(40)과 제2영역(202)과 비교하여, 제1영역(201)의 높이를 낮게 함으로써 제1영역(201)에 액체를 보다 쉽게 모을 수 있다. 이에 따라, 스테이지의 고속이동에 따라 분할된 액체LW가 제1영역(201)으로부터 비산하는 것을 억제할 수 있다.Compared with the
본 예시적 실시예에서는, 제1영역(201)과 제2영역(202)의 사이에 배액용의 유로를 설치하고 있으므로, 제1영역의 양측에서 배액할 수 있다. 그 때문에, 제1영역의 폭을 수 십mm정도인 경우도, 제1영역(201)으로부터 기판(40)과 제2영역 상에 상기 분할된 액체LW가 비산하는 것을 억제할 수 있다.In the present exemplary embodiment, since the drain flow path is provided between the
제1 공간(203A)에 모인 액체는, 다공질체(402A) 및 제2 공간(204A)을 거쳐서, 배액용 배관(301A)으로부터 배출될 수 있다.The liquid collected in the
또한, 제1 공간(203B)에 모인 액체는 다공질체(402B) 및 제2 공간(204B)을 거쳐서, 배액용 배관(301B)으로부터 배출될 수 있다.In addition, the liquid collected in the
또한, 제1 공간 203A의 일부를 형성하는 경사면 S26, 및 제1 공간 203B의 일부를 형성하는 경사면 S22를 발액처리 하는 경우, 척(42)의 표면 S31과 제2영역(202)의 경사면 sp12를 따라 액체LW를 낙하시키기 쉽게 할 수 있다. 그 때문에, 제1영역(201)의 면 S21 위에 액체LW가 남는 것을 방지할 수 있고, 기판(40)과 제2영역 상에 상기 분할된 액체LW가 비산하는 것을 억제할 수 있다.Further, when the inclined surface S26 that forms part of the
또한, 제2영역의 경사면 sp12의 액체LW에 대한 접촉각과 비교하여, 제1 공간(203B)을 형성하는 면 sf13의 액체LW에 대한 접촉각을 작게 하는 경우, 경사면 sp12로부터 면 sf13으로 액체를 보다 쉽게 이동시킬 수 있다. 이렇게 구성함으로써, 효율적으로 다공질체(402B)로부터 제1 공간(203B)에 모인 액체를 회수하는 것이 가능하다.In addition, when the contact angle with respect to the liquid L 'of the surface sf13 forming the
또한, 면 S31의 액체LW에 대한 접촉각과 비교하여, 면 S32, S33의 액체LW에 대한 접촉각을 작게 하는 경우, 면 S31로부터 면 S32에 액체를 보다 쉽게 이동시킬 수 있다. 이렇게 구성함으로써, 효율적으로 다공질체(402A)로부터 제1 공간(203A)에 모인 액체를 회수하는 것이 가능하다.Moreover, compared with the contact angle with respect to the liquid L of the surface S31, when a contact angle with respect to the liquid L of the surfaces S32 and S33 is made small, the liquid can be moved more easily from the surface S31 to the surface S32. With this configuration, it is possible to efficiently recover the liquid collected in the
또한, 경사면 S26과 면 S31 사이에 형성된 틈으로부터 제1 공간(203A)에 낙하하는 액체의 양이 지나치게 많을 경우에는, 척의 각도 Θ3을 0도 이상, 바람직하게는 30도 이상으로 함으로써 상기 틈으로부터 낙하된 액체의 양을 감소한다. 또한, 경사면 sp12과 경사면 S22 사이에 형성된 틈으로부터 제1 공간(203B)에 낙하하는 액체의 양이 지나치게 많을 경우에는, 척의 각도Θ2을 0도 이상, 바람직하게는 30도 이상으로 함으로써 상기 틈으로부터 낙하된 액체의 양을 감소한다.When the amount of liquid falling into the
제 7의 예시적 실시예Seventh exemplary embodiment
[디바이스의 제조 방법][Production method of device]
다음에, 도 12 및 도 13을 참조하여, 상기의 노광 장치(1)를 이용한 디바이스의 제조 방법을 설명한다. 도 12는, 디바이스, 예를 들면 IC 및 LSI회로 등의 반도체 칩, LCD 또는 CCD의 제조하기 위한 흐름도다. 여기에서는, 반도체 디바이스 제조 방법을 예로 들어 설명한다.Next, with reference to FIG. 12 and FIG. 13, the manufacturing method of the device using said
스텝 S1(회로 설계)에서는, 반도체 디바이스의 회로 설계를 행한다. 스텝 S2(레티클 제작)에서는, 설계한 회로 패턴을 형성한 레티클(원판 또는 마스크라고도 한다)을 제작한다. 스텝 S3(웨이퍼 제조)에서는, 실리콘 등의 재료를 사용해서 웨이퍼(기판이라고도 한다)를 제조한다. 스텝 S4(웨이퍼 프로세스)은, 레티클과 웨이퍼를 사용해서 석판인쇄 기술에 의해 웨이퍼 위에 실제의 회로를 형성하는 전공정이라고 한다. 스텝 S5(조립)는, 스텝 S4에 의해 처리된 웨이퍼를 사용해서 반도체 디바이스를 제조하는 후공정이라고 한다. 스텝 S5는, 조립공정(다이싱, 본딩), 패키징 공정(몰딩) 등의 공정을 포함한다. 스텝 S6(검사)에서는, 스텝 S5에서 제조된 반도체 디바이스의 동작 확인, 내구성 등을 검사한다. 그 후, 이러한 공정을 통해서 제작된 반도체 디바이스는, 출시(스텝 S7)된다.In step S1 (circuit design), the circuit design of the semiconductor device is performed. In step S2 (reticle preparation), a reticle (also called a disc or a mask) on which the designed circuit pattern is formed is produced. In step S3 (wafer manufacture), a wafer (also called a substrate) is manufactured using a material such as silicon. Step S4 (wafer process) is said to be a pre-process which forms an actual circuit on a wafer by lithographic printing technique using a reticle and a wafer. Step S5 (assembly) is called a post-process of manufacturing a semiconductor device using the wafer processed in step S4. Step S5 includes processes such as an assembling process (dicing and bonding) and a packaging process (molding). In step S6 (inspection), operation confirmation, durability, etc. of the semiconductor device manufactured in step S5 are examined. Then, the semiconductor device produced through such a process is released (step S7).
도 13은, 스텝 S4의 웨이퍼 프로세스의 상세한 흐름도다. 스텝 S11(산화)에서는, 웨이퍼의 표면을 산화시킨다. 스텝 S12(chemical vapor deposition; CVD)에서는, 웨이퍼의 표면에 절연막을 형성한다. 스텝 S13(전극형성)에서는, 웨이퍼 위에 전극을 예를 들면 증착에 의해 형성한다. 스텝 S14(이온주입)에서는, 웨이퍼에 이온을 주입한다. 스텝 S15(레지스트 처리)에서는, 웨이퍼에 감광제(레지스트라고도 한다)를 도포한다. 스텝 S16(노광)에서는, 상기의 노광 장치(1)를 사용해서 레티클의 회로 패턴을 통해 웨이퍼를 노광한다. 스텝 S17(현상)에서는, 노광된 웨이퍼를 현상한다. 스텝 S18(에칭)에서는, 현상에 의해 얻어진 레지스트 패턴을 마스크로 해서 웨이퍼에 대하여 에칭을 행한다. 스텝 S19(레지스트 박리)에서는, 에칭 후 더 이상 불필요한 레지스트를 제거한다. 이것들의 스텝을 반복해 행함으로써 웨이퍼 위에 다중 회로 패턴을 형성할 수 있다. 본 예시적 실시예에 따른 디바이스 제조 방법에서는, 종래 기술에 따른 디바이스들과 비교하여 고품위의 디바이스를 제조할 수 있다.13 is a detailed flowchart of the wafer process of step S4. In step S11 (oxidation), the surface of the wafer is oxidized. In step S12 (CCVD), an insulating film is formed on the surface of the wafer. In step S13 (electrode formation), an electrode is formed on the wafer by, for example, vapor deposition. In step S14 (ion implantation), ions are implanted into the wafer. In step S15 (resist processing), a photosensitive agent (also called a resist) is applied to the wafer. In step S16 (exposure), the wafer is exposed through the circuit pattern of the reticle using the
본 발명을 예시적 실시예들을 참조하여 설명했지만, 본 발명은, 상기 개시된 예시적 실시예들에 한정되지 않다는 것을 알 수 있다. 이하의 청구범위는, 모든 변경, 동등한 구성 및 기능을 포함하도록 아주 넓게 해석되어야 한다.Although the present invention has been described with reference to exemplary embodiments, it is to be understood that the present invention is not limited to the exemplary embodiments disclosed above. The following claims are to be accorded the broadest interpretation so as to encompass all modifications, equivalent configurations, and functions.
도 1은 본 발명의 제 1의 예시적 실시예에 따른 노광 장치의 예시의 단면도다.1 is a cross-sectional view of an example of an exposure apparatus according to a first exemplary embodiment of the present invention.
도 2a 및 2b는 노광 장치의 일부를 설명하는 단면도다.2A and 2B are cross-sectional views illustrating part of the exposure apparatus.
도 3a 내지 도 3d는 상기 예시적 실시예의 작용을 설명하는 단면도다.3A to 3D are cross-sectional views illustrating the operation of the exemplary embodiment.
도 4a는 노광 장치의 일부를 설명하는 단면도, 도 4b는 천판의 단면도다.4A is a cross-sectional view illustrating part of the exposure apparatus, and FIG. 4B is a cross-sectional view of the top plate.
도 5a 내지 5d는 천판상에 있어서의 제1 및 제2영역의 배치 예를 설명하는 평면도다.5A to 5D are plan views illustrating examples of arrangement of the first and second regions on the top plate.
도 6a는 개구부를 포함하는 천판의 단면도, 도 6b 내지 6d는 천판에 형성되는 개구부의 형상의 예를 설명하는 평면도다.6A is a cross-sectional view of the top plate including the opening, and FIGS. 6B to 6D are plan views illustrating examples of the shape of the opening formed on the top plate.
도 7a는 제1영역의 지지부재를 포함한 천판의 단면도. 도 7b는 제1영역의 지지부재를 포함한 천판의 평면도다.7A is a cross-sectional view of the top plate including the support member of the first region. 7B is a plan view of the top plate including the supporting member of the first region.
도 8a 및 8b는 노광 장치와 관련된 과제의 예를 나타낸다.8A and 8B show examples of problems associated with the exposure apparatus.
도 9는 제 2의 예시적 실시예에 따른 노광 장치의 일부를 설명하는 단면도다.9 is a cross-sectional view illustrating a part of the exposure apparatus according to the second exemplary embodiment.
도 10은 제 3의 예시적 실시예에 따른 노광 장치의 일부를 설명하는 단면도다.10 is a cross-sectional view illustrating a part of the exposure apparatus according to the third exemplary embodiment.
도 11은 제 4의 예시적 실시예에 따른 노광 장치의 일부를 설명하는 단면도다.11 is a cross-sectional view illustrating a part of the exposure apparatus according to the fourth exemplary embodiment.
도 12는 디바이스의 제조 방법을 설명하기 위한 흐름도다.12 is a flowchart for explaining a method for manufacturing a device.
도 13은 웨이퍼 프로세스의 상세한 흐름도다.13 is a detailed flow chart of the wafer process.
도 14는 제 5의 예시적 실시예에 따른 노광 장치의 일부를 설명하는 단면도다.14 is a cross-sectional view illustrating a part of the exposure apparatus according to the fifth exemplary embodiment.
도 15는 제 5의 예시적 실시예에 따른 노광 장치의 일부를 설명하는 단면도다.15 is a cross-sectional view illustrating a part of the exposure apparatus according to the fifth exemplary embodiment.
도 16은 제 6의 예시적 실시예에 따른 노광 장치의 일부를 설명하는 단면도다.16 is a cross-sectional view illustrating a part of the exposure apparatus according to the sixth exemplary embodiment.
도 17은 제 6의 예시적 실시예에 따른 노광 장치의 일부를 설명하는 단면도다.17 is a cross-sectional view illustrating a part of the exposure apparatus according to the sixth exemplary embodiment.
| Application Number | Priority Date | Filing Date | Title |
|---|---|---|---|
| JPJP-P-2007-00036600 | 2007-02-16 | ||
| JP2007036600 | 2007-02-16 | ||
| JP2007295594AJP2008227452A (en) | 2007-02-16 | 2007-11-14 | Exposure apparatus and device manufacturing method |
| JPJP-P-2007-00295594 | 2007-11-14 |
| Publication Number | Publication Date |
|---|---|
| KR20080076853Atrue KR20080076853A (en) | 2008-08-20 |
| Application Number | Title | Priority Date | Filing Date |
|---|---|---|---|
| KR1020080014318ACeasedKR20080076853A (en) | 2007-02-16 | 2008-02-18 | Exposure apparatus and device manufacturing method |
| Country | Link |
|---|---|
| JP (1) | JP2008227452A (en) |
| KR (1) | KR20080076853A (en) |
| TW (1) | TW200905404A (en) |
| Publication number | Priority date | Publication date | Assignee | Title |
|---|---|---|---|---|
| EP2196857A3 (en)* | 2008-12-09 | 2010-07-21 | ASML Netherlands BV | Lithographic apparatus and device manufacturing method |
| NL2005126A (en)* | 2009-09-21 | 2011-03-22 | Asml Netherlands Bv | Lithographic apparatus, coverplate and device manufacturing method. |
| NL2005666A (en) | 2009-12-18 | 2011-06-21 | Asml Netherlands Bv | A lithographic apparatus and a device manufacturing method. |
| US8760630B2 (en) | 2011-01-01 | 2014-06-24 | Canon Kabushiki Kaisha | Exposure apparatus and method of manufacturing device |
| JP5425169B2 (en)* | 2011-01-01 | 2014-02-26 | キヤノン株式会社 | Exposure apparatus and device manufacturing method |
| US20130057837A1 (en)* | 2011-04-06 | 2013-03-07 | Nikon Corporation | Exposure apparatus, exposure method, device-manufacturing method, program, and recording medium |
| JP6332948B2 (en)* | 2013-11-28 | 2018-05-30 | キヤノン株式会社 | Exposure apparatus and device manufacturing method using the same |
| US10317804B2 (en)* | 2015-12-08 | 2019-06-11 | Asml Netherlands B.V. | Substrate table, lithographic apparatus and method of operating a lithographic apparatus |
| JP6756850B2 (en)* | 2016-05-12 | 2020-09-16 | エーエスエムエル ネザーランズ ビー.ブイ. | Extract for lithographic equipment |
| Publication number | Publication date |
|---|---|
| JP2008227452A (en) | 2008-09-25 |
| TW200905404A (en) | 2009-02-01 |
| Publication | Publication Date | Title |
|---|---|---|
| JP6319410B2 (en) | Exposure apparatus and device manufacturing method | |
| KR100887998B1 (en) | Exposure apparatus and device manufacturing method | |
| EP2264532B1 (en) | Exposure apparatus and device manufacturing method | |
| KR20080076853A (en) | Exposure apparatus and device manufacturing method | |
| US8289497B2 (en) | Apparatus and methods for recovering fluid in immersion lithography | |
| US20080043211A1 (en) | Apparatus and methods for recovering fluid in immersion lithography | |
| JP4954444B2 (en) | Channel forming member, exposure apparatus, and device manufacturing method | |
| US9519229B2 (en) | Apparatus and methods for inhibiting immersion liquid from flowing below a sustrate | |
| US7532309B2 (en) | Immersion lithography system and method having an immersion fluid containment plate for submerging the substrate to be imaged in immersion fluid | |
| US9329492B2 (en) | Apparatus and method to control vacuum at porous material using multiple porous materials | |
| KR20070119547A (en) | Immersion Exposure Equipment | |
| US8634055B2 (en) | Apparatus and method to control vacuum at porous material using multiple porous materials | |
| TWI598700B (en) | Exposure apparatus, projection optical apparatus, and semiconductor element manufacturing method | |
| US20080198346A1 (en) | Exposure apparatus and method for manufacturing device | |
| US9164395B2 (en) | Exposure apparatus, and method of manufacturing a device | |
| JP2008140957A (en) | Immersion exposure equipment | |
| US20120257179A1 (en) | Apparatus and methods to recover liquid in immersion lithography | |
| CN1981365A (en) | Exposure apparatus, exposure method, and device manufacturing method | |
| JP2007012954A (en) | Exposure equipment | |
| US20100220301A1 (en) | Apparatus and method to control liquid stagnation in immersion liquid recovery | |
| JP2008205310A (en) | Exposure equipment | |
| HK1161758A (en) | Apparatus and method to control vacuum at porous material using multiple porous materials |
| Date | Code | Title | Description |
|---|---|---|---|
| A201 | Request for examination | ||
| PA0109 | Patent application | Patent event code:PA01091R01D Comment text:Patent Application Patent event date:20080218 | |
| PA0201 | Request for examination | ||
| PG1501 | Laying open of application | ||
| E902 | Notification of reason for refusal | ||
| PE0902 | Notice of grounds for rejection | Comment text:Notification of reason for refusal Patent event date:20091124 Patent event code:PE09021S01D | |
| E601 | Decision to refuse application | ||
| PE0601 | Decision on rejection of patent | Patent event date:20100226 Comment text:Decision to Refuse Application Patent event code:PE06012S01D Patent event date:20091124 Comment text:Notification of reason for refusal Patent event code:PE06011S01I |