




도 1은 본 발명에 따른 네트워크 프린터의 검색 시스템의 구성도이다.1 is a configuration diagram of a network printer searching system according to the present invention.
도 2는 본 발명에 따른 네트워크 프린터의 구성도이다.2 is a block diagram of a network printer according to the present invention.
도 3은 본 발명에 따른 네트워크 프린터의 저장부의 데이터 구조를 나타낸 도면이다.3 is a diagram illustrating a data structure of a storage unit of a network printer according to the present invention.
도 4는 본 발명에 따른 네트워크 프린터에 키워드 등록하는 방법을 나타낸 흐름도이다.4 is a flowchart illustrating a method for registering keywords in a network printer according to the present invention.
도 5는 본 발명에 따른 키워드를 이용하여 검색하는 방법을 나타낸 흐름도이다.5 is a flowchart illustrating a method of searching using a keyword according to the present invention.
*도면의 주요부분에 대한 부호 설명** Description of symbols on the main parts of the drawings *
100 : 클라이언트 시스템100: client system
200 : 네트워크 프린터 서버200: network printer server
300 : 네트워크 프린터300: network printer
본 발명은 네트워크 프린터의 검색 시스템 및 그 방법에 관한 것으로, 더욱 상세하게는 키워드를 이용하여 원하는 네트워크를 쉽게 검색할 수 있도록 한 네트워크 프린터의 검색 시스템 및 그 방법에 관한 것이다.The present invention relates to a network printer retrieval system and a method thereof, and more particularly, to a network printer retrieval system and a method for easily searching a desired network using a keyword.
일반적으로 네트워크 프린터를 검색하는 경우 아이피 어드레스(IP Address)를 토대로 하여 SNMP, SLP, UPnP 또는 프린터 제조사(vender)에서 지정한 프로토콜 등을 이용한다.Generally, when searching for a network printer, a protocol specified by SNMP, SLP, UPnP, or a printer vendor based on an IP address is used.
그런데 규모가 큰 사무실에 네트워크 프린터가 너무 많은 경우 원하는 프린터를 찾기 위해 추가적인 사용자의 노력이 필요하다.However, if there are too many network printers in a large office, additional user effort is required to find the desired printer.
기존의 검색 방법에 따르면 프린터 제조사에서 제공하는 정보 위주이고, 아이피 어드레스(IP Address), 맥 어드레스(MAC Address), 각종 프로토콜 정보 등의 네트워크 정보 또는 프린터의 이름, 위치, 제품 모델명 등의 프린터 정보를 이용하여 검색하는데 국한되었다. 이에 따라 네트워크 프린터가 많은 경우 원하는 프린터를 찾기 어렵다.According to the existing search method, it is mainly information provided by the printer manufacturer, and network information such as IP address, MAC address, and various protocol information, or printer information such as printer name, location, and product model name. It was limited to searching by using. As a result, it is difficult to find a desired printer when there are many network printers.
뿐만 아니라 네트워크 프린터 서버가 모든 네트워크 프린터를 대상으로 검색 요청하면, 그에 따라 모든 네트워크 프린터에서 응답하기 위한 패킷을 전송하고, 네트워크 프린터 서버가 응답 패킷을 체크한 결과를 토대로 하여 해당 네트워크 프린터를 검색하는 방법을 사용하기 때문에 통신 트래픽의 증가를 유발함에 따라 효율적인 검색 작업에 지장을 주게 된다.In addition, when the network print server requests a search for all network printers, the network printer server transmits a packet to respond to all network printers accordingly, and the network printer server searches for the network printer based on the result of checking the response packet. Because of the increase of communication traffic, efficient search operation is hampered.
본 발명의 목적은 키워드를 이용하여 네트워크 프린터를 쉽고 효율적으로 검 색할 수 있도록 한 네트워크 시스템의 검색 시스템 및 그 방법을 제공함에 있다.SUMMARY OF THE INVENTION An object of the present invention is to provide a search system and method for a network system capable of easily and efficiently searching for a network printer using keywords.
상기 목적을 달성하기 위한 본 발명은, 복수의 네트워크 프린터; 및 네트워크를 통하여 상기 복수의 네트워크 프린터와 연결되는 네트워크 프린터 서버를 포함하되, 상기 네트워크 프린터 서버는 키워드를 이용하여 검색 요청하고, 검색 요청을 받은 상기 복수 네트워크 프린터 중 상기 키워드에 해당하는 네트워크 프린터가 선택적으로 응답한다.The present invention for achieving the above object, a plurality of network printer; And a network printer server connected to the plurality of network printers through a network, wherein the network printer server requests a search using a keyword, and a network printer corresponding to the keyword among the plurality of network printers received the search request is selected. Answer
상기 각 네트워크 프린터는 키워드를 저장하기 위한 저장부를 포함한다.Each network printer includes a storage unit for storing keywords.
상기 저장부는 키워드 테이블에 복수 키워드를 등록한다.The storage unit registers a plurality of keywords in a keyword table.
상기 네트워크 프린터 서버는 상기 키워드를 포함하는 검색 패킷을 상기 네트워크 프린터에 전송하고, 상기 네트워크 프린터는 상기 검색 요청에 응답하기 위한 응답 패킷을 상기 네트워크 프린터 서버에 전송한다.The network printer server sends a search packet including the keyword to the network printer, and the network printer sends a response packet for responding to the search request to the network printer server.
상기 네트워크 프린터 서버에 검색을 요청하기 위한 클라이언트 시스템을 더 포함하고, 상기 검색 키워드는 상기 클라이언트 시스템을 통하여 입력한다.And a client system for requesting a search from the network printer server, wherein the search keyword is input through the client system.
상기 목적을 달성하기 위한 본 발명은, 복수의 네트워크 프린터; 네트워크를 통하여 상기 복수의 네트워크 프린터와 연결되는 네트워크 프린터 서버; 및 상기 네트워크 프린터 서버에 검색을 요청하기 위한 클라이언트 시스템을 포함하되, 상기 각 네트워크 프린터는 프린터의 전반적인 동작을 제어하는 프린터 제어부, 상기 각 네트워크 프린터에 부여하는 키워드를 입력받기 위한 유저 인터페이스, 상기 네트워크 프린터 서버와 통신하기 위한 프린터 인터페이스, 상기 키워드 정보를 저장 하기 위한 저장부를 포함하며, 상기 네트워크 프린터 서버는 상기 클라이언트 시스템으로부터 검색 요청 받은 키워드에 해당하는 네트워크 프린터를 검색한다.The present invention for achieving the above object, a plurality of network printer; A network printer server connected to the plurality of network printers through a network; And a client system for requesting a search from the network printer server, wherein each network printer includes a printer controller for controlling overall operations of the printer, a user interface for receiving a keyword assigned to each network printer, and the network printer. A printer interface for communicating with a server, and a storage unit for storing the keyword information, the network printer server searches for a network printer corresponding to the keyword requested to search from the client system.
상기 각 네트워크 프린터는 자신에 부여된 키워드에 대응하는 검색 요청에만 응답한다.Each network printer responds only to a search request corresponding to the keyword given to it.
상기 목적을 달성하기 위한 본 발명은, 네트워크를 통하여 네트워크 프린터 서버에 연결되는 복수 네트워크 프린터를 검색하기 위한 네트워크 프린터의 검색 방법에 있어서, 복수 네트워크 프린터에 키워드를 등록하는 단계; 상기 네트워크 프린터 서버에 클라이언트 시스템을 이용하여 검색 키워드를 제공하고 키워드 검색을 요청하는 단계; 상기 네트워크 프린터 서버에서 상기 복수 네트워크 프린터에 검색 키워드를 포함한 검색 패킷을 전송하는 단계; 상기 복수 네트워크 프린터 중 상기 검색 키워드에 해당하는 네트워크 프린터가 검색 요청에 대하여 선택적으로 응답하는 단계; 상기 응답하는 네트워크 프린터에 대한 검색 결과를 클라이언트 시스템으로 제공하는 단계를 포함한다.According to an aspect of the present invention, there is provided a network printer searching method for searching a plurality of network printers connected to a network printer server through a network, the method comprising: registering a keyword with the plurality of network printers; Providing a search keyword to the network printer server using a client system and requesting a keyword search; Transmitting, by the network printer server, a search packet including a search keyword to the plurality of network printers; Selectively responding to a search request by a network printer corresponding to the search keyword among the plurality of network printers; Providing search results for the responding network printer to a client system.
상기 키워드 등록은 유저가 상기 복수 네트워크 프린터에 대하여 개별 등록한다.In the keyword registration, a user individually registers the plurality of network printers.
상기 키워드는 상기 네트워크 프린터를 식별하기 위해 유저에 의해 임의로 설정한다.The keyword is arbitrarily set by the user to identify the network printer.
상기 검색 요청에 대한 응답은 검색 키워드와 등록된 키워드를 비교하고, 비교 결과 일치하는 경우에만 응답한다.The response to the search request compares the search keyword with the registered keyword and responds only if the comparison matches.
이하, 본 발명의 실시 예에 의한 네트워크 프린터의 검색 시스템 및 그 방법 을 설명한다.Hereinafter, a network printer search system and a method thereof according to an embodiment of the present invention will be described.
본 발명에 따른 네트워크 프린터의 검색 시스템은, 클라이언트 시스템(100)과 네트워크 프린터 서버(200) 그리고 복수의 네트워크 프린터(300)를 포함하여 구성되며, 각 구성 요소들은 네트워크를 매개로 연결된다.The search system for a network printer according to the present invention includes a
클라이언트 시스템(100)은 키워드를 사용하여 원하는 프린터에 대한 검색을 네트워크 프린터 서버(200)에 요청한다. 클라이언트 시스템(100)은 키워드 입력을 위한 개인용 컴퓨터를 적용할 수 있다. 여기서 키워드는 해당 네트워크 프린터를 식별하기 위하여 유저에 의해 임의로 설정할 수 있다.The
검색 요청에 응답하기 위해 네트워크 프린터 서버(200)는 클라이언트에 의해 입력된 키워드와 일치하는 네트워크 프린터를 검색하기 위한 검색 패킷을 생성하여 브로드캐스트(broadcast) 방식으로 전송한다. 여기서 검색 패킷에는 클라이언트에 의해 입력된 키워드 정보가 포함된다.In response to the search request, the
복수의 네트워크 프린터(300)는 네트워크 프린터 서버(200)로부터 검색 패킷을 전송받으며, 검색 패킷에 포함된 키워드와 사전 등록된 키워드 테이블에 저장된 키워드를 비교하여 일치된 키워드가 있는지를 체크한다. 체크 결과 일치되는 키워드가 있으면 응답 패킷을 네트워크 프린터 서버(200)에 전송하지만, 일치하는 키워드가 없으면 응답 패킷을 전송하지 않는다.The plurality of
이에 따라 네트워크 프린터 서버(200)는 검색 패킷을 전송한 후 그에 따른 응답 패킷이 전송되는가에 따라 클라이언트측에서 원하는 네트워크 프린터를 인식하고, 그러한 네트워크 프린터에 대한 검색 결과 정보를 클라이언트 시스템(100)으 로 제공할 수 있다.Accordingly, the
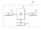
각 네트워크 프린터(300A)(300B)(300C)는 동일한 구성을 가지며, 예를 들어 도 2와 같이 프린터의 전반적인 동작을 제어하는 프린터 제어부(301), 키워드를 입력받기 위한 유저 인터페이스(310), 네트워크 프린터 서버와 통신하기 위한 프린터 인터페이스(320), 키워드 정보를 저장하기 위한 저장부(330)를 포함한다.Each
키워드를 이용한 네트워크 프린터 검색을 하기 위해서는, 해당 네트워크 프린터별로 대응하는 키워드를 키워드 테이블에 사전 등록시켜 두어야 하고, 이러한 키워드 정보를 기억 수단인 저장부(330)에 저장해 두어야 한다.In order to search for a network printer using a keyword, a keyword corresponding to each network printer should be registered in advance in a keyword table, and such keyword information should be stored in the
저장부(300)는, 도 3에 도시한 바와 같이, 네트워크 정보(340)와 프린터 정보(350)로 크게 구분한다.As illustrated in FIG. 3, the
네트워크 정보(340)는 맥 어드레스를 저장하는 제1메모리 영역(341), 아이피 어드레스를 저장하는 제2메모리 영역(342), 네트워크 이름를 저장하는 제3메모리 영역(343), 웹 페이지 어드레스를 저장하는 제4메모리 영역(344), 그리고 키워드 정보를 저장하는 제5메모리 영역(345)를 포함한다. 제5메모리 영역(345)는 복수 키워드를 키워드 테이블로 작성하여 저장한다.The
프린터 정보(350)는 제품 모델 이름을 저장하는 제6메모리 영역(351), 제품 모델 코드 이름,를 저장하는 제7메모리 영역(352), 시리얼 번호를 저장하는 제8메모리 영역(353), 그리고 인쇄 속도를 저장하는 제9메모리 영역(354)를 포함한다.The
키워드를 이용한 프린터 검색을 위해서, 제5메모리 영역(345)에 키워드가 등록되어야 한다. 실시 예에서는 유저에 의해 키워드 등록하는 방법을 적용하였으나, 이에 한정하는 것은 아니며, 각 네트워크 프린터를 식별할 수 있는 키워드를 부여할 수 있는 다양한 방법이 적용할 수 있음은 물론이다.In order to search for a printer using a keyword, a keyword must be registered in the
키워드 등록은, 도 4에 따라 도시한 바와 같이, 유저가 키워드 입력수단 예를 들어 키보드 등을 이용하여 원하는 키워드를 입력하고, 이에 따라 네트워크 프린터(300)의 유저 인터페이스(310)는 키워드 입력 신호를 프린터 제어부(301)에 제공한다. 프린터 제어부(301)는 키워드 입력 신호가 키워드 등에 해당하는지 판단한다(401). 그 판단 결과 키워드 등록에 해당하는 키워드인 경우 저장부(330)의 제5메모리(345)의 키워드 테이블에 입력 키워드를 추가 등록한다(403).In the keyword registration, as shown in FIG. 4, a user inputs a desired keyword using keyword input means, for example, a keyboard, and the like, and thus the
그런 다음 프린터 제어부(301)는 키워드를 추가 등록하기 위한 요구가 있는지를 판단하고(405), 그 판단 결과 키워드를 추가 등록을 위한 요구가 있으면 동작 401로 진행하여 키워드 테이블에 키워드를 추가 등록하고, 그 판단 결과 키워드 추가 등록을 위한 요구가 없으면 종료한다.Then, the
이하에서는 본 발명에 따른 네트워크 프린터의 검색 방법을 도 5에 따라 설명한다.Hereinafter, a search method of a network printer according to the present invention will be described with reference to FIG.
먼저, 클라이언트 시스템(100)은 키워드 검색 요구가 있는지 판단하고(501), 그 판단 결과 키워드 검색 요구가 있으면, 유저로부터 검색 키워드를 입력받는다(503). 그런 다음 입력받은 키워드를 제공하여 네트워크 프린터 서버(200)에 검색 요청한다(505).First, the
네트워크 프린터 서버(200)는 입력된 키워드를 포함한 검색 패킷을 생성하고, 생성한 검색 패킷을 모든 네트워크 프린터로 전송한다(507).The
각 네트워크 프린터(300)의 프린터 제어부(301)는 검색 패킷을 전송받고, 그 검색 패킷에 포함된 키워드가 저장부(330)의 제5메모리 영역(345)의 키워드 테이블에 있는지 검색한다(509).The
검색 결과 검색 키워드가 키워드 테이블의 키워드와 일치하는지 판단하고(511), 그 판단 결과 일치하면 해당 네트워크 프린터에서는 검색 요청에 응답하기 위한 응답 패킷을 생성하여 네트워크 프린터 서버(200)에 전송한다(513). 이에 따라 네트워크 프린터 서버(200)는 해당 네트워크 프린터의 응답 패킷을 분석하여 그에 따른 검색 결과를 클라이언트 시스템(100)으로 제공한다(515).The search result determines whether the search keyword matches the keyword of the keyword table (511). If the search result matches, the corresponding network printer generates a response packet for responding to the search request and transmits it to the network printer server 200 (513). . Accordingly, the
동작 511의 판단 결과 일치하지 않은 경우, 검색 키워드와 저장부(330)의 키워드 테이블에 등록되어 있지 않은 경우에는 응답 패킷을 전송하지 않고 그대로 종료한다.If the result of the determination in
이상과 같이 본 발명은 키워드를 이용하여 검색 요청하는 간단한 절차를 통하여 해당 네트워크 프린터를 쉽게 검색할 수 있으며, 네트워크 프린터 서버의 검색 요청에 대해 해당 네트워크 프린터에서만 응답하는 방식을 적용하고 있어서 효율적으로 검색 작업을 수행할 수 있다.As described above, the present invention can easily search for a corresponding network printer through a simple procedure of requesting a search using a keyword, and applies a method of responding only to a corresponding network printer to a search request of a network printer server, thereby efficiently searching. Can be performed.
| Application Number | Priority Date | Filing Date | Title |
|---|---|---|---|
| KR1020070002630AKR20080065469A (en) | 2007-01-09 | 2007-01-09 | Search system of network printer and its method |
| Application Number | Priority Date | Filing Date | Title |
|---|---|---|---|
| KR1020070002630AKR20080065469A (en) | 2007-01-09 | 2007-01-09 | Search system of network printer and its method |
| Publication Number | Publication Date |
|---|---|
| KR20080065469Atrue KR20080065469A (en) | 2008-07-14 |
| Application Number | Title | Priority Date | Filing Date |
|---|---|---|---|
| KR1020070002630AWithdrawnKR20080065469A (en) | 2007-01-09 | 2007-01-09 | Search system of network printer and its method |
| Country | Link |
|---|---|
| KR (1) | KR20080065469A (en) |
| Publication number | Priority date | Publication date | Assignee | Title |
|---|---|---|---|---|
| DE202009019054U1 (en) | 2008-07-07 | 2016-02-18 | Lg Electronics Inc. | Mobile terminal |
| Publication number | Priority date | Publication date | Assignee | Title |
|---|---|---|---|---|
| DE202009019054U1 (en) | 2008-07-07 | 2016-02-18 | Lg Electronics Inc. | Mobile terminal |
| Publication | Publication Date | Title |
|---|---|---|
| US7603474B2 (en) | Efficient endpoint matching using a header-to-bit conversion table | |
| JP3612528B2 (en) | Parameter setting system | |
| US7590873B2 (en) | Power control method and system wherein a management server does not transmit a second power control request to an identified blade server when a management information indicates that a failure is detected in the identified blade server | |
| JP5724687B2 (en) | Information processing apparatus, server selection method, and program | |
| CN102141901A (en) | Printer control apparatus, printer control method and printing system | |
| US9930216B2 (en) | Printing system, computer readable recording medium stored with printing device search program, and computer readable recording medium stored with printing device control program for acquiring and displaying information without requiring client terminal authentication | |
| US20140211248A1 (en) | Web server apparatus, control method, and program therefor | |
| JP2008140132A (en) | Printing system, print job control device and print job control program | |
| US20190319922A1 (en) | Communication system performing communications concerning requests for requesting commands | |
| US20150039917A1 (en) | Information processing device, activation method, and computer program product | |
| JP2005108241A (en) | Communication method and communication system for communicating with controller of print server | |
| CN110851091A (en) | VDI-based printing method, device, equipment and storage medium | |
| JP2011076437A (en) | System, server, client, and method for sharing device | |
| JP4120999B2 (en) | Printer access control system, server device, printer access control method, printer access control program, and recording medium recording the program | |
| KR20080065469A (en) | Search system of network printer and its method | |
| KR102078559B1 (en) | Method for managing data placement based user log data, system and apparatus thereof | |
| KR102663509B1 (en) | Appratus for processing query and method thereof | |
| US20030145063A1 (en) | Computer apparatus and program for controlling same | |
| JP2000339247A (en) | Parameter setting system | |
| JP2020017236A (en) | Device management device, device management program, and device management system | |
| JP4498045B2 (en) | Image processing apparatus, control method therefor, and program | |
| US12061921B2 (en) | Management apparatus, management system, management method and management program | |
| JP2008176604A5 (en) | ||
| JP2008217211A (en) | Printer information setting system, terminal device, printer information setting method and program | |
| KR20050122495A (en) | Method and system for searching a file |
| Date | Code | Title | Description |
|---|---|---|---|
| PA0109 | Patent application | Patent event code:PA01091R01D Comment text:Patent Application Patent event date:20070109 | |
| PG1501 | Laying open of application | ||
| PC1203 | Withdrawal of no request for examination | ||
| WITN | Application deemed withdrawn, e.g. because no request for examination was filed or no examination fee was paid |