
























본 발명은 개인들, 특히 독립적인 생활을 유지하는데 있어서 장애인들을 돕기 위해 집안에서의 모니터링 및 개입(intervention)을 제공하기 위한 시스템에 관한 것이다.The present invention relates to a system for providing monitoring and intervention in the home to assist individuals, especially those with disabilities in maintaining independent living.
몇몇 알려진 사용자 모니터링 시스템들은 즉각적으로 응답하는 특징을 갖는다. 종래의 시스템에 있어서, 사용자가 넘어져서 일어날 수 없으면, 그 사용자는 작은 무선 주파수 송신기상의 버튼을 누를 수도 있다. 이러한 무선 주파수 송신기는 사용자에게 착용될 수도 있다. 예를 들어, 무선 주파수 송신기는 편리성을 위해, 그리고 필요할 때 이용 가능함을 보장하기 위하여 목걸이나 열쇠 꾸러미에 착용될 수도 있다. 버튼을 누름으로써 사용자 원격 모니터링 사이트(site)로 전화 호출을 하는 사용자의 주택에 있는 장치를 활성화시킨다. 원격 모니터링 사이트의 사람들은 그 사용자와 통신하기 위하여 페이징(paging) 전화를 통해 듣고 이야기할 수도 있다. 부가적으로, 사용자 원격 모니터링 사이트의 사람들은 그 사용자를 위하여 구급차 또는 다른 도움을 급파할 수도 있다.Some known user monitoring systems are characterized by an immediate response. In a conventional system, if a user can't get up and fall, the user may press a button on a small radio frequency transmitter. Such a radio frequency transmitter may be worn by a user. For example, radio frequency transmitters may be worn on necklaces or key packs for convenience and to ensure availability when needed. Pressing a button activates a device in the user's home that makes a phone call to the user's remote monitoring site. People at remote monitoring sites may hear and talk through paging phones to communicate with the user. In addition, people at a user remote monitoring site may dispatch an ambulance or other assistance for that user.
투약 준수를 강화하고 준수 정도를 모니터하도록 설계된 수많은 장치가 존재한다. 종래 기술에서 이용 가능한 장치는, 타이머, 약제 컨테이너, 및 타이머들과 컨테이너의 결합물들을 포함한다. 또한, 종래 기술에서 이용 가능한 장치는, 시한 간격으로 개방되며, 칸막이들이 개방되고 폐쇄될 때까지 비프음(beep)을 내는 다중 칸막이 시한 컨테이너이다. 연구자들에게 이용 가능한 장치는 특정 컨테이너 및 그 컨테이너의 개방 일자와 시간을 기록하는 병마개들을 포함한다. 이러한 정보는, 투약 스케쥴 및 투약량의 준수의 정도를 조정하고 분석하기 위해 컴퓨터에 응용될 수 있는 기계 전환(machine transferable) 형태로 제공된다.There are numerous devices designed to enhance dosage compliance and monitor compliance. Devices available in the prior art include timers, medication containers, and combinations of timers and containers. In addition, a device available in the prior art is a multi-partition timed container that opens at timed intervals and beeps until the compartments are opened and closed. Devices available to researchers include bottle caps that record the specific container and its opening date and time. This information is provided in a machine transferable form that can be applied to a computer to adjust and analyze the degree of compliance with the dosage schedule and dosage.
더욱이, 길고 가늘게 잘려서 발포 비닐 시트로 포장된 약제들을 사용하는 다양한 특수 디스펜서(dispenser)가 이용 가능하다. 이러한 자동 판매기들은 약사들로부터 이용 가능하고, 조정된 시간에 정확한 알약들을 제공하며 다른 종래 기술의 셀프 장전(self-loading) 시한 디스펜서들보다 비용이 덜 드는 투약량 장전 방법을 이용하도록 적응된다. 종래 기술의 시스템은, 특히 로컬 타이머-메모리 시스템 이외에, 분배 스케쥴을 제어하기 위하여 호스트 컴퓨터 시스템을 사용한다. 다른 시스템은 사용자들에 의한 약물의 식별을 돕기 위하여 컬러 코딩된 표지를 사용한다.Moreover, a variety of special dispensers are available that use drugs that are long, thinly cut and packed into foamed vinyl sheets. These vending machines are available from pharmacists, are adapted to provide accurate pills at coordinated time and to use a dosage loading method that is less costly than other prior art self-loading timed dispensers. Prior art systems, in particular in addition to local timer-memory systems, use a host computer system to control the distribution schedule. Other systems use color coded labels to help identify drugs by users.
다양한 가정용 건강 모니터링 시스템들이 종래 기술로서 또한 알려져 있다. 이러한 시스템들은 태아의 심장 박동부터 혈압, 그리고 혈당량에 이르는 건강 상태들에 대한 집안에서의 전자적 모니터링을 제공하는 넓은 범주의 장치들로 분류된다. 이러한 건강 모니터링 시스템들 중 몇몇은, 모니터된 파라미터가 사전설정된 범위를 벗어나면, 로그(log)를 중앙 유닛으로 송신한다. 다른 시스템들은 사용자 의 환경하에서 사전설정된 건강 관련 파라미터들을 모니터한다.Various home health monitoring systems are also known in the art. These systems fall into a broad category of devices that provide electronic monitoring in the home for health conditions ranging from fetal heartbeat to blood pressure and blood glucose levels. Some of these health monitoring systems send a log to the central unit if the monitored parameter is out of a predetermined range. Other systems monitor preset health related parameters under the user's environment.
본 발명은, 다른 레벨의 모니터링 또는 감독을 요구하는 사용자들을 위해 일상 생활의 선택된 활동들을 모니터하고, 그 활동들에 개입하기 위한 사용자 모니터링 시스템을 포함한다. 사용자 모니터링 시스템은 네 개의 기본적인 이벤트 영역(domain)을 모니터하고 그와 관련하는 개입들을 제공한다. 이러한 이벤트 영역들은 (1) 집 주변을 이동, (2) 사용자의 투약 준수, (3) 스토브(stove)들 또는 다른 잠재적으로 위험한 장치들의 사용에 따른 문제점들, 그리고 (4) 선택된 보조 장치 제어에 관한 영역들이다. 각각의 이벤트 영역은 사용자 모니터링 시스템의 검출 서브시스템에 대응한다. 각각의 검출 서브시스템은, 서브시스템 센서들로부터 송신되고 사용자 모니터링 시스템 내의 시스템 제어기 장치에 의해 수신되는 무선 주파수 신호들에 의해 사용자 모니터링 시스템과 링크된다. 일상 생활의 선택된 활동들을 모니터링함으로써 획득된 정보를 이용하여 국지적으로 결정하는 것 이외에, 사용자 모니터링 시스템은 추가의 분석과 개입을 위해 원격 케이스 관리 모니터링 시스템에 대하여, 모니터링된 모든 이벤트 영역들 및 개입 활동과 관련한 데이터를 생산, 저장 및 송신한다. 원격 케이스 관리 모니터링 시스템은, 다양한 형태 및 정도의 개입에 관해서 결정하기 위하여 지식 베이스(knowledge base) 및 추론 발생기(inference generator)를 이용할 수도 있다. 사용자 모니터링 시스템은, 사용자가 약물을 투약하도록 리마인더(reminder)를 제공할 수도 있다. 개입과 데 이터 기록을 결정하는 이벤트 파라미터들의 근거리 및 원격 재프로그래밍이 제공된다. 사용자 모니터링 시스템은 스토브 및 다른 전자 제품들의 제어 셧다운(controlled shutdown)을 수행할 수도 있을 뿐만 아니라 가능한 비상 상태의 이벤트에서 원격 모니터링 사이트를 호출할 수도 있다. 문제 발생의 이벤트 로그들을 포함할 수도 있는 월별 케이스 모니터링 보고서들을 위한 데이터가 제공되어 장해들의 단면적이면서 장기간적인 경향의 분석을 가능하게 할 수도 있다. 이는, 부가적인 접촉 및 개입을 결정하는 케이스 관리 결정들을 위한 기본이 될 수도 있다.The present invention includes a user monitoring system for monitoring and intervening selected activities of daily life for users requiring different levels of monitoring or supervision. The user monitoring system monitors four basic event domains and provides the associated interventions. These event areas include (1) movement around the home, (2) user compliance with medications, (3) problems with the use of stoves or other potentially hazardous devices, and (4) control of selected assistive devices. Areas of concern. Each event area corresponds to a detection subsystem of the user monitoring system. Each detection subsystem is linked with the user monitoring system by radio frequency signals transmitted from the subsystem sensors and received by the system controller device in the user monitoring system. In addition to making local decisions using information obtained by monitoring selected activities of daily life, the user monitoring system is configured with the remote case management monitoring system, with all monitored event areas and intervention activities, for further analysis and intervention. Produce, store and transmit relevant data. The remote case management monitoring system may use a knowledge base and an inference generator to make decisions about various forms and degrees of intervention. The user monitoring system may provide a reminder for the user to administer the drug. Near and remote reprogramming of event parameters to determine intervention and data logging is provided. The user monitoring system may not only perform a controlled shutdown of stoves and other electronics, but may also call a remote monitoring site in the event of a possible emergency. Data for monthly case monitoring reports, which may include event logs of problem occurrences, may be provided to enable cross-sectional and long-term trending of failures. This may be the basis for case management decisions to determine additional contact and intervention.
사용자 생활 영역에서 사용자를 모니터하기 위한 시스템이 제공된다. 시스템은 시스템 제어기 및 활동 검출 서브시스템을 포함한다. 활동 검출 서브시스템은 사용자의 일상 생활 활동을 모니터하고, 일상 생활 활동을 나타내는 정보를 시스템 제어기에 제공한다. 시스템 제어기는 활동 검출 서브시스템에 의해 획득된 일상 생활 활동 정보에 응답하여 제어 신호를 생성하는 제어 회로를 포함한다. 시스템 제어기로부터의 제어 정보는 제어 정보 통신 채널을 경유하여 활동 검출 서브시스템 및 원격 모니터링 사이트에 제공된다.A system for monitoring a user in a user living area is provided. The system includes a system controller and an activity detection subsystem. The activity detection subsystem monitors the user's daily activities and provides information to the system controller indicative of the daily activities. The system controller includes control circuitry that generates a control signal in response to the daily living activity information obtained by the activity detection subsystem. Control information from the system controller is provided to the activity detection subsystem and the remote monitoring site via the control information communication channel.
본 발명은 개인들, 특히 독립적인 생활을 유지하는데 있어서 장애인들을 돕기 위해 집안에서의 모니터링 및 개입(intervention)을 제공하기 위한 시스템을 제공한다.The present invention provides a system for providing monitoring and intervention in the home to assist individuals, particularly those with disabilities in maintaining independent living.
전술한 요약뿐만 아니라 본 발명의 바람직한 실시예들에 대한 후술될 상세한 설명은 첨부된 도면들과 함께 읽을 때 좀더 충분하게 이해될 것이다. 본 발명을 설명하기 위하여, 바람직한 실시예들을 도면들에 나타낸다. 그러나, 본 발명은 도시된 정밀한 구성 및 수단에 한정되지 않음을 이해해야 한다.The following detailed description of the preferred embodiments of the present invention as well as the foregoing summary will be more fully understood when read in conjunction with the accompanying drawings. In order to explain the invention, preferred embodiments are shown in the drawings. However, it should be understood that the present invention is not limited to the precise configuration and means shown.
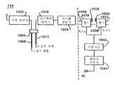
도면들은 전체적으로 동일한 구성 요소들을 나타내기 위해 동일한 참조 번호들을 사용하고 있는데, 이 도면들을 참조하면, 우선 도 1은 본 발명의 바람직한 실시예에 따른 사용자 모니터링 시스템(100)의 블록도를 나타낸다. 모니터링 시스템은 노약자나 장애인 등을 시간적으로 단기간 혹은 장기간 모니터하여 돕기 위해 이용될 수도 있다. 사용자 모니터링 시스템(100)은, 다수의 활동 검출 서브시스템(112~128)내에 제공되는 다양한 센서들과 링크된 마이크로프로세서 기반의 시스템 제어기 장치(110)를 포함한다. 활동 검출 서브시스템들(112~128)은 모니터링 시스템(100) 사용자의 다양한 일상 생활 활동을 모니터하도록 적응된다. 또한, 모니터되고 있는 사용자 생활 영역 내에 배치되는 집안에서의 전화기(132) 및 외부의 전화선(144)이 포함된다.The figures use like reference numerals to refer to like elements throughout, referring to these figures firstly FIG. 1 shows a block diagram of a
임의의 수의 일상 생활 활동 검출 서브시스템들이 본 발명의 사용자 모니터링 시스템(100) 내에 제공될 수 있다. 일 실시예에 제공된 검출 서브시스템들은 이동 검출 서브시스템(112), 투약 자동 관리 검출 서브시스템(116), 및 스토브 안전 검출 서브시스템(120)을 포함할 수도 있다. 그러나, 다른 형태의 모니터들을 이용하여 일상 생활의 다른 어떤 활동들을 사용자 모니터링 시스템(100)내에서 감지 및 검출할 수도 있음을 이해하게 될 것이다. 부가적으로, 사용자 모니터링 시 스템(100)은 전화선(144)을 경유하여 컴퓨터 기반의 케이스 모니터링 시스템(148)과 연결될 수도 있다. 정규적인 간병인들 및 비정규적인 간병인들은, 케이스 모니터링 시스템(148)으로 송신된 데이터를 이용하여 단기간 및 장기간 개입이 요구되는지를 결정하기 위한 정보를 제공받을 수도 있다. 전화선(144) 또는 쌍방향 텔레비전 이외에, 시스템(148)으로 메시지들을 송신하는 어떤 방법이 사용될 수도 있음을 이해하게 될 것이다. 예를 들어, 메시지들은 애드온(add-on) 광섬유 케이블 박스 또는 휴대용 송신기에 의해 송신될 수도 있다.Any number of everyday activity detection subsystems may be provided within the
사용자 모니터링 시스템(100)은 24시간을 기본으로 하는 사전설정된 시간에 수많은 다수의 결정을 하기 위하여 서로 다른 활동 영역들로부터의 센서 데이터를 통합한다. 사용자 모니터링 시스템(100)내 하나의 활동 영역 결정은 모니터되고 있는 사람의 이동을 포함한다. 이러한 이동 영역에 있어서, 사용자가 일어나서 돌아다니고 있는지에 대한 결정들은 이동 검출 서브시스템(112)에 의해 이루어진다. 이동 검출 서브시스템(112)에 의한 이러한 결정으로부터 발생되는 검출 정보는 시스템 제어기 장치(110)로 송신된다.The
사용자 모니터링 시스템(100)내 다른 활동 영역 결정은 투약 자동 관리의 결정이다. 이러한 활동 영역에 있어서, 사용자가 사전설정된 투약 처방을 따르고 있는지에 대한 결정들이 이루어진다. 이러한 결정은 사용자 모니터링 시스템(100)의 투약 자동 관리 검출 서브시스템(116)에 의해 이루어진다. 투약 자동 관리 시스템(116)에 의한 이러한 결정으로부터 발생되는 검출 정보는 시스템 제어기 장치(110)로 또한 송신된다.Another activity area decision in the
스토브 사용은 사용자 모니터링 시스템(100)에 의해 모니터되는 다른 활동 영역이다. 이러한 활동 영역에 있어서, 스토브가 부적절하게 놓여있는지에 대한 결정들이 이루어진다. 이러한 결정에 따른 검출 정보는 시스템 제어기 장치(110)로 송신된다. 이러한 결정은, 검출 서브시스템(120)에 의해 모니터되고 있는 스토브가 가스 스토브인지 아니면 전기 스토브인지에 따라 스토브 안전 검출 서브시스템(120)의 서도 다른 실시예들에 의해 이루어질 수도 있다.Stove usage is another area of activity monitored by the
사용자 모니터링 시스템(100)의 바람직한 실시예에 있어서, 하나 또는 그 이상의 보조 시스템 서브시스템(128)을 이용하여 다른 지정된 전자 제품들을 또한 모니터 및 제어할 수 있다. 이러한 보조 시스템들은, 예를 들어 철 또는 전기 실내 히터들과 같은 잠재적으로 위험한 전자 제품들을 포함할 수도 있다. 시스템 제어기 장치(110)는 검출 서브시스템(116,128)의 결정을 나타내는 검출 정보를 또한 수신한다.In a preferred embodiment of the
도 2를 참조하면, 사용자 모니터링 시스템(100)의 시스템 제어기 장치(110)의 상세 블록도가 도시되어 있다. 시스템 제어기 장치(110)는 컴퓨터(208) 및 무선 주파수 다중채널 수신기(212)를 포함한다. 컴퓨터(208)는 C++ 또는 기능적으로 유사한 임의의 오브젝트 코드를 실행할 수 있는 임의의 유형의 컴퓨터일 수 있다. 무선 주파수 수신기(212)의 다수의 채널을 시스템 제어기 장치(110) 내에 제공하여, 다수의 검출 서브시스템(112-128) 내에 제공된 검출 시스템 안테나를 통해 다수의 검출 서브시스템(112-128)으로부터 송신되는 무선 주파수 신호를 수신한다. 검출기의 수를 수용하는데 요구되는 정보 채널의 수가 시스템(100) 내에 충분히 제 공되어야 한다는 것이 이해될 것이다. 이러한 통신 채널들은 예를 들어, 무선 주파수 수신기(212) 내의 다수의 무선 주파수 채널에 의해 제공될 수 있다.2, a detailed block diagram of a
따라서, 무선 주파수 수신기(212)의 다수의 채널은 모니터링 시스템(100) 내의 검출 정보를 수신하는 검출 정보 채널 역할을 하게 된다. 그러나, 임의의 정보 채널 또는 정보 콘딧(conduit) 또는 정보를 인가하는 수단을 사용하여 검출 서브시스템(112-128)으로부터의 정보를 시스템 제어기(110)에 인가할 수 있다. 또한, 시스템 제어기 장치(110)에 AC 전원선 송신기(202)가 제공되어 제어 신호를 다수의 검출 서브시스템(112-128)과 원격 모니터링 사이트(148)로 인가한다. 부가적으로, 시스템 제어기 모뎀(204), 및 전화기 인터페이싱 회로(202)가 시스템 제어기(110) 내에 제공된다.Thus, multiple channels of the
사용자 모니터링 시스템(100)의 바람직한 실시예에서, 시스템 제어기 장치(110)에 음성 데이터 저장 장치(210)가 또한 제공될 수 있다. 음성 데이터 저장 장치(210)를 사용자 모니터링 시스템(100) 내에서 사용하여 소정 시간에 모니터링되고 있는 사용자에게 제공될 수 있는 다양한 오디오 리마인더 및 질의 메시지를 저장할 수 있다.In a preferred embodiment of the
사용자 모니터링 시스템(100)의 시스템 제어기 장치(110)의 전원 공급 장치는 배터리 백업을 갖춘 잘 조정된 배터리(well regulated battery)를 포함하여 사용자 모니터링 시스템(100)에 저장된 가치있는 사용자 데이터의 손실을 방지할 수 있다. 시스템 제어기 장치(110)의 무선 주파수 다중채널 수신기(212)는 다수의 서브시스템 채널들 간의 간섭 및 외부 소스로부터의 간섭을 방지하는 적당한 간섭방 지 기술을 구비한 종래의 다중채널 무선 주파수 장치이다. 간섭방지 기술은, 예를 들면, 브로드(broad) 스펙트럼 변조일 수 있다.The power supply of the
시스템 제어기 장치(110)의 바람직한 실시예에서, 무선 주파수 수신기(212)는 펄스 무선 주파수 장치(pulsed radio frequency device)일 수 있다. 시스템 제어기 장치(110)의 전원선 송신기(202)는 제어된 가전기기를 턴 온하고 턴 오프하는 종래의 시스템이다. 사용자 모니터링 시스템(100)의 바람직한 실시예에서, 이러한 제어는 당업자가 이해하는 바와 같이 사용자의 생활 영역의 AC 라인을 통해 펄스 무선 주파수 신호를 송신함으로써 이루어질 수 있다. 시스템 제어기(110)에 의해 제어 신호를 검출 서브시스템(112-128)으로 인가하기 위한 제어 정보 채널의 임의의 요구되는 수를 제공하기 위해서는, 상이한 검출 서브시스템에 의해 디코딩될 수 있는 상이한 펄스 신호를 사용하는 것이 효과적이다. 그러나, 임의의 적당한 정보 채널을 사용하여 제어 정보를 시스템 제어기 장치(110)로부터 다수의 검출 서브시스템(112-128)으로 송신할 수 있다는 것이 이해될 것이다.In a preferred embodiment of the
시스템 제어기 장치(110)의 제어기 모뎀(204)은 공지된 입중계 및 출중계 모뎀 프로토콜을 제공할 수 있는 종래의 모뎀일 수 있다. 제어기 모뎀(204)의 출중계 프로토콜은 시스템 제어기 장치(110)로부터 케이스 모니터링 사이트(148)로 또는 다른 위치로 전화선(144)을 통해 데이터를 송신하기 위해 사용될 수 있다. 시스템 제어기 모뎀(204)의 입중계 프로토콜은 사용자 모니터링 시스템(100)의 다양한 모니터링 및 개입 파라미터를 재프로그래밍하기 위해 사용될 수 있다. 재프로그래밍은 제어기 모뎀(204)을 통하여 원격 케이스 모니터링 사이트(148)에 의하거 나 시스템 제어기 장치(110)로 직접 수행될 수 있다. 부가적으로, 입중계 프로토콜은 사용자 모니터링 시스템(100)과의 임의의 유형의 통신을 위해 사용될 수 있다.The
시스템 제어기 장치(110)의 로컬 전화 인터페이스 회로(206)는 사용자 모니터링 시스템(100) 내에 몇가지 기능을 제공한다. 이것은 전화선(144)을 통해 사용자 모니터링 시스템(100)에 수신된 입중계 호출을 가정내의 전화기(132)에 송신한다. 전화기 인터페이스 장치(206)는 또한 음성 데이터 저장 장치(210)로부터 동기된 음성 메시지 뿐만 아니라 울림(ringing) 전압을 가정내의 전화기(132)에 커맨드로 접속하여 가정내의 전화기(132)를 통해 사용자에게 메시지를 제공한다. 그것은 또한 가정내의 전화기(132) 상태에 관하여 몇가지 결정을 한다. 예를 들면, 가정내의 전화기(132)가 통화중일 때, 가정내의 전화기(132)가 통화중이 아닐 때 및 가정내의 전화기(132) 상의 번호 하나가 눌려졌는지에 대하여 로컬 전화기 인터페이스 회로(206)에 의해 결정될 수 있다.The local
사용자 모니터링 시스템(100)은 가정 모드(home mode) 및 출타 모드(away mode)에서 동작한다. 사용자 모니터링 시스템(100)의 출타 모드는 사용자 가정의 편리한 위치에 위치된 전용 출타 스위치(도시 생략)를 누름으로써 선택될 수 있다. 부가적으로, 사용자 모니터링 시스템(100)의 출타 모드는 케이스 관리 모니터링 호스트 사이트(148)로부터 원격적으로 설정될 수 있다. 사용자 모니터링 시스템(100)의 가정 모드는, 예를 들면, 사용자가 가정에 돌아왔을 때 문을 여는 것에 의해 수동적으로 설정될 수 있다.The
시스템 제어기 장치(110)의 바람직한 실시예에서, 재프로그래밍가능한 마이크로프로세서는 검출 정보를 수신하고, 여기에 설명된 바와 같이 결정하여 제어 정보를 제공한다. 그러나, 여기에 설명된 동작을 수행할 수 있는 임의의 유형의 제어회로를 사용자 모니터링 시스템(100) 내에 사용할 수 있다는 것을 당업자는 이해할 수 있을 것이다.In a preferred embodiment of the
도 3을 참조하면, 사용자 모니터링 시스템(100)의 이동 활동 검출 서브시스템(112)의 바람직한 실시예의 블록도가 도시되어 있다. 사용자 모니터링 시스템(100) 내에서, 이동 활동 검출 서브시스템(112)에 의해 감지된 이동은 모니터링되고 있는 사용자가 일어나서 돌아다니고 있다는 것을 나타낸다고 가정한다.Referring to FIG. 3, a block diagram of a preferred embodiment of the mobile
이동 검출 서브시스템(112)의 구성은 사용자 모니터링 시스템(100)에 의해 모니터링되고 있는 상이한 생활 영역에 따라 변경할 수 있다. 그러나, 일반적으로, 이동 검출 서브시스템(112)은 사용자의 가정 내에 서로 이격되어 위치된 움직임 센서(motion sensor)(304)와 같은 적어도 하나 그리고, 바람직하게는, 몇개의 움직임 센서 또는 센서 검출기(308)와 같은 문을 여는 종래의 리드(reed) 스위치를 포함한다. 움직임 센서(304) 및 리드 스위치(308)를 제공하여 사용자 모니터링 시스템(100)에 의해 모니터링되고 있는 생활 영역 내에 이동 또는 활동이 있는지를 결정하게 된다.The configuration of the
검출 서브시스템(112)의 가장 기본적인 실시예에서는 단지 단일 움직임 센서(304)가 제공될 수 있다. 이 경우에, 단일 움직임 센서(304)는 바람직하게는 사용자의 침대와 욕실 사이에 위치된다. 단지 하나의 리드 스위치가 이동 검출 서브 시스템(112) 내에 제공되는 경우에, 욕실의 문에 위치시키는 것이 바람직하다. 이동 검출 서브시스템(112)의 그러한 기본 구성은 모니터링되고 있는 사용자가 침대를 벗어났거나 소정 시간 이후에 욕실로 갔는지를 결정하는데 유효하다.In the most basic embodiment of the
움직임 센서(304) 또는 문 열림 센서(308)에 의해 활동이 감지되는 경우에, 움직임 검출 서브시스템(112)의 움직임 송신기(motion transmitter)(306)는 움직임 안테나(motion antenna)(302)를 통해 무선 주파수 신호를 송신한다. 사용자의 일상 생활의 활동도를 나타내는 이러한 움직임 신호는 사용자 모니터링 시스템(100)의 시스템 제어기 장치(110)에 의해 수신된다. 따라서, 그것은 검출된 사용자 이동이 사용자 모니터링 시스템(100)에 의해 모니터링되고 있는 가정 내에서 발생하였다는 것을 나타내는 일상 생활 정보의 활동도이다.In case activity is detected by the
유사하게, 종래의 리드 스위치(도시 생략) 또는 문 열림 센서(308) 내의 다른 유형의 스위치에 무선 주파수 문 열림 송신기(312)가 제공된다. 문 열림 송신기(312)는 센서(308)가 적용된 캐비넷 또는 문의 열림을 나타내는 문 열림 신호를 송신한다. 검출 서브시스템(112)에 의해 송신되는 문 열림 신호는 이러한 활동도를 나타내는 무선 주파수 신호이다. 그것은 움직임 검출 안테나(310)를 통해 시스템 제어기 장치(110)로 송신된다.Similarly, a radio frequency door
모니터링되고 있는 거주지가 크거나 복잡하다면, 사용자 모니터링 시스템(100)의 이동 검출 서브시스템(112) 내에 좀 더 정교한 구성의 이동 및 활동 센서(304, 308)를 요구할 수 있다. 그러나, 사용자 모니터링 시스템(100)의 바람직한 실시예에서, 적어도 침대로부터의 이동 및 욕실 안으로 그리고 욕실 밖으로의 이동은 이동 검출 서브시스템(112)에 의해 모니터링되어야 한다. 센서(304, 308) 또는 이 위치에 배치된 다른 센서에 의해 지시되는 사용자의 비활동도의 부적절한 기간은 응급의료 상황을 나타낼 수 있다. 복수의 움직임 센서 또는 리드 스위치와 같은 스위치를 모니터링되고 있는 생활 영역 내의 위치에 위치시킬 수 있고, 이동 검출 시스템(112)과 사용될 수 있는 그러한 장치의 수에는 이론적으로 제한이 없다는 것이 이해될 것이다.If the residence being monitored is large or complex, a more sophisticated configuration of movement and
이동 검출 서브시스템(112)이 가정 모드에서 동작하는 경우, 사용자 모니터링 시스템(100)은 24 시간 순환하게 된다. 이러한 24 시간 순환하는 것은 모니터링되고 있는 사용자의 일반적인 기상 시간에 관한 정보를 포함한다. 움직임 검출 서브시스템(112)의 움직임 센서(304, 308)를 사용하여, 사용자 모니터링 시스템(100)은 사용자가 일반적인 기상 시간을 지나 특정의 긴 시간을 침대에 남아 있거나 또는 소정 시간 기간 동안 침대에서 욕실로 가지 않았는지를 결정한다. 사용자 모니터링 시스템(100)이 이와 같은 것을 사용자 활동도가 없는 비정상이라고 결정한다면, 기상 모니터 상태로 진입할 수 있다.When the
사용자 모니터링 시스템(100)의 기상 모니터 상태에서, 시스템 제어기 장치(110)는 사용자에게 문제가 발생하였는지를 결정하기 위해 전화기(132)를 통해 사용자에게 전화 호출을 신청할 수 있다. 시스템 제어기 장치(110)에 의해 신청된 전화 호출에 응답이 있다면, 사용자는 시스템 제어기 장치(110)에 의해 자극을 받아 가정내의 전화기(132) 상의 소정 키를 누르게 된다. 예를 들면, 사용자는 자극을 받아 번호 일을 나타내는 전화키를 누를 수 있다. 사용자가 시스템 제어기 장 치(110)로부터의 자극에 따른다면, 사용자 모니터링 시스템(100)의 기상 모니터 상태는 완료된다. 시스템 제어기 장치(110)에 의해 요청된 호출에 응답이 없고 사용자 모니터링 시스템(100)이 출타 모드가 아닌 경우이거나, 또는 사용자가 전화에 대답을 하지만 요청 키를 누르지 않은 경우라면, 사용자 모니터링 시스템(100)은 사용자에게 잠재적 문제점이 있다는 것을 나타내는 즉시 상태 보고서(immediate status report)로 케이스 모니터링 사이트(148)를 접촉한다.In the weather monitor state of the
모든 것이 잘 되었다고 가정하면, 사용자 모니터링 시스템(100)의 이동 활동 검출 서브시스템(112)은 단지 시스템(100) 내의 모든 시스템 상태 변경들을 모니터한다. 이것은 이동 및 문의 개폐, 약 사용, 난로 및 가전기기의 사용 및 사용자 모니터링 시스템(100)에 의해 모니터링될 수 있는 임의의 다른 보조 장치를 나타내는 움직임 검출기(304, 308)로부터 정보를 모니터하고 저장하는 것을 포함한다.Assuming everything went well, the mobile
사용자 모니터링 시스템(100)에 의해 검출되는 각각의 상태 변경은 모니터링되고 있는 사용자의 활동을 나타내는 것으로 가정한다. 사용자가 일반적으로 깨어 있는 시간동안 소정 시간을 초과하여 비활동 기간이 검출되는 경우에, 사용자 모니터링 시스템(100)은 기상 모니터 상태로 되돌아 가고 이전에 설명한 바와 같이 사용자에게 전화 호출을 요청한다. 사용자 모니터링 시스템(100)이 기상 모니터 상태로 되돌아가는데 요구되는 비활동 기간은 특정 사용자의 습관에 따라 조정가능하지만 예를 들면 두시간 삼십분일 수 있다.Each state change detected by the
사용자 모니터링 시스템(100)이 출타 모드에 있는 경우, 어떠한 활동도 기록되거나 보고되지 않는다. 그것은 단지, 이전에 설명한 바와 같이, 가정 모드의 능 동 또는 수동 재설정을 기다린다. 사용자 모니터링 시스템(100)의 가정 모드의 능동적 재설정은, 사용자가 임의의 편리한 위치에 장착될 수 있는 전용 가정/출타 스위치를 활성화할 때 발생한다. 사용자 모니터링 시스템(100)의 모드의 수동적 재설정은, 사용자가 임의의 검출 서브시스템(112-128)의 상태를 되돌려서 변경할 때 발생한다.When the
도 4a, 도 4b 및 도 5는, 본 발명의 사용자 모니터링 시스템(100)의 투약 자동 관리 검출 서브시스템(116)의 양호한 실시예의 측면도, 상면도, 개략도를 각각 도시한다. 투약 자동 관리 검출 서브시스템(116)은, 적어도 하나의 투약 컨테이너(medication container)(402)를 대응하는 컨테이너 오프닝(container opening)(406)에 홀딩하기 위한 캐디(caddy) 또는 특정화된 휴대용 홀더인 투약 홀더(404)를 포함한다.4A, 4B, and 5 show side, top, and schematic views, respectively, of a preferred embodiment of the automated medication
투약 검출 서브시스템(116)의 양호한 실시예에서, 복수의 투약 컨테이너(402)는, 모니터링되고 있는 사용자가 이 컨테이너로부터 투약을 제거하지 않았을 때, 휴대용 투약 홀더(404)의 대응하는 컨테이너 오프닝(406) 내에 설치될 수 있다. 투약 홀더(404)내의 컨테이너 오프닝(406) 및 투약 컨테이너(402)는 컬러로 코드화될 수 있다. 이 방법에서, 선택된 투약 컨테이너(402)와 그 컨테이너 오프닝(406)의 컬러는 서로 매칭된다. 이와 같이, 투약 홀더(404)의 각 컨테이너 오프닝(406)에는 매칭되는 컬러화된 표시등(408)이 제공된다. 컬러화된 표시등(408)은 사용자가 제거된 투약 컨테이너(402)를 정확한 컨테이너 오프닝(406)에 반환하는 것을 돕는다.In a preferred embodiment of the
투약 컨테이너(402)가 투약 홀더(404)의 컨테이너 오프닝(406)내에 배치될 때, 투약 컨테이너(402)는 종래의 정상적 오픈 스위치(416)를 닫는다. 투약 컨테이너(402)가 투약 홀더(404)의 오프닝(406)으로부터 제거되면, 그것이 열리도록 정상적 오픈 스위치(416)를 해제한다. 투약 홀더(404)내의 스위치(416)가 투약 컨테이너(402)에 의해 이러한 방식으로 열리거나 닫힐 때, 무선 주파수 투약 송신기(424)가 활성화된다. 이러한 방식으로, 투약 자동 관리 검출 시스템(116)은 시스템 제어기 장치(110)와 이러한 일상 생활 활동 정보에 대해서 통신한다.When the
스위치(416)에 의해 활성화될 때, 투약 송신기(424)에 의해 제공되는 무선 주파수 신호는 펄스 코더(420)에 의해 펄스 코드 변조된다. 펄스 코더(420)의 변조는, 투약 홀더(404) 내의 어떤 스위치(416)가 열려있는지에 따라서, 일련의 서로 다른 방식으로 수행된다. 투약 송신기(424)로부터 선택된 펄스 코드화된 신호가, 사용자 모니터링 시스템(100)의 시스템 제어기 장치(110)에 의해 수신되고, 디코드되고, 저장된다.When activated by the
투약 컨테이너(402)가 투약 홀더(404)로부터 제거되는 동안, 매칭되는 컬러화된 표시등(408)은 활성화된다. 이는, 투약 홀더(404)로부터 제거된 투약 컨테이너(402)의 컬러 코드가 전술한 바와 같이 표시되도록 한다. 투약 컨테이너(402)가 투약 홀더(404)의 오프닝(406)에 배치되고, 송신기(424)가 대응하는 펄스 코드 변조된 신호를 송신하도록 활성화되면, 컬러화된 표시등(408)은 턴 오프되고, 투약 송신기(424)로부터 시스템 제어기 장치(110)로의 송신이 종료된다. 이 투약 송신기(424)에 의한 송신의 종료는, 투약 컨테이너(402)가 투약 홀더(404)내의 오프 닝(406)에 반환되었다는 것을 시스템 제어기 장치(110)에 알려준다.While the
임의의 수의 투약 오프닝(406)이 투약 자동 관리 검출 서브시스템(116)의 컨테이너 홀더(404)내에 제공될 수 있다는 것을 당업자들은 이해할 것이다. 그러나, 현재 연구에 의하면, 사용자 모니터링 시스템(100)의 대다수 사용자의 일상 투약 관리에 대한 요구는, 도면의 간단성을 위해 3개만이 도시되었지만, 8개의 투약 오프닝(406)과, 8개의 대응하는 투약 컨테이너(402)에 의해 충족될 수 있다고 생각한다. 또한, 컨테이너 홀더(404)의 오프닝(406) 및 투약 컨테이너(402)에는, 정확한 투약 컨테이너(402)만이 투약 홀더(404)의 오프닝(406)에 배치되도록 하는 중요한 특성이 제공될 수 있다는 것을 이해할 것이다.Those skilled in the art will appreciate that any number of
투약 자동 관리 검출 시스템(116)의 양호한 실시예의 다양한 특성들이 상술되었지만, 투약 홀더 및 디스펜서의 다양한 배치가 사용될 수 있다는 것을 주지해야 한다. 예를 들어, 투약 홀더(404)내의 투약은 이 투약이 이루어진 날의 시간에 따라서 조직화될 수 있다. 이러한 유형의 조직화에서, 동일한 시간에서 이루어진 투약은 투약 홀더(404) 내의 단일 구획에 함께 적재될 수 있다. 복수의 이러한 구획들은 투약 자동 관리 검출 시스템(116) 내에 제공될 수 있다. 이러한 구획의 개폐는, 투약 홀더(404)의 오프닝으로부터의 투약 컨테이너(402)의 제거를 모니터하는 것에 대해 전술한 바와 실질적으로 동일한 방식으로, 투약 자동 관리 검출 시스템(116)에 의해 모니터링될 수 있다.Although various features of the preferred embodiment of the automated
전술한 바와 같이, 투약 송신기(424)로부터 시스템 제어기 장치(110)로의 펄스화된 송신은, 상이한 복수의 투약 컨테이너(402)에 대응하는 상이한 복수의 코드 를 운반한다. 각 펄스 코드는 개별 투약 컨테이너(402)에 대응하고, 그 대응하는 컨테이너(402)가 투약 홀더(404)로부터 현재 제거된다는 것을 나타낸다.As mentioned above, the pulsed transmission from the
사용자 모니터링 시스템(100)의 시스템 제어기 장치(110)는, 이러한 송신에 따라서 투약 홀더(404) 내의 각 투약 컨테이너(402)의 제거 및 배치 시간을 기록하도록 프로그램된다. 또한, 투약 홀더(404)로부터 각 투약 컨테이너(402)를 계획적으로 정시에 제거하는 것을 결정하도록 프로그램된다. 투약 자동 관리 검출 시스템(116)으로부터의 송신에 따른 이러한 결정을 나타내는 컴플라이언스(compliance) 데이터는 개입 결정을 위해 케이스 모니터링 사이트(148)로 전송될 수 있다.The
사용자 모니터링 시스템(100)의 시스템 제어기 장치(110)는, 사용자 컴플라이언스가 계획된 처방계획에 따르지 않을 때를 결정하도록 프로그램될 수 있다. 선택된 시간 기간 후에, 예를 들어, 30분 후에, 사용자의 컴플라이언스없이, 음성 데이터 저장 장치(224)로부터의 음성 데이터가, 사용자에게 투약하는 것을 상기시키도록 제어기 장치(110)에 의해 가정내의 전화기(132)에 인가될 수 있다. 시스템 제어기 장치(110)는, 사용자가 밖에서 돌아온 후에 투약과 관련하여 사용자에게 일반적 및 특정한 리마인더와 질의들을 또한 제공할 수 있다. 이러한 리마인더 및 질의들은 전체 투약에 대해서, 또는 특정 투약에 대해서 이루어질 수 있다. 시스템 제어기 장치(110)는 투약을 하도록 특정 시간에 계획된 리마인더를 또한 제공할 수 있다.The
도 6 및 도 7은, 스토브 안전 검출 서브시스템(120)의 두 실시예, 즉, 가스 스토브 안전 검출 서브시스템(600) 및 전기 스토브 안전 검출 서브시스템(700)을 도시한다. 도 6 및 도 7의 스토브 안전 검출 시스템(600, 700)은, 가스 스토브 및 전기 스토브 각각을 모니터하고 제어하도록 적용되는 양호한 대체예이다.6 and 7 illustrate two embodiments of the stove
사용자 모니터링 시스템(100)의 스토브 안전 검출 서브시스템(600, 700)은, 모니터링되는 스토브가 턴 온 될 때를 결정하는 적절한 스토브 사용 센서(stove-in-use sensor)를 각각 포함한다. 각 스토브 안전 검출 서브시스템(600, 700)은 또한, 모니터링되는 스토브를 턴 오프하고, 사용자를 보호하도록, AC 라인을 통해서 시스템 제어기 장치(110)로부터 무선 주파수 송신을 수신하기 위한 적절한 셧-오프 수신기(shut-off receiver)를 포함한다. 스토브 안전 검출 서브시스템(600, 700)의 스토브 사용 센서는, 모니터링되는 스토브가 현재 켜져 있는지에 대해서, 사용자 모니터링 시스템(100)의 시스템 제어기 장치(110)로 지속적으로 정보를 제공한다.Stove
가스 스토브 안전 검출 서브시스템(600)의 스토브 사용 센서(604)는 가스 흐름 모니터(604)이다. 가스 흐름 모니터(604)는, 가스선(602)을 통해 가스 스토브(610)로 공급되는 가스를 모니터하기 위해, 가스 스토브(610)로 가스를 공급하는 가스선(602)에 배치된다. 가스 흐름 모니터(604)로부터의 가스 흐름 정보는 펄스 코더(612)에 의해 펄스 코드화된다. 펄스 코더(612)로부터의 코드화된 신호는 가스 스토브 안테나(616)를 통해서 가스 스토브 송신기(620)에 의해 시스템 제어기 장치(110)로 전송된다.The
시스템 제어기 장치(110)는, 가스 스토브(610)가 가스 흐름 모니터(604)로부터의 코드화된 정보에 따라서 셧 오프되어야만 하는지를 결정한다. 이 결정이 시 스템 제어기 장치에 의해 이루어진다면, 시스템 제어기 장치는 AC 라인(630)을 통해서 제어 신호를 가스 스토브 안전 검출 서브시스템(600)으로 인가한다. 시스템 제어기 장치(110)로부터 가스 스토브 검출 시스템(600)으로의 제어 신호가 생성되어, 전술한 바와 같이 AC 전원선 송신기(202)를 통해서 전송된다. 이 제어 신호는 가스 스토브 안전 검출 서브시스템(600)의 제어기 수신기(628)에 의해 수신된다. 제어기 수신기(628)는, 스텝 다운 회로(step down circuit)(624)를 통해 가스 차단 밸브(608)에 제어 신호에 따라서 가스선(602)을 통한 가스 스토브(610)로의 가스 흐름을 종료하도록 지시한다. 이는 가스 스토브(610)를 턴 오프한다.
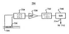
사용자 모니터링 시스템(100)이 전기 스토브(710)를 모니터링할 때, 전류 드로(current draw) 모니터링 장치(704)는 전기 스토브 안전 검출 시스템(700)과 함께 사용하기 위해 제공된다. 전류 모니터링 장치(704)는 전기 스토브(710)에 전원을 공급하는 AC 전원선(706)에 적용된다. AC 전원선(706)을 모니터링함으로써, 검출 서브시스템(700)은 전기 스토브(710)의 버너의 온/오프 상태를 나타낼 수 있다. 온/오프 상태 정보는 펄스 코더(712)에 의해 코드화되고, 안테나(716)를 통해서 시스템 제어기 장치(110)로 전기 스토브 송신기(720)에 의해 전송된다.When the
시스템 제어기 장치(110)는, 가스 스토브 안전 검출 시스템(600)에 대하여 전술한 바와 같이 전류 드로 모니터(704)로부터 코딩된 정보에 따라 전기 스토브(710)가 셧오프되어야 하는 것을 결정할 수 있다. 전기 스토브(710)가 셧오프되면, 시스템 제어기 장치(110)는 제어 신호를 AC 라인(30)에 의해 전기 스토브 안전 검출 서브시스템(700)에 인가한다. 이 신호는 전기 스토브 안전 검출 서브시스 템(700)의 제어기 수신기(728)에 의해 수신된다. 제어기 수신기(728)는 전원선(702)을 통해 전기 스토브(710)로의 전기를 인터럽트할 것을 전기적 트립 릴레이(trip relay)(708)에 지시한다. 이것은 전기 스토브(710)를 턴오프시킨다.The
스토브 안전 검출 서브시스템(600, 700)이, 스토브가 켜져있음을 가리키는 정보를 제공하면, 스토브(610, 710)가 턴오프되어야 하는지를 결정하기 위해 소정의 셧다운 제어 알고리즘이 뒤따르게 된다. 이러한 소정의 제어 알고리즘은 사용자 모니터링 시스템(100)의 시스템 제어기 장치(110) 내에서 수행된다. 사용자 모니터링 시스템(100)의 바람직한 실시예에서, 이 알고리즘은 이동 검출 서브시스템(112) 및 스토브 안전 검출 관리 서브시스템(600, 700)으로부터 송신된 코딩된 정보에 대해 다음과 같은 방식으로 동작하지만, 필요하다면 다른 알고리즘을 이용할 수도 있다.When the stove
(30분동안 이동이 없으면) 또는 (출타 모드 상태) 및 스토브-온 상태이면, (스토브 리마인더로 호출)(No movement for 30 minutes) or (when in run mode) and when the stove is on, (called by the stove reminder)
(호출에 대한 응답이 없으면), 셧다운을 개시 및 이벤트 기록. (호출에 응답하여 1이 눌러지면), 셧다운을 무효로 함Initiate shutdown and log events (if there is no response to the call). (If 1 is pressed in response to a call), disables shutdown
(스토브 온 상태) 및 (연기 검출기 트립)이면, 셧다운 개시 및 이벤트 기록Shutdown initiation and event recording when (stove on) and (smoke detector trip)
(스토브가 [X]분동안 온 상태이면), 자동 전화 메시지로 원격 사이트 호스트에게 경고: "당신의 스토브가 온 상태입니다. 온 상태를 원하십니까? 원한다면 1번, 아니면 오프될 것입니다." 전화 메시지에 응답하여 1을 눌러 셧다운 시퀀스를 무효로 함(If stove is on for [X] minutes), alert remote site host with an automatic phone message: "Your stove is on. Do you want it on? 1 if you want it, or it will be off." In response to a telephone message,
또한, 관리 서브시스템(600, 700)은 무선 주파수 송신기(620, 720)에 연결된 연기 검출기 센서 장치(632, 732)를 포함할 수 있다. 연기 검출 센서 장치(632, 732)는, 센서 장치(632, 732)에 의해 연기가 검출될 때 연기 검출 제어 신호를 제공하는데 효율적인 서브시스템 스위칭 회로(도시하지 않음)를 포함하도록 수정된 표준 광학 연기 검출기이어도 된다. 연기 검출 서브시스템의 무선 주파수 송신기(620, 720)는, 당업자가 충분히 이해할 수 있는 방식으로 연기 검출 센서 장치(632, 732)의 시스템 스위칭 회로에 연결된다.The
센서 장치(632, 732)가 사용자 집안의 연기를 검출하면, 종래의 방식으로 화재 경고음을 발생한다. 또한, 센서 장치(632, 732)에 의한 연기 검출로, 각 연기 검출 송신기(620, 720)를 활성화하는 서브시스템 스위칭 회로가 활성화된다. 이에 응답하여, 연기 검출 송신기(620, 720)는 안테나(616)를 통해 펄스화 무선 주파수 제어 신호를 제공한다. 이 제어 신호는 사용자 모니터링 시스템(100)의 시스템 제어기 장치(100)에 정보를 전달한다. 이러한 방식으로 서브시스템(600, 700)에 의해 송신되는 정보는, 시스템 제어기 장치(100)에 센서 장치(632, 732)에 의해 연기가 검출되었음을 가리킨다. 또한, 서브시브템(600, 700) 내에서 두 개 이상의 센서 장치(632, 732)가 사용되면 어느 특정 센서 장치가 트리거되는지를 가리킬 수 있다.When
도 8을 참조하면, 전기 스토브 검출 서브시스템(700)의 전류 드로 모니터(704)가 보다 상세히 도시되어 있다. 전류 드로 모니터(704)는, 전기 에너지를 전기 스토브(710)에 공급하는 전기 공급선(706) 주위에 배치된 수동 클램프 코 일(730)을 포함할 수 있다. 따라서, 전기 공급선(706)에 의해 스토브(710)에 인가되는 전류로부터 발생하는 전자기계는 수동 클램프 코일(730) 내에 전류를 유도한다. 수동 클램프 코일(730) 내에 유도된 전류는, 브리지 정류기(734)에 의해 정류되고, 증폭기(738)에 의해 증폭되며, 다이오드 스위치(742)에 인가될 수 있다. 이후, 다이오드 스위치(742)는 실리콘 제어 레귤레이터(746)의 게이트를 제어하여 펄스 코더(712)에 에너지를 공급할 수 있다.Referring to FIG. 8, the current draw monitor 704 of the electric
수동 클램프 코일에 유도된 전류가, 스토브(710)의 온/오프 상태를 시스템 제어기에게 가리키는 펄스화 무선 주파수 신호를 제어하는데 적절한 설계의 전자 스위치를 토글(toggle)하는데 사용된다면, 수동 클램프 코일(730)에 전류를 유도하는 전기 공급선에 의해 스토브에 인가되는 전류로부터 발생하는 전자기계를 검출하는 임의의 방법을 이용할 수 있다는 것을 이해할 것이다. 또한, 당업자는, 스토브(710)의 상태를 결정하는 다른 임의의 수단에 의해 펄스 코드(710)가 제어될 수 있다는 것을 이해할 것이다.If the current induced in the passive clamp coil is used to toggle an electronic switch of a design suitable for controlling a pulsed radio frequency signal indicating the on / off state of the
도 9를 참조하면, 사용자 모니터링 시스템(100)의 물 넘침(water overflow) 검출 서브시스템(124)의 바람직한 실시예가 도시되어 있다. 물 넘침 검출 서브시스템(124)은, 사용자 모니터링 시스템(100)에 의해 모니터링되고 있는 사용자 집안의 싱크대 및 욕조와 같은 수도 설비 상에 설치될 수 있다. 물 넘침 검출 서브시스템(124)내에서, 수위(water level) 감지 장치(1004) 및 원격 제어 셧오프 장치(1030)는, 사용자 모니터링 시스템(100)의 시스템 제어기 장치(110)와 통신가능하게 제공된다.With reference to FIG. 9, a preferred embodiment of a water
그 동작 원리를 살펴보면, 물 넘침 검출 서브시스템(124)은 전술한 가스 스토브 안전 서브시스템(600)과 유사하다. 수위 감지 장치(1004) 또는 수위 모니터(1004)는 펄스화 무선 주파수 수위 송신기(1002)에 의해 정보를 시스템 제어기 장치(110)에 송신한다. 시스템 제어기 장치(110)는, 무선 주파수 원격 제어 신호에 의해 넘침 검출 서브시스템(124) 내의 물의 차단을 개시하도록 프로그래밍된다. 무선 주파수 원격 제어 신호는 AC 라인에 의해 사용자 집을 통해 송신된다.Looking at the principle of operation, the water
시스템 제어기 장치(110)로부터의 제어 신호는 제어기 수신기(1044)에 의해 수신되어, 스텝 다운 회로(1040)에 의해 스텝 다운된다. 스텝 다운된 신호를 이용하여 리셋가능한 전기적으로 제어되는 물 밸브(1034, 1038)를 제어한다. 전기적으로 제어되는 밸브(1034)는 흡입(inlet) 파이프(1026)로부터 욕조 공급 파이프(1028)로의 물 흐름을 제어할 수 있다. 전기적으로 제어되는 밸브(1038)는 흡입 파이프(1026)로부터 싱크대 흡입 파이프(1032)로의 물 흐름을 제어할 수 있다.Control signals from the
수위 감지 장치(1004)는, 2개의 수위 검출기(1006, 1012), 및 종래의 타이머를 갖는 사이렌 모듈(1018)을 포함한다. 압전 결정(piezoelectric crystal)과 같은 사이렌 변환기(siren transducer)가 또한 제공된다. 3상 펄스화 무선 주파수 송신기(1002)는 물 넘침 검출 서브시스템(124)내에 제공될 수 있다.The water
수위 검출기(1006)에 의해 물이 경고 레벨에서 감지될 때, 물이 경고 레벨 마크에 도달하고 있다고 사용자 모니터링 시스템(100)의 시스템 제어기 장치(110)에 통보된다. 이것이 검출되면, 사용자 모니터링 시스템(100)은 상기시켜 주기 위해 가정내의 전화기(132)로 사용자를 호출한다. 수위가 최고 수위선에 접근했음을 수위 검출기(1012)가 판정하면, 사이렌(1024)이 울린다. 또한, 수신된 무선 주파수 펄스 데이터는 사용자 모니터링 시스템(100)의 시스템 제어기 장치(110)에 물을 잠그도록 알린다. 이 이벤트는 시스템 제어기 장치(110) 내에서 로그(log)된다. 물 넘침 검출 서브시스템(124)은 사용자 모니터링 시스템(100) 내로부터 또는 케이스 모니터링 사이트(148)로부터의 커맨드에 응답하여 밸브들(1034, 1038)의 재설정을 허용하도록 프로그램될 수 있다.When water is detected at the warning level by the
도 10을 참조하면, 사용자 모니터링 시스템(100)의 보조 기구 검출 서브시스템(128)에 대한 블록도가 도시되어 있다. 보조 기구 검출 서브시스템(128)은 추가의 기구들(1116) 또는 장치들(1116)을 모니터링 및 제어하기 위해 사용자 모니터링 시스템(100)에 부가의 채널들을 제공한다.Referring to FIG. 10, a block diagram of the assistive
추가 장치(1116)의 온/오프 상태는 모니터링되어 전류 드로 검출기(1108)에 의해 사용자 모니터링 시스템(100)의 시스템 제어기 장치(110)로 송신된다. 전류 드로 검출기(1108)는 교류 전원선(1114)에 의해 장치(1116)에 인가된 전류를 모니터한다. 전류 드로 검출기(1108)는 온과 오프를 나타내는 2가지의 상태 신호를 송신하는 무선 주파수 보조 송신기(1112)에 결합된다. 이 정보는 상태 변경 데이터용 및 일상 활동 데이터 로그 발생용 모두를 위해 시스템 제어기 장치(110)에 의해 사용될 수 있다. 보조 검출 서브시스템(128)의 전류 드로 센서(1108)는, 보조 장치(1116)가 텔레비전이나 클럭 라디오(clock radio)와 같은 고상 장치(solid state device)인 경우에 트리클 드로(trickle draw)와 동작 전원 사이를 구별하는 것에 충분히 민감해야 한다.The on / off state of the
보조 장치(1116)의 사용을 모니터하는 것 이외에, 장치(1116)의 자동 원격 제어가 달성될 수 있다. 사용자 모니터링 시스템(100)의 시스템 제어기 장치(110)는 AC 라인(1114)에 에너지를 공급하는 제어된 배출구 또는 수용가능한 어댑터를 제어하도록 프로그램될 수 있다. 이 제어는 하루중 소정의 시간에 또는 특정 환경이 발생한 경우에 수행될 수 있다. 예를 들어, 사용자 모니터링 시스템(100)이 출타 모드에 있는 경우에, 이 특징이 보조 기구(1116)를 자동적으로 오프시키는데 사용된다. 하나보다 많은 보조 서브시스템(128)이 사용자 모니터링 시스템(100) 내에 제공될 수 있다.In addition to monitoring the use of the
또한, 모니터링 시스템(100)에는 전류 드로 모니터(1108) 또는 제어기 수신기(1104)에 의해 모니터링되지 않은 보조 검출 시스템이 제공될 수 있다. 예를 들어, 시스템 제어기(110)의 다중 채널 수신기(212)는 도 9에 도시된 연기 검출 서브시스템(900)을 모니터하는데 사용될 수 있다.In addition,
본 발명의 사용자 모니터링 시스템(100) 내에는 보조 검출 서브시스템들의 많은 다른 조합들이 제공될 수 있음을 이해할 것이다. 또한, 이들 조합들은 다른 위치에 있는 자동 다이얼링 시스템들과 결합하여 사용될 수 있음을 이해할 것이다. 예를 들어 하루에 한번 이상 다양한 사용자들의 거주지에 전화할 수 있는 자동 다이얼링 시스템들이 개발되었다. 이것은 문제가 없다면 소정의 신호를 리턴시키고 문제가 있다면 상이한 소정의 신호를 리턴시키거나 신호를 보내지 않을 기회를 사용자에게 제공한다.It will be appreciated that many other combinations of auxiliary detection subsystems may be provided within the
이 서비스들은 하루에 6번까지 사용자에게 자동 접촉을 제공할 수 있다. 예 를 들어, 투약 준수 리마인더(medication compliance reminders)를 제공하고, 사용자 모니터링 시스템(100)과 사용되기에 적합한 자동 다이얼링 시스템이, 필드 테스트(field tested)되었다. 이 자동 리마인더 시스템에서, 사용자들에게 그들의 투약 처방계획을 행하도록 매일 전화를 하거나 상기시킨다.These services can provide automatic contact to users up to six times a day. For example, an automatic dialing system suitable for use with the
도 11a 내지 11m을 참조하면, 사용자 모니터 시스템(100)의 다양한 서브시스템들의 동작들을 나타낸 흐름도가 도시되어 있다. 도 11a는 각종 서브시스템들중 어느 것이 처리용 이벤트를 개시했는지를 제어기(110)에 의해 판정하는 방법을 나타낸 흐름도이다. 도 11b는 지정된 기상 시간에 사용자가 일어났는지를 판정하는 방법을 나타낸 흐름도이다. 이 방법은 예를 들어 움직임 센서(304)로부터의 신호에 응답하여 수행될 수 있다. 도 11c는 서브시스템(116)에 의해 표시된 바와 같이 사용자가 투약 시간표에 따르고 있는지를 판정하는 방법을 나타낸다.11A-11M, a flow diagram illustrating operations of various subsystems of the
도 11d는 서브시스템(600)에 의해 스토브가 켜져 있는지 및 연기 검출기(732)가 활성화 상태인지를 판정하는 방법을 나타낸다. 도 11e는 스토브(610, 710)를 끄는 방법을 나타낸 흐름도이다. 도 11f는 서브시스템(124)에 의해 물의 흐름을 제어하는 방법을 나타낸 흐름도이다. 물의 흐름을 제어하는 방법에 대한 의사코드 표시는 표 I에 개시되어 있다.11D illustrates a method for determining whether the stove is turned on by the
흐름이 있는가Is there a flow
있는 경우If present
상태 변화가 있는가Is there a change in status
있는 경우If present
주 제어기로 이벤트를 송신Send event to main controller
없는 경우If not
흐름 감시로 재순환Recycle to Flow Monitoring
없는 경우If not
상태 변화가 있는가Is there a change in status
있는 경우If present
주 제어기로 이벤트를 송신Send event to main controller
없는 경우If not
흐름 감시로 재순환Recycle to Flow Monitoring
물의 넘침이 있는가Is there overflow of water
있는 경우If present
주 제어기로 이벤트를 송신Send event to main controller
없는 경우If not
물에 대한 경고가 있는가Is there a warning about water
있는 경우If present
주 제어기로 이벤트를 송신Send event to main controller
없는 경우If not
물 넘침으로 재순환Recirculation With Water Overflow
표 ITable I
도 11g는 예를 들어 브리지 정류기(734)에 따라, 기구가 켜진 상태라는 것을 사용자에게 경고하는 방법을 나타낸 흐름도이다. 도 11h는 경보가 결정된 경우에 지정된 상대방을 호출하는 방법을 도시한다. 도 11i는 예를 들어 움직임 센서(304)로부터의 신호에 응답하여 이동의 검출을 기록하는 방법을 도시한다.FIG. 11G is a flow diagram illustrating a method of alerting a user that the instrument is on, for example in accordance with
도 11j는 사용자 모니터링 시스템(100) 내에서 스위치들을 판독하는 방법을 나타낸 흐름도이다. 스위치들을 판독하는 방법에 대한 의사코드 표시는 표 II에 개시되어 있다.11J is a flow diagram illustrating a method of reading switches within the
스위치가 열려 있는가Is the switch open
열려 있는 경우Open
상태 변화가 있는가Is there a change in status
있는 경우If present
제어기에게 불을 끄라는 이벤트를 송신함Send an event to turn off the light to the controller
없는 경우If not
오픈 테스트로 재순환Recycle to Open Test
열려 있지 않은 경우If not open
상태 변화가 있는가Is there a change in status
있는 경우If present
주 제어기에 불을 키라는 이벤트를 송신함Send an event to light the primary controller
없는 경우If not
오픈 테스트로 재순환Recycle to Open Test
표 IITable II
도 11k는 전류 흐름이나 가스 흐름 중 어느 하나를 판정하는 알고리즘을 나타낸 흐름도이다. 도 11l은 물의 넘침을 검출하는 알고리즘을 나타낸 흐름도이다. 도 11m은 보조 기구를 제어하는 알고리즘을 나타낸 흐름도이다. 이 방법에 대한 의사 코드 표시는 표 III에 개시되어 있다.11K is a flow diagram illustrating an algorithm for determining either current flow or gas flow. 11L is a flow diagram illustrating an algorithm for detecting water overflow. 11M is a flowchart illustrating an algorithm for controlling the assist mechanism. The pseudo code representation for this method is shown in Table III.
자동 타이머가 설정되어 있는가Is an automatic timer set
설정되어 있는 경우If set
전류 드로가 있는가Is there a current draw
있는 경우If present
턴오프 타임이 초과하였는가Did the turnoff time exceed?
초과한 경우If exceeded
기구를 끄고Turn off the appliance
제어기에 이벤트를 송신함Send event to the controller
초과하지 않은 경우If not exceeded
AT 세트로 재순환Recycle to AT Set
없는 경우If not
턴온 타임이 초과하였는가Did the turn on time exceed?
초과한 경우If exceeded
기구를 키고Turn on the appliance
제어기에 이벤트를 송신함Send event to the controller
초과하지 않은 경우If not exceeded
AT 세트로 재순환Recycle to AT Set
설정되어 있지 않은 경우If not set
전류 드로가 있는가Is there a current draw
있는 경우If present
상태 변화가 있는가Is there a change in status
있는 경우If present
주 제어기에 이벤트를 송신Send event to main controller
없는 경우If not
AT 세트로 재순환Recycle to AT Set
없는 경우If not
상태 변화가 있는가Is there a change in status
있는 경우If present
주 제어기에 이벤트를 송신함Send event to main controller
없는 경우If not
AT 세트로 순환Circulate with AT set
표 IIITABLE III
전술한 바와 같이, 마이크로프로세서 기반의 시스템 제어기 장치(110) 및 센서들의 시스템을 이용하여, 사용자 모니터링 시스템(100)은 예를 들어 사용자가 일어나서 자신의 집에서 돌아다니고 있는지 및 사용자가 그들의 투약을 관리하는데 어려움이 있는지를 판정할 수 있다. 또한, 사용자가 스토브를 우연히 켜두었거나 보통 잠에서 깨어나는 시간 이후에 소정 시간이 지난 흐르고 나서도 일어나지 않았음을 판정할 수 있다. 사용자 모니터링 시스템(100)은 이들 또는 이외의 문제점들 중 어느 것을 검출하면, 사용자에게 가정내의 전화기(132)로 호출하여 투약, 스토브, 또는 이외의 검출된 문제점들을 상기시킬 수 있다.As noted above, using the microprocessor-based
사용자 모니터링 시스템(100)으로부터의 이러한 데이터를 이용하여, 원격 케이스 모니터링 시스템(148)은 표준 정보와 우선 정보로서 지정된 정보를 수신하고 수신된 정보를 분석함으로써, 각 사용자의 온라인 케이스 모니터링을 제공할 수 있다. 이를 수행하기 위해, 원격 케이스 모니터링 시스템(148)은 각각의 사용자에 대하여 인입하는 데이터를, 고객의 활동들을 트래킹하는 다양한 요약 레포트로 변환한다. 이에 의해, 전문화된 노인학의 매일매일의 생활에 대한 요약 레포트들을 사용자들, 가족 구성원들, 케이스 관리자들, 의사들 및 다른 사람들에게 분배할 수 있다. 또한, 사용자에 대한 즉각적인 문제들을 지적할 수 있는 지정된 우선 정보를 수집하여 그 정보에 따라 행동하는 것이 가능하다. 예를 들어, 사용자가 아직 일어나지 않은 것처럼 보이면, 문제가 표시될 것이다.Using this data from the
또한, 원격 케이스 모니터링 시스템(148)에 의한 이러한 종류의 데이터의 수집은 어느 사용자가 사적 개입을 요구하는지 어느 사용자가 그렇지 않은지를 식별하기 위한 집합 데이터베이스(aggregate database)를 제공한다. 이러한 기능들을 수행하기 위해 원격 케이스 모니터링 시스템(148)은 직접적인 케이스 관리를 가져오는 정보의 갖는 정보의 수집, 분석 및 교환을 위한 중앙 허브로서 기능한다. 본 발명의 개념의 다른 실시예에서는 원격 시스템(148)과 관련된 로컬 시스템 제어 기(110)의 상이한 정도의의 자율성이 가능하다는 것을 이해해야 한다. 일실시예에서 로컬 시스템 제어기(110)는 다른 실시예에서 원격 케이스 모니터링 시스템(148)에 의해 수행되는 많은 기능들을 수행하도록 프로그램될 수 있다.In addition, the collection of this kind of data by the remote
예를 들어 친척들과 제공자 목록에 전화를 걸고 음성 메세지를 보내는 것은 로컬 시스템 제어기(110)나 원격 케이스 모니터링 시스템(148)에 의해 수행될 수 있다. 그러나, 로컬 시스템 제어기(110)의 주요 기능은 국부적으로 관찰과 결정을 하는 낮은 수준의 케이스 관리를 제공하는 것이고, 원격 케이스 모니터링 시스템(148)의 주요 기능은 사용자 모니터 시스템(100)으로부터 얻은 데이터의 장기 해석과 장기 해석의 관점에서 개입을 가능하게 하는 높은 수준의 케이스 관리를 제공하는 것이라는 것이 이해될 것이다.For example, calling and sending a voice message to a list of relatives and providers may be performed by the
그러므로, 본 발명의 바람직한 실시예에서, 사용자 모니터링 시스템(100)이나 원격 케이스 관리 시스템(148)은 그의 전자 기록들을 이용하여 사용자 모니터링 시스템(100)의 다양한 서브시스템들에 의해 수집된 정보에 기초하여 계획된 정기(periodic) 사용자 활동 보고서를 생성할 수 있게 한다. 이러한 정기 보고서는 사용자의 생활 영역 내에서 모니터링된 임의의 또는 모든 활동에 관한 정보의 수집, 편집 및 배열을 포함할 것이다. 이러한 전자 기록들은 임의의 다른 정보와 조합되어 모니터링되는 사용자에게 요구되는 임의의 형태의 주기적 활동 보고서를 생성하는데 사용될 수 있다. 이러한 사용자 활동 보고서는 전문적인 케이스 관리자나 정해진 가족 구성원에 의해 사용되어 사용자가 일상 생활의 특정 활동에 문제를 겪고 있는지를 판정할 수 있다. 그러므로 이러한 문제들이 사용자의 지속적인 안 녕과 사용자가 독립적으로 살아갈 수 있는 능력에 위협이 되기 전에 이들을 다룰 수 있다.Therefore, in a preferred embodiment of the present invention, the
또한, 원격 케이스 모니터링과 가정내의 리마인더(in-home reminder)를 제공하는 것 외에, 사용자 모니터링 시스템(100)은 어떤 문제들이 검출되면 이를 조정하는 액션들을 취하도록 프로그램될 수 있다. 예를 들어, 모니터링되는 사용자가 소정의 시간까지 잠자리에서 일어나지 않으면, 사용자 모니터링 시스템(100)은 사용자를 전화기(132)로 호출할 수 있다. 이 전화 호출에 대한 응답이 없으면 사용자 모니터링 시스템(100)은 자동으로 이 정보를 원격 케이스 모니터링 사이트(148)에 송신하도록 프로그램될 수 있다.In addition to providing remote case monitoring and in-home reminders, the
원격 케이스 모니터링 사이트(148)에서 사회복지사, 건강 전문가 또는 정해진 가족 구성원이 소정의 프로토콜에 따라 이 송신된 정보에 응답할 수 있다. 이 정보를 원격 케이스 모니터링 사이트(148)에 송신하는 것 외에 사용자 모니터링 시스템(100)은 사용자의 집 내부에 제어 신호를 제공할 수 있다. 예를 들어, 본 발명의 사용자 모니터링 시스템(100)이 스토브가 켜져 있다고 판단하면, 사용자 모니터링 시스템(100)은 스스로 스토브를 끌 수 있다.At the remote
사용자 모니터링 시스템(100)과 관련된 원격 케이스 모니터링 시스템(148)은 케이스 관리 사이트의 기능들을 수행할 수 있다. 원격 케이스 모니터링 시스템(148)의 케이스 관리 사이트 기능의 예에서, 케이스 관리 사이트는 각각이 분산된 사용자 전자 모니터링 시스템(100)을 사용하는 약 50개의 분산된 클라이언트들을 모니터링할 수 있다. 따라서 이 50개의 클라이언트는 그들의 생활 영역의 특정 한 구성에 적합한 방식으로 그들의 주거지에 설치된 다양한 서브시스템 센서들과 시스템 제어기(110)를 갖는다. 예를 들어, 다양한 서브시스템 센서들은 상이한 층 구조 및 가구 배치에 맞아야 한다.The remote
원격 케이스 모니터링 시스템(148)은 분산된 사용자 모니터링 시스템(100)으로부터 즉각적이거나 소정의 시간 간격으로 정보를 수신할 수 있다. 예를 들어, 원격 케이스 모니터링 시스템(148)은 정보를 매시간, 매일, 혹은 매주 단위로 수신할 수 있다. 클라이언트들 중 하나가 소정의 시간 경과 내에 잠자리에서 일어나지 않고 전화에도 응답하지 않으면, 그 클라이언트의 집에 있는 사용자 모니터링 시스템(100)의 로컬 시스템 제어기(110)가 케이스 관리 사이트를 호출할 수 있다. 케이스 관리 사이트에서는, 이러한 이벤트가 예컨대 컴퓨터 스크린에 의해, 인간의 케이스 모니터에 즉각적인 주목을 가져오게 할 수 있다. 원격 케이스 관리자는 개별적인 케이스와 모니터링되는 클라이언트의 데이터 기록을 조사하여 보고된 이벤트가 일어날 때 모니터링되는 사람에 대해 소정의 응답을 얻을 수 있다.The remote
케이스 관리 사이트의 직원에게 요구되는 적절한 개입에는 로컬 케이스 관리자, 병원 사회복지사 또는 인근의 친척을 호출하는 것이 포함된다. 원격 케이스 모니터가 실행할 수 있는 다른 행동들에는 사용자를 호출하고, 최근 24시간 또는 48시간 분의 이벤트 요약 정보를 로컬 사용자 모니터링 시스템(100)으로부터 원격으로 다운로드하고, 로컬 사용자 모니터링 시스템(100)의 진단 시퀀스를 원격으로 개시하는 것이 포함될 수 있다.Appropriate interventions required by staff at the case management site include calling local case managers, hospital social workers or nearby relatives. Other actions that can be performed by the remote case monitor include calling the user, downloading the last 24 hours or 48 hours of event summary information remotely from the local
원격 케이스 모니터(148)에 의한 개입을 위한 절차들의 프로토콜은 원격 케 이스 모니터링 시스템(148)마다 다르고 사용자마다 다르다. 본 발명의 바람직한 실시예에서 소정의 이벤트가 일어났을 때 누가 전화를 하고 어떤 메세지가 전달되어야 하는지와 같은 다양한 개입 결정들은 원격 케이스 모니터링 시스템(148)에서 기계 지능 전문가 시스템(machine intelligence expert system)(도시되지 않음)에 의해서나 사람에 의해서 또는 그 둘의 조합에 의해서 수행될 수 있다. 로컬 사용자 모니터링 시스템(100)은 또한 절절한 때 누가 전화를 하는 등과 같은 결정을 수행하도록 프로그램될 수 있다. 예를 들어, 사용자 모니터링 시스템(100)은 다양한 응급 상황에서 연락을 취하기 위해서 연락인 목록을 가질 수 있다.The protocol of the procedures for intervention by the remote case monitor 148 is different for each remote
응급 상황이 발생한 경우 개입을 할 필요성을 나타내는 데이터를 수신하고 해석하는 것 외에, 원격 케이스 모니터링 시스템(148)은 개별적인 사용자 모니터링 시스템(100)으로부터 다운로드된 데이터를 소정의 간격으로 정기적으로 수신한다. 이 데이터는 이벤트 패턴 측정에서 통계적인 표준 편차보다 더 큰 편차를 검출하는 경향 분석 소프트웨어에 의해 개별적인 수준 그리고 종합적인 수준으로 해석된다. 원격 케이스 모니터링 시스템(148)은 이 분석을 사용하여 사용자의 가정 환경에서의 일상적인 작업들과 관련된 이벤트들의 주기적인 요약 보고서를 생성할 수 있다. 보다 구체적으로 이러한 보고서들은 특정 이벤트 클래스들을 검출하여, 그들의 상대적인 중요성의 측면에서 그들에게 가중치를 주고 작업 수행의 기준과 그들을 비교한다. 중요성에 대해 가중치가 주어진 이벤트들은 기상, 투약 관리, 적절한 스토브 제어, 적절한 물의 흐름 제어, 선택된 전자 제품의 적절한 제어 등을 포함한다. 이러한 이벤트들의 보고서를 기초로, 원격 케이스 모니터링 시스템(148)에서, 이 사용자 모니터링 시스템(100)의 사용자의 케이스 관리에 관여된 소정의 관계자들에게 배포하기 위한 노년 생활의 요약 보고서가 기계적인 형태 그리고 종이 형태로 준비될 수 있다. 이들 관계자들은 사용자 자신들, 사용자의 친척, 케이스 관리자 사회 사업가, 치료자, 및 다른 적절한 정규 및 비정규 간호인을 포함할 수 있다.In addition to receiving and interpreting data indicative of the need for intervention in case of an emergency, remote
원격 케이스 모니터링 시스템(148)의 두가지 부가적인 기능들이 제공될 수 있다. 이 기능들은, (1) 사용자 모니터링 시스템(100)의 원격 프로그래밍 및 재프로그래밍, 및 (2) 비교적 많은 수의 사용자들에 대한 종합적인 수준 그리고 개별적인 수준의 데이터 생성이다. 이 데이터는 사람과 기계 모두를 위한 결정 프로토콜을 구동하는 경험에 기반을 둔 지식 기반뿐만 아니라, 사용자 모니터링 시스템(100)의 보다 큰 발전을 위한 연구 데이터로서 기능할 수 있다.Two additional functions of remote
이러한 기능들이 수행되도록 하기 위해 사용자 모니터링 시스템(100)과 원격 케이스 모니터링 시스템(148) 간에 데이터가 송신되어야 한다. 원격 케이스 모니터링 시스템(148)으로부터 로컬 사용자 모니터링 시스템(100)의 시스템 제어기(110)로 송신된 정보에는 3가지 다른 형태의 커맨드 즉, 질의, 진단 및 설정이 포함된다. 질의 커맨드는 사용자 모니터링 시스템(100)의 메모리로부터 원격 케이스 모니터링 시스템(148)으로 특정 정보를 다운로드하는 것을 요청한다. 요청된 정보는 원격 시스템(148)에 의한 케이스 모니터링에 필요한 특정 정보와 함께 노년의 일상 생활 이벤트들의 보고서의 기초를 형성한다. 예를 들어 사용자 모니터링 시스템(100)의 다른 서브시스템들의 상태는 움직임 서브시스템(112)이 사용자가 아 침에 일어나지 않았다고 표시할 때 원격 시스템(148)에 대해 이용가능하게 될 수도 있다.Data must be transmitted between the
로컬 사용자 모니터링 시스템(100)에 대한 진단 커맨드는 개입을 요청하거나 원격으로 제어되는 임의의 장치들의 세팅을 바꾸기 위해 시스템(100)의 능력을 억제함과 함께, 다양한 종류의 문제들이 다른 서브시스템들에 의해 나타났던 것처럼 다양한 종류의 문제들이 존재한다는 것을 나타내는 이벤트 코드들의 시퀀스를 개시함으로써 시스템(100)의 다른 서브시스템들을 테스트한다.Diagnostic commands for the local
원격 케이스 관리 시스템(148)으로부터 사용자 모니터링 시스템(100)으로의 설정 커맨드는 사용자 모니터링 시스템(100) 내의 타이머 상의 파라미터들뿐만 아니라 이하에 기술되는 결정 트리들에서 이루어지는 결정들에 대한 기타의 변수값들을 재설정한다. 이러한 파라미터들에는, 기상 시간, 상이한 약들의 복용 시간 및 스토브를 끄기 전에 경과되어야 하는 시간의 길이가 포함되나, 이에 한정되지는 않는다.The setting command from the remote
사용자 모니터 시스템(100)의 시스템 제어기(110)로부터 원격 케이스 모니터링 시스템(148)으로의 반대 방향으로 전송되는 이송 정보는 두 가지 형태, 즉, (1) 특정 데이터 우선 이송 및 (2) 표준 데이터 이송을 포함한다. 특정 데이터 우선 이송은, 전화선(144) 혹은 다른 데이터 링크(도시되지 않음)를 경유하여 원격 케이스 모니터링 시스템(148)에 전화를 거는 것에 의해 및 원격 케이스 모니터링 시스템(148)이 검출, 기록 및 작용해야 하는 문제의 출현을 표시하는 것에 의해 로컬 시스템 제어기(110)에 의해 개시된다.The transfer information transmitted in the opposite direction from the
로컬 시스템 제어기(110)가 원격 케이스 모니터링 시스템(148)에 전화를 걸어 사용자가 아직 잠자리에서 일어나지 않았다거나 스토브가 켜져 있다는 것을 알리는 상황들은 잠재적인 긴급 상황이며, 따라서, 이러한 상황들은 특정 데이터 우선 이송의 예들이다. 표준 데이터 이송은 각 서브시스템에 이벤트 로그 정보를 다운로드하는 것을 포함한다. 이러한 정보는 6개월 등의 미리 정해진 시간 기간에 걸쳐 서로 다른 이벤트의 발생 빈도를 나타내는 경향 분석 보고서를 작성하는데 사용된다. 따라서, 경향 분석 보고서는 6개월 코스에 걸쳐 사용자가 점점 투약을 준수하지 않게 되고 및/또는 점점 스토브를 부적절하게 켜 두게 될 것 같다는 것을 나타낼 수 있다. 공지된 경향 분석 기술을 사용하면, 소프트웨어 구동 보고서는 일상 활동에 있어 문제점들의 증가 빈도를 검출할 수 있다.Situations in which the
경향 분석 보고서는 사용자 모니터링 시스템(100)에 의해 모니터링되는 일상 생활의 서로 다른 영역(areas)에 대한 여러 행동 지침을 제공하는 월간 종이 보고서 또는 기계적 보고서일 수 있다. 이들 영역은 기상과 수면, 투약 관리, 스토브 관리, 물 흐름 관리, 및 추가적인 기구들의 조작을 포함할 수 있다. 이러한 보고서에 대한 원 데이터(raw data)는 표준 데이터 이송 및 우선 특정 모드들을 사용하여 로컬 시스템 제어기(110) 원격 시스템으로부터 전송된 이벤트 로그 데이터에 기초한다. 원 데이터를 사용하여, 5가지 작업 영역의 성공적 완료 및 비성공적 완료에 대한 연속적인 기준선을 제공한다.The trend analysis report may be a monthly paper report or a mechanical report that provides various behavioral guidelines for different areas of daily life monitored by the
예를 들어, 한 달 내에, 사용자가 스토브를 55회 사용하고, 프로그램된 프로토콜을 위반하여 스토브를 2회 켜 둘 수가 있다. 그 때, 스토브 카테고리에 대 한 월간 보고서 라인은 55 사용 및 2 사용 오류를 나타낼 수 있다. 더욱이, 사용 오류는 가중 시스템(weighting system)에 의해 중요도 레벨에 따라 분류될 수 있다. 예를 들어, 투약을 1회 건너뛴 오류는 스토브를 켜 두고 수시간 동안 아파트를 떠나 있는 오류에 비해 상당히 덜 심각한 것으로 가중치가 부여될 수 있다. 따라서, 본 발명에 따른 시스템의 경향 분석 보고서에는, 시간에 걸쳐 연속적인 기준선에 대한 오류들이 기록되고 플롯(plot)될 뿐만 아니라, 서로 다른 오류들의 잠재적인 부정적 영향을 반영하는 랭킹 시스템을 포함하도록 의도된다. For example, within a month, a user may use the stove 55 times and turn it on twice in violation of the programmed protocol. At that time, the monthly report line for the stove category may indicate 55 usage and 2 usage errors. Moreover, usage errors can be classified by importance level by weighting system. For example, errors that miss a dose can be weighted as significantly less serious than errors that leave the stove on for several hours. Accordingly, the trend analysis report of the system according to the present invention is intended to include a ranking system that not only records and plots errors for successive baselines over time, but also reflects the potential negative effects of different errors. do.
오류와 더불어, 경향 분석 보고서는 플롯 경향에서 변화를 보이는, 행동에 있어서의 일탈들(deviations)을 플롯할 수 있다. 예를 들어, 경향 분석 보고서는 기상과 수면 시간, 및 사용자가 욕실에 가는 횟수를 플롯할 수 있다. 원래는 전혀 나타나지 않았던 것이지만, 개입을 요청하는 상황, 즉, 수면 습관, 욕실 사용, 심지어 설비 사용에 있어서의 갑작스런 변화는, 인척 또는 케이스 관리 사회 사업가 또는 내과 의사가 사용자를 방문하여 인터뷰하도록 요구되는 신체적 건강 또는 정신적인 건강에 있어서의 갑작스런 변화를 나타내는 것일 수 있다.In addition to errors, trend analysis reports can plot deviations in behavior that show a change in plot trends. For example, the trend analysis report may plot weather and sleep times and the number of times a user goes to the bathroom. Though not originally present at all, sudden changes in the situation requiring intervention, such as sleep habits, bathroom use, and even the use of equipment, are physically required to require an in-person or case management social worker or physician to visit and interview the user. It may indicate a sudden change in health or mental health.
해석 데이터의 임의의 수의 조합들이 임의의 수의 특수화된 보고서들에 사용될 수 있지만, 대부분의 케이스 관리 사이트 및 대부분의 인척들은 특정 오류의 빈도와 심각도, 투약 준수 정도와 정확성, 및 사용자의 기상 또는 수면 패턴이 급진적으로 변하는지 여부를 알기를 원할 것이다. 경향 분석 보고서는 케이스 관리자 및 인척들에게 이러한 정보를 제공하고, 행동 패턴에 있어서 민감한 변화를 발견하고, 잠재적으로 위험한 다양한 종류의 오류를 모니터하고, 모니터링된 활동에 관하 여 기능하는 기준선의 기록을 유지함으로써, 사용자를 보다 잘 도울 수 있도록 한다.While any number of combinations of interpretation data can be used for any number of specialized reports, most case management sites and most of the in-laws have the frequency and severity of certain errors, the degree and accuracy of medication compliance, and the user's weather or You may want to know if your sleep pattern is changing radically. Trend analysis reports provide case managers and relatives with this information, detect sensitive changes in behavioral patterns, monitor various kinds of potentially dangerous errors, and maintain a baseline record of the functioning of monitored activities. By doing so, it helps the user better.
대체로 노년층 환자를 모니터하는 것과 관련하여, 모니터링 시스템(100)의 동작이 설명되지만, 시스템(100)은 임의의 형태의 환자, 예를 들어, 유아 및 화재 피해자를 모니터하는데 사용될 수도 있을 것이다. 또한, 정확한 센서를 사용하여 모니터링 시스템(100)은 이러한 환자에 대한 임의의 파라미터, 예를 들어, 주위 온도, 체온 및 혈압을 모니터링할 수도 있다. 일반적으로, 센서에 의해 감지되고 전기적 신호로 변환될 수 있는 것들은 모니터링 시스템(100)에 의해 모니터될 수 있다. 또한, 이 데이터는 원격 모니터링 사이트(148)에서 보고서를 컴파일하기 위해 사용되는 것 이외에, 정기적인 의사와의 약속 이전에 의사가 이용할 수 있도록 구성될 수 있다. 시스템은 원격 모니터링 사이트에서 전문가에 의해 모니터링되는 것보다 오히려 친구 또는 인척들에 의해 모니터링될 수 있다.In general, with respect to monitoring elderly patients, the operation of the
로컬 마이크로프로세서 기반 시스템 제어기(110) 및 그와 관련된 센서 시스템은 소정의 일상 생활에 있어 임의의 활동을 판정할 수 있다. 예를 들어, 시스템 제어기(110)는 사용자가 일어나서 집 안에서 돌아다니는지 여부를 판정할 수 있다. 또한, 예를 들어, 사용자가 투약을 관리하는데 어려움을 가지고 있는지 여부, 사용자가 통상의 기상 시간 이후에 미리 정해진 시간 내에 잠자리에서 일어나는 것에 실패했는지 여부, 및 사용자가 스토브를 켜 두었는지 여부를 판정할 수 있다. 또한, 시스템 제어기(110)는 그 외의 검출된 문제들을 판정할 수 있다.Local microprocessor based
전술한 바와 같이, 원격 모니터링 시스템(148)으로부터 로컬 시스템 제어 기(110)의 다양한 자율도(degrees of autonomy)는 본 발명의 여러 실시예에서 얻어질 수 있다. 따라서, 시스템 제어기(110)는 본 발명의 다른 실시예에 있어서, 원격 모니터링 시스템(148)에 의해 수행된 많은 기능들을 수행하도록 프로그램될 수 있다. 그러나, 로컬 시스템 제어기(110)의 주요 기능은 국부 관찰 및 결정의 저레벨 케이스 관리를 제공하는 것이고, 원격 모니터링 시스템(148)의 주요 기능은 고레벨 케이스 관리를 제공하고 데이터의 장기간 해석을 가능하게 하는 것이다.As discussed above, various degrees of autonomy of the
로컬 시스템 제어기로부터 보내진 정보를 사용하여, 원격 케이스 모니터링 시스템(148)은 표준 우선 정보 또는 그 외 정보를 수신하고 그 수신된 정보를 분석함으로써, 임의의 수의 사용자에 대해 온-라인 케이스 모니터링을 제공할 수 있다. 이러한 동작을 수행할 때, 원격 케이스 모니터링 시스템(148)은 각 사용자로의 착신 데이터를 개개의 사용자의 활동들을 추적하는 여러 요약 보고서로 변환한다.Using the information sent from the local system controller, remote
이러한 방식으로 수신된 정보를 모니터링 및 분석하여, 원격 케이스 모니터링 시스템(148)이 특수화된 일상 생활 모니터링 요약(ELMS; everyday living monitoring summaries) 보고서를 다른 관계자들에 분배할 수 있게 한다. 예를 들어, 이러한 방식으로 얻어진 보고서는 가족 구성원, 의사, 케이스 관리자, 및 그 외의 사람들에게 분배될 수 있다.By monitoring and analyzing the information received in this manner, the remote
또한, 시스템 제어기(110) 및 원격 케이스 모니터링 시스템(148)에 의한 모니터링 및 분석은 우선 조치 정보를 수집할 수 있게 한다. 예를 들어, 사용자가 잠자리에서 일어나지 않는 때를 판정할 수 있다. 또한, 개별 개입을 요구하는 사용자를 식별하기 위한 집합 데이터베이스를 제공할 수도 있다. 또한, 직접 케이스 관리 리소스를 갖는 정보의 수집 및 교환을 위해 중앙 허브를 제공할 수도 있다.In addition, monitoring and analysis by the
로컬 시스템 제어기(110)는 데이터베이스 보고서 생성 및 개입 결정에 관련된 다양한 기능을 수행하도록 프로그램될 수 있다. 본 발명의 일 실시예에 있어서, 시스템 제어기(110)는 사용자의 활동 패턴을 학습하도록 프로그램될 수 있다. 시스템 제어기(110)에 의한 학습은 센서 데이터를 분석하고 사용자의 다양한 파라미터를 바꾸는 여러 동작들을 수행하는 것을 통해 일어난다. 예를 들어, 예상된 활동 이벤트의 타이밍 및 빈도 파라미터는 이벤트의 과거 타이밍, 빈도, 지속 기간, 및 공존(concomitance)의 경향 분석에 기초하여 바뀔 수 있다. 경향 분석은 데이터가 내부에 저장되는 주, 달, 또는 그 외의 시간 기간의 간격에 근거할 수 있다.
시스템 제어기(110) 또는 원격 케이스 모니터링 시스템(148)에 의한 사용자 활동 패턴에 대한 학습은 다양한 기술을 사용하여 달성될 수 있다. 대부분의 이러한 기술에 있어서, 학습 프로세스는 다양한 값들, 파라미터 설정, 및 결정 알고리즘의 변화를 수반한다. 이러한 방식에 있어의 변화량은 다양한 보고서에 대해 개시된 기계적 개입 및 생성을 위해, 센서에 의해 얻어진 데이터를 해석하는 것과 관련하여 변경된다.Learning about user activity patterns by the
본 발명에 따른 시스템의 판정은 미래 행동의 최고 예측자가 과거 행동이라는 가정, 및 매일 그리고 매주 사이클의 일부로서 일상 생활의 필수적인 활동의 상대적으로 변하지 않는 빈도, 타이밍, 및 지속 기간에 대한 경험적 지식에 기초한다. 이러한 베이스를 사용하면, 어떤 날에서의 활동들이 통계적으로 예상된 활동 발생 범위 내에 있는지 또는 그 외에 있는지 여부를 판정하기 위해 다양한 방법들을 사용할 수 있다. 바람직한 실시예에 있어서, 사용자 모니터링 시스템은 연속적인 기준선 데이터를 분석하기 위해 공지된 알고리즘을 사용한다.The determination of the system according to the invention is based on the assumption that the best predictor of future behavior is past behavior and empirical knowledge of the relatively unchanging frequency, timing and duration of essential activities of daily life as part of the daily and weekly cycle. do. Using this base, various methods can be used to determine whether activities on a day are within or outside the statistically expected activity occurrences. In a preferred embodiment, the user monitoring system uses known algorithms to analyze continuous baseline data.
시스템 제어기(110) 또는 원격 케이스 모니터링 시스템(148)에 의해 얻어진 변수들은 시간 및 날짜가 찍힌 이벤트 데이터의 형태이거나 또는 그것의 변형일 수 있다. 예를 들어, 변수들은 미리 정해진 시간 기간 내에 투약이 수행되거나 화장실에 물이 내려진 횟수와 같은 미리 정해진 측정의 발생 카운트 또는 가중 빈도일 수 있다.The variables obtained by the
공지되었으며 당업자들이 이해하고 있는 프로그래밍 및 통계적 기술들을 사용하여, 사용자가 통상적으로 화장실을 사용하는 횟수 뿐만 아니라 사용자가 각각의 처방된 약을 복용하는 통상적인 타이밍과 빈도를 학습하도록 시스템 제어기(110)를 작동시킬 수 있다. 이러한 기술들을 사용하여, 아침의 통상적인 기상 시간뿐만 아니라, 냉장고 문, 찬장, 마이크로웨이브 오븐, 및 스토브를 사용자가 열고 닫는 통상적인 타이밍과 빈도를 학습하는 것도 가능하다.Using programming and statistical techniques known and understood by those skilled in the art, the
예를 들어, 보고서 생성 및 학습의 목적을 위하여 본 발명의 방법에서 사용되는 일반적인 변수값들은 적절한 분산 측정과 짝을 이루는 집중 경향의 측정의 일반적인 통계적 감각에서 이해되어질 수 있다. 센서 이벤트의 집중 경향의 측정은 평균, 중앙치, 최빈치와 같은 측정들을 포함한다. 분산의 측정은 표준 편차 및 사분위 범위와 같은 측정들일 수 있다.For example, the general variable values used in the methods of the present invention for report generation and learning purposes can be understood in the general statistical sense of the measurement of concentration tendency paired with appropriate variance measures. Measurements of concentration tendencies of sensor events include measurements such as mean, median, and mode. The measure of variance can be measures such as standard deviation and quartile range.
측정된 이벤트의 일반적인 값을 통계적으로 결정하고 그 다음에 이 값을 이 용하여 미래의 이벤트의 값을 예측하기 위한 다양한 기술들이 있다. 공통 기술은 통상적인 값을, (통상적으로) 0.05의 알파 레벨을 고려하기 위하여 분산 유닛들의 +/- 적절한 값과 동일한 신뢰 레벨(시그마)에 의해 제한되는 집중 경향의 측정과 동일하게 설정한다. 활동 또는 이벤트 도메인 내의 각각의 측정에 대해서, 이들 표준 통계 절차들은 특히 연속적인 기준선 또는 이동 평균과 관련하여 사용되는 것처럼 적용한다. 예를 들면, 침대에서 나오는 움직임, 냉장고를 여는 것, 약을 복용하는 것과 같은 정보를, 제어기 시스템(110)이 저장하여, 그것이 일반적인 범위의 내에 있는지 또는 외측에 있는지를 결정하는 잘 알려진 통계적 방법들을 사용하여 과거의 유사한 이벤트들과 비교할 수 있다.There are various techniques for statistically determining the general value of the measured event and then using that value to predict the value of future events. The common technique sets the conventional value equal to the measurement of the concentration tendency, which is limited by the confidence level (sigma) equal to the +/- appropriate value of the dispersion units in order to take into account an (normally) alpha level of 0.05. For each measurement in the activity or event domain, these standard statistical procedures apply in particular as used in connection with a continuous baseline or moving average. For example, the
예를 들면, 기상 시간이 이전의 30개의 기상 시간의 산술 평균값으로부터 2보다 많은 표준 편차만큼 벗어났는지의 여부를 결정하는 것에 의해, 기상 시간은 이전의 30개의 기상 시간과 비교될 수 있다. 이것은 개별적인 데이터 포인트들을 과거 이벤트들의 이동 평균값으로서 계산된 기준선과 비교하는 한 종류이다.For example, by determining whether the wake-up time deviates by more than two standard deviations from the arithmetic mean of the previous 30 wake-up times, the wake-up time can be compared with the previous 30 wake-up times. This is one kind of comparing individual data points with a baseline calculated as the moving average of past events.
제어기(110)는 이러한 것과 같이, 새로운 이벤트 데이터와 과거의 이벤트 데이터와의 비교에 기초하여 결정을 수행하도록 프로그램될 수 있다. 예를 들면, 사용자가 과거의 평균 기상 시간에서 2보다 많은 표준 편차만큼 자는 것으로 보이면, 기계 개시 개입 및 특별한 데이터 전송 또는 보고서가 생성될 수 있다. 이 경우에, 트리거 이벤트는 사용자가 침대에서 나왔음을 설정하기 위해 사용된 센서 구성으로부터의 신호가 결여된 것이다. 그러므로, 제어기(110)는 사용자가 소정의 시간에 깨어있기를 예상하도록 프로그램된채로 유지될 필요가 없다. 오히려, 그것은 사용자의 과거의 수면 및 기상 패턴에 기초한 예상된 기상 시간을 조정 및 재조정할 수 있다.
유사한 방식으로, 시스템 제어기(110)는 임의의 센서 기반의 데이터 또는 센서 기반의 정보로부터 유도된 데이터에 대한 평균의 또는 일반적인 예상값들의 계산을 허용하도록 프로그램될 수 있다. 프로그래밍 제어기(110)는 이러한 방식으로 그것을 프로그래밍하는 것을 필요로 하여, 활동의 시간, 기간 및 빈도에 대한 이동 평균 및 시그마 값을 저장하고 및 갱신하는 것 및 저장된 갱신값들을 인입하는 데이터 포인트에 대해 비교하는 것을 가능하게 한다.In a similar manner,
시스템 제어기(110)는 변수들이 지정된 파라미터 설정을 변경하도록 작동될 수 있다. 예를 들면, 투약 처방계획 내의 투약의 횟수는 매일 2로부터 3으로 증가될 수 있다. 투약 모니터 상에 제공된 추가의 위치/구획/스위치를 사용하여, 본 발명은 새로운 투약과 연관된 새로운 변수를 초기화하기 위한 정보를 결정하고, 그것의 사용에 대한 시간 및 날짜 날인된 정보를 기록하는 것을 시작할 수 있다.
몇일 후에, 사용자가 새로운 약을 복용하는 동안에, 새로운 투약과 연관된 평균 시간 및 빈도 기준선은 안정된다. 동시에, 시그마 레벨(예를 들어 2개의 표준 편차에 따름)은 관측의 횟수가 증가함에 따라 측정된 유닛의 횟수에 대해서 작아지는 경향이 있다. 이것은 시스템 제어기(110)가 소정의 날에 3번째 투약에서 너무 적게 또는 너무 많이 복용하는 것과 같은 오류를 검출하는 것을 가능하게 한다.After a few days, while the user is taking the new medication, the average time and frequency baseline associated with the new medication is stabilized. At the same time, the sigma level (for example according to two standard deviations) tends to decrease with respect to the number of units measured as the number of observations increases. This makes it possible for the
시스템 제어기(110)에 의해 학습될 수 있는 파라미터들상의 다른 변화들은 사용자에 의한 식사 준비의 변화와 관련된 것들이다. 개개의 사용자는 하루에 두번씩 음식을 준비하는 패턴을 가질 수 있다. 예를 들면, 사용자는 보통은 아침과 저녁에만 식사를 준비할 수 있다. 사용자는 점심을 거의 준비하지 않을 수 있다. 센서의 타이밍, 빈도, 및 기간은 음식 준비 변화와 상관한다.Other changes in parameters that can be learned by the
원칙적으로, 임의의 활동 이벤트의 발생, 비발생, 시간 및 기간을 신호보낼 수 있는 센서에 의해 그것에 전달되는 반복적인 행동들의 임의의 패턴을 시스템 제어기가 학습하는 것이 가능하다.In principle, it is possible for a system controller to learn any pattern of repetitive actions conveyed to it by a sensor that can signal the occurrence, nonoccurrence, time and duration of any activity event.
일상 생활의 활동들: "ADL들"Activities of daily life: "ADLs"
ADL들(Activities of Daily Living/Instrumental Activities of Daily Living)은, 그들의 거주지에서 독립적으로 살기 위하여 사람에 의해 혹은 사람에 대해 수행되어야만 하는 이러한 목적 지향의 활동들을 포함한다. 이것들은 목욕하는것, 이동하는 것, 옷 입는것, 식사하는 것, 치장하는 것, 음식 준비하는 것, 가벼운 집안일, 세탁, 투약 관리, 및 개인 건강 및 가사 유지와 관련된 다른 필요한 작업들을 포함한다. 우리는 이제 본 발명과 밀접한 관계가 있는 다양한 활동들을 감지하고 모니터하기 위한 추가의 수단으로 전환해 본다.Activities of Daily Living / Instrumental Activities of Daily Living (ADLs) include these purpose-oriented activities that must be performed by or against a person to live independently in their residence. These include bathing, moving, dressing, eating, decorating, preparing food, doing light chores, washing, administering medication, and other necessary tasks related to personal health and housekeeping. We now turn to additional means to detect and monitor various activities closely related to the present invention.
다양한 센서 구성으로 화장실 사용을 모니터할 수 있다. 바람직한 실시예에서, 움직임 검출기 및 플러시(flush) 스위치 검출기는 화장실 변기 상의 압력 센서/위치 센서 조합과 협력하여 사용될 수 있다. 움직임 검출기는 욕실에 놓여지고 특정 활동을 고려하지 않고 개개인(들)의 존재를 지시한다.Various sensor configurations can be used to monitor toilet use. In a preferred embodiment, the motion detector and the flush switch detector can be used in conjunction with the pressure sensor / position sensor combination on the toilet bowl. The motion detector is placed in the bathroom and indicates the presence of the individual (s) without considering specific activities.
야뇨증(bed-wetting)은 다양한 상황들에서 모니터링을 필요로 하는 문제점을 제공할 수 있다. 야뇨증은 모니터링되는 개인이 누워있는 언더시트 패드의 표면 상에 놓여진 습기 센서에 의해 모니터링될 수 있다.Bed-wetting can present a problem that requires monitoring in a variety of situations. Nocturnal enuresis can be monitored by a moisture sensor placed on the surface of the undersheet pad on which the monitored individual lies.
음식 준비는 서랍, 캐비넷 및 음식을 준비하기 위해 고객에 의해 통상적으로 사용되는 전기제품들을 열고 닫는 것을 나타내는 센서들의 조합에 의해 모니터될 수 있다. 일 실시예에 있어서, 냉장고 문, 식기류 서랍 및 마이크로웨이브는 리드(reed) 스위치에 의해 모니터되어 음식 준비하는 것과 대응하는 이용의 존재(presence), 타이밍 및 기간을 결정한다. 다른 실시예에 있어서, 전류 흐름 검출기들이 사용되어 음식 준비에 사용되는 다양한 전기제품들(예를 들어, 커피 메이커, 토스터 오븐 등)의 사용을 기록할 수 있다. 추가의 열 센서 구성은 스토브를 검사하는데 사용될 수 있다. 무게 차등 수단(weight differentiating mean)을 갖거나 갖지 않는 압력 센서들은 식사하는 테이블에 있는 의자들 등에서 사용될 수 있다.Food preparation can be monitored by a combination of sensors indicating opening and closing of drawers, cabinets, and appliances commonly used by customers to prepare food. In one embodiment, the refrigerator door, tableware drawer, and microwave are monitored by a reed switch to determine the presence, timing, and duration of food preparation and corresponding use. In another embodiment, current flow detectors can be used to record the use of various electrical appliances (eg, coffee makers, toaster ovens, etc.) used for food preparation. Additional thermal sensor configurations can be used to inspect the stove. Pressure sensors with or without weight differentiating mean may be used in chairs and the like at the dining table.
본 발명에 있어서, 소형 무선 주파수 송신기, 및 가정용 물건들에 직접 부착됨으로써 이 물건들이 조작될 때 시스템 제어기에게 전달할 수 있는 이동 감지 트리거를 이용하기 위해 다양한 수단들이 개발되어 왔다. 바람직한 실시예는 이러한 소형이고, 전류 드로가 낮고, 물체에 부착되어 있을 수 있는 타이머/탄력성없는 스위치(timer/bounceless switch) 및 타이머 리세트와 함께 송신기에 결합된 관성 운동량 감지 스위치(수은 등 또는 진동 검출기)로 이루어진 물체 이동 검출기(object movement detector; OMD)를 사용한다. 물체가 이동/조작될 때, 물체를 식별하고 로컬 제어기가 수신하는 펄스 RF 신호가 방출되고 시간 및 날짜 표시된다. 그러한 지글(jiggle) 검출기는 빗자루와 머리빗, 전기 면도기 및 워커(walkers)와 연결봉같은 보조 장치들에 부착될 수 있다.In the present invention, various means have been developed for using small radio frequency transmitters, and movement detection triggers that can be attached directly to household objects to deliver to the system controller when they are manipulated. The preferred embodiment is such a compact, low current draw, inertial momentum sensing switch (mercury lamp or vibration) coupled to the transmitter with a timer / bounceless switch and timer reset that may be attached to the object. Object movement detector (OMD). When the object is moved / manipulated, a pulsed RF signal is identified and received by the local controller and displayed on the time and date. Such jiggle detectors can be attached to brooms and hairbrushes, electric shavers and auxiliary devices such as walkers and connecting rods.
식사하는 것은 테이블과 의자 위에 있는 압력 패드 센서의 사용을 통하여 모니터될 수 있으며 필요하다면 식기류 위의 OMD의 사용으로 모니터될 수 있다. 빗자루, 쓰레받기, 조작에 대해 반응하는 진공 청소기 상에 OMD를 놓음으로써 가사일을 모니터할 수 있다. 대체로, 임의의 ADL/IADL은 센서의 구성 및 로컬 제어기로 송신된 정보에 의해 모니터되고, 간호 제공자(care provider)가 사용하기 위해서 또는 리마인더와 같은 기계 개시 개입을 위해서 일상 활동 로그로 집적될 수 있다. 세탁기 또는 건조기 상의 전류 드로 검출기를 사용하여 세탁 활동을 검출할 수 있다. 전자 제품의 전기선은, 그것들이 로그되어질 시간 날짜 표시 및 기간 데이터를 발생시키는 사용에 있을 때 신호를 로컬 제어기로 전송하도록 구성된 전류 드로 검출기에 수동적으로 연결될 수 있다.Eating can be monitored through the use of pressure pad sensors on tables and chairs and, if necessary, by the use of OMDs on tableware. Housework can be monitored by placing the OMD on a broom, dustpan, and vacuum cleaner that responds to manipulation. In general, any ADL / IADL is monitored by the sensor's configuration and information sent to the local controller and can be integrated into a daily activity log for use by a care provider or for machine-initiated interventions such as reminders. . A current draw detector on a washing machine or dryer can be used to detect laundry activity. The electrical wire of the electronic product may be passively connected to a current draw detector configured to send signals to the local controller when they are in use to generate time date indications and period data to be logged.
치장하는 것(grooming)은 일반적으로 머리 빗기(여성용), 면도하기(남성용)를 포함하는 다양한 행동들로 이루어진다. 이것은 치장하는 행동이 발생할 때 로컬 제어기에게 신호를 보내기 위해 머리빗, 면도기, 및 다른 치장 기구들에 물체 이동 검출기(OMD)를 부착하는 가능성을 제공한다.Grooming generally consists of a variety of actions, including combing the hair (for women) and shaving (for men). This offers the possibility of attaching an object movement detector (OMD) to hair combs, razors, and other dressing instruments to signal the local controller when dressing behavior occurs.
목욕하는 것은 여러개의 수단들에 의해 모니터될 수 있다. 다양한 장치들이 수도관류에 결합되어 물이 욕조/샤워실로 흐르고 있는지의 여부를 결정할 수 있다. 물/습기 검출기는 욕조에, 또는 수도관에 대한 직접적인 물리적 접촉 없이 물의 흐름의 존재에 대해 반응하는 수도꼭지/샤워기 헤드부의 개구부에 놓일 수 있다. 욕 조/샤워실의 바닥에 있는 절연된 미끄럼 방지 매트 내의 압력 감지 스위치는 RF 유닛에 적합하여 개개인들이 표면 상을 걷거나 앉을 때 정보가 로컬 제어기로 전달되도록 할 수 있다. 이들 방법들의 각각 또는 조합이 사용되어 목욕/샤워 이용을 결정하고 센서 데이터를 로컬 제어기로 전송할 수 있다.Bathing can be monitored by several means. Various devices can be coupled to the irrigation to determine whether water is flowing into the bath / shower. The water / moisture detector may be placed in the bath or in the opening of the faucet / shower head that reacts to the presence of the flow of water without direct physical contact with the water pipe. The pressure sensitive switch in an insulated anti-slip mat at the bottom of the bath / shower can be adapted to the RF unit to allow information to be passed to the local controller as individuals walk or sit on the surface. Each or a combination of these methods may be used to determine bath / shower usage and send sensor data to a local controller.
옷을 입는 것은 인식 및 조작 기능들 모두를 필요로 하는 작업들의 복잡한 전체적 조화로 이루어진다. 이러한 이유 때문에, 노인성 기능 판정에서의 전문가들은 옷 입는 것을 전반적인 기능성 건강의 기준으로써 간주하고, 옷 입는데 걸리는 시간을 능력의 변화에 대해 민감한 기능의 레벨의 표시자로써 간주한다. 옷 입는 것은 옷장 서랍 상에 리드 스위치를 배치함으로써 모니터링될 수 있으며, 벽장에 센서를 배치함으로써 옷 입는 활동의 존재, 시간 및 지속 기간을 나타낼 수 있다.Dressing consists of a complex overall harmony of tasks that require both recognition and manipulation functions. For this reason, experts in determining senile functioning consider dressing as a standard of overall functional health and the time it takes to dress as an indicator of the level of function sensitive to changes in ability. Dressing can be monitored by placing a reed switch on the wardrobe drawer and can indicate the presence, time and duration of the dressing activity by placing a sensor in the closet.
논(non)-ADL 활동 모니터링Non-ADL Activity Monitoring
작업 지향의 활동 외에도, 개인의 생활 양식과 이들의 통상적인 행동 루틴의 지표 양쪽에 중요한 행동들이 반복적으로 발생된다. 이 행동은, 텔레비전 보기, 라디오 또는 오디오 엔터테인먼트 이용, 컴퓨터 사용, 독서, 바느질 등과 같은 앉아서 하는 여가 활동의 범위를 포함한다.In addition to task-oriented activities, important actions occur repeatedly both on the individual's lifestyle and on indicators of their usual behavioral routines. This behavior includes a range of sedentary leisure activities such as watching television, using radio or audio entertainment, using a computer, reading, sewing, and the like.
이러한 활동은 여러 방식으로 모니터링될 수 있다. 전자 또는 전기 기기의 사용을 수반하는 이들 활동은, 언제 기기가 온 또는 오프되는지를 판단할 수 있는 여러 수단에 의해 모니터링될 수 있다. 예를 들면, 텔레비전은 CRT 디스플레이의 코너에 탑재되는 전류 드로 검출기 또는 광 다이오드를 트리거할 수 있다. 전류 드로 검출기는, 텔레비전이 턴 온되거나 턴 오프될 때마다 데이터를 송신하도록 구성되어서 하루 단위로 타임 온과 타임 오프를 기록(log)하는 것이 가능하게 될 수도 있다. 많은 사람들이 보는 텔레비전 및 관련 정규 방송의 인기도를 고려하여, 이 데이터를 여러 방식으로 사용하는 것이 유용할 수도 있다. 예를 들면, 변화가 모니터링될 수 있는 행동은 빠르고 늦은 텔레비전 시청을 포함할 수도 있다. 통상의 일상 활동을 나타내는 정보를 생성할 수 있는 CD, 라디오, VCR, 컴퓨터 등과 관련하여 유사한 기술들이 채용될 수도 있다.This activity can be monitored in several ways. These activities involving the use of electronic or electrical devices can be monitored by various means capable of determining when the device is on or off. For example, the television may trigger a current draw detector or photodiode mounted at the corner of the CRT display. The current draw detector may be configured to transmit data each time the television is turned on or off, making it possible to log time on and time off on a daily basis. Given the popularity of television and related regular broadcasts that many people see, it may be useful to use this data in various ways. For example, behavior in which change can be monitored may include fast and late television viewing. Similar techniques may be employed with regard to CDs, radios, VCRs, computers, etc. that may generate information indicative of normal daily activities.
예를 들면, 개인들은 전형적으로 월요일부터 금요일까지 오후 2시에서 5시 사이에 좋아하는 프로그램들을 시청할 수도 있다. 이 활동은 기능적 수행 목표를 달성하는 것에 관련되지는 않지만, 그럼에도 불구하고 개인의 전형적이거나 통상적인 일상의 매일의 루틴의 중요한 일부일 수도 있다. 텔레비전 시청 루틴 패턴의 변화, 예를 들면 오후 쇼를 보지 않거나 14시간 동안 연속적으로 텔레비전을 시청하는 것은, 육체적, 정신적 또는 그 밖의 다른 문제에 원인이 있는 활동의 변화를 나타낼 수도 있으며, 이에 따라 목적 또는 개입을 보고하기 위한 매우 유용한 정보를 제공할 수도 있다. 모니터링 시스템 텔레비전의 사용에 대한 바람직한 실시예는 전류 드로 검출기에 의해 모니터링된다. 그러나, 본 기술 분야에 통상의 지식을 가진 자라면, 장치가 온 또는 오프되는지 여부를 판단하는 많은 통상적으로 사용되는 수단이 모니터링 시스템에 신호를 전송하는데에 사용될 수 있음을 알 것이다. 또한, 통상의 일상 활동을 나타내는 정보를 생성할 수 있는 CD, 라디오, VCR 컴퓨터 등과 관련하여 유사한 기술들이 채용될 수 있다.For example, individuals may typically watch their favorite shows between 2 pm and 5 pm, Monday through Friday. This activity is not related to achieving functional performance goals, but may nevertheless be an important part of an individual's typical or routine daily routine. Changes in television viewing routine patterns, such as watching afternoon shows or watching television continuously for 14 hours, may indicate changes in activity that are caused by physical, mental, or other problems, and thus It can also provide very useful information for reporting an intervention. A preferred embodiment for the use of the monitoring system television is monitored by a current draw detector. However, one of ordinary skill in the art will appreciate that many commonly used means of determining whether a device is on or off can be used to send a signal to a monitoring system. Similar techniques may also be employed with respect to CDs, radios, VCR computers, etc. that may generate information indicative of normal daily activities.
거주 유닛 내의 몇몇 개인들간의 구별Distinguishing between several individuals in a living unit
본 발명은 또한 여러 명이 거주하는 거주 유닛 내의 개인들의 활동을 구별하기 위한 수단을 포함한다. 한 집에 살고 있는 두 명 이상의 개인들의 활동을 개별적으로 기록하는 것이 종종 유용할 수도 있다. 투약 충실성(medication adherence)의 경우, 이것은 간단히 각 개인에 대한 개별적인 투약 모니터링 캐디(caddy)를 이용하는 것을 수반하며, 각 캐디는 모니터링되고 있는 개인에 고유한 로컬 제어기 유닛 코드를 신호한다. 이동, 화장실 사용, 목욕, 식사 준비, 세탁 및 살림살이와 같은 그 밖의 다른 활동의 경우, 여러 개인들간을 구별하고 각 개인에 대한 개별적인 활동 로그를 생성하기 위해 여러 방법들을 도입하는 것이 필요하다. 이하에는, 사용자가 특수 장치를 지니고 다니고 그들의 환경 내의 객체와의 개인들의 상호 작용에만 전적으로 의존하는 것을 필요로 하지 않는 여러 방법이 기술된다. 또한 이하에는, 예를 들어 일상 생활의 모니터링된 활동을 수행하는데에 이용되는 그들의 환경 내의 객체에 대한 특정 개인들의 접근을 검출하는데에 사용되는 검출가능한 매우 짧은 범위의 신호를 방출하는, 개인에 의해 착용되는 임의의 유형의 트랜스폰더와 같은 특수 장치에 대해 기술된다. 본 발명의 바람직한 실시예에서, 트랜스폰더 또는 이와 유사한 장치는 그 시스템이 작동하는데에 필요하지 않지만, 부가적인 정보를 추가하여 어떤 개인이 어떤 작업을 언제 수행하는지를 판단하는 것의 유효성을 증가시킨다.The invention also includes means for distinguishing the activities of individuals in a residential unit inhabiting several people. It may often be useful to separately record the activities of two or more individuals living in a house. In the case of medication adherence, this simply involves using a separate medication monitoring caddy for each individual, each signaling a local controller unit code unique to the individual being monitored. For other activities, such as moving, using the toilet, bathing, preparing meals, washing and housekeeping, it is necessary to introduce different methods to distinguish between different individuals and to generate individual activity logs for each individual. In the following, various methods are described that do not require a user to carry a special device and rely solely on the interaction of individuals with objects in their environment. Also described below are wear by individuals that emit a detectable very short range of signals that are used, for example, to detect specific individuals' access to objects in their environment used to perform monitored activities of daily living. It is described with respect to special devices such as transponders of any type. In a preferred embodiment of the present invention, a transponder or similar device is not required for the system to operate, but adds additional information to increase the effectiveness of determining which individual is performing what task and when.
침대로 또는 침대 밖으로의 이동에 대해, 침대의 은 한쪽 측면, 거실, 매트리스, 또는 이들 모두에 압력 민감성 스위치 패드를 설치할 수 있다. 통상적으로 누가 오른쪽에서 잠자고 누가 왼쪽에서 자는지를 알면, 개인 a 또는 개인 b가 침대에서 나와 있는지를 나타내기 위해 이들 압력 센서를 구성하는 것이 가능하다.For movement into or out of bed, the silver sensitive side of the bed, living room, mattress, or both can be equipped with pressure sensitive switch pads. Typically knowing who sleeps on the right and who sleeps on the left, it is possible to configure these pressure sensors to indicate whether person a or person b is out of bed.
의자로의 이동에 대해, 두 명의 개인들, 예를 들면 남편 또는 아내 간에 구별하기 위해 충분한 정확도를 가지고 상대적인 무게에 응답하는 압력 민감성 센서를 사용할 수 있다. 특히 결혼한 부부와 관련하여 어떤 사람이 어떤 의자를 통상적으로 점유하는지 알 수도 있다.For movement to a chair, a pressure sensitive sensor can be used that responds to relative weight with sufficient accuracy to distinguish between two individuals, for example a husband or a wife. You may also know which chairs usually occupy which chair, especially with respect to married couples.
화장실 사용에 대해서는, 전술한 차동 무게 센서가 틸트 스위치 센서와 함께 화장실 변기 좌석에 설치되어서 좌석이 위쪽으로 수직인 위치(관례적으로 남성의 배뇨의 위치) 또는 아래 방향으로 향한 위치에 있을 때를 나타낸다. 또한, 무게 센서 패드는, 차동 무게를 평가하기 위해 화장실 앞에 있는 "목욕탕용 매트"에 삽입될 수도 있다. 예를 들어, 탱크 내의 수위가 임계치 레벨 아래로 떨어질 때, 통상적으로 오픈된 부양 스위치가 닫히도록 시그널링 유닛에 접속된 부양 스위치와 같은 화장실 물 내림(flushing)을 신호하는데에 여러가지 기술들이 사용될 수 있다.For toilet use, the differential weight sensor described above is installed on the toilet seat with a tilt switch sensor to indicate when the seat is in an upright position (as is customary for men's urination) or in a downward direction. . The weight sensor pad may also be inserted into a "bath mat" in front of the bathroom to assess the differential weight. For example, when the water level in the tank drops below the threshold level, various techniques may be used to signal toilet flushing, such as a float switch connected to the signaling unit, so that the normally open float switch is closed.
목욕에 대해, 무게 민감성 목욕용 매트의 방수 버전이 목욕통 내에 설치되어 그 사람의 차동 무게(differential weight)를 판단할 수 있다.For the bath, a waterproof version of the weight sensitive bath mat can be installed in the bath to determine the person's differential weight.
차동 무게에 대해, 대부분의 경우, 이는 식구가 두 명인 경우에 유용하며, 무게 임계치는 두 명의 무게의 평균에 근접하도록 조정되어야 한다. 두 명중 하나가 시간이 지남에 따라 몸무게가 줄고(혹은 드물게는 몸무게가 늘고) 두 명의 무게가 동일하게 될 가능성을 고려하여, 반복적으로 개인들의 무게를 재는 것이 필요할 수도 있다. 이는, 임의의 공지된 방법을 이용하거나 혹은 단지 저울을 와이어링(wiring)하고 자신의 저울 또는 트랜스폰더 또는 무게를 구별하기 위한 몇몇 다른 수단을 이용함에 있어서 개인들에게 무게를 상기시켜줌으로써 조심스럽게 행해질 수 있다.For differential weights, in most cases this is useful when there are two family members and the weight threshold should be adjusted to approximate the average of the two weights. It may be necessary to weigh the individuals repeatedly, considering the possibility that one of the two will lose weight (or rarely gain weight) over time and the weight of the two will be the same. This can be done carefully by reminding the individual of the weight in any known method or simply by wiring the scale and using some other means to distinguish their scale or transponder or weight. Can be.
건강 상태의 생리학적 측정Physiological Measures of Health
자신의 주거 유닛 내의 개인들간의 건강 상태를 모니터하는 것은 그들의 활동 및 그들의 생리적 기능 양쪽을 모니터하는 것을 포함한다. 폭 넓은 다양한 생리적 기능 측정 및 모니터링 장치는, 변수로서 체온, 맥박수, 몸무게, 혈당, 혈압, 및 산소 공급(oxygenation)(이에 한정되는 것은 아님)을 사용하여 가정에 이용가능하다. 적외선 온도, 혈당 및 맥박 판독기와 같은 이들 모든 장치들은 현재 디지털 판독 출력기와 함께 이용가능하며 정보를 로컬 제어기에 전달하도록 용이하게 변경될 수 있어서, 이들 생리적 데이터가 활동 데이터와 함께 기록되고 가족 및 전문적 간호 제공자를 위한 정보와 기계 개시 개입을 유발하기 위한 정보의 종류 양쪽을 결합하는 단일 보고서로 통합될 수도 있다. 본 발명에 따라 이용가능한 측정을 위한 많은 장치들은 알리푸코(Alyfuko)에 의한 미국 특허 제5,410,471호에 개시되어 있으며 이는 본 명세서에 참조로 인용된다.Monitoring the health status between individuals in their residential unit includes monitoring both their activity and their physiological function. A wide variety of physiological function measurement and monitoring devices are available at home using, but not limited to, body temperature, pulse rate, weight, blood sugar, blood pressure, and oxygenation. All these devices, such as infrared temperature, blood glucose and pulse readers, are currently available with digital readouts and can be easily changed to convey information to the local controller, so that these physiological data are recorded along with activity data and family and professional care It can also be integrated into a single report that combines both the information for the provider and the type of information to trigger machine-initiated intervention. Many devices for the measurements available in accordance with the present invention are disclosed in US Pat. No. 5,410,471 to Alyfuko, which is incorporated herein by reference.
또한, 본 발명의 시스템은 측정중인 사용자들을 도울 수 있다. 예를 들면, 혈압을 판단하기 위해 사용자는 자리에 앉고 커프를 착용하고 기타의 요구 단계들을 수행할 것을 시스템에 의해 지시받을 수 있다. 측정된 판독 결과가 사전설정된 범위 내에 있지 않은 경우, 사용자는 측정을 반복할 것을 지시받을 수 있다. 이는 사용자의 PC 상의 상호작용식 소프트웨어 또는 인터넷을 통해 행해질 수 있다.In addition, the system of the present invention can help users under measurement. For example, to determine blood pressure, a user may be instructed by the system to sit down, wear a cuff and perform other required steps. If the measured reading is not within the preset range, the user may be instructed to repeat the measurement. This can be done via interactive software on the user's PC or via the Internet.
개입을 나타내는 판독의 예로서, 그 날 동안 개인의 활동이 감소되는 경향이 있는 것을 나타내고 밤에 잠자지 않는 경우를 들 수 있다. 이는 심장마비(CHF)의 징후를 반영할 수 있다. 이 경우 활동이 감소된 것은, 집 주위에서의 총 이동량이 적어진 것, 거주 유닛으로 들어 오고 나가는 총 이동량이 적어진 것, (적용가능한 경우) 계단을 오르는 빈도가 적어지거나 더 느려지는 것(평균 지속시간이 더 길어지는 것), 및/또는 잠자는 시간이 더 길어지는 것으로서 측정될 수도 있다. 로컬 제어기는, 감소된 활동 및/또는 밤에 잠자지 않는 것을 고려하여 개입을 트리거하도록 프로그래밍될 수 있으며, 이는 다음 날 동안 혈압 판독에 대한 요구/리마인더를 수반할 수도 있다. 또한 이전에 취해진 혈압의 연속적인 기준선에 대하여 혈압을 플롯(plot)할 수도 있으며, 심장 수축 또는 확장 압력이 상위 및 하위 임계값(시그마 레벨) 외에 있는 경우, 모니터링되는 개인, 그들의 의사 및/또는 건강 상태의 변화 가능성이 있는 그 밖의 다른 적절한 사람에게 알리는 조치가 취해질 수 있다. 검진을 하거나 간호 제공자와 접촉하도록 하는 지시는 본 발명의 보고서에 의해 나타내어지는 개입들일 수 있다.An example of a reading indicating intervention is when the individual indicates that the activity tends to decrease during the day and does not sleep at night. This may reflect signs of a heart attack (CHF). In this case, the reduced activity means less total movement around the house, less total movement into and out of the residential unit, less frequent or slower to climb stairs (if applicable) (average Longer duration), and / or longer sleep time. The local controller may be programmed to trigger an intervention taking into account reduced activity and / or not sleeping at night, which may involve a request / reminder for blood pressure readings for the next day. It is also possible to plot blood pressure against a continuous baseline of previously taken blood pressure, and if the systolic or diastolic pressure is outside the upper and lower thresholds (sigma level), the monitored individual, their physician and / or health Action may be taken to inform other appropriate persons who may change the condition. Instructions to conduct a checkup or contact a care provider may be the interventions indicated by the report of the present invention.
의사가 통합된 건강 및 기능 보고서 내에서 혈압 데이터, 활동 로그 데이터 및 투약 준수 데이터를 비교할 때, 처방을 위해 매우 중요한 정보가 의사에게 제공된다. 다른 예를 들면, 밤중에 화장실에 자주 가는 것은 감염이 있음을 나타내는 것일 수도 있다. 단일 보고서 내에서 화장실에 가는 것과 체온 판독에 관한 정보를 결합함으로써, 의사 또는 그 밖의 간호 제공자는 감염의 증거를 얻을 수 있으며 모니터링된 개인이 적절한 제공자에게 신속하게 보여지는 것을 확실하게 할 수 있다. 또한, 행동 변화, 생리적 변화 또는 이들 양쪽의 조합에 기초하여 로컬 제어기가 조치를 취하도록 프로그래밍하는 것이 가능하다. 예를 들면, 로컬 제어기는, 모니터링된 개인이 밤에 정상적이지 않게 화장실을 사용하는 것 또는 그 밖의 활동 후에 체온 및 혈압 또는 기타의 측정을 행할 것을 요구하도록 프로그래밍될 수도 있다. 주로, 임의의 생리적 측정 장치들의 결합은, 호환가능한 RF 전송기를 구비하게 하고 이들 장치들을 소프트웨어로 구현가능하게 함으로써 시스템에 통합될 수 있다.When doctors compare blood pressure data, activity log data and medication compliance data within an integrated health and functional report, very important information is provided to the doctor for prescription. In another example, frequent visits to the bathroom at night may indicate an infection. By combining information about going to the toilet and temperature readings within a single report, doctors or other caregivers can obtain evidence of infection and ensure that monitored individuals are quickly shown to the appropriate providers. It is also possible to program the local controller to take action based on behavioral changes, physiological changes, or a combination of both. For example, the local controller may be programmed to require a monitored individual to take body temperature and blood pressure or other measurements after using the toilet abnormally at night or after other activities. In principle, any combination of physiological measurement devices can be integrated into the system by having a compatible RF transmitter and making these devices software implementable.
여러 실시예들에서, 모니터링되는 개인은 주기적인 자동화된 검사에 참여하도록 요구되며 이 동안 이들은 예를 들어 테이블에 앉고 체온을 재고 혈압을 재도록 로컬 제어기에 의해 리마인드되고 재촉된다. 제어기는 퍼스널 컴퓨터에 연결된 스피커를 통해 들을 수 있는 합성되거나 기록된 음성을 이용하여 이들에게 재촉하는데, 여기서 로컬 제어기의 마이크로프로세서가 존재하거나 독립형 유닛의 형태로 로컬 제어기에 접속되는 스피커 폰이 존재한다. 개인은 이에 따라 검사 동안 무엇을 해야할지에 대해 지시받는다. 제어기에 의해 포착되는 데이터는 연속적인 기준선 평균 및 원격 모니터링 사이트에 보고되는 결과에 대하여 분석된다. 이에 따라, 본 발명은 생리적 측정 및 행동 측정에 대한 정보를 인간 최종 사용자(human end user) 및/또는 기계 개시 개입을 위한 단일 보고서에 통합시키는 것을 허용한다.In various embodiments, the monitored individual is required to participate in a periodic automated test during which they are reminded and prompted by a local controller to, for example, sit at a table and check body temperature and take blood pressure. The controller prompts them using synthesized or recorded voices that can be heard through a speaker connected to a personal computer, where there is a microprocessor of the local controller or a speaker phone connected to the local controller in the form of a standalone unit. The individual is thus instructed what to do during the examination. Data captured by the controller is analyzed for successive baseline averages and the results reported to the remote monitoring site. Accordingly, the present invention allows incorporating information about physiological and behavioral measures into a single report for human end user and / or machine initiated interventions.
휴대성Portability
본 발명은 거주 유닛 내의 개인 사용자 또는 사용자들을 모니터하기 위한 여러 수단들로 구성되지만, 휴대용 기기가 시스템에 합체될 수도 있다. 예를 들면, 휴대용 투약 모니터링 장치는 집 밖으로 사용자가 지니고 다닐 수 있다. 이 장치는 개인에게 자신들의 투약을 기록 및/또는 리마인드하도록 할 수 있다. 거주 유닛으로 돌아가면, 투약 유닛은 로컬 제어기에 RF 신호함으로써 통신할 수 있으며 거주 유닛의 외부에서 취해진 투약에 관한 정보는 거주 유닛에서 수집된 투약에 관한 정보와 함께 통합된다. 이에 따라, 거주 유닛의 외부에서의 사용자의 투약 행동에 관한 정보와, 거주 유닛 내에서 얻어진 정보를 통합하여 개인들의 일상의 행동들에 대한 보다 완전한 묘사(picture)를 전개하는 것이 가능하다.Although the invention consists of several means for monitoring an individual user or users in a residential unit, a portable device may be incorporated into the system. For example, a portable medication monitoring device may be carried by a user outside the home. The device may allow an individual to record and / or remind their medication. Returning to the residential unit, the dosage unit can communicate by RF signal to the local controller and the information about the medication taken outside of the residential unit is integrated with the information about the medication collected at the residential unit. Thus, it is possible to unify information about the user's dosing behavior outside the resident unit with information obtained within the resident unit to develop a more complete picture of the individual's daily behaviors.
휴대용 투약 모니터링 외에도, 휴대용 생리적 모니터링(예를 들면, 심장, 호흡, 혈액 산소 공급, 혈압 등) 및/또는 활동 이동 모니터링(예를 들면, 주행 기록계, 걸음 주행 기록 형태의 장치 등)을 갖는 것이 가능하다. 마찬가지로, 전술한 휴대용 투약 모니터링과 유사하게, 데이터 전송 채널과 링크를 생성하여 가정 기반 로컬 제어기 내의 휴대용 유닛으로부터 수집된 신호 데이터를 통합하고 이를 인간 및 기계 사용을 위한 일상 생활 보고서의 생성을 위한 기본으로 사용하는 것은 기술적으로 용이하다. 이러한 보고서 및 정보 생성은 사용자의 건강 및 기능을 유지하는 데에 매우 유용한 것으로 입증될 수도 있다.In addition to portable dosing monitoring, it is possible to have portable physiological monitoring (eg cardiac, respiratory, blood oxygenation, blood pressure, etc.) and / or activity movement monitoring (eg, tachographs, devices in the form of gait recordings, etc.). Do. Similarly, similar to the portable medication monitoring described above, data transmission channels and links can be created to integrate signal data collected from portable units within home-based local controllers and to serve as a basis for the generation of daily life reports for human and machine use. It is technically easy to use. Such reports and information generation may prove very useful for maintaining the health and function of the user.
보안 및 환경적 모니터링Security and environmental monitoring
목표 지향 기능 활동 및 개인들의 매일의 활동을 이루는 다른 행동들 뿐아니라, 본 발명의 모니터링 시스템은 거주 유닛 내에서의 보안, 안전 및 환경에 관련 한 정보를 수집하고 분석할 수 있다. 전술한 바와 같이, 모니터링 및 보고서 생성 시스템의 다양한 실시예들은, 스토브와 같은 위험한 가전기기와 관련한 활동을 기록(log)하기 위해 사용될 수 있고, 스토브를 너무 오랫동안 방치해 온 것으로 판정되어 스토브를 잠그는 등의 문제 발생시 또는 연기 또는 열 감지기가 작동된 경우에 자동화된 초기 액션을 취하기 위해 필요하다.In addition to goal-oriented functional activities and other actions that make up the daily activities of individuals, the monitoring system of the present invention can collect and analyze information relating to security, safety and the environment within the residential unit. As mentioned above, various embodiments of the monitoring and report generation system can be used to log activities related to hazardous appliances such as stoves, lock stoves, etc., as it has been determined that the stove has been left for too long. It is necessary to take an automated initial action in case of a problem or when a smoke or heat detector is activated.
또한, 욕조 넘침 및 유사한 방법으로 거주 유닛에서의 싱크의 넘침을 모니터하기 위한 수단 및 절차들이 앞서 설명되어 있다. 이러한 기능들은 둘다, 체크되지 않은 경우, 모니터링된 개인들의 안전 및/또는 거주 유닛의 상태에 심각한 부정적인 영향을 끼칠 수 있는 이벤트들을 검출하는 데 초점을 맞춘다. 이러한 기능들 뿐아니라, 개인들 및 그 거주 유닛의 보안 및 안전에 영향을 주는 방대한 범위의 추가적인 이벤트들이 있는 데, 이것들은 매우 유용한 것으로 판명될 수 있다. 예를들어, 집 또는 아파트의 옥외로 이어지는 현관문을 잠그고 채우는 것을 모니터하는 것은, 보고서 및 리마인더와 함께 많은 개인들에 있어 보안 문제의 위험을 감소시킨다. 잘 잊어버리거나 혼란스러운 개인들은 특히 이러한 기능에 의해 도움을 받을 수 있다. 문 닫음 및 잠금을 모니터하는 것은, 잠금 메커니즘의 상태 검출을 잠겨있거나 풀려있는 것으로서 할 수 있도록 하는 방법으로 로킹 메카니즘에 적합한 스위치 구성과 연관하여 신호를 로컬 제어기로 송신하게 하여 회로를 개폐하는 기본적인 자기 리드 스위치(magnetic reed switch)에 의해 달성될 수 있다. 그 다음에 이러한 스위치는 적절한 시그널링 장치에 접속되어 정보를 로컬 제어기로 전송함으로써, 모니터링 시스템이 이러한 정보를 여러가지 보고서 및 개입 결정에 통 합할 수 있게 한다.In addition, the means and procedures for monitoring the overflow of the sink in the residential unit in a bath overflow and in a similar manner are described above. Both of these functions focus on detecting events that, if unchecked, can have a significant negative impact on the safety of the monitored individuals and / or the state of the resident unit. In addition to these functions, there are a wide range of additional events that affect the security and safety of individuals and their living units, which can prove very useful. For example, monitoring the locking and filling of front doors leading to the outdoors of a house or apartment reduces the risk of security issues for many individuals with reports and reminders. Forgotten or confused individuals can be particularly helped by these features. Monitoring door closing and locking is a basic magnetic lead that opens and closes circuits by sending signals to the local controller in conjunction with a switch configuration suitable for the locking mechanism in a way that allows detection of the state of the locking mechanism as either locked or unlocked. It can be achieved by a magnetic reed switch. These switches are then connected to the appropriate signaling device to send the information to the local controller, allowing the monitoring system to integrate this information into various reports and intervention decisions.
건강한 레벨 위 및 아래의 대기 온도는 특히 허약한 노약자의 건강에 실로 위협이 된다. 매년 갑자기 엄습하는 열파 및 한파는, 대기 온도의 극단적이고 위험한 변동을 적절하게 판단하는 데 생리적으로 무능력한 노약자들을 수백만은 아니지만 일부 죽음에 이르게 한다. 전자적 또는 기계적인 자동 온도 조절 구성 요소를 갖는 많은 온도 감지 기구는 환경적 제어 분야의 당업자에게 친숙하다. 이러한 유닛들은 상업적으로(통상) 이용가능하고 건물의 난방 및 냉방 제어 및 모니터링에 일상적으로 사용된다. 온도 센서를 적절한 시그널링 시스템에 접속함으로써, 방 온도 데이터가 로컬 제어기로 전송되고, 기록되고 분석되며, 기계 발생된 보고서뿐만 아니라 개입의 기초로서 작용한다. 모니터링 시스템의 바람직한 실시예에서, 온도 센서가 경보 발생을 위해 사용되며 만약 필요하다면, 온도가 임계치 이상으로 상승하거나 또는 임계치 이하로 떨어진다면 치료사들과 자동적으로 통신이 개시된다. 이러한 기능은 생명을 구할 수 있다.Atmospheric temperatures above and below healthy levels are a real threat to the health of particularly vulnerable seniors. Every year, sudden heat waves and cold waves result in some, if not millions, deaths of the elderly, who are physiologically incapable of properly judging extreme and dangerous fluctuations in atmospheric temperature. Many temperature sensing devices with electronic or mechanical thermostatic components are familiar to those skilled in the art of environmental control. These units are commercially available (usually) and routinely used for heating and cooling control and monitoring of buildings. By connecting the temperature sensor to the appropriate signaling system, room temperature data is transmitted to the local controller, recorded and analyzed, and serves as the basis for intervention as well as machine generated reports. In a preferred embodiment of the monitoring system, a temperature sensor is used for alerting and if necessary, communication is automatically initiated with the therapists if the temperature rises above or falls below a threshold. This function can save lives.
원칙적으로는, 보안 및 환경 감지기로부터의 정보는 로컬 제어기 내의 환경 데이터와 통합되거나, 환경 정보와 연관하여 사용될 수 있어 다양한 개입을 가능하게 한다. 예를들어, 시스템은 문이 닫혀져있기 때문에 거주 유닛에서의 움직임이 없음을 알아채고 문이 잠기지 않은 것을 감지하도록 구성되고 프로그램되어, 문을 자동으로 잠그는 액션을 취한다. 보안 및 행동 데이터의 조합에 기초하여 개입하기 위한 다양한 알고리즘이 가능하다.In principle, information from security and environmental sensors can be integrated with environmental data in the local controller or used in conjunction with environmental information to enable various interventions. For example, the system is configured and programmed to detect that there is no movement in the living unit because the door is closed and to detect that the door is not locked, thereby taking the action of automatically locking the door. Various algorithms are possible for intervening based on a combination of security and behavioral data.
마찬가지로, 행동 정보와 함께 온도 데이터를 사용하여 분석 및 개입을 알릴 수 있다. 예를들어, 개인이 침대에 머무는 시간량이 증가하면서 방 온도가 50도 이하로 떨어졌다는 정보는, 개인을 돕기 위해 빨리 액션을 취해야 하는 가족이나 전문 봉사자에게 유용한 정보일 수 있다. 도어 잠금 및 생리적인 측정과 관련하여, 온도와 같은 환경적 변수들이 모니터링 시스템의 중재 및 보고서에 통합될 이유는 없다. 다른 환경적 변수들은 연기 및 (광 연기 검출기가 측정하는) 먼지 미립자 검출기, 노이즈 및 진동, 일산화탄소, 습도 등을 포함할 수 있다. 센서를 사용하여 자동 검지될 수 있는 어떤 환경적 조건이 본원에 설명된 모니터링 시스템과 연관하여 사용될 수 있다.Similarly, temperature data along with behavioral information can be used to inform analysis and intervention. For example, information that the temperature of a room has dropped below 50 degrees as the amount of time an individual stays in bed may be useful for family or professional volunteers who need to take action quickly to help the individual. With regard to door locking and physiological measurements, there is no reason for environmental variables such as temperature to be incorporated into the monitoring system's interventions and reports. Other environmental variables may include smoke and dust particulate detectors (measured by optical smoke detectors), noise and vibration, carbon monoxide, humidity, and the like. Any environmental condition that can be automatically detected using a sensor can be used in conjunction with the monitoring system described herein.
인터넷Internet
로컬 제어기와 원격 모니터링 사이트 간의 통신 수단으로서 인터넷의 사용은 정보 교환을 효율적으로 하고 비용면에서 효율적일 뿐아니라 다수 사용자들 및 다양한 타입의 개인 및 기관 사용자들에 로컬 제어기에 의해 웹사이트로 알려지는 보고서 정보에 액세스할 가능성을 제공한다. 일 실시예에서, 다수의 로컬 제어기들은 모뎀 및 자동화된 다이얼 업 소프트웨어를 사용하여 데이터 전송 수단으로서 이메일을 사용하는 웹 사이트로 활동 로그를 배달한다. 배달된 이메일은 해석 포스트 처리(interpretive post processing)되어 다른 사용자들에 대한 다양한 요약 보고서들로 변환된다. 예를들어, 모니터링된 개인의 관계자들은 핀 번호 또는 비밀 번호 형태로 웹 사이트에 액세스할 수 있고, 액세스로서 기본적으로 하루 단위의 활동에 대해 보고한다. 또는 병원에 있는 환자 그룹은 기관 포털을 사용하여 웹 사이트에 액세스할 수 있고 모니터링된 개인 가족 구성원에 이용가능한 보다 좀 더 상세하게 충실한 투약에 관한 보고서를 접할 수 있게 된다. 그 웹 사이트를 갖는 원격 모니터링 스테이션은 또한, 다양한 개인 및 기관 클라이언트에 대한 액세스 비용과 보고서 요청 트랜잭션에 관련된 과금 정보를 저장하고 처리하도록 프로그램될 수 있다. 예를들어, 가족 구성원은 비교적 적은 모니터링 월부금과 액세스된 각 보고서에 대해 적은 트랜잭션 요금을 지불하지만 건강 제공자는 상당히 큰 월부금과 보고서 요금을 지불할 수 있다. 과금은 전술한 처리를 갖는 원격 모니터링 사이트 컴퓨터에 의해 행해지고 모니터링된 클라이언트에 활동 정보를 전송할 수 있다.The use of the Internet as a means of communication between a local controller and a remote monitoring site is not only efficient and cost effective for information exchange, but also report information known as a website by the local controller to multiple users and various types of individual and institutional users. Provides the possibility to access. In one embodiment, a number of local controllers use a modem and automated dial-up software to deliver an activity log to a web site using email as a means of data transmission. The delivered email is interpreted post processing and converted into various summary reports for other users. For example, monitored individuals can access a web site in the form of a pin number or password, and report access daily activity by default. Or, a group of patients in a hospital can use the institutional portal to access a website and access reports on more detailed faithful dosing available to monitored individual family members. The remote monitoring station with its web site can also be programmed to store and process billing information related to access costs and report request transactions for various personal and institutional clients. For example, a family member may pay a relatively small monthly payment and a small transaction fee for each report accessed, but a health provider may pay a fairly large monthly payment and report fee. The charging can be done by the remote monitoring site computer having the above-described processing and send the activity information to the monitored client.
인터넷은 위급하지 않은 상황에서 정보의 우수한 교환 수단을 제공하는 한편, 경보 코드인 경우 가족 및 도움을 요청하기 위해 호출하도록 시스템을 페이저에 접속하는 데 유용할 수 있다. 예를들어, 모니터링된 개인이 크리티컬한 시간이 경과하기 전에 침대에서 벗어나지 않는다면, 전화 호출을 대신하여 또는 그와 연관하여 페이징이 행해질 수 있다. 페이저 시스템에서 공통인 알파벳 디스플레이 기술을 사용하여, 음성 전화기에서 사용된 합성된 음성을 대신하여 ASCII 코드를 사용하여 가능한 비상 현상을 표시할 수 있다.While the Internet provides an excellent means of exchanging information in non-emergency situations, it may be useful to access the pager to call the system to call for family and help in case of an alarm code. For example, if the monitored individual does not get out of bed before the critical time has elapsed, paging may be done in place of or in association with the telephone call. Using the alphabetic display technology common to pager systems, it is possible to represent possible emergencies using ASCII codes in place of the synthesized voice used in voice phones.
인터넷은 로컬 제어기 및 원격 제어기 간에 어떤 목적을 위한 정보 전송 수단으로서 사용될 수 있다. 예를들어, 로컬 제어기는 인터넷 서비스 제공자(ISP)에 다이얼하고, 로그 온하며 분석, 개입, 보고서 기록, 재프로그래밍 등의 목적으로 데이터 패킷을 송신하거나 수신할 수 있다. 웹 페이지로서 구조화된 원격 모니터링 사이트는 광범위한 다양한 사용자 보고서를 여러가지 방식으로 저장, 분석 및 전파할 수 있다. 일 실시예에서, 로컬 제어기는 인터넷을 주기적으로(예를 들어, 매 6, 12, 24 또는 다른 시간 단위로) 액세스하도록 프로그램되고 웹 서버 형태의 원격 사이트로 데이터를 전송한다. 원격 모니터링 사이트는 정보를 수신하고, 표준 식별 및 패스워드 프로토콜을 사용하여 보안 포털에 로그인하고 들어감으로써 이러한 정보를 액세스할 수 있는 클라이언트, 가족, 보건 전문의, 케이스 관리자, 건강 관리 제공자 등에 이용가능하도록 만들어진다. 이것은 다양한 사용자들로 하여금, 모니터링된 클라이언트에 기초하여 보고, 분석 및 기록의 질의를 할 수 있게 한다.The Internet can be used as a means of transmitting information for some purpose between the local controller and the remote controller. For example, the local controller may dial in, log on, and send or receive data packets for purposes of analysis, intervention, report recording, reprogramming, and the like, to an Internet service provider (ISP). A remote monitoring site, structured as a web page, can store, analyze, and propagate a wide variety of different user reports in different ways. In one embodiment, the local controller is programmed to access the Internet periodically (eg, every 6, 12, 24 or other time units) and send data to a remote site in the form of a web server. Remote monitoring sites are made available to clients, families, health professionals, case managers, health care providers, etc. that can receive information and access it by logging in and entering secure portals using standard identification and password protocols. . This allows a variety of users to query, analyze and record queries based on monitored clients.
더우기, 클라이언트(즉, 모니터링된 개인들), 가족 구성원(임시 간호자), 건강 보호 제공자, 사회 지원 단체(공식 간호자)에 의해 각 클라이언트 정보를 고의로 액세스할 수 있는 다수의 사용자 포털이, 정보 트랙킹 및 빌링 목적으로 사용가능한 트랜잭션 기록을 자동으로 생성하는 데 사용될 수 있다. 도 12는 이하에서 다중 사용자 포털을 갖는 인터넷 웹 사이트의 실시예를 도시한다. 이러한 방식으로, 클라이언트 및 다른 가입자들은 다양한 방법으로 액세스된 정보에 대해 트랙킹될 수 있고 비용청구될 수 있다. 일 실시예에서, 클라이언트는 무료 액세스를 얻고 등록된 가족 구성원은 개월 당 질의 수를 이후에 질의 당 부가 방식으로 할 수 있다. 병원은 또한 질의 당 요금 부가 방식으로 될 수 있다.Furthermore, there are a number of user portals in which each client's information is intentionally accessed by the client (ie, monitored individuals), family members (temporary caregivers), health care providers, social support organizations (official caregivers), It can be used to automatically generate transaction records that can be used for tracking and billing purposes. 12 illustrates an embodiment of an internet web site with a multi-user portal below. In this way, clients and other subscribers can be tracked and billed for information accessed in a variety of ways. In one embodiment, the client gets free access and the registered family member may later make the number of queries per month in an additive manner per query. The hospital can also be on a per-query charge basis.
클라이언트 정보를 웹 서버에 두고 등록된 사용자로 하여금 이 정보에 액세스하게 하는 것 뿐아니라, 이메일을 통해 정보를 가입자에게 주기적으로 전송하고 보고하는 것이 유용하다. 따라서, 가족 구성원, 의료진들, 케이스 매니저 등은 사 용자 컴퓨터에 의해 수신될 수 있는 이메일을 통해 또는 이메일 메시지를 수신할 수 있는 어떤 다른 장치를 통해 클라이언트에 주기적(매일, 일주, 한달 간격으로)으로 기계 생성 보고서를 수신할 수 있다. 또한, 인터넷을 휴대 전화기, 페이저 및 PDA(personal data assistant)를 포함하는(이들에 제한되는 것은 아님) 여러 종류의 무선 장치에 연결함으로써 인터넷을 통한 정보 전송을 위한 긴급한 또는 빠른 응답 옵션을 가져올 수 있다. 예를들어, 모니터링된 개인이 크리티컬한 시간이 경과하기 이전에 침대에서 벗어나지 않는다면, 전화 호출 대신에 또는 전화 호출과 연관하여 페이징을 행할 수 있다. 페이저 시스템에서 공통인 알파벳 디스플레이 기술을 사용하여, 음성 전화기에 사용된 합성 음성 대신에 디스플레이된 인쇄 문자를 사용하여 가능한 긴급 속성을 표시할 수 있게 된다. 로컬 제어기(100)와 원격 모니터링 사이트를 공통 채널로서 인터넷을 통해 연결한다고 해서 로컬 제어기 및 원격 모니터링 사이트의 필수적인 속성을 변경할 필요는 없다. 로컬 제어기는 모니터링된 개인의 거주 유닛에서의 센서 기반 데이터를 얻고, 저장하고, 구성하고 분석하기 위해 사용될 수 있다. 상기에서 언급한 바와 같이, 원격 모니터링 사이트의 많은 기능들을 실행하도록 로컬 제어기를 구성하고 프로그램하는 것이 가능해진다. 따라서, 로컬 제어기와 원격 모니터링 시스템들 간에 다른 기능들이 분포된 다양한 실시예들이 가능하다. 원칙적으로 보고서 발생, 자동 행동 및 생리학적 프로파일링, 기계 개시 리마인더 및 개입의 모든 기능들이 로컬 제어기에 의해 하나의 거주 유닛 내의 개인들에 대해 실행될 수 있다. 따라서, 최종 사용자가 이 사이트로부터 클라이언트에 관한 정보를 수신하는 한 원격 모니터링 사이트의 기능의 수와 복잡성을 상당히 감소시킬 수 있게 된다.In addition to putting client information on a web server and allowing registered users to access this information, it is useful to periodically send and report information to subscribers via email. Thus, family members, clinicians, case managers, etc., periodically (daily, weekly, monthly) to clients via email that can be received by the user's computer or through any other device capable of receiving email messages. Receive machine generated reports. In addition, connecting the Internet to a wide variety of wireless devices, including, but not limited to, cellular telephones, pagers, and personal data assistants (PDAs) can result in urgent or quick response options for information transfer over the Internet. . For example, if the monitored individual does not get out of bed before the critical time has elapsed, paging may be performed instead of or in conjunction with the telephone call. Using the alphabetic display technology common to the pager system, it is possible to display the possible emergency attributes using the printed characters displayed instead of the synthesized voice used in the voice telephone. Connecting the
일 실시예에서 원격 사이트는 페이저, 전화기 또는 무선 수신기로 축소되며, 이것들은 클라이언트가 필요한 경우, 또는 합성된 음성 또는 디스플레이된 텍스트를 통해 정보를 보고하는 경우 간호 제공자들 등에 신호한다. 이러한 경우 로컬 제어기의 기능성이 최대화되고 원격 모니터링 사이트가 최소화된다. 한편, 센서들이 거주 유닛 내에 위치되고, 로컬 제어기는 그 출력들을 사용가능 통신 채널로 모은 다음 원격 모니터링 사이트에 의해 처리되도록 하는 시스템으로 모니터링 시스템을 구성하는 것이 가능하다. 이것으로 로컬 제어기가 최소화되어 데이터 분석 기능성은 거의 전적으로 원격 모니터링 사이트에 의존한다. 바람직한 실시예에서, 하나 또는 많은 거주 유닛에서 하나 또는 많은 개인들의 데이터 수집 및 분석을 포함하는 케이스 관리의 고 레벨 기능들이 원격 모니터링 시스템에 의해 실행되는 반면 로컬 제어기들은 주로 하나의 거주 유닛 내의 센서 데이터에 기초한 발명들을 기록하고, 분석, 보고하고 자동화시키는 기능을 하며, 이 로컬 제어기는 거주 유닛 내에 있지만 원격 모니터링 시스템은 아니다.In one embodiment, the remote site is reduced to a pager, telephone or wireless receiver, which signals to care providers and the like as the client needs or reports information via synthesized voice or displayed text. In this case the functionality of the local controller is maximized and the remote monitoring site is minimized. On the other hand, it is possible to configure the monitoring system with a system in which sensors are located in the residential unit and the local controller collects its outputs into an available communication channel and is then processed by the remote monitoring site. This minimizes the local controller so that the data analysis functionality is almost entirely dependent on the remote monitoring site. In a preferred embodiment, high level functions of case management, including data collection and analysis of one or many individuals in one or many residential units, are performed by the remote monitoring system while local controllers are primarily responsible for sensor data in one residential unit. It functions to record, analyze, report and automate based inventions, and this local controller is in the residential unit but is not a remote monitoring system.
인터넷의 편재(ubiquity)는 인터넷을 로컬 제어기와 원격 모니터링 사이트 간의 바람직한 통신 링크의 수단이 되게 한다. 인터넷으로부터, 인터넷을 통한, 인터넷으로의 데이터 전송의 여러 수단들이 당업자들에게 공지되어 있다. 바람직한 실시예에서 로컬 및 원격 모니터링 사이트 간의 통신 링크는 이메일에 의해 구축되고 유지될 수 있다. 활동 로그는 텍스트 파일로서 간단히 업로드되고 이를 수신하는 원격 사이트로 메일링되며, 정확한 메일 박스에 위치되고, 처리된 다음 이 메일을 통해 최종 사용자들에게로 보고서를 자동 송신하거나 가족 및 전문가들에 암호에 의해 액세스가능한 보안 웹 사이트로 보고서를 배달한다.The ubiquity of the Internet makes the Internet a preferred communication link between local controllers and remote monitoring sites. Various means of data transfer from the Internet, over the Internet, to the Internet are known to those skilled in the art. In a preferred embodiment the communication link between local and remote monitoring sites can be established and maintained by email. Activity logs are simply uploaded as text files and mailed to the remote site that receives them, placed in the correct mailbox, processed, and then automatically sent reports to end users via email or passwords to family and professionals. Deliver the report to a secure web site accessible by.
이제 도 12를 참조하면, 인터넷 기반 원격 모니터링 사이트의 바람직한 실시예가 웹 페이지(1001)의 형태로 구성된다. 웹 페이지(1001)는 클라이언트들이 클라이언트 포털들에 의해 모니터링되는 개개인들에 관한 정보를 액세스하도록 해준다. 두개의 포털들이 도시되어 있다. 개인 포털(1007)은 모니터링되는 개인 및 지정된 개인들(가족 구성원 등)이, 로컬 제어기에 의해 축적되고 집적되어 임의의 다양한 통상 이용되는 수단에 의해 인터넷에 전송되는 행동 및 다른 정보를 액세스하도록 해준다. 기관 포털(1008)은 기관들(예를 들면, 건강 관리 제공자들, 케이스 관리 서비스 유닛들, 보험업자들 등)이 모니터링되는 클라이언트에 관한 정보를 액세스하도록 해준다. 바람직한 실시예에서, 이 포털들은 PIN 넘버, 암호화, 방화벽 등과 같은 클라이언트들 개인에 관한 정보의 보안을 위해 통상적으로 채용되는 수단을 이용한다. 주로, 임의의 개수의 포털들이 정보에 대한 액세스를 달리하는 상이한 클라이언트들의 그룹들을 수용하기 위해 이용될 수 있다.Referring now to FIG. 12, a preferred embodiment of an internet based remote monitoring site is configured in the form of a
보고서 생성기(1002), 모니터링된 정보의 데이터베이스(1003), 및 인입 데이터 포털(1004)은 로컬 제어기들에 의해 축적된 데이터로부터 광범위한 종류의 보고서들을 생성하기 위한 수단을 형성한다. 인입 데이터 포털(1004)은 임의의 개수의 로컬 제어기들로부터 정보의 패킷들을 수신한다. 본 실시예에서, 이메일은 데이터 전송용 수단으로서 역할을 하는데, 인입 데이터 포털은 모니터링되는 개인들로부터 수신하도록 구성된다. 모니터링된 정보의 데이터베이스(1003)는 인구통계학적, 의 료 및 기능적 필요와, 빌링 정보(예를 들어 포털 어드레스, 전화 번호 등)를 포함하는 각각의 모니터링되는 개인의 클라이언트 배경 기록을 포함한다.
인입 데이터 포털(1004)로부터 들어오는 데이터에 대해, 모니터링된 정보의 데이터베이스(1003)는 또한 각각의 로컬 제어기에 대한 파일들을 소팅하고 저장하고, 새롭게 수신된 정보로 데이터베이스를 자동적으로 갱신하고, 정보에 의해 생성될 보고서들의 형태, 내용 및 수신자를 결정하는 명령들의 기록을 유지한다. 이 명령들은 주어진 보고서 내에 포함될 모니터링되는 이벤트들의 타입 및 개수, 보고서 내에 이용되는 특정 타입의 요약(카운트, 합계, 평균, 임계 레벨, 이벤트의 구두 설명, 이벤트의 그래픽 묘사 등), 보고 기간의 빈도(시간, 일, 주, 달 등), 및 상기 보고서의 수신인에 관한 정보(이름, 관계, 이메일 어드레스, 전화/페이저 번호, 우편 주소 등)를 포함하지만, 이들로만 한정되지는 않는다.For data coming from the incoming data portal 1004, the database of monitored
이러한 방법에서, 모니터링된 정보의 데이터베이스(1003)는 로컬 제어기가 축적한 데이터 및 모니터링되는 개인, 생성될 보고서들, 이 보고서들을 수신할 측들에 관한 추가적인 정보를 포함한다. 모니터링된 정보의 데이터베이스(1003) 내에 포함된 각각의 보고서 명령들에서 결정된 시간 간격들로, 데이터가 보고서 생성기(1002)를 통해 처리되고, 로컬 제어기에 의해 수집된 데이터가 수치적, 그래픽적 및 서면 보고서들로 축약되어, 다양한 보고서들이 생성된다. 그런 다음, 이 보고서들은 저장되고 보고서 송신기(1006)에 전달되는데, 보고서 송신기(1006)는 보고서들을 소팅하고, 저장하고, 이메일, 자동 혹은 실제 사람의 전화 호출, 음성/알파뉴메릭 페이징(voice/alpha numeric paging), 및 보고서를 종이에 인쇄하여 적당한 고객에게 실제로 보내는 우편 메일을 포함한 수단에 의해 다양한 최종 사용자들에게 보고서들을 전달한다. 수치, 그래픽, 서면 정보를 전달하기 위해 통상적으로 이용되는 단일 수단 혹은 이러한 수단들의 조합이 사용될 수도 있다.In this way, the database of monitored
바람직한 실시예는 비우선순위의 보고서들을 위해 이메일을 이용하고, 우선순위 보고/알람을 위해 페이징 및 전화 메시징을 이용한다. 빌링 보고서 생성기(1010)와 빌링 데이터베이스(1005)는 함께 고객에게 청구가능한 보고서들 및 질의의 이용을 추적하기 위한 수단을 제공한다. 예를 들어, 가족 구성원으로부터의 각각의 질의가 추적될 수 있고, 질의당 총비용이 계산될 수 있고, 청구서의 기반이 될 수 있는 월말 이용 계산서가 생성될 수 있다. 유사한 과정이 기관 고객들에 대해 제공될 수 있는데, 예를 들어, 병원은 한달에 1,000개의 질의에 대해 계약할 수 있고, 설정된 액수를 지불하고, 그런 다음 계약된 개수가 초과될 때에는 질의당 추가의 금액을 지불할 수 있다. 빌링 보고서 생성기(1010)와 빌링 데이터베이스(1005)의 동작은 모니터링되는 클라이언트 데이터베이스(1003)에 대한 링키지를 필요로 하여, 보고서들의 형태 및 내용에 관한 정보 및 고객과 클라이언트 정보가 빌링 보고서를 작성하기 위해 이용될 수 있다. 부가적으로, 보고서 송신기(1006)와의 링키지는, 특히 지금까지는 우편 메일로 보내기 때문에, 빌링 사이클의 말에 청구서를 인쇄하고 배포하기 위해 필수적인 수단으로서 유용할 것이다. 자동 및 반자동 빌링 시스템들에 통상적으로 채용되는 수단을 이용하여, 제공된 서비스들에 대한 청구서들을 정확하고 효율적으로 생성하기 위해 빌링 보고서 생성기들로 다양한 방법들에 의해 데이터베이스들을 구성하는 것이 가능하다.Preferred embodiments use email for non-priority reports and paging and telephone messaging for priority reporting / alarms. Billing report generator 1010 and
전술한 인터넷 기반 원격 모니터링 사이트는 또한 로컬 제어기들(110)의 재프로그래밍 및 유지 관리를 위한 기능들을 포함한다. 앞서 설명된 재프로그램 기능은 데이터 수집 및 개입과, 로컬 제어기 및 그의 센서들의 네트워크의 테스팅 및 상태 체크를 위한 파라미터들을 재설정할 수 있다. 이러한 기능들은 모니터링 시스템의 다양한 설치의 개발에 필수적이지는 않아도 유용함이 입증될 수 있다.The Internet-based remote monitoring site described above also includes functions for reprogramming and maintenance of
모니터링되는 클라이언트 데이터베이스(1003)에 구현된 전술한 임의의 기능은 소정의 일 실시예에서 보고서 생성기(1010)에 위치될 수 있고, 보고서 송신기(1006)로서 전술한 임의의 기능은 보고서 생성기(1002) 혹은 모니터링되는 데이터베이스(1003)에 실제로 위치될 수 있다는 점에 유의한다. 대부분, 그러한 기능이 존재하는 한, 개념적인 블럭도와 관련하여 기능들이 어디에 구현되는지는 별차이가 없다.Any of the functions described above implemented in the monitored
당업자는 본 발명의 개념의 범위를 벗어나지 않고서 상술한 실시예들을 변화시킬 수 있음을 잘 알 것이다. 그러므로, 본 발명은 개시된 특정한 실시예들에 한정되지 않고, 첨부된 청구범위에 정의된 본 발명의 사상 및 범위 내의 모든 변경들을 포함한다.Those skilled in the art will appreciate that the above-described embodiments can be changed without departing from the scope of the inventive concept. Therefore, the invention is not limited to the specific embodiments disclosed, but includes all modifications within the spirit and scope of the invention as defined in the appended claims.
도 1은 본 발명의 사용자 모니터링 시스템을 나타내는 블록도,1 is a block diagram showing a user monitoring system of the present invention;
도 2는 도 1의 시스템 제어기 장치를 나타내는 세부 블록도,2 is a detailed block diagram illustrating a system controller device of FIG. 1;
도 3은 도 1에 도시한 사용자 모니터링 시스템의 이동 활동 검출 서브시스템(movement activity detection subsystem)을 나타내는 블록도,3 is a block diagram illustrating a movement activity detection subsystem of the user monitoring system shown in FIG. 1;
도 4a 및 도 4b는 도 1에 도시한 사용자 모니터링 시스템의 투약 자동 관리 검출 서브시스템(medication self-management detection subsystem)에 대한 측면 및 상부 평면도,4A and 4B are side and top plan views of the medication self-management detection subsystem of the user monitoring system shown in FIG. 1;
도 5는 도 4a 및 도 4b의 투약 자동 관리 검출 서브시스템을 나타내는 세부 블록도,5 is a detailed block diagram illustrating the automatic medication management detection subsystem of FIGS. 4A and 4B;
도 6은 도 1에 도시한 사용자 모니터링 시스템의 가스 스토브 안전 검출 서브시스템을 나타내는 블록도,6 is a block diagram showing a gas stove safety detection subsystem of the user monitoring system shown in FIG.
도 7은 도 1에 도시한 사용자 모니터링 시스템의 전기 스토브 안전 검출 서브시스템을 나타내는 블록도,FIG. 7 is a block diagram showing an electric stove safety detection subsystem of the user monitoring system shown in FIG. 1;
도 8은 도 7에 도시한 전기 스토브 안전 검출 서브시스템의 전류 유출 모니터를 나타내는 세부 도면,8 is a detailed diagram showing a current leakage monitor of the electric stove safety detection subsystem shown in FIG.
도 9는 도 1에 도시한 사용자 모니터링 시스템의 물 넘침(water overflow) 검출 서브시스템을 나타내는 도면,FIG. 9 illustrates a water overflow detection subsystem of the user monitoring system shown in FIG. 1; FIG.
도 10은 도 1에 도시한 사용자 모니터링 시스템의 보조 기구(appliance) 검출 서브시스템을 나타내는 블록도,10 is a block diagram showing an appliance detection subsystem of the user monitoring system shown in FIG. 1;
도 11a~11m은 도 1에 도시한 시스템의 다양한 서브시스템들에 대하여 수행되는 동작들을 나타내는 흐름도들, 그리고11A-11M are flow diagrams illustrating operations performed on various subsystems of the system shown in FIG. 1, and
도 12는 인터넷이 통신 채널로서 이용되는 도 1의 사용자 모니터링 시스템을 나타내는 블록도이다.12 is a block diagram illustrating the user monitoring system of FIG. 1 in which the Internet is used as the communication channel.
<도면의 주요 부분에 대한 부호 설명><Description of the symbols for the main parts of the drawings>
100: 사용자 모니터링 시스템100: user monitoring system
110: 시스템 제어기110: system controller
112: 이동 검출 서브시스템112: movement detection subsystem
116: 투약 자동 관리 검출 서브시스템116: Dosing automated management detection subsystem
120: 스토브 안전 검출 서브시스템120: Stove Safety Detection Subsystem
124: 물 넘침 검출 서브 시스템124: water overflow detection subsystem
128: 보조 기구 검출 서브시스템128: Auxiliary Instrument Detection Subsystem
132: 전화기132: telephone
144: 전화선144: telephone line
148: 원격 케이스 모니터링 시스템148: remote case monitoring system
| Application Number | Priority Date | Filing Date | Title |
|---|---|---|---|
| KR1020087008319AKR20080034048A (en) | 2008-04-07 | 2001-11-08 | Monitoring a daily living activity and analyzing data related thereto |
| Application Number | Priority Date | Filing Date | Title |
|---|---|---|---|
| KR1020087008319AKR20080034048A (en) | 2008-04-07 | 2001-11-08 | Monitoring a daily living activity and analyzing data related thereto |
| Application Number | Title | Priority Date | Filing Date |
|---|---|---|---|
| KR10-2004-7007062ADivisionKR20040074056A (en) | 2001-11-08 | 2001-11-08 | Monitoring a daily living activity and analyzing data related thereto |
| Application Number | Title | Priority Date | Filing Date |
|---|---|---|---|
| KR1020097000821ADivisionKR20090013253A (en) | 2009-01-15 | 2001-11-08 | Monitor daily activities and analyze related data |
| Publication Number | Publication Date |
|---|---|
| KR20080034048Atrue KR20080034048A (en) | 2008-04-17 |
| Application Number | Title | Priority Date | Filing Date |
|---|---|---|---|
| KR1020087008319AWithdrawnKR20080034048A (en) | 2008-04-07 | 2001-11-08 | Monitoring a daily living activity and analyzing data related thereto |
| Country | Link |
|---|---|
| KR (1) | KR20080034048A (en) |
| Publication number | Priority date | Publication date | Assignee | Title |
|---|---|---|---|---|
| US9332363B2 (en) | 2011-12-30 | 2016-05-03 | The Nielsen Company (Us), Llc | System and method for determining meter presence utilizing ambient fingerprints |
| US9489640B2 (en) | 2006-07-12 | 2016-11-08 | The Nielsen Company (Us), Llc | Methods and systems for compliance confirmation and incentives |
| Publication number | Priority date | Publication date | Assignee | Title |
|---|---|---|---|---|
| US9489640B2 (en) | 2006-07-12 | 2016-11-08 | The Nielsen Company (Us), Llc | Methods and systems for compliance confirmation and incentives |
| US10387618B2 (en) | 2006-07-12 | 2019-08-20 | The Nielsen Company (Us), Llc | Methods and systems for compliance confirmation and incentives |
| US11741431B2 (en) | 2006-07-12 | 2023-08-29 | The Nielsen Company (Us), Llc | Methods and systems for compliance confirmation and incentives |
| US9332363B2 (en) | 2011-12-30 | 2016-05-03 | The Nielsen Company (Us), Llc | System and method for determining meter presence utilizing ambient fingerprints |
| Publication | Publication Date | Title |
|---|---|---|
| US7937461B2 (en) | Method for controlling a daily living activity monitoring system from a remote location | |
| KR20090129509A (en) | Monitor daily activities and analyze related data | |
| US8682952B2 (en) | System for maximizing the effectiveness of care giving | |
| US6108685A (en) | System for generating periodic reports generating trend analysis and intervention for monitoring daily living activity | |
| US10212495B2 (en) | Programmable monitoring system | |
| AU2006259647B2 (en) | System for monitoring activities and location | |
| Celler et al. | Remote monitoring of health status of the elderly at home. A multidisciplinary project on aging at the University of New South Wales | |
| US7244231B2 (en) | System and method for assessing the functional ability or medical condition of an actor | |
| US10311694B2 (en) | System and method for adaptive indirect monitoring of subject for well-being in unattended setting | |
| US7855650B2 (en) | System and method for monitoring the cognitive ability of a person | |
| US20120053472A1 (en) | Inexpensive non-invasive safety monitoring apparatus | |
| WO2007001784A2 (en) | Methods and apparatus for remotely enabling personal independence | |
| WO2016057564A1 (en) | System and method for adaptive indirect monitoring of subject for well-being in unattended setting | |
| JP3622783B2 (en) | Activity information supply system and server system | |
| KR20080034048A (en) | Monitoring a daily living activity and analyzing data related thereto | |
| KR20090013253A (en) | Monitor daily activities and analyze related data | |
| ZA200403159B (en) | Monitors a daily living activity and analyzing date related thereto. | |
| CA2208594C (en) | User monitoring system | |
| KR20210137632A (en) | Devices and methods for monitoring people living alone | |
| Kutzik et al. | THE RATIONALE FOR AUTOMATED ACTIVITY TRACKING AND ANALYSIS SYSTEMS |
| Date | Code | Title | Description |
|---|---|---|---|
| A107 | Divisional application of patent | ||
| PA0104 | Divisional application for international application | Comment text:Divisional Application for International Patent Patent event code:PA01041R01D Patent event date:20080407 | |
| A201 | Request for examination | ||
| PA0201 | Request for examination | Patent event code:PA02012R01D Patent event date:20080415 Comment text:Request for Examination of Application | |
| PG1501 | Laying open of application | ||
| E902 | Notification of reason for refusal | ||
| PE0902 | Notice of grounds for rejection | Comment text:Notification of reason for refusal Patent event date:20080715 Patent event code:PE09021S01D | |
| A107 | Divisional application of patent | ||
| PA0104 | Divisional application for international application | Comment text:Divisional Application for International Patent Patent event code:PA01041R01D Patent event date:20090115 | |
| PC1202 | Submission of document of withdrawal before decision of registration | Comment text:[Withdrawal of Procedure relating to Patent, etc.] Withdrawal (Abandonment) Patent event code:PC12021R01D Patent event date:20090123 | |
| WITB | Written withdrawal of application |