










본 고안은 변기시트 자동세척장치에 관한 것으로서, 특히 용변 후 자동으로 변기시트를 세척하고, 자동으로 건조시키는 자동세척장치에 관한 것이다.The present invention relates to a toilet seat automatic washing apparatus, and more particularly, to an automatic washing apparatus for automatically washing the toilet seat after the toilet, and automatically drying.
일반적으로 공공장소의 화장실 변기는 도 1에 도시된 바와 같이, 변기본체(1) 및 시트(11), 덮개체(12)가 설치되어 있으며, 이는 공공물품에 속하기 때문에 공중도덕이 없는 사용자가 위생 문제를 염려하여 시트(11)를 젖히고, 두 발로 시트(11)를 밟고 용변을 보아 시트(11)를 오염시킴으로써, 다음 사용자가 사용할 수 없거나 감히 사용할 엄두를 내지 못하게 하는 경우가 흔히 있다. 비록 몇몇 장소에 시트(11)를 덮도록 종이 패드를 설치하고 있기는 하나, 사용이 상당히 번거롭고, 위생 상태를 무시하고 직접 오염된 시트(11)에 앉을 경우, 세균, 바이러스에 감염될 우려가 있다. 또한 일반적으로 하이힐을 신은 여성이 시트(11)에 쪼그리고 앉을 경우도 역시 상당히 위험하다. 출원인은 이 점에 착안하여, 상기 업무에 종사한 다년간의 경험을 바탕으로 끊임없이 연구, 실험하여 개선 방법을 발견하였으며, 변기가 자동세척 기능을 지니게 함으로써 시트의 청결을 유지할 수 있도록 하였다.In general, the toilet in a public place as shown in Figure 1, the toilet seat (1) and the
본 고안의 주요 목적은 변기시트 자동세척장치를 제공하여, 용변 후 변기시트를 자동으로 세척하고, 자동으로 건조시킴으로써 시트의 청결이 유지될 수 있도록 하는데 있다.The main object of the present invention is to provide a toilet seat automatic cleaning device, to automatically clean the toilet seat after toilet, and to automatically dry to maintain the cleanliness of the seat.
본 고안의 변기시트 자동세척장치는 시트, 덮개체, 액체수송장치 및 제어유닛을 포함한다. 상기 시트는 프레임 형태로 변기 본체의 상부 주변을 둘러싸며, 그 후측에 피봇 연결부가 설치되어, 구동기구에 연결된다. 가장자리에는 돌출되는 리브부가 설치되고, 상기 리브부 내연에 간격을 두고 배열되는 관통구멍이 개설되며, 관통구멍은 변기 본체 상부 내측 상방에 위치한다. 상기 덮개체는 저연부에 간격을 둔 관통구멍이 구비된 테두리관이 설치되고, 상기 테두리관이 다수의 분기관을 통하여 수송관과 연결되며, 또한 상기 수송관은 밸브체와 연결된다. 상기 밸브체는 전자기급수밸브 및 전자기에어밸브에 연결되어 각각 세정액이 담기 용기 및 전열부재에 연결된다. 변기 물내림장치가 가동되었을 때, 구동기구를 통하여 상기 덮개체가 시트에 덮이면서, 액체 수송장치 및 제어유닛을 통하여 덮개체 저부의 테두리관에 설치된 관통구멍에서 시트로 물이 분사되고, 전열부재의 열풍으로 시트를 건조시킴으로써, 변기시트를 세척하는 효과를 달성한다.The toilet seat automatic cleaning device of the present invention includes a seat, a lid, a liquid transport device, and a control unit. The seat surrounds the upper periphery of the toilet body in the form of a frame, and a pivot connection part is installed at the rear side thereof and connected to the drive mechanism. Protruding ribs are provided at the edges, through holes arranged at intervals on the inner edge of the ribs are opened, and the through holes are located above the inner side of the toilet body. The cover body is provided with a rim tube having a through hole spaced from the lower edge, the rim tube is connected to the transport pipe through a plurality of branch pipes, and the transport pipe is connected to the valve body. The valve body is connected to the electromagnetic water supply valve and the electromagnetic air valve, respectively, and is connected to the container and the heat transfer member containing the cleaning liquid. When the toilet flushing device is activated, the cover body is covered by the drive mechanism through the drive mechanism, and water is injected from the through-hole provided in the rim tube of the cover body bottom through the liquid transport device and the control unit, and the water is transferred to the seat. By drying the sheet with hot air, the effect of washing the toilet seat is achieved.
상기 변기시트 자동세척장치에 있어서, 상기 시트의 구동기구에 연결되는 회전부 및 기압실린더가 설치된다. 상기 회전부의 편심 위치에 기압실린더가 연결되 어, 상기 기압실린더의 신축작용을 통해 회전부가 회전하면서, 나아가 시트를 젖히거나 내려놓는 작동을 제어하게 된다.In the toilet seat automatic washing apparatus, a rotary part and a pressure cylinder connected to the driving mechanism of the seat are installed. Atmospheric pressure cylinder is connected to the eccentric position of the rotating part, while the rotating part rotates through the expansion and contraction action of the pressure cylinder to further control the operation of lifting or lowering the seat.
상기 변기시트 자동세척장치에 있어서, 상기 덮개체의 수송관에 설치되어 연결되는 밸브체는, 상기 수송관 부위에 관통구멍이 구비된 오목홈이 설치되고, 상기 급수관 부위에 상기 오목홈과 대응하는 덮개부가 설치된다. 상기 덮개부에 관통구멍이 개설되어, 상기 덮개부가 오목홈 내부에 끼워맞춤된다. 상기 덮개체가 젖혀지거나 내려질 때 수송관이 작동되는데, 덮개부와 오목홈의 관통구멍이 엇갈리거나 또는 겹쳐지면서 물 멈춤 또는 물의 유출을 제어하는 기능을 구성한다.In the toilet seat automatic cleaning device, the valve body is installed and connected to the transport pipe of the cover body is provided with a concave groove provided with a through hole in the transport pipe portion, and corresponds to the concave groove in the water supply pipe portion. The cover part is installed. A through hole is formed in the cover part, and the cover part is fitted into the recessed groove. The transport pipe is operated when the cover body is flipped down or down, and the through hole of the cover unit and the concave groove is staggered or overlaps to constitute a function of controlling the water stop or the outflow of water.
상기 변기시트 자동세척장치에 있어서, 상기 시트의 전단부에 체결홈이 설치되고, 덮개체 전단부 하부 가장자리에 버튼이 설치되며, 상기 버튼에 스프링이 끼워진 체결후크가 설치되어, 덮개체가 내려지면 체결후크가 시트의 체결홈에 걸리게 되며, 시트가 세척된 후에는 둘을 동시에 위로 젖힐 수 있다.In the toilet seat automatic washing apparatus, a fastening groove is installed at the front end of the seat, a button is installed at the lower edge of the front end of the cover body, and a fastening hook having a spring fitted to the button is installed, and the cover is lowered. The hook is caught in the fastening groove of the seat, and after the seat is cleaned, both can be flipped up simultaneously.
본 고안에 따른 변기시트 자동세척장치는 용변 후 변기시트를 자동으로 세척하고, 자동으로 건조시킴으로써 시트의 청결이 유지될 수 있다.The toilet seat automatic washing apparatus according to the present invention can automatically maintain the toilet seat after washing the toilet seat, and automatically drying the toilet seat.
도 2, 도 3과 함께 도 4, 도 5 및 도 11을 동시에 참조하면, 본 고안은 시트(2), 덮개체(3), 액체수송장치(33) 및 제어유닛(39)을 포함한다. 상기 시트(2)는 프레임 형태로서, 변기 본체의 상부 가장자리를 둘러싸며, 그 후측에 피봇 연결부(4)가 설치된다. 상기 시트(2) 가장자리에 돌출되는 리브부(21)가 설치되며, 상 기 리브부(21)의 내연에 간격을 두고 배열되는 관통구멍(22)이 구비됨과 아울러, 관통구멍(22)이 변기 본체 상부 내측 상방에 위치되고, 그 전단부에는 체결홈(23)이 설치된다.Referring to FIGS. 4, 5 and 11 together with FIGS. 2 and 3, the present invention includes a
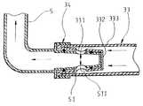
상기 덮개체(3) 후측에 시트(2)의 피봇 연결부(4)가 피봇 연결되어 있어 위로 젖혀지거나 또는 시트(2)에 덮일 수 있으며, 그 전단부 하부 가장자리에 버튼(30)이 설치되고, 상기 버튼(30)에 스프링(301)이 끼워진 체결후크(302)가 설치된다. 시트(2)의 리브부와 대향하는 저면에 간격을 지닌 관통구멍(311)이 구비된 테두리관(31)이 설치되며, 테두리관(31)에서 덮개체(3) 외부로 뻗어나가는 부위에 밸브체(34)가 설치된다.The pivot connecting portion 4 of the
상기 액체수송장치(33)는 세정액이 담기는 용기(37)와, 용기(37)와 밸브체(34) 사이를 연결하는 수송관(333)이 포함되어, 용기(37) 내부의 세정액이 수송관(333) 및 밸브체(34)를 통하여 테두리관(31)으로 송출되며, 또한 상기 테두리관(31)은 다수의 분기관(32)으로 수송관(333)에 연결됨과 아울러, 상기 수송관(333)이 밸브체(34)에 연결된다.The
이밖에, 상기 밸브체(34)는 전자기급수밸브(35) 및 전자기에어밸브(36)와 연결되어 각각 용기(37) 및 전열부재(38)에 연결된다. 상기 용기(37)는 소독수 낙수장치(371)가 설치되고, 또한 상기 용기(37)는 수도관과 연결된다. 상기 전자기급수밸브(35), 전자기에어밸브(36) 및 전열부재(38)는 각각 제어유닛(39)과 연결된다.In addition, the
도 6을 참조하면, 본 고안에서 시트(2)에 연결되는 피봇 연결부(4)는 회전부(41) 및 기압실린더(42)를 포함하는 구동기구가 설치되어, 상기 시트(2)가 상기  회전부(41)의 축심에 연결되도록 함과 아울러, 상기 회전부(41)의 편심 위치에 기압실린더(42)가 연결되어, 상기 기압실린더(42)의 신축을 통해 회전부(41)가 회전되면서, 시트(2)를 젖히고 내려놓는 동작을 제어하게 된다.Referring to FIG. 6, in the present invention, the pivot connection part 4 connected to the
도 7을 참조하면, 본 고안에서 수송관(333)에 연결되는 밸브체(34)는 급수관(5)에 접합되며, 상기 수송관(333)에 관통구멍(331)이 구비된 오목홈(332)이 개설되고, 상기 급수관(5)에 상기 오목홈(332)과 대응되는 덮개부(51)가 설치된다. 상기 덮개부(51)에 관통구멍(511)이 설치되어, 상기 덮개부(51)가 오목홈(332) 내부에 끼워맞춤될 수 있다. 상기 덮개체(3)를 젖히거나 내려놓을 때 수송관(333)이 작동되며, 덮개부(51)의 관통구멍(511)과 오목홈(332)의 관통구멍(331)이 엇갈리거나 또는 중첩되면서, 물 막음 또는 물의 유출을 제어하는 기능이 구성된다.Referring to FIG. 7, in the present invention, the
상기 구성부재의 조합을 통하여, 변기시트 자동세척장치는 용변 후 변기 물내림장치가 가동되었을 때, 덮개체(3)의 테두리관(31)에 설치된 관통구멍(311)을 통하여 시트(2)로 물이 분사되고, 열풍을 이용하여 시트(2)를 건조시킴으로써 변기시트를 세척하는 효과를 달성한다.Through the combination of the constituent members, the toilet seat automatic washing device is transferred to the
도 8, 도 9를 도 5 및 도 6과 함께 참조하면, 본 고안은 용변 후, 변기 물내림 장치가 가동되면, 제어유닛(39)에 의해 기압실린더(42)가 뻗어 나오면서 회전부(41)를 회전시키고, 시트(2)가 내려지도록 제어하는 동시에 전자기급수밸브(35)가 가동되어 용기(37) 및 소독수 낙수장치(371)의 물이 급수관(5)을 따라 수송된다. 상기 급수관(5)의 덮개부(51)의 관ㅌ초구멍(511)과 수송관(333)의 오목홈(332)의 관통구멍(331)이 수송관(333)의 작동에 의해 열림 상태가 되면, 물이 유출되면 서 물이 상기 수송관(333)을 통하여 덮개체(3)의 테두리관(31)으로 수송되고, 아울러 그곳에 설치된 관통구멍(311)을 통해 물이 시트(2)로 분사되어 시트(2)를 세척하게 되며, 또한 세척 후 전자기급수밸브(35)가 닫히는 동시에 전자기에어밸브(36) 및 전열부재(38)가 가동되면서, 열풍이 덮개체(3)의 테두리관(31)에 설치된 관통구멍(311)을 거쳐 시트(2)로 송출되어, 시트(2)가 일정 시간 동안 건조된 후에는 상기 전자기에어밸브(36) 및 전열부재(38)가 닫히면서 순환식 세척동작을 완료하게 된다.Referring to FIGS. 8 and 9 together with FIGS. 5 and 6, in the present invention, when the toilet flushing device is operated after the toilet, the
도 10 및 도 11을 동시에 참조하면, 본 고안은 세척, 건조 후, 제어유닛(39)에 의해 기압실린더(42)가 수축되면서 회전부(41)를 회전시키게 되며, 시트(2)가 젖혀지도록 제어되는 동시에, 상기 급수관(5)의 덮개부(51)의 관통구멍(511)과 수송관(333)의 오목홈(332)의 관통구멍(331)이 수송관(333)의 작동에 의해 엇갈리는 상태가 되면서 물막음 기능을 구성한다. 상기 덮개체(3) 전단의 하부 가장자리 버튼(30)의 체결후크(302)가 스프링(301)의 장력을 통하여 시트(2)의 체결홈(23)에 체결되면서, 시트(2) 및 덮개체(3)를 동시에 젖힐 수 있도록 하며, 다시 사용할 때는 버튼(30)을 아래로 누르기만 하면 후크(302)가 체결홈(23)에서 이탈되어, 즉시 시트(2)를 다시 내려놓을 수 있게 된다.10 and 11 at the same time, the present invention, after washing and drying, the
이밖에 도 4를 참조하면, 제어유닛(39)은 시트(2) 저부에 설치되는 검측스위치(24)가 포함되어, 시트(2)가 변기 본체 상부에 위치하고 있음을 감지하였을 때, 검측스위치(24)는 제어유닛(39)과 도통되면서 작동상태가 되고, 검측스위치(24)가 변기 본체에 대응하여 시트(2)가 위로 젖혀진 상태임을 감지한 경우, 제어유닛(39) 은 꺼짐 상태가 된다. 상기 검측스위치(39)는 또한 항상 켜짐 방식의 누름스위치로도 설치 가능하며, 시트 본체(2)가 변기 본체의 상부에 위치할 때, 시트(2)의 중량에 의해 상기 항상 켜짐 방식의 누름스위치는 제어유닛(39)과 도통되는 상태가 되며, 변기 본체가 젖혀졌을 때에는 상기 항상켜짐식 누름스위치가 꺼진 상태가 된다. 따라서 시트(2)가 젖혀진 상태에서는 본 고안의 변기세척장치가 가동되지 않으며, 반대로 시트(2)가 변기 본체 상부에 위치해야만 효과적으로 가동된다.In addition, referring to FIG. 4, the
상기 내용을 종합해보면, 본 고안은 물 분사구멍이 설치된 덮개체를 다수의 관과 결합하여, 용변 후 자동으로 변기시트를 세척하고, 또한 자동으로 건조시켜 줌으로써 변기시트의 위생을 유지시킬 수 있는 실용적인 설계로서, 참신성을 갖춘 고안에 속하므로, 이에 법에 의거하여 실용신안등록을 출원한다.In summary, the present invention combines a cover body provided with a water injection hole with a plurality of pipes, thereby automatically cleaning the toilet seat after toileting, and automatically drying it, thereby making it practical to maintain hygiene of the toilet seat. As a design, it belongs to the invention with novelty, and it applies for a utility model registration based on this law.
도 1은 종래의 변기 입체도,1 is a conventional toilet three-dimensional view,
도 2는 본 고안의 입체도,2 is a three-dimensional view of the present invention,
도 3은 본 고안의 덮개체 평면도,3 is a plan view of the cover of the present invention,
도 4는 본 고안의 덮개체 및 시트 단면도,4 is a cross-sectional view of the cover body and sheet of the present invention,
도 5는 본 고안의 배관 블록도,5 is a piping block diagram of the present invention,
도 6은 본 고안의 구동기구도,6 is a drive mechanism of the present invention,
도 7은 본 고안의 안전밸브 단면도,7 is a cross-sectional view of the safety valve of the present invention,
도 8은 본 고안의 안전밸브 배수 실시예도,8 is a safety valve drainage embodiment of the present invention,
도 9는 본 고안의 세척 실시예도,9 is a washing embodiment of the present invention,
도 10은 본 고안의 안전밸브 물막음 실시예도 및10 is an embodiment of the safety valve water block of the present invention and
도 11은 본 고안의 덮개체 및 시트의 체결 실시예도이다.11 is a fastening example of the cover body and the seat of this invention.
*도면의 주요 부분에 대한 부호의 설명* Explanation of symbols for the main parts of the drawings
1: 변기 본체2: 시트1: toilet seat 2: seat
3: 덮개체4: 피봇연결부3: cover 4: pivot connection
5: 급수관11: 시트5: water pipe 11: sheet
12: 덮개체21: 리브부12: cover 21: rib portion
22: 관통구멍23: 체결홈22: through hole 23: fastening groove
24: 검측밸브30: 버튼24: detection valve 30: button
31: 테두리관32: 분기관31: border pipe 32: branch pipe
33: 액체수송장치34: 밸브체33: liquid transportation device 34: valve body
35: 전자기급수밸브36: 전자기에어밸브35: electromagnetic water supply valve 36: electromagnetic air valve
37: 용기38: 전열부재37: container 38: heat transfer member
39: 제어유닛41: 회전부39: control unit 41: rotating part
42: 기압실린더51: 덮개부42: pressure cylinder 51: cover
301: 스프링302: 체결후크301: spring 302: fastening hook
311: 관통구멍331: 관통구멍311: through hole 331: through hole
332: 오목홈333: 수송관332: recessed groove 333: transport pipe
371: 소독수 낙수장치511: 관통구멍371: sterilizing water drainage device 511: through hole
| Application Number | Priority Date | Filing Date | Title | 
|---|---|---|---|
| KR2020080000648UKR20080002751U (en) | 2007-01-16 | 2008-01-16 | Toilet seat automatic cleaning device | 
| Application Number | Priority Date | Filing Date | Title | 
|---|---|---|---|
| TW096200878 | 2007-01-16 | ||
| KR2020080000648UKR20080002751U (en) | 2007-01-16 | 2008-01-16 | Toilet seat automatic cleaning device | 
| Publication Number | Publication Date | 
|---|---|
| KR20080002751Utrue KR20080002751U (en) | 2008-07-21 | 
| Application Number | Title | Priority Date | Filing Date | 
|---|---|---|---|
| KR2020080000648UCeasedKR20080002751U (en) | 2007-01-16 | 2008-01-16 | Toilet seat automatic cleaning device | 
| Country | Link | 
|---|---|
| KR (1) | KR20080002751U (en) | 
| Publication number | Priority date | Publication date | Assignee | Title | 
|---|---|---|---|---|
| CN108463150A (en)* | 2015-09-16 | 2018-08-28 | Cws博科国际有限公司 | Toilet seat with automatic cleaning apparatus | 
| CN108903758A (en)* | 2018-09-05 | 2018-11-30 | 厦门艾贝斯智能科技有限公司 | Toilet cover plate | 
| CN109610583A (en)* | 2018-11-27 | 2019-04-12 | 陈翔子 | A kind of invagination folded slot of sanitary ware divides bacterium device | 
| Publication number | Priority date | Publication date | Assignee | Title | 
|---|---|---|---|---|
| CN108463150A (en)* | 2015-09-16 | 2018-08-28 | Cws博科国际有限公司 | Toilet seat with automatic cleaning apparatus | 
| CN108903758A (en)* | 2018-09-05 | 2018-11-30 | 厦门艾贝斯智能科技有限公司 | Toilet cover plate | 
| CN109610583A (en)* | 2018-11-27 | 2019-04-12 | 陈翔子 | A kind of invagination folded slot of sanitary ware divides bacterium device | 
| CN109610583B (en)* | 2018-11-27 | 2020-11-13 | 瑞安市东皇五金有限公司 | Fungus device is divided to sunken folding groove of bathroom cleaners and polishes | 
| Publication | Publication Date | Title | 
|---|---|---|
| KR101499107B1 (en) | Toilet seat cover for preventing urine scattering | |
| CN103735376B (en) | A kind of intelligent nursing mattress | |
| CN110446446A (en) | Flushing cleaning system and flushing method for toilets | |
| WO2006000985B1 (en) | Colostomy bag cleaning system | |
| JP3140480U (en) | Toilet seat automatic cleaning device | |
| KR20080002751U (en) | Toilet seat automatic cleaning device | |
| KR101201914B1 (en) | Toilet stool having a bidet and seat washing device | |
| KR102249345B1 (en) | Toilet bowl having cleaning and sterilization device | |
| KR101041778B1 (en) | Toilet bowl with seat washer | |
| JP5834161B2 (en) | Water-saving toilet | |
| KR20100091039A (en) | Urinal having washer for cleaning private part and toilet bowl comprising the same | |
| CN108589878A (en) | A kind of band folds the urinal of collecting function | |
| JP4064994B2 (en) | Vacuum toilet equipment | |
| CN104763030A (en) | Safe, intelligent and odor preventing squatting pan | |
| CN111236382A (en) | Sewage discharge device, closestool and sewage discharge system | |
| KR20160001264A (en) | Bidet bacteria and oder | |
| KR101186534B1 (en) | A chamber pot with a automatic rise and fall-type seat and separable screens | |
| KR20130112625A (en) | Cup auto washer | |
| CN207562049U (en) | A kind of care bed automatically collecting stools cleaning device | |
| KR20100056021A (en) | Self-cleaning toilet seat | |
| TW201322947A (en) | Automatic washing toilet seat set | |
| KR20120027596A (en) | Push button and electronic type reservoir cleaning system | |
| KR200479603Y1 (en) | A valve for urinal | |
| KR20150134799A (en) | Cleaning system of ceramic integrated bidet | |
| US11149424B2 (en) | Restroom system | 
| Date | Code | Title | Description | 
|---|---|---|---|
| A201 | Request for examination | ||
| UA0108 | Application for utility model registration | Comment text:Application for Utility Model Registration Patent event code:UA01011R08D Patent event date:20080116 | |
| UA0201 | Request for examination | ||
| UG1501 | Laying open of application | ||
| E902 | Notification of reason for refusal | ||
| UE0902 | Notice of grounds for rejection | Comment text:Notification of reason for refusal Patent event code:UE09021S01D Patent event date:20100126 | |
| E601 | Decision to refuse application | ||
| UE0601 | Decision on rejection of utility model registration | Comment text:Decision to Refuse Application Patent event code:UE06011S01D Patent event date:20100430 |