













도 1a 내지 도 1g는 일반적인 DEET(Double Exposure and Etch Technology) 공정을 이용한 반도체 소자의 미세패턴 형성방법을 설명하기 위하여 도시한 공정 단면도.1A to 1G are cross-sectional views illustrating a method of forming a fine pattern of a semiconductor device using a general double exposure and etching technology (DEET) process.
도 2a 내지 도 2f는 본 발명의 바람직한 실시예에 따른 반도체 소자의 미세패턴 형성방법을 설명하기 위하여 도시한 공정 단면도.2A to 2F are cross-sectional views illustrating a method of forming a fine pattern of a semiconductor device in accordance with a preferred embodiment of the present invention.
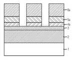
도 3은 본 발명의 바람직한 실시예에 따른 반도체 소자의 미세패턴 형성방법을 통해 구현된 반도체 소자의 미세패턴을 도시한 SEM(Scanning Electron Microscope) 사진.Figure 3 is a SEM (Scanning Electron Microscope) photo showing the micropattern of the semiconductor device implemented through the method for forming a micropattern of the semiconductor device according to an embodiment of the present invention.
<도면의 주요 부분에 대한 부호의 설명><Explanation of symbols for the main parts of the drawings>
1 : 피식각층 2, 13 : 아모르퍼스 카본막DESCRIPTION OF SYMBOLS 1:
2a : 아모르퍼스 카본막 패턴 3 : 실리콘산화질화막2a: amorphous carbon film pattern 3: silicon oxynitride film
3a : 실리콘산화질화막 패턴 4, 17 : 폴리실리콘막3a: silicon oxynitride film pattern 4, 17: polysilicon film
4a : 제1 폴리실리콘막 패턴 4b : 제2 폴리실리콘막 패턴4a: first
5, 7, 15 : BARC막 5a : BARC막 패턴5, 7, 15: BARC
6, 8 : 감광막 6a : 제1 감광막 패턴6, 8:
8a : 제2 감광막 패턴 11 : 게이트 전극8a: second photosensitive film pattern 11: gate electrode
12 : 하드 마스크 12a : 하드 마스크 패턴12:
13a : 희생 패턴 14 : 산화막13a: sacrificial pattern 14: oxide film
17a : 식각 마스크용 패턴17a: Pattern for etching mask
본 발명은 반도체 제조 기술에 관한 것으로, 특히 반도체 소자의 미세패턴 형성방법에 관한 것이다.BACKGROUND OF THE
반도체 소자가 고집적화되어 감에 따라 40nm급 이하의 라인 앤드 스페이스(Line and Space; 이하, LS라 함)가 요구되고 있다. 하지만, 현재 개발되어 상용화된 노광장비의 한계 상 60nm급 이하의 LS를 형성하는 것은 매우 어려운 실정이다. 이에 따라, 현재 상용화된 노광장비를 그대로 이용하면서 60nm 이하의 미세한 LS를 구현하기 위하여 DEET(Double Exposure and Etch Technology) 공정기술이 제안되었다.As semiconductor devices are highly integrated, line and space (hereinafter referred to as LS) of 40 nm or less is required. However, it is very difficult to form LS of 60 nm or less due to the limitations of the exposure equipment currently developed and commercialized. Accordingly, a DEET (Double Exposure and Etch Technology) process technology has been proposed to realize a fine LS of 60 nm or less while using a commercially available exposure equipment as it is.
도 1a 내지 도 1g는 이미 제안되어 반도체 소자의 미세패턴 형성공정시 적용되고 있는 DEET 공정을 이용한 반도체 소자의 미세패턴을 설명하기 위하여 도시한 공정 단면도이다.1A to 1G are cross-sectional views illustrating a micropattern of a semiconductor device using a DEET process, which has been proposed and applied to a micropattern forming process of a semiconductor device.
먼저, 도 1a에 도시된 바와 같이, 피식각층(1) 상부에 아모르퍼스 카본막(amorphous carbon)(2), 실리콘산화질화막(SiON)(3), 폴리실리콘막(polysilicon)(4), BARC막(Bottom Anti-Reflective Coating layer)(5)을 순차적으로 도포한다. 이때, 피식각층(1)은 질화막 계열의 하드 마스크(hard mask)로 형성된다.First, as shown in FIG. 1A, an
이어서, BARC막(5) 상부에 감광성 수지막(photoresist)(이하, 감광막이라 함)(6)을 도포한다.Next, a photosensitive resin (photoresist) (hereinafter referred to as photosensitive film) 6 is applied over the BARC film 5.
이어서, 도 1b에 도시된 바와 같이, 포토 마스크(photomask)를 이용한 노광 및 현상공정을 실시하여 감광막 패턴(6a)(이하, 제1 감광막 패턴이라 함)을 형성한다.Subsequently, as illustrated in FIG. 1B, an exposure and development process using a photomask is performed to form a
이어서, 제1 감광막 패턴(6a)을 식각 마스크로 이용한 건식식각공정을 실시하여 BARC막(5)과 폴리실리콘막(4)(도 1a참조)을 순차적으로 식각한다. 이로써, 실리콘산화질화막(3)의 일부가 노출되는 복수의 BARC막 패턴(5a)과 폴리실리콘막 패턴(4a)(이하, 제1 폴리실리콘막 패턴이라 함)이 형성된다.Subsequently, a dry etching process using the first
이어서, 도 1c에 도시된 바와 같이, 스트립 공정(strip)을 실시하여 제1 감광막 패턴(6a)(도 1b참조)을 제거한다. 이때, BARC막 패턴(5a) 또한 제거되어 제1 폴리실리콘막 패턴(4a)이 노출되는데, 이는 BARC막이 감광막과 동일한 계열의 수지막으로 이루어지기 때문이다.Subsequently, as illustrated in FIG. 1C, a strip process is performed to remove the
이어서, 이웃하는 제1 폴리실리콘막 패턴(4a) 사이가 매립되도록 제1 폴리실 리콘막 패턴(4a)을 포함하는 전체 구조 상부에 BARC막(7)과 감광막(8)을 순차적으로 도포한다.Subsequently, the BARC film 7 and the
이어서, 도 1d에 도시된 바와 같이, 포토 마스크를 이용한 노광 및 현상공정을 실시하여 감광막 패턴(8a)(이하, 제2 감광막 패턴이라 함)을 형성한다. 이때, 제2 감광막 패턴(8a)의 개구부는 제1 감광막 패턴(6a)의 개구부와 서로 대응되지 않도록 형성된다.Subsequently, as illustrated in FIG. 1D, an exposure and development process using a photo mask is performed to form a
이어서, 제2 감광막 패턴(8a)을 식각 마스크로 이용한 건식식각공정을 실시하여 BARC막(7)과 제1 폴리실리콘막 패턴(4a)(도 1c참조)을 순차적으로 식각한다. 이로써, BARC막 패턴(7a)과 폴리실리콘막 패턴(4b)(이하, 제2 폴리실리콘 패턴이라 함)이 형성된다.Subsequently, a dry etching process using the second
이어서, 도 1e에 도시된 바와 같이, 스트립 공정을 실시하여 제2 감광막 패턴(8a)(도 1d참조)을 제거한다. 이때, BARC막 패턴(7a) 또한 제거된다. 이로써, 제1 및 제2 감광막 패턴(6a, 8a)이 모두 반영된 제2 폴리실리콘막 패턴(4b)이 완성된다.Subsequently, as shown in FIG. 1E, a strip process is performed to remove the second
이어서, 도 1f에 도시된 바와 같이, 제2 폴리실리콘막 패턴(4b)을 식각 마스크로 이용한 건식식각공정을 실시하여 실리콘산화질화막(3)과 아모르퍼스 카본막(2)을 순차적으로 식각한다. 이로써, 아모르퍼스 카본막 패턴(2a)과 실리콘산화질화막 패턴(3a)이 형성된다.Subsequently, as illustrated in FIG. 1F, a dry etching process using the second
이어서, 제2 폴리실리콘막 패턴(4b)을 제거한다.Next, the second
도 1g에 도시된 바와 같이, 실리콘산화질화막 패턴(3a)과 아모르퍼스 카본막 패턴(2a)을 식각 마스크로 이용한 식각공정을 실시하여 피식각층(1)을 식각한다. 이로써, 피식각층(1)은 제1 및 제2 감광막 패턴(6a, 8a)이 모두 반영된 패턴을 갖게 된다.As shown in FIG. 1G, the
전술한 바와 같이, 종래기술에 따른 DEET 공정기술은 2번의 사진식각공정을 이용하여 반도체 소자의 미세패턴을 형성한다. 그러나, 첫번째와 두번째 사진식각공정시 포토 마스크의 오정렬로 인해 라인 임계치수의 불균일성이 발생되고, 두번째 포토공정시 하부 토폴로지(topology)의 영향으로 BARC막(7)이 불균일하게 도포되는 문제가 있다.As described above, the DEET process technology according to the prior art forms a fine pattern of the semiconductor device by using two photolithography process. However, non-uniformity of line critical dimensions occurs due to misalignment of the photo masks during the first and second photo etching processes, and the BARC film 7 is unevenly applied due to the influence of the underlying topology during the second photo process.
따라서, 본 발명은 상기한 종래기술의 문제점을 해결하기 위해 제안된 것으로서, DEET 공정시 두 번에 걸친 포토 마스크 작업으로 인한 라인 임계치수의 불균일성을 개선시킬 수 있는 반도체 소자의 미세패턴 형성방법을 제공하는데 그 목적이 있다.Accordingly, the present invention has been proposed to solve the above problems of the prior art, and provides a method of forming a fine pattern of a semiconductor device capable of improving the non-uniformity of line critical dimensions due to two photo mask operations during the DEET process. Its purpose is to.
상기한 목적을 달성하기 위한 일 측면에 따른 본 발명은, 피식각층 상부에 희생 패턴용 절연막을 증착하는 단계와, 상기 희생 패턴용 절연막 상부에 감광막 패턴을 형성하는 단계와, 상기 감광막 패턴을 식각 마스크로 이용한 제1 식각공정을 통해 상기 희생 패턴용 절연막을 식각하여 상기 피식각층의 일부가 노출되는 희 생 패턴을 형성하는 단계와, 상기 희생 패턴의 양측벽에 식각 마스크용 스페이서를 형성하는 단계와, 상기 희생 패턴을 제거하여 식각 마스크용 패턴을 형성하는 단계와, 상기 식각 마스크용 패턴을 식각 마스크로 이용한 제2 식각공정을 통해 상기 피식각층을 식각하여 미세패턴을 형성하는 단계를 포함하는 반도체 소자의 미세패턴 형성방법을 제공한다.According to an aspect of the present invention, there is provided a method of fabricating an insulating film for a sacrificial pattern on a layer to be etched, forming a photosensitive film pattern on an insulating film for a sacrificial pattern, and etching the photosensitive film pattern. Forming a sacrificial pattern in which a portion of the etched layer is exposed by etching the insulating pattern for the sacrificial pattern through a first etching process, forming spacers for etching masks on both sidewalls of the sacrificial pattern; Forming a pattern for an etch mask by removing the sacrificial pattern, and forming a fine pattern by etching the etched layer through a second etching process using the pattern for etching as an etch mask. Provided is a method for forming a fine pattern.
이하, 본 발명이 속하는 기술분야에서 통상의 지식을 가진 자가 본 발명의 기술적 사상을 용이하게 실시할 수 있을 정도로 상세히 설명하기 위하여, 본 발명의 가장 바람직한 실시예를 첨부한 도면을 참조하여 설명한다. 또한, 도면들에 있어서, 층 및 영역들의 두께는 명확성을 기하기 위하여 과장되어진 것이며, 층이 다른 층 또는 기판 "상"에 있다고 언급되어지는 경우에 그것은 다른 층 또는 기판 상에 직접 형성될 수 있거나, 또는 그들 사이에 제3의 층이 개재될 수도 있다. 또한 명세서 전체에 걸쳐서 동일한 참조번호로 표시된 부분은 동일한 구성요소들을 나타낸다.DETAILED DESCRIPTION Hereinafter, exemplary embodiments of the present invention will be described in detail with reference to the accompanying drawings so that those skilled in the art may easily implement the technical idea of the present invention. In addition, in the drawings, the thicknesses of layers and regions are exaggerated for clarity, and in the case where the layers are said to be "on" another layer or substrate, they may be formed directly on another layer or substrate or Or a third layer may be interposed therebetween. In addition, the same reference numerals throughout the specification represent the same components.
실시예Example
도 2a 내지 도 2f는 본 발명의 실시예에 따른 반도체 소자의 미세패턴 형성방법을 설명하기 위하여 도시한 공정 단면도이다. 여기서는, 일례로 게이트 전극 상부에 형성된 하드 마스크를 피식각층으로 하는 반도체 소자의 미세패턴 형성방법을 설명한다.2A to 2F are cross-sectional views illustrating a method of forming a fine pattern of a semiconductor device according to an embodiment of the present invention. Here, as an example, a method of forming a fine pattern of a semiconductor device using a hard mask formed on the gate electrode as an etched layer will be described.
먼저, 도 2a에 도시된 바와 같이, 게이트 전극(11) 상부에 하드 마스크(12), 희생 패턴용 아모르퍼스 카본막(13), 산화막(14) 및 BARC막(15)을 순차적으로 형성 한다. 이때, 게이트 전극(11)은 폴리실리콘막과 텅스텐실리사이드막의 적층구조로 형성하고, 하드 마스크(12)는 질화막 계열의 물질로 형성하며, 산화막(14)은 실리콘산화막(SiO2)으로 형성한다.First, as shown in FIG. 2A, a
이어서, BARC막(15) 상부에 감광막을 도포한 후 포토 마스크를 이용한 노광 및 현상공정을 실시하여 감광막 패턴(16a)을 형성한다.Subsequently, after the photoresist film is applied on the
이어서, 도 2b에 도시된 바와 같이, 감광막 패턴(16a)을 식각 마스크로 이용한 건식식각공정을 실시하여 BARC막(15), 산화막(14) 및 아모르퍼스 카본막(13)을 순차적으로 식각한다. 이로써, BARC막 패턴(15a), 산화막 패턴(14a) 및 희생 패턴(13a)이 형성된다.2B, the
이어서, 도 2c에 도시된 바와 같이, 스트립 공정을 실시하여 감광막 패턴(16a, 도 2b참조)을 제거한다. 이때, BARC막 패턴(15a) 또한 제거되어 산화막 패턴(14a)이 노출되는데, 이는 BARC막이 감광막과 동일한 계열의 수지막으로 이루어지기 때문이다.Subsequently, as shown in FIG. 2C, a strip process is performed to remove the
이어서, 산화막 패턴(14a)을 제거한다. 이때, 산화막 패턴(14a)은 HF가 함유된 습식식각용액, 예를 들면 BOE(Buffered Oxide Etchant) 용액-HF와 NH4F가 100:1 또는 300:1로 혼합된 용액-을 이용하여 제거하는 것이 바람직하다. 이는, 하부층인 희생 패턴(13a)과 질화막 계열의 하드 마스크(12)의 손상이 손상된 것을 최소화하기 위함이다.Next, the
이어서, 도 2d에 도시된 바와 같이, 희생 패턴(13a)을 포함하는 전체 구조 상부면의 단차를 따라 식각 마스크용 폴리실리콘막(17)을 증착한다. 여기서, 식각 마스크용으로 폴리실리콘막(17)을 사용하는 이유는 폴리실리콘막의 특성이 희생 패턴(13a)과의 높은 식각 선택비를 가지는 동시에 질화막 계열의 하드 마스크(12)와의 높은 식각 선택비를 가지기 때문이다. 한편, 폴리실리콘막(17)은 증착공정시 희생 패턴(13a)이 손상되는 것을 방지하기 위하여 아모르퍼스 카본막(13)의 증착온도보다 낮은 온도에서 증착하는 것이 바람직하다.Subsequently, as illustrated in FIG. 2D, the
이어서, 전면식각공정을 실시하여 희생 패턴(13a)의 양측벽에 폴리실리콘막(17)을 잔류시킨다. 즉, 희생 패턴(13a)의 양측벽에 스페이서 형태로 폴리실리콘막(17)이 형성된다. 이때, 전면식각공정은 블랭켓(blanket) 공정 또는 에치백(etch back) 공정과 같이 식각 마스크를 사용하지 않고 실시한다. 그리고, 폴리실리콘막(17)의 증착 두께는 피식각층 패턴(12a, 도 2f참조)의 임계치수(Crytical Demension; CD)에 크게 영향을 미친다. 즉, 폴리실리콘막(17)의 증착 두께가 두꺼우면, 스페이서의 두께가 증가하여 식각 마스크용 패턴(17a)의 임계치수가 증가하게 된다. 결국에는 피식각층 패턴(12a)의 임계치수가 증가하게 된다.Subsequently, a
한편, 스페이서는 전면식각공정 대신에 화학적 기계적 연마공정(Chemical Mechanical Polishing; CMP)을 실시하여 형성할 수 있다. 이 경우, 화학적 기계적 연마공정은 희생 패턴(13a)의 상부면이 노출될 때까지 실시한다.Meanwhile, the spacer may be formed by performing chemical mechanical polishing (CMP) instead of the entire surface etching process. In this case, the chemical mechanical polishing process is performed until the top surface of the
이어서, 도 2e에 도시된 바와 같이, 스페이서 사이로 노출되는 희생 패턴(13a)을 순차적으로 제거하여 식각 마스크용 패턴(17a)을 형성한다. 이때, 희생 패턴(13a) 제거공정은 플라즈마(plasma)를 이용한 감광막 스트립 공정으로 실시한 다.Subsequently, as shown in FIG. 2E, the
이어서, 도 2f에 도시된 바와 같이, 식각 마스크용 패턴(17a)을 식각 마스크로 이용한 건식식각공정을 실시하여 피식각층인 하드 마스크(12)를 식각한다. 이로써, 하드 마스크 패턴(12a)이 형성된다. 이때, 식각공정은 폴리실리콘막과 질화막의 식각율이 1:4~1:5 이상이 되는 식각조건으로 실시한다. 예컨대, CHF3/CF4/Ar 플라즈마를 이용하여 실시한다.Subsequently, as illustrated in FIG. 2F, a dry etching process using the
한편, 도 2f에 도시된 바와 같이, 하드 마스크 패턴(12a)을 형성하기 위한 건식식각공정시 식각 마스크용 패턴(17a) 또한 일정 두께만큼 식각된다. 그 이유는 건식식각공정시 식각 마스크용 패턴(17a)과 하드 마스크(12)의 식각율을 1:4~1:5 이상이 되는 식각조건으로 진행하기 때문이다.Meanwhile, as illustrated in FIG. 2F, the
지금까지 설명한 바와 같이, 본 발명의 실시예에 따른 미세패턴 형성방법은 한번의 마스크 공정만으로도 DEET 공정과 동일한 미세패턴을 형성하는 것이 가능하다.As described so far, the method for forming a micropattern according to the embodiment of the present invention can form the same micropattern as the DEET process with only one mask process.
도 3의 (a) 및 (b)는 본 발명의 실시예에 따른 미세패턴 형성방법으로 형성된 40nm 미세패턴을 촬영한 SEM(Scanning Electron Microscope) 사진들이다. 여기서, 도 3a는 도 2f에 대응되는 평면도이고, 도 3b는 도 3a의 I-I' 절취선을 따라 일부를 도시한 단면도이다.3 (a) and 3 (b) are SEM (Scanning Electron Microscope) photographs of a 40 nm micro pattern formed by the method of forming a micro pattern according to an embodiment of the present invention. Here, FIG. 3A is a plan view corresponding to FIG. 2F, and FIG. 3B is a cross-sectional view showing a part along the line II ′ of FIG.
도 3의 (a) 및 (b)에 도시된 미세패턴을 형성하기 위한 형성공정시 아모르퍼스 카본막은 550℃의 온도에서 증착하고, 희생 패턴용 폴리실리콘막은 510℃에 증 착하였다.An amorphous carbon film was deposited at a temperature of 550 ° C., and a polysilicon film for a sacrificial pattern was deposited at 510 ° C. during the formation process for forming the fine patterns shown in FIGS. 3A and 3B.
한편, 도 2a에서 희생 패턴용으로 아모르퍼스 카본막(13)을 사용하는 이유는 도 2e에서 실시되는 희생 패턴(13a) 제거공정시 O2 플라즈마-감광막 패턴 스트립 공정시 보편적으로 사용됨-를 통해 다른 막의 손상을 최소화하면서 희생 패턴(13a)을 선택적으로 쉽게 제거하기 위함이다.Meanwhile, the reason why the
또한, 산화막(14)을 반사 방지막인 BARC막(15)과 아모르퍼스 카본막(13) 사이에 증착하는 이유는 도 2b에서 실시되는 건식식각공정시 감광막 패턴(16a)의 두께가 비교적 얇게-공정상의 제약에 의해 비교적 얇게 도포됨-식각공정시 두껍게 증착되는 아모르퍼스 카본막(13)을 식각하는데 한계가 있기 때문이다. 즉, 식각공정시 산화막(14)으로 하여금 식각 베리어(barrier)막으로 기능하도록 하여 감광막 패턴(16a) 두께의 한계를 보상해준다. 그리고, 도 2c에서 산화막 패턴(14a) 제거공정시 피식각층인 하드 마스크(12)의 손상을 최소화하기 위함이다. 따라서, 산화막(14)은 피식각층인 하드 마스크(12)의 물질에 따라 질화막 또는 산화질화막으로 형성할 수도 있다.Further, the reason why the
본 발명의 기술 사상은 바람직한 실시예에서 구체적으로 기술되었으나, 상기한 실시는 그 설명을 위한 것이며, 그 제한을 위한 것이 아님을 주의하여야 한다. 또한, 본 발명은 이 기술 분야의 통상의 전문가라면 본 발명의 기술 사상의 범위 내에서 다양한 실시예들이 가능함을 이해할 수 있을 것이다.Although the technical spirit of the present invention has been described in detail in the preferred embodiments, it should be noted that the above-described implementation is for the purpose of description and not of limitation. In addition, it will be understood by those skilled in the art that various embodiments are possible within the scope of the technical idea of the present invention.
이상에서 설명한 바와 같이, 본 발명에 의하면 다음과 같은 효과들을 얻을 수 있다.As described above, according to the present invention, the following effects can be obtained.
첫째, 본 발명에 의하면, 한번의 마스크 공정만으로도 DEET 공정과 같은 미세패턴을 구현할 수 있다.First, according to the present invention, it is possible to implement a fine pattern like the DEET process with only one mask process.
둘째, 본 발명에 의하면, 일반적인 DEET 공정시 실시되는 두번의 마스크 공정에 기인하여 발생되는 오정렬 문제에 의한 라인 임계치수의 불균일성을 개선시킬 수 있다.Second, according to the present invention, it is possible to improve the non-uniformity of the line critical dimension due to the misalignment caused by the two mask process performed during the general DEET process.
| Application Number | Priority Date | Filing Date | Title |
|---|---|---|---|
| KR1020060047073AKR20070113604A (en) | 2006-05-25 | 2006-05-25 | Method of forming fine pattern of semiconductor device |
| Application Number | Priority Date | Filing Date | Title |
|---|---|---|---|
| KR1020060047073AKR20070113604A (en) | 2006-05-25 | 2006-05-25 | Method of forming fine pattern of semiconductor device |
| Publication Number | Publication Date |
|---|---|
| KR20070113604Atrue KR20070113604A (en) | 2007-11-29 |
| Application Number | Title | Priority Date | Filing Date |
|---|---|---|---|
| KR1020060047073AWithdrawnKR20070113604A (en) | 2006-05-25 | 2006-05-25 | Method of forming fine pattern of semiconductor device |
| Country | Link |
|---|---|
| KR (1) | KR20070113604A (en) |
| Publication number | Priority date | Publication date | Assignee | Title |
|---|---|---|---|---|
| KR100930388B1 (en)* | 2008-01-24 | 2009-12-08 | 주식회사 하이닉스반도체 | Pattern formation method of semiconductor device |
| KR100941861B1 (en)* | 2008-03-31 | 2010-02-11 | 주식회사 하이닉스반도체 | Patterning method of semiconductor device |
| KR100949879B1 (en)* | 2008-03-28 | 2010-03-25 | 주식회사 하이닉스반도체 | Pattern formation method of semiconductor device |
| CN102346368A (en)* | 2010-07-23 | 2012-02-08 | 中芯国际集成电路制造(上海)有限公司 | Method for manufacturing double pattern exposure mask and double pattern exposure method |
| Publication number | Priority date | Publication date | Assignee | Title |
|---|---|---|---|---|
| KR100930388B1 (en)* | 2008-01-24 | 2009-12-08 | 주식회사 하이닉스반도체 | Pattern formation method of semiconductor device |
| KR100949879B1 (en)* | 2008-03-28 | 2010-03-25 | 주식회사 하이닉스반도체 | Pattern formation method of semiconductor device |
| US7964510B2 (en) | 2008-03-28 | 2011-06-21 | Hynix Semiconductor Inc. | Method for forming pattern of a semiconductor device |
| KR100941861B1 (en)* | 2008-03-31 | 2010-02-11 | 주식회사 하이닉스반도체 | Patterning method of semiconductor device |
| CN102346368A (en)* | 2010-07-23 | 2012-02-08 | 中芯国际集成电路制造(上海)有限公司 | Method for manufacturing double pattern exposure mask and double pattern exposure method |
| Publication | Publication Date | Title |
|---|---|---|
| CN110739210B (en) | Semiconductor structure and forming method thereof | |
| US7919414B2 (en) | Method for forming fine patterns in semiconductor device | |
| KR101004691B1 (en) | Method of forming fine pattern of semiconductor device | |
| CN110690117B (en) | Semiconductor structure and forming method thereof | |
| KR100942078B1 (en) | Method of forming fine pattern of semiconductor device | |
| CN103488041A (en) | Frequency doubling using spacer mask | |
| KR100965775B1 (en) | Method of forming fine pattern of semiconductor device | |
| KR20090022667A (en) | Method of forming fine pattern of semiconductor device | |
| TW201133548A (en) | Method for forming fine pattern | |
| KR100924611B1 (en) | Method of forming fine pattern of semiconductor device | |
| KR100268894B1 (en) | Method for forming of flash memory device | |
| KR20070113604A (en) | Method of forming fine pattern of semiconductor device | |
| US20090162794A1 (en) | Method for fabricating semiconductor device | |
| JP4095588B2 (en) | Method for defining a minimum pitch that exceeds photolithographic resolution in an integrated circuit | |
| KR100983724B1 (en) | Method for manufacturing semiconductor device | |
| KR101046747B1 (en) | Method of forming fine pattern of semiconductor device | |
| KR100934981B1 (en) | Method of forming fine pattern of semiconductor device | |
| KR101161797B1 (en) | Method for forming micropattern in semiconductor device | |
| KR100912958B1 (en) | Manufacturing method of fine pattern of semiconductor device | |
| CN111640668B (en) | Semiconductor device and method of forming the same | |
| KR20090027431A (en) | Method of forming fine pattern of semiconductor device | |
| KR100413043B1 (en) | Gate electrode formation method of semiconductor device | |
| KR100876759B1 (en) | Contact hole formation method of semiconductor device | |
| KR100772699B1 (en) | Semiconductor device manufacturing method | |
| KR20100076763A (en) | Method for fabricating fine pattern in semiconductor device |
| Date | Code | Title | Description |
|---|---|---|---|
| PA0109 | Patent application | Patent event code:PA01091R01D Comment text:Patent Application Patent event date:20060525 | |
| PG1501 | Laying open of application | ||
| PC1203 | Withdrawal of no request for examination | ||
| WITN | Application deemed withdrawn, e.g. because no request for examination was filed or no examination fee was paid |