






도 1은 본 발명의 실시예에 따른 RFID를 이용한 숙박 관리 시스템의 구성 요소들이 숙박 시설 상에서 연결되는 형태를 예시적으로 도시한 도면.1 exemplarily illustrates a form in which components of a lodging management system using RFID according to an embodiment of the present invention are connected on a lodging facility.
도 2는 본 발명의 실시예에 따른 숙박 관리 시스템을 이용한 숙박 결제 방법을 도시한 흐름도.2 is a flowchart illustrating a lodging payment method using a lodging management system according to an exemplary embodiment of the present invention.
도 3은 본 발명의 실시예에 따른 RFID를 이용한 숙박 관리 시스템에 구비되는 RFID태그의 구성 요소를 개략적으로 도시한 블록도.3 is a block diagram schematically illustrating the components of an RFID tag included in a lodging management system using RFID according to an embodiment of the present invention.
도 4는 본 발명의 실시예에 따른 RFID를 이용한 숙박 관리 시스템에 구비되는 RFID리더의 구성 요소를 개략적으로 도시한 블록도.Figure 4 is a block diagram schematically showing the components of the RFID reader provided in the accommodation management system using RFID according to an embodiment of the present invention.
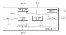
도 5는 본 발명의 실시예에 따른 RFID를 이용한 숙박 관리 시스템의 RFID리더에 구비되는 지그비 통신부의 구성 요소를 개략적으로 도시한 블록도.FIG. 5 is a block diagram schematically illustrating components of a Zigbee communication unit included in an RFID reader of a lodging management system using RFID according to an exemplary embodiment of the present invention. FIG.
도 6은 본 발명의 실시예에 따른 RFID를 이용한 숙박 관리 시스템에 구비되는 단말 장치의 구성 요소를 개략적으로 도시한 블록도.6 is a block diagram schematically illustrating the components of a terminal device included in a lodging management system using RFID according to an embodiment of the present invention.
도 7은 본 발명의 실시예에 따른 RFID를 이용한 숙박 관리 시스템의 단말 장치에 구비된 데이터베이스 구조를 예시한 도면.7 is a diagram illustrating a database structure provided in a terminal device of a lodging management system using RFID according to an embodiment of the present invention.
〈도면의 주요 부분에 대한 부호의 설명〉<Explanation of symbols for main parts of drawing>
1000: RFID를 이용한 숙박 관리 시스템1000: accommodation management system using RFID
G1: 서비스형 물품G2: 구매형 물품G1: Service Item G2: Purchase Item
G3: 반납형 물품G4: 반복사용형 물품G3: Returnable Items G4: Repeated Items
1110∼1140: 제1태그∼제4태그1300: 지그비 네트워크1110 to 1140: 1st tag to 4th tag 1300: Zigbee network
1210∼1260: 제1리더∼제6리더1400: 단말 장치1210 to 1260: First to Sixth Leader 1400: Terminal Device
1500: 경보 장치1600: 표시 장치1500: alarm device 1600: display device
본 발명은 RFID를 이용한 관리 시스템에 관한 것으로서, 보다 상세하게는 호텔과 같은 숙박 시설에 설치되는 관리 시스템에 관한 것이다.The present invention relates to a management system using RFID, and more particularly, to a management system installed in a lodging facility such as a hotel.
현재, 유비쿼터스(ubiquitous) 네트워크 기술이 많은 이들의 주목을 받고 있는데, 유비쿼터스 네트워크 기술이란 시간과 장소에 구애됨이 없이 다양한 네트워크에 자연스럽게 접속할 수 있도록 하는 기술을 의미한다.Currently, ubiquitous network technology has attracted the attention of many people, ubiquitous network technology means a technology that allows to naturally connect to various networks regardless of time and place.
상기 유비쿼터스 네트워크 기술은 텔리메틱스 통신, 근거리 무선 통신, 이동통신 등의 통신 기술을 이용하여 다양한 방식으로 구현가능하며, 이를 이용하면 자동차, 가정, 공공장소 등의 공간에서 자연스러운 접속 환경이 제공되므로 각종 IT정보 및 기술의 활용이 늘어나게 되고 따라서 전반적인 IT산업이 보다 빠른 속도로 발전될 것으로 전망된다.The ubiquitous network technology can be implemented in various ways using communication technologies such as telematics communication, short-range wireless communication, and mobile communication, and by using this, a natural connection environment is provided in a space such as a car, home, or public place. The utilization of IT information and technology will increase, and the overall IT industry is expected to develop more rapidly.
이러한 유비쿼터스 네트워크 기술의 차세대 기술로서 RFID 기술을 들 수 있 으며, 그 중에서 상거래에 도입된 RFID 기술이 대표적이다.The next generation technology of the ubiquitous network technology is RFID technology, and the RFID technology introduced in commerce is representative.
일반적으로, 상거래형 RFID 시스템은 상품에 부착되어 세부정보가 내장된 전자태그, 상기 전자태그의 정보를 RF통신을 이용하여 읽는 RFID리더, 상기 RFID리더로부터 정보를 수집하여 데이터베이스를 구축하는 정보서버 및 상기 정보서버를 연결하여 광역적으로 네트워크를 구축하는 ONS(Object Name Server) 등으로 이루어지며, 상품에 부착된 상기 전자태그는 상기 RFID리더가 위치되는 지역을 통과하며 RF통신을 이용하여 정보를 전달하게 되므로 상품의 유통, 조립, 가격 변동, 판매 등의 물류/유통 관리가 효율적으로 처리될 수 있는 기반을 제공한다.In general, a commercial RFID system includes an electronic tag attached to a product and embedded with detailed information, an RFID reader for reading the information of the electronic tag using RF communication, an information server for collecting information from the RFID reader and building a database; It consists of an ONS (Object Name Server) that connects the information server to build a global network, and the electronic tag attached to the product passes through the area where the RFID reader is located and transmits information using RF communication. As a result, logistics / distribution management such as distribution, assembly, price change, and sales of goods can be efficiently processed.
이상과 같은 유비쿼터스 기술은 그 응용 범위가 매우 넓어서 각종 기술 및 서비스가 결합됨으로써 현실 세계의 삶을 보다 편리하게 할 수 있을 것으로 기대된다. 그러나, 아직은 기술 개발이 초기 단계이고, 이용되고 있는 응용 서비스도 교통 카드, 신분 카드, 동물 관리칩 등의 형태로서 상당히 제한적인 실정이다.Ubiquitous technology as described above is very wide application range is expected to be able to make life in the real world more convenient by combining various technologies and services. However, technology development is still in its infancy, and the application services used are also very limited in the form of transportation cards, identity cards, animal management chips, and the like.
한편, 호텔과 같이 건물 출입자의 이동이 잦고, 사고에 노출되는 위험이 크며, 시설에 비치되는 물품의 관리가 필요하고, 출입상 보안이 요구되는 등의 경우에는 투숙객의 위치를 실시간으로 확인하고, 서비스 이용 여부를 실시간으로 확인하여야 하는데, 종래의 방식으로는 많은 어려움이 따르게 된다.On the other hand, in the case of frequent movement of building visitors such as hotels, high risk of accident exposure, management of goods stored in facilities, security of entry and exit, etc., the location of guests is checked in real time. It is necessary to check whether the service is used in real time, but there are many difficulties in the conventional method.
가령, 출입자 장부를 기록하거나 출입 카드를 이용하여 건물 출입을 통제하고, 관리자가 객실을 일일이 방문하여 서비스 이용 여부, 퇴실 여부, 물건의 분실 여부 등을 확인하고, 객실을 청소하거나 이용 대금을 결제하는 종래의 방식에서는, 별도의 인적 자원이 소요되고 공간 및 시간 상의 제약으로 인하여 작업이 효율적으 로 처리되기가 어렵다.For example, you can record the log of visitors or use the access card to control the entrance of the building, and the administrator visits the room to check whether the service is used, whether to leave or not, and to clean the room or pay the bill. In the conventional manner, separate human resources are required and work is difficult to be processed efficiently due to space and time constraints.
특히, 숙박 시설에서 물품이 분실되거나 도난당하는 경우는 빈번히 발생되며, 투숙객의 호텔 내 잔류 여부, 객실내 서비스 물품의 이용 여부를 확인하기 위해서는 관리자가 객실을 직접 방문하여 시설 및 비치품을 일일이 체크하여야 하므로 상당히 번거로우며 발생된 문제를 간과하는 경우도 많다.In particular, the property is frequently lost or stolen in the accommodation, and in order to check whether the guest stays in the hotel and the use of the service items in the room, the manager must visit the room and check the facilities and beach items one by one. This is quite cumbersome and often overlooks the problem.
이러한 문제를 해결하기 위하여, 종래에 영상촬영장치, 영상처리시스템, 이동통신단말기, 출입카드 등을 이용하여 출입자의 위치를 파악하는 솔루션이 제공되고 있으나, 사용이 번거롭고 설치가 까다로우며 비용이 많이 드는 등의 문제점들이 여전히 상존하고 있다.In order to solve this problem, conventionally, a solution for identifying a person's location using an image photographing device, an image processing system, a mobile communication terminal, an access card, etc. has been provided, but it is cumbersome to use, difficult to install, and expensive. Problems such as lifting still exist.
이에, 전술한 RFID 기술을 응용하여 숙박 시설 내 투숙객의 위치, 물품의 위치 등을 실시간 파악함으로써 시설 파손, 물품 도난, 서비스 이용 확인, 결제 처리 등의 관리를 보다 효율적으로 실행할 수 있는 방안이 요구된다.Therefore, by applying the above-described RFID technology to determine the location of the guests in the accommodation, the location of the goods in real time, there is a need for more efficient management of facility damage, theft of goods, service usage confirmation, payment processing, etc. .
따라서, 본 발명은 RFID 태그 및 리더를 이용한 네트워크를 구성하여 투숙객의 위치를 파악하고, 물품의 이동 상황 또는 이용 여부 등 서비스 현황을 실시간으로 확인하여 서비스질을 향상시킬 수 있도록 하는 숙박 관리 시스템을 제공한다.Accordingly, the present invention provides a lodging management system to configure the network using the RFID tag and the reader to determine the location of the guests, to check the service status such as the movement status or use of goods in real time to improve the service quality. do.
또한, 본 발명은 RFID 태그 및 리더를 이용하여 네트워크를 구성함에 있어서, 물품, 시설의 종류에 따라 RFID 태그 또는 리더가 차별적으로 식별되도록 하고, 타 유/무선 네트워크와 연결된 경보 장치, 표시 장치 등을 연동시키며, 서버 역할을 수행하는 컴퓨터 상에서 데이터를 집계/처리함으로써 보다 신속하고 용이하 게 숙박 업무가 진행될 수 있도록 하는 숙박 관리 시스템을 제공한다.In addition, the present invention is to configure the network by using the RFID tag and the reader, so that the RFID tag or the reader is discriminated according to the type of goods, facilities, and other alarm devices, display devices connected to the wired / wireless network, etc. It provides a lodging management system that enables the lodging business to proceed more quickly and easily by interlocking and collecting / processing data on a computer serving as a server.
본 발명에 의한 RFID를 이용한 숙박 관리 시스템은 숙박 시설에 비치된 물품에 부착되고, 상기 물품의 식별정보를 포함하는 태그정보를 송출하는 RFID태그; 및 상기 숙박 시설의 투숙자 이동 경계역에 설치되어 상기 RFID태그가 상기 경계역에 진입되는 경우 상기 태그정보를 수신하고, 상기 태그정보를 해석하여 상기 물품 식별정보를 추출하며, 상기 물품 식별정보가 추출되면 오디오 신호 또는 비디오 신호를 통하여 알리거나 상기 추출된 물품 식별정보를 유/무선 네트워크를 통하여 연결된 외부 단말기로 전달하는 RFID리더를 포함한다.The accommodation management system using RFID according to the present invention comprises: an RFID tag attached to an article provided in a lodging facility and transmitting tag information including identification information of the article; And the tag information received when the RFID tag enters the border zone of the lodging facility, receives the tag information, interprets the tag information, extracts the article identification information, and extracts the article identification information. The RFID reader may be notified through an audio signal or a video signal, or may transmit the extracted article identification information to an external terminal connected through a wired / wireless network.
또한, 본 발명에 의한 RFID를 이용한 숙박 관리 시스템은 숙박 시설에 비치된 물품에 부착되고, 상기 물품의 식별정보를 포함하는 태그정보를 송출하는 RFID태그; 및 휴대형으로서, 상기 RFID태그로부터 상기 태그정보를 수신하여 상기 물품 식별정보를 추출하고, 상기 물품 식별정보가 추출되면 오디오 신호 또는 비디오 신호를 통하여 알리거나 상기 추출된 물품 식별정보를 유/무선 네트워크를 통하여 연결된 외부 단말기로 전달하는 RFID리더를 포함한다.In addition, the lodging management system using the RFID according to the present invention includes an RFID tag attached to an article provided in the accommodation facility, and transmits tag information including identification information of the article; And a portable type, extracting the article identification information by receiving the tag information from the RFID tag, and notifying the extracted article identification information through an audio signal or a video signal when the article identification information is extracted. It includes an RFID reader for transmitting to an external terminal connected through.
또한, 본 발명에 의한 RFID를 이용한 숙박 관리 시스템에 구비되는 상기 RFID리더는 상기 물품 식별정보가 추출되면 경고음을 송출하거나, 소정 디스플레이 장치를 구동시킨다.In addition, the RFID reader provided in the accommodation management system using RFID according to the present invention transmits a warning sound or drives a predetermined display device when the article identification information is extracted.
또한, 본 발명에 의한 RFID를 이용한 숙박 관리 시스템에 구비되는 상기 RFID리더는 상기 숙박 시설의 소정 위치에 설치된 경고음 장치와 연결되고, 상기 물품 식별정보가 추출되면 상기 오디오 신호를 상기 경고음 장치로 전달하며, 상기 경고음 장치는 상기 오디오 신호가 전달되면 스피커음을 송출한다.In addition, the RFID reader provided in the accommodation management system using the RFID according to the present invention is connected to a warning sound device installed at a predetermined position of the accommodation facility, and if the article identification information is extracted and transmits the audio signal to the warning sound device The warning sound device transmits a speaker sound when the audio signal is transmitted.
또한, 본 발명에 의한 RFID를 이용한 숙박 관리 시스템에 구비되는 상기 RFID태그는, 상기 숙박 시설 중 소정 물품 보관소에 진열된 물품에 부착되고, 상기 물품의 식별정보를 포함하는 태그정보를 송출하고, 상기 RFID리더는, 상기 경계역 중 상기 물품 보관소에 설치되어 상기 RFID태그가 상기 물품 보관소를 이탈하는 경우 상기 태그정보를 수신하고, 상기 태그정보를 해석하여 상기 물품 식별정보를 추출하며, 상기 추출된 물품 식별정보를 상기 외부 단말기로 전달한다.The RFID tag provided in the lodging management system using RFID according to the present invention is attached to an article displayed in a predetermined storage area of the lodging facility, and transmits tag information including identification information of the article. The RFID reader is installed in the article storage area of the border zone, and receives the tag information when the RFID tag leaves the article storage, interprets the tag information, extracts the article identification information, and extracts the extracted article. The identification information is transmitted to the external terminal.
또한, 본 발명에 의한 RFID를 이용한 숙박 관리 시스템에 구비되는 상기 외부 단말기는 상기 RFID리더로부터 전달된 물품 식별정보를 결제 처리에 반영한다.In addition, the external terminal provided in the lodging management system using RFID according to the present invention reflects the item identification information transmitted from the RFID reader to the payment process.
또한, 본 발명에 의한 RFID를 이용한 숙박 관리 시스템에 구비되는 상기 RFID태그는 객실 열쇠에 부착되고, 객실의 식별정보를 포함하는 태그정보를 송출하며; 상기 RFID리더는 프론트 데스크에 설치되어 상기 객실 열쇠가 반납되는 경우 상기 태그정보를 수신하고, 상기 태그정보를 해석하여 객실 식별정보를 추출하며, 상기 추출된 객실 식별정보를 상기 외부 단말기로 전달하고; 상기 외부 단말기는 상기 객실 식별정보에 따라 결제처리를 하거나, 해당 객실의 출입구에 설치된 표시기를 작동시킨다.In addition, the RFID tag provided in the accommodation management system using the RFID according to the present invention is attached to the room key, and transmits the tag information including the identification information of the room; The RFID reader is installed at a front desk to receive the tag information when the guest room key is returned, interpret the tag information, extract room identification information, and transmit the extracted room identification information to the external terminal; The external terminal performs payment processing according to the room identification information or operates an indicator installed at the entrance and exit of the corresponding room.
또한, 본 발명에 의한 RFID를 이용한 숙박 관리 시스템에 구비되는 상기 RFID태그는 보안 영상 테잎에 부착되고, 상기 보안 영상 테잎의 식별정보를 포함하는 태그정보를 송출하며; 상기 RFID리더는 상기 보안 영상 테잎 보관소에 설치되어 상기 RFID태그가 상기 보관소로부터 출입되는 경우 상기 태그정보를 수신하고, 상기 태그정보를 해석하여 상기 보안 영상 테잎 식별정보를 추출하며, 상기 추출된 보안 영상 테잎 식별정보를 상기 외부 단말기로 전달하고; 상기 외부 단말기는 상기 전달된 보안 영상 테잎 식별정보를 통하여 해당 보안 영상 테잎의 상기 보관소 출입 회수를 계산한다.The RFID tag included in the accommodation management system using RFID according to the present invention is attached to a security video tape and transmits tag information including identification information of the security video tape; The RFID reader is installed in the secure video tape storage to receive the tag information when the RFID tag enters and exits from the storage, interprets the tag information, extracts the security video tape identification information, and extracts the extracted security video. Delivering tape identification information to the external terminal; The external terminal calculates the number of accesses to the storage of the security video tape through the transmitted security video tape identification information.
본 발명에 의한 RFID를 이용한 숙박 결제 방법은, 숙박 시설에 비치된 물품에 부착된 RFID태그가 RFID리더가 설치된 투숙자 이동 경계역에 진입되면, 상기 RFID태그는 상기 물품의 식별정보를 포함하는 태그정보를 송출하는 단계; 상기 RFID리더는 상기 태그정보를 수신하고, 상기 태그정보를 해석하여 상기 물품 식별정보를 추출하는 단계; 상기 RFID리더는 상기 물품 식별정보가 추출되면 오디오 신호 또는 비디오 신호를 통하여 알리거나 상기 추출된 물품 식별정보를 유/무선 네트워크를 통하여 연결된 외부 단말기로 전달하는 단계; 및 상기 외부 단말기는 상기 RFID리더로부터 전달된 물품 식별정보를 결제 처리하는 단계를 포함한다.In the lodging settlement method using RFID according to the present invention, when an RFID tag attached to an article provided in a lodging facility enters a dormitory mobile boundary where an RFID reader is installed, the RFID tag includes tag information including identification information of the article. Sending a; The RFID reader receiving the tag information, and analyzing the tag information to extract the article identification information; The RFID reader notifying the user via the audio signal or the video signal when the article identification information is extracted or transferring the extracted article identification information to an external terminal connected through a wired / wireless network; And the external terminal comprises the step of payment processing the article identification information transmitted from the RFID reader.
또한, 본 발명에 의한 RFID를 이용한 숙박 결제 방법은, 숙박 시설에 비치된 물품에 부착된 RFID태그가 휴대형인 RFID리더의 전파 영역에 진입되면, 상기 RFID태그는 상기 물품의 식별정보를 포함하는 태그정보를 송출하는 단계; 상기 RFID리더는 상기 태그정보를 수신하고, 상기 태그정보를 해석하여 상기 물품 식별정보를 추출하는 단계; 상기 RFID리더는 상기 물품 식별정보가 추출되면, 오디오 신호 또는 비디오 신호를 통하여 알리거나 상기 추출된 물품 식별정보를 유/무선 네트워크를 통하여 연결된 외부 단말기로 전달하는 단계; 및 상기 외부 단말기는 상기 RFID 리더로부터 전달된 물품 식별정보를 결제 처리하는 단계를 포함한다.In addition, the accommodation payment method using the RFID according to the present invention, when the RFID tag attached to the article stored in the accommodation facility enters the radio region of the portable RFID reader, the RFID tag includes the identification information of the article Sending information; The RFID reader receiving the tag information, and analyzing the tag information to extract the article identification information; When the article identification information is extracted, notifying the RFID reader through an audio signal or a video signal, or transmitting the extracted article identification information to an external terminal connected through a wired / wireless network; And the external terminal comprises the step of payment processing the article identification information transmitted from the RFID reader.
또한, 본 발명에 의한 RFID를 이용한 숙박 결제 방법 중에서, 상기 물품의 식별정보를 포함하는 태그정보를 송출하는 단계는, 상기 RFID태그가 객실 열쇠에 부착되고, 상기 RFID태그가 프론트 데스크에 반납되어 상기 RFID리더 또는 휴대형 RFID리더의 전파 영역에 진입되면, 객실의 식별정보를 포함하는 태그정보를 송출하는 단계이고; 상기 물품 식별정보를 추출하는 단계는, 상기 RFID리더는 상기 태그정보를 수신하고, 상기 태그정보를 해석하여 상기 객실 식별정보를 추출하는 단계이고; 상기 결제 처리하는 단계는, 상기 외부 단말기가 상기 객실 식별정보에 따라 결제처리를 하거나, 해당 객실의 출입구에 설치된 표시기를 작동시키는 단계이다.In the accommodation payment method using RFID according to the present invention, the transmitting of the tag information including the identification information of the article may include attaching the RFID tag to a room key and returning the RFID tag to the front desk. When entering the radio wave region of the RFID reader or the portable RFID reader, transmitting tag information including identification information of the cabin; Extracting the article identification information, wherein the RFID reader receives the tag information, and interprets the tag information to extract the room identification information; In the payment processing, the external terminal performs payment processing according to the room identification information or operates an indicator installed at an entrance of a corresponding room.
이하에서 첨부된 도면을 참조하여 본 발명의 실시예에 따른 RFID를 이용한 숙박 관리 시스템에 대하여 상세히 설명하는데, 도 2를 참조하여 숙박 관리 시스템을 이용한 숙박 결제 방법과 함께 설명하기로 한다.Hereinafter, a lodging management system using RFID according to an embodiment of the present invention will be described in detail with reference to the accompanying drawings. A description will be given together with the lodging payment method using the lodging management system with reference to FIG. 2.
도 1은 본 발명의 실시예에 따른 RFID를 이용한 숙박 관리 시스템(1000)의 구성 요소들이 숙박 시설 상에서 연결되는 형태를 예시적으로 도시한 도면이이고, 도 2는 본 발명의 실시예에 따른 숙박 관리 시스템(1000)을 이용한 숙박 결제 방법을 도시한 흐름도이다.FIG. 1 is a diagram illustrating a form in which components of a
도 1에 의하면, 본 발명의 실시예에 따른 RFID를 이용한 숙박 관리 시스템(1000)은, 숙박 시설(이하에서, "호텔"인 것으로 함)(H1)에 구비되는 물품에 부착되는 RFID태그(이하에서, "태그"라 약칭함)(1110 내지 1140)와 상기 태그가 이동되는 특정 장소에 위치되는 RFID리더(이하에서, "리더"라 약칭함)(1210 내지 1260), 그리고 상기 리더와 무선 네트워크(1300)를 통하여 연결되는 단말장치(1400)를 포함하여 이루어진다.Referring to FIG. 1, the
상기 태그(1110 내지 1140)는 호텔(H1)에 구비되는 물품의 종류에 따라 4가지 종류로 분류될 수 있고, 상기 리더(1210 내지 1260)는 호텔(H1) 내 위치되는 장소의 종류에 따라 6가지 종류로 분류될 수 있으며, 본 발명의 실시예에서 상기 무선 네트워크는 지그비 네트워크(1300)인 것으로 한다.The
그리고, 호텔(H1)에 구비되는 물품은 크게 서비스형 물품(G1), 구매형 물품(G2), 반납형 물품(G3) 그리고 반복사용형 관리품(G4)으로 분류할 수 있는데, 상기 서비스형 물품(G1)은 투숙객이 별도의 대금 지불 없이 객실(H3)에서 사용할 수 있는 물품을 의미하며, 가령 리모콘, 드라이기, 수건, 실내화, 영화 테잎 등을 그 예로 들 수 있다.In addition, the goods provided in the hotel (H1) can be largely classified into service-type goods (G1), purchase-type goods (G2), return-type goods (G3) and repeatable management goods (G4), the service type The article G1 refers to the article that the guest can use in the room H3 without paying, and may include, for example, a remote controller, a dryer, a towel, slippers, and a film tape.
상기 구매형 물품(G2)은 투숙객이 별도의 대금 지불을 통하여 객실(H3)에서 사용할 수 있는 물품을 의미하여, 가령 냉장고(도 1에는 "보관소"로 표기됨)(H2)에 구비된 음료 등의 제품을 그 예로 들 수 있다.The purchaseable item G2 means a product that a guest can use in the room H3 through a separate payment, for example, a beverage provided in the refrigerator (referred to as "reservation" in FIG. 1) (H2), and the like. For example,
상기 반납형 물품(G3)은 투숙객이 체크-인(Check-in)하면서 제공받아 사용하다가, 체그-아웃(Check-out) 시 반납하는 물품으로서, 가령 객실 열쇠를 그 예로 들 수 있다.The returnable item G3 is a product that is provided while the guest checks in and is used and returned at the check-out, for example, a room key.
상기 반복사용형 관리품(G4)은 관리를 위하여 소정 회수 반복되어 사용되다가 교체를 필요로 하는 물품으로서, 가령 보안 영상 테잎을 그 예로 들 수 있다.The repeatable management item G4 is a product that is repeatedly used a predetermined number of times for management and needs replacement, for example, a security image tape.
이하에서 설명의 편의를 위하여, 상기 서비스형 물품(G1)은 "드라이기"인 것 으로 하고, 상기 구매형 물품(G2)은 "드링크제", 상기 반납형 물품(G3)은 "객실 열쇠", 상기 반복사용형 관리품(G4)은 "보안 영상 테잎"인 것으로 한다.For convenience of description below, the service-type article G1 is "dry", the purchase-type article G2 is "drinks", the return-type article G3 is "room key", the The repeatable management item G4 is assumed to be a "security video tape."
또한, 상기 드라이기(G1), 드링크제(G2)와 객실 열쇠(G3)는 객실(H3)에 위치되는 것으로서, 특히 드링크제(G2)는 객실 내 냉장고(H2)에 위치되고, 보안 영상 테잎(G4)은 테잎 보관 창고(H4)에 위치되는 것으로 가정한다.In addition, the dryer (G1), drink (G2) and the room key (G3) is located in the room (H3), in particular drink (G2) is located in the refrigerator (H2) in the room, security video tape (G4) Is assumed to be located in the tape storage warehouse (H4).
상기 4가지 종류의 태그는 각각 "제1태그" 내지 "제4태그"로 명칭하는데, 드라이기(G1)에 부착되는 태그는 "제1태그(1110)", 드링크제(G2)에 부착되는 태그는 "제2태그(1120)", 객실 열쇠(G3)에 부착되는 태그는 "제3태그(1130)", 보안 영상 테잎(G4)에 부착되는 태그는 "제4태그(1140)"인 것으로 한다.Each of the four types of tags is referred to as "first tag" to "fourth tag," and the tag attached to the dryer G1 is the "
그리고, 상기 6가지 종류의 리더는 각각 "제1리더" 내지 "제6리더"로 명칭하는데, 냉장고(H2) 문측에 설치된 리더는 "제1리더(1210)", 객실(H3) 출입구에 설치된 리더는 "제2리더(1220)", 테잎 보관 창고(H4)의 출입구에 설치된 리더는 "제3리더(1230)", 호텔의 출입구(H6)에 설치된 리더는 "제4리더(1240)", 휴대형 리더는 "제5리더(1250)", 프론트 데스크(H5)에 설치된 리더는 "제6리더(1260)"인 것으로 한다.The six types of readers are referred to as "first reader" to "sixth reader," respectively, and the reader installed at the door side of the refrigerator H2 is installed at the entrance of the "
한편, 상기 단말 장치(1400)는 프론트 데스크(H5)에 위치되는 컴퓨터로서 관리용 프로그램이 내장되어 있고, 경보 장치(1500)는 역시 프론트 데스크(H5)에 위치되어 상기 제4리더(1240)와 유선으로 연결된다. 또한, 객실(H3)의 출입구 외측으로 설치된 표시 장치(1600)는 상기 단말 장치(1400)와 유선으로 연결된다.On the other hand, the
이상과 같이, 본 발명의 실시예에 따른 RFID를 이용한 숙박 관리 시스템 (1000)의 구성 요소들을 예시적으로 한정하고 그 연결 형태를 설명하였으나, 각 구성 요소들의 종류, 개수, 네트워크의 종류 등은 변경가능한 것임에 유의하여야 한다.As described above, the components of the
도 3은 본 발명의 실시예에 따른 RFID를 이용한 숙박 관리 시스템(1000)에 구비되는 RFID태그(제1태그(1110)를 예로 들어 설명함)의 구성 요소를 개략적으로 도시한 블록도이다.FIG. 3 is a block diagram schematically illustrating components of an RFID tag (described by using the
도 3에 의하면, 상기 태그(1110)는 태그안테나(1111), 수신복조부(1112), 전원부(1113), 송신변조부(1114), 태그제어부(1115), 태그메모리(1116)를 포함하여 이루어지는데, 상기 태그안테나(1111)는 무선 채널을 통하여 상기 정보요청신호를 인입시키거나 상기 신호처리된 태그식별정보를 송출시키며, 보통 다이폴안테나가 사용된다.Referring to FIG. 3, the
상기 전원부(1113)는 상기 수신복조부(1112), 태그제어부(1115) 및 송신변조부(1114)로 전원을 공급하는 장치이다.The
상기 태그(1110)는 태그안테나(1111) 및 전원부(1113)의 구동방식에 따라 능동(active) 방식과 수동(passive) 방식으로 분류되는데, 상기 능동 방식은 태그안테나(1111)가 발진회로를 구비하여 상기 태그식별정보를 송출시키고, 상기 전원부(1113)는 배터리를 구비하여 상기 발진회로로 전원을 제공하는 방식이다.The
또한, 상기 수동 방식은 상기 전원부(1113)가 리더(1210 내지 1260)로부터 송출되는 RF신호의 전파 에너지를 이용하여 전원을 재생시키는 방식이며, 검파기 다이오드가 상기 RF신호를 이용하여 DC전압으로 정류하고 정류된 DC전압은 응답코 드를 발생함으로써 상기 송신변조부(1114)에 변조 파형을 공급하는 전원으로 사용된다.The passive method is a method in which the
본 발명에 의한 태그(1110)는 능동 방식 및 수동 방식이 모두 가능한 혼합형 태그로서, 리더(1210 내지 1260)에 근접되었을 때는 수동 방식으로 사용되고 원거리에서 리더(1210 내지 1260)로부터 RF신호, 가령 정보요청신호를 수신하였을 경우에는 능동 방식으로 동작한다.The
상기 태그(1110) 및 리더(1210 내지 1260)가 상기 능동 방식으로 동작시에는 400MHz ~ 900MHz 의 주파수 대역을 가지는 UHF 신호가 사용(여기서는, 433MHz가 사용)되고, 상기 수동 방식으로 동작하는 경우에는 UHF(800MHz ~ 900MHz, 국가별 할당 주파수) 신호가 사용된다.When the
상기 수신복조부(1112)는 인입되는 정보요청신호를 디지털 데이터로 복조하여 태그제어부(1115)로 전달하고, 상기 태그제어부(1115)는 복조된 정보요청신호의 코드를 분석하여 태그식별정보를 생성한다. 그리고, 상기 태그제어부(1115)는 통신프로토콜을 구비하여 리더(1210 내지 1260)와의 무선통신을 제어한다.The
상기 태그메모리(1116)는 정보코드체계를 저장하고, 태그제어부(1115)는 이를 이용하여 상기 태그식별정보를 생성하는데, 정보코드체계는 헤더정보, 리더식별정보, 오류수정정보, 태그식별정보 및 물품식별정보 등으로 구성된다.The
상기 헤더정보는 코드의 형식, 코드체계의 버전, 코드의 길이 등의 정보로 이루어지고, 리더식별정보는 태그(1110)가 리더(1210 내지 1260)를 식별하여 정보를 제공하도록 하는 정보이다. 상기 오류수정정보(CRC: Cyclic Redundancy Checking)는 데이터 통신 상에서 발생될 수 있는 오류를 수정하기 위한 정보이고, 물품식별정보는 태그가 부착되는 물품, 즉 드라이기(G1), 드링크제(G2), 객실 열쇠(G3), 보안 영상 테잎(G4)에 대한 정보를 담고 있다.The header information includes information such as a code format, a version of a code system, a code length, and the like. The reader identification information is information for the
가령, 상기 물품식별정보로는 물품 유형, 유통 기한, 사용 년도, 객실 번호, 가격 등의 정보를 들 수 있으며, 태그식별정보는 리더(1210 내지 1260)가 태그(1110)를 식별할 수 있도록 하는 기기 식별(맥 어드레스와 같은) 정보이다.For example, the item identification information may include information such as an item type, an expiration date, a year of use, a room number, and a price. The tag identification information may allow the
상기 송신변조부(1114)는 태그제어부(1115)에서 생성된 디지털 신호를 RF신호로 변조하고, 태그안테나(1111)를 통하여 변조된 신호가 송출되는데, 수동 방식인 경우에는 전술한 바와 같이 후방산란(backscatter) 방식으로 송출되고, 능동 방식인 경우에는 상기 발진회로를 이용하여 신호를 송출하게 된다.The
우선, 호텔에 비치된 물품이 투숙객에 의하여 이동되고, 각 태그들은 호텔 내 배치된 해당 리더의 전파 영역에 진입하면 RFID 통신을 수행한다(S100)First, an article provided in a hotel is moved by a guest, and each tag performs RFID communication when it enters a radio wave area of a corresponding reader arranged in the hotel (S100).
상기 제1태그(1110)의 경우(S105), 객실(H3) 출입구에 설치된 제2리더(1220), 프론트 데스트에 설치된 제6리더(1260) 또는 호텔 출입구(H6)에 설치된 제4리더(1240)와 통신하여 관리자가 위치를 확인할 수 있으며, 가령 어느 물품이 외부로 유출되는 경우 이를 사전에 방지할 수 있다(S115).In the case of the first tag 1110 (S105), the
상기 제2태그(1120)의 경우(S105), 투숙객이 드링크제(G2)를 냉장고(H2)에서 꺼내 마시는 경우 냉장고(H2) 외측으로 설치된 제1리더(1210)와 통신함으로써, 드링크제(G2)가 냉장고(H2)로부터 유출된 상황, 드링크제(G2) 캔이 버려져 외부로 유출된 상황 등을 관리자가 알 수 있도록 한다(S120).In the case of the second tag 1120 (S105), when the guest takes out and drinks the drink agent G2 from the refrigerator H2, the drink agent G2 communicates with the
상기 제3태그(1130)의 경우(S110), 투숙객이 체크 아웃하여 객실 열쇠(G3)를 프론트 데스크(H5)에 반납하면, 제6리더(1260)와 통신하여(S125) 투숙객이 머무른 시간 등을 계산하여 결제에 반영하도록 하고(S130) 해당 객실(H3)의 출입구에 설치된 표시장치(1600)를 작동시킴으로써(S135) 투숙객이 퇴실한 사실을 알릴 수 있다.In the case of the third tag 1130 (S110), when the guest checks out and returns the room key G3 to the front desk H5, the guest stays in communication with the sixth leader 1260 (S125). By calculating the (S130) to be reflected in the payment (S130) and operating the
그리고, 상기 제4태그(1140)의 경우(S110), 보안 영상 테잎(G4)이 창고(H4)로부터 유출될때마다 제3리더(1230)와 통신하고 제3리더(1230)로부터 정보를 전달받은 단말장치(1400)는 유출 회수를 계산함으로써 보안 영상 테잎(G4)의 사용 회수, 사용 년도를 확인할 수 있다(S145).In the case of the fourth tag 1140 (S110), whenever the security video tape G4 is leaked from the warehouse H4, the
도 4는 본 발명의 실시예에 따른 RFID를 이용한 숙박 관리 시스템(1000)에 구비되는 RFID리더(제1리더(1210)를 예로 들어 설명함)의 구성 요소를 개략적으로 도시한 블록도이다.FIG. 4 is a block diagram schematically illustrating components of an RFID reader (described by using the first reader 1210) included in the
도 4에 의하면, 상기 리더(1210)는 리더안테나(1211), 복조부(1212), 송수신부(1213), 변조부(1214), 리더제어부(1215), 리더메모리(1216) 및 지그비통신부(1217)를 포함하여 구성되는데, 리더제어부(1215)는 통신프로토콜을 구비하여 태그(1110 내지 1140)와의 무선통신을 제어하고, 태그(1110 내지 1140)의 위치를 파악하기 위하여 주기적으로 정보요청신호를 송출한다. 전술한 바와 같이 태그(1110 내지 1140)는 정보요청신호의 범위(주파수 범위)에 위치되면 능동 방식으로 동작하거나, 해당 물품이 근접되면 수동 방식으로 동작한다.Referring to FIG. 4, the
상기 리더제어부(1215)는 태그(1110 내지 1140)로부터 태그식별정보 또는 물품식별정보를 전송받아 태그(1110 내지 1140)가 부착된 물품의 유형을 판별할 수 있으며, 정보의 전송 여부를 결정할 수 있다.The
즉, 리더(1210)는 자신이 통신할 필요성이 있는 태그 그룹에 대한 정보를 상기 리더메모리(1216)에 저장하고, 그룹 이외의 태그로부터 수신된 정보를 무시할 수 있다.That is, the
또한, 리더제어부(1215)는 인터페이스를 구비하여 관리자로부터 태그의 구동방식, 즉 능동방식 또는 수동방식을 선택하도록 할 수 있는데, 가령 관리자가 수동방식을 선택하였다면 리더제어부(1215)는 UHF 신호의 출력을 오프시킴으로써 태그(1110 내지 1140)가 수동 방식으로만 동작하도록 할 수 있다.In addition, the
상기 리더제어부(1215)는 태그(1110 내지 1140)로부터 수신되어 복조부(1212)에서 처리된 디지틸 신호의 코드를 분석하는데, 이때 데이터 포맷을 변환하고, 필요한 정보를 추출하기 위하여 디지틸 신호처리한다.The
상기 리더(1210)는 태그(1110 내지 1140)로부터 전송된 정보, 특히 물품식별정보를 지그비통신부(1217)로 전달하는데, 이때 자신의 리더식별정보를 생성하여 함께 전달한다.The
상기 지그비통신부(1217)는 지그비 네트워크(1300)를 구성하여 물품식별정보 및 리더식별정보를 단말장치(1400)로 전달한다.The
상기 리더메모리(1216)에는 태그메모리(1116)와 같이 코드분석체계가 기록되어 있어 리더제어부(1215)는 코드 분석시 이를 이용하게 하며, 또한 물품식별정보를 리더메모리(1216)에 저장할 수 있다.In the
상기 리더안테나(1211)는 무선 채널을 통하여 정보요청신호를 송출시키거나 태그 정보를 수신하는데 리더안테나(1211) 또는 태그안테나(1111)는 무선채널을 통하여 일종의 상호 감지센서의 기능을 수행하는 것이다.The
상기 송수신부(1213)는 RF신호 형태의 태그 정보를 처리하여 기저대역신호로 변환하고, 리더제어부(1215)에서 생성된 정보요청신호가 상기 변조부(1214)를 통하여 중간주파신호로 변환되면 이를 RF신호로 변환하여 리더안테나(1211)로 전달한다.The
상기 복조부(1212)는 신호처리된 태그 정보를 디지털데이터로 복조하여 리더제어부(1215)로 전달한다.The
상기 제4리더(1240), 제5리더(1250) 또는 제6리더(1260)는 제1태그(1110) 또는 제3태그(1130)가 감지되면 경고음을 송출할 수 있도록, 리더제어부(1215)로부터 제어신호를 전달받는 경고음 신호 생성 회로 및 스피커를 더 구비할 수 있다.The
따라서, 본 발명에 의한 숙박 관리 시스템(1000)에 의하면, 분실한 물품을 휴대형 리더(제5리더(1250))로 찾기 편리하고, 투숙객이 객실 열쇠(G3)를 반납하는 것을 잊거나 드라이기(G1)를 고의로 반출하는 경우를 프론트 데스크(H5) 또는 호텔 출입구(H6)에서 인지할 수 있게 된다.Therefore, according to the
상기 리더(1210)는 경고음의 형태가 아니라, 가령 LED(Light Emitting Display) 및 구동회로를 구비하여 빛의 형태로 "물품 인지 상황"을 알릴 수 있을 것이다.The
또한, 상기 리더(1210)는 소정의 위치, 가령 프론트 데스크(H5)에 설치된 경보 장치(1500)와 유/무선 네트워크를 통하여 연결되고(S150), 특정 태그 정보가 전 달되면 신호를 전송함으로써 경보 장치(1500)를 동작시킬 수 있다(S155).In addition, the
도 5는 본 발명의 실시예에 따른 RFID를 이용한 숙박 관리 시스템(1000)의 RFID리더에 구비되는 지그비 통신부(1217)의 구성 요소를 개략적으로 도시한 블록도이다.FIG. 5 is a block diagram schematically illustrating components of a
도 5에 의하면, 상기 지그비 통신부(1217)는 안테나(1217a), RF수신부(1217b), RF송신부(1217e), 위상동기회로(PLL; Phase Locded Loop)(1217c), 전력제어회로(1217d), 맥처리부(1217f) 및 제어부(1217g)를 포함하여 이루어진다.Referring to FIG. 5, the
상기 RF수신부(1217b), RF송신부(1217e), 위상동기회로(1217c) 및 전력제어회로(1217d)는 지그비 프로토콜 스택의 PH(PHysical) 계층에 해당되는 동작을 처리하는 구성부들로서 RF통신 구조와 네트워크 토폴리지를 결정한다.The
상기 RF수신부(1217b)와 RF송신부(1217e)는 증폭기, 필터 등을 구비하여 해당 대역의 주파수 신호를 처리하는데, 위상동기회로(1217c)는 RF수신부(1217b)와 RF송신부(1217e)가 중간 주파수 신호를 합성하도록 기준 주파수 신호를 제공하고, 전력제어회로(1217d)는 수신 신호의 세기를 판별하여 송신 전력량을 조정하는 기능을 수행한다.The
IEEE 802.15.4 표준은 2가지 종류(2.4 GHz, 866/915 MHz)의 PH 계층(S5)을 정의하며, 2.4 GHz 대역에는 16채널, 902 MHz 내지 928 MHz 대역에는 10채널, 868 MHz 내지 870 MHz 대역에는 1개 채널이 할당된다.The IEEE 802.15.4 standard defines two types of PH layers (S5) (2.4 GHz, 866/915 MHz), 16 channels in the 2.4 GHz band, 10 channels in the 902 MHz to 928 MHz band, and 868 MHz to 870 MHz. One channel is allocated to the band.
상기 RF수신부(1217b)와 RF송신부(1217e)는 DSSS(Direct Sequence Spread Spectrum)를 이용하며, 2.4 GHz 대역의 경우 32 PN 코드 길이의 O-QPSK(Offset- Quadrature Phase-Shift Keying) 변조 방식이 사용되고, 1 GHz 이하 대역의 경우 15 PN 코드 길이의 BPSK(Binary Phase-Shift Keying) 변조 방식이 이용된다.The
이와 같이 하여 아날로그 신호가 처리되면, 상기 RF수신부(1217b)와 RF송신부(1217e)는 베이스밴드 영역의 디지털 신호를 처리하는데, RF수신부(1217b)의 경우 디지털 신호의 동기화(Synchronization), 역확산(Despreading), 복조(Demodulation), 디지털 필터링 등을 처리하고, RF송신부(1217e)의 경우 확산, 신호 정형(Pulse Shaping) 등을 처리한다.When the analog signal is processed in this way, the
이때, BPSK 변조 방식이 사용되는 경우, RF수신부(1217b)와 RF송신부(1217c)가 구성하는 베이스밴드 처리 경로(Path)는 하나로 통합 구현가능하다.In this case, when the BPSK modulation scheme is used, the baseband processing paths configured by the
상기 맥(MAC; Media Access Controller)처리부(1217f)는 PH 계층의 디지털 처리가 끝나면, 전송된 데이터 프레임 구조를 해석하여 프레임을 승인하고, 에러를 감지하여(Error Detection; CRC 또는 Checksum을 통하여 감지함) 재전송 여부를 결정하며, 패킷 라우팅을 처리한다.When the MAC (Media Access Controller) processing unit 1217f finishes the digital processing of the PH layer, the MAC process analyzes the transmitted data frame structure to approve the frame, and detects an error (Error Detection; detects it through a CRC or a checksum). ) It decides whether to retransmit and handles packet routing.
즉, 상기 맥처리부(1217f)는 초기의 하드웨어적 네트워크 연결을 처리하는 구성부로서, 시간 동기를 위한 비콘 및 GTS(Guaranteed Time Slot; 충돌/지연 방지를 가능케 함)와 관련된 부가적 프레임 구조를 제공하며, CSMA-CA(Carrier Sense Multiple Access with Collision Avoidance) 방식으로 채널 접속을 처리한다.That is, the MAC processing unit 1217f is an element that processes an initial hardware network connection, and provides an additional frame structure related to a beacon for time synchronization and a guaranteed time slot (GTS). In addition, the channel access is handled using a carrier sense multiple access with collision avoidance (CSMA-CA) method.
한편, 상기 제어부(1217g)는 나머지 맥계층의 기능(상기 맥처리부(Hardware-MAC)(1217f)와 대응하여 "Software-MAC"이라 함), 네트워크 계층의 기능, 프레임워크 계층의 기능을 수행하여 네트워크 토폴로지를 구성하고, 리더제어부(1215)로부 터 전달된 물품식별정보와 리더식별정보를 단말 장치(1400)에 구비된 지그비 통신부로 전달한다.On the other hand, the
도 6은 본 발명의 실시예에 따른 RFID를 이용한 숙박 관리 시스템(1000)에 구비되는 단말 장치(1400)의 구성 요소를 개략적으로 도시한 블록도이다.6 is a block diagram schematically illustrating the components of the
도 6에 의하면, 상기 단말 장치(1400)는 제어부(1420), 지그비통신부(1410), 사용자인터페이스(1430) 및 데이터베이스(1440)를 포함하여 이루어지는데, 상기 제어부(1420)는 데이터해석모듈(1421), 결제모듈(1422), 표시장치제어모듈(1423), 경보장치제어모듈(1424) 및 D/B관리모듈(1425)을 구비한다.Referring to FIG. 6, the
우선, 상기 지그비통신부(1410)는 리더(1210)에 구비되는 지그비통신부(1217)와 통신을 수행하는 구성부로서 그 구성 및 동작이 상호 동일하므로 상세한 설명은 생략하기로 한다.First, the
상기 지그비통신부(1410)는 지그비네트워크(1300)를 통하여 전달된 물품식별정보 및 리더석별정보를 제어부(1420)로 전달하고, 제어부(1420)의 상기 데이터해석모듈(1421)은 지그비통신부(1410)를 통하여 전달된 물품식별정보와 리더식별정보를 해석한다.The
해석된 데이터들은 D/B관리모듈(1425)로 전달되고, D/B관리모듈(1425)은 데이터를 분류하여 데이터베이스(1440)에 기록/수정/삭제처리한다.The analyzed data is transferred to the D /
상기 제어부(1420)는 리더식별정보를 해석하여 데이터를 송신한 리더를 식별하고, 이어서 물품식별정보를 해석하는데, 가령 제2리더(1220), 제4리더(1240), 제5리더(1250) 또는 제6리더(1260) 등으로부터 제1태그(1110)의 물품식별정보가 송신 되었다고 가정하면, 제어부(1420)는 리더식별정보 및 물품식별정보를 사용자인터페이스(1430)로 전달하고, 경보장치 제어모듈(1424)로 제어신호를 인가한다.The
상기 사용자인터페이스(1430)는 물품식별정보 및 리더식별정보에 따라 드라이기(G1)가 현재 객실(H3) 출입구, 복도(제5리더(1250)를 통하여 식별될 수 있음), 프론트 데스크(H5), 호텔 출입구(H6) 중 어느 곳에 위치되는지를 관리자가 확인할 수 있도록 GUI(Graphic User Interface) 화면으로 구성하여 제공한다(S160).The
그리고, 경보장치 제어모듈(1424)은 인가된 제어신호에 따라 프론트 데스크(H5)에 설치된 경보장치(1500)를 동작시켜 다른 업무를 진행 중인 관리자의 주의를 환기시켜줄 수 있다. 따라서, 관리자는 호텔(H1)의 재산이 외부로 유출되는 상황을 막을 수 있다.In addition, the alarm
또한, 제어부(1420)는 리더식별정보와 물품식별정보를 해석한 결과 제1리더(1210)로부터 제2태그(1120)의 물품식별정보가 전달된 것으로 판별되면, 물품 유형(드링크제(G2)의 종류), 유통 기한, 객실 번호, 가격 등의 정보를 생성하여 이를 결제 모듈(1422) 및 사용자 인터페이스(1430)로 전달한다(S165).In addition, when the
상기 결제모듈(1422)은 투숙객이 냉장고(H2)의 드링크제(G2)를 구매한 것으로 간주하여 구매자, 구매날짜, 결제 내역 등의 데이터를 생성하고, 전체 호텔(H1) 이용요금을 수정하여 이를 D/B관리모듈(1425)로 전달한다(S170).The
사용자 인터페이스(1430)는 드링크제(G2)가 구매된 순간 이를 실시간으로 디스플레이하여 관리자에게 알리거나, 사용자로부터 조작 데이터를 입력받아(가령, 투숙객이 퇴실하는 경우) 투숙객과 관련된 데이터 중의 하나로서 제공할 수 있다.The
한편, 상기 제어부(1420)는 제3태그(1130)로부터 물품(객실 열쇠(G3))식별정보가 수신되면 해당 객실(H3)의 식별정보를 표시장치 제어모듈(1423)로 전달하고, 표시장치 제어모듈(1423)은 해당 객실(H3)의 출입구에 설치된 표시장치(1600)로 전원을 인가하여 작동시킨다(S135).On the other hand, when the identification information of the article (room key G3) is received from the
이러한 경우는 투숙객이 퇴실하는 경우라고 볼 수 있으므로 객실(H3) 출입구의 표시장치(1600)를 통하여 객실(H3)이 비어 있음을 알리고, 청소부가 손님의 재실 여부를 방마다 일일이 확인하여 청소하는 불편함을 해소할 수 있다.In this case, it can be said that the guest is leaving the room, so that the room H3 is empty through the
또한, 상기 제어부(1420)는 제3태그(1130)의 물품식별정보를 결제모듈(1422)로 전달하고, 결제모듈(1422)은 투숙객이 호텔(H1)에 머무른 시간을 계산하여 결제에 반영한다.In addition, the
상기 결제 정보는 전술한 것과 유사하게 사용자 인터페이스(1430) 및 D/B관리모듈(1425)로 전달되어 처리될 수 있다.The payment information may be transferred to the
그리고, 상기 제어부(1420)는 제4태그(1140)로부터 물품(보안 영상 테잎(G4))식별정보가 수신되면 이를 D/B관리모듈(1425)로 전달하고, D/B관리모듈(1425)은 보안 영상 테잎(G4)의 "사용회수" 항목을 수정한다.In addition, when the
따라서, 관리자는 사용자 인터페이스(1430)를 조작하여 보안 영상 테잎(G4)의 사용회수를 확인할 수 있고, 교체 시기를 일률적으로 관리할 수 있게 된다.Therefore, the administrator may check the number of times of use of the security video tape G4 by manipulating the
도 7은 본 발명의 실시예에 따른 RFID를 이용한 숙박 관리 시스템(1000)의 단말 장치(1400)에 구비된 데이터베이스 구조를 예시한 도면이다.FIG. 7 is a diagram illustrating a database structure included in the
도 7에 의하면, 관리자가 프론트 데스크(H5)의 단말 장치(1400)에 구비된 사 용자 인터페이스를 조작함으로써 GUI 형태로 제공받을 수 있는 데이터 종류가 예시되어 있는데, 객실(A)에 따라 내부 비치된 물품들(B), 퇴실 여부(C), 객실 이용 시간(D, E), 현재 까지의 총 이용 대금액(F), 105호 복도용 보안 영상 테잎의 사용 회수(G) 등이 기재되어 있음을 알 수 있다.According to FIG. 7, data types that an administrator can be provided in the form of a GUI by manipulating a user interface provided in the
이상에서 본 발명에 대하여 그 바람직한 실시예를 중심으로 설명하였으나 이는 단지 예시일 뿐 본 발명을 한정하는 것이 아니며, 본 발명이 속하는 분야의 통상의 지식을 가진 자라면 본 발명의 본질적인 특성을 벗어나지 않는 범위에서 이상에 예시되지 않은 여러 가지의 변형과 응용이 가능함을 알 수 있을 것이다. 예를 들어, 본 발명의 실시예에 구체적으로 나타난 각 구성 요소는 변형하여 실시할 수 있는 것이다. 그리고 이러한 변형과 응용에 관계된 차이점들은 첨부된 청구 범위에서 규정하는 본 발명의 범위에 포함되는 것으로 해석되어야 할 것이다.The present invention has been described above with reference to the preferred embodiments, which are merely examples and are not intended to limit the present invention, and those skilled in the art to which the present invention pertains do not depart from the essential characteristics of the present invention. It will be appreciated that various modifications and applications are not possible that are not illustrated above. For example, each component specifically shown in the embodiment of the present invention can be modified. And differences relating to such modifications and applications will have to be construed as being included in the scope of the invention defined in the appended claims.
본 발명에 의한 RFID를 이용한 숙박 관리 시스템에 의하면, 숙박 시설내의 물품의 위치를 자동으로 파악함으로써 도난 또는 분실 상황을 사전에 예방할 수 있고, 객실 내 소비품의 사용 현황을 실시간 확인하여 결제 처리하거나 소비되는 즉시 물품을 보충함으로써 관리자, 투숙객 모두에게 편의를 제공할 수 있는 효과가 있다.According to the lodging management system using RFID according to the present invention, it is possible to prevent theft or loss situation in advance by automatically grasping the location of the goods in the lodging facility, and to check the usage status of the consumables in the room in real time to process payment or consumption. By replenishing goods immediately, it is effective to provide convenience to both managers and guests.
또한, 본 발명에 의하면, 객실 열쇠의 위치를 추적하여 투숙객의 시설 내 위치 및 퇴실(체그 아웃) 여부를 자동으로 파악함으로써 투숙객의 안전관리를 효율적으로 수행할 수 있다.In addition, according to the present invention, by tracking the location of the room key automatically determine the location of the guest in the facility and whether or not to leave (check out) can efficiently perform the safety management of the guest.
또한, 본 발명에 의하면, 청소, 물품 보충 등의 객실 관리가 쉬어지며, 관리용 물품의 사용회수를 체크함으로써 관리용 물품의 추가비축여부 등을 사전에 결정할 수 있는 효과가 있다.In addition, according to the present invention, the room management such as cleaning, replenishment of goods and the like becomes easy, and by checking the number of times of use of the management goods, there is an effect of determining in advance whether or not to reserve additional items for management.
| Application Number | Priority Date | Filing Date | Title |
|---|---|---|---|
| KR1020060000478AKR20070073019A (en) | 2006-01-03 | 2006-01-03 | Accommodation management system using RFID and its method |
| Application Number | Priority Date | Filing Date | Title |
|---|---|---|---|
| KR1020060000478AKR20070073019A (en) | 2006-01-03 | 2006-01-03 | Accommodation management system using RFID and its method |
| Publication Number | Publication Date |
|---|---|
| KR20070073019Atrue KR20070073019A (en) | 2007-07-10 |
| Application Number | Title | Priority Date | Filing Date |
|---|---|---|---|
| KR1020060000478AWithdrawnKR20070073019A (en) | 2006-01-03 | 2006-01-03 | Accommodation management system using RFID and its method |
| Country | Link |
|---|---|
| KR (1) | KR20070073019A (en) |
| Publication number | Priority date | Publication date | Assignee | Title |
|---|---|---|---|---|
| KR100899532B1 (en)* | 2007-11-26 | 2009-05-27 | 한국전자통신연구원 | Theft / loss prevention method and theft / loss prevention system using short range wireless communication |
| KR100978067B1 (en)* | 2008-05-06 | 2010-08-25 | (주)티아이소프트 | Location Tracking Confirmation System and Control Method Using Zigbee Communication |
| KR101430136B1 (en)* | 2012-11-29 | 2014-08-14 | 에스케이씨앤씨 주식회사 | System for supplying discoundt service in case of buying good in cooperation shop and method thereof |
| Publication number | Priority date | Publication date | Assignee | Title |
|---|---|---|---|---|
| KR100899532B1 (en)* | 2007-11-26 | 2009-05-27 | 한국전자통신연구원 | Theft / loss prevention method and theft / loss prevention system using short range wireless communication |
| KR100978067B1 (en)* | 2008-05-06 | 2010-08-25 | (주)티아이소프트 | Location Tracking Confirmation System and Control Method Using Zigbee Communication |
| KR101430136B1 (en)* | 2012-11-29 | 2014-08-14 | 에스케이씨앤씨 주식회사 | System for supplying discoundt service in case of buying good in cooperation shop and method thereof |
| Publication | Publication Date | Title |
|---|---|---|
| JP4324164B2 (en) | Radio frequency identification transponder reader device having transponder function | |
| KR100936353B1 (en) | Store Management System Using Near Field Communication | |
| US7030732B2 (en) | System and method for locating individuals and equipment, airline reservation system, communication system | |
| US7844505B1 (en) | Automated real-time distributed tag reader network | |
| US8725626B2 (en) | Method, device and system for automated context information based selective data provision by identification means | |
| CN101809600A (en) | Management system for public facilities | |
| WO2011035302A1 (en) | Retail product tracking system, method, and apparatus | |
| US9084116B2 (en) | Detector logic and radio identification device and method for enhancing terminal operations | |
| CN111788581B (en) | Apparatus and method for enabling multiple forms of RFID technology to interact to provide additional information, security, and performance | |
| KR20070092548A (en) | Parking management system and parking management method using RFID | |
| KR20070089284A (en) | Building management system using RFID | |
| US20070252208A1 (en) | Semiconductor device and position detecting method using the semiconductor device | |
| US7232069B1 (en) | Methods and apparatus for disabling, enabling or setting the range of radio frequency identification devices | |
| KR20070073019A (en) | Accommodation management system using RFID and its method | |
| KR101860944B1 (en) | Intelligent multi-media display communication system | |
| CN109658638A (en) | Drinks consume monitoring management method and system | |
| CN104933820B (en) | The supervisory systems of article and background server monitoring and managing method in region | |
| JP2013004054A (en) | Active rfid communication control method and rfid wireless device | |
| KR100716906B1 (en) | Product Information Recognition Device | |
| Decker | Traceability of Financial Assets Through the Application of the Internet of Things | |
| Bueno-Delgado et al. | 19 Radio-Frequency | |
| Kou et al. | RFID technologies and applications | |
| Milosiu et al. | A Novel Concept for a Long Lifetime Wireless Geofencing System With an Integrated Sub-10? A Wake-Up Receiver | |
| Haider | A Case Study of Automated Inventory Management | |
| KR20070003950A (en) | Detector logic and wireless recognition device and method for enhancing terminal operation |
| Date | Code | Title | Description |
|---|---|---|---|
| PA0109 | Patent application | Patent event code:PA01091R01D Comment text:Patent Application Patent event date:20060103 | |
| PG1501 | Laying open of application | ||
| PC1203 | Withdrawal of no request for examination | ||
| WITN | Application deemed withdrawn, e.g. because no request for examination was filed or no examination fee was paid |