





본 고안은 액정 표시 장치에 사용되는 백라이트 유닛에 관한 것이다.The present invention relates to a backlight unit used in a liquid crystal display device.
일반적으로 액정 표시 장치는 평판 디스플레이 소자의 한 종류로 휴대 가능하며, 평판, 박형, 저소비전력, 고화질화의 장점을 가지고 있어 최근에 많이 사용되고 있다. 그러나 액정표시장치는 자체발광을 하지 못하고 투과광을 변조시키는 역할만을 수행하므로 액정표시패널의 후방에 백라이트 유닛이 제공되어야 하며, 액정 표시 장치의 성능은 액정 표시 장치 자체만이 아니라 이에 사용되는 백라이트의 성능에 크게 의존한다.In general, a liquid crystal display device is portable as one type of flat panel display element, and has been widely used recently because it has advantages of flat panel, thin film, low power consumption, and high image quality. However, since the LCD does not emit light and modulates the transmitted light only, a backlight unit should be provided at the rear of the LCD. The performance of the LCD is not only the LCD itself but the performance of the backlight used therein. Depends heavily on
일반적으로 사용되고 있는 백라이트 유닛은 광을 발생하는 광원 및 발생된 광을 액정표시패널로 안내하기 위한 도광판을 포함한다. 상기 광원은 상기 도광판의 일측면(혹은 양측면)에 위치하며, 발광 다이오드(Light Emitting Diode, 이하 LED)로 형성된다. 상기 백라이트 유닛의 하부에는 상기 도광판으로부터 누설된 광을 상기 액정표시패널 방향으로 반시시켜 광효율을 향상시키기 위한 반사시트가 구비되어 있다.BACKGROUND ART A backlight unit which is generally used includes a light source for generating light and a light guide plate for guiding the generated light to a liquid crystal display panel. The light source is positioned on one side (or both sides) of the light guide plate and is formed of a light emitting diode (LED). The lower portion of the backlight unit is provided with a reflective sheet for improving light efficiency by reflecting light leaked from the light guide plate toward the liquid crystal display panel.
이상 설명한 종래기술에서 문제가 되는 것은, 도광판(10)의 사이즈에 비해  개개의 광원 (LED)(12)의 발광면적이 작기 때문에, 광출사면의 휘도 불균일이 발생하기 쉽다는 것이다.The problem in the related art described above is that since the light emitting area of each light source (LED) 12 is small compared to the size of the
즉,  도 1에 도시한 바와 같이, 현재 범용되고 있는 LED(12)는 점광원 발광체로서 약 70-90°의 출사각을 갖고 있기 때문에, LED의 출사각에 해당되는 명부(明部: 파선참조)사이에는 암부(暗部: 휘도부족부분)가 나타나 휘도 불균일 현상이 발생된다.  이 문제는, 예를 들면 다수의 LED를 밀집배치하면 완화되지만, LED이 비용이 고가이므로 LED가 증가할수록 액정표시장치가 채택된 장치의 부품원가를 상승시키는 주요 요인이 될 수 있다.That is, as shown in Fig. 1, since the
본 고안은 이와 같은 종래의 문제점을 해결하기 위한 것으로, 그 목적은 광원의 출사각에 대응하는 도광판의 명부(밝은 부분)와, 광원의 출사각에서 벗어난 도광판의 암부(어두운 부분) 간의 휘도 불균일 현상을 최소화할 수 있는 새로운 형태의 백라이트 유닛을 제공하는데 있다.The present invention is to solve such a conventional problem, the purpose of which is the luminance uneven phenomenon between the light guide plate (bright part) of the light guide plate corresponding to the exit angle of the light source and the dark part (dark part) of the light guide plate deviated from the exit angle of the light source It is to provide a new type of backlight unit that can minimize the.
상술한 목적을 달성하기 위한 본 고안의 특징에 의하면, 본 고안의 백라이트 유닛은 광원; 상기 광원으로부터 광이 입사되는 입사면과, 입사된 광이 출사되는 출사면을 갖는 도광판을 포함하되; 상기 도광판은 상기 입사면과 인접한 상기 출사면에 광 산란을 위한 제1패턴들이 형성될 수 있다.According to a feature of the present invention for achieving the above object, the backlight unit of the present invention is a light source; A light guide plate having an incident surface on which light is incident from the light source and an exit surface on which incident light is emitted; In the light guide plate, first patterns for light scattering may be formed on the exit surface adjacent to the incident surface.
본 고안의 실시예에 따르면, 상기 도광판은 상기 출사면과 대응되는 일면에 광의 산란을 위해 형성된 제2패턴들이 형성될 수 있다.According to an embodiment of the present invention, the light guide plate may have second patterns formed on the surface corresponding to the emission surface to scatter light.
본 고안의 실시예에 따르면, 상기 제1패턴들이 형성된 영역은 상기 입사면으로부터 1-10mm 이내이다.According to an embodiment of the present invention, an area in which the first patterns are formed is within 1-10 mm from the incident surface.
본 고안의 실시예에 따르면, 상기 제1패턴들이 형성된 영역은 상기 광원의 출사각에서 벗어난 암부에 해당되는 영역이다.According to an embodiment of the present invention, the region in which the first patterns are formed is a region corresponding to the dark portion deviated from the emission angle of the light source.
본 고안의 실시예에 따르면, 상기 제1패턴들 및 상기 제2패턴들 각각은 브이컷 또는 뿔 형상의 돌기일 수 있다.According to the exemplary embodiment of the present invention, each of the first patterns and the second patterns may be a V-cut or a horn-shaped protrusion.
본 고안의 실시예에 따르면, 상기 제1패턴들 및 상기 제2패턴들은 상기 도광판의 입사면과 수평하게 형성될 수 있다.According to an embodiment of the present invention, the first patterns and the second patterns may be formed parallel to the incident surface of the light guide plate.
이와 같은 본 고안에 의하면, 광원의 출사각에 대응하는 도광판의 명부(밝은 부분)와, 광원의 출사각에서 벗어난 도광판의 암부(어두운 부분)간의 휘도 불균일 현상을 최소화할 수 있다.According to the present invention, it is possible to minimize the luminance unevenness between the light guide plate (bright part) corresponding to the emission angle of the light source and the dark part (dark part) of the light guide plate deviated from the light emission plate.
예컨대, 본 고안의 실시예는 여러 가지 형태로 변형될 수 있으며, 본 고안의 범위가 아래에서 상술하는 실시예로 인해 한정되어 지는 것으로 해석되어져서는 안 된다. 본 실시예는 당업계에서 평균적인 지식을 가진 자에게 본 고안을 보다 완전하게 설명하기 위해서 제공되어지는 것이다. 따라서, 도면에서의 요소의 형상 등은 보다 명확한 설명을 강조하기 위해서 과장되어진 것이다.For example, embodiments of the present invention may be modified in various forms, and the scope of the present invention should not be construed as being limited by the embodiments described below. This embodiment is provided to more completely describe the present invention to those skilled in the art. Accordingly, the shape of the elements in the drawings and the like are exaggerated to emphasize a clearer description.
본 고안의 실시예를 첨부된 도면 도 2 내지 도 6에 의거하여 상세히 설명한 다. 또, 상기 도면들에서 동일한 기능을 수행하는 구성 요소에 대해서는 동일한 참조 번호를 병기한다.An embodiment of the present invention will be described in detail with reference to FIGS. 2 to 6. In addition, in the drawings, the same reference numerals are denoted together for components that perform the same function.
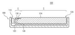
도 2는 본 고안의 백라이트 유닛의 개략적인 사시도이다. 도 3은 도 2에 도시된 백라이트 유닛의 개략적인 단면을 보여주는 도면이다. 도 4는 제1패턴의 다른 예를 보여주는 백라이트 유닛의 평면도이다.2 is a schematic perspective view of the backlight unit of the present invention. FIG. 3 is a schematic cross-sectional view of the backlight unit illustrated in FIG. 2. 4 is a plan view of a backlight unit illustrating another example of the first pattern.
도 2 내지 도 4를 참고하면, 백라이트 유닛(100)은 광을 발생하는 광원(110), 상기 광원(110)으로부터 발생된 광을 가이드하여 영상을 표시하는 액정패널(미도시)측으로 출사시키기 위한 도광판(120) 그리고 광원(110)과 도광판(1200을 수납하기 위한 몰드 프레임(180)을 포함한다.2 to 4, the
광원(110)은 도광판(120)의 일측면(입사면;122)(또는 양측면)을 따라 복수개로 구비된다. 여기서, 광원(110)으로서는 발광다이오드(Light Emitting Diode; LED)가 사용된다. 발광다이오드는 종래 많이 사용되고 있던 형광관에 비하여, 승압장치 등 특별한 기구를 필요로 하지 않고, 경량 콤팩트하고, 또 고주파, 고전압을 사용하지 않기 때문에 안정성에도 뛰어나다. 또 전력제어가 용이하고, 저소비전력 용도에도 용이하게 대응할 수 있다. 특히, 발광다이오드는 수명이 반영구적이고, 색에 대하여는 최근에서는 적, 녹, 청, 그들의 혼색, 백색도 가능하게 되어 있다. 전구를 사용한 경우는 수명이 짧아지나 염가이고, 교환도 용이하게 할 수 있는 가능성을 가진다.The
발광 다이오드로 이루어진 광원(110)으로부터 출사된 광은 강한 직진성을 가지며, 소정의 출사각(a)을 가지고 진행된다. 즉, 광원(110)은 점광원이므로 도 3에  도시된 바와 같이 광축을 중심으로 방위각 70-90도 범위(출사각;a)로 광을 방출하게 되며, 광원(110)에서 방출된 광은 입사면(122)을 통하여 도광판(120) 내부로 입사됨으로써, 도광판(120)에는 광원(110)의 출사각에 포함되는 명부(x)(밝은 부분)와, 광원의 출사각에서 벗어난 암부(y)(명부보다 상대적으로 어두운 부분)가 발생된다.Light emitted from the
본 고안은 광원(110)의 출사각에 대응하는 도광판(120)의 명부(밝은 부분)(x)와, 광원의 출사각에서 벗어난 도광판(120)의 암부(어두운 부분)(y)간의 휘도 불균일 현상을 최소화할 수 있는 패턴들이 형성된 도광판을 갖는데 그 특징이 있다.The present invention is a luminance non-uniformity between the light (light portion) (x) of the
도광판(120)은 상면과 저면에 광원(110)으로부터 입사된 광을 광출사면(124)으로 균일하게 방출시키기 위한 제1패턴(130)들과 제2패턴(140)들이 형성된다.The
제1패턴(130)들은 도광판(120)의 입사면(122)과 인접한 상면(출사면) 일부에 도광판(120)의 입사면(122)과 수평한 방향으로 형성된다.  여기서 중요한 것은 제1패턴(130)들이 입사면(122)으로부터 1-10mm 이내 범위에 형성된다는데 그 특징이 있다.  다시 말해서, 제1패턴(122)들은 광원(110)의 출사각으로부터 벗어난 암부(y)에 해당되는 영역에 형성된다는데 그 특징이 있다.The
암부(y)에 형성되는 제1패턴(130)들은 단순하게 일방향으로만 형성된 브이컷으로 이루어질 수 있다.  물론, 도 4에서와 같이, 제1패턴(140)들은 브이컷이 서로 직교한 형태로 이루어질 수 있다. 도 4에서와 같이, 제1패턴(140)들은 일방향의 브이컷 형태와 서로 직교한 형태의 브이컷을 선택적으로 사용할 수 있다.The
이렇게 광원의 출사각에서 벗어난 암부(y)에 제1패턴(130)이 형성됨으로써 명부(x)에 비해 상대적으로 암부(y)에서 더욱 많은 산란이 일어나서 명부(x)와의 휘도 차이를 극복할 수 있는 것이다.Thus, since the
제2패턴(140)들은 도광판(120)의 저면(123) 전체에 일방향(도광판의 입사면과 수평 또는 수직한 방향)으로 형성된다. 제2패턴(140)은 도광판(120)의 입사면(122)과 수평한 방향으로 형성된 브이컷으로 이루어진다.The
본 실시예에서는 상기 제1패턴(130)들 및 상기 제2패턴(140)들 각각의 형상이 브이컷으로 도시되였으나,  이에 한정하지 않고, 도 5 및 도 6에서와 같은 U자형태 홈(132)이나, 일부가 테이퍼진 홈(134) 형태 또는 사각뿔(미도시됨) 형상으로 양각 또는 음각하여 형성할 수 있다. 한편, 암부(y)에는 제1패턴(130)들이 일정 간격을 두고 형성될 수도 있으나, 연속적으로 조밀하게 형성될 수도 있다.In the present embodiment, the shape of each of the
예컨대, 본 실시예에서는 도광판(120)의 두께가 동일하지만, 휘도의 균일성을 조정하기 위하여 테이퍼진 형태로 형성될 수도 있다.For example, in the present embodiment, the
참고로, 도광판(120)을 형성하는 투명재료는 아크릴수지, 폴리카보네이트수지, 비정성 폴리올레핀수지 등의 투명수지, 유리 등의 무기투명재료 또는 그들의 복합체가 사용되고, 사출성형, 열경화수지, 광강화수지, 에칭, 투명수지 또는 유리평판상에 필름 또는 수지층을 접합하는 등의 방법에 의하여 형성된다.For reference, as the transparent material forming the
이상에서, 본 고안에 따른 백라이트 유닛의 구성 및 작용을 상기한 설명 및 도면에 따라 도시하였지만 이는 예를 들어 설명한 것에 불과하며 본 고안의 기술적 사상을 벗어나지 않는 범위 내에서 다양한 변화 및 변경이 가능함은 물론이다.In the above, the configuration and operation of the backlight unit according to the present invention is shown in accordance with the above description and drawings, but this is merely an example, and various changes and modifications are possible without departing from the technical spirit of the present invention. to be.
도 1은 일반적인 백라이트 유닛을 보여주는 도면;1 shows a typical backlight unit;
도 2는 본 고안의 바람직한 실시예에 따른 백라이트 유닛의 개략적인 사시도;2 is a schematic perspective view of a backlight unit according to a preferred embodiment of the present invention;
도 3은 도 2에 도시된 백라이트 유닛의 개략적인 단면을 보여주는 도면;FIG. 3 is a schematic cross-sectional view of the backlight unit shown in FIG. 2; FIG.
도 4는 변형된 제1패턴을 갖는 백라이트 유닛의 개략적인 평면도;4 is a schematic plan view of a backlight unit having a modified first pattern;
도 5 및 도 6은 다양한 제1패턴들의 형상을 보여주는 도면들이다.5 and 6 are views illustrating shapes of various first patterns.
* 도면의 주요 부분에 대한 부호의 설명 *Explanation of symbols on the main parts of the drawings
110 : 광원110: light source
120 : 도광판120: light guide plate
130 : 제1패턴130: first pattern
140 : 제2패턴140: second pattern
| Application Number | Priority Date | Filing Date | Title | 
|---|---|---|---|
| KR2020080008394UKR200442409Y1 (en) | 2008-06-24 | 2008-06-24 | Backlight unit | 
| Application Number | Priority Date | Filing Date | Title | 
|---|---|---|---|
| KR2020080008394UKR200442409Y1 (en) | 2008-06-24 | 2008-06-24 | Backlight unit | 
| Application Number | Title | Priority Date | Filing Date | 
|---|---|---|---|
| KR1020050128833ADivisionKR20070067496A (en) | 2005-12-23 | 2005-12-23 | Backlight unit | 
| Publication Number | Publication Date | 
|---|---|
| KR200442409Y1true KR200442409Y1 (en) | 2008-11-10 | 
| Application Number | Title | Priority Date | Filing Date | 
|---|---|---|---|
| KR2020080008394UExpired - LifetimeKR200442409Y1 (en) | 2008-06-24 | 2008-06-24 | Backlight unit | 
| Country | Link | 
|---|---|
| KR (1) | KR200442409Y1 (en) | 
| Publication number | Priority date | Publication date | Assignee | Title | 
|---|---|---|---|---|
| CN114859457A (en)* | 2022-05-13 | 2022-08-05 | 深圳创维-Rgb电子有限公司 | Side-in light guide structure, backlight module and display device | 
| Publication number | Priority date | Publication date | Assignee | Title | 
|---|---|---|---|---|
| CN114859457A (en)* | 2022-05-13 | 2022-08-05 | 深圳创维-Rgb电子有限公司 | Side-in light guide structure, backlight module and display device | 
| Publication | Publication Date | Title | 
|---|---|---|
| JP4435774B2 (en) | Backlight assembly and liquid crystal display device | |
| WO2013125567A1 (en) | Backlight unit and liquid crystal display device | |
| KR101127581B1 (en) | Back light unit and display module applying back light unit | |
| KR100999780B1 (en) | Optical assembly, backlight unit and display device having same | |
| KR20100051298A (en) | Light guiding plate, backlight assembly and display apparatus having the same | |
| US8662729B2 (en) | Light unit and display apparatus having the same | |
| US8430550B2 (en) | Backlight module | |
| JP2005222814A (en) | Planar light source device and display device using the same | |
| US8400581B2 (en) | Back light unit and liquid crystal display comprising the same | |
| US20210333459A1 (en) | Light guide plate, backlight module and display device | |
| US20150253492A1 (en) | Lighting apparatus and display apparatus | |
| JP2009146904A (en) | Backlight and liquid crystal display device | |
| KR20110027185A (en) | Light guide plate and backlight unit having same | |
| KR200442409Y1 (en) | Backlight unit | |
| KR20110041825A (en) | Backlight unit and liquid crystal display device having same | |
| KR101042698B1 (en) | Surface light source device | |
| KR101028294B1 (en) | Optical assembly, backlight unit and display device having same | |
| KR20070067496A (en) | Backlight unit | |
| KR200384903Y1 (en) | Back light unit | |
| KR200384910Y1 (en) | Back light unit | |
| KR20060093892A (en) | Backlight unit | |
| JP2011198479A (en) | Surface light source and liquid crystal display device | |
| KR20070100485A (en) | Backlight unit and liquid crystal display including the same | |
| KR20120043600A (en) | Backlight unit | |
| KR200384905Y1 (en) | Reflective sheet of back light unit | 
| Date | Code | Title | Description | 
|---|---|---|---|
| U107 | Dual application of utility model | ||
| UA0107 | Dual application for utility model registration | Comment text:Dual Application of Utility Model Registration Patent event date:20080624 Patent event code:UA01011R07D | |
| REGI | Registration of establishment | ||
| UR0701 | Registration of establishment | Patent event date:20081029 Patent event code:UR07011E01D Comment text:Registration of Establishment | |
| UR1002 | Payment of registration fee | Start annual number:1 End annual number:1 Payment date:20080625 | |
| UG1601 | Publication of registration | ||
| UR1001 | Payment of annual fee | Payment date:20091027 Start annual number:2 End annual number:3 | |
| UR1001 | Payment of annual fee | Payment date:20111028 Start annual number:4 End annual number:4 | |
| FPAY | Annual fee payment | Payment date:20121029 Year of fee payment:5 | |
| UR1001 | Payment of annual fee | Payment date:20121029 Start annual number:5 End annual number:5 | |
| FPAY | Annual fee payment | Payment date:20131008 Year of fee payment:6 | |
| UR1001 | Payment of annual fee | Payment date:20131008 Start annual number:6 End annual number:6 | |
| FPAY | Annual fee payment | Payment date:20141114 Year of fee payment:7 | |
| UR1001 | Payment of annual fee | Payment date:20141114 Start annual number:7 End annual number:7 | |
| FPAY | Annual fee payment | Payment date:20151029 Year of fee payment:8 | |
| UR1001 | Payment of annual fee | Payment date:20151029 Start annual number:8 End annual number:8 | |
| EXPY | Expiration of term | ||
| UC1801 | Expiration of term | Termination category:Expiration of duration Termination date:20160623 |