






본 고안은 일반 콘크리트 건축물의 지하기초바닥 또는 지하외벽이나 상부슬라브, 지하주차장 상부 슬라브, 건물옥상, 지하철, 지하차도, 통신구 및 전력구를 포함하는 공동구, 개착식 터널등에 설치되는 방수층을 보호하기 위한 방수층 보호재에 관한 것으로, 더욱 상세하게는 콘크리트 구조물에 방수층 시공후 바닥면의 누름콘크리트 타설이나 벽체면의 토사 되메우기 작업시, 방수처리면을 신뢰적으로 보호하고 시공성 및 단열성을 향상시키며 공기를 단축할 수 있는 방수층 보호재에 관한 것이다.The present invention is to protect the waterproofing layer installed in the basement or basement wall or upper slab of the concrete concrete building, the upper slab, the upper slab of the underground parking lot, the roof of the building, the subway, the underground road, the joint including the communication port and the power port, the open tunnel. This invention relates to a waterproof layer protection material for protection, and more particularly, when the waterproof layer is applied to a concrete structure, when the pressed concrete is placed on the floor or the soil is refilled, the surface is reliably protected, the workability and insulation are improved, and the air is shortened. It is related with the waterproofing layer protective material which can be performed.
일반적으로, 지하철, 지하차도, 전력구 및 통신구를 포함하는 공동구, 개착식 터널등과 같은 지하 콘크리트 구조물이나, 건물의 지하 기초바닥이나 지하외벽, 지하주차장 상부 슬라브, 건물 옥상등과 같은 콘크리트 구조물에는 내부로 물이 누수되는 것을 방지하기 위하여 방수처리를 하고 있다.In general, underground concrete structures such as subways, underground roads, common areas including power outlets and communication areas, open-air tunnels, or concrete structures such as underground foundation floors or basement walls of buildings, upper slabs of underground parking lots, rooftops of buildings, etc. It is waterproofed to prevent water leakage inside.
방수공사 시공후 방수층을 보호하기 위하여 종래에 사용되고 방수층 보호공 법으로는 바닥면의 경우 24∼30mm 두께의 방수층 보호몰탈 타설 또는 20∼50mm 두께의 발포 폴리에틸렌 폼보드(polyethylene foam board), 발포우레탄 폼보드(urethane foam board), 발포 폴리스틸렌 폼보드(polystyrene foam board)등을 방수층위에 깔아준 뒤, 후속공정으로 방수층 누름 콘크리트 타설이나 토사 되메우기 작업으로 마감하고 있다.It is conventionally used to protect the waterproofing layer after the waterproofing construction. The waterproofing layer protection method is based on the protection of mortar casting of waterproof layer of 24 to 30mm thickness or polyethylene foam board and foamed urethane foam of 20 to 50mm thickness. The board (urethane foam board) and foamed polystyrene foam board (polystyrene foam board) are laid on the waterproofing layer, and then the waterproofing process is finished by pressing the waterproofing layer or refilling the soil.
벽체면의 경우 0.5B 시멘트 벽돌쌓기 또는 20∼50mm 두께의 발포 폴리에틸렌 폼보드(polyethylene foam board), 발포우레탄 폼보드(urethane foam board), 발포 폴리스틸렌 폼보드(polystyrene foam board)등을 방수층에 부착시킨 후 후속공정으로 토사 되메우기 작업으로 마감하고 있다.In case of wall surface, 0.5B cement racking or 20 ~ 50mm thick polyethylene foam board, polyurethane foam board, foamed polystyrene foam board, etc. Afterwards, the process is completed by refilling the soil.
이러한 방수층 보호를 위한 종래의 시공방법의 일예를 도1a 및 도1b를 참조하여 설명한다.An example of a conventional construction method for protecting such a waterproof layer will be described with reference to FIGS. 1A and 1B.
도1a는 지하철 또는 지하차도등과 같이 지하콘크리트 구조물의 외벽 방수층을 보호하기 위하여 조적쌓기를 실시한 상태도이고, 도1b는 방수층 외면에 방수층 보호 발포폼보드를 설치한 상태도를 각각 나타낸다.1A is a state diagram in which masonry stacking is performed to protect an outer wall waterproof layer of an underground concrete structure such as a subway or an underground roadway, and FIG. 1B shows a state diagram in which a waterproof layer protective foam foam board is installed on an outer surface of the waterproof layer.
본 예시도에서는 지하 콘크리트 구조물의 외부 방수시공방법을 나타낸 것으로, 도면에 보인 바와 같이 지하 콘크리트 구조물(100)의 외벽면은, 고무화 아스팔트 또는 이와 유사한 방수자재(101)로 방수시공을 한 후, 방수층을 보호하기 위하여 0.5B의 시멘트 벽돌쌓기(110)(도1a에 도시), 20 ∼ 50mm 두께의 발포 폴리에틸렌 폼보드, 발포 우레탄 폼보드 또는 발포 폴리스틸렌 폼보드등의 방수층 보호재(130)(도1b에 도시)를 방수층위에 부착하고, 후속공정으로 모래 또는 흙과 돌멩 이 등의 잡석이 뒤섞인 토사 되메우기작업으로 마감공정을 수행한다.In this example, the external waterproof construction method of the underground concrete structure, and as shown in the drawing, the outer wall surface of the
또한, 지하 콘크리트 구조물의 바닥면에는 버림 콘크리트(150) 상면에 고무화 아스팔트 또는 이와 유사한 방수자재(101)로 방수시공을 한 후, 24 ∼ 30mm 두께의 보호몰탈을 타설(120)하고, 후속공정으로 누름 콘크리트(140)를 타설하여 마감한다. 상부 슬라브면의 경우에는 방수자재(101)로 방수시공을 한 후, 20 ∼ 50mm 두께의 발포 폴리에틸렌 폼보드, 발포 우레탄 폼보드 또는 발포 폴리스틸렌 폼보드등의 방수층 보호재(130)를 방수층(101)위에 부착하고, 후속공정으로 모래 또는 흙과 돌멩이 등의 잡석이 뒤섞인 토사 되메우기작업으로 마감을 하게 된다.In addition, after the waterproof construction of rubberized asphalt or similar
상기와 같이 지하 콘크리트 구조물(100)의 외벽 방수층을 보호하기 위한 방수층 보호재중 방수층 보호벽돌 쌓기 및 방수층 보호몰탈 타설방법은 오래전부터 사용하여 왔던 방수층 보호공법으로서, 전자의 보호벽돌 쌓기는 시멘트 벽돌의 견고성으로 토사 되메우기 작업시, 토압에 의한 방수층 파손 우려가 적어 방수층 보호역할은 우수한 반면에, 좁은 지하의 작업공간에서 벽돌쌓기 작업의 어려움과 시공 인건비의 과다소요 및 작업기간이 많이 소요되어 공사기간이 길다는 단점이 있다.As described above, the waterproofing layer protective brick stacking method and the waterproofing layer protective mortar casting method among the waterproofing layer protective materials for protecting the outer wall waterproofing layer of the
후자의 지하 콘크리트 구조물의 바닥면이나 상부 슬라브면의 방수층을 보호하기 위해 24 ∼ 30mm의 방수층 보호몰탈을 타설하는 작업방법은 방수층 보호역할은 우수하나 시공 인건비가 과다하게 소요되고 시멘트 몰탈의 양생기간동안 후속공정의 진행이 어려워 공사기간이 길어지는 문제점이 있다.In order to protect the waterproof layer on the bottom or upper slab surface of the latter underground concrete structure, the method of placing the waterproof layer protection mortar of 24 to 30mm is excellent in the waterproof layer protection role, but the labor cost of construction is excessive, and during the curing period of cement mortar There is a problem that the construction period is long because the subsequent process is difficult to proceed.
상기한 방수층 보호재로서 사용되는 방수층 보호 시멘트 벽돌쌓기나 방수층 보호몰탈 타설의 문제점에 대한 대체방안으로서 최근에는 발포 폴리에틸렌 폼보드, 발포 우레탄 폼보드, 다소 가격이 저렴한 발포 스틸렌 폼보드를 방수층에 부착시키되, 후속공정으로 바닥면의 경우에는 누름콘크리트 타설작업을 하고, 상부 슬라브면이나 벽체면의 경우에는 토사 되메우기 작업을 수행하는 방법이 사용되고 있다.As an alternative to the problems of the waterproofing layer protection cement racking or waterproofing layer protection mortar casting used as the waterproofing layer protection material, recently, foamed polyethylene foam boards, foamed urethane foam boards, and somewhat inexpensive foamed styrene foam boards are attached to the waterproofing layer. As a follow-up process, pressing concrete is poured in the case of the bottom surface, and soil refilling is used in the case of the upper slab or wall surface.
여기에서 제시한 각종 폼보드 방수층 보호재는 설치가 간편하며, 재질자체가 소정의 탄성을 가지고 있어 충격에 대한 저항성을 나타내고 있으나, 벽체면에 폼보드 설치후 토사 되메우기 작업과정에서 상기 토사의 압력에 의해 상기 폼보드가 방수층과 분리되어 파단되고, 이 결과 상기 방수층에 손상을 입히게 되는 문제점을 내포하고 있다.The various foam board waterproofing layer protection materials presented here are easy to install, and the material itself has a certain elasticity and thus shows resistance to impact. However, due to the pressure of the soil in the soil refilling process after the foam board is installed on the wall surface, The foam board breaks apart from the waterproof layer, which results in damage to the waterproof layer.
따라서, 본 고안은 상기와 같은 제반 문제점을 해결하기 위해 제안된 것으로서, 폴리에틸렌 직포에 폴리에틸렌 필름을 결합하여 인열 및 인장강도가 뛰어나도록 제작된 폴리에틸렌 시트를 노출면으로 하고, 방수 및 방습성이 우수한 탄성 및 공기층을 갖는 합성수지 매트를 방수층 접착면으로 구성한 방수층 보호재를 방수층위에 깔아 줌으로써 콘크리트 구조물의 외부방수시공 후 누름콘크리트 타설이나 토사 되메우기와 같은 후속 마감공정 수행시 발생할 수 있는 방수층의 파손을 신뢰적으로 방지할 수 있는 방수층 보호재를 제공함에 그 목적이 있다.Accordingly, the present invention has been proposed to solve the above problems, as a polyethylene sheet fabricated by bonding the polyethylene film to the polyethylene woven fabric excellent in tear and tensile strength as an exposed surface, excellent elasticity and waterproof and moistureproof A waterproof layer protective material consisting of a synthetic resin mat with an air layer on the waterproof layer is spread on the waterproof layer to reliably prevent damage to the waterproof layer that may occur during subsequent finishing processes such as pressed concrete pouring or soil refilling after external waterproofing of concrete structures. Its purpose is to provide a waterproof layer protective material that can be.
또한, 본 고안은 5mm ∼10mm 정도의 얇은 두께의 방수층 보호재로서 인장 및 인열강도와 미끄러짐 성능이 우수하여 토사의 되메우기시 발생되는 토압에 신뢰적으로 견딜 수 있을 뿐만 아니라 단열성도 우수하며, 롤 형태로 감겨져 있어 운반이 용이하고 시공이 간편한 방수층 보호재를 제공함에 다른 목적이 있다.In addition, the present invention is a waterproof protective layer protective material of 5mm ~ 10mm thickness, excellent in tensile and tear strength and slip performance, can not only reliably withstand the earth pressure generated during the backfilling of soil, but also excellent thermal insulation, roll-shaped Another purpose is to provide a waterproof layer protective material that is wound and is easy to carry and easy to install.
상기 목적을 달성하기 위하여 본 고안은, 콘크리트 구조물의 방수층을 보호하기 위한 방수층 보호재에 있어서, 폴리에틸렌 직포의 상면에 미끄러운 표면을 갖는 노출층으로서의 폴리에틸렌 필름층이 결합된 폴리에틸렌 시트; 및 상기 폴리에틸렌 시트의 일면에 적층되어 방수층과의 접착을 수행하며, 내부에 공기층을 갖는 합성수지매트를 포함하는 방수층 보호재를 제공한다.In order to achieve the above object, the present invention is a waterproof layer protective material for protecting a waterproof layer of a concrete structure, comprising: a polyethylene sheet combined with a polyethylene film layer as an exposed layer having a slippery surface on the upper surface of the polyethylene woven fabric; And laminated on one side of the polyethylene sheet to perform the adhesion with the waterproof layer, to provide a waterproof layer protective material comprising a synthetic resin mat having an air layer therein.
전술한 바와 같이 본 고안의 특징에 따르면, 다음과 같은 효과를 구현한다.As described above, according to the features of the present invention, the following effects are realized.
첫째, 폴리에틸렌 직포와 폴리에틸렌 필름을 일체화한 폴리에틸렌 시트를 노출면으로 하고, 상기 폴리에틸렌 시트의 하부에 발포 폴리에틸렌 폼을 결합한 방수층 보호재를 롤 형태로 제조함으로써 지하 콘크리트 구조물의 바닥면, 상부 슬라브면 및 벽체면 방수층위에 깔아주는 작업만으로 쉽게 시공을 완료할 수 있다.First, the polyethylene sheet fabric integrating the polyethylene woven fabric and polyethylene film as an exposed surface, and the waterproof layer protective material bonded to the foamed polyethylene foam to the lower portion of the polyethylene sheet in the form of a roll to form the bottom surface, upper slab surface and wall surface of the underground concrete structure The construction can be easily completed simply by laying on the waterproof layer.
둘째, 기존의 발포 폴리에틸렌 폼이나 발포우레탄 폼등의 방수층 보호재와 비교하여 가격이 저렴할 뿐만 아니라, 인장강도와 인열강도가 뛰어나며 신장율이 우수하여 방수층 보호재 설치후 와이어 메쉬 또는 철근 배근작업시에도 완전한 방수층 보호역할을 나타낸다.Second, it is not only cheaper than the waterproofing layer protective materials such as foamed polyethylene foam or foamed polyurethane foam, but also has excellent tensile strength and tearing strength and excellent elongation rate. Indicates role.
셋째, 벽체면 방수층위에 설치하였을 경우에는 방수층 보호재의 표면이 미끄럽게 형성되어 있기 때문에, 토사의 되메우기 작업과정에서 토사의 압력이 가해진다 하여도 토사의 슬라이딩 효과를 나타냄으로써 방수층 및 방수층 보호재의 파손을 방지할 수 있다.Third, when it is installed on the wall waterproof layer, the surface of the waterproofing layer protection material is slippery. Therefore, even if the soil pressure is applied in the process of refilling the soil, the sliding effect of the soil is shown, thus preventing the damage of the waterproofing layer and the waterproofing layer protection material. You can prevent it.
넷째, 합성섬유 매트 또는 발포 폴리에틸렌 폼 자체에 공기층을 가지고 있어 누름 콘크리트 타설이나, 토사 되메우기에 따른 충격완화를 도모할 수 있고, 콘크리트 구조물 내부의 결로현상을 방지하는 단열효과를 나타낸다.Fourth, the synthetic fiber mat or the foamed polyethylene foam itself has an air layer, which can reduce the impact caused by pressed concrete pouring or soil refilling, and exhibits an insulation effect to prevent condensation inside the concrete structure.
부가적으로, 방수층위에 별도의 접착제를 부분 부착하고 그 위에 상기 방수 층 보호재를 부분접착하여 방수층과 결합시킴으로써, 시공성이 양호하고 후속공정 작업이 매우 용이하며, 좁은 공간에서도 시공을 매우 간편히 할 수 있다.In addition, by attaching a separate adhesive part on the waterproofing layer and partially bonding the waterproofing layer protective material thereon to combine with the waterproofing layer, the workability is good, the subsequent process work is very easy, and the construction can be very simple even in a narrow space. .
이하, 첨부된 도2 내지 도8의 도면을 참조하여 본 고안의 실시예를 상세히 설명한다.Hereinafter, with reference to the accompanying drawings of Figures 2 to 8 will be described an embodiment of the present invention in detail.
본 고안에 의한 방수층 보호재는 인장 및 인열강도와 신장율이 우수하며 미끄러짐 성능을 가지도록 제조하여 방수층 시공후, 후속공정으로 수행되는 누름콘크리트 타설이나 토사 되메우기 작업시 신뢰적으로 방수층을 보호함과 동시에 충격에 대한 완충 및 단열성을 향상시킬 수 있도록 구현한 것이다.The waterproofing layer protection material according to the present invention is manufactured to have excellent tensile and tear strength and elongation rate and have a sliding performance. Implemented to improve the cushioning and thermal insulation.
본 고안의 실시예에서는 도2 및 도3에 도시된 바와 같이, 콘크리트 구조물의 방수층을 보호하기 위한 방수층 보호재에 있어서, 폴리에틸렌 직포의 상면에 미끄러운 표면을 갖는 노출층으로서의 폴리에틸렌 필름층을 결합한 폴리에틸렌 시트와; 상기 폴리에틸렌 시트의 일면에 적층되어 방수층과의 접착을 수행하며, 내부의 공기층에 의한 충격흡수성을 갖는 합성수지매트; 및 상기 폴리에틸렌 시트의 일면으로부터 합성수지매트의 단부보다 소정 폭만큼 연장되어 방수층 보호재의 맞대기 이음을 위한 겹침이음부를 포함한다.In the embodiment of the present invention, as shown in Figures 2 and 3, in the waterproof layer protective material for protecting the waterproof layer of the concrete structure, the polyethylene sheet combined with the polyethylene film layer as an exposed layer having a slippery surface on the upper surface of the polyethylene woven fabric and ; A synthetic resin mat laminated on one surface of the polyethylene sheet to perform adhesion to the waterproof layer, and having a shock absorbing property by an internal air layer; And an overlapping joint for butt joints of the waterproofing layer protective material extending from the one surface of the polyethylene sheet by a predetermined width than the end of the synthetic resin mat.
본 고안에서 상기 폴리에틸렌 시트의 폴리에틸렌 직포와 폴리에틸렌 필름층은 열융착방식 또는 라미네이팅 방식에 의해 결합될 수 있다. 이와 같이 폴리에틸렌 직포와 폴리에틸렌 필름층이 결합된 폴리에틸렌 시트는 인장 및 인열강도가 매 우 뛰어나게 된다. In the present invention, the polyethylene woven fabric and the polyethylene film layer of the polyethylene sheet may be bonded by heat fusion or laminating. As such, the polyethylene sheet with the polyethylene woven fabric and the polyethylene film layer has excellent tensile and tear strength.
상기 폴리에틸렌 시트의 다른 실시예로서, 폴리에틸렌 직포의 상면에 폴리에틸렌 필름층을 증착하는 형태로 할 수도 있다.As another embodiment of the polyethylene sheet, the polyethylene film layer may be deposited on the upper surface of the polyethylene woven fabric.
본 고안의 실시예에서는 상기 합성수지매트로서 발포 폴리에틸렌 폼을 채용한 예를 제시하고 있다. 상기 발포 폴리에틸렌 폼은 제조과정에서 자체 내부에 공기층을 가지게 되어 콘크리트 구조물 내부면에 발생되는 결로현상의 발생을 방지하는 단열효과외에도 되메우기 토사의 압력에 대한 충격흡수성이 우수한 효과를 나타낸다.In the embodiment of the present invention has been shown an example employing a foamed polyethylene foam as the synthetic resin mat. The foamed polyethylene foam has an air layer in itself during the manufacturing process, and exhibits an excellent effect of absorbing shock against the pressure of the backfill soil in addition to the insulation effect that prevents the occurrence of condensation on the inner surface of the concrete structure.
이 밖에 상기 합성수지 매트로는 니들펀칭으로 성형시켜 탄성을 부여한 재활용 폴리에스터 섬유 부직포나, 의류제조과정에서 폐기되는 합성섬유 스크랩을 타면시킨 솜을 얇게 수차례 깔아주어 일정두께로 성형하고 니들 펀칭(Needle Punching)으로 매트화한 합성섬유 매트등으로 제조될 수 있으며, 이 경우 자원절약과 환경개선효과를 얻을 수 있게 된다.In addition, the synthetic mat is formed by needle punching and recycled polyester fiber nonwoven fabric that has been given elasticity, or a cotton cloth coated with synthetic fiber scraps discarded in the process of making a garment is thinly rolled several times to form a certain thickness and needle punching (Needle Punching) ) Can be manufactured into a mat, synthetic fiber mat, etc. In this case, resource saving and environmental improvement effect can be obtained.
본 고안의 실시예에서는 상기 발포 폴리우레탄 폼에 자착식 이형필름을 구비할 수도 있으며, 이 경우에 제조비용이 다소 상승되지만, 시공성 및 방수층 보호재가 바람에 날리는 것을 방지할 수 있는 잇점이 있다.In the embodiment of the present invention may be provided with a self-supporting release film on the foamed polyurethane foam, in this case, although the manufacturing cost is slightly increased, there is an advantage that can prevent the blowability of the workability and waterproof layer protective material in the wind.
상기한 폴리에틸렌 시트와 합성수지매트의 결합으로 이루어진 방수층 보호재는 도4에 도시한 바와 같이 맞대기 이음을 통하여 연속적으로 연결하게 되며, 이때 폴리에틸렌 시트의 일면에서 연장하는 겹침이음부가 타측 방수층 보호재 위에 겹쳐지게 된다. 상기 겹침이음부위는 단면테이프를 사용하여 연결한다.The waterproof layer protective material made of a combination of the polyethylene sheet and the synthetic resin mat is continuously connected to the butt joint, as shown in Figure 4, wherein the overlapping joint extending from one side of the polyethylene sheet is superimposed on the other waterproof layer protective material . The overlapping joint is connected using a single-sided tape.
상기 폴리에틸렌 시트와 합성수지매트의 결합은, 먼저 합성수지매트가 발포 폴리에틸렌 폼으로 이루어진 경우 적층부위를 열융착방식에 의해 일체화되며, 상기 합성수지매트가 재활용 폴리에스터 섬유 부직포나 합성섬유 스크랩을 타면(打綿: 솜을 타는 일)시켜 형성한 합성섬유매트로 이루어진 경우에는 접착제를 매개로 폴리에틸렌 시트와의 적층부위를 결합하게 된다.Bonding of the polyethylene sheet and the synthetic resin mat, first, when the synthetic resin mat is made of foamed polyethylene foam, the laminated portion is integrated by heat fusion method, and when the synthetic mat is a recycled polyester fiber nonwoven fabric or synthetic fiber scrap (打 綿: When the cotton is made of a synthetic fiber mat formed by burning cotton, the laminated portion with the polyethylene sheet is bonded through an adhesive.
상기 폴리에틸렌 시트와 합성섬유매트는 상기와 같은 결합방식으로 일체화되며, 롤 형태로 감겨진 형태를 취하게 된다. 콘크리트 건축물에서, 유기질 재료의 방수층과 무기질 재료의 누름 콘크리트층이 이질재료로서 온도 변화에 따른 수축, 팽창계수가 달라 방수층과 누름콘크리트층 사이의 절연층이 필요하게 되는데, 상기한 폴리에틸렌 재질의 방수층 보호재를 통해 방수층과 누름콘크리트층간의 완전한 절연효과를 나타낸다.The polyethylene sheet and the synthetic fiber mat are integrated in the bonding method as described above, and take a rolled form. In a concrete building, the waterproof layer of organic material and the pressed material of inorganic material are different materials, so that the insulation layer between the waterproof layer and the pressed concrete layer is required due to different shrinkage and expansion coefficient according to temperature change. It shows the complete insulation effect between the waterproof layer and the pressed concrete layer.
상기 폴리에틸렌 시트에서 폴리에틸렌 필름층은 포장지 또는 농업용으로 사용되고 난 후 폐기되는 폐폴리에틸렌 필름을 재활용한 것으로, 폴리에틸렌 재생원료를 가열 용융 후 압출성형한 것을 사용한다.In the polyethylene sheet, the polyethylene film layer is a recycled waste polyethylene film that is discarded after being used for wrapping paper or agriculture, and is used for extrusion molding after heat melting of polyethylene recycled material.
하기의 [표1]은 KS M ISO 7214: 2006 시험기준과 본 고안 및 기존의 발포 폴리에틸렌 폼 방수층 보호재의 시험 비교결과를 나타낸 것이며, 도7 및 도8은 본 고안과 기존의 발포 폴리에틸렌 폼 방수층 보호재의 비교표이다.Table 1 below shows the results of KS M ISO 7214: 2006 test standards and the results of the present invention and the test of the existing foam polyethylene foam waterproof layer protective material, Figures 7 and 8 are the present invention and the conventional foam polyethylene foam waterproof layer protective material This is a comparison table.
[표1]Table 1
하기의 표2는 본 고안에 따른 방수층 보호재의 시험성적서이며 표3은 종래기술에 따른 PE 발포폼 방수층 보호재의 시험성적서이다.
 [표2]
[표3]
상기 [표1]의 대비란에서 보인 바와 같이 본 고안의 방수층 보호재는 기존의 발포 폴리에틸렌 폼, 우레탄 폼, 폴리스틸렌 폼등의 방수층 보호재와 비교하여 인장강도, 인열강도 성능이 뛰어나며, 신장율이 우수하여 쉽게 찢어지거나 충격에 의해 파손되지 않는 물성을 가진다.Table 2 below is a test report of the waterproof layer protective material according to the present invention and Table 3 is a test report of the PE foam waterproof layer protective material according to the prior art.
 [Table 2]
 Table 3
 As shown in the contrast column of [Table 1], the waterproofing layer protection material of the present invention has excellent tensile strength and tear strength performance compared to the existing waterproofing layer protection materials such as foamed polyethylene foam, urethane foam, and polystyrene foam, and has excellent elongation rate. It has a property of not being torn or damaged by an impact.
특히, 두께가 5mm인 본 고안의 방수층 보호재는 두께가 10mm인 기존의 발포 폴리에틸렌 폼 방수층 보호재와 비교하여 인장강도, 인열강도 및 압축강도면에서 월등히 우수함을 알 수 있다. 따라서, 본 고안이 바닥면의 방수층 보호재로 설치된 후 와이어 메쉬(wire mesh) 깔기 또는 철근 배근 후 콘크리트 타설작업에서 방수층의 파손없이 완전한 방수층 보호역할을 수행한다. 또한, 본 고안은 어느 정도 자중이 있기 때문에 바람등에 의해 날라가지 않으므로, 방수층위에 설치한 후에 별도의 누름철물등을 설치하거나, 방수층 보호재의 하단에 별도의 자착식 이형필름을 설치할 필요가 없다.In particular, it can be seen that the waterproof layer protective material of the present invention having a thickness of 5mm is excellent in tensile strength, tear strength and compressive strength compared to the conventional foamed polyethylene foam waterproof layer protective material having a thickness of 10mm. Therefore, the present invention performs a complete waterproof layer protection role without damaging the waterproof layer in concrete pouring after wire mesh laying or reinforcement after installed as a waterproof layer protective material of the bottom surface. In addition, since the present invention does not fly by wind due to the self-weight to some extent, it is not necessary to install a separate push iron or the like after installing on the waterproof layer, or to install a separate self-supporting release film on the bottom of the waterproof layer protective material.
노출면인 상기 폴리에틸렌 필름층이 미끄럽기 때문에 지하 콘크리트 구조물 벽체면의 방수층 보호재로 사용될 경우에 토사 되메우기 작업과정에서 되메우기 토 사의 슬라이딩 효과를 나타내어 방수층 보호재가 파손될 우려를 배제할 수 있고, 이에 따라 방수층을 신뢰적으로 보호할 수 있다. 즉, 상기 폴리에틸렌 시트의 슬라이딩 성능은 토사의 되메우기 작업시, 토사가 폴리에틸렌 시트에 접촉하여도 바로 바닥으로 미끄러져 내려가기 때문에 토압이 적게 걸리게 되므로 방수층보호재가 파손되지 않는 것이다.Since the polyethylene film layer, which is the exposed surface, is slippery, when used as a waterproofing layer protective material for the wall surface of an underground concrete structure, it exhibits a sliding effect of backfilling soil in the soil refilling process, thereby excluding the risk of breaking the waterproofing layer protective material. You can reliably protect it. In other words, the sliding performance of the polyethylene sheet is a soil layer is less damaged because the earth pressure is reduced when the soil is refilled, even when the soil is in contact with the polyethylene sheet to slide down to the floor immediately.
본 고안의 실시예에서는 방수층에 부착되는 합성수지 매트와 방수층면과의 접착을 수행하기 위한 접착제를 더 구비할 수 있다. 상기 접착제로는 양면테이프나, 역청질계 고무 아스팔트 접착제를 용도에 따라 적합하게 사용할 수 있는데, 이때, 상기 접착제가 양면테이프로 이루어진 경우에는 방수층위에 소정간격마다 부분적으로 깔아주고, 상기 접착제가 고무아스팔트 접착제로 이루어진 경우에는 방수층위에 부분적으로 도포한 후 방수층 보호재를 부착한다.In an embodiment of the present invention may be further provided with an adhesive for performing the adhesion of the synthetic resin mat and the waterproof layer surface attached to the waterproof layer. As the adhesive, a double-sided tape or a bituminous rubber asphalt adhesive may be suitably used according to the purpose. In this case, when the adhesive is formed of a double-sided tape, the adhesive is partially spread on the waterproof layer at predetermined intervals, and the adhesive is a rubber asphalt adhesive. If it consists of part on the waterproof layer and then attach the waterproof layer protective material.
상기 접착제로서, 역청질계 고무 아스팔트 접착제는 아스팔트 화합물을 주원료로 하되, 합성 고분자수지 접착제·고탄력 고무 및 내구성이 뛰어난 무기질 필러류를 첨가 혼합하여 겔(gel)상태화 한 것이다. 상기의 고무 아스팔트 접착제는 국내 등록 특허 제0278173호에 기재된 공지의 도막방수재로서, 더 이상의 상세한 설명은 생략한다.As the adhesive, a bituminous rubber asphalt adhesive is a gel material obtained by adding an asphalt compound as a main raw material, adding and mixing a synthetic polymer resin adhesive, a high elastic rubber, and an excellent inorganic filler. The rubber asphalt adhesive is known coating waterproofing material described in Korean Patent No. 0278173, and further detailed description thereof will be omitted.
상기와 같이 구성된 본 고안의 방수층 보호재에 대한 시공상태를 설명하면 다음과 같다.Referring to the construction state of the waterproof layer protective material of the present invention configured as described above are as follows.
종래에 방수층 보호재로서 보편적으로 사용되는 발포 폴리우레탄 폼보드, 폴리스틸렌 폼보드의 경우 20mm ∼ 50mm 정도 두께의 판자로 되어 있어 보드 낱장을 방수층위에 설치하였으나, 본 고안을 바닥면 방수층의 보호재로 사용할 경우, 롤 형태의 방수층 보호재를 펼치는 작업으로 바닥면에 쉽게 깔 수 있다. 이때, 상기 방수층 보호재들은 맞대기 이음으로 연결되며, 이음부위는 도4에 도시한 바와 같이 폴리에틸렌 시트의 일면에서 연장되는 겹침이음부를 타측 방수층 보호재 위에 중첩시키고, 이 중첩부위를 단면 접착테이프로 부착하여 고정한다.In the case of foamed polyurethane foam board and polystyrene foam board, which are conventionally used as a waterproofing layer protection material, a board having a thickness of about 20 mm to 50 mm is installed, but a board sheet is installed on the waterproofing layer. It is easy to spread on the floor by spreading the roll-type waterproofing protective material. At this time, the waterproofing layer protective materials are connected to the butt joint, and the joint portion overlaps the overlapping joint extending from one surface of the polyethylene sheet on the other waterproofing layer protective material, as shown in FIG. Fix it.
또한, 지하 콘크리트 구조물 벽체면의 방수층 보호재로 사용될 경우에는 늘어뜨리는 방법으로 벽체면에 부착한다.In addition, when used as a waterproof layer protection material of the wall surface of the underground concrete structure, it is attached to the wall surface by hanging.
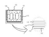
도5는 바닥면이나 슬라브면과 같은 수평부위에 방수층 보호재가 설치된 상태를 나타낸 단면도이고, 도6은 수직부위(벽체면)에 방수층보호재가 시공된 상태를 나타낸 단면도이다.5 is a cross-sectional view showing a state in which a waterproof layer protective material is installed on a horizontal portion such as a floor surface or a slab surface, and FIG. 6 is a cross-sectional view showing a state in which a waterproof layer protective material is constructed on a vertical portion (wall surface).
도5에 도시된 바와 같이, 상기 지하 콘크리트 구조물의 상면과 측면에 소정 두께의 방수층이 형성된 상태에서, 상부 슬라브면 또는 바닥면의 경우에는 별도의 접착제를 사용하지 않고 상기 슬라브 상면의 방수층위에 방수층 보호재의 발포 폴리에틸렌 폼이 접하도록 하면서 깔아준다. 그리고, 후속공정으로서 바닥면의 경우에는 방수층 보호재 위에 누름 콘크리트를 타설하여 마감한다.As shown in FIG. 5, in a state where a waterproof layer having a predetermined thickness is formed on the upper and side surfaces of the underground concrete structure, the upper slab surface or the bottom surface does not use a separate adhesive and the waterproof layer protective material on the waterproof layer on the upper surface of the slab. Apply the foamed polyethylene foam while touching it. Then, as a subsequent process, in the case of the bottom surface is finished by pouring the pressed concrete on the waterproof layer protective material.
다음, 도6에 도시한 바와 같이 지하 콘크리트 구조물 벽체면의 경우, 상부 슬라브에서 롤 형태의 방수층 보호재를 하측으로 늘어뜨려 벽체면 방수층위에 설치한다. 상기 벽체면 방수층과 방수층 보호재 사이에는 소정 간격만큼 떨어져 있지만, 토사 되메우기에 의해 벽체면 방수층과 방수층 보호재가 자연적으로 접촉하게 된다.Next, as shown in Fig. 6, in the case of the wall surface of the underground concrete structure, the waterproof layer protective material in the form of a roll hangs downward from the upper slab and is installed on the wall surface waterproofing layer. Although the wall surface waterproofing layer and the waterproofing layer protective material are separated by a predetermined distance, the surface waterproofing layer and the waterproofing layer protective material come into natural contact by the soil refilling.
상기 벽체면 방수층 상부면에는 별도의 접착제(양면테이프 또는 고무 아스팔트 접착제)를 부분 부착함으로써 방수층 보호재와 방수층을 부분 접착할 수 있다.By attaching a separate adhesive (double-sided tape or rubber asphalt adhesive) to the upper surface of the wall surface waterproof layer, the waterproof layer protective material and the waterproof layer may be partially bonded.
상기와 같은 일련의 과정을 통해 방수층위에 보호재를 깔아준 후, 후속공정으로 바닥면의 경우에는 누름 콘크리트를 타설하고, 벽체면에는 토사 되메우기를 실시하여 마감한다.After spreading the protective material on the waterproof layer through a series of steps as described above, in the case of the bottom surface, the pressed concrete is poured, and the soil surface is backfilled to finish.
이때, 상기 토사가 폴리에틸렌 시트와 접촉할 때, 상기 폴리에틸렌 시트의 미끄러짐 성능에 의해 토사가 시트면에 부착되지 않고 바로 바닥으로 미끄러지므로 상기 시트에 가해지는 토압이 최소화되어 방수층 보호재의 파손을 방지할 수 있게 되고, 토사 되메우기 과정에서 상기 발포 폴리에틸렌 폼은 자체 내부에 형성된 공기층에 의해 단열성능과 충격흡수성을 나타낸다.At this time, when the soil is in contact with the polyethylene sheet, the soil is not adhered to the seat surface due to the sliding performance of the polyethylene sheet, so that the soil is slipped directly to the floor, so that the earth pressure applied to the sheet is minimized to prevent breakage of the waterproof layer protective material. In the soil refilling process, the foamed polyethylene foam exhibits thermal insulation performance and shock absorption by the air layer formed therein.
상기한 본 고안은 비록 방수층 보호재로서 제안된 것이지만, 일반 주거용 건축물의 바닥재의 방수에 사용될 수 있다.Although the above invention is proposed as a waterproofing layer protection material, it can be used for waterproofing flooring of general residential buildings.
즉, 최근에 각광받고 있는 강화마루를 이용한 현가식 바닥 시공공법에서는 방수, 단열, 차음, 흡음, 충격흡수등을 위해 필요한 비닐과 폴리에틸렌 폼을 시공전에 깔아주고 있다. 그러나, 상기의 구조는 패널형태로 되어 있어 시공작업이 번거롭고 또 오래 걸리는 문제점이 있다. 본 고안의 방수층 보호재를 바닥재의 방수에 적용할 경우 신뢰성있게 방수 및 단열, 방음을 행할 수 있을 뿐만 아니라, 시공이 매우 간편한 잇점이 있다.In other words, in the suspended floor construction method using the reinforced floor recently gained the spotlight, vinyl and polyethylene foams required for waterproofing, insulation, sound insulation, sound absorption, and shock absorption are laid before construction. However, there is a problem that the above structure is in the form of a panel, which makes the construction work cumbersome and takes a long time. When the waterproofing layer protection material of the present invention is applied to the waterproofing of the flooring can not only reliably waterproof, heat insulation, soundproofing, but also has the advantage of very easy construction.
이상에서 설명한 본 고안은 전술한 실시예 및 첨부된 도면에 의해 한정되는 것이 아니고, 본 고안의 기술적 사상을 벗어나지 않는 범위 내에서 여러 가지 치 환, 변형 및 변경이 가능함은 본 고안이 속하는 기술분야에서 통상의 지식을 가진 자에게 있어 명백할 것이다.The present invention described above is not limited to the above-described embodiments and the accompanying drawings, and various substitutions, modifications, and changes are possible in the technical field of the present invention without departing from the technical spirit of the present invention. It will be clear to those of ordinary knowledge.
도1a 및 도1b는 종래 기술에 따른 방수시공방법의 일예로서 지하 공동구에 시공한 상태를 나타낸 단면도.Figure 1a and Figure 1b is a cross-sectional view showing a state of construction in the underground cavity as an example of the waterproof construction method according to the prior art.
도2는 본 고안에 의한 방수층 보호재의 일실시예 구성을 나타낸 사시도.Figure 2 is a perspective view showing an embodiment of the waterproof layer protective material according to the present invention.
도3은 도2의 단면 구성도.3 is a cross-sectional configuration of FIG.
도4는 본 고안에 의한 방수층 보호재의 맞대음 연결상태를 나타낸 단면도.Figure 4 is a cross-sectional view showing a butt connection state of the waterproof layer protective material according to the present invention.
도5는 본 고안에 의한 방수층 보호재가 수평부위에 시공된 상태를 나타낸 단면도.Figure 5 is a cross-sectional view showing a state in which the waterproof layer protective material according to the present invention constructed on a horizontal portion.
도6은 본 고안에 의한 방수층 보호재가 수직부위에 시공된 상태를 나타낸 단면도.Figure 6 is a cross-sectional view showing a state in which the waterproofing layer protective material according to the present invention constructed on a vertical portion.
도7은 본 고안에 의한 방수층 보호재의 물성 시험 성적서.7 is a physical property test report of the waterproofing layer protective material according to the present invention.
도8은 종래의 방수층보호재로 사용되는 발포 폴리에틸렌 폼의 물성 시험 성적서.8 is a property test report of the foamed polyethylene foam used as a conventional waterproof layer protective material.
| Application Number | Priority Date | Filing Date | Title | 
|---|---|---|---|
| KR2020070011565UKR200441911Y1 (en) | 2007-07-13 | 2007-07-13 | Waterproof layer protective material | 
| Application Number | Priority Date | Filing Date | Title | 
|---|---|---|---|
| KR2020070011565UKR200441911Y1 (en) | 2007-07-13 | 2007-07-13 | Waterproof layer protective material | 
| Publication Number | Publication Date | 
|---|---|
| KR200441911Y1true KR200441911Y1 (en) | 2008-09-18 | 
| Application Number | Title | Priority Date | Filing Date | 
|---|---|---|---|
| KR2020070011565UExpired - Fee RelatedKR200441911Y1 (en) | 2007-07-13 | 2007-07-13 | Waterproof layer protective material | 
| Country | Link | 
|---|---|
| KR (1) | KR200441911Y1 (en) | 
| Publication number | Priority date | Publication date | Assignee | Title | 
|---|---|---|---|---|
| KR100916845B1 (en) | 2009-02-10 | 2009-09-14 | (주)현대케미칼 | Waterproof layer protective sheet manufacturing device and waterproof layer protective material using the same | 
| KR200450581Y1 (en)* | 2009-03-20 | 2010-10-13 | 박준기 | A waterproofing layer protect material | 
| CN103831973A (en)* | 2011-12-27 | 2014-06-04 | 杭州千禧环保科技有限公司 | Garbage landfill site HDPE geomembrane welding method | 
| KR101684629B1 (en)* | 2016-02-23 | 2016-12-07 | 주식회사페트로산업 | Sheet of double protective coating waterproof layer and waterproof construction meohod using the same | 
| KR102342917B1 (en)* | 2021-06-03 | 2021-12-24 | 오웬스 코닝 인텔렉츄얼 캐피탈 엘엘씨 | Asphalt waterproofing sheet having strong bonding between the upper and lower layer sheets, improved response to the movement performance of the lower layer sheet and triple layer waterproofing method using the same sheet | 
| KR20250031553A (en)* | 2023-08-28 | 2025-03-07 | 김현태 | Embedding method of perforated drainpipe for both irrigation and drainge | 
| Publication number | Priority date | Publication date | Assignee | Title | 
|---|---|---|---|---|
| KR100916845B1 (en) | 2009-02-10 | 2009-09-14 | (주)현대케미칼 | Waterproof layer protective sheet manufacturing device and waterproof layer protective material using the same | 
| KR200450581Y1 (en)* | 2009-03-20 | 2010-10-13 | 박준기 | A waterproofing layer protect material | 
| CN103831973A (en)* | 2011-12-27 | 2014-06-04 | 杭州千禧环保科技有限公司 | Garbage landfill site HDPE geomembrane welding method | 
| KR101684629B1 (en)* | 2016-02-23 | 2016-12-07 | 주식회사페트로산업 | Sheet of double protective coating waterproof layer and waterproof construction meohod using the same | 
| KR102342917B1 (en)* | 2021-06-03 | 2021-12-24 | 오웬스 코닝 인텔렉츄얼 캐피탈 엘엘씨 | Asphalt waterproofing sheet having strong bonding between the upper and lower layer sheets, improved response to the movement performance of the lower layer sheet and triple layer waterproofing method using the same sheet | 
| KR20250031553A (en)* | 2023-08-28 | 2025-03-07 | 김현태 | Embedding method of perforated drainpipe for both irrigation and drainge | 
| KR102852115B1 (en)* | 2023-08-28 | 2025-08-27 | 김현태 | Embedding method of perforated drainpipe for both irrigation and drainge | 
| Publication | Publication Date | Title | 
|---|---|---|
| US9879400B1 (en) | Device and method for foundation drainage | |
| CN107326940B (en) | A kind of basement structure and construction method | |
| KR100804677B1 (en) | Roof waterproof layer and waterproof method using self-adhesive composite waterproof sheet | |
| CN207775945U (en) | A kind of bridging arrangement of Novel underground room bottom plate and side wall difference waterproof material | |
| KR200441911Y1 (en) | Waterproof layer protective material | |
| KR100278173B1 (en) | Double waterproof sheet for concrete structure | |
| CN102535520B (en) | Waterproof construction method of large-area civil air defense basement | |
| CN103452197A (en) | Sound-insulating floating floor surface structure and construction method thereof | |
| KR100950086B1 (en) | Heat insulating and waterproofing method of rooftop area and complex panel for heat insulatiing and waterproofing works | |
| KR101061241B1 (en) | Complex functional board and rooftop waterproofing and greening structure | |
| KR20200007337A (en) | manufacturing method of Complex waterproofing layer | |
| KR20200000973A (en) | Complex waterproofing layer | |
| KR20080005337U (en) | Waterproof layer protective material | |
| KR20070103813A (en) | Waterproof layer protective sheet and its manufacturing method | |
| KR101966832B1 (en) | Recyclable waterproof sheet and waterproof method using the same | |
| KR100875897B1 (en) | Waterproof method using waterproof sheet with LFC nonwoven fabric on both sides of synthetic resin sheet | |
| KR100949570B1 (en) | Waterproof sheet and the construction method thereby | |
| CN204531198U (en) | A kind of compound water-proof thermal-insulation integral system | |
| KR100624354B1 (en) | Waterproof layer protective material | |
| KR200458991Y1 (en) | A protection board for waterproofing layer having anti-plant rooting performance | |
| KR200195343Y1 (en) | Waterproof sheet for concrete structure | |
| KR100938869B1 (en) | Hdpe sheet using waterproof protection member and manufacturing method of that | |
| KR200420567Y1 (en) | Waterproof layer protective sheet | |
| CN204023855U (en) | Moisture-proof heat-insulation ground system | |
| JP2019214882A (en) | Entrance structure of building | 
| Date | Code | Title | Description | 
|---|---|---|---|
| A201 | Request for examination | ||
| UA0108 | Application for utility model registration | St.27 status event code:A-0-1-A10-A12-nap-UA0108 | |
| UA0201 | Request for examination | St.27 status event code:A-1-2-D10-D11-exm-UA0201 | |
| A302 | Request for accelerated examination | ||
| UA0301 | Request for accelerated examination | St.27 status event code:A-1-2-D10-D17-exm-UA0301 St.27 status event code:A-1-2-D10-D16-exm-UA0301 | |
| D13-X000 | Search requested | St.27 status event code:A-1-2-D10-D13-srh-X000 | |
| D14-X000 | Search report completed | St.27 status event code:A-1-2-D10-D14-srh-X000 | |
| E902 | Notification of reason for refusal | ||
| UE0902 | Notice of grounds for rejection | St.27 status event code:A-1-2-D10-D21-exm-UE0902 | |
| T11-X000 | Administrative time limit extension requested | St.27 status event code:U-3-3-T10-T11-oth-X000 | |
| P11-X000 | Amendment of application requested | St.27 status event code:A-2-2-P10-P11-nap-X000 | |
| P13-X000 | Application amended | St.27 status event code:A-2-2-P10-P13-nap-X000 | |
| E902 | Notification of reason for refusal | ||
| UE0902 | Notice of grounds for rejection | St.27 status event code:A-1-2-D10-D21-exm-UE0902 | |
| E13-X000 | Pre-grant limitation requested | St.27 status event code:A-2-3-E10-E13-lim-X000 | |
| P11-X000 | Amendment of application requested | St.27 status event code:A-2-2-P10-P11-nap-X000 | |
| P13-X000 | Application amended | St.27 status event code:A-2-2-P10-P13-nap-X000 | |
| E701 | Decision to grant or registration of patent right | ||
| UE0701 | Decision of registration | St.27 status event code:A-1-2-D10-D22-exm-UE0701 | |
| REGI | Registration of establishment | ||
| UR0701 | Registration of establishment | St.27 status event code:A-2-4-F10-F11-exm-UR0701 | |
| UR1002 | Payment of registration fee | St.27 status event code:A-2-2-U10-U11-oth-UR1002 Fee payment year number:1 | |
| UG1601 | Publication of registration | St.27 status event code:A-4-4-Q10-Q13-nap-UG1601 | |
| FPAY | Annual fee payment | Payment date:20110914 Year of fee payment:4 | |
| UR1001 | Payment of annual fee | St.27 status event code:A-4-4-U10-U11-oth-UR1001 Fee payment year number:4 | |
| FPAY | Annual fee payment | Payment date:20120911 Year of fee payment:5 | |
| UR1001 | Payment of annual fee | St.27 status event code:A-4-4-U10-U11-oth-UR1001 Fee payment year number:5 | |
| LAPS | Lapse due to unpaid annual fee | ||
| UC1903 | Unpaid annual fee | St.27 status event code:A-4-4-U10-U13-oth-UC1903 Not in force date:20130912 Payment event data comment text:Termination Category : DEFAULT_OF_REGISTRATION_FEE | |
| UN2301 | Change of applicant | St.27 status event code:A-5-5-R10-R13-asn-UN2301 St.27 status event code:A-5-5-R10-R11-asn-UN2301 | |
| UC1903 | Unpaid annual fee | St.27 status event code:N-4-6-H10-H13-oth-UC1903 Ip right cessation event data comment text:Termination Category : DEFAULT_OF_REGISTRATION_FEE Not in force date:20130912 | |
| P22-X000 | Classification modified | St.27 status event code:A-4-4-P10-P22-nap-X000 | |
| R18-X000 | Changes to party contact information recorded | St.27 status event code:A-5-5-R10-R18-oth-X000 | |
| P22-X000 | Classification modified | St.27 status event code:A-4-4-P10-P22-nap-X000 | |
| R18-X000 | Changes to party contact information recorded | St.27 status event code:A-5-5-R10-R18-oth-X000 | |
| R18-X000 | Changes to party contact information recorded | St.27 status event code:A-5-5-R10-R18-oth-X000 |