













도 1은 종래 개인휴대단말기의 구조를 도시한 사시도이다.1 is a perspective view showing the structure of a conventional personal portable terminal.
도 2는 도 1의 I-I선 단면도이다.FIG. 2 is a cross-sectional view taken along line II of FIG. 1.
도 3은 본 고안에 따른 키패드 어셈블리를 구비한 개인휴대단말기의 구조를 도시한 사시도이다.3 is a perspective view showing the structure of a personal portable terminal having a keypad assembly according to the present invention.
도 4는 본 고안에 따른 키패드 어셈블리를 구비한 개인휴대단말기의 구조를 도시한 단면도이다.Figure 4 is a cross-sectional view showing the structure of a personal portable terminal having a keypad assembly according to the present invention.
도 5 내지 도 10은 본 고안에 따른 키패드 어셈블리를 구비한 개인휴대단말기로서, 슬릿의 변형예를 도시한 평면도이다.5 to 10 is a personal terminal having a keypad assembly according to the present invention, a plan view showing a modification of the slit.
도 11은 본 고안에 따른 키패드 어셈블리를 구비한 개인휴대단말기로서, 관통홀의 변형예를 도시한 단면도이다.11 is a cross-sectional view showing a modification of the through-hole as a personal portable terminal having a keypad assembly according to the present invention.
도 12는 본 고안의 다른 실시예에 따른 키패드 어셈블리를 구비한 개인휴대단말기의 구조를 도시한 단면도이다.12 is a cross-sectional view showing the structure of a personal terminal having a keypad assembly according to another embodiment of the present invention.
도 13은 본 고안의 또 다른 실시예에 따른 키패드 어셈블리를 구비한 개인휴대단말기의 구조를 도시한 사시도이다.Figure 13 is a perspective view showing the structure of a personal portable terminal having a keypad assembly according to another embodiment of the present invention.
도 14는 본 고안의 또 다른 실시예에 따른 키패드 어셈블리를 구비한 개인휴 대단말기의 구조를 도시한 단면도이다.14 is a cross-sectional view showing the structure of a personal portable terminal having a keypad assembly according to another embodiment of the present invention.
<도면의 주요부분에 대한 부호의 설명><Description of the symbols for the main parts of the drawings>
100 : 단말기 본체 110 : 본체부100: terminal body 110: main body
111 : 프론트케이스 111a : 키패드 홀111:
111b : 데코레이션 커버 112 : 리어케이스111b: decoration cover 112: rear case
113 : 인쇄회로기판 117 : 누름조작스위치113: printed circuit board 117: push operation switch
118 : 발광소자 120 : 폴더부118: light emitting element 120: folder
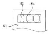
130 : 키패드 어셈블리 131 : 버튼시트130: keypad assembly 131: button sheet
131a : 슬릿 132 : 버튼부131a: slit 132: button portion
135 : 플라스틱시트 135a : 관통홀135:
135b : 커버수용홈 137 : 러버시트135b: Cover accommodation groove 137: Rubber seat
137a : 누름돌기 137b : 연통공137a:
139 : 발광시트139: light emitting sheet
본 고안은 키패드에 관한 것으로서, 보다 자세하게는 키패드 어셈블리 및 개인휴단말기의 소형화 및 박형화에 기여할 수 있으며 작업성 및 생산성을 향상 시킬 수 있는 키패드 어셈블리 및 이를 구비한 개인휴대단말기에 관한 것이다.The present invention relates to a keypad, and more particularly, to a keypad assembly and a personal handheld terminal having the same, which can contribute to the miniaturization and thinning of the keypad assembly and the personal handset and improve workability and productivity.
도 1은 종래 개인휴대단말기의 구조를 도시한 사시도이고, 도 2는 도 1의 I- I선 단면도이다.1 is a perspective view showing the structure of a conventional personal portable terminal, Figure 2 is a cross-sectional view taken along line I-I of FIG.
도 1 및 도 2에서 도시한 바와 같이, 종래 개인휴대단말기는 본체부(10), 상기 본체부(10)에 절첩되며 본체부(10)의 내면을 여닫을 수 있도록 본체부(10)에 상대 회동 가능하게 연결되는 폴더부(20)로 구성되어 있다.1 and 2, the conventional personal portable terminal is rotated relative to the
상기 폴더부(20)의 내면에는 영상 정보를 출력하기 위한 디스플레이부(21)가 설치되어 있으며, 그 상단부에는 상대방으로부터의 음성을 전달하기 위한 수화부(22)가 구비되어 있다.A
상기 본체부(10)는 상호 협조적으로 내부에 수용 공간을 형성하는 프론트케이스(11) 및 리어케이스(12)를 포함하여 구성되며, 그 내부에는 각종 제어를 수행하기 위한 인쇄회로기판(13)이 수용되어 있고, 프론트케이스(11)에는 정보를 입력하기 위한 복수개의 키(14a)를 갖는 키패드(14) 및 사용자의 음성을 전송하기 위한 송화부(15)가 구비되어 있으며, 리어케이스에는 배터리(16)가 착탈 가능하게 결합되어 있다.The
상기 인쇄회로기판(13)의 상면에는 누름조작시 온/오프 동작될 수 있도록 두께방향을 따라 탄성변형이 가능한 소위 메탈돔이라고 하는 복수개의 누름조작스위치(17) 및 조명을 위한 발광소자(18)가 구비되어 있다.On the upper surface of the printed
상기 키패드(14)는 러버 또는 우레탄 재질로 형성되어 인쇄회로기판(13)의 상측에 배치되는 패드본체(14b), 누름조작 가능하게 본체부(10)의 각 키홀(11a)에 삽입될 수 있도록 각 누름조작스위치(17)에 대응되는 위치에 두께방향을 따라 돌출되게 형성되는 복수개의 키(14a)를 구비하고 있으며, 상기 패드본체(14b)의 저부면 에는 각 키(14a)를 누르는 힘이 각 누름조작스위치(17)에 효과적으로 전달될 수 있도록 두께방향을 따라 하향 돌출된 복수개의 누름돌기(14c)가 각각 형성되어 있다.The
그런데, 종래 개인휴대단말기에 있어서는 본체부(10)의 프론트케이스(11) 및 키패드(14)의 각 키(14a)가 경도가 낮은 재질(플라스틱, 고무, 합성수지 등)로 형성됨에 따른 재질의 특성상 일정한 형상강도를 유지하기 위해서는 일정 이상의 두께를 유지해야 하므로 두께를 줄이는데 한계가 있어 슬림화가 곤란한 문제점이 있다.However, in the conventional personal portable terminal, the
또한, 본체부(10)에 키패드(14)를 결합하기 위해서는 프론트케이스(11)에 형성된 각 키홀(11a)에 대응하도록 키패드(14)의 각 키(14a)를 위치시킨 후 결합해야 했던 바, 이에 따라 키패드(14)의 조립이 번거롭고 불편한 문제점이 있고, 그에 따른 조립공수의 증가로 원가가 상승되고 생산성이 저하되는 문제점이 있다.In addition, in order to couple the
뿐만 아니라 종래 개인휴대단말기에 있어서는, 인쇄회로기판(13)와 키패드(14)의 사이에 발광소자(18)가 설치되기 위한 일정 높이가 확보되어야 했던 바, 이에 따라 본체부(10)의 공간활용성 및 설계자유도가 저하될 뿐만 아니라 불가피하게 본체부(10)의 높이 및 크기가 커지게 되는 문제점이 있다.In addition, in the conventional personal portable terminal, the predetermined height for the
따라서, 본 고안은 상기와 같은 문제점을 해결하기 위해서 안출한 것으로서, 일정 형상강도를 유지하면서 얇은 두께로 형성될 수 있는 키패드 어셈블리 및 이를 구비한 개인휴대단말기를 제공하는데 그 목적이 있다.Accordingly, an object of the present invention is to provide a keypad assembly which can be formed in a thin thickness while maintaining a constant shape strength, and an individual portable terminal having the same.
또한 본 고안은 키감을 향상 시킬 수 있는 키패드 어셈블리 및 이를 구비한 개인휴대단말기를 제공하는데 그 목적이 있다.In addition, the present invention has an object to provide a keypad assembly and a personal portable terminal having the same to improve the sense of the key.
또한 본 고안은 키패드의 조립공정을 간소화하여 작업성 및 생상성을 향상 시킬 수 있는 키패드 어셈블리 및 이를 구비한 개인휴대단말기를 제공하는데 그 목적이 있다.In addition, the present invention has a purpose to provide a keypad assembly and a personal portable terminal having the same that can improve the workability and productivity by simplifying the assembly process of the keypad.
상술한 본 고안의 목적들을 달성하기 위한 본 고안의 바람직한 실시예에 따르면, 키패드 어셈블리는 소정 패턴으로 관통 형성되는 슬릿을 통해 두께 방향을 따라 누름조작 가능하게 형성되는 버튼부를 구비한 버튼시트, 슬릿과 연통되도록 두께 방향을 따라 관통되는 관통홀을 구비하여 버튼시트의 전면에 배치되는 플라스틱시트를 포함한다. 관통홀은 슬릿의 전체 또는 일부에 대응되도록 형성될 수 있으며, 관통홀은 슬릿과 타발공정에 의해 동시에 형성될 수 있음은 물론 각각 별도의 공정을 통해 별도로 형성될 수 있다. 종래의 키패드는 경도가 낮은 재질로 형성됨에 따른 재질의 특성상 형상강도를 유지하기 위해서는 일정 이상의 두께를 유지해야 하지만 본 고안의 키패드 키패드 어셈블리는 고경도 재질로 형성된 버튼시트에 의해 일정 형상강도를 유지하면서 얇은 두께로 형성될 수 있고, 슬릿과 연통되게 형성되는 관통홀은 버튼부의 키감이 향상될 수 있게 함은 물론 주변의 버튼부가 오작동되는 것을 방지할 수 있게 한다.According to a preferred embodiment of the present invention for achieving the above object of the present invention, the keypad assembly is provided with a button sheet, a slit and having a button portion formed to be pushed along the thickness direction through the slit formed through a predetermined pattern; It includes a plastic sheet disposed on the front of the button sheet having a through hole penetrating along the thickness direction so as to communicate. The through holes may be formed to correspond to all or part of the slits, and the through holes may be simultaneously formed by the slits and the punching process, and may be separately formed through separate processes. Conventional keypads have to maintain a certain thickness or more in order to maintain the shape strength due to the characteristics of the material is formed of a material with a low hardness, but the keypad keypad assembly of the present invention while maintaining a certain shape strength by the button sheet formed of a high hardness material The through hole formed in a thin thickness and communicating with the slit not only improves the key feeling of the button portion but also prevents the peripheral button portion from malfunctioning.
또한, 버튼시트의 배면에는 누름돌기가 갖는 러버시트가 구비될 수 있고, 러버시트에는 슬릿과 연통되게 연통공이 형성될 수 있으며, 연통공과 슬릿 및 관통홀은 타발공정에 의해 동시에 형성될 수 있다.In addition, the back of the button sheet may be provided with a rubber sheet having a push projection, the communication hole may be formed in the rubber sheet in communication with the slit, the communication hole and the slit and the through hole may be formed at the same time by the punching process.
본 고안의 키패드 어셈블리는 개인휴대단말기에 장착되어 키 입력부를 형성할 수 있으며, 개인휴대단말기에는 키패드 어셈블리를 장착하기 위한 키패드 홀이 형성되어 키패드 어셈블리가 외부로 노출될 수 있다.The keypad assembly of the present invention may be mounted on a personal portable terminal to form a key input unit, and a keypad hole for mounting the keypad assembly may be formed on the personal portable terminal to expose the keypad assembly to the outside.
개인휴대단말기로서는 폴더형, 바형, 슬라이드형 등의 타입으로 이루어진 PDA, 스마트 폰, 핸드헬드 PC, 휴대폰, MP3 플레이어 등이 적용될 수 있다.As a personal handheld terminal, a PDA, a smart phone, a handheld PC, a mobile phone, an MP3 player, etc., which may be a folder type, a bar type, a slide type or the like, may be applied.
또한, 플라스틱시트의 관통홀은 데코레이션 커버에 의해 복개될 수 있으며, 데코레이션 커버는 경우에 따라 단말기 본체에 일체로 형성될 수 있음은 물론 선택적으로 분리 가능하게 형성될 수 있다.In addition, the through hole of the plastic sheet may be covered by the decoration cover, and the decoration cover may be formed integrally with the terminal body in some cases, and may be selectively detachably formed.
키패드 어셈블리의 누름조작에 의해 온/오프되는 누름조작스위치는 메탈돔으로 구성된 구조 외에도 적용되는 기술 수준에 따라 다양한 구조의 누름조작스위치가 선택될 수 있으며, 단말기에 맞게 변경될 수 있다.In addition to the structure consisting of a metal dome, the push operation switch of the push operation switch that is turned on or off by the push operation of the keypad assembly can be selected according to the applied technology level and can be changed according to the terminal.
이하 첨부된 도면들을 참조하여 본 고안의 바람직한 실시예를 상세하게 설명하지만, 본 고안이 실시예에 의해 제한되거나 한정되는 것은 아니다.Hereinafter, preferred embodiments of the present invention will be described in detail with reference to the accompanying drawings, but the present invention is not limited or limited by the embodiments.
도 3은 본 고안에 따른 키패드 어셈블리를 구비한 개인휴대단말기의 구조를 도시한 사시도이고, 도 4는 본 고안에 따른 키패드 어셈블리를 구비한 개인휴대단말기의 구조를 도시한 단면도이다.3 is a perspective view showing the structure of a personal portable terminal having a keypad assembly according to the present invention, Figure 4 is a cross-sectional view showing the structure of a personal portable terminal having a keypad assembly according to the present invention.
또한, 도 5 내지 도 10은 본 고안에 따른 키패드 어셈블리를 구비한 개인휴대단말기로서, 슬릿의 변형예를 도시한 평면도이고, 도 11은 본 고안에 따른 키패드 어셈블리를 구비한 개인휴대단말기로서, 관통홀의 변형예를 도시한 단면도이다.In addition, Figures 5 to 10 is a personal portable terminal having a keypad assembly according to the present invention, a plan view showing a modification of the slit, Figure 11 is a personal portable terminal with a keypad assembly according to the present invention, It is sectional drawing which shows the modification of a hole.
다만, 본 고안을 설명함에 있어서, 공지된 기능 혹은 구성에 대해 구체적인 설명은 본 고안의 요지를 명료하게 하기 위하여 생략하기로 한다.However, in describing the present invention, a detailed description of a known function or configuration will be omitted to clarify the gist of the present invention.
이하에서는 본 고안의 키패드 어셈블리가 개인휴대단말기에 적용된 예를 들어 설명하기로 한다. 여기서 개인휴대단말기(Personal Portable Device)라 함은 PDA(Personal Digital Assistant), 스마트 폰(Smart phone), 핸드헬드(handheld) PC, 휴대폰, MP3 플레이어 등과 같은 휴대용 전기전자장치로서, CDMA(Code Division Multiplexing Access) 모듈, 블루투스 모듈, 적외선 통신 모듈(IrDA), 유무선 랜카드와 같은 소정의 통신 모듈을 구비할 수 있으며, 멀티미디어 재생 기능을 수행하는 소정의 마이크로프로세서를 탑재함으로써 소정의 연산 능력을 갖춘 단말기를 통칭하는 개념으로 사용될 수 있다.Hereinafter, the keypad assembly of the present invention will be described with an example applied to a personal portable terminal. Here, a personal portable device (Personal Portable Device) is a portable electrical and electronic device, such as PDA (Personal Digital Assistant), smart phone (smart phone), handheld PC, mobile phone, MP3 player, etc., code division multiplexing Access) module, Bluetooth module, infrared communication module (IrDA), can be provided with a predetermined communication module, such as wired and wireless LAN card, and is equipped with a predetermined microprocessor that performs a multimedia playback function collectively referred to a terminal having a predetermined computing power Can be used as a concept.
도 3 내지 도 4에서 도시한 바와 같이, 본 고안의 일 실시예에 따른 키패드 어셈블리를 구비한 개인휴대단말기는 단말기 본체(100), 버튼시트(131) 및 플라스틱시트를 포함하는 키패드 어셈블리, 누름조작스위치를 포함한다.As shown in Figure 3 to 4, the personal portable terminal with a keypad assembly according to an embodiment of the present invention, the keypad assembly including a
상기 단말기 본체(100)로서는 최근 통상적으로 사용되고 있는 서로 전개 및 절첩 회동이 가능하게 결합된 본체부 및 폴더부를 구비한 폴더형 개인휴대단말기, 신호를 입력하는 입력버튼과 액정표시장치가 본체부에 일체로 구비된 바(bar)형 개인휴대단말기, 상기와 같은 바형 단말기의 입력버튼 영역을 개폐할 수 있도록 본체부에 힌지 결합되는 플립을 구비한 플립형 개인휴대단말기, 본체부에 슬라이드부가 슬라이드식으로 개폐되도록 한 슬라이드형 개인휴대단말기 등이 적용될 수 있으며, 이하에서는 단말기 본체(100)로서 폴더형 개인휴대단말기가 적용된 예를 들어 설명하기로 한다.As the terminal
상기 단말기 본체(100)는 본체부(110)와 이 본체부(110)에 절첩되며 본체부(110)의 전면을 여닫을 수 있도록 본체부(110)에 상대 회동 가능하게 연결되는 폴더부(120)를 포함하여 구성되어 있다.The terminal
이를 위해 상기 본체부(110)의 상단부에는 소정 간격을 두고 이격되게 한쌍의 본체힌지부(도시하지 않음)가 형성되어 있고, 상기 폴더부(120)의 하단부에는 본체힌지부의 사이에 회동 가능하게 결합될 수 있도록 폴더힌지부(도시하지 않음)가 형성되어 있다.To this end, a pair of main body hinge parts (not shown) are formed at upper ends of the
상기 폴더부(120)의 내면에는 영상 정보를 출력하기 위한 디스플레이부(121)가 설치되어 있으며, 그 상단부에는 상대방으로부터의 음성을 전달하기 위한 수화부(122)가 구비되어 있다.The inner surface of the
상기 본체부(110)는 상호 협조적으로 내부에 수용 공간을 형성하는 프론트케이스(111) 및 리어케이스(112)를 포함하여 구성되며, 그 내부에는 각종 제어를 수행하기 위한 인쇄회로기판(113)이 수용되어 있고, 프론트케이스(111)에는 사용자의 음성을 전송하기 위한 송화부(115)가 구비되어 있으며, 리어케이스(112)에는 배터리(116)가 착탈 가능하게 결합되어 있다.The
또한, 상기 프론트케이스(111)에는 정보를 입력하기 위한 키패드 어셈블리(130)가 설치되는 바, 상기 키패드 어셈블리(130)는 프론트케이스(111)에 형성되는 키패드 홀(111a)을 통해 외부로 노출되도록 설치되어 있다.In addition, the
상기 인쇄회로기판(113)의 상면에는 키패드 어셈블리(130)의 누름조작시 온/오프 동작될 수 있도록 두께방향을 따라 탄성변형이 가능한 소위 메탈돔이라고 하 는 복수개의 누름조작스위치(117)가 구비되어 있으며, 그 근접된 일측에는 조명을 위한 발광소자(118)가 구비되어 있다.The upper surface of the printed
상기 키패드 어셈블리(130)는 소정 패턴으로 두께 방향을 따라 관통 형성되는 슬릿(131a)을 통해 두께 방향을 따라 누름조작 가능하게 형성되는 버튼부(132)를 구비한 버튼시트(131), 상기 버튼시트(131)의 전면에 배치되는 플라스틱시트(135)를 포함하여 구성되어 있으며, 상기 플라스틱시트(135)에는 슬릿(131a)과 연통되도록 두께 방향을 따라 관통되게 관통홀(135a)이 형성되어 있다.The
상기 버튼시트(131)로서는 구리나 구리합금, 스테인리스, 알루미늄, 티타늄, 플래티늄, 니켈 등의 금속재질로 이루어진 박판이 이용될 수 있으며, 버튼시트(131)는 약 0.05mm에서 1mm 정도의 두께로 형성될 수 있다. 버튼시트(131)는 플라스틱보다도 경도가 우수하기 때문에 얇게 만들어도 딱딱한 형태를 유지하기가 용이하며, 용이하게 휘어지지 않으면서 딱딱한 형태를 유지할 수 있다.The
아울러 본 고안에서는 버튼부(132)가 형성되는 시트로서 금속재질로 이루어진 버튼시트(131)가 적용된 예를 들어 설명하고 있지만, 경우에 따라서는 버튼시트(131) 대신 높은 경도를 갖는 합성수지 등으로 이루어진 시트가 적용될 수 있다.In addition, in the present invention, for example, the
상기 버튼부(132)의 형상 및 구조는 버튼시트(131)에 소정 패턴으로 형성되는 슬릿(131a)에 의해 정의될 수 있다.The shape and structure of the
상기 버튼시트(131)에 구비되는 상기 버튼부(132)는 도 3과 같이 서로 다른 기능을 수행하는 복수개의 키가 하나의 버튼부(132)에 형성되도록 구성할 수 있음은 물론 도 5 내지 도 10과 같이 서로 다른 기능을 수행하는 복수개의 키가 각각 별도의 버튼부(132)를 통해 형성되도록 구성할 수 있다.The
도 5를 참조하면, 버튼시트(131)의 버튼부(132)는 서로 대향되게 이격 형성되는 슬릿(131a)을 통해 브릿지(bridge) 형상으로 연결될 수 있으며, 상기 버튼부(132)는 금속 재질로 형성되어 있기 때문에 사용자기 버튼부(132)를 누르면 소정의 범위 내에서 탄성적으로 변형될 수 있다. 이때 버튼부(132)는 누름조작스위치(117)가 작동될 수 있을 만큼 충분한 거리로 유동될 수 있다.Referring to FIG. 5, the
도 6은 참조하면, 버튼시트(131)의 버튼부(132)는 서로 대향되게 이격 형성되는 슬릿(131a)을 통해 브릿지(bridge) 형상으로 연결될 수 있으며, 이때 각 슬릿(131a)의 폭은 경우에 따라 서로 다르게 형성할 수 있다. 이때 역시 버튼부(132)는 사용자의 누름 조작에 따라 탄성적으로 변형되며 누름조작스위치(117)를 작동시킬 수 있다.Referring to FIG. 6, the
도 5 및 도 6에서는 슬릿(131a)이 좌우 양측에 배치되도록 형성된 예를 들어 설명하고 있지만, 경우에 따라서는 슬릿(131a)을 상항 방향 등을 따라 형성할 수 있다.5 and 6 illustrate an example in which the
도 7을 참조하며, 버튼시트(131)의 버튼부(132)는 사각형의 4개 측면에 대응하도록 형성되는 4개의 슬릿(131a)을 통해 대략 사각형 형상으로 연결될 수 있다. 즉 버튼부(132)의 4개의 꼭지점에 해당되는 부분은 버튼시트(131)에 일체로 연결되어 있고, 버튼부(132)의 4개의 측면에 해당되는 부분은 버튼시트(131)로부터 분리되어 있다. 버튼부(132)는 금속 재질로 형성되어 있기 때문에 사용자기 버튼부(132)를 누르면 소정의 범위 내에서 탄성적으로 변형될 수 있다. 이때 버튼부(132) 는 누름조작스위치(117)가 작동될 수 있을 만큼 충분한 거리로 유동될 수 있다.Referring to FIG. 7, the
도 8 내지 도 10을 참조하면, 버튼시트(131)의 버튼부(132)는 대략 "ㄷ" 형상으로 배치되도록 형성되는 슬릿(131a)을 통해 외팔보(cantilever) 형상으로 연결될 수 있다. 이때 버튼부(132)와 버튼시트(131)가 연결되는 연결 영역이 서로 반대 방향으로 형성될 수 있도록 슬릿(131a)의 개방 영역은 도 8 및 도 10과 같이 버튼시트(131)의 길이 방향 또는 폭 방향을 따라 서로 교번적으로 배치되게 형성될 수 있는 바, 이와 같은 구조는 어느 하나의 버튼부(132)가 작동될 시 그에 이웃하는 버튼부(132)로 움직임이 전달되는 것을 최소화할 수 있게 한다.8 to 10, the
상기 플라스틱시트(135)는 폴리프로필렌(PP), 방향성 폴리프로필렌(OPP), 폴리에틸렌테레프탈레이트(PET), 에틸렌비닐아세테이트(EVA), 폴리에틸렌(PE), 폴리염화비닐(PVC), 아크릴부타디엔스티렌(ABS), 폴리카보네이트(PC), 우레탄 등을 이용하여 형성될 수 있다. 상기 플라스틱시트(135)는 약 10㎛ ~ 1mm의 두께로 형성될 수 있으며, 접착이나 라미네이팅 등의 방법을 통해서 버튼시트(131)와 일체로 형성될 수 있다.The
상기 플라스틱시트(135)에 형성되는 관통홀(135a)의 형상 및 구조는 버튼시트(131)에 소정 패턴으로 형성되는 슬릿(131a)을 따라 정의될 수 있으며, 이때 상기 관통홀(135a)은 슬릿(131a)의 전체 또는 일부에 대응되도록 형성될 수 있다.The shape and structure of the through
이와 같은 슬릿(131a)과 관통홀(135a)은 타발(blanking)공정에 의해 동시에 형성될 수 있는 바, 이와 같은 구조는 키패드 어셈블리(130)의 작업공수를 더욱 간소화시킬 수 있게 한다.Such a
또한, 상기 버튼시트(131)의 배면에는 러버시트(137)가 배치될 수 있으며, 상기 러버시트(137)의 배면에는 각 누름조작스위치(117)에 대응하여 버튼시트(131)의 버튼부(132)를 누르는 힘이 각 누름조작스위치(117)에 효과적으로 전달될 수 있도록 두께 방향을 따라 하향 돌출된 복수개의 누름돌기(137a)가 형성되어 있다.In addition, a
아울러 상기 러버시트(137)에는 슬릿(131a)과 연통되게 연통공(137b)이 형성될 수 있으며, 상기 연통공(137b)은 슬릿(131a)의 전체 또는 일부에 대응되도록 형성될 수 있고, 관통홀(135a)과도 연속적으로 연통될 수 있다. 상기 연통공(137b) 역시 전술한 슬릿(131a) 및 관통홀(135a)과 함께 타발공정에 의해 동시에 형성될 수 있다.In addition, a
이와 같이 본 고안에 따른 키패드 어셈블리(130)는 얇은 두께를 갖는 버튼시트(131) 및 플라스틱시트(135)에 의해 일정 형상강도를 유지하면서 얇은 두께로 형성될 수 있다. 따라서 키패드 어셈블리(130)가 설치되는 개인휴대단말기의 소형화 및 박형화에 기여할 수 있게 한다.As described above, the
뿐만 아니라 플라스틱시트(135)에는 버튼시트(131)의 슬릿(131a)과 연통되게 관통홀(135a)이 형성되어 있는 바, 이와 같은 구조는 버튼부(132)의 키감이 향상될 수 있게 함은 물론 버튼부(132)의 누름 조작시 이웃하는 주변의 버튼부(132)가 연동됨을 미연에 방지할 수 있게 한다.In addition, the through
또한, 경우에 따라서는 상기 버튼부(132)의 키감 향상을 위해 버튼시트(131)와 플라스틱시트(135)의 사이에 러버패드(도시하지 않음)를 개재할 수 있음은 물론이다.In addition, in some cases, a rubber pad (not shown) may be interposed between the
전술한 관통홀(135a)을 구비한 플라스틱시트(135)의 변형예로서, 도 11과 같이 상기 플라스틱시트(135)의 관통홀(135a)은 버튼시트(131)의 슬릿(131a)보다 작은 폭을 갖도록 형성될 수 있는 바, 이와 같은 구조는 관통홀(135a)을 통해 먼지 등의 이물질이 유입되는 것을 최소화할 수 있게 한다. 아울러 상기 관통홀(135a)의 경계부위는 도 11의 (a)와 같이 직선 형태로 형성될 수 있음은 물론 도 11의 (b)와 같이 곡선 형태로 형성될 수 있다.As a modification of the
한편, 도 12는 본 고안의 따른 키패드 어셈블리를 구비한 개인휴대단말기의 다른 실시예를 보인 것으로서, 전술한 버튼시트(131)와 플라스틱시트(135)의 사이에 조명을 위한 발광시트(139)를 개재하여 구성한 것이다.On the other hand, Figure 12 shows another embodiment of a personal portable terminal with a keypad assembly according to the present invention, the
즉, 도 12에서 도시한 바와 같이, 버튼시트(131)의 버튼부(132)의 형상에 대응하도록 버튼시트(131)와 플라스틱시트(135)의 사이에는 전원이 인가됨에 따라 발광되는 발광시트(139)가 개재되어 있다.That is, as shown in FIG. 12, the light emitting sheet emitting light as power is applied between the
상기 발광시트(139)로는 무기이엘시트(Organic Electro luminessence Sheet)와 유기이엘시트(Inorganic Electro luminessence Sheet) 등이 적용될 수 있으며, 특히 무기이엘시트는 종래에 모노 칼라 엘씨디(LCD) 등의 백 라이트 등으로 활용이 되고 있으며 다양한 색상의 발광이 가능하다.The
이와 같이 버튼시트(131)와 플라스틱시트(135)의 사이에 조명을 위한 발광시트(139)가 개재되는 구조는 인쇄회로기판과 버튼시트(131) 사이의 높이를 최소화할 수 있게 하며 본체부(110)의 공간효율성 및 설계자유도를 향상 시킬 수 있게 함은 물론 개인휴대단말기의 소형화 및 박형화에 기여할 수 있게 한다.As such, the structure in which the
아울러 상기 발광시트(139)를 제외한 여타 구성 부분은 전술한 실시예와 동일하므로 동일 부분에 대해서는 동일 부호를 부여하고, 그에 대한 구체적인 설명은 생략하기로 한다.In addition, since other components except for the
한편, 도 13은 본 고안의 또 다른 실시예에 따른 키패드 어셈블리를 구비한 개인휴대단말기의 구조를 도시한 사시도이고, 도 14는 본 고안의 또 다른 실시예에 따른 키패드 어셈블리를 구비한 개인휴대단말기의 구조를 도시한 단면도이다.On the other hand, Figure 13 is a perspective view showing the structure of a personal portable terminal with a keypad assembly according to another embodiment of the present invention, Figure 14 is a personal portable terminal with a keypad assembly according to another embodiment of the present invention It is sectional drawing which shows the structure of.
아울러, 전술한 구성과 동일 및 동일 상당 부분에 대해서는 동일 또는 동일 상당한 참조 부호를 부여하고, 그에 대한 상세한 설명은 생략하기로 한다.In addition, the same or equivalent reference numerals are given to the same or equivalent components as those described above, and detailed description thereof will be omitted.
도 13 및 도 14에서 도시한 바와 같이, 본 고안의 또 다른 실시에에 따른 키패드 어셈블리를 구비한 개인휴대단말기는 단말기 본체(100), 버튼시트(131) 및 플라스틱시트(135)를 포함하는 키패드 어셈블리(130), 누름조작스위치(117), 데코레이션 커버(111b)를 포함한다.As shown in FIGS. 13 and 14, a personal portable terminal having a keypad assembly according to another embodiment of the present invention includes a keypad including a
상기 단말기 본체(100)는 본체부(110)와 이 본체부(110)에 절첩되며 본체부(110)의 전면을 여닫을 수 있도록 본체부(110)에 상대 회동 가능하게 연결되는 폴더부(120)를 포함하여 구성되어 있다.The terminal
상기 본체부(110)는 상호 협조적으로 내부에 수용 공간을 형성하는 프론트케이스(111) 및 리어케이스를 포함하여 구성되며, 그 내부에는 각종 제어를 수행하기 위한 인쇄회로기판(113)이 수용되어 있다.The
또한, 상기 프론트케이스(111)에는 정보를 입력하기 위한 키패드 어셈블리(130)가 설치되는 바, 상기 키패드 어셈블리(130)는 프론트케이스(111)에 형성되는 키패드 홀을 통해 외부로 노출되도록 설치되어 있다.In addition, the
상기 인쇄회로기판(113)의 상면에는 키패드 어셈블리(130)의 누름조작시 온/오프 동작될 수 있도록 두께방향을 따라 탄성변형이 가능한 소위 메탈돔이라고 하는 복수개의 누름조작스위치(117)가 구비되어 있다.The upper surface of the printed
상기 키패드 어셈블리(130)는 소정 패턴으로 두께 방향을 따라 관통 형성되는 슬릿(131a)을 통해 두께 방향을 따라 누름조작 가능하게 형성되는 버튼부(132)를 구비한 버튼시트(131), 상기 버튼시트(131)의 전면에 배치되는 플라스틱시트(135)를 포함하여 구성되어 있으며, 상기 플라스틱시트(135)에는 슬릿(131a)과 연통되도록 두께 방향을 따라 관통되게 관통홀(135a)이 형성되어 있다.The
상기 버튼시트(131)로서는 구리나 구리합금, 스테인리스, 알루미늄, 티타늄, 플래티늄, 니켈 등의 금속재질로 이루어진 박판이 이용될 수 있으며, 버튼시트(131)는 약 0.05mm에서 1mm 정도의 두께로 형성될 수 있다. 버튼시트(131)는 플라스틱보다도 경도가 우수하기 때문에 얇게 만들어도 딱딱한 형태를 유지하기가 용이하며, 용이하게 휘어지지 않으면서 딱딱한 형태를 유지할 수 있다.The
상기 플라스틱시트(135)는 폴리프로필렌(PP), 방향성 폴리프로필렌(OPP), 폴리에틸렌테레프탈레이트(PET), 에틸렌비닐아세테이트(EVA), 폴리에틸렌(PE), 폴리염화비닐(PVC), 아크릴부타디엔스티렌(ABS), 폴리카보네이트(PC), 우레탄 등을 이용하여 형성될 수 있다. 상기 플라스틱시트(135)는 약 10㎛ ~ 1mm의 두께로 형성될 수 있으며, 접착이나 라미네이팅 등의 방법을 통해서 버튼시트(131)와 일체로 형성될 수 있다.The
그리고 버튼시트(131)와 플라스틱시트(135)의 사이에는 발광시트(139)가 개재되어 있는 바, 상기 발광시트(139)는 버튼시트(131)의 버튼부(132)의 형상에 대응하도록 버튼시트(131)와 플라스틱시트(135)의 사이에 개재되어 전원이 인가됨에 따라 발광되며 조명에 필요한 빛을 발생시킨다.And the
상기 플라스틱시트(135)에 형성되는 관통홀(135a)의 형상 및 구조는 버튼시트(131)에 소정 패턴으로 형성되는 슬릿(131a)을 따라 정의될 수 있으며, 이때 상기 관통홀(135a)은 슬릿(131a)의 전체 또는 일부에 대응되도록 형성될 수 있다.The shape and structure of the through
이와 같은 슬릿(131a)과 관통홀(135a)은 타발공정에 의해 동시에 형성될 수 있는 바, 이와 같은 구조는 키패드 어셈블리(130)의 작업공수를 더욱 간소화시킬 수 있게 한다.Such a
또한, 상기 버튼시트(131)의 배면에는 러버시트(137)가 배치될 수 있으며, 상기 러버시트(137)의 배면에는 각 누름조작스위치(117)에 대응하여 버튼시트(131)의 버튼부(132)를 누르는 힘이 각 누름조작스위치(117)에 효과적으로 전달될 수 있도록 두께 방향을 따라 하향 돌출된 복수개의 누름돌기(137a)가 형성되어 있다.In addition, a
아울러 상기 러버시트(137)에는 슬릿(131a)과 연통되게 연통공(137b)이 형성될 수 있으며, 상기 연통공(137b)은 슬릿(131a)의 전체 또는 일부에 대응되도록 형성될 수 있고, 관통홀(135a)과도 연속적으로 연통될 수 있다. 상기 연통공(137b) 역시 전술한 슬릿(131a) 및 관통홀(135a)과 함께 타발공정에 의해 동시에 형성될 수 있다.In addition, a
한편, 상기 플라스틱시트(135)의 관통홀(135a)은 데코레이션 커버(111b)에 의해 복개될 수 있도록 구성되어 있다.On the other hand, the through
즉, 상기 데코레이션 커버(111b)는 관통홀(135a)에 대응되게 형성되어 관통홀(135a)을 복개하며 먼지 등의 이물질이 관통홀(135a)을 통해 본체부(110)의 내부로 유입되는 것을 방지할 수 있게 한다.That is, the
이와 같은 데코레이션 커버(111b)는 본체부(110)와 일체로 형성될 수 있음은 물론 별도로 형성되어 선택적으로 분리 가능하게 결합될 수 있다.Such a
아울러 데코레이션 커버(111b)는 메탈, 필름, 플라스틱 등 다양한 재질로 형성될 수 있으며, 경우에 따라서는 본체부(110)의 프론트케이스(111)와 동일한 재질 및 색상을 갖도록 형성될 수 있다. 별도로 형성된 데코레이션 커버(111b)는 단부를 프론트케이스(111)에 접착 또는 삽입 등의 방법을 통해 고정함으로써 결합될 수 있다.In addition, the
이하에서는 데코레이션 커버(111b)가 키패드 홀 상에 배치되도록 본체부(110)에 일체로 형성된 예를 들어 설명하기로 한다.Hereinafter, an example in which the
또한, 상기 플라스틱시트(135)의 전면에는 데코레이션 커버(111b)의 적어도 일부가 수용될 수 있도록 커버수용홈(135b)이 형성될 수 있으며, 바람직하게는 커버수용홈(135b)에 수용된 데코레이션 커버(111b)의 전면이 플라스틱시트(135)의 전면과 동일 평면을 이루도록 형성된다.In addition, a
상기 데코레이션 커버(111b)는 단순히 관통홀(135a)을 복개하기 위한 수단으로서 형상강도를 유지하기 위해 일정 이상의 두께로 형성될 필요는 없다. 다시 말해서 상기 데코레이션 커버(111b)는 얇게 형성될 수 있으며, 이와 같은 구조는 데 코레이션 커버(111b)가 형성된다 하더라도 키패드 어셈블리(130) 및 이가 설치되는 개인휴대단말기의 슬림화를 구현할 수 있게 한다.The
이와 같이 본 고안의 또 다른 실시예에 따른 키패드 어셈블리(130)는 얇은 두께를 갖는 버튼시트(131) 및 플라스틱시트(135)에 의해 일정 형상강도를 유지하면서 얇은 두께로 형성될 수 있다. 따라서 키패드 어셈블리(130)가 설치되는 개인휴대단말기의 소형화 및 박형화에 기여할 수 있게 한다.As such, the
뿐만 아니라 플라스틱시트(135)에는 버튼시트(131)의 슬릿(131a)과 연통되게 관통홀(135a)이 형성되어 있고, 상기 관통홀(135a)은 데코레이션 커버(111b)에 의해 복개될 수 있는 바, 이와 같은 구조는 버튼부(132)의 키감이 향상될 수 있게 함은 물론 버튼부(132)의 누름 조작시 이웃하는 주변의 버튼부(132)가 연동됨을 미연에 방지할 수 있게 하고, 관통홀(135a)을 통해 이물질 등이 유입됨을 방지하며 그에 따른 신뢰성 저하를 방지할 수 있게 한다.In addition, the
이상에서 본 바와 같이, 본 고안에 따른 키패드 어셈블리는 얇은 두께를 갖는 버튼시트 및 플라스틱시트에 의해 일정 형상강도를 유지하면서 얇은 두께로 형성될 수 있다. 따라서 키패드 어셈블리가 설치되는 개인휴대단말기의 소형화 및 박형화에 기여할 수 있게 한다.As seen above, the keypad assembly according to the present invention can be formed in a thin thickness while maintaining a certain shape strength by a button sheet and a plastic sheet having a thin thickness. Therefore, it is possible to contribute to the miniaturization and thinning of the personal portable terminal in which the keypad assembly is installed.
뿐만 아니라 플라스틱시트에는 버튼시트의 슬릿과 연통되게 관통홀이 형성되어 있는 바, 이와 같은 구조는 버튼부의 키감이 향상될 수 있게 함은 물론 버튼부의 누름 조작시 이웃하는 주변의 버튼부가 연동됨을 미연에 방지할 수 있게 한다.In addition, the through-hole is formed in the plastic sheet to communicate with the slit of the button sheet. Such a structure not only improves the key feeling of the button portion, but also prevents the adjacent button portion from interlocking when the button portion is pressed. To prevent it.
또한, 본 고안의 키패드 어셈블리는 버튼시트와 플라스틱시트를 상호 부착시키는 과정을 통해서 한 번에 제조할 수 있으며, 키패드 어셈블리를 바로 키패드 홀에 조립함으로써 작업성 및 생산성을 향상 시킬 수 있다.In addition, the keypad assembly of the present invention can be manufactured at a time through the process of attaching the button sheet and the plastic sheet to each other, it is possible to improve the workability and productivity by assembling the keypad assembly directly to the keypad hole.
또한, 플라스틱시트는 종래의 인쇄 기술을 이용하여 여러 디자인 및 색채를 표현할 수 있기 때문에, 버튼 형상을 일일이 성형해야 하는 종래의 키패드 구조보다 훨씬 다양한 형상을 표현할 수 있고, 매우 저렴한 비용으로 생산할 수가 있다.In addition, since the plastic sheet can express various designs and colors using conventional printing technology, it is possible to express much more various shapes than the conventional keypad structure in which button shapes must be molded one by one, and can be produced at a very low cost.
또한, 본 고안의 키패드 어셈블리는 관통홀이 데코레이션 커버에 의해 복개될 수 있게 함으로써, 관통홀을 통해 이물질 등이 유입됨을 방지하고 그에 따른 신뢰성 저하를 방지할 수 있게 한다.In addition, the keypad assembly of the present invention allows the through-hole to be covered by the decoration cover, thereby preventing foreign substances, etc. from flowing through the through-hole, thereby preventing a decrease in reliability.
상술한 바와 같이, 본 고안의 바람직한 실시예를 참조하여 설명하였지만 해당 기술분야의 숙련된 당업자라면 하기의 청구범위에 기재된 본 고안의 사상 및 영역으로부터 벗어나지 않는 범위 내에서 본 고안을 다양하게 수정 및 변경시킬 수 있음을 이해할 수 있을 것이다.As described above, the present invention has been described with reference to a preferred embodiment of the present invention, but those skilled in the art various modifications and changes of the present invention without departing from the spirit and scope of the present invention described in the claims below I can understand that you can.
| Application Number | Priority Date | Filing Date | Title |
|---|---|---|---|
| KR2020060004502UKR200415225Y1 (en) | 2006-02-17 | 2006-02-17 | Keypad assembly and personal handheld terminal with same |
| Application Number | Priority Date | Filing Date | Title |
|---|---|---|---|
| KR2020060004502UKR200415225Y1 (en) | 2006-02-17 | 2006-02-17 | Keypad assembly and personal handheld terminal with same |
| Publication Number | Publication Date |
|---|---|
| KR200415225Y1true KR200415225Y1 (en) | 2006-04-28 |
| Application Number | Title | Priority Date | Filing Date |
|---|---|---|---|
| KR2020060004502UExpired - Fee RelatedKR200415225Y1 (en) | 2006-02-17 | 2006-02-17 | Keypad assembly and personal handheld terminal with same |
| Country | Link |
|---|---|
| KR (1) | KR200415225Y1 (en) |
| Publication number | Priority date | Publication date | Assignee | Title |
|---|---|---|---|---|
| KR100796443B1 (en) | 2006-12-28 | 2008-01-22 | 디케이 유아이엘 주식회사 | Keypad for Mobile Terminal |
| KR100849320B1 (en) | 2007-01-11 | 2008-07-29 | 삼성전자주식회사 | Keypad for potable terminal |
| KR100852360B1 (en) | 2006-12-27 | 2008-08-14 | (주)지엔씨 | Personal portable device |
| Publication number | Priority date | Publication date | Assignee | Title |
|---|---|---|---|---|
| KR100852360B1 (en) | 2006-12-27 | 2008-08-14 | (주)지엔씨 | Personal portable device |
| KR100796443B1 (en) | 2006-12-28 | 2008-01-22 | 디케이 유아이엘 주식회사 | Keypad for Mobile Terminal |
| KR100849320B1 (en) | 2007-01-11 | 2008-07-29 | 삼성전자주식회사 | Keypad for potable terminal |
| Publication | Publication Date | Title |
|---|---|---|
| EP1507273B1 (en) | Keypad assembly | |
| US7599709B2 (en) | Case for a hand held device | |
| JP4485103B2 (en) | Mobile terminal device | |
| US20030058223A1 (en) | Adaptable keypad and button mechanism therefor | |
| KR20080111563A (en) | Touch sensitive keypad with tactile feedback | |
| WO1998019434A1 (en) | Telecommunication apparatus having dual keypads | |
| US6614905B1 (en) | Support structure for a keypad | |
| CN101529545A (en) | Electronic device | |
| JP4190568B1 (en) | Mobile device | |
| CN102568899A (en) | Keyboard and electronic apparatus | |
| KR200415225Y1 (en) | Keypad assembly and personal handheld terminal with same | |
| CN101529871B (en) | Electronic device | |
| KR100768269B1 (en) | Uppercase unified with buttons and personal portable device having the uppercase | |
| EP2226822B1 (en) | A key assembly for a handheld electronic device having a one-piece keycap | |
| US6882865B2 (en) | Fixing structure for input keys | |
| KR100840017B1 (en) | Keypad | |
| KR100774611B1 (en) | Integrated metal front cover for communication equipment | |
| KR100837266B1 (en) | Key pad | |
| KR100843263B1 (en) | Key input device | |
| KR100870505B1 (en) | Keypad for personal portable device and method of manufacturing keypad | |
| KR100852360B1 (en) | Personal portable device | |
| KR100780900B1 (en) | Backlighting structure of the keypad | |
| KR100631663B1 (en) | Keypad Backlighting Structure of Portable Terminal | |
| KR100664163B1 (en) | Integrated keypad and portable terminal with same | |
| JP4749371B2 (en) | Portable electronic devices |
| Date | Code | Title | Description |
|---|---|---|---|
| UA0108 | Application for utility model registration | St.27 status event code:A-0-1-A10-A12-nap-UA0108 | |
| UR1002 | Payment of registration fee | St.27 status event code:A-2-2-U10-U11-oth-UR1002 Fee payment year number:1 | |
| REGI | Registration of establishment | ||
| UR0701 | Registration of establishment | St.27 status event code:A-2-4-F10-F11-exm-UR0701 | |
| UG1601 | Publication of registration | St.27 status event code:A-4-4-Q10-Q13-nap-UG1601 | |
| FPAY | Annual fee payment | Payment date:20070418 Year of fee payment:3 | |
| UR1001 | Payment of annual fee | St.27 status event code:A-4-4-U10-U11-oth-UR1001 Fee payment year number:2 | |
| R18-X000 | Changes to party contact information recorded | St.27 status event code:A-5-5-R10-R18-oth-X000 | |
| UN2301 | Change of applicant | St.27 status event code:A-5-5-R10-R11-asn-UN2301 | |
| UN2301 | Change of applicant | St.27 status event code:A-5-5-R10-R11-asn-UN2301 | |
| UN2301 | Change of applicant | St.27 status event code:A-5-5-R10-R14-asn-UN2301 | |
| P14-X000 | Amendment of ip right document requested | St.27 status event code:A-5-5-P10-P14-nap-X000 | |
| P16-X000 | Ip right document amended | St.27 status event code:A-5-5-P10-P16-nap-X000 | |
| Q16-X000 | A copy of ip right certificate issued | St.27 status event code:A-4-4-Q10-Q16-nap-X000 | |
| UN2301 | Change of applicant | St.27 status event code:A-5-5-R10-R11-asn-UN2301 | |
| UN2301 | Change of applicant | St.27 status event code:A-5-5-R10-R11-asn-UN2301 | |
| UN2301 | Change of applicant | St.27 status event code:A-5-5-R10-R14-asn-UN2301 | |
| R18-X000 | Changes to party contact information recorded | St.27 status event code:A-5-5-R10-R18-oth-X000 | |
| LAPS | Lapse due to unpaid annual fee | ||
| UC1903 | Unpaid annual fee | St.27 status event code:A-4-4-U10-U13-oth-UC1903 Not in force date:20090425 Payment event data comment text:Termination Category : DEFAULT_OF_REGISTRATION_FEE | |
| UN2301 | Change of applicant | St.27 status event code:A-5-5-R10-R13-asn-UN2301 St.27 status event code:A-5-5-R10-R11-asn-UN2301 | |
| UC1903 | Unpaid annual fee | St.27 status event code:N-4-6-H10-H13-oth-UC1903 Ip right cessation event data comment text:Termination Category : DEFAULT_OF_REGISTRATION_FEE Not in force date:20090425 | |
| R18-X000 | Changes to party contact information recorded | St.27 status event code:A-5-5-R10-R18-oth-X000 | |
| UN2301 | Change of applicant | St.27 status event code:A-5-5-R10-R13-asn-UN2301 St.27 status event code:A-5-5-R10-R11-asn-UN2301 | |
| P22-X000 | Classification modified | St.27 status event code:A-4-4-P10-P22-nap-X000 |