Movatterモバイル変換


[0]ホーム

URL:


KR102801919B1 - 반도체 메모리 장치, 이의 제조 방법 및 동작 방법 - Google Patents

반도체 메모리 장치, 이의 제조 방법 및 동작 방법
Download PDF

Info

Publication number
KR102801919B1
KR102801919B1KR1020200107387AKR20200107387AKR102801919B1KR 102801919 B1KR102801919 B1KR 102801919B1KR 1020200107387 AKR1020200107387 AKR 1020200107387AKR 20200107387 AKR20200107387 AKR 20200107387AKR 102801919 B1KR102801919 B1KR 102801919B1
Authority
KR
South Korea
Prior art keywords
film
semiconductor memory
memory device
charge storage
manufacturing
Prior art date
Legal status (The legal status is an assumption and is not a legal conclusion. Google has not performed a legal analysis and makes no representation as to the accuracy of the status listed.)
Active
Application number
KR1020200107387A
Other languages
English (en)
Other versions
KR20220026413A (ko
Inventor
이동욱
양해창
Original Assignee
에스케이하이닉스 주식회사
Priority date (The priority date is an assumption and is not a legal conclusion. Google has not performed a legal analysis and makes no representation as to the accuracy of the date listed.)
Filing date
Publication date
Application filed by 에스케이하이닉스 주식회사filedCritical에스케이하이닉스 주식회사
Priority to KR1020200107387ApriorityCriticalpatent/KR102801919B1/ko
Priority to US17/174,171prioritypatent/US11462566B2/en
Priority to CN202110331767.2Aprioritypatent/CN114122117B/zh
Publication of KR20220026413ApublicationCriticalpatent/KR20220026413A/ko
Priority to US17/898,932prioritypatent/US11723206B2/en
Priority to US18/334,583prioritypatent/US11943930B2/en
Application grantedgrantedCritical
Publication of KR102801919B1publicationCriticalpatent/KR102801919B1/ko
Activelegal-statusCriticalCurrent
Anticipated expirationlegal-statusCritical

Links

Images

Classifications

Landscapes

Abstract

본 기술은 반도체 메모리 장치, 이의 제조 방법 및 동작 방법 관한 것으로, 반도체 메모리 장치는 기판 상에 교번적으로 적층된 복수의 층간 절연막들 및 복수의 게이트 전극들을 포함하는 적층체; 및 상기 적층체를 수직 방향으로 관통하는 복수의 채널구조들을 포함하며, 상기 복수의 채널구조들 각각은 상기 기판 방향으로 수직 연장되는 채널막, 터널 절연막, 방출 방지막, 전하 저장막을 포함한다.

Description

반도체 메모리 장치, 이의 제조 방법 및 동작 방법{SEMICONDUCTOR MEMORY DEVICE AND METHODS OF MANUFACTURING AND OPERATING THE SAME}
본 발명은 전자 장치에 관한 것으로, 보다 구체적으로 반도체 메모리 장치, 이의 제조 방법 및 동작 방법에 관한 것이다.
최근 컴퓨터 환경에 대한 패러다임(paradigm)이 언제, 어디서나 컴퓨터 시스템을 사용할 수 있도록 하는 유비쿼터스 컴퓨팅(ubiquitous computing)으로 전환되고 있다. 이로 인해 휴대폰, 디지털 카메라, 노트북 컴퓨터 등과 같은 휴대용 전자 장치의 사용이 급증하고 있다. 이와 같은 휴대용 전자 장치는 일반적으로 반도체 메모리 장치를 이용하는 메모리 시스템, 다시 말해 데이터 저장 장치를 사용한다. 데이터 저장 장치는 휴대용 전자 장치의 주 기억 장치 또는 보조 기억 장치로 사용된다.
반도체 메모리 장치를 이용한 데이터 저장 장치는 기계적인 구동부가 없어서 안정성 및 내구성이 뛰어나며, 또한 정보의 액세스 속도가 매우 빠르고 전력 소모가 적다는 장점이 있다. 이러한 장점을 갖는 메모리 시스템의 일 예로 데이터 저장 장치는 USB(Universal Serial Bus) 메모리 장치, 다양한 인터페이스를 갖는 메모리 카드, 솔리드 스테이트 드라이브(SSD: Solid State Drive) 등을 포함한다.
반도체 메모리 장치는 크게 휘발성 메모리 장치(Volatile memory device)와 불휘발성 메모리 장치(Nonvolatile memory device)로 구분된다.
불휘발성 메모리 장치는 쓰기 및 읽기 속도가 상대적으로 느리지만 전원 공급이 차단되더라도 저장 데이터를 유지한다. 따라서 전원 공급 여부와 관계없이 유지되어야 할 데이터를 저장하기 위해 불휘발성 메모리 장치가 사용된다. 불휘발성 메모리 장치에는 ROM(Read Only Memory), MROM(Mask ROM), PROM(Programmable ROM), EPROM(Erasable Programmable ROM), EEPROM(Electrically Erasable Programmable ROM), 플래시 메모리(Flash memory), PRAM(Phase change Random Access Memory), MRAM(Magnetic RAM), RRAM(Resistive RAM), FRAM(Ferroelectric RAM) 등이 있다. 플래시 메모리는 노어 타입과 낸드 타입으로 구분된다.
본 발명의 실시 예는 반도체 메모리 장치의 프로그램 동작 시 메모리 셀의 전하 저장막에 트랩된 전하가 짧은 시간 내에 방출되는 것을 억제하여 문턱 전압 분포를 개선할 수 있는 반도체 메모리 장치, 이의 제조 방법 및 동작 방법을 제공한다.
본 발명의 실시 예에 따른 반도체 메모리 장치는 기판 상에 교번적으로 적층된 복수의 층간 절연막들 및 복수의 게이트 전극들을 포함하는 적층체; 및 상기 적층체를 수직 방향으로 관통하는 복수의 채널구조들을 포함하며, 상기 복수의 채널구조들 각각은 상기 기판 방향으로 수직 연장되는 채널막, 터널 절연막, 방출 방지막, 전하 저장막을 포함한다.
본 발명의 실시 예에 따른 반도체 메모리 장치의 제조 방법은 기판 상에 복수의 층간 절연막 및 복수의 희생막을 교번적으로 적층하여 적층체를 형성하는 단계; 상기 적층체를 수직 방향으로 관통하는 복수의 홀들을 형성하는 단계; 및 상기 복수의 홀들 각각의 측벽에 블로킹 절연막, 전하 저장막, 방출 방지막, 터널 절연막 및 채널막을 순차적으로 형성하는 단계를 포함한다.
본 발명의 실시 예에 따른 반도체 메모리 장치의 동작 방법은 프로그램 커맨드에 응답하여 채널막, 터널 절연막, 방출 방지막, 전하 저장막, 블로킹 절연막, 및 보상 전하 저장막을 포함하는 복수의 메모리 셀들에 대한 프로그램 동작을 수행하는 단계; 외부로부터 수신되는 서스펜드 커맨드에 응답하여 상기 프로그램 동작을 중단시키고, 서스펜드 구간 동안 상기 메모리 셀들과 연결된 비트라인들 또는 소스 라인에 양의 전압을 인가하는 단계; 및 상기 외부로부터 수신되는 리쥼 커맨드에 응답하여 중단된 상기 프로그램 동작을 재수행하는 단계를 포함한다.
본 기술에 따르면, 반도체 메모리 장치의 프로그램 동작 시 메모리 셀의 전하 저장막에 트랩된 전하들이 디트랩되어 방출되는 것을 억제하여 메모리 셀들의 문턱 전압 분포를 개선할 수 있다.
도 1은 본 발명의 일 실시 예에 따른 반도체 메모리 장치를 나타내는 블록도이다.
도 2는 도 1의 메모리 셀 어레이를 설명하기 위한 회로도이다.
도 3a 및 도 3b는 본 발명의 실시 예들에 따른 반도체 메모리 장치들을 개략적으로 나타내는 사시도들이다.
도 4는 본 발명의 일 실시 예에 따른 반도체 메모리 장치의 메모리 셀 어레이의 일부를 나타내는 사시도이다.
도 5는 도 4에 도시된 X영역을 확대하여 나타낸 단면도이다.
도 6a 내지 도 6d는 본 발명의 일 실시 예에 따른 메모리 셀 어레이의 제조방법을 나타내는 단면도들이다.
도 7은 본 발명의 실시 예에 따른 메모리 셀의 에너지 밴드 갭 다이어그램이다.
도 8은 본 발명의 실시 예에 따른 반도체 메모리 장치의 동작 방법을 설명하기 위한 순서도이다.
도 9는 본 발명의 실시 예에 따른 반도체 메모리 장치의 동작 방법을 설명하기 위한 전압들의 파형도이다.
도 10은 본 발명의 일 실시 예에 따른 메모리 시스템의 구성을 나타내는 블록도이다.
도 11은 본 발명의 일 실시 예에 따른 컴퓨팅 시스템의 구성을 나타내는 블록도이다.
본 명세서 또는 출원에 개시되어 있는 본 발명의 개념에 따른 실시 예들에 대해서 특정한 구조적 내지 기능적 설명들은 단지 본 발명의 개념에 따른 실시 예를 설명하기 위한 목적으로 예시된 것으로, 본 발명의 개념에 따른 실시 예들은 다양한 형태로 실시될 수 있으며 본 명세서 또는 출원에 설명된 실시 예들에 한정되는 것으로 해석되어서는 아니 된다.
이하에서, 본 발명이 속하는 기술분야에서 통상의 지식을 가진 자가 본 발명의 기술적 사상을 용이하게 실시할 수 있을 정도로 상세히 설명하기 위하여, 본 발명의 실시 예를 첨부된 도면을 참조하여 설명하기로 한다.
도 1은 본 발명의 일 실시 예에 따른 반도체 메모리 장치를 나타내는 블록도이다.
도 1을 참조하면, 반도체 메모리 장치(10)는 주변회로(PC: peripheral circuit) 및 메모리 셀 어레이(20)를 포함한다.
주변회로(PC)는 메모리 셀 어레이(20)에 데이터를 저장하기 위한 프로그램 동작(program operation), 메모리 셀 어레이(20)에 저장된 데이터를 출력하기 위한 리드 동작(read operation), 메모리 셀 어레이(20)에 저장된 데이터를 소거하기 위한 소거 동작(erase operation)을 제어하도록 구성될 수 있다.
일 실시 예로서, 주변회로(PC)는 전압생성부(Voltage Generator: 31), 로우디코더(Row decoder: 33), 제어회로(Control circuit: 35), 및 페이지 버퍼 그룹(Page Buffer Group: 37)을 포함할 수 있다.
메모리 셀 어레이(20)는 다수의 메모리 블록들을 포함할 수 있다. 메모리 셀 어레이(20)는 워드라인들(WL)을 통해 로우디코더(33)에 연결될 수 있고, 비트라인들(BL)을 통해 페이지 버퍼 그룹(37)에 연결될 수 있다.
제어회로(35)은 커맨드(CMD) 및 어드레스(ADD)에 응답하여 주변회로(PC)를 제어할 수 있다.
전압생성부(31)는 제어회로(35)의 제어에 응답하여 프로그램 동작, 리드 동작 및 소거 동작에 사용되는 프리 소거전압, 소거전압, 접지전압, 프로그램 전압, 검증전압, 패스전압, 리드전압 등의 다양한 동작 전압들을 생성할 수 있다.
로우디코더(33)는 제어회로(35)의 제어에 응답하여 메모리 블록을 선택할 수 있다. 로우디코더(33)는 선택된 메모리 블록에 연결된 워드라인들(WL)에 동작 전압들을 인가하도록 구성될 수 있다.
페이지 버퍼 그룹(37)은 비트라인들(BL)을 통해 메모리 셀 어레이(20)에 연결될 수 있다. 페이지 버퍼 그룹(37)은 제어회로(35)의 제어에 응답하여 프로그램 동작시 입출력 회로(미도시)로부터 수신되는 데이터를 임시 저장할 수 있다. 페이지 버퍼 그룹(37)은 제어회로(35)의 제어에 응답하여 리드 동작 또는 검증 동작 시, 비트라인들(BL)의 전압 또는 전류를 센싱할 수 있다. 페이지 버퍼 그룹(37)은 제어회로(35)의 제어에 응답하여 비트라인들(BL)을 선택할 수 있다.
구조적으로, 메모리 셀 어레이(20)는 주변회로(PC)의 일부에 중첩될 수 있다.
도 2는 도 1의 메모리 셀 어레이를 설명하기 위한 회로도이다.
도 2를 참조하면, 메모리 셀 어레이(20)는 소스 라인(SL) 및 다수의 비트라인들(BL) 사이에 연결된 다수의 셀 스트링들(CS1, CS2)을 포함할 수 있다. 다수의 셀 스트링들(CS1, CS2)은 다수의 워드라인들(WL1 내지 WLn)에 공통으로 연결될 수 있다.
다수의 셀 스트링들(CS1, CS2) 각각은 소스 라인(SL)에 연결된 적어도 하나의 소스 셀렉트 트랜지스터(SST), 비트라인(BL)에 연결된 적어도 하나의 드레인 셀렉트 트랜지스터(DST), 및 소스 셀렉트 트랜지스터(SST)와 드레인 셀렉트 트랜지스터(DST) 사이에 직렬로 연결된 다수의 메모리 셀들(MC1 내지 MCn)을 포함할 수 있다.
다수의 메모리 셀들(MC1 내지 MCn)의 게이트들은 서로 이격되어 적층된 다수의 워드라인들(WL1 내지 WLn)에 각각 연결될 수 있다. 다수의 워드라인들(WL1 내지 WLn)은 소스 셀렉트 라인(SSL)과 2개 이상의 드레인 셀렉트 라인들(DSL1, DSL2) 사이에 배치될 수 있다. 2개 이상의 드레인 셀렉트 라인들(DSL1, DSL2)은 동일레벨에서 서로 이격될 수 있다.
소스 셀렉트 트랜지스터(SST)의 게이트는 소스 셀렉트 라인(SSL)에 연결될 수 있다. 드레인 셀렉트 트랜지스터(DST)의 게이트는 드레인 셀렉트 트랜지스터(DST)의 게이트에 대응하는 드레인 셀렉트 라인에 연결될 수 있다.
소스 라인(SL)은 소스 셀렉트 트랜지스터(SST)의 소스에 연결될 수 있다. 드레인 셀렉트 트랜지스터(DST)의 드레인은 드레인 셀렉트 트랜지스터(DST)의 드레인에 대응하는 비트라인에 연결될 수 있다.
다수의 셀 스트링들(CS1, CS2)은 2개 이상의 드레인 셀렉트 라인들(DSL1, DSL2)에 각각 연결된 스트링 그룹들로 구분될 수 있다. 동일한 워드라인 및 동일한 비트라인에 연결된 셀 스트링들은 서로 다른 드레인 셀렉트 라인들에 의해 독립적으로 제어될 수 있다. 또한, 동일한 드레인 셀렉트 라인에 연결된 셀 스트링들은 서로 다른 비트라인들에 의해 독립적으로 제어될 수 있다.
일 실시 예로서, 2개 이상의 드레인 셀렉트 라인들(DSL1, DSL2)은 제1 드레인 셀렉트 라인(DSL1) 및 제2 드레인 셀렉트 라인(DSL2)을 포함할 수 있다. 다수의 셀 스트링들(CS1, CS2)은 제1 드레인 셀렉트 라인(DSL1)에 연결된 제1 스트링 그룹의 제1 셀 스트링(CS1) 및 제2 드레인 셀렉트 라인(DSL2)에 연결된 제2 스트링 그룹의 제2 셀 스트링(CS2)을 포함할 수 있다.
도 3a 및 도 3b는 본 발명의 실시 예들에 따른 반도체 메모리 장치들을 개략적으로 나타내는 사시도들이다.
도 3a 및 도 3b를 참조하면, 반도체 메모리 장치들(10A, 10B) 각각은 기판(SUB) 상에 배치된 주변회로(PC) 및 주변회로(PC)에 중첩된 게이트 적층체들(GST)을 포함할 수 있다.
게이트 적층체들(GST) 각각은 소스 셀렉트 라인(SSL), 다수의 워드라인들(WL1 내지 WLn) 및 제1 슬릿(S1)에 의해 동일레벨에서 서로 분리된 2개 이상의 드레인 셀렉트 라인들(DSL1, DSL2)을 포함할 수 있다.
소스 셀렉트 라인(SSL) 및 다수의 워드라인들(WL1 내지 WLn)은 제1 방향(X) 및 제2 방향(Y)으로 확장되고, 기판(SUB)의 상면에 나란한 평판형으로 형성될 수 있다. 제1 방향(X)은 XYZ좌표계의 X축이 향하는 방향일 수 있고, 제2 방향(Y)은 XYZ좌표계의 Y축이 향하는 방향일 수 있다.
다수의 워드라인들(WL1 내지 WLn)은 제3 방향(Z)으로 서로 이격되어 적층될 수 있다. 제3 방향(Z)은 XYZ좌표계의 Z축이 향하는 방향일 수 있다. 다수의 워드라인들(WL1 내지 WLn)은 2개 이상의 드레인 셀렉트 라인들(DSL1, DSL2)과 소스 셀렉트 라인(SSL) 사이에 배치될 수 있다.
게이트 적층체들(GST)은 제2 슬릿(S2)에 의해 서로 분리될 수 있다. 제1 슬릿(S1)은 제2 슬릿(S2)보다 제3 방향(Z)으로 짧게 형성되고, 다수의 워드라인들(WL1 내지 WLn)에 중첩될 수 있다.
제1 슬릿(S1) 및 제2 슬릿(S2) 각각은 직선형으로 연장되거나, 지그재그형으로 연장되거나, 웨이브 형으로 연장될 수 있다. 제1 슬릿(S1) 및 제2 슬릿(S2) 각각의 폭은 디자인 룰에 따라 다양하게 변경될 수 있다.
도 3a를 참조하면, 일 실시 예에 따른 소스 셀렉트 라인(SSL)은 2개 이상의 드레인 셀렉트 라인들(DSL1, DSL2)보다 주변회로(PC)에 더 가깝게 배치될 수 있다.
반도체 메모리 장치(10A)는 게이트 적층체들(GST)과 주변회로(PC) 사이에 배치된 소스 라인(SL) 및 소스 라인(SL)보다 주변회로(PC)로부터 더 멀리 이격된 다수의 비트라인들(BL)을 포함할 수 있다. 게이트 적층체들(GST)은 다수의 비트라인들(BL)과 소스 라인(SL) 사이에 배치될 수 있다.
도 3b를 참조하면, 일 실시 예에 따른 2개 이상의 드레인 셀렉트 라인들(DSL1, DSL2)은 소스 셀렉트 라인(SSL) 보다 주변회로(PC)에 더 가깝게 배치될 수 있다.
반도체 메모리 장치(10B)는 게이트 적층체들(GST)과 주변회로(PC) 사이에 배치된 다수의 비트라인들(BL) 및 다수의 비트라인들(BL) 보다 주변회로(PC)로부터 더 멀리 이격된 소스 라인(SL)을 포함할 수 있다. 게이트 적층체들(GST)은 다수의 비트라인들(BL)과 소스 라인(SL) 사이에 배치될 수 있다.
다시, 도 3a 및 도 3b를 참조하면, 다수의 비트라인들(BL)은 다양한 도전물로 형성될 수 있다. 소스 라인(SL)은 도프트 반도체막을 포함할 수 있다. 일 실시 예로서, 소스 라인(SL)은 n형 도프트 실리콘막을 포함할 수 있다.
도면에 도시되진 않았으나, 주변회로(PC)는 다양한 구조의 인터커넥션들을 통해 다수의 비트라인들(BL), 소스 라인(SL), 및 다수의 워드라인들(WL1 내지 WLn)에 전기적으로 연결될 수 있다.
도 4는 본 발명의 일 실시 예에 따른 반도체 메모리 장치의 메모리 셀 어레이의 일부를 나타내는 사시도이다.
도 4를 참조하면, 메모리 셀 어레이(20)는 슬릿(SI)에 의해 서로 분리된 게이트 적층체들(GST), 게이트 적층체들(GST) 각각을 관통하는 채널구조체들(CH)을 포함할 수 있다.
슬릿(SI)은 수직구조(VS)로 채워질 수 있다. 일 실시 예로서, 수직구조(VS)는 절연물을 포함할 수 있다.
게이트 적층체들(GST) 각각은 일방향으로 교대로 적층된 층간 절연막들(ILD) 및 게이트 전극들(GA)을 포함할 수 있다. 이하, 층간 절연막들(ILD) 및 게이트 전극들(GA)이 교대로 적층되는 방향을 적층방향으로 명명한다.
게이트 전극들(GA)은 도프트 반도체, 금속, 금속 실리사이드 또는 금속 질화막 중 적어도 어느 하나를 포함할 수 있다. 게이트 전극들(GA)은 메모리 셀의 게이트 전극 또는 셀렉트 트랜지스터의 게이트 전극으로 이용될 수 있다.
채널구조체(CH)는 상기 적층방향으로 연장되고, 게이트 전극들(GA)로 둘러싸일 수 있다.
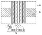
도 5는 도 4에 도시된 X영역을 확대하여 나타낸 단면도이다.
도 5를 참조하면, 채널구조체(CH)는 수직 방향으로 연장되는 보상 전하 저장막(111), 블로킹 절연막(113), 전하 저장막(115), 방출 방지막(117), 터널 절연막(119), 채널막(121)을 포함하여 구성될 수 있다.
채널막(121)은 셀 스트링의 채널영역으로서 이용될 수 있다. 채널막(121)은 반도체막을 포함할 수 있다. 일 실시 예로서, 채널막(121)은 실리콘을 포함할 수 있다.
터널 절연막(119)은 채널막(121)의 측벽을 감쌀 수 있다. 터널 절연막(119)은 전하 터널링이 가능한 실리콘 산화막으로 형성될 수 있다.
방출 방지막(117)은 터널 절연막(119)의 측벽을 감쌀 수 있다. 방출 방지막(117)은 퀀텀 닷 단층막(Quantum dot monolayer)으로 형성될 수 있다. 방출 방지막(117)은 전하 저장막(115)에서 디트랩된 전하들을 트랩할 수 있다.
전하 저장막(115)은 방출 방지막(117)의 측벽을 감쌀 수 있다. 전하 저장막(115)은 파울러 노드 하임 터널링을 이용하여 변경되는 데이터를 저장할 수 있는 물질막으로 형성될 수 있다. 일 실시 예로서, 전하 저장막(115)은 전하 트랩 질화막으로 형성될 수 있다.
블로킹 절연막(113)은 전하 저장막(115)의 측벽을 감쌀 수 있다. 블로킹 절연막(113)은 전하 차단이 가능한 산화막을 포함할 수 있다.
보상 전하 저장막(111)은 블로킹 절연막(113)의 측벽을 감쌀 수 있다. 보상 전하 저장막(111)은 게이트 전극(GA)으로부터 유입되는 전하들을 트랩할 수 있다. 보상 전하 저장막(111)은 다중층으로 형성될 수 있다. 일 실시 예로서, 보상 전하 저장막(111)은 블로킹 절연막(113)의 측벽을 감싸는 제1 막(109) 및 제1 막(109)의 측벽을 감싸는 제2 막(107)으로 구성될 수 있다. 제1 막(109)은 트랩이 없는 영역이며, 제2 막(107)은 트랩이 존재하는 영역일 수 있다. 보상 전하 저장막(111)은 일 실시 예로서, Al2O3,HfO, ZrO, Ta2O3, HfTaxOy, LaHfO, 및 HfSiO와 같은 High-K 물질로 형성될 수 있다.
채널구조체(CH)는 채널막(121)의 내부에서 수직방향으로 연장되는 코어 절연막(123)을 더 포함하여 구성될 수 있다.
상술한 본원 발명의 실시 예에 따르면, 메모리 셀은 채널막(121), 채널막(121) 상에 순차적으로 적층된 터널 절연막(119), 방출 방지막(117), 전하 저장막(115), 블로킹 절연막(113), 보상 전하 저장막(111)을 포함하여 구성될 수 있다. 예를 들어 하나의 게이트 전극(GA)의 측벽 영역에 형성된 채널막(121), 터널 절연막(119), 방출 방지막(117), 전하 저장막(115), 블로킹 절연막(113), 보상 전하 저장막(111)은 하나의 메모리 셀에 포함되는 구성 요소이다.
도 4 및 도 5에 도시된 반도체 메모리 장치는 도 3a에 도시된 반도체 메모리 장치(10A)에 적용될 수 있다. 도 4 및 도 5에 도시된 반도체 메모리 장치는 상하 반전되어 도 3b에 도시된 반도체 메모리 장치(10B)에 적용될 수 있다.
도 6a 내지 도 6d는 본 발명의 일 실시 예에 따른 메모리 셀 어레이의 제조방법을 나타내는 단면도들이다.
도 6a를 참조하면, 층간 절연막들(101) 및 희생막들(103)이 교대로 적층된 적층체(ST)를 형성할 수 있다. 적층체(ST)는 주변회로를 포함하는 기판(미도시) 상에 형성될 수 있다.
희생막들(103)은 층간 절연막들(101)과 다른 물질로 형성될 수 있다. 예를 들어, 층간 절연막들(101)은 실리콘 산화막등의 산화물로 형성될 수 있다. 희생막들(103)은 층간 절연막들(101)과 식각률이 다른 물질로 형성될 수 있다. 예를 들어, 희생막들(103)은 실리콘 질화막등의 질화물로 형성될 수 있다.
도 6b를 참조하면, 적층체(ST)를 관통하는 홀들(105)을 형성한다. 이 후, 홀들(105)의 측벽에 보상 전하 저장막(111), 블로킹 절연막(113), 전하 저장막(115), 방출 방지막(117), 터널 절연막(119), 채널막(121)을 순차적으로 형성할 수 있다.
일 실시 예로서, 보상 전하 저장막(111)은 보상 전하 저장막(111)은 다중층으로 형성될 수 있다. 예를 들어, 보상 전하 저장막(111)은 홀(105)의 측벽에 형성되는 제2 막(107)과 제2 막(107)의 측벽에 형성되는 제1 막(109)을 포함하여 형성될 수 있다. 제1 막(109)은 트랩이 없는 영역이며, 제2 막(107)은 트랩이 존재하는 영역일 수 있다. 제1 막(109) 및 제2 막(107)은 Al2O3으로 형성될 수 있으며, 제2 막(107) 형성 공정 시 Al 와 O의 조성비를 조절하여 산화-환원 메커니즘(Redox mechanism)으로 트랩이 형성되도록 한다. 보상 전하 저장막(111)은 Al2O3,HfO, ZrO, Ta2O3, HfTaxOy, LaHfO, HfSiO와 같은 High-K 물질로 형성될 수 있다. 예를 들어, 보상 전하 저장막(111)은 Al2O3,HfO, ZrO, Ta2O3, HfTaxOy, LaHfO, HfSiO 중 적어도 어느 하나의 막을 포함하여 형성될 수 있다.
전하 저장막(115)은 전하 트랩막으로 형성되거나, 도전성 나노닷을 포함하는 물질막으로 형성되거나, 상변화 물질막으로 형성될 수 있다. 예를 들어, 전하 저장막(115)은 파울러 노드 하임 터널링(Fowler-Nordheim tunneling)을 이용하여 변경되는 데이터를 저장할 수 있다. 이를 위해, 전하 저장막(115)은 전하 트랩이 가능한 실리콘 질화막으로 형성될 수 있다.
방출 방지막(117)은 퀀텀 닷 단층막(Quantum dot monolayer)으로 형성될 수 있다. 방출 방지막(117)은 전하 저장막(115)에서 디트랩된 전하를 트랩할 수 있다. 방출 방지막(117)은 금속 실리사이드막으로 형성할 수 있다. 예를 들어, 3nm 이하의 텅스텐 박막 및 2nm 이하의 실리콘 박막을 전하 저장막(115)의 측벽에 순차적으로 증착한 후, 700oC 이상의 급속 열처리 공정(RTA)을 수행하여 형성할 수 있다. 이때 방출 방지막(117)의 퀀텀 닷 밀도와 크기는 텅스텐의 그레인 사이즈 및 실리콘과의 반응 정도에 따라 조절 가능하다. 다른 실시 예로서, 텅스텐 실리사이드(WSi2)막을 전하 저장막(115)의 측벽에 CVD 또는 ALD 방식으로 증착한 후, 700oC 이상의 급속 열처리 공정(RTA)을 수행하여 형성할 수 있다.
다른 실시 예로서, 방출 방지막(117)은 실리콘막으로 형성할 수 있다. 예를 들어, 10nm 이하의 SiO2층 또는 Si가 다량 함유된 SiO2층 또는 SiON층을 형성한 후, N2 분위기에서 700oC 이상의 급속 열처리 공정(RTA)을 수행하여 2~5nm 크기의 불균일한 Si 퀀텀 닷층을 형성할 수 있다.
터널 절연막(119)은 전하 터널링이 가능한 실리콘 산화막으로 형성될 수 있다. 채널막(121)은 반도체막을 포함할 수 있다. 일 실시 예로서, 채널막(121)은 실리콘을 포함할 수 있다. 홀들(105)의 중심 영역이 채널막(121)에 의해 개구된 경우, 홀들(105)의 중심 영역을 코어 절연막(123)으로 채울 수 있다.
이에 따라, 보상 전하 저장막(111), 블로킹 절연막(113), 전하 저장막(115), 방출 방지막(117), 터널 절연막(119), 채널막(121) 및 코어 절연막(123)을 포함하는 채널구조(125)가 적층체(ST)를 관통하여 형성된다.
도 6c를 참조하면, 적층체(ST)를 관통하는 슬릿(SI)을 형성할 수 있다. 슬릿(SI)에 의해 도 6b에 도시된 희생막들(103)의 측벽이 노출될 수 있다. 이 후, 슬릿(SI)을 통해 도 6b에 도시된 희생막들(103)을 제거할 수 있다. 이로써, 보상 전하 저장막(111)의 측부를 노출하는 개구부들이 형성될 수 있다. 개구부들은 층간 절연막들(101) 사이에 정의될 수 있다.
도 6d를 참조하면, 희생막들이 제거된 공간, 즉 개구부들에 게이트 전극들(127)을 채울 수 있다. 예를 들어, 개구부들이 채워지도록 도전물을 증착한 후 슬릿에 의해 도전물이 게이트 전극들(127)로 분리되도록 슬릿 내부의 도전물을 제거할 수 있다. 이 후, 슬릿을 절연물질로 채워 수직구조(129)를 형성한다.
도 7은 본 발명의 실시 예에 따른 메모리 셀의 에너지 밴드 갭 다이어그램이다.
상술한 도 5에 도시된 채널막(121), 터널 절연막(119), 방출 방지막(117), 전하 저장막(115), 블로킹 절연막(113), 보상 전하 저장막(111)은 하나의 메모리 셀로써 동작한다.
프로그램 동작 시 메모리 셀의 게이트에 높은 전위 레벨의 프로그램 전압이 인가되면, 채널막(121) 내의 전하들이 터널 절연막(119)을 터널링하여 전하 저장막(115) 내에 트랩된다. 전하 저장막(115) 내에 트랩된 전하들 중 일부 전하들은 프로그램 전압 인가 동작이 완료된 후 짧은 시간 내에 디트랩될 수 있다.
방출 방지막(117)은 전하 저장막(115) 내에서 디트랩된 일부 전하들을 다시 트랩하여 외부로 방출(emission)되는 것을 억제한다. 이로 인하여 메모리 셀의 문턱 전압이 균일하게 유지될 수 있다.
보상 전하 저장막의 제2 막(107) 내부에는 트랩 사이트가 존재하며, 트랩 사이트는 제2 막(107)의 발란스 밴드 가장 자리 부분에 형성될 수 있다. 프로그램 전압 인가 동작 시에는 제2 막(107)의 트랩 사이트가 비워지게 된다. 이 후, 프로그램 전압 인가 동작 외에는 게이트 전극으로부터 전하들이 유입되어 트랩될 수 있다. 이로 인하여 전하 저장막(115) 내에 트랩된 전하들 중 일부 전하들이 외부로 방출되어도 제2 막(107)에 트랩된 전하들에 의해 메모리 셀의 문턱 전압이 일정하게 유지될 수 있다.
도 8은 본 발명의 실시 예에 따른 반도체 메모리 장치의 동작 방법을 설명하기 위한 순서도이다.
도 9는 본 발명의 실시 예에 따른 반도체 메모리 장치의 동작 방법을 설명하기 위한 전압들의 파형도이다.
도 1, 도 2, 도 4, 도 5, 도 7 내지 도 9를 참조하여, 본 발명의 실시 예에 따른 반도체 메모리 장치의 동작 방법을 설명하면 다음과 같다.
단계 S810에서, 반도체 메모리 장치(10)의 제어회로(35)는 외부로부터 프로그램 동작에 대응하는 커맨드, 즉 프로그램 커맨드(CMD) 및 어드레스(ADD)를 수신하고, 주변회로(PC)는 프로그램 커맨드(CMD) 및 어드레스(ADD)에 응답하여 프로그램 동작을 수행한다.
프로그램 동작 구간(PGM)은 교차적으로 수행되는 프로그램 전압 인가 동작과 검증 동작을 포함할 수 있다.
프로그램 전압 인가 동작 시 페이지 버퍼 그룹(37)은 프로그램할 데이터에 따라 비트라인들(BLs)에 프로그램 허용 전압(예를 들어 0V) 또는 프로그램 금지 전압(예를 들어 전원 전압)을 인가한다.
전압생성부(31)는 제어회로(35)의 제어에 응답하여 프로그램 전압(Vpgm) 및 패스 전압을 생성하고, 로우디코더(33)는 전압생성부(31)에서 생성된 프로그램 전압(Vpgm)을 선택된 워드라인(Sel WL)에 인가한다. 이때, 로우디코더(33)는 비선택된 워드라인들에 패스 전압을 인가한다. 이로 인하여 선택된 워드라인(Sel WL)에 연결된 메모리 셀들의 전하 저장막(115)에는 전하들이 트랩된다.
검증 동작 시 전압생성부(31)는 제어회로(35)의 제어에 응답하여 적어도 하나 이상의 검증 전압(Vverify)을 생성하고, 로우디코더(33)는 전압생성부(31)에서 생성된 검증 전압(Vverify)을 선택된 워드라인(Sel WL)에 인가한다. 이때, 로우디코더(33)는 비선택된 워드라인들에 패스 전압을 인가한다.
페이지 버퍼 그룹(37)은 비트라인들(BLs)의 전위 레벨 또는 전류량을 센싱하고, 센싱 결과에 따라 비트라인들(BLs)에 프로그램 허용 전압(예를 들어 0V) 또는 프로그램 금지 전압(예를 들어 전원 전압)을 인가한다.
단계 S820에서, 반도체 메모리 장치(10)는 외부로부터 서스펜드 커맨드(SUSPEND CMD)가 수신될 수 있다. 주변회로(PC)는 서스펜드 커맨드(SUSPEND CMD)에 응답하여 현재 수행중인 동작 즉, 프로그램 동작을 중단한다. 이로 인하여 주변회로(PC)는 선택된 워드라인(Sel WL)에 인가되던 프로그램 전압(Vpgm) 또는 검증 전압(Vverify)을 차단하고, 선택된 워드라인(Sel WL)을 그라운드 레벨로 제어할 수 있다. 이로 인하여 메모리 셀의 보상 전하 저장막(111)에 전하들이 트랩될 수 있다.
서스펜드 커맨드(SUSPEND CMD)는 긴급 동작의 수행이 필요할 경우, 외부에서 수신될 수 있다. 예를 들어, 긴급 리드 동작의 수행이 필요할 경우 현재 수행중인 프로그램 동작을 중단시키기 위하여 서스펜드 커맨드(SUSPEND CMD)가 수신되고, 이 후, 긴급 동작에 대응하는 커맨드를 수신할 수 있다.
단계 S830에서, 반도체 메모리 장치(10)는 외부로부터 서스펜드 커맨드(SUSPEND CMD)가 수신될 수 있다. 프로그램 동작이 중단된 서스펜드 동작 구간(SUSPEND)에서 주변회로(PC)는 비트라인들(BLs) 또는 소스 라인(SL) 또는 비트라인들(BLs) 및 소스 라인(SL)에 양의 전압(Vposi)을 인가할 수 있다. 이로 인하여 메모리 셀들의 채널막(121)의 전위 레벨이 상승하게 되고, 이에 따라 전하 저장막(115)에 트랩된 전하들이 외부로 방출되는 것이 억제된다.
또한 메모리 셀의 방출 방지막(117)은 서스펜드 동작 구간(SUSPEND)에서 전하 저장막(115)에서 디트랩된 전하들을 트랩할 수 있다. 이로 인하여 메모리 셀의 문턱 전압이 하향되는 것이 방지된다.
단계 S840에서, 반도체 메모리 장치(10)는 외부로부터 리쥼 커맨드(RESUME CMD)가 수신될 수 있다. 리쥼 커맨드(RESUME CMD)는 서스펜드 동작 구간(SUSPEND)을 종료시키고 중단된 프로그램 동작을 재수행시키기 위한 커맨드이다. 주변회로(PC)는 리쥼 커맨드(RESUME CMD)에 응답하여 중단된 프로그램 동작을 재수행한다.
주변회로(PC)는 선택된 워드라인(Sel WL)에 연결된 메모리 셀들의 문턱 전압을 판단하기 위하여 리드 동작을 수행한다. 예를 들어, 전압생성부(31)는 제어회로(35)의 제어에 응답하여 적어도 하나 이상의 리드 전압(Vread)을 생성하고, 로우디코더(33)는 전압생성부(31)에서 생성된 리드 전압(Vread)을 선택된 워드라인(Sel WL)에 인가한다. 이때, 로우디코더(33)는 비선택된 워드라인들에 패스 전압을 인가한다.
페이지 버퍼 그룹(37)은 비트라인들(BLs)의 전위 레벨 또는 전류량을 센싱하고, 센싱 결과에 따라 메모리 셀들의 문턱 전압을 판단할 수 있다.
이 후, 주변회로(PC)는 상술한 프로그램 전압 인가 동작 및 검증 동작을 재수행할 수 있다.
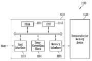
도 10은 본 발명의 일 실시 예에 따른 메모리 시스템(1100)의 구성을 나타내는 블록도이다.
도 10을 참조하면, 메모리 시스템(1100)은 반도체 메모리 장치(1120)와 메모리 컨트롤러(1110)를 포함한다.
반도체 메모리 장치(1120)는 복수의 층간 절연막들과 복수의 게이트 전극들이 교번적으로 적층된 적층 구조체를 관통하는 복수의 채널구조체를 포함한다. 복수의 채널구조체는 보상 전하 저장막, 블로킹 절연막, 전하 저장막, 디트랩 방지층, 터널 절연막, 채널막을 포함하여 구성될 수 있다. 반도체 메모리 장치(1120)는 도 4에 도시된 반도체 메모리 장치와 같이 구성될 수 있다.
반도체 메모리 장치(1120)는 복수의 플래시 메모리 칩들로 구성된 멀티-칩 패키지일 수 있다.
메모리 컨트롤러(1110)는 반도체 메모리 장치(1120)를 제어하도록 구성되며, SRAM(Static Random Access Memory)(1111), CPU(Central Processing Unit: 1112), 호스트 인터페이스(1113), 에러정정블록(Error Correction Block)(1114), 메모리 인터페이스(1115)를 포함할 수 있다. SRAM(1111)은 CPU(1112)의 동작 메모리로 사용되고, CPU(1112)는 메모리 컨트롤러(1110)의 데이터 교환을 위한 제반 제어 동작을 수행하고, 호스트 인터페이스(1113)는 메모리 시스템(1100)과 접속되는 호스트의 데이터 교환 프로토콜을 구비한다. 또한, 에러정정블록(1114)은 메모리 장치(1120)로부터 리드된 데이터에 포함된 에러를 검출 및 정정하고, 메모리 인터페이스(1115)는 메모리 장치(1120)와의 인터페이싱을 수행한다. 이 밖에도 메모리 컨트롤러(1110)는 호스트와의 인터페이싱을 위한 코드 데이터를 저장하는 ROM(Read Only Memory) 등을 더 포함할 수 있다.
도 11은 본 발명의 일 실시 예에 따른 컴퓨팅 시스템의 구성을 나타내는 블록도이다.
도 11을 참조하면, 본 발명의 실시 예에 따른 컴퓨팅 시스템(1200)은 시스템 버스(1260)에 전기적으로 연결된 CPU(1220), RAM(Random Access Memory: 1230), 유저 인터페이스(1240), 모뎀(1250), 메모리 시스템(1210)을 포함할 수 있다. 컴퓨팅 시스템(1200)은 모바일 장치일 수 있다.
메모리 시스템(1210)은 반도체 메모리 장치(1212) 및 메모리 컨트롤러(1211)로 구성될 수 있다. 반도체 메모리 장치(1212)는 복수의 층간 절연막들과 복수의 게이트 전극들이 교번적으로 적층된 적층 구조체를 관통하는 복수의 채널구조체를 포함한다. 복수의 채널구조체는 보상 전하 저장막, 블로킹 절연막, 전하 저장막, 디트랩 방지층, 터널 절연막, 채널막을 포함하여 구성될 수 있다. 반도체 메모리 장치(1212)는 도 4에 도시된 반도체 메모리 장치와 같이 구성될 수 있다.
본 발명의 상세한 설명에서는 구체적인 실시 예에 관하여 설명하였으나, 본 발명의 범위와 기술적 사상에서 벗어나지 않는 한도 내에서 여러 가지 변형이 가능하다. 그러므로 본 발명의 범위는 상술한 실시 예에 국한되어 정해져서는 안되며 후술하는 특허청구범위뿐만 아니라 이 발명의 특허청구범위와 균등한 것들에 의해 정해져야 한다.
10 : 반도체 메모리 장치
PC : 주변 회로
20 : 메모리 셀 어레이
31 : 전압생성부
33 : 로우디코더
35 : 제어회로
37 : 페이지 버퍼 그룹
111 : 보상 전하 저장막
113 : 블로킹 절연막
115 : 전하 저장막
117 : 방출 방지막
119 : 터널 절연막
121 : 채널막

Claims (20)

KR1020200107387A2020-08-252020-08-25반도체 메모리 장치, 이의 제조 방법 및 동작 방법ActiveKR102801919B1 (ko)

Priority Applications (5)

Application NumberPriority DateFiling DateTitle
KR1020200107387AKR102801919B1 (ko)2020-08-252020-08-25반도체 메모리 장치, 이의 제조 방법 및 동작 방법
US17/174,171US11462566B2 (en)2020-08-252021-02-11Semiconductor memory device and methods of manufacturing and operating the same
CN202110331767.2ACN114122117B (zh)2020-08-252021-03-29半导体存储器装置及其制造和操作方法
US17/898,932US11723206B2 (en)2020-08-252022-08-30Semiconductor memory device and methods of manufacturing and operating the same
US18/334,583US11943930B2 (en)2020-08-252023-06-14Semiconductor memory device and methods of manufacturing and operating the same

Applications Claiming Priority (1)

Application NumberPriority DateFiling DateTitle
KR1020200107387AKR102801919B1 (ko)2020-08-252020-08-25반도체 메모리 장치, 이의 제조 방법 및 동작 방법

Publications (2)

Publication NumberPublication Date
KR20220026413A KR20220026413A (ko)2022-03-04
KR102801919B1true KR102801919B1 (ko)2025-05-02

Family

ID=80357393

Family Applications (1)

Application NumberTitlePriority DateFiling Date
KR1020200107387AActiveKR102801919B1 (ko)2020-08-252020-08-25반도체 메모리 장치, 이의 제조 방법 및 동작 방법

Country Status (3)

CountryLink
US (3)US11462566B2 (ko)
KR (1)KR102801919B1 (ko)
CN (1)CN114122117B (ko)

Families Citing this family (2)

* Cited by examiner, † Cited by third party
Publication numberPriority datePublication dateAssigneeTitle
US9871046B2 (en)*2016-02-242018-01-16Taiwan Semiconductor Manufacturing Company, Ltd.SRAM circuits with aligned gate electrodes
CN113707667B (zh)*2021-08-022023-12-19中国科学院微电子研究所Nor型存储器件及其制造方法及包括存储器件的电子设备

Citations (1)

* Cited by examiner, † Cited by third party
Publication numberPriority datePublication dateAssigneeTitle
US20150236285A1 (en)2014-02-142015-08-20International Business Machines CorporationAmbipolar synaptic devices

Family Cites Families (24)

* Cited by examiner, † Cited by third party
Publication numberPriority datePublication dateAssigneeTitle
KR100408520B1 (ko)*2001-05-102003-12-06삼성전자주식회사게이트 전극과 단전자 저장 요소 사이에 양자점을구비하는 단전자 메모리 소자 및 그 제조 방법
US20060203541A1 (en)*2003-03-182006-09-14Haruki TodaPhase change memory device
WO2008087692A1 (ja)*2007-01-192008-07-24Hiroshima University半導体メモリ、それを用いた半導体メモリシステム、および半導体メモリに用いられる量子ドットの製造方法
WO2009118783A1 (ja)*2008-03-262009-10-01国立大学法人広島大学半導体メモリ、それを用いた半導体メモリシステム、および半導体メモリに用いられる量子ドットの製造方法
KR20100093350A (ko)2009-02-162010-08-25삼성전자주식회사반도체 소자 및 그 형성방법
KR20110120661A (ko)*2010-04-292011-11-04주식회사 하이닉스반도체비휘발성 메모리 장치 및 그의 제조 방법
KR20130037062A (ko)*2011-10-052013-04-15에스케이하이닉스 주식회사비휘발성 메모리 소자 및 캐패시터
US8890110B2 (en)*2012-06-192014-11-18SK Hynix Inc.Vertical memory device and method of fabricating the same
TW201419534A (zh)*2012-11-122014-05-16Nat Applied Res Laboratories記憶體元件及其製作方法
US9184217B2 (en)*2013-04-182015-11-10Kabushiki Kaisha ToshibaMemory device
KR20150135804A (ko)*2014-05-262015-12-04삼성전자주식회사가변 저항 메모리 장치 및 그 제조 방법
US9425207B2 (en)*2014-07-032016-08-23Kabushiki Kaisha ToshibaMemory device with different memory film diameters in the same laminate level
KR20160009299A (ko)2014-07-162016-01-26매크로닉스 인터내셔널 컴퍼니 리미티드전하를 저장하는 다중 전하 트래핑막들을 갖는 밴드갭 조절된 메모리
JP2016035991A (ja)*2014-08-042016-03-17株式会社東芝半導体記憶装置及びその製造方法
US10014317B2 (en)*2014-09-232018-07-03Haibing PengThree-dimensional non-volatile NOR-type flash memory
KR102005845B1 (ko)*2015-03-072019-08-01에스케이하이닉스 주식회사비휘발성 메모리 소자 및 이의 구동 방법
JP2016171280A (ja)*2015-03-162016-09-23株式会社東芝半導体記憶装置の製造方法
JP2017107938A (ja)*2015-12-082017-06-15株式会社東芝半導体装置およびその製造方法
US10211259B2 (en)*2016-06-232019-02-19Toshiba Memory CorporationSemiconductor memory device and method of manufacturing the same
KR102639697B1 (ko)2017-01-092024-02-21삼성전자주식회사비휘발성 메모리 장치 및 그 프로그램 방법
US10128265B2 (en)*2017-01-182018-11-13Micron Technology, Inc.Memory cells, integrated structures and memory arrays
US10482976B2 (en)*2017-06-292019-11-19SK Hynix Inc.Memory device performing UV-assisted erase operation
KR20220039045A (ko)*2020-09-212022-03-29에스케이하이닉스 주식회사반도체 장치 및 반도체 장치의 제조 방법
KR20220137438A (ko)*2021-04-022022-10-12삼성전자주식회사메모리 셀 스트링을 포함하는 수직형 비휘발성 메모리 장치

Patent Citations (1)

* Cited by examiner, † Cited by third party
Publication numberPriority datePublication dateAssigneeTitle
US20150236285A1 (en)2014-02-142015-08-20International Business Machines CorporationAmbipolar synaptic devices

Also Published As

Publication numberPublication date
US11943930B2 (en)2024-03-26
US11462566B2 (en)2022-10-04
US20220068960A1 (en)2022-03-03
US20230345725A1 (en)2023-10-26
CN114122117B (zh)2024-03-22
US11723206B2 (en)2023-08-08
US20220415921A1 (en)2022-12-29
KR20220026413A (ko)2022-03-04
CN114122117A (zh)2022-03-01

Similar Documents

PublicationPublication DateTitle
CN112054029B (zh)集成式结构、形成集成式结构的方法以及nand存储器阵列
JP5607297B2 (ja)不揮発性メモリのためのプログラム及び消去方法
US11943930B2 (en)Semiconductor memory device and methods of manufacturing and operating the same
KR20150083319A (ko)비휘발성 메모리 장치 및 그 형성방법
US20250318130A1 (en)Semiconductor memory device and method of manufacturing the same
US20250212408A1 (en)Semiconductor memory device and method of manufacturing the same
US11882703B2 (en)Semiconductor memory device with high electron mobility channels and method of manufacturing the same
US20220149065A1 (en)Memory device and manufacturing method of the memory device
US12245433B2 (en)Semiconductor memory device and method of manufacturing the same
US20250126793A1 (en)Semiconductor memory device and method of manufacturing the same
US12185541B2 (en)Semiconductor memory device of vertical channel structure and method of manufacturing the same
US20220367486A1 (en)Semiconductor memory device and method of manufacturing the same
US20230200067A1 (en)Semiconductor memory device and method of manufacturing the semiconductor memory device
KR20250076083A (ko)반도체 메모리 장치 및 이의 제조 방법
TW201807809A (zh)具有可交換閘極/通道之電晶體的記憶體元件與其製造方法
KR20250045695A (ko)반도체 장치, 이의 제조 방법 및 동작 방법

Legal Events

DateCodeTitleDescription
PA0109Patent application

Patent event code:PA01091R01D

Comment text:Patent Application

Patent event date:20200825

PG1501Laying open of application
A201Request for examination
PA0201Request for examination

Patent event code:PA02012R01D

Patent event date:20230821

Comment text:Request for Examination of Application

Patent event code:PA02011R01I

Patent event date:20200825

Comment text:Patent Application

E902Notification of reason for refusal
PE0902Notice of grounds for rejection

Comment text:Notification of reason for refusal

Patent event date:20240821

Patent event code:PE09021S01D

E701Decision to grant or registration of patent right
PE0701Decision of registration

Patent event code:PE07011S01D

Comment text:Decision to Grant Registration

Patent event date:20250421

PG1601Publication of registration

[8]ページ先頭

©2009-2025 Movatter.jp