

















본 발명은 검지 대상물로부터의 적외선을 검지하여, 검지 대상물의 온도를 측정하는 적외선 온도 센서 및 이 적외선 온도 센서를 이용한 장치에 관한 것이다.The present invention relates to an infrared temperature sensor that detects infrared rays from a detection object and measures the temperature of the detection object, and a device using this infrared temperature sensor.
종래, 예를 들면, 복사기의 정착 장치에 사용되는 가열 정착 롤러 등의 검지 대상물의 온도를 측정하는 온도 센서로서, 검지 대상물로부터의 적외선을 비접촉으로 검지하여 검지 대상물의 온도를 측정하는 적외선 온도 센서가 사용되고 있다.Conventionally, for example, an infrared temperature sensor measures the temperature of a detection object such as a heated fixing roller used in a fixing device of a copy machine, and measures the temperature of the detection object by non-contactly detecting infrared rays from the detection object. It is being used.
이러한 적외선 온도 센서는, 주위 온도의 변화를 보상하기 위해 적외선 검지용 감열 소자 외에 온도 보상용 감열 소자가 마련되어 있다.This infrared temperature sensor is provided with a thermal element for temperature compensation in addition to a thermal element for infrared detection to compensate for changes in ambient temperature.
그런데, 적외선 온도 센서의 응답성, 주위 온도의 변화에 따른 추종성이나 감도 등의 성능을 향상시키기 위해 다양한 제안이 이루어지고 있다.However, various proposals are being made to improve the performance of the infrared temperature sensor, such as responsiveness, tracking ability and sensitivity to changes in ambient temperature.
예를 들면, 적외선 검지용 감열 소자와 온도 보상용 감열 소자 사이에서 높은 온도차를 얻기 위해 적외선 반사막을 구비하는 것(특허 문헌 1 참조), 열원의 온도를 감도 있게 측정하기 위해 집열 패턴 등의 각종 패턴을 구비하는 것(특허 문헌 2 참조) 및 주위의 온도 변화를 추종하여 적외선 온도 센서의 온도 변화를 전체적으로 균일하게 하고자 하는 것(특허 문헌 3 참조)이 제안된 바 있다.For example, providing an infrared reflecting film to obtain a high temperature difference between the thermal element for infrared detection and the thermal element for temperature compensation (see Patent Document 1), and various patterns such as a heat collection pattern to sensitively measure the temperature of the heat source. It has been proposed to provide (see Patent Document 2) and to follow changes in surrounding temperature to make the overall temperature change of the infrared temperature sensor uniform (see Patent Document 3).
그러나, 상기와 같은 종래의 적외선 온도 센서에서는, 성능의 향상을 목표로 삼고는 있지만, 간단한 구성으로 성능의 향상을 도모할 수 있는 것이 아니다.However, although the conventional infrared temperature sensor described above aims to improve performance, it is not possible to improve performance with a simple configuration.
본 발명은 상기 과제를 감안하여 이루어진 것으로서, 성능의 향상을 도모할 수 있고, 신뢰성이 높은 적외선 온도 센서 및 이 적외선 온도 센서를 이용한 장치를 제공하는 것을 목적으로 한다.The present invention was made in view of the above problems, and its purpose is to provide an infrared temperature sensor capable of improving performance and having high reliability, and a device using the infrared temperature sensor.
청구항 1에 기재된 적외선 온도 센서는, 개구부를 가지며, 적외선을 안내하도록 형성된 도광부와, 차폐벽을 가지며, 적외선을 차폐하도록 형성된 차폐부를 구비하고, 상기 도광부 및 차폐부의 내측 둘레벽을 형성하는 구획벽을 갖는 본체와, 상기 본체의 상기 도광부 및 상기 차폐부에 대향하도록 설치된 기판과, 상기 기판 위에 배치되며, 상기 도광부에 대응하는 위치에 설치된 적외선 검지용 감열 소자와, 상기 기판 위에 상기 적외선 검지용 감열 소자와 이간되어 배치되며, 상기 차폐부에 대응하는 위치에 설치된 온도 보상용 감열 소자와, 상기 기판 위에 형성되며, 상기 적외선 검지용 감열 소자 및 온도 보상용 감열 소자를 연결함과 아울러 일부에 집열 패턴을 갖는 배선 패턴을 구비하는 것을 특징으로 한다.The infrared temperature sensor according to
적외선 온도 센서는 표면 실장형의 것에 바람직하게 사용되는데, 표면 실장형에 한정되는 것은 아니다. 또한, 기판에는 플렉시블 배선 기판이나 리지드(rigid, 경질) 배선 기판을 사용할 수 있다. 특정한 형식의 배선 기판에 한정되는 것은 아니다.The infrared temperature sensor is preferably of a surface mount type, but is not limited to the surface mount type. Additionally, a flexible wiring board or a rigid wiring board can be used as the board. It is not limited to a specific type of wiring board.
적외선 검지용 감열 소자 및 온도 보상용 감열 소자로는 세라믹스 반도체로 형성된 칩 서미스터가 바람직하게 사용되는데, 이에 한정되지 않으며, 열전대나 측온 저항체 등을 사용할 수 있다. A chip thermistor made of a ceramic semiconductor is preferably used as the thermal element for infrared detection and temperature compensation, but is not limited to this, and a thermocouple or a resistance thermometer can be used.
청구항 2에 기재된 적외선 온도 센서는, 청구항 1에 기재된 적외선 온도 센서에 있어서, 상기 개구부가 상기 본체의 표면으로부터 돌출되지 않음과 아울러, 상기 기판 위에 있어서의 적외선 검지용 감열 소자와 온도 보상용 감열 소자 간의 경계 부분에 대향하여, 상기 본체의 구획벽이 접촉되어 있는 것을 특징으로 한다.The infrared temperature sensor according to
청구항 3에 기재된 적외선 온도 센서는, 청구항 1 또는 청구항 3에 기재된 적외선 온도 센서에 있어서, 상기 구획벽이, 도광부 및 차폐부의 내측 둘레벽으로부터 상기 집열 패턴의 외형까지 일정 치수 이간되어 기판 위에 접촉되어 있는 것을 특징으로 한다.The infrared temperature sensor according to
청구항 4에 기재된 적외선 온도 센서는, 청구항 1 내지 청구항 3 중 어느 한 항에 기재된 적외선 온도 센서에 있어서, 상기 배선 패턴에 있어서, 적외선 검지용 감열 소자가 연결되는 배선 패턴과 온도 보상용 감열 소자가 연결되는 배선 패턴은 동일 패턴의 형태인 것을 특징으로 한다.The infrared temperature sensor according to
청구항 5에 기재된 적외선 온도 센서는, 청구항 1 내지 청구항 4 중 어느 한 항에 기재된 적외선 온도 센서에 있어서, 상기 집열 패턴은 미앤더(meander, 사행)형의 패턴으로 형성되어 있는 것을 특징으로 한다.The infrared temperature sensor according to
청구항 6에 기재된 적외선 온도 센서는, 청구항 1 내지 청구항 4 중 어느 한 항에 기재된 적외선 온도 센서에 있어서, 상기 집열 패턴에는 적어도 하나 이상의 개구가 형성되어 있는 것을 특징으로 한다.The infrared temperature sensor according to claim 6 is the infrared temperature sensor according to any one of
청구항 7에 기재된 적외선 온도 센서는, 청구항 1 내지 청구항 4 중 어느 한 항에 기재된 적외선 온도 센서에 있어서, 상기 집열 패턴은 대략 사각 형상의 개구가 복수 개 형성된 격자 무늬형의 패턴인 것을 특징으로 한다.The infrared temperature sensor according to claim 7 is characterized in that, in the infrared temperature sensor according to any one of
청구항 8에 기재된 적외선 온도 센서는, 청구항 1 내지 청구항 4 중 어느 한 항에 기재된 적외선 온도 센서에 있어서, 상기 집열 패턴은 대략 원 형상의 개구가 복수 개 형성된 물방울 무늬형의 패턴인 것을 특징으로 한다.The infrared temperature sensor according to
청구항 9에 기재된 적외선 온도 센서는, 청구항 6 내지 청구항 8 중 어느 한 항에 기재된 적외선 온도 센서에 있어서, 상기 집열 패턴에 있어서, 도체가 형성되어 있는 부분에 대한 도체가 형성되어 있지 않은 부분의 비율이 20 내지 80%인 것을 특징으로 한다.The infrared temperature sensor according to
청구항 10에 기재된 적외선 온도 센서는, 청구항 1 내지 청구항 9 중 어느 한 항에 기재된 적외선 온도 센서에 있어서, 상기 집열 패턴에 있어서, 도체막이 산화 처리되어 있는 것을 특징으로 한다.The infrared temperature sensor according to
집열 패턴의 도체막을 산화 처리함으로써 적외선을 흡수할 수 있고, 적외선의 수광 에너지가 커진다.By oxidizing the conductor film of the heat collection pattern, infrared rays can be absorbed, and the received energy of infrared rays increases.
청구항 11에 기재된 적외선 온도 센서를 이용한 장치는, 청구항 1 내지 청구항 10 중 어느 한 항에 기재된 적외선 온도 센서가 구비되어 있는 것을 특징으로 한다.A device using an infrared temperature sensor according to
적외선 온도 센서는, 예를 들면, 복사기의 정착 장치, 배터리 유닛, 콘덴서, IH 쿠킹 히터, 냉장고의 고내 물품 등의 온도 검지를 위해 각종 장치에 구비되어 적용할 수 있다. 특별히 적용되는 장치가 한정되는 것은 아니다.The infrared temperature sensor can be provided and applied to various devices to detect the temperature of, for example, a fixing device of a copier, a battery unit, a condenser, an IH cooking heater, and items inside a refrigerator. There is no particular limitation to applicable devices.
본 발명에 따르면, 성능의 향상을 도모할 수 있고, 신뢰성이 높은 적외선 온도 센서 및 이 적외선 온도 센서를 이용한 장치를 제공할 수 있다.According to the present invention, it is possible to provide an infrared temperature sensor with improved performance and high reliability, and a device using the infrared temperature sensor.
도 1은 본 발명의 제1 실시 형태에 따른 적외선 온도 센서를 도시한 사시도이다.
도 2는 상기 적외선 온도 센서를 도시한 평면도이다.
도 3은 상기 적외선 온도 센서를 도시한 후면도이다.
도 4는 도 2 중 A-A선을 따른 단면도이다.
도 5는 도 2 중 B-B선을 따른 단면도이다.
도 6은 도 2 중 C-C선을 따른 단면도이다.
도 7은 도 6 중 X-X선을 따른 본체의 단면도이다.
도 8은 도 8(a)는 본체의 후면측에 덮개 부재를 마련한 것으로서, 도 5에 해당하는 단면도, (b)는 덮개 부재를 도시한 사시도이다(변형예 1).
도 9는 외부와의 통기를 허용하는 통기부를 마련한 것으로서, 도 6에 해당하는 단면도이다(변형예 2).
도 10은 배선 패턴을 도시한 평면도이다(변형예 3).
도 11은 본 발명의 제2 실시 형태에 따른 적외선 온도 센서를 분해하여 도시한 사시도이다.
도 12는 상기 적외선 온도 센서를 분해하여 후면측에서 보아 도시한 사시도이다.
도 13은 상기 적외선 온도 센서를 도시한 평면도이다.
도 14는 상기 적외선 온도 센서를 도시하며, 도 6에 해당하는 단면도이다.
도 15는 도 14 중 X-X선을 따른 본체의 단면도이다.
도 16은 접착 시트를 도시한 평면도이다.
도 17은 배선 패턴을 도시한 평면도이다.
도 18은 마찬가지로 배선 패턴을 도시한 평면도이다.Figure 1 is a perspective view showing an infrared temperature sensor according to a first embodiment of the present invention.
Figure 2 is a plan view showing the infrared temperature sensor.
Figure 3 is a rear view showing the infrared temperature sensor.
Figure 4 is a cross-sectional view taken along line AA in Figure 2.
Figure 5 is a cross-sectional view taken along line BB in Figure 2.
Figure 6 is a cross-sectional view taken along line CC in Figure 2.
Figure 7 is a cross-sectional view of the main body along line XX in Figure 6.
Figure 8 (a) is a cross-sectional view corresponding to Figure 5, showing a cover member provided on the rear side of the main body, and (b) is a perspective view showing the cover member (modification 1).
Figure 9 is a cross-sectional view corresponding to Figure 6, showing a ventilation portion that allows ventilation with the outside (modification example 2).
Figure 10 is a plan view showing a wiring pattern (modification example 3).
Figure 11 is an exploded perspective view of an infrared temperature sensor according to a second embodiment of the present invention.
Figure 12 is a perspective view of the infrared temperature sensor disassembled and viewed from the rear side.
Figure 13 is a plan view showing the infrared temperature sensor.
Figure 14 shows the infrared temperature sensor and is a cross-sectional view corresponding to Figure 6.
Figure 15 is a cross-sectional view of the main body along line XX in Figure 14.
Figure 16 is a plan view showing the adhesive sheet.
Figure 17 is a plan view showing a wiring pattern.
Figure 18 is a plan view similarly showing a wiring pattern.
이하, 본 발명의 제1 실시 형태에 따른 적외선 온도 센서에 대해 도 1 내지 도 10을 참조하여 설명하기로 한다. 도 1은 적외선 온도 센서를 도시한 사시도, 도 2는 적외선 온도 센서를 도시한 평면도, 도 3은 적외선 온도 센서를 도시한 후면도이다. 도 4는 도 2 중 A-A선을 따른 단면도, 도 5는 도 2 중 B-B선을 따른 단면도, 도 6은 도 2 중 C-C선을 따른 단면도이다. 또한, 도 7은 도 6 중 X-X선을 따른 본체의 단면도이다. 나아가, 도 8(a), 도 8(b) 내지 도 10은 변형예를 도시하고 있다. 또한, 각 도면에서 동일 또는 해당 부분에는 동일 부호를 붙이고 중복되는 설명은 생략하기로 한다.Hereinafter, an infrared temperature sensor according to the first embodiment of the present invention will be described with reference to FIGS. 1 to 10. Figure 1 is a perspective view showing an infrared temperature sensor, Figure 2 is a top view showing an infrared temperature sensor, and Figure 3 is a rear view showing an infrared temperature sensor. FIG. 4 is a cross-sectional view taken along line A-A in FIG. 2, FIG. 5 is a cross-sectional view taken along line B-B in FIG. 2, and FIG. 6 is a cross-sectional view taken along line C-C in FIG. 2. Additionally, FIG. 7 is a cross-sectional view of the main body along line X-X in FIG. 6. Furthermore, Figures 8(a), 8(b) to 10 show modified examples. In addition, in each drawing, identical or corresponding parts are given the same reference numerals and overlapping descriptions are omitted.
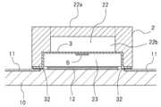
도 1 내지 도 7에 도시한 바와 같이, 적외선 온도 센서(1)는, 본체(2)와, 기판(3)과, 이 기판(3) 위에 설치된 적외선 검지용 감열 소자(4) 및 온도 보상용 감열 소자(5)와, 마찬가지로 기판(3)위에 형성된 배선 패턴(31) 및 실장용 단자(32)를 구비하고 있다. 적외선 온도 센서(1)는 표면 실장형으로서, 표면 실장에 적합하도록 구성되어 있다.As shown in FIGS. 1 to 7, the
본체(2)는 열전도성을 갖는 금속 재료, 예를 들면, 철에 의해 대략 직육면체 형상으로 형성되어 있으며, 도광부(21) 및 차폐부(22)와, 수용 공간부(23)를 가지고 있다. 본체(2)는 세로 방향의 길이 치수 및 가로 방향의 길이 치수가 8mm 내지 13mm, 높이 치수가 2mm 내지 5mm의 소형화된 크기로 이루어져 있다.The
또한, 본체(2)는 후술하는 표면으로부터 돌출되지 않는 개구부(21a)를 가지며, 그 전체가 열처리에 의해 산화되어 흑체화되어 있다. 구체적으로, 본체(2)를 400℃ 내지 1000℃ 정도의 고온에서 열처리함으로써 본체(2)의 표면에 산화막이 형성되고, 흑화 처리된다. 이 산화막의 두께 치수는 10μm 이하로 형성하는 것이 바람직하며, 구체적으로는 3μm로 형성되어 있다. 방사율은 0.8 이상이 바람직하며, 상기 흑화 처리에 의해 0.8 내지 0.95의 방사율을 얻을 수 있다.In addition, the
종래에 있어서 개구부가 표면으로부터 돌출되는 구조의 적외선 온도 센서에 있어서는, 본체의 재료는, 알루미늄, 알루미늄 합금, 아연 합금 등의 열전도율이 96W/m·K 이상인 것이 사용되고 있었다. 이는 돌출부가 있으면 본체에 온도차가 발생해 버리기 때문에 열전도가 나쁜 재료를 사용할 수 없었던 것에 따른다.Conventionally, in an infrared temperature sensor with a structure in which an opening protrudes from the surface, a main body material such as aluminum, aluminum alloy, or zinc alloy with a thermal conductivity of 96 W/m·K or more has been used. This is due to the fact that materials with poor heat conduction could not be used because if there were protrusions, a temperature difference would occur in the main body.
복사기 등의 열정착 장치의 경우, 적외선 온도 센서는 열원의 히트 롤러에 대해 5mm 정도의 매우 근거리에 설치된다. 이러한 환경 하에서 개구부가 돌출되는 구조의 적외선 온도 센서에서는 고가의 열전도가 양호한 재료가 아니면 적외선 온도 센서가 정확하게 기능할 수 없다는 문제가 있었다.In the case of heat sealing devices such as copiers, the infrared temperature sensor is installed very close to the heat roller of the heat source, about 5 mm. Under these circumstances, there was a problem that the infrared temperature sensor with a protruding opening could not function accurately unless it was made of an expensive material with good heat conduction.
본 실시 형태에서는, 개구부(21a)가 표면으로부터 돌출되지 않고, 돌출부를 갖지 않음으로써, 본체(2)의 열전도율이 10W/m·K 이상에서도 사용 가능하게 되어 있다. 철, 스테인리스, 필러를 함유시킨 열전도성이 양호한 수지 등의 재료가 사용 가능해진다.In this embodiment, the
또한, 본체(2)를 형성하는 재료는 10W/m·K 이상의 열전도율을 갖는 것이면 특별히 한정되는 것은 아니다. 예를 들면, 금속 재료는, 철, 니켈, 크롬, 코발트, 망간, 구리, 티타늄, 몰리브덴 또는 이들 금속 중 적어도 1종을 포함하는 합금 등을 사용할 수 있다. 예를 들면, 세라믹스 재료는, 알루미나, 질화 알루미늄 등의 열전도가 양호한 재료를 선택하면 된다. 또한, 수지 재료는 일반적으로 열전도가 나쁘므로, 열가소성 수지 또는 열경화성 수지에 열전도성을 갖는 카본, 금속, 세라믹 등의 필러를 함유시킨 재료를 사용한다. 나아가, 방사율이 낮은, 금속 재료, 세라믹스 재료에 흑색 도장을 실시한 재료 등을 사용할 수 있다. 수지 자신의 방사율은 높으므로, 수지의 표면은 흑체화되게 된다.Additionally, the material forming the
본체(2)에는 도광부(21)와 차폐부(22)가 형성되어 있으며, 도광부(21)는 본체(2)의 일면측(전면측)에 개구부(21a)를 가져 적외선을 안내하도록 형성되어 있다. 차폐부(22)는 일면측(전면측)에 차폐벽(22a)을 가져 적외선을 차폐하도록 형성되어 있다.A
도광부(21)는 개구부(21a)가 전면측으로부터 후면측에 걸쳐 관통하는 통 형상의 관통홀로서, 후면측이 개구되어 형성되어 있으며, 그 도광부(21)의 내주면은 이미 설명한 바와 같이 산화에 의해 산화막이 형성되어 흑체화되어 있다. 개구부(21a)는 본체(2)의 전면측의 표면으로부터 돌출되지 않고, 표면과 대략 동일면에 형성되어 있으며, 가로가 길고 귀퉁이가 라운드진 대략 직육면체 형상으로서, 장변 방향(긴 방향)의 길이 치수가 3mm 내지 6mm, 구체적으로는 6mm로 형성되어 있고, 단변 방향(짧은 방향)의 길이 치수가 1mm 내지 2.5mm, 구체적으로는 2mm로 형성되어 있다. 따라서, 개구부(21a)의 치수는 1mm 내지 6mm의 범위 내이고, 최대 치수가 6mm 이하로 설정되어 있다.The
이와 같이 개구부(21a)의 치수를 1mm 내지 6mm이하의 작은 치수로 설정함으로써, 개구부(21a)의 가공 치수의 정밀도를 향상시킬 수 있다. 구체적으로는, 개구부(21a)의 치수를 6mm 이하로 함으로써 ±0.05mm 이하의 치수 정밀도를 얻을 수 있다. 이는 예를 들면, JIS(일본 공업 규격)에 개시되는 보통 치수 공차와도 부합되어 있다. 또한, 1mm 미만의 치수의 경우에는 ±0.05mm 이하의 치수 정밀도를 상정하면, 개구부(21a)의 치수에 대한 공차의 비율이 5%를 초과하기 때문에 개구부(21a)의 치수의 고정밀 확보가 어려워진다.In this way, by setting the size of the
또한, 개구부(21a)의 형상은 특별히 한정되는 것은 아니다. 원 형상, 타원 형상이나 다각 형상 등으로 형성하여도 좋다. 검지 대상물의 측정부의 형태 등에 따라 적당히 선정할 수 있다.Additionally, the shape of the
차폐부(22)는 도광부(21)에 인접하여 배치되어 있으며, 도광부(21)와 차폐부(22) 간의 경계를 중심축으로 하여 대략 대칭의 형태로 형성되어 있다. 차폐부(22)는 차폐벽(22a)을 전면측에 가져, 후면측으로 도광부(21)와 동일 형상, 즉 개구부(21a)와 동일 형상의 귀퉁이가 라운드진 대략 직사각 형상으로 뻗어나와 공간부(22b)를 형성하고 있다. 이 공간부(22b)는 오목한 형상의 공동으로서, 차폐벽(22a)과 대향하는 후면측은 개구되어 있다. The shielding
즉, 도 7에 대표적으로 도시한 바와 같이, 본체(2)에 있어서, 차폐부(22)에 있어서의 차폐벽(22a)을 포함하지 않는 부위에서의 횡단면 형상이 도광부(21)와 차폐부(22) 간의 경계를 중심축(C)으로 하여 대략 대칭의 형태로 되어 일체적으로 형성되어 있다. 바꾸어 말하면, 도광부(21)의 개구부(21a)와 차폐부(22)의 차폐벽(22a)의 부분을 제외하면, 도광부(21) 측과 차폐부(22) 측은 대략 동일 형상으로 형성되어 있다.That is, as representatively shown in FIG. 7, in the
이상과 같이 도광부(21) 및 차폐부(22)는 일정한 공간 영역이 주위의 구획벽(24)에 의해 형성되어 있게 된다. 바꾸어 말하면, 도광부(21) 및 차폐부(22)의 내측 둘레벽은 구획벽(24)에 의해 형성되어 있다. 여기서, 편의상, 도광부(21)와 차폐부(22) 간의 경계 부분의 구획벽(24)을 중앙벽(24a), 기타 구획벽(24)의 부분을 주위벽(24b)이라고 한다.As described above, a certain spatial area of the
수용 공간부(23)는 본체(2)의 내부에 있어서의 후면측에 형성되어 있다. 구체적으로는, 수용 공간부(23)는 대략 직육면체 형상의 오목형으로 형성되고, 도광부(21) 및 차폐부(22)의 후면측의 개구와 연통되도록 되어 있다.The
기판(3)은 대략 직사각 형상으로 형성된 적외선을 흡수하는 절연성 필름으로서, 가요성을 갖는 플렉시블 배선 기판(FPC)이다. 기판(3)은 본체(2)의 타면측(후면측)에 도광부(21) 및 차폐부(22)와 대향하도록 설치된다. 상세하게는, 기판(3)은 상기 수용 공간부(23)의 내벽을 따라 구부려져서, 열용착되어 설치된다. 이 경우, 기판(3)을 수용 공간부(23)의 내벽을 따르는 형상으로 포밍 가공하여도 좋다.The
기판(3)에는 절연성 기재의 일표면(도 4 내지 도 6 중 후면측) 위에 적외선 검지용 감열 소자(4) 및 온도 보상용 감열 소자(5)가 설치되어 있다. 또한, 마찬가지로 일표면 위에는 도체의 배선 패턴(31) 및 이 배선 패턴(31)에 전기적으로 연결됨과 아울러 단부측에 위치하는 실장용 단자(32)가 형성되어 있다.On the
기판(3)에는 폴리이미드, 폴리에틸렌, 액정 폴리머, 불소, 실리콘, 폴리에스테르, 폴리카보네이트, PPS(폴리페닐렌설파이드) 등의 고분자 재료로 이루어지는 수지를 사용할 수 있다. 또한, 이들 수지에 카본 블랙 또는 무기 안료(크롬 옐로, 벵갈라, 티타늄 화이트, 군청 중 1종 이상)를 혼합 분산시켜 대략 전 파장의 적외선을 흡수할 수 있는 재료를 사용하여도 좋다.For the
본 실시 형태에서는, 기판(3)을 상기 수용 공간부(23)의 내벽을 따라 구부려서 열용착에 의해 설치하기 때문에, 기판(3)은 열용착이 가능한 폴리이미드, 폴리에틸렌, 액정 폴리머 등의 재료가 사용되고 있다.In this embodiment, since the
도 2 및 도 3에 도시한 바와 같이 배선 패턴(31)은 일단측에 직사각 형상의 전극 단자(31a)를 가지며, 이 전극 단자(31a)로부터 가는 폭의 패턴이 집열 패턴으로서 미앤더(사행)형의 패턴으로 뻗어나오고, 타단측의 끝단부에 직사각 형상의 실장용 단자(32), 구체적으로는 납땜(soldering)용 랜드가 형성되어 구성되어 있다. 집열 패턴으로서의 미앤더(사행)형의 패턴은 배선 패턴(31)의 일부를 형성하고 있는 것으로서, 후술하는 바와 같이, 미앤더(사행)형의 패턴에 의해 적외선 검지용 감열 소자(4) 및 온도 보상용 감열 소자(5)의 온도가 유지되며, 출력을 크게 할 수 있음과 아울러 감도의 향상을 도모할 수 있다.As shown in FIGS. 2 and 3, the
이와 동일한 패턴의 배선 패턴(31)이 전극 단자(31a)의 상호가 대향하도록 한 쌍 설치되어, 적외선 검지용 감열 소자(4) 또는 온도 보상용 감열 소자(5)가 배치되고 연결되도록 되어 있다.A pair of
따라서, 적외선 검지용 감열 소자(4) 및 온도 보상용 감열 소자(5)를 연결하기 위해, 2쌍의 배선 패턴(31)이 서로 대략 평행하게 배열되어 설치되어 있다. 이 적외선 검지용 감열 소자(4)가 연결되는 배선 패턴(31dt)과 온도 보상용 감열 소자(5)가 연결되는 배선 패턴(31cp)은 동일 패턴의 형태로서, 서로 연결되지 않고, 적외선 검지용 감열 소자(4)와 온도 보상용 감열 소자(5)를 각각 개별적으로 연결하고 있다.Therefore, in order to connect the
또한, 배선 패턴(31) 위에는 폴리이미드필름으로 대표되는 수지 필름, 레지스트 잉크 등으로 이루어지는 절연층인 커버층(33)이 형성되어 있다. 커버층(33)은 배선 패턴(31)을 피복하도록 형성되어 있는데, 전극 단자(31a) 및 실장용 단자(32)는 커버층(33)에 피복되지 않은 노출된 부분으로 되어 있다.Additionally, a
나아가, 커버층(33)에는 폴리이미드 필름, 레지스트 잉크에 카본 블랙 또는 무기 안료(크롬 옐로, 벵갈라, 티타늄 화이트, 군청의 1종 이상)를 혼합 분산시켜 대략 전 파장의 적외선을 흡수할 수 있는 재료를 사용하여도 좋다. 커버층(33)에 적외선 흡수 재료를 사용함으로써 수광 에너지가 커져 감도의 향상을 도모할 수 있다.Furthermore, the
그리고, 이 배선 패턴(31)은 설명 상, 도 2에서는 기판(3)을 투과하여, 도 3에서는 커버층(33)을 투과하여 시각적으로 인식할 수 있는 상태를 선명화하여 도시하고 있다.For the purpose of explanation, the
이러한 배선 패턴(31)은 압연 구리 호일이나 전해 구리 호일 등에 의해 패터닝되어 형성되어 있으며, 실장용 단자(32)에는 연결 저항을 줄이고, 부식을 방지하기 위해 니켈 도금, 금 도금이나 땜납 도금 등의 도금 처리가 이루어져 있다.This
적외선 검지용 감열 소자(4)는 검지 대상물로부터의 적외선을 검지하여, 검지 대상물의 온도를 측정한다. 온도 보상용 감열 소자(5)는 주위 온도를 검지하여 주위 온도를 측정한다. 이들 적외선 검지용 감열 소자(4) 및 온도 보상용 감열 소자(5)는 적어도 대략 동일한 온도 특성을 갖는 감열 소자로 구성되어 있으며, 배선 패턴(31)의 대향하는 전극 단자(31a) 사이에 연결되고, 상호 이간되어 실장 배치되어 있다.The
구체적으로는, 적외선 검지용 감열 소자(4) 및 온도 보상용 감열 소자(5)는 양 단부에 단자 전극이 형성된 칩 서미스터이다. 이 서미스터로는, NTC형, PTC형, CTR형 등의 서미스터가 있는데, 본 실시 형태에서는, 예를 들면, NTC형 서미스터를 채용하고 있다.Specifically, the thermally
특히, 본 실시 형태에서는, 적외선 검지용 감열 소자(4) 및 온도 보상용 감열 소자(5)로서 Mn, Co, Ni 및 Fe의 금속 산화물 또는 금속 질화물을 함유하는 세라믹스 반도체, 즉, Mn-Co-Ni-Fe계 재료로 형성된 박막 서비스터 소자를 채용하고 있다. 이 세라믹스 반도체는 온도 계수인 B 상수가 높기 때문에, 적외선을 흡수하는 기판(3)의 온도 변화를 감도 있게 검출할 수 있다.In particular, in this embodiment, the infrared detection
또한, 세라믹스 반도체는 입방정 스피넬상을 주상으로 하는 결정 구조를 가지고 있는 것이 바람직하며, 이 경우, 이방성도 없고, 또한 불순물층이 없으므로, 세라믹스 소결체 내에서 전기 특성의 불균일이 작고, 복수 개의 적외선 온도 센서를 사용할 때 고정밀한 측정이 가능해진다. 나아가, 안정적인 결정 구조 때문에 내환경에 대한 신뢰성도 높다. 그리고, 세라믹스 반도체로는 입방정 스피넬상으로 이루어지는 단상의 결정 구조가 가장 바람직하다.In addition, it is preferable that the ceramic semiconductor has a crystal structure with the cubic spinel phase as the main phase. In this case, there is no anisotropy and there is no impurity layer, so the unevenness of electrical properties within the ceramic sintered body is small, and a plurality of infrared temperature sensors are provided. When using , high-precision measurement becomes possible. Furthermore, because of its stable crystal structure, it has high reliability in environmental resistance. And, as a ceramic semiconductor, a single-phase crystal structure consisting of a cubic spinel phase is most preferable.
또한, 적외선 검지용 감열 소자(4) 및 온도 보상용 감열 소자(5)가 세라믹스 반도체로 형성된 동일한 웨이퍼로부터 얻은 서미스터 소자, 박막 서미스터 중에서 소정의 허용 오차 내의 저항값으로 선별한 것인 것이 바람직하다.In addition, it is preferable that the
이 경우, 쌍이 될 적외선 검지용 감열 소자(4) 및 온도 보상용 감열 소자(5)에서 B 상수의 상대 오차가 작아지고, 동시에 온도를 검출하는 양자의 온도차를 고정밀하게 검출할 수 있다. 또한, 적외선 검지용 감열 소자(4) 및 온도 보상용 감열 소자(5)에 대해, B 상수의 선별 작업이나 저항값의 조정 공정이 불필요해져 생산성을 향상시킬 수 있다.In this case, the relative error of the B constant in the paired infrared detection
그리고, 적외선 검지용 감열 소자(4) 및 온도 보상용 감열 소자(5)에 사용하는 서미스터 소자의 구성은, 예를 들면, 벌크 서미스터, 적층 서미스터, 후막 서미스터, 박막 서미스터 중 어느 구성이어도 좋다.The thermistor element used in the infrared detection
이상과 같이 구성되는 적외선 온도 센서(1)는 도 6에 대표적으로 도시한 바와 같이, 적외선 검지용 감열 소자(4)는 도광부(21)에 대응하는 위치에 설치되고, 온도 보상용 감열 소자(5)는 차폐부(22)에 대응하는 위치에 설치된다.As the
또한, 본체(2)에 있어서의 구획벽(24)인 중앙벽(24a) 및 주위벽(24b)이 기판(3)의 표면 위에 열결합하도록 접촉되어 배치된다. 구체적으로는, 중앙벽(24a)은 기판(3)의 표면 위에 있어서의 적외선 검지용 감열 소자(4)와 온도 보상용 감열 소자(5) 간의 경계 부분에 대향하여 접촉된다. 나아가, 주위벽(24b)도 적외선 검지용 감열 소자(4)와 온도 보상용 감열 소자(5)의 주위에 있어서의 기판(3)의 표면 위에 열결합하도록 접촉된다. 따라서, 본체(2)에 있어서의 구획벽(24)은, 도광부(21) 및 차폐부(22)의 영역을 제외하고, 기판(3)의 표면 위에 접촉되어 있다. 이 접촉은 도광부(21) 측과 차폐부(22) 측 간의 접촉 면적이 대략 동일하여 대략 동일한 상태의 접촉 상태로 되어 있다.Additionally, the
보다 상세하게는, 도 2에 대표적으로 도시한 바와 같이, 구획벽(24)은, 도광부(21) 및 차폐부(22)의 내측 둘레벽으로부터 배선 패턴(31)의 외형까지의 일정 치수(d)를 이간하여 기판(3)의 표면 위에 접촉되어 있다. 나아가, 기판(3) 위의 단부측에 형성된 실장용 단자(32)는 본체(2)의 둘레벽에 있어서의 후면측 단부에 설치된다.More specifically, as representatively shown in FIG. 2, the
주로 2에 도시한 바와 같이, 적외선 검지용 감열 소자(4)가 연결되는 배선 패턴(31dt)과 온도 보상용 감열 소자(5)가 연결되는 배선 패턴(31cp)은, 대략 평행하게 배열되어 설치되어 있으며, 이 배선 패턴(31dt, 31cp)에 대응하여 도광부(21)와 차폐부(22)가 나란히 설치되도록 되어 있다.Mainly as shown in 2, the wiring pattern 31dt to which the infrared detection
도 4 내지 도 6에 도시한 바와 같이, 이러한 적외선 온도 센서(1)는 회로 기판(10)으로서의 실장 기판에 실장된다. 실장 기판의 표면측에는, 소정의 배선 패턴이 형성되고, 적외선 온도 센서(1)의 실장용 단자(32)가 연결되는 연결 소자(11)가 형성되어 있다. 따라서, 적외선 온도 센서(1)의 실장용 단자(32)가 실장 기판의 연결 소자(11)에 납땜(soldering) 등에 의해 전기적으로 연결된다. 그리고, 이 연결 수단은 특별한 것에 한정되는 것은 아니며, 예를 들면, 도전성 접착제 등을 사용하여도 좋고, 전기적인 연결이 가능하다면 수단은 따지지 않는 것이다.4 to 6, this
다음, 상기 적외선 온도 센서(1)의 동작에 대해 설명하기로 한다. 검지 대상물의 표면으로부터 방사된 적외선은, 적외선 온도 센서(1)의 도광부(21)에 있어서의 개구부(21a)로부터 입사되며, 도광부(21)로 안내되어 도광부(21)를 통과하고 기판(3)에 도달한다. 개구부(21a)는 시야를 제한하는 기능을 가지고 있으므로, 검지 대상물의 측정부를 효과적으로 특정할 수 있고 검출 정밀도를 향상시키는 것이 가능해진다. 이 기판(3)에 도달한 적외선은 기판(3)에 흡수되어 열에너지로 변환된다.Next, the operation of the
여기서, 개구부(21a)의 치수는1mm 내지 6mm로 설정되어 있으므로, 개구부(21a)의 치수 정밀도가 ±0.05mm로 높게 되어 있으며, 또한, 개구부(21a)는 열처리에 의해 산화되고 흑체화되어, 그 산화막의 두께 치수는 매우 얇게 10μm 이하로 형성되어 있으므로 개구부의 치수 정밀도에 대한 영향은 매우 적다.Here, the size of the
따라서, 적외선 온도 센서(1)는 특별히 적외선의 수광 에너지량을 조정하기 위한 조정용 부재를 필요로 하지 않고, 개개의 적외선 온도 센서의 출력 특성의 불균일을 억제할 수 있는 것으로 되어 있다.Accordingly, the
개구부(21a)의 치수가 6mm인 경우, 개구 치수와 산화막의 두께의 합계 치수 정밀도는 ±0.05mm 이하로 되므로 그 오차 비율은 1% 이하의 고정밀도가 된다.When the size of the
변환된 열에너지는 기판(3)을 통하여 바로 아래의 적외선 검지용 감열 소자(4)로 전달되어, 적외선 검지용 감열 소자(4)의 온도를 상승시킨다. 적외선 검지용 감열 소자(4)와 온도 보상용 감열 소자(5)는 적어도 대략 동일한 온도 특성을 갖는 세라믹스 반도체로서, 검지 대상물로부터의 적외선에 의해 적외선 검지용 감열 소자(4)의 저항값이 변화한다.The converted thermal energy is transmitted to the thermally
동시에, 적외선은 차폐부(22)의 차폐벽(22a)에 의해 가려지는데, 검지 대상물로부터의 복사열이나 주위 분위기 온도에 의해 본체(2)의 온도가 상승하기 때문에, 온도 보상용 감열 소자(5)의 저항값도 본체(2)의 온도 상승에 해당하는 저항값의 변화를 받는다.At the same time, infrared rays are blocked by the shielding
이 경우, 본체(2)가 금속 등의 열전도성을 갖는 재료로 형성되어 있으므로, 주위의 온도 변화를 추종하여 적외선 온도 센서(1)의 온도 변화를 전체적으로 균일화할 수 있다. 또한, 도광부(21)와 차폐부(22)는, 도광부(21)와 차폐부(22) 간의 경계를 중심축(C)으로 하여 대략 대칭의 형태로 되어 있으며, 대략 동일 형상으로 형성되어 있다. 나아가, 적외선 검지용 감열 소자(4)가 연결되는 배선 패턴(31dt)과 온도 보상용 감열 소자(5)가 연결되는 배선 패턴(31cp)은 동일 패턴의 형태로 형성되어 있다.In this case, since the
이에, 적외선 검지용 감열 소자(4)와 온도 보상용 감열 소자(5)는 주위의 온도 변화에 대해 동일하도록 변화하며, 추종성이 양호하여 열적 외란에 대한 영향을 억제할 수 있고, 검지 대상물로부터의 적외선에 의한 온도 변화를 정밀하게 검출하는 것이 가능해진다.Accordingly, the
또한, 배선 패턴(31)의 일부에는 미앤더(사행)형의 패턴(집열 패턴)이 형성되어 있으므로, 열전도 경로가 길어져 열이 달아나기 어려워지기 때문에, 적외선 검지용 감열 소자(4) 및 온도 보상용 감열 소자(5)의 온도가 유지되며, 출력을 크게 할 수 있음과 아울러 감도의 향상을 도모할 수 있다.In addition, since a meander-shaped pattern (collection pattern) is formed in part of the
이에 더하여, 배선 패턴(31dt)과 배선 패턴(31cp)은, 적외선 검지용 감열 소자(4)와 온도 보상용 감열 소자(5)를 각각 개별적으로 연결하고 있다. 따라서, 배선 패턴(31dt)과 배선 패턴(31cp) 간의 상호의 열적 영향을 경감시킬 수 있고, 감도를 향상시킬 수 있다.In addition, the wiring pattern 31dt and the wiring pattern 31cp individually connect the heat-
또한, 기판(3)의 표면 위에 있어서의 적외선 검지용 감열 소자(4)와 온도 보상용 감열 소자(5) 간의 경계 부분에 대향하여, 본체(2)의 중앙벽(24a)이 접촉되기 때문에, 기판(3)의 열이 중앙벽(24a)으로 전도된다. 이에, 경계 부분의 온도 기울기를 억제할 수 있고, 적외선 검지용 감열 소자(4) 측의 기판(3)의 열이 온도 보상용 감열 소자(5) 측의 기판(3)으로 전도되는 것을 경감시켜 상호의 간섭을 적게 할 수 있다. 따라서, 적외선 검지용 감열 소자(4)와 온도 보상용 감열 소자(5) 사이에서 높은 온도차를 얻는 것이 가능해지고, 감도의 향상을 구현할 수 있다.In addition, since the
나아가, 적외선 검지용 감열 소자(4)와 온도 보상용 감열 소자(5) 간의 상호의 열적 및 광학적인 간섭이 억제되므로, 적외선 검지용 감열 소자(4)와 온도 보상용 감열 소자(5)를 근접시켜 배치할 수 있어 전체의 소형화에 기여할 수 있다.Furthermore, since mutual thermal and optical interference between the
나아가 또한, 구획벽(24)은, 도광부(21) 및 차폐부(22)의 내측 둘레벽으로부터 배선 패턴(31)에 있어서의 집열 패턴의 외형까지의 일정 치수(d)를 이간하여 기판(3)의 표면 위에 접촉되어 있다.Furthermore, the
검지 대상물의 표면으로부터 방사된 적외선은, 도광부(21)에 있어서의 개구부(21a)로부터 입사되고, 도광부(21)로 안내되어 도광부(21)를 통과하여 기판(3)에 도달한다. 이 경우, 배선 패턴(31)의 열전도율은, 기판(3)의 열전도율보다 크다. 예를 들면, 배선 패턴(31)의 열전도율은 400W/m·K 정도이고, 기판(3)의 열전도율은 0.5W/m·K 정도이다. 이에, 집열 패턴에 흡수된 적외선의 열에너지는 기판(3)으로부터 보다 단시간에 적외선 검지용 감열 소자(4) 및 온도 보상용 감열 소자(5)로 전도된다. 한편, 기판(3)에 흡수된 적외선의 열에너지는 배선 패턴(31), 적외선 검지용 감열 소자(4) 및 온도 보상용 감열 소자(5)로 전도됨과 아울러 구획벽(24)으로 전도된다. 이와 같이, 구획벽(24)은 도광부(21) 및 차폐부(22)의 내측 둘레벽으로부터 집열 패턴의 외형까지의 일정 치수(d)를 이간되어 있으므로, 배선 패턴(31)으로부터 구획벽(24)으로 전도되는 열에너지는 억제되며, 열시간 상수가 개선되어 응답성을 향상시킬 수 있다.Infrared rays emitted from the surface of the detection object are incident from the
또한, 일정 치수(d)의 이간 거리는 도광부(21) 측과 차폐부(22) 측에서 동일해지도록 설정되어 있으므로, 적외선 검지용 감열 소자(4)와 온도 보상용 감열 소자(5)의 온도 환경을 같게 하는 것이 가능해진다. 일정 치수(d)의 이간 거리는 일정 치수 d=0.1mm 이하가 되면 특성 불균일이 커지므로 일정 치수 d=0.1mm 이상으로 하는 것이 바람직하다.In addition, since the separation distance of a certain dimension (d) is set to be the same on the
이상과 같이 본 실시 형태에 따르면, 검지 대상물의 측정부를 효과적으로 특정할 수 있음과 아울러 응답성, 추종성이나 감도 등의 성능의 향상을 도모할 수 있고, 신뢰성이 높은 적외선 온도 센서를 제공할 수 있다. 또한, 소형화가 가능한 표면 실장형의 적외선 온도 센서를 얻을 수 있다.As described above, according to this embodiment, the measurement part of the detection object can be effectively specified, and performance such as response, tracking, and sensitivity can be improved, and a highly reliable infrared temperature sensor can be provided. Additionally, a surface-mounted infrared temperature sensor that can be miniaturized can be obtained.
다음, 본 실시 형태의 변형예에 대해 도 8(a), 도8(b) 내지 도 10을 참조하여 설명하기로 한다. 도 8(a)는 본체의 후면측에 덮개 부재를 마련한 것으로서, 도 5에 해당하는 단면도, 도 8(b)는 덮개 부재를 도시한 사시도이다(변형예 1). 도 9는 기판의 변형을 경감시키기 위한 통기부를 마련한 것으로서, 도 6에 해당하는 단면도이다(변형예 2). 또한, 도 10은 배선 패턴을 도시한 평면도이다(변형예 3).Next, a modified example of this embodiment will be described with reference to FIGS. 8(a) and 8(b) to 10. Figure 8(a) is a cross-sectional view corresponding to Figure 5, showing a cover member provided on the rear side of the main body, and Figure 8(b) is a perspective view showing the cover member (modification example 1). Figure 9 is a cross-sectional view corresponding to Figure 6, showing a ventilation portion provided to reduce deformation of the substrate (modification example 2). Additionally, Figure 10 is a plan view showing a wiring pattern (modification example 3).
(변형예 1) 도 8(a), 도 8(b)에 도시한 바와 같이 덮개 부재(8)는, 대략 직육면체의 상자 형상으로서, 알루미늄 등의 금속 재료로 만들어져 있다. 이 덮개 부재(8)는 기판(3)과 대향하여 후면측에 배치되어 있다. 덮개 부재(8)의 내면의 적어도 기판(3)과 대향하는 일부의 면은 반사면으로 되어 있어, 예를 들면, 경면 가공되어 반사율이 높으며, 80% 이상, 바람직하게는 85% 이상의 반사율로 되어 있다. 이 덮개 부재(8)는 수용 공간부(23)에 끼워맞추어져 장착된다. 이에, 덮개 부재(8)는 기판(3)을 수용 공간부(23)에 고정하는 기능도 가지고 있다.(Modification 1) As shown in FIGS. 8(a) and 8(b), the
이와 같이 덮개 부재(8)의 내면은 반사면으로 되어 있으므로, 방사율이 낮아, 적외선 검지용 감열 소자(4) 및 온도 보상용 감열 소자(5)에 대한 열적 영향을 억제할 수 있고, 감도의 향상을 도모할 수 있다.In this way, since the inner surface of the
(변형예 2) 도 9에 도시한 바와 같이 차폐부(22)에 있어서의 공간부(22b)는, 후면측의 개구가 기판(3)에 의해 막혀 밀폐적인 공간부로 되어 있다. 본 예에서는, 공간부(22b)와 외부 간의 통기성을 허용하는 통기부(9)가 마련되어 있다. 구체적으로는, 통기부(9)는 관통홀로서, 특별히 한정되는 것은 아니나, φ0.1mm 내지 φ0.5mm 정도로 형성하는 것이 바람직하다. 또한, 통기부로서 예를 들면, 기판(3)과 본체(2) 사이에 통기틈을 형성하는 경우, 이 틈은 공기가 통과하는 틈이면 되며, 1μm 이상의 틈이 있으면 충분히 공기를 유통시킬 수 있다. 중요한 것은 밀폐 구조로 하지 않는 것이다.(Modification 2) As shown in FIG. 9, the
따라서, 공간부(22b)에 대응하는 기판(3)의 부분에 φ0.1mm 내지 φ0.5mm 정도의 구멍을 뚫어도 동일한 효과가 얻어진다. 나아가, 도광부(21) 측에도 상기 통기부(9)와 동일한 관통홀(9')을 형성하고, 도광부(21) 측과 차폐부(22) 측을 대략 대칭의 대략 동일 형상으로 형성하는 것이 바람직하다.Therefore, the same effect can be obtained even if a hole of about ϕ0.1 mm to ϕ0.5 mm is drilled in the portion of the
적외선 온도 센서에서는, 적외선 온도 센서의 주위 온도가 높아지면, 밀폐 상태로 된 공간부의 공기가 팽창하여 내압이 상승하고, 기판이 부풀어 변형되는 문제가 발생한다. 또한, 과도하게 공간부의 공기가 팽창하면, 기판의 변형에 의해 기판에 배선된 배선 패턴이 절단되는 등의 불량이 발생하는 경우가 있다. 나아가, 기판이 변형됨으로써, 적외선의 입사량이나 기판으로부터의 방열량이 변화되어, 적외선 온도 센서의 출력이 변동되는 문제도 생긴다.In an infrared temperature sensor, when the ambient temperature of the infrared temperature sensor increases, the air in the sealed space expands, the internal pressure increases, and a problem occurs in which the substrate swells and deforms. Additionally, if the air in the space expands excessively, defects such as wiring patterns on the substrate may be cut due to deformation of the substrate. Furthermore, as the substrate deforms, the incident amount of infrared rays or the amount of heat radiated from the substrate changes, causing the problem that the output of the infrared temperature sensor varies.
본 예에서는, 공간부(22b)의 내압이 상승하는 온도 환경에 있어서도, 통기부(9)에 의해 외부와의 통기성이 확보되고, 내압의 상승을 억제하며, 기판(3)의 변형을 경감시키는 것이 가능해진다. 따라서, 기판(3)의 변형을 경감시키고, 고정밀화를 가능하게 하여 신뢰성을 확보할 수 있는 적외선 온도 센서(1)를 제공할 수 있다. 그리고, 통기부(9)는 관통홀에 한정되지 않으며, 홈 형상의 것이어도 좋다. 통기부(9)는 밀폐적인 공간부와 외부가 연통되도록 형성되어 있으면 되며, 형성 위치, 형상이나 개수 등 특별히 한정되는 것은 아니다.In this example, even in a temperature environment where the internal pressure of the
(변형예 3) 도 10에 도시한 바와 같이, 적외선 검지용 감열 소자(4)와 온도 보상용 감열 소자(5)에 각각 개별적으로 배선 패턴(31dt)과 배선 패턴(31cp)이 연결되어 있다. 배선 패턴(31)은 일단측에 직사각 형상의 전극 단자(31a)를 가지며, 이 전극 단자(31a)로부터 가는 폭의 패턴이 적외선 검지용 감열 소자(4)(온도 보상용 감열 소자(5))를 에워싸도록 주위에 집열 패턴으로서의 미앤더(사행)형의 패턴이 형성되고, 나아가, 가는 폭의 패턴이 직사각 형상의 실장용 단자(32)를 향해 집열 패턴으로서 미앤더(사행)형의 패턴으로 뻗어나와 형성되어 있다.(Modification 3) As shown in Fig. 10, a wiring pattern 31dt and a wiring pattern 31cp are individually connected to the
이러한 구성에 따르면, 배선 패턴(31)의 열전도 경로가 길어지므로, 열이 달아나기가 어려워지고, 적외선 검지용 감열 소자(4) 및 온도 보상용 감열 소자(5)의 온도가 보다 효과적으로 유지되며, 출력을 크게 할 수 있음과 아울러 감도의 향상을 도모하는 것이 가능해진다.According to this configuration, the heat conduction path of the
그리고, 상술에서는 기판(3)을 본체(2) 측에 있어서의 수용 공간부(23)의 내벽에 열용착하여 장착하여 설치하는 경우에 대해 설명하였으나, 접착이나 점착에 의해 설치하도록 하여도 좋다. 이 경우, 수용 공간부(23)의 내벽에 접착층이나 점착층, 예를 들면, 접착 시트나 점착 시트를 마련하여, 이들 시트를 개재시켜 기판(3)을 붙여 설치하는 것이 바람직하다. 접착 시트, 점착 시트에 열전도가 양호한 재료를 사용함으로써 응답성이나 추종성의 성능을 개선할 수 있다. 땜납(soldering) 등의 납땜(brazing)재로 접합하여도 동일한 효과가 얻어진다.In the above description, the case where the
또한, 기판(3)은 플렉시블 배선 기판을 사용하는 경우에 대해 설명하였으나, 리지드 배선 기판을 사용하도록 하여도 좋다. 특정한 형식의 배선 기판에 한정되는 것은 아니다.In addition, although the case where a flexible wiring board is used has been described as the
나아가, 회로 기판(10)으로서의 실장 기판은 표면에 절연층을 갖는 알루미늄이나 구리 등의 금속 기판을 사용하여도 좋다. 이 경우, 실장 기판은 열전도성이 높으므로, 적외선 검지용 감열 소자(4) 및 온도 보상용 감열 소자(5)는 주위의 온도 변화에 대해 훨씬 추종성이 양호해져, 열적 외란에 대한 영향을 억제할 수 있다.Furthermore, the mounting board as the
이에 더하여, 실장 기판에 있어서, 적외선 온도 센서(1)를 실장하는 범위에 대응하여, 그 표면을 반사율이 높은 반사면, 예를 들면, 경면부로서 형성한 것을 사용하여도 좋다. 이 경우, 덮개 부재(8)를 생략하는 것이 가능해져, 경면부에 의해 덮개 부재(8)의 반사면과 동일한 기능을 할 수 있고, 감도의 향상을 도모하는 것이 가능해진다.In addition, in the mounting board, a surface formed as a reflective surface with high reflectivity, for example, a mirror surface portion, may be used to correspond to the range in which the
다음, 본 발명의 제2 실시 형태에 따른 적외선 온도 센서에 대해 도 11 내지 도 16을 참조하여 설명하기로 한다. 도 11은 적외선 온도 센서를 분해하여 도시한 사시도, 도 12는 적외선 온도 센서를 분해하여 후면측에서 보아 도시한 사시도, 도 13은 적외선 온도 센서를 도시한 평면도이다. 도 14는 적외선 온도 센서를 도시하며, 도 6에 해당하는 단면도이고, 도 15는 도 14 중 X-X선을 따른 본체의 단면도이다. 또한, 도 16은 접착 시트를 도시한 평면도이다. 그리고, 제1 실시 형태와 동일 또는 해당 부분에는 동일 부호를 붙이고 중복되는 설명은 생략하기로 한다.Next, the infrared temperature sensor according to the second embodiment of the present invention will be described with reference to FIGS. 11 to 16. Figure 11 is a perspective view showing the infrared temperature sensor disassembled, Figure 12 is a perspective view showing the infrared temperature sensor disassembled and viewed from the rear side, and Figure 13 is a plan view showing the infrared temperature sensor. FIG. 14 shows an infrared temperature sensor and is a cross-sectional view corresponding to FIG. 6, and FIG. 15 is a cross-sectional view of the main body along line X-X in FIG. 14. Additionally, Figure 16 is a plan view showing the adhesive sheet. In addition, parts that are the same as or correspond to the first embodiment will be given the same reference numerals, and overlapping descriptions will be omitted.
본 실시 형태에서는, 제1 실시 형태와 동일하게, 본체(2)는 열전도성을 갖는 금속 재료에 의해 대략 직육면체 형상으로 형성되어 있다. 그리고, 본체(2) 전체가 열처리에 의해 산화되어 흑체화되고, 도광부(21) 및 차폐부(22)를 가지고 있는데, 수용 공간부는 형성되어 있지 않다.In this embodiment, similarly to the first embodiment, the
도광부(21)에 있어서 개구부(21a)의 치수는 6mm 이하로 설정되어 있어, 개구부(21a)의 치수 정밀도가 높게 되어 있다. 나아가, 개구부(21a)는 열처리에 의해 산화되고 흑체화되어, 그 산화막의 두께 치수는 얇게 10μm 이하로 형성되어 있다. 따라서, 적외선 온도 센서(1)는 특별히 적외선의 수광 에너지를 조정하기 위한 조정용의 부재를 필요로 하지 않고, 개개의 적외선 온도 센서의 출력 특성의 불균일을 억제할 수 있는 것으로 되어 있다.The size of the
또한, 기판(3)은 두께 치수가 0.05mm 내지 0.2mm인 직사각 형상으로 형성된 평판형의 리지드 배선 기판이다. 기판(3)은 본체(2)의 타면측(후면측)의 외형과 대략 동일한 외형을 가지며, 본체(2)의 후면측에 설치된다. 구체적으로는, 제1 실시 형태와 동일하게, 기판(3)은 본체(2)의 후면측에 열용착, 접착이나 점착 등의 수단에 의해 장착된다.Additionally, the
도 12에 도시한 바와 같이, 본 실시 형태에 있어서의 기판(3)의 본체(2)의 후면측에 대한 설치는, 접착 시트(34)를 본체(2)의 후면측에 붙이고, 이 접착 시트(34)에 기판(3)을 붙여 수행된다. 즉, 기판(3)은 본체(2)의 후면측과 기판(3) 사이에 접착 시트(34)를 개재시켜 장착된다. 접착 시트(34)는 구체적으로는, 도 16에 도시한 바와 같이 본체(2)의 후면측의 외형과 대략 동일한 외형을 가지며, 중앙부가 도광부(21) 및 차폐부(22)의 후면측의 개구에 대응하여 잘려져서 제거되어 있다. 그리고, 접착 시트 대신 점착 시트를 사용하여도 좋다.As shown in FIG. 12, installation of the
기판(3)에는, 절연성 기재의 일표면 위에 적외선 검지용 감열 소자(4) 및 온도 보상용 감열 소자(5)가 설치되어 있다. 마찬가지로 일표면 위에는, 도체의 배선 패턴(31) 및 이 배선 패턴(31)에 전기적으로 연결됨과 아울러 단부측에 위치하는 실장용 단자(32)가 형성되어 있다.On the
도 11 내지 도 14에 대표적으로 도시한 바와 같이, 본체(2)에는 수용 공간부가 형성되어 있지 않다. 이에, 본체(2)의 후면측은 평면 형상부로 되어 있어, 이 평면 형상부에 도광부(21) 및 차폐부(22)가 개구되어 나타나게 된다(도 12 참조). 따라서, 평판형의 기판(3)이 상기 본체(2)의 후면측의 평면 형상부에 설치되게 된다.As representatively shown in FIGS. 11 to 14, no receiving space is formed in the
기판(3)은 평판형의 리지드 배선 기판으로서, 예를 들면, 유리 에폭시 수지, 폴리페닐렌에테르(PPE 수지) 및 실리콘 수지 재료 등으로 이루어지는 절연성 기재와, 이 절연성 기재의 표면에 형성된 도체의 배선 패턴(31)을 구비하고 있다. 또한, 배선 패턴(31) 위에는 절연층인 레지스트층(33)이 적층되어 있다. 나아가, 배선 패턴(31)의 양 단부에는 레지스트층(33)이 적층되어 있지 않으며, 즉 레지스트층(33)에 피복되지 않은 노출된 전극 단자(31a) 및 실장용 단자(32)가 형성되어 있다. 그리고, 전극 단자(31a)는 적외선 검지용 감열 소자(4) 또는 온도 보상용 감열 소자(5)의 단자 전극이 연결되는 일부분만이 레지스트층(33)에 피복되지 않은 노출된 부분으로 되어 있다.The
배선 패턴(31)은 일단측에 대략 직사각 형상의 넓은 폭의 전극 단자(31a)를 가지며, 이 전극 단자(31a)로부터 가는 폭의 패턴이 직선형으로 뻗어나오고, 타단측의 끝단부에 직사각 형상의 실장용 단자(32)가 형성되어 구성되어 있다. 상기 넓은 폭의 전극 단자(31a)는 그 면적이 크고, 집열 패턴으로서 기능하는 것이다. 이 집열 패턴으로서의 전극 단자(31a)는 면적이 크고, 방열이 양호해지기 때문에, 열시간 상수가 개선되어 고속 응답성의 구현이 가능해진다.The
이와 동일한 패턴의 배선 패턴(31)이 전극 단자(31a)의 상호가 대향하도록 한 쌍 설치되어, 적외선 검지용 감열 소자(4) 또는 온도 보상용 감열 소자(5)가 배치되어 연결되어 있다.A pair of
따라서, 적외선 검지용 감열 소자(4) 및 온도 보상용 감열 소자(5)를 연결하기 위해, 2쌍의 배선 패턴(31)이 대략 평행하게 배열되어 설치되어 있다. 이 적외선 검지용 감열 소자(4)가 연결되는 배선 패턴(31dt)과 온도 보상용 감열 소자(5)가 연결되는 배선 패턴(31cp)은 동일한 패턴의 형태로서, 서로 연결되지 않고, 적외선 검지용 감열 소자(4)와 온도 보상용 감열 소자(5)를 각각 개별적으로 연결하고 있다.Therefore, in order to connect the
그리고, 이 배선 패턴(31)은 설명상, 도 11에서는 절연성 기판을 투과하여, 도 12에서는 레지스트층(33)을 투과하여 시각적으로 인식할 수 있는 상태를 선명화하여 도시하고 있다.For the sake of explanation, this
도 14에 도시한 바와 같이 적외선 온도 센서(1)는 회로 기판(10)으로서의 실장 기판에 실장된다. 이 실장 기판은 금속 기판으로서, 예를 들면, 알루미늄 재료로 이루어지는 금속으로 제작된 기재(13)에 유리 에폭시 수지, 유리 컴포짓 재료 등으로 이루어지는 절연성 기재(14)가 적층되어 형성되어 있다. 그리고, 절연성 기재(14)에 있어서의 기판(3)과 대향하는 부분에는 구멍이 형성되고, 이 구멍에 의해 금속으로 제작된 기재(13)와의 사이에 캐비티(15)가 형성되어 있다. 나아가, 기판(3)과 대향하는 금속으로 제작된 기재(13)의 표면은 반사면(16)으로서 형성되어 있다. 이 반사면(16)은, 전술한 바와 마찬가지로, 알루미늄의 반사율이 높으며, 80% 이상, 바람직하게는 85% 이상의 반사율로 되어 있다. 이와 같이 실장 기판에는, 예를 들면, 도시하지 않으나 캐비티 구조의 구리 인레이 기판이 사용되고 있다. 인레이 재료의 구리 표면에는 니켈/금도금 등으로 도금하여 반사율을 높이고 있다. 그리고, 캐비티(15)에 전술한 덮개 부재(8)를 배치하는 것을 방해하는 것이 아니다.As shown in FIG. 14, the
또한, 전술한 제1 실시 형태에 있어서의 (변형예 2)에서 설명한 바와 같이, 차폐부(22)에 있어서의 공간부(22b)는, 후면측의 개구가 기판(3)에 의해 막혀 밀폐적인 공간부로 되어 있는데, 공간부(22b)와 외부 간의 통기성을 허용하는 통기부(9)를 마련하는 것이 바람직하다. 구체적으로는, 도광부(21)와 차폐부(22) 간의 경계 부분의 구획벽(24)에 있어서의 중앙벽(24a)과 기판(3) 사이에 통기부(9)로서 틈이 형성되어 있다. 이 틈은 1μm 이상 있으면 충분히 공기를 유통시킬 수 있다.In addition, as explained in (Modification 2) in the above-described first embodiment, the
나아가, 배선 패턴(31)은 도 17 및 도 18에 도시한 바와 같이 구성하여도 좋다. 도 17에 도시한 바와 같이 적외선 검지용 감열 소자(4)와 온도 보상용 감열 소자(5)에 각각 개별적으로 배선 패턴(31dt)과 배선 패턴(31cp)이 연결되어 있다. 일단측에 폭이 넓은 직사각 형상의 전극 단자(31a)(집열 패턴)를 가지며, 이 부분에 복수 개의 대략 원 형상의 개구(31h)를 형성한 것으로서, 물방울 무늬형의 패턴으로 형성되어 있다.Furthermore, the
또한, 도 18에 도시한 배선 패턴(31)은 폭이 넓은 직사각 형상의 전극 단자(31a)(집열 패턴)의 부분에 복수 개의 대략 사각 형상의 개구(31h)를 형성하고, 격자 무늬형의 패턴으로 한 것이다. 이러한 개구(31h)에 의한 개구율은 20% 내지 80%로 설정하는 것이 바람직하다. In addition, the
이상과 같이 복수 개의 개구(31h)를 형성함으로써, 개구(31h) 상호간에 열의 전도로가 형성되며, 전도로가 증가하므로, 열의 전도를 단시간에 수행할 수 있고, 응답성의 향상을 기대할 수 있으며, 또한 소정의 출력의 크기를 확보하는 것도 가능하고, 응답성, 추종성 등의 성능 밸런스가 양호한 적외선 온도 센서(1)를 얻을 수 있다. By forming a plurality of
그리고, 집열 패턴에는 적어도 하나 이상의 개구가 형성되어 있으면 된다. 또한, 집열 패턴에 있어서, 도체가 형성되어 있는 부분에 대한 도체가 형성되어 있지 않은 부분(개구(31h))의 비율은 20 내지 80%로 설정하는 것이 바람직하다. 나아가, 미앤더(사행) 패턴과 개구가 형성된 집열 패턴을 조합하면 보다 바람직하다.Additionally, at least one opening may be formed in the heat collection pattern. Additionally, in the heat collection pattern, the ratio of the portion where the conductor is not formed (
또한, 상기 집열 패턴에 있어서, 상기 집열 패턴의 도체막을 산화 처리함으로써 적외선을 흡수할 수 있고, 적외선의 수광 에너지가 커지고 감도가 향상되는 것이 가능해진다.Additionally, in the heat collection pattern, infrared rays can be absorbed by oxidizing the conductor film of the heat collection pattern, and the received light energy of infrared light can be increased and sensitivity can be improved.
이상과 같이 본 실시 형태에 따르면, 제1 실시 형태와 동일한 동작을 구현할 수 있고, 검지 대상물의 측정부를 효과적으로 특정할 수 있음과 아울러 응답성 및 감도의 성능의 향상을 도모할 수 있고, 신뢰성이 높은 적외선 온도 센서(1)를 제공할 수 있다. 또한, 소형화가 가능한 표면 실장형의 적외선 온도 센서(1)를 제공할 수 있고, 나아가 본체(2)의 구성이 간소화되며, 적외선 온도 센서(1)를 회로 기판(10)에 실장한 경우, 적외선 센서(1)의 돌출 높이 치수를 낮출 수 있는 효과를 이룬다. As described above, according to the present embodiment, the same operation as the first embodiment can be implemented, the measurement part of the detection object can be effectively specified, the performance of response and sensitivity can be improved, and reliability is high. An infrared temperature sensor (1) may be provided. In addition, it is possible to provide a surface-mounted
그리고, 위에서는 기판(3)은 리지드 배선 기판을 사용하는 경우에 대해 설명하였으나, 플렉시블 배선 기판을 사용하도록 하여도 좋다. 특정한 형식의 배선 기판에 한정되는 것은 아니다.In addition, the case where a rigid wiring board is used as the
이상 설명해 온 각 실시 형태에 있어서, 적외선 온도 센서(1)는 복사기의 정착 장치, 배터리 유닛, 콘덴서, IH 쿠킹 히터, 냉장고의 고내 물품 등의 온도 검지를 위해 각종 장치에 구비되어 적용할 수 있다. 특별히 적용되는 장치가 한정되는 것은 아니다.In each of the embodiments described above, the
그리고, 본 발명은 상기 각 실시 형태의 구성에 한정되지 않으며, 발명의 요지를 벗어나지 않는 범위에서 다양한 변형이 가능하다. 또한, 상기 각 실시 형태는 일례로서 제시한 것으로서, 발명의 범위를 한정하는 것은 의도하지 않았다.Additionally, the present invention is not limited to the configuration of each of the above embodiments, and various modifications are possible without departing from the gist of the invention. Additionally, each of the above embodiments is presented as an example and is not intended to limit the scope of the invention.
예를 들면, 적외선 온도 센서는 표면 실장형의 것에 한정되지 않는다. 또한, 적외선 검지용 감열 소자 및 온도 보상용 감열 소자로는 세라믹스 반도체로 형성된 칩 서미스터가 바람직하게 사용되는데, 이에 한정되지 않으며, 열전대나 측온 저항체 등을 사용할 수 있다.For example, infrared temperature sensors are not limited to surface mount types. In addition, a chip thermistor made of a ceramic semiconductor is preferably used as the thermal element for infrared detection and temperature compensation, but is not limited to this, and a thermocouple or a resistance thermometer can be used.
또한, 배선 패턴의 패턴 형태는 특별히 한정되는 것은 아니며, 직선형이나 사행형 등, 설계에 따라 적당히 채용할 수 있다.Additionally, the pattern shape of the wiring pattern is not particularly limited, and may be appropriately adopted depending on the design, such as straight or meandering.
1 : 적외선 온도 센서
2 : 본체
3 : 기판
4 : 적외선 검지용 감열 소자
5 : 온도 보상용 감열 소자
8 : 덮개 부재
9 : 통기부
10 : 회로 기판
11 : 연결 소자
12 : 적외선 반사부
15 : 캐비티
21 : 도광부
21a : 개구부
22 : 차폐부
22a : 차폐벽
22b : 공간부
23 : 수용 공간부
24 : 구획벽
31 : 배선 패턴
32 : 실장용 단자
33 : 절연층(커버층, 레지스트층)
34 : 접착 시트1: Infrared temperature sensor
2: body
3: substrate
4: Thermal element for infrared detection
5: Thermal element for temperature compensation
8: cover member
9: Ventilation part
10: circuit board
11: connection element
12: infrared reflector
15: Cavity
21: light guide
21a: opening
22: shielding part
22a: shielding wall
22b: space part
23: Accommodation space part
24: partition wall
31: wiring pattern
32: Mounting terminal
33: Insulating layer (cover layer, resist layer)
34: Adhesive sheet
| Application Number | Priority Date | Filing Date | Title |
|---|---|---|---|
| JP2015063209 | 2015-03-25 | ||
| JPJP-P-2015-063209 | 2015-03-25 | ||
| PCT/JP2016/051665WO2016152222A1 (en) | 2015-03-25 | 2016-01-21 | Infrared temperature sensor and device using infrared temperature sensor |
| Publication Number | Publication Date |
|---|---|
| KR20170131427A KR20170131427A (en) | 2017-11-29 |
| KR102610102B1true KR102610102B1 (en) | 2023-12-05 |
| Application Number | Title | Priority Date | Filing Date |
|---|---|---|---|
| KR1020177026416AActiveKR102610102B1 (en) | 2015-03-25 | 2016-01-21 | Infrared temperature sensor and devices using infrared temperature sensor |
| Country | Link |
|---|---|
| JP (1) | JP6030273B1 (en) |
| KR (1) | KR102610102B1 (en) |
| CN (1) | CN107407603B (en) |
| WO (1) | WO2016152222A1 (en) |
| Publication number | Priority date | Publication date | Assignee | Title |
|---|---|---|---|---|
| US10533898B2 (en)* | 2016-12-20 | 2020-01-14 | Shibaura Electronics Co., Ltd. | Infrared temperature sensor |
| CN111819425B (en) | 2018-03-06 | 2023-12-12 | Tdk株式会社 | Heat utilization device |
| JP7340130B1 (en) | 2022-04-25 | 2023-09-07 | 直文 蕨 | Non-contact temperature sensor |
| Publication number | Priority date | Publication date | Assignee | Title |
|---|---|---|---|---|
| JP2013050365A (en)* | 2011-08-31 | 2013-03-14 | Tdk Corp | Infrared temperature sensor |
| JP2013113732A (en)* | 2011-11-29 | 2013-06-10 | Mitsubishi Materials Corp | Infrared sensor and induction heating cooker provided with the same |
| Publication number | Priority date | Publication date | Assignee | Title |
|---|---|---|---|---|
| US7047054B2 (en)* | 1999-03-12 | 2006-05-16 | Cas Medical Systems, Inc. | Laser diode optical transducer assembly for non-invasive spectrophotometric blood oxygenation monitoring |
| JP2003194630A (en)* | 2001-12-27 | 2003-07-09 | Ishizuka Electronics Corp | Noncontact temperature sensor and sensing circuit for noncontact temperature sensor |
| US8193685B2 (en)* | 2007-07-03 | 2012-06-05 | Koninklijke Philips Electronics N.V. | Thin film detector for presence detection |
| JP2011013213A (en)* | 2009-06-02 | 2011-01-20 | Mitsubishi Materials Corp | Infrared sensor |
| JP5640529B2 (en) | 2009-10-17 | 2014-12-17 | 三菱マテリアル株式会社 | Infrared sensor and circuit board having the same |
| JP5699561B2 (en)* | 2010-01-27 | 2015-04-15 | ソニー株式会社 | Imaging device |
| JP5691502B2 (en)* | 2010-12-27 | 2015-04-01 | セイコーエプソン株式会社 | THERMAL TYPE PHOTODETECTOR, THERMAL TYPE PHOTODETECTOR, ELECTRONIC DEVICE, AND THERMAL TYPE OPTICAL DETECTOR |
| JP5287906B2 (en)* | 2011-03-02 | 2013-09-11 | オムロン株式会社 | Infrared temperature sensor, electronic device, and method of manufacturing infrared temperature sensor |
| DE102011103818A1 (en)* | 2011-06-01 | 2012-12-06 | Meas Deutschland Gmbh | Infrared sensor arrangement and its use |
| CN202420687U (en)* | 2011-12-20 | 2012-09-05 | 友丽系统制造股份有限公司 | Measuring module |
| CN104937385B (en)* | 2013-01-21 | 2017-11-03 | 松下知识产权经营株式会社 | Infrared detection element, infrared detector and infrared gas sensor |
| Publication number | Priority date | Publication date | Assignee | Title |
|---|---|---|---|---|
| JP2013050365A (en)* | 2011-08-31 | 2013-03-14 | Tdk Corp | Infrared temperature sensor |
| JP2013113732A (en)* | 2011-11-29 | 2013-06-10 | Mitsubishi Materials Corp | Infrared sensor and induction heating cooker provided with the same |
| Publication number | Publication date |
|---|---|
| JP6030273B1 (en) | 2016-11-24 |
| WO2016152222A1 (en) | 2016-09-29 |
| JPWO2016152222A1 (en) | 2017-04-27 |
| CN107407603A (en) | 2017-11-28 |
| KR20170131427A (en) | 2017-11-29 |
| CN107407603B (en) | 2020-10-23 |
| Publication | Publication Date | Title |
|---|---|---|
| KR102610063B1 (en) | Infrared temperature sensor, circuit board, and device using the sensor | |
| KR101639838B1 (en) | Infrared sensor and a circuit board therewith | |
| CN207300417U (en) | Infrared temperature sensor and the device using infrared temperature sensor | |
| JP5832007B2 (en) | Infrared sensor and manufacturing method thereof | |
| US9568371B2 (en) | Infrared sensor | |
| EP2813826B1 (en) | Infrared sensor and infrared sensor device | |
| JP2011013213A (en) | Infrared sensor | |
| TWI526677B (en) | Infrared sensor | |
| KR20180114043A (en) | Infrared sensor device | |
| KR102610102B1 (en) | Infrared temperature sensor and devices using infrared temperature sensor | |
| JP2016050871A (en) | Infrared sensor and method for adjusting sensitivity of infrared sensor | |
| JP5206484B2 (en) | Temperature sensor | |
| JP6477058B2 (en) | Infrared sensor | |
| JP2012225693A (en) | Infrared sensor | |
| JP2017181031A (en) | Infrared sensor | |
| JP5747628B2 (en) | Induction heating cooker |
| Date | Code | Title | Description |
|---|---|---|---|
| PA0105 | International application | Patent event date:20170919 Patent event code:PA01051R01D Comment text:International Patent Application | |
| PG1501 | Laying open of application | ||
| A201 | Request for examination | ||
| PA0201 | Request for examination | Patent event code:PA02012R01D Patent event date:20210114 Comment text:Request for Examination of Application | |
| E902 | Notification of reason for refusal | ||
| PE0902 | Notice of grounds for rejection | Comment text:Notification of reason for refusal Patent event date:20230511 Patent event code:PE09021S01D | |
| E701 | Decision to grant or registration of patent right | ||
| PE0701 | Decision of registration | Patent event code:PE07011S01D Comment text:Decision to Grant Registration Patent event date:20230915 | |
| GRNT | Written decision to grant | ||
| PR0701 | Registration of establishment | Comment text:Registration of Establishment Patent event date:20231130 Patent event code:PR07011E01D | |
| PR1002 | Payment of registration fee | Payment date:20231201 End annual number:3 Start annual number:1 | |
| PG1601 | Publication of registration |