








본 발명은 다채널 광원과 도파로 간 광정렬에 있어 렌즈를 실장하기 위한 광모듈 플랫폼 구조 및 이를 제조하는 공정에 관한 기술이다.The present invention relates to an optical module platform structure for mounting a lens in optical alignment between a multi-channel light source and a waveguide and a technology for manufacturing the same.
최근 데이터센터, 인공지능 등의 산업이 급성장하며 더욱 많은 데이터를 빠른 시간 내에 송수신해야 하는 필요성이 대두되면서 광통신 기술이 주목을 받고 있다. 이에 따라, 광통신에서 핵심 역할을 감당하는 광 트랜시버 모듈의 소형화 및 고속화가 요구되고 있다.Recently, with the rapid growth of industries such as data centers and artificial intelligence, the need to transmit and receive more data in a short time has emerged, and optical communication technology is attracting attention. Accordingly, there is a demand for miniaturization and high-speed optical transceiver modules that play a key role in optical communication.
광통신용 광트랜시버 모듈은 크게 광신호와 전기신호와의 변환(전광/광전) 역할을 담당하는 OSA(Optical Sub Assembly)부와 전기신호의 신호처리 역할을 담당하는 ESA(Electrical Sub Assembly)부로 구성이 된다.An optical transceiver module for optical communication is largely composed of an OSA (Optical Sub Assembly) that plays a role in converting an optical signal to an electrical signal (electronic/photoelectric) and an ESA (Electrical Sub Assembly) that plays a role in signal processing of electrical signals. do.
여기서 OSA부는 다시 전기신호를 광신호로 바꾸어서 광신호를 전송하는 TOSA(Transmitter Optical Sub Assembly)와 수신된 광신호를 전기신호로 바꾸어 주는 ROSA(Receiver Optical Sub Assembly)로 구성된다.Here, the OSA unit is composed of a Transmitter Optical Sub Assembly (TOSA) that converts an electrical signal into an optical signal and transmits the optical signal, and a Receiver Optical Sub Assembly (ROSA) that converts the received optical signal into an electrical signal.
TOSA와 ROSA 등 핵심 광부품 제작시 최대의 광결합 효율을 확보하기 위해 광송수신부에서의 LD(Laser Diode), PD(Photo Diode), Mirror, 렌즈, 도파로 등 광소자의 정밀한 광정렬이 필요하다.In order to secure maximum optical coupling efficiency when manufacturing core optical components such as TOSA and ROSA, precise optical alignment of optical elements such as LD (Laser Diode), PD (Photo Diode), mirror, lens, and waveguide in the optical transceiver is required.
단일모드 광섬유의 경우 광도파로 코어의 직경이 약 9μm 로 최대의 광결합 효율을 확보하기 위해서 렌즈의 광정렬 오차는 수 μm 이내가 허용된다.In the case of a single-mode optical fiber, the diameter of the optical waveguide core is about 9 μm, and the optical alignment error of the lens is allowed within several μm to secure the maximum optical coupling efficiency.
최근 광모듈의 소형화 및 고속화가 요구되면서 다채널 광모듈의 사용이 급증하고 있으며, 광모듈의 크기를 줄이기 위해 TOSA/ROSA 내부에 사용되는 도파로의 코어와 클래딩 간의 굴절률 차이를 크게 함에 따라, 코어 층의 두께도 약 3μm 수준으로 줄어들고 있는 추세이다.Recently, as miniaturization and high-speed optical modules are required, the use of multi-channel optical modules is rapidly increasing. As the refractive index difference between the core and the cladding of the waveguide used inside the TOSA/ROSA is increased to reduce the size of the optical module, the core layer The thickness of is also decreasing to about 3 μm.
이에 따라, 광정렬 오차에 대한 민감도가 더욱 높아져 광부품 패키징 시 렌즈의 광 정렬 및 접합 공정에 시간과 비용이 소요되고 있는 실정이다.Accordingly, the sensitivity to optical alignment errors is further increased, and time and cost are consumed in optical alignment and bonding processes of lenses when packaging optical components.
일반적으로 LD와 도파로의 광 정렬을 위해 도시된 도 1과 같이 렌즈를 도파로와 LD 사이에 삽입 후 X-Y-Z 3축으로 위치 조정을 통해 도파로에 입사되는 광량이 최대치가 되도록 한다.In general, as shown in FIG. 1 for optical alignment between the LD and the waveguide, a lens is inserted between the waveguide and the LD, and then the position is adjusted in three axes X-Y-Z so that the amount of light incident on the waveguide is maximized.
이때, 렌즈를 미세하게 제어하여 최적의 위치 조정을 한 후, 렌즈 하단부와 광모듈 플랫폼 기판 사이에 에폭시를 투여한 다음, 열 또는 자외선 파장대의 빛으로 에폭시를 경화시켜 렌즈를 고정하게 된다.At this time, after adjusting the optimal position by finely controlling the lens, epoxy is administered between the lower end of the lens and the optical module platform substrate, and then the lens is fixed by curing the epoxy with heat or ultraviolet light.
이러한 렌즈 고정시 사용되는 에폭시의 경화과정은 최초 액체 상태에서 자외선 파장대의 빛이나 열에 의해 반 고체 상태인 젤(Gel) 상태로 변한 후 고체 상태로 경화되는 특징을 가지고 있다.The curing process of the epoxy used for fixing the lens is characterized in that it is initially cured in a solid state after changing from a liquid state to a semi-solid gel state by light or heat in the ultraviolet wavelength range.
이때, 액체에서 고체상태로 변하는 과정 중 에폭시 내부의 경화제가 증발하고, 이에 따라 에폭시의 부피가 줄어드는 수축 과정이 동반된다.At this time, during the process of changing from a liquid to a solid state, the curing agent inside the epoxy evaporates, and accordingly, a shrinkage process in which the volume of the epoxy is reduced is accompanied.
기존에 에폭시를 이용한 렌즈 조립 과정에서 렌즈와 플랫폼 기판 사이에는 에폭시 수축에 의한 수축력이 발생하며 이러한 수축력은 렌즈의 위치를 변화시키는 힘으로 작용한다.In the conventional lens assembly process using epoxy, contraction force due to epoxy contraction occurs between the lens and the platform substrate, and this contraction force acts as a force to change the position of the lens.
일반적인 렌즈 조립 과정에서는 이러한 수축력에 대해 렌즈위치를 초기 최대 광정렬 지점에 유지하기 위해서 렌즈 집게(Lens Gripper)와 같은 홀더를 이용하여 렌즈를 강하게 하게 그립핑(Gripping) 하게 된다.In a general lens assembly process, the lens is strongly gripped using a holder such as a lens gripper in order to maintain the lens position at the initial maximum optical alignment point against such contraction force.
하지만, 도시된 도 2와 같이 에폭시 경화과정이 끝난 후에는 렌즈 집게에 의한 그립핑 힘(Gripping force)과 에폭시 수축력은 힘의 평형에 의해 렌즈의 위치가 유지되는데, 최종적으로 렌즈를 렌즈 집게에서 분리하게 되면 렌즈 그립핑 힘이 제거되면서 힘의 평형이 깨지게 되고 결국 에폭시 수축 방향으로 작용하는 힘에 의해 렌즈가 초기 정렬 위치에서 에폭시 수축 방향으로 위치 이동이 발행하게 되고, 이로 인해 결국 렌즈 위치 변화에 따른 광결합 손실이 발생하게 된다.However, as shown in FIG. 2, after the epoxy curing process is finished, the gripping force by the lens tongs and the epoxy contraction force maintain the position of the lens by the equilibrium of the forces, and finally separate the lens from the lens tongs. When this is done, the lens gripping force is removed and the force balance is broken, and eventually the lens moves from the initial alignment position to the epoxy contraction direction due to the force acting in the epoxy contraction direction. Optical coupling loss occurs.
그리고 상기와 같은 문제점을 해결하기 위하여, 근래에는 에폭시 경화를 위한 자외선 빛의 에너지를 낮추거나 경화 온도를 낮춰 경화 시간을 연장하는데 이는 에폭시 경화 과정에서 젤 상태에서 고체로 변환되는 과정의 시간을 늘려 상대적으로 수축력이 작고 유동성이 남아 있는 젤 상태를 상대적으로 오래 지속하여 고체상태가 되기 전까지의 경화 과정 중에 점진적으로 렌즈 위치 오차를 미세하게 계속해서 보정함으로써 광정렬 오차를 최소화하는 방법을 적용하고 있다.And in order to solve the above problems, recently, the curing time is extended by lowering the energy of ultraviolet light for epoxy curing or lowering the curing temperature, which increases the time of the conversion process from the gel state to the solid during the epoxy curing process. As a result, a method of minimizing the optical alignment error is applied by gradually correcting the lens position error finely during the curing process until the gel state, in which the shrinkage force remains and the liquidity remains, is maintained for a relatively long time to become a solid state.
하지만, 이러한 공정방법은 에폭시 경화 시간이 길어 제품 생산 속도가 떨어지고 제품의 가격이 높아지는 단점이 있다.However, this process method has a disadvantage in that the epoxy curing time is long and the product production rate is low and the product price is high.
따라서 제품의 양산성과 가격 경쟁력을 확보하기 위해서는 에폭시 경화 시간 단축이 필요한 실정이다.Therefore, it is necessary to shorten the epoxy curing time in order to secure mass production and price competitiveness of the product.
본 발명은 상기와 같은 실정을 감안하여 제안된 것으로서, 렌즈 마운트를 적용하여 광원과 도파로 간 광결합 효율을 최대화하고 렌즈 고정을 위해 사용되는 에폭시 경화시간을 최소화할 수 있는 광 모듈 플랫폼 구조 및 제조방법을 제공하는데 그 목적이 있다.The present invention has been proposed in view of the above circumstances, and an optical module platform structure and manufacturing method capable of maximizing optical coupling efficiency between a light source and a waveguide by applying a lens mount and minimizing an epoxy curing time used for fixing a lens. Its purpose is to provide
본 발명의 일실시예에 의한 광 모듈 플랫폼 구조는 광모듈 플랫폼 기판; 상기 광모듈 플랫폼 기판의 상부 일 측에 접합되는 광원 마운트의 상부에 실장되는 광원소자; 상기 광원소자와 간격을 두고 광모듈 플랫폼 기판의 상부에 접합되는 도파로 마운트의 상부에 실장되는 도파로; 상기 광원 마운트와 도파로 마운트의 사이에 고정되는 렌즈 마운트; 상기 렌즈 마운트의 상부에 고정되는 렌즈;를 포함하고, 상기 광원 마운트 및 렌즈 마운트의 사이와 도파로 마운트 및 렌즈 마운트의 사이에는 각각 제 1 렌즈 마운트 가이드와 제 2 렌즈 마운트 가이드가 장착되고, 상기 제 1 렌즈 마운트 가이드와 제 2 렌즈 마운트 가이드는 광모듈 플랫폼 기판과 간격을 두고 장착된다.An optical module platform structure according to an embodiment of the present invention includes an optical module platform substrate; a light source element mounted on an upper portion of a light source mount bonded to an upper side of the optical module platform substrate; a waveguide mounted on an upper portion of a waveguide mount bonded to an upper portion of an optical module platform substrate at a distance from the light source device; a lens mount fixed between the light source mount and the waveguide mount; A lens fixed to an upper portion of the lens mount, wherein a first lens mount guide and a second lens mount guide are mounted between the light source mount and the lens mount and between the waveguide mount and the lens mount, respectively. The lens mount guide and the second lens mount guide are mounted at intervals from the optical module platform substrate.
삭제delete
삭제delete
또한, 상기 광모듈 플랫폼 기판은 렌즈 마운트, 제 1 렌즈 마운트 가이드, 제 2 렌즈 마운트 가이드와 대응하는 부분으로 관통공이 형성될 수 있다.In addition, through-holes may be formed in portions corresponding to the lens mount, the first lens mount guide, and the second lens mount guide in the optical module platform substrate.
또한, 상기 렌즈 마운트는 제 1 렌즈 마운트 가이드 또는 제 2 렌즈 마운트 가이드의 폭보다 크게 형성되고, 높이는 상기 제 1 렌즈 마운트 가이드 또는 제 2 렌즈 마운트 가이드보다 낮게 형성될 수 있다.Also, the lens mount may be formed to be larger than the width of the first lens mount guide or the second lens mount guide, and may be formed to have a height lower than that of the first lens mount guide or the second lens mount guide.
여기서, 상기 광원 마운트와 제 1 렌즈 마운트 가이드는 제 1 접합부를 통해 고정되고, 상기 도파로 마운트와 제 2 렌즈 마운트 가이드는 제 2 접합부를 통해 고정되며, 상기 제 1 렌즈 마운트 가이드와 렌즈 마운트는 제 4 접합부를 통해 고정되고, 상기 제 2 렌즈 마운트 가이드와 렌즈 마운트는 제 5 접합부를 통해 고정될 수 있다.Here, the light source mount and the first lens mount guide are fixed through a first joint, the waveguide mount and the second lens mount guide are fixed through a second joint, and the first lens mount guide and the lens mount are fixed through a fourth joint. It is fixed through the joint, and the second lens mount guide and the lens mount may be fixed through the fifth joint.
이때, 상기 제 1, 2, 4, 5 접합부는 에폭시수지로 형성될 수 있다.In this case, the first, second, fourth, and fifth junctions may be formed of an epoxy resin.
그리고 상기 광원소자와 도파로는 광경로상에 배치될 수 있다.Also, the light source element and the waveguide may be disposed on an optical path.
본원발명의 또 다른 특징인 광 모듈 플랫폼 구조의 제조방법은 광모듈 플랫폼 기판의 상부에 일 측에 광원소자가 실장된 광원 마운트를 접합하는 광원소자 접합단계; 상기 광원 마운트의 측면으로 렌즈 마운트를 밀착시키는 렌즈 마운트 밀착단계; 상기 렌즈 마운트의 반대 측면으로 도파로가 실장된 도파로 마운트를 밀착시킨 후 상기 도파로 마운트를 광모듈 플랫폼 기판에 접합하는 도파로 접합단계; 상기 렌즈 마운트의 상부로 렌즈를 배치한 후 접착제를 도포하여 제 3 접합부를 형성하는 렌즈 고정단계; 및 상기 제 3 접합부 경화 시 접착제 수축에 의해 상기 렌즈 마운트가 Y축 방향으로 상승되었을 때, 상기 렌즈 마운트와 제 1 렌즈마운트 가이드 및 제 2 렌즈마운트 가이드를 접착제를 도포하여 제 4 및 5 접합부를 형성하는 렌즈 마운트 고정단계;를 포함한다.Another feature of the present invention, a method of manufacturing an optical module platform structure, includes a light source device bonding step of bonding a light source mount having a light source device mounted on one side of an upper portion of an optical module platform substrate; A lens mount adhesion step of adhering the lens mount to the side of the light source mount; a waveguide bonding step of attaching the waveguide mount on which the waveguide is mounted to an opposite side of the lens mount and bonding the waveguide mount to an optical module platform substrate; A lens fixing step of disposing a lens on the upper part of the lens mount and then applying an adhesive to form a third junction; and when the lens mount is raised in the Y-axis direction due to adhesive contraction during curing of the third junction, adhesive is applied to the lens mount, the first lens mount guide, and the second lens mount guide to form fourth and fifth junctions. A lens mount fixing step to do; includes.
그리고 상기 광원소자 접합단계와 렌즈 마운트 밀착단계의 사이로, 상기 광원 마운트와 렌즈 마운트의 사이로 제 1 렌즈 마운트 가이드를 장착한 다음, 상기 광원 마운트와 제 1 렌즈 마운트 가이드의 사이로 접착제를 도포하여 제 1 접합부를 형성하는 제 1 렌즈 마운트 가이드 설치단계;가 더 포함될 수 있다.In addition, between the light source element bonding step and the lens mount adhesion step, a first lens mount guide is mounted between the light source mount and the lens mount, and then an adhesive is applied between the light source mount and the first lens mount guide to form a first joint portion A first lens mount guide installation step of forming a; may be further included.
또한, 상기 렌즈 마운트 밀착단계와 도파로 접합단계의 사이로, 상기 렌즈 마운트와 도파로 마운트의 사이로 제 2 렌즈 마운트 가이드를 장착한 다음, 상기 제 2 렌즈 마운트 가이드와 도파로 마운트의 사이로 접착제를 도포하여 제 2 접합부를 형성하는 제 2 렌즈 마운트 가이드 설치단계;가 더 포함될 수 있다.In addition, between the lens mount adhering step and the waveguide bonding step, a second lens mount guide is mounted between the lens mount and the waveguide mount, and then an adhesive is applied between the second lens mount guide and the waveguide mount to form a second junction. A second lens mount guide installation step of forming a; may be further included.
또한, 상기 렌즈 고정단계 후, 상기 제 1 및 제 2 렌즈 마운트 가이드의 상부로 렌즈 마운트를 상승시킨 다음, 상기 렌즈 마운트와 제 1 및 2 렌즈 마운트 가이드의 사이에 접착제를 도포하여 제 4 및 5 접합부를 형성하는 렌즈 마운트 고정단계;를 포함할 수 있다.In addition, after the lens fixing step, the lens mount is raised above the first and second lens mount guides, and then an adhesive is applied between the lens mount and the first and second lens mount guides to form the fourth and fifth joint portions. A lens mount fixing step of forming a; may include.
또한, 상기 렌즈 마운트, 제 1 및 2 렌즈 마운트 가이드와 대응하는 광모듈 플랫폼 기판에 관통공을 형성할 수 있다.In addition, through-holes may be formed in the optical module platform substrate corresponding to the lens mount and the first and second lens mount guides.
여기서 상기 렌즈 마운트는 제 1 및 2 렌즈 마운트 가이드의 높이보다 낮게 형성될 수 있다.Here, the lens mount may be formed lower than the height of the first and second lens mount guides.
또한, 상기 렌즈 고정단계에서 렌즈는 렌즈 그리퍼를 통해 광원소자와 도파로 사이에 삽입된 후 상기 도파로 광출력이 최대가 되는 지점에 장착될 수 있다.Also, in the lens fixing step, the lens may be inserted between the light source element and the waveguide through the lens gripper, and then mounted at a point where the light output of the waveguide is maximized.
본 발명에 의한 광 모듈 플랫폼 구조 및 제조방법은 렌즈 마운트를 적용하여 광원과 도파로 간 광결합 효율을 최대화하고, 접착제의 수축방향과 광정렬 위치 오차발생이 최소가 되도록 내부 구성을 구성하여, 종래 기술에 비해 접착제의 경화속도를 빨리하면서도 광정렬의 오차를 최소화할 수 있는 효과가 있다.The optical module platform structure and manufacturing method according to the present invention maximizes the optical coupling efficiency between the light source and the waveguide by applying a lens mount, and configures the internal configuration to minimize the occurrence of errors in the shrinkage direction and optical alignment position of the adhesive. It has the effect of minimizing the error of optical alignment while speeding up the curing speed of the adhesive.
도 1은 종래의 광부품에서 광소자 광정렬을 나타낸 측면도.
도 2는 일반적인 에폭시 경화과정의 수축력과 렌즈 그리퍼에 작용하는 반력을 나타낸 도면.
도 3은 본 발명에 따른 광 모듈 플랫폼 구조를 나타낸 측면도.
도 4는 본 발명에 따른 광 모듈 플랫폼 구조의 제조방법에서 제 1 렌즈 마운트 가이드의 설치과정을 나타낸 도면.
도 5는 본 발명에 따른 광 모듈 플랫폼 구조의 제조방법에서 제 2 렌즈 마운트 가이드 설치과정을 나타낸 도면.
도 6은 본 발명에 따른 광 모듈 플랫폼 구조의 제조방법에서 최대 광결합 효율을 위한 렌즈의 정렬상태를 나타낸 도면.
도 7은 본 발명에 따른 광 모듈 플랫폼 구조의 제조방법에서 접착제 수축에 의한 렌즈 마운트의 Y축 방향으로 이동하는 예를 나타낸 도면.
도 8은 본 발명에 따른 광 모듈 플랫폼 구조의 제조방법에서 렌즈 마운트 부착과정을 나타낸 도면.
도 9는 본 발명에 따른 광 모듈 플랫폼 구조의 제조방법을 통한 X, Y, Z 축 변위에 따른 광결합 효율을 나타낸 예시 그래프.1 is a side view showing optical element optical alignment in a conventional optical component;
 2 is a view showing the contraction force of a general epoxy curing process and the reaction force acting on the lens gripper.
 3 is a side view showing an optical module platform structure according to the present invention;
 Figure 4 is a view showing the installation process of the first lens mount guide in the manufacturing method of the optical module platform structure according to the present invention.
 5 is a view showing a second lens mount guide installation process in the manufacturing method of the optical module platform structure according to the present invention.
 6 is a view showing an alignment state of lenses for maximum optical coupling efficiency in the manufacturing method of the optical module platform structure according to the present invention.
 7 is a view showing an example of movement in the Y-axis direction of the lens mount due to adhesive shrinkage in the manufacturing method of the optical module platform structure according to the present invention.
 8 is a view showing a lens mount attachment process in the manufacturing method of the optical module platform structure according to the present invention.
 9 is an exemplary graph showing the optical coupling efficiency according to the displacement of the X, Y, and Z axes through the manufacturing method of the optical module platform structure according to the present invention.
본 발명의 이점 및 특징, 그리고 그것들을 달성하는 방법은 첨부되는 도면과 함께 상세하게 후술되어 있는 실시예들을 참조하면 명확해질 것이다. 그러나 본 발명은 이하에서 개시되는 실시예들에 한정되는 것이 아니라 서로 다른 다양한 형태로 구현될 것이며, 단지 본 실시예들은 본 발명의 개시가 완전하도록 하며, 본 발명이 속하는 기술분야에서 통상의 지식을 가진 자에게 발명의 범주를 완전하게 알려주기 위해 제공되는 것이며, 본 발명은 청구항의 기재에 의해 정의된다. 한편, 본 명세서에서 사용된 용어는 실시예들을 설명하기 위한 것이며 본 발명을 제한하고자 하는 것은 아니다. 본 명세서에서, 단수형은 문구에서 특별히 언급하지 않는 한 복수형도 포함한다. 명세서에서 사용되는 "포함한다(comprises)" 또는 "포함하는(comprising)"은 언급된 구성요소, 단계, 동작 및/또는 소자 이외의 하나 이상의 다른 구성요소, 단계, 동작 및/또는 소자의 존재 또는 추가를 배제하지 않는다.Advantages and features of the present invention, and methods of achieving them, will become clear with reference to the detailed description of the following embodiments taken in conjunction with the accompanying drawings. However, the present invention is not limited to the embodiments disclosed below, but will be implemented in various different forms, only these embodiments make the disclosure of the present invention complete, and common knowledge in the art to which the present invention belongs. It is provided to fully inform the holder of the scope of the invention, and the present invention is defined by the description of the claims. Meanwhile, terms used in this specification are for describing the embodiments and are not intended to limit the present invention. In this specification, singular forms also include plural forms unless specifically stated otherwise in a phrase. As used herein, "comprises" or "comprising" means the presence or absence of one or more other elements, steps, operations and/or elements other than the recited elements, steps, operations and/or elements; do not rule out additions.
이하, 본 발명의 바람직한 실시예를 첨부된 도면을 참조하여 상세히 설명하면, 도 3은 본 발명에 따른 광 모듈 플랫폼 구조를 나타낸 측면도이다.Hereinafter, a preferred embodiment of the present invention will be described in detail with reference to the accompanying drawings, FIG. 3 is a side view showing an optical module platform structure according to the present invention.
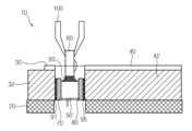
본원발명인 광 모듈 플랫폼 구조(10)는 광모듈 플랫폼 기판(20), 광원소자(30), 도파로(40), 렌즈 마운트(50), 렌즈(60), 제 1 렌즈 마운트 가이드(70), 제 2 렌즈 마운트 가이드(80)를 포함한다.The optical
상기 광모듈 플랫폼 기판(20)은 환경 및 목적 등에 따라 다양하게 형성되고, 본원발명에서 상기 광모듈 플랫폼 기판(20)은 소정의 크기를 가지는 판재 형상으로 형성된다.The optical
그리고 상기 광모듈 플랫폼 기판(20)은 렌즈 마운트(50)와 제 1 렌즈 마운트 가이드(70) 및 제 2 렌즈 마운트 가이드(80)와 대응하는 부분으로 관통공(22)이 형성된다.Further, the optical
여기서, 상기 광모듈 플랫폼 기판(20)에 관통공(22)을 형성한 것은 렌즈 마운트(50)와 제 1 렌즈 마운트 가이드(70) 및 제 2 렌즈 마운트 가이드(80)가 광모듈 플랫폼 기판(20)에 접합되는 것을 차단하고, 필요시 렌즈 마운트(50)를 최대의 광결합 효율을 가지는 렌즈 위치까지 상향 이동하기 위함이다.Here, the through
상기 광원소자(30)는 광모듈 플랫폼 기판(20)의 상부 일 측에 장착되는 광원 마운트(32)의 상부에 실장된다.The
즉, 상기 광원소자(30)는 광모듈 플랫폼 기판(20)의 상부에 장착되는 광원 마운트(32)의 상부에 실장되어 전원 공급시 렌즈(60) 방향으로 빛을 조사하게 된다.That is, the
상기 도파로(40)는 광모듈 플랫폼 기판(20)의 상부 일 측에 장착되는 도파로 마운트(42)의 상부에 실장된다.The
즉, 상기 도파로(40)는 광원소자(30)와 간격을 두고 상기 광모듈 플랫폼 기판(20)의 상부에 장착되는 도파로 마운트(42)의 상부에 실장되어 렌즈(60)를 거쳐 전달되는 빛을 전달시키게 한다.That is, the
상기 렌즈 마운트(50)는 광원 마운트(32)와 도파로 마운트(42)의 사이에 고정된다.The
여기서, 상기 렌즈 마운트(50)는 환경 및 목적 등에 따라 다양한 형상으로 형성될 수 있으며, 본원발명에서 상기 렌즈 마운트(50)는 접착부를 통한 렌즈(60)의 위치 변형을 최소화할 수 있도록 사각형 또는 직사각형 형상의 블록의 형성된다.Here, the
그리고 상기 렌즈 마운트(50)와 광원 마운트(32)의 사이에는 제 1 렌즈 마운트 가이드(70)가 장착되고, 상기 렌즈 마운트(50)와 도파로 마운트(42)의 사이에는 제 2 렌즈마운트 가이드(80)가 장착된다.A first
즉, 상기 렌즈 마운트(50)는 광원 마운트(32)와 도파로 마운트(42)의 사이에 배치된 후, 상기 광원 마운트(32)와 렌즈 마운트(50)의 사이에 제 1 렌즈 마운트 가이드(70)를 고정하고, 상기 도파로 마운트(42)와 렌즈 마운트(50)의 사이에 제 2 렌즈 마운트 가이드(80)를 고정하게 된다.That is, after the
이때, 상기 광원 마운트(32)와 제 1 렌즈 마운트 가이드(70)는 제 1 접합부(91)를 통해 고정되고, 상기 도파로 마운트(42)와 제 2 렌즈 마운트 가이드(80)는 제 2 접합부(92)를 통해 고정되며, 상기 제 1 렌즈 마운트 가이드(70)와 렌즈 마운트(50)는 제 4 접합부(94)를 통해 고정되고, 상기 제 2 렌즈 마운트 가이드(80)와 렌즈 마운트(50)는 제 5 접합부(95)를 통해 고정된다.At this time, the
여기서, 상기 제 1, 2, 4, 5 접합부(91, 92, 94, 95)는 공지된 접착제 중 어느 하나로 형성되고, 본원발명에서 상기 제 1, 2, 4, 5 접합부(91, 92, 94, 95)는 에폭시수지로 형성된다.Here, the first, second, fourth, and fifth
상기 렌즈(60)는 렌즈 마운트(50)의 상부에 고정된다.The
그리고 상기 렌즈(60)는 렌즈 마운트(50)와 사이에 형성되는 제 3 접합부(93)를 통해 고정하게 된다. 여기서, 상기 제 3 접합부(93)는 공지된 접착제 중 어느 하나로 형성되고, 본원발명에서 상기 제 3 접합부(93)는 에폭시수지로 형성된다.And the
즉, 상기 렌즈(60)는 렌즈 마운트(50)의 상부에 제 3 접합부(93)를 통해 고정장착되어, 상기 광원소자(30)에서 출력되는 빛을 도파로(40)에 집속하게 된다.That is, the
다음으로, 광 모듈 플랫폼 구조의 제조방법을 도시된 도면을 참조로 설명하면, 도 4는 본 발명에 따른 광 모듈 플랫폼 구조의 제조방법에서 제 1 렌즈 마운트 가이드의 설치과정을 나타낸 도면이고, 도 5는 본 발명에 따른 광 모듈 플랫폼 구조의 제조방법에서 제 2 렌즈 마운트 가이드 설치과정을 나타낸 도면이며, 도 6은 본 발명에 따른 광 모듈 플랫폼 구조의 제조방법에서 최대 광결합 효율을 위한 렌즈의 정렬상태를 나타낸 도면이고, 도 7은 본 발명에 따른 광 모듈 플랫폼 구조의 제조방법에서 접착제 수축에 의한 렌즈 마운트의 Y축 방향으로 이동하는 예를 나타낸 도면이며, 도 8은 본 발명에 따른 광 모듈 플랫폼 구조의 제조방법에서 렌즈 마운트 부착과정을 나타낸 도면이다.Next, the manufacturing method of the optical module platform structure will be described with reference to the drawings, FIG. 4 is a view showing the installation process of the first lens mount guide in the manufacturing method of the optical module platform structure according to the present invention, and FIG. 5 is a view showing the second lens mount guide installation process in the manufacturing method of the optical module platform structure according to the present invention, Figure 6 is the alignment state of the lenses for maximum optical coupling efficiency in the manufacturing method of the optical module platform structure according to the present invention Figure 7 is a view showing an example of movement in the Y-axis direction of the lens mount by adhesive shrinkage in the manufacturing method of the optical module platform structure according to the present invention, Figure 8 is the optical module platform structure according to the present invention It is a drawing showing the lens mount attachment process in the manufacturing method.
먼저, 도시된 도 4와 같이 광원소자(30)가 부착된 광원 마운트(32)를 광모듈 플랫폼 기판(20)에 접합한 후, 상기 광원 마운트(32)의 측면으로 에폭시 등과 같은 접착제를 이용하여 제 1 접합부(91)를 형성한 다음, 제 1 렌즈 마운트 가이드(70)를 부착한다.First, as shown in FIG. 4, after bonding the light source mount 32 to which the
다음으로, 도시된 도 5와 같이 상기 렌즈 마운트(50)를 제 1 렌즈 마운트 가이드(70)의 측면에 밀착시킨 후 제 2 렌즈 마운트 가이드(80)를 렌즈 마운트(50)의 반대 측면에 밀착시킨다.Next, as shown in FIG. 5, the
이후, 도파로(40)가 실장된 도파로 마운트(42)를 제 2 렌즈 마운트 가이드(80)의 측면을 밀착시킨 후, 상단에 도파로(40)가 실장된 도파로 마운트(42)와 제 2 렌즈 마운트 가이드(80)의 사이에 에폭시 등과 같은 접착제를 이용하여 제 2 접합부(92)를 형성한 다음, 상기 도파로 마운트(42)의 하단면을 광모듈 플랫폼 기판(20)에 접합한다.Thereafter, the
이때, 상기 광원 마운트(32), 제 1 및 제 2 렌즈 마운트 가이드(70, 80), 렌즈 마운트(50), 도파로 마운트(42) 등은 서로 접촉하는 각각의 좌우 측면에서 유격(Clearance)이 존재하지 않도록 최대한 밀착시킨다.At this time, the
즉, 상기 광원 마운트(32)와 제 1 렌즈 마운트 가이드(70), 도파로 마운트(42)와 제 2 렌즈 마운트 가이드(80)는 광모듈 플랫폼 기판(20)에 위치 고정되며, 상기 렌즈 마운트(50)는 도시된 도 3에 표시된 X 및 Y 2축 방향으로 자유도를 갖고 Z축 방향으로는 이동할 수 없도록 자유도가 제한된다.That is, the
다음으로, 도시된 도 6과 같이 광원소자(30)와 도파로(40) 사이에 렌즈 그리퍼(100)를 이용하여 렌즈(60)를 삽입하고, 상기 도파로(40) 광출력이 최대가 되도록 X, Y 및 Z 축 각각의 방향으로 렌즈(60)를 위치 이동시켜, 상기 렌즈(60)가 최대 광결합 효율을 달성할 수 있는 지점을 선정한다.Next, as shown in FIG. 6, the
이후, 상기 렌즈(60)를 최적의 광정렬 지점에 고정할 수 있도록 렌즈(60)의 하단면과 렌즈 마운트(50)의 상단부 사이에 에폭시 등과 같은 접착제를 이용하여 제 3 접합부(93)를 형성한다.Thereafter, a
이때, 상기 제 3 접합부(93)가 형성되는 과정에서 필요시 렌즈 마운트(50)를 Y축 상방향으로 이동시켜 렌즈 마운트(50)를 렌즈의 하단면에 밀착시킬 수 있다.At this time, in the process of forming the
다음으로, 상기 제 3 접합부(93)를 경화하게 되면 렌즈 마운트(50)의 Y축 방향 자유도에 의해 상기 렌즈 마운트(50)가 Y축 상방향으로 이동하여 경화 후에도 수축 방향으로 반력을 발생시키지 않아 렌즈 마운트(50) 상부에 위치한 렌즈(60)를 초기 최적 광정렬 위치를 유지할 수 있게 된다.Next, when the
이를 좀 더 보충설명하면, 상기 제 3 접합부(93)는 에폭시 등과 같은 접착제를 경화시켜 형성됨으로써 경화과정에서 경화제 증발로 인한 부피 감소로 수축력이 발생하게 된다.To supplement this, the
즉, 도시된 도 1과 같이 렌즈를 광모듈 플랫폼 기판의 바닥면에 에폭시 등과 같은 접착제를 이용하여 고정할 경우, Y축 하향 방향의 수축력을 발생시키고, 이로 인해 렌즈의 최적의 광정렬 지점을 유지해야 하는 렌즈 그리퍼는 Y축 상향 방향으로 반력을 인가해야 한다.That is, when the lens is fixed to the bottom surface of the optical module platform board using an adhesive such as epoxy, as shown in FIG. 1, contraction force in the Y-axis downward direction is generated, thereby maintaining the optimal optical alignment point of the lens. The lens gripper must apply a reaction force in the Y-axis upward direction.
이러한 반력은 에폭시와 같은 접착제의 경화가 완료된 이후에 렌즈 그리퍼로부터 렌즈를 분리하는 과정에서 제거되며, 상기 렌즈의 Y축 하향 방향으로 작용하고 있던 에폭시와 같은 접착제의 수축력만이 남게 되어, 결국 렌즈 마운트에 부착된 렌즈를 Y축 하향 방향으로 이동될 뿐만 아니라 결국에 광정렬 오차가 발생하게 된다.This reaction force is removed in the process of separating the lens from the lens gripper after the curing of the adhesive such as epoxy is completed, and only the contractive force of the adhesive such as the epoxy acting in the Y-axis downward direction of the lens remains, eventually leaving the lens mount. The lens attached to is not only moved in the Y-axis downward direction, but also eventually causes an optical alignment error.
그러나 본원발명의 제 3 접합부(93)는 경화과정에서의 수축은 렌즈 마운트(50)를 Y축 상방향으로 이동시킴으로써 상기와 같은 문제점을 해결할 수 있게 된다.However, the shrinkage in the curing process of the
이때, 상기 렌즈 마운트(50) 하단의 광모듈 플랫폼 기판(20)의 일정 영역은 에폭시 등과 같은 접착제로 인한 상기 렌즈 마운트(50)의 수축력이 발생하지 않도록 관통공(22)이 형성되어 있으며, 상기 관통공(22)은 필요시 렌즈 마운트(50)를 최대 광결합 효율을 가지는 렌즈의 위치까지 이동시키는 용도로도 사용될 수 있다.At this time, a through
다음으로, 상기 제 3 접합부(93)에 수축 변형이 생기지 않도록 완전 경화한 후, 도시된 도 8과 같이 상기 렌즈 마운트(50)와 제 1 및 제 2 렌즈 마운트 가이드(70, 80) 사이 측면에 에폭시 등과 같은 접착제를 경화시켜 제 4 및 제 5 접합부(94, 95)를 형성한다.Next, after complete curing to prevent shrinkage and deformation of the third joint 93, as shown in FIG. 8, the
이후, 상기 렌즈 그리퍼(100)를 렌즈(60)로부터 분리하면, 상기 광원소자(30)와 도파로(40) 간 렌즈(60)에 의한 광정렬이 모두 완료된다.Thereafter, when the
이와 같이, 에폭시 등과 같은 접착제 경화 과정에서 발생하는 Y축 방향의 수축의 주요 원인은 렌즈와 렌즈 마운트 사이의 제 3 접합부의 접착제 수축이 주요하며, Z축 방향의 수축은 제 4, 5 접합부의 접착제 수축이 주요하다.As such, the main cause of shrinkage in the Y-axis direction occurring during the curing process of adhesives such as epoxy is the shrinkage of the adhesive at the third junction between the lens and the lens mount, and the shrinkage in the Z-axis direction is caused by the adhesive at the fourth and fifth junctions Shrinkage is key.
하지만, Y축 방향으로 발생하는 제 3 접합부의 접착제 수축은 렌즈 마운트가 경화과정에서 자유도가 있어 렌즈 그리퍼에 반력을 발생시키지 않아 경화 종료 후에 렌즈 그리퍼를 제거하여도 렌즈의 어떠한 위치 변화도 발생시키지 않는다.However, the adhesive shrinkage of the third joint in the Y-axis direction does not generate a reaction force on the lens gripper because the lens mount has a degree of freedom during the curing process, so even if the lens gripper is removed after curing is completed, no change in the position of the lens occurs. .
또한, Z축 방향으로 발생하는 제 4, 5 접합부의 수축은 렌즈 마운트를 기준으로 좌, 우에 대칭으로 존재하여 접착제 수축에 의한 수축력이 Z축 방향으로 서로 평행을 이루게 된다.In addition, the contraction of the fourth and fifth junctions occurring in the Z-axis direction exists symmetrically on the left and right sides with respect to the lens mount, so that the contraction force due to the adhesive contraction is parallel to each other in the Z-axis direction.
더욱이, 광원 마운트, 렌즈 마운트, 제1 및 2 렌즈 마운트 가이드, 그리고 도파로 마운트 등의 부품들이 유격이 없도록 밀착 배치되기 때문에 접합부 두께도 얇아져 접착제 수축에 의해 발생하는 수축력도 미미하다.Moreover, since parts such as the light source mount, lens mount, first and second lens mount guides, and waveguide mount are closely arranged without gap, the thickness of the junction is thin, and the contraction force generated by the adhesive shrinkage is insignificant.
또한, 일반적으로 본 특허와 같이 렌즈를 이용한 광원과 도파로간 광정렬에서는 Z축 광정렬 허용오차(Optical Tolerance)가 X, Y 축에 비해 상대적으로 5배 이상 크다.In addition, in general, in optical alignment between a light source and a waveguide using a lens as in this patent, the Z-axis optical alignment tolerance is 5 times larger than that of the X and Y axes.
예를 들어 도시된 도 9와 같이 광섬유 광원간 광정렬의 경우 X 및 Y 축 광정렬 허용 오차는 90% 이상의 효율을 달성하기 위해서 수 ㎛ 이내의 정밀도가 필요한 반면, Z 축의 경우 수십 ㎛ 정도로 X, Y축에 비해 상대적으로 매우 크다.For example, as shown in FIG. 9, in the case of optical alignment between optical fiber light sources, the optical alignment tolerances of the X and Y axes require precision within several μm to achieve an efficiency of 90% or more, whereas in the case of the Z axis, the X, It is relatively very large compared to the Y-axis.
따라서, 이상의 조건을 종합해 볼 때, Z축 상의 접착제 수축에 의한 광정렬 위치오차 발생은 미미하다.Therefore, considering the above conditions, the optical alignment position error due to the shrinkage of the adhesive on the Z axis is insignificant.
결과적으로 본 특허에서는 접착제의 수축방향을 고려하여 광정렬 위치 오차발생이 최소가 되도록 내부 부품의 배치 구성에 대한 구조와 제작 공정에 대해 제안 하였으며 이로 인해 기존 기술에 비해 접착제의 경화 속도를 빨리하여도 광정렬 오차가 최소화되는 효과를 기대할 수 있다.As a result, this patent proposes a structure and manufacturing process for the arrangement of internal parts to minimize optical alignment position errors by considering the shrinkage direction of the adhesive. The effect of minimizing the optical alignment error can be expected.
이상의 설명은 본 발명의 기술적 사상을 예시적으로 설명한 것에 불과한 것으로서, 본 발명이 속하는 기술 분야에서 통상의 지식을 가진 자라면, 본 발명의 본질적 특성을 벗어나지 않는 범위에서 다양한 수정 및 변형이 가능하다.The above description is merely an example of the technical idea of the present invention, and various modifications and variations can be made by those skilled in the art without departing from the essential characteristics of the present invention.
따라서, 본 발명에 표현된 실시예들은 본 발명의 기술적 사상을 한정하는 것이 아니라, 설명하기 위한 것이고, 이러한 실시예에 의하여 본 발명의 권리범위가 한정되는 것은 아니다. 본 발명의 보호 범위는 아래의 청구범위에 의하여 해석되어야 하고, 그와 동등하거나, 균등한 범위 내에 있는 모든 기술적 사상은 본 발명의 권리범위에 포함되는 것으로 해석되어야 할 것이다.Therefore, the embodiments expressed in the present invention are not intended to limit the technical idea of the present invention, but to explain, and the scope of the present invention is not limited by these embodiments. The protection scope of the present invention should be construed according to the claims below, and all technical ideas that are equivalent or within the scope of equivalents should be construed as being included in the scope of the present invention.
10 : 광 모듈 플랫폼 구조20 : 광모듈 플랫폼 기판
22 : 관통공30 : 광원소자
40 : 도파로50 : 렌즈 마운트
60 : 렌즈70 : 제 1 렌즈 마운트 가이드
80 : 제 2 렌즈 마운트 가이드10: optical module platform structure 20: optical module platform substrate
 22: through hole 30: light source element
 40: waveguide 50: lens mount
 60: lens 70: first lens mount guide
 80: second lens mount guide
| Application Number | Priority Date | Filing Date | Title | 
|---|---|---|---|
| US16/042,969US10444448B2 (en) | 2017-08-04 | 2018-07-23 | Optical module platform structure and method of manufacturing the same | 
| Application Number | Priority Date | Filing Date | Title | 
|---|---|---|---|
| KR20170098758 | 2017-08-04 | ||
| KR1020170098758 | 2017-08-04 | 
| Publication Number | Publication Date | 
|---|---|
| KR20190015069A KR20190015069A (en) | 2019-02-13 | 
| KR102535603B1true KR102535603B1 (en) | 2023-05-23 | 
| Application Number | Title | Priority Date | Filing Date | 
|---|---|---|---|
| KR1020180012813AActiveKR102535603B1 (en) | 2017-08-04 | 2018-02-01 | Optical module platform structure and fabrication method | 
| Country | Link | 
|---|---|
| KR (1) | KR102535603B1 (en) | 
| Publication number | Priority date | Publication date | Assignee | Title | 
|---|---|---|---|---|
| KR102758578B1 (en)* | 2021-08-25 | 2025-01-23 | 한국전자통신연구원 | Multi-channel high-integration optical module with lens mounting structure to minimize optical alignment error and lens assembly process | 
| Publication number | Priority date | Publication date | Assignee | Title | 
|---|---|---|---|---|
| US20170017051A1 (en)* | 2014-02-26 | 2017-01-19 | Nec Corporation | Lens holding structure, lens holder, optical module and lens holding method | 
| Publication number | Priority date | Publication date | Assignee | Title | 
|---|---|---|---|---|
| US4237474A (en)* | 1978-10-18 | 1980-12-02 | Rca Corporation | Electroluminescent diode and optical fiber assembly | 
| JPH04301810A (en)* | 1991-03-29 | 1992-10-26 | Nec Corp | Optical semiconductor array module | 
| KR100347521B1 (en)* | 2000-01-28 | 2002-08-07 | 한국전자통신연구원 | Silicon optical bench and plastic molded receptacle for reception it and optical subassembly constructed them | 
| KR100757233B1 (en) | 2006-06-08 | 2007-09-10 | 한국전자통신연구원 | Optical waveguide platform and manufacturing method thereof | 
| JP6103998B2 (en)* | 2013-03-15 | 2017-03-29 | スタンレー電気株式会社 | Light emitting device | 
| KR101725040B1 (en)* | 2014-11-28 | 2017-04-11 | 주식회사 루셈 | Optical transiver with a sub-mount for arranging optical element | 
| KR102495205B1 (en)* | 2016-02-24 | 2023-02-17 | 한국전자통신연구원 | Optical module | 
| Publication number | Priority date | Publication date | Assignee | Title | 
|---|---|---|---|---|
| US20170017051A1 (en)* | 2014-02-26 | 2017-01-19 | Nec Corporation | Lens holding structure, lens holder, optical module and lens holding method | 
| Publication number | Publication date | 
|---|---|
| KR20190015069A (en) | 2019-02-13 | 
| Publication | Publication Date | Title | 
|---|---|---|
| US10466433B2 (en) | Optical module including silicon photonics chip and coupler chip | |
| JP4690963B2 (en) | Manufacturing method of multi-channel optical module | |
| JP4559327B2 (en) | Alignment method of optical module using lens and optical module created by the method | |
| US20110013869A1 (en) | Micromechanically aligned optical assembly | |
| US8926198B2 (en) | Multi-channel optical receiving module | |
| US20140199019A1 (en) | Optical Engine | |
| CN1158552C (en) | Detachable Optical Wireless Transceiver Using SOI Optical Waveguide | |
| KR20170012339A (en) | Vision-based passive alignment of an optical fiber subassembly to an optoelectronic device | |
| EP3423879B1 (en) | Optical coupling assembly | |
| US20170075070A1 (en) | Optical coupler for coupling light in/out of an optical receiving/emitting structure | |
| CN104765104A (en) | Optical fiber connecter and optical communication module | |
| US10444448B2 (en) | Optical module platform structure and method of manufacturing the same | |
| US10156688B1 (en) | Passive alignment system and an optical communications module that incorporates the passive alignment system | |
| JP2011513774A (en) | Optical transmission device manufacturing method and optical transmission device | |
| KR102535603B1 (en) | Optical module platform structure and fabrication method | |
| KR101256814B1 (en) | All passive aligned optical module and manufacturing method thereof | |
| EP3109680A1 (en) | Optical receptacle and optical module | |
| Palen | Low cost optical interconnects | |
| Betschon et al. | Mass production of planar polymer waveguides and their applications | |
| WO2014196043A1 (en) | Optical module and method for manufacturing optical module | |
| JP2020181024A (en) | Optical transmission module | |
| KR101824668B1 (en) | Optical receiver module using optical waveguide chip and method for manufacturing the same | |
| KR102758578B1 (en) | Multi-channel high-integration optical module with lens mounting structure to minimize optical alignment error and lens assembly process | |
| US20250208355A1 (en) | Optical waveguide component | |
| JP2020008813A (en) | Optical module | 
| Date | Code | Title | Description | 
|---|---|---|---|
| PA0109 | Patent application | Patent event code:PA01091R01D Comment text:Patent Application Patent event date:20180201 | |
| PG1501 | Laying open of application | ||
| PA0201 | Request for examination | Patent event code:PA02012R01D Patent event date:20210108 Comment text:Request for Examination of Application Patent event code:PA02011R01I Patent event date:20180201 Comment text:Patent Application | |
| E902 | Notification of reason for refusal | ||
| PE0902 | Notice of grounds for rejection | Comment text:Notification of reason for refusal Patent event date:20221005 Patent event code:PE09021S01D | |
| E701 | Decision to grant or registration of patent right | ||
| PE0701 | Decision of registration | Patent event code:PE07011S01D Comment text:Decision to Grant Registration Patent event date:20230418 | |
| GRNT | Written decision to grant | ||
| PR0701 | Registration of establishment | Comment text:Registration of Establishment Patent event date:20230518 Patent event code:PR07011E01D | |
| PR1002 | Payment of registration fee | Payment date:20230518 End annual number:3 Start annual number:1 | |
| PG1601 | Publication of registration |