


















본 발명은, 마스크가 수납되는 마스크 케이스, 마스크를 보관하는 보관 기술, 마스크 케이스에 수납되는 마스크를 반송하는 반송 기술, 보관 기술 또는 반송 기술을 이용하는 노광 기술, 및 노광 기술을 이용하는 디바이스 제조 방법에 관한 것이다.The present invention relates to a mask case for storing a mask, a storage technique for storing a mask, a conveyance technique for conveying a mask stored in a mask case, an exposure technique using a storage technique or conveyance technique, and a device manufacturing method using the exposure technique. will be.
예를 들어 액정 표시 소자 등의 전자 디바이스 (마이크로 디바이스) 를 제조하기 위해서 사용되는 노광 장치는, 복수의 마스크를 각각 마스크 케이스에 수납된 상태로 보관 가능한 마스크 라이브러리와, 마스크 반송 장치를 구비하고 있다.     마스크 반송 장치는, 사용이 끝난 마스크가 수납된 마스크 케이스를 마스크 라이브러리로부터 반출하고, 다음 노광 공정에서 사용되는 마스크가 수납된 마스크 케이스를 마스크 라이브러리에 반입한다.     그리고, 노광시에는, 다음에 사용하는 마스크가 수납된 마스크 케이스를 마스크 라이브러리로부터 마스크 반송 장치에 의해 꺼내고, 이 마스크 케이스로부터 마스크 로더계 (마스크 캐리어) 로 마스크를 수수 (授受) 하고, 마스크 로더계가 그 마스크를 노광 장치의 마스크 스테이지에 로드하고 있었다 (예를 들어, 특허문헌 1 참조).For example, an exposure apparatus used to manufacture electronic devices (microdevices) such as liquid crystal display elements includes a mask library capable of storing a plurality of masks in a state accommodated in a mask case, and a mask transport device. The mask conveying device carries out the mask case containing the used mask from the mask library, and carries the mask case containing the mask used in the next exposure step into the mask library. Then, at the time of exposure, the mask case in which the mask to be used next is stored is taken out from the mask library by a mask transfer device, and the mask is transferred from this mask case to a mask loader system (mask carrier), and the mask loader system The mask was loaded onto the mask stage of the exposure apparatus (see
노광 장치에 있어서의 상기 서술한 바와 같은 마스크 반송 장치, 마스크 로더계 및 마스크 라이브러리를 포함하는 마스크 반송 시스템에서는, 마스크 스테이지에 대하여 마스크를 확실하게 반송하기 위해서 마스크의 반송 불량을 방지하는 것이 요구되고 있다. 여기서, 마스크의 반송 불량이란, 예를 들어, 마스크의 오반송, 반송 시스템의 정체·정지, 마스크·마스크 케이스·마스크 반송 시스템 등의 파손 등이 포함된다.In the mask transport system including the above-described mask transport device, mask loader system, and mask library in the exposure apparatus, it is required to prevent mask transport defects in order to reliably transport the mask to the mask stage. . Here, the conveyance defect of the mask includes, for example, erroneous conveyance of the mask, congestion or stoppage of the conveyance system, damage to the mask, mask case, mask conveyance system, and the like.
제 1 양태에 의하면, 마스크를 지지하는 지지부가 형성되는 저면을 갖는 제 1 케이스부와, 제 1 케이스부에 대하여 착탈 가능하도록 형성되고, 그 저면에 대향 배치되는 상면을 갖는 제 2 케이스부를 구비하고, 보관 장치에 보관 가능한 마스크 케이스로서, 그 제 2 케이스부는, 그 제 1 케이스부로부터 떼어내어져 그 보관 장치에 유지될 때에 사용되는 유지부를 갖고, 그 유지부는, 그 제 1 케이스부에 장착된 그 제 2 케이스부가 그 보관 장치에 보관되는 제 1 위치에 있을 때에, 광이 통과하는 제 1 광 통과부와, 그 제 1 케이스부로부터 떼어내어진 그 제 2 케이스부의 그 유지부가 그 보관 장치에 유지되는 제 2 위치에 있을 때에, 그 광이 통과하는, 그 제 1 광 통과부와는 상이한 제 2 광 통과부를 구비하는 마스크 케이스가 제공된다.According to the first aspect, a first case portion having a bottom surface on which a support portion for supporting a mask is formed, and a second case portion having an upper surface formed to be detachable from the first case portion and disposed opposite to the bottom surface, , A mask case that can be stored in a storage device, wherein the second case portion has a holding portion used when being detached from the first case portion and held in the storage device, and the holding portion is attached to the first case portion. When the second case portion is in the first position stored in the storage device, the first light passage portion through which light passes, and the holding portion of the second case portion detached from the first case portion are placed in the storage device. A mask case having a second light passage portion different from the first light passage portion through which the light passes when in the held second position is provided.
제 2 양태에 의하면, 마스크를 지지하는 지지부가 형성되는 저면을 갖는 제 1 케이스부와, 제 1 케이스부에 대하여 착탈 가능하도록 형성되고, 그 저면에 대향 배치되는 상면을 갖는 제 2 케이스부를 구비하고, 보관 장치에 보관 가능한 마스크 케이스로서, 그 제 2 케이스부는, 그 제 1 케이스부로부터 떼어내어져 유지될 때에 사용되는 유지부를 구비하고, 그 유지부는, 그 제 1 케이스부로부터 떼어내어진 그 제 2 케이스부가 그 보관 장치로 지지될 때에, 그 보관 장치에 형성된 핀부에 끼워맞추기 위한 개구부를 갖는 마스크 케이스가 제공된다.According to the second aspect, a first case portion having a bottom surface on which a support portion for supporting a mask is formed, and a second case portion having an upper surface formed to be detachable from the first case portion and disposed opposite to the bottom surface, , A mask case that can be stored in a storage device, wherein the second case portion includes a holding portion used when being detached from the first case portion and held, and the holding portion is detached from the first case portion. 2 A mask case having an opening for fitting into a pin portion formed in the storage device when the case portion is supported by the storage device is provided.
제 3 양태에 의하면, 마스크를 지지하는 지지부가 형성되는 저면을 갖는 제 1 케이스부와, 제 1 케이스부에 대하여 착탈 가능하도록 형성되고, 그 저면에 대향 배치되는 상면을 갖는 제 2 케이스부로 구성되는 마스크 케이스로서, 그 제 1 케이스부는, 그 저면에 있어서 그 지지부에 대향하는 위치에, 외부로부터의 광을 통과시키는 광 통과부를 구비하는 마스크 케이스가 제공된다.According to the third aspect, a first case portion having a bottom surface on which a support portion for supporting the mask is formed, and a second case portion formed to be detachable from the first case portion and having an upper surface disposed opposite to the bottom surface. As the mask case, the first case portion is provided with a light passage portion for passing light from the outside at a position opposite to the support portion on its bottom face.
제 4 양태에 의하면, 패턴이 형성된 마스크가 수납되는 마스크 케이스로서, 그 마스크를 지지하는 하부 케이스부와, 그 하부 케이스부에 지지된 그 마스크를 덮도록, 그 하부 케이스부에 재치 (載置) 되는 상부 케이스부를 구비하고, 그 상부 케이스부는, 마스크 케이스용의 지지부로 그 상부 케이스부를 지지하기 위한 플랜지부를 갖고, 그 플랜지부에, 그 상부 케이스부의 위치를 검출하기 위한 광빔이 통과 가능한 개구가 형성된 마스크 케이스가 제공된다.According to the fourth aspect, a mask case in which a mask having a pattern formed therein is accommodated, the lower case portion supporting the mask, and the lower case portion being placed so as to cover the mask supported by the lower case portion. The upper case portion has a flange portion for supporting the upper case portion as a support portion for a mask case, and an opening through which a light beam for detecting a position of the upper case portion can pass is formed in the flange portion. A mask case is provided.
제 5 양태에 의하면, 패턴이 형성된 마스크가 수납되는 마스크 케이스로서, 그 마스크를 지지하는 하부 케이스부와, 그 하부 케이스부에 지지된 그 마스크를 덮도록, 그 하부 케이스부에 재치되는 상부 케이스부를 구비하고, 그 하부 케이스부의 저면에, 외부로부터의 광을 반사하는 제 1 반사부, 및 외부로부터의 광을 통과시키는 창부 (窓部) 가 형성된 마스크 케이스가 제공된다.According to a fifth aspect, a mask case in which a patterned mask is accommodated includes a lower case portion supporting the mask and an upper case portion placed in the lower case portion so as to cover the mask supported by the lower case portion. and a first reflector for reflecting light from the outside and a window for passing light from the outside are formed on the bottom surface of the lower case part.
제 6 양태에 의하면, 패턴이 형성된 마스크가 수납되는 마스크 케이스로서, 그 마스크를 지지하는 하부 케이스부와, 그 하부 케이스부에 지지된 그 마스크를 덮도록, 그 하부 케이스부에 재치되는 상부 케이스부를 구비하고, 그 하부 케이스부의 그 마스크 케이스의 반송부에 대향하는 저면에, 회전 대칭인 제 1 오목부, V 자형의 홈 형상의 제 2 오목부, 및 적어도 1 개 지점의 평탄부가 형성된 마스크 케이스가 제공된다.According to a sixth aspect, a mask case in which a patterned mask is accommodated includes a lower case portion supporting the mask and an upper case portion placed in the lower case portion so as to cover the mask supported by the lower case portion. and a rotationally symmetric first concave portion, a V-shaped groove-shaped second concave portion, and at least one flat portion are formed on the lower surface of the lower case portion facing the conveyance portion of the mask case. Provided.
제 7 양태에 의하면, 패턴이 형성된 마스크를 수납하고, 그 마스크를 반송하기 위한 반송 장치에 수용되는 마스크 케이스로서, 그 마스크를 지지하는 지지부를 포함하는 제 1 케이스부와, 그 제 1 케이스부 상에 재치되고, 그 마스크를 수납하기 위한 공간을 그 제 1 케이스부와 함께 형성하는 제 2 케이스부를 구비하고, 그 제 2 케이스부는, 그 지지부에 지지된 그 마스크의 상면에 대향하는 천판부 및 그 천판부에 대하여 외측으로 돌출된 플랜지부를 포함하고, 그 플랜지부는, 그 반송 장치의 수용부에 대한 그 제 2 케이스부의 수용 상태를 검지하기 위해서 그 플랜지부를 관통한 관통부가 형성된 마스크 케이스가 제공된다.According to the seventh aspect, a mask case accommodated in a conveying device for accommodating a patterned mask and conveying the mask, a first case portion including a support portion for supporting the mask, and on the first case portion and a second case part which is placed on the top plate and forms a space for accommodating the mask together with the first case part, the second case part being supported by the support part and facing the upper surface of the mask, and Provided is a mask case including a flange portion protruding outward from the top plate portion, wherein the flange portion is formed with a penetration portion penetrating the flange portion in order to detect a receiving state of the second case portion with respect to a receiving portion of the transport device. do.
제 8 양태에 의하면, 마스크 케이스를 보관하는 보관 장치에 있어서, 제 1 양태의 마스크 케이스의 그 유지부를 개재하여 그 마스크 케이스를 지지 가능한 지지부와, 그 지지부를 향하여 광빔을 조사하는 조사부와, 그 지지부를 향하여 조사된 그 광빔을 검출하는 검출부를 구비하는 보관 장치가 제공된다.According to an eighth aspect, in a storage device for storing a mask case, a support portion capable of holding the mask case of the first aspect through the holding portion, an irradiation portion that irradiates a light beam toward the support portion, and the support portion A storage device having a detection unit for detecting the light beam irradiated toward the camera is provided.
제 9 양태에 의하면, 마스크 케이스를 반송하는 반송 장치로서, 제 8 양태의 보관 장치에 그 마스크 케이스를 반송하는 반송 아암을 구비하고, 그 반송 아암은, 그 마스크 케이스를 유지하고 나서 그 마스크 케이스가 그 보관 장치의 그 지지부에 지지될 때까지의 동안에 그 검출부로 검출된 그 광빔의 검출 결과에 기초하여, 그 마스크 케이스가 그 지지부로 지지되는 위치를 제어하는 반송 장치가 제공된다.According to the ninth aspect, as a conveyance device that conveys the mask case, the storage device of the eighth aspect is provided with a conveyance arm that conveys the mask case, and the conveyance arm holds the mask case, and then the mask case A conveyance device is provided that controls the position at which the mask case is supported by the support portion based on a detection result of the light beam detected by the detection portion until it is supported by the support portion of the storage device.
제 10 양태에 의하면, 마스크 케이스를 보관하는 보관 장치로서, 제 2 양태의 마스크 케이스의 유지부를 지지 가능한 케이스 지지부를 구비하고, 그 케이스 지지부에, 그 유지부에 형성된 그 개구부와 걸어맞춤 가능한 핀부를 갖는 보관 장치가 제공된다.According to a tenth aspect, a storage device for storing a mask case includes a case support portion capable of supporting the holding portion of the mask case of the second aspect, and a pin portion engageable with the opening formed in the holding portion in the case support portion. A storage device having
제 11 양태에 의하면, 마스크 케이스를 반송하는 반송 장치에 있어서, 제 3 양태의 마스크 케이스를 지지하는 케이스 지지부와, 그 마스크 케이스를 향하여 광빔을 조사하는 조사부와, 그 마스크 케이스를 향하여 조사된 그 광빔을 검출하는 검출부를 구비하는 반송 장치가 제공된다.According to the 11th aspect, in the conveying device for conveying the mask case, the case support portion for supporting the mask case of the third aspect, the irradiation unit for irradiating a light beam toward the mask case, and the light beam irradiated toward the mask case A conveying device having a detection unit for detecting is provided.
제 12 양태에 의하면, 마스크 케이스를 보관하는 보관 장치, 또는 마스크 케이스를 반송하는 반송 장치에 있어서, 상기 서술한 양태의 마스크 케이스를 지지하는 케이스 지지부를 구비하는 보관 장치, 또는 반송 장치가 제공된다.According to the twelfth aspect, in the storage device for storing the mask case or the conveyance device for conveying the mask case, the storage device or conveyance device provided with the case support portion supporting the mask case of the aspect described above is provided.
제 13 양태에 의하면, 마스크 케이스를 반송하는 반송 장치로서, 상기 서술한 양태의 마스크 케이스로부터 제 2 케이스부를 꺼내어, 그 마스크가 재치된 그 제 1 케이스부를 반송하는 반송 아암을 구비하는 반송 장치가 제공된다.According to the thirteenth aspect, as a conveying device for conveying a mask case, a conveying device provided with a conveying arm for taking out the second case portion from the mask case of the above-described aspect and conveying the first case portion on which the mask is placed is provided. do.
제 14 양태에 의하면, 기판을 노광하는 노광 장치에 있어서, 상기 서술한 양태의 마스크 케이스에 수납된 마스크를 사용하여, 그 기판을 노광하는 노광 장치가 제공된다.According to a 14th aspect, in the exposure apparatus which exposes a board|substrate, the exposure apparatus which exposes the board|substrate is provided using the mask accommodated in the mask case of the aspect mentioned above.
제 15 양태에 의하면, 기판을 노광하는 노광 장치에 있어서, 상기 서술한 양태의 보관 장치, 또는 상기 서술한 양태의 반송 장치를 구비하고, 그 보관 장치에 보관 가능한 마스크 케이스, 또는 그 반송 장치에 의해 반송된 마스크 케이스의 내부에 수납된 마스크를 사용하여, 그 기판을 노광하는 노광 장치가 제공된다.According to the 15th aspect, in the exposure apparatus for exposing a substrate, the storage device of the above-described aspect or the conveying device of the above-described aspect is provided, and the mask case can be stored in the storage device, or the conveying device An exposure apparatus that exposes a substrate using a mask housed inside a conveyed mask case is provided.
제 16 양태에 의하면, 상기 서술한 양태의 노광 장치를 사용하여 감광성 기판을 노광하는 것과, 그 노광된 감광성 기판을 처리하는 것을 포함하는 디바이스 제조 방법이 제공된다.According to a 16th aspect, there is provided a device manufacturing method comprising exposing a photosensitive substrate using the exposure apparatus of the above-described aspect, and processing the exposed photosensitive substrate.
제 17 양태에 의하면, 마스크 케이스를 보관하는 보관 방법에 있어서, 상기 서술한 양태의 마스크 케이스의 그 유지부를 개재하여 그 마스크 케이스를 지지하는 것과, 그 지지부를 향하여 광빔을 조사하는 것과, 그 지지부를 향하여 조사된 그 광빔을 검출하는 것을 포함하는 보관 방법이 제공된다.According to the 17th aspect, in the storage method for storing the mask case, the mask case of the above-mentioned aspect is supported through the holding part, irradiating a light beam toward the support part, and the support part A storage method is provided which includes detecting the light beam irradiated toward it.
제 18 양태에 의하면, 마스크 케이스를 반송하는 반송 방법에 있어서, 마스크가 수납된 상기 서술한 양태의 마스크 케이스를 지지하는 것과, 그 마스크 케이스의 제 1 케이스부에 광을 조사하고, 그 제 1 케이스부에 조사된 그 광을 검출하는 것과, 그 제 1 케이스부에 형성되는 광 통과부를 통해서 그 제 1 케이스부에 재치된 그 마스크에 그 광을 조사하고, 그 마스크로부터의 반사광을 그 광 통과부를 통해서 검출하는 것을 포함하는 반송 방법이 제공된다.According to the eighteenth aspect, in the conveyance method for conveying the mask case, the mask case of the above-described aspect in which the mask is accommodated is supported, and the first case portion of the mask case is irradiated with light, and the first case Detecting the light irradiated to the portion, irradiating the light to the mask placed in the first case portion through a light passage portion formed in the first case portion, and directing reflected light from the mask to the light passage portion. A conveying method including detecting through is provided.
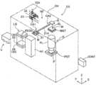
도 1 은, 실시형태의 일례에 관련된 노광 장치의 개략 구성을 나타내는 도면이다.
도 2(A) 는, 도 1 중의 마스크 케이스를 상면측에서 본 사시도, (B) 는, 그 마스크 케이스를 저면측에서 본 사시도이다.
도 3(A) 는, 도 1 중의 마스크 케이스를 나타내는 평면도, (B) 는, 그 마스크 케이스를 나타내는 저면도, (C) 는, 도 3(B) 의 CC 선을 따르는 부분 단면도이다.
도 4 는, 도 1 중의 마스크 케이스의 하부 케이스부에서 상부 케이스부를 떼어낸 상태를 나타내는 사시도이다.
도 5(A) 는, 마스크의 반송차를 나타내는 평면도, (B) 는, 반송차를 나타내는 측면도이다.
도 6(A) 는, 마스크의 반송 장치를 나타내는 일부를 생략한 평면도, (B) 는, 반송 장치를 나타내는 측면도이다.
도 7 은, 마스크 및 마스크 케이스의 검출 장치를 나타내는 확대 단면도이다.
도 8 은, 마스크 라이브러리를 나타내는 사시도이다.
도 9 는, 마스크 라이브러리를 나타내는 정면도이다.
도 10 은, 복수의 마스크 케이스가 반입된 마스크 라이브러리를 나타내는 사시도이다.
도 11(A) 는, 마스크의 반송 방법을 포함하는 노광 방법의 일례를 나타내는 플로우 차트, (B) 는, 반송 방법의 제 1 변형예를 나타내는 플로우 차트, (C) 는, 반송 방법의 제 2 변형예를 나타내는 플로우 차트이다.
도 12 는, 마스크 라이브러리 및 마스크 케이스를 나타내는 일부를 단면으로 나타낸 측면도이다.
도 13 은, 마스크 라이브러리 및 분리된 마스크 케이스를 나타내는 일부를 단면으로 나타낸 측면도이다.
도 14 는, 변형예의 마스크 케이스를 나타내는 평면도이다.
도 15(A), (B), (C), (D), (E) 는, 각각 변형예의 마스크 케이스를 마스크 라이브러리에 반입할 때의 동작 설명도이다.
도 16(A) 는, 마스크 케이스를 반입할 때의 검출 신호의 일례를 나타내는 도면, (B) 는, 마스크 케이스의 상부 케이스부를 떼어낼 때의 검출 신호의 일례를 나타내는 도면이다.
도 17(A), (B), (C), (D), (E) 는, 각각 변형예의 마스크 케이스의 상부 케이스부를 떼어낼 때의 동작 설명도이다.
도 18(A) 는, 다른 변형예의 마스크 케이스를 나타내는 평면도, (B) 는, 도 18(A) 중의 플랜지부를 나타내는 확대도, (C) 는, 플랜지부의 다른 예를 나타내는 확대도이다.
도 19 는, 전자 디바이스의 제조 방법의 일례를 나타내는 플로우 차트이다.1 is a diagram showing a schematic configuration of an exposure apparatus according to an example of an embodiment.
 Fig. 2(A) is a perspective view of the mask case in Fig. 1 viewed from the upper surface side, and (B) is a perspective view of the mask case viewed from the bottom surface side.
 Fig. 3(A) is a plan view showing the mask case in Fig. 1, (B) is a bottom view showing the mask case, and (C) is a partial sectional view taken along line CC of Fig. 3(B).
 Fig. 4 is a perspective view showing a state in which the upper case portion is removed from the lower case portion of the mask case in Fig. 1;
 Fig. 5(A) is a plan view showing a mask transport vehicle, and (B) is a side view showing the transport vehicle.
 Fig. 6(A) is a partially omitted plan view showing a mask conveying device, and (B) is a side view showing the conveying device.
 Fig. 7 is an enlarged sectional view showing a detection device for a mask and a mask case.
 8 is a perspective view showing a mask library.
 9 is a front view showing a mask library.
 Fig. 10 is a perspective view showing a mask library in which a plurality of mask cases are loaded.
 11 (A) is a flow chart showing an example of an exposure method including a conveying method of a mask, (B) is a flow chart showing a first modified example of the conveying method, and (C) is a second conveying method. It is a flow chart showing a modified example.
 Fig. 12 is a side view showing a part showing a mask library and a mask case in cross section.
 13 is a side view showing a part showing a mask library and a separated mask case in cross section.
 14 is a plan view showing a mask case of a modified example.
 15(A), (B), (C), (D), and (E) are operation explanatory diagrams at the time of importing a mask case of a modified example into a mask library, respectively.
 16(A) is a diagram showing an example of a detection signal when carrying in a mask case, and (B) is a diagram showing an example of a detection signal when removing an upper case portion of the mask case.
 17(A), (B), (C), (D), and (E) are operation explanatory diagrams at the time of removing the upper case portion of the mask case of each modified example.
 Fig. 18 (A) is a plan view showing a mask case of another modified example, (B) is an enlarged view showing a flange portion in Fig. 18 (A), and (C) is an enlarged view showing another example of a flange portion.
 19 is a flowchart showing an example of a method for manufacturing an electronic device.
본 발명의 실시형태의 일례에 대해 도면을 참조하여 설명한다.     도 1 은, 본 실시형태에 관련된 노광 장치 (EX) 의 개략 구성을 나타낸다.     일례로서, 노광 장치 (EX) (투영 노광 장치) 는, 주사 노광형이며, 액정 표시 소자 또는 유기 EL (Electro-Luminescence) 방식의 표시 소자 등을 제조하기 위한 레지스트 (감광제) 가 도포된 평판상의 플레이트 (P) (감광 기판) 에, 마스크 (M) 의 패턴 이미지를 노광한다.     또한, 이하의 설명에 있어서, 수평면 내에서, 후술하는 마스크 라이브러리 (LB) 로부터 마스크 (M) 가 수납된 후술하는 마스크 케이스 (30) 를 반입 또는 반출하는 방향을 따라 Y 축을 취하고, 그 수평면 내에서 Y 축에 직교하는 방향을 따라 X 축을 취하고, X 축 및 Y 축에 수직인 방향 (즉, 연직 방향) 을 따라 Z 축을 취하고 있다.EMBODIMENT OF THE INVENTION An example of embodiment of this invention is described with reference to drawings. 1 shows a schematic configuration of an exposure apparatus EX according to the present embodiment. As an example, the exposure apparatus EX (projection exposure apparatus) is of a scanning exposure type, and includes a flat plate coated with a resist (photosensitizer) for producing a liquid crystal display element or an organic EL (Electro-Luminescence) type display element, etc. ( P) (photosensitive substrate), the pattern image of the mask M is exposed. In the following description, the Y-axis is taken along a direction in which a
노광 장치 (EX) 는, 사각형 평판상의 마스크 (M) 의 패턴을 플레이트 (P) 에 노광하는 노광부 (S) 를 구비하고 있다.     또한, 일례로서, 마스크 (M) 의 패턴면 (하면) 에는, 사각형 프레임 형상의 프레임 (도시하지 않음) 을 개재하여 방진용의 박막 (소위, 펠리클) 이 장설 (張設) 되어 있어도 된다.     노광부 (S) 는, 마스크 (M) 를 유지하여 이동하는 마스크 스테이지 (MST) 와, 노광 광으로 마스크 (M) 를 조명하는 조명계 (IL) 와, 마스크 (M) 의 패턴의 이미지를 플레이트 (P) 의 표면에 투영하는 투영 광학계 (PL) 와, 플레이트 (P) 를 유지하여 이동하는 플레이트 스테이지 (PST) 를 갖는다.     또한, 노광 장치 (EX) 는, 각각 마스크 (M) 가 수납된 복수의 마스크 케이스 (30) 를 보관 가능한 보관부로서의 마스크 라이브러리 (LB) 와, 마스크 라이브러리 (LB) 에 대한 마스크 케이스 (30) 의 반입 및 반출 등을 실시하는 반송 장치 (H1) 와, 마스크 케이스 (30) 로부터 꺼낸 마스크 (M) 를 노광부 (S) 의 마스크 스테이지 (MST) 에 반송하는 마스크 로더계 (H2) 와, 장치 전체의 동작을 제어하는 제어 장치 (CONT) 를 구비하고 있다.     또한, 노광부 (S), 마스크 라이브러리 (LB), 반송 장치 (H1), 및 마스크 로더계 (H2) 는, 소정 환경으로 설정된 노광 챔버 (CH) 내부에 수용되어 있다.Exposure apparatus EX is equipped with exposure part S which exposes the pattern of mask M of a square flat plate shape to plate P. As an example, a dust-proof thin film (so-called pellicle) may be provided on the pattern surface (lower surface) of the mask M through a frame (not shown) having a rectangular frame shape. The exposure unit S includes a mask stage MST that moves while holding the mask M, an illumination system IL that illuminates the mask M with exposure light, and an image of a pattern of the mask M on a plate ( It has a projection optical system PL for projecting onto the surface of P) and a plate stage PST that moves while holding the plate P. In addition, exposure apparatus EX has a mask library LB as a storage unit capable of storing a plurality of
마스크 라이브러리 (LB) 는, 노광 챔버 (CH) 의 +Y 방향의 측면에 형성된 마스크 케이스 (30) 의 반출입구 (도시하지 않음) 의 근방에 형성되고, 마스크 케이스 (30) 를 수용하는 복수의 수용부 (65) 및 마스크 케이스 (30) 를 일시적으로 수용하는 일시 수용부 (66) 를 갖는다.     복수의 수용부 (65) 는 Z 방향으로 배열되고, 수용부 (65) 에 수용되는 각 마스크 케이스 (30) 에는 각각 1 매의 마스크 (M) 가 개별적으로 수납된다.     복수의 마스크 케이스 (30) 내의 마스크 (M) 에는, 통상적으로는 서로 상이한 마스크 패턴이 형성되어 있다.The mask library LB is formed in the vicinity of a carry-in/outlet (not shown) of the
일례로서, 마스크 라이브러리 (LB) 내에 있는 마스크 (M) 와는 다른 많은 마스크 (M) 가, 각각 마스크 케이스 (30) 에 수납된 상태에서, 노광 챔버 (CH) 의 외부의 마스크 스토커 (도시하지 않음) 에 보관되어 있다.     그리고, 노광 장치 (EX) 에서 필요해진 마스크 (M) 가 수납된 마스크 케이스 (30) 가, 그 마스크 스토커로부터 반송차 (V) 에 의해 노광 챔버 (CH) 의 반출입구 (도시하지 않음) 를 통해 마스크 라이브러리 (LB) 의 일시 수용부 (66) 에 반입된다.     일시 수용부 (66) 에 반입된 마스크 케이스 (30) 는, 반송 장치 (H1) 에 의해 수용부 (65) 로 옮겨진다.     또한, 사용이 끝난 마스크 (M) 가 수납된 마스크 케이스 (30) 가, 반송 장치 (H1) 에 의해 수용부 (65) 로부터 일시 수용부 (66) 로 옮겨진다.     그 마스크 케이스 (30) 는, 반송차 (V) 에 의해 일시 수용부 (66) 로부터 노광 챔버 (CH) 의 반출입구 (도시하지 않음) 를 통해 마스크 스토커 (도시하지 않음) 로 되돌려진다.As an example, many masks M different from the mask M in the mask library LB are housed in the
도 2(A) 는 도 1 중의 마스크 케이스 (30) 를 상면측에서 본 사시도, 도 2(B) 는 마스크 케이스를 저면측에서 본 사시도, 도 3(A) 는 마스크 케이스 (30) 를 나타내는 평면도 (상면도), 도 3(B) 는 마스크 케이스 (30) 를 나타내는 저면도이다.     또한, 도 2(A) ∼ 도 3(B) 에 있어서의 좌표계 (X, Y, Z) 는, 마스크 케이스 (30) 가 도 1 의 마스크 라이브러리 (LB) 의 수용부 (65) 에 수용되어 있는 상태에서의 좌표계를 나타내고 있다.2(A) is a perspective view of the
마스크 케이스 (30) 는, 도 2(A) 및 (B) 에 나타내는 바와 같이, 마스크 (M) 가 재치되는 하부 케이스부 (제 1 케이스부) (31A) 와, 그 하부 케이스부 (31A) 에 재치된 마스크 (M) 를 덮도록 하부 케이스부 (31A) 위에 재치 (장착) 되는 상부 케이스부 (제 2 케이스부) (31B) 를 구비하고 있다.     즉, 마스크 케이스 (30) 는, 하부 케이스부 (31A) 와 상부 케이스부 (31B) 를 서로 조합하여 마스크 (M) 를 수납하기 위한 공간을 형성하고 있다.     하부 케이스부 (31A) 와 상부 케이스부 (31B) 는, 마스크 (M) 를 수납하기 위한 공간을 덮도록 (둘러싸도록) 조합되고, 이 공간에 수납된 마스크 (M) 를 보호한다.     하부 케이스부 (31A) 는, 도 2(B) 및 도 3(B) 에 나타내는 바와 같이, 마스크 (M) 보다 큰 사각형 평판상의 베이스 부재 (32), 및 베이스 부재 (32) 의 ―Y 방향의 상단부에 볼트 (도시하지 않음) 를 통해서 고정된 평판상의 측벽 부재 (33) 를 갖는다.     상부 케이스부 (31B) 는, 도 2(A) 및 도 3(A) 에 나타내는 바와 같이, 베이스 부재 (32) 와 거의 동일 크기의 사각형 평판부 (천판부) (39a) 의 ―X 방향, +X 방향 및 +Y 방향의 단부 (端部) 의 하측에 각각 평판상의 측벽부 (39b, 39c, 39d) 를 형성한 형상의 커버 부재 (39), 그리고 커버 부재 (39) 의 ―X 방향 및 +X 방향의 측면의 중앙부에, 각각 외측으로 돌출하도록 고정된 Y 방향으로 가늘고 긴 플랜지부 (41A, 41B) 를 갖는다.     일례로서, 마스크 케이스 (30) (케이스부 (31A, 31B)) 의 상면의 외형은, Y 방향의 길이가 X 방향의 폭보다 긴 거의 장방형상이다.As shown in FIGS. 2(A) and (B) , the
하부 케이스부 (31A) 및 상부 케이스부 (31B) 를 구성하는 부재는, 일례로서 각각 알루미늄 또는 스테인리스 등의 금속으로부터 형성할 수 있지만, 금속에 한정되지 않고, 플라스틱이나 탄소 섬유를 사용한 복합 재료 등으로 형성해도 된다.     또, 하부 케이스부 (31A) 및 상부 케이스부 (31B) 의 일부에 형성되는 개구 (상세 후술) 에 합성 수지 또는 석영 유리 등으로부터 형성되는 창부를 장착하도록 (매립하도록) 해도 된다.The members constituting the
베이스 부재 (32) 는, 사각형 평판부 (32a) 의 X 방향의 양 측면에, 각각 평판부 (32a) 보다 약간 ―Y 방향으로 돌출함과 함께, 저면에 Y 방향을 따라 홈부 (32b1) 가 형성된 2 개의 가늘고 긴 평판부 (32b) 를 고정시킨 것이다.     평판부 (32b) 의 홈부 (32b1) 의 2 개 지점에 각각 볼트 (B4) 를 통해서 짧은 로드 형상의 다리부 (35) 가 고정되고, 평판부 (32a) 의 저면의 중앙의 2 개 지점에도 각각 볼트 (B4) 를 통해서 다리부 (35) 가 고정되어 있다.     또한, 평판부 (32a) 에 고정된 다리부 (35) 는 생략하는 것이 가능하다.     평판부 (32a) 의 ―Y 방향의 측면 (측벽 부재 (33) 의 저면) 의 2 개 지점에, 단면 형상이 L 자형인 연결부 (38A, 38B) 가 볼트 (도시하지 않음) 에 의해 고정되고, 연결부 (38A, 38B) 의 ―Y 방향으로 돌출된 부분에 각각 원형의 개구 (38Aa, 38Ba) (상세 후술) 가 형성되어 있다.The
플랜지부 (41A, 41B) 는 각각 단면 형상이 L 자형이고, Y 방향의 길이가 커버 부재 (39) 길이의 1/2 정도이며, 플랜지부 (41A, 41B) 중 측벽부 (39b, 39c) 에 대향하는 부분이 각각 복수 지점에서 볼트 (B5) 에 의해 커버 부재 (39) 의 측벽부 (39b, 39c) 에 고정되어 있다.     플랜지부 (41A, 41B) 의 ―X 방향 및 +X 방향으로 돌출한 부분 (이하, 이들 부분을 간단히 플랜지부 (41A, 41B) 라고 한다) 의 ―Y 방향의 단부에 가까운 부분에, 각각 Y 방향으로 소정 폭의 절결부 (41Aa, 41Ba) 가 형성되고, 플랜지부 (41A, 41B) 의 +Y 방향의 단부에 가까운 위치에 각각 소정 크기의 원형 개구 (관통공) (41Ab, 41Bb) 가 형성되어 있다.     또한, 일방 (+X 방향측) 의 플랜지부 (41B) 의 절결부 (41Ba) 에 가까운 위치에, Y 방향을 따라 소정 간격으로 2 개의 서로 동일한 크기의 원형 개구 (관통공) (41Bc, 41Bd) 가 형성되어 있다.     구체적으로는, 일례로서, 개구 (41Bc, 41Bd) 는, Y 방향으로 서로 60 ㎜ 떨어진 위치가 개구 (관통) 하도록 형성되어 있다.     또, 일례로서, 개구 (41Bd) 의 중심과 개구 (41Bb) 의 중심의 Y 방향의 간격은 570 ㎜ 이다.     또한, 플랜지부 (41A, 41B) 는, 상기 서술한 절결부 및 각 개구의 배치를 Y 방향에 관해서 반전시킨 구성으로 해도 된다.     또, 개구 (41Bc, 41Bd) 는, 서로 동일한 크기에 한정되지 않고 상이한 크기여도 되고, 원형상에 한정되지 않고 다른 형상이어도 된다.     예를 들어, 개구 (41Bc, 41Bd) 는, 원형상으로 닫힌 개구 (구멍) 형상이 아니라, 플랜지부 (41B) 의 측면으로 이어진 절결 형상이어도 된다.Each of the
본 실시형태의 마스크 케이스 (30) 에 있어서, 상부 케이스부 (31B) 의 플랜지부 (41A, 41B) 를 지지한 상태에서, 하부 케이스부 (31A) 를 강하시킴으로써, 상부 케이스부 (31B) 를 하부 케이스부 (31A) 로부터 용이하게 분리할 수 있다.     반대로, 그 상부 케이스부 (31B) 가 분리된 상태로부터 하부 케이스부 (31A) 를 상승시킴으로써, 하부 케이스부 (31A) 상에 재치된 마스크 (M) 를 덮도록, 하부 케이스부 (31A) 에 상부 케이스부 (31B) 를 용이하게 장착할 수 있다.In the
도 4 는, 하부 케이스부 (31A) 로부터 상부 케이스부 (31B) 를 분리하고, 하부 케이스부 (31A) 로부터 마스크 (M) 를 들어 올린 상태의 마스크 케이스 (30) 를 나타낸다.     도 4 에 있어서, 하부 케이스부 (31A) 의 2 개의 가늘고 긴 평판부 (32b) 의 상단부에, 각각 마스크 (M) 를 지지하기 위한 단차부 (34Ba, 34Ca) 가 형성된 지지부 (34B, 34C) 가 고정되고 (일방의 지지부 (34B) 는 도시하지 않음), 지지부 (34B, 34C) 의 사이에 단차부 (34Ba, 34Ca) 와 동일한 높이의 작은 평판상의 지지부 (34A) 가 고정되어 있다.     각 1 쌍의 지지부 (34B, 34C) 의 단차부 (34Ba, 34Ca), 및 1 쌍의 지지부 (34A) 의 상면에 마스크 (M) 의 패턴면 (하면) 의 주연부를 재치함으로써, 하부 케이스부 (31A) 로 마스크 (M) 를 지지할 수 있다.     마스크 라이브러리 (LB) 에 마스크 케이스 (30) 를 수납한 상태에서, 마스크 (M) 의 패턴면은 거의 수평면에 평행하다.4 shows the
또, 커버 부재 (39) 의 평판부 (39a) 에 형성된 4 개 지점의 개구 (예를 들어, 거의 정방형의 개구) 에, 각각 광 (예를 들어, 가시광) 을 투과하는 마스크 관찰용의 창부 (39e) 가 장착되고, 평판부 (39a) 의 +X 방향의 단부에 형성된 개구 (예를 들어, 가늘고 긴 사각형 개구) 에, 광 (예를 들어, 가시광) 을 투과하는 바코드 관찰용의 창부 (39f) 가 장착되어 있다.     또한, 베이스 부재 (32) 의 평판부 (32a) 의 ―X 방향의 단부 또한 ―Y 방향의 단부에 형성된 개구 (예를 들어, 거의 정방형의 개구) 에, 광 (예를 들어, 가시광) 을 투과하는 내부 관찰용의 창부 (32a1) 가 장착되어 있다.     하부 케이스부 (31A) 에 상부 케이스부 (31B) 를 장착한 상태에서, 오퍼레이터는, 창부 (39e) 를 통해 내부의 마스크 (M) 의 상태 (마스크 (M) 의 유무를 포함한다) 를 관찰할 수 있음과 함께, 오퍼레이터 또는 소정의 검출 장치는, 창부 (39f) 를 통해 내부의 마스크 (M) 에 형성된 바코드 (도시하지 않음) 를 판독할 수 있다.     또한, 창부 (39e, 39f, 32a1) 에는, 광의 투과성을 갖고 발진이 적은 재료로서 합성 수지, 유리 (예를 들어, 석영 유리) 등을 사용할 수 있다.In addition, a mask observation window portion through which light (e.g., visible light) is transmitted to four openings (e.g., substantially square openings) formed in the
또, 커버 부재 (39) 의 측벽부 (39b, 39c) 는, 각각 베이스 부재 (32) 의 가늘고 긴 평판부 (32b) 에 있어서 지지부 (34B, 34C) 의 외측의 영역에 재치됨과 함께, 측벽부 (39d) 는, 베이스 부재 (32) 의 +Y 방향의 단부의 영역에 재치된다.     또한, 커버 부재 (39) 의 평판부 (39a) 의 ―Y 방향의 단부 (39g) 는, 하부 케이스부 (31A) 의 측벽 부재 (33) 을 덮는 것이 가능할 정도로, 측벽부 (39b, 39c) 보다 ―Y 방향으로 돌출되어 있다.     그리고, 지지부 (34B, 34C) 의 높이는 측벽 부재 (33) 의 높이보다 낮게 설정되고, 측벽부 (39b ∼ 39d) 의 높이는 측벽 부재 (33) 의 높이에 대하여 약간 높게 설정되어 있다.     또, 커버 부재 (39) 의 평판부 (39a) 의 저면에 있어서, 하부 케이스부 (31A) 의 지지부 (34B, 34C) 와 측벽 부재 (33) 사이의 영역에 대향하는 위치에 각각 측벽부 (39b, 39c) 보다 낮은 로드 형상의 위치 결정부 (40A, 40B) 가 형성되어 있다.     이 구성에 의해, 커버 부재 (39) 의 측벽부 (39b ∼ 39d) 를 베이스 부재 (32) 상의 지지부 (34A ∼ 34C) 의 외측의 영역에 재치했을 때에, 단부 (39g) 가 측벽 부재 (33) 를 덮도록 되기 때문에, 내부의 기밀성이 높게 유지되어, 마스크 케이스 (30) 의 방진 성능이 높아진다.     또한, 위치 결정부 (40A, 40B) 가 각각 하부 케이스부 (31A) 의 일부와 맞닿음으로써, 진동 등에 의해, 상부 케이스부 (31B) 의 위치가 하부 케이스부 (31A) 에 대하여 X 방향 및 Y 방향으로 어긋나는 것이 방지된다.     또한, 위치 결정부 (40A, 40B) 는, 상기 서술한 바와 같이 평판부 (39a) 의 저면의 ―Y 측의 단부에 형성할 뿐만 아니라, 평판부 (39a) 의 저면의 +Y 측의 단부에도 동일하게 형성해도 되고, 혹은 ―Y 측 대신에 +Y 측의 단부에 형성해도 된다.In addition, the
또, 도 2(B) 및 도 3(B) 에 나타내는 바와 같이, 베이스 부재 (32) 의 평판부 (32a) 의 저면에, X 방향 (여기서는 마스크 케이스 (30) 의 폭 방향 또는 단변 방향) 을 따라 소정 간격으로, 제 1 위치 결정부 (36A) 및 제 2 위치 결정부 (36B) 가 고정되어 있다.     제 1 위치 결정부 (36A) 는, 그 중앙부에 회전 대칭인 형상의 오목부 (36Aa) 가 형성되고, 제 2 위치 결정부 (36B) 는, 그 중앙부에 V 자형의 홈 형상의 오목부 (36Ba) (선대칭인 오목부) 가 X 방향을 따라 형성되어 있다.     또, 평판부 (32a) 의 저면의 위치 결정부 (36A, 36B) 로부터 +Y 방향 및 ―Y 방향으로 각각 소정 간격 떨어진 위치 (PS2, PS1 및 PS4, PS3) 에, 평탄한 표면 (이하, 평탄면이라고 한다) (36Ca) 을 갖는 4 개의 위치 결정부 (36C) 가 고정되어 있다.     일례로서, 도 3(C) 에 나타내는 바와 같이, 위치 결정부 (36A) 의 오목부 (36Aa) 는 원추면상이다.     단, 오목부 (36Aa) 는 구면상 등이어도 된다.     또, 위치 결정부 (36A) (다른 위치 결정부 (36B, 36C) 도 동일) 는, 예를 들어 각각 복수의 볼트 (B4) 를 사용하여 평판부 (32a) 의 저면에 고정되어 있다.Moreover, as shown in FIG. 2(B) and FIG. 3(B), on the bottom surface of the
또, 도 3(B) 에 있어서, 마스크 (M) 를 수용한 상태의 마스크 케이스 (30) 의 무게 중심 위치는, 위치 결정부 (36A, 36B) 의 중심을 잇는 직선과, +Y 방향측의 2 개의 위치 결정부 (36C) 의 중심을 잇는 직선의 중간 부근에서, 또한 베이스 부재 (32) 의 X 방향의 중심 부근을 지나, Z 축에 평행한 직선 상에 위치하고 있다.     이 때문에, 후술하는 바와 같이, 위치 결정부 (36A, 36B) 의 오목부 (36Aa, 36Ba) 및 위치 (PS1) (또는 PS2) 에 있는 위치 결정부 (36C) 의 평탄면 (36Ca) 을 각각 대응하는 볼 트랜스퍼 (54A ∼ 54C) (도 5(A) 참조) 등의 구면으로 지지함으로써, 마스크 케이스 (30) 를 안정적으로 지지할 수 있다.     또한, 이들 경우에도, 진동 등으로 마스크 케이스 (30) 가 경사지는 경우를 고려하여, 다른 위치 (PS3, PS4) 의 위치 결정부 (36C) 에도 대향하도록 소정 간격을 두고 볼 트랜스퍼의 지지 부재를 배치해도 된다.In addition, in FIG. 3(B), the position of the center of gravity of the
또, 도 2(B) 에 나타내는 바와 같이, 베이스 부재 (32) 의 평판부 (32a) 의 창부 (32a1) 의 근처에, 하부 케이스부 (31A) 의 유무를 검출하기 위한 광빔을 반사하는 반사부 (37A) 가 형성되어 있다.     일례로서 반사부 (37A) 는 재귀성 반사 부재이며, 반사부 (37A) 에 입사한 광빔은 입사한 방향으로 반사된다.     이 때문에, 하부 케이스부 (31A) 가 경사져 있어도, 검출부 (도시하지 않음) 에 의해 하부 케이스부 (31A) 의 유무를 정확하게 검출할 수 있다.Further, as shown in FIG. 2(B) , a reflector that reflects a light beam for detecting the presence or absence of the
또한, 도 2(B) 의 마스크 케이스 (30) 의 창부 (32a1) 를 포함하는 부분의 단면도인 도 7 에 나타내는 바와 같이, 커버 부재 (39) 의 평판부 (39a) 의 내면 중 창부 (32a1) 에 대향하는 위치에, 상부 케이스부 (31B) 의 유무를 검출하기 위한 광빔 (LB4) 을 반사하는 반사부 (37B) 가 형성되어 있다.     일례로서 반사부 (37B) 의 표면에는 예를 들어 마스크 케이스 (30) 의 폭 방향을 편광 방향으로 하는 편광판 (도시하지 않음) 이 고정되어 있고, 반사부 (37B) 는 편광 특성을 갖는다.     이 때문에, 마스크 케이스 (30) 의 외부로부터 창부 (32a1) 를 통해 반사부 (37B) 에 입사하고, 반사부 (37B) 로 반사된 광빔 (LB4) 중, 그 편광 방향을 따른 편광 성분의 광만이 그 편광판을 투과하여 창부 (32a1) 를 통해 외부로 사출된다.     그리고, 외부의 검출부 (63c) 로는 그 편광 방향의 편광 성분만을 검출함으로써, 다른 외란 광에 영향받는 일 없이, 상부 케이스부 (31B) 의 내면에서 반사된 광빔만을 검출할 수 있기 때문에, 상부 케이스부 (31B) 의 유무를 정확하게 검출할 수 있다.Moreover, as shown in FIG. 7 which is a sectional view of the part including the window part 32a1 of the
또한, 반사부 (37B) 를 편광 특성이 없는 재귀성 반사 부재로 해도 되고, 반사부 (37A) 에 재귀성이 없는 편광 특성을 갖게 하도록 해도 된다.     또는, 반사부 (37A, 37B) 에 각각 재귀성 및 편광 특성의 양방을 갖게 하도록 해도 된다.     또, 창부 (32a1) 는, 마스크 케이스 (30) 의 외부로부터 마스크 (M) 의 유무 (또는 검출부로부터 마스크 (M) 의 패턴면 (Ma) 까지의 거리) 를 검출하기 위해서 조사되는 광빔 (LB3) 을 통과시키기 위해서도 사용된다.Alternatively, the
다음으로, 반송차 (V) 의 구성에 대해, 도 5(A) (평면도) 및 도 5(B) (측면도) 를 참조하여 설명한다.     반송차 (V) 는, 마스크 라이브러리 (LB) 의 일시 수용부 (66) 에 대한 마스크 케이스 (30) 의 반송, 및 일시 수용부 (66) 로부터의 마스크 케이스 (30) 의 반출을 실시한다.     도 5(A) 및 (B) 는, 도 1 의 마스크 라이브러리 (LB) 에 대한 마스크 케이스 (30) 의 반입 또는 반출을 실시하기 위해서 Y 방향으로 이동하고 있는 반송차 (V) 를 나타낸다.     반송차 (V) 는, 본체부 (55) 와, 구동 기구 (도시하지 않음) 에 의해 구동되어 본체부 (55) 를 이동시키는 복수의 차륜 (56) 과, 본체부 (55) 의 전면 (前面) 에 구동 기구 (도시하지 않음) 에 의해 Z 방향으로 이동 가능하도록 지지된 마스크 케이스 반송부 (53) 를 구비하고 있다.     그 구동 기구는, 마스크 케이스 반송부 (53) 에 지지된 마스크 케이스 (30) 의 Z 방향의 위치 (Z 위치) 를 계측하는 인코더 (도시하지 않음) 를 갖는다.     또, 마스크 케이스 반송부 (53) 의 거의 수평면에 평행하고 장방형상의 상면을 갖는 평판부 (53a) 에, 점선으로 나타내는 바와 같이 평판부 (53a) 의 긴쪽 방향과 마스크 케이스 (30) 의 긴쪽 방향이 평행하게 되도록, 마스크 케이스 (30) 가 재치된다.     도 5(A) 및 (B) 의 상태에서는, 평판부 (53a) 의 긴쪽 방향은 Y 방향이며, 평판부 (53a) 의 X 방향의 폭은 마스크 케이스 (30) 의 베이스 부재 (32) 의 평판부 (32a) 의 폭보다 좁게 설정되어 있다.     또한, 복수의 차륜 (56) 에 의해 본체부 (55) 의 이동 방향을 제어하는 것도 가능하고, 본체부 (55) 에는, 마스크 케이스 반송부 (53) 의 X 방향의 위치를 조정하는 기구 (도시하지 않음) 도 형성되어 있다.Next, the configuration of the transport vehicle V will be described with reference to Fig. 5(A) (plan view) and Fig. 5(B) (side view). The transport vehicle V carries out the transport of the
또, 평판부 (53a) 의 상면에, 도 3(B) 에 나타내는 마스크 케이스 (30) 의 베이스 부재 (32) 의 저면에 형성된 위치 결정부 (36A, 36B), 및 위치 (PS1, PS2) 의 위치 결정부 (36C) 와 동일한 배치로, 각각 표면에 구면부 (54Aa, 54Ba, 54Ca, 54Da) 가 형성된 지지 부재인 볼 트랜스퍼 (54A, 54B, 54C, 54D) 가 볼트 (도시하지 않음) 에 의해 고정되어 있다.     또한, 도 2(B) 의 위치 결정부 (36A, 36B) 에 대한 연결부 (38A, 38B) 의 개구 (38Aa, 38Ba) 와 동일한 위치 관계로, 평판부 (53a) 의 상면의 볼 트랜스퍼 (54A, 54B) 로부터 ―Y 방향으로 떨어진 위치에, 개구 (38Aa, 38Ba) 보다 작은 직경의 핀 (57Aa, 57Ba) 을 갖는 지지부 (57A, 57B) 가 고정되어 있다.In addition, the
마스크 케이스 (30) 를 마스크 케이스 반송부 (53) 에 재치할 때에는, 마스크 케이스 (30) 의 위치 결정부 (36A, 36B) 의 오목부 (36Aa, 36Ba), 및 위치 (PS1) 의 위치 결정부 (36C) 의 평탄부 (36Ca) 가 각각 볼 트랜스퍼 (54A, 54B, 54C) 의 구면부 (54Aa, 54Ba, 54Ca) 에 접촉한다.     이 상태에서, 마스크 케이스 (30) 의 평판부 (32a) 의 저면이 거의 수평면에 평행하게 되도록, 마스크 케이스 반송부 (53) 의 볼 트랜스퍼 (54A ∼ 54C) 의 높이가 개별적으로 조정되어 있다.     이 때에, 마스크 케이스 (30) 와 마스크 케이스 반송부 (53) 사이에, 위치 결정부 (36A) 의 오목부 (36Aa) 의 반경 정도까지의 위치 어긋남이 있어도, 마스크 케이스 반송부 (53) 의 볼 트랜스퍼 (54A) 의 구면부의 중심과 위치 결정부 (36A) 의 오목부 (36Aa) 의 중심이 합치하고, 볼 트랜스퍼 (54B) 의 구면부의 중심의 Y 방향의 위치와 위치 결정부 (36B) 의 오목부 (36Ba) 의 중심의 Y 방향의 위치가 합치하도록, 마스크 케이스 (30) 의 자중에 의해 마스크 케이스 (30) 의 위치 및 회전각이 자동적으로 조정된다.     이 때문에, 마스크 케이스 (30) 를 마스크 케이스 반송부 (53) 에 재치할 때의 위치 제어 정밀도를 그다지 높게 할 필요가 없다.When the
또한, 위치 (PS2) 의 위치 결정부 (36C) 로부터 약간 간격을 두고 볼 트랜스퍼 (54D) 의 구면부 (54Da) 가 위치하도록, 볼 트랜스퍼 (54D) 의 높이가 조정되어 있다.     또한, 마찬가지로, 위치 (PS3, PS4) 의 위치 결정부 (36C) 로부터 약간 간격을 두고 다른 볼 트랜스퍼 (도시하지 않음) 를 평판부 (53a) 의 상면에 형성해도 된다.Further, the height of the
오목부 (36Aa, 36Ba) 및 평탄부 (36Ca) 를 각각 볼 트랜스퍼 (54A ∼ 54C) 로 지지함으로써, 마스크 케이스 반송부 (53) (반송차 (V)) 에 대한 마스크 케이스 (30) 의 X 방향 및 Y 방향의 위치, 및 Z 축에 평행한 축의 회전 (이하, θz 방향이라고 한다) 의 회전각이 각각 목표치에 자동적으로 설정되고, 이 상태에서 반송차 (V) 에 의해 마스크 케이스 (30) 가 안정적으로 반송된다.     또, 다른 위치 (PS2) 의 위치 결정부 (36C) 에 근접하여 볼 트랜스퍼 (54D) 가 배치되어 있기 때문에, 진동 등으로 마스크 케이스 (30) 가 경사져도, 위치 결정부 (36C) 가 볼 트랜스퍼 (54D) 에 접촉함으로써, 그 경사각이 그 이상 커지는 경우는 없다.     또한, 이 상태에서 마스크 케이스 (30) 의 연결부 (38A, 38B) 의 개구 (38Aa, 38Ba) 에 마스크 케이스 반송부 (53) 의 핀 (57Aa, 57Ba) 이 삽입되기 때문에, 반송 중의 진동 등에 의해 마스크 케이스 (30) 의 위치가 어긋나는 것을 확실하게 방지할 수 있다.     또한, 반송 중의 진동이 적은 경우 등에는, 연결부 (38A, 38B) 및 지지부 (57A, 57B) 를 생략하는 것도 가능하다.By supporting the concave portions 36Aa and 36Ba and the flat portions 36Ca by
또, 노광 챔버 (CH) 의 외부에는, 일례로서 Y 방향으로 떨어진 2 개 지점에서 반송차 (V) 의 마스크 케이스 반송부 (53) 의 측면까지의 간격을 검출하는 비접촉 방식의 간격 센서 (도시하지 않음) 가 설치되어 있다.     그리고, 마스크 케이스 반송부 (53) 에 재치되어 있는 마스크 케이스 (30) 의 X 방향의 위치 및 θz 방향의 회전각이, 각각 마스크 라이브러리 (LB) 내에 수용되어 있을 때의 목표치가 될 때에 그 2 개 지점의 간격 센서로 검출되는 간격이, 조정 목표치로서 예를 들어 제어 장치 (CONT) 의 기억부에 기억되어 있다.     이 때문에, 그 2 개 지점의 간격 센서로 검출되는 간격이 대응하는 조정 목표치가 되도록 반송차 (V) 의 X 방향의 위치 및 θz 방향의 회전각을 조정함으로써, 반송차 (V) 로 지지되어 있는 마스크 케이스 (30) 의 X 방향의 위치 및 θz 방향의 회전각을 각각 목표치로 설정할 수 있다.     또한, 반송차 (V) 로 계측되는 마스크 케이스 (30) 의 Z 위치와, 마스크 라이브러리 (LB) 의 일시 수용부 (66) 에 수용되어 있는 상태의 마스크 케이스 (30) 의 Z 위치의 값 (이하, 설정치라고 한다) 의 관계는 이미 알려져 있다     또, 반송차 (V) 는, 마스크 케이스 반송부 (53) 에 지지된 마스크 케이스 (30) 의 Y 방향의 위치를 계측하는 인코더 (도시하지 않음) 를 갖는다.     이 인코더로 계측되는 마스크 케이스 (30) 의 Y 방향의 위치와, 마스크 라이브러리 (LB) 내의 일시 수용부 (66) 에서의 Y 방향의 목표 위치의 관계는 이미 알려져 있다In addition, outside the exposure chamber CH, as an example, a non-contact type distance sensor (not shown) detects the distance from two points apart in the Y direction to the side surface of the mask
그리고, 반송차 (V) 로 지지되어 있는 마스크 케이스 (30) 의 Z 위치를 그 설정치보다 소정 간격만큼 높게 설정한 상태에서, 반송차 (V) 를 ―Y 방향으로 이동하여, 마스크 케이스 반송부 (53) 로 지지되는 마스크 케이스 (30) 를 마스크 라이브러리 (LB) 의 일시 수용부 (66) 의 상방으로 이동한 후, 마스크 케이스 반송부 (53) 를 강하시킴으로써, 마스크 케이스 (30) 를 일시 수용부 (66) 에 수수할 수 있다.     반대로, 일시 수용부 (66) 에 유지되어 있는 마스크 케이스 (30) 의 저면측에 마스크 케이스 반송부 (53) 를 이동한 후, 마스크 케이스 반송부 (53) 의 Z 위치를 높게 함으로써, 일시 수용부 (66) 로부터 마스크 케이스 반송부 (53) (반송차 (V)) 에 마스크 케이스 (30) 를 수수할 수 있다.Then, in a state where the Z position of the
다음으로, 반송 장치 (H1) 의 구성에 대해, 도 6(A) (평면도) 및 도 6(B) (측면도) 를 참조하여 설명한다.     반송 장치 (H1) 는, 마스크 케이스 (30) 가 재치되는 마스크 케이스 반송부 (61) 와, 마스크 케이스 반송부 (61) 의 ―Y 방향의 단부를 유지하는 유지부 (64) 와, 유지부 (64) 를 개재하여 마스크 케이스 반송부 (61) 를 Y 방향으로 이동하는 수평 구동부 (67) 와, 수평 구동부 (67) 를 개재하여 마스크 케이스 반송부 (61) 를 Z 방향으로 이동하는 승강 구동부 (68) 를 구비하고 있다.     승강 구동부 (68) 는, 마스크 케이스 반송부 (61) 에 지지된 마스크 케이스 (30) 의 Z 위치를 계측하는 인코더 (도시하지 않음) 를 갖는다.     이 인코더로 계측되는 마스크 케이스 (30) 의 Z 위치와, 마스크 라이브러리 (LB) 내의 각 수용부 (65) 및 일시 수용부 (66) 에서의 마스크 케이스 (30) 의 Z 위치의 값 (설정치) 의 관계는 이미 알려져 있다     수평 구동부 (67) 는 마스크 케이스 반송부 (61) 에 지지된 마스크 케이스 (30) 의 Y 방향의 위치를 계측하는 인코더 (도시하지 않음) 를 갖는다.     이 인코더로 계측되는 마스크 케이스 (30) 의 Y 방향의 위치와, 마스크 라이브러리 (LB) 내의 각 수용부 (65) 에서의 Y 방향의 목표 위치의 관계는 이미 알려져 있다Next, the configuration of conveying equipment H1 will be described with reference to Fig. 6(A) (plan view) and Fig. 6(B) (side view). The conveying device H1 includes a mask
거의 수평면에 평행하고 Y 방향을 긴쪽 방향으로 하는 장방형상의 상면을 갖는 마스크 케이스 반송부 (61) 에, 마스크 케이스 반송부 (61) 의 긴쪽 방향과 마스크 케이스 (30) 의 긴쪽 방향이 평행하게 되도록, 마스크 케이스 (30) 가 재치된다.     마스크 케이스 반송부 (61) 의 X 방향의 폭은 마스크 케이스 (30) 의 베이스 부재 (32) 의 평판부 (32a) 의 폭보다 좁게 설정되어 있다.In the mask
또, 마스크 케이스 반송부 (61) 의 상면에, 도 3(B) 에 나타내는 마스크 케이스 (30) 의 베이스 부재 (32) 의 저면에 형성된 위치 결정부 (36A, 36B), 및 위치 (PS1, PS2) 의 위치 결정부 (36C) 와 동일한 배치로, 각각 표면에 구면부 (62Aa, 62Ba, 62Ca, 62Da) 가 형성된 지지 부재인 볼 트랜스퍼 (62A, 62B, 62C, 62D) 가 볼트 (도시하지 않음) 에 의해 고정되어 있다.     또한, 도 2(B) 의 위치 결정부 (36B) 에 대한 반사부 (37A) 및 창부 (32a1) 와 동일한 위치 관계로, 마스크 케이스 반송부 (61) 의 상면의 볼 트랜스퍼 (62) 로부터 ―Y 방향으로 떨어진 위치에, 마스크 케이스 (30) 의 검출 장치 (63) 가 형성되어 있다.Moreover, the
마스크 케이스 (30) 를 마스크 케이스 반송부 (61) 에 재치할 때에는, 마스크 케이스 (30) 의 위치 결정부 (36A, 36B) 의 오목부 (36Aa, 36Ba), 및 위치 (PS1) 의 위치 결정부 (36C) 의 평탄부 (36Ca) 가 각각 볼 트랜스퍼 (62A, 62B, 62C) 의 구면부 (62Aa, 62Ba, 62Ca) 에 접촉한다.     이 상태에서, 마스크 케이스 (30) 의 평판부 (32a) 의 저면이 거의 수평면에 평행하게 되도록, 마스크 케이스 반송부 (61) 의 볼 트랜스퍼 (62A ∼ 62C) 의 높이가 개별적으로 조정되어 있다.     이 때에, 마스크 케이스 (30) 와 마스크 케이스 반송부 (61) 사이에, 위치 결정부 (36A) 의 오목부 (36Aa) 의 반경 정도까지의 위치 어긋남이 있어도, 마스크 케이스 반송부 (61) 의 볼 트랜스퍼 (62A) 의 구면부의 중심과 위치 결정부 (36A) 의 오목부 (36Aa) 의 중심이 합치하고, 볼 트랜스퍼 (62B) 의 구면부의 중심의 Y 방향의 위치와 위치 결정부 (36B) 의 오목부 (36Ba) 의 중심의 Y 방향의 위치가 합치하도록, 마스크 케이스 (30) 의 자중에 의해 마스크 케이스 (30) 의 위치 및 회전각이 자동적으로 조정된다.     이 때문에, 마스크 케이스 (30) 를 마스크 케이스 반송부 (61) 에 재치할 때의 위치 제어 정밀도를 그다지 높게 할 필요가 없고, 마스크 라이브러리 (LB) 의 수용부 (65) 또는 일시 수용부 (66) 에 수용되는 마스크 케이스 (30) 의 위치 정밀도를 그다지 높게 할 필요도 없다.When the
또한, 위치 (PS2) 의 위치 결정부 (36C) 로부터 약간 간격을 두고 볼 트랜스퍼 (62D) 의 구면부 (62Da) 가 위치하도록, 볼 트랜스퍼 (62D) 의 높이가 조정되어 있다.     또한, 마찬가지로, 위치 (PS3, PS4) 의 위치 결정부 (36C) 로부터 약간 간격을 두고 다른 볼 트랜스퍼 (도시하지 않음) 를 마스크 케이스 반송부 (61) 의 상면에 형성해도 된다.Also, the height of the
오목부 (36Aa, 36Ba) 및 평탄부 (36Ca) 를 각각 볼 트랜스퍼 (62A ∼ 62C) 로 지지함으로써, 마스크 케이스 반송부 (61) (반송 장치 (H1)) 에 대한 마스크 케이스 (30) 의 X 방향 및 Y 방향의 위치, 및 θz 방향의 회전각이 각각 목표치에 자동적으로 설정되고, 이 상태에서 마스크 케이스 반송부 (61) 에 의해 마스크 케이스 (30) 가 안정적으로 반송된다.     또, 다른 위치 (PS2) 의 위치 결정부 (36C) 에 근접하여 볼 트랜스퍼 (62D) 가 배치되어 있기 때문에, 진동 등으로 마스크 케이스 (30) 가 경사져도, 위치 결정부 (36C) 가 볼 트랜스퍼 (62D) 에 접촉함으로써, 그 경사각이 그 이상 커지는 경우는 없다.     또한, 이 상태에서 마스크 케이스 (30) 의 반사부 (37A) 및 창부 (32a1) 가 검출 장치 (63) 에 대향하고 있다.By supporting the concave portions 36Aa and 36Ba and the flat portions 36Ca by
도 7 에 나타내는 바와 같이, 검출 장치 (63) 는, 마스크 케이스 (30) 의 하부 케이스부 (31A) 의 재귀성의 반사부 (37A) 에 광빔 (LB2) 을 조사하고, 반사부 (37A) 로부터의 반사광의 강도를 검출하는 제 1 검출부 (63a) 와, 창부 (32a1) 를 통해 마스크 (M) 의 패턴면 (Ma) 에 광빔 (LB3) 을 비스듬하게 조사하고, 패턴면 (Ma) 으로 반사되어 창부 (32a1) 를 통해 되돌려지는 광의 강도를 검출하는 제 2 검출부 (63b) 와, 창부 (32a1) 를 통해 상부 케이스부 (31B) 의 내면의 편광 특성을 갖는 반사부 (37B) 에 광빔 (LB4) 을 조사하고, 반사부 (37B) 로 반사되어 창부 (32a1) 를 통해 되돌려지는 광의 강도를 검출하는 제 3 검출부 (63c) 를 갖는다.     일례로서, 광빔 (LB2 ∼ LB4) 은 발광 다이오드 (LED) 등으로부터 사출되는 가시역의 광을 콜리메이터 렌즈 (도시하지 않음) 에 의해 평행 광속으로 한 것이지만, 광빔 (LB2 ∼ LB4) 으로서 근적외역으로부터 적외역 등의 광을 사용해도 된다.     이 경우, 창부 (32a1) 는 근적외역으로부터 적외역 등의 광을 투과하는 재료로부터 형성된다.As shown in FIG. 7 , the
검출부 (63a) 로 검출되는 강도를 신호 처리부 (도시하지 않음) 로 소정의 제 1 기준치와 비교함으로써, 하부 케이스부 (31A) 의 유무를 검출할 수 있다.     또, 검출부 (63b) 로 검출되는 강도를 신호 처리부 (도시하지 않음) 로 소정의 테이블 (신호 강도와 피검물까지의 거리의 대응 관계를 나타내는 테이블) 에 적용시킴으로써, 검출부 (63b) 로부터 패턴면 (Ma) 까지의 거리, 및/또는 마스크 (M) 의 유무를 검출할 수 있다.     검출부 (63c) 로 검출되는 강도를 신호 처리부 (도시하지 않음) 로 소정의 제 2 기준치와 비교함으로써, 상부 케이스부 (31B) 의 유무를 검출할 수 있다.     검출 장치 (63) 를 사용한 마스크 케이스 (30) 의 유무 등의 검출 결과는 제어 장치 (CONT) 에 공급된다.     또한, 검출부 (63a ∼ 63c) 중, 적어도 하나를 구비하는 것만으로도 된다.By comparing the intensity detected by the
또한, 마스크 케이스 반송부 (61) 에도, 반송차 (V) 의 핀 (57Aa, 57Ba) 을 갖는 지지부 (57A, 57B) 와 동일한 지지부를 형성하고, 이 지지부의 핀 (도시하지 않음) 을 마스크 케이스 (30) 의 연결부 (38A, 38B) 의 개구 (38Aa, 38Ba) 에 삽입 가능하도록 하여, 진동 등에 의한 마스크 케이스 (30) 의 위치 어긋남을 방지하도록 해도 된다.Further, in the mask
승강 구동부 (68) 에 의해 마스크 케이스 반송부 (61) 로 지지되어 있는 마스크 케이스 (30) 의 Z 위치를 마스크 라이브러리 (LB) 의 어느 수용부 (65) (또는 일시 수용부 (66)) 에서의 설정치보다 높게 설정한 상태에서, 수평 구동부 (67) 에 의해 마스크 케이스 반송부 (61) 를 +Y 방향으로 이동하여, 마스크 케이스 반송부 (61) 로 지지되는 마스크 케이스 (30) 를 그 수용부 (65) (또는 일시 수용부 (66)) 의 상방으로 이동한 후, 마스크 케이스 반송부 (61) 를 강하시킴으로써, 마스크 케이스 (30) 를 그 수용부 (65) (또는 일시 수용부 (66)) 에 수수할 수 있다.     반대로, 어느 수용부 (65) (또는 일시 수용부 (66)) 에 유지되고 있는 마스크 케이스 (30) 의 저면측에 마스크 케이스 반송부 (61) 를 이동한 후, 마스크 케이스 반송부 (61) 의 Z 위치를 높게 함으로써, 수용부 (65) (또는 일시 수용부 (66)) 로부터 마스크 케이스 반송부 (61) (반송 장치 (H1)) 에 마스크 케이스 (30) 를 수수할 수 있다.The Z position of the
다음으로, 도 8 ∼ 도 10 을 참조하여, 마스크 라이브러리 (LB) 의 구성에 대해 설명한다.     도 8 및 도 10 은, 각각 마스크 라이브러리 (LB) 를 나타내는 사시도, 도 9 는 마스크 라이브러리 (LB) 를 +Y 방향으로 본 도면이다.     도 8 에 있어서, 마스크 라이브러리 (LB) 는, 각각 X 방향, Y 방향, 및 Z 방향으로 평행한 복수의 로드 형상의 부재 (설명의 편의상, 일부의 부재가 2 점 쇄선으로 표시되어 있다) 를 연결하여 구성되는 박스 형상의 프레임 기구 (43) 와, 프레임 기구 (43) 의 최하단에 Y 방향으로 평행하게 고정된 Z 위치가 동일한 1 쌍의 레일 (45A, 45B) 과, 레일 (45A, 45B) 의 상방에서 프레임 기구 (43) 에 고정된 수평면에 거의 평행한 칸막이판 (44) 과, 칸막이판 (44) 의 상방의 점차 높아지는 위치 (P1, P2, P3, P4, P5) 에서 프레임 기구 (43) 에 고정된 각각 Y 방향으로 평행한 1 쌍의 레일 (46A, 46B) 을 구비하고 있다.     레일 (45A, 45B 및 46A, 46B) 은 각각 단면 형상이 L 자형이고, 상면이 거의 수평면에 평행하게 되도록, 또한 서로 대향하도록, 그 상면에 직교하는 측면을 갖는 부분이 볼트 (도시하지 않음) 에 의해 프레임 기구 (43) 의 내면에 고정되어 있다.Next, with reference to Figs. 8 to 10, the configuration of the mask library LB will be described. 8 and 10 are perspective views each showing the mask library LB, and FIG. 9 is a view of the mask library LB as viewed from the +Y direction. In FIG. 8 , a mask library LB connects a plurality of rod-shaped members parallel to each other in the X, Y, and Z directions (for convenience of explanation, some members are indicated by dashed-two dotted lines). A box-shaped
레일 (45A, 45B 및 46A, 46B) 의 Y 방향의 길이는, 마스크 케이스 (30) 의 Y 방향의 길이보다 약간 길게 설정되고, 레일 (45A, 45B) 의 상면과 칸막이판 (44) 의 간격, 및 위치 (P1 ∼ P5) 의 Z 방향으로 인접한 레일 (46A, 46B) 의 상면의 Z 방향의 간격은, 각각 마스크 케이스 (30) 의 높이보다 넓게 설정되어 있다.     또, 레일 (45A, 45B 및 46A, 46B) 의 X 방향의 외형의 폭은, 마스크 케이스 (30) 의 플랜지부 (41A, 41B) 의 외형의 X 방향의 폭보다 넓게 설정되고, 레일 (45A, 45B 및 46A, 46B) 의 X 방향의 간격은, 마스크 케이스 (30) 의 하부 케이스부 (31A) 의 평판부 (32a) 의 X 방향의 폭 (다리부 (35) 가 고정된 2 개의 평판부 (32b) 의 간격) 과 거의 동일하게 설정되어 있다.     이 때문에, 1 쌍의 레일 (45A, 45B) 의 상면, 및 위치 (P1 ∼ P5) 의 1 쌍의 레일 (46A, 46B) 의 상면에, 각각 마스크 케이스 (30) 의 하부 케이스부 (31A) 의 ―X 방향의 2 개의 다리부 (35) 및 +X 방향의 2 개의 다리부 (35) 를 재치할 수 있다.     1 쌍의 레일 (45A, 45B) 를 포함하여 일시 수용부 (66) 가 구성되고, 위치 (P1 ∼ P5) 의 1 쌍의 레일 (46A, 46B) 을 포함하여 각각 수용부 (65) 가 구성되어 있다.     또한, 도 8 등에서는, 수용부 (65) 는 위치 (P1 ∼ P5) 의 5 단으로 배치되어 있지만, 수용부 (65) 의 수는 증가 또는 감소시킬 수 있다.     또, 평면에서 보아, 레일 (46A, 46B) 과 레일 (45A, 45B) 은 서로 동일한 형상이고, 또한 X 방향 및 Y 방향의 동일한 위치에 설치되어 있다.The Y-direction length of the
마스크 라이브러리 (LB) 와 반송 장치 (H1) 의 위치 관계는, 도 6(A) 의 반송 장치 (H1) 의 마스크 케이스 반송부 (61) 의 볼 트랜스퍼 (62A, 62B, 62C) 의 구면부 (62Aa, 62Ba, 62Ca) 에 마스크 케이스 (30) 의 위치 결정부 (36A ∼ 36C) 의 오목부 (36Aa, 36Ba) 및 평탄면 (36Ca) 을 접촉시킨 상태에서, 마스크 케이스 (30) 의 ―X 방향 및 +X 방향의 2 개의 다리부 (35) 가 각각 대응하는 위치 (P1 ∼ P5) 의 레일 (46A, 46B) 상의 X 방향의 목표 위치에 위치하도록 설정되어 있다.     또, 마스크 케이스 반송부 (61) 의 X 방향의 폭은, 레일 (46A, 46B) 의 X 방향의 간격보다 여유를 갖고 작게 설정되어 있다.     이 때문에, 반송 장치 (H1) 에 의해 마스크 케이스 (30) 의 다리부 (35) 의 저면의 Z 위치를 위치 (P1 ∼ P5) 의 레일 (46A, 46B) 의 상면보다 소정 간격만큼 높게 설정하고, 마스크 케이스 (30) 의 Y 방향 (마스크 라이브러리 (LB) 에 대한 반출입 방향) 의 위치를 소정의 목표 위치로 설정한 후, 마스크 케이스 (30) 를 강하시킴으로써, 용이하게 그 위치 (P1 ∼ P5) 의 레일 (46A, 46B) 상 (수용부 (65)) 에 4 개 지점의 다리부 (35) 를 개재하여 마스크 케이스 (30) 를 재치 (수용) 할 수 있다.     마찬가지로, 반송 장치 (H1) 에 의해 레일 (45A, 45B) 상 (일시 수용부 (66)) 에 마스크 케이스 (30) 를 재치할 수 있다.     또한, 반송 장치 (H1) 의 반대 동작에 의해 수용부 (65) 또는 일시 수용부 (66) 로부터 마스크 케이스 (30) 를 반출할 수 있다.     또한, 레일 (45A, 45B) 을 일시 수용부 (66) 에 형성하는 대신에, 동일한 레일을 반송차 (V) 가 구비하도록 해도 된다.     이에 따라, 마스크 케이스를 일시적으로 일시 수용부 (66) 에 수수하는 일 없이, 반송차 (V) 와 반송 장치 (H1) 의 사이에서 직접적으로 마스크 케이스의 수수를 실시할 수 있다.The positional relationship between the mask library LB and the transport device H1 is the spherical portion 62Aa of the ball transfers 62A, 62B, and 62C of the mask
또, ―X 방향측의 레일 (45A, 46A) 의 상면의 +Y 방향의 단부에, 각각 마스크 케이스 (30) 의 측면까지의 X 방향 및 Y 방향의 간격을 비접촉으로 검출 가능한 근접 센서 (50A) 가 설치되고, +X 방향측의 레일 (45B, 46B) 의 상면의 +Y 방향의 단부에, 각각 마스크 케이스 (30) 의 측면까지의 X 방향 및 Y 방향의 간격을 비접촉으로 검출 가능한 근접 센서 (50B) 가 설치되고, 레일 (45B, 46B) 의 상면의 ―Y 방향의 단부에, 각각 마스크 케이스 (30) 의 측면까지의 X 방향의 간격을 비접촉으로 검출 가능한 근접 센서 (51) 가 설치되어 있다.     근접 센서 (50A, 50B, 51) 는 예를 들어 광학식이다.     근접 센서 (50A, 50B, 51) 로 검출되는 일시 수용부 (66) 및 수용부 (65) 에 있어서의 마스크 케이스 (30) 의 위치 (X 방향, Y 방향의 위치, 및 θz 방향의 회전각) 의 정보가 제어 장치 (CONT) 에 공급된다.     그와 같이 하여 검출되는 마스크 케이스 (30) 의 위치가 소정의 목표치로부터 허용 범위를 초과하여 어긋나 있는 경우에는, 일례로서 반송차 (V) 또는 반송 장치 (H1) 에 의해 마스크 케이스 (30) 의 위치 및/또는 회전각의 조정이 실시된다.     또한, 근접 센서 (50A, 50B, 51) 중 적어도 하나의 센서를 남기고 다른 센서를 생략해도 된다.     또, 근접 센서 (50A, 50B) 의 적어도 일방을 ―Y 방향의 단부에 이동시켜도 되고, 근접 센서 (50A, 50B) 를 Y 방향에 관해서 서로 반대측의 단부에 배치해도 된다.Further, at the end in the +Y direction of the upper surface of the
또, 위치 (P2 ∼ P5) 의 레일 (46A 및 46B) 의 2 개 지점에 각각 위치 (P1 ∼ P4) 의 수용부 (65) 에 수용되는 마스크 케이스 (30) 의 플랜지부 (41A 및 41B) 를 지지하기 위한 지지부 (47A1, 47A2 및 47B1, 47B2) 가 대향하도록 부착되고, 프레임 기구 (43) 의 상단의 Y 방향으로 평행한 2 개의 부분의 2 개 지점에 각각 최상단 (위치 (P5)) 의 수용부 (65) 에 수용되는 마스크 케이스 (30) 의 플랜지부 (41A 및 41B) 를 지지하기 위한 지지부 (47C1, 47C2 및 47D1, 47D2) 가 대향하도록 부착되어 있다.In addition,
마스크 케이스 (30) 가 위치 (P1 ∼ P4) 의 레일 (46A, 46B) 상의 목표 위치에 재치되어 있는 상태에서는, 예를 들어 도 3(A) 에 점선으로 나타내는 바와 같이 평면에서 보아 (즉, X 축 및 Y 축을 포함하는 평면을 따른 방향에 관해서), 위치 (P2 ∼ P5) 의 레일 (46A, 46B) 에 부착된 일방의 지지부 (47A1, 47B1) 가 마스크 케이스 (30) 의 플랜지부 (41A, 41B) 의 절결부 (41Aa, 41Ba) 내에 위치하고 있음과 함께, 타방의 지지부 (47A2, 47B2) 는 플랜지부 (41A, 41B) 의 ―Y 방향의 단부에 근접하고 있다.     또한, 지지부 (47A1 ∼ 47B2) 의 Z 위치는 대응하는 플랜지부 (41A, 41B) 의 상면보다 높게 설정되어 있다.     또한, 타방의 지지부 (47A2, 47B2) 의 상면에는, 각각 플랜지부 (41A, 41B) 의 개구 (41Ab, 41Bb) 에 삽입 통과 가능한 핀 (48) 이 고정되어 있다.     핀 (48) 의 직경은 개구 (41Ab, 41Bb) 의 직경에 대하여, 반송 장치 (H1) 에 의한 마스크 케이스 (30) 의 위치 결정 정밀도보다 큰 클리어런스를 갖고 작게 설정되어 있다.     지지부 (47C1, 47C2, 47D1, 47D2) 의 XY 평면 내에서의 위치는, 지지부 (47A1, 47A2, 47B1, 47B2) 와 동일하고, 지지부 (47C2, 47D2) 의 상면에도, 각각 핀 (48) 이 고정되어 있다.In the state where the
이 구성에 의해, 반송 장치 (H1) 로 위치 (P1 ∼ P5) 의 레일 (46A, 46B) 상의 마스크 케이스 (30) 를, 지지부 (47A1, 47B1) 가 각각 절결부 (41Aa, 41Ba) 를 통과하도록 상승시키고, 또한 마스크 케이스 (30) 를, 개구 (41Ab, 41Bb) 가 핀 (48) 의 상방에 위치하도록, 예를 들어 플랜지부 (41A, 41B) 의 절결부 (41Aa, 41Ba) 의 Y 방향의 폭분만큼 ―Y 방향으로 이동시킨 후, 마스크 케이스 (30) 를 강하시킴으로써, 상부 케이스부 (31B) 의 플랜지부 (41A, 41B) 가 각각 위치 (P2 ∼ P5) 의 레일 (46A, 46B) 에 형성한 지지부 (47A1, 47A2, 47B1, 47B2) 또는 최상부의 지지부 (47C1, 47C2, 47D1, 47D2) 로 지지되기 때문에, 하부 케이스부 (31A) 로부터 상부 케이스부 (31B) 를 용이하게 분리할 수 있다.     이 때에, 플랜지부 (41A, 41B) 의 개구 (41Ab, 41Bb) 내에 각각 지지부 (47A2, 47B2 또는 47C2, 47D2) 의 핀 (48) 이 삽입 통과되기 때문에, 진동 등에 의해 플랜지부 (41A, 41B) 의 위치가 어긋나는 것을 방지할 수 있다.     또, 이 반대 동작에 의해, 하부 케이스부 (31A) 에 상부 케이스부 (31B) 를 용이하게 정확하게 위치 결정한 상태에서 재치할 수 있다.     또한, 진동 등이 적고, 플랜지부 (41A, 41B) 의 위치 어긋남량이 적은 경우에는, 플랜지부 (41A, 41B) 의 개구 (41Ab, 41Bb) 및 지지부 (47A2, 47B2, 47C2, 47D2) 의 핀 (48) 은 생략하는 것이 가능하다.     또, 개구 (41Ab, 41Bb) 는, 핀 (48) 이 삽입 통과되도록 관통한 개구한 형상에 한정되지 않고, 핀 (48) 과 서로 끼워맞추는 형상이면 되고, 예를 들어, 플랜지부 (41A, 41B) 의 상면측이 닫힌 (개구하고 있지 않는) 구멍, 즉 관통하고 있지 않는 (오목 형상의) 구멍으로 할 수도 있다.With this configuration, the conveying device H1 passes the
또, 도 8 에 있어서, 칸막이판 (44) 의 +X 방향의 단부의 상면에 마스크 케이스 (30) 의 검출 장치 (52) 가 고정되고, 검출 장치 (52) 로부터 Z 방향으로 평행하게 상방에 광빔 (LB1) 이 조사되고, 프레임 기구 (43) 의 최상부의 부재에, 광빔 (LB1) 을 ―Z 방향으로 반사하는 반사 부재 (49) 가 형성되어 있다.     본 실시형태에 있어서, 반사 부재 (49) 및 검출 장치 (52) 는, 반송 장치 (H1) 의 일부이다.     위치 (P1 ∼ P5) 의 +X 방향측의 레일 (46B) 에는 각각 광빔 (LB1) 을 통과시키기 위한 개구 (46Ba) 가 형성되어 있다.     도 9 에 나타내는 바와 같이, 검출 장치 (52) 는, 광빔을 사출하는 광원부 (52a) 와, 광원부 (52a) 로부터 사출된 광빔의 일부 (광빔 (LB1)) 를 +Z 방향으로 반사하는 빔 스플리터 (52b) 와, 반사 부재 (49) 로 반사된 광빔 (LB1) 중에서 빔 스플리터 (52b) 를 투과한 광빔을 수광하여 광전 변환하는 포토 다이오드 등의 광전 센서 (52c) 를 갖는다.     광전 센서 (52c) 의 검출 신호를 신호 처리부 (도시하지 않음) 로 소정의 기준치와 비교함으로써, 광빔 (LB1) 의 광로 상에 물체가 있는지 여부를 검출할 수 있다.     검출 결과는 제어 장치 (CONT) 에 공급된다.8, a
또한, 광원부 (52a) 와 광전 센서 (52c) 의 배치를 교체하여, 빔 스플리터 (52b) 가 광원부 (52a) 로부터의 광빔을 투과시키고, 광전 센서 (52c) 가 빔 스플리터 (52b) 로 반사된 광빔을 검출해도 된다.     또, 반사 부재 (49) 에, 상기 서술한 반사부 (37B) 와 동일하게 편광 특성을 갖게 해도 되고, 혹은 반사 부재 (49) 를 향하는 광빔과 반사 부재 (49) 로 반사된 광빔이 서로 편광 방향이 직교하는 직선 편광이 되도록 광빔의 광로에 1/4 파장판이나 편광자 등의 편광 소자를 배치해도 된다.     이 경우, 빔 스플리터 (52b) 에 편광 특성을 갖게 하여 편광빔 스플리터로 해도 된다.Further, by replacing the arrangement of the
이 경우, 도 10 에 나타내는 바와 같이, 위치 (P1) (또는 P2 ∼ P5) 의 레일 (46A, 46B) 상의 목표 위치에 마스크 케이스 (30) 를 재치한 상태에서, 플랜지부 (41B) 의 절결부 (41Ba) 로부터 떨어진 위치에 있는 개구 (41Bd) 내를 광빔 (LB1) 이 통과하도록, 광빔 (LB1) 의 광로가 설정되어 있다.     또한, 상기 서술한 바와 같이, 반송 장치 (H1) 에 의해 마스크 케이스 (30) 의 상부 케이스부 (31B) 를 예를 들어 위치 (P3) (또는 위치 (P2, P4, P5)) 의 지지부 (47A1, 47A2 및 47B1, 47B2) 또는 지지부 (47C1, 47C2 및 47D1, 47D2) 상에 재치한 상태에서, 플랜지부 (41B) 의 절결부 (41Ba) 에 가까운 위치에 있는 개구 (41Bc) (도 2(A) 참조) 내를 광빔 (LB1) 이 통과하도록, 상부 케이스부 (31B) 가 위치 결정된다.     이와 같이 위치 (P1 ∼ P5) 전부의 마스크 케이스 (30) 및/또는 상부 케이스부 (31B) 가 각각 수용부 (65) 의 소정 위치 (목표 위치) 에 위치 결정된 상태에서는, 광빔 (LB1) 은 플랜지부 (41B) 의 개구 (41Bc 또는 41Bd) 내를 통과하기 때문에, 검출 장치 (52) 로는 광빔 (LB1) 의 광로에 물체가 없는 것을 검출할 수 있다.     즉, 검출 장치 (52) 에 의해 광빔 (LB1) 을 검출함으로써, 마스크 케이스 (30) 및/또는 상부 케이스부 (31B) 가 수용부 (65) (목표 위치) 에 대하여 소정의 허용 범위 내에 위치 결정된 것을 검지할 수 있다.     바꿔 말하면, 수용부 (65) 에 대한 마스크 케이스 (30) 및/또는 상부 케이스부 (31B) 의 수용 상태를 검지할 수 있다.In this case, as shown in Fig. 10, in the state where the
한편, 위치 (P1 ∼ P5) 중 어느 것의 마스크 케이스 (30) 또는 상부 케이스부 (31B) 가 목표 위치로부터 허용 범위를 초과하여 어긋난 상태에서는, 광빔 (LB1) 은 플랜지부 (41B) 의 개구 (41Bc 및 41Bd) 를 통과할 수 없게 되고, 검출 장치 (52) 로는 광빔 (LB1) 의 광로에 물체 (플랜지부 (41B)) 가 있는 것을 검출할 수 있다.     즉, 검출 장치 (52) 에 의해 광빔 (LB1) 을 검출할 수 없게 됨으로써, 마스크 케이스 (30) 및/또는 상부 케이스부 (31B) 가 목표 위치에 대하여 허용 범위를 초과하여 위치 결정된 (즉, 위치 어긋나 있는) 것을 검지할 수 있다.     바꿔 말하면, 이 경우도 수용부 (65) 에 대한 마스크 케이스 (30) 및/또는 상부 케이스부 (31B) 의 수용 상태를 검지할 수 있다.     이 때문에, 일례로서, 반송 장치 (H1) 에 의해 수용부 (65) 에 마스크 케이스 (30) 를 반송할 때, 또는 마스크 케이스 (30) 의 상부 케이스부 (31B) 를 대응하는 지지부 (47A1 ∼ 47B2) 등에 재치할 때에는, 각각 검출 장치 (52) 로 광빔 (LB1) 을 검출할 수 있도록 마스크 케이스 (30) 또는 상부 케이스부 (31B) 의 위치를 조정함으로써, 마스크 케이스 (30) 또는 상부 케이스부 (31B) 를 각각 용이하게 목표 위치에 설치할 수 있다.On the other hand, in a state where the
또한, 본 실시형태에 있어서, 하부 케이스부 (31A) 및 상부 케이스부 (31B) 를 구성하는 복수의 부재는, 볼트에 의한 연결 외에, 용접 또는 접착에 의한 연결, 또는 일체 성형 등으로 연결해도 된다.Further, in the present embodiment, the plurality of members constituting the
다음으로, 본 실시형태의 노광 장치 (EX) 에 있어서의 마스크 (M) 의 반송 방법을 포함하는 노광 방법의 일례에 대해 도 11(A) 및 (B) 의 플로우 차트를 참조하여 설명한다. 이 동작은 제어 장치 (CONT) 에 의해 제어된다.Next, an example of an exposure method including a conveyance method of the mask M in exposure apparatus EX of the present embodiment will be described with reference to flowcharts in FIGS. 11(A) and (B). This operation is controlled by the control device CONT.
먼저, 마스크 (M) 가 수납된 마스크 케이스 (30) 가 반송차 (V) 에 의해 마스크 스토커 (도시하지 않음) 로부터 노광 장치 (EX) 의 마스크 라이브러리 (LB) 까지 반송된다 (스텝 102).     즉, 반송차 (V) 의 마스크 케이스 반송부 (53) 의 볼 트랜스퍼 (54A ∼ 54C) 의 구면부에 마스크 케이스 (30) 의 위치 결정부 (36A ∼ 36C) 의 오목부 (36Aa, 36Ba) 및 평탄부 (36Ca) 가 접촉하도록, 마스크 케이스 반송부 (53) 에 마스크 케이스 (30) 를 재치한다.     그리고, 마스크 케이스 (30) 의 X 방향의 위치 및 θz 방향의 각도가 각각 일시 수용부 (66) 에서의 목표치가 되도록 반송차 (V) 의 위치 결정을 실시하고, 마스크 케이스 (30) 의 Z 위치를 설정치보다 높게 한 후, 도시하지 않는 개폐 기구에 의해 노광 챔버 (CH) 의 반출입구 (도시하지 않음) 를 개방하고, 반송차 (V) 가 그 반출입구를 통해 마스크 케이스 반송부 (53) 로 지지된 마스크 케이스 (30) 를 마스크 라이브러리 (LB) 의 레일 (45A, 45B) 의 상방으로 이동한다.     또한, 도 9 에 나타내는 바와 같이, 반송차 (V) 의 마스크 케이스 반송부 (53) 를 강하시킴으로써, 레일 (45A, 45B) 에 마스크 케이스 (30) 의 4 개 지점의 다리부 (35) 가 재치된다.     이에 따라, 반송차 (V) 로부터 일시 수용부 (66) 에 마스크 케이스 (30) 가 수수된 것이 된다.First, the
이 때에, 레일 (45A, 45B) 상의 근접 센서 (50A, 50B, 51) 에 의해 마스크 케이스 (30) 의 X 방향, Y 방향의 위치, 및 θz 방향의 회전각을 검출하고, 제어 장치 (CONT) 에 있어서 그 검출 결과를 미리 정해 있는 목표치와 비교해도 된다.     그리고, 그 검출 결과의 목표치로부터의 어긋남량이 소정의 허용 범위를 초과하고 있는 경우에는, 반송차 (V) 로 마스크 케이스 (30) 를 레일 (45A, 45B) 로부터 상승시켜, 마스크 케이스 (30) 의 위치 및/또는 회전각을 보정한 후, 마스크 케이스 (30) 를 일시 수용부 (66) 에 수수해도 된다.     이것은 반송 장치 (H1) 에 의해 레일 (46A, 46B) 상에 마스크 케이스 (30) 를 재치할 때에도 동일하다.     그 후, 반송차 (V) 가 +Y 방향으로 이동하여 노광 챔버 (CH) 의 반출입구 (도시하지 않음) 가 닫힌다.At this time, the position of the
또한, 반송 장치 (H1) 에 의해, 마스크 라이브러리 (LB) 의 일시 수용부 (66) 로부터 어느 수용부 (65) 로 마스크 케이스 (30) 를 이동하기 위해서, 도 9 에 나타내고 있는 마스크 케이스 반송부 (53) 의 위치로, 반송 장치 (H1) 의 마스크 케이스 반송부 (61) 를 이동한다.     그리고, 마스크 케이스 반송부 (61) 를 상승시켜, 마스크 케이스 반송부 (61) 의 볼 트랜스퍼 (62A ∼ 62C) 의 구면부가 마스크 케이스 (30) 의 위치 결정부 (36A ∼ 36C) 의 오목부 (36Aa, 36Ba) 및 평탄부 (36Ca) 에 접촉하도록, 마스크 케이스 반송부 (61) 에 마스크 케이스 (30) 를 수수한다.In addition, in order to move the
이와 같이 마스크 케이스 반송부 (61) 에 마스크 케이스 (30) 를 수수했을 때에, 일례로서 도 11(B) 의 스텝 120 에서 나타내는 바와 같이, 검출 장치 (63) 에 의해 마스크 케이스 (30) 의 하부 케이스부 (31A), 마스크 (M), 및 상부 케이스부 (31B) 의 유무 (또는 마스크 (M) 까지의 거리) 를 검출해도 된다.     하부 케이스부 (31A) 가 없는 경우에는, 하부 케이스부 (31A) 로서 다른 마스크용 하부 케이스부가 사용되고 있는 경우 등이 생각된다.     그리고, 하부 케이스부 (31A), 마스크 (M), 및 상부 케이스부 (31B) 중 적어도 하나가 없다 (또는 마스크 (M) 까지의 거리가 허용 범위를 초과하고 있다) 고 판정된 경우, 스텝 122 로 이행하여 마스크 케이스 (30) 를 반환한다.     즉, 제어 장치 (CONT) 에서는, 일례로서, 반송 장치 (H1) 에 그 마스크 케이스 (30) 를 일시 수용부 (66) 로 되돌리도록 제어 정보를 공급하고, 반송차 (V) 에 그 마스크 케이스 (30) 를 노광 챔버 (CH) 의 외부에 반출하도록 제어 정보를 공급한다.     이에 따라, 마스크 케이스 (30) 는 노광 챔버 (CH) 의 외부에 반출된다.     그 후, 동작은 스텝 102 로 되돌아간다.     이 경우, 그 반환된 마스크 케이스 (30) 와 교환된 다른 마스크 케이스 (30) 가 반송차 (V) 에 의해 일시 수용부 (66) 에 반입된다.In this way, when the
이에 따라, 다른 마스크 (M) 가 수납된 마스크 케이스 (30), 또는 마스크 (M) 가 없는 마스크 케이스 (30) 가 잘못하여 마스크 라이브러리 (LB) 의 수용부 (65) 에 수납되는 것을 방지할 수 있다.     이 때문에, 예를 들어 반송 장치 (H1) 가 마스크 로더계 (H2) 에 마스크 (M) 를 수수하는 단계에서 마스크 (M) 가 없는 것이 판명되는 것을 방지할 수 있고, 마스크의 반송 불량을 방지할 수 있다.     또한, 예를 들어 노광 챔버 (CH) 의 외부에서, 하부 케이스부 (31A), 마스크 (M), 및 상부 케이스부 (31B) 가 존재하는 것 (또는 마스크 (M) 까지의 거리가 허용 범위 내에 있는 것) 이 오퍼레이터 등에 의해 정확하게 확인되어 있는 경우에는, 검출 장치 (63) 에 의한 확인 (스텝 120) 을 생략해도 된다.Accordingly, it is possible to prevent the
스텝 120 에 있어서, 하부 케이스부 (31A), 마스크 (M), 및 상부 케이스부 (31B) 가 전부 존재한다 (또는 마스크 (M) 까지의 거리가 허용 범위 내에 있다) 고 판정된 경우, 또는 검출 장치 (63) 에 의한 확인을 생략한 경우에는, 스텝 104 로 이행하여, 반송 장치 (H1) 에 의해, 마스크 케이스 (30) 를 마스크 라이브러리 (LB) 의 예를 들어 위치 (P1) 의 수용부 (65) 로 이동한다.     즉, 마스크 케이스 (30) 를 지지하는 마스크 케이스 반송부 (61) 를 ―Y 방향으로 이동하고, 마스크 케이스 (30) 의 Z 위치가 예를 들어 위치 (P1) 의 레일 (46A, 46B) 의 상방이 되도록 마스크 케이스 반송부 (61) 를 상승시켜, 마스크 케이스 반송부 (61) 를 +Y 방향으로 이동함으로써, 마스크 케이스 (30) 는 위치 (P1) 의 레일 (46A, 46B) 의 상방으로 이동한다.     또한, 도 9 에 2 점 쇄선으로 나타내는 바와 같이, 반송 장치 (H1) 의 마스크 케이스 반송부 (61) 를 강하시킴으로써, 위치 (P1) 의 레일 (46A, 46B) 에 마스크 케이스 (30) 의 4 개 지점의 다리부 (35) 가 재치된다.     이에 따라, 일시 수용부 (66) 로부터 위치 (P1) 의 수용부 (65) 에 마스크 케이스 (30) 가 이동된 것이 된다.In
여기서는, 설명의 편의상, 도 12 에 2 점 쇄선으로 나타내는 바와 같이, 위치 (P2) 의 레일 (46A, 46B) 상 (수용부 (65)) 에 마스크 케이스 (30) 가 이동된 것으로 하여, 위치 (P2) 의 수용부 (65) 로부터 마스크 스테이지 (MST) 에 마스크 케이스 (30) 내의 마스크 (M) 를 반송하는 것으로 한다.     또한, 도 12 및 도 13 에 있어서는, 설명의 편의상, 프레임 기구 (43) 의 일부 및 마스크 케이스 (30) 의 플랜지부 (41B) 를 단면으로 나타내고 있다.     이 때, 도 12 에 있어서, 검출 장치 (52) 로부터 사출된 광빔 (LB1) 이, 마스크 케이스 (30) 의 플랜지부 (41B) 의 개구 (41Bd) 및 반사 부재 (49) 를 통해서 검출 장치 (52) 로 검출되도록, 또한 플랜지부 (41A, 41B) 의 절결부 (41Aa, 41Ba) 의 상방에 위치 (P3) 의 지지부 (47A1, 47B1) 가 위치하도록 (도 3(A) 참조), 마스크 케이스 (30) 의 위치 결정이 실시되어 있다.     이에 따라, 다음으로 마스크 케이스 (30) 를 반송 장치 (H1) 로 지지할 때에, 마스크 케이스 (30) 에 대한 마스크 케이스 반송부 (61) 의 위치 결정을 효율적으로 (단시간에) 실시할 수 있다.Here, for convenience of explanation, it is assumed that the
그리고, 위치 (P2) 의 수용부 (65) 의 마스크 케이스 (30) 의 저면의 하방에 반송 장치 (H1) 의 마스크 케이스 반송부 (61) 를 이동한 후, 마스크 케이스 반송부 (61) 를 상승시켜, 사용 대상의 마스크 케이스 (30) 의 위치 결정부 (36A, 36B) 의 오목부 (36Aa, 36Ba) 에 마스크 케이스 반송부 (61) 의 볼 트랜스퍼 (62A, 62B) 의 구면부 (62Aa, 62Ba) (볼록부) 를 접촉 (걸어맞춤) 시키고, 그 마스크 케이스 (30) 의 위치 결정부 (36C) 의 평탄부 (36Ca) 에 볼 트랜스퍼 (62C) 의 구면부 (62Ca) 를 접촉 (걸어맞춤) 시킨다 (스텝 106).     이 상태에서 마스크 케이스 반송부 (61) (마스크 케이스 (30)) 를 더욱 상승시켜, 플랜지부 (41A, 41B) 의 절결부 (41Aa, 41Ba) 가 지지부 (47A1, 47B1) 를 통과한 후, 화살표 (A1) 로 나타내는 바와 같이, 절결부 (41Aa, 41Ba) 의 Y 방향의 폭분만큼 마스크 케이스 (30) 를 ―Y 방향으로 슬라이드 이동시키고 나서, 화살표 (A2) 로 나타내는 바와 같이 마스크 케이스 (30) 를 강하시킨다 (스텝 108).And after moving the mask case conveyance
이에 따라, 도 13 및 도 9 에 2 점 쇄선으로 나타내는 바와 같이, 마스크 케이스 (30) 의 상부 케이스부 (31B) 의 플랜지부 (41A, 41B) 가 위치 (P3) 의 지지부 (47A1, 47A2 및 47B1, 47B2) 에 재치되고, 하부 케이스부 (31A) 만이 마스크 케이스 반송부 (61) 에 재치되어, 하부 케이스부 (31A) 로부터 상부 케이스부 (31B) 가 분리된다.     또, 플랜지부 (41A, 41B) 의 개구 (41Ab, 41Bb) 내에 지지부 (47A2, 47B2) 의 핀 (48) 이 삽입 통과되어 있다.13 and 9, the
또한, 일례로서, 스텝 108 에 이어 도 11(C) 의 스텝 130 에 있어서, 제어 장치 (CONT) 는, 검출 장치 (52) 로부터 사출된 광빔 (LB1) 이, 반사 부재 (49) 를 통해서 검출 장치 (52) 로 검출되는지 여부를 확인해도 된다.     광빔 (LB1) 이 검출 장치 (52) 로 검출되는 경우에는, 광빔 (LB1) 이, 상부 케이스부 (31B) 의 플랜지부 (41B) 의 개구 (41Bc) 를 통과하고 있는 것, 즉, 상부 케이스부 (31B) 가 정확하게 위치 결정되어 있는 것을 의미한다.     이 경우에는, 마스크 (M) 의 사용 후에 마스크 (M) 가 재치된 하부 케이스부 (31A) 에 상부 케이스부 (31B) 를 재치할 때에, 상부 케이스부 (31B) 의 하방의 목표 위치에 마스크 케이스 반송부 (61) (하부 케이스부 (31A)) 를 이동하여, 하부 케이스부 (31A) 를 상승시킴으로써, 효율적으로 (단시간에) 상부 케이스부 (31B) 에 하부 케이스부 (31A) 를 정확하게 재치할 수 있다.Further, as an example, in
그래서, 스텝 130 에 있어서, 광빔 (LB1) 이 검출 장치 (52) 로 검출되는 경우에는 동작은 스텝 110 으로 이행한다.     한편, 스텝 130 에 있어서, 광빔 (LB1) 이 검출 장치 (52) 로 검출되지 않는 경우에는, 스텝 132 로 이행하여, 재차 마스크 케이스 반송부 (61) 에 의해 상부 케이스부 (31B) 를 상승시켜 상부 케이스부 (31B) 에 상부 케이스부 (31B) 를 재치한 후, 광빔 (LB1) 이 검출 장치 (52) 로 검출되도록 마스크 케이스 반송부 (61) 의 Y 방향의 위치를 조정한 후, 마스크 케이스 반송부 (61) (하부 케이스부 (31A)) 를 강하시킨다.     그리고, 광빔 (LB1) 이 검출 장치 (52) 로 검출되도록 된 상태에서, 스텝 110 으로 이행한다.     또한, 스텝 130 및 132 의 동작은, 스텝 108 의 도중 (마스크 케이스 (30) 의 ―Y 방향으로의 슬라이드 이동 후) 에 실시하도록 해도 된다.Then, in
스텝 110 에 있어서, 화살표 (A3) 로 나타내는 바와 같이, 마스크 케이스 반송부 (61) 를 개재하여 하부 케이스부 (31A) 를 ―Y 방향으로 슬라이드 이동시켜, 하부 케이스부 (31A) 를 마스크 라이브러리 (LB) 로부터 인발한 후, 마스크 케이스 반송부 (61) (하부 케이스부 (31A)) 를 반송 장치 (H1) 의 최상부인 위치 (CA1) (도 1 참조) 까지 상승시킨다.     위치 (CA1) 에 있어서, 마스크 (M) 는, 반송 장치 (H1) 의 마스크 케이스 반송부 (61) 로부터 마스크 로더계 (H2) 의 캐리어 (21) 에 수수된다 (스텝 112).     이 때에, 하부 케이스부 (31A) 의 위치 결정부 (36A, 36B) 가 마스크 케이스 반송부 (61) 의 볼 트랜스퍼 (62A, 62B) 에 대하여 위치 결정되어 있고, 캐리어 (21) 와 마스크 케이스 반송부 (61) (볼 트랜스퍼 (62A, 62B)) 는 서로 정확하게 위치 결정되어 있기 때문에, 캐리어 (21) 는 효율적으로 마스크 케이스 반송부 (61) 로부터 마스크 (M) 를 수취할 수 있다.In
캐리어 (21) 는, 예를 들어 진공 흡착 기구에 의해 마스크 (M) 를 수취한다.     그 진공 흡착 기구는, 캐리어 (21) 의 저면에 형성된 진공 흡착공과, 그 진공 흡착공에 도시하지 않는 배관을 통해서 연결된 도시하지 않는 진공 펌프를 갖고, 이 진공 펌프의 온/오프에 의해 마스크 (M) 의 흡착 유지 및 유지 해제를 전환 가능하도록 되어 있다.     그리고, 마스크 로더계 (H2) 에 의해 마스크 (M) 는 마스크 스테이지 (MST) 의 상방으로 반송되어, 마스크 스테이지 (MST) 로 로드된다 (스텝 114).The
즉, 캐리어 (21) 는, 마스크 (M) 를 유지한 상태에서, 위치 (CA1) 와 위치 (CA2) 사이를 캐리어 가이드부 (21A) 에 지지되면서 이동 가능함과 함께, 캐리어 가이드부 (21A) 와 함께 Z 방향으로 이동 가능하다.     즉, 캐리어 (21) 는 도 1 중, X 방향 및 Z 방향으로 이동 가능하도록 형성되어 있다.     캐리어 (21) 는, 위치 (CA1) 에 있어서 반송 장치 (H1) 에 지지되어 있는 하부 케이스부 (31A) 로부터 마스크 (M) 를 수취한 후, 마스크 (M) 를 위치 (CA2) 까지 반송한다.     위치 (CA2) 로 이동한 캐리어 (21) 는, 위치 (CA2) 에 있어서 마스크 (M) 를 로드 아암 (22) 에게 건네준다.     여기서 로드 아암 (22) 및 언로드 아암 (23) 은, 도 1 중, Y 방향 및 Z 방향으로 이동 가능하다.     로드 아암 (22) 과 언로드 아암 (23) 은, 위치 (CA2) 와 마스크 스테이지 (MST) 사이를 Y 방향으로 개별적으로 이동 가능함과 함께, Z 방향에 대해서는 Z 축 가이드부 (22A) 에 지지되면서 일체로 이동 가능하도록 되어 있다.     이들 로드 아암 (22) 및 언로드 아암 (23) 은, 마스크 (M) 를 유지하는 진공 흡착공을 갖고 있으며, 연결된 진공 펌프의 온/오프에 의해 마스크 (M) 의 흡착 유지 및 유지 해제를 실시한다.     로드 아암 (22) 은, 위치 (CA2) 에 있어서 노광 처리에 사용하는 마스크 (M) 를 캐리어 (21) 로부터 수취하고, 마스크 스테이지 (MST) 의 상방까지 반송한 후, 마스크 (M) 를 마스크 스테이지 (MST) 에 로드한다.That is, the
그리고, 노광 장치 (EX) 의 노광부 (S) 에 있어서, 마스크 (M) 패턴의 이미지를 소정 로트 수의 플레이트 (P) 에 노광한다 (스텝 116).     노광부 (S) 에 있어서 노광 처리를 끝낸 마스크 (M) 는 마스크 로더계 (H2) 및 반송 장치 (H1) 에 의해 마스크 라이브러리 (LB) 로 되돌려진다 (스텝 118).     즉, 마스크 (M) 는 언로드 아암 (23) 에 의해 마스크 스테이지 (MST) 로부터 언로드되고, 위치 (CA2) 까지 반송된다.     위치 (CA2) 에 반송된 마스크 (M) 는, 이 위치 (CA2) 에 대기하고 있는 캐리어 (21) 에게 건네지고, 이 캐리어 (21) 에 의해 위치 (CA1) 에 반송된다.     그리고, 위치 (CA1) 에 반송된 마스크 (M) 는, 위치 (CA1) 에 대기하고 있던 반송 장치 (H1) 의 마스크 케이스 반송부 (61) 에 재치되어 있는 하부 케이스부 (31A) 에 재치된다.     그 후, 마스크 케이스 반송부 (61) (마스크 (M) 가 재치된 하부 케이스부 (31A)) 를 노광 처리 전에 수용되어 있던 수용부 (65) 의 높이까지 이동하고, 마스크 케이스 반송부 (61) 를 도 13 에 나타내는 상부 케이스부 (31B) 의 하방의 위치까지 +Y 방향으로 슬라이드 이동한다.Then, in the exposure unit S of the exposure apparatus EX, the image of the mask M pattern is exposed to the plates P of a predetermined lot number (step 116). The mask M, which has undergone the exposure process in the exposure unit S, is returned to the mask library LB by the mask loader system H2 and the transfer device H1 (step 118). That is, the mask M is unloaded from the mask stage MST by the unload
또한, 마스크 케이스 반송부 (61) (하부 케이스부 (31A)) 를 상승시켜, 지지부 (47A1, 47A2, 47B1, 47B2) 로 지지되어 있는 상부 케이스부 (31B) 를 하부 케이스부 (31A) 에 재치한 후, 도 12 의 화살표 (A1) 와 역방향으로 마스크 케이스 반송부 (61) 에 의해 마스크 케이스 (30) (하부 케이스부 (31A) 및 상부 케이스부 (31B)) 를 이동함으로써, 위치 (P2) 의 레일 (46A, 46B) 상 (수용부 (65)) 에 마스크 케이스 (30) 가 되돌려진다.     그 후, 위치 (P2) 의 수용부 (65) 의 마스크 케이스 (30) 를 마스크 스토커 (도시하지 않음) 로 되돌리는 경우에는, 반송 장치 (H1) 에 의해 그 마스크 케이스 (30) 를 일시 수용부 (66) 로 되돌린 후, 반송차 (V) 에 의해 일시 수용부 (66) 의 마스크 케이스 (30) 를 노광 챔버 (CH) 의 외부에 반출하면 된다.Further, the mask case transport unit 61 (
이 반송 방법에 따르면, 마스크 (M) 를 수납하는 마스크 케이스 (30) 의 하부 케이스부 (31A) 의 위치 결정부 (36A, 36B) 를 사용하여, 마스크 케이스 (30) 와 반송 장치 (H1) 의 마스크 케이스 반송부 (61) 의 위치 결정이 자동적으로 고정밀도로 실시되고 있으며, 반송 장치 (H1) 에 의한 마스크 라이브러리 (LB) 에 대한 마스크 케이스 (30) 의 반입 및 반출, 또한 반송 장치 (H1) 와 마스크 로더계 (H2) (캐리어 (21)) 사이의 마스크 (M) 의 수수, 나아가서는, 예를 들어 노광 장치 (EX) 로 복수의 마스크 (M) 를 사용하여 순차 노광을 실시하는 경우에, 마스크 라이브러리 (LB) 와 마스크 스테이지 (MST) 사이에 있어서의 마스크 (M) 의 반송 불량을 저감할 수 있다.According to this conveying method, the
상기 서술한 바와 같이 본 실시형태의 마스크 (M) 가 수납되는 마스크 케이스 (30) 는, 마스크 (M) 를 지지하는 지지부 (34B, 34C) 가 형성되는 베이스 부재 (32) (저면) 를 갖는 하부 케이스부 (31A) (제 1 케이스부) 와, 하부 케이스부 (31A) 에 대하여 착탈 가능하도록 형성되고, 베이스 부재 (32) 에 대향 배치되는 평판부 (39a) (상면) 를 갖는 상부 케이스부 (31B) (제 2 케이스부) 를 구비하고, 마스크 라이브러리 (LB) (보관 장치) 에 보관 가능한 마스크 케이스이다.     그리고, 마스크 케이스 (30) 에 있어서, 상부 케이스부 (31B) 는, 하부 케이스부 (31A) 로부터 떼어내어져 마스크 라이브러리 (LB) 에 유지될 때에 사용되는 플랜지부 (41B) (유지부) 를 갖고, 플랜지부 (41B) 는, 하부 케이스부 (31A) 에 장착된 상부 케이스부 (31B) 가 마스크 라이브러리 (LB) 에 보관되는 제 1 위치에 있을 때에, 광빔 (LB1) 이 통과하는 개구 (41Bd) (제 1 광 통과부) 와, 하부 케이스부 (31A) 로부터 떼어내어진 상부 케이스부 (31B) 의 플랜지부 (41B) 가 마스크 라이브러리 (LB) 의 지지부 (47B1, 47B2) 에 유지되는 제 2 위치에 있을 때에, 광빔 (LB1) 이 통과하는 개구 (41Bc) (제 2 광 통과부) 를 구비하고 있다.As described above, the
또, 본 실시형태의 마스크 케이스 (30) 는, 마스크 (M) 가 재치되는 하부 케이스부 (31A) 와, 하부 케이스부 (31A) 에 재치되는 마스크 (M) 를 덮도록, 하부 케이스부 (31A) 에 재치되는 상부 케이스부 (31B) 를 구비하고, 상부 케이스부 (31B) 는, 마스크 라이브러리 (LB) (마스크 케이스 (30) 의 보관부) 로 상부 케이스부 (31B) 를 지지하기 위한 플랜지부 (41A, 41B) 를 갖고, 플랜지부 (41B) 에, 상부 케이스부 (31B) 의 위치를 검출하기 위한 광빔 (LB1) 이 통과 가능한 개구 (41Bc) 가 형성되어 있다.Further, the
또, 마스크 (M) 를 반송하는 반송 장치 (H1) 는, 마스크 케이스 (30) 의 마스크 (M) 가 재치된 하부 케이스부 (31A) 를 지지하는 마스크 케이스 반송부 (61) (케이스 지지부) 와, 하부 케이스부 (31A) 로부터 분리된 상부 케이스부 (31B) 를, 상부 케이스부 (31B) 의 플랜지부 (41A, 41B) 를 개재하여 지지하는 지지부 (47A1, 47A2, 47B1, 47B2) (상부 케이스 지지부) 와, 상부 케이스부 (31B) 의 플랜지부 (41B) 의 개구 (41Bc) 에 광빔 (LB1) 을 조사하는 광원부 (52a) (조사부) 와, 플랜지부 (41B) 의 개구 (41Bc) 를 통과한 광빔 (LB1) 을 개구 (41Bc) 를 향하여 반사하는 반사 부재 (49) 와, 반사 부재 (49) 로 반사되어 개구 (41Bc) 를 통과한 광빔 (LB1) 을 검출하는 광전 센서 (52c) (검출부) 를 구비하고 있다.In addition, the conveyance device H1 for conveying the mask M includes a mask case conveyance section 61 (case support section) that supports the
또, 마스크 케이스 (30) 를 보관하는 마스크 라이브러리 (LB) (보관 장치) 는, 마스크 케이스 (30) 의 플랜지부 (41A, 41B) (유지부) 를 개재하여 마스크 케이스 (30) 를 지지 가능한 지지부 (47A1, 47A2, 47B1, 47B2) 와, 지지부 (47B1) (지지부 (47B1) 의 근방의 플랜지부 (41B) 의 개구 (41Bc, 41Bd)) 를 향하여 광빔 (LB1) 을 조사하는 광원부 (52a) (조사부) 와, 지지부 (47B1) 를 향하여 조사된 광빔 (LB1) 을 검출하는 광전 센서 (52c) (검출부) 를 구비하고 있다.In addition, the mask library LB (storage device) for storing the
또, 마스크 (M) 의 반송 방법은, 마스크 케이스 (30) 의 마스크 (M) 가 재치된 하부 케이스부 (31A) 를 지지하는 스텝 106 과, 상부 케이스부 (31B) 의 플랜지부 (41B) 의 개구 (41Bc) 에 광빔 (LB1) 을 조사하고, 개구 (41Bc) 를 통과한 후, 반사 부재 (49) (광빔 반사부) 로 반사되어 개구 (41Bc) 를 통과한 광빔 (LB1) 을 검출하는 스텝 130 과, 광빔 (LB1) 의 검출 결과에 따라 상부 케이스부 (31B) 의 위치를 조정하는 스텝 132 를 갖는다.In addition, the conveying method of the mask M includes
또, 마스크 케이스 (30) 를 보관하는 보관 방법은, 마스크 케이스 (30) 의 플랜지부 (41A, 41B) 를 개재하여 마스크 케이스 (30) 의 상부 케이스부 (31B) 를 지지하는 스텝 108 과, 플랜지부 (41B) 를 향하여 광빔 (LB1) 을 조사하고, 플랜지부 (41B) 를 향하여 조사된 광빔 (LB1) 을 검출하는 스텝 130 을 포함하고 있다.In addition, the storage method for storing the
본 실시형태에 의하면, 플랜지부 (41B) 의 개구 (41Bc) 를 통과한 광빔 (LB1) 이 검출되도록 상부 케이스부 (31B) 의 지지부 (47A1, 47A2, 47B1, 47B2) 에 대한 위치 결정을 실시함으로써, 다음으로 하부 케이스부 (31A) 에 상부 케이스부 (31B) 를 재치할 때의 위치 맞춤을 효율적으로 실시할 수 있다.     이 때문에, 마스크 (M) 를 수납하는 마스크 케이스 (30) 를 마스크 라이브러리 (LB) 로 되돌릴 때의 시간을 단축할 수 있어, 마스크 (M) 의 반송을 효율적으로 (단시간에) 실시할 수 있다.According to the present embodiment, positioning of the support portions 47A1, 47A2, 47B1, and 47B2 of the
또한, 본 실시형태에 있어서, 마스크 케이스 (30) 의 상부 케이스부 (31B) 에 플랜지부 (41A, 41B) 를 형성하는 경우에는, 마스크 케이스 (30) 의 하부 케이스부 (31A) 에 위치 결정부 (36A ∼ 36C), 반사부 (37A), 및 창부 (32a1) 를 형성할 필요는 반드시 있는 것은 아니다.     그리고, 하부 케이스부 (31A) 에 위치 결정부 (36A ∼ 36C) 를 형성하지 않는 경우에는, 마스크 케이스 (30) 의 반송시에, 하부 케이스부 (31A) 를 에어 부상 기구, 캠 팔로워 기구, 또는 롤러 비교 기구 등으로 반송해도 된다.In addition, in this embodiment, when forming
또, 상기 서술한 바와 같이 본 실시형태의 마스크 (M) 가 수납되는 마스크 케이스 (30) 는, 마스크 (M) 가 재치되는 하부 케이스부 (31A) 와, 마스크 (M) 를 덮도록, 하부 케이스부 (31A) 에 재치되는 상부 케이스부 (31B) 를 구비하고, 하부 케이스부 (31A) 의 저면에, 외부로부터의 광을 반사하는 반사부 (37A) (제 1 반사부), 및 외부로부터의 광을 통과시키는 창부 (32a1) 가 형성되어 있다.In addition, as described above, the
또, 마스크 (M) 를 반송하는 반송 장치 (H1) 는, 마스크 (M) 가 수납된 마스크 케이스 (30) 를 지지하는 마스크 케이스 반송부 (61) (케이스 지지부) 와, 하부 케이스부 (31A) 의 반사부 (37A) 에 광빔 (LB2) 을 조사하고, 반사부 (37A) 로부터의 반사광을 검출하여 하부 케이스부 (31A) 의 유무 (상태) 를 검출하는 검출부 (63a) (제 1 검출부) 와, 하부 케이스부 (31A) 에 재치되어 있는 마스크 (M) 에 하부 케이스부 (31A) 의 창부 (32a1) 를 통해서 광빔 (LB3) 을 조사하고, 마스크 (M) 로부터의 반사광을 창부 (32a1) 를 통해서 검출하여 마스크 (M) 의 유무 또는 마스크 (M) 까지의 거리 (마스크 (M) 의 상태) 를 검출하는 검출부 (63b) (제 2 검출부) 와, 하부 케이스부 (31A) 상에 재치되어 있는 상부 케이스부 (31B) 에 창부 (32a1) 를 통해서 광빔 (LB4) 을 조사하고, 상부 케이스부 (31B) 에 형성된 반사부 (37B) 로부터의 반사광을 창부 (32a1) 를 통해서 검출하여 상부 케이스부 (31B) 의 유무 또는 상부 케이스부 (31B) 까지의 거리 (상부 케이스부 (31B) 상태) 를 검출하는 검출부 (63c) (제 3 검출부) 를 구비하고 있다.In addition, the conveying device H1 for conveying the mask M includes a mask case conveying unit 61 (case support part) for supporting the
또, 마스크 (M) 의 반송 방법은, 마스크 (M) 가 수납되고 마스크 케이스 (30) 를 마스크 케이스 반송부 (61) 로 지지하는 스텝 102 와, 하부 케이스부 (31A) 의 반사부 (37A) 에 광빔 (LB2) 을 조사하고, 반사부 (37A) 로부터의 반사광을 검출하여 하부 케이스부 (31A) 의 유무 (상태) 를 검출하고, 하부 케이스부 (31A) 에 재치된 마스크 (M) 에 하부 케이스부 (31A) 의 창부 (32a1) 를 통해서 광빔 (LB3) 을 조사하고, 마스크 (M) 로부터의 반사광을 창부 (32a1) 를 통해서 검출하여 마스크 (M) 의 유무 등의 상태를 검출하고, 하부 케이스부 (31A) 상에 재치된 상부 케이스부 (31B) 에 창부 (32a1) 를 통해서 광빔 (LB4) 을 조사하고, 상부 케이스부 (31B) 에 형성된 반사부 (37B) 로부터의 반사광을 창부 (32a1) 를 통해서 검출하여 상부 케이스부 (31B) 의 유무 등의 상태를 검출하는 스텝 120 을 갖는다.In addition, the conveyance method of the mask M includes
본 실시형태에 의하면, 마스크 (M) 가 수납되어 있지 않은 마스크 케이스 (30), 또는 필요로 하는 마스크 케이스와 상이한 종류의 마스크 케이스 등을 잘못하여 마스크 라이브러리 (LB) 에 수용하는 것을 방지할 수 있기 때문에, 마스크 (M) 의 반송 중에 있어서 마스크 케이스 (30) 를 반환하는 사태 등을 방지할 수 있고, 마스크 (M) 의 반송 불량을 저감하여 마스크 (M) 를 확실하게 반송할 수 있다.According to the present embodiment, it is possible to prevent the
또한, 마스크 케이스 (30) 의 하부 케이스부 (31A) 에 반사부 (37A) 및 창부 (32a1) 를 형성한 경우에는, 하부 케이스부 (31A) 의 저면에 위치 결정부 (36A ∼ 36C) 를 형성할 필요도 반드시 있는 것은 아니다.     이 경우, 반송 장치 (H1) (마스크 케이스 반송부 (61)) 와 마스크 케이스 (30) 의 연결은, 클램프 기구, 전자석 기구, 또는 진공 흡착 기구 등을 사용한 연결 기구에 의해 실시해도 된다.In the case where the
또, 상기 서술한 바와 같이 본 실시형태의 마스크 (M) 가 수납되는 마스크 케이스 (30) 는, 마스크 (M) 가 재치되는 하부 케이스부 (31A) 와, 마스크 (M) 를 덮도록, 하부 케이스부 (31A) 에 재치되는 상부 케이스부 (31B) 를 구비하고, 하부 케이스부 (31A) 의 반송 장치 (H1) 의 마스크 케이스 반송부 (61) (마스크 케이스의 반송부) 에 대향하는 저면에, 회전 대칭인 오목부 (36Aa) 가 형성된 위치 결정부 (36A), V 자형의 홈 형상의 오목부 (36Ba) 가 형성된 위치 결정부 (36B), 및 평탄면 (36Ca) 가 형성된 적어도 하나의 위치 결정부 (36C) 가 형성되어 있다.In addition, as described above, the
또, 마스크 (M) 를 반송하는 반송 장치 (H1) 는, 마스크 케이스 (30) 를 지지하는 마스크 케이스 반송부 (61) (케이스 지지부) 와, 하부 케이스부 (31A) 의 오목부 (36Aa) 에 걸어맞춤 가능하도록 마스크 케이스 반송부 (61) 에 형성된 볼 트랜스퍼 (62A) (제 1 볼록부) 와, 하부 케이스부 (31A) 의 오목부 (36Ba) 에 걸어맞춤 가능하도록 마스크 케이스 반송부 (61) 에 형성된 볼 트랜스퍼 (62B) (제 2 볼록부) 와, 하부 케이스부 (31A) 의 평탄면 (36Ca) 에 걸어맞춤 가능하도록 마스크 케이스 반송부 (61) 에 형성된 위치 결정부 (36C) (제 3 볼록부) 를 구비하고 있다.In addition, the conveying device H1 for conveying the mask M is connected to the mask case conveying section 61 (case support section) supporting the
또, 마스크 (M) 를 반송하는 반송 방법은, 마스크 케이스 (30) 의 하부 케이스부 (31A) 의 오목부 (36Aa, 36Ba) 및 평탄면 (36Ca) 을 각각 마스크 케이스 반송부 (61) 의 볼 트랜스퍼 (62A ∼ 62C) 로 지지하는 스텝 106 과, 오목부 (36Aa, 36Ba) 및 평탄면 (36Ca) 을 개재하여 지지한 상부 케이스부 (31B) 를 위치 (CA1) (마스크 (M) 의 마스크 로더계 (H2) 에 대한 수수 위치) 까지 이동하는 스텝 110 을 갖는다.Further, in the conveying method of conveying the mask M, the concave portions 36Aa and 36Ba of the
본 실시형태에 의하면, 마스크 케이스 (30) 의 하부 케이스부 (31A) 의 오목부 (36Aa, 36Ba) 에 의해, 반송 장치 (H1) 에 대한 하부 케이스부 (31A) (및 마스크 (M)) 의 위치 결정이 고정밀도로 실시되고 있기 때문에, 반송 장치 (H1) 로부터 마스크 로더계 (H2) 에 하부 케이스부 (31A) 내의 마스크 (M) 를 수수할 때에, 마스크 로더계 (H2) 에 의한 마스크 (M) 의 서치 등을 거의 실시할 필요가 없고, 반송 장치 (H1) 로부터 마스크 로더계 (H2) 에 대한 마스크 (M) 의 수수의 정확도를 향상시킬 수 있어, 마스크 (M) 의 반송 불량을 저감시킬 수 있다.     또한, 마스크 로더계 (H2) 에 대한 마스크 (M) 의 위치 결정도 고정밀도로 실시되고 있기 때문에, 마스크 로더계 (H2) 로부터 마스크 스테이지 (MST) 로 마스크 (M) 를 로드할 때의 마스크 스테이지 (MST) 에 대한 마스크 (M) 의 수수의 정확도도 향상시킬 수 있어, 마스크 (M) 의 반송의 반송 불량을 저감시킬 수 있다.According to this embodiment, by the concave parts 36Aa and 36Ba of the
또, 마스크 라이브러리 (LB) 에 형성되어 있는 광원부 (52a) 및 광전 센서 (52c) 를 갖는 검출 장치 (52) (검출부) 는, 마스크 케이스 (30) 의 상부 케이스부 (31B) 의 플랜지부 (41A, 41B) 의 개구 (41Ab, 41Bb) 가 지지부 (47A2, 47B2) 의 핀 (48) 에 걸어맞춰지는 것 및 걸어맞춰지지 않는 것 중 적어도 일방을 검출하는 검출부로 간주할 수도 있다.     즉, 검출 장치 (52) 에 의해, 광빔 (LB1) 이 상부 케이스부 (31B) 의 플랜지부 (41B) 의 개구 (41Bc) 를 통과하는 것이 검출된 경우에는, 개구 (41Ab, 41Bb) 가 핀 (48) 에 걸어맞춰지는 것으로 간주할 수 있고, 광빔 (LB1) 이 개구 (41Bc) 를 통과하지 않는 것이 검출된 경우에는, 개구 (41Ab, 41Bb) 가 핀 (48) 에 걸어맞춰지지 않는 것으로 간주할 수 있다.     개구 (41Ab, 41Bb) 가 핀 (48) 에 걸어맞춰지지 않는 것이 검출된 경우에는, 개구 (41Ab, 41Bb) 가 핀 (48) 에 걸어맞춰지도록 마스크 케이스 (30) (상부 케이스부 (31B)) 의 위치를 조정할 수 있다.     또한, 개구 (41Ab, 41Bb) 가 핀 (48) 에 걸어맞춰지지 않는 것이 검출된 경우에, 마스크 (M) 및/또는 마스크 케이스 (30) 의 반송을 중단하여, 마스크 케이스 (30) 를 예를 들어 일시 수용부 (66) 로 되돌리도록 해도 된다.In addition, the detection device 52 (detection unit) having the
또, 본 실시형태의 노광 장치 (EX) 는, 노광 광으로 마스크 (M) 를 조명하고, 노광 광으로 마스크 (M) 및 투영 광학계 (PL) 를 통해서 플레이트 (P) (기판) 를 노광하는 노광 장치로서, 마스크 (M) 를 유지하는 마스크 스테이지 (MST) 와, 반송 장치 (H1) 를 구비하고, 반송 장치 (H1) 에 의해 반송되는 마스크 케이스 (30) 로부터 꺼내어지는 마스크 (M) 가 마스크 스테이지 (MST) 에 재치된다.In addition, the exposure apparatus EX of the present embodiment illuminates the mask M with the exposure light, and exposes the plate P (substrate) with the exposure light through the mask M and the projection optical system PL. As the device, a mask stage MST holding the mask M and a conveying device H1 are provided, and the mask M taken out of the
또, 노광 장치 (EX) 를 사용하는 노광 방법은, 마스크 (M) 의 반송 방법을 포함하는 것이다.Moreover, the exposure method using exposure apparatus EX includes the conveyance method of the mask M.
본 실시형태에 의하면, 노광 장치 (EX) 의 노광 공정에 있어서의 마스크 (M) 의 반송 불량을 저감시킬 수 있다.According to this embodiment, the conveyance defect of the mask M in the exposure process of exposure apparatus EX can be reduced.
또한, 상기 서술한 실시형태에 있어서는 이하와 같은 변형이 가능하다.In addition, in the above-mentioned embodiment, the following deformation|transformation is possible.
먼저, 상기 서술한 실시형태에 있어서는, 마스크 케이스 (30) 의 측면에 1 쌍의 플랜지부 (41A, 41B) 가 형성되어 있지만, 도 14 의 변형예의 마스크 케이스 (30A) 로 나타내는 바와 같이, 마스크 케이스의 대향하는 측면에 복수 (일례로서, 2 개) 의 플랜지부 (41C1, 41C2 및 41D1, 41D2) 를 형성해도 된다.     또한, 도 14 에 있어서 도 3(A) 에 대응하는 부분에는 동일한 부호를 붙이고 그 상세한 설명을 생략한다.     또, 도 15(A) ∼ (E), 및 도 17(A) ∼ (E) 에 있어서, 도 12, 도 13 에 대응하는 부분에는 동일한 부호를 붙이고 그 상세한 설명을 생략한다.First, in the embodiment described above, a pair of
도 14 에 있어서, 마스크 케이스 (30A) 는, 마스크 (M) (도 4 참조) 가 재치되는 하부 케이스부 (제 1 케이스부) (31A) 와, 그 하부 케이스부 (31A) 에 재치된 마스크 (M) 를 덮도록 하부 케이스부 (31A) 상에 재치 (장착) 되는 상부 케이스부 (제 2 케이스부) (31BA) 를 구비하고 있다.     또, 상부 케이스부 (31BA) 의 커버 부재 (39) 의 +X 방향의 측면의 Y 방향으로 떨어진 2 개 지점에 외측으로 돌출하도록 플랜지부 (41C1, 41C2) (유지부) 가 형성되고, 커버 부재 (39) 의 ―X 방향의 측면의 거의 플랜지부 (41C1, 41C2) 에 대향하는 위치에 외측으로 돌출하도록 2 개의 플랜지부 (41D1, 41D2) (유지부) 가 형성되어 있다.     일례로서, 플랜지부 (41C1, 41C2) (플랜지부 (41D1, 41D2)) 의 Y 방향의 간격은 커버 부재 (39) 의 Y 방향 길이의 1/2 정도이다.In FIG. 14, a
플랜지부 (41C1, 41C2 및 41D1, 41D2) 는 단면 형상이 L 자형이고, 플랜지부 (41C1, 41C2 및 41D1, 41D2) 중 커버 부재 (39) 의 측벽부 (39c, 39d) (도 4 참조) 에 대향하는 부분이 각각 복수 지점에서 볼트 (도시하지 않음) 에 의해 측벽부 (39c, 39d) 에 고정되어 있다.     이하, 플랜지부 (41C1, 41C2 및 41D1, 41D2) 의 +X 방향 및 ―X 방향으로 돌출한 부분을 간단히 플랜지부 (41C1, 41C2 및 41D1, 41D2) 라고 한다.The flange portions 41C1, 41C2, and 41D1, 41D2 are L-shaped in cross-sectional shape, and among the flange portions 41C1, 41C2, 41D1, and 41D2,
 ―Y 방향에 있는 플랜지부 (41C1, 41D1) 에는, 각각 마스크 라이브러리 (LB) 의 지지부 (47A2, 47B2) 의 상면의 핀 (48) (도 9 참조) 이 삽입 통과 가능한 크기의 개구 (관통공) (41C1a, 41D1a) 가 형성되어 있다.     일례로서, 마스크 케이스 (30A) 의 보다 큰 위치 결정 오차에 대응할 수 있도록, 일방의 개구 (41D1a) 는 타방의 개구 (41C1a) 보다 크게 형성되어 있다.     또, +Y 방향에서 +X 방향의 플랜지부 (41C2) 에는, Y 방향을 따라 소정 간격으로 2 개의 서로 동일한 크기의 원형 개구 (관통공) (41C2a, 41C2b) 가 형성되어 있다.     구체적으로는, 일례로서, 개구 (41C2a, 41C2b) 는, Y 방향으로 서로 60 ㎜ 떨어진 위치가 개구 (관통) 하도록 형성되어 있다.     또, 일례로서, 개구 (41C2a) 의 중심과 개구 (41C1a) 의 중심의 Y 방향의 간격은 570 ㎜ 이다.     개구 (41C2a, 41C2b) 는, 도 9 의 검출 장치 (52) 로부터 조사되는 광빔 (LB1) 을 통과시키기 위해서 사용된다.     또한, 개구 (41C2a, 41C2b) 는, 서로 동일한 크기에 한정되지 않고 상이한 크기여도 되고, 원 형상에 한정되지 않고 다른 형상이어도 된다.     예를 들어, 개구 (41C2a, 41C2b) 는, 원 형상으로 닫힌 개구 (구멍) 형상이 아니라, 플랜지부 (41C2) 의 측면으로 이어진 절결 형상이어도 된다.     또, 개구 (41Ab, 41Bb) 는, 핀 (48) 이 삽입 통과되도록 관통한 개구한 형상에 한정되지 않고, 핀 (48) 과 서로 끼워맞춰지는 형상이면 되고, 예를 들어, 플랜지부 (41A, 41B) 의 상면측이 닫힌 (개구하고 있지 않는) 구멍, 즉 관통하고 있지 않는 (오목 형상의) 구멍으로 할 수도 있다.     이 밖의 구성은 도 4 의 마스크 케이스 (30) 와 동일하다. -In the flange portions 41C1 and 41D1 in the Y direction, openings (through holes) of a size that allow the pins 48 (see Fig. 9) on the upper surface of the support portions 47A2 and 47B2 of the mask library LB to be inserted, respectively. (41C1a, 41D1a) are formed. As an example, one opening 41D1a is formed larger than the other opening 41C1a so that it can respond to the larger positioning error of
이 변형예의 마스크 케이스 (30A) 를 상기 서술한 실시형태의 마스크 라이브러리 (LB) 에 수용하는 경우, 도 10 에 나타내는 바와 같이, 위치 (P1) (또는 P2 ∼ P5) 의 레일 (46A, 46B) 상의 목표 위치에 마스크 케이스 (30A) 를 재치한 상태에서, 플랜지부 (41C2) 의 개구 (41C2a) 내를 광빔 (LB1) 이 통과하도록, 광빔 (LB1) 의 광로가 설정되어 있다.     또한, 상기 서술한 반송 장치 (H1) 에 의해 마스크 케이스 (30A) 의 상부 케이스부 (31BA) 의 플랜지부 (41C1, 41C2, 41D1, 41D2) 를 예를 들어 위치 (P2) (또는 위치 (P3 ∼ P5) 등) 의 지지부 (47B2, 47B1, 47A2, 47A1 또는 47D2, 47D1, 47C2, 47C1) 상에 재치한 상태에서, 플랜지부 (41C2) 의 개구 (41C2b) 내를 광빔 (LB1) 이 통과하도록, 상부 케이스부 (31BA) 가 위치 결정된다.When the
이와 같이 위치 (P1 ∼ P5) 전부의 마스크 케이스 (30A) 및/또는 상부 케이스부 (31BA) 가 각각 수용부 (65) 의 소정 위치 (목표 위치) 에 위치 결정된 상태에서는, 광빔 (LB1) 은 플랜지부 (41C) 의 개구 (41C2b) 내를 통과하기 때문에, 검출 장치 (52) 로는 광빔 (LB1) 의 광로에 물체가 없는 것을 검출할 수 있다.     즉, 검출 장치 (52) 에 의해 광빔 (LB1) 을 검출함으로써, 마스크 케이스 (30A) 및/또는 상부 케이스부 (31BA) 가 수용부 (65) (목표 위치) 에 대하여 소정의 허용 범위 내에 위치 결정된 것을 검지할 수 있다.     바꿔 말하면, 수용부 (65) 에 대한 마스크 케이스 (30) 및/또는 상부 케이스부 (31BA) 의 수용 상태를 검지할 수 있다.Thus, in a state where the
한편, 위치 (P1 ∼ P5) 중 어느 것의 마스크 케이스 (30A) 또는 상부 케이스부 (31BA) 가 목표 위치로부터 허용 범위를 초과하여 어긋난 상태에서는, 광빔 (LB1) 은 플랜지부 (41C) 의 개구 (41C2b) 를 통과할 수 없게 되고, 검출 장치 (52) 로는 광빔 (LB1) 의 광로에 물체 (플랜지부 (41C2)) 가 있는 것을 검출할 수 있다.     즉, 검출 장치 (52) 에 의해 광빔 (LB1) 을 검출할 수 없게 됨으로써, 마스크 케이스 (30A) 및/또는 상부 케이스부 (31BA) 가 목표 위치에 대하여 허용 범위를 초과하여 위치 결정된 (즉, 위치 어긋나 있는) 것을 검지할 수 있다.     바꿔 말하면, 이 경우도 수용부 (65) 에 대한 마스크 케이스 (30) 및/또는 상부 케이스부 (31BA) 의 수용 상태를 검지할 수 있다.     이 때문에, 일례로서, 반송 장치 (H1) 에 의해 수용부 (65) 에 마스크 케이스 (30A) 를 반송할 때, 또는 마스크 케이스 (30A) 의 상부 케이스부 (31BA) 를 대응하는 지지부 (47A1 ∼ 47B2) 등에 재치할 때에는, 각각 검출 장치 (52) 로 광빔 (LB1) 을 검출할 수 있도록 마스크 케이스 (30A) 또는 상부 케이스부 (31BA) 의 위치를 조정함으로써, 마스크 케이스 (30A) 또는 상부 케이스부 (31BA) 를 각각 용이하게 목표 위치에 설치할 수 있다.On the other hand, in a state where the
구체적으로, 반송 장치 (H1) 의 반송 아암 (61) 을 사용하여 마스크 케이스 (30A) 를 마스크 라이브러리 (LB) 의 예를 들어 위치 (P2) 의 레일 (46A, 46B) 상에 반송하는 경우, 도 15(A) 에 나타내는 바와 같이, 반송 아암 (61) 에 재치된 마스크 케이스 (30A) 가 위치 (P2) 의 레일 (46A, 46B) (레일 (46A) 은 도시하지 않음) 의 상방으로 반송된다.     이 때에 도 12 의 검출 장치 (52) 로부터 사출되는 광빔 (LB1) 은, 마스크 케이스 (30A) 의 플랜지부 (41C2) 로 차광되어 있지 않기 때문에, 도 12 의 반사 부재 (49) 로 반사되는 광빔 (LB1) 을 검출 장치 (52) 로 수광하여 얻어지는 검출 신호 (S1) 는, 도 16(A) 의 시점 (t1) 으로 나타내는 바와 같이 2 치화하기 위한 소정의 임계값 (Sth) 을 초과하고 있다.     검출 신호 (S1) 로부터 제어 장치 (CONT) 는 플랜지부 (41C2) 가 광빔 (LB1) 까지 도달하고 있지 않은 것을 인식할 수 있다.Specifically, when conveying the
그리고, 반송 아암 (61) 을 +Y 방향으로 이동하여, 도 15(B) 에 나타내는 바와 같이, 광빔 (LB1) 이 플랜지부 (41C2) 로 차광되면, 시점 (t2) 으로 나타내는 바와 같이 검출 신호 (S1) 가 임계값 (Sth) 보다 작아지고, 제어 장치 (CONT) 는 플랜지부 (41C2) 가 광빔 (LB1) 까지 도달한 것을 인식할 수 있다.     또한, 반송 아암 (61) 의 X 방향, Y 방향, 및 Z 방향의 위치는 예를 들어 리니어 인코더 (도시하지 않음) 에 의해 계측되고 있다.     또, 도 16(A), (B) 의 가로축은 시간 (t)이고, 검출 신호 (S1) 는 소정의 샘플링 레이트로 불휘발성의 기억 장치 (예를 들어, 플래쉬 메모리) 에 기억되어 있다.     또한, 반송 아암 (61) 을 +Y 방향으로 이동하여, 도 15(C) 에 나타내는 바와 같이, 광빔 (LB1) 이 플랜지부 (41C2) 의 개구 (41C2b) 를 통과하게 되면, 시점 (t3) 으로 나타내는 바와 같이 검출 신호 (S1) 가 임계값 (Sth) 보다 커지고, 제어 장치 (CONT) 는 플랜지부 (41C2) 의 개구 (41C2b) 가 광빔 (LB1) 까지 도달한 것을 인식할 수 있다.Then, when the
그리고, 반송 아암 (61) 을 +Y 방향으로 이동하여, 도 15(D) 에 나타내는 바와 같이, 광빔 (LB1) 이 플랜지부 (41C2) 로 차광되면, 시점 (t4) 으로 나타내는 바와 같이 검출 신호 (S1) 가 임계값 (Sth) 보다 작아지고, 제어 장치 (CONT) 는 플랜지부 (41C2) 의 개구 (41C2b, 41C2a) 간의 영역이 광빔 (LB1) 까지 도달한 것을 인식할 수 있다.     또한, 반송 아암 (61) 을 +Y 방향으로 이동하여, 도 15(E) 에 나타내는 바와 같이, 광빔 (LB1) 이 플랜지부 (41C2) 의 개구 (41C2a) 를 통과하게 되면, 시점 (t5) 으로 나타내는 바와 같이 검출 신호 (S1) 가 임계값 (Sth) 보다 커지고, 제어 장치 (CONT) 는 플랜지부 (41C2) 의 개구 (41C2a) 가 광빔 (LB1) 까지 도달한 것을 인식할 수 있다.     이 시점 (t5) 에서, 제어 장치 (CONT) 는 반송 아암 (61) 의 Y 방향으로의 이동을 정지시키고, 반송 아암 (61) 을 ―Z 방향으로 강하시킨다.     이 동작에 의해, 마스크 케이스 (30A) (하부 케이스부 (31A)) 는 위치 (P2) 의 레일 (46A, 46B) 상에 재치된다.Then, when the
이 동작 도중에, 예를 들어 시점 (t3, t4) 사이의 시점 (tx) 에서 정전 등에 의해 반송 장치 (H1) 가 정지된 경우, 그 정전으로부터 복구한 후에, 제어 장치 (CONT) 는, 기억되어 있는 검출 신호 (S1) 의 이력으로부터, 플랜지부 (41C2) 의 개구 (41C2b, 41C2a) 사이의 영역이 광빔 (LB1) 을 차광하는 위치에 있는 것을 인식할 수 있다.     이 때문에, 마스크 케이스 (30A) 를 마스크 라이브러리 (LB) 에 반입하는 동작을 원활하게 재개할 수 있다.     또한, 정전으로부터 복구한 후에, 반송 아암 (61) 을 +Y 방향 또는 ―Y 방향으로 이동시켜, 그 때에 관측되는 검출 신호의 검출 결과에 기초하여, 마스크 케이스 (30A) 가 라이브러리 (LB) 내의 어디에 있는지를 인식해도 된다.During this operation, if conveyance device H1 is stopped due to a power failure or the like at a time point tx between time points t3 and t4, for example, after recovering from the power failure, control device CONT returns the stored From the history of the detection signal S1, it can be recognized that the area between the openings 41C2b and 41C2a of the flange portion 41C2 is at a position to block the light beam LB1. For this reason, the operation which carries in the
그 후, 위치 (P2) 의 레일 (46A, 46B) 상에 마스크 케이스 (30A) 내의 마스크 (M) 를 노광에 사용하는 경우에는, 도 17(A) 에 나타내는 바와 같이, 반송 장치 (H1) 의 반송 아암 (61) 을 마스크 케이스 (30A) 의 하부 케이스부 (31A) 의 하방으로 이동한다.     광빔 (LB1) 은, 마스크 케이스 (30A) 의 플랜지부 (41C2) 의 개구 (41C2a) 를 통과하고 있기 때문에, 광빔 (LB1) 의 검출 신호 (S1) 는, 도 16(B) 의 시점 (t11) 으로 나타내는 바와 같이 임계값 (Sth) 을 초과하고 있다.Then, when using the mask M in
그리고, 도 17(B) 에 나타내는 바와 같이, 반송 아암 (61) 을 통해서 마스크 케이스 (30A) 를 +Z 방향으로 상승시켜도, 검출 신호 (S1) 는, 시점 (t12) 에서 나타내는 바와 같이 임계값 (Sth) 을 초과하고 있다.     또한, 반송 아암 (61) 을 통해서, 마스크 케이스 (30A) 의 플랜지부 (41C1, 41C2) 가 지지부 (47B1, 47B2) (핀 (48)) 보다 높아지도록, 마스크 케이스 (30A) 를 상승시킨 후, 도 17(C) 에 나타내는 바와 같이, 플랜지부 (41C2) 의 개구 (41C2b, 41C2a) 사이의 영역이 광빔 (LB1) 을 차광하도록 마스크 케이스 (30A) 를 ―Y 방향으로 이동한다.     이 때 검출 신호 (S1) 는, 시점 (t13) 으로 나타내는 바와 같이 임계값 (Sth) 보다 작아지기 때문에, 제어 장치 (CONT) 는 플랜지부 (41C2) 가 광빔 (LB1) 을 차광하는 위치에 있는 것을 인식할 수 있다.And as shown in FIG. 17(B), even if it raises
그리고, 반송 아암 (61) 을 ―Y 방향으로 이동하여, 도 17(D) 에 나타내는 바와 같이, 광빔 (LB1) 이 플랜지부 (41C2) 의 개구 (41C2b) 에 들어가면, 시점 (t14) 으로 나타내는 바와 같이 검출 신호 (S1) 가 임계값 (Sth) 보다 커지고, 제어 장치 (CONT) 는 플랜지부 (41C2) 의 개구 (41C2b) 가 광빔 (LB1) 까지 도달한 것을 인식할 수 있다.     이 상태에서, 반송 아암 (61) 의 ―Y 방향으로의 이동을 정지시켜, 반송 아암 (61) 을 ―Z 방향으로 강하시킴으로써, 도 17(E) 에 나타내는 바와 같이, 상부 케이스부 (31BA) 의 플랜지부 (41C1, 41C2) 가 위치 (P3) 의 레일 (46B) 의 지지부 (47B1, 47B2) 에 재치되고, 타방의 플랜지부 (41D1, 41D2) 가 위치 (P3) 의 레일 (46A) (도 8 참조) 의 지지부 (47A1, 47A2) 에 재치된다.     이 시점 (t15) 에 있어서도, 검출 신호 (S1) 는 임계값 (Sth) 을 초과하였다.     그 후, 일례로서, 반송 아암 (61) 에 의해 마스크 (M) 를 유지하는 하부 케이스부 (31A) 는 노광 장치에 반송된다.Then, as shown in FIG. 17(D) by moving the
이 동작 도중에, 예를 들어 정전 등에 의해 반송 장치 (H1) 가 정지된 경우, 그 정전으로부터 복구한 후에, 제어 장치 (CONT) 는, 기억되어 있는 검출 신호 (S1) 의 이력으로부터, 플랜지부 (41C2) 의 개구 (41C2b, 41C2a) 와 광빔 (LB1) 의 위치 관계를 인식할 수 있다.     이 때문에, 하부 케이스부 (31A) 를 노광 장치에 반송하는 동작을 원활하게 재개할 수 있다.In the middle of this operation, when conveyance device H1 is stopped due to, for example, a power failure, after recovering from the power failure, control device CONT, from the history of the detection signal S1 stored therein, reports the flange portion 41C2 The positional relationship between the apertures 41C2b and 41C2a of ) and the light beam LB1 can be recognized. For this reason, the operation of transporting the
또, 도 18(A) 의 다른 변형예의 마스크 케이스 (30B) 로 나타내는 바와 같이, 마스크 케이스의 플랜지부에 형성하는 2 개의 개구의 형상 및 크기를 바꾸도록 해도 된다.     또한, 도 18(A) 에 있어서 도 14 에 대응하는 부분에는 동일한 부호를 붙이고 그 상세한 설명을 생략한다.Moreover, you may make it change the shape and size of the two openings formed in the flange part of a mask case, as shown by the
도 18(A) 에 있어서, 마스크 케이스 (30B) 의 상부 케이스부 (31BA) 의 커버 부재 (39) 의 +X 방향의 측면의 Y 방향으로 떨어진 2 개 지점에 플랜지부 (41C1, 41C3) 가 형성되고, 커버 부재 (39) 의 ―X 방향의 측면의 거의 플랜지부 (41C1, 41C3) 에 대향하는 위치에 2 개의 플랜지부 (41D1, 41D2) 가 형성되어 있다.     ―Y 방향에 있는 플랜지부 (41C1, 41D1) 에는, 각각 마스크 라이브러리 (LB) 의 지지부 (47A2, 47B2) 의 상면의 핀 (48) (도 9 참조) 이 삽입 통과 가능한 크기의 개구 (관통공) (41C1a, 41D1a) 가 형성되어 있다.     또, +Y 방향에서 +X 방향의 플랜지부 (41C3) 에는, Y 방향을 따라 소정 간격으로 거의 정방형상의 제 1 개구 (41C3a) 및 개구 (41C3a) 보다 작은 원형의 제 2 개구 (41C3b) 가 형성되어 있다.     개구 (41C3a) 는 도 14 의 개구 (41C2a) 보다 크게 설정되고, 개구 (41C3b) 는 도 14 의 개구 (41C2b) 와 거의 동일한 크기이다.18(A), flange portions 41C1 and 41C3 are formed at two points apart in the Y direction of the +X direction side surface of the
또한, 일례로서, 도 18(B) 에 나타내는 바와 같이, 플랜지부 (41C2) 의 2 개의 모서리부는 원주상으로 형성되어 있기 때문에, 개구 (41C3a) 의 4 개의 모서리부도 동일하게 원주상으로 형성되어 있다.     일례로서, 개구 (41C3a) 의 중심과 개구 (41C3b) 의 중심의 Y 방향의 간격은 60 ㎜ 이다.     또, 일례로서, 개구 (41C3a) 의 중심과 개구 (41C1a) 의 중심의 Y 방향의 간격은 570 ㎜ 이다.     개구 (41C3a, 41C3b) 는, 도 9 의 검출 장치 (52) 로부터 조사되는 광빔 (LB1) 을 통과시키기 위해서 사용된다.     이외의 구성은 도 14 의 마스크 케이스 (30A) 와 동일하다.As an example, as shown in Fig. 18(B), since the two corners of the flange portion 41C2 are formed in a columnar shape, the four corners of the opening 41C3a are similarly formed in a columnar shape. . As an example, the distance between the center of the opening 41C3a and the center of the opening 41C3b in the Y direction is 60 mm. As an example, the Y-direction distance between the center of the opening 41C3a and the center of the opening 41C1a is 570 mm. The openings 41C3a and 41C3b are used to pass the light beam LB1 irradiated from the
이 변형예의 마스크 케이스 (30B) 에 있어서, 플랜지부 (41C3) 의 개구 (41C3a) 는, 상부 케이스부 (31BA) 와 하부 케이스부 (31A) 가 겹친 상태에서, 마스크 라이브러리 (LB) 내에서의 마스크 케이스 (30B) 의 위치를 검출하기 위해서 사용된다.     즉, 개구 (41C3a) 를 광빔 (LB1) 이 통과하고 있는 상태에서, 마스크 케이스 (30B) 는 목표치에 있는 것을 알 수 있다.     이 때에, 개구 (41C3a) 가 개구 (41C3b) 보다 크기 때문에, 예를 들어 진동 등에 의해 하부 케이스부 (31A) 및 상부 케이스부 (31BA) 의 겹침 상태가 변화하여, 개구 (41C3a) 의 위치가 어느 정도 어긋나도, 개구 (41C3a) 를 광빔 (LB1) 이 통과하기 때문에, 마스크 케이스 (30B) 가 목표 위치에 있는 것을 검출할 수 있다.In the
이에 대하여, 상부 케이스부 (31BA) 의 플랜지부 (41C1, 41C3) 를 마스크 라이브러리 (LB) 의 지지부 (47B1, 47B2) 에 재치할 때에는, 작은 개구 (41C3b) 를 광빔 (LB1) 이 통과하도록 상부 케이스부 (31BA) 를 위치 결정함으로써, 플랜지부 (41C1) 의 개구 (41C1a) 를 지지부 (47B2) 의 핀 (48) 에 걸어맞춤시킬 수 있다.     또한, 플랜지부 (41C1) 의 개구 (41C1a) 가 핀 (48) 에 걸어맞춰져 있는 상태에서는, 상부 케이스부 (31BA) 의 위치 어긋남은 거의 발생하지 않기 때문에, 광빔 (LB1) 은 그 후에도 계속하여 개구 (41C3b) 를 통과하고 있다.On the other hand, when mounting the flange portions 41C1 and 41C3 of the upper case portion 31BA on the support portions 47B1 and 47B2 of the mask library LB, the upper case so that the light beam LB1 passes through the small opening 41C3b. By positioning the portion 31BA, the opening 41C1a of the flange portion 41C1 can be engaged with the
이와 같이, 위치 결정 정밀도가 그다지 높지 않은 용도에서는, 큰 개구 (41C3a) 를 사용하고, 높은 위치 결정 정밀도가 요구되는 용도에서는, 작은 개구 (41C3b) 를 사용함으로써, 마스크 케이스 (30B) 의 반송을 원활하게 실시할 수 있다.Thus, conveyance of the
또한, 플랜지부 (41C3) 의 개구 (41C3a) 는, 개구 (41C3b) 보다 큰 원형이어도 된다. 또한, 플랜지부 (41C3) 대신에, 도 18(C) 에 나타내는 바와 같이, 거의 정방형의 개구 (41C4a) 및 이것보다 작은 원형 개구 (41C4b) 가 형성된 플랜지부 (41C4) 를 사용해도 된다.Further, the opening 41C3a of the flange portion 41C3 may have a larger circular shape than the opening 41C3b. In addition, instead of the flange portion 41C3, as shown in Fig. 18(C), a flange portion 41C4 having a substantially square opening 41C4a and a smaller circular opening 41C4b may be used.
이 변형예의 마스크 케이스 (30B) 를 사용하여, 반송 아암 (61) 에 의해 마스크 케이스 (30B) 를 마스크 라이브러리 (LB) 에 반송하는 경우, 검출 장치 (52) 로 수광하여 얻어지는 검출 신호는, 광빔 (LB1) 이 개구 (41C3a) 를 통과하는 경우와, 개구 (41C3b) 를 통과하는 경우에서 상이하다.     예를 들어, 개구 (41C3b) 보다 개구 (41C3a) 가 큰 마스크 케이스 (30B) 를 사용하는 경우, 개구 (41C3a) 및 개구 (41C3b) 를 걸쳐 신호가 검출되도록 반송 아암 (61) 을 등속으로 이동시키면, 개구 (41C3a) 를 걸쳐 검출되는 검출 신호 쪽이, 개구 (41C3b) 를 걸쳐 검출되는 검출 신호보다 긴 시간 관측된다.     바꿔 말하면, 개구 (41C3a) 에서 관측되는 검출 신호 쪽이 개구 (41C3b) 에서 관측되는 검출 신호보다 반치폭이 길다.     이에 따라, 개구 (41C3a) 의 검출 신호와 개구 (41C3b) 의 검출 신호를 구별할 수 있기 때문에, 반송 아암 (61) 의 위치를 특정할 수 있다.When the
다음으로, 상기 서술한 실시형태에 있어서는, 반송 장치 (H1) 와는 별도로 반송차 (V) 가 사용되고 있지만, 반송차 (V) 를 본 발명에 의한 반송 장치의 일례로 간주하는 것도 가능하다.     이 경우, 반송차 (V) 에 검출 장치 (63) 를 형성하도록 해도 된다.Next, in the above-described embodiment, the transport vehicle V is used separately from the transport device H1, but the transport vehicle V can also be regarded as an example of the transport device according to the present invention. In this case, the
또, 상기 서술한 실시형태에 있어서는, 마스크 라이브러리 (LB) 에 수용부 (65) 외에 일시 수용부 (66) 가 형성되어 있지만, 일시 수용부 (66) 를 형성하지 않고, 복수의 수용부 (65) 중 임의의 하나의 수용부 (65) 에 반송차 (V) 로부터 마스크 케이스 (30) 를 반입하고, 임의의 하나의 수용부 (65) 로부터 반송차 (V) 에 의해 마스크 케이스 (30) 를 반출해도 된다.Further, in the above-described embodiment, the
또, 상기 서술한 실시형태에 있어서는, 반송차 (V) 및 반송 장치 (H1) 와 마스크 케이스 (30) 의 연결은 마스크 케이스 (30) (하부 케이스부 (31A)) 의 저면부에 있어서 실시하고 있지만, 하부 케이스부 (31A) 의 측면부 또는 상부 케이스부 (31B) 의 상면부 등에서 그 연결을 실시하도록 해도 된다.In addition, in the above-described embodiment, the connection between the transport vehicle V and the transport device H1 and the
또, 상기 서술한 실시형태에 있어서는, 반송차 (V) 및 반송 장치 (H1) 의 마스크 케이스 반송부 (53, 61) 에는 거의 동일 구조의 볼 트랜스퍼 (54A ∼ 54D 및 62A ∼ 62D) 가 사용되고 있지만, 마스크 케이스 반송부 (53, 61) 의 단부 등, 마스크 케이스 (30) 의 수수시에 큰 충격이 가해질 우려가 있는 부분에는, 내충격성이 높은 볼 트랜스퍼 등의 케이스 지지 부재를 사용할 수도 있다.Further, in the above-described embodiment, the ball transfers 54A to 54D and 62A to 62D having substantially the same structure are used for the mask
또, 상기 서술한 실시형태에 있어서는, 반송 장치 (H1) 는, 자동으로 작동하는 것으로서 설명했지만, 작업원 등이 부분적으로 매뉴얼 방식으로 작동시켜도 된다.Further, in the above-described embodiment, the conveying device H1 has been described as being operated automatically, but a worker or the like may operate it partially manually.
또, 상기 서술한 실시형태에 있어서는, 반송차 (V) 의 마스크 케이스 반송부 (53) 및 반송 장치 (H1) 의 마스크 케이스 반송부 (61) 의 적어도 일방에, 마스크 케이스 (30) 의 θz 방향의 회전각을 조정하는 기구를 형성해도 된다.In addition, in the above-described embodiment, at least one of the mask
또, 상기 서술한 실시형태의 노광 장치 (EX) 로는, 마스크와 플레이트 (기판) 를 동기 이동하여 스텝·앤드·스캔 방식으로 마스크의 패턴을 플레이트에 노광하는 주사형 노광 장치가 사용되고 있다. 노광 장치 (EX) 로서, 그 외에, 스텝·앤드·리피트 방식의 투영 노광 장치 (스테퍼), 또는 투영 광학계를 사용하지 않고, 마스크와 기판을 근접시켜 노광을 실시하는 프록시미티 노광 장치 등을 사용하는 경우에도 본 발명을 적용할 수 있다.In addition, as the exposure apparatus EX of the above-described embodiment, a scanning type exposure apparatus in which a mask and a plate (substrate) are synchronously moved to expose a pattern of the mask to the plate in a step-and-scan method is used. As the exposure apparatus EX, in addition, a projection exposure apparatus (stepper) of a step-and-repeat method, or a proximity exposure apparatus that exposes a mask and a substrate in close proximity without using a projection optical system, or the like is used. In any case, the present invention can be applied.
또, 노광 장치 (EX) 의 종류로는, 액정 표시 디바이스 제조용의 노광 장치에 한정되지 않고, 반도체 웨이퍼에 반도체 디바이스용의 패턴을 노광하는 반도체 디바이스 제조용의 노광 장치나, 박막 자기 헤드, 촬상 소자 (CCD) 혹은 레티클 등을 제조하기 위한 노광 장치 등을 사용하는 경우에도 본 발명을 적용할 수 있다.In addition, the type of exposure apparatus EX is not limited to an exposure apparatus for manufacturing a liquid crystal display device, and an exposure apparatus for manufacturing a semiconductor device that exposes a pattern for a semiconductor device to a semiconductor wafer, a thin film magnetic head, an imaging element ( The present invention can also be applied to the case of using an exposure apparatus or the like for manufacturing a CCD) or a reticle.
또, 상기의 각 실시형태의 노광 장치 (EX) 또는 노광 방법을 이용하여, 기판 상에 소정의 패턴 (TFT 패턴 등) 을 형성함으로써, 전자 디바이스 (마이크로 디바이스) 로서의 액정 디스플레이용의 패널 (액정 표시 패널) 을 얻을 수도 있다. 이하, 도 19 의 플로우 차트를 참조하여, 이 제조 방법의 일례에 대해 설명한다.In addition, by forming a predetermined pattern (TFT pattern or the like) on a substrate using the exposure apparatus (EX) or exposure method of each of the above embodiments, a panel for a liquid crystal display (liquid crystal display) as an electronic device (micro device) panel) can be obtained. An example of this manufacturing method will be described below with reference to the flowchart of FIG. 19 .
도 19 의 스텝 S401 (패턴 형성 공정) 에서는, 먼저, 노광 대상의 기판 상에 포토레지스트를 도포하여 감광 기판 (플레이트 (P)) 을 준비하는 도포 공정, 상기의 노광 장치를 사용하여 패널용의 마스크 (예를 들어, 마스크 (M) 를 포함한다) 의 패턴을 그 감광 기판 상의 복수의 패턴 형성 영역에 노광하는 노광 공정, 및 그 감광 기판을 현상하는 현상 공정이 실행된다. 이 도포 공정, 노광 공정, 및 현상 공정을 포함하는 리소그래피 공정에 의해, 그 기판 상에 소정의 레지스트 패턴이 형성된다. 이 리소그래피 공정에 이어서, 그 레지스트 패턴을 마스크로 한 에칭 공정, 및 레지스트 박리 공정 등을 거쳐, 그 기판 상에 소정 패턴이 형성된다. 그 리소그래피 공정 등은, 그 기판 상의 레이어 수에 따라 복수 회 실행된다.In step S401 (pattern formation step) of FIG. 19 , first, a photoresist is applied on a substrate to be exposed to prepare a photosensitive substrate (plate P), and a mask for a panel is used by using the exposure apparatus described above. An exposure step of exposing a pattern of (eg, including a mask M) to a plurality of pattern forming regions on the photosensitive substrate, and a developing step of developing the photosensitive substrate are executed. A predetermined resist pattern is formed on the substrate by the lithography process including the application process, the exposure process, and the development process. Following this lithography step, a predetermined pattern is formed on the substrate through an etching step using the resist pattern as a mask, a resist peeling step, and the like. The lithography process or the like is performed a plurality of times according to the number of layers on the substrate.
그 다음의 스텝 S402 (컬러 필터 형성 공정) 에서는, 적 R, 녹 G, 청 B 에 대응한 3 개의 미세한 필터 세트를 매트릭스상으로 다수 배열하거나, 또는 적 R, 녹 G, 청 B 의 3 개의 스트라이프상의 복수의 필터의 세트를 수평 주사선 방향으로 배열함으로써 컬러 필터를 형성한다. 그 다음의 스텝 S403 (셀 조립 공정) 에서는, 예를 들어 스텝 S401 에서 얻어진 소정 패턴을 갖는 기판과 스텝 S402 에서 얻어진 컬러 필터의 사이에 액정을 주입하여, 액정 셀을 제조한다.In the next step S402 (color filter formation step), a plurality of three fine filter sets corresponding to red R, green G, and blue B are arranged in a matrix, or three stripes of red R, green G, and blue B are formed. A color filter is formed by arranging a plurality of sets of filters on the image in a horizontal scanning line direction. In subsequent step S403 (cell assembling step), a liquid crystal cell is manufactured by injecting liquid crystal between the substrate having a predetermined pattern obtained in step S401 and the color filter obtained in step S402, for example.
그 후의 스텝 S404 (모듈 조립 공정) 에서는, 그와 같이 하여 조립된 액정 셀에 표시 동작을 실시시키기 위한 전기 회로, 및 백라이트 등의 부품을 부착하여, 액정 표시 패널로서 완성시킨다.In subsequent step S404 (module assembling process), parts such as an electric circuit for performing a display operation and a backlight are attached to the thus assembled liquid crystal cell to complete the liquid crystal display panel.
상기 서술한 전자 디바이스의 제조 방법에 따르면, 상기 실시형태의 노광 장치 또는 노광 방법을 이용하여 마스크의 패턴을 기판에 전사하는 공정 (스텝 S401 의 일부) 과, 이 공정에 의해 그 패턴이 전사된 기판을 그 패턴에 기초하여 가공 (현상, 에칭 등) 하는 공정 (스텝 S401 외의 부분) 을 포함하고 있다.According to the electronic device manufacturing method described above, the step of transferring the pattern of the mask to the substrate using the exposure apparatus or the exposure method of the above embodiment (part of step S401), and the substrate to which the pattern is transferred by this step processing (development, etching, etc.) based on the pattern (parts other than step S401).
이 제조 방법에 따르면, 노광 공정의 스루풋을 높일 수 있기 때문에, 액정 표시 패널 등의 전자 디바이스를 효율적으로 제조할 수 있다According to this manufacturing method, since the throughput of the exposure process can be increased, electronic devices such as liquid crystal display panels can be efficiently manufactured.
또한, 상기 서술한 전자 디바이스의 제조 방법은, 유기 EL (Electro-Luminescence) 디스플레이, 또는 플라즈마 디스플레이 등의 다른 디스플레이용의 패널 등을 제조하는 경우에도 적용할 수 있다.In addition, the manufacturing method of the electronic device mentioned above is applicable also when manufacturing the panel for another display, such as an organic EL (Electro-Luminescence) display or a plasma display, etc. are applicable.
또한, 본 발명은 상기 서술한 실시형태에 한정되지 않고, 본 발명의 요지를 일탈하지 않는 범위에서 여러 가지 구성을 취할 수 있는 것은 물론이다.In addition, this invention is not limited to the above-mentioned embodiment, It goes without saying that various structures can be taken in the range which does not deviate from the summary of this invention.
EX : 노광 장치
M : 마스크
P : 플레이트
MST : 마스크 스테이지
CH : 노광 챔버
V : 반송차
H1 : 반송 장치
H2 : 마스크 로더계
LB : 마스크 라이브러리
30 : 마스크 케이스
31A : 하부 케이스부 (제 1 케이스부)
31B : 상부 케이스부 (제 2 케이스부)
32 : 베이스 부재
32a1 : 창부
36A ∼ 36C : 위치 결정부
37A, 37B : 반사부
41A, 41B : 플랜지 (날밑) 부
43 : 프레임 기구
46A, 46B : 레일
47A1, 47A2, 47B1, 47B2 : 지지부
49 : 반사 부재
52 : 검출 장치
65 : 수용부
66 : 일시 수용부EX: exposure device
 M: mask
 P: plate
 MST: mask stage
 CH: exposure chamber
 V: Transport vehicle
 H1: conveying device
 H2: mask loader system
 LB: mask library
 30 : mask case
 31A: lower case part (first case part)
 31B: upper case part (second case part)
 32: base member
 32a1: prostitute
 36A to 36C: positioning unit
 37A, 37B: reflector
 41A, 41B: Flange (Bottom Blade)
 43: frame mechanism
 46A, 46B: rail
 47A1, 47A2, 47B1, 47B2: support
 49: reflective member
 52: detection device
 65: receiving part
 66: temporary accommodation unit
| Application Number | Priority Date | Filing Date | Title | 
|---|---|---|---|
| KR1020237003028AKR102686526B1 (en) | 2015-01-26 | 2016-01-22 | Mask case, storage device and storage method, transfer device and transfer method, and exposure device | 
| Application Number | Priority Date | Filing Date | Title | 
|---|---|---|---|
| JPJP-P-2015-012595 | 2015-01-26 | ||
| JP2015012595 | 2015-01-26 | ||
| KR1020177023573AKR102242065B1 (en) | 2015-01-26 | 2016-01-22 | Mask case, storage device and storage method, transfer device and transfer method, and exposure device | 
| PCT/JP2016/051805WO2016121635A1 (en) | 2015-01-26 | 2016-01-22 | Mask case, storage device and storage method, transfer device and transfer method, and exposure device | 
| Application Number | Title | Priority Date | Filing Date | 
|---|---|---|---|
| KR1020177023573ADivisionKR102242065B1 (en) | 2015-01-26 | 2016-01-22 | Mask case, storage device and storage method, transfer device and transfer method, and exposure device | 
| Application Number | Title | Priority Date | Filing Date | 
|---|---|---|---|
| KR1020237003028ADivisionKR102686526B1 (en) | 2015-01-26 | 2016-01-22 | Mask case, storage device and storage method, transfer device and transfer method, and exposure device | 
| Publication Number | Publication Date | 
|---|---|
| KR20210043017A KR20210043017A (en) | 2021-04-20 | 
| KR102494177B1true KR102494177B1 (en) | 2023-01-31 | 
| Application Number | Title | Priority Date | Filing Date | 
|---|---|---|---|
| KR1020217010770AActiveKR102494177B1 (en) | 2015-01-26 | 2016-01-22 | Mask case, storage device and storage method, transfer device and transfer method, and exposure device | 
| KR1020237003028AActiveKR102686526B1 (en) | 2015-01-26 | 2016-01-22 | Mask case, storage device and storage method, transfer device and transfer method, and exposure device | 
| KR1020177023573AActiveKR102242065B1 (en) | 2015-01-26 | 2016-01-22 | Mask case, storage device and storage method, transfer device and transfer method, and exposure device | 
| Application Number | Title | Priority Date | Filing Date | 
|---|---|---|---|
| KR1020237003028AActiveKR102686526B1 (en) | 2015-01-26 | 2016-01-22 | Mask case, storage device and storage method, transfer device and transfer method, and exposure device | 
| KR1020177023573AActiveKR102242065B1 (en) | 2015-01-26 | 2016-01-22 | Mask case, storage device and storage method, transfer device and transfer method, and exposure device | 
| Country | Link | 
|---|---|
| JP (1) | JP6418421B2 (en) | 
| KR (3) | KR102494177B1 (en) | 
| CN (2) | CN107407867B (en) | 
| TW (3) | TWI714162B (en) | 
| WO (1) | WO2016121635A1 (en) | 
| Publication number | Priority date | Publication date | Assignee | Title | 
|---|---|---|---|---|
| KR102494177B1 (en)* | 2015-01-26 | 2023-01-31 | 가부시키가이샤 니콘 | Mask case, storage device and storage method, transfer device and transfer method, and exposure device | 
| CN109051686B (en)* | 2018-09-29 | 2020-08-04 | 苏州精濑光电有限公司 | Workpiece operation method | 
| KR102644838B1 (en)* | 2018-10-23 | 2024-03-11 | 삼성디스플레이 주식회사 | Electrostatic chuck and electrostatic adsorption apparaus having the same | 
| US11508592B2 (en)* | 2018-10-29 | 2022-11-22 | Gudeng Precision Industrial Co., Ltd | Reticle retaining system | 
| JP7195127B2 (en)* | 2018-12-06 | 2022-12-23 | 株式会社ディスコ | Positioning method of transport unit and transport tray | 
| TWI881110B (en)* | 2020-04-17 | 2025-04-21 | 美商恩特葛瑞斯股份有限公司 | Reticle pod having coated sensor zones and method of producing reticle pod | 
| CN114077163B (en)* | 2020-08-14 | 2023-03-31 | 长鑫存储技术有限公司 | Mask conveying device and exposure system | 
| KR102460392B1 (en)* | 2022-05-31 | 2022-10-31 | 주식회사 비엘에스 | Continuous automated manufacturing system of photomask storage and protective case | 
| US20230393489A1 (en)* | 2022-06-01 | 2023-12-07 | Taiwan Semiconductor Manufacturing Company, Ltd. | Detection method of euv pellicle status | 
| Publication number | Priority date | Publication date | Assignee | Title | 
|---|---|---|---|---|
| JP2001022053A (en)* | 1999-07-09 | 2001-01-26 | Nikon Corp | Substrate storage case and exposure equipment | 
| JP2008113046A (en)* | 2003-10-27 | 2008-05-15 | Asml Netherlands Bv | Reticle holder and reticle assembly | 
| JP2013242583A (en)* | 2007-11-15 | 2013-12-05 | Nikon Corp | Mask case, conveying device, conveying method, exposure device, exposure method, and device manufacturing method | 
| Publication number | Priority date | Publication date | Assignee | Title | 
|---|---|---|---|---|
| JPH05335400A (en)* | 1992-05-28 | 1993-12-17 | Canon Inc | Substrate housing device | 
| JP3249309B2 (en)* | 1994-09-13 | 2002-01-21 | 東京エレクトロン株式会社 | Substrate transfer apparatus, substrate transfer method, and coating and developing processing apparatus | 
| JPH10163094A (en)* | 1996-12-03 | 1998-06-19 | Nikon Corp | Exposure apparatus, exposure method, and transport apparatus | 
| KR100253371B1 (en)* | 1997-12-06 | 2000-06-01 | 김영환 | Shelves for reticle cassette storage | 
| JP2001244313A (en)* | 2000-02-28 | 2001-09-07 | Nikon Corp | Transport method and transport apparatus, exposure method and exposure apparatus | 
| JP2002156744A (en)* | 2000-11-17 | 2002-05-31 | Asahi Kasei Electronics Co Ltd | Container for housing pellicle | 
| JP3490068B2 (en)* | 2001-03-14 | 2004-01-26 | 株式会社半導体先端テクノロジーズ | Photomask storage device, projection exposure apparatus and projection exposure method | 
| TWI319123B (en)* | 2002-02-22 | 2010-01-01 | Asml Holding Nv | System and method for using a two part cover for protecting a reticle | 
| TW587197B (en)* | 2002-03-15 | 2004-05-11 | Nikon Corp | Mask safekeeping apparatus, exposure apparatus and manufacturing method of device | 
| EP1534616A4 (en)* | 2002-06-14 | 2010-04-28 | Fortrend Engineering Corp | Universal reticle transfer system | 
| US7399043B2 (en)* | 2002-12-02 | 2008-07-15 | Silverbrook Research Pty Ltd | Compensation for uneven printhead module lengths in a multi-module printhead | 
| TWI231949B (en)* | 2003-04-15 | 2005-05-01 | Mosel Vitelic Inc | A detector added mask box stocker | 
| JP2005026286A (en) | 2003-06-30 | 2005-01-27 | Nikon Corp | Mask storage device, transfer device, and exposure device | 
| TWI288305B (en)* | 2003-10-27 | 2007-10-11 | Asml Netherlands Bv | Assembly of a reticle holder and a reticle | 
| JP2006330421A (en)* | 2005-05-27 | 2006-12-07 | Toppan Printing Co Ltd | Photo mask case | 
| US20070076292A1 (en)* | 2005-09-27 | 2007-04-05 | Taiwan Semiconductor Manufacturing Company, Ltd. | Fully electric field shielding reticle pod | 
| JP4855885B2 (en)* | 2006-09-29 | 2012-01-18 | Hoya株式会社 | Mask case, mask cassette, pattern transfer method, and display device manufacturing method | 
| WO2011059057A1 (en)* | 2009-11-12 | 2011-05-19 | 株式会社ニコン | Filter box, light exposure apparatus, and device production method | 
| CN102741993B (en)* | 2009-12-16 | 2016-06-22 | 株式会社尼康 | Supporting member for substrate, base board delivery device, substrate transfer method adopted therein, exposure device and manufacturing method | 
| JP2012185400A (en)* | 2011-03-07 | 2012-09-27 | Canon Inc | Storage container, device manufacturing apparatus, and device manufacturing method | 
| JP2012220617A (en)* | 2011-04-06 | 2012-11-12 | Hitachi High-Technologies Corp | Proximity exposure device, and mask conveyance method of proximity exposure device | 
| TWI430929B (en)* | 2011-04-19 | 2014-03-21 | Gudeng Prec Ind Co Ltd | Transmission box | 
| US9851643B2 (en)* | 2012-03-27 | 2017-12-26 | Kla-Tencor Corporation | Apparatus and methods for reticle handling in an EUV reticle inspection tool | 
| TWI615334B (en)* | 2013-03-26 | 2018-02-21 | Gudeng Precision Industrial Co Ltd | Photomask case with gas guiding device | 
| KR102494177B1 (en)* | 2015-01-26 | 2023-01-31 | 가부시키가이샤 니콘 | Mask case, storage device and storage method, transfer device and transfer method, and exposure device | 
| Publication number | Priority date | Publication date | Assignee | Title | 
|---|---|---|---|---|
| JP2001022053A (en)* | 1999-07-09 | 2001-01-26 | Nikon Corp | Substrate storage case and exposure equipment | 
| JP2008113046A (en)* | 2003-10-27 | 2008-05-15 | Asml Netherlands Bv | Reticle holder and reticle assembly | 
| JP2013242583A (en)* | 2007-11-15 | 2013-12-05 | Nikon Corp | Mask case, conveying device, conveying method, exposure device, exposure method, and device manufacturing method | 
| Publication number | Publication date | 
|---|---|
| CN107407867B (en) | 2024-07-30 | 
| TW202115489A (en) | 2021-04-16 | 
| CN112162461B (en) | 2024-07-09 | 
| TW201629618A (en) | 2016-08-16 | 
| TWI714162B (en) | 2020-12-21 | 
| TW201940962A (en) | 2019-10-16 | 
| KR102242065B1 (en) | 2021-04-19 | 
| JPWO2016121635A1 (en) | 2017-11-16 | 
| CN107407867A (en) | 2017-11-28 | 
| KR20210043017A (en) | 2021-04-20 | 
| KR20230019229A (en) | 2023-02-07 | 
| TWI801774B (en) | 2023-05-11 | 
| CN112162461A (en) | 2021-01-01 | 
| KR102686526B1 (en) | 2024-07-19 | 
| TWI668510B (en) | 2019-08-11 | 
| WO2016121635A1 (en) | 2016-08-04 | 
| KR20170106463A (en) | 2017-09-20 | 
| JP6418421B2 (en) | 2018-11-07 | 
| Publication | Publication Date | Title | 
|---|---|---|
| KR102494177B1 (en) | Mask case, storage device and storage method, transfer device and transfer method, and exposure device | |
| KR101699983B1 (en) | Mask case, transfer apparatus, exposure apparatus, mask transfer method and device manufacturing method | |
| KR101883319B1 (en) | Transfer apparatus, transfer method, exposure apparatus, and device manufacturing method | |
| KR101436636B1 (en) | Reticle protecting member, reticle carrying device, exposure device, and carrying method of reticle | |
| TWI412902B (en) | Exposure drawing device | |
| KR101384440B1 (en) | Article loading/unloading method and article loading/unloading device, exposure method and exposure apparatus, and method of manufacturing device | |
| JP4764201B2 (en) | Substrate exposure apparatus and substrate exposure method | |
| JP4324606B2 (en) | Alignment apparatus and exposure apparatus | |
| CN101238416A (en) | Exposure device and exposed object | |
| TW202043845A (en) | Direct drawing type exposure apparatus which has a simple structure that can be reduced in cost and execute an exposure process with high productivity | |
| JP4047182B2 (en) | Substrate transfer device | |
| JP5499398B2 (en) | Exposure apparatus and exposure method | |
| KR20240154629A (en) | Return device, exposure device, return method, exposure method, alignment mark | |
| KR20220007018A (en) | Inspection apparatus and substrate transfer method | |
| KR20070074989A (en) | Semiconductor manufacturing equipment | |
| JP2006039416A (en) | Mask transfer apparatus and exposure apparatus | |
| JP2013059795A (en) | Pattern forming device and pattern forming method | |
| JP2013044798A (en) | Proximity exposure device | |
| JP2001267392A (en) | Substrate transfer method, substrate transfer apparatus, and exposure apparatus | 
| Date | Code | Title | Description | 
|---|---|---|---|
| A107 | Divisional application of patent | ||
| PA0104 | Divisional application for international application | Comment text:Divisional Application for International Patent Patent event code:PA01041R01D Patent event date:20210412 Application number text:1020177023573 Filing date:20170823 | |
| PA0201 | Request for examination | ||
| PG1501 | Laying open of application | ||
| E902 | Notification of reason for refusal | ||
| PE0902 | Notice of grounds for rejection | Comment text:Notification of reason for refusal Patent event date:20210526 Patent event code:PE09021S01D | |
| E902 | Notification of reason for refusal | ||
| PE0902 | Notice of grounds for rejection | Comment text:Notification of reason for refusal Patent event date:20220329 Patent event code:PE09021S01D | |
| E701 | Decision to grant or registration of patent right | ||
| PE0701 | Decision of registration | Patent event code:PE07011S01D Comment text:Decision to Grant Registration Patent event date:20221028 | |
| GRNT | Written decision to grant | ||
| PR0701 | Registration of establishment | Comment text:Registration of Establishment Patent event date:20230127 Patent event code:PR07011E01D | |
| PR1002 | Payment of registration fee | Payment date:20230127 End annual number:3 Start annual number:1 | |
| PG1601 | Publication of registration |