








본 발명은, 소정의 식별 코드를 바탕으로 특정 제품에 대응되는 정품 정보 그룹을 순차적으로 이용하여 특정 제품의 모방품 여부에 대한 판단근거정보를 제공하는 방법 및 이를 사용한 서버에 대한 것이다.The present invention relates to a method for providing information based on determination as to whether or not a specific product is an imitation product by sequentially using genuine information groups corresponding to a specific product based on a predetermined identification code, and a server using the same.
시장에 선 출시되어 판매중인 제품을 모방하여 부당한 이득을 취하는 사례는 예전부터 빈번하게 일어나는 문제였으며, 이를 해결하기 위하여 정품임을 확인하는 일렬번호 등의 표식을 부착하는 방법이 사용되었으나, 이 역시 모방의 대상이 됨에 따라 그 실효성이 높지 못한 한계가 존재하였다.Cases of imitating products on sale in the market to obtain unfair benefits have been a frequent problem from the past. As it became a target, there was a limit that its effectiveness was not high.
또한, 최근 통신기술의 발전과 함께, 사용자들이 스마트폰 등의 사용자 단말을 사용하여 손쉽게 최신의 정보를 획득할 수 있게 되면서, 모방품 여부를 확인하기 위한 정보 역시 실시간으로 획득할 수 있게 되었으나, 그러한 정보 는 모방품 제조자들에게도 공유되게 되므로 이를 회피하여 정품 여부를 판단하는 시스템을 구축하는 것은 여전히 많은 비용과 노력을 필요로 한다.In addition, with the recent development of communication technology, as users can easily obtain the latest information using a user terminal such as a smartphone, information for checking whether or not a counterfeit product can be obtained in real time, but such information is also shared with counterfeit manufacturers, so it still requires a lot of cost and effort to avoid this and build a system that determines whether the product is genuine or not.
한 언론사의 기사("新남방지역 K브랜드 침해 심각... K캐릭터 짝퉁 845건 적발", 서울신문, https://go.seoul.co.kr/news/newsView.php?id=20200518500125&wlog_tag3=naver#csidx72018678e2aee8eb7844db19ec883cb) 를 보면, 우리나라의 유명 캐릭터 상품을 교묘하게 모방한 모방품이 외국 온라인 쇼핑몰에서 판매되고 있는데, 여기에는 정품의 QR코드와 같은 정보까지 복제되어 있어 모방품인지의 여부 판단이 쉽지 않다는 사례가 소개되어 있다.An article from a media outlet ("Serious infringement of K-brands in the new southern region... 845 K-character fakes caught", Seoul Shinmun, https://go.seoul.co.kr/news/newsView.php?id=20200518500125&wlog_tag3=naver #csidx72018678e2aee8eb7844db19ec883cb), counterfeit products that skillfully imitate famous Korean character products are being sold in foreign online shopping malls, and even information such as QR codes of genuine products are copied, so it is not easy to determine whether or not they are imitation products. has been
따라서, 사용자에게 특정 제품의 모방품 여부를 확인할 수 있는 정확한 정품 정보를 제공하면서도, 적은 비용으로도 높은 모방품 여부 확인 효과를 얻을 수 있는 본 발명의 방법은 그 필요성 및 유용성이 존재한다.Therefore, there is a need and usefulness for the method of the present invention, which can obtain a high effect of confirming whether a specific product is an imitation product at a low cost while providing accurate authenticity information for confirming whether a specific product is an imitation product to the user.
따라서, 본 발명은, 상술한 문제점을 해결하는 것을 그 목적으로 한다.Accordingly, the present invention has as its object to solve the above problems.
또한, 본 발명은, 정품 정보를 순차적으로 업데이트하여 제공함으로써 모방품의 제작 가능성을 지속적으로 억제하는 것을 다른 목적으로 한다.Another object of the present invention is to continuously suppress the possibility of manufacturing counterfeit products by sequentially updating and providing genuine information.
또한, 본 발명은, 정품 정보와 함께 그와 관련된 지식재산권정보를 함께 제공함으로써, 판매자는 지식재산권의 권리 표시를 용이하게 하고, 구매자는 구매 제품의 정품 여부에 대한 판단근거정보 확인과 함께 관련된 지식재산권에 대한 정보를 함께 확인할 수 있도록 하는 것을 다른 목적으로 한다.In addition, the present invention provides intellectual property information related to genuine information together with genuine information, so that the seller can easily display the rights of intellectual property rights, and the buyer can check the information on the basis of judgment on whether the purchased product is genuine or not, along with the related knowledge. Another purpose is to enable information on property rights to be confirmed together.
또한, 본 발명은, 특정 제품에 대한 이미지 정보를 정품 이미지 정보와 오버랩(overlap)하여 비교할 수 있는 방법을 제공함으로써, 사용자로 하여금 사용자로 하여금 더욱 편리하고 정확하게 특정 제품의 정품 여부를 판단할 수 있도록 하는 것을 다른 목적으로 한다.In addition, the present invention provides a method for comparing image information on a specific product with genuine image information by overlapping it, so that the user can more conveniently and accurately determine whether a specific product is genuine. to do for a different purpose.
상기한 바와 같은 본 발명의 목적을 달성하고, 후술하는 본 발명의 특징적인 효과를 실현하기 위한, 본 발명의 특징적인 구성은 하기와 같다.In order to achieve the object of the present invention as described above and realize the characteristic effects of the present invention described later, the characteristic configuration of the present invention is as follows.
본 발명의 일 태양에 따르면, 특정 제품이 모방품인지의 여부를 판단할 수 있도록 지원하기 위하여, 소정의 식별 코드 - 상기 소정의 식별 코드는, 순차정품정보제공서버로의 접속 경로에 대한 정보를 포함함 - 를 바탕으로 상기 특정 제품에 대응되는 제1 내지 제n 정품 정보 그룹 중 적어도 일부를 순차적으로 이용하여 모방품 여부에 대한 판단근거정보를 제공하는 방법에 있어서, 상기 제1 내지 제n 정품 정보 그룹 중 적어도 일부가 그룹별로 순차적으로 이용될 수 있도록 하기 위하여, 제1 내지 제n 정품 정보 제공 스테이지 각각에 대응되도록 상기 제1 내지 제n 정품 정보 그룹 각각이 소정의 데이터베이스에서 관리되고 있는 상태에서, (a) 제1 사용자 단말에 의하여 상기 식별 코드가 인식되고, 상기 접속 경로를 통하여 상기 특정 제품의 상기 모방품 여부에 대한 판단근거정보의 요청인 제1 사용자 요청이 전송된 정보가 확인되면, 상기 순차정품정보제공서버가, 상기 제1 사용자 요청이 전송된 시점이 제k 정품 정보 제공 스테이지 - 상기 k는 1 이상 n-1 이하의 정수 중 어느 하나임 - 에 포함되는 것을 확인하고, 상기 제k 정품 정보 제공 스테이지에 대응되는 제k 정품 정보 그룹을 참조하여 상기 모방품 여부에 대한 판단근거정보로서의 제k 판단근거정보를 획득하거나 생성하여, 이를 상기 제1 사용자 단말로 전송하는 단계; 및 (b) 상기 제k 정품 정보 제공 스테이지가 제k+1 정품 정보 제공 스테이지로 상승하기 위한 기설정된 트리거링 이벤트가 만족되면, 상기 순차정품정보제공서버가, 상기 제k 정품 정보 제공 스테이지를 제k+1 정품 정보 제공 스테이지로 상승시키고, 제2 사용자 단말에 의하여 상기 식별 코드가 인식되어, 상기 접속 경로를 통하여 상기 특정 제품의 상기 모방품 여부에 대한 판단근거정보의 요청인 제2 사용자 요청이 전송된 정보가 확인되면, 상기 순차정품정보제공서버가, 상기 제2 사용자 요청이 전송된 시점이 상기 제k+1 정품 정보 제공 스테이지에 포함되는 것을 확인하고, 상기 제k+1 정품 정보 제공 스테이지에 대응되는 제k+1 정품 정보 그룹을 참조하여 상기 모방품 여부에 대한 판단근거정보로서의 제k+1 판단근거정보를 획득하거나 생성하여, 상기 제2 사용자 단말로 전송하는 단계;를 포함하는 것을 특징으로 하는 방법이 제공된다.According to one aspect of the present invention, in order to support determining whether a specific product is a counterfeit product, a predetermined identification code - the predetermined identification code includes information on an access path to a sequential genuine information providing server. In the method of providing information on the basis of determination as to whether or not a counterfeit product is obtained by sequentially using at least some of the first to nth genuine information groups corresponding to the specific product based on -, the first to nth genuine information groups In a state where each of the first to nth genuine information groups are managed in a predetermined database to correspond to each of the first to nth genuine information providing stages, in order to sequentially use at least some of them by group, ( a) When the identification code is recognized by the first user terminal and the transmitted information of the first user request, which is a request for information on the basis of judgment on whether or not the specific product is the counterfeit product through the access path, is confirmed, the sequential genuine product The information providing server confirms that the time point at which the first user request is transmitted is included in the kth authenticity information providing stage, where k is an integer from 1 to n−1, and provides the kth genuine information obtaining or generating k-th judgment basis information as judgment basis information on whether or not the counterfeit product is obtained by referring to the k-th genuine information group corresponding to the stage, and transmitting the result to the first user terminal; and (b) when a predetermined triggering event for raising the kth genuine information providing stage to the k+1th genuine information providing stage is satisfied, the sequential genuine information providing server moves the kth genuine information providing stage to the k-th genuine information providing stage. Elevated to the +1 genuine information providing stage, the identification code is recognized by the second user terminal, and the second user request, which is a request for information on the basis of judgment on whether the specific product is the counterfeit product, is transmitted through the connection path When the information is confirmed, the sequential genuine information providing server confirms that the time point at which the second user request is transmitted is included in the k+1 th genuine information providing stage, and responds to the k+1 th genuine information providing stage. Obtaining or generating the k + 1 th basis information as judgment basis information on whether or not the counterfeit product is obtained by referring to the k + 1 th genuine information group, and transmitting the result to the second user terminal. A method is provided.
일례로서, 상기 데이터베이스에는, 상기 특정 제품에 대응되는 적어도 하나의 IP(Intellectual Property) 정보가 상기 제1 내지 제n 정품 정보 그룹 각각에 대응되도록 추가로 저장되어 있는 것을 특징으로 하며, 상기 (a) 단계에서, 상기 순차정품정보제공서버가, 상기 데이터베이스를 참조하여, 상기 제k 판단근거정보와 함께 상기 IP 정보를 상기 제1 사용자 단말에 추가로 전송함으로써, 상기 제1 사용자 단말로 하여금 상기 제k 판단근거정보와 함께 상기 IP 정보를 디스플레이하도록 하고, 상기 (b) 단계에서, 상기 순차정품정보제공서버가, 상기 데이터베이스를 참조하여, 상기 제k+1 판단근거정보가 전송될 때 상기 IP 정보를 상기 제2 사용자 단말에 추가로 전송함으로써, 상기 제2 사용자 단말로 하여금 상기 제k+1 판단근거정보와 함께 상기 IP 정보를 디스플레이하도록 하는 것을 특징으로 하는 방법이 제공된다.As an example, the database may additionally store at least one IP (Intellectual Property) information corresponding to the specific product to correspond to each of the first to nth genuine information groups, wherein (a) In step, the sequential genuine information providing server refers to the database and additionally transmits the IP information together with the k-th determination basis information to the first user terminal, so that the first user terminal causes the k-th The IP information is displayed together with the decision basis information, and in the step (b), the sequential genuine information providing server refers to the database and displays the IP information when the k+1 th decision basis information is transmitted. By additionally transmitting the IP information to the second user terminal, the second user terminal displays the IP information together with the k+1 th decision basis information.
일례로서, 상기 특정 제품에 대응되는 정품에 대한 전체 정품 정보 각각은, 그 각각의 내용에 따라 외관 이미지 정보, 도면 정보, 패키징 정보, 제조자 정보, 판매자 정보, 라이선스 정보 및 제품 특징 정보를 포함하는 정보 속성 중 적어도 하나에 해당되는 것을 특징으로 하고, 상기 정보 속성 각각은, 그 각각에 해당되는 공개순서가 사전에 설정되어, 상기 공개순서를 바탕으로 상기 정보 속성 각각이 상기 제1 내지 제n 정품 정보 제공 스테이지 각각 중 적어도 하나에 대응되는 것을 특징으로 하는 방법이 제공된다.As an example, each of the entire genuine information about the genuine product corresponding to the specific product is information including appearance image information, drawing information, packaging information, manufacturer information, seller information, license information, and product characteristic information according to their respective contents. Characterized in that it corresponds to at least one of the attributes, and for each of the information attributes, a publication order corresponding to each of the information attributes is set in advance, and based on the publication order, each of the information attributes is the first to nth genuine information Corresponding to at least one of each of the providing stages is provided.
일례로서, 상기 특정 제품에 대한 모방품신고정보 - 상기 모방품신고정보는, 상기 특정 제품이 모방품으로 판단될 수 있는 적어도 하나의 증거 정보를 포함함 - 가 제3 사용자 단말로부터 획득되면, 상기 순차정품정보제공서버가, 이를 상기 트리거링 이벤트가 발생한 것으로 판단하여, 상기 제k 정품 정보 제공 스테이지를 제k+1 정품 정보 제공 스테이지로 상승시키는 것을 특징으로 하는 방법이 제공된다.As an example, if counterfeit product report information for the specific product - the counterfeit product report information includes at least one piece of evidence information by which the specific product can be determined as a counterfeit product - is obtained from a third user terminal, the sequential genuine product information The provision server determines that the triggering event has occurred, and raises the k th genuine information providing stage to the k+1 th genuine information providing stage.
일례로서, 상기 제k+1 정품 정보 제공 스테이지가 제n 정품 정보 제공 스테이지인 것으로 판단된 상태에서, 상기 모방품신고정보가 획득되면, 상기 순차정품정보제공서버는, (i) 상기 특정 제품에 대응되는 IP 권리자 단말로 상기 모방품신고정보를 제공하는 프로세스, 및 (ii) 상기 IP 권리자 단말로 하여금, 상기 모방품신고정보에 대응되는 추가 정품 정보를 입력하도록 하는 프로세스를 수행하여, 상기 IP 권리자 단말로부터 적어도 하나의 상기 추가 정품 정보가 획득되면, 이를 제n+1 정품 정보 그룹으로서 상기 데이터베이스에 추가하고, 상기 제n+1 정품 정보 그룹을 참조하여 상기 제k+1 판단근거정보를 생성할 수 있도록 지원하는 것을 특징으로 하는 방법이 제공된다.As an example, in a state in which it is determined that the k+1 th genuine information providing stage is the n th genuine information providing stage, when the counterfeit product report information is obtained, the sequential genuine information providing server (i) corresponds to the specific product A process of providing the counterfeit product report information to the IP right holder terminal, and (ii) a process of causing the IP right holder terminal to input additional genuine information corresponding to the counterfeit product report information, so that the IP right holder terminal receives at least When one of the additional genuine product information is obtained, it is added to the database as an n+1 genuine product information group, and the k+1 th product information group is supported to generate the k+1 th product information group. A method characterized by doing is provided.
일례로서, (c) 상기 순차정품정보제공서버는, (1) (i) 상기 모방품신고정보에 대한 제1 신뢰도평가정보를 생성하거나, (ii) 상기 IP 권리자 단말로 하여금 상기 모방품신고정보에 대한 제2 신뢰도평가정보를 생성하도록 하는 프로세스, 및 (2) 상기 모방품신고정보에 대한 처리결과정보를 획득하도록 하는 프로세스를 수행하여, 상기 제1 신뢰도평가정보, 상기 제2 신뢰도평가정보 및 상기 처리결과정보 중 적어도 하나를 상기 제1 사용자 단말, 상기 제2 사용자 단말, 상기 제3 사용자 단말 및 상기 IP 권리자 단말 중 적어도 일부로 전송하는 단계;를 추가로 포함하는 것을 특징으로 하는 방법이 제공된다.As an example, (c) the sequential genuine information providing server, (1) (i) generates first reliability evaluation information for the counterfeit product report information, or (ii) enables the IP right holder terminal to obtain information for the counterfeit product report information. The first reliability evaluation information, the second reliability evaluation information, and the processing result are performed by performing a process of generating second reliability evaluation information and (2) a process of acquiring processing result information for the counterfeit product report information. Transmitting at least one of the information to at least some of the first user terminal, the second user terminal, the third user terminal, and the IP owner terminal; a method characterized in that it further comprises a provided.
일례로서, 상기 (a) 단계에서, 상기 제k 판단근거정보에 상기 특정 제품에 대응되는 특정 정품 이미지 정보가 포함되어 상기 제1 사용자 단말에 제공되는 경우, 상기 순차정품정보제공서버가, 상기 제1 사용자 단말로 하여금, 상기 제1 사용자 단말에 탑재된 카메라 모듈을 사용한 상기 특정 제품의 제1 프리뷰 이미지가 디스플레이되면 상기 제1 프리뷰 이미지에 상기 특정 정품 이미지 정보가 오버랩(overlap)되어 표시될 수 있도록 함으로써, 상기 특정 정품 이미지 정보와 상기 제1 프리뷰 이미지 각각을 비교할 수 있도록 지원하는 것을 특징으로 하고, 상기 (b) 단계에서, 상기 제k+1 정품 판단 근거정보에 상기 특정 정품 이미지 정보가 포함되어 상기 제2 사용자 단말에 제공되는 경우, 상기 순차정품정보제공서버가, 상기 제2 사용자 단말로 하여금, 상기 제2 사용자 단말에 탑재된 카메라 모듈을 사용한 상기 특정 제품의 제2 프리뷰 이미지가 디스플레이되면 상기 제2 프리뷰 이미지에 상기 특정 정품 이미지 정보가 오버랩(overlap)되어 표시될 수 있도록 함으로써, 상기 특정 정품 이미지 정보와 상기 제2 프리뷰 이미지 각각을 동시에 비교할 수 있도록 지원하는 것을 특징으로 하는 방법이 제공된다.As an example, in the step (a), when specific genuine image information corresponding to the specific product is included in the kth judgment basis information and provided to the first user terminal, the sequential genuine information providing server, 1 To enable a user terminal to display the specific authentic image information overlapping with the first preview image when a first preview image of the specific product using the camera module mounted in the first user terminal is displayed By doing so, it is characterized in that it supports to compare the specific genuine image information with each of the first preview images, and in the step (b), the specific genuine image information is included in the k+1 th genuine product determination basis information When provided to the second user terminal, the sequential genuine information providing server causes the second user terminal to display a second preview image of the specific product using the camera module mounted in the second user terminal. A method characterized in that the specific genuine image information is overlapped and displayed on the second preview image, thereby supporting simultaneous comparison between the specific genuine image information and each of the second preview images.
일례로서, 상기 특정 정품 이미지 정보는, 그에 포함된 정품의 일부분에 해당되는 적어도 하나의 소정의 부분영역 각각에 대한 스케일(scale) 정보를 포함하고 있는 것을 특징으로 하고, 상기 (a) 단계에서, 상기 순차정품정보제공서버는, 상기 제1 프리뷰 이미지에서 상기 특정 제품에 대응되어 특정 부분영역이 선택되면, 상기 제1 사용자 단말로 하여금 상기 특정 정품 이미지 정보에서 상기 특정 부분영역에 대응되는 특정 스케일에 대한 정보를 참조하여 상기 제1 프리뷰 이미지의 크기를 조절하도록 하고, 상기 (b) 단계에서, 상기 순차정품정보제공서버는, 상기 제2 프리뷰 이미지에서 상기 특정 제품에 대응되어 상기 특정 부분영역이 선택되면, 상기 제2 사용자 단말로 하여금 상기 특정 정품 이미지 정보에서 상기 특정 부분영역에 대응되는 상기 특정 스케일 정보를 참조하여 상기 제2 프리뷰 이미지의 크기를 조절하도록 하는 것을 특징으로 하는 방법이 제공된다.As an example, the specific genuine image information is characterized in that it includes scale information for each of at least one predetermined partial region corresponding to a part of the genuine article included therein, and in the step (a), The sequential genuine information providing server, when a specific partial region corresponding to the specific product is selected in the first preview image, causes the first user terminal to scale a specific scale corresponding to the specific partial region in the specific genuine image information. and to adjust the size of the first preview image by referring to the information about, and in the step (b), the sequential genuine information providing server selects the specific partial area corresponding to the specific product in the second preview image. , the second user terminal controls the size of the second preview image by referring to the specific scale information corresponding to the specific partial region in the specific genuine image information.
또한, 본 발명의 다른 태양에 따르면, 특정 제품이 모방품인지의 여부를 판단할 수 있도록 지원하기 위하여, 소정의 식별 코드 - 상기 소정의 식별 코드는, 순차정품정보제공서버로의 접속 경로에 대한 정보를 포함함 - 를 바탕으로 상기 특정 제품에 대응되는 제1 내지 제n 정품 정보 그룹 중 적어도 일부를 순차적으로 이용하여 모방품 여부에 대한 판단근거정보를 제공하는 순차정품정보제공서버로서, 인스트럭션들을 저장하는 적어도 하나의 메모리; 및 상기 인스트럭션들을 실행하기 위해 구성되는 적어도 하나의 프로세서; 를 포함하고, 상기 제1 내지 제n 정품 정보 그룹 중 적어도 일부가 그룹별로 순차적으로 이용될 수 있도록 하기 위하여, 제1 내지 제n 정품 정보 제공 스테이지 각각에 대응되도록 상기 제1 내지 제n 정품 정보 그룹 각각이 소정의 데이터베이스에서 관리되고 있는 상태에서, (I) 제1 사용자 단말에 의하여 상기 식별 코드가 인식되고, 상기 접속 경로를 통하여 상기 특정 제품의 상기 모방품 여부에 대한 판단근거정보의 요청인 제1 사용자 요청이 전송된 정보가 확인되면, 상기 프로세서가, 상기 제1 사용자 요청이 전송된 시점이 제k 정품 정보 제공 스테이지 - 상기 k는 1 이상 n-1 이하의 정수 중 어느 하나임 - 에 포함되는 것을 확인하고, 상기 제k 정품 정보 제공 스테이지에 대응되는 제k 정품 정보 그룹을 참조하여 상기 모방품 여부에 대한 판단근거정보로서의 제k 판단근거정보를 획득하거나 생성하여, 이를 상기 제1 사용자 단말로 전송하는 프로세스; 및 (II) 상기 제k 정품 정보 제공 스테이지가 제k+1 정품 정보 제공 스테이지로 상승하기 위한 기설정된 트리거링 이벤트가 만족되면, 상기 프로세서가, 상기 제k 정품 정보 제공 스테이지를 제k+1 정품 정보 제공 스테이지로 상승시키고, 제2 사용자 단말에 의하여 상기 식별 코드가 인식되어, 상기 접속 경로를 통하여 상기 특정 제품의 상기 모방품 여부에 대한 판단근거정보의 요청인 제2 사용자 요청이 전송된 정보가 확인되면, 상기 프로세서가, 상기 제2 사용자 요청이 전송된 시점이 상기 제k+1 정품 정보 제공 스테이지에 포함되는 것을 확인하고, 상기 제k+1 정품 정보 제공 스테이지에 대응되는 제k+1 정품 정보 그룹을 참조하여 상기 모방품 여부에 대한 판단근거정보로서의 제k+1 판단근거정보를 획득하거나 생성하여, 상기 제2 사용자 단말로 전송하는 프로세스; 를 수행하는 것을 특징으로 하는 순차정품정보제공서버가 제공된다.In addition, according to another aspect of the present invention, in order to support determining whether a specific product is a counterfeit product, a predetermined identification code - the predetermined identification code is information on an access path to a sequential genuine information providing server. A sequential genuine information providing server that provides information on the basis of judgment on whether or not a counterfeit product by sequentially using at least some of the first to nth genuine information groups corresponding to the specific product based on, storing instructions at least one memory; and at least one processor configured to execute the instructions; wherein the first to n-th genuine information groups correspond to the first to n-th genuine information providing stages, so that at least some of the first to n-th genuine information groups are sequentially used for each group; In a state where each is managed in a predetermined database, (I) the identification code is recognized by the first user terminal, and through the access path, a first request for information based on determination of whether the specific product is the counterfeit product When the information transmitted in the user request is confirmed, the processor determines that the point in time at which the first user request is transmitted is included in the k-th genuine information providing stage, where k is an integer from 1 to n-1. and obtaining or generating k-th judgment basis information as judgment basis information on whether or not the counterfeit product is obtained by referring to the k-th genuine information group corresponding to the k-th genuine information providing stage, and transmitting it to the first user terminal. process; and (II) when a preset triggering event for raising the kth genuine information providing stage to the k+1th genuine information providing stage is satisfied, the processor sets the kth genuine information providing stage to the k+1th genuine information providing stage. When the step is raised to the providing stage, the identification code is recognized by the second user terminal, and the second user request, which is a request for information based on judgment as to whether or not the specific product is an imitation product, is transmitted through the connection path. , The processor confirms that the time point at which the second user request is transmitted is included in the k+1 th genuine information providing stage, and the k+1 th genuine information group corresponding to the k+1 th genuine information providing stage. a process of obtaining or generating the k+1 th decision basis information as the judgment basis information on whether or not the counterfeit product is made with reference to, and transmitting the result to the second user terminal; There is provided a sequential genuine information providing server, characterized in that for performing.
일례로서, 상기 데이터베이스에는, 상기 특정 제품에 대응되는 적어도 하나의 IP(Intellectual Property) 정보가 상기 제1 내지 제n 정품 정보 그룹 각각에 대응되도록 추가로 저장되어 있는 것을 특징으로 하며, 상기 (I) 프로세스에서, 상기 프로세서가, 상기 데이터베이스를 참조하여, 상기 제k 판단근거정보와 함께 상기 IP 정보를 상기 제1 사용자 단말에 추가로 전송함으로써, 상기 제1 사용자 단말로 하여금 상기 제k 판단근거정보와 함께 상기 IP 정보를 디스플레이하도록 하고, 상기 (II) 프로세스에서, 상기 프로세서가, 상기 데이터베이스를 참조하여, 상기 제k+1 판단근거정보가 전송될 때 상기 IP 정보를 상기 제2 사용자 단말에 추가로 전송함으로써, 상기 제2 사용자 단말로 하여금 상기 제k+1 판단근거정보와 함께 상기 IP 정보를 디스플레이하도록 하는 것을 특징으로 하는 순차정품정보제공서버가 제공된다.As an example, the database may additionally store at least one IP (Intellectual Property) information corresponding to the specific product to correspond to each of the first to nth genuine product information groups, wherein the (I) In the process, the processor, by referring to the database, further transmits the IP information together with the kth basis for determination information to the first user terminal, thereby allowing the first user terminal to obtain the kth basis for determination information and and display the IP information together, and in the (II) process, the processor, referring to the database, additionally transmits the IP information to the second user terminal when the k+1 th decision basis information is transmitted. By transmitting, the sequential genuine information providing server is provided, characterized in that to cause the second user terminal to display the IP information together with the k+1 th decision basis information.
일례로서, 상기 특정 제품에 대응되는 정품에 대한 전체 정품 정보 각각은, 그 각각의 내용에 따라 외관 이미지 정보, 도면 정보, 패키징 정보, 제조자 정보, 판매자 정보, 라이선스 정보 및 제품 특징 정보를 포함하는 정보 속성 중 적어도 하나에 해당되는 것을 특징으로 하고, 상기 정보 속성 각각은, 그 각각에 해당되는 공개순서가 사전에 설정되어, 상기 공개순서를 바탕으로 상기 정보 속성 각각이 상기 제1 내지 제n 정품 정보 제공 스테이지 각각 중 적어도 하나에 대응되는 것을 특징으로 하는 순차정품정보제공서버가 제공된다.As an example, each of the entire genuine information about the genuine product corresponding to the specific product is information including appearance image information, drawing information, packaging information, manufacturer information, seller information, license information, and product characteristic information according to their respective contents. Characterized in that it corresponds to at least one of the attributes, and for each of the information attributes, a publication order corresponding to each of the information attributes is set in advance, and based on the publication order, each of the information attributes is the first to nth genuine information There is provided a sequential genuine information providing server characterized in that it corresponds to at least one of each providing stage.
일례로서, 상기 특정 제품에 대한 모방품신고정보 - 상기 모방품신고정보는, 상기 특정 제품이 모방품으로 판단될 수 있는 적어도 하나의 증거 정보를 포함함 - 가 제3 사용자 단말로부터 획득되면, 상기 프로세서가, 이를 상기 트리거링 이벤트가 발생한 것으로 판단하여, 상기 제k 정품 정보 제공 스테이지를 제k+1 정품 정보 제공 스테이지로 상승시키는 것을 특징으로 하는 순차정품정보제공서버가 제공된다.As an example, if counterfeit product report information for the specific product - the counterfeit product report information includes at least one evidence information by which the specific product can be determined as a counterfeit product - is obtained from a third user terminal, the processor, The sequential genuine information providing server is provided, which determines that the triggering event has occurred and raises the kth genuine information providing stage to the k+1th genuine information providing stage.
일례로서, 상기 제k+1 정품 정보 제공 스테이지가 제n 정품 정보 제공 스테이지인 것으로 판단된 상태에서, 상기 모방품신고정보가 획득되면, 상기 프로세서는, (i) 상기 특정 제품에 대응되는 IP 권리자 단말로 상기 모방품신고정보를 제공하는 프로세스, 및 (ii) 상기 IP 권리자 단말로 하여금, 상기 모방품신고정보에 대응되는 추가 정품 정보를 입력하도록 하는 프로세스를 수행하여, 상기 IP 권리자 단말로부터 적어도 하나의 상기 추가 정품 정보가 획득되면, 이를 제n+1 정품 정보 그룹으로서 상기 데이터베이스에 추가하고, 상기 제n+1 정품 정보 그룹을 참조하여 상기 제k+1 판단근거정보를 생성할 수 있도록 지원하는 것을 특징으로 하는 순차정품정보제공서버가 제공된다.As an example, in a state in which it is determined that the k+1 th genuine information providing stage is the n th genuine information providing stage, when the counterfeit product report information is obtained, the processor: (i) the IP owner terminal corresponding to the specific product and (ii) a process of providing the counterfeit product report information and (ii) a process of causing the IP right holder terminal to input additional genuine information corresponding to the counterfeit product report information, so that at least one of the additional genuine information is received from the IP right holder terminal. When genuine information is obtained, it is added to the database as an n + 1 genuine information group, and the k + 1 th genuine information group is referred to to support the creation of the k + 1 th decision basis information. A sequential genuine information providing server is provided.
일례로서, (III) 상기 프로세서는, (1) (i) 상기 모방품신고정보에 대한 제1 신뢰도평가정보를 생성하거나, (ii) 상기 IP 권리자 단말로 하여금 상기 모방품신고정보에 대한 제2 신뢰도평가정보를 생성하도록 하는 서브프로세스, 및 (2) 상기 모방품신고정보에 대한 처리결과정보를 획득하도록 하는 서브프로세스를 수행하여, 상기 제1 신뢰도평가정보, 상기 제2 신뢰도평가정보 및 상기 처리결과정보 중 적어도 하나를 상기 제1 사용자 단말, 상기 제2 사용자 단말, 상기 제3 사용자 단말 및 상기 IP 권리자 단말 중 적어도 일부로 전송하는 프로세스;를 추가로 수행하는 것을 특징으로 하는 순차정품정보제공서버가 제공된다.As an example, (III) the processor may (1) (i) generate first reliability evaluation information for the counterfeit product report information, or (ii) cause the IP right holder terminal to perform a second reliability evaluation for the counterfeit product report information A sub-process for generating information and (2) a sub-process for acquiring processing result information for the counterfeit product report information are performed, among the first reliability evaluation information, the second reliability evaluation information, and the processing result information. A sequential genuine information providing server is provided that further performs a process of transmitting at least one of the first user terminal, the second user terminal, the third user terminal, and the IP owner terminal to at least a part.
일례로서, 상기 (I) 프로세스에서, 상기 제k 판단근거정보에 상기 특정 제품에 대응되는 특정 정품 이미지 정보가 포함되어 상기 제1 사용자 단말에 제공되는 경우, 상기 프로세서가, 상기 제1 사용자 단말로 하여금, 상기 제1 사용자 단말에 탑재된 카메라 모듈을 사용한 상기 특정 제품의 제1 프리뷰 이미지가 디스플레이되면 상기 제1 프리뷰 이미지에 상기 특정 정품 이미지 정보가 오버랩(overlap)되어 표시될 수 있도록 함으로써, 상기 특정 정품 이미지 정보와 상기 제1 프리뷰 이미지 각각을 비교할 수 있도록 지원하는 것을 특징으로 하고, 상기 (II) 프로세스에서, 상기 제k+1 정품 판단 근거정보에 상기 특정 정품 이미지 정보가 포함되어 상기 제2 사용자 단말에 제공되는 경우, 상기 프로세서가, 상기 제2 사용자 단말로 하여금, 상기 제2 사용자 단말에 탑재된 카메라 모듈을 사용한 상기 특정 제품의 제2 프리뷰 이미지가 디스플레이되면 상기 제2 프리뷰 이미지에 상기 특정 정품 이미지 정보가 오버랩(overlap)되어 표시될 수 있도록 함으로써, 상기 특정 정품 이미지 정보와 상기 제2 프리뷰 이미지 각각을 동시에 비교할 수 있도록 지원하는 것을 특징으로 하는 순차정품정보제공서버가 제공된다.As an example, in the (I) process, when the k th decision basis information includes specific genuine image information corresponding to the specific product and is provided to the first user terminal, the processor, to the first user terminal When the first preview image of the specific product using the camera module installed in the first user terminal is displayed, the specific genuine image information can be overlapped and displayed on the first preview image, It is characterized in that it supports comparison of genuine image information with each of the first preview images, and in the (II) process, the specific genuine image information is included in the k+1 th genuine product determination basis information, so that the second user When provided to the terminal, the processor causes the second user terminal to display the second preview image of the specific product using the camera module mounted in the second user terminal, displaying the specific product in the second preview image. Provided is a sequential genuine information providing server that supports simultaneous comparison of the specific genuine image information and each of the second preview images by allowing image information to be overlapped and displayed.
일례로서, 상기 특정 정품 이미지 정보는, 그에 포함된 정품의 일부분에 해당되는 적어도 하나의 소정의 부분영역 각각에 대한 스케일(scale) 정보를 포함하고 있는 것을 특징으로 하고, 상기 (I) 프로세스에서, 상기 프로세서는, 상기 제1 프리뷰 이미지에서 상기 특정 제품에 대응되어 특정 부분영역이 선택되면, 상기 제1 사용자 단말로 하여금 상기 특정 정품 이미지 정보에서 상기 특정 부분영역에 대응되는 특정 스케일에 대한 정보를 참조하여 상기 제1 프리뷰 이미지의 크기를 조절하도록 하고, 상기 (II) 프로세스에서, 상기 프로세서는, 상기 제2 프리뷰 이미지에서 상기 특정 제품에 대응되어 상기 특정 부분영역이 선택되면, 상기 제2 사용자 단말로 하여금 상기 특정 정품 이미지 정보에서 상기 특정 부분영역에 대응되는 상기 특정 스케일 정보를 참조하여 상기 제2 프리뷰 이미지의 크기를 조절하도록 하는 것을 특징으로 하는 순차정품정보제공서버가 제공된다.As an example, the specific genuine image information is characterized in that it includes scale information for each of at least one predetermined partial region corresponding to a part of the genuine article included therein, and in the (I) process, The processor, when a specific partial region corresponding to the specific product is selected in the first preview image, causes the first user terminal to refer to information on a specific scale corresponding to the specific partial region in the specific authentic image information. to adjust the size of the first preview image, and in the (II) process, when the specific partial region corresponding to the specific product is selected in the second preview image, the processor returns to the second user terminal. The sequential genuine information providing server is provided, characterized in that the server adjusts the size of the second preview image by referring to the specific scale information corresponding to the specific partial area in the specific authentic image information.
본 발명에 의하면, 다음과 같은 효과가 있다.According to the present invention, there are the following effects.
본 발명은, 정품 정보를 순차적으로 업데이트하여 제공함으로써 모방품의 제작 가능성을 지속적으로 억제하는 효과가 있다.The present invention has an effect of continuously suppressing the possibility of manufacturing counterfeit products by sequentially updating and providing genuine information.
또한, 본 발명은, 정품 정보와 함께 그와 관련된 지식재산권정보를 제공함으로써, 판매자는 지식재산권의 권리 표시를 용이하게 하고, 구매자는 구매 제품의 정품 여부에 대한 판단근거정보 확인과 함께 관련된 지식재산권에 대한 정보를 확인할 수 있도록 하는 효과가 있다.In addition, the present invention provides genuine information and related intellectual property rights information, so that the seller can easily display the rights of intellectual property rights, and the buyer can verify the information on the basis of judgment on whether the purchased product is genuine or not, and related intellectual property rights It has the effect of being able to check information about.
또한, 본 발명은, 특정 제품에 대한 이미지 정보를 정품 이미지 정보와 오버랩(overlap)하여 비교할 수 있는 방법을 제공함으로써, 사용자로 하여금 사용자로 하여금 더욱 편리하고 정확하게 특정 제품의 정품 여부를 판단할 수 있도록 하는 효과가 있다.In addition, the present invention provides a method for comparing image information on a specific product with genuine image information by overlapping it, so that the user can more conveniently and accurately determine whether a specific product is genuine. has the effect of
도 1은 본 발명의 일 실시예에 따른, 특정 제품에 대응되는 정품 정보 그룹을 순차적으로 이용하여 특정 제품의 모방품 여부에 대한 판단근거정보를 제공하기 위한 순차정품정보제공서버를 개략적으로 나타내는 도면이다.
도 2는 본 발명의 일 실시예에 따른, 소정의 식별 코드를 바탕으로 특정 제품에 대응되는 정품 정보 그룹을 순차적으로 이용하여 특정 제품의 모방품 여부에 대한 판단근거정보가 제공되는 전체 시스템을 개략적으로 나타내는 도면이다.
도 3a는 본 발명의 일 실시예에 따른, 특정 제품에 대응되는 n개의 정품 정보 그룹이 정품 정보 제공 스테이지에 따라 관리되며, 그 각각에 대응되도록 IP 정보가 함께 관리되는 데이터 구조를 개략적으로 나타내는 도면이다.
도 3b는 본 발명의 일 실시예에 따른, 특정 제품에 대응되는 n개의 정품 정보 그룹이 모두 참조된 상태에서 IP 권리자로부터 추가 정품 정보가 획득됨으로써 제n+1 정품 정보 그룹이 생성되어 관리되는 데이터 구조를 개략적으로 나타내는 도면이다.
도 4a는 본 발명의 일 실시예에 따른, 제1 정품 정보 제공 스테이지에서 제1 정품 정보 그룹인 정품의 외관 이미지 정보 및 그에 대한 설명이, 해당 정품의 IP 정보와 함께 제1 판단근거정보로서 제공되는 모습을 개략적으로 나타내는 도면이다.
도 4b는 본 발명의 일 실시예에 따른, 제1 판단근거정보를 바탕으로 하여, 제2 정품 정보 제공 스테이지에서 제2 정품 정보 그룹인 패키징 정보 및 그에 대한 설명이 추가적으로 사용되어, 해당 정품의 IP 정보와 함께 제2 판단근거정보로서 제공되는 모습을 개략적으로 나타내는 도면이다.
도 5는 본 발명의 일 실시예에 따른, 특정 제품이 모방품으로 판단되어 해당 모방품의 이미지 정보 및 모방품 판단 이유가 모방품신고정보로서 사용자 단말에 입력되는 모습을 개략적으로 나타내는 도면이다.
도 6a는 본 발명의 일 실시예에 따른, 사용자 단말에 포함된 카메라 모듈을 사용하여 특정 제품의 프리뷰 이미지가 디스플레이 됨과 함께, 해당 시점의 정품 정보 제공 스테이지에 대응되는 판단근거정보에 포함된 특정 정품 이미지 정보가 오버랩(overlap)되어 표시되는 모습을 개략적으로 나타내는 도면이다.
도 6b는 본 발명의 일 실시예에 따른, 특정 정품 이미지 정보에 포함된 정품의 일부분인 소정의 부분영역에 대한 스케일 정보를 참조하여, 그에 대응되는 특정 부분영역이 특정 제품의 프리뷰 이미지에서 선택되면 해당 프리뷰 이미지의 크기를 조절함으로써 같은 스케일로 특정 정품 이미지 정보와 프리뷰 이미지 각각의 특정 부분영역을 비교할 수 있도록 하는 방법이 개략적으로 도시되어 있는 도면이다.1 is a diagram schematically showing a sequential genuine information providing server for providing information on the basis of determination as to whether or not a specific product is an imitation by sequentially using a genuine information group corresponding to a specific product according to an embodiment of the present invention. .
 FIG. 2 schematically illustrates the entire system in which information on the basis of determination as to whether or not a specific product is an imitation is provided by sequentially using a genuine information group corresponding to a specific product based on a predetermined identification code according to an embodiment of the present invention. It is a drawing that represents
 3A is a view schematically showing a data structure in which n genuine information groups corresponding to a specific product are managed according to a genuine information providing stage, and IP information is managed together to correspond to each of them according to an embodiment of the present invention. to be.
 3B is data in which an n+1th genuine information group is created and managed by obtaining additional genuine information from an IP right holder in a state in which n genuine information groups corresponding to a specific product are all referred to according to an embodiment of the present invention. It is a schematic diagram of the structure.
 Figure 4a is a first genuine information providing stage according to an embodiment of the present invention, the appearance image information of the genuine product, which is the first genuine information group, and its description are provided together with the IP information of the corresponding genuine product as the first basis for judgment information. This is a schematic diagram of what it will look like.
 FIG. 4B is based on the first judgment basis information according to an embodiment of the present invention, in the second genuine information providing stage, packaging information that is a second genuine information group and a description thereof are additionally used, and the IP of the corresponding genuine product It is a diagram schematically showing how information is provided as second judgment basis information together with information.
 5 is a diagram schematically illustrating how a specific product is determined to be a counterfeit product and image information and reasons for determining the counterfeit product are input to a user terminal as counterfeit product report information, according to an embodiment of the present invention.
 6A shows a preview image of a specific product displayed using a camera module included in a user terminal according to an embodiment of the present invention, and a specific authentic product included in the basis for determination information corresponding to a genuine product information providing stage at that time. It is a diagram schematically showing how image information is overlapped and displayed.
 6B , according to an embodiment of the present invention, when a specific partial region corresponding to the predetermined partial region is selected from a preview image of a specific product by referring to scale information on a predetermined partial region that is a part of genuine product included in specific genuine image information. It is a diagram schematically showing a method of comparing specific genuine image information and a specific partial region of each preview image on the same scale by adjusting the size of the corresponding preview image.
후술하는 본 발명에 대한 상세한 설명은, 본 발명의 목적들, 기술적 해법들 및 장점들을 분명하게 하기 위하여 본 발명이 실시될 수 있는 특정 실시예를 예시로서 도시하는 첨부 도면을 참조한다. 이들 실시예는 통상의 기술자가 본 발명을 실시할 수 있기에 충분하도록 상세히 설명된다.DETAILED DESCRIPTION OF THE PREFERRED EMBODIMENTS The following detailed description of the present invention refers to the accompanying drawings, which illustrate specific embodiments in which the present invention may be practiced in order to make the objects, technical solutions and advantages of the present invention clear. These embodiments are described in sufficient detail to enable a person skilled in the art to practice the present invention.
또한, 본 발명의 상세한 설명 및 청구항들에 걸쳐, "포함하다"라는 단어 및 그것의 변형은 다른 기술적 특징들, 부가물들, 구성요소들 또는 단계들을 제외하는 것으로 의도된 것이 아니다. 통상의 기술자에게 본 발명의 다른 목적들, 장점들 및 특성들이 일부는 본 설명서로부터, 그리고 일부는 본 발명의 실시로부터 드러날 것이다. 아래의 예시 및 도면은 실례로서 제공되며, 본 발명을 한정하는 것으로 의도된 것이 아니다.Also, throughout the description and claims of the present invention, the word "comprise" and variations thereof are not intended to exclude other technical features, additions, components or steps. Other objects, advantages and characteristics of the present invention will appear to those skilled in the art, in part from this description and in part from practice of the invention. The examples and drawings below are provided as examples and are not intended to limit the invention.
더욱이 본 발명은 본 명세서에 표시된 실시예들의 모든 가능한 조합들을 망라한다. 본 발명의 다양한 실시예는 서로 다르지만 상호 배타적일 필요는 없음이 이해되어야 한다. 예를 들어, 여기에 기재되어 있는 특정 형상, 구조 및 특성은 일 실시예에 관련하여 본 발명의 정신 및 범위를 벗어나지 않으면서 다른 실시예로 구현될 수 있다. 또한, 각각의 개시된 실시예 내의 개별 구성요소의 위치 또는 배치는 본 발명의 정신 및 범위를 벗어나지 않으면서 변경될 수 있음이 이해되어야 한다. 따라서, 후술하는 상세한 설명은 한정적인 의미로서 취하려는 것이 아니며, 본 발명의 범위는, 적절하게 설명된다면, 그 청구항들이 주장하는 것과 균등한 모든 범위와 더불어 첨부된 청구항에 의해서만 한정된다. 도면에서 유사한 참조부호는 여러 측면에 걸쳐서 동일하거나 유사한 기능을 지칭한다.Moreover, the present invention covers all possible combinations of the embodiments shown herein. It should be understood that the various embodiments of the present invention are different from each other but are not necessarily mutually exclusive. For example, specific shapes, structures, and characteristics described herein may be implemented in one embodiment in another embodiment without departing from the spirit and scope of the invention. Additionally, it should be understood that the location or arrangement of individual components within each disclosed embodiment may be changed without departing from the spirit and scope of the invention. Accordingly, the detailed description set forth below is not to be taken in a limiting sense, and the scope of the present invention, if properly described, is limited only by the appended claims, along with all equivalents as claimed by those claims. Like reference numbers in the drawings indicate the same or similar function throughout the various aspects.
이하, 본 발명이 속하는 기술분야에서 통상의 지식을 가진 자가 본 발명을 용이하게 실시할 수 있도록 하기 위하여, 본 발명의 바람직한 실시예들에 관하여 첨부된 도면을 참조하여 상세히 설명하기로 한다.Hereinafter, preferred embodiments of the present invention will be described in detail with reference to the accompanying drawings so that those skilled in the art can easily practice the present invention.
참고로, 본 명세서에서 '특정 제품'의 용어는 모방품인지의 여부가 확인되지 않은 상태에서 사용자가 모방품 여부를 확인하고자 하는 실제 제품을 의미하는 것으로서, 동일한 형상 및 내용의 식별 코드를 포함함으로써 동일성을 가지는 것으로 판단될 수 있는 적어도 하나의 실제 제품 각각(예를 들어, 동일한 식별 코드가 부착된 'P 인형' 하나 또는 복수개 각각)을 의미하는 개념으로 사용한 것이다. 또한,'특정 제품에 대응되는 정품'의 용어는 상기 실제 제품에 대응되는 정품 그 자체(예를 들어, 실제 제품이 P 인형인 경우 '정품 P 인형'그 자체)를 지칭하는 개념으로 사용한 것임을 밝혀둔다.For reference, in this specification, the term 'specific product' means a real product that the user wants to check whether or not it is an imitation product in a state where it is not confirmed whether or not it is an imitation product. It is used as a concept meaning each of at least one actual product that can be determined to have (eg, one or a plurality of 'P dolls' attached with the same identification code). In addition, it is revealed that the term 'genuine product corresponding to a specific product' is used as a concept to refer to the genuine product itself corresponding to the actual product (for example, 'genuine P doll' itself if the actual product is a P doll). put
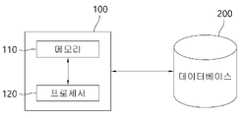
도 1은 본 발명의 일 실시예에 따른, 특정 제품에 대응되는 정품 정보 그룹을 순차적으로 이용하여 특정 제품의 모방품 여부에 대한 판단근거정보를 제공하기 위한 순차정품정보제공서버를 개략적으로 나타내는 도면이다.1 is a diagram schematically showing a sequential genuine information providing server for providing information on the basis of determination as to whether or not a specific product is an imitation by sequentially using a genuine information group corresponding to a specific product according to an embodiment of the present invention. .
도 1을 참조하면, 특정 제품에 대응되는 정품 정보 그룹을 순차적으로 이용하여 특정 제품의 모방품 여부에 대한 판단근거정보를 제공하기 위한 순차정품정보제공서버(100)는 메모리(110) 및 프로세서(120)를 포함할 수 있다. 이 때, 메모리(110)는, 프로세서(120)의 인스트럭션들을 저장할 수 있는데, 구체적으로, 인스트럭션들은 순차정품정보제공서버(100)로 하여금 특정의 방식으로 기능하게 하기 위한 목적으로 생성되는 코드로서, 컴퓨터 기타 프로그램 가능한 데이터 프로세싱 장비를 지향할 수 있는 컴퓨터 이용 가능 또는 컴퓨터 판독 가능 메모리에 저장될 수 있다. 인스트럭션들은 본 발명의 명세서에서 설명되는 기능들을 실행하기 위한 프로세스들을 수행할 수 있다.Referring to FIG. 1, a sequential genuine
그리고, 프로세서(120)는, MPU(Micro Processing Unit) 또는 CPU(Central Processing Unit), 캐쉬 메모리(Cache Memory), 데이터 버스(Data Bus) 등의 하드웨어 구성을 포함할 수 있다. 또한, 운영체제, 특정 목적을 수행하는 애플리케이션의 소프트웨어 구성을 포함할 수 있다.  그러나, 컴퓨팅 장치가 본 발명을 실시하기 위한 미디엄, 프로세서 및 메모리가 통합된 형태인 integrated 프로세서를 포함하는 경우를 배제하는 것은 아니다.In addition, the
다음으로, 순차정품정보제공서버(100)는 특정 제품의 모방품 여부에 대한 판단근거정보를 제공하기 위한 정품 정보 및 IP 정보를 포함하는 소정의 데이터베이스(200)와 연동될 수 있다. 이 때, 데이터베이스(200)는 플래시 메모리 타입(flash memory type), 하드디스크 타입(hard disk type), 멀티미디어 카드 마이크로 타입(multimedia card micro type), 카드 타입의 메모리(예를 들어 SD 또는 XD 메모리), 램(Random Access Memory, RAM), SRAM(Static Random Access Memory), 롬(Read Only Memory, ROM), EEPROM(Electrically Erasable Programmable Read Only Memory), PROM(Programmable Read Only Memory), 자기 메모리, 자기 디스크, 광디스크 중 적어도 하나의 타입의 저장매체를 포함할 수 있으며, 이에 한정되지 않으며 데이터를 저장할 수 있는 모든 매체를 포함할 수 있다.  또한, 데이터베이스는 순차정품정보제공서버(100)의 내부에 설치되어 데이터를 전송하거나 수신되는 데이터를 기록할 수도 있으며, 이는 발명의 실시 조건에 따라 달라질 수 있다.Next, the sequential genuine
상술한 바와 같은 순차정품정보제공서버(100)는, 도 2에 도시된 바와 같은 시스템으로 구성되어 특정 제품의 모방품 여부에 대한 판단근거정보를 제공할 수 있다.The sequential genuine
도 2는 본 발명의 일 실시예에 따른, 소정의 식별 코드를 바탕으로 특정 제품에 대응되는 정품 정보 그룹을 순차적으로 이용하여 특정 제품의 모방품 여부에 대한 판단근거정보가 제공되는 전체 시스템을 개략적으로 나타내는 도면이다.FIG. 2 schematically illustrates the entire system in which information on the basis of determination as to whether or not a specific product is an imitation is provided by sequentially using a genuine information group corresponding to a specific product based on a predetermined identification code according to an embodiment of the present invention. It is a drawing that represents
도 2를 참조하면, 특정 제품에 대응되는 제1 내지 제n 정품 정보 그룹 각각이 소정의 데이터베이스(200)에서 관리되고 있는 상태에서, 제1 사용자 단말(310)에 의하여 소정의 식별 코드(10)가 인식될 수 있다.Referring to FIG. 2 , in a state where each of the first to n th genuine information groups corresponding to a specific product is managed in a
이 때, 제1 사용자 단말(310)은 식별 코드(10)를 인식할 수 있는 스마트폰일 수 있으나, 이에 한정되는 것은 아니며, PC(Personal Computer), 모바일 컴퓨터, PDA/EDA, 휴대 전화, 태블릿, IoT 기기 등을 포함할 수 있다. 그리고, 제1 사용자 단말(310)은 이에 한정되지 않으며, 유무선 통신 기능을 가진 휴대용 게임기, 디지털 카메라, 개인 내비게이션 등의 모든 디바이스를 포함할 수 있다.At this time, the
구체적으로, 제1 사용자 단말(310)은 전형적으로 컴퓨팅 장치(예컨대, 컴퓨터 프로세서, 메모리, 스토리지, 입력 장치 및 출력 장치, 기타 기존의 컴퓨팅 장치의 구성요소들을 포함할 수 있는 장치; 라우터, 스위치 등과 같은 전자 통신 장치; 네트워크 부착 스토리지(NAS) 및 스토리지 영역 네트워크(SAN)와 같은 전자 정보 스토리지 시스템)와 컴퓨터 소프트웨어(즉, 컴퓨팅 장치로 하여금 특정의 방식으로 기능하게 하는 인스트럭션들)의 조합을 이용하여 원하는 시스템 성능을 달성하는 것일 수 있다.Specifically, the
또한, 아래에서 설명되는 제2 사용자 단말(320), 제3 사용자 단말(330)에 대해서도 상술한 바와 같은 내용이 적용될 수 있으므로, 다양한 종류의 단말이 채택되어 사용될 수 있다.In addition, since the above description can be applied to the
그리고, 소정의 식별 코드(10)는, 제1 사용자 단말(310)이 순차정품정보제공서버(100)에 접속할 수 있는 접속 경로에 대한 정보를 포함하고 있을 수 있다.  또한, 해당 식별 코드(10)는, 도 2에 도시된 바와 같이 QR(Quick Response)코드일 수 있으나, 그에 한정되는 것은 아니며, 발명의 실시 조건에 따라 제1 사용자 단말(310)에 의해 인식될 수 있고 상기 접속 경로에 대한 정보를 포함할 수 있는 2차원 또는 3차원 형상의 패턴 이미지(바코드 등)가 사용될 수도 있다.Then, the
그런 다음, 식별 코드(10)에 포함된 접속 경로를 통해 순차정품정보제공서버(100)로 특정 제품의 모방품 여부에 대한 판단근거정보의 요청인 제1 사용자 요청이 전송될 수 있다.  그러면, 순차정품정보제공서버(100)는, 해당 제1 사용자 요청이 전송된 시점이 1 이상 n-1 이하의 정수 중 어느 하나인 k에 대응되는 제k 정품 정보 제공 스테이지 에 포함되는 것을 확인하고, 데이터베이스(200)에서 제k 정품 정보 제공 스테이지에 대응되는 제k 정품 정보 그룹을 참조하여 모방품 여부에 대한 판단근거정보로서의 제k 판단근거정보를 획득하거나 생성하여, 이를 상기 제1 사용자 단말(310)로 전송할 수 있다.Then, through the access path included in the
이 때, 제 k 판단근거정보는, 제1 사용자 요청이 전송된 시점에 생성될 수도 있으나, 그 이전에 데이터베이스(200)에 저장된 제k 정품 정보 그룹을 참조하여 순차정품정보제공서버(100)가 미리 생성해 두었을 수 있으며, 이 경우 순차정품정보제공서버(100)가 제k 판단근거정보를 바로 획득할 수도 있다.At this time, the k-th decision basis information may be generated at the time when the first user request is transmitted, but the sequential genuine
또한, 위에서 사용되는 제k 정품 정보 그룹은, 데이터베이스(200)에서 관리되고 있는 제1 내지 제n 정보 제공 그룹 중 k에 대응되는 정보 제공 그룹으로서, 도 3a에서는 이와 같은 제1 내지 제n 정보 제공 그룹이 관리되는 데이터 구조가 일 예시로서 도시되어 있다.In addition, the k-th genuine information group used above is an information providing group corresponding to k among the first to n-th information providing groups managed in the
도 3a는 본 발명의 일 실시예에 따른, 특정 제품에 대응되는 n개의 정품 정보 그룹이 정품 정보 제공 스테이지에 따라 관리되며, 그 각각에 대응되도록 IP 정보가 함께 관리되는 데이터 구조를 개략적으로 나타내는 도면이다.3A is a view schematically showing a data structure in which n genuine information groups corresponding to a specific product are managed according to a genuine information providing stage, and IP information is managed together to correspond to each of them according to an embodiment of the present invention. to be.
도 3a를 참조하면, 정품 정보 그룹(600-1, 600-2, ..., 600-n) 각각은 그 각각에 해당되는 정품 정보 제공 스테이지(610)별로 n개로 분류되어 관리되고 있을 수 있는데, 이는 특정 제품에 대응되는 정품 정보가 한번에 모두 공개되지 않고, 모방품의 등장과 같이 기설정된 트리거링 이벤트가 만족될 때마다 순차적으로 공개될 수 있도록 하기 위하여 정품 정보 그룹(600-1, 600-2, ..., 600-n) 각각이 정품 정보 제공 스테이지(610) 각각에 대응되도록 분류된 것일 수 있다.Referring to FIG. 3A, each genuine information group (600-1, 600-2, ..., 600-n) may be classified into n pieces for each corresponding genuine
그리고, 특정 제품에 대응되는 정품에 대한 전체 정품 정보(620) 각각은, 그 각각의 내용에 따라 외관 이미지 정보, 도면 정보, 패키징 정보, 제조자 정보, 판매자 정보, 라이선스 정보 및 제품 특징 정보를 포함하는 정보 속성 중 적어도 하나에 해당될 수 있고, 해당 정보 속성 각각은, 그 각각에 해당되는 공개순서가 사전에 설정되어, 상기 공개순서를 바탕으로 상기 정보 속성 각각이 상기 제1 내지 제n 정품 정보 제공 스테이지 각각 중 적어도 하나에 대응될 수 있다.In addition, each of the total
예를 들어, 특정 제품에 대응되는 정품의 정면을 촬영한 이미지는, 외관 이미지 정보에 해당되는 속성에 해당될 수 있고, 해당 외관 이미지 정보는 공개순서가 첫번째로 사전에 설정되어, 제1 정품 정보 제공 스테이지에 대응될 수 있다.For example, an image of the front of a genuine product corresponding to a specific product may correspond to an attribute corresponding to appearance image information, and the appearance image information is set in advance in order of publication first, and thus first genuine product information. It may correspond to the providing stage.
또한, 각각의 정품 정보 제공 그룹은, 그 각각이 특정 제품에 대응되는 정품의 IP(Intellectual Property) 정보(630)와 같이 대응되어 관리될 수 있는데, 이를 바탕으로 상기 제k 판단근거정보와 같이 해당 IP정보가 함께 제공될 수 있다.  즉, 특정 제품에 대응되는 정품과 관련된 특허권, 상표권, 디자인권, 저작권 등의 IP 정보(630)가 제1 내지 제n 정품 정보 그룹(600-1, 600-2, ..., 600-n) 각각에 대응되어 함께 관리됨으로써, 각각의 정품 정보 그룹이 참조될 때 IP 정보(630)도 함께 참조되어 사용자 단말에 제공될 수 있다.  이 때, IP의 종류 및 내용에 따라 해당 IP 정보(630)의 데이터 구조는 도 3a에 도시된 바와 다르게 저장되어 관리될 수도 있으며, 이는 발명의 실시 조건에 따라 달라질 수 있다.In addition, each genuine product information providing group can be managed in correspondence with IP (Intellectual Property)
상술한 바와 같은 내용을 바탕으로 하여, k가 1인 경우인 제1 정품 정보 제공 스테이지에서는 제1 정품 정보 그룹(600-1)을 참조하여 도 4a에 도시된 바와 같은 제1 판단근거정보 및 IP 정보가 제공될 수 있다.Based on the foregoing, in the first genuine information providing stage when k is 1, the first genuine information group 600-1 is referred to, and the first decision basis information and IP as shown in FIG. 4A are information may be provided.
도 4a는 본 발명의 일 실시예에 따른, 제1 정품 정보 제공 스테이지에서 제1 정품 정보 그룹인 정품의 외관 이미지 정보 및 그에 대한 설명이, 해당 정품의 IP 정보(703)와 함께 제1 판단근거정보로서 제공되는 모습을 개략적으로 나타내는 도면이다.FIG. 4A shows appearance image information of a genuine product, which is the first genuine information group, and a description thereof, together with
도 4a를 참조하면, 특정 제품의 모방품 여부에 대한 판단근거정보의 요청인 제1 사용자 요청에 대응하여, 순차정품정보제공서버(100)가 제1 정품 정보 그룹(601)을 참조하여 제1 판단근거정보(701)를 생성하여 제1 사용자단말(310)로 전송하거나, 사전에 제1 판단근거정보(701)가 생성되어 있는 상태에서 제1 사용자단말에 바로 제1 판단근거정보(701)를 전송해 줄 수 있다.Referring to FIG. 4A , in response to a first user request, which is a request for information on the basis of determination as to whether or not a specific product is an imitation, the sequential genuine
그런 다음, 제k 정품 정보 제공 스테이지가 제k+1 정품 정보 제공 스테이지로 상승하기 위한 기설정된 트리거링 이벤트가 만족되면, 순차정품정보제공서버(100)가, 제k 정품 정보 제공 스테이지를 제k+1 정품 정보 제공 스테이지로 상승시킬 수 있다.Then, when a predetermined triggering event for raising the k-th genuine information providing stage to the k+1 genuine information providing stage is satisfied, the sequential genuine
그러한 상태에서, 제2 사용자 단말(320)에 의하여 상기 식별 코드가 인식되어, 상기 접속 경로를 통하여 상기 특정 제품의 모방품 여부에 대한 판단근거정보의 요청인 제2 사용자 요청이 전송될 수 있다.  이 때, 특정 제품은, 상술한 바와 같이 하나의 특정 실제 제품을 의미하는 것일 수도 있으나, 동일성을 가지는 것으로 판단될 수 있는 복수개의 실제 제품 각각을 지칭하는 것일 수도 있다.  그러한 경우, 복수개의 실제 제품 각각에는 동일한 형상 및 내용을 가지는 식별 코드가 부착되어 있을 수 있으므로, 제1 사용자 단말에 의하여 식별 코드가 인식되는 실제 제품과, 제2 사용자 단말에 의하여 식별 코드가 인식되는 실제 제품이 동일성(즉, 동일한 형상 및 내용을 가지는 식별 코드가 부착됨)을 가진 다른 제품인 경우, 결과적으로는 제1 사용자 단말 및 제2 사용자 단말에 의하여 동일한 식별 코드가 인식되게 되지만, 물리적으로는 별개의 실제 제품 각각에 부착된 별개의 식별 코드일 수 있다.  .  또한, 이는 아래에서 설명할 제3 사용자 단말과, 발명의 실시 조건에 따라 추가적인 사용자 단말이 사용될 경우에도 유사하게 적용될 수 있다.In such a state, the identification code is recognized by the
그리고, 제2 사용자 요청이 전송된 정보가 확인되면, 순차정품정보제공서버(100)는, 제2 사용자 요청이 전송된 시점이 제k+1 정품 정보 제공 스테이지에 포함되는 것을 확인하고, 제k+1 정품 제공 스테이지에 대응되는 제k+1 정품 정보 그룹을 참조하여 모방품 여부에 대한 판단근거정보로서의 제k+1 판단근거정보를 획득하거나 생성하여, 제2 사용자 단말에 전송할 수 있다.And, if the information transmitted by the second user request is confirmed, the sequential genuine
즉, 순차정품정보제공서버(100)는, 데이터베이스(200)의 제1 내지 제n 정품 정보 제공 그룹(600-1, 600-2, ..., 600-n)을 정품 정보 제공 스테이지(610)별로 순차적으로 참조하여 상기 식별 코드(10)를 통해 사용자 단말에 전송되는 정품 정보가 순차적으로 점점 늘어나도록 할 수 있다. 이 때, 각 판단근거정보를 획득하거나 생성할 때 참조되는 정품 정보 그룹은, 각 정품 정보 제공 스테이지마다 제1 내지 제n 정품 정보 그룹(600-1, 600-2, ..., 600-n) 각각이 순차적으로 참조됨을 전제로 하여, k의 크기에 따라 제1 정품 정보 그룹(600-1), 제2 정품 정보 그룹(600-2), ..., 제k 정품 정보 그룹의 순서에 따라 순차적으로 참조될 수 있다. 하지만, 기존에 참조되었던 정품 정보 그룹을 무조건 모두 참조하는 것으로 한정되는 것은 아니며, 그 중 일부의 기 참조 정품 정보 그룹만 선택적으로 참조될 수도 있고, k+1에 대응되는 제k+1 정품 정보 그룹만 새롭게 참조될 수도 있으며, 이는 발명의 실시 조건에 따라 달라질 수 있다.That is, the sequential genuine
그리고, 다시 도 2를 참조하면, 도 2에는 제1 사용자 단말과 제2 사용자 단말이 다른 단말인 것으로 도시되어 있으나, 발명의 실시 조건에 따라 동일한 단말일 수도 있으며, 아래에서 모방품신고정보가 입력되는 제3 사용자 단말 역시 제1 사용자 단말 및/또는 제2 사용자 단말과 동일한 단말일 수 있다. 이 때, 제1 사용자 단말, 제2 사용자 단말 및 제3 사용자 단말이 모두 동일한 단말인 경우에는, 모방품 판단의 대상이 되는 특정 제품은 동일한 하나의 실제 제품을 지칭하는 것일 수 있고, 제1 사용자 단말, 제2 사용자 단말 및 제3 사용자 단말이 모두 다른 단말인 경우에는, 모방품 판단의 대상이 되는 특정 제품은 동일성을 가지는 별개의 실제 제품 각각을 지칭하는 것일 수 있다.Then, referring to FIG. 2 again, although the first user terminal and the second user terminal are shown as different terminals in FIG. The third user terminal may also be the same terminal as the first user terminal and/or the second user terminal. In this case, when the first user terminal, the second user terminal, and the third user terminal are all the same terminal, the specific product to be determined as an imitation product may refer to the same actual product, and the first user terminal , When the second user terminal and the third user terminal are all different terminals, the specific product subject to counterfeit product determination may refer to each of the separate actual products having the same identity.
상술한 바와 같은 내용을 바탕으로 하여, 발명의 일 예로서 k가 1인 경우 제2 정품 정보 제공 스테이지에서는 제2 정품 정보 그룹을 참조하여 도 4b에 도시된 바와 같은 제2 판단근거정보 및 IP 정보가 제공될 수 있다.Based on the foregoing, as an example of the invention, when k is 1, the second genuine information providing stage refers to the second genuine information group, and second decision basis information and IP information as shown in FIG. 4B may be provided.
도 4b는 본 발명의 일 실시예에 따른, 제1 판단근거정보를 바탕으로 하여, 제2 정품 정보 제공 스테이지에서 제2 정품 정보 그룹인 패키징 정보 및 그에 대한 설명이 추가적으로 사용되어, 해당 정품의 IP 정보와 함께 제2 판단근거정보로서 제공되는 모습을 개략적으로 나타내는 도면이다.FIG. 4B is based on the first judgment basis information according to an embodiment of the present invention, in the second genuine information providing stage, packaging information that is a second genuine information group and a description thereof are additionally used, and the IP of the corresponding genuine product It is a diagram schematically showing how information is provided as second judgment basis information together with information.
도 4b을 참조하면, 기설정된 트리거링 조건이 만족되어 제1 정품 정보 제공 스테이지에서 제2 정품 정보 제공 스테이지로 상승된 상태에서, 제2 사용자 단말(320)에 의하여 식별 코드(10)가 인식되어, 그에 포함된 접속 경로를 통하여 특정 제품의 상기 모방품 여부에 대한 판단근거정보의 요청인 제2 사용자 요청이 전송된 정보가 확인되면, 순차정품정보제공서버(100)가, 상기 제2 사용자 요청이 전송된 시점이 제2 정품 정보 제공 스테이지에 포함되는 것을 확인하고, 제2 정품 제공 스테이지에 대응되는 제2 정품 정보 그룹(600-2)을 참조하여 상기 모방품 여부에 대한 판단근거정보로서의 제2 판단근거정보(702)를 생성하여 제2 사용자 단말(320)에 제공하거나, 사전에 제2 판단근거정보(702)가 생성되어 있는 상태에서 제2 사용자단말(320)에 바로 제2 판단근거정보(720)를 제공해 줄 수 있다.Referring to FIG. 4B, the
다음으로, 발명의 일 예로서, 제k 정품 정보 제공 스테이지가 제k+1 정품 정보 제공 스테이지로 상승되는 기설정된 트리거링 조건은, 특정 제품에 대하여 해당 특정 제품이 모방품으로 판단된 증거 정보를 포함하는 모방품신고정보가 획득되는 것일 수 있다. 그리고, 도 5에는 본 발명의 일 실시예에 따른, 특정 제품이 모방품으로 판단되어 해당 모방품의 이미지 정보 및 모방품 판단 이유가 모방품신고정보로서 사용자 단말에 입력되는 모습을 개략적으로 나타내는 도면이 도시되어 있다.Next, as an example of the invention, the predetermined triggering condition in which the kth genuine information providing stage is elevated to the k+1th genuine information providing stage includes evidence information that the specific product is determined to be a counterfeit product with respect to a specific product. Counterfeit product reporting information may be obtained. And, FIG. 5 is a diagram schematically showing how a specific product is determined to be a counterfeit product and the image information of the counterfeit product and the reason for determining the counterfeit product are input to a user terminal as counterfeit product report information according to an embodiment of the present invention. .
도 5를 참조하면, 특정 제품에 대하여, 해당 특정 제품이 모방품으로 판단될 수 있는 적어도 하나의 증거 정보(730)를 포함하는 모방품신고정보(704)가 제3 사용자 단말에 입력되어 획득되면, 순차정품정보제공서버(100)는, 이를 상기 트리거링 이벤트가 발생한 것으로 판단하여, 상기 제k 정품 정보 제공 스테이지를 제k+1 정품 정보 제공 스테이지로 상승시킬 수 있다.  이 때, 제3 사용자 단말(330)은, 모방품으로 판단 또는 의심되는 특정 실제 제품에 대하여 모방품신고정보를 입력하여 신고를 수행하는 단말로서, 이 때 그 대상이 되는 특정 실제 제품은 모방품일 확률이 높으나, 정품의 식별 코드와 동일한 형상 및 내용의 식별 코드를 복제하여 부착하고 있는 경우 제1 사용자 단말 및/또는 제2 사용자 단말의 대상이 되는 특정 제품과는 동일성이 인정되는 별개의 실제 제품일 수 있다.  물론, 제1 사용자 단말, 제2 사용자 단말 및 제3 사용자 단말이 동일한 단말인 경우와, 상기 특정 제품이 하나의 특정 실제 제품만을 대상으로 하는 경우를 배제하는 것은 아니다.Referring to FIG. 5 , when counterfeit
그리고, 발명의 또 다른 일 예로서, 제k+1 정품 정보 제공 스테이지가 제n 정품 정보 제공 스테이지인 것으로 판단된 상태에서, 상술한 바와 같이 기설정된 트리거링 조건인 모방품신고정보(704)가 획득되어 정품 정보 제공 스테이지가 다시 상승해야 하는 경우, 이미 제n 정품 정보 그룹까지 참조된 상태이므로 추가적인 정품 정보 그룹인 제n+1 정품 정보 그룹이 생성될 수 있다.And, as another example of the invention, in a state where it is determined that the k+1 th genuine information providing stage is the n th genuine information providing stage, counterfeit
도 3b는 본 발명의 일 실시예에 따른, 특정 제품에 대응되는 n개의 정품 정보 그룹이 모두 참조된 상태에서 IP 권리자로부터 추가 정품 정보가 획득되어 제n+1 정품 정보 그룹이 생성되어 관리되는 데이터 구조를 개략적으로 나타내는 도면이다.3B is data in which additional genuine information is obtained from an IP right holder in a state in which n genuine information groups corresponding to a specific product are all referred to, and an n+1th genuine information group is created and managed according to an embodiment of the present invention. It is a schematic diagram of the structure.
도 3b를 참조하면, 구체적으로, 제k+1 정품 정보 제공 스테이지가 제n 정품 정보 제공 스테이지에 도달하여 그에 대응되는 제n 정품 정보 그룹까지 참조된 상태에서, 기설정된 트리거링 이벤트로서 모방품신고정보(704)가 획득되면, 순차정품제공서버(100)는, (i) 특정 제품에 대응되는 IP 권리자 단말(410)로 획득된 모방품신고정보를 제공하는 프로세스, 및 (ii) IP 권리자 단말(410)로 하여금, 상기 모방품신고정보에 대응되는 추가 정품 정보를 입력하도록 하는 프로세스를 수행할 수 있다. 참고로, IP 권리자 단말(410)은 위에서 제1 사용자 단말(310)에 대하여 설명한 바와 유사하게 다양한 단말이 채택되어 사용될 수 있으며, 그에 대한 자세한 설명은 생략한다.Referring to FIG. 3B, in detail, in a state in which the k+1 th genuine information providing stage reaches the n th genuine information providing stage and the corresponding n th genuine information group is referred to, as a preset triggering event, counterfeit product report information ( 704) is obtained, the sequential genuine
그 결과로서 IP 권리자 단말(410)로부터 적어도 하나의 추가 정품 정보(예를 들어, 모방품 대응 관련 정품 정보(621)로서, 신고된 모방품과 정품의 차이에 대한 정보 등)가 획득되면, 이를 제n+1 정품 정보 그룹(600-(n+1))으로서 데이터베이스(200)에 추가하고, 제n+1 정품 정보 그룹(600-(n+1))을 참조하여 순차정품정보제공서버(100)가 제k+1 판단근거정보를 생성할 수 있다.As a result, if at least one piece of additional genuine information (for example,
즉, IP 권리자가 제공하는 추가 정품 정보를 데이터베이스에 추가적인 정품 정보 그룹으로 저장하여 관리함으로써, 순차정품정보제공서버(100)에 의하여 제공되는 판단근거정보를 계속하여 업데이트하고 그 신뢰도를 제고할 수 있다.That is, by storing and managing the additional authenticity information provided by the IP right holder as an additional genuineness information group in the database, the judgment basis information provided by the sequential genuine
다음으로, 발명의 다른 일 예로서, 상술한 바와 같이 모방품신고정보(704)가 획득된 경우, 순차정품정보제공서버(100)는 (1) (i) 획득된 모방품신고정보에 대한 제1 신뢰도평가정보를 소정의 알고리즘을 사용하여 직접 생성하거나, (ii) IP 권리자 단말(410)로 하여금 상기모방품신고정보에 대한 제2 신뢰도평가정보를 생성하도록 하는 프로세스를 수행할 수 있다.  이 때, 순차정품정보제공서버(100)가 직접 제1 신뢰도평가정보를 생성하는 경우 사용될 수 있는 알고리즘은 발명의 실시 조건에 따라 다양하게 선택되어 사용될 수 있으며, 그 일 예로서, 머신러닝을 바탕으로 이미지상에서 오브젝트를 검출하는 오브젝트 디텍션 알고리즘 등을 사용하여 모방품신고정보에 포함된 증거 정보로서의 이미지에서 모방품을 검출하고, 이를 정품과 비교하여 그 유사도를 상기 제1 신뢰도평가결과로서 생성할 수 있다.  또한, 순차정품정보제공서버(100)는, 제2 사용자 단말(320)으로 하여금 신뢰도 평가에 필요한 정보를 사용자로부터 입력받거나 순차정품정보제공서버(100)로부터 전송하여 제2 신뢰도평가결과를 생성하도록 하는 프로세스를 수행할 수 있다.  이와 같이 생성된 제1 신뢰도평가결과 및/또는 제2 신뢰도평가결과를 참조하여 순차정품정보제공서버(100)는 획득된 모방품신고정보를 관리할 수 있을 것인데, 예를 들어, 낮은 신뢰도평가결과를 가지는 모방품신고정보를 소정의 횟수 이상 반복적으로 제공한 특정 신고 사용자 및 특정 사용자 단말에 대해서는 그로부터 획득된 모방품신고정보를 신뢰할 수 없는 정보로 자동으로 분류되게 할 수 있다.Next, as another example of the invention, when the counterfeit
그리고, 순차정품정보제공서버(100)는, 획득된 모방품신고정보(704)에 대하여 IP 권리자 단말(410) 또는 IP 권리와 관련된 기관(500)으로부터 해당 신고를 처리한 처리결과정보를 획득하도록 하는 프로세스를 수행할 수 있는데, 다시 도 2를 참조하면, 순차정품정보제공서버(100)는 IP 권리자 단말(410)로부터 IP 권리자가 입력한 처리결과정보를 획득할 수도 있으나, IP 권리와 관련된 특허청(510), 중소벤처기업부(520) 및 관세청(530) 등의 국가기관(500)과 직접 연결되어 모방품신고정보(704)를 처리한 처리결과정보를 획득할 수도 있다.In addition, the sequential genuine
상술한 바와 같은 과정을 거쳐 상기 제1 신뢰도평가정보, 상기 제2 신뢰도평가정보 및 상기 처리결과정보 중 적어도 하나가 획득되면, 순차정품정보제공서버(100)는, 이를 제1 사용자 단말(310), 제2 사용자 단말(320), 상기 제3 사용자 단말(330) 및 IP 권리자 단말(410) 중 적어도 일부로 전송할 수 있다.When at least one of the first reliability evaluation information, the second reliability evaluation information, and the processing result information is obtained through the above-described process, the sequential genuine
다음으로, 발명의 다른 일 예로서, 도 6a에는 사용자 단말에 포함된 카메라 모듈을 사용하여 특정 제품의 프리뷰 이미지가 디스플레이 됨과 함께, 해당 시점의 정품 정보 제공 스테이지에 대응되는 판단근거정보에 포함된 특정 정품 이미지 정보가 오버랩(overlap)되어 표시되는 모습을 개략적으로 나타내는 도면이 도시되어 있다.Next, as another example of the invention, in FIG. 6A, a preview image of a specific product is displayed using a camera module included in the user terminal, and specific information included in the basis for determination information corresponding to the authenticity information providing stage at that time. A diagram schematically showing how authentic image information is overlapped and displayed is shown.
도 6a를 참조하면, 특정 제품에 대응되는 특정 정품 이미지 정보(710)가 제k 판단근거정보에 포함되어 제1 사용자 단말(310)에 제공되는 경우, 순차정품정보제공서버(100)는 제1 사용자 단말(310)로 하여금 그에 탑재된 카메라 모듈을 사용하여 특정 제품의 제1 프리뷰 이미지(740-1)가 디스플레이되면 해당 제1 프리뷰 이미지(740-1)에 특정 정품 이미지 정보(710)가 오버랩(overlap)되어 표시될 수 있도록 지원할 수 있다. 이를 통하여, 제1 사용자 단말의 사용자는 특정 정품 이미지 정보(710)와 제1 프리뷰 이미지(740-1) 각각을 동시에 비교할 수 있으며, 프리뷰 이미지가 실시간으로 계속하여 획득되는 경우에는, 이를 특정 정품 이미지 정보(710)와 실시간으로 비교하는 것도 가능할 것이다.  이는, 제k 정품 제공 스테이지가 제k+1 정품 제공 스테이지로 상승했을 때, 제2 사용자 단말(320)에서 디스플레이되는 특정 정품 이미지 및 제2 프리뷰 이미지에 대해서도 유사한 방식으로 이루어질 수 있으며, 이에 대한 자세한 설명은 생략하도록 한다.Referring to FIG. 6A, when specific
다음으로, 발명의 다른 일 예로서, 도 6b에는 특정 정품 이미지 정보에 포함된 정품의 일부분인 소정의 부분영역에 대한 스케일 정보를 참조하여, 그에 대응되는 특정 부분영역이 특정 제품의 프리뷰 이미지에서 선택되면 해당 프리뷰 이미지의 크기를 조절함으로써, 같은 스케일로 특정 정품 이미지 정보와 프리뷰 이미지 각각에서 서로 대응되는 특정 부분영역을 비교할 수 있도록 하는 방법이 개략적으로 도시되어 있다.Next, as another example of the invention, in FIG. 6B , a specific partial region corresponding to the scale information of a predetermined partial region included in the specific genuine image information is selected from the preview image of the specific product A method for comparing specific genuine image information and specific partial regions corresponding to each other in each preview image on the same scale by adjusting the size of the corresponding preview image is schematically illustrated.
도 6b를 참조하면, 특정 정품 이미지 정보(710)는, 그에 포함된 정품의 일부분에 해당되는 적어도 하나의 소정의 부분영역 각각에 대한 스케일(scale) 정보를 포함하고 있을 수 있는데, 도 6b는 인형의 안경에 해당되는 소정의 부분 영역(711)에 대하여, 해당 부분 영역에 해당되는 원본 이미지 크기에 대응되는 스케일 정보를 추가로 포함하고 있는 경우를 상정하고 있다.Referring to FIG. 6B, the specific
예를 들어, 특정 정품 이미지 정보에서 안경에 해당되는 상기 소정의 부분 영역(711)에 대한 가로 및 세로 픽셀 크기를 기준 크기로 하여 스케일이 정해질 수 있으며, 더 구체적으로, 실제 안경의 물리적 길이가 위 소정의 부분 영역(711)의 픽셀 사이즈와 대응되도록 하여 스케일이 정해질 수도 있다.For example, the scale may be determined using the horizontal and vertical pixel sizes of the predetermined
상술한 바와 같은 스케일 정보를 참조하여, 순차정품정보제공서버(100)는, 제1 프리뷰 이미지(740-1)에서 상기 특정 제품에 대응되어 특정 부분영역(741-1)이 선택되면, 상기 제1 사용자 단말로 하여금 상기 특정 정품 이미지 정보에서 그에 대응되는 특정 스케일에 대한 정보를 참조하여 제1 프리뷰 이미지(740-1)의 크기를 조절하도록 할 수 있다.Referring to the above-described scale information, the sequential genuine
그렇게 하여, 제1 프리뷰 이미지의 크기가 조절되어 변형된 제1 프리뷰 이미지(740-2)가 제1 사용자 단말(310)에 디스플레이될 수 있고, 이 때 변형된 제1 프리뷰 이미지(740-2)의 안경에 해당되는 특정 부분 영역(741-2)은 특정 정품 이미지의 안경에 해당되는 상기 소정의 부분 영역(711)과 대응되도록 그 크기가 조절된 상태에서 상기 특정 정품 이미지 정보와 오버랩되어 디스플레이될 수 있으므로, 순차정품정보제공서버(100)는 제1 사용자 단말(310)로 하여금 특정 제품의 안경 부분을 정품 이미지 정보와 더 용이하게 비교가 가능하도록 할 수 있다.  이는, 제k 정품 제공 스테이지가 제k+1 정품 제공 스테이지로 상승했을 때, 제2 사용자 단말에서 디스플레이되는 특정 정품 이미지 및 제2 프리뷰 이미지에 대해서도 유사한 방식으로 이루어질 수 있으며, 이에 대한 자세한 설명은 생략하도록 한다.In this way, the size of the first preview image is adjusted so that the modified first preview image 740-2 can be displayed on the
이상 설명된 본 발명에 따른 실시예들은 다양한 컴퓨터 구성요소를 통하여 수행될 수 있는 프로그램 명령어의 형태로 구현되어 컴퓨터 판독 가능한 기록 매체에 기록될 수 있다. 상기 컴퓨터 판독 가능한 기록 매체는 프로그램 명령어, 데이터 파일, 데이터 구조 등을 단독으로 또는 조합하여 포함할 수 있다. 상기 컴퓨터 판독 가능한 기록 매체에 기록되는 프로그램 명령어는 본 발명을 위하여 특별히 설계되고 구성된 것들이거나 컴퓨터 소프트웨어 분야의 당업자에게 공지되어 사용 가능한 것일 수도 있다. 컴퓨터 판독 가능한 기록 매체의 예에는, 하드 디스크, 플로피 디스크 및 자기 테이프와 같은 자기 매체, CD-ROM, DVD와 같은 광기록 매체, 플롭티컬 디스크(floptical disk)와 같은 자기-광 매체(magneto-optical media), 및 ROM, RAM, 플래시 메모리 등과 같은 프로그램 명령어를 저장하고 수행하도록 특별히 구성된 하드웨어 장치가 포함된다. 프로그램 명령어의 예에는, 컴파일러에 의해 만들어지는 것과 같은 기계어 코드뿐만 아니라 인터프리터 등을 사용해서 컴퓨터에 의해서 실행될 수 있는 고급 언어 코드도 포함된다. 상기 하드웨어 장치는 본 발명에 따른 처리를 수행하기 위해 하나 이상의 소프트웨어 모듈로서 작동하도록 구성될 수 있으며, 그 역도 마찬가지이다.Embodiments according to the present invention described above may be implemented in the form of program instructions that can be executed through various computer components and recorded on a computer-readable recording medium. The computer readable recording medium may include program instructions, data files, data structures, etc. alone or in combination. Program instructions recorded on the computer-readable recording medium may be specially designed and configured for the present invention, or may be known and usable to those skilled in the art of computer software. Examples of computer-readable recording media include magnetic media such as hard disks, floppy disks and magnetic tapes, optical recording media such as CD-ROMs and DVDs, and magneto-optical media such as floptical disks. media), and hardware devices specially configured to store and execute program instructions, such as ROM, RAM, flash memory, and the like. Examples of program instructions include high-level language codes that can be executed by a computer using an interpreter or the like as well as machine language codes such as those produced by a compiler. The hardware device may be configured to act as one or more software modules to perform processing according to the present invention and vice versa.
이상에서 본 발명이 구체적인 구성요소 등과 같은 특정 사항들과 한정된 실시예 및 도면에 의해 설명되었으나, 이는 본 발명의 보다 전반적인 이해를 돕기 위해서 제공된 것일 뿐, 본 발명이 상기 실시예들에 한정되는 것은 아니며, 본 발명이 속하는 기술분야에서 통상적인 지식을 가진 자라면 이러한 기재로부터 다양한 수정 및 변형을 꾀할 수 있다.In the above, the present invention has been described by specific details such as specific components and limited embodiments and drawings, but these are provided to help a more general understanding of the present invention, and the present invention is not limited to the above embodiments. , Those skilled in the art to which the present invention pertains may seek various modifications and variations from these descriptions.
따라서, 본 발명의 사상은 상기 설명된 실시예에 국한되어 정해져서는 아니 되며, 후술하는 특허청구범위뿐만 아니라 이 특허청구범위와 균등하게 또는 등가적으로 변형된 모든 것들은 본 발명의 사상의 범주에 속한다고 할 것이다.Therefore, the spirit of the present invention should not be limited to the above-described embodiments, and not only the claims described later, but also all modifications equivalent or equivalent to these claims belong to the scope of the spirit of the present invention. will do it
10 : 식별코드100 : 순차정품정보제공서버
110 : 메모리120 : 프로세서
200 : 데이터베이스300 : 사용자 단말
400 : IP 권리자 단말500 : IP 권리 관련 기관
600-1, 601-2,..., 601-n : 제1 내지 제n 정품 정보 그룹
610: 정품 정보 제공 스테이지620 : 정품 정보
630 : 데이터베이스상 IP 정보701 : 제1 판단근거정보
702 : 제2 판단근거정보703 : 사용자에게 제공된 IP 정보
704 : 모방품신고정보710 : 제1 정품 정보
711 : 스케일 정보를 포함하는 정품 소정 부분(안경)
720 : 제2 정품 정보730 : 모방품 증거 정보
740-1 : 원본 모방품 정보
740-2 : 스케일 대응되어 변형된 모방품 정보
741-1 : 모방품 소정 부분 영역(안경)
741-2 : 스케일 대응된 모방품 소정 부분 영역(안경)10: identification code 100: sequential genuine information providing server
 110: memory 120: processor
 200: database 300: user terminal
 400: IP Right Holder Terminal 500: IP Rights Related Organization
 600-1, 601-2,..., 601-n: 1st to nth genuine information groups
 610: Provision of Genuine Information Stage 620: Genuine Information
 630: IP information on the database 701: first judgment basis information
 702: second judgment basis information 703: IP information provided to the user
 704: counterfeit product report information 710: first genuine product information
 711: Genuine predetermined part (glasses) including scale information
 720: second genuine information 730: counterfeit evidence information
 740-1: Information on original imitations
 740-2: Information on counterfeit products that have been deformed in response to scale
 741-1: Imitation product predetermined partial area (glasses)
 741-2: predetermined partial area of imitation product corresponding to scale (glasses)
| Application Number | Priority Date | Filing Date | Title | 
|---|---|---|---|
| KR1020200102194AKR102471675B1 (en) | 2020-08-14 | 2020-08-14 | Method for providing information for judgement whether specific product is genuine by using groups of genuine information corresponding to specific product sequentially based on predetermined identification code, and sever using the same | 
| Application Number | Priority Date | Filing Date | Title | 
|---|---|---|---|
| KR1020200102194AKR102471675B1 (en) | 2020-08-14 | 2020-08-14 | Method for providing information for judgement whether specific product is genuine by using groups of genuine information corresponding to specific product sequentially based on predetermined identification code, and sever using the same | 
| Publication Number | Publication Date | 
|---|---|
| KR20220021534A KR20220021534A (en) | 2022-02-22 | 
| KR102471675B1true KR102471675B1 (en) | 2022-11-29 | 
| Application Number | Title | Priority Date | Filing Date | 
|---|---|---|---|
| KR1020200102194AActiveKR102471675B1 (en) | 2020-08-14 | 2020-08-14 | Method for providing information for judgement whether specific product is genuine by using groups of genuine information corresponding to specific product sequentially based on predetermined identification code, and sever using the same | 
| Country | Link | 
|---|---|
| KR (1) | KR102471675B1 (en) | 
| Publication number | Priority date | Publication date | Assignee | Title | 
|---|---|---|---|---|
| JP2004213629A (en)* | 2002-12-17 | 2004-07-29 | Canon Inc | Information processing apparatus, information processing system, information processing method, and storage medium | 
| WO2018143059A1 (en)* | 2017-01-31 | 2018-08-09 | 日本ゼオン株式会社 | Authenticity inquiry server, authenticity inquiry system, authenticity inquiry method, and authenticity inquiry program | 
| Publication number | Priority date | Publication date | Assignee | Title | 
|---|---|---|---|---|
| JP2004213629A (en)* | 2002-12-17 | 2004-07-29 | Canon Inc | Information processing apparatus, information processing system, information processing method, and storage medium | 
| WO2018143059A1 (en)* | 2017-01-31 | 2018-08-09 | 日本ゼオン株式会社 | Authenticity inquiry server, authenticity inquiry system, authenticity inquiry method, and authenticity inquiry program | 
| Publication number | Publication date | 
|---|---|
| KR20220021534A (en) | 2022-02-22 | 
| Publication | Publication Date | Title | 
|---|---|---|
| AU2019295815B2 (en) | Blockchain-based data verification method and apparatus, and electronic device | |
| EP3476092B1 (en) | Automation of image validation | |
| CN107665432A (en) | The system and method that suspicious user behavior is identified in the interacting of user and various bank services | |
| CN105023161B (en) | A kind of antifake method for products and its corresponding product anti-fake system | |
| CN111429145A (en) | Risk control method, device and electronic device for electronic transaction | |
| JP2019502192A (en) | Method and device for application information risk management | |
| CN105431867A (en) | Extracting card data using card art | |
| EP3469537A1 (en) | Methods and systems for processing and displaying review data based on one or more stored relationship associations and one or more rule sets | |
| CN111275416B (en) | Digital currency abnormal transaction detection method, device, electronic equipment and medium | |
| CN110955659A (en) | Method and system for processing data table | |
| CN113610545A (en) | Product anti-counterfeiting method, system, device and storage medium | |
| CN114240551A (en) | Virtual special effect display method and device, computer equipment and storage medium | |
| EP4109307A1 (en) | Account authentication using synthetic merchants | |
| KR102471675B1 (en) | Method for providing information for judgement whether specific product is genuine by using groups of genuine information corresponding to specific product sequentially based on predetermined identification code, and sever using the same | |
| CN114219401A (en) | Method, device, equipment, medium and program product for entering commodity information | |
| CN113111734A (en) | Watermark classification model training method and device | |
| CN112200711A (en) | Training method and system of watermark classification model | |
| KR102462657B1 (en) | Used luxury products trading platform service server for managing used luxury products trading platform service, and the operating method thereof | |
| NL2031940A (en) | Method and device for clustering phishing web resources based on visual content image | |
| CN112819486A (en) | Method and system for identity certification | |
| CN111723357A (en) | Login verification method and device | |
| CN117056273A (en) | System and method for improving computer identification | |
| CN113489742A (en) | Login method based on block chain and related product | |
| JP2024002664A (en) | Detecting device, detecting method, detecting program, machine learning device, machine learning method, and machine learning model | |
| HK40047899A (en) | Blockchain-based data verification method and apparatus, and electronic device | 
| Date | Code | Title | Description | 
|---|---|---|---|
| PA0109 | Patent application | St.27 status event code:A-0-1-A10-A12-nap-PA0109 | |
| PA0201 | Request for examination | St.27 status event code:A-1-2-D10-D11-exm-PA0201 | |
| D13-X000 | Search requested | St.27 status event code:A-1-2-D10-D13-srh-X000 | |
| D14-X000 | Search report completed | St.27 status event code:A-1-2-D10-D14-srh-X000 | |
| PG1501 | Laying open of application | St.27 status event code:A-1-1-Q10-Q12-nap-PG1501 | |
| E902 | Notification of reason for refusal | ||
| PE0902 | Notice of grounds for rejection | St.27 status event code:A-1-2-D10-D21-exm-PE0902 | |
| T11-X000 | Administrative time limit extension requested | St.27 status event code:U-3-3-T10-T11-oth-X000 | |
| E13-X000 | Pre-grant limitation requested | St.27 status event code:A-2-3-E10-E13-lim-X000 | |
| P11-X000 | Amendment of application requested | St.27 status event code:A-2-2-P10-P11-nap-X000 | |
| P13-X000 | Application amended | St.27 status event code:A-2-2-P10-P13-nap-X000 | |
| E701 | Decision to grant or registration of patent right | ||
| PE0701 | Decision of registration | St.27 status event code:A-1-2-D10-D22-exm-PE0701 | |
| GRNT | Written decision to grant | ||
| PR0701 | Registration of establishment | St.27 status event code:A-2-4-F10-F11-exm-PR0701 | |
| PR1002 | Payment of registration fee | St.27 status event code:A-2-2-U10-U11-oth-PR1002 Fee payment year number:1 | |
| PG1601 | Publication of registration | St.27 status event code:A-4-4-Q10-Q13-nap-PG1601 | |
| P22-X000 | Classification modified | St.27 status event code:A-4-4-P10-P22-nap-X000 | |
| PR1001 | Payment of annual fee | St.27 status event code:A-4-4-U10-U11-oth-PR1001 Fee payment year number:4 |