










본 발명은 수밀성은 물론 기밀성이 향상된 상태를 유지할 수 있음은 물론 각도조절이 용이하고, 나아가, 압력손실없이 균일한 고압공기를 공급할 수 있어 혼합된 상태로 외부로 분사되는 액체와 고압공기의 미립화 및 혼합효율이 매우 우수해질 수 있을 뿐만 아니라 구조가 단순하여 제조원가가 크게 절감될 수 있는 구조가 단순한 미세분무노즐 및 이를 구비한 소독장치에 관한 것이다.The present invention can maintain a state of improved watertightness as well as airtightness, as well as easy angle adjustment, and furthermore, it is possible to supply uniform high-pressure air without pressure loss, so that the liquid and high-pressure air sprayed to the outside in a mixed state can be atomized and The present invention relates to a fine spray nozzle having a simple structure, which can greatly reduce manufacturing cost due to a simple structure as well as excellent mixing efficiency, and a disinfection device having the same.
일반적으로, 액체와 기체를 혼합하여 분무하는 이류체 노즐은 이들을 노즐 내부에서 혼합하는 내부 혼합식 분무 노즐과 노즐 외부에서 혼합하는 외부 혼합식 분무 노즐로 나눌 수 있다.In general, a two-fluid nozzle for mixing and spraying liquid and gas can be divided into an internal mixing type spray nozzle that mixes them inside the nozzle, and an external mixing type spray nozzle that mixes them outside the nozzle.
외부 혼합식 이류체 노즐은 액체와 기체의 흐름을 독립적으로 제어할 수 있어 분무입자의 크기, 스프레이 분포 등을 조절하기가 용이하며, 특히 페인트, 코팅액, 염색제, 윤활유, 냉각제, 이형제 등과 같은 고점도의 액체 분무 등의 분무에 효과적이어서, 페인팅, 코팅, 냉각, 윤활 등에 많이 활용되고 있다.The external mixed air nozzle can control the flow of liquid and gas independently, so it is easy to control the size of spray particles and spray distribution. Since it is effective in spraying liquids, it is widely used in painting, coating, cooling, and lubrication.
이러한 외부 혼합식 분무 노즐은 예컨대, 코팅이나 페인팅 분야에 적용될 때, 액체를 균일하고 미세하게 분무하여야 코팅막이나 페인팅 막의 두께가 균일하게 형성되고 코팅막이 치밀하게 형성될 수 있으며, 분무 거리 및 분무 범위가 클수록 많은 면적을 코팅할 수 있어 코팅이나 도장 효율이 향상될 수 있다.Such external mixing type spray nozzles, for example, when applied to coating or painting fields, must spray the liquid uniformly and finely so that the thickness of the coating or painting film is uniformly formed and the coating film can be densely formed, and the spray distance and spray range are The larger it is, the larger the area can be coated, so coating or painting efficiency can be improved.
최근에는 에어혼을 사용하지 않고도 종래보다 감소된 패턴 형성용 에어로 원하는 분무 패턴을 달성하고 균일한 분무를 달성하는 이류체 미세분무 노즐이 국내등록특허공보 등록번호 제10-2216589호로 제안된 바 있으나, 구조가 복잡하여 제조원가가 상승하는 문제점이 있다.Recently, a two-fluid atomizing nozzle that achieves a desired spray pattern and achieves uniform spraying with reduced pattern forming air without using an air horn has recently been proposed as Korean Patent Publication No. 10-2216589, but the structure There is a problem in that the manufacturing cost increases due to the complexity.
본 발명은 상술한 문제점을 해결하기 위하여 창출된 것으로서, 수밀성은 물론 기밀성이 향상된 상태를 유지할 수 있음은 물론 각도조절이 용이하고, 나아가, 압력손실없이 균일한 고압공기를 공급할 수 있어 혼합된 상태로 외부로 분사되는 액체와 고압공기의 미립화 및 혼합효율이 매우 우수해질 수 있을 뿐만 아니라 구조가 단순하여 제조원가가 크게 절감될 수 있는 구조가 단순한 미세분무노즐 및 이를 구비한 소독장치를 제공하는 것을 그 목적으로 한다.The present invention was created to solve the above problems, and it is possible to maintain the improved state of watertightness as well as airtightness, as well as easy angle adjustment, and furthermore, it is possible to supply uniform high-pressure air without pressure loss, so that it is a mixed state. It is an object of the present invention to provide a simple micro-spray nozzle and a disinfection device having the same structure, which can greatly reduce the manufacturing cost due to the simple structure, as well as the atomization and mixing efficiency of the liquid and high-pressure air sprayed to the outside can be very excellent do it with
상기와 같은 목적을 달성하기 위한 본 발명은 일단면의 중앙부에 형성되는 체결홈과, 상기 체결홈의 바닥면의 중앙부에 형성되는 보조홈과, 중간부의 외주면에 길이방향의 축선과 직교하는 방향으로 형성되는 액체 유입구와, 상기 보조홈의 바닥면에 축선을 따라 상기 액체 유입구와 연통형성되는 액체 유로와, 타단부에 형성되어 고압공기가 유입되는 고압공기 유입구와, 상기 보조홈의 외측인 상기 체결홈의 바닥면의 가장자리에 상기 고압공기 유입구와 연통형성되는 복수의 고압공기 유로가 구비되는 노즐몸체와; 중앙에 액체 안내공이 형성되는 가이드몸체와, 상기 가이드몸체의 일측부에 돌출형성되고 일정한 간격으로 복수의 공기 안내공이 형성되는 환형 돌출부가 구비되고, 상기 가이드몸체의 액체 안내공이 기밀을 유지한 상태로 상기 노즐몸체의 액체 유로의 출구와 연통되도록 타단부가 상기 보조홈에 삽입고정되는 가이드부재와; 중앙에 분사공이 형성되고, 상기 분사공의 입구 내에 상기 가이드부재의 가이드몸체의 일단부가 상기 분사공의 내주면과 일정간격을 유지한 상태로 삽입되는 노즐팁과; 상기 노즐팁의 타측이 수용되는 수용공이 내측에 형성되고, 상기 노즐팁의 일측이 일측 외부방향으로 노출되며, 타측이 상기 노즐몸체의 체결홈에 체결고정되는 고정부재;를 포함하여 이루어지는 것을 특징으로 하는 구조가 단순한 미세분무노즐을 제공한다.The present invention for achieving the above object is a fastening groove formed in the central part of one end surface, an auxiliary groove formed in the central part of the bottom surface of the fastening groove, and an outer peripheral surface of the middle part in a direction orthogonal to the longitudinal axis. A liquid inlet formed on the bottom surface of the auxiliary groove along an axis line and a liquid flow path formed in communication with the liquid inlet, a high-pressure air inlet formed at the other end and into which high-pressure air flows, and the fastening that is outside the auxiliary groove a nozzle body provided with a plurality of high-pressure air passages formed in communication with the high-pressure air inlet at an edge of the bottom surface of the groove; A guide body having a liquid guide hole formed in the center thereof, an annular protrusion protruding from one side of the guide body and having a plurality of air guide holes formed at regular intervals are provided, and the liquid guide hole of the guide body is airtightly maintained. a guide member whose other end is inserted and fixed into the auxiliary groove so as to communicate with the outlet of the liquid passage of the nozzle body; a nozzle tip having an injection hole formed in the center, and one end of the guide body of the guide member being inserted into an inlet of the injection hole while maintaining a predetermined distance from the inner circumferential surface of the injection hole; A receiving hole for receiving the other side of the nozzle tip is formed on the inside, one side of the nozzle tip is exposed to one side outward, and the other side is a fixing member fastened to the fastening groove of the nozzle body; characterized by comprising: It provides a fine atomizing nozzle with a simple structure.
여기서, 상기 노즐몸체의 액체 유로의 출구에 상기 노즐몸체의 일단부에서 타단부 방향으로 갈수록 상기 액체 유로의 내측으로 경사지는 경사면이 형성되고, 상기 가이드몸체의 타단부에 상기 노즐몸체의 보조홈의 바닥면 방향으로 연장되어 상기 보조홈에 삽입되고, 중앙에 상기 가이드몸체의 액체 안내공과 연통되는 액체 유입공이 형성되며, 타측부 외주면에 상기 가이드몸체의 일측부에서 상기 가이드몸체의 타측부방향으로 갈수록 상기 가이드몸체의 내측으로 경사지는 경사면이 형성되는 삽입부재가 형성되는 것이 바람직하다.Here, at the outlet of the liquid flow path of the nozzle body, an inclined surface inclined toward the inside of the liquid flow path from one end of the nozzle body toward the other end is formed, and at the other end of the guide body, the auxiliary groove of the nozzle body is formed. It extends in the direction of the bottom surface and is inserted into the auxiliary groove, a liquid inlet hole communicating with the liquid guide hole of the guide body is formed in the center, and on the outer peripheral surface of the other side, from one side of the guide body to the other side of the guide body It is preferable that an insertion member having an inclined surface inclined inwardly of the guide body is formed.
그리고, 상기 가이드부재의 가이드몸체의 환형 돌출부와 인접한 상기 가이드몸체의 타측부 부위에 환형턱이 돌출형성되고, 상기 환형턱과 상기 보조홈의 바닥면 사이에 상기 삽입부재를 내측에 수용한 상태로 상기 보조홈의 바닥면 방향으로 압착고정되는 기밀유지부재가 구비되는 것이 바람직하다.Then, an annular protrusion is formed on the other side of the guide body adjacent to the annular protrusion of the guide body of the guide member, and the insertion member is accommodated inside the annular protrusion between the annular protrusion and the bottom surface of the auxiliary groove. It is preferable that an airtight retaining member fixed by pressing in the direction of the bottom surface of the auxiliary groove is provided.
또한, 상기 가이드몸체의 환형턱의 외경크기는 상기 노즐몸체의 어느 하나의 고압공기 유로와 어느 하나의 고압공기의 맞은편의 다른 하나의 고압공기 유로 사이의 이격거리보다 작게 형성되는 것이 바람직하다.In addition, the outer diameter of the annular jaw of the guide body is preferably formed to be smaller than the separation distance between any one of the high-pressure air passages of the nozzle body and the other high-pressure air passages opposite to any one of the high-pressure air passages.
나아가, 상기 가이드몸체의 환형턱의 타측 외주면에 상기 환형턱의 일측에서 타측방향으로 갈수록 상기 가이드몸체의 타측부 방향으로 경사지는 경사면이 형성되는 것이 바람직하다.Furthermore, it is preferable that an inclined surface inclined toward the other side of the guide body is formed on the outer peripheral surface of the other side of the annular jaw of the guide body from one side of the annular jaw toward the other side.
더불어, 상기 가이드몸체의 일단부에 상기 노즐팁의 분사공의 입구방향으로 일정길이로 돌출되어 상기 노즐팁의 분사공의 입구 내에 삽입되고, 외주면에 상기 가이드몸체의 일단부에서 상기 노즐팁의 분사공의 입구방향으로 갈수록 상기 분사공의 입구 내측 방향으로 경사지는 경사면이 형성되며, 중앙에 상기 가이드몸체의 액체 안내공과 연통되는 액체 배출공이 형성되는 돌출부재가 형성되고, 상기 돌출부재의 일단부에 상기 노즐팁의 분사공 방향으로 일정길이로 연장되어 상기 노즐팁의 분사공의 입구를 통과하여 상기 노즐팁의 분사공에 삽입되고, 중앙에 상기 돌출부재의 액체 배출공과 연통되는 액체 배출공이 형성되는 연장부재가 형성되며, 상기 돌출부재와 상기 연장부재가 상기 노즐팁의 분사공의 내면과 일정간격을 유지하는 것이 바람직하다.In addition, one end of the guide body protrudes for a predetermined length in the direction of the inlet of the nozzle tip and is inserted into the inlet of the nozzle tip, and the nozzle tip is split from one end of the guide body on the outer circumferential surface. A protruding member having a liquid discharge hole communicating with the liquid guide hole of the guide body is formed in the center of the protruding member is formed, and an inclined surface inclined toward the inside of the inlet of the spray hole is formed as it goes toward the inlet of the hole, and at one end of the projecting member, the The extension is extended by a certain length in the direction of the injection hole of the nozzle tip, passes through the inlet of the injection hole of the nozzle tip, is inserted into the injection hole of the nozzle tip, and a liquid discharge hole communicating with the liquid discharge hole of the protruding member is formed in the center A member is formed, and it is preferable that the protrusion member and the extension member maintain a predetermined distance from the inner surface of the injection hole of the nozzle tip.
아울러, 상기 연장부재의 외주면에 사선방향으로 경사지는 경사 안내홈이 형성되는 것이 바람직하다.In addition, it is preferable that an inclined guide groove inclined in an oblique direction is formed on the outer circumferential surface of the extension member.
또한, 상기 가이드부재의 환형 돌출부에 복수의 상기 공기 안내공이 사선방향으로 경사진 상태로 일정한 간격으로 형성되는 것이 바람직하다.In addition, it is preferable that a plurality of the air guide holes are formed at regular intervals in an obliquely inclined state in the annular protrusion of the guide member.
그리고, 상기 가이드부재의 환형 돌출부의 일측에 형성되고, 상기 환형 돌출부의 복수의 공기 안내공과 연통되는 복수의 공기 안내공이 일정한 간격으로 형성되는 삽입돌출부가 형성되고, 상기 노즐팁의 타측 내부에 상기 분사공과 연통 및 상기 삽입돌출부가 삽입되는 삽입홈이 형성되는 것이 바람직하다.And, an insertion protrusion is formed on one side of the annular protrusion of the guide member, and a plurality of air guide holes communicating with the plurality of air guide holes of the annular protrusion are formed at regular intervals are formed, and the injection is inside the other side of the nozzle tip. It is preferable that an insertion groove communicating with the ball and inserting the insertion protrusion is formed.
또한, 상기 노즐팁은 중앙에 상기 분사공이 형성되고, 일측에 상기 분사공과 연통되는 분사홈이 형성되는 몸체와; 상기 몸체의 타단부에 형성되고, 내측에 상기 분사공과 연통되는 삽입홈이 형성되는 링부재;를 포함하여 구성되는 것이 바람직하다.In addition, the nozzle tip includes a body in which the injection hole is formed in the center, and an injection groove communicating with the injection hole is formed on one side; It is preferably configured to include; a ring member formed at the other end of the body and having an insertion groove communicating with the injection hole therein.
나아가, 본 발명은 상기 구조가 단순한 미세분무노즐을 포함하여 이루어지는 것을 특징으로 하는 소독장치를 제공한다.Furthermore, the present invention provides a disinfection device characterized in that the structure comprises a simple fine spray nozzle.
본 발명은 가이드부재의 액체 안내공이 기밀을 유지한 상태로 노즐몸체의 액체 유로의 출구와 연통되도록 가이드부재의 타단부가 노즐몸체의 보조홈에 삽입고정됨에 따라 수밀성은 물론 기밀성이 향상된 상태를 유지할 수 있음은 물론 노즐팁의 각도조절이 용이하고, 나아가, 압력손실없이 균일한 고압공기를 공급할 수 있어 노즐팁을 통해 혼합된 상태로 외부로 분사되는 액체와 고압공기의 미립화 및 혼합효율이 매우 우수할 뿐만 아니라 구조가 단순하여 제조원가가 크게 절감될 수 있는 효과가 있다.The present invention maintains the improved state of watertightness as well as airtightness as the other end of the guide member is inserted and fixed into the auxiliary groove of the nozzle body so that the liquid guide hole of the guide member communicates with the outlet of the liquid flow path of the nozzle body while maintaining airtightness. Of course, it is easy to adjust the angle of the nozzle tip, and furthermore, it is possible to supply uniform high-pressure air without pressure loss, so the atomization and mixing efficiency of the liquid and high-pressure air sprayed to the outside in a mixed state through the nozzle tip is very good In addition, there is an effect that the manufacturing cost can be greatly reduced due to the simple structure.
도 1은 본 발명의 일실시예인 구조가 단순한 미세분무노즐을 개략적으로 나타내는 사시도이고,
도 2는 도 1의 분리사시도이고,
도 3은 도 1의 A - A선에 따른 결합확대단면도이고,
도 4는 도 3의 분리확대단면도이고,
도 5는 도 1의 B - B선에 따른 결합확대단면도이고,
도 6은 노즐몸체의 측면상태를 확대한 확대측면도이고,
도 7은 가이드부재의 연장부재의 외주면에 경사안내홈이 형성된 상태를 개략적으로 나타내는 확대사시도이고,
도 8은 도 7의 C - C 선에 따른 확대단면도이고,
도 9 및 도 10은 액체와 고압공기의 이동방향을 각각 개략적으로 나타내는 결합확대단면도이고,
도 11은 본 발명의 일실시예인 소독장치를 개략적으로 나타내는 사시도이다.1 is a perspective view schematically showing a fine spray nozzle having a simple structure, which is an embodiment of the present invention;
 Figure 2 is an exploded perspective view of Figure 1,
 3 is a combined enlarged cross-sectional view taken along line A - A of FIG. 1;
 Figure 4 is an enlarged separated cross-sectional view of Figure 3,
 5 is a combined enlarged cross-sectional view taken along the line B - B of FIG. 1;
 Figure 6 is an enlarged side view of the side state of the nozzle body,
 7 is an enlarged perspective view schematically showing a state in which an inclined guide groove is formed on the outer peripheral surface of the extension member of the guide member;
 8 is an enlarged cross-sectional view taken along the line C - C of FIG. 7;
 9 and 10 are combined enlarged cross-sectional views schematically showing the moving directions of liquid and high-pressure air, respectively;
 11 is a perspective view schematically showing a disinfection apparatus according to an embodiment of the present invention.
이하, 본 발명의 바람직한 실시예를 첨부한 도면에 의거하여 보다 상세하게 설명하면 다음과 같다. 물론 본 발명의 권리범위는 하기의 실시예에 한정되는 것은 아니며, 본 발명의 기술적 요지를 벗어나지 않는 범위 내에서 당해 기술분야의 통상적인 지식을 가진자에 의하여 다양하게 변형 실시될 수 있다.Hereinafter, preferred embodiments of the present invention will be described in more detail based on the accompanying drawings. Of course, the scope of the present invention is not limited to the following examples, and various modifications may be made by those of ordinary skill in the art without departing from the technical gist of the present invention.
도 1은 본 발명의 일실시예인 구조가 단순한 미세분무노즐을 개략적으로 나타내는 사시도이고, 도 2는 도 1의 분리사시도이다.1 is a perspective view schematically showing a fine spray nozzle having a simple structure, which is an embodiment of the present invention, and FIG. 2 is an exploded perspective view of FIG. 1 .
본 발명의 일실시예인 구조가 단순한 미세분무노즐은 도 1 및 도 2에서 보는 바와 같이 크게, 노즐몸체(10), 가이드부재(20), 노즐팁(30) 및 고정부재(40)를 포함하여 이루어진다.As shown in FIGS. 1 and 2 , the fine spray nozzle having a simple structure according to an embodiment of the present invention includes a
도 3은 도 1의 A - A선에 따른 결합확대단면도이고, 도 4는 도 3의 분리확대단면도이고, 도 5는 도 1의 B - B선에 따른 결합확대단면도이다.3 is an enlarged coupling cross-sectional view taken along line A - A of FIG. 1, FIG. 4 is an enlarged separation cross-sectional view of FIG. 3, and FIG. 5 is an enlarged coupling cross-sectional view taken along line B - B of FIG.
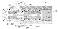
상기 노즐몸체(10)에는 도 3 내지 도 5에서 보는 바와 같이 체결홈(110), 보조홈(120), 액체 유입구(130), 액체 유로(140), 고압공기 유입구(150) 및 고압공기 유로(160)가 구비된다.The
상기 체결홈(110)은 도 4에서 보는 바와 같이 상기 노즐몸체(10)의 일단면의 중앙부 내부에 형성된다.The
상기 보조홈(120)은 도 4에서 보는 바와 같이 상기 체결홈(110)의 바닥면(G1)의 중앙부에 상기 체결홈(110)과 연통되도록 형성된다.As shown in FIG. 4 , the
상기 액체 유입구(130)는 도 4에서 보는 바와 같이 상기 노즐몸체(10)의 중간부의 외주면 상부에 길이방향의 축선(SL)과 직교하는 방향으로 형성된다.As shown in FIG. 4 , the
상기 액체 유로(140)는 도 4에서 보는 바와 같이 상기 보조홈(120)의 바닥면(G2)에 축선(SL)을 따라 상기 액체 유입구(130)와 연통형성된다.The
상기 고압공기 유입구(150)는 도 4에서 보는 바와 같이 상기 노즐몸체(10)의 타단부 중앙부 내부에 형성된다.The high-
에어컴프레셔, 블로워, 팬부재 등 다양한 종류로 이루어질 수 있는 고압공기 공급수단을 통해 상기 고압공기 유입구(150)로 고압공기가 유입될 수 있다.High-pressure air may be introduced into the high-
상기 고압공기 유로(160)는 도 4에서 보는 바와 같이 상기 보조홈(120)의 외측인 상기 체결홈(110)의 바닥면(G1)의 가장자리에 상기 체결홈(110)의 바닥면(G1)의 가장자리를 따라 방사형으로 일정간격으로 복수형성될 수 있다.As shown in FIG. 4 , the high-pressure
상기 고압공기 유로(160)는 상기 고압공기 유입구(150)와 연통된다.The high-pressure
다음으로, 상기 가이드부재(20)에는 도 4에서 보는 바와 같이 가이드몸체(210)와 환형 돌출부(220)가 구비된다.Next, the
상기 가이드몸체(210)의 내부 중앙에는 도 4에서 보는 바와 같이 상기 가이드몸체(210)의 일측에서 타측방향으로 일정길이로 수평연장되는 액체 안내공(211)이 형성된다.In the inner center of the
상기 환형 돌출부(220)는 상기 가이드몸체(210)와 직교를 이루도록 도 4에서 보는 바와 같이 상기 가이드몸체(210)의 일측부 외주면에 수직으로 돌출형성된다.The
상기 환형 돌출부(220)의 내측에는 도 4에서 보는 바와 같이 복수의 공기 안내공(221)이 상기 환형 돌출부(220)를 따라 일정한 간격으로 형성된다.As shown in FIG. 4 , a plurality of
상기 가이드몸체(210)의 액체 안내공(211)이 기밀을 유지한 상태로 상기 노즐몸체(10)의 액체 유로(140)의 일측의 출구와 연통되도록 상기 가이드부재(20)의 타단부에 형성되는 후술할 삽입부재(240)의 타단부가 상기 노즐몸체(10)의 보조홈(120)에 일정깊이로 삽입고정될 수 있다.Formed at the other end of the
다음으로, 상기 노즐팁(30)의 내부 중앙에는 도 4에서 보는 바와 같이 분사공(300)이 상기 노즐팁(30)의 일측에서 타측방향으로 일정길이로 수평연장형성된다.Next, in the inner center of the
상기 분사공(300)의 타측의 입구 내에 상기 가이드부재(20)의 가이드몸체(210)의 일단부에 형성되는 후술할 연장부재(260)가 상기 분사공(300)의 내주면과 일정간격을 유지한 상태로 삽입될 수 있다.An
상기 분사공(300)의 타측의 입구 내에 상기 연장부재(260)가 용이하게 삽입될 수 있도록 하기 위해, 상기 분사공(300)의 타측의 입구 내면에 환형형상의 경사면(301)이 형성될 수 있다.In order to allow the
환형형상의 상기 경사면(301)은 상기 분사공(300)의 타측에서 일측방향으로 갈수록 상기 분사공(300)이 내측방향으로 경사질 수 있다.In the annular shape of the
다음으로, 상기 고정부재(40)의 내측에는 도 4에서 보는 바와 같이 수용공(401)이 형성된다.Next, a receiving
상기 고정부재(40)의 수용공(401)에 상기 노즐팁(30)의 타측이 수용된다.The other side of the
상기 고정부재(40)의 일측 외부방향으로 상기 노즐팁(30)의 일측이 일정길이로 노출된다.One side of the
상기 고정부재(40)의 타측은 상기 노즐몸체(10)의 체결홈(110)에 나사결합 등 다양한 방식으로 체결고정될 수 있다.The other side of the fixing
다음으로, 도 4에서 보는 바와 같이 상기 노즐몸체(10)의 액체 유로(140)의 일측의 출구에 환형의 경사면(141)이 형성될 수 있다.Next, as shown in FIG. 4 , an annular
환형의 상기 경사면(141)은 상기 노즐몸체(10)의 일단부에서 타단부 방향으로 갈수록 상기 액체 유로(140)의 내측으로 경사질 수 있다.The annular
도 4에서 보는 바와 같이 상기 가이드몸체(210)의 타단부에 삽입부재(240)가 형성될 수 있다.As shown in FIG. 4 , an
상기 삽입부재(240)는 상기 상기 가이드몸체(210)의 타단부에서 상기 노즐몸체(10)의 보조홈(120) 방향으로 일정길이로 수평연장될 수 있다.The
상기 삽입부재(240)의 일단부의 반대측인 타단부는 상기 노즐몸체(10)의 보조홈(120)에 삽입될 수 있다.The other end opposite to one end of the
상기 삽입부재(240)의 내부 중앙에는 상기 가이드몸체(210)의 액체 안내공(211)과 연통되는 액체 유입공(241)이 상기 삽입부재(240)의 일측부에서 타측부방향으로 일정길이로 수평연장형성될 수 있다.In the inner center of the
상기 삽입부재(240)의 타측부의 외주면에 환형의 경사면(242)이 형성될 수 있다.An annular
환형의 상기 경사면(242)은 상기 가이드몸체(210)의 일측부에서 타측부방향으로 갈수록 상기 가이드몸체(210)의 내측으로 경사질 수 있다.The annular
다음으로, 상기 가이드부재(20)의 가이드몸체(210)의 환형 돌출부(220)와 인접한 상기 가이드몸체(210)의 타측부 외주면 부위에 상기 가이드몸체(210)와 직교를 이루는 환형턱(230)이 수직으로 돌출형성될 수 있다.Next, an
그리고, 상기 노즐몸체(10)의 액체 유로(140)를 통과하는 액체의 일부가 상기 노즐몸체(10)의 체결홈(110) 방향으로 누출되는 것을 방지 및 상기 노즐몸체(10)의 체결홈(110)을 통과하는 고압공기의 일부가 상기 노즐몸체(10)의 액체 유로(140) 방향으로 누출되는 것을 방지하여 수밀성과 기밀성을 향상시키기 위한 환형의 기밀유지부재(50)가 구비될 수 있다.And, to prevent a part of the liquid passing through the
환형의 상기 기밀유지부재(50)는 고무재질의 오링 등 다양한 재질로 이루어질 수 있다.The annular airtight holding
환형의 상기 기밀유지부재(50)의 내측에 상기 삽입부재(420)가 수용된 상태로 1개 또는 2개 이상의 환형의 상기 기밀유지부재(50)는 상기 환형턱(230)과 상기 노즐몸체(10)의 보조홈(120)의 바닥면(G2) 사이에 구비될 수 있다.One or two or more annular
상기 환형턱(230)은 환형의 상기 기밀유지부재(50)를 상기 노즐몸체(10)의 보조홈(120)의 바닥면(G2) 방향으로 가압할 수 있다.The
상기 환형턱(230)의 일측의 반대측인 타측 외주면에 환형의 경사면(232)가 형성될 수 있다.An annular
환형의 상기 경사면(232)은 상기 환형턱(230)의 일측에서 타측방향으로 갈수록 상기 가이드몸체(210)의 타측부 방향으로 경사질 수 있다.The annular
상기 노즐몸체(10)의 환형의 경사면(141)과 환형의 상기 기밀유지부재(50)의 타측 외면 사이의 틈새로 일부 유입될 수 있는 액체의 압력 및 상기 환형턱(230)의 환형의 경사면(232)과 환형의 상기 기밀유지부재(50)의 일측 외면 사이의 틈새로 일부 유입될 수 있는 고압공기의 압력에 의해 환형의 상기 기밀유지부재(50)가 1차적으로 안정적으로 위치고정될 수 있다.The pressure of the liquid that can be partially introduced into the gap between the annular
또한, 환형의 상기 기밀유지부재(50)는 상기 노즐몸체(10)의 보조홈(120)의 바닥면(G2)에 면접촉된 상태로 2차적으로 안정적으로 위치고정될 수 있다.In addition, the annular airtight holding
도 6은 노즐몸체의 측면상태를 확대한 확대측면도이다.6 is an enlarged side view of the side state of the nozzle body.
다음으로, 상기 노즐몸체(10)의 복수의 고압공기 유로(160)를 통과하여 상기 체결홈(110) 방향으로 유입되는 고압공기가 상기 환형턱(230)의 저항을 받지 않고 압력손실없이 상기 체결홈(110) 방향으로 유입될 수 있도록 하여 상기 체결홈(110)내에 균일한 고압공기 압력이 형성될 수 있도록 하면서 상기 체결홈(110)내에 형성된 균일한 고압공기 압력에 의해 상기 가이드부재(20)의 복수의 공기안내공(221)에 균일한 압력의 고압공기가 유입될 수 있도록 하기 위해, 도 6에서 보는 바와 같이 상기 가이드몸체(210)의 환형턱(230)의 외경크기(D)는 상기 노즐몸체(10)의 어느 하나의 상기 고압공기 유로(160)와 어느 하나의 상기 고압공기 유로(160)의 맞은편의 다른 하나의 상기 고압공기 유로(160) 사이의 이격거리(L)보다 작게 형성되는 것이 좋다.Next, the high-pressure air flowing in the direction of the
다음으로, 도 4에서 보는 바와 같이 상기 가이드몸체(210)의 일단부에 환형의 돌출부재(250)가 형성될 수 있다.Next, as shown in FIG. 4 , an
환형의 상기 돌출부재(250)는 상기 가이드몸체(210)의 일단부에서 상기 노즐팁(30)의 분사공(300)의 일측의 반대측인 타측의 입구방향으로 일정길이로 수평돌출되어 상기 노즐팁(30)의 분사공(300)의 타측의 입구 내에 삽입될 수 있다.The annular protruding
환형의 상기 돌출부재(250)의 외주면에 환형의 경사면(251)이 형성될 수 있다.An annular
환형의 상기 경사면(251)은 상기 가이드몸체(210)의 일단부에서 상기 노즐팁(30)의 분사공(300)의 타측의 입구 방향으로 갈수록 상기 분사공(300)의 타측의 입구 내측방향으로 경사질 수 있다.The annular
환형의 상기 돌출부재(250)의 내부 중앙에는 상기 가이드몸체(210)의 액체 안내공(211)과 연통되는 액체 배출공(252)이 환형의 상기 돌출부재(250)의 일측에서 타측방향으로 수평연장형성될 수 있다.At the inner center of the
환형의 상기 돌출부재(250)의 일단부에 환형의 연장부재(260)가 형성될 수 있다.An
환형의 상기 연장부재(260)는 환형의 상기 돌출부재(250)의 일단부에서 상기 노즐팁(30)의 분사공(300) 방향으로 일정길이로 수평연장되어 상기 노즐팁(30)의 분사공(300)의 타측의 입구를 통과하여 상기 노즐팁(30)의 분사공(300)에 삽입될 수 있다.The
환형의 상기 연장부재(260)의 내부 중앙에 환형의 상기 돌출부재(250)의 액체 배출공(252)과 연통되는 액체 배출공(262)이 환형의 상기 연장부재(260)의 일측에서 타측방향으로 수평연장형성될 수 있다.At the inner center of the
환형의 상기 돌출부재(250)와 환형의 상기 연장부재(260)가 상기 노즐팁(30)의 분사공(300)의 타측의 입구 내면으로부터 일정간격으로 이격된 상태를 유지하도록 하기 위해, 환형의 상기 돌출부재(250)의 외경크기와 환형의 상기 연장부재(260)의 외경크기는 상기 노즐팁(30)의 분사공(300)의 타측의 입구 내경크기보다 작게 형성될 수 있다.In order to maintain the
도 7은 가이드부재의 연장부재의 외주면에 경사안내홈이 형성된 상태를 개략적으로 나타내는 확대사시도이고, 도 8은 도 7의 C - C 선에 따른 확대단면도이다.7 is an enlarged perspective view schematically showing a state in which an inclined guide groove is formed on the outer peripheral surface of the extension member of the guide member, and FIG. 8 is an enlarged cross-sectional view taken along the line C - C of FIG. 7 .
다음으로, 상기 노즐팁(30)을 통해 혼합된 상태로 외부로 분사되는 액체와 고압공기의 미립화 및 혼합효율이 우수해질 수 있도록 하기 위해, 도 7 및 도 8에서 보는 바와 같이 상기 연장부재(260)의 외주면에 경사 안내홈(261)이 상기 연장부재(260)의 외주면을 따라 일정간격으로 복수형성될 수 있다.Next, in order to improve atomization and mixing efficiency of the liquid and high-pressure air sprayed to the outside in a mixed state through the
상기 경사 안내홈(261)은 상기 연장부재(260)의 일측과 예각(도 8의 α1)을 이루도록 사선방향으로 경사지게 형성되어 상기 경사 안내홈(261)을 통과하는 고압공기를 선회시킬 수 있다.The
또한, 상기 가이드부재(20)의 환형돌출부(220)의 복수의 상기 공기 안내공(221)은 상기 환형돌출부(220)의 일측과 예각(도 8의 α2)을 이루도록 사선방향으로 경사지게 형성되어 상기 환형돌출부(220)의 공기 안내공(221)을 통과하는 고압공기를 선회시킬 수 있다.In addition, the plurality of air guide holes 221 of the
다음으로, 상기 가이드부재(20)의 환형 돌출부(220)의 일측에 환형의 삽입돌출부(270)가 형성될 수 있다.Next, an
환형의 상기 삽입돌출부(270)의 내부에는 상기 환형돌출부(220)의 복수의 공기 안내공(221)과 연통되는 복수의 공기 안내공(271)이 환형의 상기 삽입돌출부(270)의 외주면 둘레를 따라 일정한 간격으로 형성될 수 있다.A plurality of air guide holes 271 communicating with the plurality of air guide holes 221 of the
환형의 상기 삽입돌출부(270)의 복수의 상기 공기 안내공(271) 또한 상기 환형돌출부(220)의 복수의 공기 안내공(221)을 따라 사선방향으로 경사지게 형성되어 환형의 상기 삽입돌출부(270)의 복수의 상기 공기 안내공(271)을 통과하는 고압공기를 선회시킬 수 있다.The plurality of air guide holes 271 of the
다음으로, 도 2 및 도 4에서 보는 바와 같이 상기 노즐팁(30)은 일예로, 크게, 몸체(310)와 링부재(320)를 포함하여 구성될 수 있다.Next, as shown in FIGS. 2 and 4 , the
상기 몸체(310)의 내부 중앙에 상기 분사공(300)이 형성될 수 있다.The
상기 몸체(310)의 일측에는 상기 분사공(300)과 직교를 이룬 상태로 상기 분사공(300)과 연통되는 분사홈(311)이 상기 몸체(310)의 전후방향으로 일정길이로 연장형성될 수 있다.On one side of the
상기 링부재(320)는 상기 몸체(310)의 타단부에 형성될 수 있다.The
상기 링부재(320)의 내측에는 상기 분사공(300)과 연통되는 삽입홈(321)이 형성될 수 있다.An
상기 노즐팁(30)의 링부재(320)의 삽입홈(321)에 환형의 상기 삽입돌출부(270)가 삽입될 수 있고, 이로 인해 상기 노즐팁(30)이 흔들림없이 안정적으로 상기 가이드부재(20)의 일측방향에 위치할 수 있다.The
도 9 및 도 10은 액체와 고압공기의 이동방향을 각각 개략적으로 나타내는 결합확대단면도이다.9 and 10 are combined enlarged cross-sectional views schematically showing the moving directions of the liquid and the high-pressure air, respectively.
고압공기 공급수단을 통해 상기 노즐몸체(10)의 고압공기 유입구(150)로 유입된 고압공기는 도 9 및 도 10에서 보는 바와 같이 복수의 상기 고압공기 유로(160), 상기 체결홈(110), 복수의 공기 안내공(221, 271), 상기 노즐팁(30)의 분사공(30)의 타측의 입구 내면과 상기 돌출부재(250) 외면 사이, 상기 노즐팁(30)의 분사공(30)의 내면과 상기 연장부재(260)의 외면 사이, 상기 노즐팁(30)의 분사공(30), 상기 노즐팁(30)의 분사홈(311)을 순차적으로 통과하여 상기 노즐팁(30)의 일측 외부방향으로 분사될 수 있다.(도 9 및 도 10의 실선화살표 참조.)The high-pressure air introduced into the high-
상기 노즐몸체(10)의 액체 유입구(130)로 유입된 액체는 도 9 및 도 10에서 보는 바와 같이 상기 액체 유로(140), 상기 삽입부재(240)의 액체 유입공(241), 상기 가이드몸체(210)의 액체 안내공(211), 상기 돌출부재(250)의 액체 배출공(252), 상기 연장부재(260)의 액체 배출공(262), 상기 노즐팁(30)의 분사공(30), 상기 노즐팁(30)의 분사홈(311)을 순차적으로 통과하여 벤츄리 효과를 통해 상기 노즐팁(30)의 일측 외부방향으로 고압공기와 함께 혼합되어 미립화 된 상태로 분사될 수 있다.(도 9 및 도 10의 점선화살표 참조.)As shown in FIGS. 9 and 10 , the liquid introduced into the
상기 노즐팁(30)은 사용자에 의해 제자리에서 회전되어 위치조절될 수 있고, 이로 인해 상기 노즐팁(30)의 외부방향으로 고압공기와 함께 혼합되어 미립화된 상태로 분사되는 액체의 분사각도를 보다 용이하게 조절할 수 있다.The
이상에서 살펴본 바와 같이 본 발명은 상기 가이드부재(20)의 액체 안내공(211)이 기밀을 유지한 상태로 상기 노즐몸체(10)의 액체 유로(140)의 출구와 연통되도록 상기 가이드부재(20)의 타단부가 상기 노즐몸체(10)의 보조홈(120)에 삽입고정됨에 따라 수밀성은 물론 기밀성이 향상된 상태를 유지할 수 있음은 물론 상기 노즐팁(30)의 각도조절이 용이하고, 나아가, 압력손실없이 균일한 고압공기를 공급할 수 있어 상기 노즐팁(30)을 통해 혼합된 상태로 외부로 분사되는 액체와 고압공기의 미립화 및 혼합효율이 매우 우수할 뿐만 아니라 구조가 단순하여 제조원가가 크게 절감될 수 있는 이점이 있다.As described above, in the present invention, the
도 11은 본 발명의 일실시예인 소독장치를 개략적으로 나타내는 사시도이다.11 is a perspective view schematically showing a disinfection apparatus according to an embodiment of the present invention.
다음으로, 본 발명의 일실시예인 소독장치는 상기 구조가 단순한 미세분무노즐(1)을 포함하여 이루어질 수 있다.Next, the disinfection apparatus according to an embodiment of the present invention may include a
일예로, 본 발명의 일실시예인 소독장치는 도 11에서 보는 바와 같이 크게, 소독 약제 등 다양한 종류의 액체가 저장되는 액체저장통 등 다양한 종류로 이루어질 수 있는 케이싱(2)과; 상기 케이싱(2)의 상하방향으로 일정길이로 연장되고, 상기 케이싱(2)과 연통되도록 상기 케이싱(2)의 일측에 구비되는 블레이드(3)와; 상기 블레이드(3)의 일측에 상기 블레이드(3)의 상하방향으로 일정간격으로 구비되는 상기 구조가 단순한 미세분무노즐(1)과; 액체가 토출되도록 압력을 가하는 팬부재(미도시)와; 상기 구조가 단순한 미세분무노즐(1)의 고압공기 유입구(150)로 고압공기를 공급하는 고압공기공급수단(미도시);을 포함하여 이루어질 수 있다.As an example, as shown in FIG. 11 , the disinfection apparatus according to an embodiment of the present invention includes a
10; 노즐몸체,20; 가이드부재,
30; 노즐팁,40; 고정부재.10; nozzle body, 20; guide member,
 30; nozzle tip, 40; fixing member.
| Application Number | Priority Date | Filing Date | Title | 
|---|---|---|---|
| KR1020210142488AKR102412969B1 (en) | 2021-10-25 | 2021-10-25 | A fine spray nozzle with a simple structure and a disinfection device having the same | 
| Application Number | Priority Date | Filing Date | Title | 
|---|---|---|---|
| KR1020210142488AKR102412969B1 (en) | 2021-10-25 | 2021-10-25 | A fine spray nozzle with a simple structure and a disinfection device having the same | 
| Publication Number | Publication Date | 
|---|---|
| KR102412969B1true KR102412969B1 (en) | 2022-06-24 | 
| Application Number | Title | Priority Date | Filing Date | 
|---|---|---|---|
| KR1020210142488AActiveKR102412969B1 (en) | 2021-10-25 | 2021-10-25 | A fine spray nozzle with a simple structure and a disinfection device having the same | 
| Country | Link | 
|---|---|
| KR (1) | KR102412969B1 (en) | 
| Publication number | Priority date | Publication date | Assignee | Title | 
|---|---|---|---|---|
| KR20250006689A (en)* | 2023-07-03 | 2025-01-13 | 주식회사 더이지스이엔지 | Pollutant removal system | 
| Publication number | Priority date | Publication date | Assignee | Title | 
|---|---|---|---|---|
| KR19990024238A (en)* | 1998-12-24 | 1999-03-25 | 김석주 | Electric Heating Sprayer | 
| KR20160072457A (en)* | 2014-12-15 | 2016-06-23 | (주)에코인토트 | A nozzle for spraying mixed fluid | 
| KR20190017255A (en)* | 2017-08-10 | 2019-02-20 | 이기영 | Misted spray nozzle | 
| KR20200008911A (en)* | 2018-07-17 | 2020-01-29 | 옴니시스템 주식회사 | Mixed fluid spray nozzle hacing rotation unit | 
| KR102216589B1 (en) | 2020-04-08 | 2021-02-16 | 최재우 | A Two component fine spray nozzle | 
| Publication number | Priority date | Publication date | Assignee | Title | 
|---|---|---|---|---|
| KR19990024238A (en)* | 1998-12-24 | 1999-03-25 | 김석주 | Electric Heating Sprayer | 
| KR20160072457A (en)* | 2014-12-15 | 2016-06-23 | (주)에코인토트 | A nozzle for spraying mixed fluid | 
| KR20190017255A (en)* | 2017-08-10 | 2019-02-20 | 이기영 | Misted spray nozzle | 
| KR20200008911A (en)* | 2018-07-17 | 2020-01-29 | 옴니시스템 주식회사 | Mixed fluid spray nozzle hacing rotation unit | 
| KR102216589B1 (en) | 2020-04-08 | 2021-02-16 | 최재우 | A Two component fine spray nozzle | 
| Publication number | Priority date | Publication date | Assignee | Title | 
|---|---|---|---|---|
| KR20250006689A (en)* | 2023-07-03 | 2025-01-13 | 주식회사 더이지스이엔지 | Pollutant removal system | 
| KR102756778B1 (en)* | 2023-07-03 | 2025-01-22 | 주식회사 더이지스이엔지 | Pollutant removal system | 
| Publication | Publication Date | Title | 
|---|---|---|
| US5850973A (en) | Double barrel sprayer for selective spraying of water or diluted product and use thereof | |
| US4989788A (en) | Binary flat-jet nozzle for atomizing liquids | |
| CA2623056C (en) | Multiple discharge orifice spray nozzle | |
| US8960571B2 (en) | Full cone air-assisted spray nozzle assembly | |
| WO1996037261A9 (en) | Double barrel sprayer | |
| EP1234617A3 (en) | A spray gun | |
| KR20190031456A (en) | Connecting piece for a static spray mixer | |
| US4511087A (en) | Air mist nozzle apparatus | |
| RU170718U1 (en) | SPRAY NOZZLE | |
| JP2005288390A (en) | Two-fluid nozzle and spraying method | |
| US6338444B1 (en) | Spray nozzle | |
| JP2016163034A (en) | Two-fluid nozzle | |
| TWI580476B (en) | Static spray mixer | |
| KR102412969B1 (en) | A fine spray nozzle with a simple structure and a disinfection device having the same | |
| US10272456B2 (en) | Spraying apparatus | |
| JP2009273976A (en) | Spray gun for coating of inner surface | |
| AU2017326640A1 (en) | Spray nozzle assembly with one piece spray nozzle and quick disconnect retention cap | |
| US20060180682A1 (en) | Nozzle particularly for atomizing a liquid | |
| KR101818069B1 (en) | Ultrasonic nozzle deflector | |
| EP0411830B1 (en) | Low pressure air atomizing spray gun | |
| US20190232306A1 (en) | Spraying apparatus | |
| JPH02119963A (en) | Spraying apparatus for discharging liquid by gaseous fluid | |
| JP7502775B2 (en) | Spray nozzle | |
| CN114555238B (en) | Sprinkler Head Inserts | |
| CN212596507U (en) | Spray gun capable of preventing liquid from flowing backwards | 
| Date | Code | Title | Description | 
|---|---|---|---|
| PA0109 | Patent application | St.27 status event code:A-0-1-A10-A12-nap-PA0109 | |
| PA0201 | Request for examination | St.27 status event code:A-1-2-D10-D11-exm-PA0201 | |
| D13-X000 | Search requested | St.27 status event code:A-1-2-D10-D13-srh-X000 | |
| PA0302 | Request for accelerated examination | St.27 status event code:A-1-2-D10-D17-exm-PA0302 St.27 status event code:A-1-2-D10-D16-exm-PA0302 | |
| D14-X000 | Search report completed | St.27 status event code:A-1-2-D10-D14-srh-X000 | |
| PE0902 | Notice of grounds for rejection | St.27 status event code:A-1-2-D10-D21-exm-PE0902 | |
| E13-X000 | Pre-grant limitation requested | St.27 status event code:A-2-3-E10-E13-lim-X000 | |
| P11-X000 | Amendment of application requested | St.27 status event code:A-2-2-P10-P11-nap-X000 | |
| P13-X000 | Application amended | St.27 status event code:A-2-2-P10-P13-nap-X000 | |
| PE0701 | Decision of registration | St.27 status event code:A-1-2-D10-D22-exm-PE0701 | |
| GRNT | Written decision to grant | ||
| PR0701 | Registration of establishment | St.27 status event code:A-2-4-F10-F11-exm-PR0701 | |
| PR1002 | Payment of registration fee | St.27 status event code:A-2-2-U10-U11-oth-PR1002 Fee payment year number:1 | |
| PG1601 | Publication of registration | St.27 status event code:A-4-4-Q10-Q13-nap-PG1601 | |
| PN2301 | Change of applicant | St.27 status event code:A-5-5-R10-R11-asn-PN2301 | |
| PN2301 | Change of applicant | St.27 status event code:A-5-5-R10-R11-asn-PN2301 | |
| PN2301 | Change of applicant | St.27 status event code:A-5-5-R10-R14-asn-PN2301 | |
| PR1001 | Payment of annual fee | St.27 status event code:A-4-4-U10-U11-oth-PR1001 Fee payment year number:4 |