Movatterモバイル変換


[0]ホーム

URL:


KR102276116B1 - 차세대 이동 통신 시스템에서 pdcp와 rlc 헤더 포맷을 설정하는 방법 및 장치 - Google Patents

차세대 이동 통신 시스템에서 pdcp와 rlc 헤더 포맷을 설정하는 방법 및 장치
Download PDF

Info

Publication number
KR102276116B1
KR102276116B1KR1020170029284AKR20170029284AKR102276116B1KR 102276116 B1KR102276116 B1KR 102276116B1KR 1020170029284 AKR1020170029284 AKR 1020170029284AKR 20170029284 AKR20170029284 AKR 20170029284AKR 102276116 B1KR102276116 B1KR 102276116B1
Authority
KR
South Korea
Prior art keywords
rrc
terminal
message
base station
rlc
Prior art date
Legal status (The legal status is an assumption and is not a legal conclusion. Google has not performed a legal analysis and makes no representation as to the accuracy of the status listed.)
Active
Application number
KR1020170029284A
Other languages
English (en)
Other versions
KR20180084579A (ko
Inventor
김동건
김성훈
김상범
알렉산더 사엔코
진승리
Original Assignee
삼성전자 주식회사
Priority date (The priority date is an assumption and is not a legal conclusion. Google has not performed a legal analysis and makes no representation as to the accuracy of the date listed.)
Filing date
Publication date
Application filed by 삼성전자 주식회사filedCritical삼성전자 주식회사
Priority to EP18738580.2ApriorityCriticalpatent/EP3545722B1/en
Priority to PCT/KR2018/000654prioritypatent/WO2018131956A1/en
Priority to CN201880006636.3Aprioritypatent/CN110178335B/zh
Priority to US15/872,754prioritypatent/US10863394B2/en
Publication of KR20180084579ApublicationCriticalpatent/KR20180084579A/ko
Priority to US17/113,603prioritypatent/US11758444B2/en
Application grantedgrantedCritical
Publication of KR102276116B1publicationCriticalpatent/KR102276116B1/ko
Priority to US18/457,638prioritypatent/US20230413128A1/en
Activelegal-statusCriticalCurrent
Anticipated expirationlegal-statusCritical

Links

Images

Classifications

Landscapes

Abstract

본 개시는 4G 시스템 이후 보다 높은 데이터 전송률을 지원하기 위한 5G 통신 시스템을 IoT 기술과 융합하는 통신 기법 및 그 시스템에 관한 것이다. 본 개시는 5G 통신 기술 및 IoT 관련 기술을 기반으로 지능형 서비스 (예를 들어, 스마트 홈, 스마트 빌딩, 스마트 시티, 스마트 카 혹은 커넥티드 카, 헬스 케어, 디지털 교육, 소매업, 보안 및 안전 관련 서비스 등)에 적용될 수 있다. 본 발명은 차세대 이동통신 시스템에서 PDCP와 RLC 헤더 포맷을 설정하는 방법 및 장치에 관한 것이다.

Description

차세대 이동 통신 시스템에서 PDCP와 RLC 헤더 포맷을 설정하는 방법 및 장치{METHOD AND APPARATUS FOR CONFIGURING HEADER FORMAT OF PDCP AND RLC IN WIRELSS MOBILE COMMUNICATION SYSTEM}
본 발명은 차세대 이동통신 시스템에서 PDCP와 RLC 헤더 포맷을 설정하는 방법 및 장치에 관한 것이다.
4G 통신 시스템 상용화 이후 증가 추세에 있는 무선 데이터 트래픽 수요를 충족시키기 위해, 개선된 5G 통신 시스템 또는 pre-5G 통신 시스템을 개발하기 위한 노력이 이루어지고 있다. 이러한 이유로, 5G 통신 시스템 또는 pre-5G 통신 시스템은 4G 네트워크 이후 (Beyond 4G Network) 통신 시스템 또는 LTE 시스템 이후 (Post LTE) 이후의 시스템이라 불리어지고 있다. 높은 데이터 전송률을 달성하기 위해, 5G 통신 시스템은 초고주파(mmWave) 대역 (예를 들어, 60기가(60GHz) 대역과 같은)에서의 구현이 고려되고 있다. 초고주파 대역에서의 전파의 경로손실 완화 및 전파의 전달 거리를 증가시키기 위해, 5G 통신 시스템에서는 빔포밍(beamforming), 거대 배열 다중 입출력(massive MIMO), 전차원 다중입출력(Full Dimensional MIMO: FD-MIMO), 어레이 안테나(array antenna), 아날로그 빔형성(analog beam-forming), 및 대규모 안테나 (large scale antenna) 기술들이 논의되고 있다.
또한 시스템의 네트워크 개선을 위해, 5G 통신 시스템에서는 진화된 소형 셀, 개선된 소형 셀 (advanced small cell), 클라우드 무선 액세스 네트워크 (cloud radio access network: cloud RAN), 초고밀도 네트워크 (ultra-dense network), 기기 간 통신 (Device to Device communication: D2D), 무선 백홀 (wireless backhaul), 이동 네트워크 (moving network), 협력 통신 (cooperative communication), CoMP (Coordinated Multi-Points), 및 수신 간섭제거 (interference cancellation) 등의 기술 개발이 이루어지고 있다. 이 밖에도, 5G 시스템에서는 진보된 코딩 변조(Advanced Coding Modulation: ACM) 방식인 FQAM (Hybrid FSK and QAM Modulation) 및 SWSC (Sliding Window Superposition Coding)과, 진보된 접속 기술인 FBMC(Filter Bank Multi Carrier), NOMA(non orthogonal multiple access), 및SCMA(sparse code multiple access) 등이 개발되고 있다.
한편, 인터넷은 인간이 정보를 생성하고 소비하는 인간 중심의 연결 망에서, 사물 등 분산된 구성 요소들 간에 정보를 주고 받아 처리하는 IoT(Internet of Things, 사물인터넷) 망으로 진화하고 있다. 클라우드 서버 등과의 연결을 통한 빅데이터(Big data) 처리 기술 등이 IoT 기술에 결합된 IoE (Internet of Everything) 기술도 대두되고 있다. IoT를 구현하기 위해서, 센싱 기술, 유무선 통신 및 네트워크 인프라, 서비스 인터페이스 기술, 및 보안 기술과 같은 기술 요소 들이 요구되어, 최근에는 사물간의 연결을 위한 센서 네트워크(sensor network), 사물 통신(Machine to Machine, M2M), MTC(Machine Type Communication)등의 기술이 연구되고 있다. IoT 환경에서는 연결된 사물들에서 생성된 데이터를 수집, 분석하여 인간의 삶에 새로운 가치를 창출하는 지능형 IT(Internet Technology) 서비스가 제공될 수 있다. IoT는 기존의 IT(information technology)기술과 다양한 산업 간의 융합 및 복합을 통하여 스마트홈, 스마트 빌딩, 스마트 시티, 스마트 카 혹은 커넥티드 카, 스마트 그리드, 헬스 케어, 스마트 가전, 첨단의료서비스 등의 분야에 응용될 수 있다.
이에, 5G 통신 시스템을 IoT 망에 적용하기 위한 다양한 시도들이 이루어지고 있다. 예를 들어, 센서 네트워크(sensor network), 사물 통신(Machine to Machine, M2M), MTC(Machine Type Communication)등의 기술이 5G 통신 기술이 빔 포밍, MIMO, 및 어레이 안테나 등의 기법에 의해 구현되고 있는 것이다. 앞서 설명한 빅데이터 처리 기술로써 클라우드 무선 액세스 네트워크(cloud RAN)가 적용되는 것도 5G 기술과 IoT 기술 융합의 일 예라고 할 수 있을 것이다.
차세대 이동 통신 시스템에서 높은 데이터 전송율을 보장하고 빠른 속도로 데이터 처리를 가능하도록 하기 위해서 PDCP 계층, RLC 계층, MAC 계층에서 새로운 데이터 처리 구조를 가질 수 있다.
따라서 그에 적합한 RLC 장치와 PDCP 장치를 위한 새로운 포맷들이 정의될 필요가 있는바, 본 발명은 각 장치들이 포맷을 설정하는 효율적인 방법들을 제공한다.
또한, 일반적으로 이동통신 시스템은 사용자의 이동성을 확보하면서 통신을 제공하기 위한 목적으로 개발되었다. 이러한 이동통신 시스템은 기술의 비약적인 발전에 힘입어 음성 통신은 물론 고속의 데이터 통신 서비스를 제공할 수 있는 단계에 이르렀다. 이러한 무선 이동 통신 시스템에서 단말은 지속적으로 오랜 시간 동안 서비스를 받기 보다는 간헐적으로 서비스를 받는 경우도 많이 발생한다.
따라서 단말이 항상 연속적으로 기지국의 신호를 수신하고 확인한다면 단말 전력이 빠르게 소모될 것이다. 이러한 전력 소모를 감소시키는 것은 대단히 중요하다. 이에 따라 단말을 RRC 연결 모드(RRC connected mode)에서 RRC 유휴 모드(RRC Idle mode)로 보내어 대기 모드에 있도록 할 수 있다. 하지만 단말이 대기 모드에 있다가 다시 RRC 연결 모드로 전환하기까지 많은 시그날링 절차가 필요하다.
따라서 차세대 이동 통신 시스템에서는 이러한 시그날링 절차를 줄이면서 빠른 연결이 가능하고 대기 모드처럼 단말 전력을 절약할 수 있는 RRC 비활성 모드(RRC Inactive mode) 또는 lightly-connected 모드를 정의할 수 있다. 하지만 RRC 연결모드에서 RRC 비활성 모드(혹은 lighted connected 모드)로의 전환, 혹은 RRC 비활성 모드(혹은 lighted connected 모드)로의 전환에 대한 효율적인 방법이 필요하다.
상기에서처럼 RRC 비활성화 모드에서는 단말의 배터리가 절감되고, 단말이 네트워크로의 연결시 적은 시그날링 오버헤드를 가지고 빠른 연결을 설정할 수 있다는 장점이 있다. 하지만 RRC 비활성화 모드에 있는 단말은 RRC 유휴 모드에 있는 단말이 주기적으로 트래킹 영역(Tracking area)을 갱신하는 절차보다 더 자주 랜 지시 영역(RAN Notification area)을 갱신하는 절차를 수행해야 한다.
따라서 네트워크에 RRC 비활성화 모드 단말들이 굉장히 많다면 주기적인 랜 지시 영역 갱신 절차로 인한 시그널링 오버헤드가 야기될 수 있으므로 네트워크는 RRC 비활성화 모드인 단말들을 관리하고 필요시 RRC 유휴 모드로 전환할 수 있어야 하는바, 본 발명은 차세대 이동 통신 시스템에서 타이머 기반의 단말 모드 전환 방법 및 장치를 제공한다.
또한, 현재 LTE 시스템에서 단말이 핸드오버를 할 경우, 타겟 셀로의 랜덤 액세스 절차를 통해 동기를 맞추고 상향링크 grant를 수신하여 핸드오버 절차를 완료한다. 상기와 같은 동작을 수행할 경우, 핸드오버 절차에서의 시간 간섭이 발생하고, 낮은 지연시간을 요구하는 차세대 이동통신 시스템의 요구조건을 만족하기 힘든바, 본 발명은 차세대 이동통신 시스템에서 캐리어 집적을 사용한 핸드오버 방법 및 장치를 제공한다.
상기와 같은 문제점을 해결하기 위한 본 발명은 무선 통신 시스템에서 제어 신호 처리 방법에 있어서, 기지국으로부터 전송되는 제1 제어 신호를 수신하는 단계; 상기 수신된 제1 제어 신호를 처리하는 단계; 및 상기 처리에 기반하여 생성된 제2 제어 신호를 상기 기지국으로 전송하는 단계를 포함하는 것을 특징으로 한다.
본 발명의 일 실시예에 따르면, 차세대 이동 통신 시스템에서 높은 데이터 전송율을 보장하고 빠른 속도로 데이터 처리가 가능하다.
또한, 본 발명의 일 실시예에 따르면, 타이머를 기반으로 하여 RRC 연결 모드, RRC 비활성 모드(혹은 lighted connected 모드), RRC 유휴 모드 간의 전환 방법을 제안하여 시그날링 오버헤드를 줄이고 단말의 배터리 절감이 가능하다.
또한, 본 발명의 일 실시예에 따르면, 차세대 이동통신 시스템에서 캐리어 집적 기술을 사용한 핸드오버 절차를 제안함으로써 단말이 핸드오버 동작 시 시간 간섭 없이 데이터를 송수신할 수 있다.
도 1a는 LTE 시스템의 구조를 도시하는 도면이다.
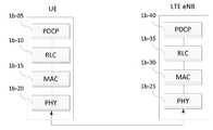
도 1b는 LTE 시스템에서 무선 프로토콜 구조를 나타낸 도면이다.
도 1c는 본 발명에서 제안하는 차세대 이동통신 시스템의 구조를 도시하는 도면이다.
도 1d는 본 발명에서 제안하는 차세대 이동통신 시스템의 무선 프로토콜 구조를 나타낸 도면이다. .
도 1e는 본 발명의 차세대 이동통신 시스템에서 단말이 각 계층 장치(entity, 이하 장치)들을 설정하는 절차를 도시한 도면이다.
도 1f는 본 발명에서 데이터를 선처리(pre-processing)하는 방법을 나타낸 도면이다.
도 1g는 본 발명에서 제안하는 NR PDCP 장치의 헤더 포맷들의 실시 예를 나타낸 도면이다.
도 1h는 본 발명에서 제안하는 NR RLC 장치의 헤더 포맷들의 실시 예를 나타낸 도면이다.
도 1i는 본 발명에서 제안한 PDCP 헤더들과 RLC 헤더들의 실시 예를 적용한 베어러들의 헤더 구조를 나타낸 도면이다.
도 1j 는 도 1g와 도 1h에서 제안한 PDCP 헤더들과 RLC 헤더들을 사용하는 경우, AM 베어러의 PDCP 헤더와 RLC 헤더를 선택하는 제 1의 실시 예에 대한 단말의 동작을 나타낸다.
도 1k 는 다양한 PDCP 헤더들과 RLC 헤더들을 사용하는 경우, 각 베어러의 PDCP 헤더와 RLC 헤더를 선택하는 제 2의 실시 예에 대한 단말의 동작을 나타낸다.
도 1l에 본 발명의 실시 예에 따른 단말의 구조를 도시하였다.
도 1m는 본 발명의 실시 예에 따른 무선 통신 시스템에서 TRP의 블록 구성을 도시한다.
도 2a는 본 발명이 적용될 수 있는 LTE 시스템의 구조를 도시하는 도면이다.
도 2b는 본 발명이 적용될 수 있는 LTE 시스템에서 무선 프로토콜 구조를 나타낸 도면이다.
도 2c는 본 발명이 적용될 수 있는 차세대 이동통신 시스템의 구조를 도시하는 도면이다.
도 2d는 본 발명이 적용될 수 있는 차세대 이동통신 시스템의 무선 프로토콜 구조를 나타낸 도면이다. .
도 2e는 본 발명의 차세대 이동 통신 시스템에서 단말이 머무를 수 있는 모드들을 나타낸 도면이다.
도 2f는 본 발명에서 단말이 RRC 연결 모드(RRC connected mode)에서 RRC 유휴 모드(RRC idle mode)로 전환하는 절차와 RRC 유휴 모드(RRC idle mode)에서 RRC 연결 모드(RRC connected mode)로 전환하는 절차를 설명한 도면이다.
도 2g는 본 발명에서 단말이 RRC 연결 모드에서 RRC 비활성 모드 혹은 lightly-connected 모드로 전환하는 절차와 RRC 비활성 모드 혹은 lightly-connected 모드에서 RRC 연결 모드로 전환하는 절차를 나타낸 도면이다.
도 2h는 본 발명에서 단말을 RRC 연결 모드에서 RRC 비활성화 모드(혹은 lightly-connected 모드)로 전환하는 본 발명의 제 1 실시 예를 나타낸다.
도 2i는 본 발명에서 단말을 RRC 비활성화 모드(혹은 lightly-connected 모드)에서 RRC 유휴 모드로 전환하는 본 발명의 제 2 실시 예를 나타낸다.
도 2ia는 본 발명에서 단말을 RRC 비활성화 모드(혹은 lightly-connected 모드)에서 RRC 유휴 모드로 전환하는 본 발명의 제 2-1 실시 예를 나타낸다.
도 2ib는 본 발명에서 단말을 RRC 비활성화 모드(혹은 lightly-connected 모드)에서 RRC 유휴 모드로 전환하는 본 발명의 제 2-2 실시 예를 나타낸다.
도 2ic는 본 발명에서 단말을 RRC 비활성화 모드(혹은 lightly-connected 모드)에서 RRC 유휴 모드로 전환하는 본 발명의 제 2-3 실시 예를 나타낸다.
도 2j는 본 발명에서 단말의 DRX 동작을 나타낸다.
도 2k는 본 발명에서 단말을 RRC 연결 모드에서 RRC 비활성화 모드로 전환하는 제 3의 실시 예를 나타낸 도면이다.
도 2l는 본 발명에서 단말을 RRC 비활성 모드에서 RRC 유휴 모드로 전환하는 제 4의 실시 예를 나타낸 도면이다.
도 2m는 본 발명에서 단말을 RRC 연결 모드에서 RRC 비활성화 모드로 전환하는 제 5의 실시 예를 나타낸 도면이다
도 2n는 본 발명에서 단말을 RRC 비활성 모드에서 RRC 유휴 모드로 전환하는 제 6의 실시 예를 나타낸 도면이다.
도 2o는 본 발명에서 단말의 동작을 나타낸다.
도 2p에 본 발명의 실시 예가 적용될 수 있는 단말의 구조를 도시하였다.
도 2q는 본 발명의 실시 예가 적용될 수 있는 무선 통신 시스템에서 TRP의 블록 구성을 도시한다.
도 2r은 네트워크에서 하향링크 데이터가 발생한 경우, RRC 비활성화 모드의 단말이 RRC 연결모드로 천이하는 절차를 나타낸 도면이다.
도 2s는 RRC 비활성화 모드에 있는 네트워크와 연결을 설정하려고 할 때 네트워크에 의해 거절된 경우의 절차에 대해 나타낸 도면이다
도 2t는 RRC 비활성화 모드의 단말이 RRC 연결 모드로 천이하지 않고, RRC 비활성화 모드에서 상향 링크 데이터를 전송하는 절차 1을 나타낸 도면이다.
도 2u는 RRC 비활성화 모드의 단말이 RRC 연결 모드로 천이하지 않고, RRC 비활성화 모드에서 상향 링크 데이터를 전송하는 절차 2를 나타낸 또 다른 도면이다.
도 2v는 RRC 비활성화 모드의 단말이 RRC 연결 모드로 천이하지 않고, RRC 비활성화 모드에서 상향 링크 데이터를 전송하는 절차 3를 나타낸 또 다른 도면이다.
도 3a은 기존 LTE 시스템의 구조를 도시하는 도면이다.
도 3b는 기존 LTE 시스템에서 무선 프로토콜 구조를 나타낸 도면이다.
도 3c는 기존 LTE 시스템에서 연결 모드의 DRX 동작을 설명하기 위한 도면이다.
도 3d는 기존 LTE 시스템에서 핸드오버를 트리거하는 동안 DRX에 의한 지연 현상을 설명하기 위한 도면이다.
도 3e는 본 발명에서 핸드오버를 트리거하는 동안 DRX을 일시 중지시키는 방법을 설명하기 위한 도면이다.
도 3f는 본 발명에서 시그널링 흐름도를 설명하기 위한 도면이다.
도 3g는 본 발명에서 단말의 동작을 설명하기 위한 도면이다.
도 3h는 본 발명에서 기지국의 동작을 설명하기 위한 도면이다.
도 3i는 본 발명에서 DRX 일시 중지를 지시하는 MAC CE을 설명하기 위한 도면이다.
도 3j은 본 발명을 적용한 단말의 내부 구조를 도시하는 블록도이다.
도 3k는 본 발명에 따른 기지국의 구성을 나타낸 블록도이다.
도 4a는 기존 LTE 시스템의 구조를 도시하는 도면이다.
도 4b는 기존 LTE 시스템의 무선 프로토콜 구조를 나타낸 도면이다.
도 4c는 기존 LTE 시스템의 캐리어 집적을 개략적으로 도시한 도면이다.
도 4d는 본 발명이 적용되는 차세대 이동통신 시스템의 구조를 도시하는 도면이다.
도 4e는 본 발명의 설명을 위해 참고로 하는 LTE 시스템의 핸드오버 절차를 설명하기 위한 도면이다.
도 4f는 본 발명에서 제안하는 eCA를 사용한 핸드오버 동작 및 프로토콜 구조를 개략적으로 설명하는 도면이다.
도 4g는 본 발명에서 제안하는 eCA를 사용한 핸드오버 절차를 설명하는 도면이다.
도 4h는 본 발명에서 제안하는 eCA를 사용한 Type 2 핸드오버 절차를 수행하는 단말의 동작을 나타낸 도면이다.
도 4i은 본 발명을 적용한 단말의 내부 구조를 도시하는 블록도이다.
도 4j는 본 발명에 따른 NR 기지국의 구성을 나타낸 블록도이다.
본 발명의 실시 예를 설명함에 있어서 본 발명이 속하는 기술 분야에 익히 알려져 있고 본 발명과 직접적으로 관련이 없는 기술 내용에 대해서는 설명을 생략한다. 이는 불필요한 설명을 생략함으로써 본 발명의 요지를 흐리지 않고 더욱 명확히 전달하기 위함이다.
마찬가지 이유로 첨부 도면에 있어서 일부 구성요소는 과장되거나 생략되거나 개략적으로 도시되었다. 또한, 각 구성요소의 크기는 실제 크기를 전적으로 반영하는 것이 아니다. 각 도면에서 동일한 또는 대응하는 구성요소에는 동일한 참조 번호를 부여하였다.
본 발명의 이점 및 특징, 그리고 그것들을 달성하는 방법은 첨부되는 도면과 함께 상세하게 후술되어 있는 실시 예들을 참조하면 명확해질 것이다. 그러나 본 발명은 이하에서 개시되는 실시 예들에 한정되는 것이 아니라 서로 다른 다양한 형태로 구현될 수 있으며, 단지 본 실시 예들은 본 발명의 개시가 완전하도록 하고, 본 발명이 속하는 기술분야에서 통상의 지식을 가진 자에게 발명의 범주를 완전하게 알려주기 위해 제공되는 것이며, 본 발명은 청구항의 범주에 의해 정의될 뿐이다. 명세서 전체에 걸쳐 동일 참조 부호는 동일 구성 요소를 지칭한다.
이 때, 처리 흐름도 도면들의 각 블록과 흐름도 도면들의 조합들은 컴퓨터 프로그램 인스트럭션들에 의해 수행될 수 있음을 이해할 수 있을 것이다. 이들 컴퓨터 프로그램 인스트럭션들은 범용 컴퓨터, 특수용 컴퓨터 또는 기타 프로그램 가능한 데이터 프로세싱 장비의 프로세서에 탑재될 수 있으므로, 컴퓨터 또는 기타 프로그램 가능한 데이터 프로세싱 장비의 프로세서를 통해 수행되는 그 인스트럭션들이 흐름도 블록(들)에서 설명된 기능들을 수행하는 수단을 생성하게 된다. 이들 컴퓨터 프로그램 인스트럭션들은 특정 방식으로 기능을 구현하기 위해 컴퓨터 또는 기타 프로그램 가능한 데이터 프로세싱 장비를 지향할 수 있는 컴퓨터 이용 가능 또는 컴퓨터 판독 가능 메모리에 저장되는 것도 가능하므로, 그 컴퓨터 이용가능 또는 컴퓨터 판독 가능 메모리에 저장된 인스트럭션들은 흐름도 블록(들)에서 설명된 기능을 수행하는 인스트럭션 수단을 내포하는 제조 품목을 생산하는 것도 가능하다. 컴퓨터 프로그램 인스트럭션들은 컴퓨터 또는 기타 프로그램 가능한 데이터 프로세싱 장비 상에 탑재되는 것도 가능하므로, 컴퓨터 또는 기타 프로그램 가능한 데이터 프로세싱 장비 상에서 일련의 동작 단계들이 수행되어 컴퓨터로 실행되는 프로세스를 생성해서 컴퓨터 또는 기타 프로그램 가능한 데이터 프로세싱 장비를 수행하는 인스트럭션들은 흐름도 블록(들)에서 설명된 기능들을 실행하기 위한 단계들을 제공하는 것도 가능하다.
또한, 각 블록은 특정된 논리적 기능(들)을 실행하기 위한 하나 이상의 실행 가능한 인스트럭션들을 포함하는 모듈, 세그먼트 또는 코드의 일부를 나타낼 수 있다. 또, 몇 가지 대체 실행 예들에서는 블록들에서 언급된 기능들이 순서를 벗어나서 발생하는 것도 가능함을 주목해야 한다. 예컨대, 잇달아 도시되어 있는 두 개의 블록들은 사실 실질적으로 동시에 수행되는 것도 가능하고 또는 그 블록들이 때때로 해당하는 기능에 따라 역순으로 수행되는 것도 가능하다.
이 때, 본 실시 예에서 사용되는 '~부'라는 용어는 소프트웨어 또는 FPGA또는 ASIC과 같은 하드웨어 구성요소를 의미하며, '~부'는 어떤 역할들을 수행한다. 그렇지만 '~부'는 소프트웨어 또는 하드웨어에 한정되는 의미는 아니다. '~부'는 어드레싱할 수 있는 저장 매체에 있도록 구성될 수도 있고 하나 또는 그 이상의 프로세서들을 재생시키도록 구성될 수도 있다. 따라서, 일 예로서 '~부'는 소프트웨어 구성요소들, 객체지향 소프트웨어 구성요소들, 클래스 구성요소들 및 태스크 구성요소들과 같은 구성요소들과, 프로세스들, 함수들, 속성들, 프로시저들, 서브루틴들, 프로그램 코드의 세그먼트들, 드라이버들, 펌웨어, 마이크로코드, 회로, 데이터, 데이터베이스, 데이터 구조들, 테이블들, 어레이들, 및 변수들을 포함한다. 구성요소들과 '~부'들 안에서 제공되는 기능은 더 작은 수의 구성요소들 및 '~부'들로 결합되거나 추가적인 구성요소들과 '~부'들로 더 분리될 수 있다. 뿐만 아니라, 구성요소들 및 '~부'들은 디바이스 또는 보안 멀티미디어카드 내의 하나 또는 그 이상의 CPU들을 재생시키도록 구현될 수도 있다. 또한 실시 예에서 '~부'는 하나 이상의 프로세서를 포함할 수 있다.
이하 설명에서 사용되는 접속 노드(node)를 식별하기 위한 용어, 망 객체(network entity)들을 지칭하는 용어, 메시지들을 지칭하는 용어, 망 객체들 간 인터페이스를 지칭하는 용어, 다양한 식별 정보들을 지칭하는 용어 등은 설명의 편의를 위해 예시된 것이다. 따라서, 본 발명이 후술되는 용어들에 한정되는 것은 아니며, 동등한 기술적 의미를 가지는 대상을 지칭하는 다른 용어가 사용될 수 있다.
이하 설명의 편의를 위하여, 본 발명은 3GPP LTE(3rd Generation Partnership Project Long Term Evolution) 규격에서 정의하고 있는 용어 및 명칭들을 사용한다. 하지만, 본 발명이 상기 용어 및 명칭들에 의해 한정되는 것은 아니며, 다른 규격에 따르는 시스템에도 동일하게 적용될 수 있다. 본 발명에서 eNB는 설명의 편의를 위하여 gNB와 혼용되어 사용될 수 있다. 즉 eNB로 설명한 기지국은 gNB를 나타낼 수 있다.
<제1 실시예>
도 1a는 LTE 시스템의 구조를 도시하는 도면이다.
도 1a을 참조하면, 도시한 바와 같이 LTE 시스템의 무선 액세스 네트워크는 차세대 기지국(Evolved Node B, 이하 ENB, Node B 또는 기지국)(1a-05, 1a-10, 1a-15, 1a-20)과 MME (1a-25, Mobility Management Entity) 및 S-GW(1a-30, Serving-Gateway)로 구성된다. 사용자 단말(User Equipment, 이하 UE 또는 단말)(1a-35)은 ENB(1a-05 ~ 1a-20) 및 S-GW(1a-30)를 통해 외부 네트워크에 접속한다.
도 1a에서 ENB(1a-05 ~ 1a-20)는 UMTS 시스템의 기존 노드 B에 대응된다. ENB는 UE(1a-35)와 무선 채널로 연결되며 기존 노드 B 보다 복잡한 역할을 수행한다. LTE 시스템에서는 인터넷 프로토콜을 통한 VoIP(Voice over IP)와 같은 실시간 서비스를 비롯한 모든 사용자 트래픽이 공용 채널(shared channel)을 통해 서비스 되므로, UE들의 버퍼 상태, 가용 전송 전력 상태, 채널 상태 등의 상태 정보를 취합해서 스케줄링을 하는 장치가 필요하며, 이를 ENB(1a-05 ~ 1a-20)가 담당한다. 하나의 ENB는 통상 다수의 셀들을 제어한다. 예컨대, 100 Mbps의 전송 속도를 구현하기 위해서 LTE 시스템은 예컨대, 20 MHz 대역폭에서 직교 주파수 분할 다중 방식(Orthogonal Frequency Division Multiplexing, 이하 OFDM이라 한다)을 무선 접속 기술로 사용한다. 또한 단말의 채널 상태에 맞춰 변조 방식(modulation scheme)과 채널 코딩률(channel coding rate)을 결정하는 적응 변조 코딩(Adaptive Modulation & Coding, 이하 AMC라 한다) 방식을 적용한다. S-GW(1a-30)는 데이터 베어러를 제공하는 장치이며, MME(1a-25)의 제어에 따라서 데이터 베어러를 생성하거나 제거한다. MME는 단말에 대한 이동성 관리 기능은 물론 각종 제어 기능을 담당하는 장치로 다수의 기지국 들과 연결된다.
도 1b는 LTE 시스템에서 무선 프로토콜 구조를 나타낸 도면이다.
도 1b를 참조하면, LTE 시스템의 무선 프로토콜은 단말과 ENB에서 각각 PDCP (Packet Data Convergence Protocol 1b-05, 1b-40), RLC (Radio Link Control 1b-10, 1b-35), MAC (Medium Access Control 1b-15, 1b-30)으로 이루어진다. PDCP (Packet Data Convergence Protocol)(1b-05, 1b-40)는 IP 헤더 압축/복원 등의 동작을 담당한다. PDCP의 주요 기능은 하기와 같이 요약된다.
- 헤더 압축 및 압축 해제 기능(Header compression and decompression: ROHC only)
- 사용자 데이터 전송 기능 (Transfer of user data)
- 순차적 전달 기능(In-sequence delivery of upper layer PDUs at PDCP re-establishment procedure for RLC AM)
- 순서 재정렬 기능(For split bearers in DC (only support for RLC AM): PDCP PDU routing for transmission and PDCP PDU reordering for reception)
- 중복 탐지 기능(Duplicate detection of lower layer SDUs at PDCP re-establishment procedure for RLC AM)
- 재전송 기능(Retransmission of PDCP SDUs at handover and, for split bearers in DC, of PDCP PDUs at PDCP data-recovery procedure, for RLC AM)
- 암호화 및 복호화 기능(Ciphering and deciphering)
- 타이머 기반 SDU 삭제 기능(Timer-based SDU discard in uplink.)
무선 링크 제어(Radio Link Control, 이하 RLC라고 한다)(1b-10, 1b-35)는 PDCP PDU(Packet Data Unit)를 적절한 크기로 재구성해서 ARQ 동작 등을 수행한다. RLC의 주요 기능은 하기와 같이 요약된다.
- 데이터 전송 기능(Transfer of upper layer PDUs)
- ARQ 기능(Error Correction through ARQ (only for AM data transfer))
- 접합, 분할, 재조립 기능(Concatenation, segmentation and reassembly of RLC SDUs (only for UM and AM data transfer))
- 재분할 기능(Re-segmentation of RLC data PDUs (only for AM data transfer))
- 순서 재정렬 기능(Reordering of RLC data PDUs (only for UM and AM data transfer)
- 중복 탐지 기능(Duplicate detection (only for UM and AM data transfer))
- 오류 탐지 기능(Protocol error detection (only for AM data transfer))
- RLC SDU 삭제 기능(RLC SDU discard (only for UM and AM data transfer))
- RLC 재수립 기능(RLC re-establishment)
MAC(1b-15, 1b-30)은 한 단말에 구성된 여러 RLC 계층 장치들과 연결되며, RLC PDU들을 MAC PDU에 다중화하고 MAC PDU로부터 RLC PDU들을 역다중화하는 동작을 수행한다. MAC의 주요 기능은 하기와 같이 요약된다.
- 맵핑 기능(Mapping between logical channels and transport channels)
- 다중화 및 역다중화 기능(Multiplexing/demultiplexing of MAC SDUs belonging to one or different logical channels into/from transport blocks (TB) delivered to/from the physical layer on transport channels)
- 스케쥴링 정보 보고 기능(Scheduling information reporting)
- HARQ 기능(Error correction through HARQ)
- 로지컬 채널 간 우선 순위 조절 기능(Priority handling between logical channels of one UE)
- 단말간 우선 순위 조절 기능(Priority handling between UEs by means of dynamic scheduling)
- MBMS 서비스 확인 기능(MBMS service identification)
- 전송 포맷 선택 기능(Transport format selection)
- 패딩 기능(Padding)
물리 계층(1b-20, 1b-25)은 상위 계층 데이터를 채널 코딩 및 변조하고, OFDM 심벌로 만들어서 무선 채널로 전송하거나, 무선 채널을 통해 수신한 OFDM 심벌을 복조하고 채널 디코딩해서 상위 계층으로 전달하는 동작을 한다.
도 1c는 본 발명에서 제안하는 차세대 이동통신 시스템의 구조를 도시하는 도면이다.
도 1c을 참조하면, 도시한 바와 같이 차세대 이동통신 시스템(이하 NR 혹은 5G)의 무선 액세스 네트워크는 차세대 기지국(New Radio Node B, 이하 NR gNB 혹은 NR 기지국)(1c-10) 과 NR CN (1c-05, New Radio Core Network)로 구성된다. 사용자 단말(New Radio User Equipment, 이하 NR UE 또는 단말)(1c-15)은 NR gNB(1c-10) 및 NR CN (1c-05)를 통해 외부 네트워크에 접속한다.
도 1c에서 NR gNB(1c-10)는 기존 LTE 시스템의 eNB (Evolved Node B)에 대응된다. NR gNB는 NR UE(1c-15)와 무선 채널로 연결되며 기존 노드 B 보다 더 월등한 서비스를 제공해줄 수 있다. 차세대 이동통신 시스템에서는 모든 사용자 트래픽이 공용 채널(shared channel)을 통해 서비스 되므로, UE들의 버퍼 상태, 가용 전송 전력 상태, 채널 상태 등의 상태 정보를 취합해서 스케줄링을 하는 장치가 필요하며, 이를 NR NB(1c-10)가 담당한다. 하나의 NR gNB는 통상 다수의 셀들을 제어한다. 현재 LTE 대비 초고속 데이터 전송을 구현하기 위해서 기존 최대 대역폭 이상을 가질 수 있고, 직교 주파수 분할 다중 방식(Orthogonal Frequency Division Multiplexing, 이하 OFDM이라 한다)을 무선 접속 기술로 하여 추가적으로 빔포밍 기술이 접목될 수 있다. 또한 단말의 채널 상태에 맞춰 변조 방식(modulation scheme)과 채널 코딩률(channel coding rate)을 결정하는 적응 변조 코딩(Adaptive Modulation & Coding, 이하 AMC라 한다) 방식을 적용한다. NR CN (1c-05)는 이동성 지원, 베어러 설정, QoS 설정 등의 기능을 수행한다. NR CN는 단말에 대한 이동성 관리 기능은 물론 각종 제어 기능을 담당하는 장치로 다수의 기지국 들과 연결된다. 또한 차세대 이동통신 시스템은 기존 LTE 시스템과도 연동될 수 있으며, NR CN이 MME (1c-25)와 네트워크 인터페이스를 통해 연결된다. MME는 기존 기지국인 eNB (1c-30)과 연결된다.
도 1d는 본 발명에서 제안하는 차세대 이동통신 시스템의 무선 프로토콜 구조를 나타낸 도면이다. .
도 1d를 참조하면, 차세대 이동통신 시스템의 무선 프로토콜은 단말과 NR 기지국에서 각각 NR PDCP(1d-05, 1d-40), NR RLC(1d-10, 1d-35), NR MAC(1d-15, 1d-30)으로 이루어진다. NR PDCP (1d-05, 1d-40)의 주요 기능은 다음의 기능들 중 일부를 포함할 수 있다.
헤더 압축 및 압축 해제 기능(Header compression and decompression: ROHC only)
- 사용자 데이터 전송 기능 (Transfer of user data)
- 순차적 전달 기능(In-sequence delivery of upper layer PDUs)
- 순서 재정렬 기능(PDCP PDU reordering for reception)
- 중복 탐지 기능(Duplicate detection of lower layer SDUs)
- 재전송 기능(Retransmission of PDCP SDUs)
- 암호화 및 복호화 기능(Ciphering and deciphering)
- 타이머 기반 SDU 삭제 기능(Timer-based SDU discard in uplink.)
상기에서 NR PDCP 장치의 순서 재정렬 기능(reordering)은 하위 계층에서 수신한 PDCP PDU들을 PDCP SN(sequence number)을 기반으로 순서대로 재정렬하는 기능을 말하며, 재정렬된 순서대로 데이터를 상위 계층에 전달하는 기능을 포함할 수 있으며, 순서를 재정렬하여 유실된 PDCP PDU들을 기록하는 기능을 포함할 수 있으며, 유실된 PDCP PDU들에 대한 상태 보고를 송신 측에 하는 기능을 포함할 수 있으며, 유실된 PDCP PDU들에 대한 재전송을 요청하는 기능을 포함할 수 있다.
NR RLC(1d-10, 1d-35)의 주요 기능은 다음의 기능들 중 일부를 포함할 수 있다.
- 데이터 전송 기능(Transfer of upper layer PDUs)
- 순차적 전달 기능(In-sequence delivery of upper layer PDUs)
- 비순차적 전달 기능(Out-of-sequence delivery of upper layer PDUs)
- ARQ 기능(Error Correction through ARQ)
- 접합, 분할, 재조립 기능(Concatenation, segmentation and reassembly of RLC SDUs)
- 재분할 기능(Re-segmentation of RLC data PDUs)
- 순서 재정렬 기능(Reordering of RLC data PDUs)
- 중복 탐지 기능(Duplicate detection)
- 오류 탐지 기능(Protocol error detection)
- RLC SDU 삭제 기능(RLC SDU discard)
- RLC 재수립 기능(RLC re-establishment)
상기에서 NR RLC 장치의 순차적 전달 기능(In-sequence delivery)은 하위 계층으로부터 수신한 RLC SDU들을 순서대로 상위 계층에 전달하는 기능을 말하며, 원래 하나의 RLC SDU가 여러 개의 RLC SDU들로 분할되어 수신된 경우, 이를 재조립하여 전달하는 기능을 포함할 수 있으며, 수신한 RLC PDU들을 RLC SN(sequence number) 혹은 PDCP SN(sequence number)를 기준으로 재정렬하는 기능을 포함할 수 있으며, 순서를 재정렬하여 유실된 RLC PDU들을 기록하는 기능을 포함할 수 있으며, 유실된 RLC PDU들에 대한 상태 보고를 송신 측에 하는 기능을 포함할 수 있으며, 유실된 RLC PDU들에 대한 재전송을 요청하는 기능을 포함할 수 있으며, 유실된 RLC SDU가 있을 경우, 유실된 RLC SDU 이전까지의 RLC SDU들만을 순서대로 상위 계층에 전달하는 기능을 포함할 수 있으며, 혹은 유실된 RLC SDU가 있어도 소정의 타이머가 만료되었다면 타이머가 시작되기 전에 수신된 모든 RLC SDU들을 순서대로 상위 계층에 전달하는 기능을 포함할 수 있으며, 혹은 유실된 RLC SDU가 있어도 소정의 타이머가 만료되었다면 현재까지 수신된 모든 RLC SDU들을 순서대로 상위 계층에 전달하는 기능을 포함할 수 있다. 상기 NR RLC 계층은 접합(Concatenation) 기능을 포함하지 않을 수 있고 상기 기능을 NR MAC 계층에서 수행하거나 NR MAC 계층의 다중화(multiplexing) 기능으로 대체할 수 있다.
상기에서 NR RLC 장치의 비순차적 전달 기능(Out-of-sequence delivery)은 하위 계층으로부터 수신한 RLC SDU들을 순서와 상관없이 바로 상위 계층으로 전달하는 기능을 말하며, 원래 하나의 RLC SDU가 여러 개의 RLC SDU들로 분할되어 수신된 경우, 이를 재조립하여 전달하는 기능을 포함할 수 있으며, 수신한 RLC PDU들의 RLC SN 혹은 PDCP SN을 저장하고 순서를 정렬하여 유실된 RLC PDU들을 기록해두는 기능을 포함할 수 있다.
NR MAC(1d-15, 1d-30)은 한 단말에 구성된 여러 NR RLC 계층 장치들과 연결될 수 있으며, NR MAC의 주요 기능은 다음의 기능들 중 일부를 포함할 수 있다.
- 맵핑 기능(Mapping between logical channels and transport channels)
- 다중화 및 역다중화 기능(Multiplexing/demultiplexing of MAC SDUs)
- 스케쥴링 정보 보고 기능(Scheduling information reporting)
- HARQ 기능(Error correction through HARQ)
- 로지컬 채널 간 우선 순위 조절 기능(Priority handling between logical channels of one UE)
- 단말간 우선 순위 조절 기능(Priority handling between UEs by means of dynamic scheduling)
- MBMS 서비스 확인 기능(MBMS service identification)
- 전송 포맷 선택 기능(Transport format selection)
- 패딩 기능(Padding)
NR PHY 계층(1d-20, 1d-25)은 상위 계층 데이터를 채널 코딩 및 변조하고, OFDM 심벌로 만들어서 무선 채널로 전송하거나, 무선 채널을 통해 수신한 OFDM 심벌을 복조하고 채널 디코딩해서 상위 계층으로 전달하는 동작을 수행할 수 있다.
도 1e는 본 발명의 차세대 이동통신 시스템에서 단말이 각 계층 장치(entity, 이하 장치)들을 설정하는 절차를 도시한 도면이다.
도 1e는 본 발명에서 단말이 데이터를 송수신하기 위해서 망과 연결을 설정하고 각 계층의 장치(entity, 이하 장치)들을 설정하는 절차를 설명하는 도면이다.
현재 연결이 설정되어 있지 않은 단말 (1d-01, 이하 idle mode UE)은 전송할 데이터가 발생하면 LTE 기지국 혹은 NR 기지국(1d-02)과 RRC connection establishment 과정을 수행한다. 단말은 랜덤 액세스 과정을 통해서 기지국과 역방향 전송 동기를 수립하고 RRCConnectionRequest 메시지를 기지국으로 전송한다(1d-05). 상기 메시지에는 단말의 식별자와 연결을 설정하고자 하는 이유 등이 수납된다. 기지국은 단말이 RRC 연결을 설정하도록 RRCConnectionSetup 메시지를 전송한다(1d-10). 상기 메시지에는 RRC 연결 구성 정보, 각 계층의 설정 정보 등이 수납될 수 있다. 즉, PHY 혹은 NR PHY 장치, MAC 혹은 NR MAC 장치, RLC 혹은 NR RLC 장치, PDCP 혹은 NR PDCP 장치에 대한 설정 정보를 포함할 수 있으며, 상기 계층 장치들이 지원하는 기능들(도 1b 혹은 도 1d에서 설명된 계층별 기능들) 중에 특정 기능들에 대한 설정을 지시하는 정보를 포함할 수 있다. 또한 상기 메시지에는 베어러를 설정하고 각 PDCP 장치와 RLC 장치에서 적용할 설정 정보들을 포함할 수 있으며, 일련번호의 길이를 지시하는 정보(혹은 indication), 어떤 PDCP 헤더 포맷과 어떤 RLC 헤더 포맷을 적용할지에 대한 정보 등이 포함될 수 있다. RRC 연결을 설정한 단말은 RRCConnetionSetupComplete 메시지를 기지국으로 전송한다 (1d-15). 기지국은 DRB(Data Radio Bearer)를 설정하기 위해 단말에게 RRCConnectionReconfiguration 메시지를 전송한다(1d-20). 상기 메시지에는 각 계층의 설정 정보 등이 수납될 수 있다. 즉, PHY 혹은 NR PHY 장치, MAC 혹은 NR MAC 장치, RLC 혹은 NR RLC 장치, PDCP 혹은 NR PDCP 장치에 대한 설정 정보를 포함할 수 있으며, 상기 계층 장치들이 지원하는 기능들(도 1b 혹은 도 1d에서 설명된 계층별 기능들) 중에 특정 기능들에 대한 설정을 지시하는 정보를 포함할 수 있다. 또한 상기 메시지에는 베어러를 설정하고 각 PDCP 장치와 RLC 장치에서 적용할 설정 정보들을 포함할 수 있으며, 일련번호의 길이를 지시하는 정보(혹은 indication), 어떤 PDCP 헤더 포맷과 어떤 RLC 헤더 포맷을 적용할지에 대한 정보 등이 포함될 수 있다. 또한 상기 메시지에는 사용자 데이터가 처리될 DRB의 설정 정보가 포함되며, 단말은 상기 정보를 적용해서 DRB를 설정하고 각 계층의 기능들을 설정하고 기지국에게 RRCConnectionReconfigurationComplete 메시지를 전송한다(1d-25). 상기 과정이 모두 완료되면 단말은 기지국과 데이터를 송수신한다(1d-30). 그리고 데이터를 송수신하다가 기지국은 필요하면 RRCConnectionReconfiguration 메시지를 단말에게 다시 보내어(1d-35) 단말의 각 계층의 설정 정보 등을 다시 설정할 수 있다. 즉, 상기 메시지에는 PHY 혹은 NR PHY 장치, MAC 혹은 NR MAC 장치, RLC 혹은 NR RLC 장치, PDCP 혹은 NR PDCP 장치에 대한 설정 정보를 포함할 수 있으며, 상기 계층 장치들이 지원하는 기능들(도 1b 혹은 도 1d에서 설명된 계층별 기능들) 중에 특정 기능들에 대한 설정을 지시하는 정보를 포함할 수 있다. 또한 상기 메시지에는 베어러를 설정하고 각 PDCP 장치와 RLC 장치에서 적용할 설정 정보들을 포함할 수 있으며, 일련번호의 길이를 지시하는 정보(혹은 indication), 어떤 PDCP 헤더 포맷과 어떤 RLC 헤더 포맷을 적용할지에 대한 정보 등이 포함될 수 있다. 상기 메시지에 따라 각 계층 장치들의 설정을 완료하면 단말은 기지국에게 RRCConnectionReconfigurationComplete 메시지를 전송한다 (1d-40).
도 1f는 본 발명에서 데이터를 선처리(pre-processing)하는 방법을 나타낸 도면이다.
차세대 이동 통신 시스템의 NR 기지국 혹은 단말은 사용자 평면(User plane) 계층에서 상위 계층으로부터 데이터 패킷(1f-05)을 수신하면 수신한 패킷을 미리 프로세싱 해놓을 수 있다. 상기 데이터의 선처리(data pre-processing)는 IP 패킷을 PDCP 계층의 PDCP PDU(1f-10)로 혹은 RLC 계층의 RLC PDU(1f-15)로 혹은 MAC 계층의 MAC 서브헤더와 함께 MAC SDU(1f-20)로 미리 데이터 선처리하는 것을 말한다.
도 1g는 본 발명에서 제안하는 NR PDCP 장치의 헤더 포맷들의 실시 예를 나타낸 도면이다.
도 1g에서 1g-05는 PDCP 장치의 제어 평면(Control plane)을 위한 제 1의 PDCP 헤더 포맷으로 6비트 길이의 일련 번호(Sequence number)를 지원하고 2비트의 예약 필드를 가질 수 있다. 1g-10는 PDCP 장치의 사용자 평면(User plane)을 위한 제 2-1의 PDCP 헤더 포맷으로 6비트의 일련 번호(Sequence number)를 지원하고 1비트의 예약 필드와 1비트의 D/C 필드를 가질 수 있다. 상기 D/C 필드는 PDCP 장치 간 제어 명령을 주고 받는 제어 PDU(PDCP Control PDU)와 상위 계층으로부터 수신한 데이터 PDU (PDCP Data PDU)를 구별하기 위한 필드이다. 1g-15는 PDCP 장치의 사용자 평면(User plane)을 위한 제 2-2의 PDCP 헤더 포맷으로 8비트의 일련 번호(Sequence number)를 지원하고 5비트의 예약 필드와 1비트의 D/C 필드를 가질 수 있다. 상기 D/C 필드는 PDCP 장치 간 제어 명령을 주고 받는 제어 PDU(PDCP Control PDU)와 상위 계층으로부터 수신한 데이터 PDU (PDCP Data PDU)를 구별하기 위한 필드이다. 1g-20는 PDCP 장치의 사용자 평면(User plane)을 위한 제 2-3의 PDCP 헤더 포맷으로 18비트의 일련 번호(Sequence number)를 지원하고 5비트의 예약 필드와 1비트의 D/C 필드를 가질 수 있다. 상기 D/C 필드는 PDCP 장치 간 제어 명령을 주고 받는 제어 PDU(PDCP Control PDU)와 상위 계층으로부터 수신한 데이터 PDU (PDCP Data PDU)를 구별하기 위한 필드이다.
상기에서 PDCP 헤더를 정의할 때 제어 평면(Control plane)을 위한 1개의 헤더를 제 1의 PDCP 헤더 포맷으로서 정의하고 사용자 평면(User plane)을 위한 3개의 헤더를 제 2-1, 2-2, 2-3의 PDCP 헤더 포맷으로서 정의하였다. 하지만 상기에서 기술한 필드들을 이용하여 제어 평면(Control plane)을 위한 x개의 PDCP 헤더를 정의할 수 있고, 사용자 평면(User plane)을 위한 y개의 PDCP 헤더를 정의할 수도 있다. 또한 상기에서는 PDCP 일련번호(Sequence number)를 6비트, 10비트, 18비트를 지원하지만 소정의 k 비트를 갖는 PDCP 일련번호를 추가로 지원할 수 있다.
도 1h는 본 발명에서 제안하는 NR RLC 장치의 헤더 포맷들의 실시 예를 나타낸 도면이다.
도 1h에서 1h-05는 RLC 장치의 RLC UM 모드 (Unacknowledged Mode)를 위한 제 1의 RLC 헤더 포맷으로 6비트 길이의 일련 번호(Sequence number)를 지원하고 2비트의 SI(Segmentation Information) 필드를 가질 수 있다. 상기에서 SI 필드는 다음과 같이 정의될 수 있으며 SI 라는 필드 이름은 FI(Framing Information) 혹은 SC (Segmentation Control)과 같이 다른 이름으로 명명될 수 있다.
ValueDescription
00A complete RLC PDU
01First segment of a RLC PDU
10Last segment of a RLC PDU
11Middle segment of a RLC PDU
SI 필드가 00인 경우, segmentation 되지 않은 완전한 RLC PDU를 나타내며, 이 경우 RLC 헤더에 SO필드가 필요 없다. SI 필드가 01인 경우, segmentation 된 맨 앞의 RLC PDU segment를 나타내며, 이 경우 RLC 헤더에 SO필드가 필요 없다. SCI 필드가 10인 경우, segmentation 된 마지막의 RLC PDU segment를 나타내며, 이 경우 RLC 헤더에 SO필드가 필요하다. SCI 필드가 11인 경우, segmentation 된 중간의 RLC PDU segment를 나타내며, 이 경우 RLC 헤더에 SO필드가 필요하다. 상기 2비트와 4가지 정보(완전한 RLC PDU, 맨 앞의 segment, 마지막의 segment, 중간의 segment)의 맵핑 관계는 총 4x3x2x1 = 24가지를 가질 수 있고 상기는 그 중 한 가지 예를 나타낸 것이다. 본 발명은 상기 24가지 맵핑의 경우를 모두 포함한다. 상기에서 SO (Segment Offset) 필드는 15 혹은 16 필드로, PDU segment가 원래 PDU의 어느 위치에 있는지를 지시하는데 이용된다.
상기의 본 발명에서 2비트의 SI필드는 1비트의 SF(segment flag) 필드와 1비트의 LSF(last segment flag) 필드로 대체될 수 있다. 상기에서 1비트의 SF필드는 RLC PDU에 segment가 있는지 없는지 유무를 나타내고, 1비트의 LSF 필드는 segment가 원래 RLC PDU의 마지막 segment 인지 아닌지를 나타내는 필드일 수 있다. 즉, SF필드가 0이면 segment가 없다는 것을 의미하고, 1이면 segment가 있다는 것을 의미할 수 있다. 0과 1을 바꾸어 정의할 수도 있다. LSF필드가 0이면 segment가 첫 번째 혹은 중간의 segment들임을 지시하도록 할 수 있고, 또한 첫 번째만을 지시하도록 할 수도 있고, 또한 중간의 segment만을 지시하도록 정의할 수 있으며, 1이면 마지막 segment라는 것을 지시하도록 정의할 수 있다. 또한 0과 1을 바꾸어 정의할 수 도 있다. 상기에서 정의한 것과 같은 1비트 SF필드와 1비트 LSF필드는 RLC 헤더에 항상 존재할 수 있다.
또 다른 실시 예로서 상기의 본 발명에서 2 비트의 SI필드는 1비트의 SF(segment flag) 필드와 1비트의 LSF(last segment flag) 필드로 대체될 수 있다. 상기에서 1비트의 SF필드는 RLC PDU에 segment가 있는지 없는지 유무를 나타내고 만약에 segment가 있다는 것을 지시한다면 동시에 LSF 필드도 존재한다는 것을 의미할 수 있다. 따라서 SF 필드가 segment가 없다는 것을 지시한다면 LSF 필드도 존재하지 않을 수 있다. 즉, 예를 들면 SF 필드가 0이라면 segment가 없다는 것을 지시하고 동시에 LSF 필드가 없다는 것을 지시할 수 있다. 따라서 SF 필드가 1인 경우에 즉, segment가 있는 경우에만 LSF 필드도 존재할 수 있고, 이 때 LSF 필드가 0이면 상기 segment가 마지막 segment가 아니라는 것을 지시할 수 있으며, 1이라면 상기 segment가 마지막 segment라는 것을 지시할 수 있다. 따라서 이 실시 예에서는 SF필드는 RLC 헤더에 항상 존재하지만 LSF필드는 SF필드가 segment가 있다는 것을 지시할 경우에만 존재할 수도 있다.
1h-10은 RLC 장치의 RLC AM 모드(RLC Acknowledged Mode)를 위한 제 2-1의 RLC 헤더 포맷으로 10비트의 일련 번호(Sequence number)를 지원하고 1비트의 D/C 필드, 2비트의 SI 필드, 1비트의 폴링(polling) 필드, 2비트의 예약 필드를 가질 수 있다. 상기 D/C 필드는 RLC 장치 간 제어 명령을 주고 받는 제어 PDU(RLC Control PDU)와 상위 계층으로부터 수신한 데이터 PDU (RLC Data PDU)를 구별하기 위한 필드이다. 상기에서 폴링( polling) 필드는 RLC 버퍼 상태 보고를 요청하기 위한 필드이다.
1h-15는 RLC 장치의 RLC AM 모드(RLC Acknowledged Mode)를 위한 제 2-2의 RLC 헤더 포맷으로 18비트의 일련 번호(Sequence number)를 지원하고 1비트의 D/C 필드, 2비트의 SI 필드, 1비트의 폴링(polling) 필드, 2비트의 예약 필드를 가질 수 있다. 상기 D/C 필드는 RLC 장치 간 제어 명령을 주고 받는 제어 PDU(RLC Control PDU)와 상위 계층으로부터 수신한 데이터 PDU (RLC Data PDU)를 구별하기 위한 필드이다. 상기에서 폴링( polling) 필드는 RLC 버퍼 상태 보고를 요청하기 위한 필드이다.
상기에서 RLC 헤더를 정의할 때 RLC UM 모드 (Unacknowledged Mode)를 위한 1개의 헤더를 제 1의 RLC 헤더 포맷으로서 정의하고 RLC AM 모드(RLC Acknowledged Mode)를 위한 2개의 헤더를 제 2-1, 2-2의 PDCP 헤더 포맷으로서 정의하였다. 하지만 상기에서 기술한 필드들을 이용하여 RLC UM 모드를 위한 m개의 RLC 헤더를 정의할 수 있고, RLC AM 모드를 위한 n개의 RLC 헤더를 정의할 수도 있다. 또한 상기에서는 RLC 일련번호(Sequence number)를 6비트, 10비트, 18비트를 지원하지만 소정의 x 비트를 갖는 RLC 일련번호를 추가로 지원할 수 있다.
차세대 이동 통신 시스템에서는 RLC 계층에서 연접(Concatenation) 기능이 없기 때문에 상기 RLC 헤더는 E 필드를 갖지 않는 것을 특징으로 할 수 있다. 상기 E 필드는 헤더의 고정된 RLC 헤더 파트 혹은 E필드 바로 뒤에 데이터 필드가 오는지 아니면 E필드 혹은 L필드 혹은 또 다른 헤더필드가 오는지를 지시할 수 있다. 예를 들면 E필드가 0이면 고정된 RLC 헤더 파트 혹은 E필드 바로 뒤에 데이터 필드가 오는지를 지시하고, E필드가 1이면 고정된 RLC 헤더 파트 혹은 E필드 바로 뒤에 또 다른 E필드 혹은 L필드 혹은 또 다른 헤더 필드가 오는지 지시할 수 있다. 또한 차세대 이동 통신 시스템에서는 RLC 계층에서 segment들을 지시할 때 SO필드를 기반으로 하는 통합된 segmentation 방법을 사용할 수 있기 때문에 segmentation과 Re-segmentation을 구분할 필요가 없을 수 있고 segment를 굳이 지시할 필요가 없을 수 있다. 따라서 상기 RLC 헤더는 RF 필드가 없는 것을 특징으로 할 수 있다. 상기 RF (Re-segmentation Flag) 필드는 1 비트로, 구성되는 RLC PDU가 PDU인지 PDU segment인지를 지시하는데 이용된다
도 1i는 본 발명에서 제안한 PDCP 헤더들과 RLC 헤더들의 실시 예를 적용한 베어러들의 헤더 구조를 나타낸 도면이다.
도 1i에서 차세대 이동 통신 시스템에서 SRB 베어러(Signaling Radio Bearer)일 경우(1i-05), 제어 평명의 데이터를 송수신하고, RLC AM 모드를 적용할 수 있기 때문에 본 발명의 제 1의 PDCP 헤더와 제 2-1의 RLC 헤더를 사용할 수 있다. 만약 VoIP 혹은 오디오 혹은 비디오 스트리밍을 위한 UM 베어러의 경우(1i-10)에는 본 발명의 제 2-1의 PDCP 헤더와 제 1의 RLC 헤더를 적용할 수 있다. 만약 일반적인 AM 베어러의 경우(1i-15, 1i-20)에는 제 2-2의 PDCP 헤더와 제 2-1의 RLC 헤더를 적용하거나(1i-15) 제 2-3의 PDCP 헤더와 제 2-2의 RLC 헤더를 적용할 수 있다(1i-20).
차세대 이동 통신 시스템에서는 상기 RLC 헤더와 PDCP 헤더를 어떤 베어러, 예를 들면 데이터 베어러(DRB, Data Radio Bearer) 혹은 제어 베어러(SRB, Signaling Radio Bearer)에 대해서 적용할 때 같은 길이의 일련번호를 사용하도록 하는 것을 특징으로 할 수 있다. SRB 베어러의 경우에는 다른 길이의 일련번호의 길이를 사용하도록 할 수도 있다.
상기 도 1g와 도 1h에서 제안한 PDCP 헤더들과 RLC 헤더들을 사용하는 경우, SRB 베어러와 UM 베어러의 경우에는 PDCP 헤더와 RLC 헤더의 조합이 하나만 존재한다. 따라서 바로 PDCP 장치와 RLC 장치에 적용하면 된다. 하지만 AM 베어러의 경우에는 PDCP 헤더와 RLC 헤더의 조합이 두 개가 존재하기 때문에 이를 선택하는 방법이 요구된다.
AM 베어러의 PDCP 헤더 및 RLC 헤더의 선택을 위한 제 1의 실시 예는 다음과 같다.
만약 AM 베어러가 RRC 메시지(예를 들면 도 1e의 도 1e-10 혹은 1e-20 혹은 1e-35을 수신할 수 있다.)를 수신하고,
제 1의 조건을 만족하면 제 1의 방법을 적용하고
제 2의 조건을 만족하면 제 2의 방법을 적용한다.
상기 제 1의 조건은 베어러의 PDCP 장치와 RLC 장치를 설정하는 정보에 일련번호를 지시하는 정보(Indication)가 있는 경우를 말하며(상기 PDCP 장치와 RLC 장치를 설정하는 정보는 RRC 메시지(도 1e의 도 1e-10, 1e-20, 1e-35)에 포함되어 지시될 수 있다.)
상기 제 2의 조건은 베어러의 PDCP 장치와 RLC 장치를 설정하는 정보에 일련번호를 지시하는 정보(Indication)가 없는 경우를 말한다.
상기 제 1의 방법은 상기 AM 베어러에서 제 2-2의 PDCP 헤더와 제 2-1의 RLC 헤더를 적용하는 것을 말하며(1i-15),
상기 제 2의 방법은 상기 AM 베어러에서 제 2-3의 PDCP 헤더와 제 2-2의 RLC 헤더를 적용하는 것을 말한다(1i-20).
도 1j 는 도 1g와 도 1h에서 제안한 PDCP 헤더들과 RLC 헤더들을 사용하는 경우, AM 베어러의 PDCP 헤더와 RLC 헤더를 선택하는 제 1의 실시 예에 대한 단말의 동작을 나타낸다.
단말(1j-01)은 RRC 메시지(예를 들면 도 1e의 도 1e-10 혹은 1e-20 혹은 1e-35을 수신할 수 있다)를 수신하고, 제 1의 조건을 만족하면 제 1의 방법을 적용하고(1j-15) 제 2의 조건을 만족하면 제 2의 방법을 적용한다(1j-20).
상기 도 1g와 도 1h에서 제안한 PDCP 헤더들과 RLC 헤더들과 달리 상기에서 기술한 각 PDCP 헤더의 필드들과 각 RLC 헤더의 필드들을 이용하여 다양한 PDCP 헤더들과 RLC 헤더들을 정의할 수 있다. 따라서 이러한 경우, SRB 베어러, UM 베어러, AM 베어러의 경우, 모두 PDCP 헤더와 RLC 헤더의 조합이 두 개 이상이 존재할 수 있기 때문에 각 PDCP 장치와 각 RLC 장치의 헤더 포맷을 선택하는 절차가 필요한다. PDCP 장치와 RLC 장치의 PDCP 헤더 및 RLC 헤더의 선택을 위한 제 2의 실시 예는 다음과 같다
기지국은 단말에게 무선 베어러(RB, Radio Bearer) 설정 메시지를 보낼 수 있다. 상기 메시지는 RRC 메시지(도 1e의 도 1e-10, 1e-20, 1e-35)에 포함되어 지시될 수 있다. 단말은 상기 메시지를 수신하고 베어러를 설정하고 베어러를 통해 송수신할 패킷의 포맷을 결정하고, 단말과 기지국은 설정된 포맷으로 데이터 패킷들을 송수신한다. 상기에서 베어러의 송수신할 패킷의 PDCP 장치와 RLC 장치의 헤더 포맷을 결정하는 제 2의 실시 예는 다음과 같다.
단말이 무선 베어러 설정 메시지를 수신하고 (RRC 메시지, 예를 들면 도 1e의 도 1e-10 혹은 1e-20 혹은 1e-35을 수신할 수 있다.)
제 1의 조건과 제 2의 조건을 만족하는 경우, 제 1의 방법을 적용하고,
제 1의 조건과 제 3의 조건을 만족하는 경우, 제 2의 방법을 적용하고,
제 4의 조건을 만족하는 경우, 제 3의 방법을 적용하고,
제 5의 조건을 만족하는 경우, 제 4의 방법을 적용하고,
제 6의 조건을 만족하는 경우, 제 5의 방법을 적용하고,
제 7의 조건을 만족하는 경우, 제 6의 방법을 적용하고,
제 8의 조건을 만족하는 경우, 제 7의 방법을 적용하고,
제 9의 조건을 만족하는 경우, 제 8의 방법을 적용하고,
상기에서 제 1의 조건은 무선 베어러가 데이터 베어러(DRB)이고, 무선 베어러(RB) 설정 메시지에 일련 번호 길이를 지시하는 정보가 없는 경우를 말하며,
상기에서 제 2의 조건은 RLC AM 베어러(혹은 RLC AM 모드가 적용)인 경우를 말하며,
상기에서 제 3의 조건은 RLC UM 메어러(혹은 RLC UM 모드가 적용)인 경우를 말하며,
상기에서 제 4의 조건은 무선 베어러가 데이터 베어러(DRB)이고, 무선 베어러(RB) 설정 메시지에 PDCP 일련 번호 길이를 지시하는 정보만 있는 경우를 말하며,
상기에서 제 5의 조건은 무선 데이터 베어러(DRB)이고, 무선 베어러(RB) 설정 메시지에 PDCP 일련 번호 길이를 지시하는 정보와 RLC 일련 번호 길이를 지시하는 정보가 모두 있는 경우를 말하며,
상기에서 제 6의 조건은 무선 베어러가 제어 베어러(SRB)이고, 무선 베어러(RB) 설정 메시지에 일련 번호 길이를 지시하는 정보가 없는 경우를 말하며,
상기에서 제 7의 조건은 무선 베어러가 제어 베어러(SRB)이고, 무선 베어러(RB) 설정 메시지에 RLC 일련 번호 길이를 지시하는 정보가 있는 경우를 말하며,
상기에서 제 8의 조건은 무선 베어러가 제어 베어러(SRB)이고, 무선 베어러(RB) 설정 메시지에 PDCP 일련 번호 길이를 지시하는 정보가 있는 경우를 말하며,
상기에서 제 9의 조건은 무선 베어러가 제어 베어러(SRB)이고, 무선 베어러(RB) 설정 메시지에 PDCP 일련 번호 길이와 RLC 일련 번호 길이를 지시하는 정보가 있는 경우를 말하며,
상기에서 제 1의 방법은 PDCP 일련 번호 길이와 RLC 일련 번호 길이를 소정의 n 비트로 설정하는 것을 말하고,
상기에서 제 2의 방법은 PDCP 일련 번호 길이와 RLC 일련 번호 길이를 소정의 m 비트로 설정하는 것을 말하고,
상기에서 제 3의 방법은 RLC 일련 번호 길이를 PDCP 일련 번호 길이와 동일하게 설정하는 것을 말하며,
상기에서 제 4의 방법은 PDCP 일련 번호 길이와 RLC 일련 번호 길이를 지시받은 값으로 설정하는 것을 말하고,
상기에서 제 5의 방법은 PDCP 일련 번호 길이는 소정의 k비트, RLC 일련 번호 길이는 소정의 j 비트로 설정하는 것을 말하며, (k와 j는 서로 다를 수 있다.)
상기에서 제 6의 방법은 PDCP 일련 번호 길이는 소정의 k비트를 사용하고 RLC 일련 번호는 지시 받은 크기를 사용하는 것을 말하며,
상기에서 제 7의 방법은 PDCP 일련 번호 길이는 지시 받은 크기를 사용하고 RLC 일련 번호는 PDCP 일련 번호와 동일한 길이를 사용하는 것을 말하며,
상기에서 제 8의 방법은 PDCP 일련 번호 길이는 지시 받은 크기를 사용하고 RLC 일련 번호 길이도 지시 받은 크기를 사용하는 것을 말한다.
상기 무선 베어러(RB) 설정 메시지에서 PDCP 장치와 RLC 장치를 설정하는 정보는 RRC 메시지(도 1e의 도 1e-10, 1e-20, 1e-35가 예들이 될 수 있다)에 포함되어 지시될 수 있다.
상기에서 기술한 PDCP 장치와 RLC 장치의 헤더 포맷을 선택하는 제 2의 실시 예는 다음과 같이 요약될 수 있다.
무선 베어러가 DRB이고, RB 설정 메시지에 일련 번호 길이를 지시하는 정보가 없는 경우
→ RLC AM 베어러라면 PDCP 일련 번호 길이와 RLC 일련 번호 길이를 소정의 n 비트로 설정
→ RLC UM 베어러라면 PDCP 일련 번호 길이와 RLC 일련 번호 길이를 소정의 m 비트로 설정
무선 베어러가 DRB이고, RB 설정 메시지에 PDCP 일련 번호 길이를 지시하는 정보만 있는 경우
→ RLC 일련 번호 길이를 PDCP 일련 번호 길이와 동일하게 설정
무선 베어러가 DRB이고, RB 설정 메시지에 PDCP 일련 번호 길이를 지시하는 정보와 RLC 일련 번호 길이를 지시하는 정보가 모두 있는 경우
→ 지시 받은 값으로 설정
무선 베어러가 SRB이고, RB 설정 메시지에 일련 번호 길이를 지시하는 정보가 없는 경우
→ PDCP 일련 번호 길이는 소정의 k비트
→ RLC 일련 번호 길이는 소정의 j 비트. k와 j는 서로 다를 수 있음.
무선 베어러가 SRB이고, RB 설정 메시지에 RLC 일련 번호 길이를 지시하는 정보가 있는 경우
→ PDCP 일련 번호 길이는 소정의 k비트
→ RLC 일련 번호는 지시 받은 크기
무선 베어러가 SRB이고, RB 설정 메시지에 PDCP 일련번호 길이를 지시하는 정보가 있는 경우
→ PDCP 일련 번호 길이는 지시 받은 크기
→ RLC 일련 번호는 PDCP와 같은 일련 번호 길이를 사용
무선 베어러가 SRB이고, RB 설정 메시지에 PDCP 일련번호와 RLC 일련 번호 길이를 지시하는 정보가 있는 경우
→ PDCP 일련 번호 길이는 지시 받은 크기
→ RLC 일련 번호는 지시 받은 크기
도 1k 는 다양한 PDCP 헤더들과 RLC 헤더들을 사용하는 경우, 각 베어러의 PDCP 헤더와 RLC 헤더를 선택하는 제 2의 실시 예에 대한 단말의 동작을 나타낸다.
도 1k에서 단말(1k-01)이 무선 베어러 설정 메시지를 수신하고(1k-05, RRC 메시지, 예를 들면 도 1e의 도 1e-10 혹은 1e-20 혹은 1e-35을 수신할 수 있다.) 제 1의 조건과 제 2의 조건을 만족하는 경우, 제 1의 방법을 적용하고(1k-15), 제 1의 조건과 제 3의 조건을 만족하는 경우, 제 2의 방법을 적용하고(1k-20), 제 4의 조건을 만족하는 경우, 제 3의 방법을 적용하고(1k-25), 제 5의 조건을 만족하는 경우, 제 4의 방법을 적용하고(1k-30), 제 6의 조건을 만족하는 경우, 제 5의 방법을 적용하고(1k-35), 제 7의 조건을 만족하는 경우, 제 6의 방법을 적용하고(1k-40), 제 8의 조건을 만족하는 경우, 제 7의 방법을 적용하고(1k-45), 제 9의 조건을 만족하는 경우, 제 8의 방법을 적용한다(1k-50).
도 1l에 본 발명의 실시 예에 따른 단말의 구조를 도시하였다.
상기 도면을 참고하면, 상기 단말은 RF(Radio Frequency)처리부(1l-10), 기저대역(baseband)처리부(1l-20), 저장부(1l-30), 제어부(1l-40)를 포함한다.
상기 RF처리부(1l-10)는 신호의 대역 변환, 증폭 등 무선 채널을 통해 신호를 송수신하기 위한 기능을 수행한다. 즉, 상기 RF처리부(1l-10)는 상기 기저대역처리부(1l-20)로부터 제공되는 기저대역 신호를 RF 대역 신호로 상향 변환한 후 안테나를 통해 송신하고, 상기 안테나를 통해 수신되는 RF 대역 신호를 기저대역 신호로 하향 변환한다. 예를 들어, 상기 RF처리부(1l-10)는 송신 필터, 수신 필터, 증폭기, 믹서(mixer), 오실레이터(oscillator), DAC(digital to analog convertor), ADC(analog to digital convertor) 등을 포함할 수 있다. 상기 도면에서, 하나의 안테나만이 도시되었으나, 상기 단말은 다수의 안테나들을 구비할 수 있다. 또한, 상기 RF처리부(1l-10)는 다수의 RF 체인들을 포함할 수 있다. 나아가, 상기 RF처리부(1l-10)는 빔포밍(beamforming)을 수행할 수 있다. 상기 빔포밍을 위해, 상기 RF처리부(1l-10)는 다수의 안테나들 또는 안테나 요소(element)들을 통해 송수신되는 신호들 각각의 위상 및 크기를 조절할 수 있다. 또한 상기 RF 처리부는 MIMO를 수행할 수 있으며, MIMO 동작 수행 시 여러 개의 레이어를 수신할 수 있다. 상기 RF처리부(1l-10)는 제어부의 제어에 따라 다수의 안테나 또는 안테나 요소들을 적절하게 설정하여 수신 빔 스위핑을 수행하거나, 수신 빔이 송신 빔과 공조되도록 수신 빔의 방향과 빔 너비를 조정할 수 있다.
상기 기저대역처리부(1l-20)은 시스템의 물리 계층 규격에 따라 기저대역 신호 및 비트열 간 변환 기능을 수행한다. 예를 들어, 데이터 송신 시, 상기 기저대역처리부(1l-20)은 송신 비트열을 부호화 및 변조함으로써 복소 심벌들을 생성한다. 또한, 데이터 수신 시, 상기 기저대역처리부(1l-20)은 상기 RF처리부(1l-10)로부터 제공되는 기저대역 신호를 복조 및 복호화를 통해 수신 비트열을 복원한다. 예를 들어, OFDM(orthogonal frequency division multiplexing) 방식에 따르는 경우, 데이터 송신 시, 상기 기저대역처리부(1l-20)는 송신 비트열을 부호화 및 변조함으로써 복소 심벌들을 생성하고, 상기 복소 심벌들을 부반송파들에 매핑한 후, IFFT(inverse fast Fourier transform) 연산 및 CP(cyclic prefix) 삽입을 통해 OFDM 심벌들을 구성한다. 또한, 데이터 수신 시, 상기 기저대역처리부(1l-20)은 상기 RF처리부(1l-10)로부터 제공되는 기저대역 신호를 OFDM 심벌 단위로 분할하고, FFT(fast Fourier transform) 연산을 통해 부반송파들에 매핑된 신호들을 복원한 후, 복조 및 복호화를 통해 수신 비트열을 복원한다.
상기 기저대역처리부(1l-20) 및 상기 RF처리부(1l-10)는 상술한 바와 같이 신호를 송신 및 수신한다. 이에 따라, 상기 기저대역처리부(1l-20) 및 상기 RF처리부(1l-10)는 송신부, 수신부, 송수신부 또는 통신부로 지칭될 수 있다. 나아가, 상기 기저대역처리부(1l-20) 및 상기 RF처리부(1l-10) 중 적어도 하나는 서로 다른 다수의 무선 접속 기술들을 지원하기 위해 다수의 통신 모듈들을 포함할 수 있다. 또한, 상기 기저대역처리부(1l-20) 및 상기 RF처리부(1l-10) 중 적어도 하나는 서로 다른 주파수 대역의 신호들을 처리하기 위해 서로 다른 통신 모듈들을 포함할 수 있다. 예를 들어, 상기 서로 다른 무선 접속 기술들은 LTE 망, NR 망 등을 포함할 수 있다. 또한, 상기 서로 다른 주파수 대역들은 극고단파(SHF:super high frequency)(예: 2.5GHz, 5Ghz) 대역, mm파(millimeter wave)(예: 60GHz) 대역을 포함할 수 있다.
상기 저장부(1l-30)는 상기 단말의 동작을 위한 기본 프로그램, 응용 프로그램, 설정 정보 등의 데이터를 저장한다. 상기 저장부(1l-30)는 상기 제어부(1l-40)의 요청에 따라 저장된 데이터를 제공한다.
상기 제어부(1l-40)는 상기 단말의 전반적인 동작들을 제어한다. 예를 들어, 상기 제어부(1l-40)는 상기 기저대역처리부(1l-20) 및 상기 RF처리부(1l-10)을 통해 신호를 송수신한다. 또한, 상기 제어부(1l-40)는 상기 저장부(1l-40)에 데이터를 기록하고, 읽는다. 이를 위해, 상기 제어부(1l-40)는 적어도 하나의 프로세서(processor)를 포함할 수 있다. 예를 들어, 상기 제어부(1l-40)는 통신을 위한 제어를 수행하는 CP(communication processor) 및 응용 프로그램 등 상위 계층을 제어하는 AP(application processor)를 포함할 수 있다.
도 1m는 본 발명의 실시 예에 따른 무선 통신 시스템에서 TRP의 블록 구성을 도시한다.
상기 도면에 도시된 바와 같이, 상기 기지국은 RF처리부(1m-10), 기저대역처리부(1m-20), 백홀통신부(1m-30), 저장부(1m-40), 제어부(1m-50)를 포함하여 구성된다.
상기 RF처리부(1m-10)는 신호의 대역 변환, 증폭 등 무선 채널을 통해 신호를 송수신하기 위한 기능을 수행한다. 즉, 상기 RF처리부(1m-10)는 상기 기저대역처리부(1m-20)로부터 제공되는 기저대역 신호를 RF 대역 신호로 상향변환한 후 안테나를 통해 송신하고, 상기 안테나를 통해 수신되는 RF 대역 신호를 기저대역 신호로 하향변환한다. 예를 들어, 상기 RF처리부(1m-10)는 송신 필터, 수신 필터, 증폭기, 믹서, 오실레이터, DAC, ADC 등을 포함할 수 있다. 상기 도면에서, 하나의 안테나만이 도시되었으나, 상기 제1접속 노드는 다수의 안테나들을 구비할 수 있다. 또한, 상기 RF처리부(1m-10)는 다수의 RF 체인들을 포함할 수 있다. 나아가, 상기 RF처리부(1m-10)는 빔포밍을 수행할 수 있다. 상기 빔포밍을 위해, 상기 RF처리부(1m-10)는 다수의 안테나들 또는 안테나 요소들을 통해 송수신되는 신호들 각각의 위상 및 크기를 조절할 수 있다. 상기 RF 처리부는 하나 이상의 레이어를 전송함으로써 하향 MIMO 동작을 수행할 수 있다.
상기 기저대역처리부(1m-20)는 제1무선 접속 기술의 물리 계층 규격에 따라 기저대역 신호 및 비트열 간 변환 기능을 수행한다. 예를 들어, 데이터 송신 시, 상기 기저대역처리부(1m-20)은 송신 비트열을 부호화 및 변조함으로써 복소 심벌들을 생성한다. 또한, 데이터 수신 시, 상기 기저대역처리부(1m-20)은 상기 RF처리부(1m-10)로부터 제공되는 기저대역 신호를 복조 및 복호화를 통해 수신 비트열을 복원한다. 예를 들어, OFDM 방식에 따르는 경우, 데이터 송신 시, 상기 기저대역처리부(1m-20)은 송신 비트열을 부호화 및 변조함으로써 복소 심벌들을 생성하고, 상기 복소 심벌들을 부반송파들에 매핑한 후, IFFT 연산 및 CP 삽입을 통해 OFDM 심벌들을 구성한다. 또한, 데이터 수신 시, 상기 기저대역처리부(1m-20)은 상기 RF처리부(1m-10)로부터 제공되는 기저대역 신호를 OFDM 심벌 단위로 분할하고, FFT 연산을 통해 부반송파들에 매핑된 신호들을 복원한 후, 복조 및 복호화를 통해 수신 비트열을 복원한다. 상기 기저대역처리부(1m-20) 및 상기 RF처리부(1m-10)는 상술한 바와 같이 신호를 송신 및 수신한다. 이에 따라, 상기 기저대역처리부(1m-20) 및 상기 RF처리부(1m-10)는 송신부, 수신부, 송수신부, 통신부 또는 무선 통신부로 지칭될 수 있다.
상기 통신부(1m-30)는 네트워크 내 다른 노드들과 통신을 수행하기 위한 인터페이스를 제공한다.
상기 저장부(1m-40)는 상기 주기지국의 동작을 위한 기본 프로그램, 응용 프로그램, 설정 정보 등의 데이터를 저장한다. 특히, 상기 저장부(1m-40)는 접속된 단말에 할당된 베어러에 대한 정보, 접속된 단말로부터 보고된 측정 결과 등을 저장할 수 있다. 또한, 상기 저장부(1m-40)는 단말에게 다중 연결을 제공하거나, 중단할지 여부의 판단 기준이 되는 정보를 저장할 수 있다. 그리고, 상기 저장부(1m-40)는 상기 제어부(1m-50)의 요청에 따라 저장된 데이터를 제공한다.
상기 제어부(1m-50)는 상기 주기지국의 전반적인 동작들을 제어한다. 예를 들어, 상기 제어부(1m-50)는 상기 기저대역처리부(1m-20) 및 상기 RF처리부(1m-10)을 통해 또는 상기 백홀통신부(1m-30)을 통해 신호를 송수신한다. 또한, 상기 제어부(1m-50)는 상기 저장부(1m-40)에 데이터를 기록하고, 읽는다. 이를 위해, 상기 제어부(1m-50)는 적어도 하나의 프로세서를 포함할 수 있다.
<제2 실시예>
도 2a는 본 발명이 적용될 수 있는 LTE 시스템의 구조를 도시하는 도면이다.
도 2a을 참조하면, 도시한 바와 같이 LTE 시스템의 무선 액세스 네트워크는 차세대 기지국(Evolved Node B, 이하 ENB, Node B 또는 기지국)(2a-05, 2a-10, 2a-15, 2a-20)과 MME (2a-25, Mobility Management Entity) 및 S-GW(2a-30, Serving-Gateway)로 구성된다. 사용자 단말(User Equipment, 이하 UE 또는 단말)(2a-35)은 ENB(2a-05 ~ 2a-20) 및 S-GW(2a-30)를 통해 외부 네트워크에 접속한다.
도 2a에서 ENB(2a-05 ~ 2a-20)는 UMTS 시스템의 기존 노드 B에 대응된다. ENB는 UE(2a-35)와 무선 채널로 연결되며 기존 노드 B 보다 복잡한 역할을 수행한다. LTE 시스템에서는 인터넷 프로토콜을 통한 VoIP(Voice over IP)와 같은 실시간 서비스를 비롯한 모든 사용자 트래픽이 공용 채널(shared channel)을 통해 서비스 되므로, UE들의 버퍼 상태, 가용 전송 전력 상태, 채널 상태 등의 상태 정보를 취합해서 스케줄링을 하는 장치가 필요하며, 이를 ENB(2a-05 ~ 2a-20)가 담당한다. 하나의 ENB는 통상 다수의 셀들을 제어한다. 예컨대, 100 Mbps의 전송 속도를 구현하기 위해서 LTE 시스템은 예컨대, 20 MHz 대역폭에서 직교 주파수 분할 다중 방식(Orthogonal Frequency Division Multiplexing, 이하 OFDM이라 한다)을 무선 접속 기술로 사용한다. 또한 단말의 채널 상태에 맞춰 변조 방식(modulation scheme)과 채널 코딩률(channel coding rate)을 결정하는 적응 변조 코딩(Adaptive Modulation & Coding, 이하 AMC라 한다) 방식을 적용한다. S-GW(2a-30)는 데이터 베어러를 제공하는 장치이며, MME(2a-25)의 제어에 따라서 데이터 베어러를 생성하거나 제거한다. MME는 단말에 대한 이동성 관리 기능은 물론 각종 제어 기능을 담당하는 장치로 다수의 기지국 들과 연결된다.
도 2b는 본 발명이 적용될 수 있는 LTE 시스템에서 무선 프로토콜 구조를 나타낸 도면이다.
도 2b를 참조하면, LTE 시스템의 무선 프로토콜은 단말과 ENB에서 각각 PDCP (Packet Data Convergence Protocol 2b-05, 2b-40), RLC (Radio Link Control 2b-10, 2b-35), MAC (Medium Access Control 2b-15, 2b-30)으로 이루어진다. PDCP (Packet Data Convergence Protocol)(2b-05, 2b-40)는 IP 헤더 압축/복원 등의 동작을 담당한다. PDCP의 주요 기능은 하기와 같이 요약된다.
- 헤더 압축 및 압축 해제 기능(Header compression and decompression: ROHC only)
- 사용자 데이터 전송 기능 (Transfer of user data)
- 순차적 전달 기능(In-sequence delivery of upper layer PDUs at PDCP re-establishment procedure for RLC AM)
- 순서 재정렬 기능(For split bearers in DC (only support for RLC AM): PDCP PDU routing for transmission and PDCP PDU reordering for reception)
- 중복 탐지 기능(Duplicate detection of lower layer SDUs at PDCP re-establishment procedure for RLC AM)
- 재전송 기능(Retransmission of PDCP SDUs at handover and, for split bearers in DC, of PDCP PDUs at PDCP data-recovery procedure, for RLC AM)
- 암호화 및 복호화 기능(Ciphering and deciphering)
- 타이머 기반 SDU 삭제 기능(Timer-based SDU discard in uplink.)
무선 링크 제어(Radio Link Control, 이하 RLC라고 한다)(2b-10, 2b-35)는 PDCP PDU(Packet Data Unit)를 적절한 크기로 재구성해서 ARQ 동작 등을 수행한다. RLC의 주요 기능은 하기와 같이 요약된다.
- 데이터 전송 기능(Transfer of upper layer PDUs)
- ARQ 기능(Error Correction through ARQ (only for AM data transfer))
- 접합, 분할, 재조립 기능(Concatenation, segmentation and reassembly of RLC SDUs (only for UM and AM data transfer))
- 재분할 기능(Re-segmentation of RLC data PDUs (only for AM data transfer))
- 순서 재정렬 기능(Reordering of RLC data PDUs (only for UM and AM data transfer)
- 중복 탐지 기능(Duplicate detection (only for UM and AM data transfer))
- 오류 탐지 기능(Protocol error detection (only for AM data transfer))
- RLC SDU 삭제 기능(RLC SDU discard (only for UM and AM data transfer))
- RLC 재수립 기능(RLC re-establishment)
MAC(2b-15, 2b-30)은 한 단말에 구성된 여러 RLC 계층 장치들과 연결되며, RLC PDU들을 MAC PDU에 다중화하고 MAC PDU로부터 RLC PDU들을 역다중화하는 동작을 수행한다. MAC의 주요 기능은 하기와 같이 요약된다.
- 맵핑 기능(Mapping between logical channels and transport channels)
- 다중화 및 역다중화 기능(Multiplexing/demultiplexing of MAC SDUs belonging to one or different logical channels into/from transport blocks (TB) delivered to/from the physical layer on transport channels)
- 스케쥴링 정보 보고 기능(Scheduling information reporting)
- HARQ 기능(Error correction through HARQ)
- 로지컬 채널 간 우선 순위 조절 기능(Priority handling between logical channels of one UE)
- 단말간 우선 순위 조절 기능(Priority handling between UEs by means of dynamic scheduling)
- MBMS 서비스 확인 기능(MBMS service identification)
- 전송 포맷 선택 기능(Transport format selection)
- 패딩 기능(Padding)
물리 계층(2b-20, 2b-25)은 상위 계층 데이터를 채널 코딩 및 변조하고, OFDM 심벌로 만들어서 무선 채널로 전송하거나, 무선 채널을 통해 수신한 OFDM 심벌을 복조하고 채널 디코딩해서 상위 계층으로 전달하는 동작을 한다.
도 2c는 본 발명이 적용될 수 있는 차세대 이동통신 시스템의 구조를 도시하는 도면이다.
도 2c을 참조하면, 도시한 바와 같이 차세대 이동통신 시스템(이하 NR 혹은 5G)의 무선 액세스 네트워크는 차세대 기지국(New Radio Node B, 이하 NR gNB 혹은 NR 기지국)(2c-10) 과 NR CN (2c-05, New Radio Core Network)로 구성된다. 사용자 단말(New Radio User Equipment, 이하 NR UE 또는 단말)(2c-15)은 NR gNB(2c-10) 및 NR CN (2c-05)를 통해 외부 네트워크에 접속한다.
도 2c에서 NR gNB(2c-10)는 기존 LTE 시스템의 eNB (Evolved Node B)에 대응된다. NR gNB는 NR UE(2c-15)와 무선 채널로 연결되며 기존 노드 B 보다 더 월등한 서비스를 제공해줄 수 있다. 차세대 이동통신 시스템에서는 모든 사용자 트래픽이 공용 채널(shared channel)을 통해 서비스 되므로, UE들의 버퍼 상태, 가용 전송 전력 상태, 채널 상태 등의 상태 정보를 취합해서 스케줄링을 하는 장치가 필요하며, 이를 NR NB(2c-10)가 담당한다. 하나의 NR gNB는 통상 다수의 셀들을 제어한다. 현재 LTE 대비 초고속 데이터 전송을 구현하기 위해서 기존 최대 대역폭 이상을 가질 수 있고, 직교 주파수 분할 다중 방식(Orthogonal Frequency Division Multiplexing, 이하 OFDM이라 한다)을 무선 접속 기술로 하여 추가적으로 빔포밍 기술이 접목될 수 있다. 또한 단말의 채널 상태에 맞춰 변조 방식(modulation scheme)과 채널 코딩률(channel coding rate)을 결정하는 적응 변조 코딩(Adaptive Modulation & Coding, 이하 AMC라 한다) 방식을 적용한다. NR CN (2c-05)는 이동성 지원, 베어러 설정, QoS 설정 등의 기능을 수행한다. NR CN는 단말에 대한 이동성 관리 기능은 물론 각종 제어 기능을 담당하는 장치로 다수의 기지국 들과 연결된다. 또한 차세대 이동통신 시스템은 기존 LTE 시스템과도 연동될 수 있으며, NR CN이 MME (2c-25)와 네트워크 인터페이스를 통해 연결된다. MME는 기존 기지국인 eNB (2c-30)과 연결된다.
도 2d는 본 발명이 적용될 수 있는 차세대 이동통신 시스템의 무선 프로토콜 구조를 나타낸 도면이다. .
도 2d를 참조하면, 차세대 이동통신 시스템의 무선 프로토콜은 단말과 NR 기지국에서 각각 NR PDCP(2d-05, 2d-40), NR RLC(2d-10, 2d-35), NR MAC(2d-15, 2d-30)으로 이루어진다. NR PDCP (2d-05, 2d-40)의 주요 기능은 다음의 기능들 중 일부를 포함할 수 있다.
헤더 압축 및 압축 해제 기능(Header compression and decompression: ROHC only)
- 사용자 데이터 전송 기능 (Transfer of user data)
- 순차적 전달 기능(In-sequence delivery of upper layer PDUs)
- 순서 재정렬 기능(PDCP PDU reordering for reception)
- 중복 탐지 기능(Duplicate detection of lower layer SDUs)
- 재전송 기능(Retransmission of PDCP SDUs)
- 암호화 및 복호화 기능(Ciphering and deciphering)
- 타이머 기반 SDU 삭제 기능(Timer-based SDU discard in uplink.)
상기에서 NR PDCP 장치의 순서 재정렬 기능(reordering)은 하위 계층에서 수신한 PDCP PDU들을 PDCP SN(sequence number)을 기반으로 순서대로 재정렬하는 기능을 말하며, 재정렬된 순서대로 데이터를 상위 계층에 전달하는 기능을 포함할 수 있으며, 순서를 재정렬하여 유실된 PDCP PDU들을 기록하는 기능을 포함할 수 있으며, 유실된 PDCP PDU들에 대한 상태 보고를 송신 측에 하는 기능을 포함할 수 있으며, 유실된 PDCP PDU들에 대한 재전송을 요청하는 기능을 포함할 수 있다.
NR RLC(2d-10, 2d-35)의 주요 기능은 다음의 기능들 중 일부를 포함할 수 있다.
- 데이터 전송 기능(Transfer of upper layer PDUs)
- 순차적 전달 기능(In-sequence delivery of upper layer PDUs)
- 비순차적 전달 기능(Out-of-sequence delivery of upper layer PDUs)
- ARQ 기능(Error Correction through ARQ)
- 접합, 분할, 재조립 기능(Concatenation, segmentation and reassembly of RLC SDUs)
- 재분할 기능(Re-segmentation of RLC data PDUs)
- 순서 재정렬 기능(Reordering of RLC data PDUs)
- 중복 탐지 기능(Duplicate detection)
- 오류 탐지 기능(Protocol error detection)
- RLC SDU 삭제 기능(RLC SDU discard)
- RLC 재수립 기능(RLC re-establishment)
상기에서 NR RLC 장치의 순차적 전달 기능(In-sequence delivery)은 하위 계층으로부터 수신한 RLC SDU들을 순서대로 상위 계층에 전달하는 기능을 말하며, 원래 하나의 RLC SDU가 여러 개의 RLC SDU들로 분할되어 수신된 경우, 이를 재조립하여 전달하는 기능을 포함할 수 있으며, 수신한 RLC PDU들을 RLC SN(sequence number) 혹은 PDCP SN(sequence number)를 기준으로 재정렬하는 기능을 포함할 수 있으며, 순서를 재정렬하여 유실된 RLC PDU들을 기록하는 기능을 포함할 수 있으며, 유실된 RLC PDU들에 대한 상태 보고를 송신 측에 하는 기능을 포함할 수 있으며, 유실된 RLC PDU들에 대한 재전송을 요청하는 기능을 포함할 수 있으며, 유실된 RLC SDU가 있을 경우, 유실된 RLC SDU 이전까지의 RLC SDU들만을 순서대로 상위 계층에 전달하는 기능을 포함할 수 있으며, 혹은 유실된 RLC SDU가 있어도 소정의 타이머가 만료되었다면 타이머가 시작되기 전에 수신된 모든 RLC SDU들을 순서대로 상위 계층에 전달하는 기능을 포함할 수 있으며, 혹은 유실된 RLC SDU가 있어도 소정의 타이머가 만료되었다면 현재까지 수신된 모든 RLC SDU들을 순서대로 상위 계층에 전달하는 기능을 포함할 수 있다. 또한 상기에서 RLC PDU들을 수신하는 순서대로 (일련번호, Sequence number의 순서와 상관없이, 도착하는 순으로) 처리하여 PDCP 장치로 순서와 상관없이(Out-of sequence delivery) 전달할 수도 있으며, segment 인 경우에는 버퍼에 저장되어 있거나 추후에 수신될 segment들을 수신하여 온전한 하나의 RLC PDU로 재구성한 후, 처리하여 PDCP 장치로 전달할 수 있다. 상기 NR RLC 계층은 접합(Concatenation) 기능을 포함하지 않을 수 있고 상기 기능을 NR MAC 계층에서 수행하거나 NR MAC 계층의 다중화(multiplexing) 기능으로 대체할 수 있다.
상기에서 NR RLC 장치의 비순차적 전달 기능(Out-of-sequence delivery)은 하위 계층으로부터 수신한 RLC SDU들을 순서와 상관없이 바로 상위 계층으로 전달하는 기능을 말하며, 원래 하나의 RLC SDU가 여러 개의 RLC SDU들로 분할되어 수신된 경우, 이를 재조립하여 전달하는 기능을 포함할 수 있으며, 수신한 RLC PDU들의 RLC SN 혹은 PDCP SN을 저장하고 순서를 정렬하여 유실된 RLC PDU들을 기록해두는 기능을 포함할 수 있다.
NR MAC(2d-15, 2d-30)은 한 단말에 구성된 여러 NR RLC 계층 장치들과 연결될 수 있으며, NR MAC의 주요 기능은 다음의 기능들 중 일부를 포함할 수 있다.
- 맵핑 기능(Mapping between logical channels and transport channels)
- 다중화 및 역다중화 기능(Multiplexing/demultiplexing of MAC SDUs)
- 스케쥴링 정보 보고 기능(Scheduling information reporting)
- HARQ 기능(Error correction through HARQ)
- 로지컬 채널 간 우선 순위 조절 기능(Priority handling between logical channels of one UE)
- 단말간 우선 순위 조절 기능(Priority handling between UEs by means of dynamic scheduling)
- MBMS 서비스 확인 기능(MBMS service identification)
- 전송 포맷 선택 기능(Transport format selection)
- 패딩 기능(Padding)
NR PHY 계층(2d-20, 2d-25)은 상위 계층 데이터를 채널 코딩 및 변조하고, OFDM 심벌로 만들어서 무선 채널로 전송하거나, 무선 채널을 통해 수신한 OFDM 심벌을 복조하고 채널 디코딩해서 상위 계층으로 전달하는 동작을 수행할 수 있다.
도 2e는 본 발명의 차세대 이동 통신 시스템에서 단말이 머무를 수 있는 모드들을 나타낸 도면이다.
도 2e에서 단말은 RRC 연결 모드(RRC connected mode, 2e-03), RRC 비활성 모드(RRC inactive mode, 2e-02) 혹은 lightly-connected 모드(2e-02), RRC 유휴 모드(RRC idle mode, 2e-01)에 머무를 수 있으며, 서로 다른 각 모드들로 전환하는 과정들(2e-05, 2e-10, 2e-15, 2e-20, 2e-25)을 거칠 수 있다. 즉, RRC 유휴 모드(2e-01)에 있던 단말은 상향 링크로 전송할 데이터가 생기거나 하향 링크 데이터가 도착하여 페이징 메시지를 수신한 경우, 혹은 트래킹 영역을 갱신하기 위해서(주기적으로 혹은 트래킹 영역을 벗어난 경우) 네트워크와 연결을 설정하여 데이터를 송수신하기 위해 RRC 연결 모드(2e-03)로 전환할 수 있다(2e-05). 데이터를 송수신한 후 일정한 시간 동안 데이터가 발생하지 않는다면 네트워크에 의해서 RRC 연결 모드의 단말은 RRC 유휴 모드로 전환될 수 있다(2e-15). 또한 일정한 시간 동안 데이터가 발생하지 않으면 RRC 연결 모드(2e-03)의 단말은 배터리 절감 및 빠른 연결을 지원하기 위한 목적으로 네트워크에 의해서 혹은 스스로 모드를 전환하여 RRC 비활성화 모드(2e-02)로 전환할 수 있다(2e-20). RRC 비활성화 모드(2e-03)의 단말은 상향 링크로 전송할 데이터가 생기거나 하향 링크 데이터가 도착하여 페이징 메시지를 수신한 경우, 혹은 트래킹 영역(혹은 랜 지시 영역(RAN Notification area)을 갱신하기 위해서(주기적으로 혹은 트래킹 영역(혹은 랜 지시 영역)을 벗어난 경우) 네트워크와 연결을 설정하여 데이터를 송수신하기 위해 RRC 연결 모드(2e-03)로 전환할 수 있다(2e-10). RRC 비활성화 모드(2e-03)에 있는 단말은 네트워크의 지시에 의해서 혹은 미리 약속된 설정에 의해서 혹은 스스로 RRC 유휴모드(2e-01)로 모드를 천이할 수 있다(2e-25). 상기에서 RRC 비활성화 모드의 단말들이 네트워크에 많을 경우, 빈번한 랜 지시 영역 갱신 절차로 네트워크의 시그널링 오버헤드가 증가할 수 있으므로 지원되어야 하는 동작이다. 소정의 목적을 가진 단말의 경우, RRC 연결 모드로 천이하지 않고도 RRC 비활성화 모드(2e-03)에서도 데이터를 전송할 수 있으며, RRC 비활성화 모드와 RRC 유휴 모드 사이에서 네트워크의 지시에 따라 천이를 반복하며, 필요한 경우에만 RRC 연결 모드로 천이를 진행할 수 있다. 상기 절차에서 RRC 비활성화 모드의 단말은 RRC 비활성화 모드에서 데이터를 전송함으로써, 매우 짧은 전송 지연을 가질 수 있으며, 매우 적은 시그날링 오버헤드를 가질 수 있다는 장점을 가지고 있다. 상기에서 소정의 목적은 단말이 적은 데이터만을 전송하려고 하는 경우, 간헐적으로 혹은 매우 긴 주기를 갖고 주기적으로 데이터를 송신하는 단말의 경우에 해당할 수 있다. 또한 RRC 유휴 모드(2e-01)에 있는 단말은 네트워크에 의해서 RRC 비활성화 모드(2e-03)로 바로 천이할 수도 있으며, RRC 연결모드로 천이하였다가 RRC 비활성화 모드로 천이할 수 도 있다(2e-03, 2e-20).
상기에서 단말이 모드들 사이에서 천이를 수행할 때 단말의 모드와 네트워크에서 인식하고 있는 단말의 모드 간의 불일치(state mismatch) 문제를 해결하가 위해서 단말에 추가적인 타이머(inactive timer)를 설정하고 구동할 수 있다. 또한 기지국에도 추가적인 타이머를 구동할 수 있다.
본 발명에서 RRC 비활성 모드와 lightly-connected 모드와 같은 상태의 모드로 해석될 수 있고, 같은 동작을 단말이 수행한다고 가정할 수 있다. 또한 RRC 비활성 모드와 lightly-connected 모드가 같은 상태의 모드로 해석될 수는 있지만 각 모드에서 단말이 서로 다른 동작을 수행한다고 가정할 수 있다. 또한 RRC 비활성 모드와 lightly-connected 모드가 다른 상태의 모드로 해석될 수도 있고 각 모드에서 단말이 서로 다른 동작을 수행한다고 가정할 수 있다. 이와 같이 RRC 비활성 모드와 lightly-connected 모드는 적은 시그날링으로 빠른 재접속을 할 수 있으면서 배터리를 절감할 수 있는 모드라는 점에서 같은 목적을 가지고 있지만 단말과 네트워크의 구현에 따라서 그리고 정의하기에 따라서 같은 모드일 수도 있고, 다른 모드일 수도 있다. 또한 상기에서 RRC 비활성 모드와 lightly-connected 모드의 단말 동작은 RRC 유휴 모드(RRC idle mode)에서의 동작과 동일하거나 추가적인 기능을 가지거나 RRC 유휴 모드(RRC idle mode)에서의 동작 중에 일부 기능만을 가질 수 있다. 상기에서처럼 RRC 비활성화 모드에서는 단말의 배터리가 절감되고, 단말이 네트워크로의 연결시 적은 시그날링 오버헤드를 가지고 빠른 연결을 설정할 수 있다는 장점이 있다. 하지만 RRC 비활성화 모드에 있는 단말은 RRC 유휴 모드에 있는 단말이 주기적으로 트래킹 영역(Tracking area)을 갱신하는 절차보다 더 자주 랜 지시 영역(RAN Notification area)을 갱신하는 절차를 수행해야 한다. 따라서 네트워크에 RRC 비활성화 모드 단말들이 굉장히 많다면 주기적인 랜 지시 영역 갱신 절차로 인한 시그널링 오버헤드가 야기될 수 있으므로 네트워크는 RRC 비활성화 모드인 단말들을 관리하고 필요시 RRC 유휴 모드로 전환할 수 있어야 한다.
도 2f는 본 발명에서 단말이 RRC 연결 모드(RRC connected mode)에서 RRC 유휴 모드(RRC idle mode)로 전환하는 절차와 RRC 유휴 모드(RRC idle mode)에서 RRC 연결 모드(RRC connected mode)로 전환하는 절차를 설명한 도면이다.
도 2f에서 기지국은 RRC 연결 모드에서 데이터를 송수신하는 단말이 소정의 이유로 혹은 일정 시간 동안 데이터의 송수신이 없으면 RRCConnectionRelease 메시지를 단말에게 보내어 단말을 RRC 유휴모드로 전환하도록 할 수 있다(2f-01). 추후에 현재 연결이 설정되어 있지 않은 단말 (이하 idle mode UE)은 전송할 데이터가 발생하면 기지국과 RRC connection establishment과정을 수행한다. 단말은 랜덤 액세스 과정을 통해서 기지국과 역방향 전송 동기를 수립하고 RRCConnectionRequest 메시지를 기지국으로 전송한다 (2f-05). 상기 메시지에는 단말의 식별자와 연결을 설정하고자 하는 이유(establishmentCause) 등이 수납된다. 기지국은 단말이 RRC 연결을 설정하도록 RRCConnectionSetup 메시지를 전송한다 (2f-10). 상기 메시지에는 RRC 연결 구성 정보 등이 수납된다. RRC 연결은 SRB (Signaling Radio Bearer)라고도 하며, 단말과 기지국 사이의 제어 메시지인 RRC 메시지 송수신에 사용된다. RRC 연결을 설정한 단말은 RRCConnetionSetupComplete 메시지를 기지국으로 전송한다 (2f-15). 상기 메시지에는 단말이 소정의 서비스를 위한 베어러 설정을 MME에게 요청하는 SERVICE REQUEST라는 제어 메시지가 포함되어 있다. 기지국은 RRCConnetionSetupComplete 메시지에 수납된 SERVICE REQUEST 메시지를 MME로 전송하고 (2f-20), MME는 단말이 요청한 서비스를 제공할지 여부를 판단한다. 판단 결과 단말이 요청한 서비스를 제공하기로 결정하였다면 MME는 기지국에게 INITIAL CONTEXT SETUP REQUEST라는 메시지를 전송한다(2f-25). 상기 메시지에는 DRB (Data Radio Bearer) 설정 시 적용할 QoS (Quality of Service) 정보, 그리고 DRB에 적용할 보안 관련 정보 (예를 들어 Security Key, Security Algorithm) 등의 정보가 포함된다. 기지국은 단말과 보안을 설정하기 위해서 SecurityModeCommand 메시지(2f-30)와 SecurityModeComplete 메시지(2f-35)를 교환한다. 보안 설정이 완료되면 기지국은 단말에게 RRCConnectionReconfiguration 메시지를 전송한다(2f-40). 상기 메시지에는 사용자 데이터가 처리될 DRB의 설정 정보가 포함되며, 단말은 상기 정보를 적용해서 DRB를 설정하고 기지국에게 RRCConnectionReconfigurationComplete 메시지를 전송한다(2f-45). 단말과 DRB 설정을 완료한 기지국은 MME에게 INITIAL CONTEXT SETUP COMPLETE 메시지를 전송하고 (2f-50), 이를 수신한 MME는 S-GW와 S1 베어러를 설정하기 위해서 S1 BEARER SETUP 메시지와 S1 BEARER SETUP RESPONSE 메시지를 교환한다(2f-055, 2f-60). S1 베어러는 S-GW와 기지국 사이에 설정되는 데이터 전송용 연결이며 DRB와 1대 1로 대응된다. 상기 과정이 모두 완료되면 단말은 기지국과 S-GW를 통해 데이터를 송수신한다(2f-65, 2f-70). 이처럼 일반적인 데이터 전송 과정은 크게 RRC 연결 설정, 보안 설정, DRB설정의 3단계로 구성된다. 또한 기지국은 소정의 이유로 단말에게 설정을 새로 해주거나 추가하거나 변경하기 위해서 RRCConnectionReconfiguration 메시지를 전송할 수 있다(2f-75).
상기와 같이 RRC 유휴 모드에서 RRC 연결 모드로 전환하기 위해서는 많은 시그날링 절차가 요구된다. 따라서 차세대 이동 통신 시스템에서는 RRC 비활성 모드 혹은 lightly-connected 모드를 새로 정의할 수 있고, 상기와 같은 새로운 모드에서는 단말과 기지국이 단말의 컨텍스트를 저장하고 있고, 필요하다면 S1 베어러를 유지하고 있을 수 있기 때문에 더 적은 시그날링 절차로 더 빠르게 접속할 수 있다.
도 2g는 본 발명에서 단말이 RRC 연결 모드에서 RRC 비활성 모드 혹은 lightly-connected 모드로 전환하는 절차와 RRC 비활성 모드 혹은 lightly-connected 모드에서 RRC 연결 모드로 전환하는 절차를 나타낸 도면이다.
도 2g에서 단말과 기지국은 단말 컨텍스트(UE context)와 S1 베어러를 재사용하는 절차를 수행하기 위한 단말(2g-01), 고정 기지국(anchor eNB, 2g-02), 새로운 기지국(New eNB, 2g-03), MME(2g-04)의 전체적인 흐름을 나타낸다. RRC 연결 상태의 단말(2g-01)은 기지국과 데이터 송수신을 수행한다. 데이터 송수신이 중지되면 기지국은 소정의 타이머를 구동하고 상기 타이머가 만료될 때까지 데이터 송수신이 재개되지 않으면(2g-05) 기지국은 단말의 RRC 연결을 해제할 것을 고려한다. 2g-10 과정에서 단말을 RRC 비활성화 상태 혹은 light connected 상태로 보내기 위해서 RRCConnectionRelease 대신에 RRCConnectionSuspend 메시지 혹은 새로 정의한 RRC 메시지 혹은 또 다른 기존의 RRC 메시지를 재사용하여 전송할 수 있다. 상기 2g-10에서 기지국은 소정의 규칙에 따라서 단말의 RRC 연결을 해제한 후 UE 컨텍스트를 저장하고 단말에게 RRC 연결을 해제할 것을 지시하는 제어 메시지를 전송하면서 Resume ID를 할당하고 단말이 light connected 모드 동안 이동성을 보고할 페이징 영역(Paging area, PA)을 설정해줄 수 있다. 이 때 Resume ID 할당으로 단말은 단말 컨텍스트(UE context)를 저장해야 한다는 것을 알 수 있으며, 혹은 상기 메시지에 기지국이 단말이 light connected 모드로 동작하며, 단말 컨텍스트를 저장하라는 것을 지시하기 위한 별도의 context 유지 지시자(indication)를 보낼 수도 있다(2g-10). 또한 상기 메시지에는 추후 단말이 RRC 연결 재개 절차를 수행할 때 필요한 보안 설정을 갱신하기 위한 보안 정보가 포함될 수 있다. 예를 들면 NCC(NextHopChainingCount)를 미리 할당받고 이를 이용하여 새로운 보안키(KeNB*)를 계산하고 설정할 수 있다. 또한 상기 제어 메시지에는 기지국이 컨텍스트를 유지할 기간 또는 단말이 유효기간 내에 RRC 연결을 재설정하고자 할 때, 저장된 컨텍스트를 사용하는 절차를 적용할 수 있는 셀의 리스트 등이 포함될 수 있다. 기지국은 상기 단말의 RRC 연결을 해제한 후, 상기 단말의 UE 컨텍스트 및 S1 베어러는 그대로 유지한다(2g-15). S1 베어러란 기지국과 MME 사이에서 제어 메시지를 주고 받는 용도로 사용되는 S1-제어 베어러와 기지국과 S-GW 사이에서 사용자 데이터를 주고 받는 용도로 사용되는 S1-사용자 평면 베어러를 지칭한다. 상기 S1 베어러를 유지함으로써, 단말이 동일한 셀에서 혹은 동일한 기지국에서 RRC 연결을 설정하려 할 때 S1 베어러 설정을 위한 절차를 생략할 수 있다. 기지국은 유효 기간이 만료되면 UE 컨텍스트를 삭제하고 S1 베어러를 해제할 수 있다. 상기 2g-10 단계의 RRC 연결 해제 메시지를 수신한 단말은 light connected 모드로 전환하게 된다.
기지국은 MME에게 연결 한시 정지를 요청하는 제어 메시지를 전송한다(2g-20). 상기 제어 메시지를 수신한 MME는 S-GW에게 상기 단말에 대한 하향 링크 데이터가 발생했을 때 상기 하향 링크 데이터를 기지국으로 전달하지 말고 MME에게 페이징 절차를 개시하도록 요청할 것을 지시하고 S-GW는 이에 따라 동작하거나(2g-35) 혹은 S-GW가 상기 단말에 대한 하향 링크 데이터가 발생했을 때 하향 링크 데이터를 고정 기지국으로 바로 전달하고 고정 기지국이 페이징 메시지를 생성해서 주변 기지국에 전달하도록 할 수 있다(2g-35). 즉, 하향 링크 데이터를 수신한 고정 기지국은 상기 데이터를 버퍼에 저장하고 페이징 절차를 진행한다. 상기 고정 기지국은 상기 단말의 단말 컨텍스트와 S1-U 베어러를 유지하고 있는 기지국을 지칭한다.
컨텍스트 유지를 지시하는 정보와 Resume ID가 포함된 RRC 연결 해제 메시지(2g-10)를 수신한 단말은 RRC 연결은 해제하되, 유효 기간에 대응되는 타이머를 구동하고 유효 셀 리스트를 메모리에 기록할 수 있고, 현재 단말 컨텍스트를 삭제하지 않고 메모리에 유지하고(2g-25) light connected 모드로 천이한다. 상기에서 단말 컨텍스트(UE context)란 단말의 RRC 설정과 관련된 여러 가지 정보를 의미하며 SRB 설정 정보, DRB 설정 정보, 보안 키 정보 등을 포함한다. 이 후 임의의 이유로 RRC 연결을 설정해야 할 필요성이 발생한다(2g-30). 이전 RRC 연결 해제 과정에서 Resume ID를 할당 받지 않았거나 컨텍스트가 유지된다는 점이 지시되지 않은 단말은 도 2f에서 설명한 일반적인 RRC 연결 설정 과정(도 2f)을 개시하지만, 이전 RRC 연결 해제 과정에서 Resume ID를 할당 받은 light connected 모드 단말은 저장된 단말 컨텍스트를 이용한 RRC 연결 재개 과정을 시도할 수 있다. 상기에서 light connected 모드 단말은 네트워크의 light connection 지원 여부에 따라 일반적인 RRC 연결 설정과정(도 3f)를 수행할 수도 있고, 저장된 단말 컨텍스트를 이용한 RRC 연결 재개 과정을 수행할 수도 있다. 본 발명에서 각 기지국 혹은 셀은 시스템 정보에 각 기지국 혹은 셀이 light connection을 지원하는지 지원하지 않는 지 여부에 대한 지시자를 포함하여 전송할 수 있다. 상기 지시자는 시스템 정보의 두 번째 블럭(Systeminformation2)에 포함될 수 있으며, 다른 시스템 정보의 블럭들(Systeminformation1~19)에 포함될 수 도 있다. 상기에서 light connection을 지원한다는 것은 하기 절차들(2g-50, 2g-55, 2g-60, 2g-65, 2g-70, 2g-75, 2g-80, 2g-85,2g-90) 을 해당 기지국 혹은 해당 셀이 설정할 수 있고, 지원한다는 것을 말할 수 있다. light connected 모드 단말은 RRC 연결을 설정해야 할 필요성이 생기면 현재 캠프온하고 있는 셀의 시스템 정보를 읽어 들인다. 만약 상기 시스템 정보에 상기 기지국 혹은 셀이 light connection을 지원한다는 지시자가 포함되어 있지 않다면, 단말은 도 2f에서 설명한 일반적인 RRC 연결 설정 과정(도 2f)을 수행할 수 있다(2g-45). 하지만 만약 상기 시스템 정보에 상기 기지국 혹은 셀이 light connection을 지원한다는 지시자가 포함되어 있다면, 단말은 저장된 단말 컨텍스트를 이용한 RRC 연결 재개 과정을 수행할 수 있다(2g-45). 상기 저장된 단말 컨텍스트를 이용한 RRC 연결 재개 과정은 다음과 같다.
먼저 단말은 랜덤액세스 절차를 수행하기 위해 프리앰블을 메시지 1에서 전송한다. 기지국은 메시지 1에서 받은 프리앰블에 따라 자원 할당이 가능하면 그에 상응하는 상향링크 자원을 메시지 2에서 단말에게 할당하여 준다. 단말은 수신한 상향링크 자원 정보를 토대로 2g-10 단계에서 수신한 Resume ID를 포함하여 Resume 요청 메시지를 전송한다(2g-50). 상기 메시지는 RRCConnectionRequest 메시지의 변형된 메시지이거나 새로 정의된 메시지(예를 들면 RRCConnectionResumeRequest)일 수 있다. 기존 고정 기지국(2g-02)에서 연결을 해제하여 light connected 모드에 있던 단말이 이동하여 다른 기지국의 셀에 캠프온한 경우라면 새로운 기지국(2g-03)은 단말의 Resume ID를 수신하고 확인하여 해당 단말이 이전에 어느 기지국에서 서비스를 받았었는지 알 수 있다. 새로운 기지국(2g-03)이 성공적으로 Resume ID를 수신하고 확인하였다면 기존 기지국(2g-02)에서 UE 컨텍스트를 회수해오는 절차를 수행한다(Context Retrieve Procedure. 2g-55, 2g-60). 만약 상기에서 단말 컨텍스트를 회수해오는 절차에 실패한다면 예를 들면 고정/소스 기지국을 찾지 못하거나 단말의 컨텍스트가 존재하지 않거나 등 소정의 이유로 실패한다면 기지국은 RRCConnectionResume 메시지 대신에 도 2f에서와 같이 RRCConnectionSetup 메시지를 보내고 그 이후의 베어러 설정 절차/보안 설정 절차를 도 2f에서 설명한 RRC 연결 설정 절차로 폴백(fallback)할 수 있다. 상기 단말 컨텍스트는 S1 혹은 X2 인터페이스를 통해서 새로운 기지국(2g-03)이 기존 기지국(2g-02)으로부터 가져올 수 있다. (만약 새로운 기지국이 Resume ID를 수신하였지만 소정의 이유로 성공적으로 단말을 구별하지 못한 경우는 RRCConnectionSetup 메시지를 단말에게 보내고 도 2f에서 설명한 일반적인 RRC 연결 설정 절차로 돌아가도록 할 수 있다. 즉 상기 RRCConnectionSetup 메시지를 단말에게 보내고 단말은 상기 메시지를 수신하면 RRCConnectionSetupComplete 메시지를 기지국에게 보내어 연결을 설정할 수 있다. 혹은 만약 새로운 기지국이 Resume ID를 수신하였지만 성공적으로 단말을 구별하지 못한 경우(예를 들면 기존 고정 기지국으로부터 단말 컨텍스트 회수에 실패한 경우) 단말에게 RRCConnectionRelease 메시지 혹은 RRCConnectionReject 메시지를 보내어 단말의 연결을 거절하고 다시 도 2f에서 설명한 일반적인 RRC 연결 설정 절차를 처음부터 시도하도록 하게 할 수 있다.) 새로운 지기국은 상기 회수한 단말 컨텍스트를 기반으로 MAC-I를 확인한다(2g-65). 상기 MAC-I는 상기 복원된 단말 컨텍스트의 보안 정보를 적용해서, 즉 보안 키와 보안 카운터를 적용해서 제어 메시지에 대해 단말이 계산한 메시지 인증 코드이다. 기지국은 상기 메시지의 MAC-I, 단말의 컨텍스트에 저장되어 있던 보안 키 및 보안 카운터 등을 이용해서 상기 메시지의 무결성을 확인한다. 그리고 새로운 기지국(2g-03)은 단말의 RRC 연결에 적용할 설정을 결정하고, 상기 설정 정보를 수납한 RRC 연결 재개 메시지(RRCConnectionResume)를 단말에게 전송한다 (2g-70). 상기 RRC 연결 재개 메시지는 기지국이 단말의 단말 식별자(Resume ID)를 확인하고 새로운 보안키(KeNB*)를 이용하여 암호화하여 전송될 수 있으며, 단말은 상기 2g-10에서 미리 할당 받은 NCC를 이용하여 계산한 새로운 보안키(KeNB*)를 이용하여 복호화하여 상기 RRC 연결 재개 메시지를 정상적으로 수신할 수 있다. 그리고 RRC 연결 재개 메시지를 보내는 절차 이후로는 RRC 메시지 및 데이터들을 새로운 보안키로 암호화하여 단말과 기지국이 송수신할 수 있다. 상기 RRC 연결 재개 메시지는 일반적인 RRC 연결 요구 메시지에 ‘RRC 컨텍스트 재사용’을 지시하는 정보(REUSE INDICATOR)가 포함된 제어 메시지일 수 있다. 상기 RRC 연결 재개 메시지는 RRC 연결 설정 메시지와 마찬가지로 단말의 RRC 연결 설정과 관련된 각종 정보들이 수납된다. 단말이 일반적인 RRC 연결 설정 메시지(RRCConnectionSetup)를 수신한 경우에는 RRC 연결 설정 메시지에서 지시된 설정 정보를 바탕으로 RRC 연결을 설정하지만, RRC 연결 재개 메시지를 수신한 경우에는 저장하고 있는 설정 정보와 상기 제어 메시지에서 지시된 설정 정보를 모두 고려해서 RRC 연결을 설정한다(Delta configuration). 요컨대 지시된 설정 정보를 저장하고 있는 설정 정보에 대한 델타 정보로 판단해서 적용할 설정 정보를 판단하고 설정 정보 혹은 UE 컨텍스트를 갱신할 수 있다. 예를 들어 RRC 연결 재개 메시지에 SRB 설정 정보가 포함되어 있다면, 상기 지시 받은 SRB 설정 정보를 적용해서 SRB를 구성하고, RRC 연결 재개 메시지에 SRB 설정 정보가 포함되어 있지 않다면 UE 컨텍스트에 저장되어 있는 SRB 설정 정보를 적용해서 SRB를 구성한다.
단말은 상기 갱신된 단말 컨텍스트 및 설정 정보를 적용해서 RRC 연결을 구성하고 기지국에게 RRC 연결 재개 완료 메시지를 전송한다 (2g-75). 그리고 MME에게 연결 한시 정지 해제를 요청하는 제어 메시지를 전송하고 S1 베어러를 새로운 기지국으로 재설정할 것을 요청한다(2g-80, 2g-85). MME는 상기 메시지를 수신하면 S-GW에게 S1 베어러를 새로운 기지국으로 재설정하고 상기 단말에 대한 데이터를 정상적으로 처리할 것을 지시한다. 상기 과정이 완료되면 단말은 상기 셀에서 데이터 송수신을 재개한다(2g-90).
상기 절차에서 기존 고정 기지국(2g-02)에서 연결을 해제하여 light connected 모드에 있던 단말이 크게 이동하지 않아서 기존 고정 기지국의 셀(2g-02)에 다시 캠프온한 경우라면 기존 고정 지기국(2g-03)은 2g-55, 2g-60의 절차를 수행하지 않고, 2g-80, 2g-85의 절차 대신 S1 베어러의 연결 한시 정지 해제만을 수행하고 메시지3에서 지시된 Resume ID를 참조해서 상기 단말의 단말 컨텍스트를 검색하고 이를 토대로 상기의 절차들과 비슷한 방법으로 연결을 재설정할 수 있다.
만약 데이터 송수신이 중지되면 기지국은 소정의 타이머를 구동하고 상기 타이머가 만료될 때까지 데이터 송수신이 재개되지 않으면(2g-95) 기지국은 단말의 RRC 연결을 해제할 것을 고려한다. 2g-100 과정에서 단말을 RRC 비활성화 상태 혹은 light connected 상태로 보내기 위해서 RRCConnectionRelease 대신에 RRCConnectionSuspend 메시지 혹은 새로 정의한 RRC 메시지 혹은 또 다른 기존의 RRC 메시지를 재사용하여 전송할 수 있다. 상기 2g-100 과정에서 기지국은 소정의 규칙에 따라서 단말의 RRC 연결을 해제한 후 UE 컨텍스트를 저장하고 단말에게 RRC 연결을 해제할 것을 지시하는 제어 메시지를 전송하면서 Resume ID를 할당하고 단말이 light connected 모드 동안 이동성을 보고할 페이징 영역(Paging area, PA)을 설정해준다(2g-100). light connected 모드의 단말(2g-105)은 설정된 페이징 영역을 벗어나게 되면 페이징 영역을 업데이트하는 절차를 수행하게 된다.
도 2h는 본 발명에서 단말을 RRC 연결 모드에서 RRC 비활성화 모드(혹은 lightly-connected 모드)로 전환하는 본 발명의 제 1 실시 예를 나타낸다.
도 2h에서 기지국은 소정의 이유로 RRC 연결 모드에 있는 단말(2h-05)을 RRC 비활성화 모드로 전환시킬 필요가 생긴다. 상기에서 소정의 이유는 소정의 타이머가 만료했기 때문일 수 있다. 즉 소정의 시간 동안 데이터의 송수신이 없어서일 수 있다. 기지국은 단말을 RRC 연결 모드에서 RRC 비활성화 모드로 전환시키기 위해서 RRCConnectionReconfiguration 메시지를 보낼 수 있다(2h-10). 상기 메시지에서 단말에게 RRC 연결 모드에서 RRC 비활성화 모드로 전환하라는 정보(혹은 지시자)가 들어갈 수 있다. 상기 메시지를 수신하면 단말은 응답으로 RRCConnectionReconfigurationComplete 메시지를 보내고(2h-15), RRC 비활성화 모드로 전환할 수 있다(2h-20).
도 2i는 본 발명에서 단말을 RRC 비활성화 모드(혹은 lightly-connected 모드)에서 RRC 유휴 모드로 전환하는 본 발명의 제 2 실시 예를 나타낸다.
도 2i에서 기지국은 소정의 이유로 RRC 비활성화 모드에 있는 단말(2i-05)을 RRC 유휴 모드로 전환시킬 필요가 생긴다. 상기에서 소정의 이유는 소정의 타이머가 만료했기 때문일 수 있고 혹은 네트워크의 시그날링 오버헤드를 줄이기 위해서 혹은 네트워크에서 단말 컨텍스트를 더 이상 저장하지 않고 버리기 위함일 수 있다. 기지국은 단말을 RRC 비활성 모드에서 RRC 유휴 모드로 전환시키기 위해서 먼저 단말에게 모드를 전환시키기 위해 새로 정의된 메시지 혹은 페이징 메시지를 보낼 수 있다(2i-10). 상기 메시지는 고정 기지국(anchor eNB)에서 전송되거나 CN(Core Network)에서 전송될 수 있으며, 고정 기지국에서 전송된 경우, RRC 비활성화 모드에 있는 단말을 구별할 수 있는 단말 식별자(예를 들면 Resume ID)를 포함하는 것을 특징으로 할 수 있으며, CN에서 전송된 경우, S-TMSI 혹은 IMSI를 포함하는 것을 특징으로 할 수 있다. 상기 메시지를 수신한 단말은 고정 기지국에서 전송한 경우, 이에 대한 응답으로 기지국에게 RRCConnectionResumeRequest 메시지를 보낼 수 있고 CN에서 전송한 경우, RRCConnectionRequest 메시지를 보낼 수 있다(2i-15). 기지국은 상기 메시지를 수신하고 단말을 유휴 상태로 전환시키기 위해서 RRCConnectionRelease 메시지를 단말에게 보낼 수 있다(2i-20). 단말은 상기 메시지를 수신하면 RRC 유휴 모드로 전환한다(2i-25).
만약 네트워크에서 RRC 비활성화 모드에 있는 단말(2i-30)을 직접 RRC 비활성화 모드에서 RRC 유휴 모드로 전환할 수 없다면 기지국은 단말이 RRC 연결 재개 설정 절차를 수행하려고 할 때(2i-35) 단말의 단말 식별자(Resume ID)를 확인하고 상기 단말을 RRC 유휴 모드로 보내기 위해서 2i-40과 같이 RRC 연결해제 메시지를 보낼 수 있다. 상기 메시지를 수신한 단말은 RRC 유휴 모드로 전환한다(2i-45).
도 2ia는 본 발명에서 단말을 RRC 비활성화 모드(혹은 lightly-connected 모드)에서 RRC 유휴 모드로 전환하는 본 발명의 제 2-1 실시 예를 나타낸다.
도 2ia에서 기지국은 소정의 이유로 RRC 비활성화 모드에 있는 단말(2ia-05)을 RRC 유휴 모드로 전환시킬 필요가 생긴다. 상기에서 소정의 이유는 소정의 타이머가 만료했기 때문일 수 있고 혹은 네트워크의 시그날링 오버헤드를 줄이기 위해서 혹은 네트워크에서 단말 컨텍스트를 더 이상 저장하지 않고 버리기 위함일 수 있다. 기지국은 단말을 RRC 비활성 모드에서 RRC 유휴 모드로 전환시키기 위해서 먼저 단말에게 모드를 전환시키기 위해 새로 정의된 메시지 혹은 페이징 메시지를 보낼 수 있다(2ia-10). 상기 메시지는 고정 기지국(anchor eNB)에서 전송되거나 CN(Core Network)에서 전송될 수 있으며, 고정 기지국에서 전송된 경우, RRC 비활성화 모드에 있는 단말을 구별할 수 있는 단말 식별자(예를 들면 Resume ID)를 포함하는 것을 특징으로 할 수 있으며, CN에서 전송된 경우, S-TMSI 혹은 IMSI를 포함하는 것을 특징으로 할 수 있다. 상기 메시지를 수신한 단말은 고정 기지국에서 전송한 경우, 이에 대한 응답으로 기지국에게 RRCConnectionResumeRequest 메시지를 보낼 수 있고 CN에서 전송한 경우, RRCConnectionRequest 메시지를 보내며, 도 2f와 같은 절차를 따라 일단 RRC 연결 모드로 천이할 수 있다.(2ia-15) 기지국은 상기 메시지를 수신하고 단말을 유휴 상태로 전환시키기 위해서 일단 단말을 RRC 연결 모드로 먼저 전환시키기 위해서 RRCConnectionResume 메시지를 단말에게 보낼 수 있다(2ia-20). 이를 수신한 단말은 RRC 연결 모드(2ia-25)로 일단 천이하고 RRCConnectionResumeComplete 상기 메시지를 보내고(2ia-30) 이를 기지국이 수신하면 기지국은 RRCConnectionRelease 메시지(2ia-35)를 단말에게 보내어 단말을 RRC 유휴 모드로 전환한다(2ia-40).
도 2ib는 본 발명에서 단말을 RRC 비활성화 모드(혹은 lightly-connected 모드)에서 RRC 유휴 모드로 전환하는 본 발명의 제 2-2 실시 예를 나타낸다.
도 2ib에서 기지국은 소정의 이유로 RRC 비활성화 모드에 있는 단말(2ib-05)을 RRC 유휴 모드로 전환시킬 필요가 생긴다. 상기에서 소정의 이유는 소정의 타이머가 만료했기 때문일 수 있고 혹은 네트워크의 시그날링 오버헤드를 줄이기 위해서 혹은 네트워크에서 단말 컨텍스트를 더 이상 저장하지 않고 버리기 위함일 수 있다. 기지국은 단말을 RRC 비활성 모드에서 RRC 유휴 모드로 전환시키기 위해서 먼저 단말에게 모드를 전환시키기 위해 새로 정의된 메시지 혹은 페이징 메시지를 보낼 수 있다(2ib-10). 상기 메시지는 고정 기지국(anchor eNB)에서 전송되거나 CN(Core Network)에서 전송될 수 있으며, 고정 기지국에서 전송된 경우, RRC 비활성화 모드에 있는 단말을 구별할 수 있는 단말 식별자(예를 들면 Resume ID)를 포함하는 것을 특징으로 할 수 있으며, CN에서 전송된 경우, S-TMSI 혹은 IMSI를 포함하는 것을 특징으로 할 수 있다. 상기 메시지를 수신한 단말은 고정 기지국에서 전송한 경우, 이에 대한 응답으로 기지국에게 RRCConnectionResumeRequest 메시지를 보낼 수 있고 CN에서 전송한 경우, RRCConnectionRequest 메시지를 보낼 수 있다.(2ib-15) 기지국은 상기 메시지를 수신하고 단말을 유휴 상태로 전환시키기 위해서 RRCConnectionReject 메시지를 단말에게 보낼 수 있다(2ib-20). 상기 메시지에는 단말이 RRC 비활성화 모드를 계속 유지할지 아니면 중지하고 RRC 유휴상태로 천이할지를 지시하는 지시자(indication)를 포함할 수 있다. 단말은 상기 메시지를 수신하면 RRC 유휴 모드로 전환한다(2ib-25).
도 2ic는 본 발명에서 단말을 RRC 비활성화 모드(혹은 lightly-connected 모드)에서 RRC 유휴 모드로 전환하는 본 발명의 제 2-3 실시 예를 나타낸다.
도 2ic에서 기지국은 소정의 이유로 RRC 비활성화 모드에 있는 단말(2ic-05)을 RRC 유휴 모드로 전환시킬 필요가 생긴다. 상기에서 소정의 이유는 소정의 타이머가 만료했기 때문일 수 있고 혹은 네트워크의 시그날링 오버헤드를 줄이기 위해서 혹은 네트워크에서 단말 컨텍스트를 더 이상 저장하지 않고 버리기 위함일 수 있다. 기지국은 단말을 RRC 비활성 모드에서 RRC 유휴 모드로 전환시키기 위해서 먼저 단말에게 모드를 전환시키기 위해 새로 정의된 메시지 혹은 페이징 메시지를 보낼 수 있다(2ic-10). 상기 메시지는 고정 기지국(anchor eNB)에서 전송되거나 CN(Core Network)에서 전송될 수 있으며, 고정 기지국에서 전송된 경우, RRC 비활성화 모드에 있는 단말을 구별할 수 있는 단말 식별자(예를 들면 Resume ID)를 포함하는 것을 특징으로 할 수 있으며, CN에서 전송된 경우, S-TMSI 혹은 IMSI를 포함하는 것을 특징으로 할 수 있다. 또한 상기 메시지들은 단말의 모드를 RRC 비활성화 모드에서 RRC 유휴모드로 천이할 것을 지시하는 지시자를 포함하는 것을 특징으로 할 수 있다. 상기 메시지를 수신한 단말은 RRC 유휴모드로 천이할 것을 지시하는 지시자가 포함된 경우, RRC 유휴모드로 상태로 천이할 수 있다(2ic-15). 그리고 상기 페이징 메시지를 고정 기지국에서 전송한 경우, 이에 대한 응답으로 기지국에게 RRCConnectionResumeRequest 메시지를 보낼 수 있고 CN에서 전송한 경우, RRCConnectionRequest 메시지를 보낼 수 있다(2ic-15). 상기에서 시그날링 오버헤드를 줄이기 위해서 2ic-20 절차를 생략할 수 있다.
본 발명에서 단말이 RRC 비활성화 모드에서 RRC 유휴모드로 전환하는 또 다른 실시 예는 다음과 같다. 단말은 RRC 비활성화 모드로 전환하기 이전에 셀 선택을 통하여 PLMN을 선택할 수 있다. 선택된 PLMN 내에서 셀 재선택을 수행할 때, 즉 단말이 Camped normally state 일 때(suitable cell을 찾을 때)는 RRC 비활성화 모드를 유지하다가 만약 단말이 any cell selection state 로 (acceptable cell을 찾아야할 때 혹은 PLMN을 다시 선택하기 위해 찾아야 할 때) 가게 되면 단말은 자동적으로 RRC 유휴 모드로 전환할 수 있다.
본 발명의 다음에서는 타이머를 기반으로 단말의 모드를 효율적으로 전환하는 방법을 제안한다. 상기의 방법들을 설명하기 전에 단말의 DRX에 대해서 먼저 설명한다.
도 2j는 본 발명에서 단말의 DRX 동작을 나타낸다.
도 2j는 DRX 동작을 설명하기 위한 도면이다. DRX는 단말의 전력 소모를 최소화하기 위해 적용되며, 스케줄링 정보를 얻기 위해, 미리 정해진 PDCCH에서만 모니터링하는 기술이다. DRX는 RRC 유휴 모드와 RRC 연결 모드에서 모두 동작 가능하며, 동작 방법은 다소 상이하다. RRC 유휴 모드에서는 단말이 소정의 방법으로 언제 깨어날지를 계산하여 기지국으로부터 페이징이 오는지 유무를 확인한다. 즉, 페이징 발생(Paging occasion)을 계산해서 페이징 발생 가능 시점마다 단말은 활성화 상태로 돌아가서 기지국으로부터의 신호를 확인한다. 만약 기지국으로부터의 신호가 없다면 다시 유휴 상태로 돌아간다. RRC 연결 모드에서의 단말의 DRX 동작은 다음과 같다. 단말이 스케줄링 정보를 획득하기 위해, 지속적으로 PDCCH을 모니터링하는 것은 큰 전력 소모를 야기할 것이다. 기본적인 DRX 동작은 DRX 주기 (2j-00)를 갖고, on-duration (2j-05) 시간 동안만 PDCCH을 모니터링한다. 연결 모드에서 DRX 주기는 long DRX 와 short DRX의 두 가지 값이 설정된다. 일반적인 경우엔 long DRX 주기가 적용되며, 필요에 따라, 기지국은 MAC CE (Control Element)을 이용해, short DRX 주기를 트리거시킬 수 있다. 일정 시간이 지난 후, 단말은 short DRX 주기에서 long DRX 주기로 변경한다. 특정 단말의 초기 스케줄링 정보는 미리 정해진 상기 PDCCH에서만 제공된다. 따라서, 단말은 주기적으로 상기 PDCCH만을 모니터링하므로써, 전력 소모를 최소화시킬 수 있다. 만약 on-duration (2j-05) 시간 동안, 새로운 패킷에 대한 스케줄링 정보가 PDCCH에 의해 수신되면 (2j-10), 단말은 DRX inactivity timer (2j-15)을 시작한다. 단말은 DRX inactivity timer 동안 active 상태를 유지한다. 즉, PDCCH 모니터링을 지속한다. 또한 HARQ RTT timer (2j-20)도 시작한다. HARQ RTT timer는 단말이 HARQ RTT (Round Trip Time) 시간 동안, 불필요하게 PDCCH을 모니터링하는 것을 방지하기 위해 적용되며, 상기 타이머 동작 시간 동안, 단말은 PDCCH 모니터링을 수행할 필요가 없다. 단, DRX inactivity timer와 HARQ RTT timer가 동시에 동작하는 동안에는 단말은 DRX inactivity timer을 기준으로 PDCCH 모니터링을 지속한다. HARQ RTT timer가 만료되면, DRX retransmission timer (2j-25)가 시작된다. 상기 DRX retransmission timer가 동작하는 동안엔, 단말은 PDCCH 모니터링을 수행해야 한다. 일반적으로 DRX retransmission timer 동작 시간 동안, HARQ 재전송을 위한 스케줄링 정보가 수신된다 (2j-30). 상기 스케줄링 정보를 수신하면, 단말은 바로 DRX retransmission timer을 중지시키고, 다시 HARQ RTT timer을 시작한다. 위의 동작은 상기 패킷이 성공적으로 수신될 때까지 지속한다 (2j-35).
RRC 연결 모드에서의 DRX 동작과 관련된 설정 정보들은 도 2f에서의 RRCConnectionReconfiguration 메시지를 통해 단말에게 전달된다. on-duration timer, DRX inactivity timer, DRX retransmission timer는 PDCCH subframe의 수로 정의된다. 타이머가 시작한 이 후, PDCCH subframe으로 정의된 subframe이 설정된 수만큼 지나가면, 상기 타이머가 만료된다. FDD에서는 모든 downlink subframe이 PDCCH subframe에 속하며, TDD에서는 downlink subframe과 special subframe이 이에 해당한다. TDD 에서는 동일 주파수 대역에 downlink subframe, uplink subframe, special subframe이 존재한다. 이 중, downlink subframe과 special subframe이 PDCCH subframe으로 간주된다.
기지국은 longDRX와 shortDRX의 두 가지 상태를 설정할 수 있다. 기지국은 통상, 단말로부터 보고되는 power Preference Indication 정보 및 단말 이동성 기록 정보, 설정된 DRB의 특성을 고려하여 상기 두 상태 중 하나를 이용할 것이다. 두 상태의 천이는 특정 타이머 만료 여부 혹은 특정 MAC CE을 단말에게 전송하여 이루어진다. 또한 필요한 경우, 기지국은 MAC CE를 이용해서 바로 단말이 inactive timer를 종료하도록 할 수 있다.
도 2k는 본 발명에서 단말을 RRC 연결 모드에서 RRC 비활성화 모드로 전환하는 제 3의 실시 예를 나타낸 도면이다.
도 2k에서는 기지국이 단말에게 DRX를 설정하지 않은 경우를 고려한다. 이러한 시나리오에서 기지국은 이전 RRC 연결 설정(2k-05)에서 단말에게 RRCConnetionSetup 메시지 혹은 RRCConnectionReconfiguration 메시지로 소정의 타이머 값을 설정해줄 수 있다. 상기 소정의 타이머 값은 단말이 모드를 전환하는데 이용되는 타이머에 사용된다. 상기에서 RRC 연결 모드에 있는 단말(2k-10)은 소정의 동작 이후에 타이머를 시작할 수 있다(2k-15). 상기에서 소정의 동작은 기지국으로부터 PDCCH로 신호를 수신하거나 단말이 데이터를 상향 링크로 전송하는 동작 혹은 데이터를 수신하는 동작 등이 될 수 있다. 만약 타이머가 만료될 때까지 상기와 같은 소정의 동작이 발생하지 않는다면 타이머는 만료하게 되고(2k-20), 단말은 RRC 비활성 모드로 전환하게 된다(2k-25). 상기에서 기지국은 기지국이 단말에게 설정해준 타이머 값을 이용하여 상기와 같이 단말과 동일하게 타이머를 구동하여 단말이 RRC 비활성 모드로 전환했는지 유무를 판단할 수 있다. 상기 절차를 단말이 RRC 연결 모드에서 RRC 유휴 모드로 전환할 때도 동일하게 적용할 수 있다.
도 2l는 본 발명에서 단말을 RRC 비활성 모드에서 RRC 유휴 모드로 전환하는 제 4의 실시 예를 나타낸 도면이다.
도 2l에서 기지국은 이전 RRC 연결 설정(2l-05)에서 단말에게 RRCConnetionSetup 메시지 혹은 RRCConnectionReconfiguration 메시지로 소정의 타이머 값을 설정해줄 수 있다. 상기 소정의 타이머 값은 단말이 모드를 전환하는데 이용되는 타이머에 사용된다. 상기에서 RRC 비활성 모드에 있는 단말(2l-10)은 소정의 동작 이후에 타이머를 시작할 수 있다(2l-15). 상기에서 소정의 동작은 기지국으로부터 PDCCH로 신호를 수신하거나 단말이 데이터를 상향 링크로 전송하는 동작 혹은 데이터를 수신하는 동작 혹은 페이징 메시지를 수신하는 동작 등이 될 수 있다. 만약 타이머가 만료될 때까지 상기와 같은 소정의 동작이 발생하지 않는다면 타이머는 만료하게 되고(2l-20), 단말은 RRC 유휴 모드로 전환하게 된다(2l-25). 상기에서 기지국은 기지국이 단말에게 설정해준 타이머 값을 이용하여 상기와 같이 단말과 동일하게 타이머를 구동하여 단말이 RRC 유휴 모드로 전환했는지 유무를 판단할 수 있다.
상기에서 기지국이 단말에게 하나의 타이머를 설정하여 각 모드 전환을 할 때 제 3의 실시 예와 제 4의 실시 예를 단말이 사용하도록 할 수도 있고, 혹은 서로 다른 두 개의 타이머를 설정하고 각 모드 전환을 할 때 제 3의 실시 예와 제 4의 실시 예를 각각 단말이 사용하도록 할 수 있다.
도 2m는 본 발명에서 단말을 RRC 연결 모드에서 RRC 비활성화 모드로 전환하는 제 5의 실시 예를 나타낸 도면이다.
도 2m에서는 기지국이 단말에게 DRX를 설정한 경우를 고려한다. 이러한 시나리오에서 기지국은 이전 RRC 연결 설정(2m-05)에서 단말에게 RRCConnetionSetup 메시지 혹은 RRCConnectionReconfiguration 메시지로 소정의 값을 설정해줄 수 있다(예를 들면 도 2f에서 2f-10 혹은 2f-40 혹은 2f-75). 상기 소정의 값은 단말이 모드를 전환하는데 이용된다. 상기 소정의 값은 DRX 주기의 횟수를 나타낼 수 있으며, 혹은 DRX inactive timer 값일 수도 있다. 상기에서 RRC 연결 모드에 있는 단말(2m-10)은 데이터를 송수신한 후에 DRX를 구동할 수 있다. 상기에서 이전의 RRC 연결 설정 절차에서 만약 단말에게 소정의 값이 DRX 주기의 횟수 N으로 설정이 되었다면 단말은 DRX를 구동하면서 DRX 주기가 N번이 완료할 때까지 소정의 동작이 발생하지 않으면 단말은 RRC 비활성 모드로 전환할 수 있다(2m-25). 상기에서 소정의 값은 각 셀의 시스템 정보에서 방송될 수 있으며, RRC 메시지로 상기 값이 설정되지 않은 경우, 시스템 정보에서 방송된 소정의 값을 기본값(default)으로 사용할 수 있으며, 추후 네트워크에서 RRC 메시지(예를 들면 RRCConnectionReconfiguration 메시지)로 단말에게 소정의 값을 설정해준 경우, 기본값을 상기 소정의 값으로 갱신할 수 있다. 상기에서 소정의 동작은 기지국으로부터 PDCCH로 신호를 수신하거나 단말이 데이터를 상향 링크로 전송하는 동작 혹은 데이터를 수신하는 동작 등이 될 수 있다. 상기에서 기지국은 기지국이 단말에게 설정한 소정의 값을 이용하여 상기와 같이 단말과 동일하게 DRX 동작을 체크하여 단말이 RRC 비활성 모드로 전환했는지 유무를 판단할 수 있다. 만약 상기에서 이전의 RRC 연결 설정 절차에서 단말에게 소정의 값이 DRX inactive timer 값으로 설정이 되었다면 단말은 DRX를 구동한 후 DRX inactive timer 가 만료하면 단말은 RRC 비활성 모드로 전환할 수 있다. 같은 방법으로 기지국은 단말이 그 다음 DRX 주기에 RRC 비활성 모드로 전환한 것을 알 수 있다. 상기 절차를 단말이 RRC 연결 모드에서 RRC 유휴 모드로 전환할 때도 동일하게 적용할 수 있다.
도 2n는 본 발명에서 단말을 RRC 비활성 모드에서 RRC 유휴 모드로 전환하는 제 6의 실시 예를 나타낸 도면이다.
도 2n에서는 단말이 RRC 비활성 모드에서 소정의 방법으로 언제 깨어날지를 계산하여 기지국으로부터 페이징이 오는지 유무를 확인한다. 즉, 페이징 발생(Paging occasion)을 계산해서 페이징 발생 가능 시점마다 단말은 활성화 상태로 돌아가서 기지국으로부터의 신호를 확인한다. 만약 기지국으로부터의 신호가 없다면 다시 비활성화 상태로 돌아간다. 이러한 시나리오에서 기지국은 이전 RRC 연결 설정(2n-05)에서 단말에게 RRCConnetionSetup 메시지 혹은 RRCConnectionReconfiguration 메시지로 소정의 값을 설정해줄 수 있다(예를 들면 도 2f에서 2f-10 혹은 2f-40 혹은 2f-75). 상기 소정의 값은 단말이 모드를 전환하는데 이용된다. 상기 소정의 값은 DRX 주기의 횟수를 나타낼 수 있다. 상기에서 소정의 값은 각 셀의 시스템 정보에서 방송될 수 있으며, RRC 메시지로 상기 값이 설정되지 않은 경우, 시스템 정보에서 방송된 소정의 값을 기본값(default)으로 사용할 수 있으며, 추후 네트워크에서 RRC 메시지(예를 들면 RRCConnectionReconfiguration 메시지)로 단말에게 소정의 값을 설정해준 경우, 기본값을 상기 소정의 값으로 갱신할 수 있다. 상기에서 DRX 주기는 페이징이 발생하는 주기를 말한다. 상기에서 RRC 연결 모드에 있는 단말(2n-10)은 데이터를 송수신한 후에 DRX를 구동할 수 있다. 즉 페이징을 계산하여 페이징이 올 수 있는 경우에만 활성화 상태에서 확인하고 다시 비활성화 상태로 돌아가는 것을 반복할 수 있다. 상기에서 페이징을 계산해서 페이징이 발생할 수 있는 시점부터 그 다음에 페이징이 발생할 수 있는 시점까지를 하나의 주기로 고려할 수 있다. 상기에서 이전의 RRC 연결 설정 절차에서 만약 단말에게 소정의 값이 DRX 주기의 횟수 N으로 설정이 되었다면 단말은 DRX를 구동하면서 DRX 주기가 N번이 완료할 때까지(즉 페이징 발생 시점이 N번 도래할때까지) 소정의 동작이 발생하지 않으면 단말은 RRC 유휴 모드로 전환할 수 있다(2n-25). 상기에서 소정의 동작은 기지국으로부터 PDCCH로 신호를 수신하거나 단말이 데이터를 상향 링크로 전송하는 동작 혹은 데이터를 수신하는 동작, 페이징 메시지를 수신하는 동작 등이 될 수 있다. 상기에서 기지국은 기지국이 단말에게 설정한 소정의 값을 이용하여 상기와 같이 단말과 동일하게 DRX 동작을 체크하여 단말이 RRC 유휴 모드로 전환했는지 유무를 판단할 수 있다.
상기에서 기지국이 단말에게 하나의 소정의 값을 설정하여 각 모드 전환을 할 때 제 5의 실시 예와 제 6의 실시 예를 단말이 사용하도록 할 수도 있고, 혹은 서로 다른 두 개의 소정의 값을 설정하고 각 모드 전환을 할 때 제 5의 실시 예와 제 6의 실시 예를 각각 단말이 사용하도록 할 수 있다.
상기 본 발명의 제 3의 실시 예, 제 4의 실시 예, 제 5의 실시 예, 제 6의 실시 예에서 기지국이 이전 RRC 연결 설정에서 단말에게 RRCConnetionSetup 메시지 혹은 RRCConnectionReconfiguration 메시지로 소정의 값을 보낼 때 단말이 전환할 소정의 모드까지 지정해줄 수 있다. 상기 소정의 모드는 RRC 연결 모드 혹은 RRC 비활성화 모드 혹은 RRC 유휴 모드로 설정될 수 있다. 따라서 만약 상기 본 발명의 제 3의 실시 예, 제 4의 실시 예, 제 5의 실시 예, 제 6의 실시 예에서 단말이 이전 RRC 연결 설정에서 소정의 값과 함께 소정의 모드가 설정된다면, 단말은 제 3의 실시 예, 제 4의 실시 예, 제 5의 실시 예, 제 6의 실시 예의 각 동작에 따라서 소정의 값에 해당하는 동작이 만족되면 소정의 모드로 전환할 수 있다. 즉 상기 제 3의 실시 예, 제 4의 실시 예, 제 5의 실시 예, 제 6의 실시 예의 동일한 동작 안에서 이전 RRC 연결 설정에서 단말이 어떤 모드로 전환할지도 미리 정해줄 수 있다.
도 2o는 본 발명에서 단말의 동작을 나타낸다.
도 2o에서 단말은 RRC 유휴 모드(2o-01)에서 도 2f에서 설명한 절차를 통해서 RRC 연결 모드(2o-03)로 모드를 전환할 수 있다. 또한 RRC 연결 모드(2o-03)에서 도 2f에서 설명한 절차 혹은 제 1의 실시 예 혹은 제 3의 실시 예 혹은 제 5m의 실시 예를 적용하여 RRC 유휴 모드(2o-01)로 모드를 전환할 수 있다. 또한 단말은 RRC 비활성화 모드(2o-02)에서 도 2g에서 설명한 절차를 통해서 RRC 연결 모드(2o-03)로 모드를 전환할 수 있으며, 단말은 RRC 연결 모드(2o-03)에서 제 1의 실시 예 혹은 제 3의 실시 예 혹은 제 5의 실시 예를 적용하여 RRC 비활성화 모드(2o-02)로 모드를 전환할 수 있다. 또한 단말은 RRC 비활성화 모드(2o-02)에서 제 2의 실시 예 혹은 제 4의 실시 예 혹은 제 6의 실시 예를 적용하여 RRC 유휴 모드(2o-01)로 전환할 수 있다.
도 2p에 본 발명의 실시 예가 적용될 수 있는 단말의 구조를 도시하였다.
상기 도면을 참고하면, 상기 단말은 RF(Radio Frequency)처리부(2p-10), 기저대역(baseband)처리부(2p-20), 저장부(2p-30), 제어부(2p-40)를 포함한다.
상기 RF처리부(2p-10)는 신호의 대역 변환, 증폭 등 무선 채널을 통해 신호를 송수신하기 위한 기능을 수행한다. 즉, 상기 RF처리부(2p-10)는 상기 기저대역처리부(2p-20)로부터 제공되는 기저대역 신호를 RF 대역 신호로 상향 변환한 후 안테나를 통해 송신하고, 상기 안테나를 통해 수신되는 RF 대역 신호를 기저대역 신호로 하향 변환한다. 예를 들어, 상기 RF처리부(2p-10)는 송신 필터, 수신 필터, 증폭기, 믹서(mixer), 오실레이터(oscillator), DAC(digital to analog convertor), ADC(analog to digital convertor) 등을 포함할 수 있다. 상기 도면에서, 하나의 안테나만이 도시되었으나, 상기 단말은 다수의 안테나들을 구비할 수 있다. 또한, 상기 RF처리부(2p-10)는 다수의 RF 체인들을 포함할 수 있다. 나아가, 상기 RF처리부(2p-10)는 빔포밍(beamforming)을 수행할 수 있다. 상기 빔포밍을 위해, 상기 RF처리부(2p-10)는 다수의 안테나들 또는 안테나 요소(element)들을 통해 송수신되는 신호들 각각의 위상 및 크기를 조절할 수 있다. 또한 상기 RF 처리부는 MIMO를 수행할 수 있으며, MIMO 동작 수행 시 여러 개의 레이어를 수신할 수 있다. 상기 RF처리부(2p-10)는 제어부의 제어에 따라 다수의 안테나 또는 안테나 요소들을 적절하게 설정하여 수신 빔 스위핑을 수행하거나, 수신 빔이 송신 빔과 공조되도록 수신 빔의 방향과 빔 너비를 조정할 수 있다.
상기 기저대역처리부(2p-20)은 시스템의 물리 계층 규격에 따라 기저대역 신호 및 비트열 간 변환 기능을 수행한다. 예를 들어, 데이터 송신 시, 상기 기저대역처리부(2p-20)은 송신 비트열을 부호화 및 변조함으로써 복소 심벌들을 생성한다. 또한, 데이터 수신 시, 상기 기저대역처리부(2p-20)은 상기 RF처리부(2p-10)로부터 제공되는 기저대역 신호를 복조 및 복호화를 통해 수신 비트열을 복원한다. 예를 들어, OFDM(orthogonal frequency division multiplexing) 방식에 따르는 경우, 데이터 송신 시, 상기 기저대역처리부(2p-20)는 송신 비트열을 부호화 및 변조함으로써 복소 심벌들을 생성하고, 상기 복소 심벌들을 부반송파들에 매핑한 후, IFFT(inverse fast Fourier transform) 연산 및 CP(cyclic prefix) 삽입을 통해 OFDM 심벌들을 구성한다. 또한, 데이터 수신 시, 상기 기저대역처리부(2p-20)은 상기 RF처리부(2p-10)로부터 제공되는 기저대역 신호를 OFDM 심벌 단위로 분할하고, FFT(fast Fourier transform) 연산을 통해 부반송파들에 매핑된 신호들을 복원한 후, 복조 및 복호화를 통해 수신 비트열을 복원한다.
상기 기저대역처리부(2p-20) 및 상기 RF처리부(2p-10)는 상술한 바와 같이 신호를 송신 및 수신한다. 이에 따라, 상기 기저대역처리부(2p-20) 및 상기 RF처리부(2p-10)는 송신부, 수신부, 송수신부 또는 통신부로 지칭될 수 있다. 나아가, 상기 기저대역처리부(2p-20) 및 상기 RF처리부(2p-10) 중 적어도 하나는 서로 다른 다수의 무선 접속 기술들을 지원하기 위해 다수의 통신 모듈들을 포함할 수 있다. 또한, 상기 기저대역처리부(2p-20) 및 상기 RF처리부(2p-10) 중 적어도 하나는 서로 다른 주파수 대역의 신호들을 처리하기 위해 서로 다른 통신 모듈들을 포함할 수 있다. 예를 들어, 상기 서로 다른 무선 접속 기술들은 LTE 망, NR 망 등을 포함할 수 있다. 또한, 상기 서로 다른 주파수 대역들은 극고단파(SHF:super high frequency)(예: 2.5GHz, 5Ghz) 대역, mm파(millimeter wave)(예: 60GHz) 대역을 포함할 수 있다.
상기 저장부(2p-30)는 상기 단말의 동작을 위한 기본 프로그램, 응용 프로그램, 설정 정보 등의 데이터를 저장한다. 상기 저장부(2p-30)는 상기 제어부(2p-40)의 요청에 따라 저장된 데이터를 제공한다.
상기 제어부(2p-40)는 상기 단말의 전반적인 동작들을 제어한다. 예를 들어, 상기 제어부(2p-40)는 상기 기저대역처리부(2p-20) 및 상기 RF처리부(2p-10)을 통해 신호를 송수신한다. 또한, 상기 제어부(2p-40)는 상기 저장부(2p-40)에 데이터를 기록하고, 읽는다. 이를 위해, 상기 제어부(2p-40)는 적어도 하나의 프로세서(processor)를 포함할 수 있다. 예를 들어, 상기 제어부(2p-40)는 통신을 위한 제어를 수행하는 CP(communication processor) 및 응용 프로그램 등 상위 계층을 제어하는 AP(application processor)를 포함할 수 있다.
도 2q는 본 발명의 실시 예가 적용될 수 있는 무선 통신 시스템에서 TRP의 블록 구성을 도시한다.
상기 도면에 도시된 바와 같이, 상기 기지국은 RF처리부(2q-10), 기저대역처리부(2q-20), 백홀통신부(2q-30), 저장부(2q-40), 제어부(2q-50)를 포함하여 구성된다.
상기 RF처리부(2q-10)는 신호의 대역 변환, 증폭 등 무선 채널을 통해 신호를 송수신하기 위한 기능을 수행한다. 즉, 상기 RF처리부(2q-10)는 상기 기저대역처리부(2q-20)로부터 제공되는 기저대역 신호를 RF 대역 신호로 상향변환한 후 안테나를 통해 송신하고, 상기 안테나를 통해 수신되는 RF 대역 신호를 기저대역 신호로 하향변환한다. 예를 들어, 상기 RF처리부(2q-10)는 송신 필터, 수신 필터, 증폭기, 믹서, 오실레이터, DAC, ADC 등을 포함할 수 있다. 상기 도면에서, 하나의 안테나만이 도시되었으나, 상기 제1접속 노드는 다수의 안테나들을 구비할 수 있다. 또한, 상기 RF처리부(2q-10)는 다수의 RF 체인들을 포함할 수 있다. 나아가, 상기 RF처리부(2q-10)는 빔포밍을 수행할 수 있다. 상기 빔포밍을 위해, 상기 RF처리부(2q-10)는 다수의 안테나들 또는 안테나 요소들을 통해 송수신되는 신호들 각각의 위상 및 크기를 조절할 수 있다. 상기 RF 처리부는 하나 이상의 레이어를 전송함으로써 하향 MIMO 동작을 수행할 수 있다.
상기 기저대역처리부(2q-20)는 제1무선 접속 기술의 물리 계층 규격에 따라 기저대역 신호 및 비트열 간 변환 기능을 수행한다. 예를 들어, 데이터 송신 시, 상기 기저대역처리부(2q-20)은 송신 비트열을 부호화 및 변조함으로써 복소 심벌들을 생성한다. 또한, 데이터 수신 시, 상기 기저대역처리부(2q-20)은 상기 RF처리부(2q-10)로부터 제공되는 기저대역 신호를 복조 및 복호화를 통해 수신 비트열을 복원한다. 예를 들어, OFDM 방식에 따르는 경우, 데이터 송신 시, 상기 기저대역처리부(2q-20)은 송신 비트열을 부호화 및 변조함으로써 복소 심벌들을 생성하고, 상기 복소 심벌들을 부반송파들에 매핑한 후, IFFT 연산 및 CP 삽입을 통해 OFDM 심벌들을 구성한다. 또한, 데이터 수신 시, 상기 기저대역처리부(2q-20)은 상기 RF처리부(2q-10)로부터 제공되는 기저대역 신호를 OFDM 심벌 단위로 분할하고, FFT 연산을 통해 부반송파들에 매핑된 신호들을 복원한 후, 복조 및 복호화를 통해 수신 비트열을 복원한다. 상기 기저대역처리부(2q-20) 및 상기 RF처리부(2q-10)는 상술한 바와 같이 신호를 송신 및 수신한다. 이에 따라, 상기 기저대역처리부(2q-20) 및 상기 RF처리부(2q-10)는 송신부, 수신부, 송수신부, 통신부 또는 무선 통신부로 지칭될 수 있다.
상기 통신부(2q-30)는 네트워크 내 다른 노드들과 통신을 수행하기 위한 인터페이스를 제공한다.
상기 저장부(2q-40)는 상기 주기지국의 동작을 위한 기본 프로그램, 응용 프로그램, 설정 정보 등의 데이터를 저장한다. 특히, 상기 저장부(2q-40)는 접속된 단말에 할당된 베어러에 대한 정보, 접속된 단말로부터 보고된 측정 결과 등을 저장할 수 있다. 또한, 상기 저장부(2q-40)는 단말에게 다중 연결을 제공하거나, 중단할지 여부의 판단 기준이 되는 정보를 저장할 수 있다. 그리고, 상기 저장부(2q-40)는 상기 제어부(2q-50)의 요청에 따라 저장된 데이터를 제공한다.
상기 제어부(2q-50)는 상기 주기지국의 전반적인 동작들을 제어한다. 예를 들어, 상기 제어부(2q-50)는 상기 기저대역처리부(2q-20) 및 상기 RF처리부(2q-10)을 통해 또는 상기 백홀통신부(2q-30)을 통해 신호를 송수신한다. 또한, 상기 제어부(2q-50)는 상기 저장부(2q-40)에 데이터를 기록하고, 읽는다. 이를 위해, 상기 제어부(2q-50)는 적어도 하나의 프로세서를 포함할 수 있다.
도 2r은 네트워크에서 하향링크 데이터가 발생한 경우, RRC 비활성화 모드의 단말이 RRC 연결모드로 천이하는 절차를 나타낸 도면이다.
도 2r에서 네트워크에서 어떤 단말을 위한 하향 링크 데이터가 발생한 경우, 네트워크는 단말에게 페이징 메시지(2r-10)를 보내어 단말로 하여금 RRC 연결 모드로의 천이가 필요함을 알릴 수 있다. 상기에서 페이징 메시지는 CN(Core Network) 혹은 고정 기지국(Anchor eNB)에서 전송할 수 있으며, CN에서 전송한 페이징 메시지의 경우, S-TMSI(System Architecture Evolution - Temporary Mobile Subscriber Identity) 혹은 IMSI (International Mobile Subscriber Identity)를 포함하는 것을 특징으로 할 수 있으며, 고정 기지국이 전송한 페이징 메시지의 경우, Resume ID를 포함하는 것을 특징으로 할 수 있다. 만약 단말이 페이징 메시지를 수신하였을 때 페이징 메시지에 S-TMSI 혹은 IMSI가 포함되어 있는 경우, 단말은 이를 CN 으로부터 전송된 페이징임을 확인하고, 도 2f에서 설명한 RRC 유휴모드 상태에서 RRC 연결모드로 천이하는 절차를 따라서 수행할 수 있다(2f-05~2f-75). 만약 단말이 수신한 페이징 메시지에 Resume ID가 포함된 경우라면 2r-15, 2r-20, 2r-30의 절차를 수행하여 도 2g에서 설명한 RRC 연결 재개 절차를 따라서 RRC 연결 모드로 천이할 수 있다. 상기 절차에서 시그날링 오버헤드를 줄이기 위한 목적으로 2r-30 절차를 생략할 수 있다.
도 2s는 RRC 비활성화 모드에 있는 네트워크와 연결을 설정하려고 할 때 네트워크에 의해 거절된 경우의 절차에 대해 나타낸 도면이다
도 2s에서 RRC 비활성화 모드에 있는 단말(2s-05)은 상향 링크 데이터가 발생하거나 혹은 트래킹 영역 갱신 혹은 랜 지시 영역 갱신 혹은 소정의 이유로 연결을 설정하려고 하면 RRCConnectionResumeRequest 메시지를 기지국에 전송할 수 있으며, 기지국은 소정의 이유로 단말에게 RRCConnectionReject 메시지를 보낼 수 있다(2s-15). 만약 기지국이 전송자원이 부족하거나 네트워크에 오버헤드가 큰 경우, 단말이 단말 컨텍스트를 유지하면서 RRC 비활성화 모드에 있기를 원하다면 지시자(indication)들을 이용하여 이를 지시할 수 있다. 단말은 상기 메시지에서 기지국의 지시자를 확인하고, 상기 메시지에 포함된 타이머 값으로 타이머를 설정하고 타이머가 만료하면 도 2g에서 설명한 것처럼 다시 RRC 연결 재개 절차를 수행할 수 있다(2s-25). 하지만 만약 네트워크에 단말 컨텍스트가 없거나 더 이상 RRC 연결 재개 절차를 지원하지 않는 경우, 기지국은 RRCConnectionReject 메시지의 지시자를 이용하여 이를 지시하고, 단말은 상기 메시지를 수신하면 지시자를 확인하고 더 이상 RRC 연결 재개 절차를 수행하지 않고, 소정의 타이머가 만료한 후에 도 2f에서 설명한 것처럼 RRC 연결 설정 절차로 폴백(fallback)할 수 있다(2s-30).
도 2t는 RRC 비활성화 모드의 단말이 RRC 연결 모드로 천이하지 않고, RRC 비활성화 모드에서 상향 링크 데이터를 전송하는 절차 1을 나타낸 도면이다.
도 2t에서 RRC 비활성화 모드의 단말은 단말 컨텍스트를 가지고 있으며, 상향 링크로 전송할 데이터가 발생할 수 있다 상기에서 단말 컨텍스트는 SRB(signaling radio bearer), DRB(data radio bearer)와 같은 베어러 설정 정보를 포함하고 있으며, 로지컬 채널에 대한 설정 정보, 보안 설정 정보를 포함하고 있을 수 있다. 또한 단말은 RRC 연결 상태에서 사용했던 것과 동일한 PDCP 장치 설정 정보를 포함하고 있을 수 있다(예를 들면 , PDCP COUNT 값, PDCP 일련번호(Sequence number) 등). 또한 RRC 연결 상태에서 사용했던 것과 동일한 RLC 장치 설정 정보를 포함할 수 있다. 그리고 RRC 비활성화 모드의 단말은 네트워크와 미리 설정된 전송자원을 통해서 랜덤 액세스 절차나 연결 설정 절차 없이 바로 상향 링크 데이터를 전송할 수 있다(2t-10). 상기에서 데이터를 전송할 때 네트워크/기지국이 단말을 구분할 수 있도록 단말 식별자(예를 들면 Resume ID)를 포함할 수 있다(2t-10). 상기에서 미리 약속된 전송 자원의 크기보다 단말이 더 큰 크기의 데이터를 가지고 있다면 단말은 추가적인 전송자원을 기지국으로부터 할당받기 위해서 BSR(Buffer Status Report)을 상기 데이터에 포함하여 전송할 수 있다. 또한 상기 데이터에 보안 설정 정보를 포함하여 전송할 수 있다. 기지국은 상기 데이터를 수신하면 단말의 식별자를 확인하고, 단말에게 상기 메시지를 잘 받았다는 ACK와 함께 단말 식별자를 보내준다(2t-15). 상기에서 단말과 네트워크/기지국이 약속한 전송 자원은 한 단말에만 할당된 것이 아니라 여러 단말에게 할당되어 공유될 수 있다. 즉 경쟁기반(Contention based)으로 점유될 수 있는 자원일 수 있다. 따라서 기지국은 상기 메시지에서 ACK와 함께 단말 식별자를 전송하여 경쟁이 해소(Contention resolution)되었다는 것을 알려줄 수 있다. 또한 상기 메시지에 보안 설정 정보를 포함하여 단말의 보안 설정을 갱신할 수 이다. 상기에서 ACK는 RLC 장치의 ARQ에 의해서 보내질 수 있으며, MAC 장치의 HARQ에 의해서 ACK가 보내질 수 있으며, MAC CE의 전송으로 보내질 수 도 있으며, RRC 메시지에 의해서 보내질 수 있다. 즉, 구현과 미리 규정된 약속에 따라서 상기 4가지 방법 중 한가지 방법으로 ACK와 단말 식별자가 보내질 수 있다.
상기에서 RRC 비활성화 모드에 있는 단말이 상기에서처럼 RRC 연결모드로 천이하지 않고 바로 데이터를 전송하는 절차는 소정의 임계치(threshold)에 의해서 결정하도록 하거나 혹은 기지국이 소정의 지시자를 이용하여 단말이 항상 상기의 RRC 연결 모드 천이 절차 없이 바로 데이터를 전송하는 절차를 수행하거나 수행하지 않게 할 수 있다. 즉, 상기의 소정의 임계치보다 작은 양의 데이터를 가진 경우, 상기와 같이 RRC 연결 모드로 천이하는 절차 없이 바로 데이터를 전송할 수 있으며, 상기 소정의 임계치보다 단말의 데이터 양이 더 많은 경우, 도 2g에서 설명한 것처럼 RRC 연결 재개 절차를 수행하여 RRC 연결 모드로 천이하여 데이터를 전송할 수 있다. 상기 소정의 임계치 혹은 지시자는 도 2g에서처럼 단말이 초기 연결을 설정할 때 RRC Connection Setup 메시지 혹은 RRC Connection Reconfiguration 메시지로 설정될 수 있으며, 혹은 시스템 정보에서 상기 임계치 혹은 지시자에 대한 정보가 방송될 수 있다. 시스템 정보에서 방송된 임계치 값 혹은 지시자는 기본값으로(default) 사용되며, 기지국이 RRC 메시지(혹은 MAC CE)로 설정한 임계값은 기본값에 우선하여 적용될 수 있다.
상기처럼 RRC 비활성화 모드의 단말이 RRC 연결 모드로 천이하는 절차 없이 RRC 비활성화 모드에서 데이터를 전송하게 되면 단말의 배터리 소모를 절감할 수 있으며, 네트워크의 시그날링 오버헤드를 줄일 수 있다.
도 2u는 RRC 비활성화 모드의 단말이 RRC 연결 모드로 천이하지 않고, RRC 비활성화 모드에서 상향 링크 데이터를 전송하는 절차 2를 나타낸 또 다른 도면이다.
도 2u에서 RRC 비활성화 모드의 단말(2u-05)은 상향 링크 데이터가 생기면 네트워크와 연결을 설정하기 위해 랜덤 액세스 절차를 수행할 수 있다. 단말은 RRC 비활성화 모드에서 데이터를 전송하기 전에 먼저, 프리앰블(preamble)을 전송할 수 있다(2u-10). 상기에서 프리앰블은 프리앰블들의 그룹 중에 하나가 선택되어 전송될 수 있다. 상기 프리앰블들의 그룹들은 여러 가지 서브 그룹(partition)들로 나누어져 있을 수 있으며, 각 서브 그룹들은 단말이 작은 데이터를 RRC 비활성화 모드에서 전송하고자 하는 지 여부/큰 전송자원을 요청하는 지 여부/요청하는 전송 자원의 양 등에 따라 나뉠 수 있다. 즉, 소정의 서브 그룹에 속하는 프리앰블을 단말이 전송하는 경우, 기지국은 단말이 작은 데이터를 RRC 비활성화 상태에서 보내고 싶다는 의도/어느 정도의 전송자원을 요청하는 지 등을 확인할 수 있다. 상기 프리앰을 수신한 기지국은 프리앰블이 속한 서브 그룹을 확인하고 단말이 RRC 비활성화 모드에서 데이터를 전송할 수 있도록 RAR(Randon Access Respone) 응답으로 타이밍을 맞출 수 있도록 TA(Timing Advance)와 전송 자원을 할당해준다(2u-15).
단말은 상기 RAR 메시지를 수신하면 SRB들/DRB들을 위한 PDCP 장치들과 RLC 장치들을 재수립하며, 만약 단말이 RRC 연결 모드에서 RRC 비활성화 모드로 천이할 때 수신한 NCC(NexthopChainingCount)가 있다면 이를 이용하여 새로운 보안키들(KeNB* 등)을 계산하고 이를 적용하여 암호화와 무결성 보호를 PDCP 장치에서 수행할 수 있다. 또한 단말 컨텍스트에 저장된 설정되로 MAC 장치와 PHY 장치를 설정한다. 상기 절차를 완료하면 단말은 RRC Connection Resume Request 메시지 (혹은 MAC CE)를 생성하여 SRB(혹은 DRB)를 통해 전송할 준비를 하고 데이터를 처리하여 DRB를 통해 전송할 준비를 한다. 그리고 MAC 장치는 상기 SRB를 통해 전송할 RRC 메시지와 DRB를 통해 전송할 데이터를 다중화(multiplexing)하여 하나의 MAC PDU로 구성한 후, 하나의 TTI 내에 전송한다(2u-20). 상기에서 메시지 3(Message 3)가 전송된 후에는 HARQ ACK/NACK 전송이 지원될 수 있다. 상기에서 메시지에는 단말에 남아있는 데이터의 양을 지시할 BSR을 포함할 수 있으며, 단말이 계속해서 RRC 비활성화 상태에 남아 있을 것을 지시하는 지시자(indication)을 포함할 수 있다. 또한 단말을 구분할 단말 식별자(Resume ID)와 무결성 보호를 위한 short MAC-I가 포함될 수 있다.
상기에서 RRC 메시지와 데이터를 성공적으로 수신한 기지국은 단말 식별자(Resume ID)를 확인하고 고정 기지국 혹은 소스 기지국(단말 컨텍스트를 가지고 있는 기지국)에게 단말 컨텍스트를 회수하는 절차를 수행하고 단말 컨텍스트를 기반으로 PDCP/RLC/MAC/PHY 장치 및 보안 설정을 완료하고, 단말의 데이터와 메시지에 대한 응답으로 새로 정의한 RRC 메시지 혹은 기존에 RRC 메시지(RRC Connection Suspend 혹은 RRC Connection Resume 혹은 RRC Connection Release 혹은 RRC Connection Reject)를 전송하여 성공적으로 수신하였음을 알리고, 메시지 3에 대한 경쟁이 해소(Contention resolution) 되었음을 알려줄 수 있다. 상기에서 기지국은 단말을 비활성화 모드에 있도록 지시할 경우, 이를 위한 지시자를 포함하여 RRC Connection Resume 메시지를 전송할 수 있으며, 단말을 유휴 모드로 보내고 싶을 경우, RRC Connection Resume 메시지를 전송할 수 있으며, 일단 전송을 중지하는 경우, RRC Connection Suspend 메시지를 전송할 수 있으며, 일단 연결을 끊고 다시 연결하도록 할 경우, RRC Connection Reject 메시지를 보낼 수 있다 또한 미리 약속되거나 설정된 경우, MAC CE로 보낼 수 있다(2u-25). 상기에서 데이터에 대한 ACK는 RLC 장치의 ARQ가 수행할 수 있다.
상기처럼 RRC 비활성화 모드의 단말이 RRC 연결 모드로 천이하는 절차 없이 RRC 비활성화 모드에서 데이터를 전송하게 되면 단말의 배터리 소모를 절감할 수 있으며, 네트워크의 시그날링 오버헤드를 줄일 수 있다.
도 2v는 RRC 비활성화 모드의 단말이 RRC 연결 모드로 천이하지 않고, RRC 비활성화 모드에서 상향 링크 데이터를 전송하는 절차 3을 나타낸 또 다른 도면이다.
도 2v에서 RRC 비활성화 모드의 단말(2v-05)은 상향 링크 데이터가 생기면 네트워크와 연결을 설정하기 위해 랜덤 액세스 절차를 수행할 수 있다. 먼저, 단말은 저장하고 있는 단말 컨텍스트를 이용하여 SRB들/DRB들을 위한 PDCP 장치들과 RLC 장치들을 재수립하며, 만약 단말이 RRC 연결 모드에서 RRC 비활성화 모드로 천이할 때 수신한 NCC(NexthopChainingCount)가 있다면 이를 이용하여 새로운 보안키들(KeNB* 등)을 계산하고 이를 적용하여 암호화와 무결성 보호를 PDCP 장치에서 수행할 수 있다. 또한 단말 컨텍스트에 저장된 설정되로 MAC 장치와 PHY 장치를 설정한다. 상기 절차 후, 단말은 네트워크와 미리 약속된 경쟁 기반 전송 자원(Contention based resource)을 이용하여 RRC 비활성화 모드에서 프리앰블(preamble)과 RRC Connection Resume Request 메시지와 데이터를 한번에 전송할 수 있다(2v-10). 즉 MAC 장치는 상기 프리앰블과 SRB0를 통해 전송할 RRC Connection Resume Request 메시지와 DRB를 통해 전송할 데이터를 다중화(multiplexing)하여 하나의 MAC PDU로 구성하여 하나의 TTI 내에서 한번에 전송할 수 있다. 상기에서 만약 경쟁 기반 전송 자원보다 단말이 전송하고자 하는 자원이 더 많은 경우, 추가적인 전송 자원을 할당 받기 위해서 MAC PDU에 BSR이 포함될 수 있으며 단말을 식별하기 위해서 단말 식별자(Resume ID)가 포함될 수 있다.
기지국은 단말 식별자(Resume ID)를 확인하고 고정 기지국 혹은 소스 기지국(단말 컨텍스트를 가지고 있는 기지국)에게 단말 컨텍스트를 회수하는 절차를 수행하고 단말 컨텍스트를 기반으로 PDCP/RLC/MAC/PHY 장치 및 보안 설정을 완료하고, 단말의 데이터에 대한 응답으로 새로 정의한 RRC 메시지 혹은 기존에 RRC 메시지(RRC Connection Suspend 혹은 RRC Connection Resume 혹은 RRC Connection Release 혹은 RRC Connection Reject)와 함께 RAR을 전송하여 성공적으로 수신하였음을 알리고, 경쟁이 해소(Contention resolution) 되었음을 알려줄 수 있다. 상기에서 기지국은 단말을 비활성화 모드에 있도록 지시할 경우, 이를 위한 지시자를 포함하여 RRC Connection Resume 메시지를 전송할 수 있으며, 단말을 유휴 모드로 보내고 싶을 경우, RRC Connection Resume 메시지를 전송할 수 있으며, 일단 전송을 중지하는 경우, RRC Connection Suspend 메시지를 전송할 수 있으며, 일단 연결을 끊고 다시 연결하도록 할 경우, RRC Connection Reject 메시지를 보낼 수 있다 또한 미리 약속되거나 설정된 경우, MAC CE로 보낼 수 있다. 상기에서 데이터에 대한 ACK는 RLC 장치의 ARQ가 수행할 수 있다. 상기에서 기지국의 MAC 장치는 RAR, RRC 메시지, RLC ACK를 다중화(multiplexing)하여 하나의 MAC PDU를 구성하여 하나의 TTI 내에 전송할 수 있다(2v-15).
상기처럼 RRC 비활성화 모드의 단말이 RRC 연결 모드로 천이하는 절차 없이 RRC 비활성화 모드에서 데이터를 전송하게 되면 단말의 배터리 소모를 절감할 수 있으며, 네트워크의 시그날링 오버헤드를 줄일 수 있다.
<제3 실시예>
도 3a은 기존 LTE 시스템의 구조를 도시하는 도면이다.
도 3a을 참조하면, 도시한 바와 같이 LTE 시스템의 무선 액세스 네트워크는 차세대 기지국(Evolved Node B, 이하 ENB, Node B 또는 기지국)(3a-05, 3a-10, 3a-15, 3a-20)과 MME (3a-25, Mobility Management Entity) 및 S-GW(3a-30, Serving-Gateway)로 구성된다. 사용자 단말(User Equipment, 이하 UE 또는 단말)(3a-35)은 ENB(3a-05 ~ 3a-20) 및 S-GW(3a-30)를 통해 외부 네트워크에 접속한다.
도 3a에서 ENB(3a-05 ~ 3a-20)는 UMTS 시스템의 기존 노드 B에 대응된다. ENB는 UE(3a-35)와 무선 채널로 연결되며 기존 노드 B 보다 복잡한 역할을 수행한다. LTE 시스템에서는 인터넷 프로토콜을 통한 VoIP(Voice over IP)와 같은 실시간 서비스를 비롯한 모든 사용자 트래픽이 공용 채널(shared channel)을 통해 서비스 되므로, UE들의 버퍼 상태, 가용 전송 전력 상태, 채널 상태 등의 상태 정보를 취합해서 스케줄링을 하는 장치가 필요하며, 이를 ENB(3a-05 ~ 3a-20)가 담당한다. 하나의 ENB는 통상 다수의 셀들을 제어한다. 예컨대, 100 Mbps의 전송 속도를 구현하기 위해서 LTE 시스템은 예컨대, 20 MHz 대역폭에서 직교 주파수 분할 다중 방식(Orthogonal Frequency Division Multiplexing, 이하 OFDM이라 한다)을 무선 접속 기술로 사용한다. 또한 단말의 채널 상태에 맞춰 변조 방식(modulation scheme)과 채널 코딩률(channel coding rate)을 결정하는 적응 변조 코딩(Adaptive Modulation & Coding, 이하 AMC라 한다) 방식을 적용한다. S-GW(3a-30)는 데이터 베어러를 제공하는 장치이며, MME(3a-25)의 제어에 따라서 데이터 베어러를 생성하거나 제거한다. MME는 단말에 대한 이동성 관리 기능은 물론 각종 제어 기능을 담당하는 장치로 다수의 기지국 들과 연결된다.
도 3b는 기존 LTE 시스템에서 무선 프로토콜 구조를 나타낸 도면이다.
도 3b를 참조하면, LTE 시스템의 무선 프로토콜은 단말과 ENB에서 각각 PDCP (Packet Data Convergence Protocol 3b-05, 3b-40), RLC (Radio Link Control 3b-10, 3b-35), MAC (Medium Access Control 3b-15, 3b-30)으로 이루어진다. PDCP (Packet Data Convergence Protocol)(3b-05, 3b-40)는 IP 헤더 압축/복원 등의 동작을 담당한다. PDCP의 주요 기능은 하기와 같이 요약된다.
-Header compression and decompression: ROHC only;
-Transfer of user data;
-In-sequence delivery of upper layer PDUs at PDCP re-establishment procedure for RLC AM;
-For split bearers in DC (only support for RLC AM): PDCP PDU routing for transmission and PDCP PDU reordering for reception;
-Duplicate detection of lower layer SDUs at PDCP re-establishment procedure for RLC AM;
-Retransmission of PDCP SDUs at handover and, for split bearers in DC, of PDCP PDUs at PDCP data-recovery procedure, for RLC AM;
-Ciphering and deciphering;
-Timer-based SDU discard in uplink.
무선 링크 제어(Radio Link Control, 이하 RLC라고 한다)(3b-10, 3b-35)는 PDCP PDU(Packet Data Unit)를 적절한 크기로 재구성해서 ARQ 동작 등을 수행한다. RLC의 주요 기능은 하기와 같이 요약된다.
-Transfer of upper layer PDUs;
-Error Correction through ARQ (only for AM data transfer);
-Concatenation, segmentation and reassembly of RLC SDUs (only for UM and AM data transfer);
-Re-segmentation of RLC data PDUs (only for AM data transfer);
-Reordering of RLC data PDUs (only for UM and AM data transfer);
-Duplicate detection (only for UM and AM data transfer);
-Protocol error detection (only for AM data transfer);
-RLC SDU discard (only for UM and AM data transfer);
-RLC re-establishment.
MAC(3b-15, 3b-30)은 한 단말에 구성된 여러 RLC 계층 장치들과 연결되며, RLC PDU들을 MAC PDU에 다중화하고 MAC PDU로부터 RLC PDU들을 역다중화하는 동작을 수행한다. MAC의 주요 기능은 하기와 같이 요약된다.
-Mapping between logical channels and transport channels;
-Multiplexing/demultiplexing of MAC SDUs belonging to one or different logical channels into/from transport blocks (TB) delivered to/from the physical layer on transport channels;
-Scheduling information reporting;
-Error correction through HARQ;
-Priority handling between logical channels of one UE;
-Priority handling between UEs by means of dynamic scheduling;
-MBMS service identification;
-Transport format selection;
-Padding.
물리 계층(3b-20, 3b-25)은 상위 계층 데이터를 채널 코딩 및 변조하고, OFDM 심벌로 만들어서 무선 채널로 전송하거나, 무선 채널을 통해 수신한 OFDM 심벌을 복조하고 채널 디코딩해서 상위 계층으로 전달하는 동작을 한다.
도 3c는 DRX 동작을 설명하기 위한 도면이다. DRX는 단말의 전력 소모를 최소화하기 위해 적용되며, 스케줄링 정보를 얻기 위해, 미리 정해진 PDCCH에서만 모니터링하는 기술이다. DRX는 대기 모드와 연결 모드에서 모두 동작 가능하며, 동작 방법은 다소 상이하다. 본 발명은 연결 모드와 관련된다. 단말이 스케줄링 정보를 획득하기 위해, 지속적으로 PDCCH을 모니터링하는 것은 큰 전력 소모를 야기할 것이다. 기본적인 DRX 동작은 DRX 주기 (3c-00)를 갖고, on-duration (3c-05) 시간 동안만 PDCCH을 모니터링한다. 연결 모드에서 DRX 주기는 long DRX 와 short DRX의 두 가지 값이 설정된다. 일반적인 경우엔 long DRX 주기가 적용되며, 필요에 따라, 기지국은 MAC CE (Control Element)을 이용해, short DRX 주기를 트리거시킬 수 있다. 일정 시간이 지난 후, 단말은 short DRX 주기에서 long DRX 주기로 변경한다. 특정 단말의 초기 스케줄링 정보는 미리 정해진 상기 PDCCH에서만 제공된다. 따라서, 단말은 주기적으로 상기 PDCCH만을 모니터링하므로써, 전력 소모를 최소화시킬 수 있다. 만약 on-duration (3c-05) 시간 동안, 새로운 패킷에 대한 스케줄링 정보가 PDCCH에 의해 수신되면 (3c-10), 단말은 DRX inactivity timer (3c-15)을 시작한다. 단말은 DRX inactivity timer 동안 active 상태를 유지한다. 즉, PDCCH 모니터링을 지속한다. 또한 HARQ RTT timer (3c-20)도 시작한다. HARQ RTT timer는 단말이 HARQ RTT (Round Trip Time) 시간 동안, 불필요하게 PDCCH을 모니터링하는 것을 방지하기 위해 적용되며, 상기 타이머 동작 시간 동안, 단말은 PDCCH 모니터링을 수행할 필요가 없다. 단, DRX inactivity timer와 HARQ RTT timer가 동시에 동작하는 동안에는 단말은 DRX inactivity timer을 기준으로 PDCCH 모니터링을 지속한다. HARQ RTT timer가 만료되면, DRX retransmission timer (3c-25)가 시작된다. 상기 DRX retransmission timer가 동작하는 동안엔, 단말은 PDCCH 모니터링을 수행해야 한다. 일반적으로 DRX retransmission timer 동작 시간 동안, HARQ 재전송을 위한 스케줄링 정보가 수신된다 (3c-30). 상기 스케줄링 정보를 수신하면, 단말은 바로 DRX retransmission timer을 중지시키고, 다시 HARQ RTT timer을 시작한다. 위의 동작은 상기 패킷이 성공적으로 수신될 때까지 지속한다 (3c-35).
연결 모드에서의 DRX 동작과 관련된 설정 정보들은 RRCConnectionReconfiguration 메시지를 통해 단말에게 전달된다. on-duration timer, DRX inactivity timer, DRX retransmission timer는 PDCCH subframe의 수로 정의된다. 타이머가 시작한 이 후, PDCCH subframe으로 정의된 subframe이 설정된 수만큼 지나가면, 상기 타이머가 만료된다. FDD에서는 모든 downlink subframe이 PDCCH subframe에 속하며, TDD에서는 downlink subframe과 special subframe이 이에 해당한다. TDD 에서는 동일 주파수 대역에 downlink subframe, uplink subframe, special subframe이 존재한다. 이 중, downlink subframe과 special subframe이 PDCCH subframe으로 간주된다.
기지국은 longDRX와 shortDRX의 두 가지 상태를 설정할 수 있다. 기지국은 통상, 단말로부터 보고되는 power Preference Indication 정보 및 단말 이동성 기록 정보, 설정된 DRB의 특성을 고려하여 상기 두 상태 중 하나를 이용할 것이다. 두 상태의 천이는 특정 타이머 만료 여부 혹은 특정 MAC CE을 단말에게 전송하여 이루어진다.
기존 LTE 기술에서는 두 가지의 DRX 주기만을 설정할 수 있으므로, 다양한 DRB 특성, 트래픽 패턴과 버퍼 상태 등에 따라 DRX 주기를 다이나믹하게 변경시켜줄 수 없다.
본 발명에서는 다양한 DRB 특성, 트래픽 패턴과 버퍼 상태 등에 따라 DRX 주기 혹은 drx-InactivityTimer를 다이나믹하게 변경시켜줄 수 있는 DRX 동작을 제안한다. 특히, default DRX 주기 혹은 default drx-InactivityTimer를 설정해주고, MAC CE을 이용하여, 다이나믹하게 DRX 주기를 변경시켜주는 것을 특징으로 한다. 또 다른 실시 예로, 단말이 빔 측정 보고, 특히 새로운 최적 빔을 보고하는 경우에 설정된 DRX 동작을 중지하고, Active Time을 유지하는 방안을 제안한다.
도 3d는 기존 LTE 시스템에서 핸드오버를 트리거하는 동안 DRX에 의한 지연 현상을 설명하기 위한 도면이다.
기지국이 연결 모드에 있는 단말에게 DRX 동작을 설정하면, 상기 단말은 설정된 DRX 주기마다 on-Duration 시간 구간동안 PDCCH을 모니터링한다. eDRX을 적용하는 경우엔 최대 10.24 초까지 DRX 주기를 설정할 수 있다. 또한 기지국은 상기 단말에게 셀 측정을 설정할 수 있다. 상기 셀 측정은 상기 단말의 이동성을 지원하기 위함이다. 상기 단말은 주기적 혹은 특정 이벤트가 발생하면, 수집한 셀 측정 정보를 기지국에 보고한다. LTE 시스템을 기준으로, 보고 이벤트는 하기와 같다. 차세대 이동통신 시스템에서도 하기 LTE에 적용된 이벤트와 대응되는 이벤트를 가질 것이다.
Event A1:Serving becomes better than absolute threshold;
Event A2:Serving becomes worse than absolute threshold;
Event A3:Neighbour becomes amount of offset better than PCell/ PSCell;
Event A4:Neighbour becomes better than absolute threshold;
Event A5:PCell/ PSCell becomes worse than absolute threshold1 AND Neighbour becomes better than another absolute threshold2.
Event A6:Neighbour becomes amount of offset better than SCell.
Event C1:CSI-RS resource becomes better than absolute threshold;
Event C2:CSI-RS resource becomes amount of offset better than reference CSI-RS resource.
Event B1:Neighbour becomes better than absolute threshold;
Event B2:PCell becomes worse than absolute threshold1 AND Neighbour becomes better than another absolute threshold2.
Event W1:WLAN becomes better than a threshold;
Event W2:All WLAN inside WLAN mobility set become worse than a threshold1 and a WLAN outside WLAN mobility set becomes better than a threshold2;
Event W3:All WLAN inside WLAN mobility set become worse than a threshold.
이 중, Event A3는 기지국이 핸드오버 트리거를 결정하는 자료가 될 수 있다. 상기 event A3의 조건을 만족하여, 상기 단말이 셀 측정 정보를 보고한다면, 상기 기지국은 상기 셀 측정 보고를 기반으로 핸드오버를 트리거한다. 본 발명에서는 event A3만을 언급하였지만, 기지국은 다른 보고 이벤트도 핸드오버를 결정하는데 활용할 수 있다. 상기 기지국이 핸드오버를 결정하였다면, 이를 상기 단말에게 설정하여야 한다. 상기 단말은 DRX을 수행 중이므로, 상기 설정을 바로 상기 단말에게 전달할 수 없으며, 다음 on-Duration이 도래할 때까지 기다린다. 상기 on-Duration이 도래하면, 상기 기지국은 스케줄링 정보를 포함한 PDCCH와 상기 핸드오버 설정 정보를 포함한 메시지를 전송한다. LTE에서는 상기 메시지는 RRCConnectionReconfiguration이다. 상기 메시지를 수신한 단말은 핸드오버 동작을 수행한다. DRX 동작에서는 on-Duration 동안 하향링크 스케줄링이 있었으므로, drx-inactivity timer을 구동시킨다. 상기 과정을 통해, 기지국이 핸드오버를 결정하고, 이를 단말에게 설정할 때까지 DRX 구동으로 인해, 지연 현상이 발생함을 확인할 수 있다. 빠르게 인접 셀로 이동하는 단말을 고려할 때, 이는 핸드오버 실패를 야기시킬 수 있다. 또한, eDRX의 긴 주기를 고려할 때, 이러한 실패 확률을 증대될 수 있다.
도 3e는 본 발명에서 핸드오버를 트리거하는 동안 DRX을 일시 중지시키는 방법을 설명하기 위한 도면이다.
본 발명에서는 상기 기존 DRX 동작으로 인한 핸드오버 지연 현상을 방지하기 위해, 핸드오버 수행이 유력하다고 판단되는 경우, 단말이 구동중인 DRX을 일시 중지시키는 방안을 제안한다. 특히, 상기 단말이 특정 조건에 따라, DRX 일시 중지 (suspend)를 수행할 때, 이를 신규 MAC CE을 통해, 기지국에 보고하는 것을 특징으로 한다. 실제 망에서 단말이 보고한 셀 측정 정보를 가지고, 기지국이 핸드오버 여부를 결정하는 기준은 네트워크 구현으로, 상기 단말이 보고하는 셀 측정 정보만을 고려하는 것으로는 이를 정확히 판단할 수 없다. 이 경우, 네트워크와 단말간 DRX 구동 상태를 잘못 이해하는 경우가 발생할 수 있다. 따라서, 이를 방지하기 위해, 단말이 보고하는 셀 측정 정보를 기준으로 DRX suspend을 수행하는 경우, 이를 MAC CE을 이용하여 네트워크에 정확하게 지시하면 상기 DRX 구동 상태를 잘못 이해하는 경우를 피할 수 있다. 상기 트리거된 DRX suspend가 필요하지 않는 경우, 네트워크는 다시 DRX을 시작하도록 지시한다.
기지국이 연결 모드에 있는 단말에게 DRX 동작을 설정하면, 상기 단말은 설정된 DRX 주기마다 on-Duration 시간 구간동안 PDCCH을 모니터링한다. 또한 기지국은 상기 단말에게 셀 측정을 설정할 수 있다. 상기 단말은 주기적 혹은 특정 이벤트가 발생하면, 수집한 셀 측정 정보를 기지국에 보고한다. LTE 시스템을 기준으로, 보고 이벤트는 이미 앞서 기술하였으며, 차세대 이동통신 시스템에서도 하기 LTE에 적용된 이벤트와 대응되는 이벤트를 가질 것이다. 이 중, Event A3는 기지국이 핸드오버 트리거를 결정하는 자료가 될 수 있다. 상기 event A3의 조건을 만족하여, 상기 단말이 셀 측정 정보를 보고한다면, 상기 기지국은 상기 셀 측정 보고를 기반으로 핸드오버를 트리거한다. 상기 단말은 상기 셀 측정 정보를 보고할 때, 상기 셀 측정 정보가 기지국으로 하여금 핸드오버를 트리거할 수 있다고 판단되면, 상기 셀 측정 정보와 함께, 신규 MAC CE을 포함시킨다. 상기 신규 MAC CE는 상기 단말이 DRX을 일시 중지시킨다는 것을 알리는데 이용한다. DRX 일시 중지를 알리는 목적이므로, 상기 신규 MAC CE는 subheader로만 구성하며, subheader에 대응하는 payload 부분이 없다는 것이 특징이다. 혹은 payload 부분에 상기 DRX suspend 동작에 대한 내용이 포함될 수도 있다. 예를 들어, 상기 단말이 DRX을 일시 중지시키는 시간 정보가 포함될 수 있다. 본 발명에서는 핸드오버를 트리거할 수 있는 판단 기준으로 event A3만을 언급하였지만, 기지국은 다른 보고 이벤트도 핸드오버를 결정하는데 활용할 수 있다. 상기 MAC CE을 포함한 메시지를 기지국한 전송한 단말은 메시지 전송 후 바로 혹은 일정 시간 후 구동 중인 DRX을 일시 중지시킨다. 상기 일정 시간을 고려하는 이유는 RTT 시간과 기지국이 메시지 디코딩 및 핸드오버 결정까지 걸리는 processing 시간으로 인해, 실제 핸드오버 설정 정보를 상기 보고 전송 후 바로 수신할 수 없기 때문이다. 따라서, 단말의 전력 소모를 절약한다는 차원에서 DRX suspend의 시작을 조정할 수 있다. 상기 기지국이 핸드오버를 결정하였다면, 이를 상기 단말에게 설정하여야 한다. 상기 단말은 DRX을 일시 중지시켰기 때문에, 상기 설정을 바로 상기 단말에게 전달할 수 있으며, 다음 on-Duration이 도래할 때까지 기다릴 필요가 없다. 상기 기지국은 핸드오버 트리거를 결정함과 동시에, 스케줄링 정보를 포함한 PDCCH와 상기 핸드오버 설정 정보를 포함한 Control plane 제어 메시지를 전송한다. 상기 메시지를 수신한 단말은 핸드오버 동작을 수행한다. 상기 제안된 방법에 따라, 핸드오버 지연 시간을 단축시킬 수 있다.
도 3f는 본 발명에서 시그널링 흐름도를 설명하기 위한 도면이다.
단말 (3f-05)과 기지국 (3f-10)은 DRX suspend 기능들을 지원하는지 여부를 서로 확인한다 (3f-15). 통상, 단말은 자신의 DRX suspend 기능들의 수행 능력을 특정 RRC 메시지를 이용하여 기지국에 보고한다. 기지국은 브로드캐스팅되는 시스템 정보를 통해, 자신이 DRX suspend 기능들을 지원할 수 있음을 자신의 서비스 영역 내에 있는 단말들에게 지시한다. 상기 기지국은 RRC 메시지를 통해, 셀 측정과 관련된 설정 정보와 DRX 및 DRX suspend 설정 정보를 단말에게 전송한다 (3f-20). 상기 DRX suspend 설정 정보에는 상기 단말이 DRX 구동을 일시 중지시키는 시간 정보 (타이머 값, 본 발명에서는 DRX suspend timer라 칭함)를 포함한다. 이를 수신한 단말은 즉시 상기 설정 정보를 적용하고 관련된 셀 측정 및 DRX 동작을 수행한다 (3f-25). DRX 동작의 시작은 특정 MAC CE을 수신한 후에 이루어질 수도 있다 (3f-30). 상기 단말은 주기적으로 기지국으로부터 수신되는 서빙 및 주변 셀들을 측정하며, 핸드오버가 필요함을 나타내는 보고 이벤트가 트리거된다 (3f-35). 상기 단말은 이를 기지국에 보고하며, 이 때, 핸드오버 수행 가능성에 따라 구동중인 DRX을 일시 정지시킴을 나타내는 MAC CE을 상기 보고에 포함시킨다 (3f-40). 상기 단말은 설정된 DRX suspend timer을 구동시킨다 (3f-45). 상기 타이머가 만료될 때까지 상기 단말은 DRX 구동을 일시 중지시킨다. 상기 타이머 만료 외에 다른 조건을 만족시키는 경우 상기 단말은 DRX 구동을 재계할 수 있다. 본 발명에서는 하기 조건을 만족시키는 경우, 상기 단말은 DRX 구동을 다시 시작할 수 있다.
● 기지국이 설정한 DRX suspend timer가 만료될 때
● 핸드오버를 지시하는 control plane 제어 메시지를 기지국으로부터 수신할 때
● 자신의 스케줄링 정보 (DL assignment 혹은 UL grant)를 수신할 때
상기 단말은 도래하는 on-Duration보다 적어도 같거나 이른 시간에 핸드오버를 지시하는 control plane 제어 메시지를 기지국으로부터 수신한다 (3f-50). 상기 단말은 DRX suspend을 해제한다 (3f-55). 그 동안 일시 정지되었던 DRX 동작을 재구동한다 (3f-60).
도 3g는 본 발명에서 단말의 동작을 설명하기 위한 도면이다.
3g-05 단계에서 단말은 기지국으로부터 셀 측정 및 DRX 및 DRX suspend 동작에 대한 설정 정보를 수신한다. 3g-10 단계에서 상기 설정 정보를 수신한 후, 즉시 혹은 특정 시점부터 셀 측정 및 DRX 동작을 시작한다. 3g-15 단계에서 상기 단말은 주기적으로 셀 측정을 수행하면서, 핸드오버를 야기시키는 보고 이벤트가 발생하여 셀 측정 보고를 트리거한다. 3g-20 단계에서 상기 단말은 상기 수집한 셀 측정 정보를 기지국에 보고하며, 상기 보고 시에는 상기 단말이 구동 중인 DRX을 일시 중지시킴을 알리는 MAC CE을 포함시킨다. 3g-25 단계에서 구동 중이던 DRX 동작을 일시 정지시키고, Active Time을 유지한다. 3g-30 단계에서 상기 Active Time은 특정 시간 동안 혹은 특정 이벤트가 발생할 때까지 유지되며, 그 이후엔 즉시 혹은 특정 시점부터 DRX 동작을 재구동한다.
도 3h는 본 발명에서 기지국의 동작을 설명하기 위한 도면이다.
3h-05 단계에서 기지국은 셀 측정 및 DRX 및 DRX suspend 동작에 대한 설정 정보를 전송한다. 3h-10 단계에서 상기 단말로부터 셀 측정 정보를 보고받는다. 3h-15 단계에서 상기 기지국은 셀 측정 정보를 기반으로 핸드오버를 트리거한다. 3h-20 단계에서 상기 기지국은 상기 보고에서 상기 단말이 구동 중인 DRX을 일시 중지시킴을 알리는 MAC CE이 포함되었는지 여부를 판단한다. 포함되어 있다면, 3h-25 단계에서 상기 기지국은 지체 없이 상기 단말에게 핸드오버 설정 정보를 전송한다. 그렇지 않다면, 3h-30 단계에서 도래하는 on-Duration까지 대기한 후, 핸드오버 설저 정보를 전송한다.
도 3i는 본 발명에서 DRX 일시 중지를 지시하는 MAC CE을 설명하기 위한 도면이다.
본 발명에서는 단말이 구동 중인 DRX을 일시 중지시킴을 알리는 목적으로 신규 MAC CE을 제안한다. 상기 MAC CE는 subheader로만 구성되며, 신규 MAC CE의 subheader에는 이을 지시하는 특정 LCID을 포함한다. MAC CE의 payload 부분이 없으므로, 상기 subheader에는 payload부분의 크기를 나타내는 L 필드가 없다. 대안으로 MAC CE의 payload가 존재하는 MAC CE을 고려할 수 있다. 이 때 상기 payload 부분에는 단말이 구동중인 DRX을 일시 중지시키는 시간 정보를 포함시킬 수 있다. 상기 정보는 기지국이 설정한 상기 DRX suspend timer와 일치할 수도 그렇지 않을 수도 있다.
도 3j에 단말의 구조를 도시하였다.
상기 도 3j를 참고하면, 상기 단말은 RF(Radio Frequency)처리부(3j-10), 기저대역(baseband)처리부(3j-20), 저장부(3j-30), 제어부(3j-40)를 포함한다.
상기 RF처리부(3j-10)는 신호의 대역 변환, 증폭 등 무선 채널을 통해 신호를 송수신하기 위한 기능을 수행한다. 즉, 상기 RF처리부(3j-10)는 상기 기저대역처리부(3j-20)로부터 제공되는 기저대역 신호를 RF 대역 신호로 상향 변환한 후 안테나를 통해 송신하고, 상기 안테나를 통해 수신되는 RF 대역 신호를 기저대역 신호로 하향 변환한다. 예를 들어, 상기 RF처리부(3j-10)는 송신 필터, 수신 필터, 증폭기, 믹서(mixer), 오실레이터(oscillator), DAC(digital to analog convertor), ADC(analog to digital convertor) 등을 포함할 수 있다. 상기 도 3j에서, 하나의 안테나만이 도시되었으나, 상기 단말은 다수의 안테나들을 구비할 수 있다. 또한, 상기 RF처리부(3j-10)는 다수의 RF 체인들을 포함할 수 있다. 나아가, 상기 RF처리부(3j-10)는 빔포밍(beamforming)을 수행할 수 있다. 상기 빔포밍을 위해, 상기 RF처리부(3j-10)는 다수의 안테나들 또는 안테나 요소(element)들을 통해 송수신되는 신호들 각각의 위상 및 크기를 조절할 수 있다. 또한 상기 RF 처리부는 MIMO를 수행할 수 있으며, MIMO 동작 수행 시 여러 개의 레이어를 수신할 수 있다.
상기 기저대역처리부(3j-20)은 시스템의 물리 계층 규격에 따라 기저대역 신호 및 비트열 간 변환 기능을 수행한다. 예를 들어, 데이터 송신 시, 상기 기저대역처리부(3j-20)은 송신 비트열을 부호화 및 변조함으로써 복소 심벌들을 생성한다. 또한, 데이터 수신 시, 상기 기저대역처리부(3j-20)은 상기 RF처리부(3j-10)로부터 제공되는 기저대역 신호를 복조 및 복호화를 통해 수신 비트열을 복원한다. 예를 들어, OFDM(orthogonal frequency division multiplexing) 방식에 따르는 경우, 데이터 송신 시, 상기 기저대역처리부(3j-20)는 송신 비트열을 부호화 및 변조함으로써 복소 심벌들을 생성하고, 상기 복소 심벌들을 부반송파들에 매핑한 후, IFFT(inverse fast Fourier transform) 연산 및 CP(cyclic prefix) 삽입을 통해 OFDM 심벌들을 구성한다. 또한, 데이터 수신 시, 상기 기저대역처리부(3j-20)은 상기 RF처리부(3j-10)로부터 제공되는 기저대역 신호를 OFDM 심벌 단위로 분할하고, FFT(fast Fourier transform) 연산을 통해 부반송파들에 매핑된 신호들을 복원한 후, 복조 및 복호화를 통해 수신 비트열을 복원한다.
상기 기저대역처리부(3j-20) 및 상기 RF처리부(3j-10)는 상술한 바와 같이 신호를 송신 및 수신한다. 이에 따라, 상기 기저대역처리부(3j-20) 및 상기 RF처리부(3j-10)는 송신부, 수신부, 송수신부 또는 통신부로 지칭될 수 있다. 나아가, 상기 기저대역처리부(3j-20) 및 상기 RF처리부(3j-10) 중 적어도 하나는 서로 다른 다수의 무선 접속 기술들을 지원하기 위해 다수의 통신 모듈들을 포함할 수 있다. 또한, 상기 기저대역처리부(3j-20) 및 상기 RF처리부(3j-10) 중 적어도 하나는 서로 다른 주파수 대역의 신호들을 처리하기 위해 서로 다른 통신 모듈들을 포함할 수 있다. 예를 들어, 상기 서로 다른 무선 접속 기술들은 무선 랜(예: IEEE 802.11), 셀룰러 망(예: LTE) 등을 포함할 수 있다. 또한, 상기 서로 다른 주파수 대역들은 극고단파(SHF:super high frequency)(예: 2.5GHz, 5Ghz) 대역, mm파(millimeter wave)(예: 60GHz) 대역을 포함할 수 있다.
상기 저장부(3j-30)는 상기 단말의 동작을 위한 기본 프로그램, 응용 프로그램, 설정 정보 등의 데이터를 저장한다. 특히, 상기 저장부(3j-30)는 제2무선 접속 기술을 이용하여 무선 통신을 수행하는 제2접속 노드에 관련된 정보를 저장할 수 있다. 그리고, 상기 저장부(3j-30)는 상기 제어부(3j-40)의 요청에 따라 저장된 데이터를 제공한다.
상기 제어부(3j-40)는 상기 단말의 전반적인 동작들을 제어한다. 예를 들어, 상기 제어부(3j-40)는 상기 기저대역처리부(3j-20) 및 상기 RF처리부(3j-10)을 통해 신호를 송수신한다. 또한, 상기 제어부(3j-40)는 상기 저장부(3j-40)에 데이터를 기록하고, 읽는다. 이를 위해, 상기 제어부(3j-40)는 적어도 하나의 프로세서(processor)를 포함할 수 있다. 예를 들어, 상기 제어부(3j-40)는 통신을 위한 제어를 수행하는 CP(communication processor) 및 응용 프로그램 등 상위 계층을 제어하는 AP(application processor)를 포함할 수 있다.
도 3k는 본 발명의 실시 예에 따른 무선 통신 시스템에서 주기지국의 블록 구성을 도시한다.
상기 도 3k에 도시된 바와 같이, 상기 기지국은 RF처리부(3k-10), 기저대역처리부(3k-20), 백홀통신부(3k-30), 저장부(3k-40), 제어부(3k-50)를 포함하여 구성된다.
상기 RF처리부(3k-10)는 신호의 대역 변환, 증폭 등 무선 채널을 통해 신호를 송수신하기 위한 기능을 수행한다. 즉, 상기 RF처리부(3k-10)는 상기 기저대역처리부(3k-20)로부터 제공되는 기저대역 신호를 RF 대역 신호로 상향변환한 후 안테나를 통해 송신하고, 상기 안테나를 통해 수신되는 RF 대역 신호를 기저대역 신호로 하향변환한다. 예를 들어, 상기 RF처리부(3k-10)는 송신 필터, 수신 필터, 증폭기, 믹서, 오실레이터, DAC, ADC 등을 포함할 수 있다. 상기 도 3k에서, 하나의 안테나만이 도시되었으나, 상기 제1접속 노드는 다수의 안테나들을 구비할 수 있다. 또한, 상기 RF처리부(3k-10)는 다수의 RF 체인들을 포함할 수 있다. 나아가, 상기 RF처리부(3k-10)는 빔포밍을 수행할 수 있다. 상기 빔포밍을 위해, 상기 RF처리부(3k-10)는 다수의 안테나들 또는 안테나 요소들을 통해 송수신되는 신호들 각각의 위상 및 크기를 조절할 수 있다. 상기 RF 처리부는 하나 이상의 레이어를 전송함으로써 하향 MIMO 동작을 수행할 수 있다.
상기 기저대역처리부(3k-20)는 제1무선 접속 기술의 물리 계층 규격에 따라 기저대역 신호 및 비트열 간 변환 기능을 수행한다. 예를 들어, 데이터 송신 시, 상기 기저대역처리부(3k-20)은 송신 비트열을 부호화 및 변조함으로써 복소 심벌들을 생성한다. 또한, 데이터 수신 시, 상기 기저대역처리부(3k-20)은 상기 RF처리부(3k-10)로부터 제공되는 기저대역 신호를 복조 및 복호화를 통해 수신 비트열을 복원한다. 예를 들어, OFDM 방식에 따르는 경우, 데이터 송신 시, 상기 기저대역처리부(3k-20)은 송신 비트열을 부호화 및 변조함으로써 복소 심벌들을 생성하고, 상기 복소 심벌들을 부반송파들에 매핑한 후, IFFT 연산 및 CP 삽입을 통해 OFDM 심벌들을 구성한다. 또한, 데이터 수신 시, 상기 기저대역처리부(3k-20)은 상기 RF처리부(3k-10)로부터 제공되는 기저대역 신호를 OFDM 심벌 단위로 분할하고, FFT 연산을 통해 부반송파들에 매핑된 신호들을 복원한 후, 복조 및 복호화를 통해 수신 비트열을 복원한다. 상기 기저대역처리부(3k-20) 및 상기 RF처리부(3k-10)는 상술한 바와 같이 신호를 송신 및 수신한다. 이에 따라, 상기 기저대역처리부(3k-20) 및 상기 RF처리부(3k-10)는 송신부, 수신부, 송수신부, 통신부 또는 무선 통신부로 지칭될 수 있다.
상기 백홀통신부(3k-30)는 네트워크 내 다른 노드들과 통신을 수행하기 위한 인터페이스를 제공한다. 즉, 상기 백홀통신부(3k-30)는 상기 주기지국에서 다른 노드, 예를 들어, 보조기지국, 코어망 등으로 송신되는 비트열을 물리적 신호로 변환하고, 상기 다른 노드로부터 수신되는 물리적 신호를 비트열로 변환한다.
상기 저장부(3k-40)는 상기 주기지국의 동작을 위한 기본 프로그램, 응용 프로그램, 설정 정보 등의 데이터를 저장한다. 특히, 상기 저장부(3k-40)는 접속된 단말에 할당된 베어러에 대한 정보, 접속된 단말로부터 보고된 측정 결과 등을 저장할 수 있다. 또한, 상기 저장부(3k-40)는 단말에게 다중 연결을 제공하거나, 중단할지 여부의 판단 기준이 되는 정보를 저장할 수 있다. 그리고, 상기 저장부(3k-40)는 상기 제어부(3k-50)의 요청에 따라 저장된 데이터를 제공한다.
상기 제어부(3k-50)는 상기 주기지국의 전반적인 동작들을 제어한다. 예를 들어, 상기 제어부(3k-50)는 상기 기저대역처리부(3k-20) 및 상기 RF처리부(3k-10)을 통해 또는 상기 백홀통신부(3k-30)을 통해 신호를 송수신한다. 또한, 상기 제어부(3k-50)는 상기 저장부(3k-40)에 데이터를 기록하고, 읽는다. 이를 위해, 상기 제어부(3k-50)는 적어도 하나의 프로세서를 포함할 수 있다.
<제4 실시예>
도 4a는 기존 LTE 시스템의 구조를 도시하는 도면이다.
상기 도 4a을 참고하면, 상기 무선 통신 시스템은 여러 개의 기지국들(4a-05, 4a-10. 4a-15, 4a-20)과 MME(Mobility Management Entity, 4a-25) 및 S-GW(Serving-Gateway, 4a-30)로 구성된다. 사용자 단말(User Equipment, 이하 UE 또는 단말, 4a-35)은 기지국(4a-05, 4a-10, 4a-15, 4a-20) 및 S-GW(4a-30)을 통해 외부 네트워크에 접속한다.
상기 기지국들(4a-05, 4a-10, 4a-15, 4a-20)은 셀룰러 망의 접속 노드로서 망에 접속하는 단말들에게 무선 접속을 제공한다. 즉, 상기 기지국들(4a-05, 4a-10, 4a-15, 4a-20)은 사용자들의 트래픽을 서비스하기 위해 단말들의 버퍼 상태, 가용 전송 전력 상태, 채널 상태 등의 상태 정보를 취합해서 스케쥴링을 하여 상기 단말들과 코어 망(CN, Core network)간에 연결을 지원한다. 상기 MME(4a-25)는 단말에 대한 이동성 관리 기능은 물론 각종 제어 기능을 담당하는 장치로 다수의 기지국들과 연결되며, S-GW(4a-30)는 데이터 베어러를 제공하는 장치이다. 또한, 상기 MME(4a-25) 및 S-GW(4a-30)는 망에 접속하는 단말에 대한 인증(authentication), 베어러(bearer) 관리 등을 더 수행할 수 있으며 상기 기지국들(4a-05, 4a-10, 4a-15, 4a-20)로부터 도착한 패킷 또는 상기 기지국들(4a-05, 4a-10, 4a-15, 4a-20)로 전달할 패킷을 처리한다.
도 4b는 기존 LTE 시스템의 무선 프로토콜 구조를 나타낸 도면이다.
도 4b를 참조하면, LTE 시스템의 무선 프로토콜은 단말과 eNB에서 각각 PDCP(Packet Data Convergence Protocol 4b-05, 4b-40), RLC(Radio Link Control 4b-10, 4b-35), MAC(Medium Access Control 4b-15, 4b-30)으로 이루어진다. PDCP(4b-05, 4b-40)는 IP header 압축/복원 등의 동작을 담당한다. PDCP의 주요 기능은 하기와 같이 요약된다.
-header 압축 및 압축 해제 기능(Header compression and decompression: ROHC only)
-사용자 데이터 전송 기능 (Transfer of user data)
-순차적 전달 기능(In-sequence delivery of upper layer PDUs at PDCP re-establishment procedure for RLC AM)
-순서 재정렬 기능(For split bearers in DC (only support for RLC AM): PDCP PDU routing for transmission and PDCP PDU reordering for reception)
-중복 탐지 기능(Duplicate detection of lower layer SDUs at PDCP re-establishment procedure for RLC AM)
-재전송 기능(Retransmission of PDCP SDUs at handover and, for split bearers in DC, of PDCP PDUs at PDCP data-recovery procedure, for RLC AM)
-암호화 및 복호화 기능(Ciphering and deciphering)
-타이머 기반 SDU 삭제 기능(Timer-based SDU discard in uplink.)
무선 링크 제어(Radio Link Control, 이하 RLC라고 한다)(4b-10, 4b-35)는 PDCP PDU(Packet Data Unit)를 적절한 크기로 재구성해서 ARQ 동작 등을 수행한다. RLC의 주요 기능은 하기와 같이 요약된다.
-데이터 전송 기능(Transfer of upper layer PDUs)
-ARQ 기능(Error Correction through ARQ (only for AM data transfer))
-접합, 분할, 재조립 기능(Concatenation, segmentation and reassembly of RLC SDUs (only for UM and AM data transfer))
-재분할 기능(Re-segmentation of RLC data PDUs (only for AM data transfer))
-순서 재정렬 기능(Reordering of RLC data PDUs (only for UM and AM data transfer)
-중복 탐지 기능(Duplicate detection (only for UM and AM data transfer))
-오류 탐지 기능(Protocol error detection (only for AM data transfer))
-RLC SDU 삭제 기능(RLC SDU discard (only for UM and AM data transfer))
-RLC 재수립 기능(RLC re-establishment)
MAC(4b-15, 4b-30)은 한 단말에 구성된 여러 RLC 계층 장치들과 연결되며, RLC PDU들을 MAC PDU에 다중화하고 MAC PDU로부터 RLC PDU들을 역다중화하는 동작을 수행한다. MAC의 주요 기능은 하기와 같이 요약된다.
-맵핑 기능(Mapping between logical channels and transport channels)
-다중화 및 역다중화 기능(Multiplexing/demultiplexing of MAC SDUs belonging to one or different logical channels into/from transport blocks (TB) delivered to/from the physical layer on transport channels)
-스케쥴링 정보 보고 기능(Scheduling information reporting)
-HARQ 기능(Error correction through HARQ)
-로지컬 채널 간 우선 순위 조절 기능(Priority handling between logical channels of one UE)
-단말간 우선 순위 조절 기능(Priority handling between UEs by means of dynamic scheduling)
-MBMS 서비스 확인 기능(MBMS service identification)
-전송 포맷 선택 기능(Transport format selection)
-패딩 기능(Padding)
물리 계층(4b-20, 4b-25)은 상위 계층 데이터를 채널 코딩 및 변조하고, OFDM 심벌로 만들어서 무선 채널로 전송하거나, 무선 채널을 통해 수신한 OFDM 심벌을 복조하고 채널 디코딩해서 상위 계층으로 전달하는 동작을 한다.
본 도면에 도시하지 않았지만, 단말과 기지국의 PDCP 계층의 상위에는 각각 RRC(Radio Resource Control, 이하 RRC라고 한다) 계층이 존재하며, 상기 RRC 계층은 무선 자원 제어를 위해 접속, 측정 관련 설정 제어 메시지를 주고 받을 수 있다.
도 4c는 기존 LTE 시스템의 캐리어 집적(carrier aggregation)을 개략적으로 도시한 도면이다.
도 4c를 참조하면, 하나의 기지국은 일반적으로 여러 주파수 대역에 걸쳐서 다중 캐리어들을 송출하고 수신할 수 있다. 예를 들어 기지국(4c-05)으로부터 순방향 중심 주파수가 f1인 캐리어(4c-10)와 순방향 중심 주파수가 f2인 캐리어(4c-15)가 송출될 때, 종래에는 하나의 단말이 상기 두 개의 캐리어 중 하나의 캐리어를 이용해서 데이터를 송수신하였다. 그러나 캐리어 집적 능력을 가지고 있는 단말은 동시에 여러 개의 캐리어를 통해 데이터를 송수신할 수 있다. 기지국(4c-05)은 캐리어 집적 능력을 가지고 있는 단말(4c-20)에 대해서는 상황에 따라 더 많은 캐리어를 할당함으로써 상기 단말(4c-20)의 전송 속도를 높일 수 있다. 상기와 같이 하나의 기지국이 송출하고 수신하는 순방향 캐리어와 역방향 캐리어들을 집적하는 것을 기지국 내 캐리어 집적(carrier aggregation, CA)이라고 한다. 전통적인 의미로 하나의 기지국이 송출하는 하나의 순방향 캐리어와 상기 기지국이 수신하는 하나의 역방향 캐리어가 하나의 셀을 구성한다고 할 때, 캐리어 집적이란 단말이 동시에 여러 개의 셀을 통해서 데이터를 송수신하는 것으로 이해될 수도 있을 것이다. 이를 통해 최대 전송 속도는 집적되는 캐리어의 수에 비례해서 증가된다.
이하 본 명세서에 있어서 단말이 임의의 순방향 캐리어를 통해 데이터를 수신하거나 임의의 역방향 캐리어를 통해 데이터를 전송한다는 것은 상기 캐리어를 특징짓는 중심 주파수와 주파수 대역에 대응되는 셀에서 제공하는 제어 채널과 데이터 채널을 이용해서 데이터를 송수신한다는 것과 동일한 의미를 가진다. 본 명세서에서는 특히 캐리어 집적을 '다수의 서빙 셀이 설정된다'는 것으로 표현할 것이며, 서빙 셀에 관하여 프라이머리 서빙 셀(Primary Serving Cell, 이하 PCell)과 세컨더리 서빙 셀(Secondary Serving Cell, 이하 SCell), 혹은 활성화된 서빙 셀 등의 용어를 사용할 것이다. PCell과 SCell은 단말에 설정되는 서빙 셀의 종류를 나타내는 용어이다. PCell과 SCell 사이에는 몇 가지 차이점이 있는데, 예를 들어 PCell은 항상 활성화 상태를 유지하지만, SCell은 기지국의 지시에 따라 활성화 상태와 비활성화 상태를 반복한다. 단말의 이동성은 PCell을 중심으로 제어되며, SCell은 데이터 송수신을 위한 부가적인 서빙 셀로 이해할 수 있다. 본 발명의 실시 예들에서의 PCell과 SCell은 LTE 규격 36.331이나 36.321 등에서 정의된 PCell과 SCell을 의미한다. 상기 용어들은 LTE 이동 통신 시스템에서 사용되는 그대로의 의미를 가진다. 본 발명에서는 캐리어, 컴포넌트(component) 캐리어, 서빙 셀 등의 용어가 혼용된다.
통상적인 기지국 내 CA에서 단말은 PCell의 물리 업링크 제어 채널(Physical Uplink Control Channel, 이하 PUCCH)를 통해, PCell에 대한 하이브리드 자동 반복 요구(Hybrid Automatic Repeat reQuest, 이하 HARQ) 피드백과 채널 상태 정보(Channel State Information, 이하 CSI) 뿐만 아니라 SCell에 대한 HARQ 피드백과 CSI도 전송한다. 이는 상향 링크 동시 전송이 불가능한 단말에 대해서도 CA 동작을 적용하기 위해서이다. LTE Rel-13 eCA(enhanced CA)에서는 PUCCH를 가지는 추가적인 SCell을 정의하고 32개까지의 캐리어를 집적할 수 있도록 하였다. 상기 PUCCH SCell은 MCG(Mast Cell Group)에 속하는 서빙 셀로 한정된다. 상기 MCG란 PCell을 제어하는 기지국(Master eNB, MeNB)에 의해서 제어되는 서빙 셀들의 집합을 의미하며, SCG란 PCell을 제어하는 기지국이 아닌 기지국, 다시 말해서 SCell(Secondary Cell)들만을 제어하는 기지국(Secondary eNB, SeNB)에 의해서 제어되는 서빙 셀들의 집합을 의미한다. 특정 서빙 셀이 MCG에 속하는지 SCG에 속하는지는 해당 서빙 셀을 설정하는 과정에서 기지국이 단말에게 알려준다. 또한, 각각의 SCell들이 PCell 그룹에 속하는지 혹은 PUCCH SCell 그룹에 속하는지 기지국이 단말에게 알려준다
도 4d는 본 발명이 적용되는 차세대 이동통신 시스템의 구조를 도시하는 도면이다.
도 4d을 참조하면, 도시한 바와 같이 차세대 이동통신 시스템의 무선 액세스 네트워크는 차세대 기지국(New Radio Node B, 이하 NR gNB 또는 NR 기지국, 4d-10)과 NR CN(New Radio Core Network, 4d-05)로 구성된다. 사용자 단말(New Radio User Equipment, 이하 NR UE 또는 단말, 4d-15)은 NR gNB(4d-10) 및 NR CN(4d-05)를 통해 외부 네트워크에 접속한다.
도 4d에서 NR gNB(4d-10)는 기존 LTE 시스템의 eNB(Evolved Node B)에 대응된다. NR gNB(4d-10)는 NR UE(4d-15)와 무선 채널로 연결되며 기존 노드 B 보다 더 월등한 서비스를 제공해줄 수 있다. 차세대 이동통신 시스템에서는 모든 사용자 트래픽이 공용 채널(shared channel)을 통해 서비스 되므로, UE들의 버퍼 상태, 가용 전송 전력 상태, 채널 상태 등의 상태 정보를 취합해서 스케줄링을 하는 장치가 필요하며, 이를 NR gNB(4d-10)가 담당한다. 하나의 NR gNB(4d-10)는 통상 다수의 셀들을 제어하며, 제어 및 시그날링을 총괄하는 CU(central unit)과 신호의 송수신을 담당하는 DU(distributed unit)로 구성된다. 기존 LTE 대비 초고속 데이터 전송을 구현하기 위해서 기존 최대 대역폭 이상을 가질 수 있고, 직교 주파수 분할 다중 방식(Orthogonal Frequency Division Multiplexing, 이하 OFDM이라 한다)을 무선 접속 기술로 하여 추가적으로 빔포밍 기술이 접목될 수 있다. 또한 단말의 채널 상태에 맞춰 변조 방식(modulation scheme)과 채널 코딩률(channel coding rate)을 결정하는 적응 변조 코딩(Adaptive Modulation & Coding, 이하 AMC라 한다) 방식을 적용한다. NR CN(4d-05)는 이동성 지원, 베어러 설정, QoS 설정 등의 기능을 수행한다. NR CN는 단말에 대한 이동성 관리 기능은 물론 각종 제어 기능을 담당하는 장치로 다수의 기지국들과 연결된다. 또한 차세대 이동통신 시스템은 기존 LTE 시스템과도 연동될 수 있으며, NR CN이 MME(4d-25)와 네트워크 인터페이스를 통해 연결된다. MME는 기존 기지국인 eNB(4d-30)과 연결된다.
도 4e는 본 발명의 설명을 위해 참고로 하는 LTE 시스템의 핸드오버 절차를 설명하기 위한 도면이다.
연결 모드 상태인 단말(4e-01)은 현재 서빙 기지국(Serving eNB, 4e-02)에게 주기적 혹은 특정 이벤트가 만족할 때, 셀 측정 정보(Measurement Report)를 보고한다(4e-05). 상기 서빙 기지국은 상기 측정 정보를 토대로, 상기 단말이 인접 셀로 핸드오버(Handover)를 진행할지 여부를 결정한다. 핸드오버는 연결 모드 상태인 단말에게 서비스를 제공하는 서빙 셀을 다른 기지국으로 변경하는 기술이다. 서빙 셀이 핸드오버를 결정하였다면 상기 서빙 셀은 상기 단말에게 서비스를 제공할 새로운 기지국, 즉 타겟 기지국(Traget eNB, 4e-03)에게 HO(Handover) request 메시지를 보내어 핸드오버를 요청한다(4e-10). 상기의 타겟 셀이 상기 핸드오버 요청을 수락한다면 서빙 셀에게 HO request Ack 메시지를 전송한다(4e-15). 상기 메시지를 수신한 상기 서빙 셀은 단말에게 HO command 메시지를 전송한다(4e-20). HO command을 수신하기 전에, 상기 단말은 상기 서빙 셀로부터 하향링크 채널 PDCCH/PDSCH/PHICH을 지속적으로 수신하면서, 상향링크 채널 PUSCH/PUCCH을 송신한다. 상기 HO command 메시지는 서빙 셀이 상기 단말에게 RRC Connection Reconfiguration 메시지를 이용하여 전달한다(4e-20). 단말은 상기 메시지를 수신하면 서빙 셀과의 데이터 송수신을 중지하고 T304 타이머를 시작한다. T304는 소정의 시간동안 단말이 타겟 셀에게 핸드오버를 성공하지 못할 경우, 단말의 원래 설정으로 되돌리고 RRC Idle 상태로 전환하도록 한다. 서빙 셀은 상향/하향 링크 데이터에 대한 시퀀스 번호 상태(Sequence number(SN) status)를 전달하고 하향 링크 데이터가 있다면 타겟 셀로 전달해준다(4e-30, 4e-35). 상기 단말은 서빙 셀로부터 지시받은 타겟 셀로 랜덤 액세스(Random Access)를 시도한다(4e-40). 랜덤 액세스는 타겟 셀에게 상기 단말이 핸드오버를 통해, 이동한다는 것을 알림과 동시에, 상향링크 동기를 맞추기 위함이다. 상기 랜덤 액세스를 위해, 상기 단말은 상기 서빙 셀로부터 제공받은 프리앰블 ID 혹은 랜덤하게 선택된 프리앰블 ID에 대응되는 프리앰블을 상기 타겟 셀에게 전송한다. 프리앰블 전송 후, 특정 수의 서브프레임이 지난 후, 상기 단말은 상기 타겟 셀로부터 랜덤 액세스 응답 메시지(Random Access Response, RAR)가 전송되는지 여부를 모니터링한다. 상기 모니터링하는 시간 구간을 랜덤 액세스 응답 윈도우(Random Access Response Window, RAR window)라고 칭한다. 상기 특정 시간 동안, RAR이 수신되면(4e-45), 상기 단말은 RRCConnectionReconfigurationComplete 메시지에 HO complete 메시지를 실어서 상기 타겟 셀에게 전송한다(4e-55). 이후 상기 단말은 상기 타겟 셀로부터 하향링크 채널 PDCCH/PDSCH/PHICH을 지속적으로 수신하면서, 상향링크 채널 PUSCH/PUCCH을 송신한다. 상기와 같이 타겟 셀로부터 랜덤 액세스 응답을 성공적으로 수신하면 단말은 T304 타이머를 종료한다(4e-50). 타겟 셀은 서빙 셀로 설정되어 있던 베어러들의 경로를 수정하기 위해 경로 수정을 요청하고(4e-60, 4e-65) 서빙 셀로 상기 단말의 UE 컨텍스트를 삭제할 것을 통보한다(4e-70). 따라서 상기 단말은 타겟 셀에 대해, RAR window 시작 시점부터 데이터 수신을 시도하며, RAR 수신 이후, RRCConnectionReconfigurationComplete 메시지를 전송하면서 상기 타겟 셀로 전송을 시작한다.
상기와 같은 기존 LTE에서의 핸드오버의 경우, 타겟 셀로의 랜덤 액세스 절차가 수행되는 동안 시간 간섭(interruption)이 발생하고, 이를 없애기 위한 시간 간섭이 없는 이동 관리 (zero mobility interruption time)가 NR에서의 요구사항이다. 본 발명에서는 상기와 같은 기존 LTE에서의 핸드오버를 Type 1 핸드오버라고 분류하고, 제안하는 방법(Type 2 핸드오버)과 비교한다.
본 발명에서는 핸드오버를 수행할 타겟 PCell이 단말에게 설정된 서빙 셀이고, 상기 서빙 셀간의 핸드오버가 수행될 때 이를 Type 2 핸드오버로 정의한다. 상기의 Type 2 핸드오버는 서빙 셀 간의 PCell 변경으로 정의할 수도 있다. Type 2 핸드오버를 위해서는 다음과 같은 조건을 만족해야 한다.
-PCell을 제외하고 적어도 한 개 이상의 서빙 셀이 PUCCH 연결 설정되어야 한다. 이는 HARQ 피드백, 스케쥴링 요청, CSI를 전송하기 위한 상향링크 제어 채널이 필요하기 때문이다.
일반적으로 Type 2 핸드오버는 하기의 4단계로 구성된다.
1.Phase 0: 단말이 PCell과 연결되어 있는 단계.
2.Phase 1 (준비 단계): 추가적인 PUCCH 서빙 셀을 설정하는 단계.
3.Phase 2 (실행 단계): Type 2 핸드오버가 실행되고 PCell이 타겟 서빙 셀로 변경되는 단계. 여기서 상기 서빙 셀은 PCell은 아니고 PUCCH가 설정된 셀이어야 한다.
4.Phase 3 (정리 단계): 이전 PCell이 release되는 단계.
상기 Type 2 핸드오버의 방법으로는 DC 및 RLC 분할 베어러를 사용한 핸드오버, DC 및 MAC 분할 베어러를 사용하한 핸드오버, eCA 기반의 핸드오버가 있다. 이하 본 발명에서는 eCA 기반의 핸드오버 절차에 대해 구체적으로 다룬다.
도 4f는 본 발명에서 제안하는 eCA를 사용한 핸드오버 동작 및 프로토콜 구조를 개략적으로 설명하는 도면이다.
Phase 0는 NR 시스템에서 단말이 gNB와 연결되어 기본적인 데이터 송수신을 수행하는 단계이다(4f-05). 본 발명에서는 설명을 쉽게 하기 위해 gNB의 소스 셀이 한 개의 PCell과 SCell로 구성되어 있다고 가정하였다. 상기 단계에서 gNB는 MeNB의 서빙 셀로만 데이터가 송수신되는 MCG 베어러를 구성하고, 각 PDCP 장치는 하나의 RLC 장치와 연결되며 MAC과 RLC 장치 사이는 논리 채널(logical channel)을 사용하여 연결된다(4f-10). 단말은 상기 gNB와의 베어러 설정에 따라 PDCP, RLC, MAC 등을 설정하고, PCell(Cell1)을 통해 제어 신호 및 데이터를 수신한다. 또한, PUCCH를 통해 PCell(Cell1)에게 HARQ 피드백, 스케쥴링 요청, CSI를 전송하고, SCell(Cell2)을 통해 데이터 송수신을 한다. 상기의 SCell은 기지국의 지시에 따라 활성화 상태와 비활성화 상태를 반복한다(4f-15).
gNB가 특정 조건을 만족해서 핸드오버를 위한 eCA가 필요하다고 결정하면, Phase 1 단계에서 eCA가 설정된다(4f-20). 상기 단계에서 gNB는 PUCCH SCell(Cell3)과 SCell(Cell4)로 구성된 PUCCH SCell 그룹(타겟 셀)을 설정하고, 해당 타겟 셀로의 핸드오버를 결정한다. 이후 gNB의 소스 셀은 추가적인 PUCCH 서빙 셀(Cell3)과 SCell(Cell4)을 포함하는 타겟 셀과 eCA를 수행한다(4f-25). 상기 단계에서는 타겟 PDCP 설정과 RLC 설정이 수행되지 않는데, 이는 핸드오버 동작이 수행되더라도 같은 gNB 내에서 동작하기 때문에 PDCP 및 RLC의 재설정 동작이 필요 없다. eCA가 수행됨에 따라, 단말은 SRB와 DRB에 대해 소스 셀의 기존 설정을 타겟 셀을 포함하도록 확장한 새로운 MAC이 설정된다(4f-30). 상기 MAC 재설정에는 HARQ 설정, PHR(Power Headroom Report) 설정, pTag(primary Time Advance group) 및 sTag(secondary Time Advance Group) 설정 등을 포함할 수 있다. 이는 간섭 없는 핸드오버를 위해 eCA를 사용하는 것이기 때문에, 특정 EPC bearer ID에 해당하는 DRB를 타겟 셀을 통해 나누어 전달하기 위한 S-MAC을 재설정하지 않는다.
gNB가 단말의 measurement report 값으로부터 핸드오버에 해당하는 이벤트를 수신하게 되면, 예를 들어 소스 셀로부터의 신호 세기보다 타겟 셀로부터의 신호 세기가 임계값 이상으로 좋아지는 경우에 Phase 2 단계가 되어 PCell(Cell1)과 PUCCH SCell(Cell3)의 역할을 바꾸는 동작이 수행된다(4f-35). 상기 단계는 기존의 베어러 설정을 변경하지 않고 단지 PCell 과 PUCCH SCell의 역할을 바꾸며 이로 인한 MAC 및 RRC 시그널링 재설정을 수행한다(4f-40). 단말에서도 기지국 설정과 마찬가지로, 기존 프로토콜을 설정을 유지하며 PCell 과 PUCCH SCell의 역할을 바꾸며, MAC을 재설정한다(4f-45).
gNB가 단말의 measurement report 값으로부터 소스 셀의 eCA의 해제와 관련된 이벤트를 수신하게 되면, 예를 들어 소스 셀로부터의 신호 세기가 설정된 임계값 이하로 줄어드는 경우에는 Phase 3 단계가 되어 eCA를 release 하는 동작을 수행한다(4f-50). 상기 단계에서 소스 기지국은 단말에게 eCA 연결을 해제할 SCell 인덱스를 포함한 SCell release 요청 신호를 전송하고, 해제할 SCell과 연관된 MAC 재설정을 수행한다(4f-55). 상기 MAC 재설정에는 HARQ 설정, PHR(Power Headroom Report) 설정, pTag(primary Time Advance group) 및 sTag(secondary Time Advance Group) 설정 등을 포함할 수 있다. 단말에서도 마찬가지로 MAC을 재설정하고 새롭게 설정된 타겟 셀에서 데이터 송수신을 수행한다(4f-60).
도 4g는 본 발명에서 제안하는 eCA를 사용한 핸드오버 절차를 설명하는 도면이다. 도 4g를 참조하면, 같은 기지국내에서의 eCA를 사용한 핸드오버 절차를 각 Phase 별로 signal flow를 통해 자세히 설명한다.
먼저, 단말(4g-01)이 소스 기지국(4g-02)의 소스 셀(4g-03)과 연결된 상태에서 하향링크 제어 신호 및 데이터를 수신(4g-05)하고 상향링크 제어 신호 및 데이터를 송신(4g-10)하는 단계(Phase 0)를 가정하였다. 상기 단계에서 소스 기지국에 포함된 PCell을 통해 하향링크 제어 신호 수신 및 상향링크를 통한 제어신호 송신이 가능하며, 기지국의 지시에 따라 SCell을 통해 보조적인 데이터 송수신을 수행한다.
단말은 주기적 혹은 기지국의 설정에 따라 주변 셀들을 측정하며, 특정 조건을 만족할 경우 단말은 해당 소스 셀에게 같은 gNB 내에서의 핸드오버를 위한 eCA가 필요함을 알리는 측정값을 전달하고 Phase 1단계를 시작한다(4g-15). 상기 측정값은 단말이 상기 소스 셀로부터의 신호 세기가 작아지고 타겟 셀로부터의 신호 세기가 커지는 경우에 대한 이벤트를 포함할 수 있으며, 이를 수신한 소스 셀은 단말의 이동성을 인지하고 같은 gNB 내에서의 핸드오버를 준비할 수 있다. 즉, 같은 기지국 내에서의 eCA기반의 type 2 핸드오버를 준비하고(4g-20), 타겟 셀로의 핸드오버를 수행할 수 있도록 eCA 설정을 한다. 소스 셀이 상기의 eCA 준비 단계를 완료하면, 단말에게 rrcReconfigReq 메시지를 전달한다(4g-25). 상기 메시지에는 타겟 셀의 SCell 설정 정보를 포함한다. 즉, eCA가 수행됨에 따라, 단말은 SRB와 DRB에 대해 소스 셀의 기존 설정을 타겟 셀을 포함하도록 확장한 새로운 MAC이 설정된다. 상기 MAC 재설정에는 HARQ 설정, PHR 설정, pTag 및 sTag 설정 등을 포함할 수 있다(4g-30). 이후 단말은 타겟 셀과 랜덤 액세스 절차를 수행하고(4g-35), 소스 셀 및 타겟 셀과의 상향링크 하향링크 송수신을 한다(4g-40~4g-55). 상기와 같은 Phase 1 단계(4g-15~4g-55)를 통해 단말은 소스 셀과 타겟 셀에 동시에 연결되어 데이터 송수신을 할 수 있게 되며, 이 과정에서 시간 간섭은 발생하지 않는다.
Phase 1 단계 이후 단말의 측정값이 타겟 셀의 핸드오버를 지시하는 이벤트를 포함하면(4g-60), 소스 셀은 타겟 셀로의 핸드오버를 결정(Phase 2 단계)한다(4g-65). 상기 측정값은 단말이 상기 소스 셀로부터의 신호 세기가 작아지고 타겟 셀로부터의 신호 세기가 커지는 경우에 대한 이벤트를 포함할 수 있으며, 핸드오버 결정을 위한 LTE에서의 이벤트들을 재사용하거나, 새로운 이벤트를 추가할 수 있다. 소스 셀이 상기 메시지를 수신하면 기존의 베어러 설정을 변경하지 않고 PCell과 PUCCH SCell의 역할을 바꾸는 동작을 수행한다. 또한, 상기의 소스 셀은 단말에게 RRC 메시지(RRCConnectionReconfiguration)를 통해 Type 2 핸드오버 명령을 전달한다(4g-75). 상기 RRC 메시지에는 소스 셀과 타겟 셀에 포함되어 있는 PCell과 PUCCH SCell의 역할을 바꾸는 것을 지시하는 설정이 명시적 혹은 암시적으로 포함된다. 단말은 타겟 셀의 PUCCH SCell로 Type 2 핸드오버를 수행하고(4g-80), 소스 셀의 PCell과 타겟 셀의 PUCCH Cell에게 Type 2 핸드오버 완료 RRC 메시지를 전달한다(4g-80). 상기의 Type 2 핸드오버를 수행함에 따라 단말은 기존의 Layer 1 송수신을 유지하고, Layer 2(MAC)에서는 기존에 설정된 PHR을 취소하고 PHR 에서의 PH 위치를 PCell과 PSCell의 변경에 따라 조정한다. 또한, 기존 PCell(Cell1)은 PUCCH SCell로 바뀜에 따라 소스 셀의 PCell(Cell1)에서는 RAR 수신을 중단하고 TAG를 sTAG로 설정하고 설정된 SPS를 해제한다. 타겟 셀의 PUCCH SCell(Cell3)에서 RAR 수신을 시작하고 TAG를 pTAG로 설정하고 SPS C-RNTI를 모니터링한다. 또한, MAC CE의 activation/deactivation을 위한 bit 위치를 설정된 SCellIndex에 따라 변경한다.. 또한, Layer 3에서는 RLF 여부를 판단하는 RLM을 PCell과 PUCCH SCell의 변경에 따라 조정한다. 즉, 기존 PCell(Cell1)은 PUCCH SCell로 바뀜에 따라 RLM 동작과 페이징 수신을 중지하고, 기존 PUCCH SCell(Cell3)은 RLM과 페이징 수신을 시작하고 SFN을 읽어 reference로 사용한다. 마찬가지로 측정값에 대한 보고도 PCell과 SCell의 변경에 따라 조정하여 보고하며, ServCellIndex도 조정한다. 예를 들어, Cell1(이전 PCell)에 대해서는 인덱스 0에서 특정값 x로, Cell3(이전 PUCCH SCell)에 대해서는 인덱스 y에서 0으로 변경한다. 상기의 이전 PCell의 ServCellIndex를 설정하는 방법은 하기의 방법 중 하나일 수 있다.
● Option 1: Type 2 핸드오버 명령(4g-70) 혹은 RRC connection reconfiguration(4g-25)에서 명시적으로 SCellIndex를 전달
●Option 2: 새로운 PCell(Cell3)가 사용했던 SCellIndex를 자동적으로 할당
이후 단말은 소스 기지국 및 타겟 기지국과의 상향링크 하향링크 송수신을 유지한다(4g-85~4g-100). 상기와 같은 Phase 2 단계(4g-60~4g-100)를 통해 단말은 소스 셀의 PCell과 타겟 셀의 PUCCH SCell의 역할 변경을 수행하고, 두 기지국에 동시에 연결되어 데이터 송수신을 할 수 있게 되며, 이 과정에서 시간 간섭은 발생하지 않는다.
Phase 2 단계 이후 단말의 측정값이 소스 셀의 release를 지시하는 이벤트를 포함하면(4g-105), 타겟 셀은 소스 셀의 eCA 해제를 결정(Phase 3 단계)한다(4g-110). 상기 측정값은 단말이 상기 소스 기지국으로부터의 신호 세기가 특정 임계값보다 작아져서 통신을 수행하기 부적합하다고 결정될 때 수행될 수 있으며, 이를 위한 LTE에서의 이벤트들을 재사용하거나, 새로운 이벤트를 추가할 수 있다. 소스 기지국은 단말에게 RRC 메시지를 통해 SCell의 release를 알린다(4g-115). 상기의 SCell 해제는 Cell1과 Cell2의 eCA 해제를 의미한다. 이후 단말과 타겟 셀은 상향링크 하향링크 송수신을 유지한다(4g-120, 4g-125).
도 4h는 본 발명에서 제안하는 eCA를 사용한 Type 2 핸드오버 절차를 수행하는 단말의 동작을 나타낸 도면이다.
단말(4h-01)은 자신이 연결되어 있는 소스 셀과 상하향 링크 데이터 송수신을 수행(이 단계를 Phase 0이라고 명칭)하다가 이동에 따른 측정값에 변화가 발생하면(4h-05), 소스 셀에게 이벤트 종류를 포함한 측정값을 보고한다. 단말의 현재 상태 및 측정값에 따라 이후의 동작이 결정된다. 본 발명에서는 시간 간섭을 0으로 하는 핸드오버 절차를 위해 eCA를 사용하는 핸드오버 방법을 제안한다. 만약, 단말이 Phase 0으로 동작하고 있다가 Phase 1에 해당하는 측정값이 발생하게 되면 소스 셀에게 상기 측정값을 전달한다(4h-10). 이후 소스 셀이 다중 연결의 필요성을 결정하고 eCA 설정 정보를 전달하면(4h-15), 단말은 이를 수신하여 eCA를 위한 설정을 한다. 상기 설정에는 단말이 설정된 SCell-Config(SCellToAddMod)에 따라 MAC을 재설정 한다(4h-20). 상기 eCA 설정이 수행됨에 따라, 단말은 SRB와 DRB에 대해 소스 셀의 기존 설정을 타겟 셀을 포함하도록 확장한 새로운 MAC이 설정된다. 상기 MAC 재설정에는 HARQ 설정, PHR(Power Headroom Report) 설정, pTag(primary Time Advance group) 및 sTag(secondary Time Advance Group) 설정 등을 포함할 수 있다. 이후 단말은 eCA를 구성하고 PCell 그룹과 PUCCH SCell 그룹을 통해 상하향 링크 데이터 송수신을 수행한다(4h-25).
상기의 단계를 통해 단말이 Phase 1 상태로 동작하고, 단말이 타겟 셀로의 핸드오버가 필요함을 지시하는 이벤트, 즉 Phase 2를 수행하게 되는 이벤트가 발생하게 되면(4h-05), 단말은 기지국에게 상기 이벤트 종류를 포함한 측정값을 보고한다(4h-10). 이후 단말은 기지국으로부터 타겟 셀로의 Type 2 핸드오버를 지시하는 RRC 메시지를 수신하고(4h-30), Type 2 핸드오버를 위한 PCell과 PUCCH SCell의 역할 및 설정을 변경한다(4h-35). 상기의 eCA 기반의 Type 2 핸드오버를 수행함에 따라 단말은 기존의 Layer 1 송수신을 유지하고, Layer 2(MAC)에서는 기존에 설정된 PHR을 취소하고 PHR에서의 PH 위치를 PCell과 PSCell의 변경에 따라 조정한다. 또한, 기존 PCell(Cell1)은 PUCCH SCell로 바뀜에 따라 소스 셀의 PCell(Cell1)에서는 RAR 수신을 중단하고 TAG를 sTAG로 설정하고 설정된 SPS를 해제한다. 타겟 셀의 PUCCH SCell(Cell3)에서 RAR 수신을 시작하고 TAG를 pTAG로 설정하고 SPS C-RNTI를 모니터링한다. 또한, MAC CE의 activation/deactivation을 위한 bit 위치를 설정된 SCellIndex에 따라 변경한다. 또한, Layer 3에서는 RLF 여부를 판단하는 RLM을 PCell과 PUCCH SCell의 변경에 따라 조정한다. 즉, 기존 PCell(Cell1)은 PUCCH SCell로 바뀜에 따라 RLM 동작과 페이징 수신을 중지하고, 기존 PUCCH SCell(Cell3)은 RLM과 페이징 수신을 시작하고 SFN을 읽어 reference로 사용한다. 마찬가지로 측정값에 대한 보고도 PCell과 SCell의 변경에 따라 조정하여 보고하며, ServCellIndex도 조정한다. 예를 들어 기존 소스 셀의 PCell의 경우 SCellIndex에서 지정한 x를 사용하고, 기존 타겟 셀의 PUCCH SCell의 경우 이전의 y 인덱스를 사용하지 않으며 인덱스를 할당하지 않는다. 상기와 같은 PCell과 PUCCH SCell의 역할 변경 이후 단말은 eCA를 통해 상하향 링크 데이터 송수신을 수행한다(4h-40).
상기의 단계를 통해 단말이 Phase 2 상태로 동작하고, 단말이 소스 셀의 해제가 필요함을 지시하는 이벤트, 즉 Phase 3를 수행하게 되는 이벤트가 발생하게 되면(4h-05), 단말은 기지국에게 상기 이벤트 종류를 포함한 측정값을 보고한다(4h-10). 이후 단말은 기지국(타겟 셀)으로부터 소스 셀의 eCA를 지시하는 RRC 메시지를 수신하고(4h-45), 기존 PCell 그룹의 eCA와 관련된 SCell들(Cell1, Cell2)을 release 한다(4h-50). 상기 단계에서 단말은 SCell 해제에 따른 MAC을 재설정한다. 이후 단말은 타겟 셀을 통해 상하향 링크 데이터 송수신을 수행한다(4h-55).
단말은 자신이 속해있는 셀에 따라 수행해야 하는 동작이 다를 수 있다. 본 발명에서는 도면 4f에서 4개의 Cell로 구성된 eCA기반의 Type 2 핸드오버 절차 및 프로토콜 구조를 예로 들어 설명하였다. 하기의 표 2에 단말의 Type 2 핸드오버 명령을 수신하기 전과 후의 동작을 정리하였다.
Cell 1Cell 3Cell 2, 4
Before receiving type 2 HO commandPCellPUCCH SCellSCell
After receiving type 2 HO commandPUCCH SCellPCellSCell
Layer 1 (Cell group)UE continue the current operations on this cell; i.e.
PUCCH/PUSCH tx
PDCCH/PDSCH rx
UE continue the current operations on this cell; i.e.
PUCCH/PUSCH tx
PDCCH/PDSCH rx
UE continue the current operations on this cell; i.e.
PUSCH tx (if uplink is configured)
PDCCH/PDSCH rx
Layer 2 (MAC)Cancel triggered PHR
Change PH location in PHR
(Type 2 PH location and type 1 PH location)
stop RAR reception
consider its TAG as sTAG
release SPS
Update the mapping of Activaiton/Deactivation MAC CE bit position (from no corresponding bit to b_x, x is SCellIndex)
Cancel triggered PHR
Change PH location in PHR
(Type 2 PH location and type 1 PH location)
start RAR reception
consider its TAG as pTAG
start to monitor SPS C-RNTI
Update the mapping of Activaiton/Deactivation MAC CE bit position (from b_y to no corresponding bit)
Continue the current operations
Layer 3 (RRC)stop RLM
Evaluated as SCell for measurement
Stop paging reception
Update ServCellIndex from 0 to x*
start RLM
Evaluated as PCell for measurement
Start paging reception
read SFN and take it for reference
Update ServCellIndex from y to 0**
Continue the current operations
표2: UE behavior in each layer when type 2 HO command is received
상기의 Layer 3 동작에서 이전 PCell의 ServCellIndex를 설정하는 방법은 하기의 방법 중 하나일 수 있다.
●Option 1: Type 2 핸드오버 명령(4g-70) 혹은 RRC connection reconfiguration(4g-25)에서 명시적으로 SCellIndex를 전달
●Option 2: 새로운 PCell(Cell2)가 사용했던 SCellIndex를 자동적으로 할당
본 발명에서의 단말 특징은 Type 1 핸드오버와 비교해서 정리할 수 있다. 아래의 표 3에는 기존 LTE에서의 Type 1 핸드오버와 본 발명에서 제안하는 eCA를 사용한 Type 2 핸드오버를 정리하였다.
Type 1 HOType 2 HO
Pre-step over the radio interfaceNonePUCCH SCell group addition
Post-step over the radio interfaceNonePUCCH SCell group release
Triggering RRC messageType 1 HO command i.e. rrcConnectionReconfiguration with mobilityControlInfo (target cell id, target frequency, C-RNTI etc)Type 2 HO command i.e. rrcConnectionReconfiguration with type2HO indication
Cell id of target cell & ARFCN of target frequencyin mobilityControlInfo in HO command message (rrcConnectionReconfiguration with mobilityControlInfo)In SCell addition message in pre-step
L1stop L1 operation with source
start L1 operation with target
continue L1 operation with source and target
SCellDeactivate SCells except PSCell
Do not chagne PSCell status
Do not change SCell status except PSCell
표3: Type 1 HO and Type 2 HO
도 4i은 본 발명을 적용한 단말의 내부 구조를 도시하는 블록도이다.
상기 도면을 참고하면, 상기 단말은 RF(Radio Frequency)처리부(4i-10), 기저대역(baseband)처리부(4i-20), 저장부(4i-30), 제어부(4i-40)를 포함한다.
상기 RF처리부(4i-10)는 신호의 대역 변환, 증폭 등 무선 채널을 통해 신호를 송수신하기 위한 기능을 수행한다. 즉, 상기 RF처리부(4i-10)는 상기 기저대역처리부(4i-20)로부터 제공되는 기저대역 신호를 RF 대역 신호로 상향 변환한 후 안테나를 통해 송신하고, 상기 안테나를 통해 수신되는 RF 대역 신호를 기저대역 신호로 하향 변환한다. 예를 들어, 상기 RF처리부(4i-10)는 송신 필터, 수신 필터, 증폭기, 믹서(mixer), 오실레이터(oscillator), DAC(digital to analog convertor), ADC(analog to digital convertor) 등을 포함할 수 있다. 상기 도면에서, 하나의 안테나만이 도시되었으나, 상기 단말은 다수의 안테나들을 구비할 수 있다. 또한, 상기 RF처리부(4i-10)는 다수의 RF 체인들을 포함할 수 있다. 나아가, 상기 RF처리부(4i-10)는 빔포밍(beamforming)을 수행할 수 있다. 상기 빔포밍을 위해, 상기 RF처리부(4i-10)는 다수의 안테나들 또는 안테나 요소(element)들을 통해 송수신되는 신호들 각각의 위상 및 크기를 조절할 수 있다. 또한 상기 RF 처리부는 MIMO를 수행할 수 있으며, MIMO 동작 수행 시 여러 개의 레이어를 수신할 수 있다.
상기 기저대역처리부(4i-20)은 시스템의 물리 계층 규격에 따라 기저대역 신호 및 비트열 간 변환 기능을 수행한다. 예를 들어, 데이터 송신 시, 상기 기저대역처리부(4i-20)은 송신 비트열을 부호화 및 변조함으로써 복소 심벌들을 생성한다. 또한, 데이터 수신 시, 상기 기저대역처리부(4i-20)은 상기 RF처리부(4i-10)로부터 제공되는 기저대역 신호를 복조 및 복호화를 통해 수신 비트열을 복원한다. 예를 들어, OFDM(orthogonal frequency division multiplexing) 방식에 따르는 경우, 데이터 송신 시, 상기 기저대역처리부(4i-20)는 송신 비트열을 부호화 및 변조함으로써 복소 심벌들을 생성하고, 상기 복소 심벌들을 부반송파들에 매핑한 후, IFFT(inverse fast Fourier transform) 연산 및 CP(cyclic prefix) 삽입을 통해 OFDM 심벌들을 구성한다. 또한, 데이터 수신 시, 상기 기저대역처리부(4i-20)은 상기 RF처리부(4i-10)로부터 제공되는 기저대역 신호를 OFDM 심벌 단위로 분할하고, FFT(fast Fourier transform)를 통해 부반송파들에 매핑된 신호들을 복원한 후, 복조 및 복호화를 통해 수신 비트열을 복원한다.
상기 기저대역처리부(4i-20) 및 상기 RF처리부(4i-10)는 상술한 바와 같이 신호를 송신 및 수신한다. 이에 따라, 상기 기저대역처리부(4i-20) 및 상기 RF처리부(4i-10)는 송신부, 수신부, 송수신부 또는 통신부로 지칭될 수 있다. 나아가, 상기 기저대역처리부(4i-20) 및 상기 RF처리부(4i-10) 중 적어도 하나는 서로 다른 다수의 무선 접속 기술들을 지원하기 위해 다수의 통신 모듈들을 포함할 수 있다. 또한, 상기 기저대역처리부(4i-20) 및 상기 RF처리부(4i-10) 중 적어도 하나는 서로 다른 주파수 대역의 신호들을 처리하기 위해 서로 다른 통신 모듈들을 포함할 수 있다. 예를 들어, 상기 서로 다른 무선 접속 기술들은 무선 랜(예: IEEE 802.11), 셀룰러 망(예: LTE) 등을 포함할 수 있다. 또한, 상기 서로 다른 주파수 대역들은 극고단파(SHF:super high frequency)(예: 2.NRHz, NRhz) 대역, mm파(millimeter wave)(예: 60GHz) 대역을 포함할 수 있다.
상기 저장부(4i-30)는 상기 단말의 동작을 위한 기본 프로그램, 응용 프로그램, 설정 정보 등의 데이터를 저장한다. 특히, 상기 저장부(4i-30)는 제2무선 접속 기술을 이용하여 무선 통신을 수행하는 제2접속 노드에 관련된 정보를 저장할 수 있다. 그리고, 상기 저장부(4i-30)는 상기 제어부(4i-40)의 요청에 따라 저장된 데이터를 제공한다.
상기 제어부(4i-40)는 상기 단말의 전반적인 동작들을 제어한다. 예를 들어, 상기 제어부(4i-40)는 상기 기저대역처리부(4i-20) 및 상기 RF처리부(4i-10)을 통해 신호를 송수신한다. 또한, 상기 제어부(4i-40)는 상기 저장부(4i-40)에 데이터를 기록하고, 읽는다. 이를 위해, 상기 제어부(4i-40)는 적어도 하나의 프로세서(processor)를 포함할 수 있다. 예를 들어, 상기 제어부(4i-40)는 통신을 위한 제어를 수행하는 CP(communication processor) 및 응용 프로그램 등 상위 계층을 제어하는 AP(application processor)를 포함할 수 있다.
도 4j는 본 발명에 따른 NR 기지국의 구성을 나타낸 블록도이다.
상기 도면에 도시된 바와 같이, 상기 기지국은 RF처리부(4j-10), 기저대역처리부(4j-20), 백홀통신부(4j-30), 저장부(4j-40), 제어부(4j-50)를 포함하여 구성된다.
상기 RF처리부(4j-10)는 신호의 대역 변환, 증폭 등 무선 채널을 통해 신호를 송수신하기 위한 기능을 수행한다. 즉, 상기 RF처리부(4j-10)는 상기 기저대역처리부(4j-20)로부터 제공되는 기저대역 신호를 RF 대역 신호로 상향변환한 후 안테나를 통해 송신하고, 상기 안테나를 통해 수신되는 RF 대역 신호를 기저대역 신호로 하향 변환한다. 예를 들어, 상기 RF처리부(4j-10)는 송신 필터, 수신 필터, 증폭기, 믹서, 오실레이터, DAC, ADC 등을 포함할 수 있다. 상기 도면에서, 하나의 안테나만이 도시되었으나, 상기 제1접속 노드는 다수의 안테나들을 구비할 수 있다. 또한, 상기 RF처리부(4j-10)는 다수의 RF 체인들을 포함할 수 있다. 나아가, 상기 RF처리부(4j-10)는 빔포밍을 수행할 수 있다. 상기 빔포밍을 위해, 상기 RF처리부(4j-10)는 다수의 안테나들 또는 안테나 요소들을 통해 송수신되는 신호들 각각의 위상 및 크기를 조절할 수 있다. 상기 RF 처리부는 하나 이상의 레이어를 전송함으로써 하향 MIMO 동작을 수행할 수 있다.
상기 기저대역처리부(4j-20)는 제1무선 접속 기술의 물리 계층 규격에 따라 기저대역 신호 및 비트열 간 변환 기능을 수행한다. 예를 들어, 데이터 송신 시, 상기 기저대역처리부(4j-20)은 송신 비트열을 부호화 및 변조함으로써 복소 심벌들을 생성한다. 또한, 데이터 수신 시, 상기 기저대역처리부(4j-20)은 상기 RF처리부(4j-10)로부터 제공되는 기저대역 신호를 복조 및 복호화를 통해 수신 비트열을 복원한다. 예를 들어, OFDM 방식에 따르는 경우, 데이터 송신 시, 상기 기저대역처리부(4j-20)은 송신 비트열을 부호화 및 변조함으로써 복소 심벌들을 생성하고, 상기 복소 심벌들을 부반송파들에 매핑한 후, IFFT 연산 및 CP 삽입을 통해 OFDM 심벌들을 구성한다. 또한, 데이터 수신 시, 상기 기저대역처리부(4j-20)은 상기 RF처리부(4j-10)로부터 제공되는 기저대역 신호를 OFDM 심벌 단위로 분할하고, FFT 연산을 통해 부반송파들에 매핑된 신호들을 복원한 후, 복조 및 복호화를 통해 수신 비트열을 복원한다. 상기 기저대역처리부(4j-20) 및 상기 RF처리부(4j-10)는 상술한 바와 같이 신호를 송신 및 수신한다. 이에 따라, 상기 기저대역처리부(4j-20) 및 상기 RF처리부(4j-10)는 송신부, 수신부, 송수신부, 통신부 또는 무선 통신부로 지칭될 수 있다.
상기 백홀통신부(4j-30)는 네트워크 내 다른 노드들과 통신을 수행하기 위한 인터페이스를 제공한다. 즉, 상기 백홀통신부(4j-30)는 상기 주기지국에서 다른 노드, 예를 들어, 보조기지국, 코어망 등으로 송신되는 비트열을 물리적 신호로 변환하고, 상기 다른 노드로부터 수신되는 물리적 신호를 비트열로 변환한다.
상기 저장부(4j-40)는 상기 주기지국의 동작을 위한 기본 프로그램, 응용 프로그램, 설정 정보 등의 데이터를 저장한다. 특히, 상기 저장부(4j-40)는 접속된 단말에 할당된 베어러에 대한 정보, 접속된 단말로부터 보고된 측정 결과 등을 저장할 수 있다. 또한, 상기 저장부(4j-40)는 단말에게 다중 연결을 제공하거나, 중단할지 여부의 판단 기준이 되는 정보를 저장할 수 있다. 그리고, 상기 저장부(4j-40)는 상기 제어부(4j-50)의 요청에 따라 저장된 데이터를 제공한다.
상기 제어부(4j-50)는 상기 주기지국의 전반적인 동작들을 제어한다. 예를 들어, 상기 제어부(4j-50)는 상기 기저대역처리부(4j-20) 및 상기 RF처리부(4j-10)을 통해 또는 상기 백홀통신부(4j-30)을 통해 신호를 송수신한다. 또한, 상기 제어부(4j-50)는 상기 저장부(4j-40)에 데이터를 기록하고, 읽는다. 이를 위해, 상기 제어부(4j-50)는 적어도 하나의 프로세서를 포함할 수 있다.
한편, 본 명세서와 도면에 개시된 본 발명의 실시예들은 본 발명의 기술 내용을 쉽게 설명하고 본 발명의 이해를 돕기 위해 특정 예를 제시한 것일 뿐이며, 본 발명의 범위를 한정하고자 하는 것은 아니다. 즉 본 발명의 기술적 사상에 바탕을 둔 다른 변형예들이 실시 가능하다는 것은 본 발명의 속하는 기술 분야에서 통상의 지식을 가진 자에게 자명한 것이다. 또한 상기 각각의 실시 예는 필요에 따라 서로 조합되어 운용할 수 있다. 예컨대, 본 발명의 실시예 1와 실시예 2의 일부분들이 서로 조합되어 기지국과 단말이 운용될 수 있다. 또한 상기 실시예들은 LTE/LTE-A 시스템을 기준으로 제시되었지만, 5G, NR 시스템 등 다른 시스템에도 상기 실시예의 기술적 사상에 바탕을 둔 다른 변형예들이 실시 가능할 것이다.

Claims (20)

  1. 무선 통신 시스템에서 단말에 의해 수행되는 방법에 있어서,
    RRC(radio resource control) 비활성화(inactive) 상태의 상기 단말이 기지국으로부터 상기 단말과 관련된 식별자를 포함하는 페이징 메시지를 수신하는 단계;
    상기 페이징 메시지에 포함된 상기 단말과 관련된 식별자를 확인하는 단계;
    상기 단말과 관련된 상기 식별자가 상기 RRC 비활성화 상태에서 상기 단말의 컨텍스트(context)를 식별하기 위한 제1 식별자를 포함하면, 상기 기지국에게 RRC 재개(resume) 요청 메시지를 전송하는 단계;
    상기 RRC 재개 요청 메시지의 요청의 전송에 대응하여 상기 RRC 비활성화 상태와 관련된 타이머를 시작하는 단계; 및
    상기 RRC 재개 요청 메시지에 대한 응답으로 RRC 설정(setup) 메시지가 수신되지 않고, 상기 RRC 비활성화 상태와 관련된 타이머가 만료하면, RRC 아이들(idle) 상태와 관련된 동작을 수행하는 단계를 포함하는 것을 특징으로 하는 방법.
  2. 무선 통신 시스템의 단말에 있어서,
    송수신부; 및
    RRC(radio resource control) 비활성화(inactive) 상태의 상기 단말이 상기 송수신부를 통해 기지국으로부터 상기 단말과 관련된 식별자를 포함하는 페이징 메시지를 수신하고, 상기 페이징 메시지에 포함된 상기 단말과 관련된 상기 식별자를 확인하며, 상기 단말과 관련된 상기 식별자가 상기 RRC 비활성화 상태에서 상기 단말의 컨텍스트(context)를 식별하기 위한 제1 식별자를 포함하면, 상기 송수신부를 통해 상기 기지국에게 RRC 재개(resume) 요청 메시지를 전송하고, 상기 RRC 재개 요청 메시지의 요청의 전송에 대응하여 상기 RRC 비활성화 상태와 관련된 타이머를 시작하며, 상기 RRC 재개 요청 메시지에 대한 응답으로 RRC 설정(setup) 메시지가 수신되지 않고, 상기 RRC 비활성화 상태와 관련된 타이머가 만료하면, RRC 아이들(idle) 상태와 관련된 동작을 수행하도록 제어하는 제어부를 포함하는 것을 특징으로 하는 단말.
  3. 무선 통신 시스템에서 기지국에 의해 수행되는 방법에 있어서,
    RRC(radio resource control) 비활성화(inactive) 상태의 단말에게 상기 단말과 관련된 식별자를 포함하는 페이징 메시지를 전송하는 단계; 및
    상기 단말과 관련된 상기 식별자가 상기 RRC 비활성화 상태에서 상기 단말의 컨텍스트(context)를 식별하기 위한 제1 식별자를 포함하면, 상기 단말로부터 RRC 재개(resume) 요청 메시지를 수신하는 단계를 포함하고,
    상기 RRC 재개 요청 메시지의 요청의 전송에 대응하여 상기 RRC 비활성화 상태와 관련된 타이머가 상기 단말에 의해 시작되고,
    상기 RRC 재개 요청 메시지에 대한 응답으로 RRC 설정(setup) 메시지가 수신되지 않고, 상기 RRC 비활성화 상태와 관련된 타이머가 만료하면, RRC 아이들(idle) 상태와 관련된 동작이 수행되는 것을 특징으로 하는 방법.
  4. 무선 통신 시스템의 기지국에 있어서,
    송수신부; 및
    상기 송수신부를 통해 RRC(radio resource control) 비활성화(inactive) 상태의 단말에게 상기 단말과 관련된 식별자를 포함하는 페이징 메시지를 전송하고, 상기 단말과 관련된 상기 식별자가 상기 RRC 비활성화 상태에서 상기 단말의 컨텍스트(context)를 식별하기 위한 제1 식별자를 포함하면, 상기 송수신부를 통해 상기 단말로부터 RRC 재개(resume) 요청 메시지를 수신하도록 제어하는 제어부를 포함하고,
    상기 RRC 재개 요청 메시지의 요청의 전송에 대응하여 상기 RRC 비활성화 상태와 관련된 타이머가 상기 단말에 의해 시작되고,
    상기 RRC 재개 요청 메시지에 대한 응답으로 RRC 설정(setup) 메시지가 수신되지 않고, 상기 RRC 비활성화 상태와 관련된 타이머가 만료하면, RRC 아이들(idle) 상태와 관련된 동작이 수행되는 것을 특징으로 하는 기지국.
KR1020170029284A2017-01-162017-03-08차세대 이동 통신 시스템에서 pdcp와 rlc 헤더 포맷을 설정하는 방법 및 장치ActiveKR102276116B1 (ko)

Priority Applications (6)

Application NumberPriority DateFiling DateTitle
EP18738580.2AEP3545722B1 (en)2017-01-162018-01-15Method and apparatus for communication in a wireless communication system
PCT/KR2018/000654WO2018131956A1 (en)2017-01-162018-01-15Method and apparatus for communication in wireless mobile communication system
CN201880006636.3ACN110178335B (zh)2017-01-162018-01-15无线移动通信系统中的通信方法和装置
US15/872,754US10863394B2 (en)2017-01-162018-01-16Method and apparatus for communication in wireless mobile communication system
US17/113,603US11758444B2 (en)2017-01-162020-12-07Method and apparatus for communication in wireless mobile communication system
US18/457,638US20230413128A1 (en)2017-01-162023-08-29Method and apparatus for communication in wireless mobile communication system

Applications Claiming Priority (2)

Application NumberPriority DateFiling DateTitle
KR201700071422017-01-16
KR10201700071422017-01-16

Publications (2)

Publication NumberPublication Date
KR20180084579A KR20180084579A (ko)2018-07-25
KR102276116B1true KR102276116B1 (ko)2021-07-12

Family

ID=63059044

Family Applications (1)

Application NumberTitlePriority DateFiling Date
KR1020170029284AActiveKR102276116B1 (ko)2017-01-162017-03-08차세대 이동 통신 시스템에서 pdcp와 rlc 헤더 포맷을 설정하는 방법 및 장치

Country Status (3)

CountryLink
EP (1)EP3545722B1 (ko)
KR (1)KR102276116B1 (ko)
CN (1)CN110178335B (ko)

Families Citing this family (18)

* Cited by examiner, † Cited by third party
Publication numberPriority datePublication dateAssigneeTitle
KR102552288B1 (ko)*2018-09-212023-07-06삼성전자주식회사무선 통신 시스템에서 데이터를 송수신하기 위한 방법 및 장치
WO2020060075A1 (ko)2018-09-212020-03-26삼성전자 주식회사무선 통신 시스템에서 데이터를 송수신하기 위한 방법 및 장치
WO2021062628A1 (en)*2019-09-302021-04-08Zte CorporationMethod and system for data transmission in wireless network
US12035339B2 (en)*2019-10-252024-07-09Qualcomm IncorporatedMethods for power-efficient transfer of small data in radio resource control connected lite mode
KR102854564B1 (ko)*2019-11-012025-09-03삼성전자 주식회사차세대 이동 통신 시스템의 daps 핸드오버에서 pdcp 엔티티를 구동하는 방법 및 장치
CN112770352B (zh)*2019-11-052022-10-04中国电信股份有限公司通信方法、装置、系统和存储介质
KR20210057949A (ko)*2019-11-132021-05-24삼성전자주식회사차세대 이동 통신 시스템에서 하향링크 무선자원제어 메시지를 분할하는 방법 및 장치
CN113329322A (zh)*2020-02-122021-08-31维沃移动通信有限公司数据传输方法、装置、终端及网络侧设备
CN113966631B (zh)*2020-05-202023-10-03北京小米移动软件有限公司数据传输方法、装置、通信设备及存储介质
US20230209463A1 (en)*2020-05-262023-06-29FG Innovation Company LimitedMethod of performing a power saving operation and related device
CN113784369B (zh)*2020-06-092024-07-02维沃移动通信有限公司功率余量报告phr上报方法、装置及终端
KR102789480B1 (ko)*2020-06-192025-04-03삼성전자 주식회사차세대 이동 통신 시스템에서 멀티캐스트 서비스를 위한 이동성 지원 방법 및 장치
KR20220017735A (ko)*2020-08-052022-02-14삼성전자주식회사차세대 이동 통신 시스템이 지원하는 이중 접속 기술에서 복수 개의 scg 설정을 지원하는 방법 및 장치
CN111918409B (zh)*2020-08-102021-03-12郑州大学体育学院用于教育软件的大数据信息收集方法及系统
US20230380002A1 (en)*2020-10-192023-11-23Kt CorporationMbs data processing method and device
CN117099476A (zh)*2021-04-062023-11-21中兴通讯股份有限公司用于不连续通信的方法
KR102490815B1 (ko)*2021-08-182023-01-20주식회사 블랙핀무선 이동 통신 시스템에서 안전한 rrc 연결 재개 절차와 데이터 송수신을 위한 방법 및 장치
WO2024173417A1 (en)*2023-02-142024-08-22Interdigital Patent Holdings, Inc.Layer 1/layer 2 signaling of connection resumption and suspension

Family Cites Families (4)

* Cited by examiner, † Cited by third party
Publication numberPriority datePublication dateAssigneeTitle
GB0520254D0 (en)*2005-10-052005-11-16Vodafone PlcTelecommunications networks
US20130010641A1 (en)*2011-07-052013-01-10Esmael DinanCarrier Activation Employing RRC messages
CN105657861A (zh)*2016-03-112016-06-08深圳市金立通信设备有限公司一种ue的管理方法、ue及基站
CN105898894B (zh)*2016-05-132021-08-20华为技术有限公司Rrc状态的控制方法和装置

Non-Patent Citations (2)

* Cited by examiner, † Cited by third party
Title
3GPP TS 36.331, V14.1.0, 2016.12.*
3GPP TSG RAN WG2, Adhoc R2-1700535, 2017.1.7.*

Also Published As

Publication numberPublication date
CN110178335A (zh)2019-08-27
KR20180084579A (ko)2018-07-25
CN110178335B (zh)2023-05-30
EP3545722A1 (en)2019-10-02
EP3545722B1 (en)2024-10-02
EP3545722A4 (en)2019-11-20

Similar Documents

PublicationPublication DateTitle
US11758444B2 (en)Method and apparatus for communication in wireless mobile communication system
KR102276116B1 (ko)차세대 이동 통신 시스템에서 pdcp와 rlc 헤더 포맷을 설정하는 방법 및 장치
KR102334508B1 (ko)이동 통신 시스템에서 엑세스 승인 여부를 판단하는 방법 및 장치
KR102832621B1 (ko)차세대 이동 통신 시스템에서 rrc 비활성화 모드 단말의 이중 접속을 지원하는 방법 및 장치
US11678242B2 (en)Method and apparatus for handover without interruption of transmission and reception of data in next-generation mobile communication system
EP4120770A1 (en)Method and device for bandwidth part switching in consideration of dormant bandwidth part in next generation mobile communication system
KR102356027B1 (ko)제1 무선접속기술과 제2 무선접속기술을 통해 데이터를 송수신하는 단말이 측정 결과를 보고하는 방법 및 장치
KR102359746B1 (ko)차세대 이동통신 시스템에서 인액티브 모드 단말이 데이터를 전송하는 방법 및 장치
KR102685320B1 (ko)이동 통신 시스템에서 다중연결을 사용한 핸드오버 시 보안키를 처리하는 방법 및 장치
US11190996B2 (en)Method and apparatus for reporting selected PLMN of RRC-inactive mode UE in next-generation communication system
KR20210008670A (ko)차세대 이동 통신 시스템에서 휴면 부분 대역폭을 효율적으로 운영하는 방법 및 장치
CN110268742A (zh)用于在移动通信系统中发送数据的方法和装置
KR102497601B1 (ko)이동 통신 시스템에서 통신 방법 및 장치
KR20210157040A (ko)차세대 이동 통신 시스템에서 멀티캐스트 서비스를 위한 이동성 지원 방법 및 장치
KR20180106623A (ko)이동통신에서 연결 모드의 비연속 수신 모드를 지원하는 방법 및 장치
KR20180079895A (ko)차세대 이동 통신 시스템에서 light connection을 지원하는 방법 및 장치
KR20200098178A (ko)차세대 이동통신 시스템에서 전력 소모를 줄이기 위해 동적 스케쥴링을 적용하는 동작 방법 및 장치
EP3747213B1 (en)Method and apparatus for operating protocol layer of terminal in inactive mode in next-generation mobile communication system
KR20230056163A (ko)차세대 이동 통신 시스템에서 셀 그룹 활성화 또는 비활성화를 고려한 조건부 PSCell 변경 방법 및 장치
KR102768303B1 (ko)차세대 이동 통신 시스템에서 캐리어 집적 기술을 향상시키는 방법 및 장치
KR20230050628A (ko)무선 통신 시스템에서 셀 활성화를 빠르게 수행하기 위한 방법 및 장치
KR20220134255A (ko)무선 통신 시스템에서 장시간 스위칭 타이머를 관리하는 방법 및 장치
KR20200094059A (ko)차세대 이동 통신 시스템에서 전력 소모 절감을 위한 링크 별 활성화 및 비활성화 방법 및 장치
KR20220134365A (ko)이동 통신 시스템에서 단말이 숏-타임 스위칭 갭 설정 정보를 관리하는 방법 및 장치
KR20200096052A (ko)차세대 이동 통신 시스템에서 비연결 단말이 빠르게 주파수 측정을 수행하고 보고하는 방법 및 장치

Legal Events

DateCodeTitleDescription
PA0109Patent application

Patent event code:PA01091R01D

Comment text:Patent Application

Patent event date:20170308

PG1501Laying open of application
A201Request for examination
PA0201Request for examination

Patent event code:PA02012R01D

Patent event date:20200309

Comment text:Request for Examination of Application

Patent event code:PA02011R01I

Patent event date:20170308

Comment text:Patent Application

E902Notification of reason for refusal
PE0902Notice of grounds for rejection

Comment text:Notification of reason for refusal

Patent event date:20210112

Patent event code:PE09021S01D

E701Decision to grant or registration of patent right
PE0701Decision of registration

Patent event code:PE07011S01D

Comment text:Decision to Grant Registration

Patent event date:20210701

GRNTWritten decision to grant
PR0701Registration of establishment

Comment text:Registration of Establishment

Patent event date:20210706

Patent event code:PR07011E01D

PR1002Payment of registration fee

Payment date:20210707

End annual number:3

Start annual number:1

PG1601Publication of registration
PR1001Payment of annual fee

Payment date:20240627

Start annual number:4

End annual number:4

PR1001Payment of annual fee

Payment date:20250627

Start annual number:5

End annual number:5


[8]ページ先頭

©2009-2025 Movatter.jp