









본 발명은 차량에 구비된 ECU(Electronic Control Unit)의 소프트웨어를 무선 통신 네트워크를 통해 업데이트 하는 방법에 관한 것이다.The present invention relates to a method for updating software of an ECU (Electronic Control Unit) provided in a vehicle through a wireless communication network.
지능형 운송 시스템(ITS: Intelligent Transportation System)이 발전하고, 무선 통신(예를 들어, WiFi, 3G, LTE 등)이 가능한 차량의 비율이 증가함에 따라, 차량에서 다른 차량이나 인프라와 같은 외부 개체와의 통신도 보편화되고 있다.As the Intelligent Transportation System (ITS) evolves and the proportion of vehicles capable of wireless communication (e.g., WiFi, 3G, LTE, etc.) increases, the vehicle can interact with external entities such as other vehicles or infrastructure. Communication is also becoming common.
또한, 차량에 전자 제어기(ECU: Electronic Control Units)의 숫자도 증가하고 있는 추세이다. 이러한 전자 제어기의 구조 및 기능이 점점 복잡해짐에 따라, 해당 전자 제어기 내부의 소프트웨어 모듈 또한 버그 픽스, 성능 향상, 보안성 향상 등의 이유로 업데이트될 필요가 있다.In addition, the number of electronic control units (ECUs) in vehicles is increasing. As the structure and function of such electronic controllers become more complicated, the software modules inside the electronic controllers also need to be updated for reasons such as bug fixes, performance improvements, and security.
위와 같이 이러한 소프트웨어는 새로운 기능 추가와 에러 개선을 위해 업데이트가 필요하나, 사용자들은 다양한 원인으로 업데이트에 번거로움을 느껴, 큰 불편이 느껴지지 않는 한 업데이트를 하지 않거나 미루는 경향이 있어, 업데이트의 번거로움은 낮은 업데이트 실행률로 이어진다.As mentioned above, these softwares need to be updated to add new functions and to improve errors, but users may find it cumbersome to update for a variety of reasons, and they tend to not update or postpone the update unless they feel a big inconvenience. Leads to a low update execution rate.
한편, 일반적으로 전자 제어기 내부의 소프트웨어 모듈의 업데이트는 차량과 진단기 간의 유선 연결을 통한 진단 통신을 이용하나, 진단 통신의 속도가 느리고 업데이트가 필요할 때마다 정비소 등 진단기 장비가 구비된 장소에 방문해야 하는 불편함이 있다.On the other hand, in general, the update of the software module inside the electronic controller uses diagnostic communication through a wired connection between the vehicle and the diagnostic device. However, whenever the diagnostic communication speed is slow and an update is required, it is necessary to visit a place equipped with diagnostic equipment such as a repair shop. There is discomfort.
최근 들어, 무선으로 소프트웨어를 업데이트하기 위한 OTA(Over The Air) 서비스가 제공되기 시작하였으며, 그를 통해 비용 효율적인 소프트웨어 업데이트를 안전하고 빠르게 실시할 수 있고, 소프트웨어 리콜 및 관련 비용을 감소시킬 수 있다.In recent years, over-the-air (OTA) services for updating software over the air have begun to provide cost-effective software updates safely and quickly, reducing software recalls and associated costs.
본 발명은 차량에 구비된 ECU(Electronic Control Unit)의 소프트웨어를 무선 통신 네트워크를 통해 효율적이고 안정적으로 업데이트 하는 방법과, 그를 수행하기 위한 장치 및 시스템을 제공하는데 그 목적이 있다.An object of the present invention is to provide a method for efficiently and reliably updating software of an ECU (Electronic Control Unit) provided in a vehicle through a wireless communication network, and an apparatus and system for performing the same.
본 발명의 일실시예에 따른 차량 ECU 소프트웨어 업데이트 방법은 차량에 구비된 ECU(Electronic Control Unit)의 소프트웨어를 무선 통신 네트워크를 통해 업데이트 하며, 복수의 ECU들 각각에 대한 소프트웨어 최신 버전 정보와 업데이트 중요도 정보를 포함하는 ECU별 업데이트 정보를 무선 통신 네트워크를 통해 업데이트 서버로부터 수신하여 획득하는 단계; 상기 복수의 ECU들 중 적어도 하나에 대해, 상기 획득된 소프트웨어 최신 버전 정보와 해당 ECU의 소프트웨어 현재 버전 정보를 비교하는 단계; 상기 비교 결과 버전 정보가 서로 상이한 경우, 상기 ECU의 소프트웨어 업데이트 관련 사용자 인터페이스(UI, User Interface)의 화면 표시 여부 및 표시 시점 중 적어도 하나를 상기 획득된 업데이트 중요도 정보에 따라 결정하는 단계; 및 상기 결정에 따라 화면에 표시된 사용자 인터페이스(UI)를 통해 상기 ECU에 대한 소프트웨어 업데이트가 선택되는 경우, 상기 ECU에 대한 소프트웨어 업데이트 이미지가 상기 업데이트 서버로부터 수신되어 차량 내 통신 네트워크를 통해 상기 ECU로 전달되도록 처리하는 단계;를 포함를 포함한다.The vehicle ECU software update method according to an embodiment of the present invention updates software of an ECU (Electronic Control Unit) provided in a vehicle through a wireless communication network, and provides software latest version information and update importance information for each of a plurality of ECUs. Receiving and acquiring update information for each ECU from the update server through a wireless communication network; Comparing at least one of the plurality of ECUs, the obtained software latest version information with software current version information of the ECU; If version information is different from each other as a result of the comparison, determining at least one of whether or not a screen of a software update-related user interface (UI) of the ECU is displayed according to the obtained update importance information; And when a software update for the ECU is selected through a user interface (UI) displayed on the screen according to the determination, a software update image for the ECU is received from the update server and transferred to the ECU via an in-vehicle communication network. Including; processing to ensure.
본 발명의 일실시예에 따른 차량 인포테인먼트 장치는 상기 차량 ECU 소프트웨어 업데이트 방법을 이용하여 차량 ECU 업데이트를 수행할 수 있다.The vehicle infotainment apparatus according to an embodiment of the present invention may perform vehicle ECU update using the vehicle ECU software update method.
한편, 상기 차량 ECU 소프트웨어 업데이트 방법에 따른 단계들은, 본 발명의 일실시예에 따른 업데이트 시스템에서 수행되도록, 컴퓨터 프로그램으로 구성될 수 있으며, 해당 컴퓨터 프로그램은 컴퓨터로 읽을 수 있는 매체에 저장될 수 있다.Meanwhile, the steps according to the vehicle ECU software update method may be configured as a computer program to be performed in the update system according to an embodiment of the present invention, and the computer program may be stored in a computer-readable medium. .
또한, 본 발명의 일실시예에 따른 차량 ECU 소프트웨어 업데이트 시스템은, 복수의 ECU들 각각에 대한 소프트웨어 최신 버전 정보와 업데이트 중요도 정보를 포함하는 ECU별 업데이트 정보를 무선 통신 네트워크를 통해 업데이트 서버로부터 수신하기 위한 통신 유닛; 상기 통신 유닛을 통해 수신된 ECU별 업데이트 정보를 저장하기 위한 메모리; 및 상기 복수의 ECU들 중 적어도 하나에 대해, 상기 메모리에 저장된 소프트웨어 최신 버전 정보와 해당 ECU의 소프트웨어 현재 버전 정보를 비교하고, 상기 비교 결과 버전 정보가 서로 상이한 경우 상기 ECU의 소프트웨어 업데이트 관련 사용자 인터페이스(UI, User Interface)의 화면 표시 여부 및 표시 시점 중 적어도 하나를 상기 획득된 업데이트 중요도 정보에 따라 결정하며, 상기 결정에 따라 상기 사용자 인터페이스(UI)를 화면에 표시하기 위한 디스플레이 유닛;을 포함하고, 상기 화면에 표시된 사용자 인터페이스(UI)를 통해 상기 ECU에 대한 소프트웨어 업데이트가 선택되는 경우, 상기 통신 유닛은 상기 ECU에 대한 소프트웨어 업데이트 이미지를 상기 업데이트 서버로부터 수신하여 차량 내 통신 네트워크를 통해 상기 ECU로 전달된다.In addition, the vehicle ECU software update system according to an embodiment of the present invention, to receive the ECU-specific update information including the latest software version information and the update importance information for each of the plurality of ECU from the update server via a wireless communication network A communication unit for; A memory for storing ECU-specific update information received through the communication unit; And comparing at least one of the plurality of ECUs with the latest software version information stored in the memory and the current software version information of the corresponding ECU, and when the version information is different from each other as a result of the comparison, a software update related user interface of the ECU ( A display unit for determining at least one of whether a screen of a user interface (UI, User Interface) and a display time point are displayed according to the obtained update importance information, and displaying the user interface (UI) on a screen according to the determination; When a software update for the ECU is selected via the user interface (UI) displayed on the screen, the communication unit receives a software update image for the ECU from the update server and delivers it to the ECU via an in-vehicle communication network. do.
본 발명의 실시예에 따르면, 무선 통신 네트워크를 통해 업데이트 서버로부터 수신되는 ECU별 업데이트 정보와 차량 시동 시 수집되는 소프트웨어 버전 정보를 비교한 후 업데이트 중요도 정보에 따라 ECU 소프트웨어 업데이트 관련 사용자 인터페이스(UI, User Interface)의 화면 표시 여부와 시점 등을 결정함으로써, 차량에 구비된 각각의 ECU 소프트웨어를 무선 통신 네트워크를 통해 효율적이고 안정적으로 업데이트 할 수 있다.According to an embodiment of the present invention, after comparing the ECU-specific update information received from the update server through the wireless communication network and the software version information collected at the start-up of the vehicle, ECU software update-related user interface (UI, User) according to the update importance information By determining whether or not the screen of the interface) is displayed, each ECU software provided in the vehicle can be efficiently and reliably updated through the wireless communication network.
또한, 위와 같은 ECU 소프트웨어 업데이트 사용자 인터페이스(UI)가 차량에 구비된 인포테인먼트 장치를 통해 제공되도록 함으로써, 차량에 구비된 다수의 ECU들에 대한 소프트웨어 업데이트가 용이할 수 있다.In addition, by allowing the ECU software update user interface (UI) as described above to be provided through the infotainment device provided in the vehicle, it is easy to update the software for a plurality of ECUs provided in the vehicle.
도 1은 본 발명에 따른 업데이트 시스템의 전체적인 구성을 나타내는 블록도이다.
도 2는 본 발명에 따른 차량 ECU 소프트웨어 업데이트 시스템의 구성에 대한 일실시예를 나타내는 블록도이다.
도 3은 본 발명의 일실시예에 따른 차량 ECU 소프트웨어 업데이트 방법을 나타내는 흐름도이다.
도 4는 차량 시동 시 ECU 소프트웨어를 업데이트하는 방법에 대한 일실시예를 설명하기 위한 타이밍도이다.
도 5 내지 도 7은 차량 인포테인먼트 시스템의 화면을 통해 제공되는 업데이트 관련 사용자 인터페이스(UI)의 구성에 대한 실시예들을 설명하기 위한 도면들이다.
도 8은 차량 운행 중 ECU 소프트웨어를 업데이트하는 방법에 대한 일실시예를 설명하기 위한 타이밍도이다.
도 9는 사용자 요청에 따라 ECU 소프트웨어를 업데이트하는 방법에 대한 일실시예를 설명하기 위한 타이밍도이다.
도 10은 사용자가 선택한 ECU의 소프트웨어를 업데이트하는 방법에 대한 일실시예를 설명하기 위한 타이밍도이다.1 is a block diagram showing the overall configuration of an update system according to the present invention.
 2 is a block diagram illustrating an embodiment of a configuration of a vehicle ECU software update system according to the present invention.
 3 is a flowchart illustrating a method of updating vehicle ECU software according to an embodiment of the present invention.
 4 is a timing diagram for explaining an embodiment of a method of updating ECU software when a vehicle starts.
 5 to 7 are views for explaining embodiments of the configuration of the update-related user interface (UI) provided through the screen of the vehicle infotainment system.
 FIG. 8 is a timing diagram for explaining an embodiment of a method of updating ECU software while driving a vehicle.
 9 is a timing diagram illustrating an embodiment of a method of updating ECU software in response to a user request.
 10 is a timing diagram for explaining an embodiment of a method of updating software of a ECU selected by a user.
이하, 첨부된 도면을 참조하여 본 발명의 실시예에 따른 차량 ECU 소프트웨어 업데이트 방법, 그를 수행하기 위한 장치 및 시스템에 대해 상세히 설명한다.Hereinafter, with reference to the accompanying drawings will be described in detail a vehicle ECU software update method, apparatus and system for performing the same according to an embodiment of the present invention.
본 발명은 다양한 변경을 가할 수 있고 여러 가지 실시예를 가질 수 있는바, 특정 실시예들을 도면에 예시하고 상세한 설명에 상세하게 설명하고자 한다. 이는 본 발명을 특정한 실시 형태에 대해 한정하려는 것이 아니며, 본 발명의 사상 및 기술 범위에 포함되는 모든 변경, 균등물 내지 대체물을 포함하는 것으로 이해될 수 있다.As the invention allows for various changes and numerous embodiments, particular embodiments will be illustrated in the drawings and described in detail in the written description. It is not intended to limit the invention to the specific embodiments, it can be understood to include all changes, equivalents, and substitutes included in the spirit and scope of the present invention.
본 발명을 설명함에 있어서 제1, 제2 등의 용어는 다양한 구성요소들을 설명하는데 사용될 수 있지만, 상기 구성요소들은 상기 용어들에 의해 한정되지 않을 수 있다. 상기 용어들은 하나의 구성요소를 다른 구성요소로부터 구별하는 목적으로만 사용될 수 있다. 예를 들어, 본 발명의 권리 범위를 벗어나지 않으면서 제1구성요소는 제2 구성요소로 명명될 수 있고, 유사하게 제2 구성요소도 제1 구성요소로 명명될 수 있다.In describing the present invention, terms such as first and second may be used to describe various components, but the components may not be limited by the terms. The terms may be used only for the purpose of distinguishing one component from another component. For example, without departing from the scope of the present invention, the first component may be referred to as the second component, and similarly, the second component may also be referred to as the first component.
및/또는 이라는 용어는 복수의 관련된 기재된 항목들의 조합 또는 복수의 관련된 기재된 항목들 중의 어느 항목을 포함할 수 있다.The term and / or may include a combination of a plurality of related items or any item of a plurality of related items.
어떤 구성요소가 다른 구성요소에 "연결되어" 있다거나 "접속되어" 있다고 언급되는 경우는, 그 다른 구성요소에 직접적으로 연결되어 있거나 또는 접속되어 있을 수도 있지만, 중간에 다른 구성요소가 존재할 수도 있다고 이해될 수 있다. 반면에, 어떤 구성요소가 다른 구성요소에 "직접 연결되어" 있다거나 "직접 접속되어" 있다고 언급된 때에는, 중간에 다른 구성요소가 존재하지 않은 것으로 이해될 수 있다.When a component is referred to as being "connected" or "connected" to another component, it may be directly connected or connected to that other component, but other components may be present in between. Can be understood. On the other hand, when a component is said to be "directly connected" or "directly connected" to another component, it may be understood that no other component exists in the middle.
본 출원에서 사용한 용어는 단지 특정한 실시예를 설명하기 위해 사용된 것으로, 본 발명을 한정하려는 의도가 아니다. 단수의 표현은 문맥상 명백하게 다르게 뜻하지 않는 한, 복수의 표현을 포함할 수 있다.The terminology used herein is for the purpose of describing particular example embodiments only and is not intended to be limiting of the present invention. Singular expressions may include plural expressions unless the context clearly indicates otherwise.
본 출원에서, "포함하다" 또는 "가지다" 등의 용어는 명세서상에 기재된 특징, 숫자, 단계, 동작, 구성요소, 부품 또는 이들을 조합한 것이 존재함을 지정하려는 것으로서, 하나 또는 그 이상의 다른 특징들이나 숫자, 단계, 동작, 구성요소, 부품 또는 이들을 조합한 것들의 존재 또는 부가 가능성을 미리 배제하지 않는 것으로 이해될 수 있다.In this application, the terms "comprise" or "have" are intended to indicate that there is a feature, number, step, action, component, part, or combination thereof described in the specification, and one or more other features. It may be understood that the present invention does not exclude the possibility of the presence or the addition of numbers, steps, operations, components, parts, or a combination thereof.
다르게 정의되지 않는 한, 기술적이거나 과학적인 용어를 포함해서 여기서 사용되는 모든 용어들은 본 발명이 속하는 기술 분야에서 통상의 지식을 가진 자에 의해 일반적으로 이해되는 것과 동일한 의미를 가질 수 있다. 일반적으로 사용되는 사전에 정의되어 있는 것과 같은 용어들은 관련 기술의 문맥상 가지는 의미와 일치하는 의미를 가지는 것으로 해석될 수 있으며, 본 출원에서 명백하게 정의하지 않는 한, 이상적이거나 과도하게 형식적인 의미로 해석되지 않을 수 있다.Unless defined otherwise, all terms used herein, including technical or scientific terms, may have the same meaning as commonly understood by one of ordinary skill in the art. Terms such as those defined in the commonly used dictionaries may be interpreted to have meanings consistent with the meanings in the context of the related art, and shall be interpreted in ideal or excessively formal meanings unless expressly defined in the present application. It may not be.
아울러, 이하의 실시예는 당 업계에서 평균적인 지식을 가진 자에게 보다 완전하게 설명하기 위해서 제공되는 것으로서, 도면에서의 요소들의 형상 및 크기 등은 보다 명확한 설명을 위해 과장될 수 있다.In addition, the following embodiments are provided to more fully describe those skilled in the art, and the shape and size of elements in the drawings may be exaggerated for clarity.
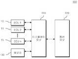
도 1은 본 발명에 따른 업데이트 시스템의 전체적인 구성을 블록도로 도시한 것으로, 도시된 시스템은 차량 ECU 소프트웨어 업데이트 시스템(100)과 업데이트 서버(200)를 포함하여 구성될 수 있다.1 is a block diagram showing the overall configuration of an update system according to the present invention. The illustrated system may include a vehicle ECU
도 1을 참조하면, 차량 ECU 소프트웨어 업데이트 시스템(100)은 차량 내에 구비되며, 무선 통신 네트워크를 통해 업데이트 서버(200)와 통신하여 해당 차량에 구비된 ECU들(Electronic Control Units)의 소프트웨어 업데이트를 수행할 수 있다.Referring to FIG. 1, a vehicle ECU
차량에는 다양한 기능을 제공하는 소프트웨어가 탑재된 다수의 ECU들이 구비되며, 예를 들어 엔진을 제어하는 ECU, 브레이크를 제어하는 ECU, 변속기를 제어하는 ECU 등이 차량 내에 설치되어 있을 수 있다.The vehicle includes a plurality of ECUs equipped with software for providing various functions. For example, the ECU for controlling the engine, the ECU for controlling the brake, the ECU for controlling the transmission, and the like may be installed in the vehicle.
한편, 차량 내에서 정보 또는 미디어를 제공하기 위한 인포테인먼트 장치(IVI, In Vehicle Infortainment)나 AVN(Audio Video Navigation), 경로안내 기능을 제공하는 내비게이션 단말기, 사고와 같은 긴급상황 발생 시 콜센터나 관계 기관으로 바로 긴급상황을 전달하는 긴급콜(eCall) 기능이나 SOS기능을 제공하는 단말기 등도, 각각 하나의 ECU에 해당할 수 있다.On the other hand, in case of an emergency such as an infotainment device (IVI), audio video navigation (AVN) for providing information or media in a vehicle, a navigation terminal providing route guidance function, or an accident, the call center or an agency concerned An emergency call (eCall) function that delivers an emergency situation or a terminal that provides an SOS function may also correspond to one ECU.
상기한 바와 같은 ECU들에는 각각 해당 기능을 구현하기 위한 소프트웨어가 탑재되며, ECu 소프트웨어는 에러 수정이나 기능 개선 등을 위해 업데이트가 필요할 수 있다.Each of the ECUs described above is equipped with software for implementing a corresponding function, and ECu software may need to be updated for error correction or function improvement.
업데이트 서버(200)에는 차량에 구비된 다수의 ECU들 각각에 대한 소프트웨어 업데이트 버전이 저장되어 있으며, 차량 정보에 따라 해당 차량에 구비된 ECU들에 대한 정보도 저장되어 있을 수 있다.The
예를 들어, 업데이트 서버(200)는, 차량 ECU 소프트웨어 업데이트 시스템(100)의 요청에 따라, 또는 미리 설정된 일정 조건이 만족되는 경우, ECU 소프트웨어에 대한 업데이트를 진행하기 위해 필요한 파일 또는 이미지(이하, '업데이트 이미지"라고 함)를 OTA(On The Air) 방식으로 차량 ECU 소프트웨어 업데이트 시스템(100)에 전송하여 제공할 수 있다.For example, the
차량 ECU 소프트웨어 업데이트 시스템(100)과 업데이트 서버(200) 간의 데이터의 전송을 위한 무선 통신 네트워크로는, GSM(Global System for Mobile communication), CDMA(Code Division Multi Access), CDMA1000(Code Division Multi Access 1000), EV-DO(Enhanced Voice-Data Optimized or Enhanced Voice-Data Only), WCDMA(Wideband CDMA), HSDPA(High Speed Downlink Packet Access), HSUPA(High Speed Uplink Packet Access), LTE(Long Term Evolution), LTE-A(Long Term Evolution-Advanced) 등이 있을 수 있으나, 본 발명은 이에 한정되지 아니한다.As a wireless communication network for transmitting data between the vehicle ECU
본 발명의 일실시예에 따르면, 무선 통신 네트워크를 통해 업데이트 서버(200)로부터 수신되는 ECU별 업데이트 정보와 차량 시동 시 수집되는 소프트웨어 버전 정보를 비교한 후 업데이트 중요도 정보에 따라 ECU 소프트웨어 업데이트 관련 사용자 인터페이스(UI, User Interface)의 화면 표시 여부와 시점 등을 결정함으로써, 차량에 구비된 각각의 ECU 소프트웨어를 무선 통신 네트워크를 통해 효율적이고 안정적으로 업데이트 할 수 있다.According to an embodiment of the present invention, after comparing the ECU-specific update information received from the
도 2는 본 발명에 따른 차량 ECU 소프트웨어 업데이트 시스템의 구성에 대한 일실시예를 블록도로 도시한 것으로, 도시된 차량 ECU 소프트웨어 업데이트 시스템(100)은 디스플레이 유닛(110), 통신 유닛(120) 및 메모리(130)를 포함할 수 있다.2 is a block diagram showing an embodiment of the configuration of the vehicle ECU software update system according to the present invention, wherein the illustrated vehicle ECU
도 2를 참조하면, 디스플레이 유닛(110)은 ECU의 소프트웨어 업데이트 관련 사용자 인터페이스(UI, User Interface)의 화면에 표시하기 위한 것이며, 통신 유닛(120)은 상기한 바와 같은 무선 통신 네트워크를 통해 업데이트 서버(200)와 통신하기 위한 것일 수 있다.Referring to FIG. 2, the
예를 들어, 디스플레이 유닛(110)은 차량 내의 인포테인먼트 시스템이나 AVN 등에 구비되어 본 발명의 일실시예에 따른 기능을 수행할 수 있으나, 본 발명은 이에 한정되지 아니하며, 그 이외의 차량 내 장치 또는 별도의 장치로 구현될 수도 있다.For example, the
일예로, AVN 장치는 차량에 구비되어, 오디오(Audio), 비디오(Video) 및 내비게이션(Navigation) 기능을 통합하여 하나의 유닛으로 제공하며, AVN 장치 또한 차량용 소프트웨어를 탑재하여 오디오, 비디오 및 내비게이션 기능을 통합적으로 수행 가능하다.For example, the AVN device is provided in a vehicle and integrates audio, video, and navigation functions into a single unit, and the AVN device is also equipped with in-vehicle software for audio, video, and navigation functions. This can be done integrally.
통신 유닛(120)은, 차량에 구비된 복수의 ECU들(10 내지 15) 각각에 대한 소프트웨어 최신 버전 정보와 업데이트 중요도 정보를 포함하는 ECU별 업데이트 정보를, 무선 통신 네트워크를 통해 업데이트 서버(200)로부터 수신할 수 있다.The
그를 위해, 디스플레이 유닛(110)은, 통신 유닛(120)으로, 차량의 시동 시 복수의 ECU들에 대한 ECU별 업데이트 정보 조회를 요청하거나, 차량의 운행 중 일정 주기로 복수의 ECU들에 대한 ECU별 업데이트 정보 조회를 요청하거나, 사용자의 요청이 있는 경우 복수의 ECU들에 대한 ECU별 업데이트 정보 조회를 요청하거나, 또는 복수의 ECU들 중 사용자가 선택한 ECU에 대한 ECU별 업데이트 정보 조회를 요청할 수 있다.For that purpose, the
한편, 상기 통신 유닛(120)을 통해 업데이트 서버(200)로부터 수신된 ECU별 업데이트 정보는 메모리(130)에 저장될 수 있다.Meanwhile, update information for each ECU received from the
여기서, 메모리(130)는 S램(S-RAM), D랩(D-RAM) 등의 휘발성 메모리뿐만 아니라 플래시 메모리, 롬([0049] Read Only Memory), 이피롬(Erasable Programmable Read Only Memory: EPROM), 이이피롬(Electrically Erasable Programmable Read Only Memory: EEPROM) 등의 비휘발성 메모리를 포함할 수 있다.Here, the
디스플레이 유닛(110)은, 복수의 ECU들(10 내지 15) 중 적어도 하나에 대해, 메모리(130)에 저장된 소프트웨어 최신 버전 정보와 해당 ECU의 소프트웨어 현재 버전 정보를 비교하여, 해당 ECU의 소프트웨어가 최신 버전인지 여부를 확인할 수 있다.The
여기서, ECU 소프트웨어 최신 버전 정보는 ECU별 업데이트 정보에 포함되어 업데이트 서버(200)로부터 수신된 것이고, ECU 소프트웨어 현재 버전 정보는 차량의 시동 시에 해당 ECU로부터 수집된 것일 수 있다.Here, the ECU software latest version information may be included in the ECU-specific update information and received from the
비교 결과 버전 정보가 서로 상이한 경우, 즉 해당 ECU의 소프트웨어가 최신 버전이 아닌 경우, 해당 ECU의 소프트웨어 업데이트와 관련된 사용자 인터페이스(UI, User Interface)의 화면 표시 여부 및 표시 시점 중 적어도 하나를 업데이트 중요도 정보에 따라 결정할 수 있다.When the version information is different from each other as a result of the comparison, that is, when the software of the corresponding ECU is not the latest version, at least one of whether or not the screen of the user interface (UI) related to the software update of the corresponding ECU is displayed and the timing of the update are updated. You can decide accordingly.
한편, 상기 업데이트 중요도 정보는, 업데이트 서버(200)로부터 수신된 ECU별 업데이트 정보에 포함된 것으로, 해당 ECU 소프트웨어 최신 버전의 업데이트에 대한 중요도를 나타낼 수 있다Meanwhile, the update importance information is included in update information for each ECU received from the
즉, 업데이트 중요도에 따라 해당 ECU 소프트웨어 업데이트를 위한 사용자 인터페이스(UI)가 디스플레이 유닛(110)을 통해 화면에 표시될 것인지, 표시된다면 어느 시점에 표시될 것인지 등이 결정될 수 있으며, 업데이트 중요도는 ECU별 업데이트 정보에 포함되어 업데이트 서버(200)로부터 수신된 것일 수 있다.That is, the user interface (UI) for updating the corresponding ECU software may be displayed on the screen through the
디스플레이 유닛(110)은, 상기 결정 결과에 따라 ECU 소프트웨어 업데이트를 위한 사용자 인터페이스(UI)를 화면에 표시하며, 사용자는 화면에 표시된 사용자 인터페이스(UI)를 이용하여 해당 ECU에 대한 소프트웨어 업데이트와 관련된 다양한 정보를 제공받고 그에 따른 입력을 수행할 수 있다.The
디스플레이 유닛(110)의 화면에 표시된 사용자 인터페이스(UI)를 통해 ECU에 대한 소프트웨어 업데이트가 선택되는 경우, 통신 유닛(120)은 해당 ECU에 대한 소프트웨어 업데이트 이미지를 업데이트 서버(200)로부터 수신하여 차량 내 통신 네트워크를 통해 해당 ECU로 전달할 수 있다.When a software update for an ECU is selected through a user interface (UI) displayed on the screen of the
한편, 도 2에서는 통신 유닛(120)이 디스플레이 유닛(110)을 통해 복수의 ECU들(10 내지 15)로 데이터를 전달하는 것으로 도시되었으나, 본 발명은 이에 한정되지 아니하며 통신 유닛(120)은 차량 내 통신 네트워크, 예를 들어 CAN 통신망을 통해 ECU 소프트웨어 업데이트 이미지 등과 같은 데이터를 각각의 ECU로 직접 전달할 수 있다.Meanwhile, although FIG. 2 illustrates that the
이하, 도 3 내지 도 10을 참조하여 차량 ECU 소프트웨어 업데이트 방법, 그를 수행하기 위한 장치 및 시스템에 대한 실시예들을 보다 상세히 설명하기로 한다.Hereinafter, embodiments of a vehicle ECU software update method, an apparatus and a system for performing the same will be described in more detail with reference to FIGS. 3 to 10.
도 3은 본 발명의 일실시예에 따른 차량 ECU 소프트웨어 업데이트 방법을 흐름도로 도시한 것으로, 도시된 업데이트 방법 중 도 1 및 도 2를 참조하여 설명한 것과 동일한 것에 대한 설명은 생략하기로 한다.3 is a flowchart illustrating a vehicle ECU software update method according to an embodiment of the present invention, and description of the same as that described with reference to FIGS. 1 and 2 will be omitted.
도 3을 참조하면, 차량에 복수의 ECU들(10 내지 15) 각각에 대한 ECU별 업데이트 정보가 무선 통신 네트워크를 통해 업데이트 서버(200)로부터 수신되어 획득된다(S300 단계).Referring to FIG. 3, ECU-specific update information for each of the plurality of
상기한 바와 같이, ECU별 업데이트 정보는 각각의 ECU에 대한 소프트웨어 최신 버전 정보 및 업데이트 중요도 정보를 포함할 수 있다.As described above, the ECU-specific update information may include software latest version information and update importance information for each ECU.
예를 들어, 상기 S300 단계에서, 디스플레이 유닛(110)은 차량의 ECU별 업데이트 정보에 대한 조회를 통신 유닛(120)으로 요청하며, 그에 응답하여 통신 유닛(120)을 통해 업데이트 서버(200)로부터 수신되는 ECU별 업데이트 정보를 전달받아 메모리(130)에 저장시킬 수 있다.For example, in step S300, the
그 후, 복수의 ECU들(10 내지 15) 중 적어도 하나에 대해, 상기 S300 단계에서 획득된 소프트웨어 최신 버전 정보와 해당 ECU의 소프트웨어 현재 버전 정보가 비교된다(S320 단계).Thereafter, for at least one of the plurality of
여기서, 상기 ECU 소프트웨어 현재 버전 정보는 차량의 시동 시 각각의 ECU로부터 수집된 것일 수 있다.Here, the ECU software current version information may be collected from each ECU at the start of the vehicle.
한편, 상기 S320 단계에서의 버전 정보 비교는, 차량에 구비된 복수의 ECU들(10 내지 15) 전체에 대해 각각 수행되거나, 또는 그 중 일부에 대해서만 수행될 수도 있다.On the other hand, the version information comparison in the step S320 may be performed for each of the plurality of ECU (10 to 15) provided in the vehicle, or may be performed only for some of them.
상기 비교 결과 버전 정보가 서로 상이한 경우(S320 단계), 해당 ECU의 소프트웨어 업데이트 관련 사용자 인터페이스(UI)의 화면 표시 여부 및 표시 시점 중 적어도 하나가 상기 S300 단계에서 획득된 업데이트 중요도 정보에 따라 결정된다(S330 단계).When the version information is different from each other as a result of the comparison (step S320), at least one of whether or not a screen is displayed on the software update-related user interface (UI) of the corresponding ECU is determined according to the update importance information obtained in step S300 ( Step S330).
즉, 복수의 ECU들(10 내지 15) 중 소프트웨어 현재 버전 정보가 최신 버전 정보와 일치하지 않는 ECU에 대해, 해당 ECU의 소프트웨어 업데이트를 위한 사용자 인터페이스(UI)를 화면에 표시할 것인지 여부와 표시한다면 어느 시점에 표시할 것인지 등이 상기 S330 단계에서 결정될 수 있다.That is, for an ECU in which the current software version information of the plurality of
예를 들어, 해당 ECU의 소프트웨어 업데이트가 매우 중요한 것으로 업데이트 서버(200)에 설정되어 있는 경우. 해당 ECU 소프트웨어 업데이트가 필수적으로 즉시 수행될 수 있도록, 디스플레이 유닛(110)을 통해 해당 사용자 인터페이스(UI)가 즉시 화면에 표시되도록 처리될 수 있다.For example, if the software update of the ECU is set to the
한편, 해당 ECU의 소프트웨어 업데이트가 중요하지 않은 것으로 업데이트 서버(200)에 설정되어 있는 경우. 해당 ECU 소프트웨어 업데이트가 사용자의 선택 또는 차량의 현재 상태 등에 따라 선택적으로 수행될 수 있도록, 차량의 운행 상태 등에 따라 디스플레이 유닛(110)을 통해 해당 사용자 인터페이스(UI)가 표시되도록 처리될 수 있다.On the other hand, if the software update of the ECU is set to the
상기 결정에 따라 특정 ECU 소프트웨어를 업데이트 하기 위한 사용자 인터페이스(UI)가 화면에 표시되고(S340 단계), 사용자 인터페이스(UI)를 통해 해당 ECU에 대한 소프트웨어 업데이트가 선택되는 경우(S350 단계), ECU 소프트웨어 업데이트 이미지가 업데이트 서버(200)로부터 수신되어 차량 내 통신 네트워크를 통해 해당 ECU로 전달되도록 처리된다(S360 단계).According to the determination, if a user interface (UI) for updating a specific ECU software is displayed on the screen (step S340), and if a software update for the corresponding ECU is selected through the user interface (UI) (step S350), the ECU software The update image is received from the
예를 들어, 상기 S360 단계에서, 디스플레이 유닛(110)은 해당 ECU의 소프트웨어 업데이트 이미지에 대한 다운로드를 통신 유닛(120)에 요청하며, 통신 유닛(120)은 업데이트 서버(200)에 요청하여 그로부터 다운로드된 업데이트 이미지를 해당 ECU로 전달되어 자체적으로 업데이트가 수행되도록 할 수 있다.For example, in step S360, the
한편, 도 3을 참조하여 설명한 바와 같은 ECU 소프트웨어 업데이트 방법은 본 발명의 일실시예에 따른 차량 인포테인먼트 장치에 의해 수행될 수 있다.Meanwhile, the ECU software update method as described with reference to FIG. 3 may be performed by the vehicle infotainment apparatus according to an embodiment of the present invention.
도 4는 차량 시동 시 ECU 소프트웨어를 업데이트하는 방법에 대한 일실시예를 설명하기 위해 도시한 타이밍도로서, 도시된 업데이트 방법 중 도 1 내지 도 3을 참조하여 설명한 것과 동일한 것에 대한 설명은 이하 생략하기로 한다.FIG. 4 is a timing diagram illustrating an example of a method of updating ECU software when a vehicle is started. Descriptions of the same update method as those described with reference to FIGS. 1 to 3 will be omitted below. Shall be.
도 4를 참조하면, ECU(13)는 차량에 구비된 복수의 ECU들(10 내지 15) 중 소프트웨어 업데이트 대상이 되는 ECU이며, 인포테인먼트 시스템(111)은 상기한 바와 같은 디스플레이 유닛(110)을 포함하는 시스템(예를 들어, 차량 내 AVN) 일 수 있다.Referring to FIG. 4, the
또한, 통신 제어 장치(121)는 상기한 바와 같은 통신 유닛(120)을 포함하는 장치일 수 있으며, 무선 통신 네트워크를 통해 업데이트 서버(200)와의 통신 이외에, 차량 내부의 통신(예를 들어, CAN 통신), ECU 소프트웨어 업데이트 이미지의 전달, 업데이트 정보의 저장 및 업데이트 제어 등의 추가적인 기능을 수행하기 위한 장치일 수 있다.In addition, the
차량의 시동 시, 즉 차량에 시동이 걸려 운행이 시작되는 시점에서, 인포테인먼트 시스템(111)은 해당 차량의 ECU별 업데이트 정보에 대한 조회를 통신 제어 장치(121)로 요청한다(S400 단계).At the start of the vehicle, that is, at the time when the vehicle is started and the driving starts, the
인포테인먼트 시스템(111)로부터 조회 요청받은 통신 제어 장치(121)는, 업데이트 서버(200)로 해당 차량의 ECU별 업데이트 정보를 요청한다(S401 단계).The
상기 S401 단계에서, 통신 제어 장치(121)는 무선 통신 네트워크를 통해 업데이트 서버(200)에 접속하여 인증 과정을 거친 후, 해당 차량에 대한 정보(예를 들어, 차종, 연식, 세부 모델명 등)를 업데이트 서버(200)로 제공하여 해당 차량에 구비된 ECU들 각각에 대한 업데이트 정보(예를 들어, ECU 소프트웨어 최신 버전 정보와 업데이트 중요도 정보 등)를 요청할 수 있다.In step S401, the
상기 요청에 응답하여, 업데이트 서버(200)는 통신 제어 장치(121)로부터 제공된 차량 정보를 확인한 후(S402 단계), 해당 차량에 구비된 모든 ECU들에 대한 최신의 ECU별 업데이트 정보를 추출해 통신 제어 장치(121)로 전송한다(S403 단계).In response to the request, the
통신 제어 장치(121)는 업데이트 서버(200)로부터 전송된 ECU별 업데이트 정보를 인포테인먼트 시스템(111)으로 전달하고(S404 단계), 인포테인먼트 시스템(111)은 통신 제어 장치(121)로부터 전달된 ECU별 업데이트 정보를 메모리(130)에 저장시킨다(S405 단계).The
한편, 인포테인먼트 시스템(111)은, 차량에 구비된 복수의 ECU들(10 내지 15) 각각에 대해 소프트웨어 현재 버전 정보를 요청하여(S406 단계), ECU별 소프트웨어 현재 버전 정보를 전송받아 수집한다(S407 단계).Meanwhile, the
상기한 바와 같은 ECU별 소프트웨어 현재 버전 정보는 차량 내부 통신 네트워크(예를 들어, CAN 통신)을 이용하여 각각의 ECU들로부터 수집되며, 수집된 ECU별 소프트웨어 현재 버전 정보는 메모리(130)에 저장된다(S408 단계).The ECU-specific software current version information as described above is collected from the respective ECUs using an in-vehicle communication network (for example, CAN communication), and the collected ECU-specific software current version information is stored in the
그 후, 인포테인먼트 시스템(111)은 상기 S405 단계에서 메모리(130)에 저장된 ECU(13)의 소프트웨어 최신 버전 정보와 상기 S408 단계에서 메모리(130)에 저장된 ECU(13)의 소프트웨어 현재 버전 정보를 비교하여 일치 여부를 확인한다(S409 단계).Thereafter, the
상기 비교 결과 버전 정보가 일치하는 경우, 해당 ECU(13)에 대한 소프트웨어 업데이트가 불필요한 것으로 판단된다.If the version information coincides with the comparison result, it is determined that the software update for the
한편, 상기 비교 결과 버전 정보가 일치하지 않는 경우, 인포테인먼트 시스템(111)은 ECU 소프트웨어 업데이트를 위한 사용자 인터페이스(UI)를 화면에 표시할 것인지 및 어느 시점에 표시할 것인지를 결정한다(S410 단계).On the other hand, if the version information does not match as a result of the comparison, the
상기한 바와 같이, 소프트웨어 업데이트 관련 사용자 인터페이스(UI)의 화면 표시 여부 및 표시 시점은, 해당 ECU(13)에 대한 소프트웨어 업데이트 중요도 정보에 기초하여 결정될 수 있으며, 상기 업데이트 중요도 정보는 업데이트 서버(200)에서 미리 설정되어 있을 수 있다.As described above, whether or not the screen of the software update related user interface (UI) is displayed may be determined based on software update importance information on the
본 발명의 일실시예에 따르면, 특정 ECU에 대한 업데이트 중요도가 제1 값을 가지는 경우, 소프트웨어 버전 정보와 함께 사용자의 업데이트 확인을 위한 오브젝트를 포함하는 사용자 인터페이스(UI)가 화면에 즉시 표시되도록 결정될 수 있다.According to an embodiment of the present invention, when the update importance level for a specific ECU has a first value, it may be determined that a user interface (UI) including an object for checking the user's update along with software version information is displayed on the screen immediately. Can be.
도 5를 참조하면, ECU(13)에 대한 소프트웨어 업데이트 중요도가 "상"인 경우, 소프트웨어 버전 정보(최신 버전 및 구 버전 정보), 업데이트로 인한 수정 사항 정보 및 기타 부가 정보 등을 포함하는 사용자 인터페이스(500)가 즉시 인포테인먼트 시스템(111)의 화면에 표시될 수 있다.Referring to FIG. 5, when the software update importance level for the
예를 들어, 상기 S409 단계에서의 비교 결과 소프트웨어 업데이트 중요도가 "상"인 ECU(13)의 현재 버전이 최신 버전과 일치하지 않는 것으로 확인되면, 바로 도 5에 도시된 바와 같은 사용자 인터페이스(500)가 인포테인먼트 시스템(111)의 화면 상에 제공될 수 있다.For example, if the comparison result in step S409 determines that the current version of the
이 경우, 인포테인먼트 시스템(111)의 화면 상에 제공된 사용자 인터페이스(500)에는, 사용자가 해당 ECU 소프트웨어 업데이트의 내용을 확인하기 위한 "확인" 버튼(510) 만이 제공되어, 사용자는 해당 업데이트를 취소하거나 추후 시점으로 연기할 수 없다.In this case, the
한편, 특정 ECU에 대한 업데이트 중요도가 제2 값을 가지는 경우, 소프트웨어 버전 정보와 함께 사용자의 업데이트 선택을 위한 오브젝트를 포함하는 사용자 인터페이스(UI)가 차량의 운행 상태에 따라 화면에 표시되도록 결정될 수 있다.On the other hand, when the update importance level for a particular ECU has a second value, it may be determined that a user interface (UI) including an object for selecting an update of the user together with the software version information is displayed on the screen according to the driving state of the vehicle. .
도 6을 참조하면, ECU(13)에 대한 소프트웨어 업데이트 중요도가 "중"인 경우, 소프트웨어 버전 정보(최신 버전 및 구 버전 정보), 업데이트로 인한 수정 사항 정보 및 기타 부가 정보 등을 포함하는 사용자 인터페이스(500)가 인포테인먼트 시스템(111)의 화면에 표시될 수 있다.Referring to FIG. 6, when the software update importance level for the
예를 들어, 상기 S409 단계에서의 비교 결과 소프트웨어 업데이트 중요도가 "중"인 ECU(13)의 현재 버전이 최신 버전과 일치하지 않는 것으로 확인되면, 차량의 정차 중에 도 6에 도시된 바와 같은 사용자 인터페이스(500)가 인포테인먼트 시스템(111)의 화면 상에 제공될 수 있다.For example, if the comparison result in step S409 confirms that the current version of the
이 경우, 인포테인먼트 시스템(111)의 화면 상에 제공된 사용자 인터페이스(500)에는, 사용자가 해당 ECU 소프트웨어 업데이트 여부를 선택하기 위한 "업데이트 설치" 버튼(520)과 "업데이트 건너뛰기" 버튼(430)이 제공되어, 사용자는 해당 업데이트를 동의하거나 또는 취소할 수 있다.In this case, the
또한, 사용자 인터페이스(500)에는, "다시 알림" 버튼(540)이 제공되어, 도 6에 도시된 바와 같은 사용자 인터페이스(500)가 추후 다시 인포테인먼트 시스템(111)의 화면에 표시되도록 설정할 수 있다.In addition, the
그리고 ECU에 대한 업데이트 중요도가 제3 값을 가지는 경우에는, 소프트웨어 버전 정보와 함께 사용자의 업데이트 선택을 위한 제1 오브젝트 및 추후 알림 선택을 위한 제2 오브젝트를 포함하는 사용자 인터페이스(UI)가 차량의 운행 상태에 따라 화면에 표시되도록 결정될 수 있다.When the update importance level for the ECU has a third value, a user interface (UI) including a first object for selecting an update for the user and a second object for selecting a later notification together with the software version information is operated by the vehicle. It may be determined to be displayed on the screen according to the state.
도 7을 참조하면, ECU(13)에 대한 소프트웨어 업데이트 중요도가 "하"인 경우, 소프트웨어 버전 정보(최신 버전 및 구 버전 정보), 업데이트로 인한 수정 사항 정보 및 기타 부가 정보 등을 포함하는 사용자 인터페이스(500)가 인포테인먼트 시스템(111)의 화면에 표시되거나, 또는 차량의 주행 상태 등에 따라 화면에 표시되지 않도록 처리될 수 있다.Referring to FIG. 7, when the software update importance level for the
예를 들어, 상기 S409 단계에서의 비교 결과 소프트웨어 업데이트 중요도가 "하"인 ECU(13)의 현재 버전이 최신 버전과 일치하지 않는 것으로 확인되면, 차량의 주행 중 또는 정차 중에는 사용자 인터페이스(500)가 화면에 표시되지 않도록 하며, 차량의 운행 종료 후 주차 시에 도 7에 도시된 바와 같은 사용자 인터페이스(500)가 인포테인먼트 시스템(111)의 화면 상에 제공될 수 있다.For example, if the comparison result in step S409 determines that the current version of the
이 경우, 인포테인먼트 시스템(111)의 화면 상에 제공된 사용자 인터페이스(500)에는, 사용자가 해당 ECU 소프트웨어 업데이트 여부를 선택하기 위한 "업데이트 설치" 버튼(520)과 "업데이트 건너뛰기" 버튼(430), "다시 알림" 버튼(540) 이외에, "알림 없음" 버튼(550)이 추가로 제공되어, 해당 ECU에 대한 소프트웨어 업데이트 알림이 사용자 인터페이스(500)를 통해 더 이상 안내되지 않도록 설정될 수도 있다.In this case, the
상기한 바와 같이 인포테인먼트 시스템(111)의 화면에 표시되는 사용자 인터페이스를 이용해 ECU(13)에 대한 소프트웨어 업데이트가 선택되는 경우, 인포테인먼트 시스템(111)은 ECU(13)의 소프트웨어를 업데이트 하기 위해 필요한 업데이트 이미지의 다운로드를 통신 제어 장치(121)에 요청한다(S411 단계).When the software update for the
통신 제어 장치(121)는 ECU(13)의 소프트웨어에 대한 업데이트 이미지 다운로드를 업데이트 서버(200)에 요청하고(S412 단계), 업데이트 서버(200)로부터 해당 업데이트 이미지를 다운로드 하여(S413 단계), 해당 업데이트 이미지를 검증한 후 ECU(13)로 전달한다(S414 단계).The
통신 제어 장치(121)로부터 소프트웨어 업데이트 이미지를 전달받은 ECU(13)는, 업데이트 이미지 파일의 수신이 완료되었음을 나타내는 메시지를 통신 제어 장치(121)로 전송한 후, 해당 업데이트 이미지를 이용해 자체적으로 소프트웨어 업데이트를 진행한다(S415 단계).The
본 발명의 다른 실시예에 따르면, 차량이 운행 중인 경우에는, 미리 설정된 일정 주기로 해당 차량에 구비된 복수의 ECU들에 대한 ECU별 업데이트 정보 조회가 요청될 수 있다.According to another embodiment of the present invention, when the vehicle is in operation, the ECU may request the update information for each ECU of the plurality of ECUs provided in the vehicle at a predetermined period.
도 8은 차량 운행 중 ECU 소프트웨어를 업데이트하는 방법에 대한 일실시예를 설명하기 위한 타이밍도이다.FIG. 8 is a timing diagram for explaining an embodiment of a method of updating ECU software while driving a vehicle.
도 8을 참조하면, 인포테인먼트 시스템(111)은 차량의 주행 중 미리 설정된 요청 주기를 실시간으로 확인하여(S800 단계), 일정 주기마다 해당 차량의 ECU별 업데이트 정보에 대한 조회를 통신 제어 장치(121)에 요청한다(S801 단계).Referring to FIG. 8, the
그 후 수행되는 단계들(S802 단계 내지 S813 단계)은, 도 4 내지 도 7을 참조하여 설명한 바와 같은 차량의 시동 시 수행되는 ECU 소프트웨어 업데이트 방법과 동일할 수 있다.The subsequent steps (steps S802 to S813) may be the same as the method of updating the ECU software performed at the start-up of the vehicle as described with reference to FIGS. 4 to 7.
다만, 해당 차량에 구비된 복수의 ECU들 각각에 대한 소프트웨어 현재 버전 정보는 차량의 시동 시 이미 수집되어 메모리(130)에 저장되어 있으므로, 차량의 주행 중에는 해당 단계들(S406 단계 내지 S408 단계)이 생략될 수 있다.However, since the software current version information of each of the plurality of ECUs provided in the vehicle is already collected and stored in the
본 발명의 또 다른 실시예에 따르면, 사용자의 요청이 있는 경우 차량에 구비된 복수의 ECU들에 대한 ECU별 업데이트 정보 조회가 요청되거나, 차량에 구비된 복수의 ECU들 사용자가 선택한 ECU에 대한 ECU별 업데이트 정보 조회가 요청될 수도 있다.According to another embodiment of the present invention, when a user's request is requested to update the ECU-specific update information for a plurality of ECUs provided in the vehicle, or the ECU for the ECU selected by the user of the plurality of ECUs provided in the vehicle Update information may be requested.
도 9는 사용자 요청에 따라 ECU 소프트웨어를 업데이트하는 방법에 대한 일실시예를 설명하기 위한 타이밍도이다.9 is a timing diagram illustrating an embodiment of a method of updating ECU software in response to a user request.
도 9를 참조하면, 인포테인먼트 시스템(111)은 화면 상에 제공된 사용자 인터페이스를 통해 사용자로부터 ECU 소프트웨어 업데이트를 요청받는다(S900 단계).Referring to FIG. 9, the
상기 사용자 업데이트 요청이 있는 경우, 인포테인먼트 시스템(111)은 해당 차량에 구비된 복수의 ECU들 전체에 대하여 ECU별 업데이트 정보 조회를 통신 제어 장치(121)에 요청한다(S901 단계).If there is a user update request, the
그 후 수행되는 단계들(S902 단계 내지 S913 단계)은, 도 4 내지 도 7을 참조하여 설명한 바와 같은 차량의 시동 시 수행되는 ECU 소프트웨어 업데이트 방법과 동일할 수 있다.The subsequent steps (steps S902 to S913) may be the same as the method of updating the ECU software performed at the start-up of the vehicle as described with reference to FIGS. 4 to 7.
다만, 해당 차량에 구비된 복수의 ECU들 각각에 대한 소프트웨어 현재 버전 정보는 차량의 시동 시 이미 수집되어 메모리(130)에 저장되어 있을 수 있으므로, 이 경우에는 해당 단계들(S406 단계 내지 S408 단계)이 생략될 수 있다.However, since the software current version information of each of the plurality of ECUs provided in the vehicle may be collected and stored in the
도 10은 사용자가 선택한 ECU의 소프트웨어를 업데이트하는 방법에 대한 일실시예를 설명하기 위한 타이밍도이다.10 is a timing diagram for explaining an embodiment of a method of updating software of a ECU selected by a user.
도 10을 참조하면, 인포테인먼트 시스템(111)은 화면 상에 제공된 사용자 인터페이스를 통해 사용자로부터 소프트웨어 업데이트를 위한 ECU 목록 조회를 요청받고(S1000 단계), 화면 상에 소프트웨어 업데이트 가능한 ECU들을 포함하는 목록 정보를 표시한다(S1001 단계).Referring to FIG. 10, the
사용자는 목록에 포함된 복수의 ECU들 중에서 하나 이상의 ECU를 선택한다(S1002 단계).The user selects one or more ECUs from among the plurality of ECUs included in the list (S1002).
상기 S1002 단계에서 사용자가 선택한 ECU에 대한 세부 정보는 인포테인먼트 시스템(111)의 화면 상에 표시되는 사용자 인터페이스를 이용하여 제공될 수 있으며, 상기 ECU 세부 정보는 해당 ECU에 대한 소프트웨어 버전 정보(최신 버전 및 구 버전 정보), 업데이트로 인한 수정 사항 정보 및 기타 부가 정보 등을 포함할 수 있다.The detailed information on the ECU selected by the user in step S1002 may be provided using a user interface displayed on the screen of the
한편, 사용자는 인포테인먼트 시스템(111)의 화면 상에 표시되는 사용자 인터페이스를 이용하여 해당 ECU에 대한 소프트웨어 업데이트를 선택할 수 있으며, 그를 위한 사용자 인터페이스의 구성은 도 5 내지 도 7을 참조하여 설명한 구성 중 적어도 일부와 동일할 수 있다.On the other hand, the user can select a software update for the ECU using the user interface displayed on the screen of the
사용자 특정 ECU를 선택하여 소프트웨어 업데이트를 요청하는 경우, 인포테인먼트 시스템(111)은 해당 ECU 소프트웨어에 대한 업데이트 이미지 다운로드를 통신 제어 장치(121)에 요청하고(S1003 단계), 통신 제어 장치(121)는 업데이트 서버(200)에 업데이트 이미지 다운로드를 요청한다(S1004 단계).If a user specific ECU is selected to request a software update, the
그 후, 통신 제어 장치(121)는 업데이트 서버(200)로부터 해당 ECU 소프트웨어에 대한 업데이트 이미지를 다운로드하여(S1005 단계), ECU(13)로 전달한다(S1006 단계).Thereafter, the
ECU(13)는 통신 제어 장치(121)로부터 전달받은 업데이트 이미지를 이용해 자체적으로 소프트웨어 업데이트를 수행한다(S1007 단계).The
상술한 본 발명의 실시예에 따른 방법들 중 적어도 일부 단계들은 컴퓨터에서 실행되기 위한 프로그램으로 제작되어 컴퓨터가 읽을 수 있는 기록 매체에 저장될 수 있으며, 컴퓨터가 읽을 수 있는 기록 매체의 예로는 ROM, RAM, CD-ROM, 자기 테이프, 플로피디스크, 광 데이터 저장장치 등이 있다.At least some of the above-described methods according to an embodiment of the present invention may be stored in a computer-readable recording medium that is produced as a program for execution in a computer. Examples of the computer-readable recording medium may include a ROM, RAM, CD-ROM, magnetic tape, floppy disk, optical data storage device.
컴퓨터가 읽을 수 있는 기록 매체는 네트워크로 연결된 컴퓨터 시스템에 분산되어, 분산방식으로 컴퓨터가 읽을 수 있는 코드가 저장되고 실행될 수 있다. 그리고, 상기 방법을 구현하기 위한 기능적인(function) 프로그램, 코드 및 코드 세그먼트들은 본 발명이 속하는 기술분야의 프로그래머들에 의해 용이하게 추론될 수 있다.The computer readable recording medium can be distributed over network coupled computer systems so that the computer readable code is stored and executed in a distributed fashion. In addition, functional programs, codes, and code segments for implementing the method can be easily inferred by programmers in the art to which the present invention belongs.
이와 같이, 상술한 본 발명의 기술적 구성은 본 발명이 속하는 기술분야의 당업자가 본 발명의 그 기술적 사상이나 필수적 특징을 변경하지 않고서 다른 구체적인 형태로 실시될 수 있다는 것을 이해할 수 있을 것이다.As such, the technical configuration of the present invention described above will be understood by those skilled in the art that the present invention can be implemented in other specific forms without changing the technical spirit or essential features of the present invention.
그러므로 이상에서 기술한 실시예들은 모든 면에서 예시적인 것이며 한정적인 것이 아닌 것으로서 이해되어야 하고, 본 발명의 범위는 전술한 상세한 설명보다는 후술하는 특허청구범위에 의하여 나타내어지며, 특허청구범위의 의미 및 범위 그리고 그 등가개념으로부터 도출되는 모든 변경 또는 변형된 형태가 본 발명의 범위에 포함되는 것으로 해석되어야 한다.Therefore, the exemplary embodiments described above are to be understood as illustrative and not restrictive in all respects, and the scope of the present invention is indicated by the appended claims rather than the foregoing detailed description, and the meaning and scope of the claims are as follows. And all changes or modifications derived from the equivalent concept should be interpreted as being included in the scope of the present invention.
| Application Number | Priority Date | Filing Date | Title | 
|---|---|---|---|
| KR1020180154332AKR102064519B1 (en) | 2018-12-04 | 2018-12-04 | Method for updating software of electronic control unit of vehicle, apparatus and system thereof | 
| Application Number | Priority Date | Filing Date | Title | 
|---|---|---|---|
| KR1020180154332AKR102064519B1 (en) | 2018-12-04 | 2018-12-04 | Method for updating software of electronic control unit of vehicle, apparatus and system thereof | 
| Application Number | Title | Priority Date | Filing Date | 
|---|---|---|---|
| KR1020190138413ADivisionKR102154542B1 (en) | 2019-11-01 | 2019-11-01 | System for updating software of electronic control unit of vehicle | 
| Publication Number | Publication Date | 
|---|---|
| KR102064519B1true KR102064519B1 (en) | 2020-01-09 | 
| Application Number | Title | Priority Date | Filing Date | 
|---|---|---|---|
| KR1020180154332AActiveKR102064519B1 (en) | 2018-12-04 | 2018-12-04 | Method for updating software of electronic control unit of vehicle, apparatus and system thereof | 
| Country | Link | 
|---|---|
| KR (1) | KR102064519B1 (en) | 
| Publication number | Priority date | Publication date | Assignee | Title | 
|---|---|---|---|---|
| CN113853580A (en)* | 2021-06-30 | 2021-12-28 | 华为技术有限公司 | Electronic Control Unit (ECU) updating method, ECU and terminal | 
| CN114764341A (en)* | 2021-01-14 | 2022-07-19 | 本田技研工业株式会社 | Information processing apparatus, control system, information processing method, control method, and computer-readable storage medium | 
| Publication number | Priority date | Publication date | Assignee | Title | 
|---|---|---|---|---|
| JP2015129753A (en)* | 2014-01-06 | 2015-07-16 | ハーマン インターナショナル インダストリーズ インコーポレイテッド | Scheduling notifications in the car | 
| Publication number | Priority date | Publication date | Assignee | Title | 
|---|---|---|---|---|
| JP2015129753A (en)* | 2014-01-06 | 2015-07-16 | ハーマン インターナショナル インダストリーズ インコーポレイテッド | Scheduling notifications in the car | 
| Publication number | Priority date | Publication date | Assignee | Title | 
|---|---|---|---|---|
| CN114764341A (en)* | 2021-01-14 | 2022-07-19 | 本田技研工业株式会社 | Information processing apparatus, control system, information processing method, control method, and computer-readable storage medium | 
| CN113853580A (en)* | 2021-06-30 | 2021-12-28 | 华为技术有限公司 | Electronic Control Unit (ECU) updating method, ECU and terminal | 
| WO2023272570A1 (en)* | 2021-06-30 | 2023-01-05 | 华为技术有限公司 | Method for updating electronic control unit (ecu), ecu, and terminal | 
| Publication | Publication Date | Title | 
|---|---|---|
| KR102154542B1 (en) | System for updating software of electronic control unit of vehicle | |
| JP6754622B2 (en) | Software updater and software update system | |
| JP5708940B2 (en) | Information management device, information communication system | |
| US20210405996A1 (en) | Server, managing method, non-transitory storage medium, software updating device, center, and over-the-air master | |
| CN105094883B (en) | Method and system for vehicle update | |
| CN106897086B (en) | Method, device and system for upgrading robot operating system | |
| US20140282467A1 (en) | Method and Apparatus for Multiple Vehicle Software Module Reflash | |
| US20170344355A1 (en) | Updating vehicle system modules | |
| US20240007539A1 (en) | Over-the-air upgrade method, apparatus, and system, storage medium, and program | |
| US11681518B2 (en) | Systems and methods for safe over-the-air update of electronic control units in vehicles | |
| CN111158738B (en) | Headset firmware upgrading method and device and readable storage medium | |
| KR102804917B1 (en) | Apparatus and method for updating software of electronic control unit of vehicle | |
| KR101201276B1 (en) | Method, software and apparatus for performing actions on a wireless device using action lists and versioning | |
| US20220107798A1 (en) | Server, software update system, distribution method, and non-transitory storage medium | |
| US12001829B2 (en) | OTA center, update management method, non-transitory storage medium, OTA master, and update control method | |
| US10078532B2 (en) | Resource management method and device for terminal system among multiple operating systems | |
| US11829748B1 (en) | Systems and methods for safe over-the-air update of electronic control units in vehicles | |
| CN112650511A (en) | OTA (over the air) update control method and system | |
| CN107102849B (en) | Method and apparatus for file replacement with periodic ignition switch off | |
| KR102064519B1 (en) | Method for updating software of electronic control unit of vehicle, apparatus and system thereof | |
| CN111527389A (en) | Vehicle diagnosis method, vehicle diagnosis device and storage medium | |
| US20240370249A1 (en) | Center, update management method, and non-transitory storage medium | |
| US20240378046A1 (en) | Vehicle device | |
| CN113593562B (en) | Voice control method, electronic device and storage medium | |
| US11797294B2 (en) | In-vehicle device, information processing device, download execution feasibility determination method, program, recording medium | 
| Date | Code | Title | Description | 
|---|---|---|---|
| PA0109 | Patent application | Patent event code:PA01091R01D Comment text:Patent Application Patent event date:20181204 | |
| PA0201 | Request for examination | Patent event code:PA02012R01D Patent event date:20190726 Comment text:Request for Examination of Application Patent event code:PA02011R01I Patent event date:20181204 Comment text:Patent Application | |
| PA0302 | Request for accelerated examination | Patent event date:20190726 Patent event code:PA03022R01D Comment text:Request for Accelerated Examination Patent event date:20181204 Patent event code:PA03021R01I Comment text:Patent Application | |
| PE0902 | Notice of grounds for rejection | Comment text:Notification of reason for refusal Patent event date:20190926 Patent event code:PE09021S01D | |
| PA0107 | Divisional application | Comment text:Divisional Application of Patent Patent event date:20191101 Patent event code:PA01071R01D | |
| E701 | Decision to grant or registration of patent right | ||
| PE0701 | Decision of registration | Patent event code:PE07011S01D Comment text:Decision to Grant Registration Patent event date:20191226 | |
| GRNT | Written decision to grant | ||
| PR0701 | Registration of establishment | Comment text:Registration of Establishment Patent event date:20200103 Patent event code:PR07011E01D | |
| PR1002 | Payment of registration fee | Payment date:20200103 End annual number:3 Start annual number:1 | |
| PG1601 | Publication of registration | ||
| PR1001 | Payment of annual fee | Payment date:20221221 Start annual number:4 End annual number:4 | |
| PR1001 | Payment of annual fee | Payment date:20231219 Start annual number:5 End annual number:5 | |
| PR1001 | Payment of annual fee | Payment date:20241219 Start annual number:6 End annual number:6 |