






본 발명은 액정표시장치에 관한 것으로서, 특히, 소비전력을 저감시킬 수 있는 액정표시장치에 관한 것이다.The present invention relates to a liquid crystal display device, and more particularly, to a liquid crystal display device capable of reducing power consumption.
이동통신 단말기, 노트북 컴퓨터와 같은 각종 휴대용 전자기기가 발전함에 따라 이에 적용될 수 있는 평판표시장치(Flat Panel DIPSlay Device)에 대한 요구가 점차 증대되고 있다.With the development of various portable electronic devices such as mobile communication terminals and notebook computers, there is an increasing demand for a flat panel display device.
평판표시장치 중, 액정표시장치(Liquid Crystal DISPLAY DEVICE)는 양산 기술, 구동수단의 용이성, 고화질 및 대화면 구현의 장점으로 인해 적용 분야가 확대되고 있다.Among the flat panel display devices, liquid crystal display devices (Liquid Crystal Display Device) is expanding the field of application due to the advantages of mass production technology, ease of driving means, high quality and large screen implementation.
액정표시장치는 전계를 이용하여 유전이방성을 갖는 액정의 광투과율을 조절함으로써 화상을 표시하게 된다.A liquid crystal display device displays an image by adjusting a light transmittance of a liquid crystal having dielectric anisotropy using an electric field.
이를 위해, 액정표시장치는 액정셀들이 매트릭스형태로 배열된 패널과, 패널을 구동하기 위한 구동부를 구비한다.To this end, the liquid crystal display includes a panel in which liquid crystal cells are arranged in a matrix, and a driving unit for driving the panel.
상기 구동부는, 제어부, 게이트 구동부 및 데이터 구동부 등을 포함한다.The driver includes a controller, a gate driver, a data driver, and the like.
상기 게이트 구동부는, 상기 패널의 게이트라인들을 순차적으로 구동한다.The gate driver sequentially drives the gate lines of the panel.
상기 데이터 구동부는, 상기 게이트라인들이 구동될 때마다 디지털 영상데이터를 데이터전압으로 변환하여 상기 데이터 라인들로 공급한다.The data driver converts digital image data into a data voltage and supplies the data lines to the data lines whenever the gate lines are driven.
상기 제어부는, 상기 게이트 구동부 및 상기 데이터 구동부를 제어하는 기능을 수행한다.The controller performs a function of controlling the gate driver and the data driver.
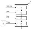
도 1은 종래의 액정표시장치에 적용되는 데이터 구동부의 일실시예 구성도이다.1 is a configuration diagram of an embodiment of a data driver applied to a conventional liquid crystal display.
상기 데이터 구동부(30)는, 도 1에 도시된 바와 같이, 쉬프트 레지스터부(31), 래치부(32), 디지털 아날로그 변환부(DAC)(33) 및 출력버퍼(34)로 구성될 수 있다.As illustrated in FIG. 1, the
상기 쉬프트 레지스터부(31)는, 상기 제어부로부터 수신된 데이터 제어신호들(SSC, SSP 등)을 이용하여 샘플링 신호를 발생한다.The
상기 래치부(32)는 상기 제어부로부터 순차적으로 수신된 상기 디지털 영상데이터(Data)를 래치하고 있다가, 상기 샘플링 신호에 따라, 상기 디지털 영상데이터들을 상기 디지털 아날로그 변환부(33)(DAC)로 동시에 출력하는 기능을 수행한다.The
상기 디지털 아날로그 변환부(33)는 상기 래치부(32)로부터 전송되어온 상기 영상데이터들을 동시에 정극성 또는 부극성의 데이터 전압으로 변환하여 출력한다. 즉, 상기 디지털 아날로그 변환부(33)는 상기 제어부로부터 전송되어온 극성제어신호(POL)를 이용하여 상기 영상데이터들을 정극성 또는 부극성의 데이터 전압(데이터신호)로 변환하여 상기 데이터라인들로 출력한다.The digital-
상기 출력버퍼(34)는 상기 디지털 아날로그 변환부(33)로부터 전송되어온 정극성 또는 부극성의 데이터전압을, 상기 제어부로부터 전송되어온 소스출력인에이블신호(SOE)에 따라, 상기 패널의 데이터라인들로 출력한다.The
이때, 상기 출력버퍼(34)는 전원공급부(50)로부터 전송되는 고준위구동전압(VDD)을 이용하여, 상기 데이터전압의 전류레벨을 증폭시켜 상기 데이터라인들로 출력한다.At this time, the
한편, 상기한 바와 같이, 액정표시장치는, 이동통신 단말기, 노트북 컴퓨터와 같은 각종 휴대용 전자제품으로 이용될 수 있으며, 이 경우, 상기 액정표시장치의 사용환경은 다양하게 변경될 수 있다.As described above, the liquid crystal display device may be used as various portable electronic products such as a mobile communication terminal and a notebook computer. In this case, the use environment of the liquid crystal display device may be variously changed.
즉, 액정표시장치가 적용되는 텔레비젼(TV)과 같은 전자제품도, 온도가 높은 지역에서 사용되다가, 온도가 낮은 지역으로 옮겨져 사용될 수도 있으나, 상기한 바와 같은 휴대용 전자제품의 경우에는, 주변 온도가 다양하게 변경될 수 있다.That is, electronic products such as a television (TV) to which a liquid crystal display device is applied may also be used in an area where the temperature is high and then moved to an area where the temperature is low. It can be changed in various ways.
액정표시장치가 사용되는 주변 온도가 다양하게 변경될 때, 일반적으로 상기 액정표시장치는 고온 또는 상온에서는 정상적으로 구동되나, 저온에서는 전자의 이동도 등이 감소되어, 정상적으로 구동되지 않을 수도 있다.When the ambient temperature at which the liquid crystal display device is used is variously changed, the liquid crystal display device is normally driven at a high temperature or a normal temperature, but at a low temperature, the mobility of electrons is reduced, and thus may not be normally driven.
이를 방지하기 위해, 종래의 액정표시장치는 저온의 환경에서도 정상적으로 구동될 수 있도록, 설정되어 있다.In order to prevent this, the conventional liquid crystal display device is set so that it can be driven normally even in a low temperature environment.
이 경우, 종래의 액정표시장치에 적용되는 상기 출력버퍼(34)에서는, 상기 데이터전압의 전류증폭율이 크게 설정되어 있다. 즉, 동일한 데이터전압이 상기 데이터라인으로 출력되더라도, 상기 데이터라인으로 많은 전류가 흐르도록 상기 데이터전압의 전류량을 증폭시키면, 저온의 환경에서도, 화질저하 없이 정상적으로 영상이 출력될 수 있다.In this case, in the
상기 출력버퍼(34)가 상기 데이터전압의 전류를 증폭시키기 위해 많은 전류를 소비한다는 것은, 상기 종래의 액정표시장치의 소비전력이 높다는 것을 의미한다.The fact that the
즉, 저온의 환경에서도 정상적으로 구동될 수 있도록, 저온에 최적화되게 설정되어 있는 종래의 액정표시장치에서는, 고온 또는 상온용으로 설정되어 구동되는 액정표시장치에서 소비되는 소비전력보다 높은 소비전력이 소비되고 있다.That is, in the conventional liquid crystal display device that is set to be optimized for low temperature so that it can be driven normally even in a low temperature environment, power consumption higher than that consumed by the liquid crystal display device that is set and driven for high temperature or room temperature is consumed. have.
그러나, 액정표시장치가 일년 내내 낮은 온도가 지속되는 한대지방에서 사용되는 경우를 제외하고는, 액정표시장치는 고온 또는 상온에서 이용되는 경우가 상대적으로 많다.However, liquid crystal display devices are relatively used at high temperature or room temperature, except when the liquid crystal display device is used in a large region where low temperature is maintained throughout the year.
따라서, 낮은 온도에서도 최상의 화질을 제공하기 위해, 낮은 온도에 최적화되어 높은 소비전력으로 구동되는 출력버퍼를 내장하고 있는 종래의 액정표시장치에서는, 불필요하게 전력이 낭비되고 있다.Therefore, in order to provide the best image quality even at a low temperature, power is unnecessarily wasted in the conventional liquid crystal display device having an output buffer which is optimized for low temperature and driven at high power consumption.
본 발명은 상술한 문제점을 해결하기 위해 제안된 것으로서, 온도센서를 통해 감지된 온도정보에 따라, 데이터라인으로 출력되는 데이터전압의 전류 증폭율을 제어할 수 있는, 액정표시장치 및 그 구동방법을 제공하는 것을 기술적 과제로 한다.The present invention has been proposed to solve the above problems, and according to the temperature information sensed by the temperature sensor, a liquid crystal display device and a driving method thereof, which can control the current amplification rate of the data voltage output to the data line It is technical problem to provide.
상술한 기술적 과제를 달성하기 위한 본 발명에 따른 액정표시장치는, 게이트라인들과 데이터라인들의 교차 영역마다 픽셀이 형성되어 있는 패널; 상기 데이터라인들로 출력될 데이터전압의 전류를 증폭시키기 위한 출력버퍼를 포함하는 데이터 구동부; 온도를 감지하기 위한 온도검출부; 상기 온도검출부에서 검출된 온도에 따라, 상기 출력버퍼로 공급될 구동전압의 크기를 선택할 수 있는, 파워제어신호를 출력하는 제어부; 및 상기 파워제어신호에 대응되는 구동전압을 생성하여, 상기 구동전압을 상기 출력버퍼로 공급하는 전력제어부를 포함한다.According to an aspect of the present invention, there is provided a liquid crystal display device including: a panel in which pixels are formed at intersections of gate lines and data lines; A data driver including an output buffer for amplifying a current of a data voltage to be output to the data lines; A temperature detector for sensing a temperature; A controller for outputting a power control signal to select a magnitude of a driving voltage to be supplied to the output buffer according to the temperature detected by the temperature detector; And a power control unit generating a driving voltage corresponding to the power control signal and supplying the driving voltage to the output buffer.
상술한 기술적 과제를 달성하기 위한 본 발명에 따른 액정표시장치 구동방법은, 온도를 검출하는 단계; 상기 검출단계에서 검출된 온도에 따라, 출력버퍼로 공급될 구동전압의 크기를 선택할 수 있는, 파워제어신호를 출력하는 단계; 상기 파워제어신호에 대응되는 구동전압을 생성하여, 상기 구동전압을 상기 출력버퍼로 공급하는 단계; 및 상기 구동전압에 따라 상기 데이터전압의 전류량을 증폭시켜, 증폭된 출력데이터전압을 상기 데이터라인으로 출력하는 단계를 포함한다.According to an aspect of the present invention, there is provided a method of driving a liquid crystal display device, the method including: detecting a temperature; Outputting a power control signal capable of selecting a magnitude of a driving voltage to be supplied to an output buffer according to the temperature detected in the detecting step; Generating a driving voltage corresponding to the power control signal and supplying the driving voltage to the output buffer; And amplifying the current amount of the data voltage according to the driving voltage, and outputting the amplified output data voltage to the data line.
본 발명에 의하면, 상온에서는 최소의 소비전력으로 액정표시장치가 구동될 수 있으며, 저온에서는 소비전력을 증가시킴으로써, 액정표시장치의 화질이 저하되지 않게 된다.According to the present invention, the liquid crystal display device can be driven at the minimum power consumption at room temperature, and the image quality of the liquid crystal display device is not deteriorated by increasing the power consumption at low temperature.
즉, 본 발명에 의하면, 액정표시장치의 전체 사용시간 중, 극히 일부분에 해당되는 저온에서의 사용기간 동안에만, 높은 소비전력으로 액정표시장치가 구동되고, 나머지 상온에서 사용되는 기간동안에는, 낮은 소비전력으로 액정표시장치가 구동됨으로써, 전체적으로 액정표시장치의 소비전력이 감소될 수 있다.That is, according to the present invention, the liquid crystal display is driven at a high power consumption only during a period of use at a low temperature corresponding to a very small portion of the entire use time of the liquid crystal display, and during the period of use at the remaining room temperature, low consumption is achieved. By driving the liquid crystal display with power, the power consumption of the liquid crystal display as a whole can be reduced.
도 1은 종래의 액정표시장치에 적용되는 데이터 구동부의 일실시예 구성도.
도 2는 본 발명에 따른 액정표시장치의 일실시예 구성도.
도 3은 본 발명에 따른 액정표시장치에 적용되는 제어부의 일실시예 구성도.
도 4는 도 3에 도시된 제어부에 적용되는 제어신호 생성부의 일실시예 구성도.
도 5는 본 발명에 따른 액정표시장치에 적용되는 데이터 구동부의 일실시예 구성도.
도 6은 도 5에 도시된 데이터 구동부에 적용되는 출력버퍼의 일실시예 구성도.
도 7은 본 발명에 따른 액정표시장치에 적용되는 파워제어신호들이 온도의 범위에 따라 구분되어 있는 상태를 나타낸 예시도.1 is a configuration diagram of an embodiment of a data driver applied to a conventional liquid crystal display.
 2 is a configuration diagram of an embodiment of a liquid crystal display device according to the present invention;
 3 is a diagram illustrating an embodiment of a control unit applied to a liquid crystal display according to the present invention.
 4 is a configuration diagram of an embodiment of a control signal generator applied to the controller shown in FIG. 3.
 5 is a configuration diagram of an embodiment of a data driver applied to a liquid crystal display according to the present invention.
 FIG. 6 is a diagram illustrating an embodiment of an output buffer applied to the data driver illustrated in FIG. 5.
 7 is an exemplary view illustrating a state in which power control signals applied to a liquid crystal display according to the present invention are divided according to a temperature range.
이하, 첨부된 도면을 참조하여 본 발명의 실시 예에 대해 상세히 설명한다.Hereinafter, with reference to the accompanying drawings will be described in detail an embodiment of the present invention.
도 2는 본 발명에 따른 액정표시장치의 일실시예 구성도이고, 도 3은 본 발명에 따른 액정표시장치에 적용되는 제어부의 일실시예 구성도이고, 도 4는 도 3에 도시된 제어부에 적용되는 제어신호 생성부의 일실시예 구성도이고, 도 5는 본 발명에 따른 액정표시장치에 적용되는 데이터 구동부의 일실시예 구성도이고, 도 6은 도5에 도시된 데이터 구동부에 적용되는 출력버퍼의 일실시예 구성도이며, 도 7은 본 발명에 따른 액정표시장치에 적용되는 파워제어신호들이 온도의 범위에 따라 구분되어 있는 상태를 나타낸 예시도이다. .2 is a configuration diagram of an embodiment of a liquid crystal display device according to the present invention, FIG. 3 is a configuration diagram of an embodiment of a control unit applied to a liquid crystal display device according to the present invention, and FIG. 5 is a block diagram of an embodiment of a data driver applied to a liquid crystal display according to an exemplary embodiment of the present invention. FIG. 6 is an output diagram of the data driver shown in FIG. 7 is an exemplary configuration diagram of a buffer, and FIG. 7 is an exemplary diagram illustrating a state in which power control signals applied to a liquid crystal display according to the present invention are divided according to a temperature range. .
액정표시장치가 저온에서 이용되는 경우에는, 전자의 이동도 감소 등에 의해, 액정표시장치가 정상적으로 구동되지 못하여 화질저하가 발생될 수 있다.When the liquid crystal display is used at a low temperature, the liquid crystal display may not be driven normally due to the decrease of the mobility of electrons, and thus the image quality may be deteriorated.
그러나, 액정표시장치는 일반적으로 상온 이상의 온도에서 이용되고 있다.However, liquid crystal displays are generally used at temperatures above room temperature.
따라서, 본 발명에 따른 액정표시장치에서는, 액정표시장치가 상온 환경에서 최적의 화질을 낼 수 있도록 하는 소비전력이 기본적으로 설정되며, 액정표시장치가 주변의 온도를 감지하여, 온도가 기 설정된 범위를 벗어난 경우에는, 해당 온도에서 최적의 화질을 낼 수 있도록 소비전력을 가변시킬 수 있다.Therefore, in the liquid crystal display device according to the present invention, the power consumption for allowing the liquid crystal display device to achieve an optimum image quality at room temperature is basically set, and the liquid crystal display senses the ambient temperature, and thus the temperature is preset. In the case of the deviation, the power consumption may be varied to achieve the optimum image quality at the temperature.
이를 위해, 본 발명에 따른 액정표시장치는, 도 2에 도시된 바와 같이, 게이트라인들(GL1 내지 GLn)과 데이터라인들(DL1 내지 DLm)의 교차 영역마다 픽셀이 형성되어 있는 패널(100), 상기 데이터라인들로 출력될 데이터전압의 전류를 증폭시키기 위한 출력버퍼(340)를 포함하는 데이터 구동부(300), 온도를 감지하기 위한 온도검출부(510), 상기 온도검출부(510)에서 검출된 온도에 따라, 상기 출력버퍼(340)로 공급될 구동전압의 크기를 선택할 수 있는, 파워제어신호를 출력하는 제어부(400) 및 상기 파워제어신호에 대응되는 구동전압을 생성하여, 상기 구동전압을 상기 출력버퍼(340)로 공급하는 전력제어부(350)를 포함한다.To this end, in the liquid crystal display according to the present invention, as shown in FIG. 2, a
상기 전원공급부(700)는, 메인보드(600)에 장착되어 있으며, 상기 제어부로 입력영상데이터와 타이밍 신호들을 전송하기 위한 외부 시스템(900)은 외부 시스템 보드(800)에 장착되어 있다. 상기 메인보드(600)는 연성인쇄회로기판(FPC) 등을 통해 상기 패널(100) 및 상기 외부 시스템 보드(800)와 연결되어 있다.The
또한, 상기 데이터 구동부(300), 상기 게이트 구동부 및 상기 제어부(400)를 총칭하여 구동부(500)라 한다. 상기 온도검출부(510)는 상기 메인보드(600)에 장착될 수도 있으나, 도 2에 도시된 바와 같이, 상기 구동부(500)에 형성될 수도 있다.In addition, the
우선, 상기 패널(100)의 하부 유리기판에는, 다수의 데이터라인들(DL1 내지 DLm), 데이터라인들과 교차되는 다수의 게이트라인들(GL1 내지 GLn), 데이터라인들과 게이트라인들의 교차부들에 형성되는 다수의 TFT들(Thin FilmTransistor), 픽셀에 데이터전압을 충전시키기 위한 다수의 픽셀전극(화소전극)들 및 픽셀전극과 함께 액정층에 충전된 액정을 구동하기 위한 터치전극이 형성되며, 데이터라인들과 게이트라인들의 교차 구조에 의해 픽셀들이 매트릭스 형태로 배치된다.First, the lower glass substrate of the
상기 패널(100)의 상부 유리기판에는 블랙매트릭스(BM)와 컬러필터가 형성된다.A black matrix BM and a color filter are formed on the upper glass substrate of the
상기 하부 유리기판과 상기 상부 유리기판 사이에는 액정이 충전된다.Liquid crystal is filled between the lower glass substrate and the upper glass substrate.
본 발명에 적용되는 상기 패널(100)의 액정모드는, TN 모드, VA 모드, IPS 모드, FFS 모드뿐 아니라 어떠한 종류의 액정모드도 가능하다. 또한, 본 발명에 따른 액정표시장치는 투과형 액정표시장치, 반투과형 액정표시장치, 반사형 액정표시장치 등 어떠한 형태로도 구현될 수 있다.
The liquid crystal mode of the
다음, 상기 구동부(500)는, 상기 패널(100)에 형성되어 있는 게이트라인으로 입력되는 신호들을 제어하기 위한 게이트 구동부(200), 상기 패널(100)에 형성되어 있는 데이터라인으로 입력되는 신호들을 제어하기 위한 데이터 구동부(300) 및 상기 게이트 구동부와 상기 데이터 구동부를 제어하기 위한 제어부(400)로 구성될 수 있다. 또한, 상기 구동부(500)에는 상기 온도검출부(510)도 포함될 수 있다.Next, the
상기 구동부(500)를 구성하는 상기 게이트 구동부(200), 상기 데이터 구동부(300) 및 상기 제어부(400)는 도 2에 도시된 바와 같이, 하나의 집적회로(IC)로 구성될 수도 있으나, 개별적으로 구성될 수도 있다.As illustrated in FIG. 2, the
즉, 스마트폰이나 테블릿PC와 같은 소형단말기에서는, 상기 게이트 구동부(200), 상기 데이터 구동부(300), 상기 제어부(400) 및 상기 온도검출부(510)가 하나의 데이터 드라이브 IC로 형성될 수도 있으나, 텔레비젼과 같은 대형단말기에서는, 상기 게이트 구동부(200), 상기 데이터 구동부(300), 상기 제어부(400) 및 상기 온도검출부(510)가 개별적인 구성요소로 구성될 수 있다.That is, in a small terminal such as a smartphone or a tablet PC, the
상기 구동부(500)를 구성하는 상기 게이트 구동부(200), 상기 데이터 구동부(300), 상기 제어부(400) 및 상기 온도검출부(510)의 기능을 개별적으로 설명하면 다음과 같다.
The functions of the
첫째, 상기 게이트 구동부(200)는 상기 제어부(400)로부터 전송되어온 게이트 스타트 펄스(Gate Start Pulse; GSP)를 게이트 쉬프트 클럭(Gate Shift Clock; GSC)에 따라 쉬프트시켜, 순차적으로 게이트 라인에 게이트 온 전압(Von)을 갖는 스캔신호를 공급한다.
First, the
둘째, 상기 데이터 구동부(300)는, 상기 제어부(400)로부터 전송되어온 디지털 영상데이터를 데이터전압으로 변환하여 상기 게이트라인에 스캔신호가 공급되는 1수평기간마다 1수평라인분의 상기 데이터전압을 상기 데이터라인들에 공급한다.Second, the
즉, 상기 데이터 구동부(300)는, 감마전압 발생부(도시하지 않음)로부터 공급되는 감마전압들을 이용하여, 상기 영상데이터를 상기 데이터전압으로 변환시킨 후 상기 데이터라인으로 출력시킨다. 이를 위해, 상기 데이터 구동부(300)는, 도 5에 도시된 바와 같이, 쉬프트 레지스터부(310), 래치부(320), 디지털 아날로그 변환부(DAC)(330) 및 출력버퍼(340)를 포함하고 있다.That is, the
상기 쉬프트 레지스터부(310)는, 상기 제어부(400)로부터 수신된 데이터 제어신호들(SSC, SSP 등)을 이용하여 샘플링 신호를 출력한다.The
상기 래치부(320)는 상기 제어부(400)로부터 순차적으로 수신된 상기 디지털 영상데이터(Data)를 래치하고 있다가, 상기 디지털 아날로그 변환부(DAC)(330)로 동시에 출력하는 기능을 수행한다.The
상기 디지털 아날로그 변환부(330)는 상기 래치부로부터 전송되어온 상기 영상데이터들을 동시에 정극성 또는 부극성의 데이터 전압으로 변환하여 출력한다. 즉, 상기 디지털 아날로그 변환부(330)는 상기 제어부(400)로부터 전송되어온 극성제어신호(POL)를 이용하여 상기 영상데이터들을 정극성 또는 부극성의 데이터 전압(데이터신호)로 변환하여 상기 데이터라인들로 출력한다.The digital-to-
상기 디지털 아날로그 변환부(330)는 고준위구동전압(VDD)을 이용하여 상기 영상데이터를 상기 데이터전압으로 변환시킨다.The digital-to-
상기 출력버퍼(340)는 상기 디지털 아날로그 변환부(330)로부터 전송되어온 정극성 또는 부극성의 데이터전압을, 상기 제어부(400)로부터 전송되어온 소스출력인에이블신호(SOE)에 따라, 상기 패널의 데이터라인(DL)들로 출력한다. 특히, 상기 출력버퍼(340)는, 상기 디지털 아날로그 변환부(330)로부터 전송된 상기 데이터전압의 전류량을 상기 전력제어부(350)로부터 전송되어온 상기 구동전압에 따라 증폭시켜, 증폭된 출력데이터전압을 상기 데이터라인으로 출력하는 기능을 수행한다.The
이를 위해, 상기 출력버퍼(3400는, 도 6에 도시된 바와 같이, 저장기(341), 전류증폭기(342) 및 출력버퍼블럭(343)을 포함하여 구성될 수 있다.To this end, the output buffer 3400, as shown in Figure 6, may include a
상기 저장기(341)는, 상기 디지털 아날로그 변환부(330)로부터 전송되어온 상기 데이터전압을 증폭시키기 위해 필요한 정보들을 저장하고 있다.The
상기 전류증폭기(342)는 상기 전력제어부(350)로부터 전송되어오는 상기 구동전압 및 상기 저장기에 저장되어 있는 정보들을 이용하여, 상기 디지털 아날로그 변환부(330)로부터 전송되어온 상기 데이터전압의 전류량을 증폭시킨다. 즉, 상기 전류증폭기(342)는, 상기 저장기(341)에 저장되어 있는 저항값과 상기 구동전압을 이용하여, 상기 데이터전압의 전류량을 증폭시킨다.The
상기 출력버퍼블럭(343)은 상기 전류증폭기에서 전류량이 증폭된 출력데이터전압을 각각의 데이터라인으로 출력하는 기능을 수행한다.The
즉, 상기 출력버퍼(340)는 상기 전력제어부(350)로부터 고전력이 공급되는 경우에는, 상기 데이터전압의 전류량을 크게 증폭시키며, 상기 전력제어부(350)로부터 저전력이 공급되는 경우에는, 상기 데이터전압의 전류량을 작게 증폭시킨다.That is, when high power is supplied from the
상기 전류량에 따라, 상기 데이터라인으로 출력되는 출력데이터전압의 파워가 증대되거나 감소된다.According to the amount of current, the power of the output data voltage output to the data line is increased or decreased.
상기 액정표시장치의 주변 온도가 저하된 경우에는, 상기 출력데이터전압의 전류량이 증가되어 상기 출력데이터전압의 파워가 증대된다. 이 경우, 온도저하에 따라 감소된 상기 액정표시장치의 기능이, 상기 증대된 파워에 의해 상쇄되어, 상기 패널(100)로 출력되는 영상의 화질이 저하되지 않는다.When the ambient temperature of the liquid crystal display is lowered, the current amount of the output data voltage is increased to increase the power of the output data voltage. In this case, the function of the liquid crystal display reduced by the temperature decrease is canceled by the increased power, so that the image quality of the image output to the
반면에, 상기 액정표시장치의 주변 온도가 상온으로 설정된 온도 범위에 해당되는 경우에는, 상기 출력데이터전압의 전류량이 감소되어 상기 출력데이터전압의 파워가 감소된다.On the other hand, when the ambient temperature of the liquid crystal display device is within the temperature range set to room temperature, the amount of current of the output data voltage is reduced, thereby reducing the power of the output data voltage.
그러나, 상기 액정표시장치는 상기 출력데이전압의 전류량이 감소되어, 상기 출력데이터전압의 파워가 감소된 상태에서 최적의 영상을 출력하도록 설정되어 있기 때문에, 상기 출력데이터전압의 파워가 감소되더라도, 상기 패널(100)로 출력되는 영상의 화질이 저하되지는 않는다.
However, since the current amount of the output day voltage is reduced so that the liquid crystal display device is set to output an optimal image in a state in which the power of the output data voltage is reduced, the liquid crystal display device is reduced even if the power of the output data voltage is reduced. The image quality of the image output to the
셋째, 상기 제어부(400)는, 상기 외부 시스템(900)으로부터 입력되는 타이밍 신호, 즉, 수직동기신호(Vsync), 수평동기신호(Hsync) 및 데이터 인에이블 신호(DE) 등을 이용하여, 상기 게이트 구동부(200)들의 동작 타이밍을 제어하기 위한 게이트 제어신호(GCS)와 상기 데이터 구동부(300)들의 동작 타이밍을 제어하기 위한 데이터 제어신호(DCS)를 생성하며, 상기 데이터 구동부(300)로 전송될 영상데이터를 생성한다. 이를 위해, 상기 제어부(400)는, 상기 외부 시스템(900)으로부터 입력영상데이터(Input Data) 및 타이밍 신호들을 수신하기 위한 수신부(410), 각종 제어신호들을 생성하기 위한 제어신호 생성부(420), 상기 입력영상데이터를 재정렬하여, 재정렬된 영상데이터(Data)를 출력하기 위한 데이터 정렬부(430) 및 상기 제어신호들과 상기 영상데이터를 출력하기 위한 출력부(440)를 포함한다.Third, the
즉, 상기 제어부(400)는, 상기 외부 시스템(900)으로부터 입력되는 입력영상데이터(Input Data)를 상기 패널(100)의 구조 및 특성에 맞게 정렬시켜, 정렬된 상기 영상데이터를 상기 데이터 구동부(300)로 전송한다.That is, the
이를 위해, 상기 제어부에는, 데이터 정렬부(430)가 형성될 수 있다.To this end, the
또한, 상기 제어부(400)는 상기 외부 시스템으로부터 전송되어온 타이밍 신호들, 즉, 수직동기신호(Vsync), 수평동기신호(Hsync) 및 데이터인에이블신호(DE) 등을 이용하여, 상기 데이터 구동부를 제어하기 위한 데이터 제어신호(DCS) 및 상기 게이트 구동부를 제어하기 위한 게이트 제어신호(GCS)를 생성하여, 상기 제어신호들을 상기 데이터 구동부와 상기 게이트 구동부로 전송하는 기능을 수행한다.In addition, the
이를 위해, 상기 제어부(400)에는, 제어신호 생성부(420)가 형성될 수 있다.To this end, the
상기 제어신호 생성부(420)에서 발생되는 게이트 제어신호(GCS)들로는 게이트 스타트 펄스(GSP), 게이트 쉬프트 클럭(GSC), 게이트 출력 인에이블 신호(GOE), 게이트 스타트신호(VST), 게이트 클럭(GCLK) 등이 있다.The gate control signals GCS generated by the
상기 제어신호 생성부에서 발생되는 데이터 제어신호들에는 소스 스타트 펄스(SSP), 소스 쉬프트 클럭신호(SSC), 소스 출력 이네이블 신호(SOE), 극성제어신호(POL) 등이 포함된다.The data control signals generated by the control signal generator include a source start pulse SSP, a source shift clock signal SSC, a source output enable signal SOE, a polarity control signal POL, and the like.
또한, 상기 제어부(400)에는, 상기 외부 시스템(900)으로부터 상기 입력영상데이터 및 상기 타이밍 신호들을 수신하기 위해 상기 수신부(410)가 형성된다. 상기 수신부(410)는, 저전압 차등 신호링(LVDS : low voltage differential signaling) 등의 인터페이스를 이용하여 구성될 수 있다.In addition, the
한편, 상기 제어부(400)는 상기 온도검출부(510)에서 검출된 온도에 따라, 상기 출력버퍼(340)로 공급될 상기 구동전압의 크기를 선택할 수 있는, 파워제어신호를 출력하는 기능을 수행할 수 있다.Meanwhile, the
상기 파워제어신호는, 특히, 상기 제어신호 생성부(420)에서 생성될 수 있다. 이를 위해 상기 제어신호 생성부(420)는, 도 4에 도시된 바와 같이, 온도에 따라 선택될 수 있는 두 개 이상의 파워제어신호들을 저장하고 있는 저장기(422), 상기 온도검출부(510)에서 검출된 온도와 매칭되어 있는 파워제어신호를 상기 저장기(422)로부터 추출하는 추출기(421) 및 상기 추출기(421)로부터 전송되어온 상기 파워제어신호를 상기 전력제어부(350)로 전송하는 제어신호 발생기(423)를 포함할 수 있다.In particular, the power control signal may be generated by the
그러나, 상기에서 설명된 상기 제어신호 생성부(420)는, 상기 제어부(400)에 형성되지 않을 수도 있다. 즉, 상기 제어부(400), 상기 게이트 구동부(200) 및 상기 데이터 구동부(300)가 도 2에 도시된 바와 같이, 하나의 IC로 구성된 구동부(500)에 형성되는 경우, 상기 제어신호 생성부(420)는 상기 구동부(500) 내부에서 다양한 형태로 형성될 수 있다. 이 경우, 상기 게이트 제어신호 및 상기 데이터 제어신호를 생성하기 위해 상기 제어부에 형성되어 있는 제어신호 생성부(420)와, 상기 파워제어신호를 생성가히 위한 제어신호 생성부(420)는 서로 독립되어 형성될 수 있다.However, the
한편, 상기 저장기(422)에는, 도 7에 도시된 바와 같이 각 온도의 범위별로, 파워제어신호가 매칭되어 있다. 예를 들어, 20℃~30℃의 범위에 포함되는 온도를 상온이라고 할 때, 상기 상온에 대하여는 상온파워제어신호가 설정될 수 있고, 상기 상온보다 높은 온도에 대하여는 고온파워제어신호가 설정될 수 있으며, 상기 상온보다 낮은 온도에 대하여는 저온파워제어신호가 설정될 수 있다.Meanwhile, as shown in FIG. 7, the power control signal is matched with the
이 경우, 상기 저온파워제어신호는, 온도의 범위에 따라, 다시 세분화될 수 있다. 도 7에는 상기 상온보다 낮은 온도가 4단계로 구분되어 있으며, 각각의 단계에 대하여, 제1저온파워제어신호, 제2저온파워제어신호, 제3저온파워제어신호 및 제4저온파워제어신호가 설정되어 있다. 상기한 바와 같은 온도의 구분 및 파워제어신호의 숫자는 액정표시장치 및 액정표시장치가 주로 사용되는 온도에 따라 다양하게 설정될 수 있다.In this case, the low temperature power control signal may be further subdivided according to the temperature range. In FIG. 7, a temperature lower than the room temperature is divided into four stages, and for each stage, a first low temperature power control signal, a second low temperature power control signal, a third low temperature power control signal, and a fourth low temperature power control signal are included. It is set. The above-mentioned division of temperature and the number of power control signals may be variously set according to the temperature at which the liquid crystal display device and the liquid crystal display device are mainly used.
상기 제어신호 생성부(420)에서 생성된 상기 파워제어신호(PCS)는 상기 출력부(440)를 통해 상기 전력제어부(350)로 전송된다.The power control signal PCS generated by the
한편, 상기 제어부(400)는, 상기 파워제어신호들 중, 상온으로 설정된 온도가 검출된 경우에 생성되는 상온파워제어신호를 기준값으로 설정하여, 상기 상온파워제어신호를 출력하고 있는 상태에서, 상기 온도검출부(510)에서 검출되는 온도가 상기 상온으로 설정된 온도보다 낮은 경우에, 상기 파워제어신호를 변경하여 출력할 수 있다.Meanwhile, the
즉, 상기한 바와 같이, 액정표시장치는 상온에서 이용되는 경우가 많다. 따라서, 본 발명에서는 상기 제어부(400)가, 상기 상온파워제어신호를 디폴트 값(default value)으로 출력하고 있다. 따라서, 상기 전력제어부(350)는 상기 상온파워제어신호에 따라 최소의 전력을 생성하여 상기 출력버퍼(340)로 공급하고 있으며, 상기 출력버퍼(340)는, 최소의 전력을 이용하여 상기 데이터전압의 전류량을 증폭시켜, 최소의 전력을 이용해 전류량이 증폭된 상기 출력데이터전압을 상기 데이터라인으로 출력하고 있다.
That is, as described above, the liquid crystal display device is often used at room temperature. Therefore, in the present invention, the
넸재, 상기 온도검출부(510)는, 상기 액정표시장치의 주변 온도를 검출하기 위한 것으로서, 현재 일반적으로 이용되고 있는 온도센서들이 이용될 수 있다.In addition, the
상기 온도검출부(510)는, 상기 패널(100), 상기 메인보드(600) 및 상기 외부 시스템 보드(800)에 장착될 수도 있으나, 집적회로(IC)로 구성된 상기 구동부(500) 내부에, 상기 제어부(400), 상기 데이터 구동부(300) 및 상기 게이트 구동부(200)와 함께 형성될 수 있다.
The
다음, 상기 전원공급부(700)는, 상기 외부 시스템(900)으로부터 공급되는 전원을 이용하여, 상기 각 구성요소들에 필요한 전원을 생성하는 기능을 수행한다.Next, the
상기 전원공급부(700)는 상기 디지털 아날로그 변환부(330)로 고준위구동전압(VDD)을 공급한다.The
상기 전력제어부(350)는, 도 5에 도시된 바와 같이, 상기 데이터 구동부(300)에 형성될 수도 있으나, 상기 전원공급부(700)에 형성될 수도 있다.As shown in FIG. 5, the
상기 전력제어부(350)가 상기 전원공급부(700)에 구비되어 있는 경우, 상기 전력제어부(350)는, 상기 제어부(400)로부터 전송되어온 상기 파워제어신호에 따라, 상기 출력버퍼(340)로 공급될 구동전원을 선택하여 상기 데이터 구동부(300)의 상기 출력버퍼(340)로 공급한다.
When the
다음, 상기 전력제어부(350)는, 상기 출력버퍼(340)로 공급되는 구동전압의 크기를 가변시키는 기능을 수행한다. 상기 전력제어부(350)는, 도 5에 도시된 바와 같이, 상기 데이터 구동부(300)에 구비될 수도 있으나, 상기 전원공급부(700)에 구비될 수도 있으며, 상기 출력버퍼(340) 내부에 구비될 수도 있다.Next, the
상기 전력제어부(350)는, 상기 제어부로부터 전송되어온 파워제어신호(PCS)에 따라 스위칭되어, 상기 출력버퍼(340)로 공급되는 상기 구동전압의 크기를 가변시키는 기능을 수행한다.The
즉, 상기 전력제어부(350)는, 상기 파워제어신호들 중, 상온으로 설정된 온도보다 낮은 온도가 검출된 경우에 생성되는 저온파워제어신호가, 상기 제어부로부터 전송된 경우에는, 상기 상온으로 설정된 온도에서 상기 출력버퍼로 공급되는 전력보다 높은 전력을 생성하여, 상기 출력버퍼로 공급한다.That is, the
따라서, 액정표시장치가 저온에서 구동되는 경우, 상기 출력버퍼(340)는 상기 높은 전력을 이용하여, 상기 데이터전압의 전류량을 크게 증폭시킨다. 이로 인해, 상기한 바와 같이, 온도의 저하에 따라 상기 액정표시장치의 감소된 기능이, 상기 증대된 파워에 의해 상쇄되어, 상기 패널(100)로 출력되는 영상의 화질이 저하되지 않는다.
Therefore, when the liquid crystal display is driven at a low temperature, the
마지막으로, 상기 외부 시스템(900)은, 상기 제어부(400)로, 상기 입력영상데이터 및 상기 타이밍 신호들을 공급하는 기능을 수행한다.Finally, the
상기 입력영상데이터는, 상기 제어부(400)에서 디지털 영상데이터로 변환된 후, 최종적으로 상기 출력데이터전압으로 변환되어 상기 패널(100)에 형성되어 있는 데이터라인으로 출력된다.The input image data is converted into digital image data by the
상기 타이밍 신호들은, 상기 제어부(400)가 상기 게이트 제어신호 및 상기 데이터 제어신호를 생성할 때 이용된다.The timing signals are used when the
상기 외부 시스템(900)은 본 발명에 따른 표시장치가 적용되는 스마트폰 또는 핸드폰 또는 테블릿PC의 제어부가 될 수 있다.
The
이하에서는, 상기한 바와 같은 액정표시장치의 구동방법이 간단히 설명된다.Hereinafter, the driving method of the liquid crystal display device as described above will be briefly described.
즉, 본 발명에 따른 액정표시장치 구동방법은, 상기 액정표시장치의 기능에 해당되는 것으로서, 상기에서 설명된 내용과 중복된다. 따라서, 이하에서는, 본 발명에 따른 액정표시장치 구동방법이 간단히 설명된다.That is, the method of driving the liquid crystal display device according to the present invention corresponds to the function of the liquid crystal display device and overlaps with the above description. Therefore, in the following, the liquid crystal display driving method according to the present invention will be briefly described.
본 발명에 따른 액정표시장치 구동방법은, 온도를 검출하는 제1단계, 상기 검출단계에서 검출된 온도에 따라, 상기 출력버퍼로 공급될 구동전압의 크기를 선택할 수 있는, 파워제어신호(PCS)를 출력하는 제2단계, 상기 파워제어신호(PCS)에 대응되는 구동전압을 생성하여, 상기 구동전압을 상기 출력버퍼(340)로 공급하는 제3단계 및 상기 구동전압에 따라 상기 데이터전압의 전류량을 증폭시켜, 증폭된 출력데이터전압을 상기 데이터라인으로 출력하는 제4단계를 포함한다.In the method of driving a liquid crystal display according to the present invention, a power control signal (PCS) capable of selecting a magnitude of a driving voltage to be supplied to the output buffer according to a first step of detecting a temperature and a temperature detected in the detection step. A second step of outputting a second voltage, a driving voltage corresponding to the power control signal PCS, a third step of supplying the driving voltage to the
여기서, 상기 파워제어신호를 출력하는 제2단계는, 온도에 따라 선택될 수 있는 두 개 이상의 파워제어신호들을 저장하는 단계, 저장되어 있는 상기 파워제어신호들 중에서, 상기 검출단계에서 검출된 온도와 매칭되어 있는 파워제어신호를 추출하는 단계 및 추출된 파워제어신호를 상기 구동전압을 생성하는 상기 전력제어부(350)로 전송하는 단계를 포함하여 구성될 수 있다.The second step of outputting the power control signal may include storing two or more power control signals that may be selected according to temperature, and among the stored power control signals, And extracting a matched power control signal and transmitting the extracted power control signal to the
또한, 상기 구동전압을 생성하여 상기 출력버퍼로 공급하는 제3단계에서, 상기 파워제어신호들 중, 상온으로 설정된 온도보다 낮은 온도가 검출된 경우에 생성되는 저온파워제어신호가, 수신된 경우, 상기 전력제어부(350)는, 상기 상온으로 설정된 온도에서 상기 출력버퍼(340)로 공급되는 전력보다 높은 전력을 생성하여, 상기 출력버퍼(350)로 공급한다.Further, in the third step of generating the driving voltage and supplying it to the output buffer, when a low temperature power control signal generated when a temperature lower than a temperature set to room temperature is detected among the power control signals, The
또한, 상기 출력데이터전압을 상기 데이터라인으로 출력하는 단계는, 샘플링 신호를 출력하는 단계, 영상데이터를 래치하고 있다가, 상기 샘플링 신호에 따라, 상기 영상데이터들을 동시에 출력하는 단계, 동시에 출력된 상기 영상데이터들을 상기 데이터전압으로 변환하여 출력하는 단계 및 상기 데이터전압의 전류량을 상기 구동전압에 따라 증폭시켜, 증폭된 출력데이터전압을 상기 데이터라인으로 출력하는 단계를 포함하여 구성될 수 있다.The outputting of the output data voltage to the data line may include outputting a sampling signal, latching image data, and simultaneously outputting the image data according to the sampling signal. Converting and outputting image data into the data voltage and amplifying the current amount of the data voltage according to the driving voltage to output the amplified output data voltage to the data line.
또한, 상기 파워제어신호를 출력하는 단계에서, 상기 제어부가, 상기 파워제어신호들 중, 상온으로 설정된 온도가 검출된 경우에 생성되는 상온파워제어신호를 기준값으로 설정하여, 상기 상온파워제어신호를 출력하고 있는 상태에서, 상기 검출단계에서 검출되는 온도가 상기 상온으로 설정된 온도보다 낮은 경우에, 상기 파워제어신호를 변경하여 출력함으로써, 상온에서 최소의 소비전력을 이용하여 액정표시장치가 구동될 수 있다.In the outputting of the power control signal, the control unit sets the room temperature power control signal generated when a temperature set to room temperature among the power control signals is detected as a reference value, and sets the room temperature power control signal. In the outputting state, when the temperature detected in the detecting step is lower than the temperature set to the room temperature, by changing the power control signal and outputting the same, the liquid crystal display device can be driven using the minimum power consumption at room temperature. have.
본 발명이 속하는 기술분야의 당업자는 본 발명이 그 기술적 사상이나 필수적 특징을 변경하지 않고서 다른 구체적인 형태로 실시될 수 있다는 것을 이해할 수 있을 것이다. 그러므로, 이상에서 기술한 실시 예들은 모든 면에서 예시적인 것이며 한정적인 것이 아닌 것으로 이해해야만 한다. 본 발명의 범위는 상기 상세한 설명보다는 후술하는 특허청구범위에 의하여 나타내어지며, 특허청구범위의 의미 및 범위 그리고 그 등가 개념으로부터 도출되는 모든 변경 또는 변형된 형태가 본 발명의 범위에 포함되는 것으로 해석되어야 한다.Those skilled in the art to which the present invention pertains will understand that the present invention can be implemented in other specific forms without changing the technical spirit or essential features. Therefore, it is to be understood that the embodiments described above are exemplary in all respects and not restrictive. The scope of the present invention is shown by the following claims rather than the detailed description, and all changes or modifications derived from the meaning and scope of the claims and their equivalent concepts should be construed as being included in the scope of the present invention. do.
100 : 패널200 : 게이트 구동부
300 : 데이터 구동부400 : 제어부
500 : 구동부510 : 온도검출부
700 : 전원공급부350 : 전력제어부100
 300: data driver 400: controller
 500: drive unit 510: temperature detector
 700: power supply unit 350: power control unit
| Application Number | Priority Date | Filing Date | Title | 
|---|---|---|---|
| KR1020120148505AKR102045981B1 (en) | 2012-12-18 | 2012-12-18 | Liquid crystal display device and driving method thereof | 
| Application Number | Priority Date | Filing Date | Title | 
|---|---|---|---|
| KR1020120148505AKR102045981B1 (en) | 2012-12-18 | 2012-12-18 | Liquid crystal display device and driving method thereof | 
| Publication Number | Publication Date | 
|---|---|
| KR20140080790A KR20140080790A (en) | 2014-07-01 | 
| KR102045981B1true KR102045981B1 (en) | 2019-11-19 | 
| Application Number | Title | Priority Date | Filing Date | 
|---|---|---|---|
| KR1020120148505AActiveKR102045981B1 (en) | 2012-12-18 | 2012-12-18 | Liquid crystal display device and driving method thereof | 
| Country | Link | 
|---|---|
| KR (1) | KR102045981B1 (en) | 
| Publication number | Priority date | Publication date | Assignee | Title | 
|---|---|---|---|---|
| US11482164B2 (en) | 2020-11-17 | 2022-10-25 | Samsung Display Co., Ltd. | Display device | 
| Publication number | Priority date | Publication date | Assignee | Title | 
|---|---|---|---|---|
| KR101213101B1 (en)* | 2005-12-30 | 2012-12-18 | 엘지디스플레이 주식회사 | Liquid Crystal Display and Method for Driving thereof | 
| KR101265440B1 (en)* | 2006-06-14 | 2013-05-16 | 엘지디스플레이 주식회사 | LCD and drive method thereof | 
| KR101535822B1 (en)* | 2009-07-15 | 2015-07-10 | 엘지디스플레이 주식회사 | Light emitting display and method for driving the same | 
| KR101630340B1 (en)* | 2009-12-18 | 2016-06-15 | 엘지디스플레이 주식회사 | Liquid crystal display device and method of driving the same | 
| KR101897011B1 (en)* | 2010-11-30 | 2018-09-10 | 엘지디스플레이 주식회사 | Liquid crystal display appratus and method for driving the same | 
| Publication number | Priority date | Publication date | Assignee | Title | 
|---|---|---|---|---|
| US11482164B2 (en) | 2020-11-17 | 2022-10-25 | Samsung Display Co., Ltd. | Display device | 
| Publication number | Publication date | 
|---|---|
| KR20140080790A (en) | 2014-07-01 | 
| Publication | Publication Date | Title | 
|---|---|---|
| US12417729B2 (en) | Power control circuit for display device | |
| EP3113012B1 (en) | Display device and mobile terminal using the same | |
| US9542030B2 (en) | Display device with integrated touch screen having varied touch driving time and method of driving the same | |
| EP3151086B1 (en) | Touch driving signal generating device, touch driving device including the same, and display device and driving method thereof | |
| KR102177651B1 (en) | Display device and method of driving the same | |
| US9285912B2 (en) | Time-division driving type touch sensing device and method for driving the same | |
| US9189097B2 (en) | Display device with integrated in-cell touch screen and method of driving the same | |
| EP3038097B1 (en) | Display device having touch sensor | |
| KR102038883B1 (en) | Display device and driving method thereof | |
| TWI514218B (en) | Display device with integrated touch screen and method of driving the same | |
| KR20180024904A (en) | Touch display device and method of driving the same | |
| US20080165099A1 (en) | Lcds and methods for driving same | |
| KR20110068148A (en) | Touch sensor built-in display | |
| US11307446B2 (en) | Display device having touch sensor and method of driving same | |
| CN106960651B (en) | Display device and driving method thereof | |
| KR101363143B1 (en) | Display device including touch sensor and method for driving the same | |
| KR102019764B1 (en) | Liquid crystal display device and driving method thereof | |
| KR102045981B1 (en) | Liquid crystal display device and driving method thereof | |
| KR102043625B1 (en) | Method of correcting a frequency and display device using the same | |
| KR102338709B1 (en) | Display device and method of driving the same | |
| KR101743189B1 (en) | Liquid crystal display device and driving method for thereof | |
| KR102066135B1 (en) | Liquid crystal display device and driving method thereof | |
| KR20120111643A (en) | Driving apparatus for liquid crystal display device and method for driving the same | |
| KR20150079250A (en) | Liquid crystal display device and method of driving the same | 
| Date | Code | Title | Description | 
|---|---|---|---|
| PA0109 | Patent application | Patent event code:PA01091R01D Comment text:Patent Application Patent event date:20121218 | |
| PG1501 | Laying open of application | ||
| A201 | Request for examination | ||
| PA0201 | Request for examination | Patent event code:PA02012R01D Patent event date:20171211 Comment text:Request for Examination of Application Patent event code:PA02011R01I Patent event date:20121218 Comment text:Patent Application | |
| E902 | Notification of reason for refusal | ||
| PE0902 | Notice of grounds for rejection | Comment text:Notification of reason for refusal Patent event date:20190218 Patent event code:PE09021S01D | |
| E90F | Notification of reason for final refusal | ||
| PE0902 | Notice of grounds for rejection | Comment text:Final Notice of Reason for Refusal Patent event date:20190715 Patent event code:PE09021S02D | |
| E701 | Decision to grant or registration of patent right | ||
| PE0701 | Decision of registration | Patent event code:PE07011S01D Comment text:Decision to Grant Registration Patent event date:20191029 | |
| GRNT | Written decision to grant | ||
| PR0701 | Registration of establishment | Comment text:Registration of Establishment Patent event date:20191112 Patent event code:PR07011E01D | |
| PR1002 | Payment of registration fee | Payment date:20191113 End annual number:3 Start annual number:1 | |
| PG1601 | Publication of registration | ||
| PR1001 | Payment of annual fee | Payment date:20221017 Start annual number:4 End annual number:4 | |
| PR1001 | Payment of annual fee | Payment date:20231016 Start annual number:5 End annual number:5 | |
| PR1001 | Payment of annual fee | Payment date:20241015 Start annual number:6 End annual number:6 |