







본 발명은 유량 조절 성능이 획기적으로 향상된 수액세트용 유량 조절 장치에 관한 것이다.The present invention relates to a flow rate adjusting device for a fluid set,
일반적으로, 구강으로 필수 영양을 적절히 섭취할 수 없는 환자에게 수액, 전해질, 비타민, 단백질, 지방 및 칼로리 등을 유지/보충하거나, 혈액 구성성분을 적절히 유지하기 위해, 또는 응급상태에서 약물을 신속하게 공급하기 위해 병원에서는 정맥주사 등을 통해 환자의 정맥 내에 수액 내지 약물을 투여하게 되는데, 이때 꼭 필요한 물품으로 수액주입세트가 통용되고 있다.In general, to maintain / supplement the fluid, electrolytes, vitamins, proteins, fats and calories and the like, to properly maintain the blood constituents, or to promptly administer the drug in an emergency, In order to supply, the hospital administers liquid or drug in the vein of the patient through intravenous injection or the like.
수액주입세트는 수액이 저장된 수액통은 하부에 형성된 연결관에 삽입되어 연결되는 수액 인출관이 상부에 형성되고, 상기 수액 인출관의 하부에는 수액을 점적의 형태로 떨어뜨리는 점적통이 형성되며, 상기 점적통 하측은 수액관과 연결되고, 상기 수액관에는 수액의 주입속도를 조절하는 수액조절기가 설치되며, 상기 수액관의 선단에 니들이 장착되는 구조를 이루어진다.A liquid infusion set includes a liquid inflow tube connected to a connection tube formed at a lower portion of the liquid infusion tube, the inflow tube having a liquid reservoir formed thereon, and a drip tray is formed at a lower portion of the infusion tube, The lower side of the dispenser is connected to a liquid pipe, and the liquid pipe is provided with a liquid controller for controlling the infusion rate of the liquid, and the needle is attached to the distal end of the liquid pipe.
이러한 수액주입세트를 이용하여 수액을 인체에 주입하기 위해서는 상기 니들을 인체의 정맥에 꽂고, 수액조절기를 조절하여 상기 점적통으로 떨어지는 수액방울의 속도를 조절한다. 그런데 상기 점적통으로 떨어지는 수액방울의 속도를 사람이 직접 측정하기는 어려우며, 이에 따라 이 속도를 측정하기 위한 방법과 장치들이 개발되었다In order to inject the liquid into the human body using the liquid infusion set, the needle is inserted into the vein of the human body, and the fluid controller adjusts the velocity of the droplet falling into the dropper. However, it is difficult for a person to directly measure the velocity of the droplets falling into the dropper, and accordingly, methods and apparatuses for measuring the velocity have been developed
한편, 수액을 환자에게 주입할 때에는 수액의 종류, 수액에 혼합한 약제의 종류, 환자의 상태, 앓고 있는 병의 종류 등에 따라 주입 유량을 처방하여서, 처방한 유량으로 주입되도록 수액유량 조절기를 조절한다.On the other hand, when injecting the fluid into the patient, the infusion rate is prescribed according to the type of the fluid, the type of medicines mixed with the fluid, the condition of the patient, the type of illness afflicted, and the fluid flow controller is adjusted so that the fluid is injected at the prescribed flow rate .
여기서, 주입되는 수액의 유량을 처방 유량에 맞추지 못하면 자칫 의료사고의 원인이 되기도 하므로 수액의 유량 조절은 매우 중요하며, 이러한 수액유량 조절기는 튜브(1)를 통한 수액의 통과 단면적을 조절하는 조작부를 갖추고 있어서 조작부의 조작으로 수액의 주입 유량을 조절할 수 있다.In this case, if the flow rate of the injected fluid can not be adjusted to the prescribed flow rate, it can cause medical accidents. Therefore, it is very important to control the flow rate of the fluid. The fluid flow rate controller controls the passage cross- And the injection flow rate of the liquid can be adjusted by operating the operation portion.
도 1은 종래의 수액의 유량을 조절하는 수액유량조절기(15)를 나타낸 사시도이다. 도 1의 수액유량조절기(15)는 아이브이 플로우 레귤레이터(IV Flow Regulator) 타입을 보여주는 도면으로서, 이와 같은 아이브이 플로우 레귤레이터(IV Flow Regulator) 타입의 수액유량 조절기(15)는 다이얼(dial)처럼 돌릴 수 있게 한 조작부(15c)의 유량을 몸체(15f)에 표시되는 수치(15e)로 병기한 눈금(15d)에 맞추어 한 번의 조작으로 유량을 조절할 수 있게 구성된다.1 is a perspective view showing a fluid flow controller 15 for controlling the flow rate of a conventional fluid. 1 is a diagram showing an IV flow regulator type. The IV flow regulator-type fluid flow regulator 15 has a structure similar to that of a dial The flow rate of the operating portion 15c which can be turned can be adjusted to the scale 15d indicated by the numerical value 15e displayed on the body 15f so that the flow rate can be adjusted by one operation.
이는 주입하려는 수액 유량값이 새겨진 수치(15e)의 눈금(15d)에 조작부(15c)를 맞추면 그 수치(15e)에 대응되는 유량으로 수액이 주입되도록 수액 통로(미도시) 단면적을 조절하는 구조를 갖추었기 때문이다. 조작부(15c) 바디 저면과 몸통(15f) 바디 상면에는 유로가 회전하는 위치에 유량 조절할 수 있도록 홈이 형성되어 있다. 사출로 형성되는 유량 조절용 홈은 정밀하게 성형이 불가능하여 유량 조절에 오차가 발생하게 된다. 한편, 몸통(15f) 바디 상면에 실리콘과 같은 탄성체로 형성된 샘방지판이 배치된다. 실리콘 샘방지판의 상기 유량 조절 홈에 상응하는 홈이 형성된다. 실리콘 샘방지판이 배치될 경우 조작부(15c)와 몸통(15f)의 체결 강도가 강해지면 샘방지판이 눌려 수액 유로를 막을 수 있다. 이와 같이 구성된 종래의 수액 유량 조정기는 유량 조절의 정확도가 30% 정도 낮아지는 문제점이 있다.This is because when the operating portion 15c is aligned with the scale 15d of the numerical value 15e on which the fluid flow value to be injected is engraved, a structure for adjusting the cross-sectional area of the fluid passage (not shown) so that the fluid is injected at a flow rate corresponding to the numerical value 15e It is equipped. Grooves are formed on the body bottom surface of the operating portion 15c and on the upper surface of the body 15f so that the flow rate can be adjusted at a position where the flow path is rotated. The flow control groove formed by injection can not be precisely formed and an error occurs in the flow rate control. On the other hand, a leak prevention plate formed of an elastic body such as silicon is disposed on the upper surface of the body 15f. A groove corresponding to the flow control groove of the silicon leak prevention plate is formed. When the silicon leak prevention plate is disposed, if the tightening strength between the operation portion 15c and the body 15f becomes strong, the leakage preventing plate can be pressed to close the liquid flow path. The conventional liquid flow rate regulator thus configured has a problem that the accuracy of the flow rate control is reduced by about 30%.
본 발명은 위와 같은 문제점을 해결하기 위하여 창안된 것으로서, 정밀한 유량 제어가 가능한 수액세트용 유량조절장치를 제공하는 것을 목적으로 한다.SUMMARY OF THE INVENTION It is an object of the present invention to provide a flow rate adjusting device for a liquid set capable of precise flow control.
본 발명은 원통 형상의 바디와 바디 저면의 중심에 형성되는 회전지지축으로 이루어지는 유량조절레버; 및The present invention relates to a flow control lever comprising a cylindrical body and a rotary support shaft formed at the center of the bottom of the body. And
상기 회전지지축이 삽입되는 상응하는 형상의 유량조절부, 상기 유량조절부와 선단이 연결되어 수액을 유입시키는 수액유입공, 상기 수액유입공보다 낮은 위치에서 상기 유량조절부에 연결되어 수액을 배출하는 수액배출공을 포함하는 몸체를 포함하고,A flow control unit of a corresponding shape into which the rotation support shaft is inserted, a fluid inflow hole connected to the flow control unit and connected to the inflow end, and connected to the flow control unit at a position lower than the fluid inflow hole, And a body including a liquid discharge hole for discharging liquid,
상기 회전지지축은 상기 유량조절부의 직경에 상응하는 형상과 사이즈의 제2포스트, 상기 제2포스트의 외측면에 길이방향으로 형성되는 수액배출홈, 상기 수액배출홈의 측면에 연결되어 점진적으로 깊이와 폭이 작아지도록 상기 제2포스트의 외측면을 따라 길이방향에 수직으로 형성되는 수액조절홈을 포함하고,The rotation support shaft includes a second post having a shape and a size corresponding to the diameter of the flow rate regulating portion, a liquid discharge groove formed longitudinally on the outer surface of the second post, And a liquid control groove formed perpendicularly to the longitudinal direction along the outer surface of the second post so that the width becomes smaller,
상기 유량조절레버의 회전에 따라 상기 수액유입공의 선단은 상기 수액조절홈을 따라 움직이는 것을 특징으로 하는 수액세트용 유량 조절 장치를 제공한다.And the tip of the fluid inflow hole moves along the fluid control groove according to the rotation of the flow rate control lever.
상기 회전지지축은 상기 제2포스트의 하단에 연결되며 상기 수액배출공으로 유로를 형성하기 위하여 상기 제2포스트를 상기 유량조절부 하단에서 상기 수액배출공의 선단 높이에 상응하는 높이로 상승시키도록 형성되는 제3포스트를 추가로 포함하는 것을 특징으로 한다.The rotation support shaft is connected to the lower end of the second post and is formed to raise the second post to a height corresponding to the height of the distal end of the inflow hole at the lower end of the flow control unit so as to form a flow path with the fluid- And further includes a third post.
상기 수액조절레버의 저면 둘레에 상기 몸체와 회동 가능하게 체결되도록 돌출형성되는 걸림구와 상기 몸체의 상면에 상기 걸림구와 상응하는 위치에 상기 걸림구와 체결가능하게 돌출 형성되는 체결구를 추가로 포함하는 것을 특징으로 한다.And a fastening hole formed on an upper surface of the body so as to be rotatably coupled to the body so as to be rotatable around a bottom surface of the liquid control lever and a fastening protrusion formed on the upper surface of the body so as to be fastened to the fastening hole at a position corresponding to the fastening hole .
상기 몸체는 상기 체결구의 내측면에 수액량에 따라 설정 간격으로 형성되는 복수개의 유량표지홈이 형성되고, 상기 수액조절레버는 상기 유량표지홈을 따라 접촉하며 회전하도록 상기 수액조절레버의 저면에 돌출 형성되는 유량표지구를 추가로 포함하는 것을 특징으로 한다.The body is provided with a plurality of flow rate indicator grooves formed on the inner side surface of the fastening hole at a predetermined interval according to the amount of the liquid, and the liquid control lever is formed to protrude on the bottom surface of the liquid control lever And a flow rate indicator for detecting the flow rate.
상기 수액유입공 내부에 수액의 유입을 방해할 수 있도록 유량저감구를 배치하는 것이 바람직하다.It is preferable to arrange a flow rate reducing port so as to prevent the inflow of the liquid into the liquid inflow hole.
본 발명에 따르면, 수액 유입구에 상응하는 위치에 유량 조절을 위해 크기가 점점 변화하는 유량 조절 홈을 유량 조절 레버의 회전지지축에 형성하여 정밀한 유량 제어를 가능하게 하는 효과가 있다.According to the present invention, a flow rate adjusting groove whose size gradually changes to adjust the flow rate at a position corresponding to the fluid inlet is formed on the rotation support shaft of the flow rate adjusting lever, thereby enabling accurate flow rate control.
도 1 은 종래의 유량 조절 장치를 나타낸 도면이다.
도 2 는 본 발명의 실시예에 따른 수액세트용 유량 조절 장치의 유량 조절 레버를 나타낸 사시도이다.
도 3 은 도 2의 유량조절레버와 결합하는 몸체를 나타내는 사시도이다.
도 4 는 도 2의 유량조절레버와 도 3의 몸체가 결합한 수액세트용 유량조절장치의 단면을 나타낸 도면이다.
도 5 는 도 4의 몸체를 나타낸 단면도이다.
도 6 은 도 4의 유량조절레버를 나타낸 단면도이다.
도 7 은 도 6의 유량조절레버의 회전지지축을 확대하여 나타낸 단면도이다.
도 8은 유량조절레버의 유량조절홈과 몸체의 수액유입구 선단이 만나 만드는 유로의 크기를 설명하는 도면이다.1 is a view showing a conventional flow rate control device.
 2 is a perspective view illustrating a flow rate control lever of a flow rate adjusting device for a fluid set according to an embodiment of the present invention.
 FIG. 3 is a perspective view showing a body that engages with the flow control lever of FIG. 2;
 FIG. 4 is a cross-sectional view of a flow rate adjusting device for a fluid set in which the flow control lever of FIG. 2 and the body of FIG. 3 are combined.
 5 is a cross-sectional view showing the body of Fig.
 6 is a cross-sectional view of the flow rate control lever of Fig.
 FIG. 7 is an enlarged cross-sectional view of the rotation support shaft of the flow control lever of FIG. 6;
 8 is a view for explaining the size of the flow path formed by the flow control groove of the flow control lever and the tip of the fluid inlet of the body.
본 발명은 다양한 변경을 가할 수 있고 여러 가지 실시예를 가질 수 있는바, 특정 실시예들을 도면에 예시하고 상세한 설명에 상세하게 설명하고자 한다 그러나, 이는 본 발명을 특정한 실시 형태에 대해 한정하려는 것이 아니며, 본 발명의 사상 및 기술범위에 포함되는 모든 변경, 균등물 내지 대체물을 포함하는 것으로 이해되어야 한다While the invention is susceptible to various modifications and its various embodiments, it is to be understood that the invention is not limited to the particular embodiments, but, on the contrary, , And all changes, equivalents, and alternatives falling within the spirit and scope of the present invention
도면들에 있어서, 본 발명의 실시예들은 도시된 특정 형태로 제한되는 것이 아니며 명확성을 기하기 위하여 과장된 것이다 본 명세서에서 특정한 용어들이 사용되었으나, 이는 본 발명을 설명하기 위한 목적에서 사용된 것이며, 의미 한정이나 특허청구범위에 기재된 본 발명의 권리 범위를 제한하기 위하여 사용된 것은 아니다.In the drawings, the embodiments of the present invention are not limited to the specific forms shown and are exaggerated for the sake of clarity. Although specific terms are used herein, they are used for the purpose of describing the present invention, And are not used to limit the scope of the present invention described in the claims or the claims.
이하, 첨부된 도면을 참조하여 본 발명의 일 실시예를 상세히 설명하면 다음과 같다.Hereinafter, an embodiment of the present invention will be described in detail with reference to the accompanying drawings.
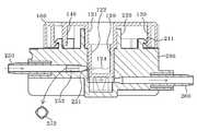
도 2 는 본 발명의 실시예에 따른 수액세트용 유량 조절 장치의 유량 조절 레버를 나타낸 사시도이고, 도 3 은 도 2의 유량조절레버와 결합하는 몸체를 나타내는 사시도이고, 도 4 는 도 2의 유량조절레버와 도 3의 몸체가 결합한 수액세트용 유량조절장치의 단면을 나타낸 도면이고, 도 5 는 도 4의 몸체를 나타낸 단면도이고, 도 6 은 도 4의 유량조절레버를 나타낸 단면도이고, 도 7 은 도 6의 유량조절레버의 회전지지축을 확대하여 나타낸 단면도이다.2 is a perspective view showing a flow control lever of the flow control device for a fluid set according to an embodiment of the present invention, FIG. 3 is a perspective view showing a body coupled with the flow control lever of FIG. 2, FIG. 5 is a cross-sectional view showing the body of FIG. 4, FIG. 6 is a cross-sectional view showing the flow control lever of FIG. 4, and FIG. 6 is an enlarged cross-sectional view of the rotation support shaft of the flow control lever of Fig.
본 발명의 실시예에 따른 수액 세트용 유량 조절 장치는 도 2의 유량조절레버(100)와 도 3의 몸체(200)가 결합하여 이루어진다.The flow control device for a fluid set according to an embodiment of the present invention is formed by combining the
도 2에 도시된 바와 같이, 유량조절레버(100)는 하측이 개방되고 상면이 폐쇄된 원통형상의 바디(110)와 바디(110) 저면의 중심에 형성되는 회전지지축(120)을 포함한다. 원통형 바디(110)의 상면에는 유량을 표시하는 숫자와 눈금이 표시될 수 있다. 바디(110)의 측면에는 레버를 돌릴때 미끄러지지 않도록 요철이 형성될 수 있다. 도 6에 도시된 바와 같이, 바디(110) 저면 중심에 회전지지축(120)이 형성되고 회전지지축(120)은 저면에서 결합되는 후술할 몸체(200)의 결합부(220)에 상응하는 직경의 제1포스트(121)와 제1포스트(121)의 하단에 연결되며 제1포스트(121)보다 작은 직경으로 즉, 후술할 몸체(200)의 유량조절부(240)에 끼워지도록 상응하는 직경으로 형성되는 제2포스트(122)를 포함한다. 제2포스트(122)의 하단에 연결되며 수액배출공(260)으로 유로를 형성하기 위하여 유량조절부(240) 하부에 공간을 형성하도록 제2포스트(122)를 유량조절부(240) 하단에서 수액배출공(260)의 선단 높이만큼 상승시키도록 형성되는 제3포스트(125)을 추가로 포함할 수 있다. 몸체(200)와 결합 시 후술할 수액유입공(250)의 선단(251)과 만나는 위치의 제2포스트(122)의 둘레에 점진적으로 깊이와 폭이 작게 형성된 수액조절홈(124)이 형성된다. 제2포스트(122) 외측면에 상기 수액조절홈(124) 위치보다 높은 위치에서 시작하여 길이방향을따라 하단까지 수직으로 절개되어 수액배출홈(123)이 형성된다. 수액조절레버(100)의 저면 둘레에 몸체(200)와 회동 가능하게 결합하도록 걸림구(130)가 형성될 수 있다. 후술할 몸체(200)의 유량표지홈(140)의 요철을 따라 움직이며 요철을 사용자가 느낄 수 있도록 저면에 돌출 형성되는 유량표지구(140)를 추가로 포함할 수 있다.2, the flow
몸체(200)는 상기 회전지지축(120)이 끼워져 결합할 수 있도록 상응하는 원통 형상의 결합부(220)와 유량조절부(240)가 바디 중심에 형성되고, 유량조절레버(100)와 회전가능하게 체결되기 위해 상면에 걸림구(130)와 상응하는 위치에 체결구(212)가 돌출 형성된다. 체결구(212)는 걸림구(130)의 쐐기형상의 제1돌부(131)와 상응하는 형상의 제2돌부(211)가 둘레에 형성된다. 체결구(212)의 내면 둘레에는 유량표지홈(213)이 설정된 간격으로 형성되어 내면에 요철무늬를 만든다. 유량표지홈(213)에 상응하는 위치에 유량조절레버(100)의 유량표지구(140)가 맞닿아 유량표지홈(213)들을 지나가며 사용자가 요철을 느끼고, 유량 조정 레버 회전량을 조절할 수 있게 된다. 수액유입구(250)는 유량조절부(240) 중간 측에 선단(251)이 위치하도록 연결된다. 수액배출공(260)은 유량조절부(240) 하단에 접하도록 아래에 선단(261)이 위치하도록 연결된다. 수액유입구(250)와 수액배출공(260)은 유량조절부(240)의 길이 방향에 대하여 수직으로 결합한다. 수액유입구(250)와 수액배출공(260)은 180°방향에 배치되는 것이 바람직하다. 유량조절부(240)에서 연결되어, 제3포스트(125)가 끼움결합할 수 있도록 상응하는 형상의 삽입부(270)가 형성된다. 삽입부(270)는 높이가 제3포스트(125)의 길이에서 수액배출공(260)의 선단(261)을 뺀 크기로 설정된다.The
상기와 같이 구성된 유량조절레버(100)와 몸체(200)가 결합하여 수액이 조절되는 것을 설명하면 다음과 같다. 도7은 유량조절레버(100)의 회전지지축(120)을 확대하여 나타낸 도면으로, 도시되는 바와 같이, 회전지지축(120)의 제2포스트(122)의 외면에, 결합시 수액유입공(250)의 선단 위치보다 높이가 높게 회전지지축(122)의 길이 방향으로 제2포스트(122) 하단까지 수액배출홈(123)이 형성되고, 회전지지축(120)의 길이 방향에 수직으로 수액배출홈(123)의 일측면에 연결되어 홈의 깊이 및 폭이 점진적으로 감소하도록 수액조절홈(124)이 형성된다. 수액조절홈(124)의 시점(a)은 수액배출홈(123)에 연결되어 수액이 수액조절홈(124)에서 수액배출홈(123)으로 흘러들어갈 수 있게 된다. 수액조절홈(124)의 종점(b)은 수액배출홈(123)의 타측면까지 도달하지 않아 홈이 생성되지 않는 외면이 제2포스트(122)에 존재하게 되며 이곳이 수액 off 위치가 된다. 수액조절홈(124)의 깊이 폭은 수액의 약을 미세하게 조정할 수 있도록 실험값이 적용되어 설정될 수 있다. 수액조절홈(124)은 단면이 반원형, 반타원형, 쐐기형 중 선택된 어느 하나로 형성될 수 있다. 도 8은 유량조절레버(100)의 유량조절홈(124)과 몸체(200)의 수액유입구(250) 선단(251)이 만나 만드는 유로의 크기를 설명하는 도면이다. 빗금친 부분이 수액유입구 선단(251)과 유량조절홈(124)이 만드는 수액 유로의 크기가 되다. 유량조절레버(100)의 회전에 따라 선단(251)의 위치가 변경되고 a에서 b로 갈수록 유로가 작아지는 것을 확인할 수 있다. 도면과 같이 깊이와 폭이 조정되는 유량조절홈(124)이 선단(251)을 따라 회전하며 유로를 조정하여 수액 유량을 조절할 수 있게 된다. 수액은 b측에서 a측으로 흐르게 된다.The
유량조절홈(124)은 사출 성형으로는 정확도가 보장되지 않으므로, 유량조절레버(100)를 사출 제조한 후 유량조절홈(124)을 예리한 단부를 가지도록 가공하는 것이 바람직하다.Since the accuracy of the
수액유입공(250) 내부에는 도 4에 도시된 바와 같이 1차유량저감구(252)를 배치하여 유량조절홈(124)에 유입되는 수액의 양을 감소시킬 수 있도록 한다. 1차유량저감구(252)는 수액유입공(250)에 삽입되어 유입되는 수액이 통과할 수 있도록 형성한다. 도 4에 도시되는 바와 같이 수액유입공(250)의 직경보다 작은 직경의 설정 길이의 파이프와 파이프 외면에서 날개가 형성된 형상으로 형성할 수 있다. 1차유량저감구(252)에 의해 유량조절홈(124)에 유입되는 수액의 양을 감소시키면 미세한 유량조절홈(124)에 과도한 수액이 유입되어 조절 오차가 발생하는 것을 방지할 수 있다. 유량조감구(252)는 수액유입공(250)과 별도로 형성되어 삽입되거나, 수액유입공(250)의 유로 중에 일체로 형성될 수 있다.As shown in FIG. 4, the first flow
이상에서 설명한 바와 같이 본 발명은 상술한 특정의 바람직한 실시예에 한정되지 아니하며, 청구범위에서 청구하는 본 발명의 요지를 벗어남이 없이 당해 발명이 속하는 기술분야에서 통상의 지식을 가진 자라면 누구든지 다양한 변형실시가 가능한 것은 물론이고, 그와 같은 변경은 청구범위 기재의 범위 내에 있게 된다.It will be apparent to those skilled in the art that various modifications and variations can be made in the present invention without departing from the spirit or scope of the general inventive concept as defined by the appended claims and their equivalents. It is to be understood that modifications are possible, and such modifications are within the scope of the claims.
100 : 유량조절레버110 : 바디
120 : 회전지지축200 : 몸체
240 : 유량조절부250 : 수액유입공
260 : 수액배출공100: Flow control lever 110: Body
 120: rotation support shaft 200: body
 240: flow rate regulator 250: fluid inflow hole
 260: fluid discharging hole
| Application Number | Priority Date | Filing Date | Title | 
|---|---|---|---|
| KR1020180055365AKR101952322B1 (en) | 2018-05-15 | 2018-05-15 | Flow regulator for medical infusion set | 
| Application Number | Priority Date | Filing Date | Title | 
|---|---|---|---|
| KR1020180055365AKR101952322B1 (en) | 2018-05-15 | 2018-05-15 | Flow regulator for medical infusion set | 
| Publication Number | Publication Date | 
|---|---|
| KR101952322B1true KR101952322B1 (en) | 2019-02-26 | 
| Application Number | Title | Priority Date | Filing Date | 
|---|---|---|---|
| KR1020180055365AExpired - Fee RelatedKR101952322B1 (en) | 2018-05-15 | 2018-05-15 | Flow regulator for medical infusion set | 
| Country | Link | 
|---|---|
| KR (1) | KR101952322B1 (en) | 
| Publication number | Priority date | Publication date | Assignee | Title | 
|---|---|---|---|---|
| CN112999467A (en)* | 2021-04-14 | 2021-06-22 | 于琨 | Liquid flow rate adjusting device for nursing | 
| KR102310960B1 (en) | 2021-01-19 | 2021-10-12 | 주식회사 파텍메디컬코리아 | Flow rate regulator | 
| KR20230149095A (en)* | 2022-04-19 | 2023-10-26 | 사회복지법인 삼성생명공익재단 | Flow regulator for infusion set | 
| KR20250000353U (en) | 2023-08-17 | 2025-02-25 | 이영숙 | A fluid supply device capable of providing an accurate amount of fluid | 
| Publication number | Priority date | Publication date | Assignee | Title | 
|---|---|---|---|---|
| US4789000A (en)* | 1984-07-13 | 1988-12-06 | Aslanian Jerry L | Flow control device for administration | 
| KR940002805B1 (en)* | 1984-07-13 | 1994-04-02 | 마스터 메디칼 코포레이숀 | Flow control valve for administration intravenous fluids | 
| DE4340191C1 (en)* | 1993-11-25 | 1995-02-23 | Matthias Faensen Gmbh & Co Kg | Device for controlling the volume flow in an infusion or transfusion procedure | 
| US20030135164A1 (en)* | 2002-01-16 | 2003-07-17 | Simon Michael G. | Pressure compensating IV flow control regulator | 
| KR101127128B1 (en) | 2011-07-29 | 2012-03-21 | 서현배 | Liquid medicine dosage controller | 
| KR20140064456A (en)* | 2012-11-20 | 2014-05-28 | 김춘규 | Flow rate regulator for intravenous fluid | 
| KR20160029411A (en) | 2014-09-05 | 2016-03-15 | 주식회사 제이엠메디칼 | device for regulating the Injection-volume and Injection Direction of liquid medicine | 
| KR101800664B1 (en) | 2016-07-12 | 2017-11-23 | 주식회사 인성메디칼 | Float control assembly used in medical field | 
| KR101838953B1 (en) | 2017-12-22 | 2018-03-15 | (주)메디라인액티브코리아 | Flow regulator for medical infusion set | 
| Publication number | Priority date | Publication date | Assignee | Title | 
|---|---|---|---|---|
| US4789000A (en)* | 1984-07-13 | 1988-12-06 | Aslanian Jerry L | Flow control device for administration | 
| KR940002805B1 (en)* | 1984-07-13 | 1994-04-02 | 마스터 메디칼 코포레이숀 | Flow control valve for administration intravenous fluids | 
| DE4340191C1 (en)* | 1993-11-25 | 1995-02-23 | Matthias Faensen Gmbh & Co Kg | Device for controlling the volume flow in an infusion or transfusion procedure | 
| US20030135164A1 (en)* | 2002-01-16 | 2003-07-17 | Simon Michael G. | Pressure compensating IV flow control regulator | 
| KR101127128B1 (en) | 2011-07-29 | 2012-03-21 | 서현배 | Liquid medicine dosage controller | 
| KR20140064456A (en)* | 2012-11-20 | 2014-05-28 | 김춘규 | Flow rate regulator for intravenous fluid | 
| KR20160029411A (en) | 2014-09-05 | 2016-03-15 | 주식회사 제이엠메디칼 | device for regulating the Injection-volume and Injection Direction of liquid medicine | 
| KR101800664B1 (en) | 2016-07-12 | 2017-11-23 | 주식회사 인성메디칼 | Float control assembly used in medical field | 
| KR101838953B1 (en) | 2017-12-22 | 2018-03-15 | (주)메디라인액티브코리아 | Flow regulator for medical infusion set | 
| Publication number | Priority date | Publication date | Assignee | Title | 
|---|---|---|---|---|
| KR102310960B1 (en) | 2021-01-19 | 2021-10-12 | 주식회사 파텍메디컬코리아 | Flow rate regulator | 
| CN112999467A (en)* | 2021-04-14 | 2021-06-22 | 于琨 | Liquid flow rate adjusting device for nursing | 
| KR20230149095A (en)* | 2022-04-19 | 2023-10-26 | 사회복지법인 삼성생명공익재단 | Flow regulator for infusion set | 
| KR102750297B1 (en) | 2022-04-19 | 2025-01-03 | 사회복지법인 삼성생명공익재단 | Flow regulator for infusion set | 
| KR20250000353U (en) | 2023-08-17 | 2025-02-25 | 이영숙 | A fluid supply device capable of providing an accurate amount of fluid | 
| Publication | Publication Date | Title | 
|---|---|---|
| KR101952322B1 (en) | Flow regulator for medical infusion set | |
| KR101487754B1 (en) | Iv flow regulator | |
| US6878135B1 (en) | Implantable drug infusion device having a flow regulator | |
| RU2286178C2 (en) | System for controlling fluid flow through set of tubes, medical dish for the system an method of controlling fluid flow on the base of the system | |
| US3034504A (en) | Flow meter for an intravenous injection unit | |
| KR101838953B1 (en) | Flow regulator for medical infusion set | |
| CN103491997B (en) | Linear Flow Regulating Devices for Intravenous Infusion | |
| EP3320931B1 (en) | Selector | |
| CN107405443B (en) | Precise variable flow rate infusion system and method | |
| US20080262441A1 (en) | Infusion status indicator | |
| JP2005515032A (en) | Pressure compensation type IV flow control and adjustment device | |
| JPH0316149B2 (en) | ||
| KR102405751B1 (en) | Flow rate regulator for intravenous fluid therapy capable of smart type monitoring | |
| US20140276557A1 (en) | Dual rate insulin pump | |
| US3939832A (en) | Liquid flow regulator and monitor for infusion system | |
| KR100909342B1 (en) | Chemical control device with fine control | |
| KR100982612B1 (en) | Apparatus for minutely regulating liquid medicine | |
| EP3576812B1 (en) | System and method for monitoring injection site pressure | |
| AU2008255161B2 (en) | Flow rate controller | |
| EP3294379B1 (en) | Flow meter for intravenous liquids | |
| KR20170088568A (en) | Injection Set Having Protective Cap | |
| KR102750297B1 (en) | Flow regulator for infusion set | |
| KR20100129026A (en) | Chemical control device with fine control | |
| KR20250000353U (en) | A fluid supply device capable of providing an accurate amount of fluid | |
| KR101406614B1 (en) | Instillator for injection of Ringer's solution | 
| Date | Code | Title | Description | 
|---|---|---|---|
| PA0109 | Patent application | St.27 status event code:A-0-1-A10-A12-nap-PA0109 | |
| PA0201 | Request for examination | St.27 status event code:A-1-2-D10-D11-exm-PA0201 | |
| PA0302 | Request for accelerated examination | St.27 status event code:A-1-2-D10-D17-exm-PA0302 St.27 status event code:A-1-2-D10-D16-exm-PA0302 | |
| D13-X000 | Search requested | St.27 status event code:A-1-2-D10-D13-srh-X000 | |
| D14-X000 | Search report completed | St.27 status event code:A-1-2-D10-D14-srh-X000 | |
| PE0902 | Notice of grounds for rejection | St.27 status event code:A-1-2-D10-D21-exm-PE0902 | |
| E13-X000 | Pre-grant limitation requested | St.27 status event code:A-2-3-E10-E13-lim-X000 | |
| P11-X000 | Amendment of application requested | St.27 status event code:A-2-2-P10-P11-nap-X000 | |
| P13-X000 | Application amended | St.27 status event code:A-2-2-P10-P13-nap-X000 | |
| E701 | Decision to grant or registration of patent right | ||
| PE0701 | Decision of registration | St.27 status event code:A-1-2-D10-D22-exm-PE0701 | |
| GRNT | Written decision to grant | ||
| PR0701 | Registration of establishment | St.27 status event code:A-2-4-F10-F11-exm-PR0701 | |
| PR1002 | Payment of registration fee | St.27 status event code:A-2-2-U10-U11-oth-PR1002 Fee payment year number:1 | |
| PG1601 | Publication of registration | St.27 status event code:A-4-4-Q10-Q13-nap-PG1601 | |
| PR1001 | Payment of annual fee | St.27 status event code:A-4-4-U10-U11-oth-PR1001 Fee payment year number:4 | |
| PC1903 | Unpaid annual fee | St.27 status event code:A-4-4-U10-U13-oth-PC1903 Not in force date:20230221 Payment event data comment text:Termination Category : DEFAULT_OF_REGISTRATION_FEE | |
| PC1903 | Unpaid annual fee | St.27 status event code:N-4-6-H10-H13-oth-PC1903 Ip right cessation event data comment text:Termination Category : DEFAULT_OF_REGISTRATION_FEE Not in force date:20230221 |